Скачать ГОСТ Р ИСО/ТС 10303-1295-2012 Системы автоматизации производства и их интеграция. Представление данных об изделии и обмен этими данными. Часть 1295. Прикладной модуль. Представление свойств по прикладному протоколу ПП239Дата актуализации: 01.01.2021
|
| Обозначение: | ГОСТ Р ИСО/ТС 10303-1295-2012 |
| Обозначение англ: | GOST R ISO/TS 10303-1295-2012 |
| Статус: | введен впервые |
| Название рус.: | Системы автоматизации производства и их интеграция. Представление данных об изделии и обмен этими данными. Часть 1295. Прикладной модуль. Представление свойств по прикладному протоколу ПП239 |
| Название англ.: | Industrial automation systems and integration. Product data representation and exchange. Part 1295. Application module. Properties AP239 |
| Дата добавления в базу: | 01.10.2014 |
| Дата актуализации: | 01.01.2021 |
| Дата введения: | 01.05.2013 |
| Область применения: | Стандарт определяет прикладной модуль «Представление свойств по прикладному протоколу ПП239». Стандарты комплекса ИСО 10303 распространяются на компьютерное представление информации об изделиях и обмен данными об изделиях. Их целью является обеспечение нейтрального механизма, способного описывать изделия на всем протяжении их жизненного цикла. Этот механизм применим не только для нейтрального обмена файлами, но является также основой для реализации и совместного доступа к базам данных об изделиях и организации архивирования. Стандарт определяет прикладной модуль для представления свойств или характеристик объектов, их значений, типов и классификаций, обеспечивающих поддержку жизненного цикла изделий. |
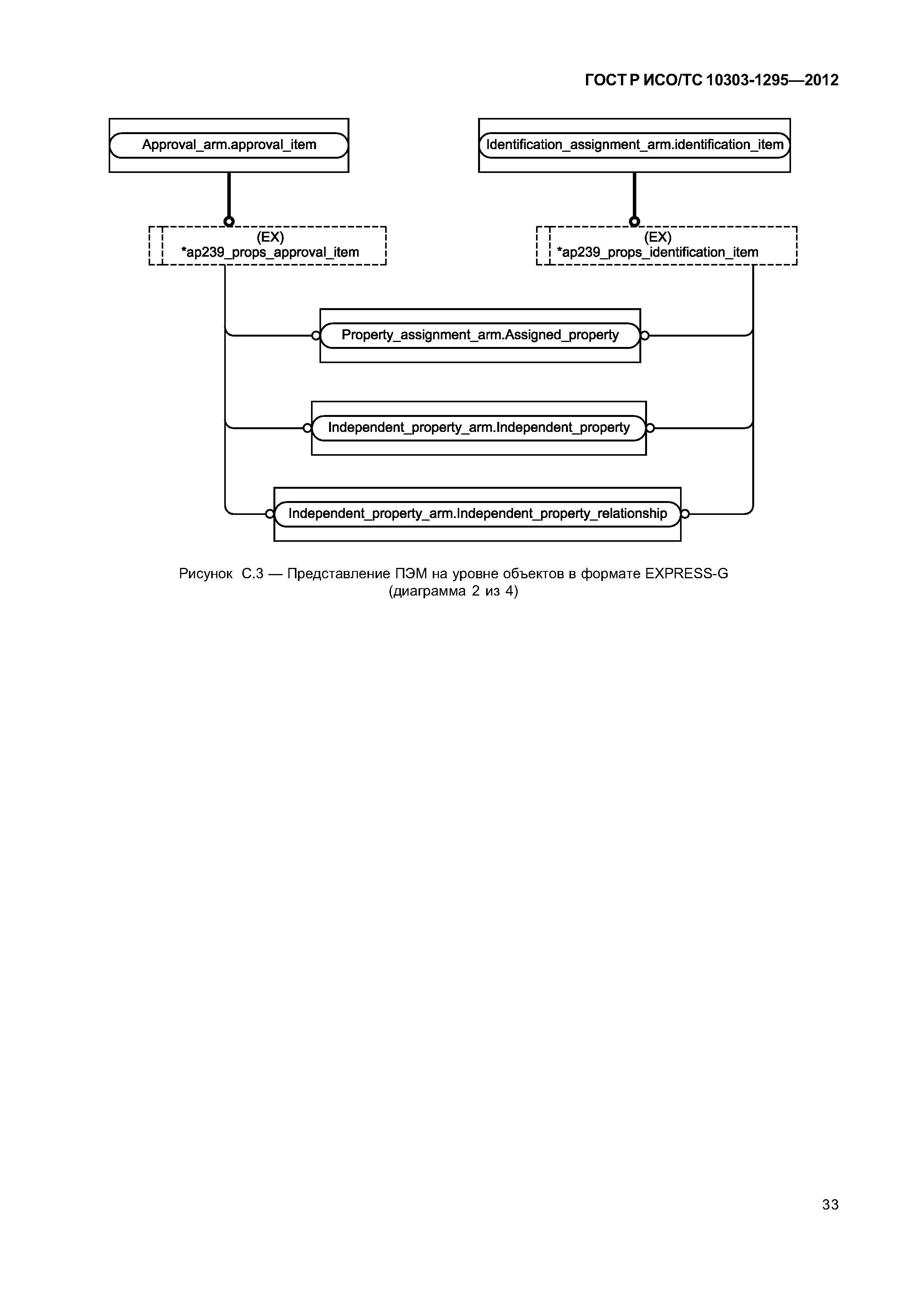
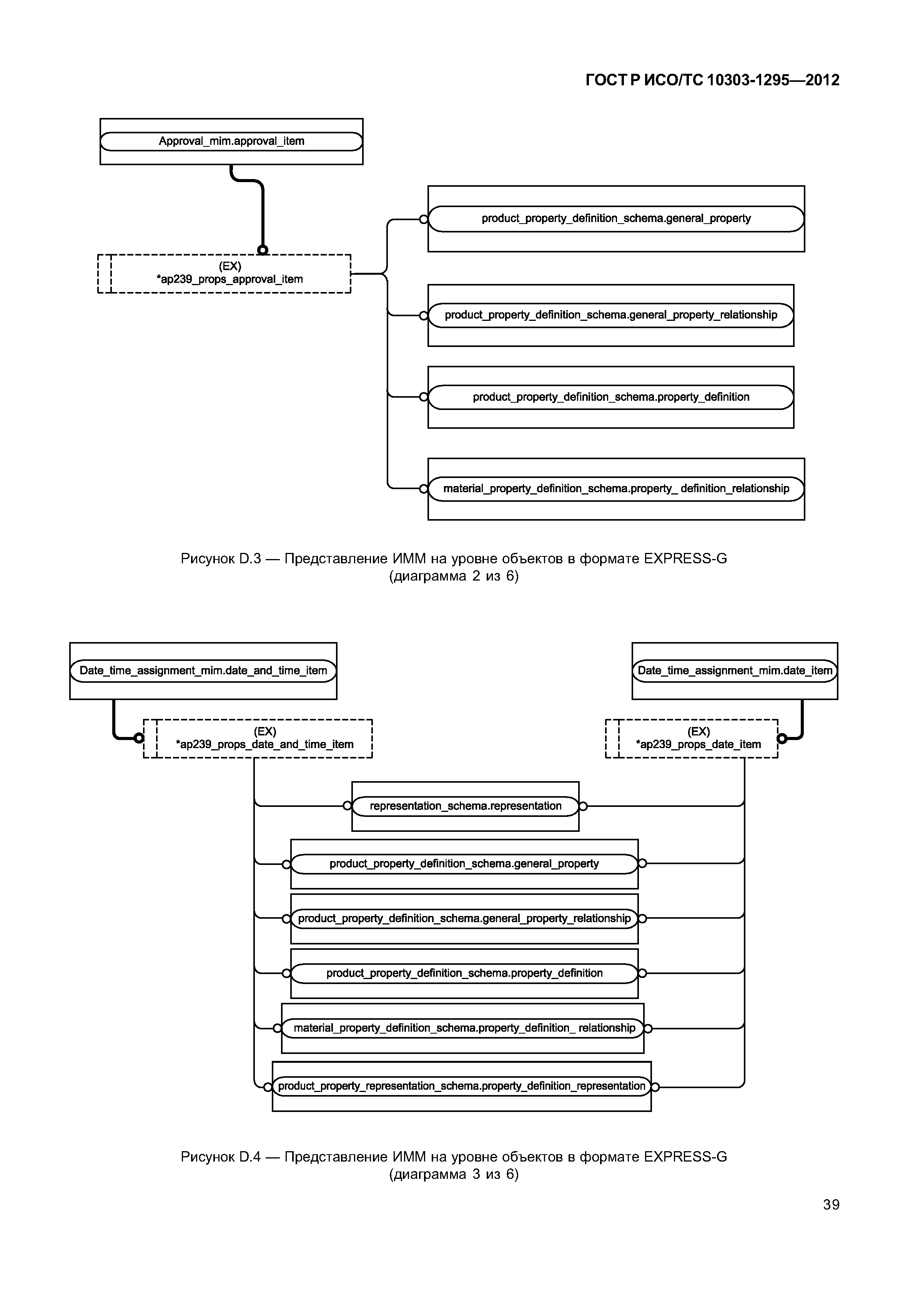
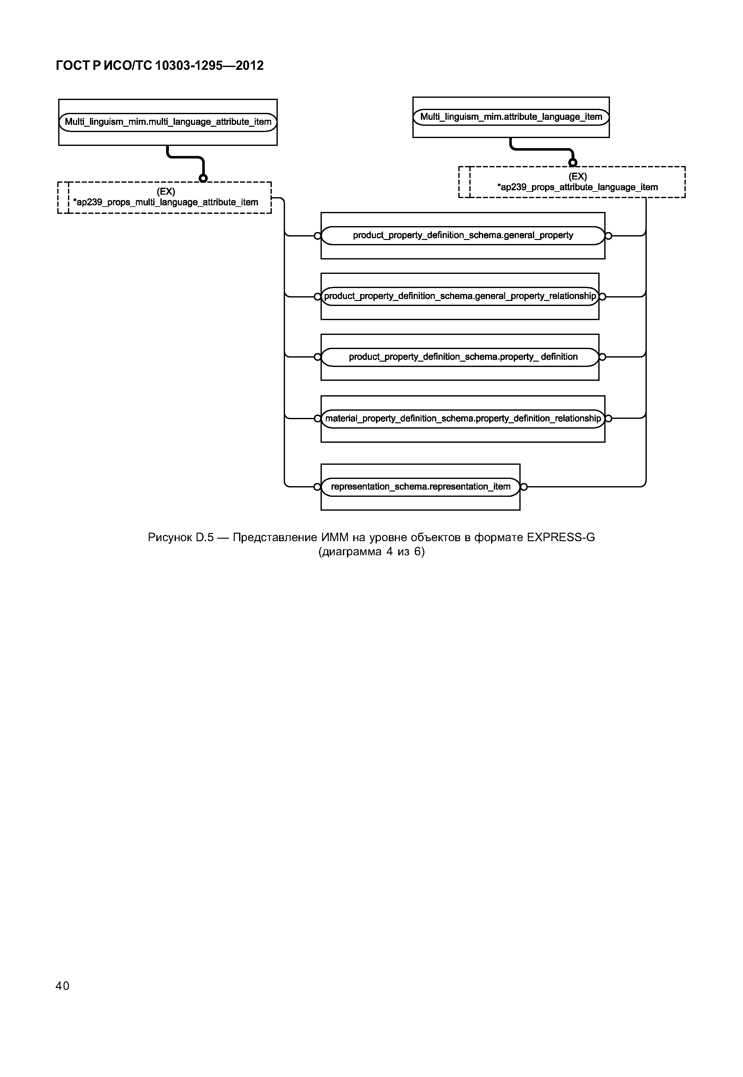
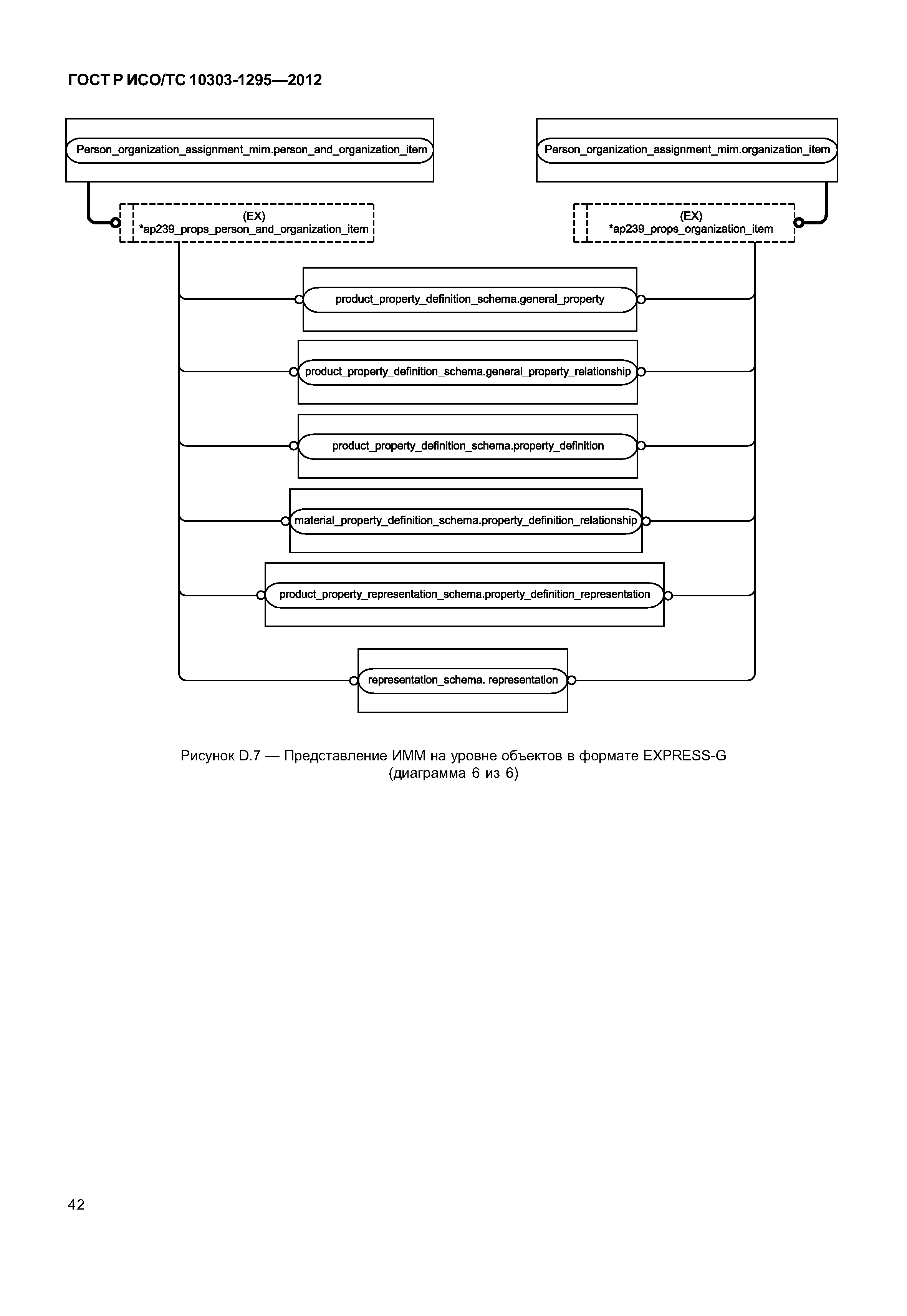
| Оглавление: | 1 Область применения 2 Нормативные ссылки 3 Термины и сокращения 4 Информационные требования 4.1 Необходимые ПЭМ прикладных модулей 4.2 Определение типа данных ПЭМ 4.2.1 Тип данных ap239_props_approval_item 4.2.2 Тип данных ap239_props_classification_item 4.2.3 Тип данных ap239_props_classified_attribute_select 4.2.4 Тип данных ap239_props_date_or_date_time_item 4.2.5 Тип данных ap239_props_documented_element_select 4.2.6 Тип данных ap239_props_identification_item 4.2.7 Тип данных ap239_props_organization_or_person_in_organization_item 4.2.8 Тип данных ap239_props_string_select 5 Интерпретированная модель модуля 5.1 Спецификация отображения 5.1.1 Объект Approval_assignment 5.1.2 Объект Attribute_classification 5.1.3 Объект Attribute_translation_assignment 5.1.4 Объект Classification_assignment 5.1.5 Объект Date_or_date_time_assignment 5.1.6 Объект Document_assignment 5.1.7 Объект ldentification_assignment 5.1.8 Объект Language_indication 5.1.9 Объект Organization_or_person_in_organization_assignment 5.2 Сокращенный листинг ИММ на языке EXPRESS 5.2.1 Определение типов данных ИММ Приложение А (обязательное) Сокращенные наименования объектов ИММ Приложение В (обязательное) Регистрация информационных объектов Приложение С (справочное) EXPRESS-G диаграммы ПЭМ Приложение D (справочное) EXPRESS-G диаграммы ИММ Приложение Е (справочное) Машинно-интерпретируемые листинги Приложение ДА (справочное) Сведения о соответствии ссылочных международных стандартов и документов национальным стандартам Российской Федерации Библиография |
| Разработан: | ГНУ Центральный научно-исследовательский и опытно-конструкторский институт роботехники и технической кибернетики |
| Утверждён: | 28.06.2012 Федеральное агентство по техническому регулированию и метрологии (141-ст) |
| Издан: | Стандартинформ (2013 г. ) |
| Нормативные ссылки: |
|


















































