Скачать Инструкция и методические указания по проектированию шламохранилищ обогатительных фабрик

Дата актуализации: 01.01.2021

Инструкция и методические указания по проектированию шламохранилищ обогатительных фабрик

Статус:справочные материалы, мп, тпр
Название рус.:Инструкция и методические указания по проектированию шламохранилищ обогатительных фабрик
Дата добавления в базу:01.02.2020
Дата актуализации:01.01.2021
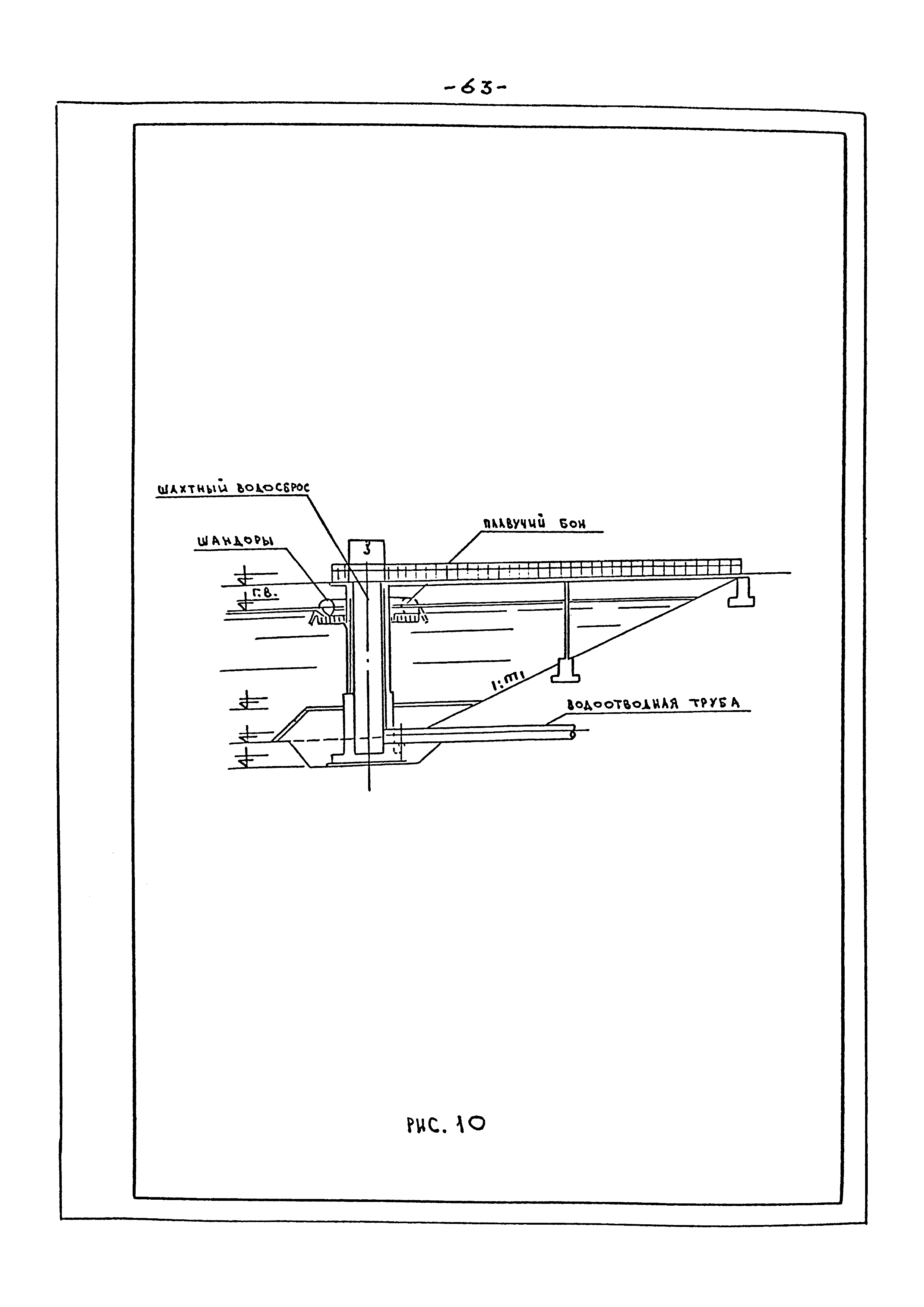
Область применения:Инструкция регламентирует состав, порядок разработки проектно-сметной документации на строительство шламохранилищ обогатительных фабрик угольной и сланцевой промышленности, рассматривает методы возведения сооружений шламохранилищ, дает сведения по эксплуатации шламохранилищ и технико-экономическим показателям
Оглавление:1. Общие положения
2. Технологическое проектирование шламохранилищ
3. Проектирование гидротехнических сооружений шламохранилищ
4. Возведение ограждающих дамб, эксплуатация шламохранилищ
5. Защита окружающей среды
6. Технико-экономические показатели
Список используемой литературы
Разработан: Гипрошахт
Утверждён: ГПИ Гипрошахт
Нормативные ссылки: