Скачать ГОСТ Р 58411-2019 Плиты бетонные гибкие. Технические условия

Дата актуализации: 01.01.2021

ГОСТ Р 58411-2019

Плиты бетонные гибкие. Технические условия

Обозначение: ГОСТ Р 58411-2019
Обозначение англ: GOST R 58411-2019
Статус:приостановлено действие
Название рус.:Плиты бетонные гибкие. Технические условия
Название англ.:Flexible concrete slabs. Specifications
Дата добавления в базу:01.02.2020
Дата актуализации:01.01.2021
Дата введения:01.01.2020
Дата окончания срока действия:30.07.2020
Область применения:Стандарт распространяется на гибкие бетонные плиты, состоящие из бетонных блоков, соединенных гибкими связями и предназначенные для сооружения гибких бетонных покрытий для укрепления берегов искусственных и естественных водотоков и водоемов, укрепления откосов дорожных насыпей, укрепления откосов защитных и регуляционных сооружений, для защиты подводных переходов трубопроводов, защиты дна акваторий портов, дополнительной защиты кабельных трасс, прокладываемых через водные преграды, сооружения временных противопаводковых укреплений, защиты гребней плотин и дамб от размыва при переливе, сооружении каналов, канав и стоков, защиты дна отстойников и прочих видов искусственных сооружений.
Оглавление:1 Область применения
2 Нормативные ссылки
3 Термины и определения
4 Типы, основные параметры и размеры
5 Технические требования
6 Правила приемки
7 Методы контроля
8 Маркировка
9 Транспортирование и хранение
10 Гарантии изготовителя
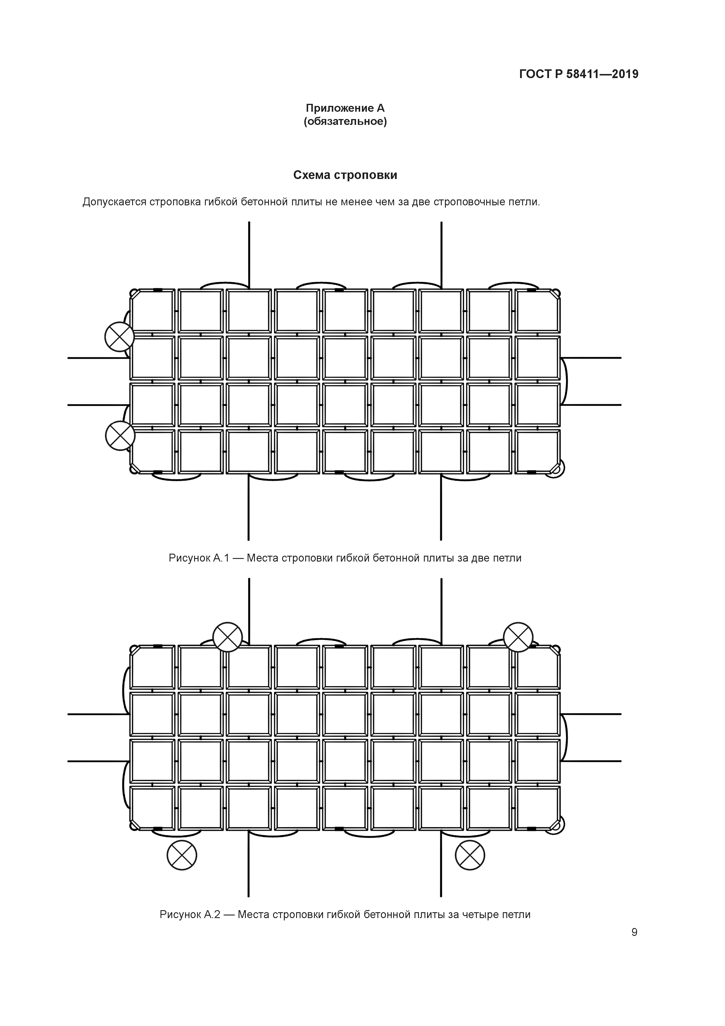
Приложение А (обязательное) Схема строповки
Разработан: АО ЦНИИС
ОАО Трансмост
ООО Спецпром 1
Утверждён:16.05.2019 Федеральное агентство по техническому регулированию и метрологии (199-ст)
Издан: Стандартинформ (2019 г. )
Нормативные ссылки:
ГОСТ Р 58411-2019ГОСТ Р 58411-2019ГОСТ Р 58411-2019ГОСТ Р 58411-2019ГОСТ Р 58411-2019ГОСТ Р 58411-2019ГОСТ Р 58411-2019ГОСТ Р 58411-2019ГОСТ Р 58411-2019ГОСТ Р 58411-2019ГОСТ Р 58411-2019ГОСТ Р 58411-2019