МЕЖГОСУДАРСТВЕННЫЙ СОВЕТ ПО СТАНДАРТИЗАЦИИ,
МЕТРОЛОГИИ И СЕРТИФИКАЦИИ
(МГС)
INTERSTATE COUNCIL FOR STANDARDIZATION, METROLOGY AND CERTIFICATION
(ISC)
|
МЕЖГОСУДАРСТВЕННЫЙ |
ГОСТ |
БЕТОНЫ
Методы определения прочности
по контрольным образцам
(EN 12390-1:2009, NEQ)
(EN 12390-2:2009, NEQ)
(EN 12390-3:2009, NEQ)
(EN 12390-4:2009, NEQ)
(EN 12390-5:2009, NEQ)
(EN 12390-6:2009, NEQ)
|
|
Москва Стандартинформ 2018 |
Предисловие
Цели, основные принципы и порядок проведения работ по межгосударственной стандартизации установлены в ГОСТ 1.0-2015 «Межгосударственная система стандартизации. Основные положения» и ГОСТ 1.2-2015 «Межгосударственная система стандартизации. Стандарты межгосударственные, правила и рекомендации по межгосударственной стандартизации. Правила разработки, принятия, обновления и отмены»
Сведения о стандарте
1 РАЗРАБОТАН Научно-исследовательским, проектно-конструкторским и технологическим институтом бетона и железобетона «НИИЖБ» - филиалом ФГУП «НИЦ «Строительство»
2 ВНЕСЕН Техническим комитетом по стандартизации ТК 465 «Строительство»
3 ПРИНЯТ Межгосударственной научно-технической комиссией по стандартизации, техническому нормированию и оценке соответствия в строительстве (приложение Д к протоколу от 4 июня 2012 г. № 40)
За принятие стандарта проголосовали:
|
Краткое наименование страны по МК (ИСО 3166) 004-97 |
Код страны по МК (ИСО 3166) 004-97 |
Сокращенное наименование национального органа государственного управления строительством |
|
Азербайджан |
AZ |
Государственный комитет градостроительства и архитектуры |
|
Армения |
AM |
Министерство градостроительства |
|
Беларусь |
BY |
Министерство архитектуры и строительства |
|
Казахстан |
KZ |
Агентство по делам строительства и жилищно-коммунального хозяйства |
|
Киргизия |
KG |
Госстрой |
|
Молдова |
MD |
Министерство строительства и регионального развития |
|
Россия |
RU |
Министерство регионального развития |
|
Таджикистан |
TJ |
Агентство по строительству и архитектуре при Правительстве |
|
Узбекистан |
UZ |
Госархитектстрой |
4 Приказом Федерального агентства по техническому регулированию и метрологии от 27 декабря 2012 г. № 2071-ст межгосударственный стандарт ГОСТ 10180-2012 введен в действие в качестве национального стандарта Российской Федерации с 1 июля 2013 г.
5 Настоящий стандарт соответствует основным нормативным положениям в части изготовления и испытания образцов бетона, приведенным в следующих европейских региональных стандартах:
EN 12390-1:2009 « Испытание затвердевшего бетона. Часть 1: Форма, размеры и другие требования к испытуемым образцам и формам» («Testing hardened concrete - Part 1: Shape, dimensions and other requirements of specimens and moulds», NEQ);
EN 12390-2:2009 «Испытание затвердевшего бетона. Часть 2: Изготовление и выдерживание образцов для испытания на прочность» («Testing hardened concrete - Part 2: Making and curing specimens for strength tests», NEQ);
EN 12390-3:2009 «Испытание затвердевшего бетона. Часть 3: Прочность на сжатие испытуемых образцов» («Testing hardened concrete - Part3: Compressive strength of tests specimens», NEQ);
EN 12390-4:2009 «Испытание затвердевшего бетона. Часть 4: Прочность на сжатие. Технические условия для испытательных установок» («Testing hardened concrete - Part 4: Compressive strength - Specification for testing machines», NEQ);
EN 12390-5:2009 «Испытание затвердевшего бетона. Часть 5: Прочность на растяжение при изгибе испытуемых образцов» («Testing hardened concrete - Part 5: Flexural strength of tests specimens», NEQ);
EN 12390-6:2009 «Испытание затвердевшего бетона. Часть 6: Прочность испытуемых образцов на растяжение при раскалывании» («Testing hardened concrete - Part 6: Tensile splitting strength of tests specimens», NEQ).
6 ВЗАМЕН ГОСТ 10180-90
7 ПЕРЕИЗДАНИЕ. Июнь 2018 г.
Информация об изменениях к настоящему стандарту публикуется в ежегодном информационном указателе «Национальные стандарты», а текст изменений и поправок - в ежемесячном информационном указателе «Национальные стандарты». В случае пересмотра (замены) или отмены настоящего стандарта соответствующее уведомление будет опубликовано в ежемесячном информационном указателе «Национальные стандарты». Соответствующая информация, уведомление и тексты размещаются также в информационной системе общего пользования - на официальном сайте Федерального агентства по техническому регулированию и метрологии в сети Интернет (www.gost.ru)
Содержание
ГОСТ 10180-2012
МЕЖГОСУДАРСТВЕННЫЙ СТАНДАРТ
БЕТОНЫ
Методы определения прочности по контрольным образцам
Concretes. Methods for strength determination using reference specimens
Дата введения -2013-07-01
Настоящий стандарт распространяется на бетоны всех видов по ГОСТ 25192, применяемые во всех областях строительства, и устанавливает методы определения предела прочности (далее - прочность) бетонов на сжатие, осевое растяжение, растяжение при раскалывании и растяжение при изгибе путем разрушающих кратковременных статических испытаний специально изготовленных контрольных образцов бетона.
Настоящий стандарт не распространяется на специальные виды бетонов, для которых предусмотрены другие стандартизованные методы определения прочности.
В настоящем стандарте использованы нормативные ссылки на следующие межгосударственные стандарты:
ГОСТ 2.601-2006 Единая система конструкторской документации. Эксплуатационные документы
ГОСТ 8.326-89* Государственная система обеспечения единства измерений. Метрологическая аттестация средств измерений
__________
* В Российской Федерации действуют ПР 50.2.006-94.
ГОСТ 166-89 (ИСО 3599-76) Штангенциркули. Технические условия
ГОСТ 427-75 Линейки измерительные металлические. Технические условия
ГОСТ 3749-77 Угольники поверочные 90°. Технические условия
ГОСТ 577-68 Индикаторы часового типа с ценой деления 0,01 мм. Технические условия
ГОСТ 6659-83 Картон обивочный водостойкий. Технические условия
ГОСТ 7473-2010 Смеси бетонные. Технические условия
ГОСТ 7950-77 Картон переплетный. Технические условия
ГОСТ 9542-89 Картон обувной и детали обуви из него. Общие технические условия
ГОСТ 10181 -2000 Смеси бетонные. Методы испытаний
ГОСТ 10905-86 Плиты поверочные и разметочные. Технические условия
ГОСТ 12730.1-78 Бетоны. Метод определения плотности
ГОСТ 18105-2010 Бетоны. Правила контроля и оценки прочности
ГОСТ 22685-89 Формы для изготовления контрольных образцов бетона. Технические условия
ГОСТ 24104-2001** Весы лабораторные. Общие технические требования
__________
** В Российской Федерации действует ГОСТ Р 53228-2008.
ГОСТ 25192-2012 Бетоны. Классификация и общие технические требования
ГОСТ 28570-90 Бетоны. Методы определения прочности по образцам, отобранным из конструкций
ГОСТ 28840-90 Машины для испытаний материалов на растяжение, сжатие и изгиб. Общие технические требования
Примечание - При пользовании настоящим стандартом целесообразно проверить действие ссылочных стандартов в информационной системе общего пользования - на официальном сайте Федерального агентства по техническому регулированию и метрологии в сети Интернет или по ежегодному информационному указателю «Национальные стандарты», который опубликован по состоянию на 1 января текущего года, и по выпускам ежемесячного информационного указателя «Национальные стандарты» за текущий год. Если ссылочный стандарт заменен (изменен), то при пользовании настоящим стандартом следует руководствоваться заменяющим (измененным) стандартом. Если ссылочный стандарт отменен без замены, то положение, в котором дана ссылка на него, применяется в части, не затрагивающей эту ссылку..
Определение прочности бетона состоит в измерении минимальных усилий, разрушающих специально изготовленные контрольные образцы бетона при их статическом нагружении с постоянной скоростью нарастания нагрузки, и последующем вычислении напряжений при этих усилиях.
4.1 Форма, размеры и число образцов
4.1.1 Форма и номинальные размеры образцов в зависимости от метода определения прочности бетона должны соответствовать указанным в таблице 1.
Таблица 1 - Форма и номинальные размеры образцов
|
Метод |
Форма образца |
Номинальные размеры образца, мм |
|
Определение прочности на сжатие и на растяжение при раскалывании |
Куб |
Длина ребра: 100; 150; 200; 250; 300 |
|
Цилиндр |
Диаметр d: 100; 150; 200; 250; 300 Высота h ³ d |
|
|
Определение прочности на осевое растяжение |
Призма квадратного сечения |
100×100×400; 150×150×600; 200×200×800; 250×250×1000; 300×300×1200 |
|
Цилиндр |
Диаметр d: 100; 150; 200; 250; 300 Высота h, равная 2d |
|
|
Определение прочности на растяжение при изгибе и при раскалывании |
Призма квадратного сечения |
100×100×400; 150×150×600; 200×200×800; 250×250×1000; 300×300×1200 |
Допускается применять следующие образцы:
- кубы (далее - образцы-кубы) с ребром длиной 70 мм;
- призмы (далее - образцы-призмы) размером 70×70×280 мм;
- цилиндры (далее - образцы-цилиндры) диаметром 70 мм;
- половинки образцов-призм, полученных после испытания на растяжение при изгибе образцов-призм, для определения прочности бетона на сжатие;
- образцы-кубы, изготовленные в неразъемных формах с технологическим уклоном;
- образцы по приложению К.
За базовый образец при всех видах испытаний следует принимать образец-куб или образец-призму с размером рабочего сечения 150×150 мм.
Примечание - Допускается применение образцов других форм и размеров, если они предусмотрены в действующих нормативных или технических документах.
4.1.2 Наименьшие размеры образцов в зависимости от наибольшего номинального размера зерен заполнителя в пробе бетонной смеси должны соответствовать указанным в таблице 2.
4.1.3 Образцы изготавливают и испытывают сериями.
Число образцов в серии (кроме образцов ячеистого бетона)
принимают по таблице 3 в зависимости от
среднего внутрисерийного коэффициента вариации прочности бетона
рассчитываемого
по приложению А не реже
одного раза в год.
Таблица 2 - Наибольший номинальный размер зерен заполнителя
В миллиметрах
|
Наибольший номинальный размер зерна заполнителя |
Наименьший размер образца (ребра образца-куба, стороны поперечного сечения образца-призмы, диаметра и высоты образца-цилиндра) |
|
20 и менее |
100 |
|
40 |
150 |
|
70 |
200 |
|
100 |
300 |
|
Примечания 1 Для испытания конструкционно-теплоизоляционного и теплоизоляционного бетонов класса В5 и менее на пористых заполнителях (независимо от наибольшего номинального размера зерен заполнителя) следует применять образцы с наименьшим размером 150 мм. 2 При изготовлении образцов из бетонной смеси должны быть удалены отдельные зерна крупного заполнителя, размер которых превышает более чем в 1,5 раза наибольший номинальный размер заполнителя, указанный в таблице 2, а также все зерна заполнителя размером более 100 мм. 3 При изготовлении образцов с минимальным размером 70 мм максимальная крупность заполнителя не должна превышать 20 мм. |
|
Таблица 3 - Число образцов в серии
|
Внутрисерийный коэффициент вариации |
5 и менее |
Более 5 до 8 включ. |
Более 8** |
|
Требуемое число образцов в серии, шт, не менее |
2 |
3* или 4 |
6 |
|
* При применении форм типа 2ФК по ГОСТ 22685 число образцов в серии принимают равным четырем, при применении форм типа 1ФК и 3ФК - три образца. ** В случае если средний внутрисерийный коэффициент
вариации прочности бетона на сжатие |
|||
Число образцов ячеистого бетона в серии принимают равным 3.
4.1.4 Отклонения от плоскостности опорных поверхностей образцов-кубов и образцов-цилиндров, прилегающих к плитам пресса, не должны превышать 0,001 наименьшего размера образца.
4.1.5 Отклонения от прямолинейности образующей образцов-цилиндров, предназначенных для испытания на раскалывание, не должны превышать ±0,2 мм.
4.1.6 Отклонения от перпендикулярности смежных граней образцов-кубов и образцов-призм, а также опорных поверхностей и образующих образцов-цилиндров, предназначенных для испытания на сжатие, не должны превышать ±1 мм.
4.2 Отбор проб бетонной смеси и изготовление контрольных образцов
4.2.1 Пробы бетонной смеси для изготовления контрольных образцов при производственном контроле прочности бетона отбирают в соответствии с требованиями ГОСТ 10181, ГОСТ 18105 и ГОСТ 7473 из рабочего состава бетонной смеси.
4.2.2 Пробы бетонной смеси для изготовления контрольных образцов, предназначенных для лабораторных исследований, при подборе состава бетона, изучении влияния различных технологических факторов на свойства бетонов и для других целей следует отбирать из специально приготовленных лабораторных замесов бетонной смеси.
4.2.3 Объем пробы бетонной смеси должен превышать требуемый для изготовления всех серий контрольных образцов не менее чем в 1,2 раза.
Отобранная проба бетонной смеси должна быть дополнительно вручную перемешана перед формованием образцов.
Бетонные смеси, содержащие воздухововлекающие и газообразующие добавки, перед формованием образцов не следует дополнительно перемешивать.
4.2.4 Образцы изготавливают в поверенных (калиброванных) формах, соответствующих требованиям ГОСТ 22685.
Перед использованием форм их внутренние поверхности должны быть покрыты тонким слоем смазки, не оставляющей пятен на поверхности образцов и не влияющей на свойства поверхностного слоя бетона.
4.2.5 Укладку бетонной смеси в форму и ее уплотнение следует проводить не позднее чем через 20 мин после отбора пробы.
4.2.6 При изготовлении нескольких серий образцов, предназначенных для определения различных характеристик бетона, все образцы следует изготавливать из одной пробы бетонной смеси и уплотнять их в одинаковых условиях. Отклонения между средними значениями средней плотности бетона образцов отдельных серий и средней плотности отдельных образцов в каждой серии к моменту их испытания не должны превышать 50 кг/м3.
При несоблюдении указанного требования результаты испытаний не учитывают.
4.2.7 При производственном контроле прочности бетона формование контрольных образцов, а также контрольных блоков из ячеистых бетонов следует проводить по той же технологии и с теми же параметрами уплотнения, что и формование изделий и конструкций.
4.2.8 При лабораторных исследованиях, а также при производственном контроле в случаях, когда условия 4.2.7 не могут быть выполнены, уплотнение бетонной смеси в формах проводят одним из следующими способов.
4.2.8.1 Уплотнение бетонной смеси марок по удобоукладываемости П4 и П5 проводят вручную с применением штыковки. Формы заполняют бетонной смесью слоями высотой не более 100 мм. Каждый слой уплотняют штыкованием стальным стержнем диаметром 16 мм с закругленным концом. Число нажимов стержня рассчитывают из условия, чтобы один нажим приходился на 10 см2 верхней открытой поверхности образца. Штыкование проводят равномерно по спирали от краев формы к ее середине.
4.2.8.2 Уплотнение бетонной смеси механическими методами проводят с использованием виброплощадки или глубинного вибратора.
При уплотнении бетонной смеси марок по удобоукладываемости П1, П2, П3, Ж1 с использованием виброплощадки форму с уложенной и уплотненной штыкованием бетонной смесью жестко закрепляют на лабораторной виброплощадке и вибрируют до полного уплотнения, характеризуемого прекращением оседания бетонной смеси, выравниванием ее поверхности, появлением на ней тонкого слоя цементного теста.
При уплотнении бетонной смеси марок по удобоукладываемости Ж2, Ж3, Ж4, Ж5 с использованием виброплощадки на форме закрепляют насадку, устанавливают на поверхность бетонной смеси пригруз, обеспечивающий давление (0,004 ± 0,0005) МПа, и вибрируют до прекращения оседания пригруза и дополнительно 5 - 10 с.
При уплотнении с использованием глубинного вибратора диаметр вибратора не должен превышать 1/4 наименьшего размера формуемого образца. Вибратор должен находиться в вертикальном положении и не касаться дна или стенок формы.
После окончания укладки и уплотнения бетонной смеси в форме верхнюю поверхность образца заглаживают мастерком или пластиной.
4.2.9 В случае применения на производстве способов и режимов уплотнения бетонной смеси, приводящих к изменению его состава (например, центрифугирование, вакуумирование), способ изготовления контрольных образцов бетона или поправочный коэффициент к прочности образцов, уплотненных стандартным методом, должен быть указан в стандартах или технических условиях на сборные конструкции или в рабочих чертежах монолитных конструкций.
4.2.10 Образцы, изготовленные в цилиндрических формах, после заглаживания верхней поверхности закрывают крышками. При испытании на сжатие образцы располагают горизонтально, при испытании на осевое растяжение и растяжение при раскалывании - вертикально.
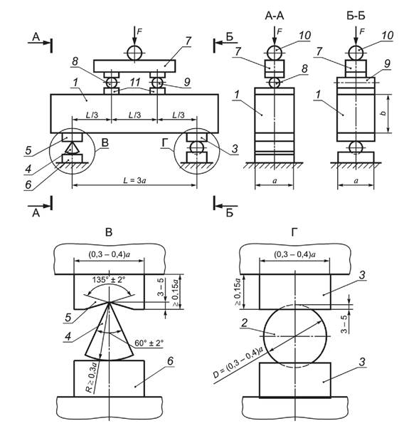
4.2.11 Образцы из ячеистого бетона выпиливают или выбуривают по ГОСТ 28570 из контрольных неармированных блоков, изготовленных одновременно с изделиями из той же бетонной смеси, или из готовых изделий после их остывания. Образцы выпиливают или выбуривают из средней части изделия или контрольного блока по схеме, приведенной на рисунке 1.
а) При горизонтальном формовании изделия
Рисунок 1 - Схемы выпиливания и выбуривания образцов ячеистого бетона (Лист 1)

б) При вертикальном формовании изделия
Рисунок 1. Лист 2
Образцы выпиливают или выбуривают без увлажнения, отступив от граней изделия или блока не менее чем на 20 мм.
Контрольные блоки из ячеистого бетона должны иметь следующие размеры (см. рисунок 1), мм:
- длина L и ширина В - не менее 400;
- высота h - от 150 до 250.
Допускается при подборе состава ячеистого бетона, а для пенобетона - и при производственном контроле прочности изготавливать контрольные образцы в формах по 4.2.7 - 4.2.9.
4.2.12 На образцы непосредственно после их изготовления должна быть нанесена маркировка, идентифицирующая принадлежность образца и дату его изготовления. Маркировка не должна повреждать образец или влиять на результаты испытания.
4.3 Твердение, хранение и транспортирование образцов
4.3.1 Способ и режим твердения образцов бетона, предназначенных для производственного контроля прочности, следует принимать по ГОСТ 18105.
4.3.2 Образцы, предназначенные для твердения в нормальных условиях, после изготовления до их распалубливания хранят в формах, покрытых влажной тканью или другим материалом, исключающим испарение из них влаги, в помещении с температурой воздуха (20 ± 5) °С.
При определении прочности бетона на сжатие образцы распалубливают не ранее чем через 24 ч и не позднее чем через 72 ч, прочности на растяжение - не ранее чем через 72 ч и не позднее чем через 96 ч.
После распалубливания образцы помещают в камеру с нормальными условиями твердения: с температурой (20 ± 2) °С и относительной влажностью воздуха (95 ± 5) %. Образцы укладывают на подкладки так, чтобы расстояние между образцами, а также между образцами и стенками камеры было не менее 5 мм. Площадь контакта образца с подкладками, на которые он установлен, должна быть не более 30 % площади опорной грани образца. Образцы в камере нормального твердения не должны орошаться водой. Допускается хранение образцов под слоем влажного песка, опилок или других систематически увлажняемых гигроскопичных материалов.
Образцы, предназначенные для твердения в условиях тепловой обработки, должны быть помещены в формах в тепловой агрегат (пропарочную камеру, автоклав, отсек формы или кассеты и т.д.) и твердеть вместе с конструкциями (изделиями) или отдельно по принятому на производстве режиму.
После окончания тепловой обработки образцы распалубливают и испытывают или хранят в нормальных условиях в соответствии с 4.3.1.
4.3.3 Допускаются другие условия твердения образцов, например в воде или в условиях, аналогичных условиям твердения бетона в монолитных конструкциях, если эти условия установлены стандартами, техническими условиями или технологическими регламентами на производство работ.
4.3.4 При транспортировании образцов необходимо предохранять их от повреждений, изменения влажности и замораживания.
Прочность бетона образцов к началу их транспортирования должна быть не менее 2,0 МПа.
5.1 Перечень средств измерения и испытательного оборудования, используемого при изготовлении и испытании контрольных образцов, и их технические характеристики приведены в приложении Б.
Допускается использовать другие средства измерения, испытательное оборудование, приспособления, если их технические характеристики соответствуют требованиям, указанным в приложении Б.
5.2 Средства измерения, выпускаемые серийно, допускается использовать, если они внесены в государственный или ведомственный реестр, о чем должна быть сделана отметка или запись в эксплуатационных документах (паспорте, формуляре, инструкции по эксплуатации) и прошли поверку (калибровку), что подтверждается свидетельством о поверке (сертификатом о калибровке).
5.3 Средства измерения, выпускаемые единичными экземплярами или ввозимые из-за границы в единичных экземплярах, допускается использовать, если они прошли калибровку, что удостоверяется сертификатом о калибровке.
5.4 Испытательное оборудование допускается использовать, если оно прошло метрологическую аттестацию по ГОСТ 8.326, что удостоверяется аттестатом (протоколом), подтверждающим соответствие его технических характеристик, обеспечивающих возможность проведения испытаний, указанным в паспорте (формуляре).
5.5 В процессе эксплуатации средства измерения должны проходить периодическую поверку (калибровку), а испытательное оборудование - периодическую аттестацию.
6.1 В помещении для испытания образцов следует поддерживать температуру (20 ± 5) °С и относительную влажность воздуха не менее 55 %. Образцы должны быть выдержаны до испытания при указанных условиях в распалубленном виде в течение 24 ч, если они твердели в воде, и в течение 4 ч, если они твердели в воздушно-влажностных условиях или в условиях тепловой обработки.
Образцы, предназначенные для определения передаточной или распалубочной прочности бетона на сжатие в горячем состоянии, а также предназначенные для определения прочности на растяжение, следует испытывать без предварительной выдержки.
6.2 Перед испытанием образцы подвергают визуальному осмотру, устанавливая наличие дефектов в виде трещин, околов ребер, раковин и инородных включений. Образцы, имеющие трещины, околы ребер глубиной более 10 мм, раковины диаметром более 10 мм и глубиной более 5 мм (кроме бетона крупнопористой структуры), а также следы расслоения и недоуплотнения бетонной смеси, испытанию не подлежат. Наплывы бетона на ребрах опорных поверхностей образцов должны быть удалены абразивным камнем. Результаты осмотра и измерений записывают в журнал испытаний, форма которого приведена в приложении В. При наличии дефектов фиксируют схему их расположения.
6.3 На образцах выбирают и отмечают опорные грани, к которым должны быть приложены усилия в процессе нагружения.
Опорные грани отформованных образцов-кубов, предназначенных для испытания на сжатие, выбирают так, чтобы сжимающая сила при испытании была направлена параллельно слоям укладки бетонной смеси в формы.
Опорные грани образцов-кубов и образцов-призм, предназначенных для испытания на растяжение при раскалывании, должны быть выбраны так, чтобы оси колющих прокладок, передающих усилие, были перпендикулярны слоям укладки бетонной смеси.
Плоскость изгиба образцов-призм при испытании на растяжение при изгибе должна быть параллельна слоям укладки.
6.4 Линейные размеры образцов измеряют с погрешностью не более 1 %. Результаты измерений линейных размеров образцов записывают в журнал испытаний.
Примечание - При использовании для изготовления образцов бетона поверенных (калиброванных) форм по ГОСТ 22685, линейные размеры которых соответствуют требованиям указанного стандарта, допускается не измерять линейные размеры образцов, а принимать их равными номинальным, приведенным в таблице 1.
6.5 Отклонения от прямолинейности образующей образцов-цилиндров измеряют с помощью поверочной плиты или линейки и щупов, устанавливая наибольший зазор между боковой поверхностью образца и поверхностью поверочной плиты.
6.6 Отклонения от перпендикулярности смежных граней образцов-кубов и образцов-призм, а также опорных и боковых поверхностей образцов-цилиндров определяют по методике, приведенной в приложении Г.
6.7 Отклонения от плоскостности опорных поверхностей образцов определяют по методике, приведенной в приложении Г.
6.8 Отклонения от плоскостности, прямолинейности и перпендикулярности по 6.5 - 6.7 следует определять на образцах, изготовленных в формах одного комплекта не реже одного раза в 6 мес, а также при каждой замене форм для изготовления образцов.
6.9 Если опорные грани образцов-кубов или опорные поверхности образцов-цилиндров не соответствуют требованиям 4.1.4, то они должны быть выровнены. Для выравнивания применяют шлифование или нанесение слоя быстротвердеющего материала (например, на основе глиноземистого цемента или серы) толщиной не более 5 мм и прочностью к моменту испытания не менее ожидаемой прочности бетона образца.
6.10 Если при определении прочности бетона на растяжение при раскалывании не применяют кондукторы, приведенные на рисунках И.2 и И.3 приложения И, то на боковые грани образцов-кубов, образцов-призм и торцевые поверхности образцов-цилиндров, предназначенных для этих испытаний, наносят осевые линии, с помощью которых образец центрируют при испытании.
6.11 Образцы, предназначенные для испытания на осевое растяжение, закрепляют в захватах.
6.12 Перед испытанием определяют среднюю плотность образцов по ГОСТ 12730.1.
7.1 Общие требования
7.1.1 Все образцы одной серии должны быть испытаны в расчетном возрасте в течение не более 1 ч.
7.1.2 Перед установкой образца в испытательную машину удаляют частицы бетона, оставшиеся от предыдущего испытания на опорных плитах испытательной машины.
7.1.3 Шкалу силоизмерителя испытательной машины выбирают из условия, что ожидаемое значение разрушающей нагрузки должно быть в интервале от 20 % до 80 % максимальной нагрузки, допускаемой выбранной шкалой.
7.1.4 Нагружение образцов проводят непрерывно с постоянной скоростью нарастания нагрузки до его разрушения. При этом время нагружения образца до его разрушения должно быть не менее 30 с.
7.1.5 Максимальное усилие, достигнутое в процессе испытания, принимают за разрушающую нагрузку.
7.1.6 Разрушенный образец подвергают визуальному осмотру. В журнале испытаний отмечают:
- наличие крупных (объемом более 1 см3) раковин и каверн внутри образца;
- наличие зерен заполнителя размером более 1,5dmax, комков глины, следов расслоения.
Результаты испытаний образцов, имеющих перечисленные дефекты структуры и характер разрушения, не учитывают.
7.2 Испытание на сжатие
7.2.1 При испытании на сжатие образцы-кубы и образцы-цилиндры устанавливают одной из выбранных граней на нижнюю опорную плиту испытательной машины (пресса) центрально относительно его продольной оси, используя риски, нанесенные на плиту испытательной машины (пресса), или специальное центрирующее приспособление по приложению Д.
Если испытательная машина (или пресс) имеет один шаровой шарнир, радиус которого не обеспечивает поворот опорной плиты в процессе нагружения образца, то рекомендуется для передачи сжимающего усилия по оси образца устанавливать дополнительную опорную плиту с шарниром, обеспечивающим ее поворот. Дополнительную опорную плиту устанавливают так, чтобы плита испытательной машины (пресса) с шарниром и дополнительная опорная плита прилегали к противоположным граням образца.
7.2.2 Половинки образцов-призм при испытании на сжатие помещают между двумя дополнительными стальными пластинами для передачи нагрузки на половинки образцов-призм.
7.2.3 После установки образца на опорные плиты испытательной машины или дополнительные стальные плиты совмещают верхнюю плиту испытательной машины с верхней опорной гранью образца так, чтобы их плоскости полностью прилегали одна к другой. Образец нагружают до разрушения при постоянной скорости нарастания нагрузки (0,6 ± 0,2) МПа/с.
7.2.4 В случае разрушения образца по одной из неудовлетворительных схем, приведенных в приложении Е, результат не учитывают, о чем делают запись в журнале испытаний.
7.3 Испытание на растяжение при изгибе
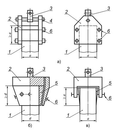
7.3.1 Образец-призму устанавливают в испытательную машину по схеме на рисунке 2 и приложению Ж и нагружают до разрушения при постоянной скорости нарастания нагрузки (0,05 ± 0,01) МПа/с.
а - ширина и
высота образца; F - нагрузка; q -
распределенная нагрузка; l - пролет;
1 - образец; 2 - шарнирно-неподвижная опора; 3 -
шарнирно-подвижная опора
Рисунок 2 - Схема испытания на растяжение при изгибе
7.3.2 Если образец разрушился не в средней трети пролета или плоскость разрушения образца наклонена к вертикальной плоскости более чем на 15°, то при определении средней прочности бетона серии образцов этот результат испытания не учитывают.
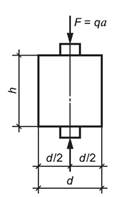
7.4 Испытания на растяжение при раскалывании
7.4.1 Образец устанавливают на плиту испытательной машины по схеме на рисунке 3 и приложению И.
7.4.2 С помощью держателя или временных опор проверяют, чтобы образец был отцентрирован при первоначальном приложении нагрузки. Нагружение проводят при постоянной скорости нарастания нагрузки (0,05 ± 0,01) МПа/с.
Для равномерной передачи усилия на образец между стальной колющей прокладкой и поверхностью образца-куба или между опорными плитами испытательной машины и поверхностью образца-цилиндра устанавливают прокладку из фанеры (используют не более двух раз) или картона (используют не более одного раза) длиной не менее длины образца, шириной (15 ± 1) мм и толщиной (4 ± 1) мм.
7.4.3 Результаты испытания не учитывают, если плоскость разрушения образца наклонена к вертикальной плоскости более чем на 15° (см. рисунок 4).
|
|
|
|
|
а) Образцы-цилиндры из бетона всех видов (кроме ячеистого бетона) |
б) Образцы-цилиндры из ячеистого бетона |
в) Образцы-кубы из бетона всех видов |
Рисунок 3 - Схемы испытания на растяжение при раскалывании (Лист 1)

г) Образцы-призмы из тяжелого бетона
Рисунок 3. Лист 2
Рисунок
4 - Погрешности расположения плоскостей действия нагрузки при испытании
на растяжение при раскалывании
7.5 Испытание на осевое растяжение
7.5.1 Образец закрепляют в разрывной машине по одной из схем, приведенных в приложении К, и нагружают до разрушения при постоянной скорости нарастания нагрузки (0,05 ± 0,01) МПа/с.
7.5.2 Результат испытаний не учитывают, если разрушение образца произошло не в рабочей зоне или плоскость разрушения образца наклонена к его горизонтальной оси более чем на 15°.
8.1 Прочность бетона на сжатие R, МПа, вычисляют с точностью до 0,1 МПа по формуле
|
|
(1) |
Прочность бетона на осевое растяжение Rt, растяжение при раскалывании Rtt, растяжение при изгибе Rtb, МПа, вычисляют с точностью до 0,01 МПа по формулам:
|
|
(2) |
|
|
(3) |
|
|
(4) |
где F - разрушающая нагрузка, H;
А - площадь рабочего сечения образца, мм2;
a, b, l - ширина, высота поперечного сечения призмы и расстояние между опорами соответственно при испытании образцов на растяжение при изгибе, мм;
a, b, g, d - масштабные коэффициенты для приведения прочности бетона к прочности бетона в образцах базовых размера и формы;
KW - поправочный коэффициент для ячеистого бетона, учитывающий влажность образцов в момент испытания.
8.2 Значения масштабных коэффициентов a, b, g и d определяют экспериментально по приложению Л. Допускается значения масштабных коэффициентов для отдельных видов бетонов принимать по таблице 4.
Таблица 4 - Масштабные коэффициенты
|
Форма и размеры образца, мм |
Масштабные коэффициенты при испытании |
||||
|
на сжатие всех видов бетонов, кроме ячеистого a |
на растяжение при раскалывании g |
на растяжение при изгибе тяжелого бетона d |
на осевое растяжение b |
||
|
тяжелого бетона |
мелкозернистого бетона |
||||
|
Куб (ребро) или квадратная призма (сторона поперечного сечения) |
|
|
|
|
|
|
70 |
0,85 |
0,78 |
0,87 |
0,86 |
0,85 |
|
100 |
0,95 |
0,88 |
0,92 |
0,92 |
0,92 |
|
150 |
1,00 |
1,00 |
1,00 |
1,00 |
1,00 |
|
200 |
1,05 |
1,10 |
1,05 |
1,15 |
1,08 |
|
250 |
1,08 |
- |
- |
1,25 |
- |
|
300 |
1,10 |
- |
- |
1,34 |
- |
|
Цилиндры [диаметр × высота (длина)] |
|
|
|||
|
100×200 |
1,16 |
0,98 |
0,99 |
- |
- |
|
150×300 |
1,20 |
1,13 |
1,08 |
- |
- |
|
200×400 |
1,24 |
- |
- |
- |
- |
|
250×500 |
1,26 |
- |
- |
- |
- |
|
300×600 |
1,28 |
- |
- |
- |
- |
|
Примечания 1 Для ячеистого бетона со средней плотностью менее 400 кг/м3 масштабный коэффициент α принимают равным 1,0 независимо от размеров и формы образцов. 2 Для ячеистого бетона со средней плотностью 400 кг/м3 и более масштабный коэффициент α для выбуренных образцов-цилиндров диаметром и высотой 70 мм и выпиленных образцов-кубов с ребром длиной 70 мм принимают равным 0,90, для образцов-цилиндров диаметром и высотой 100 мм и образцов-кубов с ребром длиной 100 мм - равным 0,95. 3 Применение экспериментальных масштабных коэффициентов a, b, g и d по приложению Л, отличающихся от единицы в сторону увеличения или уменьшения более чем это указано в настоящей таблице для отдельных видов бетонов и размеров образцов, не допускается. |
|||||
8.3 Значения поправочного коэффициента KW для ячеистого бетона принимают по таблице 5. Поправочный коэффициент KW при промежуточных значениях влажности бетона определяют линейной интерполяцией. Для других видов бетона значение коэффициента KW принимают равным единице.
Таблица 5 - Поправочные коэффициенты для ячеистого бетона
|
Влажность ячеистого бетона в момент испытания W, % по массе |
Поправочный коэффициент KW |
|
0 |
0,8 |
|
5 |
0,9 |
|
10 |
1,0 |
|
15 |
1,05 |
|
20 |
1,10 |
|
25 и более |
1,15 |
8.4 Прочность бетона (кроме ячеистого) в серии образцов определяют как среднеарифметическое значение прочности испытанных образцов в серии:
- из двух образцов - по двум образцам;
- из трех образцов - по двум образцам с наибольшей прочностью;
- из четырех образцов - по трем образцам с наибольшей прочностью;
- из шести образцов - по четырем образцам с наибольшей прочностью.
При отбраковке дефектных образцов прочность бетона в серии определяют по всем оставшимся образцам, если их не менее двух.
Результаты испытания серии из двух образцов при отбраковке одного образца не учитывают.
8.5 Прочность ячеистого бетона в серии образцов определяют как среднеарифметическое значение всех испытанных образцов серии.
8.6 При производственном контроле значения переходных коэффициентов от прочности бетона при одном виде напряженного состояния к другому виду напряженного состояния определяют экспериментально по приложению Л.
Определение среднего внутрисерийного коэффициента
вариации прочности бетона
Средний внутрисерийный
коэффициент вариации прочности бетона
, %,
определяют по результатам испытания любых последовательных 30 серий образцов
бетона одного класса. Для этого определяют размах Wi и прочность бетона Ri в каждой серии, а также средний размах
, МПа,
и среднюю прочность
i, МПа, по всем 30 сериям
по формулам:
|
Wi = Ri, max - Ri, min, |
(A.1) |
|
|
(A.2) |
|
|
(A.3) |
|
|
(A.4) |
где Ri, max и Ri, min - максимальное и минимальное значения прочности бетона в каждой серии образцов, МПа;
d - коэффициент, принимаемый в зависимости от числа образцов п в каждой серии по таблице А.1.
Таблица А.1 - Коэффициент d
|
п |
2 |
3 |
4 |
6 |
|
d |
1,13 |
1,69 |
2,06 |
2,50 |
|
Наименование, тип, марка оборудования или средства измерения |
Технические характеристики |
Необходимость периодической поверки (калибровки) средств измерений или метрологической аттестации испытательного оборудования |
|
1 Оборудование для изготовления образцов: |
|
|
|
1.1 Формы с крышками и насадками |
По ГОСТ 22685 |
Метрологическая аттестация по ГОСТ 2.601 |
|
1.2 Лабораторная виброплощадка |
Частота вертикальных колебаний с формой, заполненной бетонной смесью, (2900 ± 100) мин-1. Амплитуда вертикальных колебаний (0,5 ± 0,05) мм. Амплитуда горизонтальных колебаний не более 0,1 мм. Отклонение амплитуд колебаний краев площадки от ее середины не более 20 % |
То же |
|
1.3 Штыковка |
Стальной стержень диаметром 16 мм |
|
|
1.4 Глубинный вибратор |
Частота колебаний (7000 ± 200) мин-1 |
» |
|
1.5 Лабораторная пропарочная камера |
Погрешность поддержания заданной температуры не более 2 °С в диапазоне от 20 °С до 100 °С |
» |
|
1.6 Камера нормального твердения |
Температура воздуха (20 ± 2) °С, влажность воздуха (95 ± 5) % |
» |
|
2 Средства измерения: |
|
|
|
2.1 Весы по ГОСТ 24104 |
Погрешность определения массы не более 0,1 % |
Поверка (калибровка) |
|
2.2 Линейки металлические с ценой деления не более 1 мм |
По ГОСТ 427 |
То же |
|
2.3 Штангенциркули ШД-П 2-го класса |
По ГОСТ 166 |
» |
|
2.4 Щупы 2-го класса (набор № 2) |
По действующим нормативным или техническим документам |
» |
|
2.5 Поверочные плиты |
По ГОСТ 10905 |
» |
|
2.6 Поверочные угольники 90° |
По ГОСТ 3749 |
» |
|
2.7 Прибор для определения отклонений от плоскостности опорных поверхностей образцов |
Погрешность измерения не более 0,01 мм на 100 мм; наличие трех фиксированных опор и двух измерителей перемещений по схеме приложения Г |
Метрологическая аттестация и поверка (калибровка) измерителей перемещений |
|
2.8 Прибор для определения отклонений от перпендикулярности смежных граней (поверхностей) образцов |
Погрешность измерения не более 0,01 мм на 100 мм; наличие двух фиксированных опор в одной плоскости и одной опоры и измерителя перемещений в перпендикулярной плоскости по схеме приложения Г |
То же |
|
3 Испытательные машины для статических испытаний |
||
|
3.1 Прессы для испытаний на сжатие |
По ГОСТ 28840 |
Поверка |
|
3.2 Разрывные и универсальные испытательные машины |
То же |
То же |
|
4 Устройства и приспособления для испытаний на сжатие: |
||
|
4.1 Устройства для центрирования образцов относительно геометрической оси испытательной машины |
Обеспечение эксцентриситета приложения осевой нагрузки не более 1 % размера поперечного сечения образца |
Метрологическая аттестация |
|
4.2 Дополнительные стальные нажимные пластины для передачи нагрузки на половинки образцов-призм |
Твердость стали 55-60 HRCЭ. Отклонение от плоскостности опорных поверхностей не более 0,05 мм на 100 мм. Толщина не менее 0,25а (0,25d) при передаче нагрузки через шаровой шарнир. Размеры в плане должны соответствовать размерам поперечного сечения образца-куба или образца-цилиндра с погрешностью не более 1 % |
То же |
|
5 Устройства и приспособления для испытаний на растяжение при изгибе: |
||
|
5.1 Устройство в целом |
Обеспечение заданных размеров с погрешностью не более: 0,3 % для расчетного пролета; 1 % -для остальных размеров |
Метрологическая аттестация |
|
5.2 Шарнирно подвижные опоры |
Поворот (перемещение) в плоскости изгиба образца (без нагрузки) усилием не более 1 Н |
То же |
|
5.3 Шарнирно неподвижные опоры |
Обеспечение возможности поворота образца (без его перемещения) в плоскостях изгиба и перпендикулярной к ней |
» |
|
5.4 Стальные опорные пластины между образцом и шарнирами |
Толщина не менее 0,15а, ширина 0,3а - 0,4а, длина не менее а |
» |
|
6 Устройства и приспособления для испытаний на растяжение при раскалывании: |
Обеспечение схем испытаний согласно рисунку 3 и приложению И |
|
|
6.1 Устройство в целом |
Эксцентриситет плоскостей действия равномерно распределенных сил при испытании кубов (см. рисунок 4а) не более 0,1 а. Взаимная непараллельность плоскостей действия равномерно распределенных сил при испытании образцов-кубов (см. рисунок 4б) не более 1 мм на 100 мм |
Метрологическая аттестация |
|
6.2 Прокладки из картона по ГОСТ 6659, ГОСТ 7950, ГОСТ 9542 или трехслойной фанеры |
Толщина (4 ± 1) мм, ширина (15 ± 5) мм, длина не менее размера поперечного сечения образца-куба, образца-призмы или высоты образца-цилиндра |
То же |
|
6.3 Опорные плиты при испытании образцов-цилиндров |
Твердость стали - 55-60 HRCЭ. Отклонение от плоскостности вдоль линии приложения усилия не более 0,05 мм на 100 мм. Толщина не менее 0,25d |
Метрологическая аттестация |
|
7 Устройства для испытания на осевое растяжение образцов-призм или образцов-цилиндров |
Обеспечение соосности и эксцентриситета приложения осевого растягивающего усилия относительно продольной оси образца не более 1 % размера его поперечного сечения (см. приложение K) |
Метрологическая аттестация |
Форма журнала испытаний при определении прочности контрольных образцов на сжатие
|
Дата изготовления контрольного образца |
Маркировка серии образцов |
Нормируемые характеристики прочности и плотности бетона |
Дата испытания контрольных образцов |
Характеристика образца |
Результаты испытания |
Примечание |
Подпись лица, испытавшего образцы |
|||||
|
Проектный |
Отпускная (передаточная) прочность или промежуточная прочность, МПа |
Масса, |
Размеры, см |
Средняя плотность, кг/м3 |
Разрушающая нагрузка, кН |
Прочность образца, приведенная к базовому размеру, МПа |
Средняя прочность образцов в серии, МПа |
|||||
|
Марка по средней плотности |
||||||||||||
|
1 |
2 |
3 |
4 |
5 |
6 |
7 |
8 |
9 |
10 |
11 |
12 |
13 |
|
Пример заполнения журнала испытания тяжелого бетона (сборное изделие) |
||||||||||||
|
01.07.11 |
Ф4-27 |
В15 |
Rотпуск = 70 % В15 |
02.07.11 |
2340 |
10×10×10 |
2340 |
148 |
14,1 |
14,5 |
|
|
|
2370 |
10×10×10 |
2370 |
156 |
14,8 |
||||||||
|
- |
29.07.11 |
2350 |
10×10×10 |
2350 |
251 |
23,8 |
23,5 |
|
|
|||
|
2360 |
10×10×10 |
2360 |
241 |
22,9 |
||||||||
|
Пример заполнения журнала испытания легкого бетона (монолитная конструкция) |
||||||||||||
|
01.06.11 |
П-14 |
В20 |
Rраспал = 70 % В20 |
15.06.11 |
6110 |
15×15×15 |
1810 |
563 |
25,0 |
25,9 |
|
|
|
6175 |
15×15×15 |
1830 |
600 |
26,7 |
||||||||
|
D1900 |
6195 |
15×15×15 |
1836 |
551 |
24,5 |
|||||||
|
29.06.11 |
6160 |
15×15×15 |
1825 |
671 |
29,8 |
29,9 |
||||||
|
6125 |
15×15×15 |
1815 |
677 |
30,1 |
||||||||
|
6145 |
15×15×15 |
1821 |
662 |
29,4 |
||||||||
Определение отклонений от плоскостности и
перпендикулярности опорных
граней образцов
Г.1 Отклонения опорных граней образцов от плоскостности измеряют прибором с погрешностью не более 0,01 мм на 100 мм линейного размера опорной грани образца, который должен иметь три фиксированные опоры по углам и не менее двух индикаторов часового типа по ГОСТ 577: один по четвертому углу и один в середине (см. рисунок Г.1).
b1 - база прибора; 1 - корпус (рамка); 2 - опора; 3 - индикатор
Рисунок Г.1 - Схема прибора для измерения отклонений от плоскостности
Г.2 Перед измерением образца прибор устанавливают на поверочную плиту по ГОСТ 10905 в трех точках и приводят показания стрелок индикаторов в нулевое положение.
При отсутствии поверочной плиты допускается устанавливать прибор на зеркало размерами, превышающими расстояние между угловыми опорами не менее чем на 20 мм.
Примечание - При использовании зеркала вместо поверочной плиты предварительно проверяют качество его поверхности. С этой целью прибор после установки стрелок индикаторов на нуль смещают на 10 - 15 мм в разные стороны по поверхности зеркала. Если при этом стрелки индикаторов отклоняются от нулевого положения не более чем на 0,5 деления, то зеркало пригодно для использования.
Г.3 Прибор прижимают к измеряемой грани образца и фиксируют, опирая в трех точках. Затем снимают отсчеты по двум индикаторам.
Г.4 Отклонение от плоскостности А относительно угловых точек, мм, рассчитывают по формуле
|
|
(Г.1) |
где O1 - показание углового индикатора, мм.
С1 - постоянная прибора, рассчитываемая по формуле
|
|
(Г.2) |
где 100 - длина, к которой относится допуск, мм,
b1 - база прибора, мм (см. рисунок Г.1).
Г.5 Вогнутость (выпуклость) В, мм, рассчитывают по формуле
|
|
(Г.3) |
где O2 - показание индикатора, установленного в середине, мм.
Отрицательное значение В показывает, что грань образца вогнутая, а положительное значение - выпуклая.
Г.6 Отклонения от плоскостности проверяют по двум противоположным опорным граням, которыми образец при испытании будет контактировать с плитами испытательной машины.
Г.7 Отклонения от перпендикулярности опорных граней образцов проверяют прибором (см. рисунок Г.2) с погрешностью не более 0,01 мм на 100 мм длины (высоты) образца-куба и образца-призмы и образующей образца-цилиндра, который должен иметь три фиксированные опоры: две на одной стороне и одна - на стороне, на которой закреплен индикатор часового типа по ГОСТ 577.
b2 - база прибора; 1 - корпус (угольник); 2 - опора; 3 - индикатор
Рисунок Г.2 - Схема прибора для измерения отклонения от перпендикулярности
Г.8 Перед измерением прибор устанавливают в вертикальное положение на поверочную плиту или зеркало и приставляют к третьей опоре прибора поверочный угольник. При таком положении прибора стрелку индикатора приводят в нулевое положение.
Г.9 Прибор приставляют к измеряемой грани образца и фиксируют, прижимая к смежной грани двумя опорами и к измеряемой грани третьей опорой. Затем снимают показания индикатора.
Отклонения от перпендикулярности образца с ребром длиной не более 100 мм определяют в сечении посредине, а в образцах с ребром большей длины - в двух сечениях на расстоянии 20 - 50 мм от краев.
Г.10 Отклонение от перпендикулярности С, мм, рассчитывают по формуле
|
С = С2О3, |
(Г.4) |
где О3 - показание индикатора, мм,
-
постоянная прибора,
100 - длина, к которой относится допуск, мм,
b2 - база прибора, мм (см. рисунок Г.2).
Г.11 Отклонения от перпендикулярности определяют по опорным граням относительно смежных граней. Отклонения грани, открытой при бетонировании образца, не оценивают.
Приспособление для центрирования контрольных образцов
при испытании
на сжатие

1 - плита
пресса; 2 - образец; 3 - угольник; 4 - основание
приспособления; 5 - шток;
6 - гнезда для установки ограничителя; 7 - ограничитель; 8
- направляющие; 9 - крепежные болты
Рисунок Д.1 - Приспособление для центрирования контрольных образцов
Примеры разрушений образцов при испытаниях на сжатие

Рисунок Е.1 - Удовлетворительные разрушения образцов-кубов

Рисунок Е.2 - Неудовлетворительные разрушения образцов-кубов

Рисунок Е.3 - Удовлетворительные разрушения образцов-цилиндров

Рисунок Е.4 - Неудовлетворительные разрушения образцов-цилиндров
Устройства для испытания на растяжение при изгибе
Рекомендуемые конструктивные решения и размеры устройств и приспособлений для реализации схемы испытания на растяжение при изгибе приведены на рисунке Ж.1.
1 - образец;
2 - шар; 3 - опорная подушка; 4 - качающаяся призма; 5
- опорная сегментная подушка;
6 - опорная плоская подушка; 7 - распределительная траверса; 8
- шарнирно-неподвижная опора;
9 - шарнирно-подвижная опора; 10 - шаровой шарнир; 11 -
стальная опорная пластина
Рисунок Ж.1 - Схема устройств для испытания на растяжение при изгибе
Одна из опор, на которую образец 1 устанавливают в испытательную машину (установку), является шарнирно-неподвижной, обеспечивающей только поворот образца, а вторая - шарнирно-подвижной, обеспечивающей поворот образца и его смещение в плоскости изгиба.
Шарнирно-неподвижная опора (узел Г) выполнена в виде шара 2, устанавливаемого центрально относительно поперечной оси образца между опорными подушками 3 со сферическими поверхностями, что обеспечивает поворот образца как в плоскости изгиба, так и в плоскости, перпендикулярной к ней, без перемещения образца и исключает косой изгиб, который может быть вызван неплоскостностью опорных граней образца.
Шарнирно-подвижная опора (узел В) выполнена в виде качающейся призмы 4, опирающейся на верхнюю сегментную 5 и нижнюю плоскую 6 опорные подушки, и установлена центрально относительно поперечной оси образца, что обеспечивает как поворот, так и смещение образца в плоскости изгиба и исключает возникновение усилия распора вследствие прогиба образца.
Нагрузка от испытательной машины (установки) передается на образец через распределительную траверсу 7, выполненную в виде однопролетной балки. Длина траверсы должна быть не менее половины длины образца, а ее прогиб под нагрузкой - не более 1/500 ее пролета. Траверсу устанавливают на образец центрально относительно его осей и опирают на образец в двух сечениях в третях пролета. Шарнирно-неподвижная опора 8 траверсы выполнена так же, как и соответствующая опора образца. Шарнирно-подвижная опора 9 траверсы выполнена в виде цилиндрического катка, устанавливаемого между опорными пластинами, размеры которых должны соответствовать размерам опорных подушек.
Длина опорных пластин и подушек должна быть не менее размера поперечного сечения образца.
Нагрузка от испытательной машины (установки) на траверсу должна передаваться центрально через шаровой шарнир 10, в качестве которого может быть использован верхний шарнир испытательной машины.
Устройства для испытания на растяжение при раскалывании
И.1 Рекомендуемые конструктивные решения устройств и приспособлений для реализации схемы испытания на растяжение при раскалывании образцов-цилиндров приведены на рисунках И.1 - И.3.
1 - образец;
2 - нагрузочное устройство (плита) при испытании образца-цилиндра;
3 - нагрузочное устройство (колющий стержень) при испытании
образца-куба, образца-призмы;
4 - шаровой шарнир; 5 - дополнительная шаровая опора;
6 - нижняя опорная плита пресса (испытательной машины)
Рисунок И.1 - Схема устройств для испытаний на растяжение при раскалывании
Усилие F от испытательной машины прикладывают к образцу 1 (рисунок И.1) через шаровой шарнир 4 и нагрузочное устройство 2, которое при испытании выполняют в виде плиты [см. рисунок И.1а)]. В качестве шарового шарнира допускается использовать верхний шарнир испытательной машины. В этом случае, если толщина верхней опорной плиты испытательной машины соответствует предъявляемым требованиям, дополнительного нагружающего устройства не требуется.
Для обеспечения требуемой схемы приложения нагрузки рекомендуется применять кондуктор (см. рисунки И.2 и И.3). Направляющие кондуктора 1 жестко соединены с нижним нагрузочным устройством 2, выполненным в виде плоской плиты [см. рисунок И.2а)]. Верхнее нагрузочное устройство 4 устанавливают в направляющие кондуктора (см. рисунок И.2). Размеры элементов кондуктора назначают исходя из требований, приведенных в таблице Б.1.
|
1 -
направляющие кондуктора; |
1 -
направляющие кондуктора; |
|
Рисунок И.2 - Схема кондуктора |
Рисунок И.3 - Схема кондуктора |
Устройства для испытания на осевое растяжение
К.1 При испытании на осевое растяжение схему захвата для крепления образца к испытательной машине выбирают в зависимости от его формы (образец-призма или образец-цилиндр), конструкции сочленения захвата с испытательной машиной (жесткая, гибкая, шарнирная), способа крепления захвата к образцу (с помощью клея, анкеров, закладываемых в образец при его изготовлении, или за счет трения о его поверхность).
К.2 На рисунке К.1 приведены схемы захватов для крепления образцов квадратного сечения с галтелями. Образцы, как правило, захватывают за две противоположные грани.
1 - образец;
2 - захват; 3 - концевой элемент шарнира Гука;
4 - гибкая тяга; 5 - ось; 6 - жесткая тяга
Рисунок К.1 - Схемы захватов для крепления образца с галтелями
На рисунке К.1а) приведена схема жесткого захвата, в качестве которого допускается использовать опорные части испытательных машин в случае, если их устройство обеспечивает соосность передачи между ними растягивающего усилия.
На рисунках К.1б), К.1в) приведены схемы гибкой конструкции сочленения элементов захвата для образцов квадратного и цилиндрического сечений соответственно, в которых самоцентрирование образца в процессе установки и испытания облегчается за счет гибкой тяги 4. В приведенной на рисунке К.1в) шарнирной конструкции захвата жесткая тяга 6 выполняет ту же функцию, что и гибкая. В случае применения захвата, схема которого приведена на рисунке К.1в), в галтельную часть образца при его изготовлении закладывают трубу для пропуска захвата.
К.3 На рисунках К.2 - К.5 приведены схемы захватов, которые используют для крепления образцов без галтелей.
1 - образец; 2 - захват; 3 - концевой элемент шарнира Гука; 4 - клей; 5 - анкер
Рисунок К.2 - Схема приклеиваемых и анкерных захватов
1 - образец;
2 - захват; 3 - концевой элемент шарнира Гука;
4 - ось; 5 - цанга; 6 - стягивающие винты
Рисунок К.3 - Схемы зажимных захватов
|
1 - образец; 2 - прижимная пластина; 3 - концевой элемент шарнира Гука; 4 - ось; 5 - тяга; 6 - подвижная опора захвата (каток); 7 - неподвижная опора захвата |
1 -
центральный элемент; |
|
Рисунок К.4 - Схема саморегулируемого зажима |
Рисунок К.5 - Схема шарнира Гука |
К.3.1 Приклеиваемые и анкерные захваты требуют специальной подготовки образца при его изготовлении или перед испытанием (закладки анкеров или приклеивания захвата клеем). Анкеры следует выполнять с заостренными концами и разной длины, при этом разница в длине анкеров должна быть не менее среднего диаметра зерен крупного заполнителя daq.
При разрушении образца необходимо обращать внимание, как проходит плоскость разрушения. Если плоскость разрушения проходит более чем через 50 % концов анкеров, то образец следует браковать по результатам измерения прочностных характеристик.
Приклеивать захваты рекомендуется эпоксидной смолой с наполнителями: цементом или тонкомолотым песком для снижения усадочных напряжений и деформаций. Приклеиваемые и анкерные захваты могут быть использованы для образцов-призм и образцов-цилиндров.
К.3.2 Зажимные и самозажимные захваты не требуют специальной подготовки образца и устанавливаются на нем непосредственно перед испытанием. Образец удерживается в захвате за счет трения деталей захвата (прижимных пластин или цанг) о его поверхность. С целью увеличения силы трения на поверхности деталей, прилегающих к образцу, рекомендуется делать насечку, а в зажимных захватах эти детали должны дополнительно прижиматься к образцу винтами. Усилие затяжки винтов предварительно подбирают в зависимости от размеров образца, вида и прочности бетона. Число винтов рекомендуется принимать равным числу цанг.
Число цанг 5 (см. рисунок К.3) в зажимном захвате для образца-цилиндра должно быть не менее четырех, что позволяет нивелировать возможные отклонения формы и размеров поперечного сечения образца от номинальных. Рекомендуется в этом типе захватов делать винтовое дно для предварительного закрепления образца и удобства освобождения остатков образца после испытания.
В самозажимном захвате для образцов-призм (см рисунок К.4) каток 6 должен свободно перемещаться по прижимной пластине 2, а неподвижная опора захвата 7 должна быть жестко закреплена на ней. При установке захвата на образце для предотвращения его разрушения в захвате подвижная опора захвата (каток) 6 должна располагаться на расстоянии не менее чем 0,1а от торца образца.
К.4 Для обеспечения соосности передачи усилия между захватами их следует соединять с опорными устройствами испытательной машины через шарнир Гука. Концевой элемент 2 шарнира Гука (см. рисунок К.5) входит в состав захвата, а концевой элемент 3 устанавливают в опорном устройстве испытательной машины.
Применение шаровых шарниров вместо шарниров Гука допускается только при гибкой конструкции сочленения захвата с испытательной машиной.
Л.1 Экспериментальные масштабные коэффициенты устанавливают отдельно для каждого класса и вида бетона, для каждой испытательной машины и комплекта форм, используемых для изготовления образцов небазовых размера и формы.
Л.2 Для установления значений масштабных коэффициентов испытывают по восемь парных серий образцов базового и небазового размеров, если число образцов в каждой серии равно двум, и по шесть парных серий образцов, если число образцов в каждой серии равно трем или более.
Образцы небазового размера изготавливают в различных формах из находящегося в обращении комплекта, при этом все формы должны быть поверены.
Л.3 Образцы каждой парной серии базового и небазового размеров изготавливают из одной пробы бетонной смеси и выдерживают в одинаковых условиях. После окончания твердения все образцы испытывают в одном возрасте.
Средняя плотность бетона в каждой парной серии образцов базового и небазового размеров в момент испытания не должна отличаться более чем на 2 %.
Л.4 Для каждой парной серии определяют значение масштабного коэффициента Kj, по формуле
|
|
(Л.1) |
где
и Rsj - средние значения прочности бетона в
сериях базового и небазового размеров, вычисленные по результатам испытаний
всех образцов серии.
По всем сериям вычисляют средний
масштабный коэффициент
, среднеквадратическое
отклонение Sk и
коэффициент вариации V, %, по формулам:
|
|
(Л.2) |
|
|
(Л.3) |
|
|
(Л.4) |
где п - число пар серий образцов, равное 8 или 6.
Экспериментально установленный масштабный коэффициент
может
быть использован, если коэффициент вариации не превышает 15 %.
Л.5 Полученные значения экспериментально установленных масштабных коэффициентов сравнивают со значениями, приведенными в таблице 4, и оценивают значимость их отличия от табличных по значению τ, вычисляемому по формуле
|
|
(Л.5) |
где Ktb - значения масштабных коэффициентов a, b, g, d по таблице 4 для образцов, имеющих форму и размеры, соответствующие испытуемым.
При τ ³ 1,4 отличие признают существенным и принимают экспериментальное значение масштабного коэффициента.
При τ < 1,4 отличие признают несущественным и принимают значение масштабного коэффициента по таблице 4.
Л.6 Значения экспериментально установленных масштабных коэффициентов устанавливает лаборатория предприятия или строительной организации и утверждает главный инженер этого предприятия или организации.
Л.7 Проверку экспериментально установленных значений масштабных коэффициентов следует проводить не реже одного раза в два года, а также при ремонте и замене испытательных машин и парка форм для изготовления образцов.
Л.8 При производственном контроле прочности по ГОСТ 18105 по настоящей методике определяют также коэффициенты перехода от прочности при одном виде напряженного состояния к другому, например, от прочности на сжатие к прочности на растяжение (осевое, при изгибе или при раскалывании).
Для тяжелых бетонов классов прочности на сжатие от В15 до В40 значения коэффициентов перехода допускается принимать по таблице Л.1.
Таблица Л.1 - Коэффициенты перехода K
|
Вид напряженного состояния |
Коэффициент перехода K |
|||
|
Сжатие |
Растяжение осевое |
Растяжение при изгибе |
Растяжение при раскалывании |
|
|
Сжатие |
1,00 |
0,07 |
0,12 |
0,08 |
|
Растяжение осевое |
14,28 |
1,00 |
1,82 |
1,20 |
|
Растяжение при изгибе |
8,33 |
0,55 |
1,00 |
0,67 |
|
Растяжение при раскалывании |
12,50 |
0,83 |
1,50 |
1,00 |
Ключевые слова: бетоны, контрольные образцы, прочность на сжатие, прочность на растяжение при изгибе, прочность на осевое растяжение, прочность на растяжение при раскалывании