Prefabricated construction concrete and reinforced conсrete products. Load testing methods. Rules for assessment of strength, rigidity and crack resistance

МЕЖГОСУДАРСТВЕННЫЙ СОВЕТ ПО СТАНДАРТИЗАЦИИ, МЕТРОЛОГИИ И СЕРТИФИКАЦИИ
(МГС)

INTERSTATE COUNCIL FOR STANDARDIZATION, METROLOGY AND CERTIFICATION
(ISC)

МЕЖГОСУДАРСТВЕННЫЙ
СТАНДАРТ

ГОСТ
8829-
2018

ИЗДЕЛИЯ СТРОИТЕЛЬНЫЕ
ЖЕЛЕЗОБЕТОННЫЕ
И БЕТОННЫЕ ЗАВОДСКОГО
ИЗГОТОВЛЕНИЯ

Методы испытаний нагружением.
Правила оценки прочности, жесткости
и трещиностойкости

Москва

Стандартинформ

2019

Предисловие

Цели, основные принципы и общие правила проведения работ по межгосударственной стандартизации установлены ГОСТ 1.0 «Межгосударственная система стандартизации. Основные положения» и ГОСТ 1.2 «Межгосударственная система стандартизации. Стандарты межгосударственные, правила и рекомендации по межгосударственной стандартизации. Правила разработки, принятия, обновления и отмены»

Сведения о стандарте

1 РАЗРАБОТАН Научно-исследовательским, проектно-конструкторским и технологическим институтом бетона и железобетона им. А.А. Гвоздева (НИИЖБ) - структурным подразделением АО НИЦ «Строительство»

2 ВНЕСЕН Техническим комитетом по стандартизации ТК 465 «Строительство»

3 ПРИНЯТ Межгосударственным советом по стандартизации, метрологии и сертификации (протокол от 29 ноября 2018 г. № 54)

За принятие проголосовали:

Краткое наименование страны
по МК (ИСО 3166) 004-97

Код страны по
МК (ИСО 3166) 004-97

Сокращенное наименование национального
органа по стандартизации

Армения

AM

Минэкономики Республики Армения

Беларусь

BY

Госстандарт Республики Беларусь

Киргизия

KG

Кыргызстандарт

Россия

RU

Росстандарт

4 Приказом Федерального агентства по техническому регулированию и метрологии от 18 апреля 2019 г. № 141-ст межгосударственный стандарт ГОСТ 8829-2018 введен в действие в качестве национального стандарта Российской Федерации с 1 сентября 2019 г.

5 ВЗАМЕН ГОСТ 8829-94

Информация о введении в действие (прекращении действия) настоящего стандарта и изменений к нему на территории указанных выше государств публикуется в указателях национальных стандартов, издаваемых в этих государствах, а также в сети Интернет на сайтах соответствующих национальных органов по стандартизации.

В случае пересмотра, изменения или отмены настоящего стандарта соответствующая информация будет опубликована на официальном интернет-сайте Межгосударственного совета по стандартизации, метрологии и сертификации в каталоге «Межгосударственные стандарты»

Содержание

1 Область применения. 2

2 Нормативные ссылки. 3

3 Термины и определения. 3

4 Общие положения. 4

5 Порядок отбора изделий для испытаний. 4

6 Требования к изделиям для испытаний. 5

7 Средства испытаний и вспомогательные устройства. 6

8 Порядок подготовки к проведению испытаний. 6

9 Порядок проведения испытаний. 10

10 Правила оценки результатов испытаний. 13

11 Правила оформления результатов испытаний. 15

Приложение А (обязательное) Перечень сведений, необходимых для проведения испытаний изделий нагружением, которые должны содержаться в проектной документации. 16

Приложение Б (обязательное) Указания по назначению контрольных нагрузок, прогибов и ширины раскрытия трещин. 16

ГОСТ 8829-2018

МЕЖГОСУДАРСТВЕННЫЙ СТАНДАРТ

ИЗДЕЛИЯ СТРОИТЕЛЬНЫЕ ЖЕЛЕЗОБЕТОННЫЕ
И БЕТОННЫЕ ЗАВОДСКОГО ИЗГОТОВЛЕНИЯ

Методы испытаний нагружением.
Правила оценки прочности, жесткости и трещиностойкости

Prefabricated construction concrete and reinforced concrete products. Load testing methods.
Rules for assessment of strength, rigidity and crack resistance

(Поправка)

Дата введения - 2019-09-01

1 Область применения

Настоящий стандарт распространяется на методы контрольных статических испытаний нагружением для оценки прочности, жесткости и трещиностойкости бетонных и железобетонных строительных изделий (далее - изделия) с ненапрягаемой и напрягаемой стальной арматурой, в том числе смешанно армированных, изготовляемых из всех видов бетонов по ГОСТ 25192, кроме жаростойких.

Настоящий стандарт распространяется также на методы статических испытаний и правила оценки их результатов, приведенные в настоящем стандарте, которые должны применяться для изделий, запроектированных для эксплуатации при статических нагрузках. Их применение допускается также для оценки прочности, жесткости и трещиностойкости изделий, запроектированных для эксплуатации при переменных многократных нагружениях (например, подкрановые балки, элементы покрытий с подвесным транспортом и др.).

Настоящий стандарт не распространяется на испытание натурных конструкций, а также с целью оценки правильности проектирования изделий.

Настоящий стандарт предназначен для применения лабораториями, осуществляющими контрольные статические испытания изделий нагружением в соответствии с требованиями ГОСТ 13015, а также проектными организациями, разрабатывающими проектную документацию, в которой предусмотрено проведение таких испытаний.

2 Нормативные ссылки

В настоящем стандарте использованы нормативные ссылки на следующие межгосударственные

стандарты:

ГОСТ 166-89 (ИСО 3599-76) Штангенциркули. Технические условия

ГОСТ 577-68 Индикаторы часового типа с ценой деления 0,01 мм. Технические условия

ГОСТ 2405-88 Манометры, вакуумметры, мановакуумметры, напоромеры, тягомеры и тягонапоромеры. Общие технические условия

ГОСТ 10180-2012 Бетоны. Методы определения прочности по контрольным образцам

ГОСТ 10528-90 Нивелиры. Общие технические условия

ГОСТ 10529-96 Теодолиты. Общие технические условия

ГОСТ 13015-2012 Изделия бетонные и железобетонные для строительства. Общие технические требования. Правила приемки, маркировки, транспортирования и хранения

ГОСТ 13837-79 Динамометры общего назначения. Технические условия

ГОСТ 17624-2012 Бетоны. Ультразвуковой метод определения прочности

ГОСТ 22690-2015 Бетоны. Определение прочности механическими методами неразрушающего контроля

ГОСТ 25192-2012 Бетоны. Классификация и общие технические требования

ГОСТ 28570-90 Бетоны. Методы определения прочности по образцам, отобранным из конструкций

Примечание - При пользовании настоящим стандартом целесообразно проверить действие ссылочных стандартов в информационной системе общего пользования - на официальном сайте Федерального агентства по техническому регулированию и метрологии в сети Интернет или по ежегодному информационному указателю «Национальные стандарты», который опубликован по состоянию на 1 января текущего года, и по выпускам ежемесячного информационного указателя «Национальные стандарты» за текущий год. Если ссылочный стандарт заменен (изменен), то при пользовании настоящим стандартом следует руководствоваться заменяющим (измененным) стандартом. Если ссылочный стандарт отменен без замены, то положение, в котором дана ссылка на него, применяется в части, не затрагивающей эту ссылку.

3 Термины и определения

В настоящем стандарте применены термины по ГОСТ 13015, а также следующие термины с соответствующими определениями:

3.1 контрольная нагрузка: Значение нагрузки, служащее одним из критериев для оценки пригодности изделий по результатам испытаний нагружением.

Примечание - Контрольные значения устанавливаются для нагрузки, при которой: происходит разрушение, т.е. исчерпание несущей способности (контрольная нагрузка по прочности или контрольная разрушающая нагрузка); регистрируется значение прогиба изделия (контрольная нагрузка по жесткости); регистрируется появление трещин (контрольная нагрузка по образованию трещин); регистрируется ширина трещин (контрольная нагрузка по ширине раскрытия трещин).

3.2 коэффициент безопасности С: Коэффициент, численно равный отношению контрольной нагрузки к нагрузке на изделие, соответствующей его расчетной несущей способности.

3.3 контрольный прогиб: Значение прогиба изделия при его нагружении в положении, отличном от проекта, с которым сопоставляется фактический прогиб изделия под контрольной нагрузкой для оценки пригодности этого изделия по жесткости.

3.4 контрольная ширина раскрытия трещин: Значение, с которым сопоставляется фактическая ширина трещин под контрольной нагрузкой для оценки пригодности изделия по трещиностойкости.

3.5 натурные испытания: Испытания изделий в составе зданий (конструкций) на строительном объекте с целью установления фактических значений прочности, жесткости и трещиностойкости согласно требованиям норм проектирования и проектной документации.

4 Общие положения

4.1 Приемо-сдаточные испытания изделий нагружением (испытания) следует выполнять в целях комплексной проверки их соответствия требуемым показателям по прочности, жесткости и трещиностойкости, предусмотренным в проектной документации на эти изделия, а также действующим нормам проектирования.

4.2 Контрольные испытания нагружением следует проводить перед началом массового изготовления изделий, в дальнейшем - при внесении в них конструктивных изменений или при изменении технологии изготовления, вида и качества применяемых материалов, а также периодически в соответствии с указаниями ГОСТ 13015.

4.3 Испытания, как правило, следует проводить до разрушения изделия. Допускается прекращать испытание до разрушения изделия в случае превышения фактической нагрузки контрольных значений по его прочности.

4.4 Оценку прочности, жесткости и трещиностойкости изделия следует осуществлять по результатам испытаний на основании сопоставления фактических значений нагрузок, прогиба и ширины раскрытия трещин при действии контрольной нагрузки с соответствующими контрольными и предельными значениями, установленными нормами проектирования и проектной документацией на изделие.

4.5 Проведение предусмотренных в настоящем стандарте контрольных испытаний изделий не может быть для предприятия-изготовителя основанием для отказа от выполнения в процессе производства операционного и приемочного контроля изделий по показателям, характеризующим их соответствие техническим требованиям, установленным в стандартах и проектной документации на эти изделия.

4.6 Перечень сведений для проведения испытаний, которые должны содержаться в проектной документации на изделие, приведен в приложении А.

5 Порядок отбора изделий для испытаний

5.1 Отбор изделий для испытаний следует проводить в соответствии с требованиями стандартов или проектной документации на изделия конкретных видов в количестве, установленном этими документами:

- для испытаний, проводимых перед началом массового изготовления изделий и в дальнейшем при внесении в них конструктивных изменений или при изменении технологии изготовления, - не менее 2 шт.;

- периодических испытаний (если их проведение предусмотрено стандартами и проектной документацией) - в соответствии с таблицей 1.

Таблица 1 - Число изделий для испытаний

Изделия, изготовляемые в течение периода между испытаниями, шт.

Образцы изделий, отбираемые для испытаний, шт., не менее

Не более 250

1

От 251 до 1000

2

» 1001 » 3000

3

» 3001 и более

4

Примечание - Период между испытаниями принимают согласно стандарту или проектной документации на изделия.

5.2 Для испытаний в качестве образцов следует отбирать изделия одной марки, принятой по согласованию с проектной организацией, разработчиком проектной документации, в качестве представителей изделий данного типа.

6 Требования к изделиям для испытаний

6.1 Армирование изделий должно соответствовать проектной документации.

6.2 Отклонения геометрических параметров изделий, а также армирования, отобранных для контрольных испытаний, от проектных не должны превышать предельных значений, установленных в стандартах или рабочей документации, с учетом принятого класса точности в соответствии с ГОСТ 13015.

6.3 В бетоне изделий не допускается наличие:

- дефектов в виде трещин с параметрами, превышающими установленные ГОСТ 13015;

- сколов и раковин на сжатой при испытании поверхности глубиной более 20 мм;

- участков нарушенного сцепления арматуры, за исключением торцовых граней изделий с предварительно напряженным армированием.

6.4 Максимальное значение средней прочности бетона, соответствующее проектному классу бетона изделия, указано в таблице 2.

Таблица 2 - Максимальная средняя прочность бетона изделия

Класс бетона В

Средняя прочность R, МПа

Класс бетона В

Средняя прочность R, МПа

15

19

40

44

20

24

45

49

25

29

50

54

30

34

55

59

35

39

60

70

6.5 В случае превышения средней прочности бетона изделий результаты испытаний могут быть учтены при условии корректировки проектного класса в проектной документации в соответствии с таблицей 2.

6.6 Прочность бетона следует устанавливать по стандартным образцам-кубам согласно ГОСТ 10180 в количестве не менее трех, изготовляемым при бетонировании изделий. Образцы должны быть выдержаны в тех же условиях, что и изделия для испытаний.

6.7 Испытания стандартных образцов-кубов по ГОСТ 10180 следует проводить в период ±3 сут от даты проведения испытаний. Допускается также определять прочность бетона путем отбора образцов по ГОСТ 28570 или методами неразрушающего контроля по ГОСТ 22690 и ГОСТ 17624.

7 Средства испытаний и вспомогательные устройства

7.1 При проведении испытаний для нагружения следует использовать оборудование, обеспечивающее возможность опирания конструкций и приложения к ним нагрузки по заданной схеме и позволяющее проводить нагружение с погрешностью не более ±2 % значения контрольной нагрузки по прочности.

Рекомендуется использовать для нагружения гидравлические прессы или стенды с гидравлическими домкратами и насосными станциями, а также механические рычажные установки, в которых нагружающие усилия получают за счет веса штучных грузов, уложенных на платформу установок или непосредственно на испытуемый элемент, и пневматические установки, в которых нагружающие усилия обеспечиваются сжатым воздухом.

7.2 При использовании для нагружения штучных грузов (металлических чушек, бетонных блоков) эти грузы должны быть предварительно взвешены и замаркированы. Погрешность взвешивания не должна превышать ±2 %. Допускается использовать для нагружения емкости с водой, ящики с песком или другими сыпучими материалами.

7.3 Для измерения усилий следует применять манометры по ГОСТ 2405 и динамометры по ГОСТ 13837. В качестве динамометров допускается применять предварительно проградуированные по деформациям распределительные траверсы или металлические тяги, передающие нагружающее усилие на испытуемое изделие.

7.4 Для измерения прогибов и перемещений следует применять измерительные приборы и инструмент с погрешностью не более 3 % предельного значения измеряемой величины.

Рекомендуется использовать:

- механические и цифровые прогибомеры;

- индикаторы часового типа по ГОСТ 577, датчики линейных перемещений;

- штангенциркули по ГОСТ 166;

- нивелиры и теодолиты по ГОСТ 10528, ГОСТ 10529.

7.5 Для измерения ширины раскрытия трещин следует применять измерительные микроскопы или лупы ценой деления не более 0,05 мм. Допускается использовать металлические щупы и измерительные шаблоны.

8 Порядок подготовки к проведению испытаний

8.1 Изделия, хранившиеся при отрицательной температуре или поступившие на испытания непосредственно после термовлажностной обработки, должны быть предварительно выдержаны не менее 3 сут в помещении при положительной температуре.

8.2 Схемы опирания и нагружения

8.2.1 Схемы опирания и нагружения изделий при испытаниях должны соответствовать установленным в стандартах или проектной документации на изделия.

8.2.2 Схему опирания и нагружения изделия следует выбирать при проектировании таким образом, чтобы она соответствовала условиям работы изделия в конструкциях зданий или сооружений на стадии эксплуатации и при испытаниях по этой схеме достигались контролируемые предельные состояния.

Если при испытаниях по одной схеме опирания и нагружения невозможно проконтролировать все расчетные предельные состояния изделия, то следует предусматривать различные схемы испытаний для контроля разных предельных состояний.

При проведении испытаний по согласованию с проектной организацией, разработчиком проектной документации на изделия, допускается:

- принимать схему опирания и нагружения, отличающуюся от указанной в проектной документации, при условии, что соотношения усилий в расчетных сечениях будут такими же, как при расчете конструкций;

- при наличии в проектной документации двух схем испытания для контроля разных предельных состояний проводить соответствующие испытания на одном изделии при выполнении необходимого усиления по месту разрушения после испытания по первой схеме разрушения.

8.2.3 Испытания изделий следует предусматривать в том положении, в котором они будут эксплуатироваться в конструкциях зданий или сооружений.

При проведении испытаний по согласованию с проектной организацией, разработчиком проектной документации на изделия, допускается испытывать изделия под углом 90° или 180° к их рабочему положению при условии, что в них не появляются трещины до нагружения. При этом следует соответственно изменить направление прикладываемой нагрузки и учесть влияние нагрузки от собственного веса изделия и веса нагружающих устройств.

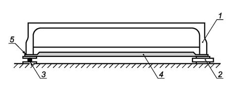
8.2.4 Балки, фермы, плиты, указанные на схемах испытаний и в пояснениях к ним как однопролетные, свободно опертые и работающие в одном направлении, следует опирать при испытаниях на две шарнирные линейные опоры, расположенные по концам изделия, одна из которых должна быть неподвижной, а другая - подвижной, допускающей перемещение изделия вдоль пролета (см. рисунок 1).

1 - изделие; 2 - шарнирно-подвижная опора; 3 - шарнирно-неподвижная опора;
С - расстояние до точки приложения нагрузки; Р - нагрузка

Рисунок 1 - Схема испытания с опиранием на шарнирные опоры

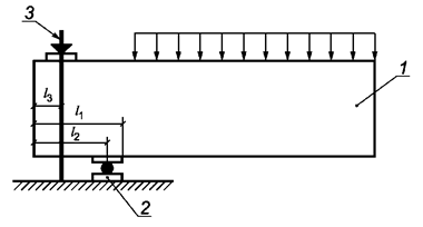
Изделия, которые на схемах испытаний и в пояснениях к ним указаны как консоли или с защемлением по концам, следует испытывать с обеспечением соответствующего защемления концевых участков изделия (см. рисунок 2).

1 - изделие; 2 - опора; 3 - тяга;
 - минимальная длина защемления;  

Рисунок 2 - Схема испытания с защемлением на опоре

Плиты, которые на схемах испытаний и в пояснениях к ним указаны как свободно опертые, работающие в двух направлениях и опирающиеся по четырем углам, следует опирать на четыре шарнирные опоры, расположенные в углах изделия. При этом в двух противоположных по диагонали углах изделия устанавливают шарнирные шаровые опоры, допускающие поворот в двух взаимно перпендикулярных направлениях (одна подвижная опора, другая - неподвижная), а в двух остальных углах изделия - шарнирные линейные подвижные опоры, допускающие поворот в одном из взаимно перпендикулярных направлений.

Плиты, которые на схемах испытаний и в пояснениях к ним указываются как свободно опертые, работающие в двух направлениях и опирающиеся по четырем сторонам, следует опирать на шарнирные опоры, расположенные по контуру изделия. При этом по контуру изделия устанавливают шарнирные подвижные шаровые опоры, а посредине трех сторон изделия - шарнирные подвижные линейные опоры, две из которых, расположенные на противоположных сторонах, допускают поворот в одном направлении, а третья, расположенная на примыкающей стороне, - поворот в противоположном направлении (см. рисунок 3).

а) Опирание по четырем углам; б) Опирание по четырем сторонам
1 - изделие; 2 - шарнирно-подвижная опора; 3 - каток; 4 - шарнирно-неподвижная опора

Рисунок 3 - Схемы испытания плит с шарнирным опиранием

Плиты, которые на схемах испытаний и в пояснениях к ним указаны как опирающиеся по трем сторонам, следует опирать на шарнирные шаровые и линейные опоры, расположенные по трем сторонам изделия, так же как для плит, опертых по четырем сторонам.

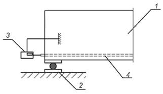
Ребристые плиты, которые на схемах испытаний и в пояснениях к ним указаны как опертые по четырем углам и работающие в продольном направлении, следует опирать таким образом, чтобы обеспечивать возможность поворота плиты на опорах и перемещения плиты в продольном направлении, а также предотвращение перемещения ребер плиты в поперечном направлении (см. рисунок 4).

1 - изделие; 2 - шарнирно-неподвижная опора; 3 - каток; 4 - швеллер; 5 - сварной шов

Рисунок 4 - Схема испытания ребристых плит

8.2.5 В тех случаях, когда свободному перемещению испытуемых изделий вдоль пролета препятствуют нагружающие устройства, опоры должны быть подвижными.

8.2.6 При проведении испытаний изделий в горизонтальном положении силами, направленными горизонтально, изделие должно быть уложено на часто расположенные шаровые подвижные опоры, исключающие его изгиб в вертикальной плоскости от собственного веса.

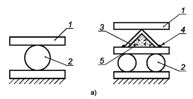
8.2.7 В качестве шарнирных подвижных шаровых и линейных опор следует применять стальные шары и катки, свободно укладываемые между стальными плитами. Неподвижные опоры могут быть получены путем предотвращения свободного перемещения таких же шаров или катков, а также использованием неподвижно закрепленных стальных профилей (см. рисунок 5). Диаметр таких шаров следует принимать равным 40 - 50 мм.

а) Шарнирно-подвижные опоры; б) Шарнирно-неподвижные опоры
1 - опорная пластина; 2 - шар (каток); 3 - профиль; 4 - сварной шов; 5 - бетон

Рисунок 5 - Шарнирные опоры

8.2.8 Расположение и размеры опор испытуемых изделий должны при испытаниях соответствовать указанным на схемах испытаний и в пояснениях к ним или определяться в зависимости от данных, принятых при расчете изделий.

8.2.9 Опирание испытуемого изделия на шарнирные опоры должно осуществляться через стальные плиты, симметрично расположенные относительно оси опоры.

Площадь стальных опорных плит принимают равной минимальной площади опирания, предусмотренной в проектной документации. При этом размер плит в направлении пролета принимают равным минимальной длине опирания, а толщину плит - не менее 1/6 этого размера.

На опорные плиты перед установкой на них испытуемого изделия должен быть уложен выравнивающий слой цементного раствора, прочность которого должна быть достаточной для восприятия нагрузки на опорах.

8.2.10 Нагружение испытуемых изделий должно соответствовать схемам испытаний, приведенным в стандартах или проектной документации на эти изделия. По согласованию с проектной организацией, разработчиком рабочих чертежей изделий, допускается указанную на схемах испытаний равномерно распределенную нагрузку заменять эквивалентными нагрузками, создаваемыми равными сосредоточенными силами [см. рисунок )].

а) Сосредоточенными силами, эквивалентными равномерной нагрузке; б) Равномерно-распределенной нагрузкой
штучными грузами; 1 - испытуемая конструкция; 2 - шарнирно-подвижная опора; 3 - шарнирно-неподвижная опора

Рисунок 6 - Схема испытания изгибаемого элемента

Сосредоточенные силы создаются посредством системы рычагов и распределительных балок, передающих на испытуемое изделие нагрузку от домкратов или платформ с грузами.

9 Порядок проведения испытаний

9.1 При испытании следует контролировать показатели, необходимые для оценки прочности, жесткости и трещиностойкости, а также характер разрушения (при доведении до разрушения), в том числе:

- значение нагрузок, вызывающих контролируемое предельное состояние;

- прогибы изделия, а также в случаях, оговоренных в проектной документации, - углы поворота;

- ширину раскрытия трещин.

9.2 Значения нагрузок в процессе испытаний следует фиксировать по показателям силоизмерителей гидравлических машин, давления масла в гидродомкратах или по усилию, развиваемому рычажной установкой от действия веса грузов.

9.3 Испытание плитных конструкций равномерно распределенной нагрузкой следует выполнять с использованием штучных грузов, в качестве которых могут служить металлические или бетонные блоки, баки с водой, ящики с сыпучими материалами, а также пневматическими системами.

9.4 При нагружении изделий штучными грузами необходимо соблюдать следующие правила:

- для балочных изделий длина грузов в направлении пролета не должна превышать 1/6 пролета;

- нагружение следует проводить в направлении от опор к середине, симметрично относительно середины пролета;

- между штучными грузами по всей высоте рядов должны быть зазоры не менее 50 мм [см. рисунок )].

9.5 При нагружении сыпучими материалами, засыпаемыми в ящики без дна, расположенные на испытуемых изгибаемых изделиях, вдоль пролета следует устанавливать не менее двух ящиков, а на изделиях, работающих в двух направлениях, - не менее четырех ящиков. Между ящиками по всей высоте должны быть зазоры не менее 0,1 пролета испытуемого изделия, но не менее 250 мм.

9.6 Последовательность нагружения испытуемых изделий должна быть указана в проектной документации, а при отсутствии такого указания испытание необходимо проводить с учетом следующих требований:

- определить расчетом или прямым взвешиванием нагрузку от собственного веса изделия;

- нагрузку следует прикладывать поэтапно ступенями (долями), каждая из которых не должна превышать 10 % контрольной нагрузки по прочности, а также по образованию и ширине раскрытия трещин и 20 % контрольной нагрузки по жесткости;

- при испытании изделий, в которых согласно указаниям в проектной документации не допускаются трещины в стадии эксплуатации, после приложения нагрузки, составляющей 90 % контрольной по прочности или по образованию и ширине раскрытия трещин, каждая последующая доля нагрузки должна составлять не более 5 % этой нагрузки;

- этапы нагружения должны быть назначены таким образом, чтобы усилия в предполагаемом участке разрушения изделия прирастали равными долями;

- при испытании конструкций вертикальными и горизонтальными силами в заданном соотношении в начале испытания необходимо приложить горизонтальную силу, составляющую требуемое соотношение с нагрузкой от собственного веса конструкции.

9.7 После приложения каждой доли нагрузки испытуемое изделие следует выдерживать под нагрузкой не менее 10 мин.

После приложения контрольной нагрузки при контроле жесткости следует выдерживать изделие под этой нагрузкой не менее 30 мин. Изделия, в которых не допускаются трещины в стадии эксплуатации, после приложения контрольной нагрузки по образованию трещин должны быть выдержаны под этой нагрузкой в течение 30 мин, после чего следует продолжать поэтапное нагружение.

9.8 Во время выдержки под нагрузкой следует проводить тщательный осмотр поверхности изделия и фиксировать значение нагрузки, появившиеся трещины, результаты измерения прогиба, осадки опор, ширины раскрытия трещин и смещения арматуры относительно бетона на торцах изделия. Контролируемые показатели следует фиксировать в начале и конце каждой выдержки.

Непосредственное измерение прогибов и ширины раскрытия трещин следует проводить до достижения уровня нагрузки, составляющего 80 % контрольной разрушающей нагрузки. При нагрузках, превышающих этот уровень, наблюдение за приборами следует проводить на безопасном расстоянии от испытуемого изделия с использованием оптических приборов (биноклей, нивелиров, теодолитов), а также систем дистанционного контроля за деформациями.

9.9 В изгибаемых изделиях ширину раскрытия трещин, нормальных к продольной оси изделия, следует измерять на уровне нижнего ряда рабочей арматуры, а ширину раскрытия трещин, наклонных к продольной оси изделия, - на уровне нижнего ряда продольной арматуры и в местах пересечения наклонными трещинами хомутов, а также отогнутых стержней.

Во внецентренно сжатых изделиях ширину раскрытия трещин следует определять на уровне наиболее нагруженного ряда растянутой арматуры. Для улучшения фиксации момента появления трещин в бетоне поверхности изделия перед испытанием должны быть покрыты жидким раствором мела или извести.

9.10 При проверке жесткости изгибаемых изделий, опирающихся по концам, следует измерять прогибы в середине пролета и осадку опор, а для изделий, работающих как консоль, - прогибы свободного конца консоли, а также осадку и поворот опоры. Сопоставляемое с предельным значение прогиба изделия, опирающегося по концам, следует определять как разность между значением прогиба, измеренного в пролете, и полусуммой значений осадок опор, а для изделия, работающего как консоль, - с учетом осадки и поворота опор.

В плоских плитах, опертых по двум сторонам, прогибы следует измерять посередине ширины изделия и противоположным краям изделия в середине его пролета, принимая за значения прогиба среднее арифметическое этих измерений.

В ребристых плитах следует измерять значения прогибов каждого продольного ребра в середине пролета, при этом за значение прогиба конструкции принимают среднее арифметическое прогибов продольных ребер.

В плитах, опертых по контуру или по четырем углам, прогибы следует измерять в центре плиты.

В плитах, опертых по трем сторонам, следует измерять прогибы середины свободного края.

9.11 Смещение (в продольном направлении) концов арматурных стержней относительно бетона на торцах изделия при контрольной нагрузке по прочности следует измерять при испытании предварительно напряженных изделий с самоанкерующейся арматурой без дополнительных анкеров на торцах изделия. Смещение концов арматуры следует измерять не менее чем на 10 % стержней, но не менее чем на двух стержнях каждого изделия. Измерения проводят индикатором перемещений, прикрепленным на торце испытуемого изделия и упирающимся в арматуру либо закрепленным на стержне и упирающимся в торец изделия (см. рисунок 7).

1 - изделие; 2 - шарнирно-подвижная опора; 3 - индикатор перемещений; 4 - арматурный стержень

Рисунок 7 - Схема измерения перемещения свободного конца стержня

9.12 Во время проведения испытания необходимо принимать меры к обеспечению безопасности работ.

Испытания следует проводить на специально отведенном участке, доступ на который запрещен посторонним лицам.

Испытания рекомендуется проводить на установках, обеспечивающих дистанционное нагружение конструкций и проведение необходимых измерений.

При испытании следует принимать меры по предотвращению обрушения испытуемой конструкции, загрузочных устройств и нагружающих материалов (штучных грузов, сыпучих материалов и т.п.).

Для этого следует:

- установить страховочные опоры вблизи несущих опор и в середине пролета конструкции или под свободным концом консоли;

- поддерживать в процессе нагружения минимально возможное по условиям испытания расстояние между конструкцией и страховочными опорами для предотвращения удара в момент разрушения конструкции;

- раскреплять тягами к основанию, соединять между собой или подвешивать к установке элементы загрузочных устройств.

Все предохранительные приспособления не должны препятствовать свободному прогибу конструкции до момента разрушения.

9.13 При испытании ферм, балок и других изделий больших пролетов следует принимать меры к обеспечению их устойчивости. Применяемые для этих целей нагружающие устройства не должны препятствовать их перемещению в плоскости действия сил.

10 Правила оценки результатов испытаний

10.1 Правила оценки прочности

10.1.1 Оценку прочности проводят на основании сопоставления фактической разрушающей нагрузки с контрольной разрушающей нагрузкой, которая установлена в стандарте или проектной документации на изделия.

10.1.2 За разрушающее значение нагрузки принимают значение, соответствующее состоянию изделия, сопровождающееся одним из следующих признаков:

а) для конструкций без предварительного напряжения - текучесть стали растянутой арматуры в нормальном сечении, сопровождающаяся раскрытием трещин в бетоне на 1,5 мм и более ранее раздробления бетона сжатой зоны и прогибом, в 1,5 раза превышающим контрольное значение;

б) для конструкций с предварительным напряжением - достижением прогиба, равного  пролета конструкции, а для консолей -  вылета консоли.

Значение  вычисляют по формуле

(10.1)

где ,  - пролет и высота сечения конструкции соответственно;

в) раздробление бетона сжатой зоны в нормальном сечении до достижения предела текучести (условного предела текучести) растянутой арматуры, что характеризуется достижением прогиба изделия, менее чем в 1,5 раза превышающего контрольное значение при проверке жесткости;

г) текучесть продольной и/или поперечной арматуры в наклонном сечении ранее раздробления бетона сжатой зоны над трещиной при ее раскрытии на 1,5 мм и более;

д) раздробление бетона сжатой зоны в наклонном сечении ранее текучести продольной и/или поперечной арматуры над трещиной при ее раскрытии менее 1,5 мм;

е) разрыв растянутой арматуры;

ж) раздробление бетона по наклонному сечению из-за выдергивания арматуры вследствие нарушения ее сцепления с бетоном или раскола торцов околоопорных зон изгибаемых элементов и ферм, а также разрушение узлов ферм.

10.1.3 Контрольные значения разрушающей нагрузки определяют в соответствии с положениями, изложенными в приложении Б.

10.1.4 Изделие признают удовлетворяющим требованию по прочности, если соблюдается условие

(10.2)

где  - значение фактической разрушающей силы;

 - значение контрольной нагрузки;

 - см. таблицу 3.

Для изделий с предварительным напряжением арматуры значения смещения свободных концов стержней  на опоре при контрольной нагрузке, рассчитанной при С = 1,4 для изделий из тяжелого бетона и С = 1,6 для изделий из легкого бетона, не должны превышать предельных значений , приведенных в таблице 3.

Таблица 3

Число изделий

*

, мм

1

1,0

1,1

0,1

2

0,95

0,9

0,2

≥3

0,9

0,85

0,2

* При разрушении от раздробления бетона ≥1,0.

10.1.5 Изделие признают удовлетворяющим требованиям по эксплуатационной пригодности, если соблюдаются следующие условия:

(10.3)

где  - значение прогиба при контрольной нагрузке;

 - значение предельно допустимого прогиба;

 - см. таблицу 3;

(10.3)

где  - значение ширины раскрытия трещин при контрольной нагрузке;

 - контрольное значение ширины раскрытия трещин, принимаемое в зависимости от предельной ширины раскрытия трещины  по таблице 4.

Таблица 4

В миллиметрах

Не допускается

0

0,05

0,05

0,10 - 0,15

0,10

0,20 - 0,25

0,15

0,30

0,20

0,40

0,25

10.1.6 Проверяемые изделия признают годными по показателям прочности, жесткости и трещиностойкости, если отобранные для испытаний образцы выдержали все предусмотренные в проектной документации испытания по этим показателям.

11 Правила оформления результатов испытаний

11.1 Результаты испытаний, проведенных в соответствии с настоящим стандартом, следует заносить в протокол, хранящийся в лаборатории предприятия-изготовителя или отделе технического контроля, и оформлять актом.

11.2 Протокол испытаний должен содержать следующие сведения по испытаниям каждого изделия:

- дата проведения испытаний;

- наименование и марка испытуемого изделия;

- дата изготовления изделия, номер партии;

- условия хранения изделия до испытаний;

- класс бетона по прочности на сжатие;

- фактические прочностные характеристики бетона на день проведения испытаний;

- вид армирования, классы арматурной стали для рабочей арматуры;

- фактические прочностные характеристики арматуры по данным заводских сертификатов или испытаний арматурных образцов;

- значения предельной ширины раскрытия трещин, указанные в проектной документации;

- принятая схема испытаний;

- масса изделия (расчетная или измеренная);

- масса нагружающих устройств;

- контрольные значения нагрузок, указанные в проектной документации:

- по прочности (при первом и втором случае разрушения),

- жесткости,

- образованию трещин,

- ширине раскрытия трещин;

- контрольные значения прогибов и ширины раскрытия трещин;

- результаты испытаний:

- разрушающая нагрузка и характер разрушения изделия;

- нагрузка образования трещин и характер образовавшихся трещин;

- прогиб при соответствующей контрольной нагрузке;

- ширина раскрытия трещин при соответствующей контрольной нагрузке;

- смещение концов арматуры в бетоне.

11.3 При испытаниях двух и более образцов изделий одной марки общие сведения указывают в протоколе один раз, а регистрируемые значения характеристик следует приводить для каждого образца в отдельности. При испытаниях разных образцов изделий одной марки по разным группам показателей регистрируемые значения характеристик следует приводить для каждого испытания.

11.4 Протокол испытания должен быть заверен лицом, ответственным за проведение испытания.

11.5 Результаты оценки прочности, жесткости и трещиностойкости изделий на основании проведенных испытаний должны быть оформлены актом, в котором указывают максимальные отклонения зарегистрированных показателей от соответствующих контрольных значений и выводы о соответствии изготовляемых изделий, образцы которых подвергнуты испытаниям, стандарту или проектной документации по характеристикам прочности, жесткости и трещиностойкости. Акт должен быть подписан руководителем или главным инженером предприятия, руководителем службы технического контроля, начальником лаборатории, проводившей испытания, а также представителем проектной организации - разработчика изделия или проектной организации, применяющей эти изделия в проектах зданий или сооружений.

Приложение А
(обязательное)
Перечень сведений, необходимых для проведения испытаний
изделий нагружением, которые должны содержаться в проектной документации

А.1 Данный перечень сведений включает в себя:

А.1.1 Схему опирания и нагружения испытуемого изделия.

А.1.2 Указания о характере работы изделия в конструкциях зданий или сооружений, учтенном в расчете несущей способности.

А.1.3 Минимальная длина опирания или защемления, принятая в расчете.

А.1.4 Значения контрольных нагрузок по прочности; при этом следует указывать ожидаемый характер разрушения изделия при испытании.

А.1.5 Значение контрольной нагрузки по жесткости, контрольное значение прогиба.

А.1.6 Значение контрольной нагрузки по образованию трещин.

А.1.7 Значение контрольной нагрузки по ширине раскрытия трещин, а также значение контрольной ширины раскрытия трещин. Указания об участках испытуемых изделий, на которых следует измерять ширину раскрытия трещин.

А.1.8 Если предусмотрено испытание изделия в проектном положении нагрузкой, действующей сверху вниз, в проектной документации должно быть указано значение дополнительно прикладываемой нагрузки, равное контрольной нагрузке за вычетом нагрузки от собственного веса изделия.

А.1.9 Периодичность испытаний и число изделий, подлежащих испытаниям.

Приложение Б
(обязательное)
Указания по назначению контрольных нагрузок, прогибов и ширины раскрытия трещин

Б.1 При проверке прочности значение контрольной нагрузки, включающей нагрузку от собственного веса изделия, принимают равным значению нагрузки, вызывающей в основных сечениях сплошных изделий, элементах и узлах решетчатых изделий усилия, равные максимальным усилиям от расчетных нагрузок, умноженным на коэффициенте.

Б.2 В случае испытания изделий в проектном положении нагрузкой, действующей сверху вниз, должно быть указано также и значение дополнительно прикладываемой нагрузки, равное контрольной нагрузке, за вычетом нагрузки от собственного веса изделия.

Б.3 Значения коэффициента С для испытуемых изделий в зависимости от механизма и характера разрушения, а также вида бетона приведены в таблице Б.1.

Таблица Б.1

Механизм разрушения

Характер разрушения

Значение коэффициента С

От действия изгибающего момента по нормальному сечению или от внецентренного сжатия

Пластичный, с текучестью продольной арматуры в нормальном и наклонном сечениях до наступления раздробления сжатой зоны

1,3

Хрупкий, с раздроблением сжатой зоны бетона, с разрывом арматуры изделий из бетонов:

 

- тяжелого, мелкозернистого и силикатного

1,6

- легкого

1,8

От действия поперечных сил по наклонному сечению или между наклонными трещинами

Пластичный, с текучестью продольной и/или поперечной арматуры в наклонном сечении

1,3

Хрупкий, с раздроблением бетона или нарушением анкеровки арматуры

1,9

Б.4 Значение контрольной нагрузки при проверке жесткости (включающей нагрузку от собственного веса изделия) принимают равным значению нагрузки, при которой вычисляют прогибы изделия. Для изделий с предварительно напряженным армированием следует учитывать указания Б.9.

Б.5 Для изделий, которые испытывают в проектном положении, прикладываемую нагрузку, действующую сверху вниз, следует принимать равной контрольной нагрузке при проверке жесткости, за вычетом нагрузки от собственного веса изделия и нагружающих устройств. При этом значение контрольного прогиба следует вычислять по формуле

(Б.1)

где ,  - значения прогибов при контрольной нагрузке и от действия собственного веса и нагружающих устройств соответственно.

Б.6 Для изделий, которые при испытании устанавливают под углом 90° или 180° к их проектному положению, нагрузку от собственного веса изделия, а также от нагружающих устройств следует учитывать как при вычислении контрольной нагрузки, так и при вычислении контрольного прогиба.

Б.7 Для изделий, при эксплуатации которых не допускается образование трещин, контрольное значение нагрузки по образованию трещин принимают равным значению нагрузки, вызывающей в проверяемых сечениях изделия максимальные усилия, полученные из расчета от совместного действия постоянных, длительных и кратковременных нагрузок с коэффициентом >1,0.

Б.8 Для изделий, при эксплуатации которых допускаются трещины, контрольное значение нагрузки принимают равным значению нагрузки, вызывающей в проверяемых сечениях изделия максимальные усилия, полученные из расчета от совместного действия постоянных, длительных и кратковременных нормативных нагрузок.

Б.9 Значение контрольных нагрузок по жесткости и трещиностойкости для изделий с предварительно напряженным армированием, испытание которых проводят в возрасте менее 100 сут, следует увеличивать путем умножения на коэффициент К, вычисляемый по формуле (Б.2), и указывать в проектной документации

(Б.2)

где  - расчетное значение нагрузки образования трещин при потерях предварительного напряжения в арматуре в день испытания;

 - расчетное значение нагрузки образования трещин с учетом полных потерь предварительного напряжения арматуры.

Ключевые слова: изделия строительные, испытания, прочность, жесткость, трещиностойкость