МИНИСТЕРСТВО РОССИЙСКОЙ ФЕДЕРАЦИИ
ПО СВЯЗИ И ИНФОРМАТИЗАЦИИ

 

РУКОВОДЯЩИЙ ДОКУМЕНТ ОТРАСЛИ

ОБОРУДОВАНИЕ ТРАНКИНГОВЫХ СИСТЕМ
ПОДВИЖНОЙ РАДИОСВЯЗИ СТАНДАРТА TETRA

ОБЩИЕ ТЕХНИЧЕСКИЕ ТРЕБОВАНИЯ

 

РД 45.226-2001

 

 

ЦНТИ «Информсвязь»

Москва - 2001

 

Предисловие

1 РАЗРАБОТАН Федеральным государственным унитарным предприятием Самарский отраслевой научно-исследовательский институт радио (ФГУП СО-НИИР), Федеральным государственным унитарным предприятием Ленинградский отраслевой научно-исследовательский институт связи (ФГУП ЛОНИИС)

ВНЕСЕН Департаментом электросвязи Министерства Российской Федерации по связи и информатизации

2 УТВЕРЖДЁН Министерством Российской Федерации по связи и информатизации

3 ВВЕДЕН В ДЕЙСТВИЕ информационным письмом от 16.04.2002 г. № 2522

4 ВВЕДЁН ВПЕРВЫЕ

 

СОДЕРЖАНИЕ

1 Область применения. 3

2 Нормативные ссылки. 3

3 Обозначения и сокращения. 3

4 Общая характеристика. 8

4.1 Назначение. 8

4.2 Элементы системы.. 8

4.3 Радиоинтерфейс TETRA V+D.. 11

4.4 Радиоинтерфейс TETRA ОМО.. 13

5 Технические требования к базовой станции. 15

5.1 Требования к передатчику. 15

5.2 Требования к приемнику. 19

5.3 Требования электромагнитной совместимости. 21

5.4 Требования по устойчивости к климатическим и механическим воздействиям.. 22

5.5 Требования к электропитанию.. 24

5.6 Требования безопасности. 24

6 Технические требования к абонентской радиостанции и шлюзу DMO (в части интерфейса Um) 24

6.1 Требования, характеризующие использование радиочастот в режиме V+D.. 24

6.2 Требования, характеризующие использование радиочастот абонентской радиостанцией в режиме DMO (интерфейс Ud) 44

6.3 Требования, характеризующие использование радиочастот шлюзом DMO (в части интерфейса Ud) 55

6.4 Требования, характеризующие использование радиочастот ретранслятором в режиме ОМО типа 1 (DM-REP1) 59

6.5 Требования, характеризующие использование радиочастот ретранслятором в режиме DMO типа 2 (DM-REP2) 63

6.6 Требования электромагнитной совместимости. 65

6.7 Требования по устойчивости к климатическим и механическим воздействиям.. 66

6.8 Требования к электропитанию.. 69

6.9 Требования безопасности. 69

6.10 Требования к качеству передачи речи. 70

6.11 Набор, индикация и передача на базовую станцию 18-значного номера. 70

7 Технические требования к ретранслятору сигналов V+D (ТМО) 70

7.1 Требования, характеризующие использование радиочастот. 70

7.2 Требования электромагнитной совместимости. 72

7.3 Требования по устойчивости к климатическим и механическим воздействиям.. 72

7.4 Требования к электропитанию.. 73

7.5 Требования безопасности. 74

8 Технические требования к оборудованию управления и коммутации при его использовании в составе системы транкинговой подвижной связи стандарта TETRA на ведомственных сетях связи и сетях связи общего пользования Российской Федерации. 74

8.1 Режим работы системы.. 74

8.2 Емкость системы, обслуживаемая нагрузка, качественные показатели. 74

8.3 Организация связи SwMI с ТфОП. Система нумерации. Типы соединений. Категории абонентских радиостанций. 74

8.4 Система сигнализации при взаимодействии с ТфОП. Типы и параметры соединительных линий. 75

8.5 Принципы отбоя. 76

8.6 Акустические сигналы. Фразы автоинформатора. 77

8.7 Автоматическое определение категории и номера телефона вызывающего абонента (АОН) 77

8.8 Требования к интерфейсу взаимодействия с сетями передачи данных. 77

8.9 Система синхронизации. 78

8.10 Параметры станционного четырехполюсника. 78

8.11 Система учета стоимости. 78

8.12 Техническое обслуживание и эксплуатация. 79

8.13 Услуги дополнительных видов обслуживания. 80

8.14 Требования к электропитанию.. 81

8.15 Требования устойчивости к климатическим и механическим воздействиям.. 82

8.16 Требования к электромагнитной совместимости. 82

8.17 Требования безопасности. 82

8.18 Требования к СОРМ... 83

Приложение А Библиография. 83

 

РУКОВОДЯЩИЙ ДОКУМЕНТ ОТРАСЛИ

ОБОРУДОВАНИЕ ТРАНКИНГОВЫХ СИСТЕМ ПОДВИЖНОЙ
РАДИОСВЯЗИ СТАНДАРТА TETRA

Общие технические требования

Дата введения 12-02-2002

1 Область применения

1.1 Настоящий руководящий документ отрасли распространяется на оборудование транкинговых систем подвижной радиосвязи стандарта TETRA: подсистему управления и коммутации (в т.ч. базовые станции), абонентские радиостанции (режимы V+D, DMO), ретрансляторы сигналов.

1.2 Настоящий руководящий документ устанавливает требования к указанному оборудованию в части параметров радиоинтерфейса, внешних воздействий и безопасности.

1.3 Технические требования к радиооборудованию, изложенные в настоящем руководящем документе, соответствуют требованиям стандартов, решений ГКРЧ, действующих нормативно-технических документов Минсвязи России и технических спецификаций ETSI.

2 Нормативные ссылки

В настоящем руководящем документе отрасли приведены ссылки на следующие стандарты:

ГОСТ 12.1.003-83 Система стандартов безопасности труда. Шум. Общие требования безопасности

ГОСТ 12.2.007.0-75 Система стандартов безопасности труда. Изделия электротехнические. Общие требования безопасности

ГОСТ 15150-69 Машины, приборы и другие технические изделия. Исполнения для различных климатических районов. Категории, условия эксплуатации, хранения и транспортирования в части воздействия климатических факторов внешней среды

ГОСТ 16019-2001 Аппаратура сухопутной подвижной радиосвязи. Требования по стойкости к воздействию механических и климатических факторов и методы испытаний

ГОСТ 26886-86 Стыки цифровых каналов передачи и групповых трактов первичной сети ЕАСС. Основные параметры

ГОСТ 28384-89 Станции телефонные. Параметры информационных акустических сигналов тональной частоты

ГОСТ 30429-96 Совместимость технических средств электромагнитная Радиопомехи индустриальные от оборудования и аппаратуры, устанавливаемых совместно со служебными радиоприемными устройствами гражданского назначения. Нормы и методы испытаний

ГОСТ 30631-99 Общие требования к машинам, приборам и другим техническим изделиям в части стойкости к механическим внешним воздействующим факторам при эксплуатации

ГОСТ Р 50829-95 Безопасность радиостанций, радиоэлектронной аппаратуры с использованием приемопередающей аппаратуры и их составных частей. Общие требования и методы испытаний

ГОСТ Р 51061-97 Системы низкоскоростной передачи речи по цифровым каналам. Параметры качества и методы измерений

ГОСТ Р 51317.3.2-99 Совместимость технических средств электромагнитная. Эмиссия гармонических составляющих тока техническими средствами с потребляемым током не более 16 А (в одной фазе)

ГОСТ Р 51317.3.3-99 Совместимость технических средств электромагнитная. Колебания напряжения и фликер, вызываемые техническими средствами с потребляемым током не более 16 А (в одной фазе), переключаемыми к низковольтным системам электроснабжения. Нормы и методы испытаний

ГОСТ Р 51317.4.2-99 Совместимость технических средств электромагнитная. Устойчивость к электростатическим разрядам. Требования и методы испытаний

ГОСТ Р 51317.4.3-99 Совместимость технических средств электромагнитная. Устойчивость к радиочастотному электромагнитному полю. Требования и методы испытаний

ГОСТ Р 51317.4.4-99 Совместимость технических средств электромагнитная. Устойчивость к наносекундным импульсным помехам. Требования и методы испытаний

ГОСТ Р 51317.4.5-99 Совместимость технических средств электромагнитная. Устойчивость к микросекундным импульсным помехам большой энергии. Требования и методы испытаний

ГОСТ Р 51317.4.6-99 Совместимость технических средств электромагнитная. Устойчивость к кондуктивным помехам, наведённым радиочастотными электромагнитными полями. Требования и методы испытаний

ГОСТ Р 51317.4.11-99 Совместимость технических средств электромагнитная. Устойчивость к динамическим изменениям напряжения электропитания. Требования и методы испытаний

ГОСТ Р 51318.22-99 Совместимость технических средств электромагнитная. Радиопомехи индустриальные от оборудования информационных технологий. Нормы и методы испытаний

3 Обозначения и сокращения

В настоящем руководящем документе отрасли применяют следующие обозначения и сокращения:

AACH                     Access Assignment CHannel - канал предоставления доступа

ВССН                      Broadcast Control CHannel - циркулярный канал управления

BER                         Bit Error Ratio - коэффициент битовых ошибок

BLCH                      BS Linearisation CHannel - канал линеаризации базовой станции

BNCH                      Broadcast Network CHannel - циркулярный канал передачи параметров сети

BS                            Base Station - базовая станция

BSCH                      Broadcast Synchronization Channel - циркулярный канал передачи параметров цикловой и тактовой синхронизации

СС                            Call Control - управление вызовом

CLCH                      Common Linearization CHannel - канал линеаризации абонентских радиостанций

СМСЕ                      Circuit Mode Control Entity - функциональный объект управления вызовом в режиме с коммутацией каналов

CSS                          Carrier Specific Signalling - дополнительный канал сигнализации на данной несущей

DLL                         Data Link Layer - уровень канала данных (уровень 2 протокола DMO)

DMCC                     Direct Mode Call Control - уровень 3 протокола DMO

DMO                        Direct Mode Operation - наименование режима работы абонентской радиостанции (непосредственная связь с другими радиостанциями, минуя SwMI)

DM-MS                    Direct Mode Mobile Station - абонентская радиостанция, поддерживающая DMO

DM-GATE               Direct Mode GATEway - шлюз, для доступа абонентских радиостанций в режиме DMO в сеть V+D

DM-REP                  Direct Mode REPeater - ретранслятор сигналов абонентских радиостанций в режиме DMO

DM-REP/GATE      Direct Mode REPeater/GATEway - ретранслятор сигналов/шлюз для использования в режиме DMO

DR50                       Direct mode Rural area - модель радиоканала, имитирующая сельскую местность и скорость перемещения абонентской радиостанции 50 км/ч для режима DMO

DW-MS                   Dual Watch Mobile Station - абонентская радиостанция, зарегистрированная для работы в сети V+D и режиме DMO

EQ200                      EQualizer test - модель радиоканала для тестирования эквалайзера

ETSI                         European Telecommunications Standards Institute - Европейский институт стандартов в области телекоммуникаций

FCS                          Frame Check Sequence - проверочная последовательность кадра

GTSI                        Group TETRA Subscriber Identity - групповой идентификатор абонента TETRA

НТ200                      Hilly Terrain - модель радиоканала, имитирующая холмистую местность и скорость перемещения абонентской радиостанции 200 км/ч

ITSI                          Individual TETRA Subscriber Identity - индивидуальный идентификатор абонента TETRA

LCH                         Linearization CHannel - канал линеаризации

LLC                         Logical Link Control - подуровень управления логическим звеном уровня 2

LS                            Line Station - фиксированный абонент

MAC                        Medium Access Control - подуровень управления доступом к среде уровня 2

MCCH                     Main Control CHannel - основной канал управления

MER                        Message Error Ratio - коэффициент ошибок сообщений

MLE                         Mobile Link control Entity - функциональный объект управления каналом абонентской радиостанции

MM                          Mobility Management - функциональный объект> управления мобильностью

MS                           Mobile Station - абонентская радиостанция

NWK                       NetWorK layer - уровень 3 (сетевой уровень) радиоинтерфейса

PDP                          Packet Data Protocol - протокол передачи данных в режиме с коммутацией пакетов

PDU                         Protocol Data Unit - блок данных протокола

PUEM                      Probability of Undetected Erromeous Message - вероятность необнаружения искажённого сообщения

SCH                         Signalling CHannel - канал сигнализации

SCH/H                     канал половинного формата для передачи половины слота после сообщения SCH/S

SCH/F                      Signalling CHannel/Full size - канал сигнализации (сообщения полного формата)

SCH/HD                  Signalling CHannel/Half size Downlink - канал сигнализации (сообщения укороченного формата, направление «вниз»)

SCH/HU                  Signalling CHannel/Half size Uplink - канал сигнализации (сообщения укороченного формата, направление «вверх»)

SCH/S                      канал синхронизации

SDS                          Short Data Service - служба передачи коротких сообщений

SDU                         Service Data Unit - блок служебных данных

SNDCP                    SubNetwork Dependent Convergence Protocol - протокол сходимости подсетей

SS-AL                      Supplementary Service - Ambience Listening - дополнительная услуга контроля окружающей обстановки при помощи абонентской радиостанции

SS-AP                      Supplementary Service - Access Priority - дополнительная услуга приоритетного доступа к радиоресурсу в случае перегрузок при исходящих вызовах

SS-AS                      Supplementary Service - Area Selection - дополнительная услуга выбора зоны обслуживания для осуществления вызова

SS-BIC                    Supplementary Service - Barring of Incoming Calls - дополнительная услуга ограничения входящих

SS-BOC                   Supplementary Service - Barring of Outgoing Calls - дополнительная услуга ограничения исходящих вызовов

SS-CAD                   Supplementary Service - Call Authorized by Dipatcher - дополнительная услуга разрешения вызова диспетчером

SS-CCBS                 Supplementary Service - Call Completion to Busy Subscriber - дополнительная услуга установления соединения по мере освобождения вызываемого абонента

SS-CCNR                Supplementary Service - Call Completion on No Reply - дополнительная услуга установления вызова по мере получения ответа вызываемого абонента

SS-CFB                    Supplementary Service - Call Forwarding if Busy - дополнительная услуга переадресования вызова при занятости вызываемого абонента

SS-CFNRc               Supplementary Service - Call Forwarding Not Reachable - дополнительная услуга переадресования вызова при недоступности вызываемого абонента

SS-CFNRy               Supplementary Service - Call Forwarding No Reply - дополнительная услуга переадресования вызова при отсутствии ответа вызываемого абонента

SS-CFU                   Supplementary Service - Call Forwarding Unconditional - дополнительная услуга безусловного переадресования вызова

SS-CLIP                  Supplementary Service - Calling Line Identification Presentation - дополнительная услуга предоставления информации о номере вызывающего абонента

SS-CLIR                  Supplementary Service - Calling Line Identification Restriction - дополнительная услуга запрета предоставления информации о собственном номере при использовании CLIP

SS-COLP                 Supplementary Service - Connected Line identification Presentation - дополнительная услуга предоставления информации о номере вызываемого абонента

SS-COLR                Supplementary Service - Connected Line identification Restriction - дополнительная услуга запрета предоставления информации о собственном номере при использовании COLP

SS-CR                      Supplementary Service - Call Report - дополнительная услуга уведомления в вызове

SS-CRT                    Supplementary Service - Call ReTention - дополнительная услуга защиты установленного соединения от разъединения по инициативе сети

SS-CW                     Supplementary Service - Call Waiting - дополнительная услуга вызова с ожиданием

SS-DGNA               Supplementary Service - Dynamic Group Number Assignment - дополнительная услуга назначения групповых идентификаторов

SS-DL                      Supplementary Service - Discreet Listening - дополнительная услуга мониторинга вызовов между другими абонентами

SS-HOLD                Supplementary Service - call HOLD - дополнительная услуга удержания вызова

SS-IC                       Supplementary Service - Include Call - дополнительная услуга подключения дополнительных абонентов к текущему вызову

SS-LE                      Supplementary Service - Late Entry - дополнительная услуга присоединения к групповому вызову после его установления

SS-PA                      Supplementary Service - Priority Access - дополнительная услуга приоритетного доступа SwMI к радиоресурсу при входящих вызовах

SS-PPC                    Supplementary Service-Pre-emptive Priority Call - дополнительная услуга приоритетного доступа к радиоресурсу путем разъединения вызовов с более низким приоритетом

SS-SLN                    Supplementary Service - Search List Number - дополнительная услуга маршрутизации вызова по номеру в списке поиска

SS-SNA                   Supplementary Service - Short Number Addressing - дополнительная услуга вызова по сокращённому номеру

SS-TPI                     Supplementary Service - Talking Party Identification - дополнительная услуга идентификации абонента, осуществляющего передачу

STAT                       STATic - статическая модель радиоканала

STCH                       STealing CHannel - канал управления на базе части ресурса трафик-канала

SwMI                       Switching and Management Infrastructure - подсистема управления и коммутации

ТСН/2.4                   Traffic CHannel/2.4 kbps - трафик-канал для передачи данных со скоростью

TCH/4.8                   Traffic CHannel/4.8 kbps - трафик-канал для передачи данных со скоростью 4,8 кбит/с

ТСН/7.2                   Traffic CHannel/7.2 kbps - трафик-канал для передачи данных со скоростью 7,2 кбит/с

TCH/S                      Traffic CHannel/Speech - трафик-канал для передачи речи

TDMA                     Time Division Multiple Access - множественный доступ с временным разделением каналов

TETRA                    Terrestrial Trunked RAdio - стандарт на цифровую транкинговую систему

ТМО                        Trunked Mode Operation - наименование режима работы абонентской радиостанции (связь через SwMI) в обозначении

ТМ-SDU                  TM-Service Data Unit - блок служебных данных, поступивший от уровня более высокого чем MAC

TU50                        Typical Urban area - модель радиоканала, имитирующая городскую застройку и скорость перемещения абонентской радиостанции 50 км/ч

Ud                             обозначение радиоинтерфейса DMO

Um                            обозначение радиоинтерфейса V+D

V+D                         Voice and Data - наименование режима работы абонентской радиостанции (связь через SwMI)

p/4-                           p/4-shifted Differential Quaternary Phase Shift Keying - дифференциальная DQPSK квадратурная фазовая манипуляция с приращением фазы на интервале модуляционного символа, кратным p/4

АТС                         автоматическая телефонная станция

АМТС                      автоматическая междугородная телефонная станция

МЦК                        международный центр коммутации

ТПС                         транкинговая подвижная связь

ТфОП                      телефонная сеть общего пользования

УПАТС                   учрежденческо-производственная автоматическая телефонная станция

ЦСИО                     цифровая сеть с интеграцией обслуживания

4 Общая характеристика

4.1 Назначение

Транкинговые системы подвижной радиосвязи стандарта TETRA могут использоваться при наличии решений ГКРЧ для организации выделенных, ведомственных, внутрипроизводственных и технологических сетей связи.

4.2 Элементы системы

Типовые варианты организации связи в сети TETRA представлены на рисунках (V+D), (DMO). Основу сети V+D составляет подсистема управления и коммутации (Switching and Management Infrastructure - SwMI), включающая базовые станции, оборудование коммутации и сопряжения с ТФОП, оборудование управления сетью. Абонентские радиостанции (на рисунке обозначены MS - Mobile Station) осуществляют взаимодействие с SwMI через стандартный радиоинтерфейс TETRA Um. В сети TETRA поддерживаются индивидуальные и групповые вызовы. Помимо соединений между абонентскими радиостанциями, через SwMI, может обеспечиваться обмен с фиксированными абонентами (диспетчерами, абонентами ТФОП и других сетей, обозначаемыми на рисунке LS - Line Station). Данные абоненты подключаются к SwMI непосредственно или через транзитную сеть (в т.ч. через ТФОП).*

* В качестве транзитной сети могут быть использованы выделенная, ведомственная, внутрипроизводственная, технологическая сети связи или ТфОП

Рисунок 1а - Варианты организации связи в сети TETRA (V+D).

Рисунок 1б - Варианты организации связи в сети TETRA с использованием DMO

Диспетчерское оборудование обеспечивает:

- управление абонентами (группами абонентов) с использованием индивидуальных и групповых вызовов;

- активизацию и использование дополнительных услуг (см. пункт 8.12), обеспечивающих оперативное управление абонентами (группами абонентов).

При использовании в составе сети диспетчерского оборудования и его непосредственном подключении к элементам SwMI, характеристики интерфейса и протокол обмена определяются фирмой-изготовителем.

Оборудование SwMI имеет абонентскую базу данных для хранения информации об абонентах, обслуживаемых SwMI. Абонентская база данных содержит следующую информацию:

- данные об абоненте (абонентский номер, ФИО абонента и т.п.);

- перечень активизированных абонентом услуг дополнительных видов обслуживания;

- данные о местонахождении абонента в сети ТПС.

Информация абонентской базы данных передается в систему технического обслуживания и эксплуатации по внутрисистемному интерфейсу, реализованному в соответствии с оригинальным протоколом фирмы-изготовителя.

Перечень информации, поддерживаемой абонентской базой данных SwMI, должен устанавливаться в Технических условиях на конкретный тип оборудования SwMI.

Оборудование SwMI поддерживает процедуры аутентификации, блокирования, деблокирования абонентской радиостанции, предусмотренные стандартом EN 300 392-7 [1]. Использование шифрования данных пользователя может использоваться в качестве опции в соответствии с порядком применения средств защиты информации, действующим в РФ.

Абонентские радиостанции, используя протокол DMO согласно стандарту ETS 300 396-3 [2], поддерживают непосредственную радиосвязь без использования базовой станции на специально выделенных для этой цели частотах. Увеличение дальности связи достигается за счёт использования ретрансляторов сигналов. Взаимодействие с сетью V+D может поддерживаться через специальные шлюзы (DMO gateway).

Структура подсистемы управления и коммутации и технические спецификации внутренних интерфейсов определяются фирмой-изготовителем. При этом подключение к ТФОП должно осуществляться в соответствии с требованиями, содержащимися в разделе 8.

Базовая станция является элементом подсистемы управления и коммутации и обеспечивает поддержку одного или более радиоканалов, используемых абонентскими радиостанциями в пределах одной зоны обслуживания. Базовая станция включает в себя один или несколько базовых приёмопередатчиков, каждый из которых поддерживает один физический радиоканал. Подключение базовой станции к оборудованию управления и коммутации осуществляется по внутреннему интерфейсу SwMI, организуемому в соответствии со спецификациями фирмы-изготовителя.

Абонентская радиостанция может использоваться в режиме установления соединений через SwMI (далее - режим V+D) и/или для непосредственной радиосвязи с другими абонентскими радиостанциями, минуя SwMI (далее - режим DMO (Direct Mode Operation)). Для поддержки режима DMO используется специальный протокол радио интерфейса Ud (DM-MS). Использование режима DMO абонентской радиостанцией допускается при наличии частот, специально выделенных для непосредственной радиосвязи. Абонентская радиостанция может использоваться в режиме двойного закрепления: в сети V+D и, одновременно, в режиме DMO (DW-MS).

Ретранслятор сигналов (ТМО repeater) предназначен для усиления сигналов, принятых от абонентской радиостанции, с целью последующей их передачи в направлении базовой станции и, одновременно, для усиления сигналов, принятых от базовой радиостанции, с целью последующей их передачи в направлении абонентской радиостанции в режиме V+D. Использование ретрансляторов позволяет расширить зону обслуживания базовой станции, а также обеспечить связь в неблагоприятных для распространения радиоволн условиях (в частности, в областях затенений).

Ретранслятор сигналов абонентских радиостанций, работающих в режиме DMO (DM-REP) обеспечивает усиление сигналов и расширение области радио покрытия. В зависимости от способа обработки сигнала различают:

- усилитель сигналов типа 1, обеспечивающий приём и передачу усиливаемых сигналов на одной частоте (приём в одном временном слоте, передача - в другом);

- усилитель сигналов типа 2, обеспечивающий приём сигналов на одной частоте и передачу сигналов после их усиления - на другой частоте.

Шлюз (DM-GATE) обеспечивает доступ абонентских радиостанций, работающих в режиме DMO, в сеть V+D и сопряжение протоколов Um и Ud. Шлюз может выполнять одновременно и функции ретранслятора сигналов DMO (такое устройство классифицируется как шлюз/ретранслятор - DM-REP/GATE).

4.3 Радиоинтерфейс TETRA V+D

Архитектура протокола радиоинтерфейса представлена на рисунке 2.

Рисунок 2 - Архитектура радиоинтерфейса TETRA V+D

Диапазон частот, разнос каналов и дуплексный разнос должны устанавливаться в решениях ГКРЧ в соответствии с пунктами 5, 6 TS 100 392-15 [3].

Характеристики физического уровня (уровня 1) радиоинтерфейса V+D определены в соответствии с пунктами 4 - 10 TS 100 392-2 [4]. Для передачи сигналов используется дифференциальная квадратурная фазовая манипуляция с приращением фазы на интервале модуляционного символа, кратным p/4 - p/4-DQPSK со скоростью передачи 36 кбит/с (пункт 5 TS 100 392-2). В радиоканале применяется множественный доступ с временным разделением каналов (Time Division Multiple Access - TDMA) с четырьмя каналами на одной несущей. Используются логические каналы двух категорий: трафик-каналы для передачи речи (TCH/S) и данных (ТСН/7.2, ТСН/4.8, ТСН/2.4) в режиме с коммутацией каналов. К каналам управления относятся:

ВССН - Broadcast Control CHannel - циркулярный канал управления, включающий в себя 1) BNCH - Broadcast Network CHannel - канал, обеспечивающий трансляцию сообщений о параметрах сети для абонентских радиостанций, находящихся в данной зоне обслуживания (канал BNCH, осуществляющий трансляцию системной информации в слоте 1 основной несущей является основным каналом управления MCCH - Main Control CHannel); 2) BSCH - Broadcast Synchronization CHannel - канал, обеспечивающий трансляцию информации, используемой абонентскими радиостанциями для цикловой и тактовой синхронизации;

LCH - Linearization CHannel - канал, используемый базовой и абонентскими радиостанциями для линеаризации передатчика, включающий в себя 1) CLCH - Common Linearization CHannel - общий канал для линеаризации абонентских радиостанций; 2) BLCH - BS Linearization CHannel - канал линеаризации базовой станции;

SCH - Signalling CHannel - канал сигнализации для передачи сообщений управления в адрес одной абонентской радиостанции или группы абонентских радиостанций, включающий в себя 1) SCH/F - Signalling CHannel/Full size - канал сигнализации, передающий сообщения полного формата от базовой станции к абонентской радиостанции («вниз») или SCH/HD - Signalling CHannel/Half size Downlink - канал сигнализации, передающий сообщения укороченного формата от базовой станции к абонентской радиостанции; 2) SCH/HU - Signalling CHannel/Half size Uplink - канал сигнализации, передающий сообщения укороченного формата от абонентской радиостанции к базовой радиостанции («вверх»);

ААСН - Access Assignment CHannel - канал предоставления доступа, должен использоваться для указания на каждом физическом канале назначения передаваемых слотов TDMA;

STCH - STealing CHannel - канал управления на базе части ресурса трафик-канала.

Параметры мультиплексирования, множественного доступа и типы логических каналов определены в соответствии с пунктом 9 TS 100 392-2.

Мощность передатчика базовой и абонентской радиостанции декларируется фирмой-изготовителем с использованием классов мощности (пункт 6.4.1 TS 100 392-2), приведенных в таблице 4.1.

Таблица 4.1

Класс мощности базового приёмопередатчика

Номинальное значение мощности, дБм (Вт)

1

2

1

46 (39,8)

2

44 (25,1)

3

42 (15,8)

4

40 (10)

5

38 (6,3)

6

36 (4)

7

34 (2,5)

8

32 (1,6)

9

30 (1)

10

28 (0,6)

Класс мощности абонентской радиостанции

Номинальное значение мощности, дБм (Вт)

1

45 (31,6)

1L

42,5 (17,7)

2

40 (10)

2L

37,5 (5,6)

3

35 (3,1)

3L

32,5 (1,8)

4

30 (1)

4L

27,5 (0,56)

Уровни регулировки мощности абонентской радиостанции

Значение мощности, дБм

1

45

2

40

3

35

4

30

5

25

6

20

7

15

В зависимости от условий применения радиооборудование подразделяется на классы с точки зрения параметров приёмников:

- радиооборудование класса А (абонентские радиостанции и базовые приёмопередатчики) оптимизировано для использования в городских условиях, а также в условиях холмистой или гористой местности и обеспечивает заданные значения характеристик приёма в статических условиях распространения (STAT), для моделей многолучёвости НТ200 и TU50;

- радиооборудование класса В (абонентские радиостанции и базовые приёмопередатчики) оптимизировано для условий плотной или городской застройки и обеспечивает заданные значения характеристик приёма в статических условиях распространения (STAT) и для модели многолучёвости TU50;

- радиооборудование класса Е (абонентские радиостанции) содержит эквалайзер и обеспечивает заданные значения характеристик приёма в статических условиях распространения (STAT) и для моделей многолучёвости TU50, НТ200 и EQ200.

Принадлежность радиооборудования к одному из классов декларируется фирмой-изготовителем и устанавливается в Технических условиях на каждый конкретный тип оборудования.

Уровень 2 радиоинтерфейса образован:

- подуровнем доступа к среде MAC (Medium Access Control), реализующим функции помехоустойчивого кодирования, перемежения, управления доступом к радиоканалу, управления распределением радиоресурса (в базовой станции), соответствующим пунктам 8, 9, 20, 23 TS 100 392-2;

- подуровнем управления логическим звеном LLC (Logical Link Control), обеспечивающим поддержку надежной передачи сообщений управления и соответствующим пунктам 20-22 TS 100 392-2.

Уровень 3 NWK (NetWorK layer) радиоинтерфейса образован:

- функциональным объектом управления каналом абонентской радиостанции (MLE - Mobile Link control Entity), осуществляющим опознавание блоков данных протокола и поддержку интерфейса с вышестоящими функциональными объектами, обработку данных, передаваемых циркулярным каналом управления, и соответствующим пунктам 17, 18 TS 100 392-2;

- функциональным объектом управления мобильностью (ММ - Mobility Management), осуществляющим выбор зоны обслуживания, регистрацию, аутентификацию, селекцию зоны обслуживания, активизацию и деактивизацию идентификационных данных пользователя и соответствующим пунктам 15, 16 TS 100 392-2;

- функциональным объектом управления вызовом в режиме с коммутацией каналов (СМСЕ - Circuit Mode Control Entity), осуществляющим поддержку службы передачи коротких сообщений (SDS - Short Data Service) в соответствии с пунктами 13, 14, 29 TS 100 392-2, функций управления вызовом в соответствии с пунктами 11, 14 TS 100 392-2 и управления вспомогательными услугами в соответствии с пунктами 12, 14 TS 100 392-2.

4.4 Радиоинтерфейс TETRA ОМО

Архитектура протокола радиоинтерфейса представлена на рисунке 3.

Рисунок 3 - Архитектура радиоинтерфейса TETRA DMO

Диапазон частот, разнос каналов и дуплексный разнос должны устанавливаться в решениях ГКРЧ в соответствии с пунктами 5, 6 TS 100 392-15 (при этом использование DMO допускается на специально выделенных частотах, отличных от частот используемых сетью в режиме V+D).

Характеристики физического уровня радиоинтерфейса DMO определены в соответствии с пунктами 4 - 10 ETS 300 396-2 [5]. Для передачи сигналов используется дифференциальная квадратурная фазовая манипуляция с приращением фазы на интервале модуляционного символа, кратным p/4 - p/4-DQPSK со скоростью передачи 36 кбит/с (пункт 5 ETS 300 396-2). В радиоканале применяется множественный доступ с временным разделением каналов (Time Division Multiple Access - TDMA) с четырьмя каналами на одной несущей. Используются логические каналы двух категорий: трафик-каналы для передачи речи (TCH/S) и данных (ТСН/7.2, ТСН/4.8, ТСН/2.4) в режиме с коммутацией каналов, а также каналы управления для передачи сообщений управления и данных пользователя в режиме с коммутацией пакетов. К каналам управления относятся:

LCH - Linearization CHannel - канал, используемый абонентскими радиостанциями для линеаризации передатчика;

SCH - Signalling CHannel - канал сигнализации для передачи сообщений управления в адрес одной абонентской радиостанции или группы абонентских радиостанций, включающий в себя 1) SCH/S - канал синхронизации; 2) SCH/H -канал половинного формата для передачи половины слота после сообщения SCH/S; 3) SCH/F - канал полного формата, используемый для передачи коротких сообщений SDS.

STCH - STealing CHannel - канал управления на базе части ресурса трафик-канала.

Параметры мультиплексирования, множественного доступа и типы логических каналов определены в соответствии с пунктом 9 ETS 300 396-2.

Мощность абонентской радиостанции в режиме DMO, ретранслятора DMO, шлюза DMO декларируется фирмой-изготовителем с использованием классов мощности (пункт 6.4.2 ETS 300 396-2), приведённых в таблицах 4.2 (абонентские радиостанции и ретрансляторы DMO), 4.2а (шлюзы DMO).

Таблица 4.2

Класс мощности

Номинальное значение, дБм (Вт)

2

40 (10)

3

35 (3,1)

4

30 (1)

5

25 (0,3)

Таблица 4.2а

Класс мощности

Номинальное значение, дБм (Вт)

1

45 (31,6)

2

40 (10)

3

35 (3,1)

4

30 (1)

Уровень 2 радиоинтерфейса (Data Link Layer - DLL) реализует функции помехоустойчивого кодирования, перемежения, скремблирования и управления доступом к радиоканалу (пункты 7, 8 ETS 300 396-3).

Уровень 3 радиоинтерфейса (Direct Mode Call Control) реализует функции управления вызовом, поддержку специальных услуг и обеспечивает поддержку передачи коротких сообщений в радиоканале (пункты 5, 6 ETS 300 396-3).

5 Технические требования к базовой станции

Перечень параметров, определяющих требования к радиооборудованию базовой станции, характеризующих интерфейс Um, определяется пунктом 4.2 EN 303 035-1 [6]. Численные значения параметров и описание методов испытаний содержатся в TS 100 394-1 [7].

Диапазон рабочих частот и дуплексный разнос (пункты 4.2.1/3 - 4.2.1/5 таблицы 3 EN 303 035-1, пункт 6.2 TS 100 392-2, пункты 5, 6 TS 100 392-15) должны декларироваться фирмой-изготовителем оборудования и соответствовать решению ГКРЧ.

Разнос частот между соседними радиоканалами должен составлять 25 кГц (пункт 6.2 TS 100 392-2).

5.1 Требования к передатчику

5.1.1 Мощность передатчика (пункт 4.2.2/1 таблицы 4 EN 303 035-1, пункт 6.4.1.1 TS 100 392-2, пункт 7.1.1.2 TS 100 394-1)

Номинальное значение мощности передатчика должно устанавливаться фирмой-изготовителем в соответствии с классом базового приёмопередатчика. Мощность передатчика измеряется на интервале 200 пакетов.

Отклонение мощности передатчика от номинального значения должно находиться в пределах:

±2 дБ при нормальных условиях1;

+3/-4 дБ при экстремальных условиях2.

Примечания

1 Нормальные условия - условия, определенные в пункте 6.2.1 TS 100 394-1.

2 Экстремальные условия - условия одновременного воздействия повышенной (пониженной) температуры среды и повышенного (пониженного) напряжения электропитания (пункт 6.2.2 TS 100 394-1).

5.1.2 Уровни излучения в соседних каналах, обусловленные модуляцией (пункт 4.2.2/7 таблицы 4 EN 303 035-1, пункт 6.4.2.2.1 TS 100 392-2, пункт 7.1.3.2 TS 100 394-1)

Уровни излучения в соседних каналах, обусловленные модуляцией, характеризуются средним значением мощности, измеренным на интервале полезной части пакета на частотах ±25 кГц, ±50 кГц, ±75 кГц относительно частоты несущей и не должны превышать максимальных значений, приведённых в таблице 5.1, без необходимости быть ниже минус 36 дБм.

Таблица 5.1

Расстройка относительно частоты несущей, кГц

Максимальный уровень, дБн (для нормальных условий)

Максимальный уровень, дБн (для экстремальных условий)

±25

-60

-50

±50

-70

-60

±75

-70

-60

5.1.3* Уровни излучения в соседних каналах, обусловленные переходными процессами в передатчике (пункт 4.2.2/8 таблицы 4 EN 303 035-1, пункт 6.4.2.2.2 TS 100 392-2, пункт 7.1.4.2 TS 100 394-1)

* Данное требование распространяется на базовые приемопередатчики, поддерживающие режим прерывистой передачи (discontinuous mode) - т.е. осуществляющие передачу только в отдельных слотах кадра ТОМА

Уровни излучения в соседних каналах, обусловленные переходными процессами (ramp-up и ramp-down) в режиме прерывистой передачи, характеризуются средним значением мощности, измеренным в пределах интервалов нарастания и спада на частотах ±25 кГц относительно частоты несущей и не должны превышать минус 50 дБн для всех классов мощности, без необходимости быть ниже минус 36 дБм.

5.1.4 Уровни излучения в соседних каналах во время передачи пакета линеаризации в канале BLCH** (пункт 4.2.2/9 таблицы 4 EN 303 035-1, пункт 6.4.2.4 TS 100 392-2, пункт 7.1.7.2 TS 100 394-1)

** Пакет линеаризации и одноименный канал (BLCH) используются базовой станции для заполнения слотов, не выделенных в данный момент абонентским радиостанциям на несущей, являющейся основной

Сумма временных отрезков на интервале пакета линеаризации, в пределах которых уровень излучения в соседних каналах на частотах ±25 кГц относительно частоты несущей превышает минус 45 дБн, не должна превышать 1 мс.

Пиковое значение уровня излучения не должно превышать минус 30 дБн (для нормальных и экстремальных условий).

5.1.5 Уровни побочных излучений (пункт 4.2.2/10 таблицы 4 EN 303 035-1, пункт 6.4.2.3 TS 100 392-2, пункт 7.1.5.2 TS 100 394-1)

Побочными являются излучения (дискретные побочные излучения и широкополосные шумы) на частотах, отстоящих от частоты несущей на 100 кГц и более в диапазоне частот от 9 кГц до 4 ГГц.

5.1.5.1 Уровень дискретных побочных излучений

Уровень дискретных побочных излучений, измеренных на антенном разъёме, в диапазоне частот от 9 кГц до 1 ГГц не должен превышать минус 36 дБм.

Уровень дискретных побочных излучений, измеренных на антенном разъёме, в диапазоне частот от 1 ГГц до 4 ГГц не должен превышать минус 30 дБм.

5.1.5.2 Уровень широкополосных шумов

Уровень широкополосных шумов, измеренных на антенном разъёме, не должен превышать максимально допустимых значений, приведённых в таблицах 5.2а (для широкополосных шумов на частотах до 700 МГц), 5.2б (для широкополосных шумов на частотах свыше 700 МГц).

Таблица 5.2а

Расстройка относительно частоты несущей, кГц

Максимально допустимый уровень, дБн

   От  100   до   250    включ.

-80

  Св.  250     "    500

-85

     "    500     "    frb

-90

     "       frb

-100

Таблица 5.2б

Расстройка относительно частоты несущей, кГц

Максимально допустимый уровень, дБн

Передатчики мощностью до 10 Вт включительно (классы 4 - 10)

Передатчики мощностью от 15 до 40 Вт (классы 1 - 3)

   От  100   до   250    включ.

-74

-80

  Св.  250     "    500

-80

-85

     "    500     "    frb

-85

-90

     "       frb

-100

-100

Примечание - frb - расстройка относительно частоты несущей, соответствующая ближайшей границе диапазона частот приёма, но не более 5 МГц. Не является обязательным иметь абсолютные значения широкополосных шумов ниже минус 55 дБм для частот расстройки до frb и минус 70 дБм - свыше frb

5.1.6 Уровни побочных излучений корпуса и элементов конструкции (пункт 4.2.2/12 таблицы 4 EN 303 035-1, пункт 6.4.3 TS 100 392-2, пункт 7.1.6.2 TS 100 394-1)

Уровни излучений корпуса и элементов конструкции, измеренные в диапазоне от 30 МГц до 4 ГГц, не должны превышать соответствующих предельных значений, установленных в пункте 5.1.5.

5.1.7 Ослабление продуктов интермодуляции (пункт 4.2.2/13 таблицы 4 EN 303 035-1, пункт 6.4.6.2 TS 100 392-2, пункт 7.1.8.2.2 TS 100 394-1)

Ослабление любой интермодуляционной компоненты сигнала базовой станции, измеренной в полосе 30 кГц, должно быть не менее 70 дБ. Для базовой станции с одним передатчиком, не предназначенной для размещения совместно с другим радиопередающим оборудованием, ослабление продуктов интермодуляции должно быть не менее 40 дБ, без необходимости быть ниже минус 36 дБм.

5.1.8 Ослабление продуктов интермодуляции в многоканальной базовой станции (пункт 4.2.2/15 таблицы 4 EN 303 035-1, пункт 6.4.7 TS 100 392-2, пункт 7.1.8.2.3 TS 100 394-1)

Ослабление любой интермодуляционной компоненты сигнала в пределах диапазона частот передатчика, вызванной использованием комбайнеров в многоканальной базовой станции, измеренной в полосе 30 кГц, должно быть не менее 60 дБн, без необходимости быть ниже минус 36 дБм.

5.1.9 Огибающая мощности передатчика в режиме прерывистой передачи. Мощность, излучаемая в неактивном состоянии* (пункты 4.2.2/16, 4.2.2/18 таблицы 4 EN 303 035-1, пункты 6.4.5, 6.4.5.1 TS 100 392-2, пункты 7.1.1.2, 7.1.2.2 TS 100 394-1)

* Данное требование распространяется на базовые приемопередатчики, поддерживающие режим прерывистой передачи (discontinuous mode) - т.е. осуществляющие передачу только в отдельных слотах кадра TDMA

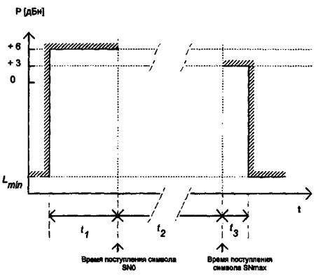
Огибающая мощности передатчика в режиме прерывистой передачи при нормальных и экстремальных условиях должна находиться в пределах временной маски мощности, приведённой на рисунке 4, с максимальным значением мощности, излучаемой в неактивном состоянии (Lmin) минус 40 дБн (без необходимости быть ниже минус 36 дБм) и значениями временных параметров t1 = 7 интервалов длительности символа, t2 = 246 интервалов длительности символа (при передаче в единственном слоте), t3 = 7 интервалов длительности символа.

Примечания

1 Интервал t1 начинается с момента включения передатчика в начале первого пакета и заканчивается моментом поступления символа SNO.

2 Интервал t2 начинается с момента поступления символа SN0 и заканчивается моментом поступления символа SNmax.

3 Интервал t3 начинается с момента поступления символа SNmax последнего пакета и заканчивается моментом завершения переходных процессов при выключении передатчика.

Рисунок 4 - Временная маска огибающей мощности передатчика в режиме прерывистой передачи

5.1.10 Ошибка по частоте (пункт 4.2.1/6 таблицы 3 EN 303 035-1, пункт 7.5 TS 100 392-2, пункт 7.3.2.2 TS 100 394-1)

Ошибка по частоте представляет собой разность между фактически измеренным значением частоты несущей на интервале SNmax модуляционных символов в 20 пакетах и её номинальным значением.

Ошибка по частоте должна находиться в пределах ±0,2 · 10-6 (±0,2 ppm).

При использовании в базовой станции нескольких сигналов несущих, их тактовая синхронизация должна осуществляться от одного первичного сигнала с использованием общей схемы формирования тактовой частоты. Временной сдвиг между сигналами различных несущих не должен превышать 1/4 длительности символа. При совместном использовании временного ресурса одной несущей различными базовыми станциями временной сдвиг между сигналами двух любых базовых станций не должен превышать 1/2 длительности символа.

5.1.11 Тип модуляции. Параметры модуляции (пункты 4.2.2/21, 4.2.2/22 таблицы 4 EN 303 035-1, пункты 5.2, 6.6.1.2 TS 100 392-2, пункт 7.3.1.2 TS 100 394-1)

Среднеквадратическое отклонение вектора ошибки должно быть не более 0,1 в любом пакете.

Пиковое значение вектора ошибки должно быть не более 0,3 на любом символе.

Амплитуда остаточной несущей С0 должна быть не более 5 % от амплитуды сигнала на выходе идеального модуляционного фильтра S(k) в любом пакете.

5.2 Требования к приемнику

5.2.1 Уровни побочных излучений в режиме приёма (пункт 4.2.2/11 таблицы 4, пункт 4.2.3/4 таблицы 6 EN 303 035-1, пункты 6.4.2.5, 6.5.4.2 TS 100 392-2, пункт 7.2.8.2 TS 100 394-1)

Уровни побочных излучений в режиме приёма (при отсутствии передачи), измеренные на антенном разъёме, не должны превышать минус 57 дБм в диапазоне частот от 9 кГц до 1 ГГц и минус 47 дБм в диапазоне частот от 1 ГГц до 4 ГГц.

5.2.2 Избирательность по побочным каналам приёма (пункт 4.2.3/1 таблицы 6 EN 303 035-1, пункт 6.5.2.2 TS 100 392-2, пункт 7.2.6.2 TS 100 394-1)

Избирательность приёмника по побочным каналам приёма характеризует его способность принимать полезный сигнал без существенного ухудшения качества при наличии на его входе мешающих сигналов на побочных каналах приёма.

При наличии на входе приёмника:

- полезного сигнала на частоте приёма f0 с уровнем минус 112 дБм;

- мешающего немодулированного синусоидального сигнала на частоте fI, -получаемого путём перестройки генератора сигналов с шагом 6,25 кГц в пределах «ограниченного диапазона частот»

где fI0 - частота задающего генератора гетеродина приёмника, (fi1, ... fij) промежуточные частоты,

sr - ширина диапазона частот приёмника или за пределами «ограниченного диапазона частот» до 4 ГГц на частотах nfIo ± fi1, n ≥ 2 и pfr ± fi1, р ≥ 1, где fr - частота любого другого генератора, используемого в формировании частоты гетеродина приёмника, с уровнем минус 45 дБм, -

значение коэффициента BER не должно превышать значений, установленных в таблице 5.3.

Таблица 5.3

Класс приемника

Логический канал

Тип*

Модель многолучевости

Уровень полезного сигнала, дБм

Уровень мешающего сигнала, дБм

Максимальное значение BER, %

Объём выборки, не менее, бит

А

ТСН/7.2

7

STAT

-112

-45

3,66

5800

В

4,88

4000

* Тип канала характеризует комбинацию условий, при которых осуществляется проверка данного параметра. К указанным условиям относятся: тип пакета, передаваемого измерительной системой, тип логических каналов, использующих блоки 1, 2. Подробная характеристика типов содержится в пункте 5.3.2.2 TS 100 394-1

5.2.3 Интермодуляционная избирательность (пункт 4.2.3/2 таблицы 6 EN 303 035-1, пункт 6.5.3.2 TS 100 392-2, пункт 7.2.7.2 TS 100 394-1)

Интермодуляционная избирательность приёмника характеризует его способность принимать полезный сигнал без существенного ухудшения качества при наличии на его входе двух или более сигналов на частотах, определённым образом связанных с частотой полезного сигнала.

При наличии на входе приёмника:

- полезного сигнала на частоте приёма f0 с уровнем минус 112 дБм;

- мешающего немодулированного синусоидального сигнала на частоте f1 с уровнем минус 47 дБм;

- мешающего модулированного сигнала p/4-DQPSK на частоте f2 с уровнем минус 47 дБм, так что f0 = 2f1 - f2 и |f2 - f1| = 200 кГц, -

значение коэффициента BER не должно превышать значений, установленных в таблице 5.4.

Таблица 5.4

Класс приёмника

Логический канал

Тип

Модель многолучёвости

Уровень полезного сигнала, дБм

Уровень мешающего сигнала, дБм

Максимальное значение BER, %

Объем выборки, не менее, бит

А

ТСН/7.2

7

STAT

-112

47

3,66

5800

В

4,88

4000

5.2.4 Устойчивость к блокирующим сигналам (пункт 4.2.3/3 таблицы 6 EN 303 035-1, пункт 6.5.1.2 TS 100 392-2, пункт 7.2.5.2 TS 100 394-1)

Устойчивость приёмника к блокирующим сигналам характеризует его способность принимать полезный сигнал без существенного ухудшения качества, при наличии на его входе мешающего немодулированного сигнала на частотах в пределах рабочего диапазона, отличных от частот побочных каналов приёма или соседних каналов.

При наличии на входе приёмника:

- полезного сигнала на частоте приёма f0 с уровнем минус 112 дБм;

- мешающего немодулированного синусоидального сигнала на частотах f0 ± 1 МГц, ±2 МГц, ±5 МГц, ±10 МГц с уровнем минус 25 дБм, -

значение коэффициента BER не должно превышать значений, установленных в таблице 5.5.

Таблица 5.5.

Класс приемника

Логический канал

Тип

Модель многолучевости

Уровень полезного сигнала, дБм

Уровень мешающего сигнала, дБм

Максимальное значение BER, %

Объем выборки, не менее, бит

А

ТСН/7.2

7

STAT

-112

-25

3,66

5800

В

4,88

4000

5.2.5 Номинальное значение коэффициента ошибок (пункт 4.2.4.1/1 таблицы 7 EN 303 035-1, пункт 6.6.2.1 TS 100 392-2, пункт 7.2.2.2 TS 100 394-1)

Номинальное значение коэффициента ошибок характеризует способность приёмника принимать сигнал при обычных условиях: при уровне входного сигнала не менее минус 85 дБм, при отсутствии помех, в условиях статического канала, а также в условиях многолучёвости.

Требования к значениям BER для различных вариантов условий приёма приведены в таблице 5.6.

Таблица 5.6

Класс приемника

Логический канал

Тип

Модель многолучёвости

Уровень полезного сигнала, дБм

Максимальное значение BER, %

Объём выборки, не менее, бит

А, В

ТСН/7.2

7

TU50

-85

0,448

3,6×106

А, В

ТСН/7.2

STAT

-20

0,122

170000

5.2.6 Уровни побочных излучений корпуса и элементов конструкции (пункт 4.2.3/5 таблицы 6 EN 303 035-1, пункт 6.5.5 TS 100 392-2, пункт 7.2.9.2 TS 100 394-1)

Уровни излучений корпуса и элементов конструкции, измеренные в диапазоне от 30 МГц до 4 ГГц не должны превышать минус 57 дБм в диапазоне частот от 30 МГц до 1 ГГц и минус 47 дБм в диапазоне частот от 1 ГГц до 4 ГГц.

5.2.7 Динамическая эталонная чувствительность (пункты 4.2.4.1/2, 4.2.4.1/3 таблицы 7 EN 303 035-1, пункты 6.6.2.2,6.6.2.2.1 TS 100 392-2, пункт 7.2.3.2 TS 100 394-1)

Динамическая эталонная чувствительность характеризует способность приёмника принимать сигнал с заданными качественными характеристиками в условиях наличия многолучёвости.

Требования к значениям коэффициентов ошибок BER и MER для различных типов логических каналов и моделей многолучёвости при уровне динамической эталонной чувствительности минус 106 дБм (для нормальных условий) и минус 100 дБм (для экстремальных условий) приведены в таблице 5.7.

Таблица 5.7

Класс приёмника

Логический канал

Тип

Модель многолучёвости

Уровень полезного сигнала, дБм

Максимальное значение MER/BER, %

Объём выборки, не менее, бит

А

SCH/F

8

TU50

-106 (-100)

12,32 (MER)

6600

А

STCH

9

TU50

-106

10,08 (MER)

6600

А

ТСН/2.4

10

НТ200

-106

1,456 (BER)

45000

А

SCH/HU

11

НТ200

-106

10,64 (MER)

5000

В

SCH/F

8

TU50

-106 (-100)

8,96 (MER)

6600

В

STCH

9

TU50

-106

8,96 (MER)

6600

В

ТСН/2.4

N = 1*

10

TU50

-106

0,392 (BER)

160000

В

SCH/HU

11

TU50

-106

8,96 (MER)

6600

* Данное требование применимо только в случае, если базовый приёмопередатчик поддерживает режим передачи данных со скоростью 2,4 кбит/с, являющийся системной опцией

Требования к значению вероятности необнаружения искажённого сообщения PUEM приведены в таблице 5.8.

Таблица 5.8

Логический канал

Тип

Модель многолучёвости

Уровень входного сигнала, дБм

Максимальное значение PUEM, не более,

Макс. кол-во искажённых сообщений

Объём выборки, не менее

SCH/F

8

TU50

-106

3,5×10-4

2

31200

5.2.8 Эталонная помехозащищённость (пункты 4.2.4.1/5, 4.2.4.1/6 таблицы 7 EN 303 035-1, пункты 6.6.2.3, 6.6.2.3.1 TS 100 392-2, пункт 7.2.4.2 TS 100 394-1)

Эталонная помехозащищённость характеризует способность приёмника принимать сигнал с заданными качественными характеристиками при наличии соканальной помехи с отношением сигнал/помеха С/Ic = 19 дБ или помехи по соседнему каналу с отношением сигнал/помеха C/Ia = минус 45 дБ (для нормальных условий) и С/Iа = минус 35 дБ (для экстремальных условий).

Требования к значениям коэффициента ошибок MER для различных типов логических каналов и моделей многолучёвости для соканальной помехи и помехи в соседнем канале приведены в таблице 5.9.

Таблица 5.9

Класс приёмника

Логический канал

Тип

Модель многолучёвости

Уровень полезного сигнала, дБм

Уровень мешающего сигнала, дБм

Максимальное значение MER, %

Объём выборки, не менее, бит

Соканальная помеха

А

SCH/F

8

HT200

-85

-104

10,304

7000

В

TU50

6,72

Помеха в соседнем канале

А

SCH/F

8

TU50

-103 (-97)

-58 (-62)

6,72

9000

В

5.3 Требования электромагнитной совместимости

5.3.1 Квазипиковые значения несимметричного напряжения радиопомех на сетевых зажимах в диапазоне частот от 0,15 до 100 МГц не должны превышать значений, приведённых в пункте 5.1 ГОСТ 30429 (рисунок 1, кривая 1).

5.3.2 Средние значения несимметричного напряжения радиопомех на сетевых зажимах в диапазоне частот от 30 до 100 МГц не должны превышать 26 дБмкВ согласно пункту 5.2 ГОСТ 30429.

5.3.3 Квазипиковые значения напряжённости поля радиопомех, создаваемых базовой станцией, в диапазоне частот от 0,15 до 1000 МГц, измеренные на расстоянии 1 м, не должны превышать значений, приведённых в пункте 5.3 ГОСТ 30429 (рисунок 2, кривая 1).

5.3.4 Напряжение радиопомех на портах связи в полосе частот от 0,15 до 30 МГц не должно превышать значений, приведённых в пункте 5.2 таблицы 3 ГОСТ Р 51318.22 (оборудование класса А).

5.3.5 Устойчивость к радиочастотному электромагнитному полю в диапазоне частот от 80 до 1000 МГц должна соответствовать пункту 5 ГОСТ Р 51317.4.3 (степень жесткости 2).

5.3.6 Устойчивость к электростатическим разрядам должна соответствовать пункту 5 ГОСТ Р 51317.4.2 (степень жёсткости 2).

5.3.7 Устойчивость к наносекундным импульсным помехам должна соответствовать пункту 5 ГОСТ Р 51317.4.4 (степень жёсткости 2).

5.3.8 Устойчивость к кондуктивным помехам, наведённым электромагнитным полем, должна соответствовать пункту 5 ГОСТ Р 51317.4.6.

5.3.9 Устойчивость к динамическим изменениям напряжения электропитания должна соответствовать пункту 5 ГОСТ Р 51317.4.11 (степень жёсткости 2).

5.3.10 Устойчивость к микросекундным импульсным помехам большой энергии должна соответствовать пункту 5 ГОСТ Р 51317.4.5 (класс эксплуатации 5).

5.3.11 Уровни излучения гармонических составляющих тока должны соответствовать пункту 7.1 ГОСТ Р 51317.3.2 (технические средства класса А).

5.3.12 Колебания напряжения и фликер, вызываемые оборудованием, должны соответствовать пункту 5 ГОСТ Р 51317.3.3.

5.4 Требования по устойчивости к климатическим и механическим воздействиям

5.4.1 В зависимости от условий размещения базовые станции классифицируют по следующим группам аппаратуры (таблица 1 ГОСТ 16019):

С1 - стационарная, устанавливаемая в отапливаемых наземных и подземных сооружениях;

С2 - стационарная, устанавливаемая под навесом на открытом воздухе или в неотапливаемых наземных и подземных сооружениях.

Группа базовой станции, исходя из условий её размещения, устанавливается в Технических условиях.

5.4.2 Требования по устойчивости к климатическим и механическим воздействиям к базовым станциям группы С1 должны устанавливаться в Технических условиях на базовую станцию.

При этом должны предусматриваться следующие виды испытаний:

а) испытание на воздействие пониженной температуры (пункт 1 таблицы 4 ГОСТ 16019);

б) испытание на воздействие повышенной температуры (пункт 2 таблицы 4 ГОСТ 16019);

в) испытание на воздействие синусоидальной вибрации (пункт 4 таблицы 4 ГОСТ 16019) (испытание проводят, если это оговорено в ТУ на аппаратуру конкретного назначения);

г) испытание на воздействие механических ударов (пункт 5 таблицы 4 ГОСТ 16019) (испытание проводят, если это оговорено в ТУ на аппаратуру конкретного назначения);

д) испытание на воздействие пониженного атмосферного давления (пункт 6 таблицы 4 ГОСТ 16019) (испытание проводят, если это оговорено в ТУ на аппаратуру конкретного назначения);

е) испытание на воздействие соляного тумана в циклическом режиме (пункт 8 таблицы 4 ГОСТ 16019) (испытание проводят, если это оговорено в ТУ на аппаратуру конкретного назначения);

ж) испытание на прочность при транспортировании (пункт 14 таблицы 4 ГОСТ 16019).

5.4.3 Требования по устойчивости к климатическим и механическим воздействиям к базовым станциям группы С2 должны устанавливаться в Технических условиях на базовую станцию.

При этом должны предусматриваться следующие виды испытаний:

а) испытание на воздействие пониженной температуры (пункт 1 таблицы 4 ОСТ 16019);

б) испытание на воздействие повышенной температуры (пункт 2 таблицы 4 ГОСТ 16019);

в) испытание на воздействие изменения температуры (пункт 3 таблицы 4 ГОСТ 16019);

г) испытание на воздействие синусоидальной вибрации (пункт 4 таблицы 4 ГОСТ 16019-2001) (испытание проводят, если это оговорено в ТУ на аппаратуру конкретного назначения);

д) испытание на воздействие механических ударов (пункт 5 таблицы 4 ГОСТ 16019) (испытание проводят, если это оговорено в ТУ на аппаратуру конкретного назначения);

е) испытание на воздействие пониженного атмосферного давления (пункт 6 таблицы 4 ГОСТ 16019) (испытание проводят, если это оговорено в ТУ на аппаратуру конкретного назначения);

ж) испытание на воздействие влажности при повышенной температуре в постоянном режиме (пункт 7 таблицы 4 ГОСТ 16019);

з) испытание на воздействие соляного тумана в циклическом режиме (пункт 8 таблицы 4 ГОСТ 16019) (испытание проводят, если это оговорено в ТУ на аппаратуру конкретного назначения);

и) испытание на воздействие песка и пыли (пункт 9 таблицы 4 ГОСТ 16019) (испытание проводят, если это оговорено в ТУ на аппаратуру конкретного назначения);

к) испытание на воздействие инея и росы (пункт 9 таблицы 13 ГОСТ 16019) (испытание проводят, если это оговорено в ТУ на аппаратуру конкретного назначения);

л) испытание на прочность при транспортировании (пункт 14 таблицы 4 ГОСТ 16019).

5.4.4 После каждого испытания, а также в ходе испытаний в случаях, предусмотренных методикой испытаний, должны контролироваться следующие параметры базовой станции:

- отклонение мощности передатчика от номинального значения (пункт 5.1.1).

Примечание - Допустимое отклонение мощности передатчика от номинального значения а ходе испытаний по пунктам 5.4.2, 5.4.3 должно находиться в пределах +3,0/-4,0 дБ;

- уровни излучения в соседних каналах, обусловленные модуляцией (пункт 5.1.2).

Примечание - Максимальные значения уровней излучения в соседних каналах, обусловленные модуляцией, в ходе испытаний по пунктам 5.4.2, 5.4.3 приведены в таблице 5.1 (для экстремальных условий);

- уровни излучения в соседних каналах во время передачи пакета линеаризации в BLCH (пункт 5.1.4).

Примечание - Пиковое значение уровня излучения не должно превышать минус 30 дБн;

- огибающая мощности передатчика в режиме прерывистой передачи (пункт 5.1.9).

Примечание - Данное требование распространяется на базовые приёмопередатчики, поддерживающие режим прерывистой передачи;

- динамическая эталонная чувствительность (пункт 5.2.7).

Примечания

1 В ходе испытаний по пунктам 5.4.2, 5.4.3 должно использоваться значение уровня входного сигнала приёмника минус 100 дБм.

2 В ходе испытаний контролируются только значения коэффициента MER для SCH/F;

- эталонная помехозащищённость (пункт 5.2.8).

Примечания

1 В ходе испытаний контролируется только устойчивость к помехам по соседнему каналу.

2 В ходе испытаний по пунктам 5.4.2, 5.4.3 должно использоваться значение уровня полезного входного сигнала приемника минус 97 дБм и уровень мешающего сигнала в соседнем канале минус 62 дБм.

5.5 Требования к электропитанию

5.5.1 Базовая станция должна обеспечивать работоспособность при изменении напряжения питания в пределах +10/-15 % относительно напряжения сети переменного тока 220 В.

5.5.2 Испытания в условиях повышенного и пониженного напряжения питания выполняются в рамках испытаний, проводимых в экстремальных условиях.

5.5.3 В базовой станции должно быть предусмотрено резервирование основного источника питания. При использовании в качестве резервного источника электропитания аккумуляторных батарей, их тип и диапазон значений напряжения питания должны устанавливаться в Технических условиях.

5.6 Требования безопасности

5.6.1 В базовой станции должны быть предусмотрены меры по защите от поражения электрически током согласно пункту 6.14 ГОСТ Р 50829.

5.6.2 Значения уровней плотности потока энергии, создаваемых базовой станцией в месте её установки, должны находиться в пределах, установленных СанПиН 2.2.4/2.1.8.055 [8].

5.6.3 Электрическая изоляция цепи питания базовой станции должна соответствовать требованиям пункта 6.20 ГОСТ Р 50829.

5.6.4 В базовой станции должно быть предусмотрено заземление доступных частей путём введения клемм защитного заземления, зажимов. Доступные проводящие детали должны быть надёжно заземлены (пункт 6.2.1 ГОСТ Р 50829). Величина сопротивления между клеммой защитного заземления и любой металлической нетоковедущей частью оборудования, доступной для прикосновения, не должна превышать 0,1 Ом (пункт 3.3.7 ГОСТ 12.2.007.0).

5.6.5 Должна быть исключена возможность воспламенения оборудования при случайном замыкании в цепи питания и при неправильном включении полярности питания (пункт 13.3 ГОСТ Р 50829).

5.6.6 Температура наружных поверхностей базовой станции во время работы должна соответствовать требованиям пункта 8.1 ГОСТ Р 50829.

5.6.7 Уровни акустического шума, создаваемого базовой станцией в месте её установки, должны соответствовать требованиям пункта 2 ГОСТ 12.1.003.

6 Технические требования к абонентской радиостанции и шлюзу DMO (в части интерфейса Um)

6.1 Требования, характеризующие использование радиочастот в режиме V+D

Перечень параметров, определяющих требования к абонентской радиостанции и шлюзу DMO (в части интерфейса Um), характеризующих использование радиочастот, определяется пунктом 4.2 EN 303 035-1. Численные значения параметров и описание методов испытаний содержится в ETSI TS 100 394-1.

Диапазон рабочих частот и дуплексный разнос (пункты 4.2.1/3 - 4.2.1/5 таблицы 3 EN 303 035-1, пункт 6.2 TS 100 392-2, пункты 5, 6 TS 100 392-15) должны декларироваться фирмой-изготовителем оборудования и соответствовать решению ГКРЧ.

Разнос частот между соседними радиоканалами должен составлять 25 кГц (пункт 6.2 TS 100 392-2).

Перечень характеристик и процедур функционирования абонентской радиостанции и шлюза DMO (в части интерфейса Um), характеризующих использование радиочастот и подлежащих декларированию предприятием-изготовителем или его полномочным представителем, определен в соответствии с EN 303 035-1 и приведен в таблицах 6.1 (требования к подуровню MAC), 6.2 (требования к подуровню LLC), 6.3 (требования к подуровню MLE), 6.4а (требования к подуровню ММ для абонентской радиостанции), 6.4б (требования к подуровню ММ для шлюза DMO (интерфейс Um), 6.5а (требования к подуровню СМСЕ для абонентской радиостанции), 6.5б (требования к подуровню СМСЕ для шлюза DMO (интерфейс Um).

Параметры передатчика

6.1.1 Мощность передатчика. Уровни регулировки мощности (пункты 4.2.2/2, 4.2.2/3 таблицы 4 EN 303 035-1, пункт 6.4.1.2 TS 100 392-2, пункт 7.1.1.2 TS 100 394-1)

Мощность передатчика измеряется на интервале полезной части 200 пакетов. Номинальное значение мощности должно устанавливаться фирмой-изготовителем в соответствии с классом абонентской радиостанции.

Отклонение измеренного значения мощности передатчика от номинального значения, соответствующего классу абонентской радиостанции или шлюза DMO (интерфейс Um), должно находиться в пределах ±2 дБ при нормальных условиях (+3,0/-4,0 дБ при экстремальных условиях).

Отклонение измеренного значения мощности передатчика от номинального значения, соответствующего любому уровню регулировки мощности (см. таблицу 4.1) ниже номинального значения, должно находиться в пределах ±2,5 дБ при нормальных условиях.

При нормальных* условиях, разность между значениями мощности, соответствующими соседним уровням регулировки (см. таблицу 4.1), должна быть в пределах 5,0 ± 2,5 дБ (2,5 ± 2,5 дБ для первого шага регулировки в абонентских радиостанциях или шлюзе DMO, имеющих уровень номинального значения мощности с индексом L).

Таблица 6.1

Наименование характеристики

Соответствие требованиям EN 303 035-1

Соответствие требованиям TS 100 392-2

Обязательность наличия

1

2

3

4

1 Требования к функциям MAC нижнего подуровня, относящимся к мониторингу и управлению параметрами радиоканала (пункт 4.2.4.2 таблицы 8, пункт А.3.1 таблицы A14 EN 303 035-1)

1.1 Схема помехоустойчивого кодирования для ААСН

пункт 4.2.4.2/1 таблицы 8

пункт 8.3.1

О

1.2 Схема помехоустойчивого кодирования для BSCH

пункт 4.2.4.2/2 таблицы 8

пункт 8.3.2

О

1.3 Схема помехоустойчивого кодирования для преобразования в пакеты половинной длины в SCH/HD, BNCH, STCH

пункт 4.2.4.2/3 таблицы 8

пункт 8.3.4.1

О

1.4 Схема помехоустойчивого кодирования для преобразования в пакеты половинной длины в SCH/HU

пункт 4.2.4.2/4 таблицы 8

пункт 8.3.4.2

О

1.5 Схема помехоустойчивого кодирования для преобразования в пакеты обычной длины SCH/F

пункт 4.2.4.2/5 таблицы 8

пункт 8.3.4.3

О

2 Требования к функциям MAC верхнего подуровня, относящимся к мониторингу и управлению параметрами радиоканала (пункт 4.2.4.3 таблицы 9, пункт А.3.2 таблицы А16 EN 303 035-1)

2.1 Приём и декодирование сообщений в МССН

пункт 4.2.4.3/13 таблицы 9

пункт 23.3.1.1

О

2.2 Приём сообщений в ААСН

пункт 4.2.4.3/14 таблицы 9

пункт 23.3.1.3

О

При поддержке управления вызовом СС

2.3 Переход в минимальный режим

пункт 4.2.4.3/15 таблицы 9

пункт 23.3.3.1

О

2.4 Функционирование абонентской радиостанции во время передачи кадров 1-17 в минимальном режиме

пункт 4.2.4.3/1 таблицы 9

пункт 23.3.3.2

О

При поддержке минимального режима

2.5 Функционирование абонентской радиостанции во время передачи кадра 18 в минимальном режиме

пункт 4.2.4.3/2 таблицы 9

пункт 23.3.3.3

О

При поддержке минимального режима

2.6 Завершение минимального режима

пункт 4.2.4.3/16 таблицы 9

пункт 23.3.3.5

О

При поддержке минимального режима

3 Требования к общим процедурам MAC (пункт 4.2.4.3 таблицы 9, пункт А.3.2 таблицы А.17 EN 303 035-1)

3.1 Распознавание адреса назначения в сообщениях управления от базовой станции

пункт 4.2.4.3/21 таблицы 9

пункт 23.4.1.2.1

О

3.2 Формирование адреса источника в сообщениях управления, передаваемых абонентской радиостанцией

пункт 4.2.4.3/22 таблицы 9

пункт 23.4.1.2.2

О

3.3 Передача блока служебных данных TM-SDU, не требующего фрагментации

пункт 4.2.4.3/5 таблицы 9

пункт 23.4.2.1.2

О

3.4 Фрагментация блока служебных данных TM-SDU при начале передачи с полного слота, выделенного базовой станцией

пункт 4.2.4.3/6 таблицы 9

пункт 23.4.2.1.2

О

3.5 Фрагментация блока служебных данных TM-SDU при начале передачи с использованием случайного доступа

пункт 4.2.4.3/7 таблицы 9

пункт 23.4.2.1.2

О

3.6 Добавление бит заполнения в MAC PDU

пункт 4.2.4.3/8 таблицы 9

пункт 23.4.2.2

О

3.7 Получение нефрагментированных TM-SDU

пункт 4.2.4.3/9 таблицы 9

пункт 23.4.3.1.1

О

3.8 Получение фрагментированных TM-SDU

пункт 4.2.4.3/10 таблицы 9

пункт 23.4.3.1.1

О

3.9 Удаление бит заполнения

пункт 4.2.4.3/11 таблицы 9

пункт 23.4.3.2

О

3.10 Декомпозиция PDU

пункт 4.2.4.3/12 таблицы 9

пункт 23.4.3.3

О

4 Требования к функциям MAC верхнего подуровня, относящимся к процедурам передачи сообщений управления (пункт 4.2.4.3 таблицы 9, пункт А.3.2 таблицы А.18 EN 303 035-1)

4.1 Приём блока данных протокола ACCESS-DEFINE PDU

пункт 4.2.4.3/23 таблицы 9

пункт 23.5.1.4.1

О

4.2 Приём блока данных протокола ACCESS-ASSIGN PDU

пункт 4.2.4.3/24 таблицы 9

пункт 23.5.1.4.2

О

4.3 Инициализации случайного доступа

пункт 4.2.4.3/25 таблицы 9

пункт 23.5.1.4.3

О

4.4 Проверка соответствующего кода доступа

пункт 4.2.4.3/26 таблицы 9

пункт 23.5.1.4.4

О

4.5 Процедура для первой попытки доступа

пункт 4.2.4.3/27 таблицы 9

пункт 23.5.1.4.5

О

4.6 Процедура для повторной попытки доступа

пункт 4.2.4.3/28 таблицы 9

пункт 23.5.1.4.8

О

4.7 Критерии прекращения попыток случайного доступа

пункт 4.2.4.3/29 таблицы 9

пункт 23.5.1.4.9

О

4.8 Использования для резервирования доступа информационного элемента Reservation requirement (пункт 21.5.4 TS 100 392-2)

пункт 4.2.4.3/30 таблицы 9

пункт 23.5.2.1

О

4.9 Обработка информационного элемента Slot granting (пункт 21.5.6 TS 100 392-2) в сообщениях управления от БС

пункт 4.2.4.3/31 таблицы 9

пункт 23.5.2.2

О

4.10 Замена текущего МССН другим определенным каналом

пункт 4.2.4.3/32 таблицы 9

пункт 23.5.4.2.1

Опц.

4.11 Прекращение контроля МССН и переход на заданный канал

пункт 4.2.4.3/33 таблицы 9

пункт 23.5.4.2.1

Опц.

4.12 Замена текущего МССН на вновь назначенный МССН/ SCCH или дополнительный канал CSS

пункт 4.2.4.3/34 таблицы 9

пункт 23.5.4.2.1

Опц.

4.13 Замена текущего канала другим определённым каналом

пункт 4.2.4.3/35 таблицы 9

пункт 23.5.4.2.3

О

4.14 Прекращение контроля текущего канала и переход на заданный канал

пункт 4.2.4.3/36 таблицы 9

пункт 23.5.4.2.3

О

4.15 Замена текущего канала на вновь назначенный МССН/ SCCH или дополнительный канал CSS

пункт 4.2.4.3/37 таблицы 9

пункт 23.5.4.2.3

О

5 Требований к функциям MAG верхнего подуровня, относящимся к процедурам передачи циркулярных сообщений управления (пункт 4.2.4.3 таблицы 9, пункт А.3.2 таблицы A.19 EN 303 035-1)

5.1 Приём и декодирование сигналов BNCH и BSCH

пункт 4.2.4.3/17 таблицы 9

пункт 23.6.1

О

5.2 Синхронизация в зоне обслуживания

пункт 4.2.4.3/18 таблицы 9

пункт 23.6.2

О

5.3 Синхронизация в сети

пункт 4.2.4.3/19 таблицы 9

пункт 23.6.3

О

6 Требования к функциям MAC верхнего подуровня, относящимся к процедурам измерения уровней принимаемого сигнала (пункт 4.2.4.3 таблицы 9, пункт А.3.2 таблицы A.20 EN 303 035-1)

6.1 Расчет параметра потерь распространения С1

пункт 4.2.4.3/38 таблицы 9

пункт 23.7.1.1

О

6.2 Расчет параметра потерь распространения С2

пункт 4.2.4.3/39 таблицы 9

пункт 23.7.1.2

О

6.3 Порядок проведения измерений в радиоканалах текущей зоны обслуживания

пункт 4.2.4.3/40 таблицы 9

пункт 23.7.3.1

О

6.4 Порядок проведения измерений в радиоканалах соседних зон обслуживания в случае, когда радиостанция не синхронизирована с соседней зоной (Monitoring)

пункт 4.2.4.3/41 таблицы 9

пункт 23.7.4.2

О

6.5 Периодичность проведения измерений уровней сигналов в радиоканалах соседних зон обслуживания

пункт 4.2.4.3/42 таблицы 9

пункт 23.7.4.3

О

6.6 Порядок проведения измерений в радиоканалах соседних зон обслуживания в случае, когда радиостанция синхронизирована с соседней зоной (Scanning)

пункт 4.2.4.3/43 таблицы 9

пункт 23.7.5.2

О

7 Требования к функциям MAC верхнего подуровня, относящимся к процедурам передачи абонентского трафика (пункт 4.2.4.3 таблицы 9, пункт А.3.2 таблицы А.21 EN 303 035-1)

7.1 Синхронизация перехода в режим передачи данных пользователя

пункт 4.2.4.3/20 таблицы 9

пункт 23.8.2.2

О

7.2 Формирование канала uplink STCH

пункт 4.2.4.3/3 таблицы 9

пункт 23.8.4.1.1

О

7.3 Приём канала downlink STCH

пункт 4.2.4.3/4 таблицы 9

пункт 23.8.4.2.2

О

8 Типы блоков данных протокола MAC (пункт А.3.2 таблицы А.22 EN 303 035-1)

8.1 MAC-ACCESS (передача)

 

пункт 21.4.2.1

О

8.2 MAC-END-TU (передача)

 

пункт 21.4.2.2

О

8.3 MAC-DATA (передача)

 

пункт 21.4.2.3

О

8.4 MAC-FRAG (передача; приём)

 

пункты 21.4.2.4, 21.4.3.2

О

8.5 MAC-END (передача; приём)

 

пункты 21.4.2.5, 21.4.3.3

О

8.6 MAC-RESOURCE (прием)

 

пункт 21.4.3.1

О

9. Типы блоков данных протокола MAC, транслируемых базовой станцией и подлежащих приему (пункт А.3.2 таблицы А.23 EN 303 035-1)

9.1 SYSINFO

 

пункт 21.4.4.1

О

9.2 SYNC

 

пункт 21.4.4.2

О

9.3 ACCESS-DEFINE

 

пункт 21.4.4.3

О

9.4 ACCESS-ASSIGN

 

пункт 21.4.7

 

10 Типы блоков данных протокола MAC, используемые для передачи данных пользователя (пункт А.3.2 таблицы А.24 EN 303 035-1)

10.1 MAC-TRAFFIC (приём и передача)

 

пункт 21.4.6

О

При поддержке управления вызовом СС

11 Значения таймеров MAC, подлежащие декларированию (пункт А.3.2 таблицы А.25 EN 303 035-1)

11.1 Т.205 (таймер приостановления попыток доступа)

пункт 4.2.3.4/29 таблицы 9

доп. В

О

(Диапазон допустимых значений от 5 до 60 мультикадров)

Условные обозначения: О - характеристика/процедура подлежит декларированию

Опц. - опция (характеристика/процедура) не подлежит обязательному декларированию

Таблица 6.2

Наименование характеристики

Соответствие требованиям EN 303 035-1

Соответствие требованиям TS 100 392-2

Обязательность наличия

1

2

3

4

1 Процедуры LLC для базового канала в режиме с подтверждением (пункт 4.2.4.4 таблицы 10, пункт А.4 таблицы А.27 EN 303 035-1)

1.1 Передача подтверждений в режиме с подтверждением

пункт 4.2.4.4/5 таблицы 10

пункт 22.3.2.3

О

Нумерование SDU при приёме в режиме с подтверждением

пункт 4.2.4.4/9 таблицы 10

пункт 22.3.2.3

 

1.2 Передача данных в режиме с подтверждением: установление режима передачи в базовом канале

пункт 4.2.4.4/1 таблицы 10

пункты 22.3.2.1, 22.3.2.3

О

передача в режиме с подтверждением в базовом канале

пункт 4.2.4.4/2 таблицы 10

пункт 22.3.2.3

 

нумерование SDU при передаче в режиме с подтверждением

пункт 4.2.4.4/4 таблицы 10

пункт 22.3.2.3

 

подсчет количества повторных передач в соответствии с параметром N.252

пункт 4.2.4.4/6 таблицы 10

пункт 22.3.2.3, доп. А.2

 

использование таймера повторных передач Т.251

пункт 4.2.4.4/7 таблицы 10

пункт 22.3.2.3, доп. А.2

 

приём подтверждений в режиме с подтверждением

пункт 4.2.4.4/8 таблицы 10

пункт 22.3.2.3

 

1.3 Проверка FCS на четность при приёме

пункт 4.2.4.4/10 таблицы 10

пункты 22.3.1.5, 22.3.2.3

Опц.

1.4 Расчёт FCS при передаче

пункт 4.2.4.4/3 таблицы 10

пункты 22.3.15, 22.3.2.3

Опц.

2 Типы блоков данных протокола LLC для базового канала в режиме с подтверждением (пункт А.4 таблицы А.28 EN 393 035-1)

2.1 BL-ACK без FCS (передача и приём)

 

пункт 21.2.2.1

О

2.2 BL-ADATA без FCS (передача и приём)

 

пункт 21.2.2.2

О

2.3 BL-DATA без FCS (передача и приём)

 

пункт 21.2.2.3

О

2.4 BL-ACK с FCS

 

пункт 21.2.2.1

При использовании

2.5 BL-ADATA с FCS

 

пункт 21.2.2.2

FCS

2.6 BL-DATA с FCS

 

пункт 21.2.2.3

 

3 Константы LLC (пункт А.4 таблицы А.29 EN 303 035-1)

3.1 N.252 (максимальное количество повторных передач)

пункт 4.2.4.4/6 таблицы 10

доп. А.2

О

(Диапазон допустимых значений

1...5 - при отсутствии в переданном PDU флага stealing repeats;

3...5 - при использовании в переданном PDU флага stealing repeats)

4 Таймеры LLC (пункт А.4 таблицы А.30 EN 303 035-1)

4.1 Т.251 (длительность повторных передач)

пункт 4.2.4.4/7 таблицы 10

доп. А.1

О (допустимое значение -4 кадра)

Условные обозначения: О - характеристика/процедура подлежит декларированию

Опц. - опция (характеристика/процедура) не подлежит обязательному декларированию

Таблица 6.3

Наименование характеристики

Соответствие требованиям EN 303 035-1

Соответствие \ требованиям I TS 100 392-2

Обязательность \ наличия \

1

2

3

4

1 Требования к функциям MLE (пункт 4.2.4.5 таблицы 11, пункт А.1 таблицы А.31 EN 303 035-1)

1.1 Первичный выбор зоны обслуживания (cell selection)

пункт 4.2.4.5/1 таблицы 11

пункт 18.3.4.6

О

1.2 Недекларируемый повторный выбор зоны обслуживания (cell reselection)

пункт 4.2.4.5/2 таблицы 11

пункт 18.3.4.7.2

О

1.3 Неанонсируемый повторный выбор зоны обслуживания

пункт 4.2.4.5/3 таблицы 11

пункт 18.3.4.7.3

О

1.4 Анонсируемый повторный выбор зоны обслуживания типа 3

пункт 4.2.4.5/4 таблицы 11

пункт 18.3.4.7.4

О

1.5 Использование опроса смежных с текущей зон обслуживания

пункт 4.2.4.5/5 таблицы 11

пункт 18.3.6.5

Опц.

2 Процедуры MLE (пункт 4.2.4.5 таблицы 11, пункт А.5 таблицы А.32 EN 303 035-1)

2.1 Недекларируемый повторный выбор зоны обслуживания (cell reselection)

пункт 4.2.4.5/2 таблицы 11

пункт 18.3.4.7.2

О

2.2 Неанонсируемый повторный выбор зоны обслуживания

пункт 4.2.4.5/3 таблицы 11

пункт 18.3.4.7.3

О

2.3 Анонсируемый повторный выбор зоны обслуживания типа 3

пункт 4.2.4.5/4 таблицы 11

пункт 18.3.4.7.4

О

3 Типы блоков данных протокола MLE (пункт А.5 таблицы А.33 EN 303 035-1)

3.1 MLE service user PDU (передача и приём)

 

пункт 18.4.1.3

О

3.2 D-NWK-BROADCAST (прием)

 

пункт 18.4.1.4.1

О

3.3 D-NEW-CELL (прием)

 

пункт 18.4.1.4.2

О

3.4 D-PREPARE-FAIL (прием)

 

пункт 18.4.1.4.3

При использовании опроса снежных зон обслуживания

3.5 D-RESTORE-ACK (приём)

 

пункт 18.4.1.4.4

О

3.6 D-RESTORE-FAIL (приём)

 

пункт 18.4.1.4.5

О

3.7 U-PREPARE (передача)

 

пункт 18.4.1.4.6

О

3.8 U-RESTORE (передача)

 

пункт 18.4.1.4.7

О

3.9 D-MLE-SYNC (приём)

 

пункт 18.4.2.1

О

3.10 D-MLE-SYSINFO

 

пункт 18.4.2.2

О

4 Таймеры MLE (пункт A.5 таблицы A.34 EN 303 035-1)

4.1 Т.370 (максимальное время ожидания U-PREPARE)

пункт 4.2.4.5/4 таблицы 11

пункт 18.6.2

О

(Допустимое значение 5 с)

Условные обозначения: О - характеристика/процедура подлежит декларированию

Опц. - опция (характеристика/процедура) не подлежит обязательному декларированию

Таблица 6.4а

Наименование характеристики

Соответствие требованиям EN 303 035-1

Соответствие требованиям TS 100 392-2

Обязательность наличия

1

2

3

4

1 Требования к процедурам регистрации ММ (пункт 4.2.4.6 таблицы 12, пункт А.6.1 таблицы А.36 EN 303 035-1)

1.1 Регистрация по инициативе MLE

пункт 4.2.4.6/1 таблицы 12

пункт 16.4.1.1

О

1.2 Регистрация по инициативе пользователя

пункт 4.2.4.6/2 таблицы 12

пункт 16.4.2

Опц.

1.3 Процедура регистрации по инициативе пользователя при включении питания абонентской радиостанции

пункт 4.2.4.6/2 таблицы 12

пункт 16.4.2

О

1.4 Регистрации по инициативе инфраструктуры

пункт 4.2.4.6/3 таблицы 12

пункт 16.4.3

О

2 Процедуры регистрации, инициируемые МСЕ (пункт 4.2.4.6 таблицы 12, пункт А.6.1 таблицы A.37 EN 303 035-1)

2.1 Обычная процедура регистрации при роуминге пункт 4.2.4.6/1 таблицы 12

пункт 16.4.1.1

О

3 Процедуры регистрации, инициируемые пользователем (п. 4.2.4.6 табл. 12, п. А.6.1 табл. А.38 EN 303 035-1)

3.1 Процедура без регистрации нового ITSI

пункт 4.2.4.6/2 таблицы 12

пункт 16.4.2

Опц.

3.2 Процедура с регистрацией нового ITSI

пункт 4.2.4.6/2 таблицы 12

пункт 16.4.2

О

4 Процедуры закрепления/отделения групповых идентификаторов (пункт 4.2.4.6 таблицы 12, пункт А.6.1 таблицы А.39 EN 303 035-1)

4.1 Процедуры закрепления/отделения групповых идентификаторов по инициативе инфраструктуры

п.п. 4.2.4.6/4, 4.2.4.6/5 табл. 12

пункт 16.8.1

Опц.

4.2 Процедуры закрепления/отделения групповых идентификаторов по инициативе абонентской радиостанции

п.п. 4.2.4.6/6, 4.2.4.6/7 табл. 12

пункт 16.8.2

Опц.

4.3 Обработка запросов group identity report от инфраструктуры

п. 4.2.4.6/8 табл. 12

пункт 16.8.3

При использовании опции 4.1

5 Типы блоков данных протокола ММ (пункт А.6.1 таблицы А.40 EN 303 035-1)

5.1 D-ATTACH/DETACH GROUP IDENTITY (приём)

пункт 16.9.2.1

При использовании опции 4.1

5.2 D-ATTACH/DETACH GROUP IDENTITY ACKNOWLEDGEMENT (приём)

пункт 16.9.2.2

При использовании опции 4.2

5.3 D-LOCATION UPDATE ACCEPT (приём)

пункт 16.9.2.7

О

5.4 D-LOCATION UPDATE COMMAND (приём)

пункт 16.9.2.8

О

5.5 D-LOCATION UPDATE REJECT (приём)

пункт 16.9.2.9

О

5.6 U-ATTACH/DETACH GROUP IDENTITY (передача)

пункт 16.9.3.1

При использовании опции 4.2

5.7 U-ATTACH/DETACH GROUP IDENTITY ACKNOWLEDGEMENT (передача)

пункт 16.9.3.2

При использовании опции 4.1

5.8 U-LOCATION UPDATE DEMAND (передача)

пункт 16.9.3.4

О

Условные обозначения: О - характеристика/процедура подлежит декларированию

Опц. - опция (характеристика/процедура) не подлежит обязательному декларированию

Таблица 6.4б

Наименование характеристики

Соответствие требованиям EN 303 035-1

Соответствие требованиям ETS 300 396-5 [9], TS 100 392-2

Обязательность наличия

1

2

3

4

1 Требования к процедурам регистрации ММ (пункт 4.2.4.6 таблицы 13, пункт А.6.2 таблицы А.41 EN 303 035-1)

1.1 Обычная регистрация шлюза при его перемещении в данную зону обслуживания

пункт 4.2.4.6/9 таблицы 13

пункт 16.4.1.1 TS 100 392-2

пункт 10.3.1 ETS 300 396-5

О

1.2 Регистрация по инициативе шлюза при включении питания

пункт 4.2.4.6/10 таблицы 13

пункт 16.4.2 TS 100 392-2

пункт 10.3.1 ETS 300 396-5

О

1.3 Процедура регистрации по инициативе SwMI

пункт 4.2.4.6/11 таблицы 13

пункт 16.4.3 TS 100 392-2

пункт 10.3.1 ETS 300 396-5

О

2 Типы блоков данных протокола ММ (пункт А.6.2 таблицы А.42 EN 303 035-1)

2.1 D-MM STATUS

пункт 16.9.2.5.7 TS 100 392-2

Опц.

2.2 D-LOCATION UPDATE ACCEPT (прием)

пункт 16.9.2.7 TS 100 392-2

О

2.3 D-LOCATION UPDATE COMMAND (прием)

пункт 16.9.2.8 TS 100 392-2

О

2.4 D-LOCATION UPDATE REJECT (прием)

пункт 16.9.2.9 TS 100 392-2

О

2.5 U-LOCATION UPDATE DEMAND (передача)

пункт 16.9.3.4 TS 100 392-2

О

2.6 U-MM STATUS

пункт 16.9.3.5.8 TS 100 392-2

Опц.

Условные обозначения: О - характеристика/процедура подлежит декларированию

Опц. - опция (характеристика/процедура) не подлежит обязательному декларированию

Таблица 6.5а

Наименование характеристики

Соответствие требованиям EN 303 035-1

Соответствие требованиям TS 100 392-2

Обязательность наличия

1

2

3

4

1 Услуги СМСЕ (пункт А.7.1 таблицы A.43 EN 303 035-1)

1.1 Услуга управления вызовом СС

пункт 11.2

Опц.

2 Функции СМСЕ (пункт А.7.1 таблицы A.44 EN 303 035-1)

 

2.1 Индивидуальные вызовы

пункт 14.5.1

О

2.2 Групповые вызовы

пункт 14.5.2

О

3 Функции сигнализации для индивидуальных вызовов СМСЕ (пункт А.7.1 таблицы А.45 EN 303 035-1)

3.1 Сигнализация «трубка опущена/снята»

пункт 14.5.1.1

опция 3.1 или 3.2 О

3.2 Сигнализация при прямом установлении соединения

пункт 14.5.1.1

4 Функции СС при установлении индивидуальных вызовов (пункт 4.2.4.7 таблицы 14, пункт А.7.1 таблицы А.46 EN 303 035-1)

4.1 Установление входящего вызова

пункт 4.2.4.7/1 таблицы 14

пункт 14.5.1.1.1

О

4.2 Установление исходящего вызова

пункт 4.2.4.7/2 таблицы 14

пункт 14.5.1.1.2

О

4.3 Действия при столкновении вызовов

пункт 4.2.4.7/3 таблицы 14

пункт 14.5.1.1.3

О

4.4 Переключение в режим передачи данных пользователя и обратно в процессе вызова

пункт 4.2.4.7/7 таблицы 14

пункт 14.5.1.4

О

5 Функции СС при установлении групповых вызовов (пункт 4.2.4.7 таблицы 14, пункт А.7.1 таблицы А.47 EN 303 035-1)

5.1 Установление исходящего вызова

пункт 4.2.4.7/4 таблицы 14

пункт 14.5.2.1.2

О

5.2 Действия при столкновении вызовов

пункт 4.2.4.7/5 таблицы 14

пункт 14.5.2.1.3

О

5.3 Переключение в режим передачи данных пользователя и обратно в процессе вызова

пункт 4.2.4.7/9 таблицы 14

пункт 14.5.2.4

О

6 Функции поддержания индивидуальных вызовов (пункт 4.2.4.7 таблицы 14, пункт А.7.1 таблицы A.48 EN 303 035-1)

6.1 Возобновление вызова

пункт 4.2.4.7/10 таблицы 14

пункт 14.5.1.2.4

О

7 Функции поддержания групповых вызовов (пункт 4.2.4.7 таблицы 14, пункт А.7.1 таблицы А.49 EN 303 035-1)

7.1 Возобновление вызова

пункт 4.2.4.7/11 таблицы 14

пункт 14.5.2.2.4

О

8 Функции управления индивидуальными вызовами (пункт 4.2.4.7 таблицы 14, пункт А.7.1 таблицы А.50 EN 303 035-1)

8.1 Запрос передачи

пункт 4.2.4.7/6 таблицы 14

пункт 14.5.1.2.1

О

8.2 Действия при разрешении передачи

пункт 4.2.4.7/6 таблицы 14

пункт 14.5.1.2.1

О

8.3 Действия при отказе в разрешении передачи

пункт 4.2.4.7/6 таблицы 14

пункт 14.5.1.2.1

О

8.4 Действия при постановке запроса передачи в очередь

пункт 4.2.4.7/6 таблицы 14

пункт 14.5.1.2.1

О

8.5 Действия при отмене разрешения на передачу

пункт 4.2.4.7/6 таблицы 14

пункт 14.5.1.2.1

О

8.6 Завершение передачи

пункт 4.2.4.7/6 таблицы 14

пункт 14.5.1.2.1

О

8.7 Действия при получении запрета передачи

пункт 4.2.4.7/6 таблицы 14

пункт 14.5.1.2.1

О

8.8 Переключение в режим передачи данных пользователя и обратно в процессе вызова

пункт 4.2.4.7/7 таблицы 14

пункт 14.5.1.4

О

9 Функции управления групповыми вызовами (пункт 4.2.4.7 таблицы 14, пункт А.7.1 таблицы А.51 EN 303 035-1)

9.1 Запрос передачи

пункт 4.2.4.7/8 таблицы 14

пункт 14.5.2.2.1

О

9.2 Действия при разрешении передачи

пункт 4.2.4.7/8 таблицы 14

пункт 14.5.2.2.1

О

9.3 Действия при отказе в разрешении передачи

пункт 4.2.4.7/8 таблицы 14

пункт 14.5.2.2.1

О

9.4 Действия при постановке запроса передачи в очередь

пункт 4.2.4.7/8 таблицы 14

пункт 14.5.2.2.1

О

9.5 Действия при отмене разрешения на передачу

пункт 4.2.4.7/8 таблицы 14

пункт 14.5.2.2.1

О

9.6 Завершение передачи

пункт 4.2.4.7/8 таблицы 14

пункт 14.5.2.2.1

О

9.7 Действия при получении запрета передачи

пункт 4.2.4.7/8 таблицы 14

пункт 14.5.2.2.1

О

9.8 Переключение в режим передачи данных пользователя и обратно в процессе вызова

пункт 4.2.4.7/9 таблицы 14

пункт 14.5.2.4

О

10 Функции, относящиеся к разъединению индивидуальных вызовов (пункт 4.2.4.7 таблицы 14, пункт А.7.1 таблицы А.52 EN 303 035-1)

10.1 Разъединение по инициативе пользователя

пункт 4.2.4.7/12 таблицы 14

пункт 14.5.1.3.1

Опц.

10.2 Действия при получении команды на освобождение канала D-RELEASE PDU

пункт 4.2.4.7/13 таблицы 14

пункт 14.5.1.3.3

О

10.3 Действия при получении команды на разъединение D-DISCONNECT PDU

пункт 4.2.4.7/13 таблицы 14

пункт 14.5.1.3.3

О

10.4 Действия при истечении времени отсчёта таймеров

пункты 4.2.4.7/14, 4.2.4.7/15 таблицы 14

пункт 14.5.1.3.4

О

10.5 Переключение из режима передачи данных пользователя при завершении вызова

пункт 4.2.4.7/7 таблицы 14

пункт 14.5.1.4

О

11 Функции, относящиеся к разъединению групповых вызовов (пункт 4.2.4,7 таблицы 14, пункт А.7.1 таблицы А.53 EN 303 035-1)

11.1 Действия при получении команды на разъединение D-DISCONNECT PDU

пункт 4.2.4.7/16 таблицы 14

пункт 14.5.2.3.3

О

11.2 Действия при истечении времени отсчёта таймеров

пункты 4.2.4.7/17, 4.2.4.7/18 таблицы 14

пункт 14.5.2.3.5

О

11.3 Переключение из режима передачи данных пользователя при завершении вызова

пункт 4.2.4.7/9 таблицы 14

пункт 14.5.1.4

О

12 Типы блоков данных протокола СС (пункт А.7.1 таблицы A.54 EN 303 035-1)

12.1 D-ALERT (приём)

 

пункт 14.7.1.1

При использовании опции 3.1

12.2 D-CALL-PROCEEDING (приём)

 

пункт 14.7.1.2

О

12.3 D-CALL-RESTORE (приём)

 

пункт 14.7.1.3

О

12.4 D-CONNECT (прием)

 

пункт 14.7.1.4

О

12.5 D-CONNECT ACKNOWLEDGE (прием)

 

пункт 14.7.1.5

О

12.6 D-DISCONNECT (приём)

 

пункт 14.7.1.6

О

12.7 D-INFO (прием)

 

пункт 14.7.1.8

О

12.8 D-RELEASE (прием)

 

пункт 14.7.1.9

О

12.9 D-SETUP (приём)

 

пункт 14.7.1.12

О

12.10 D-TX-CEASED (приём)

 

пункт 14.7.1.13

О

12.11 D-TX-GRANTED (прием)

 

пункт 14.7.1.15

О

12.12 D-TX-INTERRUPT (прием)

 

пункт 14.7.1.16

О

12.13 D-TX-WAIT (приём)

 

пункт 14.7.1.17

О

12.14 U-ALERT (передача)

 

пункт 14.7.2.1

При использовании опции 3.1

12.15 U-CALL-RESTORE (передача)

 

пункт 14.7.2.2

О

12.16 U-CONNECT (передача)

 

пункт 14.7.2.3

О

12.17 U-DISCONNECT (передача)

 

пункт 14.7.2.4

О

12.18 U-RELEASE (передача)

 

пункт 14.7.2.9

О

12.19 U-SETUP (передача)

 

пункт 14.7.2.10

О

12.20 U-TX-CEASED (передача)

 

пункт 14.7.2.11

О

12.21 U-TX-DEMAND (передача)

 

пункт 14.7.2.12

о

13 Таймеры СС (пункт А.7.1 таблицы А.55 EN 303 035-1)

13.1 T.301

пункт 4.2.4.7/14 таблицы 14

пункт 14.6

О (Допустимое значение 0...30 с)

13.2 T.302

13.3 T.303

пункты 4.2.4.7/14, 4.2.4.7/17 таблицы 14

пункт 14.6

О (Допустимое значение 0,60 с)

пункт 14.6

О (Допустимое значение 0,60 с)

13.4 T.306

пункт 4.2.4.7/15 таблицы 14

пункт 14.6

О (Допустимое значение 4...6 с)

13.5 T.307

пункт 4.2.4.7/18 таблицы 14

пункт 14.6

О (Допустимое значение 6...8 с)

13.6 T.308

пункт 4.2.4.7/15 таблицы 14

пункт 14.6

О (Допустимое значение 0...10 с)

13.7 T.310

пункт 4.2.4.7/14 таблицы 14

пункт 14.6

О (Допустимое значение не менее 5 с)

13.8 T.311

пункт 4.2.4.7/6 таблицы 14

пункт 14.6

О (Допустимое значение 0...300 с)

Условные обозначения: О - характеристика/процедура подлежит декларированию

Опц. - опция (характеристика/процедура) не подлежит обязательному декларированию

Таблица 6.5б

Наименование характеристики

Соответствие требованиям EN 303 035-1

Соответствие требованиям ETS 300 396-5

Обязательность наличия

1

2

3

4

1 Услуги СМСЕ (пункт А.7.2 таблицы А.56 EN 303 035-1)

1.1 Услуга управления вызовом СС

 

пункт 9.3

Опц.

2 Функции СМСЕ (п. А.7.2 табл. А.57 EN 303 035-1)

2.1 Индивидуальные вызовы

 

пункт 9

Опц.*

* Должна поддерживаться, как минимум, одна из указанных опций

2.2 Групповые вызовы

 

пункт 9

Опц.

2.3 Обработка входящих вызовов от сети V+D

 

пункт 9.3.1

Опц.

2.4 Обработка входящих вызовов от DM-MS

 

пункт 9.3.2

Опц.**

** Должна поддерживаться, как минимум, одна из указанных опций

3 Функции СС в режиме с коммутацией каналов (пункт 4.2.4.7 таблицы 15, пункт А.7.2 таблицы А.58 EN 303 035-1)

3.1 Установление исходящего вызова в направлении сети V+D

пункт 4.2.4.7/19 таблицы 15

пункт 9.3.2.1

О

При возможности установления входящих вызовов со стороны DM-MS

3.2 Действия при столкновении вызовов, осуществляемых одновременно от сети V+D и от DM-MS

пункт 4.2.4.7/20 таблицы 15

пункт 9.3.2.2

О

При возможности установления входящих вызовов со стороны ОМ-MS и со стороны сети V+D

4 Функции управления вызовами (пункт 4.2.4.7 таблицы 15, пункт А.7.2 таблицы А.58 EN 303 035-1)

4.1 Передача U-TX CEASED при завершении передачи DM-MS

пункт 4.2.4.7/21 таблицы 15

пункт 9.3.3.1.1

О

При возможности установления входящих вызовов со стороны DM-MS

4.2 Действия с получением D-TX CEASED при завершении передачи сетью V+D

пункт 4.2.4.7/22 таблицы 15

пункт 9.3.3.1.2

О

При возможности установления входящих вызовов со стороны сети V+D

4.3 Действия с получением D-TX-INERRUPT от сети V+D

пункт 4.2.4.7/23 таблицы 15

пункт 9.3.3.2

О

При возможности установления

входящих вызовов со стороны сети V+D

4.4 Обработка D-TX-GRANTED в состоянии CALL ACTIVE TX RESERVATION

пункт 4.2.4.7/24 таблицы 15

пункт 9.3.3.3

О

4.5 Передача U-TX-DEMAN2D по запросу на передачу от DM-MS

пункт 4.2.4.7/25 таблицы 15

пункт 9.3.3.4.1

О

4.6 Приостановка передачи по инициативе сети V+D

пункт 4.2.4.7/26 таблицы 15

пункт 9.3.3.5

О

4.7 Передача U-DISCONNECT с получением DM-RELEASE от DM-MS

пункт 4.2.4.7/28 таблицы 15

пункт 9.3.3.9.1

О

При возможности установления входящих вызовов со стороны DM-MS

4.8 Действия с получением D-RELEASE от сети V+D

пункт 4.2.4.7/29 таблицы 15

пункт 9.3.3.9.2

О

4.9 Передача U-DISCONNECT по истечении времени отсчёта таймера длительности соединения Т310

пункт 4.2.4.7/30 таблицы 15

пункт 9.3.3.9.3

О

4.10 Завершение вызова с получением запроса на внеочередной доступ к радиоресурсу от DM-MS

пункт 4.2.4.7/31 таблицы 15

пункт 9.3.4.1.3

О

4.11 Действия с получением команды на прерывание передачи от сети V+D

пункт 4.2.4.7/27 таблицы 15

пункт 9.3.4.2.1

О

При возможности установления входящих вызовов со стороны DM-MS

5 Типы блоков данных протокола СС для шлюза DMO (п. А.7.2 табл. А.53 EN 303 035-1)

5.1 D-CALL-PROCEEDING

пункт 14.7.1.2

О - При возможности установления входящих вызовов со стороны DM-MS

5.2 D-CONNECT

пункт 14.7.1.4

О - При возможности установления входящих вызовов со стороны DM-MS

5.3 D-CONNECT ACKNOWLEDGE

пункт 14.7.1.5

О - При возможности установления входящих со стороны сети V+D

5.4 D-RELEASE

пункт 14.7.1.9

О

5.5 D-SETUP

пункт 14.7.1.12

О - При возможности установления входящих вызовов со стороны сета V+D

5.6 D-TX-CEASED

пункт 14.7.1.13

О

5.7 D-TX-GRANTED

пункт 14.7.1.15

О

5.8 D-TX-INTERRUPT

пункт 14.7.1.16

О

5.9 U-CONNECT

пункт 14.7.2.3

О - При возможности установления входящих вызовов со стороны сети V+D

5.10 U-DISCONNECT

пункт 14.7.2.4

О

5.11 U-SETUP

пункт 14.7.2.10

О - При возможности установления входящих вызовов со стороны DM-MS

5.12 U-TX-CEASED

пункт 14.7.2.11

О

5.13 U-TX-DEMAND

пункт 14.7.2.12

О

6 Таймеры СС для шлюза DMO (пункт А.7.2 таблицы А.60 EN 303 035-1)

6.1 T.302

6.2 T.303

пункты 4.2.4.7/19 таблицы 15

пункт 9.3.2.1

О - При возможности установления входящих вызовов со стороны DM-MS Допустимое значение 0...60 с

6.3 Т.310

пункт 4.2.4.7/30 таблицы 15

пункт 9.3.2.1

О (Допустимое значение не менее 5 с)

Условные обозначения: О - характеристика/процедура подлежит декларированию

Опц. - опция (характеристика/процедура) не подлежит обязательному декларированию

При экстремальных* условиях, отклонение измеренного значения мощности передатчика от номинального значения, соответствующего минимальному уровню регулировки мощности, должно находиться в пределах ±4,0 дБ от минимального уровня регулировки мощности.

* Примечание - Нормальные и экстремальные условия определены в пункте 5.1.1.

6.1.2 Уровни излучения в соседних каналах, обусловленные модуляцией (пункт 4.2.2/7 таблицы 4 EN 303 035-1, пункт 6.4.2.2.1 TS 100 392-2, пункт 7.1.3.2 TS 100 394-1)

Уровни излучения в соседних каналах, обусловленные модуляцией, характеризуются средним значением мощности, измеренным на интервале полезной части пакета на частотах ±25 кГц, ±50 кГц, ±75 кГц относительно частоты несущей и не должны превышать максимальных значений, приведённых в таблицах 6.6а (для абонентских радиостанций классов мощности 4 и 4L) и 6.6б (для абонентских радиостанций всех остальных классов мощности), без необходимости быть ниже минус 36 дБм.

Таблица 6.6а

Расстройка относительно частоты несущей, кГц

Максимально допустимое значение при нормальных условиях, дБн

Максимально допустимое значение при экстремальных условиях, дБн

±25

-55

-45

±50

-70

-60

±75

-70

-60

Таблица 6.6б

Расстройка относительно частоты несущей, кГц

Максимально допустимое значение при нормальных условиях, дБн

Максимально допустимое значение при экстремальных условиях, дБн

±25

-60

-50

±50

-70

-60

±75

-70

-60

6.1.3 Уровни излучения в соседних каналах, обусловленные переходными процессами в передатчике (пункт 4.2.2/8 таблицы 4 EN 303 035-1, пункт 6.4.2.2.2 TS 100 392-2, пункт 7.1.4.2 TS 100 394-1)

Уровни излучения в соседних каналах, обусловленные переходными процессами (ramp-up и ramp-down), характеризуются средним значением мощности, измеренным в пределах интервалов t1 и t3 согласно рисунку 5 таблицы 6.3 на частотах ±25 кГц относительно частоты несущей и не должны превышать минус 50 дБн без необходимости быть ниже минус 36 дБм.

Примечания

1 Интервал t1 начинается с включения передатчика в начале первого пакета и заканчивается моментом поступления символа SNO.

2 Интервал t2 начинается с момента поступления символа SN0 и заканчивается моментом поступления символа SNmax.

3 Интервал t3 начинается с момента поступления символа SNmax последнего пакета и заканчивается моментом завершения переходных процессов при выключении передатчика.

Рисунок 5 - Определение уровня излучения в соседних каналах

6.1.4 Уровни излучения в соседних каналах во время передачи пакета линеаризации в канале CLCH (пункт 4.2.2/9 таблицы 4 EN 303 035-1, пункт 6.4.2.4 TS 100 392-2, пункт 7.1.7.2 TS 100 394-1)

Сумма временных отрезков на интервале пакета линеаризации, в пределах которых уровень излучения в соседних каналах на частотах ±25 кГц относительно частоты несущей превышает минус 45 дБн, не должна превышать 1 мс при нормальных и экстремальных условиях. Пиковое значение уровня излучения не должно превышать минус 30 дБн при нормальных и экстремальных условиях.

6.1.5 Уровни побочных излучений (пункт 4.2.2/10 таблицы 4 EN 303 035-1, пункт 6.4.2.3 TS 100 392-2, пункт 7.1.5.2 TS 100 394-1)

Побочными являются излучения на частотах, отстоящих от частоты несущей на 100 кГц и более в диапазоне от 9 кГц до 4 ГГц.

Уровень дискретных составляющих побочных излучений, измеренных на антенном разъёме, в диапазоне от 9 кГц до 1 ГГц не должен превышать минус 36 дБм.

Уровень дискретных составляющих побочных излучений, измеренных на антенном разъёме, в диапазоне от 1 до 4 ГГц не должен превышать минус 30 дБм.

Уровень широкополосных шумов, измеренных на антенном разъёме, не должен превышать максимально допустимых значений, приведённых в таблицах 6.7а (до 700 МГц), 6.7б (свыше 700 МГц).

Таблица 6.7а

Расстройка относительно частоты несущей, кГц

Максимально допустимый уровень

дБн

Мощность до 1 Вт (класс 4)

Мощность 1,8 или 3 Вт (класс 3L, 3)

Мощность более 5,6 Вт (класс 2L)

От   100   до    250 включ.

-75

-78

-80

Св.  250    "     500       "

-80

-83

-85

   "    500    "     frb

-80

-85

-90

   "    frb

-100

-100

-100

Таблица 6.7б

Расстройка относительно частоты несущей, кГц

Максимально допустимый уровень, дБн

Мощность до 1 Вт (класс 4)

Мощность 1,8 - 10 Вт

Мощность 15 - 40 Вт

От   100   до    250 включ.

-74

-74

-80

Св.  250    "     500       "

-80

-80

-85

   "    500    "     frb

-85

-85

-90

   "    frb

-100

-100

-100

Примечание - frb - расстройка относительно частоты несущей, соответствующая ближайшей границе диапазона частот приёма, но не более 5 МГц. Не является обязательным иметь абсолютные значения широкополосных шумов ниже минус 55 дБм для частот расстройки до frb и минус 70 дБм - свыше frb.

6.1.6 Уровни излучений корпуса и элементов конструкции (пункт 4.2.2/12 таблицы 4, пункт 4.2.3/5 таблицы 6 EN 303 035-1, пункт 6.4.3 TS 100 392-2, пункт 7.1.6.2 TS 100 394-1)

Уровни излучений корпуса и элементов конструкции, измеренные в диапазоне от 30 МГц до 4 ГГц, не должны превышать соответствующих предельных значений, установленных в пункте 6.1.5.

6.1.7 Ослабление продуктов интермодуляции (пункт 4.2.2/14 таблицы EN 303 035-1, пункт 6.4.6.3 TS 100 392-2, пункт 7.1.8.2.1 TS 100 394-1)

Ослабление любой интермодуляционной компоненты сигнала в абонентской радиостанции или шлюзе DMO (интерфейс Um), работающей на номинальном уровне мощности согласно класса, измеренное в полосе 30 кГц, должно быть не менее 60 дБ.

6.1.8 Огибающая мощности передатчика. Мощность, излучаемая в неактивном состоянии (пункты 4.2.2/17, 4.2.2/19 таблицы 4 EN 303 035-1, пункты 6.4.5, 6.4.5.2 TS 100 392-2, пункты 7.1.1.2, 7.1.2.2 TS 100 394-1)

Огибающая мощности абонентской радиостанции или шлюза DMO при нормальных и экстремальных условиях (интерфейс Um) должна находиться в пределах маски, приведённой на рисунке 4, с максимальным значением мощности, излучаемой в неактивном состоянии Lmin = минус 70 дБн (без необходимости быть ниже минус 36 дБм) и значениями временных параметров t1, t2, t3 согласно таблице 6.8.

Таблица 6.8

Тип пакета

t1, символов

t2, символов

t3, символов

Control uplink

16

103

15

Normal uplink

16

231*

15

* - При передаче в одном слоте

6.1.9 Ошибка по частоте (пункт 4.2.1/7 таблицы 3 EN 303 035-1, пункт 7.6 TS 100 392-2, пункт 7.3.2.2 TS 100 394-1)

Ошибка по частоте представляет собой разность между фактически измеренным значением частоты несущей и её номинальным значением, измеренным на интервале SNmax модуляционных символов в 20 пакетах. Ошибка по частоте должна находиться в пределах ±100 Гц.

Регулировка времени начала передачи пакета (пункт 4.2.1/7 таблицы 3 EN 303 035-1, пункт 7.6 TS 100 392-2, пункт 7.3.4.2 TS 100 394-1)

Время начала передачи пакета абонентской радиостанцией не должно отличаться более чем на 1/4 интервала длительности символа от эталонного сигнала, принимаемого от базовой станции.

6.1.10 Управление мощностью (пункты 4.2.2/4, 4.2.2/5, 4.2.2/6 таблицы 4 EN 303 035-1, пункты 10.2, 10.3.1, 23.4.4.2 TS 100 392-2, пункт 7.3.5.2 TS 100 394-1)

Абонентская радиостанция и шлюз DMO (интерфейс Um) должны устанавливать начальное значение мощности передатчика на основании данных, транслируемых базовой станцией в BNCH. При этом абонентская радиостанция и шлюз DMO должны использовать значение мощности, ближайшее к PMS, где

PMS = min(MS_TXPWR_MAX_CELL, ACCESS_PARAMETER - Rlev),

где MS_TXPWR_MAX_CELL - максимальное значение мощности, допустимое для абонентской радиостанции или шлюза DMO (пункты 23.4.4.2, 21.4.4.1 TS 100 392-2);

ACCESS_PARAMETER - параметр, используемый для расчёта мощности (пункты 23.4.4.2, 21.4.4.1 TS 100 392-2);

Rlev - усреднённое значение уровня сигнала, принимаемого абонентской радиостанцией или шлюзом DMO (интерфейс Um).

Измеренное значение начальной мощности передатчика абонентской радиостанции или шлюза DMO (интерфейс Um) должно находиться в пределах ±9 дБ относительно величины PMS, при нахождении PMS в пределах диапазона регулировки мощности данной радиостанции или шлюза DMO.

В случае, когда значение PMS находится за пределом диапазона регулировки мощности данной радиостанции или шлюза DMO, должно использоваться ближайшее к нему максимальное или минимальное значение уровня регулировки мощности. При этом точность установки мощности должна находиться в пределах, определённых в пункте 6.1.1.

В ходе испытаний должны использоваться тестовые сценарии, приведённые в таблице 6.9. Измеренное значение начальной мощности не должно превышать максимально допустимых значений, установленных в таблице 6.9 для каждого тестового сценария.

Таблица 6.9

Номер теста

Уровень входного сигнала, дБм

Значение ACCESS_PARAMETER, дБм

Значение MS_TXPWR_MAXCELL, дБм

Максимальная начальная мощность, дБм

1

-80

-53

45

32,5

2

-65

-53

45

17,5

3

-50

-33

45

22,5

6.1.11 Тип модуляции. Параметры модуляции (пункты 4.2.2/21, 4.2.2/22 таблицы 4 EN 303 035-1, пункты 5.2, 6,6.1.2 TS 100 392-2, пункт 7.3.1.2 TS 100 394-1)

Среднеквадратическое отклонение вектора ошибки должно быть не более 0,1 в любом пакете.

Пиковое значение вектора ошибки должно быть не более 0,3 на любом символе.

Амплитуда остаточной несущей С0 должна быть не более 5 % от амплитуды сигнала на выходе идеального модуляционного фильтра S(k) в любом пакете.

Параметры приемника

6.1.12 Уровни побочных излучений в режиме приёма (пункт 4.2.2/11 таблицы 4, пункт 4.2.3/4 таблицы 6 EN 303 035-1, пункты 6.4.2.5, 6.5.4.2 TS 100 392-2, пункт 7.2.8.2 TS 100 394-1)

Уровни побочных излучений в режиме приёма (при отсутствии передачи), измеренные на антенном разъёме, не должны превышать минус 57 дБм в диапазоне от 9 кГц до 1 ГГц и минус 47 дБм в диапазоне от 1 до 4 ГГц.

6.1.13 Уровни излучений корпуса и элементов конструкции (пункт 4.2.2/12 таблицы 4, пункт 4.2.3/5 таблицы 6 EN 303 035-1, пункт 6.5.5 TS 100 392-2, пункт 7.2.9.2 TS 100 394-1)

Уровни излучений корпуса и элементов конструкции, измеренные в диапазоне от 30 МГц до 4 ГГц, не должны превышать соответствующих предельных значений, установленных в пункте 6.1.12.

6.1.14 Избирательность по побочным каналам приёма (пункт 4.2.3/1 таблицы 6 EN 303 035-1, пункт 6.5.2.2 TS 100 392-2, пункт 7.2.6.2 TS 100 394-1)

Избирательность приёмника по побочным каналам приёма характеризует его способность принимать полезный сигнал без существенного ухудшения качества при наличии на его входе мешающих сигналов на побочных каналах приёма.

При наличии на входе приёмника:

- полезного сигнала на частоте приёма f0 с уровнем минус 109 дБм;

- мешающего немодулированного синусоидального сигнала на частоте fI, получаемого путём перестройки генератора сигналов с шагом 6,25 кГц в пределах «ограниченного диапазона частот»

где fIo - частота задающего генератора гетеродина приёмника, (fi1, ... fij) промежуточные частоты, sr - ширина диапазона частот приёмника или за пределами «ограниченного диапазона частот» до 4 ГГц на частотах nfIo ± fi1, n ≥ 2 и pfr ± fi1, p ≥ 1, где fr - частота любого другого генератора, используемого в формировании частоты гетеродина приёмника, с уровнем минус 45 дБм, -

значение коэффициента BER не должно превышать значений, установленных в таблице 6.10.

Таблица 6.10

Класс приемника

Логический канал

Тип*

Модель многолучевости

Уровень полезного сигнала, дБм

Уровень мешающего сигнала, дБм

Максимальное значение BER, %

Объём выборки, не менее, бит

A

ТСН/7.2

1

STAT

-109

-45

4,27

5000

B

4,88

4500

E

4,27

4500

* Тип канала характеризует комбинацию условий, при которых осуществляется проверка данного параметра. К указанным условиям относятся: тип пакета, передаваемого измерительной системой, типы логических каналов, использующих блоки 1, 2, а также содержание блоков данных ВССН. Подробная характеристика типов содержится в пункте 5.3.2.1 TS 100 394-1.

6.1.15 Интермодуляционная избирательность (пункт 4.2.3/2 таблицы 6 EN 303 035-1, пункт 6.5.3.2 TS 100 392-2, пункт 7.2.7.2 TS 100 394-1)

Интермодуляционная избирательность приёмника характеризует его способность принимать полезный сигнал без существенного ухудшения качества при наличии на его входе двух или более сигналов на частотах, определённым образом связанных с частотой полезного сигнала.

При наличии на входе приёмника:

- полезного сигнала на частоте приёма f0 с уровнем минус 109 дБм;

- мешающего немодулированного синусоидального сигнала на частоте f1 с уровнем минус 47 дБм;

- мешающего модулированного сигнала p/4-DQPSK на частоте f2 с уровнем минус 47 дБм, так что f0 = 2f1 - f2 и |f2 - f1| = 200 кГц, -

значение коэффициента BER не должно превышать значений, установленных в таблице 6.11.

Таблица 6.11

Класс приёмника

Логический канал

Тип

Модель многолучёвости

Уровень полезного сигнала, дБм

Уровень мешающего сигнала, дБм

Максимальное значение BER, %

Объём выборки, не менее, бит

A

ТСН/7.2

1

STAT

-109

-47

4,27

5000

B

4,88

4500

E

4,27

4500

6.1.16 Устойчивость к блокирующим сигналам (пункт 4.2.3/3 таблицы EN 303 035-1, пункт 6.5.1.2 TS 100 392-2, пункт 7.2.5.2 TS 100 394-1)

Устойчивость приёмника к блокирующим сигналам характеризует его способность принимать полезный сигнал без существенного ухудшения качества, при наличии на его входе мешающего синусоидального немодулированного сигнала на частотах в пределах рабочего диапазона, отличных от частот побочных каналов приёма или соседних каналов.

При наличии на входе приёмника:

- полезного сигнала на частоте приёма f0 с уровнем минус 109 дБм;

- мешающего немодулированного синусоидального сигнала на частотах f0 ± 1 МГц, ±2 МГц, ±5 МГц, ±10 МГц с уровнем минус 25 дБм, -

значение коэффициента BER не должно превышать значений, установленных в таблице 6.12.

Таблица 6.12

Класс приёмника

Логический канал

Тип

Модель многолучёвости

Уровень полезного сигнала, дБм

Уровень мешающего сигнала, дБм

Максимальное значение BER, %

Объём выборки, не менее, бит

А

ТСН/7.2

1

STAT

-109

-25

4,27

5000

В

4,88

4500

Е

4,27

4500

6.1.17 Номинальное значение коэффициента ошибок (пункт 4.2.4.1/1 таблицы 7 EN 303 035-1, пункт 6.6.2.1 TS 100 392-2, пункт 7.2.2.2 TS 100 394-1)

Номинальное значение коэффициента ошибок характеризует способность приёмника принимать сигнал при обычных условиях: при уровне входного сигнала не менее минус 85 дБм, при отсутствии помех, в условиях статического канала, а также в условиях многолучёвости.

Требования к значениям BER для различных вариантов условий приёма приведены в таблице 6.13.

Таблица 6.13

Класс приёмника

Логический канал

Тип

Модель многолучёвости

Уровень полезного сигнала, дБм

Максимальное значение BER, %

Объём выборки, не менее, бит

А, В, Е

ТСН/7.2

1

TU50

-85

0,448

3,6×106

А, В, Е

STAT

-20

0,122

170000

6.1.18 Динамическая эталонная чувствительность (пункты 4.2.4.1/2, 4.2.4.1/4 таблицы 7 EN 303 035-1, пункты 6.6.2.2, 6.6.2.2.2 TS 100 392-2, пункт 7.2.3.2 TS 100 394-1)

Динамическая эталонная чувствительность характеризует способность приёмника принимать сигнал с заданными качественными характеристиками в условиях наличия многолучёвости.

Требования к значениям коэффициентов ошибок BER и MER для различных типов логических каналов и моделей многолучёвости при уровне динамической эталонной чувствительности минус 103 дБм при нормальных условиях (минус 97 дБм при экстремальных условиях) приведены в таблице 6.14.

Таблица 6.14

Класс приёмника

Логический канал

Тип

Модель многолучёвости

Уровень полезного сигнала, дБм

Максимальное значение BER/MER, %

Объем выборки не менее, бит

1

2

3

4

5

6

7

А

SCH/F

2

TU50

-103

8,96 (MER)

6600

А

ААСН

2

TU50

11,2(MER)

6600

А

BSCH

3

НТ200

12,32 (MER)

4800

А

SCH/HD

3

НТ200

12,32 (MER)

4800

А

ААСН

4

НТ200

19,04 (MER)

3000

А

ТСН/2.4

N = 1*

4

НТ200

1,232 (BER)

1,29×106

В

SCH/F

2

TU50

8,96 (MER)

6600

В

ААСН

2

TU50

12,32 (MER)

6600

В

BSCH

3

TU50

8,96 (MER)

6600

В

SCH/HD

3

TU50

8,96 (MER)

6600

В

ААСН

4

TU50

12,32 (MER)

5000

В

ТСН/2.4

N = 1*

4

TU50

0,392 (BER)

2,16×106

Е

SCH/F

2

TU50

8,96 (MER)

6600

Е

ААСН

2

TU50

11,2 (MER)

6600

Е

BSCH

3

EQ200

22,64 (MER)

2000

Е

SCH/HD

3

EQ200

23,52 (MER)

2000

Е

ААСН

4

EQ200

17,92 (MER)

3000

Е

ТСН/2.4

N = 1*

4

EQ200

0,918 (BER)

1,29×106

* Данное требование применимо только в случае если абонентская радиостанция или шлюз DMO поддерживает режим передачи данных со скоростью 2,4 кбит/с, являющийся опцией.

Требования к значению вероятности необнаружения искажённого сообщения PUEM приведены в таблице 6.15.

Таблица 6.15

Логический канал

Тип

Модель многолучёвости

Уровень входного сигнала, дБм

Максимальное значение PUEM,

Макс, кол-во искажённых сообщений

Объём выборки, не менее, бит

SCH/F

2

TU50

-103

3,5×10-4

2

31200

ААСН

6,5×10-6

8

6.1.19 Эталонная помехозащищённость (пункты 4.2.4.1/5, 4.2.4.1/7 таблицы 7 EN 303 035-1, пункты 6.6.2.3, 6.6.2.3.2 TS 100 392-2, пункт 7.2.4.2 TS 100 394-1)

Эталонная помехозащищённость характеризует способность приёмника принимать сигнал с заданными качественными характеристиками при наличии соканальной помехи с отношением сигнал/помеха C/Ic = 19 дБ или помехи по соседнему каналу с отношением сигнал/помеха С/Iа = минус 40 дБ при нормальных условиях (С/Iа = минус 30 дБ при экстремальных условиях).

Требования к значениям коэффициента ошибок MER для различных типов логических каналов и моделей многолучёвости для соканальной помехи и помехи в соседнем канале приведены в таблице 6.16.

Таблица 6.16

Класс приёмника

Логический канал

Тип

Модель многолучёвости

Уровень полезного сигнала, дБм

Уровень мешающего сигнала, дБм

Максимальное значение MER, %

Объём выборки, не менее, бит

Соканальная помеха

А

В

SCH/F

2

НТ200

-85

-104

10,304

7000

TU50

7,28

8500

Е

EQ200

22,4

3500

Помеха в соседнем канале

А

В

SCH/F

2

TU50

-100

-55

7,28

7,28

7,28

8000

8000

8000

Е

6.2 Требования, характеризующие использование радиочастот абонентской радиостанцией в режиме DMO (интерфейс Ud)

Перечень параметров, определяющих требования к абонентской радиостанции, характеризующих использование радиочастот, определяется пунктом 4.2 EN 303 035-2 [10]. Численные значения параметров и описание методов испытаний содержатся в TS 100 394-1.

Диапазон рабочих частот и дуплексный разнос (пункт 4.2.1/3 таблицы 3 EN 303 035-2, пункт 6.2 ETS 300 396-2, пункты 5, 6 TS 100 392-15) должны декларироваться фирмой-изготовителем оборудования и соответствовать решению ГКРЧ.

Разнос частот между соседними радиоканалами должен составлять 25 кГц (пункт 6.2 TS 100 392-2).

Перечень характеристик и процедур функционирования абонентской радиостанции в режиме DMO (интерфейс Ud), характеризующих использование радиочастот и подлежащих декларированию предприятием-изготовителем или его полномочным представителем, определен в соответствии с EN 303 035-2 и приведен в таблице 6.17.

Параметры передатчика

6.2.1 Мощность передатчика. Уровни регулировки мощности (пункт 4.2.2/1 таблицы 10 EN 303 035-2, пункт 6.4.2 ETS 300 396-2, пункт 7.1.1.2а, пункт F.5 таблицы F.2 доп. F к TS 100 394-1)

Мощность передатчика измеряется на интервале полезной части 200 пакетов. Номинальное значение мощности должно устанавливаться фирмой-изготовителем в соответствии с классом абонентской радиостанции (см. таблицу 4.2а).

Таблица 6.17

Наименование характеристики

Соответствие требованиям EN 303 035-2

Соответствие требованиям ETS 300 396-2

Обязательность наличия

1

2

3

4

1 Требования к функциям MAC нижнего подуровня, относящимся к мониторингу и управлению параметрами радиоканала (пункт 4.2.4.2 таблицы 22, пункт А.3.1 таблицы А.35 EN 303 035-2)

1.1 Схема помехоустойчивого кодирования для SCH/S

пункт 4.2.4.2/1 таблицы 22

пункт 8.3.1.1

О

1.2 Схема помехоустойчивого кодирования для SCH/H и STCH

пункт 4.2.4.2/2 таблицы 22

пункт 8.3.1.2

О

1.3 Схема помехоустойчивого кодирования для SCH/F

пункт 4.2.4.2/3 таблицы 22

пункт 8.3.1.3

О

2 Требования к функциям MAC верхнего подуровня, относящимся к мониторингу и управлению параметрами (пункт 4.2.4.4 таблицы 27, пункт А.3.3 таблицы А.38 EN 303 035-2)

2.1 Контроль состояния канала DM абонентской радиостанцией в режиме с занятым каналом

пункт 4.2.4.4/1 таблицы 27

пункт 8.4.4.2

О

При наличии возможности установления исх. вызовов

2.2 Контроль состояния канала DM абонентской радиостанцией после завершения вызова

пункт 4.2.4.4/2 таблицы 27

пункт 8.4.4.3

О

При наличии возможности установления исх. вызовов

2.3 Контроль состояния канала DM абонентской радиостанцией после передачи запроса приоритетного доступа к занятому каналу (pre-empt)

пункт 4.2.4.4/3 таблицы 27

пункт 8.4.4.5

О

При наличии возможности установления экстренных вызовов (pre-empt)

2.4 Передача сообщения DM-OCCUPIED в режиме с занятым каналом ведущей абонентской радиостанцией

пункт 4.2.4.4/4 таблицы 27

пункт 8.4.5.1.7

О

При наличии возможности установления исх. вызовов

2.5 Передача сообщения DM-RESERVED ведущей абонентской радиостанцией

пункт 4.2.4.4/5 таблицы 27

пункт 8.4.6.1

О

При наличии возможности установления исх. вызовов

2.6 Передача сообщений уровня 2

пункт 4.2.4.4/6 таблицы 27

пункт 8.5.6.1

О

При наличии возможности установления исх. вызовов

2.7 Индикация кадров, доступных для запросов доступа

пункт 4.2.4.4/7 таблицы 27

пункт 8.5.7.2.1

О

При наличии возможности установления исх. вызовов

3 Типы блоков данных протокола MAC для абонентских радиостанций (пункт А.3.3 таблицы А.39 EN 303 035-1)

3.1 DMAC-SYNC (прием/передача)

пункт 9.1.1 ETS 300 396-3

О (приём)/О (передача) - при наличии возможности установления исх. вызовов

3.2 DMAC-DATA (приём/передача)

пункт 9.2.1 ETS 300 396-3

О (приём)/Опц. (передача) - при наличии возможности установления исх. вызовов

3.3 DMAC-RESERVED (прием/передача)

пункт 9.4.1 ETS 300 396-3

О - при наличии возможности установления исх. вызовов

3.4 DPRES-SYNC (приём)

пункт 10.1.2 TS 100 396-4 [11]

О - при использовании ретранслятора типа 1

3.5 DPRES-SYNC

пункт 10 TS 100 396-7 [12]

О - при использовании ретранслятора типа 2

3.6 DPRES-SYNC

пункт 14.1.2 ETS 300 396-5

О - при использовании шлюза DMO

4 Требования, относящиеся к функциям управления и контроля состояния канала в режиме речевых вызовов для уровня DMCC (пункт 4.2.4.6 таблицы 35, пункт А.3.2 таблицы А.53 EN 303 035-2)

4.1 Установление исходящего соединения в доступном канапе при отсутствии проверки наличия принимающей сигнал абонентской радиостанции (presence check)

пункт 4.2.4.6/1 таблицы 35

пункт 6.2.1.1

О

4.2 Установление исходящего соединения в доступном канале с контролем наличия принимающей сигнал абонентской радиостанции

пункт 4.2.4.6/2 таблицы 35

пункт 6.2.2.1

О

4.3 Передача запроса pre-emption при занятом канале

пункт 4.2.4.6/3 таблицы 35

пункт 6.2.4.2 h)

Опц.

При наличии возможности установления вх., исх. и экстренных вызовов

4.4 Передача запроса на передачу статуса ведущей абонентской радиостанции (changeover) при резервировании

пункт 4.2.4.6/4 таблицы 35

пункт 6.2.5.2

Опц.

При наличии возможности установления вх. и исх. вызовов

4.5 Действия после получения ведущей радиостанцией запроса pre-emption при занятом канале

пункт 4.2.4.6/5 таблицы 35

пункт 6.2.4.1 a)

О

При наличии возможности установления исх. вызовов

4.6 Действия после получения ведущей радиостанцией запроса pre-emption в режиме с резервированием

пункт 4.2.4.6/6 таблицы 35

пункт 6.2.5.1 a)

О

При наличии возможности установления исх. вызовов

4.7 Освобождение радиоресурса при завершении передачи

пункт 4.2.4.6/7 таблицы 35

пункт 6.2.4.1 b)

Опц.

При наличии возможности установления исх. вызовов

4.8 Освобождение радиоресурса по инициативе пользователя

пункт 4.2.4.6/8 таблицы 35

пункт 6.2.4.1 c)

Опц.

При наличии возможности установления исх. вызовов

4.9 Освобождение радиоресурса по истечении времени отсчета таймера DT311

пункт 4.2.4.6/9 таблицы 35

пункт 6.2.4.1 d)

О

При наличии возможности установления исх. вызовов

4.10 Действия после получения ведущей радиостанцией запроса передачи статуса в режиме с резервированием

пункт 4.2.4.6/10 таблицы 35

пункт 6.2.51 b)

О

При наличии возможности установления исх. вызовов

4.11 Освобождение радиоресурса в режиме с резервированием

пункт 4.2.4.6/11 таблицы 35

пункт 6.2.5.1 d)

Опц.

При наличии возможности установления исх. вызовов

5 Требования, относящиеся к функциям управления и контроля состояния канала в режиме передачи коротких сообщений для уровня DMCC (пункт 4.2.4.6 таблицы 36, пункт А.3.2 таблицы А.54 EN 303 035-2)

5.1 Прием коротких сообщений в режиме с подтверждением

пункт 4.2.4.6/12 таблицы 36

пункт 6.3.2.2

О

При поддержке режима приема коротких сообщений

5.2 Проверка на четность (FCS) при приеме

пункт 4.2.4.6/13 таблицы 36

пункт 6.4.3

О

При поддержке режима приема коротких сообщений

5.3 Расчет FCS при передаче

пункт 4.2.4.6/14 таблицы 36

пункт 6.3.4

О

6 Типы блоков данных протокола DMCC для абонентских радиостанций (пункт А.5.1 таблицы А.55 EN 303 035-2)

6.1 DM-SETUP (передача)

пункт 9.5.1 ETS 300 396-3

О - при использовании опции 4.1

6.2 DM-SETUP-PRES (передача)

пункт 9.5.2 ETS 300 396-3

О - при использовании опции 4.2

6.3 DM-CONNECT (прием)

пункт 9.5.3 ETS 300 396-3

О - при использовании опции 4.2

6.4 DM-DISCONNECT (прием)

пункт 9.5.4 ETS 300 396-3

О - при использовании опции 4.2

6.5 DM-CONNECK АСК (передача)

пункт 9.5.5 ETS 300 396-3

О - при использовании опции 4.2

6.6 DM-OCCUPIED (передача)

                                        (приём)

пункт 9.5.6 ETS 300 396-3

О - при наличии возможности установления исходящих вызовов

6.7 DM-RELEASE (передача)

пункт 9.5.7 ETS 300 396-3

О - при наличии возможности установления исходящих вызовов

6.8 DM-TX-CEASED (передача)

                                          (приём)

пункт 9.5.8 ETS 300 396-3

О - при наличии возможности установления исходящих вызовов

6.9 DM-TX-REQUEST (передача)

пункт 9.5.9 ETS 300 396-3

О - при запросе changeover

                                             (приём)

 

О - при наличии возможности установления исходящих вызовов

6.10 DM-TX ACCEPT (передача)

пункт 9.5.10 ETS 300 396-3

О - при наличии возможности установления исходящих вызовов

                                           (приём)

 

О - при запросе changeover

6.11 DM-PREEMPT (передача)

пункт 9.5.11 ETS 300 396-3

О - при запросе pre-emption при занятом канале

                                      (приём)

 

О - при наличии возможности установления исходящих вызовов

6.12 DM-PRE ACCEPT (передача)

пункт 9.5.12 ETS 300 396-3

О - при наличии возможности установления исходящих вызовов

                                             (приём)

 

О - при запросе pre-emption при занятом канале

6.13 DM-REJECT (приём)

пункт 9.5.13 ETS 300 396-3

О - при запросе pre-emption или запросе changeover

6.14 DM-SDS DATA (приём)

пункт 9.5.16 ETS 300 396-3

О - при передаче коротких сообщений в режиме с подтверждением

6.15 DM-SDS ACK (передача)

пункт 9.5.17 ETS 300 396-3

О - при приёме коротких сообщений в режиме с подтверждением

6.16 DM-GSETUP (передача)

пункт 14.5.1 ETS 300 396-5

О - при поддержке исходящих вызовов через шлюз DMO

6.17 DM-GCONNECT (приём)

пункт 14.5.2 ETS 300 396-5

О - при поддержке исходящих вызовов через шлюз DMO

6.18 DM-GACK (приём)

пункт 14.5.3 ETS 300 396-5

О - при поддержке исходящих вызовов через шлюз DMO

6.19 DM-GRELEASE (приём)

пункт 14.5.4 ETS 300 396-5

О - при поддержке исходящих вызовов через шлюз DMO

6.20 DM-GTX REQUEST (передача)

пункт 14.5.5 ETS 300 396-5

О - при поддержке запроса pre-emption через шлюз DMO при резервировании

6.21 DM-GTX ACCEPT (приём)

пункт 14.5.6 ETS 300 396-5

О - при поддержке запроса pre-emption через шлюз DMO при резервировании

6.22 DM-GPREEMPT (передача)

пункт 14.5.7 ETS 300 396-5

О - при поддержке запроса pre-emption через шлюз ОМО при занятом канале

6.23 DM-GPRE ACCEPT (приём)

пункт 14.5.8 ETS 300 396-5

О - при поддержке запроса pre-emption через шлюз DMO при занятом канале

6.24 DM-GPREJECT (приём)

пункт 14.5.9 ETS 300 396-5

О - при поддержке запросов pre-emption или changeover через шлюз ОМО при резервировании

7 Константы и таймеры DMCC (п. А.5.1 табл. А.56 - А.57 EN 303 035-2)

7.1 DN301

       DN302

пункт 4.2.4.6/15 таблицы 37

пункт А.2 ETS 300 396-5

О - при поддержке исходящих вызовов через шлюз DMO (Допустимое значение 1...3)

7.2 DN303

пункт 4.2.4.6/2 таблицы 35

пункт А.2 ETS 300 396-3

О - при использовании опции 4.2 (Допустимое значение 1...3)

7.3 DT301

пункт 4.2.4.6/15 таблицы 37

пункт А.1 ETS 300 396-5

О - при поддержке исходящих вызовов через шлюз DMO (Значение по умолчанию 1 с)

7.4 DT302

 

 

О - при поддержке исходящих вызовов через шлюз DMO (Значение по умолчанию 30 с)

7.5 DT303

пункт 4.2.4.6/2 таблицы 35

пункт А.1 ETS 300 396-3

О - при использовании опции 4.2

(Значение по умолчанию 250 мс)

7.6 DT311

 

 

О - при наличии возможности установления исходящих вызовов (Значение по умолчанию 300 с)

Обозначения: О - характеристика/процедура подлежит декларированию

Опц. - опция (характеристика/процедура) не подлежит обязательному декларированию

Отклонение измеренного значения мощности передатчика от номинального значения, соответствующего классу абонентской радиостанции, а также на любых поддерживаемых уровнях мощности должно находиться в пределах ±2 дБ при нормальных условиях (+3,0/-4,0 дБ при экстремальных условиях).

6.2.2 Уровни излучения в соседних каналах, обусловленные модуляцией (пункт 4.2.2/2 таблицы 10 EN 303 035-2, пункт 6.4.3.2.1 ETS 300 396-2, пункт 7.1.3.2 TS 100 394-1)

Уровни излучения в соседних каналах, обусловленные модуляцией, характеризуются средним значением мощности, измеренным на интервале полезной части пакета на частотах ±25 кГц, ±50 кГц, ±75 кГц относительно частоты несущей и не должны превышать максимальных значений, приведённых в таблицах 6.18а (для абонентских радиостанций классов мощности 4 и 4L) и 6.18б (для абонентских радиостанций всех остальных классов мощности), без необходимости быть ниже минус 36 дБм.

Таблица 6.18а

Расстройка относительно частоты несущей, кГц

Максимально допустимое значение при нормальных условиях, дБн

Максимально допустимое значение при экстремальных условиях, дБн

±25

-55

-45

±50

-70

-60

±75

-70

-60

Таблица 6.18б

Расстройка относительно частоты несущей, кГц

Максимально допустимое значение при нормальных условиях, дБн

Максимально допустимое значение при экстремальных условиях, дБн

±25

-60

-50

±50

-70

-60

±75

-70

-60

Испытания на соответствие данному требованию выполняют только для абонентских радиостанций, поддерживающих только режим DMO.

6.2.3 Уровни излучения в соседних каналах, обусловленные переходными процессами в передатчике (пункт 4.2.2/3 таблицы 10 EN 303 035-2, пункт 6.4.3.2.2 ETS 300 396-2, пункт 7.1.4.2 TS 100 394-1)

Уровни излучения в соседних каналах, обусловленные переходными процессами (ramp-up и ramp-down), характеризуются средним значением мощности, измеренным в пределах интервалов t1 и t3 согласно рисунку 5 таблицы 6.19 на частотах ±25 кГц относительно частоты несущей и не должны превышать минус 50 дБн без необходимости быть ниже минус 36 дБм.

Испытания на соответствие данному требованию выполняют только для абонентских радиостанций, поддерживающих только режим DMO.

6.2.4 Уровни излучения в соседних каналах во время передачи пакета линеаризации в канале LCH (пункт 4.2.2/4 таблицы 10 EN 303 035-2, пункт 6.4.3.4 ETS 300 396-2, пункт 7.1.7.2 TS 100 394-1)

Сумма временных отрезков на интервале пакета линеаризации, в пределах которых уровень излучения в соседних каналах на частотах ±25 кГц относительно частоты несущей превышает минус 40 дБн, не должна превышать 1 мс при нормальных и экстремальных условиях. Пиковое значение уровня излучения не должно превышать минус 30 дБн при нормальных и экстремальных условиях.

Испытания на соответствие данному требованию выполняют только для абонентских радиостанций, поддерживающих только режим DMO.

6.2.5 Уровни побочных излучений (пункт 4.2.2/5 таблицы 10 EN 303 035-2, пункт 6.4.3.3.1 ETS 300 396-2, пункт 7.1.5.2, пункт F.5 таблицы F.2 доп. F к TS 100 394-1)

Побочными являются излучения на частотах, отстоящих от частоты несущей на 100 кГц и более в диапазоне от 9 кГц до 4 ГГц.

Уровень дискретных составляющих побочных излучений, измеренных на антенном разъёме, в диапазоне от 9 кГц до 1 ГГц не должен превышать минус 36 дБм.

Уровень дискретных составляющих побочных излучений, измеренных на антенном разъёме, в диапазоне от 1 ГГц до 4 ГГц не должен превышать минус 30 дБм.

Уровень широкополосных шумов, измеренных на антенном разъёме, не должен превышать максимально допустимых значений, приведённых в таблице 6.19.

Таблица 6.19

Расстройка относительно частоты несущей, кГц

Максимально допустимый уровень, дБн

Мощность до 1 Вт (классы 4, 5)

Мощность 3 Вт (класс 3)

Мощность 10 Вт (класс 2)

От   100   до    250 включ.

-75

-78

-80

Св.  250    "     500       "

-80

-83

-85

   "    500    "     frb

-80

-85

-90

   "    frb

-100

-100

-100

Примечание - frb - расстройка относительно частоты несущей, соответствующая ближайшей границе диапазона частот приёма V+D, но не более 5 МГц. В других случаях величина предельно допустимого уровня должна применяться за пределами диапазона frb, включающего частоты передачи, декларированные фирмой изготовителем плюс защитный интервал 5 МГц.

Не является обязательным иметь абсолютные значения широкополосных шумов ниже минус 55 дБм для частот расстройки до frb и минус 70 дБм - свыше frb.

6.2.6 Уровни побочных излучений корпуса и элементов конструкции (пункт 4.2.2/8, таблицы 10 EN 303 035-2, пункт 6.4.4 ETS 300 396-2, пункт 7.1.6.2 TS 100 394-1)

Уровни излучений корпуса и элементов конструкции, измеренные в диапазоне от 30 МГц до 4 ГГц, не должны превышать соответствующих предельных значений, установленных в пункте 6.2.5.

Испытания на соответствие данному требованию выполняют только для абонентских радиостанций, поддерживающих только режим DMO.

6.2.7 Ослабление продуктов интермодуляции (пункт 4.2.2/9 таблицы 10 EN 303 035-2, пункт 6.4.7.2 ETS 300 396-2, пункт 7.1.8.2.1 TS 100 394-1)

Ослабление любой интермодуляционной компоненты сигнала в абонентской радиостанции, работающей на номинальном уровне мощности согласно её класса, измеренной в полосе 30 кГц, должно быть не менее 60 дБ.

Испытания на соответствие данному требованию выполняют только для абонентских радиостанций, поддерживающих только режим DMO

6.2.8 Огибающая мощности передатчика. Мощность, излучаемая в неактивном состоянии (пункты 4.2.2/10, 4.2.2/11 таблицы 10 EN 303 035-2, пункт 6.4.6 ETS 300 396-2, пункт 7.1.2.2 п. F.6.2.1 доп. F TS 100 394-1)

Огибающая мощности абонентской радиостанции при нормальных и экстремальных условиях должна находиться в пределах маски, приведённой на рисунке 6 с максимальным значением мощности, излучаемой в неактивном состоянии Lmin = минус 70 дБн (без необходимости быть ниже минус 36 дБм) и значениями временных параметров t1, t2, t3 согласно таблице 6.20.

Примечания

1 Интервал t1 начинается с включения передатчика в начале первого пакета и заканчивается моментом поступления символа SNO.

2 Интервал t2 начинается с момента поступления символа SN0 и заканчивается моментом поступления символа SNmax.

3 Интервал t3 начинается с момента поступления символа SNmax последнего пакета и заканчивается моментом завершения переходных процессов при выключении передатчика.

Рисунок 6 - Временная маска огибающей мощности передатчика при переходных процессах

Таблица 6.20

Тип пакета

t1, символов

t2, символов

t3, символов

Normal

16

235

15

6.2.9 Ошибка по частоте (пункт 4.2.1/5 таблицы 3 EN 303 035-2, пункт F.6.3.1 доп. F к TS 100 394-1)

Ошибка по частоте представляет собой разность между фактически измененным значением частоты несущей и её номинальным значением, измеренным на интервале SNmax модуляционных символов. Ошибка по частоте в любом пакете должна находиться в пределах ±1 кГц при нормальных и экстремальных условиях.

6.2.10 Ошибка по частоте в режиме slave (пункт 4.2.1/6 таблицы 3 EN 303 035-2, пункт F.6.4.2 доп. F к TS 100 394-1)

Ошибка по частоте радиостанции, являющейся «ведомой» (режим slave) относительно частоты сигнала, принимаемого от «ведущей» радиостанции, должна находиться в пределах ±100 Гц.

6.2.11 Тип модуляции. Параметры модуляции (пункт 4.2.2/13 таблицы 10 EN 303 035-2, пункт 6.6.1.2 ETS 300 396-2, пункт 7.3.1.2 TS 100 394-1)

Среднеквадратическое отклонение вектора ошибки должно быть не более 0,1 в любом пакете.

Пиковое значение вектора ошибки должно быть не более 0,3 на любом символе.

Амплитуда остаточной несущей С0 должна быть не более 5 % от амплитуды сигнала на выходе идеального модуляционного фильтра S(k) в любом пакете.

Испытания на соответствие данному требованию выполняют только для абонентских радиостанций, поддерживающих только режим DMO.

Параметры приемника

6.2.12 Уровни побочных излучений в режиме приёма (пункт 4.2.2/7 таблицы 10 EN 303 035-2, пункт 6.4.3.5 ETS 300 396-2, пункт 7.2.8.2 TS 100 394-1)

Уровни побочных излучений в режиме приёма (при отсутствии передачи), измеренные на антенном разъёме, не должны превышать минус 57 дБм в диапазоне от 9 кГц до 1 ГГц и минус 47 дБм в диапазоне от 1 до 4 ГГц.

Испытания на соответствие данному требованию выполняют только для абонентских радиостанций, поддерживающих только режим DMO.

6.2.13 Уровни побочных излучений корпуса и элементов конструкции (пункт 4.2.2/8, таблицы 10 EN 303 035-2, пункт 6.4.4 ETS 300 396-2, пункт 7.2.9.2 TS 100 394-1)

Уровни излучений корпуса и элементов конструкции, измеренные в диапазоне от 30 МГц до 4 ГГц, не должны превышать соответствующих предельных значений, установленных в пункте 6.2.12.

Испытания на соответствие данному требованию выполняют только для абонентских радиостанций, поддерживающих только режим DMO.

6.2.14 Избирательность по побочным каналам приёма (пункт 4.2.3/1 таблицы 14 EN 303 035-2, пункт 6.5.2.2 ETS 300 396-2, пункты 7.2.6.2, F.5 таблицы F.2 доп. F к TS 100 394-1)

Избирательность приёмника по побочным каналам приёма характеризует его способность принимать полезный сигнал без существенного ухудшения качества при наличии на его входе мешающих сигналов на побочных каналах приёма.

При наличии на входе приёмника:

- полезного сигнала на частоте приёма f0 с уровнем минус 109 дБм;

- мешающего немодулированного синусоидального сигнала на частоте f1, получаемого путём перестройки генератора сигналов с шагом 6,25 кГц в пределах «ограниченного диапазона частот»

где fIo - частота задающего генератора гетеродина приёмника, (fi1, ... fij) промежуточные частоты, sr - ширина диапазона частот приёмника или за пределами «ограниченного диапазона частот» до 4 ГГц на частотах nfIo ± fi1, n ≥ 2 и pfr ± fi1, p ≥ 1, где fr - частота любого другого генератора, используемого в формировании частоты гетеродина приёмника, с уровнем минус 45 дБм, -

значение коэффициента BER не должно превышать значений, установленных в таблице 6.21.

Таблица 6.21

Логический канал

Тип

Модель многолучёвости

Уровень полезного сигнала, дБм

Уровень мешающего сигнала, дБм

Максимальное значение BER, %

Объём выборки, не менее, бит

ТСН/7.2

1

STAT

-109

-45

4,27

5000

Испытания на соответствие данному требованию выполняют только для абонентских радиостанций, поддерживающих только режим DMO.

6.2.15 Интермодуляционная избирательность (пункт 4.2.3/2 таблицы 14 EN 303 035-2, пункт 6.5.3.2 ETS 300 396-2, пункты 7.2.7.2, F.5 таблицы F.2 доп. F к TS 100 394-1)

Интермодуляционная избирательность приёмника характеризует его способность принимать полезный сигнал без существенного ухудшения качества при наличии на его входе двух или более сигналов на частотах, определённым образом связанных с частотой полезного сигнала.

При наличии на входе приёмника:

- полезного сигнала на частоте приёма f0 с уровнем минус 109 дБм;

- мешающего немодулированного синусоидального сигнала на частоте f1 с уровнем минус 47 дБм;

- мешающего модулированного сигнала p/4-DQPSK на частоте f2 с уровнем минус 47 дБм, так что f0 = 2f1 - f2 и |f2 - f1| = 200 кГц, -

значение коэффициента BER не должно превышать значений, установленных в таблице 6.22.

Таблица 6.22

Логический канал

Тип

Модель многолучевости

Уровень полезного сигнала, дБм

Уровень мешающего сигнала, дБм

Максимальное значение BER, %

Объем выборки, не менее, бит

ТСН/7.2

1

STAT

-109

47

4,88

4500

Испытания на соответствие данному требованию выполняют только для абонентских радиостанций, поддерживающих только режим DMO.

6.2.16 Устойчивость к блокирующим сигналам (пункт 4.2.3/3 таблицы 14 EN 303 035-1, пункт 6.5.1.2 ETS 300 396-2, пункты 7.2.5.2, F.5 таблицы F.2 доп. F к TS 100 394-1)

Устойчивость приёмника к блокирующим сигналам характеризует его способность принимать полезный сигнал без существенного ухудшения качества, при наличии на его входе мешающего немодулированного синусоидального сигнала на частотах в пределах рабочего диапазона, отличных от частот побочных каналов приёма или соседних каналов.

При наличии на входе приёмника:

- полезного сигнала на частоте приёма f0 с уровнем минус 109 дБм;

- мешающего немодулированного синусоидального сигнала на частотах f0 ± 1 МГц, ±2 МГц, ±5 МГц, ±10 МГц с уровнем минус 25 дБм, -

значение коэффициента BER не должно превышать значений, установленных в таблице 6.23.

Таблица 6.23

Логический канал

Тип

Модель многолучевости

Уровень полезного сигнала, дБм

Уровень мешающего сигнала, дБм

Максимальное значение BER, %

Объем выборки, не менее, бит

TCH/7.2

1

STAT

-109

-25

4,88

4500

Испытания на соответствие данному требованию выполняют только для абонентских радиостанций, поддерживающих только режим DMO.

6.2.17 Номинальное значение коэффициента ошибок (пункт 4.2.4.1/1 таблицы 18 EN 303 035-2, пункт 6.6.2.1 ETS 300 396-2, пункты 7.2.2.2, F.5 таблицы F.2 доп. F к TS 100 394-1)

Номинальное значение коэффициента ошибок характеризует способность приёмника принимать сигнал при обычных условиях: при уровне входного сигнала не менее -85 дБм, при отсутствии помех, в условиях статического канала, а также в условиях многолучёвости.

Требования к значениям BER для различных вариантов условий приёма приведены в таблице 6.24.

Таблица 6.24

Логический канал

Тип

Модель многолучевости

Уровень полезного сигнала, дБм

Максимальное значение BER, %

Объём выборки, не менее, бит

ТСН/7.2

1

DR50

-85

0,448

3,6×106

STAT

-20

0,122

170000

Испытания на соответствие данному требованию выполняют только для абонентских радиостанций, поддерживающих только режим DMO.

6.2.18 Динамическая эталонная чувствительность (пункт 4.2.4.1/2 таблицы 18 EN 303 035-2, пункт 6.6.2.2 ETS 300 396-2, пункты 7.2.3.2, F.5 таблицы F.2 доп. F к TS 100 394-1)

Динамическая эталонная чувствительность характеризует способность приёмника принимать сигнал с заданными качественными характеристиками в условиях наличия многолучёвости.

Требования к значениям коэффициентов ошибок BER и MER для различных типов логических каналов и моделей многолучёвости при уровне динамической эталонной чувствительности минус 103 дБм при нормальных условиях (минус 97 дБм при экстремальных условиях) приведены в таблице 6.25.

Таблица 6.25

Логический канал

Тип

Модель многолучёвости

Уровень полезного сигнала, дБм

Максимальное значение BER/MER, %

Объём выборки, не менее, бит

SCH/F

2

DR50

-103

MER = 8,96

6600

SCH/S

3

DR50

MER = 8,96

6600

TCH/2.4

N = 1*

4

DR50

BER = 0,392

2,16×106

* Данное требование применимо только в случае, если абонентская радиостанция поддерживает указанный режим

Требования к значению вероятности необнаружения искажённого сообщения PUEM приведены в таблице 6.26.

Таблица 6.26

Логический канал

Тип

Модель многолучёвости

Уровень входного сигнала, дБм

Максимальное значение PUEM

Макс, кол-во искажённых сообщений

Объем выборки, не менее, бит

SCH/F

2

DR50

-103

3,5×10-4

2

31200

Испытания на соответствие данному требованию выполняют только для абонентских радиостанций, поддерживающих только режим DMO.

6.2.19 Эталонная помехозащищённость (пункт 4.2.4.1/3 таблицы 18 EN 303 035-2, пункт 6.6.2.3 ETS 300 396-2, пункты 7.2.4.2, F.5 таблицы F.2 доп. F к TS 100 394-1)

Эталонная помехозащищённость характеризует способность приёмника принять сигнал с заданными качественными характеристиками при наличии соканальной помехи с отношением сигнал/помеха С/Iс = 19 дБ или помехи по соседнему каналу с отношением сигнал/помеха C/Ia = минус 45 дБ при нормальных условиях (C/Ia = минус 30 дБ при экстремальных условиях).

Требования к значениям коэффициента ошибок MER для различных типов логических каналов и моделей многолучёвости для соканальной помехи и помехи на соседнем канале приведены в таблице 6.27.

Таблица 6.27

Логический канал

Тип

Модель многолучёвости

Уровень полезного сигнала, дБм

Уровень мешающего сигнала, дБм

Максимальное значение MER, %

Объём выборки, не менее, бит

Соканальная помеха

SCH/F

2

DR50

-85

-104

7,28

8500

Помеха в соседнем канале

SCH/F

2

DR50

-100

-55

7,28

8000

Испытания на соответствие данному требованию выполняют только для абонентских радиостанций, поддерживающих только режим DMO.

6.3 Требования, характеризующие использование радиочастот шлюзом DMO (в части интерфейса Ud)

Перечень параметров, определяющих требования к шлюзу DMO (в части интерфейса Ud), характеризующих использование радиочастот, определяется пунктом 4.2 EN 303 035-2. Численные значения параметров и описание методов испытаний содержатся в ETSI TS 100 394-1.

Диапазон рабочих частот и дуплексный разнос (пункт 4.2.1/38 таблицы 9 EN 303 035-2, пункт 16.3.2 ETS 300 396-5) должны декларироваться фирмой-изготовителем оборудования и соответствовать решению ГКРЧ.

Разнос частот между соседними радиоканалами должен составлять 25 кГц (пункт 6.2 TS 100 392-2).

Передача и приём в режиме DMO (интерфейс Ud) должны осуществляться только на частотах, выделенных для DMO. При этом шлюз, являющийся также транслятором сигналов DM REP/GATE типа 1А, осуществляет приём и последующую передачу усиленного сигнала на одной и той же частоте несущей. Шлюз-транслятор DM REP/GATE типа 1В использует для приёма и передачи усиленного сигнала в режиме DMO различные частоты f1 и f2.

Перечень характеристик и процедур функционирования шлюза DMO (интерфейса Ud), характеризующих использование радиочастот и подлежащих декларированию предприятием-изготовителем или его полномочным представителем, определен в соответствии с EN 303 035-2 и приведен в таблице 6.28.

Таблица 6.28

Наименование характеристики

Соответствие требованиям EN 303 035-2

Соответствие требованиям ETS 300 396-5

Обязательность наличия

1

2

3

4

1 Требования к функциям MAC нижнего подуровня, относящийся к мониторингу и управлению параметрами радиоканала (пункт 4.2.4.2 таблицы 25, пункт А.3.1 таблицы А.35 EN 303 035-2)

1.1 Схема помехоустойчивого кодирования для логических каналов

пункт 4.2.4.2/6 таблицы 25

пункт 16.5

О

2 Требования к функциям MAC верхнего подуровня, относящимся к мониторингу и управлению параметрами радиоканала (пункт 4.2.4.4 таблицы 33, пункт А.3.3 таблицы А.49 EN 303 035-2)

2.1 Контроль состояния радиоканала DM-GW при установлении соединения DM-MS

пункт 4.2.4.4/39 таблицы 33

пункт 13.4.2.2.3

О

При наличии управления вызовом в режиме с коммутацией каналов

2.2 Контроль состояния радиоканала DM-GW во время вызова

пункт 4.2.4.4/40 таблицы 33

пункт 13.4.2.3

О

При наличии управления вызовом в режиме с коммутацией каналов

2.3 Контроль состояния канала DM-GW в неактивном состоянии шлюзом, выполняющим функции ведущей радиостанции

пункт 4.2.4.4/41 таблицы 33

пункт 13.4.4.5

О

При наличии управления вызовом в режиме с коммутацией каналов

2.4 Контроль состояния канала DM-GW в неактивном состоянии при резервировании

пункт 4.2.4.4/42 таблицы 33

пункт 13.4.4.7

О

При наличии управления вызовом в режиме с коммутацией каналов

2.5 Передача сообщения DM-OCCUPIED шлюзом, выполняющим функции ведущей радиостанции

пункт 4.2.4.4/43 таблицы 33

пункт 13.4.5.1.4

О

2.6 Передача сообщения DM-RESERVED при резервировании

пункт 4.2.4.4/44 таблицы 33

пункт 13.4.6.1.1

О

При наличии управления вызовом в режиме с коммутацией каналов

2.7 Передача сообщений уровня 2 в режиме с подтверждением

пункт 4.2.4.4/7 таблицы 33

пункт 13.5.6.1

О

3 Типы блоков данных протокола MAC для шлюзов DMO (пункт А.3.3.4 таблицы А.50 EN 303 035-2)

3.1 DMAC-SYNC (передача и прием)

пункт 14.1.1 ETS 300 396-5

О

3.2 DPRES-SYNC (передача)

пункт 14.1.2 ETS 300 396-5

О

3.3 DMAC-DATA (передача и приём)

пункт 14.2 ETS 300 396-5

О

3.4 DM-RESERVED (передача)

пункт 14.4 ETS 300 396-5

О

При поддержке управления вызовом

4 Требования, относящиеся к функциям управления и контроля состояния канала в режиме речевых вызовов для уровня DMCC (пункт 4.2.4.6 таблицы 38, пункт A.5.2 таблицы А.58 EN 303 035-2)

4.1 Установление исходящего индивидуального вызова к DM-MS

пункт 4.2.4.6/19 таблицы 38

пункт 9.3.1.1

О

При наличии возможности установления индивидуальных вызовов и входящих вызовов от сети V+D

4.2 Установление исходящего группового вызова к DM-MS

пункт 4.2.4.6/20 таблицы 38

пункт 9.3.1.2

О

При возможности установления групповых вызовов и входящих вызовов от сети V+D

4.3 Действия с получением DM-TX CEASED при завершении вызова ведущей DM-MS

пункт 4.2.4.6/24 таблицы 38

пункт 9.3.3.1.1

О

При возможности установления входящих вызовов со стороны DM-MS

4.4 Действия с получением DM-TX CEASED при завершении вызова SwMI

пункт 4.2.4.6/25 таблицы 38

пункт 9.3.3.1.2

О

При возможности установления входящих вызовов со стороны сети V+D

4.5 Передача DX-TX CEASED при прерывании связи SwMI

пункт 4.2.4.6/26 таблицы 38

пункт 9.3.3.2

О

При возможности установления входящих вызовов со стороны сети V+D

4.6 Действия после получения запроса на продолжение вызова при резервировании

пункт 4.2.4.6/21 таблицы 38

пункт 9.3.3.3

О

4.7 Ответ на запросы на передачу статуса ведущей абонентской радиостанции (changeover) или приоритетного доступа к занятому каналу (pre-emption) при резервировании

пункт 4.2.4.6/22 таблицы 38

пункт 9.3.3.4.1

О

4.8 Завершение вызова в режиме DM с получением прерывания D-TX-WAIT от SwMI

пункт 4.2.4.6/27 таблицы 38

пункт 9.3.3.5

О

4.9 Действия с получением DM-RELEASE от ведущей DM-MS

пункт 4.2.4.6/28 таблицы 38

пункт 9.3.3.9.1

О

При возможности установления входящих вызовов со стороны DM-MS

4.10 Разъединение DM канала с получением DM-RELEASE от SwMI

пункт 4.2.4.6/29 таблицы 38

пункт 9.3.3.9.2

О

4.11 Разъединение DM канала по истечении отсчёта таймера длительности вызова Т310

пункт 4.2.4.6/30 таблицы 38

пункт 9.3.3.9.3

О

4.12 Действия с получением DM-PREEMT PDU при резервировании

пункт 4.2.4.6/23 таблицы 38

пункт 9.3.4.1.3

О

4.13 Действия ведомого шлюза при прерывании связи со стороны SwMI

пункт 4.2.4.6/31 таблицы 38

пункт 9.3.4.2.1

О

При возможности установления входящих вызовов со стороны DM-MS

5 Типы блоков данных протокола DMCC для шлюзов DMO (пункт A.5.2 таблицы А.59 EN 303 035-2)

5.1 DM-SETUP (передача)

пункт 14.5 ETS 300 396-5

О - при груп. п. или инд. вызовах и при получении входящих вызовов от SwMI

                               (приём)

 

О - при получении входящих вызовов от DM-MS

5.2 DM-SETUP-PRES (передача)

 

Опц. - при индивидуальных вызовах и при получении входящих вызовов от SwMI

5.3 DM-CONNECT (прием)

 

5.4 DM-DISCONNECT (приём)

 

5.5 DM-CONNECK АСК (передача)

 

5.6 DM-OCCUPIED (передача)

О - при входящих вызовах от SwMI

                                        (прием)

О - при входящих вызовах от DM-MS

5.7 DM-RELEASE (передача)

О

                                    (приём)

О - при входящих вызовах от DM-MS

5.8 DM-TX CEASED (передача)

О

                                          (приём)

О - при входящих вызовах от DM-MS

5.9 DM-TX-REQUEST (приём)

О

5.10 DM-TX ACCEPT (передача)

О

5.11 DM-PREEMPT (передача и приём)

О

5.12 DM-PRE ACCEPT (передача и приём)

О

5.13 DM-REJECT (передача и приём)

О

5.14 DM-GSETUP (приём)

пункт 14.5.1 ETS 300 396-5

О - при исходящих вызовах от DM-MS

5.15 DM-GCONNECT (передача)

пункт 14.5.2 ETS 300 396-5

О - при исходящих вызовах от DM-MS

5.16 DM-GACK (передача)

пункт 14.5.3 ETS 300 396-5

О - при исходящих вызовах от DM-MS

5.17 DM-GRELEASE (передача и приём)

пункт 14.5.4 ETS 300 396-5

О

5.18 DM-GTX REQUEST (приём)

пункт 14.5.5 ETS 300 396-5

О

5.19 DM-GTX ACCEPT (передача)

пункт 14.5.6 ETS 300 396-5

О

5.20 DM-GPREEMPT (приём)

пункт 14.5.7 ETS 300 396-5

О

5.21 DM-GPRE ACCEPT (передача)

пункт 14.5.8 ETS 300 396-5

О

5.22 DM-GPREJECT (передача)

пункт 14.5.9 ETS 300 396-5

О

Обозначения: О - характеристика/процедура подлежит декларированию

Опц. - опция (характеристика/процедура) не подлежит обязательному декларированию

Параметры передатчика

6.3.1 Мощность передатчика. Уровни регулировки мощности (пункт 4.2.2/40 таблицы 13 EN 303 035-2, пункт 16.3.4.2 ETS 300 396-5, пункты 7.1.1.2а, F.5 таблицы F.2 доп. F к TS 100 394-1)

Требования к мощности передатчика, уровням её регулировки и точности установки аналогичны приведённым в пункте 6.2.1.

6.3.2 Уровни побочных излучений (пункты 4.2.2/44, 4.2.2/45 таблицы 13 EN 303 035-2, пункты 16.3.4.3.3.1, 16.3.4.3.3.2 ETS 300 396-5, пункты 7.1.5.2, F.5 таблицы F.2 доп. F к TS 100 394-1)

Побочными являются излучения на частотах, отстоящих от частоты несущей на 100 кГц и более в диапазоне от 9 кГц до 4 ГГц.

Уровень дискретных составляющих побочных излучений, измеренных на антенном разъёме, в диапазоне от 9 кГц до 1 ГГц не должен превышать минус 36 дБм.

Уровень дискретных составляющих побочных излучений, измеренных на антенном разъёме, в диапазоне от 1 ГГц до 4 ГГц не должен превышать минус 30 дБм.

Уровень широкополосных шумов, измеренных на антенном разъёме, не должен превышать максимально допустимых значений, приведённых в таблице 6.29.

Таблица 6.29

Расстройка относительно частоты несущей, кГц

Максимально допустимый уровень, дБн

Мощность 1 Вт (класс 4)

Мощность 3 Вт (класс 3)

Мощность 10 Вт (класс 2)

Мощность 30 Вт (класс 1)

От   100   до    250 включ.

-75

-78

-80

-80

Св.  250    "     500       "

-80

-83

-85

-85

   "    500    "     frb

-80

-85

-90

-90

   "    frb

-100

-100

-100

-100

Примечание - frb - расстройка относительно частоты несущей, соответствующая ближайшей границе диапазона частот приёма V+D, но не более 5 МГц. В других случаях величина предельно допустимого уровня должна применяться за пределами диапазона fx, включающего частоты передачи, декларированные фирмой изготовителем плюс защитный интервал 5 МГц.

Не является обязательным иметь абсолютные значения широкополосных шумов ниже минус 55 дБм для частот расстройки до frb и минус 70 дБм - свыше frb.

6.3.3 Огибающая мощности передатчика. Мощность, излучаемая в неактивном состоянии (пункты 4.2.2/49, 4.2.2/50 таблицы 13 EN 303 035-2, пункт 16.3.4.6 ETS 300 396-5, пункты 7.1.2.2,. F.6.2.1 доп. F TS 100 394-1)

Требования к огибающей мощности шлюза аналогичны приведённым в пункте 6.2.8. Максимальное значение мощности, излучаемой в неактивном состоянии, должно быть не более Lmin = минус 40 дБн (без необходимости быть ниже минус 36 дБм).

6.3.4 Ошибка по частоте (пункт 4.2.1/40 таблицы 9 EN 303 035-2, пункт 16.4.4 ETS 300 396-5, пункт F.6.3.1 доп. F к TS 100 394-1)

Требования к ошибке по частоте для шлюзов DMO (интерфейс Ud) аналогичны приведенным в пункте 6.2.9.

Регулировка времени начала передачи пакета (пункт 4.2.1/7 таблицы 3 EN 303 035-1, пункт 7.6 TS 100 392-2, пункт 7.3.4.2 TS 100 394-1)

Время начала передачи пакета абонентской радиостанцией не должно отличаться более чем на 1/4 интервала длительности символа от эталонного сигнала, принимаемого от базовой станции.

6.4 Требования, характеризующие использование радиочастот ретранслятором в режиме ОМО типа 1 (DM-REP1)

Перечень параметров, определяющих требования к ретранслятору DMO типа 1, характеризующих использование радиочастот, определяется пунктом 4.2 EN 303 035-2. Численные значения параметров и описание методов испытаний содержится в TS 100 394-1.

6.4.1 Диапазон рабочих частот и дуплексный разнос (пункт 4.2.1/10 таблицы 4, пункт 4.2.1/15 таблицы 15 EN 303 035-2, пункт 11.3.2 EN 300 396-4 [13], пункты 5, 6 TS 100 392-15)

Диапазон рабочих частот DMO должен декларироваться фирмой-изготовителем оборудования и соответствовать решению ГКРЧ.

Ретранслятор сигналов типа 1А осуществляет приём и последующую передачу усиленного сигнала на одной и той же частоте несущей. Ретранслятор типа 1В использует для приёма и передачи усиленного сигнала в режиме DMO различные частоты f1 и f2.

6.4.2 Ошибка по частоте (пункт 4.2.1/26 таблицы 7 EN 303 035-2, пункт 12.4.4 EN 300 394-4 [14], пункт F.6.3.1 доп. F к TS 100 394-1)

Требования к ошибке по частоте для ретрансляторов DMO типа 1 аналогичны приведенным в пункте 6.2.9.

6.4.3 Ошибка по частоте в режиме slave (пункт 4.2.1/27 таблицы 7 EN 303 035-2, пункт F.6.4.2 доп. F к TS 100 394-1)

Требования к ошибке по частоте в режиме slave для ретрансляторов DMO типа 1 аналогичны приведенным в пункте 6.2.10.

6.4.4 Мощность передатчика. Уровни регулировки мощности (пункт 4.2.2/14 таблицы 11 EN 303 035-2, пункт 12.3.4.2 EN 300 396-4, пункт 7.1.1.2а, пункт F.5 таблицы F.2 доп. F к TS 100 394-1)

Требования к мощности передатчика, уровням её регулировки и точности установки аналогичны приведённым в пункте 6.2.1.

6.4.5 Уровни излучения в соседних каналах, обусловленные модуляцией (пункт 4.2.2/15 таблицы 11 EN 303 035-2, пункт 12.3.4.3.2 EN 300 396-4, пункт 7.1.3.2 TS 100 394-1)

Требования к уровням излучения в соседних каналах, обусловленных модуляцией, аналогичны приведённым в пункте 6.2.2.

Испытания на соответствие данному требованию выполняют для устройств, реализующих только функции ретранслятора DMO типа 1.

6.4.6 Уровни излучения в соседних каналах, обусловленные переходными процессами в передатчике (пункт 4.2.2/16 таблицы 11 EN 303 035-2, пункт 12.3.4.3.2 EN 300 396-4 пункт 7.1.4.2 TS 100 394-1)

Требования к уровням излучения в соседних каналах, обусловленных переходными процессами в передатчике, аналогичны приведённым в пункте 6.2.3.

Испытания на соответствие данному требованию выполняют для устройств, реализующих только функции ретранслятора DMO типа 1.

6.4.7 Уровни излучения в соседних каналах во время передачи пакета линеаризации в канале LCH (пункт 4.2.2/17 таблицы 11 EN 303 035-2, пункт 12.3.4.3.4 EN 300 396-4, пункт 7.1.7.2 TS 100 394-1)

Требования к уровням излучения в соседних каналах во время передачи пакета линеаризации в канале LCH аналогичны приведённым в пункте 6.2.4.

Испытания на соответствие данному требованию выполняют для устройств, реализующих только функции ретранслятора DMO типа 1.

6.4.8 Уровни побочных излучений (пункты 4.2.2/18, 4.2.2/19 таблицы 11 EN 303 035-2, пункты 12.3.4.3.3.1, 12.3.4.3.3.2 EN 300 396-4, пункт 7.1.5.2, F.5 таблицы F.2 доп. F к TS 100 394-1)

Требования к уровням побочных излучений аналогичны приведённым в пункте 6.2.5.

6.4.9 Уровни побочных излучений в режиме приёма (пункт 4.2.2/20 таблицы 11 EN 303 035-2, пункт 12.3.4.3.5 EN 300 396-4, пункт 7.2.8.2 TS 100 394-1)

Требования к уровням побочных излучений в режиме приёма аналогичны приведённым в пункте 6.2.12.

Испытания на соответствие данному требованию выполняют для устройств, реализующих только функции ретранслятора DMO типа 1.

6.4.10 Уровни побочных излучений корпуса и элементов конструкции приёмопередатчика (пункт 4.2.2/21 таблицы 11 EN 303 035-2, пункт 12.3.4.4 EN 300 396-4, пункты 7.1.6.2, 7.2.9.2 TS 100 394-1)

Требования к уровням излучений корпуса и элементов конструкции приёмопередатчика аналогичны приведённым в пунктах 6.2.6, 6.2.13.

Испытания на соответствие данному требованию выполняют для устройств, реализующих только функции ретранслятора DMO типа 1.

6.4.11 Ослабление продуктов интермодуляции (пункт 4.2.2/22 таблицы 11 EN 303 035-2, пункт 12.3.4.4 EN 300 396-4, пункт 7.1.8.2.1 TS 100 394-1)

Требования к ослаблению продуктов интермодуляции аналогичны приведённым в пункте 6.2.7.

Испытания на соответствие данному требованию выполняют для устройств, реализующих только функции ретранслятора DMO типа 1.

6.4.12 Огибающая мощности передатчика. Мощность, излучаемая в неактивном состоянии (пункты 4.2.2/23, 4.2.2/24 таблицы 11 EN 303 035-2, пункт 12.3.4.6 EN 300 396-4 пункты 7.1.2.2, F.6.2.1 доп. F TS 100 394-1)

Требования к огибающей мощности передатчика и мощности, излучаемой в неактивном состоянии, аналогичны приведённым в пункте 6.2.8.

6.4.13 Тип модуляции. Параметры модуляции (пункт 4.2.2/26 таблицы 11 EN 303 035-2, пункт 12.3.6 EN 300 396-4, пункт 7.3.1.2 TS 100 394-1)

Требования к параметрам модуляции аналогичны приведённым в пункте 6.2.11.

6.4.14 Избирательность по побочным каналам приёма (пункт 4.2.3/6 таблицы 15 EN 303 035-2, пункт 12.3.5 EN 300 396-4, пункты 7.2.6.2, F.5 таблицы F.2 доп. F к TS 100 394-1)

Требования к избирательности по побочным каналам приёма аналогичны приведённым в пункте 6.2.14. Испытания на соответствие данному требованию выполняют для устройств, реализующих только функции ретранслятора DMO типа 1.

6.4.15 Интермодуляционная избирательность (пункт 4.2.3/7 таблицы 15 EN 303 035-2, пункт 12.3.5 EN 300 396-4, пункты 7.2.7.2, F.5 таблицы F.2 доп. F к TS 100 394-1)

Требования к интермодуляционной избирательности аналогичны приведённым в пункте 6.2.15.

Испытания на соответствие данному требованию выполняют для устройств, реализующих только функции ретранслятора DMO типа 1.

6.4.16 Устойчивость к блокирующим сигналам (пункт 4.2.3/8 таблицы 15 EN 303 035-1, пункт 12.3.5 EN 300 396-4, пункты 7.2.5.2, F.5 таблицы F.2 доп. F к TS 100 394-1)

Требования устойчивости к блокирующим сигналам аналогичны приведённым в пункте 6.2.16.

Испытания на соответствие данному требованию выполняют для устройств, реализующих только функции ретранслятора DMO типа 1.

6.4.17 Номинальное значение коэффициента ошибок (пункт 4.2.4.1/6 таблицы 19 EN 303 035-2, пункт 12.3.6 EN 300 396-4, пункты 7.2.2.2, F.5 таблицы F.2 доп. F к TS 100 394-1)

Требования к номинальному значению коэффициента ошибок аналогичны приведённым в пункте 6.2.17.

Испытания на соответствие данному требованию выполняют для устройств, реализующих только функции ретранслятора DMO типа 1.

6.4.18 Динамическая эталонная чувствительность (пункт 4.2.4.1/7 таблицы 19 EN 303 035-2, пункт 12.3.6 EN 300 396-4, пункты 7.2.3.2, F.5 таблицы F.2 доп. F к TS 100 394-1)

Требования к динамической эталонной чувствительности аналогичны приведённым в пункте 6.2.18.

Испытания на соответствие данному требованию выполняют для устройств, реализующих только функции ретранслятора DMO типа 1.

6.4.19 Эталонная помехозащищённость (пункт 4.2.4.1/8 таблицы 19 EN 303 035-2, пункт 12.3.6 EN 300 396-4, пункты 7.2.4.2, F.5 таблицы F.2 доп. F к TS 100 394-1)

Требования к эталонной помехозащищённости аналогичны приведённым в пункте 6.2.19.

Испытания на соответствие данному требованию выполняют для устройств, реализующих только функции ретранслятора DMO типа 1.

6.4.20 Параметры, характеризующие использование радиочастот ретранслятором DMO типа 1, подлежащие декларированию.

Перечень характеристик и процедур функционирования ретранслятора DMO типа 1, характеризующих использование радиочастот и подлежащих декларированию предприятием-изготовителем или его полномочным представителем, определен в соответствии с EN 303 035-2 и приведен в таблице 6.30.

Таблица 6.30

Наименование характеристики

Соответствие требованиям EN 303 035-2

Соответствие требованиям ETS 300 396-4

Обязательность наличия

1

2

3

4

1 Требования к функциям MAC нижнего подуровня, относящимся к мониторингу и управлению параметрами радиоканала (пункт 4.2.4.2 таблицы 23, пункт А.3.1 таблицы А.35 EN 303 035-2)

1.1 Схема помехоустойчивого кодирования для логических каналов

пункт 4.2.4.2/4 таблицы 23

пункт 12.5

О

2 Требования к функциям MAC верхнего подуровня, относящимся к мониторингу и управлению параметрами радиоканала (пункт 4.2.4.4 таблицы 31, пункт А.3.3.2 таблицы А.41 EN 303 035-2)

2.1 Контроль состояния радиоканала при установлении соединения DM-MS

пункт 4.2.4.4/30 таблицы 31

пункт 9.4.2.2.3

О

2.2 Контроль состояния радиоканала во время вызова

пункт 4.2.4.4/23 таблицы 31

пункт 9.4.2.3

О

2.3 Индикация свободного состояния канала

пункт 4.2.4.4/24 таблицы 31

пункт 9.4.5.1

Опц.

2.4 Повторная передача сообщений ведущей DM-MS

пункт 4.2.4.4/25 таблицы 31

пункт 9.5.1.1.1

О

2.5 Повторная передача сообщений DM-SETUP или DM-SETUP PRES

пункт 4.2.4.4/26 таблицы 31

пункт 9.5.1.1.2

О

При наличии управления вызовом в режиме с коммутацией каналов

2.6 Повторная передача сообщений DM-SDS DATA или DM-SDS UDATA

пункт 4.2.4.4/27 таблицы 31

пункт 9.5.1.1.3

О

При наличии управления вызовом в режиме передачи коротких сообщений

2.7 Повторная передача сообщений сигнализации, принятых от абонентских радиостанций в режиме slave

пункт 4.2.4.4/28 таблицы 31

пункт 9.5.2.1

О

2.8 Повторная передача сообщений-откликов, принятых от абонентских радиостанций в режиме slave

пункт 4.2.4.4/29 таблицы 31

пункт 9.5.2.2

О

3 Типы блоков данных протокола MAC для ретрансляторов DMO типа 1 (пункт А.3.3.2 таблицы А.42 EN 303 035-2)

3.1 DMAC-SYNC (передача и прием)

пункт 10.1.1 ETS 300 396-4

О

3.2 DPRES-SYNC (передача)

пункт 10.1.2 ETS 300 396-4

Опц.

3.3 DMAC-DATA (передача и приём)

пункт 10.2 ETS 300 396-4

О

3.4 DM-RESERVED (передача)

пункт 10.4 ETS 300 396-4

О

При поддержке управления вызовом в режиме с коммутацией каналов

                                        (приём)

 

О

3.5 DM-SDS OCCUPIED (передача)

пункт 10.4 ETS 300 396-4

О

При поддержке управления вызовом в режиме передачи коротких сообщений

                                                 (прием)

 

О

4 Константы и таймеры MAC для ретрансляторов DMO типа 1 (пункт А.3.3.2 таблиц А.43, A.44 EN 303 035-2)

4.1 DN232

пункт 4.2.4.4/26 таблицы 31

пункт А.7 ETS 300 396-4

О - При поддержке управления вызовом в режиме с коммутацией каналов (Допустимое значение 2...4)

4.2 DN233

пункт 4.2.4.4/27 таблицы 31

 

О - При поддержке управления вызовом в режиме передачи коротких сообщений (Допустимое значение 2...4)

4.3 DT256

пункт 4.2.4.4/23 таблицы 31

пункт А.6 ETS 300 396-4

О - При поддержке управления вызовом в режиме с коммутацией каналов (Значение по умолчанию 120 интервалов длительности кадра)

4.4 DT258

 

 

О - При поддержке управления вызовом в режиме передачи коротких сообщений (Значение по умолчанию 120 интервалов длительности кадра)

Обозначения: О - характеристика/процедура подлежит декларированию

Опц. - опция (характеристика/процедура) не подлежит обязательному декларированию

6.5 Требования, характеризующие использование радиочастот ретранслятором в режиме DMO типа 2 (DM-REP2)

Перечень параметров, определяющих требования к ретранслятору DMO типа 2, характеризующих использование радиочастот, определяется пунктом 4.2 EN 303 035-2. Численные значения параметров и описание методов испытаний содержится в TS 100 394-1.

6.5.1 Диапазон рабочих частот и дуплексный разнос (пункт 4.2.1/31 таблицы 8, EN 303 035-2, пункт 12.3.2 EN 300 396-7 [15], пункты 5, 6 TS 100 392-15)

Диапазон рабочих частот DMO должен декларироваться фирмой-изготовителем оборудования и соответствовать решению ГКРЧ.

Ретранслятор сигналов типа 2 осуществляет приём сигналов от абонентских радиостанций на частоте «вверх» f1 и передачу в направлении абонентских радиостанции на частоте «вниз» f2, являющейся дуплексной частотой по отношению к частоте f1.

6.5.2 Ошибка по частоте (пункт 4.2.1/33 таблицы 8 EN 303 035-2, пункт 12.4.4 EN 300 394-4, пункт F.6.3.1 доп. F к TS 100 394-1)

Требования к ошибке по частоте для ретрансляторов DMO типа 2 аналогичны приведенным в пункте 6.2.9.

6.5.3 Ошибка по частоте в режиме slave (пункт 4.2.1/34 таблицы 8 EN 303 035-2, пункт F.6.4.2 доп. F к TS 100 394-1)

Требования к ошибке по частоте в режиме slave для ретрансляторов DMO типа 2 аналогичны приведенным в пункте 6.2.10.

6.5.4 Мощность передатчика. Уровни регулировки мощности (пункт 4.2.2/27 таблицы 12 EN 303 035-2, пункт 12.3.4.2 EN 300 396-7, пункты 7.1.1.2а, F.5 таблицы F.2 доп. F к TS 100 394-1)

Требования к мощности передатчика, уровням её регулировки и точности установки аналогичны приведённым в пункте 6.2.1.

6.5.5 Уровни излучения в соседних каналах, обусловленные модуляцией (пункт 4.2.2/28 таблицы 12 EN 303 035-2, пункт 12.3.4.3.2 EN 300 396-7, пункт 7.1.3.2 TS 100 394-1)

Требования к уровням излучения в соседних каналах, обусловленных модуляцией, аналогичны приведённым в пункте 6.2.2.

Испытания на соответствие данному требованию выполняют для устройств, реализующих только функции ретранслятора DMO типа 2.

6.5.6 Уровни излучения в соседних каналах, обусловленные переходными процессами в передатчике (пункт 4.2.2/29 таблицы 12 EN 303 035-2, пункт 12.3.4.3.2 EN 300 396-7, пункт 7.1.4.2 TS 100 394-1).

Требования к уровням излучения в соседних каналах, обусловленных переходными процессами в передатчике, аналогичны приведённым в пункте 6.2.3.

Испытания на соответствие данному требованию выполняют для устройств, реализующих только функции ретранслятора DMO типа 2.

6.5.7 Уровни излучения в соседних каналах во время передачи пакета линеаризации в канале LCH (пункт 4.2.2/30 таблицы 12 EN 303 035-2, пункт 12.3.4.3.4 EN 300 396-7, пункт 7.1.7.2 TS 100 394-1)

Требования к уровням излучения в соседних каналах во время передачи пакета линеаризации в канале LCH аналогичны приведённым в пункте 6.2.4.

Испытания на соответствие данному требованию выполняют для устройств, реализующих только функции ретранслятора DMO типа 2.

6.5.8 Уровни побочных излучений (пункты 4.2.2/31, 4.2.2/32 таблицы 12 EN 303 035-2, пункты 12.3.4.3.3.1, 12.3.4.3.3.2 EN 300 396-7, пункты 7.1.5.2, F.5 таблицы F.2 доп. F к TS 100 394-1)

Требования к уровням побочных излучений аналогичны приведённым в пункте 6.2.5.

6.5.9 Уровни побочных излучений в режиме приёма (пункт 4.2.2/33 таблицы 12 EN 303 035-2, пункт 12.3.4.3.5 EN 300 396-7, пункт 7.2.8.2 TS 100 394-1)

Требования к уровням побочных излучений в режиме приёма аналогичны приведённым в пункте 6.2.12.

Испытания на соответствие данному требованию выполняют для устройств, реализующих только функции ретранслятора DMO типа 2.

6.5.10 Уровни побочных излучений корпуса и элементов конструкции приёмопередатчика (пункт 4.2.2/34 таблицы 12 EN 303 035-2, пункт 12.3.4.4 EN 300 396-7, пункты 7.1.6.2, 7.2.9.2 TS 100 394-1)

Требования к уровням излучений корпуса и элементов конструкции приёмопередатчика аналогичны приведённым в пунктах 6.2.6, 6.2.13.

Испытания на соответствие данному требованию выполняют для устройств, реализующих только функции ретранслятора DMO типа 2.

6.5.11 Ослабление продуктов интермодуляции (пункт 4.2.2/35 таблицы 12 EN 303 035-2, пункт 12.3.4.4 EN 300 396-7, пункт 7.1.8.2.1 TS 100 394-1)

Требования к ослаблению продуктов интермодуляции аналогичны приведённым в пункте 6.2.7.

Испытания на соответствие данному требованию выполняют для устройств, реализующих только функции ретранслятора DMO типа 2.

6.5.12 Огибающая мощности передатчика. Мощность, излучаемая в неактивном состоянии (пункты 4.2.2/36, 4.2.2/37 таблицы 12 EN 303 035-2, пункт 12.3.4.6 EN 300 396-7, пункты 7.1.2.2, F.6.2.1 доп. F TS 100 394-1)

Требования к огибающей мощности передатчика и мощности, излучаемой в неактивном состоянии, аналогичны приведённым в пункте 6.2.8.

6.5.13 Тип модуляции. Параметры модуляции (пункт 4.2.2/38 таблицы 12 EN 303 035-2, пункт 12.3.6 EN 300 396-7, пункт 7.3.1.2 TS 100 394-1)

Требования к параметрам модуляции аналогичны приведённым в пункте 6.2.11.

6.5.14 Избирательность по побочным каналам приёма (пункт 4.2.3/11 таблицы 16 EN 303 035-2, пункт 12.3.5 EN 300 396-7, пункты 7.2.6.2, F. 5 таблицы F.2 доп. F к TS 100 394-1)

Требования к избирательности по побочным каналам приёма аналогичны приведённым в пункте 6.2.14.

Испытания на соответствие данному требованию выполняют для устройств реализующих только функции ретранслятора DMO типа 2.

6.5.15 Интермодуляционная избирательность (пункт 4.2.3/12 таблицы 16 EN 303 035-2, пункт 12.3.5 EN 300 396-7, пункты 7.2.7.2, F.5 таблицы F.2 доп. F к TS 100 394-1)

Требования к интермодуляционной избирательности аналогичны приведённым в пункте 6.2.15.

Испытания на соответствие данному требованию выполняют для устройств, реализующих только функции ретранслятора DMO типа 2.

6.5.16 Устойчивость к блокирующим сигналам (пункт 4.2.3/13 таблицы 16 EN 303 035-1, пункт 12.3.5 EN 300 396-7, пункты 7.2.5.2, F.5 таблицы F.2 доп. F к TS 100 394-1)

Требования устойчивости к блокирующим сигналам аналогичны приведённым в пункте 6.2.16.

Испытания на соответствие данному требованию выполняют для устройств, реализующих только функции ретранслятора DMO типа 2.

6.5.17 Номинальное значение коэффициента ошибок (пункт 4.2.4.1/11 таблицы 20 EN 303 035-2, пункт 12.3.6 EN 300 396-7, пункты 7.2.2.2, F.5 таблицы F.2 доп. F к TS 100 394-1)

Требования к номинальному значению коэффициента ошибок аналогичны приведённым в пункте 6.2.17.

Испытания на соответствие данному требованию выполняют для устройств, реализующих только функции ретранслятора DMO типа 2.

6.5.18 Динамическая эталонная чувствительность (пункт 4.2.4.1/12 таблицы 20 EN 303 035-2, пункт 12.3.6 EN 300 396-7, пункты 7.2.3.2, F. 5 таблицы F.2 доп. F к TS 100 394-1)

Требования к динамической эталонной чувствительности аналогичны приведённым в пункте 6.2.18.

Испытания на соответствие данному требованию выполняют для устройств, реализующих только функции ретранслятора DMO типа 2.

6.5.19 Эталонная помехозащищённость (пункт 4.2.4.1/13 таблицы 20 EN 303 035-2, пункт 12.3.6 EN 300 396-7, пункты 7.2.4.2, F.5 таблицы F.2 доп. F к TS 100 394-1)

Требования к эталонной помехозащищённости аналогичны приведённым в пункте 6.2.19.

Испытания на соответствие данному требованию выполняют для устройств, реализующих только функции ретранслятора DMO типа 2.

6.5.20 Параметры, характеризующие использование радиочастот ретранслятором DMO типа 2, подлежащие декларированию.

Перечень характеристик и процедур функционирования ретранслятора DMO типа 2, характеризующих использование радиочастот и подлежащих декларированию предприятием-изготовителем или его полномочным представителем, определен в соответствии с EN 303 035-2 и приведен в таблице 6.31.

6.6 Требования электромагнитной совместимости

6.6.1 Квазипиковые значения несимметричного напряжения радиопомех на сетевых зажимах блоков питания или зарядных устройств (при их наличии в комплекте поставки) в диапазоне частот от 0,15 до 100 МГц не должны превышать значений, приведённых в пункте 5.1 ГОСТ 30429 (рисунок 1, кривая 1).

6.6.2 Средние значения несимметричного напряжения радиопомех на сетевых зажимах блоков питания или зарядных устройств (при их наличии в комплекте поставки) в диапазоне частот от 30 до 100 МГц не должны превышать 26 дБмкВ согласно пункту 5.2 ГОСТ 30429.

6.6.3 Квазипиковые значения напряжённости поля радиопомех, создаваемых абонентской радиостанцией, в диапазоне частот от 0,15 до 1000 МГц, измеренные на расстоянии 1 м, не должны превышать значений, приведённых в пункте 5.3 ГОСТ 30429 (рисунок 2, кривая 1).

6.6.4 Устойчивость к электростатическим разрядам должна соответствовать пункту 5 ГОСТ Р 51317.4.2 (степень жесткости 2).

6.6.5 Устойчивость к радиочастотным электромагнитным полям в диапазоне частот от 80 до 1000 МГц должна соответствовать пункту 5 ГОСТ Р 51317.4.3 (степень жесткости 2).

6.6.6 Устойчивость к кондуктивным помехам, наведённых электромагнитным полем должна соответствовать пункту 5 ГОСТ Р 51317.4.6. Данное требование распространяется на шлюзы ОМО, ретрансляторы DMO и абонентские радиостанции возимые.

6.7 Требования по устойчивости к климатическим и механическим воздействиям

В зависимости от условий размещения в части воздействия климатических факторов внешней среды абонентские станции классифицируют в соответствии с таблицей 1 ГОСТ 16019.

Группа абонентской радиостанции, исходя из условий её размещения, устанавливается в технических условиях.

Таблица 6.31

Наименование характеристики

Соответствие требованиям EN 303 035-2

Соответствие требованиям EN 300 396-7

Обязательность наличия

1

2

3

4

1 Требования к функциям MAC нижнего подуровня, относящимся к мониторингу и управлению параметрами радиоканала (пункт 4.2.4.2 таблицы 24, пункт А.3.1 таблицы А.35 EN 303 035-2)

1.1 Схема помехоустойчивого кодирования для логических каналов

пункт 4.2.4.2/5 таблицы 24

пункт 12.5

О

2 Требования к функциям MAC верхнего подуровня, относящимся к мониторингу и управлению параметрами радиоканала (пункт 4.2.4.4 таблицы 32, пункт А.3.3.3 таблицы А.45 EN 303 035-2)

2.1 Контроль состояния радиоканала при установлении соединения DM-MS

пункт 4.2.4.4/30 таблицы 32

пункт 9.4.2.2.3

О

2.2 Контроль состояния радиоканала во время вызова

пункт 4.2.4.4/31 таблицы 32

пункт 9.4.2.3

О

2.3 Контроль состояния неактивного радиоканала

пункт 4.2.4.4/32 таблицы 32

пункт 9.4.4

О

2.4 Индикация свободного состояния канала

пункт 4.2.4.4/33 таблицы 32

пункт 9.4.5.1

Опц.

2.5 Повторная передача сообщений ведущей DM-MS

пункт 4.2.4.4/34 таблицы 32

пункт 9.5.1.1.1

О

2.6 Повторная передача сообщений DM-SETUP или DM-SETUP PRES

пункт 4.2.4.4/35 таблицы 32

пункт 9.5.1.1.2

О

При наличии управления вызовом в режиме с коммутацией каналов

2.7 Повторная передача сообщений DM-SDS DATA или OM-SDS UDATA

пункт 4.2.4.4/36 таблицы 32

пункт 9.5.1.1.3

О

При наличии управления вызовом в режиме передачи коротких сообщений

2.8 Повторная передача сообщений сигнализации, принятых от абонентских радиостанций в режиме slave

пункт 4.2.4.4/37 таблицы 32

пункт 9.5.2.1

О

2.9 Повторная передача сообщений-откликов, принятых от абонентских радиостанций в режиме slave

пункт 4.2.4.4/38 таблицы 32

пункт 9.5.2.2

О

3 Типы блоков данных протокола MAC для ретрансляторов DMO типа 2 (пункт А.3.3.3 таблицы А.48 EN 303 036-2)

3.1 DMAC-SYNC (передача и прием)

пункт 10 EN 300 396-7

О

3.2 DPRES-SYNC (передача)

 

Опц.

3.3 DMAC-DATA (передача и прием)

 

О

3.4 DM-RESERVED (передача)

 

О - При поддержке управления вызовом в режиме с коммутацией каналов

                                        (прием)

 

О

3.5 DM-SDS OCCUPIED (передача)

пункт 10 EN 300 396-7

О

При поддержке управления вызовом в режиме передачи коротких сообщений

                                                 (прием)

 

О

4 Константы и таймеры MAC для ретрансляторов DMO типа 2 (пункт А.3.3.3 таблиц А.47, А.48 EN 303 035-2)

4.1 DN232

пункт 4.2.4.4/35 таблицы 32

доп. А к EN 300 396-7

О - При поддержке управления вызовом в режиме с коммутацией каналов (Допустимое значение 2...4)

4.2 DN233

пункт 4.2.4.4/36 таблицы 32

 

О - При поддержке управления вызовом в режиме передачи коротких сообщений (Допустимое значение 2...4)

4.3 DT256

пункт 4.2.4.4/31 таблицы 32

доп. А к EN 300 396-7

О - При поддержке управления вызовом в режиме с коммутацией каналов (Значение по умолчанию 120 интервалов длительности кадра)

4.4 DT258

 

 

О - При поддержке управления вызовом в режиме передачи коротких сообщений (Значение по умолчанию 120 интервалов длительности кадра)

Обозначения: О - характеристика/процедура подлежит декларированию

Опц. - опция (характеристика/процедура) не подлежит обязательному декларированию

Требования по устойчивости к климатическим и механическим воздействиям должны устанавливаться в ТУ на абонентскую радиостанцию.

6.7.1 Абонентская радиостанция возимая должна выдерживать следующие виды испытаний, предусмотренные для оборудования групп В3 - В5:

а) испытание на воздействие пониженной температуры среды согласно пункту 4.1 таблицы 2 ГОСТ 16019;

б) испытание на воздействие повышенной температуры среды согласно пункту 5 таблицы 2 ГОСТ 16019;

в) испытание на воздействие изменения температуры согласно пункту 6 таблицы 2 ГОСТ 16019;

г) испытание на воздействие синусоидальной вибрации согласно пункту 1 таблицы 2 ГОСТ 16019;

д) испытание на воздействие механических ударов согласно пункту 2 таблицы 2 ГОСТ 16019;

е) испытание на воздействие пониженного атмосферного давления согласно пункту 7 таблицы 2 ГОСТ 16019 (испытания проводят, если это оговорено в ТУ на аппаратуру конкретного назначения);

ж) испытание на воздействие влажности при повышенной температуре в постоянном режиме согласно пункту 8 ГОСТ 16019;

з) испытание на воздействие соляного тумана в циклическом режиме согласно пункту 9 таблицы 2 ГОСТ 16019 (испытания проводят, если это оговорено в ТУ на аппаратуру конкретного назначения);

и) испытание на воздействие песка или пыли согласно пункту 10 таблицы 2 ГОСТ 16019 (для групп В4, В5);

к) испытание на воздействие атмосферных выпадаемых осадков (дождя) согласно пункту 12 таблицы 2 ГОСТ 16019 (испытания проводят, если это оговорено в ТУ на аппаратуру конкретного назначения);

л) испытание на воздействие инея и росы согласно пункту 13 таблицы 2 ГОСТ 16019;

м) испытание на прочность при транспортировании согласно пункту 2 таблицы 2 ГОСТ 16019.

6.7.2 Абонентская радиостанция носимая должна выдерживать следующие виды испытаний, предусмотренные для оборудования групп Н6 - Н7:

а) испытание на воздействие пониженной температуры согласно пункту 4.1 таблицы 2 ГОСТ 16019;

б) испытание на воздействие повышенной температуры согласно пункту 5 таблицы 2 ГОСТ 16019;

в) испытание на воздействие изменения температуры согласно пункту 6 таблицы 2 ГОСТ 16019 (для группы Н6 испытания проводят, если это оговорено в ТУ на аппаратуру конкретного назначения);

г) испытание на воздействие синусоидальной вибрации согласно пункту 1 таблицы 2 ГОСТ 16019;

д) испытание на воздействие механических ударов согласно пункту 2 таблицы 2 ГОСТ 16019;

е) испытание на воздействие пониженного атмосферного давления согласно пункту 7 таблицы 2 ГОСТ 16019 (испытания проводят, если это оговорено в ТУ на аппаратуру конкретного назначения);

ж) испытание на воздействие влажности при повышенной температуре в постоянном режиме согласно пункту 8 ГОСТ 16019;

з) испытание на воздействие соляного тумана в циклическом режиме согласно пункту 9 таблицы 2 ГОСТ 16019 (испытания проводят, если это оговорено в ТУ на аппаратуру конкретного назначения);

и) испытание на воздействие песка или пыли согласно пункту 10 таблицы 2 ГОСТ 16019 (для группы Н7);

к) испытание на герметичность при погружении в воду согласно пункту 11 таблицы 2 ГОСТ 16019 (испытания проводят, если это оговорено в ТУ на аппаратуру конкретного назначения);

л) испытание на воздействие атмосферных выпадаемых осадков (дождя) согласно пункту 12 таблицы 2 ГОСТ 16019 (для группы Н6 испытания проводят, если это оговорено в ТУ на аппаратуру конкретного назначения);

м) испытание на свободное падение согласно пункту 3 таблицы 2 ГОСТ 16019;

н) испытание на воздействие инея и росы согласно пункту 13 таблицы 2 ГОСТ 16019 (для группы Н6 испытания проводят, если это оговорено в ТУ на аппаратуру конкретного назначения);

о) испытание на прочность при транспортировании согласно пункту 2 таблицы 2 ГОСТ 16019.

6.7.3 Требования по устойчивости к климатическим и механическим воздействиям к шлюзам и ретрансляторам DMO и параметры испытательных режимов должны устанавливаться в Технических условиях. При этом требования по устойчивости к климатическим и механическим воздействиям приведены:

- для стационарного оборудования, предназначенного для работы в отапливаемых наземных и подземных сооружениях в пункте 5.4.2;

- для стационарного оборудования, предназначенного для работы в неотапливаемых наземных и подземных сооружениях в пункте 5.4.3;

- для возимого оборудования в пункте 6.7.1.

6.7.4 После каждого испытания, а также в случаях, когда процедура испытаний предусматривает проведение измерений непосредственно при внешнем воздействии, должны контролироваться следующие параметры абонентских радиостанций, шлюзов и ретрансляторов DMO;

- отклонение мощности передатчика от номинального значения (пункты 6.1.1, 6.2.1, 6.3.1, 6.4.4, 6.5.4).

Примечание - Допустимое отклонение мощности передатчика от номинального значения в ходе испытаний на воздействие повышенной и пониженной температуры составляет +3,0; -4,0 дБ (для наименьшего уровня регулировки мощности ±4,0 дБ);

- уровни излучения в соседних каналах, обусловленные модуляцией (пункты 6.1.2, 6.2.2, 6.4.5, 6.5.5);

- уровни излучения в соседних каналах во время передачи пакета линеаризации в CLCH (пункты 6.1.4, 6.2.4, 6.4.7, 6.5.7);

- огибающая мощности передатчика (пункты 6.1.8, 6.2.8, 6.3.3, 6.4.12, 6.5.12);

- динамическая эталонная чувствительность (пункты 6.1.18, 6.2.18, 6.4.18, 6.5.18);

Примечания

1 В ходе испытаний на воздействие повышенной и пониженной температуры должно использоваться значение уровня входного сигнала приёмника минус 97 дБм.

2 В ходе испытаний контролируются только значения коэффициентов MER для каналов типа 2 (см. таблицу 6.9);

- эталонная помехозащищённость (пункты 6.1.19, 6.2.19, 6.4.19, п. 6.5.19).

Примечания

1 В ходе испытаний контролируется только устойчивость к помехам по соседнему каналу.

2) В ходе испытаний на воздействие повышенной и пониженной температуры должно использоваться значение уровня полезного входного сигнала приемника минус 94 дБм и уровень мешающего сигнала в соседнем канале минус 59 дБм.

6.8 Требования к электропитанию

6.8.1 Абонентская радиостанция, шлюз DMO, ретранслятор DMO должны обеспечивать работоспособность при изменении напряжения питания в пределах ±10 % относительно номинального значения, установленного в Технических условиях.

6.8.2 Испытания в условиях повышенного и пониженного напряжения питания выполняются в рамках испытаний, проводимых в экстремальных условиях.

6.9 Требования безопасности

6.9.1 Температура наружных поверхностей абонентских радиостанций, шлюзов DMO и ретрансляторов DMO во время работы при нормальных климатических условиях не должна превышать 45 °С в местах постоянного контакта пользователя с поверхностью (пункт 8.1 ГОСТ Р 50829).

6.9.2 Электрическая изоляция цепи питания блоков питания и зарядных устройств (носимых абонентских радиостанций) должна соответствовать требованиям пункта 6.20 ГОСТ Р 50829.

6.10 Требования к качеству передачи речи

Качество передачи речи должно соответствовать пункту 6.6 ГОСТ Р 51061.

6.11 Набор, индикация и передача на базовую станцию 18-значного номера

Абонентская радиостанция должна обеспечивать набор, индикацию и передачу на базовую станцию (включая режим автонабора) 18-значного номера.

7 Технические требования к ретранслятору сигналов V+D (ТМО)

7.1 Требования, характеризующие использование радиочастот

Перечень параметров, определяющих требования к ретранслятору сигналов, характеризующих использование радиочастот, определяется пунктом 4.2 EN 303 035-1. Численные значения параметров и описание методов испытаний содержится в TS 101 789-1 [16].

Диапазон рабочих частот и дуплексный разнос (пункты 4.2.1/3 - 4.2.1/5 таблицы 3 EN 303 035-1, пункт 6.2 TS 100 392-2, пункты 5, 6 TS 100 392-15) должны декларироваться фирмой-изготовителем оборудования и соответствовать решению ГКРЧ.

Разнос частот между соседними радиоканалами должен составлять 25 кГц (пункт 6.2 TS 100 392-2).

7.1.1 Параметры ретранслятора, декларируемые фирмой-изготовителем (пункт 5.2 TS 101 789-1)

Фирма-изготовитель должна декларировать следующие параметры ретранслятора:

- рабочий диапазон частот;

- максимальная мощность на один радиоканал;

- количество усиливаемых радиоканалов.

7.1.2 Выходная мощность (пункт 4.2.2/23 таблицы 5 EN 303 035-1, пункт 4.2.4 TS 101 789-1)

Мощность передатчика измеряется отдельно для усиливаемых сигналов BS-MS и MS-BS. Номинальное значение мощности должно устанавливаться фирмой-изготовителем в соответствии с классами мощности, установленными для базовых приёмопередатчиков (см. таблицу 4.1, пункт 7.1.1). Установка ретрансляторов, выходная мощность которых превышает 1 Вт, осуществляется по согласованию с оператором соответствующей сети и органами Государственной радиочастотной службы.

Отклонение мощности передатчика от номинального значения должно находиться в пределах:

±2 дБ при нормальных условиях;

+3/-4 дБ при экстремальных условиях.

7.1.3 Усиление внеполосных сигналов (пункт 4.2.2/24 таблицы 5 EN 303 035-1, пункт 4.2.3.2 TS 101 789-1)

Коэффициент усиления сигналов за пределами рабочей полосы частот Ретранслятора при нормальных и экстремальных условиях не должен превышать максимальных значений, установленных в таблице 7.1а (для ретрансляторов сигналов с шириной рабочей полосы частот 1 МГц и менее) и 7.1б (для ретрансляторов с шириной рабочей полосы частот более 1 МГц).

Таблица 7.1а

Расстройка относительно точки минус 6 дБ, кГц

Коэффициент усиления, не более, дБ

50

63

75

50

125

30

250

20

500 и более

10

Таблица 7.1б

Расстройка относительно точки минус 6 дБ, кГц

Коэффициент усиления, не более, дБ

50

75

75

70

125

65

250

32

500 и более

28

7.1.4 Уровни излучения в соседних частотных каналах (пункт 4.2.2/25 таблицы 5 EN 303 035-1, пункт 4.2.5 TS 101 789-1)

Уровни излучения в соседних каналах, обусловленные модуляцией, характеризуются средним значением мощности, измеренным на интервале полезной части пакета на частотах ±25 кГц, ±50 кГц, ±75 кГц относительно частоты несущей и не должны превышать максимальных значений, приведённых в таблице 7.2, без необходимости быть ниже минус 36 дБм.

Таблица 7.2

Расстройка относительно частоты несущей, кГц

Максимально допустимое значение, дБн

±25

-60

±50

-70

+75

-70

Уровни излучения в соседних каналах, обусловленные переходными процессами (ramp-up и ramp-down) в режиме прерывистой передачи усиливаемого сигнала, характеризуются средним значением мощности, измеренным в пределах интервалов нарастания и спада на частотах ±25 кГц относительно частоты несущей и не должны превышать минус 50 дБн, без необходимости быть ниже минус 36 дБм.

7.1.5 Уровни побочных излучений (пункт 4.2.2/26 таблицы 5 EN 303 035-1, пункт 4.2.1 TS 101 789-1)

Побочными являются излучения на частотах, отстоящих от частоты несущей усиливаемого сигнала на 100 кГц и более в диапазоне от 9 кГц до 4 ГГц:

а) уровень дискретных составляющих побочных излучений, измеренных на антенном разъёме, на частотах, отстоящих от частоты несущей усиливаемого сигнала на 600 кГц и более в диапазоне от 9 кГц до 1 ГГц не должен превышать минус 36 дБм.

б) уровень дискретных составляющих побочных излучений, измеренных на антенном разъёме, на частотах, отстоящих от частоты несущей усиливаемого сигнала на 600 кГц и более в диапазоне от 1 ГГц до 4 ГГц, не должен превышать минус 30 дБм.

в) уровень широкополосных шумов, измеренных на антенном разъёме, не должен превышать максимально допустимых значений, приведённых в таблице 7.3.

Таблица 7.3

Расстройка относительно частоты несущей, кГц

Максимально допустимый уровень, дБн

От   100   до    250 включ.

-75

Св.  250    "     500       "

-80

   "    500    "     5000     "

-80

   "    5000

-100

Не является обязательным иметь абсолютные значения широкополосных шумов ниже минус 55 дБм для частот расстройки до 5 МГц и минус 70 дБм - свыше 5 МГц;

г) уровни побочных излучений корпуса и элементов конструкции ретранслятора, измеренные на частотах, отстоящих от частоты несущей усиливаемого сигнала на 600 кГц и более в диапазоне от 30 МГц до 4 ГГц не должны превышать соответствующих предельных значений, установленных в пункте 7.1.5 а, б.

7.1.6 Ослабление продуктов интермодуляции (пункт 4.2.2/27 таблицы 5 EN 303 035-1, пункты 4.2.2, 5.5.2.3 TS 101 789-1)

Ослабление любой интермодуляционной компоненты сигнала в ретрансляторе при нормальных и экстремальных условиях должно быть не менее 60 дБ. Не является обязательным иметь максимально абсолютные значения интермодуляционных компонент сигнала ниже минус 36 дБм.

7.1.7 Параметры модуляции (пункт 4.2.2/28 таблицы 5 EN 303 035-1, пункты 4.2.6, 5.5.6.3 TS 101 789-1)

Среднеквадратическое отклонение вектора ошибки должно быть не более 0,1 в любом пакете.

Пиковое значение вектора ошибки должно быть не более 0,3 на любом символе.

7.2 Требования электромагнитной совместимости

7.2.1 Квазипиковые значения несимметричного напряжения радиопомех на сетевых зажимах в диапазоне частот от 0,15 до 100 МГц не должны превышать значений, приведённых в пункте 5.1 ГОСТ 30429 (рисунок 1, кривая 1).

7.2.2 Средние значения несимметричного напряжения радиопомех на сетевых зажимах в диапазоне частот от 30 до 100 МГц не должны превышать 26 дБмкВ согласно пункту 5.2 ГОСТ 30429.

7.2.3 Квазипиковые значения напряжённости поля радиопомех, создаваемых ретранслятором, в диапазоне частот от 0,15 до 1000 МГц, измеренные на расстоянии 1 м, не должны превышать значений, приведённых в пункте 5.3 ГОСТ 30429 (рисунок 2, кривая 1).

7.2.4 Устойчивость к радиочастотным электромагнитным полям в диапазоне частот от 80 до 1000 МГц должна соответствовать пункту 5 ГОСТ Р 51317.4.3 (степень жесткости 2).

7.2.5 Устойчивость к электростатическим разрядам должна соответствовать пункту 5 ГОСТ Р 51317.4.2 (степень жесткости 2).

7.2.6 Устойчивость к наносекундным импульсным помехам должна соответствовать пункту 5 ГОСТ Р 51317.4.4 (степень жёсткости 2).

7.2.7 Устойчивость к кондуктивным помехам, наведённых электромагнитным полем должна соответствовать пункту 5 ГОСТ Р 51317.4.6.

7.2.8 Устойчивость к динамическим изменениям напряжения электропитания должна соответствовать пункту 5 ГОСТ Р 51317.4.11 (степень жёсткости 2).

7.2.9 Устойчивость к микросекундным импульсным помехам большой энергии должна соответствовать пункту 5 ГОСТ Р 51317.4.5 (класс эксплуатации 5).

7.3 Требования по устойчивости к климатическим и механическим воздействиям

7.3.1 В зависимости от условий размещения ретрансляторы классифицируют по следующим группам аппаратуры (таблица 1 ГОСТ 16019):

С1 - стационарные, устанавливаемые в отапливаемых наземных и подземных сооружениях;

С2 - стационарные, устанавливаемые под навесом на открытом воздухе или в не отапливаемых наземных и подземных сооружениях.

Группа ретранслятора, исходя из условий его размещения, устанавливается в Технических условиях.

7.3.2 Требования по устойчивости к климатическим и механическим воздействиям к ретрансляторам группы С1 должны устанавливаться в Технических условиях на ретранслятор.

При этом должны предусматриваться следующие виды испытаний:

а) испытание на воздействие пониженной температуры (пункт 1 таблицы 4 ГОСТ 16019);

б) испытание на воздействие повышенной температуры (пункт 2 таблицы 4 ГОСТ 16019);

в) испытание на воздействие синусоидальной вибрации (пункт 4 таблицы 4 ГОСТ 16019) (испытание проводят, если это оговорено в ТУ на аппаратуру конкретного назначения);

г) испытание на воздействие механических ударов (пункт 5 таблицы 4 ГОСТ 16019) (испытание проводят, если это оговорено в ТУ на аппаратуру конкретного назначения);

д) испытание на воздействие пониженного атмосферного давления (пункт 6 таблицы 4 ГОСТ 16019) (испытание проводят, если это оговорено в ТУ на аппаратуру конкретного назначения);

е) испытание на воздействие соляного тумана в циклическом режиме (пункт 8 таблицы 4 ГОСТ 16019) (испытание проводят, если это оговорено в ТУ на аппаратуру конкретного назначения);

ж) испытание на прочность при транспортировании (пункт 14 таблицы 4 ГОСТ 16019).

7.3.3 Требования по устойчивости к климатическим и механическим воздействиям к ретрансляторам группы С2 должны устанавливаться в Технических условиях на ретранслятор.

При этом должны предусматриваться следующие виды испытаний:

а) испытание на воздействие пониженной температуры (пункт 1 таблицы 4 ГОСТ 16019);

б) испытание на воздействие повышенной температуры (пункт 2 таблицы 4 ГОСТ 16019);

в) испытание на воздействие изменения температуры (пункт 3 таблицы 4 ГОСТ 16019);

г) испытание на воздействие синусоидальной вибрации (пункт 4 таблицы 4 ГОСТ 16019) (испытание проводят, если это оговорено в ТУ на аппаратуру конкретного назначения);

д) испытание на воздействие механических ударов (пункт 5 таблицы 4 ГОСТ 16019) (испытание проводят, если это оговорено в ТУ на аппаратуру конкретного назначения);

е) испытание на воздействие пониженного атмосферного давления (пункт 6 таблицы 4 ГОСТ 16019) (испытание проводят, если это оговорено в ТУ на аппаратуру конкретного назначения);

ж) испытание на воздействие влажности при повышенной температуре в постоянном режиме (пункт 7 таблицы 4 ГОСТ 16019);

з) испытание на воздействие соляного тумана в циклическом режиме (пункт 8 таблицы 4 ГОСТ 16019) (испытание проводят, если это оговорено в ТУ на аппаратуру конкретного назначения);

и) испытание на воздействие песка и пыли (пункт 9 таблицы 4 ГОСТ 16019) (испытание проводят, если это оговорено в ТУ на аппаратуру конкретного назначения);

к) испытание на воздействие инея и росы (пункт 9 таблицы 13 ГОСТ 16019) (испытание проводят, если это оговорено в ТУ на аппаратуру конкретного назначения);

л) испытание на прочность при транспортировании (пункт 14 таблицы 4 ГОСТ 16019).

7.3.4 После каждого испытания, а также в ходе испытаний в случаях, предусмотренных методикой испытаний, должны контролироваться следующие параметры ретранслятора:

- мощность передатчика (пункт 7.1.2);

- усиление внеполосных сигналов (пункт 7.1.3);

- ослабление продуктов интермодуляции (пункт 7.1.6).

7.4 Требования к электропитанию

7.4.1 Ретранслятор должен обеспечивать работоспособность при изменении напряжения питания в пределах от +10 до минус 15 % относительно напряжения сети переменного тока 220 В.

7.4.2 Испытания в условиях повышенного и пониженного напряжения питания выполняются в рамках испытаний, проводимых в экстремальных условиях.

7.5 Требования безопасности

7.5.1 В ретрансляторе должны быть предусмотрены меры по защите от поражения электрически током согласно пункту 6.14 ГОСТ Р 50829.

7.5.2. Значения уровней плотности потока энергии, создаваемых ретранслятором в месте его установки, должны находиться в пределах, установленных [8].

7.5.3 Электрическая изоляция цепи питания ретранслятора должна соответствовать требованиям пункта 6.20 ГОСТ Р 50829.

7.5.4 В ретрансляторе должно быть предусмотрено заземление доступных частей путём введения клемм защитного заземления, зажимов. Доступные проводящие детали должны быть надёжно заземлены (пункт 6.2.1 ГОСТ Р 50829). Величина сопротивления между клеммой защитного заземления и любой металлической нетоковедущей частью оборудования, доступной для прикосновения, не должна превышать 0,1 Ом (пункт 3.3.7 ГОСТ 12.2.007.0).

7.5.5 Должна быть исключена возможность воспламенения оборудования при случайном замыкании в цепи питания и при неправильном включении полярности питания (пункт 13.3 ГОСТ Р 50829).

8 Технические требования к оборудованию управления и коммутации при его использовании в составе системы транкинговой подвижной связи стандарта TETRA на ведомственных сетях связи и сетях связи общего пользования Российской Федерации

8.1 Режим работы системы

Оборудование управления и коммутации (SwMI) должно поддерживать режим V+D с коммутацией каналов.

Распределение радиоресурса режима с коммутацией каналов должно осуществляться либо непосредственно оборудованием управления и коммутации, либо на централизованной основе центром эксплуатации и технического обслуживания (ЦТЭ), либо любым иным элементом, входящим в состав системы и реализующим указанные функции.

8.2 Емкость системы, обслуживаемая нагрузка, качественные показатели

Требования настоящего раздела распространяются на абонентов сети ТПС, имеющих выход на ТфОП, а также на оборудование SwMI и его элементы, обеспечивающие взаимодействие с ТфОП.

8.2.1 Емкость SwMI должна определяться уровнем включения в ТфОП (пункт 8.3 настоящего РД).

8.2.2 Оборудование SwMI должно быть рассчитано на работу при удельной (исходящей и входящей) интенсивности нагрузки в ЧНН от абонентской радиостанции - 0,02 Эрл. при средней длительности занятия 90 - 100 с.

8.2.3 Для подвижных абонентов должны обеспечиваться следующие нормы качества обслуживания вызовов (вероятность потерь по вызовам):

внутристанционное соединение - 0,05;

исходящее соединение - 0,05;

входящее соединение - 0,05.

8.3 Организация связи SwMI с ТфОП. Система нумерации. Типы соединений. Категории абонентских радиостанций

8.3.1 Подключение сети ТПС (транкинговой подвижной связи) к ТфОП должно осуществляться на местном уровне. В этом случае подключение должно осуществляться следующим образом:

- на правах районной АТС - при абонентской емкости до 100000 номеров [17];

- на правах узлового района районированной городской местной сети - при абонентской емкости свыше 100.000 номеров [18];

- на правах учрежденческо-производственной АТС (УПАТС) - при абонентской емкости менее 6.000 номеров [19].

8.3.2 Типы соединений

Оборудование SwMI должно обеспечивать осуществление следующих типов соединений:

- исходящих и входящих соединений между абонентами сети (индивидуальные вызовы);

- групповых вызовов (внутри сети ТПС);

- исходящих и входящих соединений с абонентами ТфОП;

- исходящих и входящих соединений с сетями передачи данных;

- исходящих и входящих соединений к ЦСИО;

- исходящих соединений к спецслужбам местных сетей ТфОП;

- исходящих и входящих соединений между абонентами сети ТПС и абонентами сетей СПС;

- исходящих и входящих автоматических/полуавтоматических междугородных, международных соединений.

8.3.3 Система нумерации для SwMI, с учетом уровня подключения сети, указанного в пункте 8.3.1, регламентируется в [20].

8.3.4 Оборудование SwMI должно поддерживать 15-значную международную систему нумерации, регламентируемую в [21].

8.3.5 Связь SwMI со спецслужбами и справочно-информационными службами

8.3.5.1 Оборудование SwMI должно обеспечивать взаимодействие с оборудованием экстренных, справочно-информационных и заказных спецслужб в соответствии с принятой на местных и междугородных телефонных сетях системой нумерации.

8.3.5.2 Нумерация вышеназванных спецслужб должна соответствовать [20].

8.3.5.3. Правила организации выхода на международные службы АМТС, МЦК, МНТС должны соответствовать [20].

8.3.6 Категории абонентских радиостанций

Абонентским радиостанциям (АС), подключаемым к SwMI, должны присваиваться категории в соответствии с [18].

8.4 Система сигнализации при взаимодействии с ТфОП. Типы и параметры соединительных линий

8.4.1 Линейные сигналы и сигналы управления. Основные способы передачи

8.4.1.1 При подключении оборудования сети ТПС к ТфОП, основными способами передачи линейных сигналов по заказно-соединительным линиям (ЗСЛ) и по соединительным линиям междугородным (СЛМ) для SwMI должны являться следующие способы передачи, организованные на базе цифровых ИКМ-каналов со скоростью передачи 2048 кбит/с:

- двоичный код по общему каналу сигнализации (ОКС № 7);

- по двум выделенным сигнальным каналам (ВСК).

8.4.1.2 При подключении оборудования сети ТПС к ТфОП, основными способами передачи линейных сигналов по соединительным линиям (СЛ) для SwMI должны являться следующие способы передачи, организованные на базе цифровых ИКМ-каналов со скоростью передачи 2048 кбит/с:

- двоичный код по общему каналу сигнализации (ОКС № 7);

- по двум выделенным сигнальным каналам (ВСК).

Примечания к пунктам 8.4.1.1, 8.4.1.2

1 Условия подключения трактов ИКМ и требования к оборудованию регламентируются ГОСТ 26886 и [22 - 25].

2 При передаче линейных сигналов по ОКС № 7 реализация ОКС № 7 должна соответствовать спецификациям [26, 27].

3 Состав линейных сигналов, передаваемых по двум ВСК, приведен в [28].

8.4.1.3 При подключении оборудования сети ТПС к ТфОП, основными способами передачи сигналов управления по заказно-соединительным линиям (ЗСЛ) и по соединительным линиям междугородным (СЛМ) для SwMI должны являться следующие способы передачи, организованные на базе цифровых ИКМ-каналов со скоростью передачи 2048 кбит/с:

- двоичный код по общему каналу сигнализации (ОКС № 7);

- многочастотный код методами «импульсный пакет», «безинтервальный пакет» (при передаче информации АОН);

- многочастотный код по методу «импульсный челнок»;

- декадный код по выделенным сигнальным каналам.

8.4.1.4 При подключении оборудования сети ТПС к ТфОП, основными способами передачи сигналов управления по соединительным линиям (СЛ) для SwMI должны являться следующие способы передачи, организованные на базе цифровых ИКМ-каналов со скоростью передачи 2048 кбит/с:

- двоичный код по общему каналу сигнализации (OKC № 7);

- многочастотный код методами «импульсный челнок», «безинтервальный пакет» (при передаче информации АОН);

- декадный код по выделенным сигнальным каналам.

Примечания к пунктам 8.4.1.3, 8.4.1.4

1 Условия подключения трактов ИКМ и требования к оборудованию регламентируются ГОСТ 26886 и [22 - 25].

2 При передаче сигналов управления по ОКС № 7, реализация ОКС № 7 должна соответствовать спецификациям [26, 27].

3 Условия приема и передачи кода многочастотной сигнализации приведены в [28].

4 Многочастотный код методом «импульсный пакет» используется при исходящей связи к АМТС.

5 Многочастотный код методом «безинтервальный пакет» используется при исходящей связи к АМТС и при местной связи при выходе на платные и бесплатные службы, на другие АТС.

6 Многочастотный код по методу «импульсный челнок» используется при местной связи, при входящей связи по СЛМ.

7 Передача декадного кода по ВСК используется при исходящей связи к АМТС и при местной связи.

8.4.2 Подключение оборудования сети ТПС на правах УПАТС, при емкости менее 6000 абонентских радиостанций, может быть организовано по доступу на первичной скорости ЦСИО (30B+D). При этом, требования к интерфейсам и системе сигнализации должны соответствовать требованиям [29].

8.4.3 Подключение оборудования сети ТПС на правах УПАТС, при емкости менее 1000 абонентских радиостанций, может быть организовано по базовому доступу ЦСИО (2B+D). При этом, требования к интерфейсам и системе сигнализации должны соответствовать требованиям [29].

8.5 Принципы отбоя

8.5.1 При организации связи сети ТПС с ТфОП, для обеспечения разъединения, должна использоваться система одностороннего отбоя.

При одностороннем отбое освобождение приборов, участвующих в соединении, должно происходить после отбоя со стороны любого из абонентов.

Требования к принципам одностороннего отбоя регламентируются в [28].

8.5.2 В случае входящего междугородного соединения при организации связи от АМТС по СЛМ, входящий междугородный канал должен освобождаться только по сигналу РАЗЪЕДИНЕНИЕ (освобождение под контролем АМТС). Если в течение 5 минут после передачи сигнала ОТБОЙ АБОНЕНТА Б не будет получен сигнал РАЗЪЕДИНЕНИЕ, то данная СЛМ может быть освобождена.

8.5.3 Должно обеспечиваться принудительное разъединение приборов разговорного тракта в предответном состоянии со стороны исходящей станции по выдержке времени 10 - 20 мин. с возможностью изменения этой выдержки.

8.5.4 Должен допускаться переход приборов разговорного тракта в предответное состояние с посылкой вызывающему абоненту зуммерного сигнала ЗАНЯТО после отбоя вызываемого абонента.

8.5.5 При работе с АТС, не имеющими аппаратуры АОН или иных средств для выявления злонамеренных вызовов, должна быть предусмотрена возможность перехода к работе с удержанием соединения до отбоя вызываемого абонента (система двустороннего отбоя) программными средствами.

При двустороннем отбое после отбоя со стороны вызывающего абонента, должно происходить удержание приборов разговорного тракта, до тех пор, пока не произойдет отбой со стороны вызываемого абонента. Для освобождения приборов разговорного тракта отбой должен произвести вызываемый абонент. Злонамеренный вызов должен отслеживаться в течение 20 мин.

Приборы разговорного тракта SwMI должны обеспечивать совместную работу с приборами, работающими как по односторонней системе отбоя, так и по двусторонней системе.

8.6 Акустические сигналы. Фразы автоинформатора

8.6.1 Информационные сигналы о состоянии соединения должны передаваться в виде акустических сигналов тональной частоты и механического голоса автоинформатора.

Примечание - Перечень фраз механического голоса автоинформатора, поддерживаемых SwMI, должен устанавливаться в Технических условиях на конкретный тип оборудования SwMI.

8.6.2 SwMI должен принимать/передавать от/к станций и узлов местной сети следующие акустические сигналы тональной частоты: ЗАНЯТО, КОНТРОЛЬ ПОСЫЛКИ ВЫЗОВА, ЗАНЯТО ПРИ ПЕРЕГРУЗКЕ, УКАЗАТЕЛЬНЫЙ СИГНАЛ.

8.6.3 Параметры принимаемых/передаваемых информационных акустических сигналов должны соответствовать пункту 3 ГОСТ 28384.

8.7 Автоматическое определение категории и номера телефона вызывающего абонента (АОН)

8.7.1 SwMI должен обеспечивать возможность определения категории и номера вызывающего абонента (абонента «А») с передачей этой информации по мере необходимости на другие станции, АМТС, на спецслужбы, на бесплатные и платные справочно-информационные службы местной телефонной сети, на узлы заказно-соединительных линий (УЗСЛ) и на внутристанционное оборудование связи.

8.7.2. При установлении исходящих соединений SwMI должен обеспечивать предоставление номера вызывающего абонента (абонента «А»):

- при взаимодействии по ОКС № 7 (подсистема ISUP-R) в составе сообщения IAM;

- при взаимодействии по иным системам телефонной сигнализации в соответствии с требованиями, регламентируемыми в [17].

8.8 Требования к интерфейсу взаимодействия с сетями передачи данных

8.8.1 Подключение к сетям передачи данных общего пользования должно осуществляться по протоколам Х.25 или TCP/IP, в зависимости от технической возможности оборудования SwMI.

8.8.2 При взаимодействии с сетями передачи данных по протоколу TCP/IP, физический уровень, подуровень управления доступом к среде и сетевой уровень должны соответствовать [30].

8.8.3 При взаимодействии с сетями передачи данных по протоколу Х.25, в соответствии с рекомендацией МСЭ-Т, параметры интерфейсов должны соответствовать:

- в части требований к физическому уровню - разделу 4 ГОСТ 26886 и разделу 6 Рекомендации [22];

- в части требований к звеньевому уровню и пакетному уровню - приложению 1а [31].

8.9 Система синхронизации

8.9.1 Основным режимом системы синхронизации для оборудования SwMI должен быть режим принудительной синхронизации от станций и узлов более высокого уровня. В оборудование тактовой синхронизации SwMI должны входить два блока синхронизации, работающие синхронно. При этом, один блок должен быть активным, а другой находиться в горячем резерве.

8.9.2 Блоки синхронизации должны иметь возможность синхронизации SwMI не менее чем от трех тактовых сигналов 2048 кбит/с, выделяемых из трактов первичных групп 2048 кбит/с. В нормальных условиях для синхронизации используется основной синхросигнал. В случае его отказа, синхронизация SwMI автоматически переключается на следующий по приоритету синхросигнал и т.д.

Может быть предусмотрена возможность выбора сигналов синхронизации с терминала технического обслуживания и эксплуатации.

При возникновении аварийных состояний трактов ИКМ сигналы внешней синхронизации должны отключаться. При искажениях или пропадании используемого синхросигнала должно происходить переключение входов блоков синхронизации.

8.9.3 Для обеспечения надежности синхронизации в сети должны быть предусмотрены резервные ведущие генераторы и резервные пути передачи сигналов синхронизации.

8.9.4 Для передачи сигнала синхронизации должны использоваться соединительные линии ИКМ, отбираемые по минимуму ошибок и неисправностей.

8.9.5 В случае пропадания всех входящих синхросигналов SwMI должен переходить в автономный режим работы с запоминанием частоты синхросигнала.

8.9.6 При любых переключениях в блоке тактовой синхронизации на выходе SwMI не должен появляться скачок фазы более чем 61 нс.

8.9.7 Фазовые скачки, возникающие в выходных сигналах оборудования синхронизации SwMI за счет переключений на резерв, а также вследствие других причин, не должны выходить за пределы, регламентируемые соответствующими требованиями пункта 3.4 [32].

8.9.8 Аппаратура синхронизации SwMI должна иметь систему автоматизированного контроля и соответствующую сигнализацию.

8.9.9 По общим требованиям к хронированию, синхронизации и частности проскальзываний оборудование SwMI должно удовлетворять пункту 3 [32].

8.9.10 При работе SwMI в режиме синхронизации частотная зависимость функции передачи фазовых дрожаний и блужданий с входа на выход должна удовлетворять шаблону (рисунок 6 [33]).

8.10 Параметры станционного четырехполюсника

Параметры станционного четырехполюсника SwMI должны соответствовать [34].

8.11 Система учета стоимости

8.11.1 Система учета стоимости в SwMI должна быть предназначена:

- для сбора и хранения учетных данных с целью определения стоимости местных, зоновых, междугородных и международных исходящих и входящих состоявшихся автоматических телефонных разговоров и соединений для передачи неречевой информации;

- для определения стоимости предоставления услуги передачи данных (при ее наличии);

- для обеспечения ввода подробной учетной информации на промежуточное электронное запоминающее устройство или по каналу передачи данных в АСР.

Возможность учета стоимости должна обеспечиваться для всех абонентов SwMI.

В системе учета стоимости должны учитываться принципы и требования, приводимые в [35], [36], Рекомендациях МСЭ-Т серии Q.1000 [37].

8.11.2 Оборудование SwMI должно обеспечивать непрерывное накопление учетных данных, используемых для тарификации. Учетные данные должны храниться временно в SwMI, а затем, передаваться в автоматизированную систему расчетов (АСР), не входящую в состав оборудования SwMI. При этом используемая АСР должна иметь Сертификат соответствия Министерства Российской Федерации по связи и информатизации.

Время хранения должно задаваться программно в компьютере центра технической эксплуатации за временной период, определяемый непосредственно оператором.

Система учета стоимости должна позволять производить изменения категорий, видов учета и расширения диапазонов тарифов разговоров и дополнительных услуг, обеспечивать тарификацию новых видов дополнительных услуг.

Система учета должна обеспечивать возможность изменения используемых форм оплаты.

Система учета стоимости в SwMI должна позволять оператору системы использовать АСР с абонентами любой фирмы-производителя.

8.11.3 Для передачи учетных данных должны использоваться протоколы, упоминаемые в [38].

8.11.4 На все разговоры большой длительности, превышающие некоторый временной предел, например, один час, должна храниться промежуточная тарификационная запись.

8.11.5 Защита и хранение собранных учетных данных должны обеспечиваться за счет дублирования в компьютере центра технического обслуживания.

8.11.6 При наличии в сети оборудования передачи данных, в оборудовании SwMI должен осуществляться учет данных для начисления оплаты за предоставление услуги передачи данных.

Для начисления оплаты за эту услугу должны учитываться следующие данные:

- объем передаваемой информации;

- длительность соединения;

- время начала и окончания соединения;

- факт использования услуги;

- источник принимаемой информации;

- направление трафика;

- номер вызываемого абонента;

- номер вызывающего абонента.

8.12 Техническое обслуживание и эксплуатация

8.12.1 Нижеприведенные функции технического обслуживания и эксплуатации должны быть реализованы либо в системе технического обслуживания и эксплуатации SwMI, либо в центре технического обслуживания и эксплуатации (ЦТЭ) сети ТПС.

8.12.2 SwMI должна быть оснащена средствами, необходимыми для надежной эксплуатации самой подсистемы управления и коммутации, а также контроля работоспособности сопряженного с ней оборудования элементов системы ТПС, управления их функциями, при соответствующем качестве обслуживания, и выдачей соответствующей информации обслуживающему персоналу.

8.12.3 Оборудование технического обслуживания и эксплуатации должно выполнять следующие функции:

- контроля функционирования оборудования;

- аварийной сигнализации;

- восстановления работоспособности.

- тестирования и диагностики.

8.12.4 Контроль функционирования оборудования должен осуществляться постоянно или периодически (по расписанию и/или по команде техперсонала с компьютера ЦТЭ).

Автоматический контроль должен осуществляться распределено, т.е. модули оборудования должны самостоятельно обнаруживать повреждения и ошибки.

8.12.5 Функцией аварийной сигнализации должна являться фиксация аварийных сигналов со всех функциональных блоков, удаленных модулей, систем передачи, источников электропитания и их обработка, на основании чего вырабатываются аварийные сообщения. Обслуживающий персонал должен оповещаться об авариях путем вывода аварийных сообщений на принтер, дисплей или системную панель аварийных сигналов.

8.12.6 Аварийные сообщения должны быть разделены на категории по срочности восстановления:

- критические аварии (неисправность, которая вызывает значительное ухудшение обслуживания и требует немедленного вмешательства);

- главные аварии (серьезные неисправности на станции, которые требуют вмешательства в течение дня);

- незначительные аварии (неисправности, которые не требуют немедленного вмешательства и могут быть устранены в период наименьшей нагрузки).

8.12.7 Система восстановления должна контролировать состояния функциональных блоков и управлять перезапусками блоков для предотвращения влияния неисправности.

Обеспечение надежности должно быть реализовано путем резервирования групповых и управляющих блоков.

8.12.8 Функция диагностики должна обеспечивать обнаружение и локализацию неисправного оборудования. Глубина диагностики должна составлять: с точностью до 1 платы - 80 % неисправностей, с точностью до 2 плат - 85 % неисправностей, 3 и более плат - 90 % неисправностей. В остальных случаях требуется вмешательство обслуживающего персонала. Неисправность оборудования, обнаруженная системой контроля и диагностики, должна выводиться на средства регистрации.

8.12.9 ЦТЭ должна иметь возможность технического обслуживания и эксплуатации подсистемой базовых станций и вывод данных о соединениях обслуживающему персоналу (трассировок).

8.12.10 Конкретный перечень функций, выполняемых ЦТЭ, а также перечень интерфейсов взаимодействия ЦТЭ с элементами сети ТПС, должен устанавливаться в Технических условиях на оборудование технического обслуживания и эксплуатации SwMI или ЦТЭ, входящего в состав сети ТПС.

8.13 Услуги дополнительных видов обслуживания

8.13.1 Комплекс программно-аппаратных средств оборудования SwMI может предоставлять всем абонентам сети ТПС следующие услуги ДВО:

а) группа услуг по идентификации вызываемого (вызывающего) абонента:

- идентификация номера вызывающего абонента (SS-CLIP);

- идентификация номера вызываемого абонента (SS-COLP);

- запрет на предоставление собственного номера вызываемому абоненту при использовании SS-CLIP (SS-CLIR);

- запрет на предоставление собственного номера вызывающему абоненту при использовании SS-COLP (SS-COLR);

б) услуга уведомления о вызове для абонента, который в момент вызова был занят, не отвечал или был недоступен, в виде номера (ITSI) вызывающего абонента и/или иной информации (SS-CR - Call Report);

в) услуга идентификации абонента, осуществляющего передачу, а также индикацию его условного имени и уровня приоритета доступа (SS-TPI - Talking Party Identification);

г) группа услуг по переадресации входящего вызова:

- безусловная переадресация вызова (SS-CFU);

- переадресация вызова при занятости вызываемого абонента сети подвижной связи (SS-CFB);

- переадресация вызова при отсутствии ответа вызываемого абонента в течение заданного времени (SS-CFNRy);

- переадресация вызова при недоступности вызываемого абонента (SS-CFNRc);

- переадресация коротких сообщений службы SDS на ITSI, GTSI;

д) услуга переадресации вызова по номеру в списке поиска, определённому абонентом сети (SS-SLN - Search List Number);

е) услуга разрешения вызова диспетчером (SS-CAD - Call Authorized by Dispatcher);

ж) услуга вызова по сокращённому номеру (SS-SNA - Short Number Addressing);

з) услуга выбора зоны обслуживания для осуществления вызова (SS-AS - Area Selection);

и) услуга приоритетного доступа абонента к радиоресурсу при перегрузках при исходящих вызовах (SS-AP - Access Priority);

к) услуга приоритетного доступа SwMI к радиоресурсу при входящих вызовах (SS-PA - Priority Access);

л) услуга вызова с ожиданием (SS-CW);

м) услуга удержания вызова (SS-HOLD);

н) услуга установления соединения по мере освобождения вызываемого абонента (SS-CCBS);

о) услуга присоединения к групповому вызову после его установления (SS-LE - Late Entry)

п) услуга приоритетного доступа к радиоресурсу путём разъединения вызовов с более низким приоритетом (SS-PPC - Pre-emptive Priority Call);

р) услуга подключения дополнительного абонента к текущему вызову (SS-IC - Include Call);

с) услуга ограничения исходящих вызовов (SS-BOC);

т) услуга ограничения входящих вызовов (SS-BIC);

у) услуга мониторинга вызовов между определёнными абонентами (SS-DL - Discreet Listening);

ф) услуга мониторинга окружающей обстановки с использованием абонентской радиостанции (SS-AL - Ambience Listening);

х) услуга назначения, удаления и опроса групповых идентификаторов (SS-DGNA - Dynamic Group Number Assignment);

ц) услуга установления соединения по мере получения ответа абонента (SS-CCNR - Call Completion on No Reply);

ч) услуга защиты соединения от разъединения по инициативе сети (SS-CRT - Call ReTention).

8.13.2 Перечень услуг ДВО, поддерживаемых SwMI, должен устанавливаться в Технических условиях на конкретный тип оборудования SwMI.

8.14 Требования к электропитанию

8.14.1. Оборудование SwMI должно обеспечивать работоспособность при изменении напряжения питания в пределах ±10 % [39] относительно номинального значения, установленного в Технических условиях.

8.14.2 В оборудовании должно быть предусмотрено резервирование основного источника питания [39]. При использовании в качестве резервного источника электропитания аккумуляторных батарей, их тип и диапазон значений напряжения питания должны устанавливаться в Технических условиях.

8.14.3 Устойчивость оборудования к динамическим изменениям напряжения электропитания должна соответствовать разделу 5 ГОСТ Р 51317.4.11.

8.15 Требования устойчивости к климатическим и механическим воздействиям

8.15.1 Оборудование должно быть устойчиво к механическим внешним воздействующим факторам при эксплуатации, предусмотренным разделом 4, приложение Б ГОСТ 30631 (группа механического исполнения М1).

8.15.2. Оборудование должно быть устойчиво к климатическим внешним воздействующим факторам при эксплуатации, предусмотренным ГОСТ 15150.

8.16 Требования к электромагнитной совместимости

8.16.1 Напряжение радиопомех на сетевых зажимах блоков питания в полосе частот от 0,15 до 30 МГц не должно превышать значений, приведённых в пункте 5.1 ГОСТ Р 51318.22.

8.16.2 Напряжение радиопомех на портах связи в полосе частот от 0,15 до 30 МГц не должно превышать значений, приведённых в пункте 5.2 ГОСТ Р 51318.22.

8.16.3 Квазипиковые значения напряжённости поля радиопомех, создаваемых оборудованием в диапазоне частот от 30 до 1000 МГц, измеренные на расстоянии 10 м, не должны превышать значений, приведённых в пункте 6 ГОСТ Р 51318.22.

8.16.4 Устойчивость оборудования к радиочастотным электромагнитным полям в диапазоне частот от 80 до 1000 МГц должна соответствовать разделу 5.1 ГОСТ Р 51317.4.3 (степень жесткости 2, критерий качества функционирования - не хуже А).

8.16.5 Устойчивость оборудования к кондуктивным помехам, наведённым электромагнитным полем, в диапазоне частот от 0,15 до 80 МГц должна соответствовать разделу 5 ГОСТ Р 51317.4.6 (степень жесткости 2, критерий качества функционирования - не хуже А).

8.16.6 Устойчивость оборудования к электростатическим разрядам должна соответствовать разделу 5 ГОСТ Р 51317.4.2 (степень жёсткости - 2, критерий качества функционирования - не хуже В).

8.16.7 Устойчивость оборудования к микросекундным импульсным помехам большой энергии должна соответствовать разделу 5 ГОСТ Р 51317.4.5.

8.16.8 Устойчивость оборудования к наносекундным импульсным помехам должна соответствовать разделу 5 ГОСТ Р 51317.4.4.

8.16.9 Устойчивость оборудования к перенапряжениям и избыточным токам должна соответствовать разделу 4 Рекомендации [40].

8.17 Требования безопасности

8.17.1 Значения уровней плотности потока энергии, создаваемых оборудованием в месте его установки, должны находиться в пределах, установленных [8].

8.17.2 Электрическая изоляция цепи питания должна соответствовать требованиям пункта 6.20 ГОСТ Р 50829.

8.17.3 В оборудовании должно быть предусмотрено заземление доступных частей путём введения клемм защитного заземления, зажимов. Доступные проводящие детали должны быть надёжно заземлены (пункт 6.2.1 ГОСТ Р 50829).

Величина сопротивления между клеммой защитного заземления и любой металлической нетоковедущей частью оборудования, доступной для прикосновения, не должна превышать 0,1 Ом (пункт 3.3.7 ГОСТ 12.2.007.0).

8.17.4 Должна быть исключена возможность воспламенения оборудования при случайном замыкании в цепи питания и при неправильном включении полярности питания (пункт 13.3 ГОСТ Р 50829).

8.18 Требования к СОРМ

Требования к системе оперативно-розыскных мероприятий должны устанавливаться в соответствии с Требованиями [41].

Приложение А

(справочное)

Библиография

[1] EN 300 392-7 (v. 2.1.1 2001-02) Terrestrial Trunked Radio (TETRA); Voice plus Data (V+D); Part 7: Security

[2] ETS 300 396-3 (1998-03) Terrestrial Trunked Radio (TETRA); Technical requirements for Direct Mode Operation (DMO); Part 3: Mobile Station to Mobile Station (MS-MS) Air Interface (AI) protocol

[3] ETSI TS 100 392-15 (v.1.1.1 2000-10) Terrestrial Trunked Radio (TETRA); Voice plus Data (V+D); Part 15: TETRA frequency band, duplex spacings and channel numbering

[4] ETSI TS 100 392-2 (v.2.3.1, 2000-11) Terrestrial Trunked Radio (TETRA); Voice plus Data (V+D); Part 2: Air Interface

[5] ETS 300 396-2 (1998-03) Terrestrial Trunked Radio (TETRA); Technical requirements for Direct Mode Operation (DMO); Part 2: Radio aspects

[6] ETSI EN 303 035-1 (v.1.1.1, 2001-06) Terrestrial Trunked Radio (TETRA); Harmonized EN for TETRA equipment covering essential requirements under article 3.2 of the R&TTE Directive; Part 1 Voice plus Data (V+D)

[7] ETSI TS 100 394-1 (v.2.3.1, 2000-12) Terrestrial Trunked Radio (TETRA); Conformance testing specification; Part 1: Radio

[8] СанПиН 2.2.4/2.1.8.055-96 Электромагнитные излучения радиочастотного диапазона (ЭМИ РЧ). Санитарные правила и нормы. М., Госкомсанэпиднадзор России, 1996 г.

[9] ETS 300 396-5 (2000-01) Terrestrial Trunked Radio (TETRA); Technical requirements for Direct Mode Operation (DMO); Part 5: Gateway air Interface

[10] ETSI EN 303 035-2 (v.1.1.1, 2001-06) Terrestrial Trunked Radio (TETRA); Harmonized EN for TETRA equipment covering essential requirements under article 3.2 of the R&TTE Directive; Part 2: Direct Mode Operation (DMO)

[11] TS 100 396-4 (v.1.2.1 2000-10) Terrestrial Trunked Radio (TETRA); Technical requirements for Direct Mode Operation (DMO); Part 4: Type 1 repeater air interface

[12] TS 100 396-7 (v.1.2.1 2000-10) Terrestrial Trunked Radio (TETRA); Technical requirements for Direct Mode Operation (DMO); Part 7: Type 2 repeater air interface

[13] EN 300 396-4 (v.1.2.1 2000-12) Terrestrial Trunked Radio (TETRA); Technical requirements for Direct Mode Operation (DMO); Part 4: Repeater type 1 air interface

[14] EN 300 394-4-11 (v.1.1.1 2000-01) Terrestrial Trunked Radio (TETRA); Conformance testing specification; Part 4: Protocol testing specification for Direct Mode Operation (DMO); Sub-part 11: Test Suite Structure and Test Purposes (TSS&TP) for Mobile Station Repeater type 2

[15] EN 300 396-7 (v.1.2.1 2000-12) Terrestrial Trunked Radio (TETRA); Technical requirements for Direct Mode Operation (DMO); Part 7: Repeater type 2 air Interface

[16] ETSI TS 101 789-1 (v.1.1.1, 2000-05) Terrestrial Trunked Radio (TETRA); TMO Repeaters; Part 1: Requirements, test methods and limits

[17] Общие технические требования к городским АТС. Утверждены Минсвязи России 28.03.1997 г.

[18] Руководящий документ по общегосударственной системе автоматизированной телефонной связи (ОГСТФС). Утвержден 31.11.1986 г.

[19] Руководящий документ «Общие принципы включения УПАТС на телефонных сетях общего пользования». Утверждены Минсвязи России 17.01.1996 г.

[20] Система и план нумерации на сетях связи стран 7-ой зоны всемирной нумерации. Утверждены ГКЭС 30.09.1998 г.

[21] Положение о порядке введения 15-значной международной нумерации времени Т. Утверждено ГКЭС при Минсвязи России 28.08.1996 г.

[22] ITU-T Rec.G.703 General aspects of digital transmission systems. Terminal equipment. Physical characteristics of hierarchical digital interfaces

[23] ITU-T Rec.G.704 General aspects of digital transmission systems. Synchronous frame structures used at 1544, 6312, 2048, 8488 and 44736 kbit/s hierarchical levels

[24] ITU-T Rec.G.732 General aspects of digital transmission systems. Terminal equipment. Characteristics of primary PCM multiplex equipment operating at 2048 kbit/s

[25] ITU-T Rec.G.823 Digital Networks. The Control of jitter and wander within digital networks which are based on the 2048 kbit/s hierarchy

[26] Техническая спецификация ОКС № 7. Книга 1. Подсистема передачи сообщений (МТР) для национальной сети России (МТР-2000). Утверждена Минсвязи России 26.03.2001 г.

[27] Техническая спецификация ОКС № 7. Книга 4. Подсистема пользователя ЦСИС (ISUP-R) для национальной сети России. Утверждена Минсвязи России 26.03.2001 г.

[28] Руководящий документ РД 45.223-2001 Система сигнализации. Утвержден Минсвязи России 20.12.2001 г.

[29] Общие технические требования (ОТТ) к цифровым АТС с функциями ЦСИО (ISDN). Редакция 2. Утверждены Госкомсвязи России 18.03.1998 г.

[30] Технические требования к аппаратуре связи, реализующей функции маршрутизации пакетов протокола межсетевого обмена (аппаратура маршрутизации пакетов IP). Утверждены Госкомсвязи России 06.08.1998 г.

[31] Технические требования к аппаратуре, работающей в сетях данных общего пользования. Утверждены Министерством связи России 20.11.1996 г.

[32] ITU-T Rec.Q.541 Digital exchanges. Digital exchanges design objectives - General

[33] ITU-T Rec.Q.551 Digital exchanges. Transmission characteristics of digital exchanges

[34] ITU-T Rec.Q.554 Digital exchanges. Transmission characteristics at digital interfaces of digital exchanges

[35] ITU-T Rec.D93 Charging and accounting in international telecommunication services. Charging and accounting in the international land mobile telephone service (provided via cellular radio systems)

[36] ITU-T Rec.230 Telephone network and ISDN. Operation, numbering, routing and mobile service. Chargeable durations of calls

[37] Q.1000 Structure of Q.1000-series. Recommendations for public land mobile networks

[38] Общие технические требования. Автоматизированные системы расчетов с пользователями за услуги электросвязи. Утверждены Госкомсвязи России 16.06.1998 г.

[39] Общие технические требования на электропитающие установки (централизованные и децентрализованные) и оборудование, входящее в их состав. Утверждены Минсвязи России 1994 г.

[40] МСЭ-Т. Рекомендация К.20 Стойкость коммутационного оборудования электросвязи к перенапряжениям и избыточным токам

[41] Общие технические требования к системе оперативно-розыскных мероприятий в транкинговых системах подвижной радиотелефонной связи (ОТТ СОРМ ТСПРС). Утверждены Гостелеком России 09.07.99 г.