Главная // Актуальные документы // Актуальные документы (обновление 2025.03.29-2025.04.26) // ГОСТ (Государственный стандарт)СПРАВКА
Источник публикации
В данном виде документ опубликован не был.
Первоначальный текст документа опубликован в издании
М.: Стандартинформ, 2016.
Информацию о публикации документов, создающих данную редакцию, см. в справке к этим документам.
Примечание к документу
Текст данного документа приведен с учетом
поправки, опубликованной в "ИУС", N 12, 2021.
Изменение N 1 вводится в действие на территории Российской Федерации
Приказом Росстандарта от 10.12.2024 N 1865-ст с 01.06.2025.
Название документа
"ГОСТ 20213-2015. Межгосударственный стандарт. Фермы железобетонные. Технические условия"
(введен в действие Приказом Росстандарта от 26.11.2015 N 1990-ст)
(ред. от 10.12.2024)
"ГОСТ 20213-2015. Межгосударственный стандарт. Фермы железобетонные. Технические условия"
(введен в действие Приказом Росстандарта от 26.11.2015 N 1990-ст)
(ред. от 10.12.2024)
агентства по техническому
регулированию и метрологии
от 26 ноября 2015 г. N 1990-ст
МЕЖГОСУДАРСТВЕННЫЙ СТАНДАРТ
ФЕРМЫ ЖЕЛЕЗОБЕТОННЫЕ
ТЕХНИЧЕСКИЕ УСЛОВИЯ
Reinforced concrete roof trusses. Specifications
ГОСТ 20213-2015
| | Список изменяющих документов Приказом Росстандарта от 10.12.2024 N 1865-ст) | |
Дата введения
1 января 2017 года
Цели, основные принципы и основной порядок проведения работ по межгосударственной стандартизации установлены
ГОСТ 1.0-92 "Межгосударственная система стандартизации. Основные положения" и
ГОСТ 1.2-2009 "Межгосударственная система стандартизации. Стандарты межгосударственные, правила и рекомендации по межгосударственной стандартизации. Правила разработки, принятия, применения, обновления и отмены"
1 РАЗРАБОТАН Акционерным обществом "Центральный научно-исследовательский и проектно-экспериментальный институт промышленных зданий и сооружений" (АО "ЦНИИПромзданий")
2 ВНЕСЕН Техническим комитетом по стандартизации ТК 465 "Строительство"
3 ПРИНЯТ Межгосударственным советом по стандартизации, метрологии и сертификации (протокол от 27 августа 2015 г. N 79-П)
За принятие проголосовали:
Краткое наименование страны по МК (ИСО 3166) 004-97 | Код страны по МК (ИСО 3166) 004-97 | Сокращенное наименование национального органа по стандартизации |
Армения | AM | Минэкономики Республики Армения |
Казахстан | KZ | Госстандарт Республики Казахстан |
Киргизия | KG | Кыргызстандарт |
Россия | RU | Росстандарт |
Таджикистан | TJ | Таджикстандарт |
Туркмения | TM | Главгосслужба "Туркменстандартлары" |
4
Приказом Федерального агентства по техническому регулированию и метрологии от 26 ноября 2015 г. N 1990-ст межгосударственный стандарт ГОСТ 20213-2015 введен в действие в качестве национального стандарта Российской Федерации с 1 января 2017 г.
Информация об изменениях к настоящему стандарту публикуется в ежегодном информационном указателе "Национальные стандарты", а текст изменений и поправок - в ежемесячном информационном указателе "Национальные стандарты". В случае пересмотра (замены) или отмены настоящего стандарта соответствующее уведомление будет опубликовано в ежемесячном информационном указателе "Национальные стандарты". Соответствующая информация, уведомление и тексты размещаются также в информационной системе общего пользования - на официальном сайте Федерального агентства по техническому регулированию и метрологии в сети Интернет
1.1 Настоящий стандарт устанавливает технические требования, методы контроля и правила приемки, транспортирования и хранения стропильных и подстропильных железобетонных ферм (далее - фермы), изготовляемых из тяжелого бетона и легкого конструкционного бетона.
1.2 Фермы предназначаются для покрытий зданий и сооружений различного назначения с пролетами шириной 6, 9, 12, 15, 18 и 24 м.
(раздел 2 в ред.
Изменения N 1, введенного в действие Приказом Росстандарта от 10.12.2024 N 1865-ст)
В настоящем стандарте использованы нормативные ссылки на следующие межгосударственные стандарты:
ГОСТ 7473 Смеси бетонные. Технические условия
ГОСТ 8829 Изделия строительные железобетонные и бетонные заводского изготовления. Методы испытаний нагружением. Правила оценки прочности, жесткости и трещиностойкости
ГОСТ 10060 Бетоны. Методы определения морозостойкости
ГОСТ 10180 Бетоны. Методы определения прочности по контрольным образцам
ГОСТ 12730.0 Бетоны. Общие требования к методам определения плотности, влажности, водопоглощения, пористости и водонепроницаемости
ГОСТ 13015 Изделия бетонные и железобетонные для строительства. Общие технические требования. Правила приемки, маркировки, транспортирования и хранения
ГОСТ 14098 Соединения сварные арматуры и закладных изделий железобетонных конструкций. Типы, конструкции и размеры
ГОСТ 16504 Система государственных испытаний продукции. Испытания и контроль качества продукции. Основные термины и определения
ГОСТ 17623 Бетоны. Радиоизотопный метод определения средней плотности
ГОСТ 17624 Бетоны. Ультразвуковой метод определения прочности
ГОСТ 17625 Конструкции и изделия железобетонные. Радиационный метод определения толщины защитного слоя бетона, размеров и расположения арматуры
ГОСТ 18105 Бетоны. Правила контроля и оценки прочности
ГОСТ 22362 Конструкции железобетонные. Методы измерения силы натяжения арматуры
ГОСТ 22690 Бетоны. Определение прочности механическими методами неразрушающего контроля
ГОСТ 22904 Конструкции железобетонные. Магнитный метод определения толщины защитного слоя бетона и расположения арматуры
ГОСТ 23009 Конструкции и изделия бетонные и железобетонные сборные. Условные обозначения (марки)
ГОСТ 23279 Сетки арматурные сварные для железобетонных конструкций и изделий. Общие технические условия
ГОСТ 23858 Соединения сварные стыковые и тавровые арматуры железобетонных конструкций. Ультразвуковые методы контроля качества. Правила приемки
ГОСТ 24297 Верификация закупленной продукции. Организация проведения и методы контроля
ГОСТ 26134 Бетоны. Ультразвуковой метод определения морозостойкости
ГОСТ 26633 Бетоны тяжелые и мелкозернистые. Технические условия
ГОСТ 31384 Защита бетонных и железобетонных конструкций от коррозии. Общие технические требования
Примечание - При пользовании настоящим стандартом целесообразно проверить действие ссылочных стандартов и классификаторов на официальном интернет-сайте Межгосударственного совета по стандартизации, метрологии и сертификации (www.easc.by) или по указателям национальных стандартов, издаваемым в государствах, указанных в предисловии, или на официальных сайтах соответствующих национальных органов по стандартизации. Если на документ дана недатированная ссылка, то следует использовать документ, действующий на текущий момент, с учетом всех внесенных в него изменений. Если заменен ссылочный документ, на который дана датированная ссылка, то следует использовать указанную версию этого документа. Если после принятия настоящего стандарта в ссылочный документ, на который дана датированная ссылка, внесено изменение, затрагивающее положение, на которое дана ссылка, то это положение применяется без учета данного изменения. Если ссылочный документ отменен без замены, то положение, в котором дана ссылка на него, применяется в части, не затрагивающей эту ссылку.
В настоящем стандарте применены следующие термины с соответствующими определениями:
3.1 ферма стропильная: Несущая конструкция для покрытия больших пролетов, представляющая собой плоскую конструкцию из стержневых элементов.
3.2 ферма подстропильная: Несущая конструкция, предназначенная для опирания стропильных ферм в средних рядах колонн многопролетных зданий.
4.1 Типы, основные параметры и условные обозначения
(в ред.
Изменения N 1, введенного в действие Приказом Росстандарта от 10.12.2024 N 1865-ст)
4.1.1 Фермы следует изготовлять в соответствии с требованиями настоящего стандарта и технологической документации.
(п. 4.1.1 в ред.
Изменения N 1, введенного в действие Приказом Росстандарта от 10.12.2024 N 1865-ст)
4.1.2 Типы конструктивных решений стропильных ферм:
- раскосные сегментные для покрытий со скатной кровлей;
- безраскосные сегментные для покрытий со скатной и малоуклонной кровлей;
- безраскосные треугольные для покрытий со скатной кровлей;
- полигональные для покрытий с малоуклонной кровлей.
4.1.3 Типы конструктивных решений подстропильных ферм:
- раскосные для покрытий со скатной кровлей;
- безраскосные для покрытий с малоуклонной кровлей.
4.1.4 Форма и основные размеры наиболее часто применяемых ферм приведены в
приложении А.
4.1.5 Фермы длиной 8960 мм и более изготовляют предварительно напряженными, а длиной 5960 мм - с ненапрягаемой арматурой. Фермы длиной 8960 мм допускается изготовлять с ненапрягаемой арматурой.
4.1.6 Фермы применяют с учетом их предела огнестойкости, указанного в рабочих чертежах ферм.
4.1.7 Фермы обозначают марками в соответствии с требованиями
ГОСТ 23009.
Марка фермы состоит из буквенно-цифровых групп, разделенных дефисами.
Первая группа содержит обозначение типоразмера фермы: арабскую цифру, обозначающую порядковый номер типоразмера фермы (при необходимости), тип фермы и перекрываемый ею пролет в метрах (округленный до целого числа).
Тип стропильной фермы обозначают:
ФС - раскосная сегментная для покрытия со скатной кровлей;
ФБС - безраскосная сегментная для покрытия со скатной кровлей;
ФБМ - то же, для покрытия с малоуклонной кровлей;
ФТ - безраскосная треугольная для покрытия со скатной кровлей;
ФСП - полигональная для покрытия с малоуклонной кровлей.
Тип подстропильной фермы обозначают:
ФПС - для покрытия со скатной кровлей;
ФПМ - для покрытия с малоуклонной кровлей;
ФПН - то же, с предварительно напряженными стойками ферм.
Во второй группе указывают:
- порядковый номер фермы по несущей способности;
- класс напрягаемой арматуры (для предварительно напряженных ферм);
- вид бетона (для ферм, изготовляемых из легкого бетона).
В третьей группе, при необходимости, указывают дополнительные характеристики, отражающие особые условия применения ферм (стойкость к воздействию агрессивных газообразных сред, сейсмическим воздействиям), а также обозначение конструктивных особенностей ферм (наличие дополнительных закладных изделий, отверстий и др.).
Примеры условных обозначений (марки):
Ферма типоразмера 4ФС18, шестая по несущей способности, изготовленная из легкого конструкционного бетона, с напрягаемой арматурной сталью класса А800, с дополнительными закладными изделиями:
4ФС18-6А800Л-1.
То же, изготовленная из тяжелого бетона пониженной проницаемости (П) и предназначенная для применения в условиях воздействия среднеагрессивной газообразной среды:
4ФС18-6А800-П1.
Примечание - Допускается принимать обозначение марок ферм в соответствии с рабочими чертежами на эти фермы.
(п. 4.1.7 введен
Изменением N 1, введенным в действие Приказом Росстандарта от 10.12.2024 N 1865-ст)
4.2.1 Фермы должны удовлетворять установленным при проектировании конкретного объекта требованиям по прочности, жесткости, трещиностойкости. При этом предварительно напряженные фермы при испытании их нагружением в случаях, предусмотренных рабочими чертежами, должны выдерживать контрольные нагрузки.
4.2.2 Фермы должны удовлетворять требованиям
ГОСТ 13015:
- по показателям фактической прочности бетона (в проектном возрасте, передаточной и отпускной);
- по морозостойкости бетона, а для ферм, эксплуатируемых в условиях воздействия агрессивной газообразной среды, - также по водонепроницаемости бетона;
- по показателям средней плотности легкого бетона;
- по маркам сталей для арматурных и закладных изделий, в том числе для монтажных петель;
- по толщине защитного слоя бетона до арматуры;
- по защите от коррозии.
4.2.3 Несущая способность конкретной фермы зависит от класса арматуры и бетона и определяется при разработке проекта здания (сооружения).
(п. 4.2.3 в ред.
Изменения N 1, введенного в действие Приказом Росстандарта от 10.12.2024 N 1865-ст)
4.3 Требования к материалам
4.3.1 Фермы следует изготовлять из тяжелого бетона по
ГОСТ 26633 или легкого конструкционного бетона по
ГОСТ 25820 классов по прочности на сжатие, указанных в рабочих чертежах ферм.
Бетонные смеси для изготовления ферм должны соответствовать требованиям
ГОСТ 7473.
(абзац введен
Изменением N 1, введенным в действие Приказом Росстандарта от 10.12.2024 N 1865-ст)
4.3.2 Передачу усилий обжатия на бетон (отпуск натяжения арматуры) в предварительно напряженных фермах следует проводить после достижения бетоном требуемой передаточной прочности.
Нормируемая передаточная прочность бетона предварительно напряженных ферм должна соответствовать значению, приведенному в рабочих чертежах ферм, но принимается не менее 15 МПа и не менее 50% принятого класса бетона по прочности на сжатие.
4.3.3 Нормируемая отпускная прочность бетона предварительно напряженных ферм должна быть не ниже нормируемой передаточной прочности, а ферм с ненапрягаемой арматурой - не ниже 70% класса бетона по прочности на сжатие.
При поставке ферм в холодный период года нормируемая отпускная прочность бетона ферм может быть повышена до 90% класса бетона по прочности на сжатие, соответствующей его классу, согласно требованиям рабочих чертежей ферм.
Нормируемая отпускная прочность бетона должна соответствовать значению, указанному в рабочих чертежах на конкретное здание или сооружение и в заказе на изготовление ферм согласно требованиям
ГОСТ 13015.
4.3.4 Для ферм, эксплуатируемых при слабо- и среднеагрессивной степени воздействия газообразной среды, следует применять бетон, удовлетворяющий дополнительным требованиям, установленным в рабочих чертежах (согласно действующим нормативным документам) и указанным в заказе на изготовление ферм.
4.3.5 Арматуру и закладные детали необходимо изготавливать из классов и марок стали в соответствии с действующими нормативными документами, подтвержденных паспортами (сопровождающей документацией) на каждую партию стали.
Для армирования ферм следует применять арматурную сталь следующих видов и классов:
- в качестве напрягаемой арматуры:
- периодического профиля классов А600, А800, А1000, Вр1200 - Вр1600;
- канатную классов К1400 - К1900;
- в качестве ненапрягаемой арматуры:
- гладкую класса А240;
- периодического профиля классов А400, А500, А600, В500 и Вр500.
Примечание - В тексте стандарта не приводятся ссылки на конкретные нормативные документы на арматуру в связи с непрерывным совершенствованием технологии проката, в том числе арматурного профиля.
(п. 4.3.5 в ред.
Изменения N 1, введенного в действие Приказом Росстандарта от 10.12.2024 N 1865-ст)
4.3.6 Исключен с 01.06.2025. -
Изменение N 1, введенное в действие Приказом Росстандарта от 10.12.2024 N 1865-ст.
4.3.7 Соединения сварные арматуры и закладных изделий должны соответствовать требованиям
ГОСТ 14098.
(п. 4.3.7 в ред.
Изменения N 1, введенного в действие Приказом Росстандарта от 10.12.2024 N 1865-ст)
4.3.8 Значения напряжений в напрягаемой арматуре, контролируемые по окончании натяжения ее на упоры, а также допустимые предельные отклонения напряжений в напрягаемой арматуре должны соответствовать приведенным в рабочих чертежах.
4.3.9 Арматурные и закладные изделия должны иметь антикоррозионное покрытие, вид и техническая характеристика которого должны соответствовать установленным в рабочих чертежах согласно
ГОСТ 31384 и указанным в заказе на изготовление ферм.
(п. 4.3.9 введен
Изменением N 1, введенным в действие Приказом Росстандарта от 10.12.2024 N 1865-ст)
4.4 Требования к качеству поверхности и внешнему виду ферм
4.4.1 Форма и размеры арматурных и закладных изделий и их положение в фермах должны соответствовать указанным в рабочих чертежах или стандартах на эти фермы и требованиям
ГОСТ 23279 <*>.
(в ред.
Изменения N 1, введенного в действие Приказом Росстандарта от 10.12.2024 N 1865-ст)
--------------------------------
<*> В Российской Федерации действует
ГОСТ Р 57997-2017 "Арматурные и закладные изделия сварные, соединения сварные арматуры и закладных изделий железобетонных конструкций. Общие технические условия".
(сноска введена
Изменением N 1, введенным в действие Приказом Росстандарта от 10.12.2024 N 1865-ст)
4.4.2 Значения фактических отклонений геометрических параметров ферм не должны превышать предельных, указанных в таблице 1.
Размеры в миллиметрах
Вид геометрического параметра | Наименование геометрического параметра | Предельное отклонение |
Отклонение от линейного размера | Длина фермы: | |
- 5960 | +20, -10 |
- 8960, 11780, 11860, 11960, 14960 | +25, -15 |
- 17940, 17960, 23940, 23960 | +30, -20 |
Высота фермы в середине ее длины для ферм длиной: | |
- 5960, 8960 | +/- 8 |
- 11780, 11860, 11960, 14960 | +/- 10 |
- 17940, 17960, 23940, 23960 | +/- 12 |
Поперечное сечение элементов фермы | +/- 5 |
Положение закладных изделий: | |
- в плоскости фермы | 8 |
- из плоскости фермы | 5 |
Отклонение от прямолинейности фермы, установленной в рабочее положение, характеризуемое величиной наибольшего отклонения боковых граней поясов фермы от вертикальной плоскости для ферм длиной: | | |
- 5960 | - | 15 |
- 8960, 11780, 11860, 11960, 14960 | - | 20 |
- 17940, 17960, 23940, 23960 | - | 25 |
4.4.3 Требования к качеству поверхностей и внешнему виду ферм - по
ГОСТ 13015. При этом качество бетонных поверхностей ферм должно удовлетворять требованиям, установленным для категорий:
А6 - лицевых;
А7 - нелицевых, невидимых в условиях эксплуатации.
По согласованию с изготовителем требования к боковым поверхностям ферм могут быть повышены до категории А3.
4.4.4 В бетоне ферм, поставляемых потребителю, трещины не допускаются, за исключением:
- усадочных и других поверхностных технологических трещин, ширина которых не должна превышать 0,1 мм в предварительно напряженных фермах и 0,2 мм в фермах с ненапрягаемой арматурой;
- поперечных поверхностных трещин от усилий предварительного напряжения в верхней зоне опорных узлов и в сжатых элементах ферм, установленных в рабочее положение, шириной раскрытия не более 0,2 мм.
4.4.5 Концы напрягаемой арматуры не должны выступать за торцевые поверхности ферм более чем на 10 мм, и их следует защищать слоем цементно-песчаного раствора или антикоррозионным покрытием.
(п. 4.4.5 в ред.
Изменения N 1, введенного в действие Приказом Росстандарта от 10.12.2024 N 1865-ст)
4.5.1 Маркировку ферм проводят в соответствии с требованиями
ГОСТ 13015. Маркировочные надписи и знаки следует наносить на торцевую или боковую поверхность фермы на расстоянии не более 1 м от торца.
4.5.2 Исключен с 01.06.2025. -
Изменение N 1, введенное в действие Приказом Росстандарта от 10.12.2024 N 1865-ст.
5.1 Приемку и верификацию ферм проводят в соответствии с требованиями
ГОСТ 13015,
ГОСТ 24297 и настоящего стандарта.
(в ред.
Изменения N 1, введенного в действие Приказом Росстандарта от 10.12.2024 N 1865-ст)
5.2 Периодические испытания нагружением ферм для контроля их прочности, жесткости и трещиностойкости проводят перед началом массового изготовления ферм и в дальнейшем при внесении в них конструктивных изменений или при изменении технологии изготовления, а также в процессе серийного производства в соответствии с
ГОСТ 13015.
Периодические испытания ферм нагружением в случае внесения в них конструктивных изменений или при изменении технологии изготовления допускается не проводить по согласованию с проектной организацией - разработчиком рабочих чертежей ферм.
Если испытания нагружением не предусмотрены рабочими чертежами, приемку ферм по прочности, жесткости и трещиностойкости осуществляют по комплексу показателей, проверяемых в соответствии с требованиями
ГОСТ 13015 в процессе входного, операционного и приемочного контроля.
5.3 Фермы по показателям точности геометрических параметров (см.
таблицу 1), толщины защитного слоя бетона до арматуры, ширины раскрытия поверхностных трещин и категории бетонной поверхности следует принимать по результатам выборочного контроля.
5.4 Документ о качестве ферм, поставляемых потребителю, следует составлять по
ГОСТ 13015.
Дополнительно в документе о качестве ферм должны быть приведены марка бетона по морозостойкости, а для ферм, предназначенных для эксплуатации в условиях воздействия агрессивной газообразной среды, - марка бетона по водонепроницаемости (если эти показатели оговорены в заказе на изготовление ферм).
6.1 Испытания ферм и оценку их прочности, жесткости и трещиностойкости следует проводить в соответствии с требованиями
ГОСТ 8829,
ГОСТ 16504 и рабочих чертежей на эти фермы.
6.2 Прочность бетона ферм следует определять по
ГОСТ 10180 на серии образцов, изготовленных из бетонной смеси рабочего состава и хранившихся в условиях, установленных
ГОСТ 18105.
В случаях, когда вместо испытаний серии образцов используют методы неразрушающего контроля, фактическую передаточную и отпускную прочность бетона на сжатие определяют ультразвуковым методом по
ГОСТ 17624 или приборами механического действия по
ГОСТ 22690, а также другими методами, предусмотренными стандартами на методы испытания бетона.
6.3 Морозостойкость бетона следует определять по
ГОСТ 10060 или ультразвуковым методом по
ГОСТ 26134 на серии образцов, изготовленных из бетонной смеси рабочего состава.
6.4 Водонепроницаемость бетона ферм следует определять по
ГОСТ 12730.0 и
ГОСТ 12730.5 на серии образцов, изготовленных из бетонной смеси рабочего состава.
6.5 Показатели пористости уплотненной смеси легкого бетона следует определять по
ГОСТ 10181.
6.6 Среднюю плотность легкого бетона следует определять по
ГОСТ 12730.0 и
ГОСТ 12730.1 на серии образцов, изготовленных из бетонной смеси рабочего состава, или радиоизотопным методом по
ГОСТ 17623.
6.7 Методы контроля и испытаний сварных арматурных и закладных изделий следует принимать по
ГОСТ 14098,
ГОСТ 23858 <*>.
(в ред.
Изменения N 1, введенного в действие Приказом Росстандарта от 10.12.2024 N 1865-ст)
--------------------------------
<*> В Российской Федерации действует
ГОСТ Р 57997-2017 "Арматурные и закладные изделия сварные, соединения сварные арматуры и закладных изделий железобетонных конструкций. Общие технические условия".
(сноска введена
Изменением N 1, введенным в действие Приказом Росстандарта от 10.12.2024 N 1865-ст)
6.8 Силу натяжения арматуры, контролируемую по окончании натяжения, измеряют по
ГОСТ 22362.
6.9 Размеры ферм, отклонения от прямолинейности и плоскостности граней ферм, ширину раскрытия технологических трещин, размеры раковин, наплывов и околов бетона ферм следует определять методами, установленными в нормативных документах <*>.
(п. 6.9 в ред.
Изменения N 1, введенного в действие Приказом Росстандарта от 10.12.2024 N 1865-ст)
--------------------------------
<*> В Российской Федерации действуют
ГОСТ Р 58939-2020 "Система обеспечения точности геометрических параметров в строительстве. Правила выполнения измерений. Элементы заводского изготовления",
ГОСТ Р 58941-2020 "Система обеспечения точности геометрических параметров в строительстве. Правила выполнения измерений. Общие положения",
ГОСТ Р 58944-2020 "Система обеспечения точности геометрических параметров в строительстве. Функциональные допуски".
(сноска введена
Изменением N 1, введенным в действие Приказом Росстандарта от 10.12.2024 N 1865-ст)
6.10 Размеры и положение арматурных и закладных изделий, а также толщину защитного слоя бетона до арматуры следует определять по
ГОСТ 17625 и
ГОСТ 22904.
7 Транспортирование и хранение
7.1 Транспортировать и хранить фермы следует в соответствии с требованиями
ГОСТ 13015 и настоящего стандарта.
7.2 Фермы следует транспортировать и хранить в рабочем положении, установив на инвентарные подкладки. При установке ферм в кассетные стеллажи должна быть обеспечена их устойчивость, а также возможность захвата и подъема каждой фермы для погрузки и разгрузки. Фермы должны храниться рассортированными по типоразмерам и маркам.
(в ред.
Изменения N 1, введенного в действие Приказом Росстандарта от 10.12.2024 N 1865-ст)
7.3 Подкладки следует устанавливать в соответствии со схемами (рисунок 1), приведенными в рабочих чертежах ферм. Расстояние между рядами ферм устанавливают с учетом возможности захвата каждой фермы при погрузочно-разгрузочных работах.
Рисунок 1 - Складирование ферм
Толщина подкладок должна быть не менее 40 мм, ширина - не менее 150 мм, длина - на 100 мм больше ширины фермы в опорном сечении.
7.4 Монтаж стропильных ферм рекомендуется осуществлять в одном потоке с плитами покрытий, используя самоходные стреловые краны с гуськами или башенные краны (при возведении многоэтажных зданий).
Процесс поэлементного монтажа ферм включает: подготовительные работы; строповку; подъем и перемещение фермы к месту установки; установку в положение, близкое к проектному; выверку и закрепление изделия в проектном положении.
(п. 7.4 введен
Изменением N 1, введенным в действие Приказом Росстандарта от 10.12.2024 N 1865-ст)
7.5 Строповка ферм производится в двух или четырех точках, заданных проектом. Для строповки ферм рекомендуется использовать канатные двухветвевые стропы или траверсы с захватами, обеспечивающими дистанционную расстроповку.
(п. 7.5 введен
Изменением N 1, введенным в действие Приказом Росстандарта от 10.12.2024 N 1865-ст)
(раздел 8 введен
Изменением N 1, введенным в действие Приказом Росстандарта от 10.12.2024 N 1865-ст)
8.1 Изготовитель должен гарантировать соответствие поставляемых ферм требованиям настоящего стандарта при соблюдении потребителем правил транспортирования, условий применения и хранения, установленных стандартом.
8.2 При отгрузке ферм с отпускной прочностью бетона ниже прочности, соответствующей его классу по прочности на сжатие, изготовитель обязан гарантировать, что прочность бетона достигнет требуемой прочности в проектном возрасте при условии его твердения в нормальных условиях по
ГОСТ 10180.
(рекомендуемое)
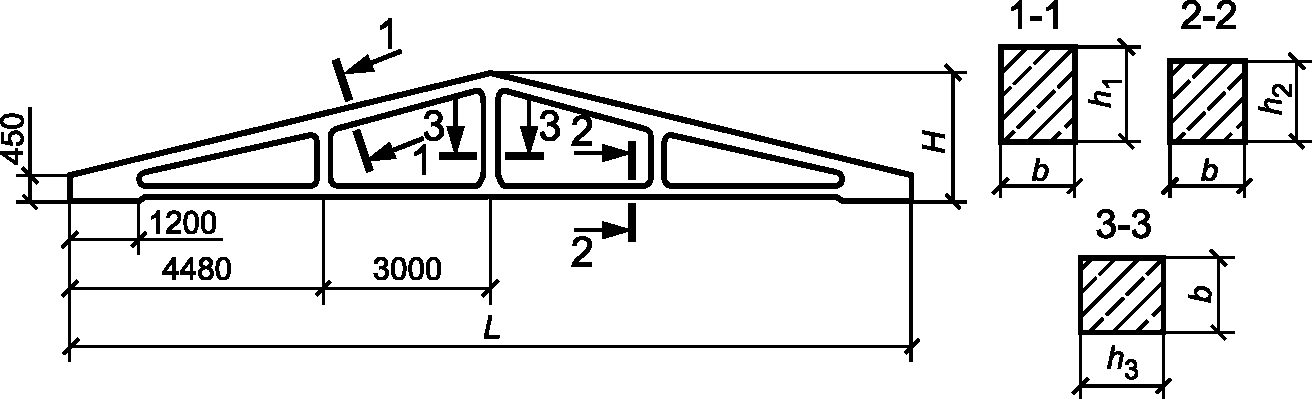
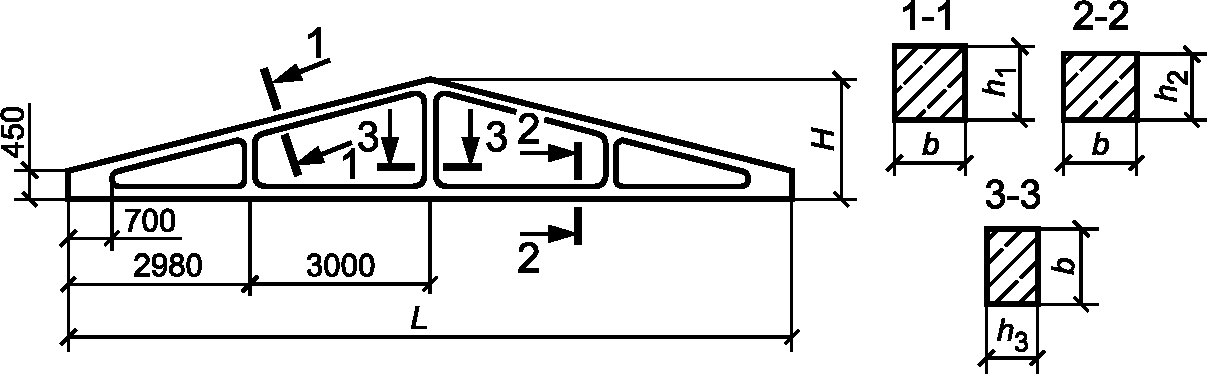
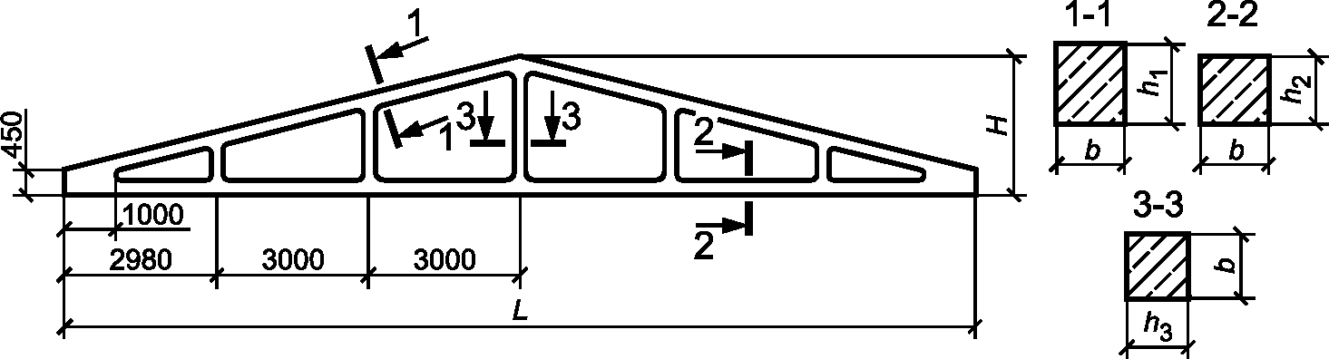
ФОРМА И ОСНОВНЫЕ РАЗМЕРЫ ФЕРМ
Таблица А.1
Эскиз изделия | Типоразмер изделия | Размеры, мм | Масса, т |
L | H | h1 | h2 | h3 | b |
Стропильные фермы серии 1.063.1-4 [1]Серия 1.063.1-4 Фермы стропильные железобетонные пролетом 6, 9, 12, 15 и 18 м для покрытий зданий с уклоном асбестоцементной кровли, 1993 г. Выпуски 1 - 5 |
| 1ФТ 6 | 5960 | 1195 | 140 | 120 | 120 | 200 | 1,00 |
| 1ФТ 9 | 8960 | 1570 | 160 | 140 | 120 | 200 | 1,80 |
| 1ФТ 12 | 11960 | 1945 | 220 | 180 | 150 | 200 | 2,70 |
| 1ФТ 15 | 14960 | 2320 | 280 | 240 | 250 | 220 | 5,30 |
| 1ФТ 18 | 17960 | 2695 | 260 | 220 | 200 | 220 | 5,60 |
2ФТ 18 | 280 | 240 | 250 | 220 | 6,40 |
Стропильные фермы серии 1.463.1-16 [2]Серия 1.463.1-16 Фермы стропильные железобетонные сегментные для покрытий одноэтажных производственных зданий пролетами 18 и 24 м (в опалубочных формах серии ПК-01-129/78), 1988 г. Выпуски 1 - 5 |
| 1ФС 18 | 17940 | 2630 | 180 | 180 | 120 | 200 | 4,50 ------ 3,60 |
2ФС 18 | 2640 | 180 | 200 | 120 | 250 | 6,00 ------ 4,80 |
3ФС 18 | 2725 | 250 | 300 | 150 | 250 | 7,80 ------ 6,20 |
4ФС 18 | 2735 | 250 | 200 | 150 | 300 | 9,40 ------ - |
| 1ФС 24 | 23940 | 3160 | 200 | 220 | 150 | 250 | 9,20 ------ 7,40 |
2ФС 24 | 3240 | 280 | 300 | 150 | 250 | 11,20 ------- 8,90 |
3ФС 24 | 3280 | 300 | 360 | 200 | 300 | 14,90 ------- 11,90 |
4ФС 24 | 3315 | 350 | 380 | 200 | 350 | 18,60 ------- 14,80 |
Стропильные фермы серии 1.463.1-3/87 [3]Серия 1.463.1-3/87 Фермы стропильные железобетонные безраскосные пролетом 18 и 24 м для покрытий одноэтажных зданий с малоуклонной и скатной кровлей, 1988 г. Выпуски 2 - 5 |
| 1ФБС 18 | 17940 | 3000 | 200 | 220 | 200 | 240 | 6,50 |
2ФБС 18 | 250 | 280 | 250 | 240 | 7,70 |
3ФБС 18 | 250 | 280 | 250 | 280 | 9,20 |
4ФБС 18 | 300 | 340 | 300 | 280 | 10,50 |
| 1ФБМ 18 | 17940 | 3000 | 200 | 220 | 200 | 240 | 6,90 |
2ФБМ 18 | 250 | 280 | 250 | 240 | 8,10 |
3ФБМ 18 | 250 | 280 | 250 | 280 | 9,80 |
4ФБМ 18 | 300 | 340 | 300 | 280 | 11,00 |
| 1ФБС 24 | 23940 | 3300 | 200 | 220 | 250 | 240 | 9,20 |
2ФБС 24 | 250 | 280 | 250 | 240 | 10,50 |
3ФБС 24 | 300 | 340 | 250 | 240 | 11,70 |
4ФБС 24 | 300 | 340 | 300 | 280 | 14,20 |
5ФБС 24 | 420 | 460 | 350 | 280 | 18,20 |
Примечание - Размер в скобках принять для ферм 5ФБМ 24. | 1ФБМ 24 | 23940 | 3300 | 200 | 220 | 250 | 240 | 9,80 |
2ФБМ 24 | 250 | 280 | 250 | 240 | 11,00 |
3ФБМ 24 | 300 | 340 | 250 | 240 | 12,20 |
4ФБМ 24 | 300 | 340 | 300 | 280 | 15,00 |
5ФБМ 24 | 420 | 460 | 350 | 280 | 19,00 |
Стропильные фермы серии 1.463.1-1/87 [4]Серия 1.463.1-1/87 Фермы стропильные железобетонные безраскосные пролетом 18 и 24 м для одноэтажных зданий с малоуклонной и скатной кровлей для V снегового района, 1988 г. Выпуски 1 - 3 |
| 5ФБС 18 | 17940 | 3000 | 320 | 220 | 400 | 280 | 9,00 |
| 5ФБМ 18 | 17940 | 3150 | 320 | 220 | 400 | 280 | 9,50 |
| 6ФБС 24 | 23940 | 3300 | 370 | 280 | 450 | 280 | 14,00 |
| 6ФБМ 24 | 23940 | 3300 | 370 | 280 | 450 | 280 | 14,50 |
Продолжение таблицы А.1
Эскиз изделия | Типоразмер изделия | Размеры, мм | Масса, т |
L | H | h1 --- h4 | h2 --- h5 | h3 | b --- b1 |
Стропильные фермы серии 1.463.1-17 [5]Серия 1.463.1-17 Фермы стропильные железобетонные полигональные пролетом 18 и 24 м для покрытий зданий с малоуклонной кровлей, 1990 г. Выпуски 1 - 6 |
| 1.1ФСП 18 | 17960 | 2835 | 180 ----- 120 | 120 ----- 140 | 160 | 280 ----- 180 | 7,50 |
1.2ФСП 18 | 7,10 |
1.3ФСП 18 | 6,70 |
| 2.1ФСП 18 | 240 ----- 120 | 160 ----- 160 | 200 | 280 ----- 180 | 9,30 |
2.2ФСП 18 | 8,90 |
2.3ФСП 18 | 8,60 |
| 3.1ФСП 18 | 240 ----- 120 | 160 ----- 160 | 200 | 320 ----- 220 | 10,60 |
3.2ФСП 18 | 10,20 |
3.3ФСП 18 | 9,80 |
| 1.1ФСП 24 | 23960 | 2880 | 180 ----- 160 | 220 ----- 120 | 120 ----- 140 | 280 ----- 180 | 10,00 |
1.2ФСП 24 | 9,70 |
1.3ФСП 24 | 9,30 |
| 2.1ФСП 24 | 240 ----- 200 | 300 ----- 120 | 160 ----- 160 | 280 ----- 180 | 12,50 |
2.2ФСП 24 | 12,20 |
2.3ФСП 24 | 11,80 |
| 3.1ФСП 24 | 240 ----- 200 | 300 ----- 120 | 160 ----- 160 | 320 ----- 220 | 14,40 |
3.2ФСП 24 | 14,00 |
3.3ФСП 24 | 13,60 |
Продолжение таблицы А.1
Эскиз изделия | Типоразмер изделия | Размеры, мм | Масса, т |
L | H | h1 | h2 | h3 | b |
Подстропильные фермы серии 1.463.1-19 [6]Серия 1.463.1-19 Фермы подстропильные железобетонные предварительно напряженные пролетом 12 м для покрытий зданий со скатной кровлей, 1993 г. Выпуски 1 - 2 |
| 1ФПС 12 | 11960 | 2225 | 300 | 210 | 160 | 550 | 11,30 |
| 2ФПС 12 | 11860 | 2225 | 300 | 210 | 160 | 550 | 11,00 |
Подстропильные фермы серии 1.463.1-4/87 [7]Серия 1.463.1-4/87 Фермы подстропильные железобетонные безраскосные пролетом 12 м для одноэтажных зданий с малоуклонной кровлей, 1988 г. Выпуски 1 - 2 |
| 1ФПМ 12 | 11960 | 3320 | 200 | 160 | 200 | 500 | 8,80 |
1ФПН 12 |
| 2ФПМ 12 | 11780 | 3320 | 200 | 160 | 200 | 500 | 8,75 |
2ФПН 12 |
Примечание - Для ферм серии 1.463.1-16 [2] в графе "Масса, т" в числителе приведена масса ферм, изготовленных из тяжелого бетона, в знаменателе - из легкого конструкционного бетона со средней плотностью до 2000 кг/м 3. |
| Серия 1.063.1-4 | Фермы стропильные железобетонные пролетом 6, 9, 12, 15 и 18 м для покрытий зданий с уклоном асбестоцементной кровли |
| Серия 1.463.1-16 | Фермы стропильные железобетонные сегментные для покрытий одноэтажных производственных зданий пролетами 18 и 24 м (в опалубочных формах серии ПК-01-129/78) |
| Серия 1.463.1-3/87 | Фермы стропильные железобетонные безраскосные пролетом 18 и 24 м для покрытий одноэтажных зданий с малоуклонной и скатной кровлей |
| Серия 1.463.1-1/87 | Фермы стропильные железобетонные безраскосные пролетом 18 и 24 м для одноэтажных зданий с малоуклонной и скатной кровлей для V снегового района |
| Серия 1.463.1-17 | Фермы стропильные железобетонные полигональные пролетом 18 и 24 м для покрытий зданий с малоуклонной кровлей |
| Серия 1.463.1-19 | Фермы подстропильные железобетонные предварительно напряженные пролетом 12 м для покрытий зданий со скатной кровлей |
| Серия 1.463.1-4/87 | Фермы подстропильные железобетонные безраскосные пролетом 12 м для одноэтажных зданий с малоуклонной кровлей |
УДК 692.522:006.354 | |
Ключевые слова: железобетонная стропильная ферма, железобетонная подстропильная ферма, технические условия |