Главная // Актуальные документы // ПравилаСПРАВКА
Источник публикации
М., 2020
Примечание к документу
Документ включен в
Перечень документов в области стандартизации, в результате применения которых на добровольной основе обеспечивается соблюдение требований Федерального
закона от 30.12.2009 N 384-ФЗ "Технический регламент о безопасности зданий и сооружений" (
Приказ Росстандарта от 02.04.2020 N 687).
Текст документа приведен в соответствии с публикацией на сайте https://minstroyrf.gov.ru/ по состоянию на 02.04.2021.
Документ
введен в действие с 30.06.2021.
Название документа
"СП 494.1325800.2020. Свод правил. Конструкции покрытий пространственные металлические. Правила проектирования"
(утв. Приказом Минстроя России от 29.12.2020 N 892/пр)
"СП 494.1325800.2020. Свод правил. Конструкции покрытий пространственные металлические. Правила проектирования"
(утв. Приказом Минстроя России от 29.12.2020 N 892/пр)
и жилищно-коммунального хозяйства
Российской Федерации
от 29 декабря 2020 г. N 892/пр
СВОД ПРАВИЛ
КОНСТРУКЦИИ ПОКРЫТИЙ ПРОСТРАНСТВЕННЫЕ МЕТАЛЛИЧЕСКИЕ
ПРАВИЛА ПРОЕКТИРОВАНИЯ
Metal spatial structures of roofs. Design requirements
СП 494.1325800.2020
Дата введения
30 июня 2021 года
Сведения о своде правил
1 ИСПОЛНИТЕЛЬ - АО "НИЦ "Строительство" - ЦНИИСК им. В.А. Кучеренко
2 ВНЕСЕН Техническим комитетом по стандартизации ТК 465 "Строительство"
3 ПОДГОТОВЛЕН к утверждению Департаментом градостроительной деятельности и архитектуры Министерства строительства и жилищно-коммунального хозяйства Российской Федерации (Минстрой России)
4 УТВЕРЖДЕН
Приказом Министерства строительства и жилищно-коммунального хозяйства Российской Федерации от 29 декабря 2020 г. N 892/пр и введен в действие с 30 июня 2021 г.
5 ЗАРЕГИСТРИРОВАН Федеральным агентством по техническому регулированию и метрологии (Росстандарт)
6 ВВЕДЕН ВПЕРВЫЕ
В случае пересмотра (замены) или отмены настоящего свода правил соответствующее уведомление будет опубликовано в установленном порядке. Соответствующая информация, уведомление и тексты размещаются также в информационной системе общего пользования - на официальном сайте разработчика (Минстрой России) в сети Интернет
Настоящий свод правил разработан с учетом положений федеральных законов от 27 декабря 2002 г.
N 184-ФЗ "О техническом регулировании", от 30 декабря 2009 г.
N 384-ФЗ "Технический регламент о безопасности зданий и сооружений" и содержит требования к расчету и проектированию металлических пространственных конструкций покрытий.
Свод правил разработан авторским коллективом АО "НИЦ "Строительство" - ЦНИИСК им. В.А. Кучеренко (руководитель темы - д-р техн. наук П.Г. Еремеев, д-р техн. наук И.И. Ведяков, канд. техн. наук Д.Б. Киселев).
1.1 Настоящий свод правил распространяется на проектирование стержневых, вантовых (висячих), тонколистовых, комбинированных металлических пространственных конструкций покрытий зданий и сооружений промышленного, гражданского и сельскохозяйственного строительства.
1.2 Требования настоящего свода правил не распространяются на проектирование транспортных сооружений (мосты, путепроводы, эстакады, виадуки, подвесные переходы трубопроводов и т.п.).
В настоящем своде правил использованы нормативные ссылки на следующие документы:
ГОСТ 977-88 Отливки стальные. Общие технические условия
ГОСТ 1050-2013 Металлопродукция из нелегированных конструкционных качественных и специальных сталей. Общие технические условия
ГОСТ 2246-70 Проволока стальная сварочная. Технические условия
ГОСТ 2789-73 Шероховатость поверхности. Параметры и характеристики
ГОСТ 3064-80 Канат одинарной свивки типа ТК конструкции 1 x 37 (1 + 6 + 12 + 18). Сортамент
ГОСТ 3090-73 Канаты стальные. Канат закрытый несущий с одним слоем зетобразной проволоки и сердечником типа ТК. Сортамент
ГОСТ 4543-2016 Металлопродукция из конструкционной легированной стали. Технические условия
ГОСТ 5582-75 Прокат тонколистовой коррозионно-стойкий, жаростойкий и жаропрочный. Технические условия
ГОСТ 7062-90 Поковки из углеродистой и легированной стали, изготавливаемые ковкой на прессах. Припуски и допуски
ГОСТ 7675-73 Канаты стальные. Канат закрытый несущий с одним слоем клиновидной и одним слоем зетобразной проволоки и сердечником типа ТК. Сортамент
ГОСТ 7676-73 Канаты стальные. Канат закрытый несущий с двумя слоями клиновидной и одним слоем зетобразной проволоки и сердечником типа ТК. Сортамент
ГОСТ 8479-70 Поковки из конструкционной углеродистой и легированной стали. Общие технические условия
ГОСТ 13726-97 Ленты из алюминия и алюминиевых сплавов. Технические условия
ГОСТ 18899-73 Канаты стальные. Канаты закрытые несущие. Технические условия
ГОСТ 18901-73 Канаты стальные. Канат закрытый несущий с двумя слоями зетобразной проволоки и сердечником типа ТК. Сортамент
ГОСТ 21631-2019 Листы из алюминия и алюминиевых сплавов. Технические условия
ГОСТ 23118-2019 Конструкции стальные строительные. Общие технические условия
ГОСТ 27751-2014 Надежность строительных конструкций и оснований. Основные положения
ГОСТ 27772-2015 Прокат для строительных стальных конструкций. Общие технические условия
ГОСТ 32484.1-2013 (EN 14399-1:2005) Болтокомплекты высокопрочные для предварительного натяжения конструкционные. Общие требования
ГОСТ Р 53628-2009 Опорные части металлические катковые для мостостроения. Технические условия
ГОСТ Р 55374-2012 Прокат из стали конструкционной легированной для мостостроения. Общие технические условия
ГОСТ Р 58064-2018 Трубы стальные сварные. Для строительных конструкций. Технические условия
СП 14.13330.2018 "СНиП II-7-81* Строительство в сейсмических районах" (с изменением N 1)
СП 20.13330.2016 "СНиП 2.01.07-85* Нагрузки и воздействия" (с изменениями N 1, N 2)
СП 28.13330.2017 "СНиП 2.03.11-85 Защита строительных конструкций от коррозии" (с изменениями N 1, N 2)
Примечание - При пользовании настоящим сводом правил целесообразно проверить действие ссылочных документов в информационной системе общего пользования - на официальном сайте федерального органа исполнительной власти в сфере стандартизации в сети Интернет или по ежегодному информационному указателю "Национальные стандарты", который опубликован по состоянию на 1 января текущего года, и по выпускам ежемесячного информационного указателя "Национальные стандарты" за текущий год. Если заменен ссылочный документ, на который дана недатированная ссылка, то рекомендуется использовать действующую версию этого документа с учетом всех внесенных в данную версию изменений. Если заменен ссылочный документ, на который дана датированная ссылка, то рекомендуется использовать версию этого документа с указанным выше годом утверждения (принятия). Если после утверждения настоящего свода правил в ссылочный документ, на который дана датированная ссылка, внесено изменение, затрагивающее положение, на которое дана ссылка, то это положение рекомендуется применять без учета данного изменения. Если ссылочный документ отменен без замены, то положение, в котором дана ссылка на него, рекомендуется применять в части, не затрагивающей эту ссылку. Сведения о действии сводов правил целесообразно проверить в Федеральном информационном фонде стандартов.
3.1 болт-шарнир: Крепежная деталь в виде цилиндрического стержня, предназначенная для обеспечения свободного вращения узла.
3.2 большепролетное металлическое покрытие: Покрытие пролетом свыше 36 м.
3.3 пространственная стержневая конструкция: Система из коротких прямых металлических стержней, объединенных в узлах, для плоских и криволинейных покрытий, в которых возникают в основном усилия сжатия и растяжения.
3.4 структурная плита: Плоская пространственная стержневая конструкция, состоящая из многократно повторяющихся пирамидальных элементов.
3.5 "Тенсегрити"-система: Совокупность взаимосвязанных элементов, работающих только на растяжение или сжатие, устойчивость и жесткость которой, обеспечивается предварительным напряжением и самоуравновешиванием этих элементов.
3.6 трос-подбор: Гибкие растянутые элементы опорных конструкций вантовых систем.
4.1 Металлические пространственные системы различаются:
- по принципу работы:
а) жесткие системы (структуры, своды, купола, оболочки);
б) гибкие системы (тросовые, тонколистовые);
- по типу конструкции:
а) плоские системы регулярной структуры;
б) своды-оболочки;
в) стержневые оболочки;
г) купола;
д) вантовые конструкции;
е) мембранные (тонколистовые) конструкции;
ж) комбинированные системы;
- по конфигурации плана:
от простейших геометрических фигур (квадрат, прямоугольник, треугольник, круг, овал и т.д.) до более сложного комбинированного очертания;
- по форме поверхности:
а) плоские покрытия;
б) нулевой гауссовой кривизны (цилиндрическая);
в) положительной гауссовой кривизны (сферическая, в виде эллиптического параболоида);
г) отрицательной гауссовой кривизны (седловидная, шатровая);
д) составные, в виде комбинации оболочек с одинаковой или различной формой поверхности.
4.2 При проектировании следует учитывать, что форма поверхности и очертание плана покрытия должны быть взаимоувязаны и выбор их тщательно проанализирован.
4.3 Применение металлических пространственных конструкций в средах с агрессивным воздействием допускается при выполнении требований, установленных в
СП 28.13330.
4.4 Выбор конструктивных решений пространственных конструкций покрытий зданий и сооружений следует проводить, исходя из технико-экономической целесообразности их применения в конкретных условиях строительства с учетом архитектурных, технологических и производственных требований, максимального снижения их материало-, трудо-, энергоемкости и стоимости.
4.5 Благодаря малому весу, относительно небольшому количеству элементов, технологичности монтажа пространственные металлические конструкции следует, в том числе, применять при строительстве в труднодоступных и северных районах, а также в районах с повышенной сейсмичностью.
5 Требования к материалам и изделиям
5.1.1 Несущие конструкции, включая узлы соединений и элементы крепления, следует выполнять из материалов, обладающих необходимыми эксплуатационными и технологическими свойствами для обеспечения их долговечности согласно расчетному сроку службы сооружения или межремонтному сроку его эксплуатации, а также удовлетворяющих противопожарным требованиям.
5.1.2 Стали следует выбирать в зависимости от уровня ответственности конструкций, условий эксплуатации, расчетных температур, воздействия динамических или вибрационных нагрузок, технологии изготовления и монтажа конструкций.
5.1.3 Материалы для несущих конструкций из прокатного металла следует принимать в соответствии с требованиями
СП 16.13330. Допускается использовать стали по
СП 35.13330. Расчетные сопротивления проката, физические характеристики материалов, применяемых для стальных конструкций, следует принимать согласно СП 16.13330.2017
(приложение Г).
5.1.4 Для сварных соединений следует применять материалы, соответствующие свариваемым сталям и обеспечивающие необходимые свойства сварных швов при должной технологии их выполнения. Материалы для сварных соединений следует применять в соответствии с
СП 16.13330, качество сварных швов должно соответствовать требованиям
ГОСТ 23118.
5.1.5 Материалы и требования для болтовых соединений, в том числе высокопрочных, следует принимать в соответствии с
СП 16.13330 или применять метизы комплектной поставки с термодиффузионными и ламельными защитными покрытиями в дополнение к горячему цинковому покрытию по
ГОСТ 32484.1.
5.1.6 Требования к материалам шарниров, болтов-шарниров, катков и валков приведены в
5.4.
5.2 Материалы для несущих конструкций и соединений
5.2.1 Стальной прокат и трубы, применяемые для изготовления стальных конструкций пространственных покрытий, должны удовлетворять требованиям СП 16.13330.2017
(приложение В) для стальных конструкций группы 1,
ГОСТ 23118. Требования к приемке и подготовке металлопроката приведены в
[1].
5.2.2 Для изготовления конструкций следует применять стальной прокат по
ГОСТ 27772 и сварные трубы по
ГОСТ Р 58064.
| | ИС МЕГАНОРМ: примечание. В официальном тексте документа, видимо, допущена опечатка: имеется в виду ГОСТ 27772, а не ГОСТ 27770. | |
Для несущих конструкций следует применять стальной прокат и трубы с пределом текучести

. В качестве проката повышенной прочности рекомендуется применять сталь С355-1 категории 6 по
ГОСТ 27770.
Для ответственных конструкций следует применять стальной прокат и трубы с пределом текучести

. В качестве проката повышенной прочности рекомендуется применять сталь С390-1 по
ГОСТ 27772.
5.2.3 Для сооружений класса КС3 коэффициент надежности по материалу

, следует принимать равным 1,1.
5.2.4 Для предотвращения холодных трещин в сталях высокой прочности в зоне термического влияния сварки, следует вводить ограничения по суммарному содержанию легирующих элементов и углерода, приводимому к углеродному эквиваленту (CЭ <= 0,46%), на содержание водорода в металле (не выше 3 см2 на 100 г металла), а также на максимальную твердость металла в зоне термического влияния сварки.
5.3 Дополнительные требования к материалам для металлических тонколистовых (мембранных) конструкций
5.3.1 Тонколистовые металлические конструкции покрытия следует выполнять из углеродистой, низколегированной или нержавеющей стали, из алюминиевых сплавов.
5.3.2 Для стальных мембран рекомендуется использовать:
- низколегированную сталь марки С355 категории 6 по
ГОСТ 27772, поставляемую в листах или рулонах по
ГОСТ 19903;
- низколегированную атмосферостойкую сталь С345К и С355К по
ГОСТ 27772.
Допускается применять атмосферостойкую сталь марки 14ХГНДЦ категории поставки 3 по
ГОСТ Р 55374.
При высокой степени агрессивного воздействия среды рекомендуется применять нержавеющие стали марки 08Х18Е1 толщиной до 2 мм и марки 12Х18Н10Т толщиной до 4 мм, поставляемые в листах и рулонах по
ГОСТ 5582.
5.3.3 Для алюминиевых тонколистовых конструкций по
СП 128.13330 следует применять алюминиевые сплавы системы Al-Mg по
ГОСТ 4784, поставляемые толщиной от 1 до 3 мм в рулонах по
ГОСТ 13726.
5.4 Основные требования к материалам для отливок и поковок
5.4.1 Материалы для отливок (опорные части, шарниры, сложные узлы и специальные детали) следует принимать по
ГОСТ 977 из легированной конструкционной стали. В соответствии с требованиями
СП 16.13330 для отливок следует применять сталь марок 15Л, 25Л, 35Л и 45Л, удовлетворяющую требованиям
ГОСТ 977 для групп II или III.
5.4.2 Для подвижных катковых и валковых опорных частей прокладные листы под катки в соответствии с требованиями
СП 35.13330 следует изготавливать из высокопрочных легированных сталей марок 40ХН2МА
(ГОСТ 4543), 12ХГН2МА
(ГОСТ Р 53628). Допускается прокатной лист из стали 09Г2С по
ГОСТ 19281 с наплавкой рабочих поверхностей проволокой марки Св-20Х13 по
ГОСТ 2246. Для опорных шарниров следует использовать сталь марки 09Г2С-12 по
ГОСТ 19281 с поверхностной закалкой HB = 400. Обработка поверхности должна соответствовать по
ГОСТ 2789 следующим параметрам шероховатости: среднеарифметическое отклонение профиля
Ra = 0,4 мкм, базовая длина
l = 0,8 мм.
5.4.3 В соответствии с требованиями
СП 35.13330 для осевых элементов (болтов-шарниров) следует применять поковки группы IV по
ГОСТ 8479 следующих категорий прочности и марок сталей:
- КП315 сталь марки 40Х по
ГОСТ 4543 в нормализованном состоянии;
- КП345 сталь марки 40Х по
ГОСТ 4543, закалка плюс отпуск;
- КП590, КП640, КП785 сталь марки 40ХН2МА по
ГОСТ 4543, закалка плюс отпуск.
5.5 Стальные канаты и анкерные устройства
5.5.1 Стальные канаты различаются по конструкции, форме поперечного сечения, физико-механическим характеристикам проволок. Технические характеристики стальных канатов приведены в
приложении А.
5.5.2 Для несущих элементов висячих и вантовых систем следует применять канаты по
ГОСТ 3241 следующих типов:
- однопрядные спиральные канаты, состоящие из круглой проволоки по
ГОСТ 3064;
- пучки, формируемые из параллельных проволок или прядей, скрепленных между собой с определенным шагом.
5.5.3 Тип и параметры каната следует выбирать в зависимости от особенностей эксплуатации сооружения, конструктивных решений и значений расчетных усилий, наличия узлов сопряжений, требований по коррозионной стойкости, технологии монтажа.
5.5.4 По условиям защиты от коррозии не следует применять канаты с проволокой диаметром менее 2,4 мм. Это ограничение не относится к проволокам заполнения и сердечника.
5.5.5 Сокращенные технические данные по модулю упругости стальных канатов приведены в
приложении А. Для достижения максимального модуля упругости спиральных канатов, следует использовать канаты с большим шагом свивки и малым числом проволок.
5.5.6 Канаты должны быть многократно предварительно вытянуты на натяжных стендах, пока кривые нагрузка/удлинение для двух последовательных циклов нагружения не совпадут. Значение предварительного усилия вытяжки следует принимать равным 1,2 максимальных расчетных усилий или половине разрывного усилия каната в целом. При многократной предварительной вытяжке канатов следует одновременно определять модули упругости в диапазоне усилий, соответствующих постоянной и полной нагрузке на конструкцию для учета этих значений в расчетах.
5.5.7 Допуски по длине каната троса с концевыми элементами, после предварительной вытяжки, не должны превышать +/- ((LК/1000) + 5 мм), где LК - длина каната троса в мм или 0,01%.
5.5.8 Канаты должны поставляться с антикоррозионной защитой. Выбор типа и толщины антикоррозионного покрытия следует производить в зависимости от степени агрессивного воздействия окружающей среды.
5.5.9 В строительных конструкциях следует применять канаты полной заводской готовности комплектной поставки, которая предусматривает вытяжку каната троса, его разметку и разрезку, постановку концевых стальных анкеров. На канат следует наносить продольную ось, для исключения кручения каната при навеске, и поперечную маркировку, обеспечивающую проектное положение сжимов.
5.5.10 Диаметр канатов и их количество следует определять исходя из требуемой несущей способности, с учетом ограничений по габаритам элементов, в которых анкеруются канаты.
5.5.11 Концы канатов следует оснащать анкерными устройствами, равнопрочными разрывному усилию каната, обеспечивая надежную заделку канатов на этапах монтажа и эксплуатации сооружения.
5.5.12 Тип анкерного устройства следует принимать в зависимости от типа и диаметра каната; конструкции, с которой они должны соединяться; с учетом исключения усталостных явлений. На одном из концов каната следует предусмотреть анкерное устройство с возможностью регулировки длины каната при монтаже. При необходимости эти устройства используют для предварительного натяжения канатов.
5.5.13 Для изготовления деталей анкеров стальных канатов следует использовать сталь по
ГОСТ 19281 или
ГОСТ 1050 в нормализованном состоянии. Анкеры следует оцинковывать горячим способом минимальной толщиной 150 мкм.
5.5.14 Для передачи усилий с подвесок на основные канаты следует применять сжимы и прижимные накладки из литой стали. Прижимные накладки следует крепить к сжиму болтами с контролируемым натяжением. Сжимы и прижимные накладки должны быть оцинкованы горячим способом толщиной до 150 мкм. В желобах толщину слоя цинка следует увеличивать напылением до 1 мм.
5.5.15 У торцов муфт, анкеров, сжимов (в месте выхода каната) следует выполнять скругления, а продольный желоб в сжимах и прижимных накладках выполнять криволинейным. Радиус желоба должен быть в 30 раз больше диаметра каната. Если канат расположен по оси симметрии сжима, имеет мягкий металлический сердечник или цинковое покрытие толщиной не менее 1 мм, допускается уменьшение радиуса желоба до величины в 20 раз больше диаметра каната. Перегибы канатов из пучков параллельных проволок не допускаются.
5.5.16 Между канатом и деталями анкеров, отклоняющих устройств, сжимов, хомутов подвесок и других элементов следует использовать прокладки из алюминия марок АД и АД1 по
ГОСТ 4784, в виде листов по
ГОСТ 21631 или лент по
ГОСТ 13726 толщиной не менее 1 мм. Для исключения электрохимической коррозии, контактирующие с алюминием стальные канаты и стальные детали указанных выше устройств защищают покрытиями из цинка или кадмия толщиной не менее 20 мкм.
6 Основные требования к расчетам
6.1.1 Надежность, прочность и устойчивость металлических пространственных конструкций должны быть обеспечены соответствием
ГОСТ 27751,
СП 16.13330,
СП 20.13330,
СП 35.13330, с учетом выполнения требований к расчетам и конструированию.
6.1.2 Для пространственных конструкций в сооружениях класса КС-3 с повышенным уровнем ответственности согласно
ГОСТ 27751, коэффициент надежности по ответственности несущих конструкций

следует принимать не менее 1,1.
6.1.3 Расчеты металлических пространственных конструкций следует проводить по предельным состояниям первой (по полной непригодности к эксплуатации вследствие потери несущей способности) и второй (по непригодности к нормальной эксплуатации вследствие появления недопустимых деформаций) групп. Прогибы пространственных конструкций не должны превышать предельно допустимых значений, приведенных в
СП 20.13330.
6.1.4 Расчеты металлических пространственных конструкций по предельным состояниям следует проводить для всех воздействий на конструкции или их элементы на стадии изготовления, транспортирования, возведения и эксплуатации. При определении расчетных величин напряжений и перемещений конструкций с учетом сочетаний нагрузок и воздействий следует руководствоваться СП 20.13330.2016
(раздел 6).
Предельные усилия, воспринимаемые элементами, следует определять с учетом начальных несовершенств (искривления и местные погиби).
6.1.5 Конструкции с предварительным напряжением следует проверять расчетом по прочности и устойчивости на всех этапах выполнения этих работ. Коэффициенты условий работы, коэффициенты надежности по нагрузке, потери напряжений от релаксации, трения и податливости анкеров напрягаемых элементов следует принимать в соответствии с требованиями
СП 35.13330.
6.1.6 Расчеты следует производить численными методами с применением программных комплексов, допущенных к применению при расчетах в порядке, установленном действующим законодательством Российской Федерации, с учетом геометрической, а при необходимости - физической нелинейности работы конструкции.
6.1.7 После окончания строительства особо сложных уникальных объектов с пространственными покрытиями следует проводить дополнительные поверочные расчеты. Расчетная модель должна быть максимально приближена к реальной, с учетом результатов мониторинга на стадии монтажа после раскружаливания конструкции покрытия, в части соответствия проектным решениям (геометрия, сечения, материалы и т.п.).
6.2 Нагрузки и воздействия
6.2.1 Пространственные конструкции должны воспринимать любые виды нагрузок. К ним могут добавляться монтажные нагрузки, вызывающие дополнительные усилия, суммирующиеся с эксплуатационными нагрузками.
6.2.2 Величины нагрузок от собственного веса несущих конструкций следует определять автоматически в программном комплексе по фактически принятым в расчетах сечениям элементов с учетом коэффициента, зависящего от веса узлов их сопряжений, который следует принимать равным 1,05 - 1,15, в зависимости от конструкции узла. Величины нагрузок от собственного веса ограждающих конструкции следует принимать в соответствии с проектными решениями.
6.2.3 Величины технологических нагрузок на покрытие следует принимать в соответствии с заданием на проектирование. В первом приближении нормативные величины этих нагрузок следует принимать в пределах от 0,3 до 0,6 кПа. Задание на нагрузки от оборудования должно включать их величины, с учетом возможного увеличения в процессе длительной эксплуатации, реконструкции или модернизации сооружения.
6.2.4 При расчетах узлов следует учитывать возможность приложения в любой узловой точке конструкции покрытия на стадии монтажа сосредоточенных сил, величиной не менее 5 кН.
6.2.5 Климатические нагрузки и воздействия следует принимать по
СП 20.13330. Для пространственных большепролетных покрытий с нестандартной формой поверхности обязательна разработка рекомендаций по определению снеговых и ветровых нагрузок на основании продувок модели сооружения в специализированной аэродинамической трубе.
6.2.6 При проектировании следует учитывать:
- возможность образования зон повышенных снегоотложений на поверхности пространственных покрытий, нагрузка от которых может в несколько раз превышать нормативное значение веса снегового покрова по
СП 20.13330;
- эффект сползания скользящего по гладким поверхностям снега во впадины оболочки или обрушивающегося с покрытия;
- неравномерные снеговые нагрузки, которые могут вызывать большие локальные, в том числе кинематические, деформации покрытия, приводить к потере его устойчивости или к расстройству кровли.
6.2.7 Для провисающих покрытий на овальном плане, за счет сползания снега к центру, необходимо рассматривать схемы снеговой нагрузки с коэффициентом

по периметру покрытия, а в средних зонах этот коэффициент следует определять исходя из равенства суммарного объема снега на покрытии.
6.2.8 При определении аэродинамических коэффициентов для сооружений с нестандартной формой поверхности покрытия, ветровые нагрузки следует определять в соответствии с
6.2.5 на основании продувок модели сооружения в аэродинамической трубе.
6.2.9 Температурные воздействия следует учитывать в соответствии с
СП 20.13330.
6.2.10 Требования к учету сейсмической нагрузки в расчетах на особые сочетания нагрузок для сейсмоопасных районов приведены в
СП 14.13330,
[2].
6.2.11 В расчетах необходимо учитывать следующие нагрузки и воздействия:
- обусловленные деформациями основания;
- обусловленные последовательностью монтажа, в том числе с предварительным напряжением;
6.3 Особенности проведения расчетов
6.3.1 При выборе архитектурно-конструктивных решений размеры основных элементов следует принимать исходя из существующего опыта с проверкой инженерными методами, для определения в первом приближении сечений, необходимых для выполнения расчетов на следующих этапах проектирования с применением численных методов.
6.3.2 При проектировании следует выполнять многовариантные расчеты численными методами различных конструктивных схем для нахождения оптимальной системы, обеспечивая максимальную экономичность и эксплуатационную надежность сооружения.
6.3.3 Для сооружений класса КС-3 следует выполнять независимые поверочные расчеты, с применением иного, чем в основных расчетах, программного комплекса. По расчетам следует осуществлять сопоставительный анализ, при этом разница между результатами не должна превышать 10%.
6.3.4 Расчетную схему сооружения с пространственным покрытием необходимо принимать в виде конечно-элементной модели, как единую пространственную систему, в ряде случаев с учетом геометрической и физической нелинейности, согласно
6.3.7 и
6.3.8 соответственно. Расчетная схема должна включать основание, фундаменты, каркас сооружения, пространственное покрытие. Расчетную схему конструкции следует принимать в соответствии с ее проектной геометрией, с учетом продольных, изгибных и крутильных жесткостей элементов; их проектных связей, узловых эксцентриситетов, граничных условий, строительного подъема и перемещений при раскружаливании и т.п.
6.3.5 Расчетные модели следует назначать в соответствии со схемой деформирования или возможного разрушения сооружения, иметь надежное теоретическое обоснование, подтвержденное практикой строительства, в противном случае требуется экспериментальное доказательство их пригодности. Для сооружений класса КС3 необходимо использовать нескольких расчетных схем, дополняющих друг друга.
6.3.6 Проверку прочности, пространственной неизменяемости, общей и местной устойчивости конструкции, отдельных элементов, их частей, деталей и соединений следует выполнять на возможные неблагоприятные сочетания статических и динамических нагрузок и воздействий.
6.3.7 Расчеты необходимо выполнять в геометрически нелинейной постановке, если ее учет вызывает изменение усилий или перемещений в элементах пространственной конструкции более чем на 10% и для численной проверки устойчивости пространственных систем.
6.3.8 Расчеты наиболее сложных узлов металлических конструкций следует выполнять МКЭ (метод конечных элементов) в физически нелинейной постановке с учетом СП 294.1325800.2017
(подраздел 4.4). Моделирование элементов узловых фасонок и примыкающих стержней следует выполнять пластинчатыми или объемными конечными элементами, с учетом нелинейной диаграммы материала для определения зоны пластических деформаций и относительных удлинений на этих участках. Оценку несущей способности соединения следует выполнять по одному из двух (более строгому) варианту:
- пластические деформации в расчетах ограничиваются значениями относительных удлинений

, до 5%, а их развитие допускается лишь на небольшой площади (не более 5% площади фасонки или детали);
- локальные зоны развития пластических деформаций не должны превышать 10% площади поперечного или продольного сечения фасонки или детали, а среднее значение относительных пластических деформаций в этой зоне ограничивается величиной

.
6.3.9 В системах с элементами, работающими только на растяжение или с односторонними связями необходимо учитывать конструктивную нелинейность.
6.3.10 При монтаже или раскружаливании конструкций покрытия на временных опорах, следует учитывать нелинейность, определяемую поэтапным изменением расчетной схемы. При этом расчеты должны выполняться с запоминанием и накоплением величин перемещений и усилий, полученных на каждой стадии монтажа или раскружаливания конструкций.
6.3.11 В расчетах следует учитывать динамическую реакцию пространственных конструкций на воздействия ветра, с учетом статических, квазистатических и резонансных вкладов. Для определения собственных частот элементов покрытия и коэффициента динамичности пульсационной составляющей ветровой нагрузки динамические расчеты следует выполнять с повышенными и пониженными величинами постоянных и временных нагрузок.
6.3.12 При проектировании пространственных металлических покрытий следует использовать такие конструктивные решения, при которых их низшая собственная частота f1 в вертикальном направлении превышает 1,0 Гц. В приближенных расчетах влияние динамической составляющей ветра допускается учитывать повышающим коэффициентом.
6.3.13 Вантовые и висячие конструкции следует проверять расчетом на аэродинамическую устойчивость и на резонанс колебаний элементов в направлении, перпендикулярном ветровому потоку. В случае необходимости, проводить расчет на выносливость для исключения усталостных разрушений элементов. Для предотвращения резонансного вихревого возбуждения или аэродинамической неустойчивости следует использовать конструктивные мероприятия.
6.3.14 Конструкции сооружений с пространственными металлическими покрытиями, проектируемыми для строительства в сейсмических районах, должны удовлетворять расчетам на особое сочетание нагрузок с учетом сейсмических воздействий в соответствии с
СП 14.13330.
7 Стержневые пространственные системы
7.1.1 Пространственные стержневые конструкции из коротких прямых металлических стержней, объединенных в узлах, применяют для плоских и криволинейных покрытий сооружений, как уникальных, так и в массовом строительстве.
7.1.2 Пространственные стержневые конструкции подразделяют на три основные группы: стержневые плиты (перекрестные системы и структуры), цилиндрические оболочки нулевой кривизны и оболочки двойной кривизны, в том числе купола.
7.1.3 При разработке архитектурно-конструктивных решений пространственных стержневых систем следует учитывать:
- выбор общей формы покрытия и типа пространственной системы, соответствующей этой форме, учет пролета конструкции;
- геометрию покрытия, в том числе количество слоев, форму и размеры регулярной ячейки, высоту конструкции (для двухслойных систем); кривизну поверхности, отношение подъема/провиса конструкции к пролету;
- расположение опор, тип ограждающей конструкции;
- технологию монтажа.
7.1.4 Оси стержней пространственных систем следует центрировать во всех узлах, а при наличии эксцентриситетов в узлах следует учитывать изгибающие моменты в примыкающих к узлу стержнях.
7.2 Перекрестные системы покрытий
7.2.1 Перекрестные системы покрытий состоят из линейных элементов (балок или ферм), пересекающихся в плане, соединенных между собой в местах пересечения и работающих совместно.
Различают перекрестные системы ортогональные, диагональные и треугольные (рисунок 7.1).
а, б, д - с квадратными ячейками;
в, г - с треугольными ячейками
Рисунок 7.1 - Перекрестные системы покрытий
7.2.2 Для покрытий на вытянутом прямоугольном плане следует применять перекрестные системы при диагональном расположении несущих элементов, под углом к сторонам контура. Перекрестные системы следует использовать в покрытиях, имеющих в плане форму квадрата, равнобедренного треугольника, круга или многоугольника.
7.2.3 Такие конструкции следует применять для пролетов от 18 до 60 м. Высоту плиты перекрестной системы следует назначать в интервале от 1/30 до 1/15 пролета, в зависимости от очертания в плане, условий опирания, требований по жесткости покрытия. Размер ячейки поясных сеток следует принимать от 1/15 до 1/7 пролета с учетом типа кровельного настила, для исключения применения прогонов.
7.2.4 Перекрестные системы для перекрытия большепролетных сооружений следует:
- опирать на колонны, расположенные по периметру, шагом от 6 до 12 м, без устройства контурных ферм;
- предусматривать разгружающие консольные свесы, вылет которых не должен превышать 0,25 размера основного пролета (
рисунок 7.2,
а) или в пять раз высоту плиты;
- устанавливать дополнительные опоры внутри плана покрытия, образуя многопролетную неразрезную систему, применяя колонны с развитыми капителями или пространственные опоры.
7.2.5 Для одно- или многопролетных сооружений с сеткой колонн 18 x 18 и 24 x 24 м, каждый модуль следует опирать по углам (рисунок 7.2, б). Контурные элементы должны иметь высоту, как правило, в два раза больше высоты элементов пролетной конструкции покрытия.
а - большепролетные здания с консольными свесами;
б - многопролетные здания с сеткой колонн 18 x 18
или 24 x 24 м, с опиранием на колонны по углам
каждого модуля
Рисунок 7.2 - Варианты опирания перекрестных систем покрытия
7.2.6 Фермы в перекрестных одно- или двускатных покрытиях следует выполнять с параллельными поясами, решетку - треугольной, в ряде случаев со стойками.
Верхние пояса ферм следует выполнять из прокатных двутавров; нижние пояса - из прокатных двутавров, парных уголков или швеллеров; раскосную решетку - из парных уголков. Все элементы допускается выполнять из круглых или прямоугольных гнуто-сварных профилей. В балочных перекрестных покрытиях элементы следует принимать из двутавров прокатных или сварных.
7.2.7 Пояса перекрестных ферм следует располагать в одной плоскости, принимая длину ферм одинаковой в обоих направлениях, равной размеру ячеек.
Пояса ферм одного направления необходимо располагать над поясами ферм другого направления, при этом длину фермы одного направления принимают на весь пролет, а в ортогональном направлении - по размеру ячеек.
- в монтажных узлах на
рисунках 7.3,
а,
б,
в, сходятся отправочные марки ферм длиной, равной размеру ячейки. В качестве основного соединительного элемента используют гнутый фланец при наличии или отсутствии диафрагмы жесткости (
рисунок 7.3,
а,
б) или уголковые коротыши (
рисунок 7.3,
в) с накладками;
- в монтажных узлах на рисунке 7.3, г, прерываются фермы только одного направления, с поэтажным расположением пересекающихся поясных элементов.
а - на гнутых фланцах с диафрагмами жесткости; б - на гнутых
фланцах без элементов жесткости; в - на фасонках из уголков
с листовыми накладками; г - с поэтажным расположением
пересекающихся поясов
Рисунок 7.3 - Схемы узлов пересечения
стальных перекрестных ферм
Во всех вариантах следует применять болты класса точности В. Узлы пересечения перекрестных балок следует проектировать аналогично конструкциям балочных клеток.
7.2.9 Жесткость и неизменяемость перекрестной системы покрытия следует обеспечивать системой перекрещивающихся элементов и связей, а также за счет крепления к верхним поясам покрытия прогонов или профилированного настила.
7.2.10 Расчет перекрестных систем следует выполнять МКЭ как упругой стержневой системы. В узлах соединения следует принимать шарнирными и недеформируемыми.
7.2.11 Для приближенного расчета распределенную нагрузку на перекрестные балки и фермы следует принимать равной 60% от нагрузки на линейные элементы. Податливость узловых соединений на болтах следует учитывать увеличением расчетного прогиба: при узлах на отогнутых фланцах - на 10%; на уголковых коротышах с накладками - на 15%.
7.3 Двухслойные стержневые (структурные) плиты
7.3.1 Структурные плиты состоят из двух плоских, параллельных друг другу поясных сеток, разнесенных по высоте, между которыми располагают стойки и раскосы. Конструкция включает повторяющиеся стержневые пирамиды с квадратным или треугольным основанием (рисунок 7.4).
а - общий вид; б, в - повторяющаяся ячейка
с квадратным или треугольным основанием
Рисунок 7.4 - Структурная плита
Наиболее характерные структурные стержневые системы (схемы стержневых структурных плит) показаны на рисунке 7.5.
а, б - поясная сетка с ортогональными ячейками;
в - поясная сетка с треугольными ячейками; г - сетка
с поясами, сдвинутыми на половину ячейки; д - смешанная
сетка, в которой одна состоит из шестиугольников,
а другая - из треугольников.
Условные обозначения: верхние пояса - жирная сплошная линия;
нижние пояса - тонкая сплошная линия; элементы
решетки - пунктирная линия; верхние узлы - полые кружки;
нижние - сплошные кружки
Рисунок 7.5 - Схемы стержневых структурных плит
7.3.2 Конструктивная схема структурной плиты определяется формой регулярной ячейки; способом опирания на нижележащие конструкции; конструкцией узловых соединений; членением на отправочные марки; типом кровельных конструкций (прогоны, настил, плиты).
7.3.3 Плиты регулярной структуры следует применять в покрытиях с разнообразной формой в плане с соотношением сторон до 1:1,5. Допустимо устройство подстропильной конструкции, разделяющей покрытие на квадратные или близкие к квадрату ячейки, с размещением внутри ее структурной плиты. Для покрытий на вытянутом прямоугольном плане следует применять структуры с расположением несущих элементов под углом в 45° к сторонам контура (
рисунок 7.5,
б).
7.3.4 Высоту плиты следует принимать равной от 1/25 до 1/15 пролета (от меньших к большим пролетам), угол наклона раскосов к поясам - в интервале от 30° до 60°, шаг модуля сетки - от 1/20 до 1/10 пролета.
7.3.5 Формообразование стержневых структур следует выполнять из отправочных марок заводского изготовления из:
- стержней размером на ячейку;
- короткоразмерных элементов решетки и длинноразмерных поясов;
- плоских или трехгранных ферм одного направления и доборных элементов другого направления;
- пространственных стержневых пирамид.
7.3.6 Структурные покрытия следует опирать по контуру на стойки, стены или стропильные конструкции; на опоры, смещенные внутрь конструкции, образуя консольные свесы вылетом до 0,2 пролета; на угловые опоры в неразрезных многопролетных покрытиях с сеткой до 24 x 24 м.
7.3.7 Опирание структурного покрытия на колонны следует осуществлять в узлы верхнего или нижнего пояса через капитель в виде стержневой пирамиды (рисунок 7.6, а), траверсы (рисунок 7.6, б) или с использованием развитой стержневой системы снизу или сверху плиты (рисунок 7.6, в, г).
а - с капителью; б - с траверсой;
в, г - с развитой стержневой системой
Рисунок 7.6 - Схемы опор
7.3.8 Устойчивость каркаса сооружения со структурным покрытием следует обеспечивать защемлением колонн в фундаментах, постановкой вертикальных связей между колоннами, жестким защемлением колонн в уровне покрытия. При проектировании следует предусматривать передачу горизонтальных воздействий (от ветра, торможения кранов, сейсмических воздействий) поясными сетками на все колонны каркаса.
7.3.9 Перекрытия больших пролетов (рисунок 7.7) следует осуществлять: трехслойными структурными конструкциями, при этом дополнительные ярусы достаточно располагать на отдельных участках покрытия (рисунок 7.7, а); структурными системами со шпренгелями (рисунок 7.7, б); подвеской плит вантами к колоннам, возвышающимися над кровлей (рисунок 7.7, в); подстропильными конструкциями.
а - трехслойная структура; б - структура усиленная
шпренгелем; в - структура подвешенная вантами к колоннам
Рисунок 7.7 - Схемы перекрытия больших пролетов
Подстропильные конструкции следует выполнять в виде плоских ферм, ригелей рамы или в виде пространственной конструкции. Для обеспечения необходимой жесткости подстропильной конструкции ее высоту следует принимать больше высоты структурной плиты.
7.3.10 Стержневые элементы следует изготавливать из открытых прокатных или замкнутых профилей. В структурах с короткоразмерными поясами следует применять круглые или квадратные трубы, а в конструкциях с длинноразмерными поясами - двутавры или швеллеры.
7.3.11 Расчет структурных плит следует выполнять МКЭ. В расчетах все узловые сопряжения следует учитывать как шарнирные, а стержневые элементы, как воспринимающие только сжимающие или растягивающие усилия, в случае отсутствия внеузлового опирания элементов кровельных конструкций. В конструкциях, элементы которых соединяются на болтах, при определении прогиба следует учитывать коэффициент 1,2, за счет податливости болтовых соединений.
7.4 Цилиндрические оболочки (своды)
7.4.1 Цилиндрические сетчатые оболочки (своды), однослойные или двухслойные - стержневая конструкция с поверхностью нулевой кривизны (рисунок 7.8). Очертание свода следует принимать круговым. Основными элементами свода, кроме сетчатой оболочки, являются бортовые элементы, для покрытий, опертых на четыре колонны по углам (рисунок 7.8, а), а также торцевые диафрагмы - фермы, арки, стены. Своды по продольным сторонам опирают на промежуточные стойки (рисунок 7.8, б) или ленточные фундаменты (рисунок 7.8, в).
а - опертые на колонны по углам;
б - опертые на дополнительные промежуточные стойки;
в - опертые на ленточные фундаменты
Рисунок 7.8 - Цилиндрические сетчатые своды
7.4.2 Цилиндрические оболочки следует использовать в покрытиях пролетом L: однослойные до 30 м, двухслойные до 80 м, с соотношением пролета к длине до 1:1,5. Стрелу подъема сетчатого свода следует принимать в интервале от L/6 до L/2. Высоту сечения стержневых элементов однослойной сетки следует принимать от L/200 до L/80, а расстояние между поясами двухслойного сетчатого свода от L/50 до L/20.
7.4.3 Для образования свода следует использовать сетки с различными ячейками - треугольными (рисунок 7.9, а), квадратными с раскосами (рисунок 7.9, б, в), ромбическими (рисунок 7.9, г). Угол наклона стержней к цилиндрической образующей следует принимать от 30° до 60°.
а - треугольная; б, в - квадратная с раскосами;
г - ромбическая
Рисунок 7.9 - Системы сеток сводчатого покрытия
7.4.4 Для обеспечения устойчивости и пространственной работы длинных цилиндрических оболочек следует применять промежуточные диафрагмы в виде криволинейных ребер (арок) с затяжками. Диафрагмы (арки) с высотой поперечного сечения порядка
L/40 следует устанавливать шагом от
L до 1,5
L (
рисунок 7.8,
б). Промежуточные диафрагмы следует опирать на стойки или фундамент.
7.4.5 Расчет цилиндрических сетчатых оболочек следует выполнять МКЭ. В расчетах однослойных оболочек узловые сопряжения следует учитывать, как жесткие, а стержневые элементы, как воспринимающие продольные усилия и изгибающие моменты. В расчетах двухслойных оболочек все узловые сопряжения следует учитывать, как шарнирные, а стержневые элементы, как воспринимающие только сжимающие или растягивающие усилия, при отсутствии внеузлового опирания элементов кровельных конструкций.
7.5 Сетчатые оболочки двойной кривизны
Сетчатые оболочки двойной кривизны следует проектировать из однотипных стержневых и узловых элементов, однослойными или двухслойными, соответственно с жесткими или шарнирными узлами, с треугольными, квадратными или ромбическими ячейками.
Сочлененные оболочки образуют комбинациями различных поверхностей (рисунок 7.10). Каждый из секторов сочлененной оболочки по границе должен быть обрамлен бортовым элементом. Возможны варианты покрытий с плавным переходом от одной поверхности к другой, в том числе разной кривизны.
а, б - нулевой гауссовой кривизны; в, г, д - положительной
гауссовой кривизны; е, ж - отрицательной гауссовой кривизны
Рисунок 7.10 - Сочлененные оболочки
с пересечением различных поверхностей
7.5.1 Сетчатые оболочки положительной гауссовой кривизны
7.5.1.1 Оболочки положительной гауссовой кривизны следует создавать высечкой из сферической или эллипсоидной поверхности покрытия на треугольном, квадратном, многоугольном или овальном плане (рисунок 7.11).
а - на треугольном плане; б - на квадратном плане;
в - на многоугольном плане
Рисунок 7.11 - Сетчатые оболочки
положительной гауссовой кривизны
7.5.1.2 Оболочки следует использовать в покрытиях пролетом: однослойные до 30 м, а двухслойные до 150 м. Стрелу подъема оболочки следует принимать в интервале от 1/10 до 1/4 пролета, а расстояние между поясами двухслойной оболочки от 1/80 до 1/30 пролета.
7.5.1.3 По контуру оболочек необходимо предусматривать диафрагмы в виде арок, ферм или контурных криволинейных ребер (рисунок 7.12). Арки и фермы следует применять при опирании покрытия по углам на колонны. При частом расположении колонн по периметру здания или при опирании оболочки на стены следует применять контурные криволинейные ребра. Высоту поперечного сечения контурных ребер и арок следует назначать 1/60 пролета.
Диафрагмы в виде: а - арок; б - ферм;
в - криволинейных ребер со стойками
Рисунок 7.12 - Диафрагмы по контуру оболочек
положительной гауссовой кривизны
7.5.2 Сетчатые оболочки отрицательной гауссовой кривизны
7.5.2.1 Оболочки отрицательной гауссовой кривизны следует создавать высечкой из поверхности гиперболического параболоида покрытия (рисунок 7.13) на квадратном, ромбическом, овальном или более сложном плане, в том числе сочлененные
(рисунок 7.10).
Рисунок 7.13 - Поверхность оболочки
отрицательной гауссовой кривизны
7.5.2.2 Оболочки отрицательной гауссовой кривизны
(рисунок 7.13) следует применять в покрытиях пролетом (
L): однослойные до 18 м, а двухслойные до 100 м. Стрелу провиса
f1 оболочки следует принимать от
L/10 до
L/4, а расстояние между поясами двухслойной оболочки от
L/80 до L/30.
7.5.2.3 По контуру оболочек необходимо предусматривать контурные ребра (рисунок 7.14). Горизонтальный размер сечения ребер следует принимать от L/60 до L/40 пролета, вертикальный - вдвое меньше, при наличии периметральных стоек. Нижние узлы контура покрытия необходимо соединять затяжкой или устанавливать в этих точках пилоны.
1 - оболочка; 2 - контурные ребра
Рисунок 7.14 - Оболочка отрицательной гауссовой кривизны
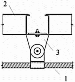
7.6 Купольные конструкции
7.6.1 Купол представляет собой пространственную стержневую конструкцию в виде оболочки положительной кривизны, включающую три основных элемента: нижний растянутый опорный контур, собственно оболочку и верхний сжатый опорный контур. Конструктивная схема купола показана на рисунке 7.15.
1 - нижний опорный контур; 2 - оболочка;
3 - верхний опорный контур
Рисунок 7.15 - Конструктивная схема купола
7.6.2 Купола следует использовать пролетом от 30 до 250 м, с очертанием в плане круговым, овальным или в виде правильного многоугольника; с поверхностью сферической, эллиптической, стрельчатой, конической, зонтичной (разделенной на вспарушенные секторы).
Отношение высоты купола h к диаметру D, следует принимать от 1/8 до 1/2. Размер ячейки поясных сеток следует назначать с учетом конструкции кровли и наличия прогонов, которые следует опирать на верхний пояс радиальных или кольцевых элементов.
7.6.3 Стержневые купола следует проектировать однослойными или двухслойными, диаметром D более 60 м, соответственно с жесткими или шарнирными узлами.
7.6.4 Очертание поверхности купола в радиальном направлении следует принимать круговым. Тороидальную или стрельчатую форму купола создают смещением центра окружности с оси.
7.6.5 Элементы однослойного купола следует проектировать сплошностенчатыми из прокатных или сварных профилей двутаврового сечения с жесткими узлами. Элементы двухслойного купола следует выполнять в виде ферм с параллельными поясами, объединенными решеткой из круглых или прямоугольных труб или других видов профилей, аналогичными плоским фермам покрытия.
7.6.6 Высоту сечения стержней однослойного купола следует принимать от
D/200 до
D/80 или менее 1/50 радиуса кривизны оболочки. Для сетчатых куполов это отношение уменьшают до
D/250. Расстояние между поясами двухслойного купола следует принимать от
D/60 до
D/30 и до
D/100 для большепролетных куполов. Гибкость стержней принимают

, расстояние между поясами до 2,5 м.
7.6.7 Диаметр верхнего кольца d следует назначать с учетом размещения узлов крепления примыкающих элементов d/D от 1/20 до 1/7. При значительных размерах центрального кольца, для повышения жесткости и устойчивости его следует развязывать внутренними распорками.
7.6.8 При редко установленных ребрах нижнее опорное кольцо в плане следует проектировать в виде многоугольника с жестким сопряжением в углах, с числом сторон равным числу ребер. При частом расположении ребер нижний опорный контур принимают в виде плоского круглого кольца.
7.6.9 Нижний опорный контур следует опирать шарнирно на качающиеся (маятниковые) колонны или на фундамент, обеспечивая возможность перемещений конструкции купола за счет подвижных в двух направлениях опорных частей (ОЧ).
7.6.10 Нижнее кольцо следует проектировать для однослойных куполов в виде горизонтально расположенного сварного двутавра или коробки и часто расположенных опорных стоек (рисунок 7.16, а), для двухслойных куполов в виде решетчатой фермы, развитой по вертикали (рисунок 7.16, б). Оси стержней купола, примыкающих к кольцу, и ось вертикальной опорной реакции следует центрировать.
а - для однослойных куполов; б - для двухслойных куполов
Рисунок 7.16 - Нижнее опорное кольцо
7.6.11 Узлы конструкции купола следует проектировать на болтах, сварке или комбинированными. Узловые соединения однослойных и двухслойных сетчатых куполов приведены в
11.2.
7.6.12 Расчет куполов следует выполнять МКЭ с учетом геометрической нелинейности. Проверку прочности и устойчивости необходимо выполнять с учетом последовательности монтажа и возможных начальных отклонений узлов от проектной геометрии купола и искривления стержней, возникающих из-за погрешностей изготовления и монтажа.
7.6.13 Общую устойчивость купольной системы следует обеспечивать системой связей и прогонов совместно с кольцевыми элементами, а также связями, расположенными в четырех точках по диагонали опорного контура.
7.6.14 Конструктивные схемы различных типов металлических куполов приведены в
приложении В.
7.7 Особенности расчетов однослойных пространственных стержневых систем
7.7.1 Все расчеты пространственных стержневых систем следует выполнять на прочность и устойчивость. При проектировании следует учитывать, что тип потери устойчивости пространственных стержневых систем зависит от:
- варианта конструктивного решения (однослойного или двухслойного);
- кривизны геометрии поверхности;
- степени статической неопределимости конструктивной схемы;
- способа опирания конструкции;
- варианта нагружения, в том числе местного.
Различные формы потери устойчивости однослойных пространственных стержневых систем приведены на
рисунке 7.17.
7.7.2 Расчеты на устойчивость однослойных пространственных стержневых систем должны включать решение трех типов задач:
- местная потеря устойчивости системы или прощелкивание в узле, объединяющем несколько стержней (
рисунок 7.17,
б). Этот случай возможен, когда отношение
t/
R (где
t - эквивалентная толщина стержневой оболочки,
R - радиус кривизны оболочки) весьма мало;
- общая потеря устойчивости всей структуры (рисунок 7.17, в).
а - потеря устойчивости отдельного стержня;
б - местная потеря устойчивости или прощелкивание в узле,
объединяющем несколько стержней; в - общая потеря
устойчивости всей структуры
Рисунок 7.17 - Различные формы потери устойчивости
однослойных пространственных стержневых систем
7.7.3 Расчет на устойчивость отдельного стержня следует выполнять в соответствии с требованиями
СП 16.13330, при этом остальная часть пространственной структуры (стержни и узлы) остается не изменяемой.
7.7.4 При расчетах на местную потерю устойчивости системы необходимо учитывать следующее:
а) в стержневой системе с шарнирным соединением
(рисунок 7.18) критическую равномерно распределенную нагрузку
qcr, следует определять по формуле
AEl/(12R3) <= qcr <= AEl/(6R3), (7.1)
где A - площадь сечения стержня, мм2;
E - модуль упругости материала стержней, Н/мм2;
l - длина стержня, мм;
R - радиус эквивалентной сферической оболочки, на поверхности которой находятся точки B - A - B, мм.
б) критическую силу Pcr для треугольной стержневой сетки, с элементами одинакового сечения, в случае равномерно распределенной нагрузки, следует определять по формуле

, (7.2)
где R - радиус кривизны срединной поверхности оболочки в рассматриваемой области, мм;
r - радиус инерции сечения стержня, мм;
Bэ - эквивалентная изгибная жесткость системы, принимают в соответствии с таблицей 7.1
Таблица 7.1
Эквивалентная изгибная жесткость Bэ
| 0,031 | 0,0625 | 0,125 | 0,25 | 0,5 | 1 | 2 | 4 | 8 | 16 | 32 | 64 |
Bэ | 0,868 | 0,873 | 0,886 | 0,950 | 1,176 | 1,850 | 3,150 | 4,830 | 6,480 | 7,350 | 7,800 | 7,900 |
Рисунок 7.18 - Схема местной потери устойчивости
(прощелкивание) в стержневой системе с шарнирным соединением
7.7.5 Полную потерю устойчивости системы, характеризуемую изменением первоначальной формы относительно большой области пространственной структуры, следует определять МКЭ.
8 Вантовые (висячие) системы
8.1.1 Основными элементами вантового/висячего покрытия являются растянутые пролетные элементы и опорные конструкции. Нагрузка на растянутые несущие элементы покрытия передается непосредственно через кровельный настил или прогоны. Вантовые/висячие (далее висячие) конструкции следует применять в покрытиях пролетом от 20 до 300 м.
8.1.2 Висячие конструкции классифицируют:
- по принципиальной конструктивной схеме;
- форме сооружения в плане и геометрии поверхности покрытия;
- методу стабилизации покрытия;
- способу восприятия распора усилий с пролетной конструкции;
- материалу несущих растянутых и контурных элементов.
Большой класс комбинированных конструкций из гибких растянутых вант и сжато-изогнутых жестких элементов, представлен в
разделе 10.
8.1.2.1 Конструктивные схемы. Висячие конструкции разделяют на линейные и пространственные.
Линейные системы работают в вертикальной плоскости, а их пространственную работу следует обеспечивать второстепенными ортогональными элементами.
Пространственные системы работают в двух направлениях. Их пространственную работу следует обеспечивать граничными условиями, наличием контурных несущих элементов (балки, фермы, арки, диафрагмы и т.п.) или гибких элементов (трос-подборов).
По типу конструктивной схемы выделяют:
- одно- и двухслойные системы;
- жесткие ванты (висячие фермы и балки);
- системы типа "велосипедное колесо";
- тросовые сетки.
8.1.2.2 Форма плана. Висячие конструкции покрытий имеют разнообразную форму плана - квадрат, прямоугольник, круг, овал и т.д., а также более сложное комбинированное очертание.
8.1.2.3 Форма поверхности висячих покрытий имеет нулевую, положительную или отрицательную кривизну или в виде комбинации оболочек с одинаковой или различной формой поверхности.
Стрелу провиса вант f следует назначать с учетом следующих факторов: с уменьшением f уменьшается объем сооружения; снижаются требуемые величины параметров, обеспечивающих стабилизацию покрытия; но при этом возрастают усилия в вантах и опорном контуре.
8.1.2.4 Методы стабилизации покрытия:
- увеличение собственной массы покрытия или пригруз;
- предварительное напряжение системы;
- введение в конструкцию покрытия изгибно-жестких элементов.
8.1.2.5 Способы восприятия распора усилий с пролетной конструкции:
- с замкнутым опорным контуром - распоры воспринимают в уровне покрытия и на нижележащие конструкции передаются в основном вертикальные усилия;
- с разомкнутым опорным контуром - висячие покрытия передают усилия распора на каркас здания, контрфорсы, пилоны или оттяжки с анкерными якорями. В контуре в виде арок или ломаных балок возникают распоры, которые следует воспринимать затяжками или контрфорсами.
8.1.2.6 Материалы. В качестве материала несущих растянутых элементов следует применять стальные канаты, пряди из высокопрочной проволоки, растянутые круглые стержни, висячие элементы или фермы. Опорные конструкции следует выполнять из железобетонных или стальных контуров, рам, арок, трос-подборов, стоек с оттяжками и т.п.
8.1.3 Проектирование висячих конструкций следует выполнять в соответствии с общими требованиями по прочности, жесткости и устойчивости, приведенными в
СП 16.13330 и
СП 35.13330.
Для элементов висячих конструкций согласно СП 20.13330.2016
(пункт 15.2.3) вертикальные прогибы (перемещения) от постоянных, длительных и кратковременных нагрузок не должны превышать 1/150 пролета.
8.1.4 Расчеты висячих систем следует выполнять МКЭ в геометрически нелинейной постановке с учетом перемещений, в том числе кинематических. В расчетах следует учитывать податливость опорного контура. При наличии в системе пилонов они должны быть проверены на прочность и устойчивость. Гибкость пилона при проверке общей устойчивости следует определять с учетом переменной жесткости, условий его закрепления в фундаменте и узлов примыкания ригелей и вант.
При проектировании висячих систем в целом, так и отдельных конструктивных элементов, следует учитывать проблемы аэродинамической неустойчивости.
8.2 Однослойные вантовые системы
8.2.1 Однослойные (однопоясные) висячие покрытия - конструкция на прямоугольном, круглом или овальном плане (рисунок 8.1), с провисающими параллельными или радиальными вантами. Такие системы следует применять с железобетонными плитами ограждения (висячая железобетонная оболочка) или легкими панелями ограждения.
а - на прямоугольном плане; б - на круглом/овальном плане.
1 - ванты; 2 - наружный опорный контур; 3 - железобетонные
плиты; 4 - оттяжки; 5 - центральное кольцо
Рисунок 8.1 - Однопоясные системы
8.2.2 Форму поверхности покрытия следует принимать нулевой или положительной гауссовой кривизны, стрелу провиса от f/20 до f/10 пролета/диаметра таких покрытий, шаг вант от 2 до 6 м в зависимости от несущей способности панелей ограждения. В легких покрытиях стрелу провиса следует в первом приближении принимать меньше, а в тяжелых больше 1/15 пролета/диаметра покрытий.
8.2.3 Висячие железобетонные оболочки. Однослойные системы с железобетонными плитами ограждения работают по вантовой схеме только на стадии монтажа. При проектировании следует учитывать, что в покрытиях масса тросов составляет от 6 до 8 кг/м2, а масса покрытия - от 80 до 200 кг/м2, в зависимости от конструкции железобетонной плиты.
Предварительное напряжение однослойных висячих оболочек с железобетонными плитами ограждения следует осуществлять:
- замоноличиванием стыков плит под временным пригрузом;
- натяжением канатов после замоноличивания стыков плит;
- непрерывным замоноличиванием швов бетоном на расширяющемся цементе, после укладки всех плит.
Требования к проектированию висячих железобетонных оболочек следует принимать в соответствии с
СП 387.1325800.
8.2.4 Однослойные висячие системы с легкими панелями ограждения:
- с жесткими нитями (криволинейные фермы, прокатные или сварные балки) со стрелой провиса от 1/10 до 1/7 пролета/диаметра таких покрытий. Высоту сплошного сечения следует принимать от 1/70 до 1/50 пролета/диаметра, высоту висячей фермы - от 1/25 до 1/20 пролета/диаметра покрытия;
- с применением гибких вант, стабилизацию которых следует осуществлять с помощью поперечных балок или ферм, притягиваемых по концам к фундаментам или опорам (см.
рисунок 8.2);
- с поверхностью отрицательной гауссовой кривизны - гипары и шатровые покрытия.
1 - провисающее вантовое покрытие;
2 - поперечные балки или фермы; 3 - тяги
Рисунок 8.2 - Предварительное напряжение
с помощью поперечных элементов
8.3 Двухслойные вантовые системы
8.3.1 Двухслойные покрытия (система вантовых ферм на прямоугольном или овальном плане) включают несущие (провисающие) и стабилизирующие (выпуклые) ванты, объединенные распорками/подвесками
(рисунок 8.3).
8.3.2 Вантовые фермы следует проектировать двояковыпуклыми с распорками (рисунок 8.3, а), двояковогнутыми с подвесками (рисунок 8.3, б) или комбинированными (рисунок 8.3, в). В последнем варианте несущие и стабилизирующие ванты пересекаются, стойки сжаты в средней части покрытия и растянуты - в крайних. Расстояние между распорками/подвесками следует назначать до 6 м и более, увязывая с размерами панелей покрытия и шагом прогонов. Сжатые распорки следует проектировать трубчатого сечения, растянутые подвески - из тросов или круглых стержней.
а - выпуклые; б - вогнутые; в - выпукло-вогнутые;
1 - несущие ванты; 2 - стабилизирующие ванты; 3 - наружный
опорный контур; 4 - сжатые распорки; 5 - растянутые подвески
Рисунок 8.3 - Двухпоясные вантовые системы
8.3.3 Нагрузку на покрытие и усилие от предварительного напряжения системы следует воспринимать провисающими вантами, выгнутые кверху ванты обеспечивают стабилизацию покрытия, за счет предварительного напряжения, и восприятие ветрового отсоса. Стабилизирующие ванты следует напрягать так, чтобы при любых сочетаниях нагрузок в них всегда оставалось усилие растяжения до 10%.
8.3.4 Стрелу провиса несущих вант следует принимать от 1/15 до 1/10 пролета, а стрелу подъема стабилизирующих вант - от 1/20 до 1/15 пролета. Шаг вантовых ферм у наружного контура следует принимать до 6 м.
8.3.5 Для сооружений на круглом/овальном плане вантовые фермы следует располагать в радиальном направлении (рисунок 8.4, а) или в двух или трех направлениях (рисунок 8.4, б, в).
а - в радиальном направлении; б - в двух направлениях;
в - в трех направлениях;
Рисунок 8.4 - Варианты расположения вантовых ферм
для покрытий на круглом плане
Для сооружений с прямоугольным планом вантовые фермы следует располагать параллельно (рисунок 8.5, а) или в радиальном направлении (рисунок 8.5, б) с применением троса-подбора, передающего распор в углы покрытия.
а - в одном направлении; б - в радиальном направлении;
1 - несущие ванты; 2 - наружный контур; 3 - трос-подбор
Рисунок 8.5 - Варианты расположения вантовых ферм
для покрытий на прямоугольном плане
8.3.6 Двухслойные покрытия на прямоугольном плане с провисающим верхним поясом следует проектировать с поверхностью квазицилиндрической формы с небольшой обратной кривизной (0,2 - 0,3 от основной стрелы провиса) в направлении, перпендикулярном несущим вантовым фермам (рисунок 8.6), за счет постепенного изменения стрелы провиса несущих вант или соответствующего очертания контура.
1 - несущие ванты; 2 - кровельные панели,
3 - стабилизирующие ванты
Рисунок 8.6 - Двухпоясные вантовые системы
на прямоугольном плане квазицилиндрической формы
8.3.7 В двухслойных системах в кольцевом/поперечном направлении следует устанавливать второстепенные элементы шагом 5 - 10 м вдоль поясов вантовых ферм, а также горизонтальные и вертикальные связи.
8.3.8 В двухпоясных покрытиях с радиальным расположением вантовых ферм распор следует воспринимать наружным железобетонным контуром и растянутым стальным центральным барабаном/кольцом. Ось радиальных вант должна проходить через центр тяжести сечения контура.
8.3.9 Наружный контур следует устанавливать на маятниковые колонны или скользящие опоры. Общую устойчивость конструкции покрытия следует обеспечивать пространственной системой и включением в работу четырех тангенциальных связей по главным осям покрытия.
8.3.10 Железобетонный наружный контур следует выполнять шириной от 1/50 до 1/35 диаметра покрытия и высотой от 1/12 до 1/8 шага колонн. Допускается применение наружного металлического контура. Внутреннее кольцо покрытий с радиальным расположением вант следует проектировать стальным, в виде барабана с двумя поясами (двояковыпуклая конструкция) или в виде одного пояса (двояковогнутая конструкция). Диаметр внутреннего кольца следует назначать с учетом размещения узлов крепления концов вант, не менее 1/10 наружного кольца.
8.3.11 В двухпоясных покрытиях на прямоугольном плане с параллельными вантовыми фермами распор следует воспринимать внешними стойками с оттяжками (
рисунок 8.5,
а), подпорками или пилонами, боковыми пристройками с рамным каркасом (рисунок 8.7,
а,
б). Величины усилий во внешних стойках и удерживающих их оттяжках следует уменьшать за счет наклона стоек.
а - боковые пристройки; б - каркас трибун
Рисунок 8.7 - Схема восприятия распора
8.3.12 К наружному контуру тросы следует крепить с применением упоров и трубок (рисунок 8.8,
а) или фасонок (рисунок 8.8,
б). Диаметр трубок следует назначать в 1,5 раза больше диаметра концевого закрепления троса. Полости в пределах трубок следует заполнять герметиком. Варианты конструктивного решения крепления вант к внутреннему опорному кольцу (
рисунок 8.9,
а,
б).
а - железобетонный контур; б - металлический контур;
1 - контур; 2 - трос или стержень; 3 - стальная гильза;
4 - упор; 5 - периметральная стойка
Рисунок 8.8 - Варианты узла крепления тросов
к наружному контуру
а - с упорами; б - с переходными деталями;
1 - внутреннее кольцо; 2 - трос или стержень;
3 - переходная деталь
Рисунок 8.9 - Варианты узла крепления троса
к внутреннему кольцу
8.3.13 Преднапряжение двухпоясных покрытий следует выполнять натяжением стабилизирующих вант к наружному контуру или к центральному барабану или путем последовательного изменения высоты распорок/подвесок между поясами вант, используя винтовые муфты.
8.3.14 Для двухпоясных вантовых конструкций в качестве ограждающих элементов кровли следует применять легкие настилы, опирая их на трос (рисунок 8.10) или через систему прогонов.
1 - трос; 2 - панель; 3 - опорный столик
Рисунок 8.10 - Узел опирания кровельного настила на трос
8.4 Вантовые системы типа "велосипедное колесо"
8.4.1 Основными элементами конструкции типа "велосипедное колесо" являются: сжатый наружный контур, растянутое центральное кольцо, объединенные системой парных растянутых радиальных вант.
8.4.2 Существует два варианта конструкции покрытия:
- сжатый одинарный наружный контур, растянутый двойной внутренний контур в виде центрального барабана, парные радиальные ванты, сходящиеся в центральном барабане (
рисунок 8.11,
а);
- сжатый наружный контур из двух кольцевых элементов, расположенных друг над другом и объединенных распорками, парные радиальные ванты, сходящиеся в центральном кольце (
рисунок 8.11,
б).
Первый вариант рационален по расходу материалов, в нем проще обеспечивается наружный водоотвод.
8.4.3 Конструкции типа "велосипедное колесо" целесообразно применять для покрытий сооружений на круглом или овальном плане.
Конструкция покрытия над трибунами стадионов имеет центральный проем над игровым полем (рисунок 8.11, в, г). В таких покрытиях очертание внутреннего кольца, следует принимать подобным очертанию наружного контура.
а, б - для крытых арен; в, г - для покрытий
с центральным проемом
Рисунок 8.11 - Варианты конструкций покрытий типа
"велосипедное колесо"
8.4.4 Радиальные вантовые фермы следует проектировать двояковыпуклыми со сжатыми стойками/распорками из труб (рисунок 8.12, а, в) или двояковогнутыми с растянутыми тросовыми подвесками (рисунок 8.12, б, г). Стрелу провиса несущих вант fн следует принимать 0,05/L, стрелу подъема стабилизирующих вант fс - 0,03/L, где L - вылет вантовой фермы до центрального кольца.
а - двояковыпуклая со сдвоенным наружным контуром;
б - двояковогнутая со сдвоенным наружным контуром;
в - двояковыпуклая со сдвоенным внутренним контуром;
г - двояковогнутая со сдвоенным со сдвоенным
внутренним контуром
Рисунок 8.12 - Варианты схем радиальных вантовых
ферм покрытия
8.4.5 Радиальные ванты следует выполнять из закрытых спиральных канатов диаметром от 55 до 100 мм. Диаметр несущих тросов следует принимать по расчету до 40% большим, чем стабилизирующих. Шаг распорок/подвесок - от 8 до 10 м, расстояние между радиальными вантовыми фермами по наружному периметру - от 10 до 15 м.
8.4.6 В овальных покрытиях, с планом, приближающимся к прямоугольнику, в закругленных углах следует увеличивать количество вантовых ферм и усиливать контур.
8.4.7 Сжатый наружный контур (
рисунок 8.8,
б) следует выполнять коробчатого сечения из стальных листов толщиной 30 - 100 мм, шириной от
Dср/180 до
Dср/140 и высотой от
Dср/350 до
Dср/250, (где
Dср - средний размер покрытия по главным осям). Наружный контур следует проектировать многоугольным из прямолинейных отправочных марок длиной до 15 м. Расстояние между сдвоенными наружными или центральными кольцами по высоте следует принимать от 1/20 до 1/10 пролета, а для покрытий с центральным проемом от 1/4 до 1/3 вылета консоли.
8.4.8 В покрытиях с центральным проемом внутреннее кольцо следует выполнять в виде пакета из тросов закрытого типа (6 - 8 шт.) диаметром 50 - 100 мм, расположенных в один или два ряда по высоте (
рисунок 8.13,
а,
б).
8.4.9 Соединение радиальных вант с элементами наружного контура (
рисунок 8.8,
б), центрального кольца (рисунок 8.13), распорками/подвесками (
рисунок 8.14,
а,
б) следует выполнять с помощью вилочных разъемов или муфт.
а - разрез; б - план
1 - тросы внутреннего кольца; 2 - соединительная деталь
(литая или сварная); 3, 4 - тросы вантовой фермы;
5 - вилочный анкер; 6 - ось шарнира
Рисунок 8.13 - Узел крепления радиальных тросов
к внутреннему кольцу из набора тросов
а - с распорками; б - с подвесками;
1 - несущие ванты; 2 - стабилизирующие ванты; 3 - распорка;
4 - шарнир; 5 - проушина; 6 - подвеска
Рисунок 8.14 - Узлы соединения радиальных вант
с распорками/подвесками
8.4.10 Наружный контур следует устанавливать на маятниковые колонны или скользящие опоры, опирающиеся на каркас сооружения. Общую устойчивость конструкции покрытия следует обеспечивать пространственной системой и включением в работу четырех тангенциальных связей по главным осям покрытия.
8.4.11 Расчет конструкций покрытий типа "велосипедное колесо" следует выполнять в геометрически нелинейной постановке с учетом податливости опорных колец.
8.4.12 Возможны решения конструкции покрытия типа "велосипедное колесо", в которых вместо предварительно напряженных радиальных вантовых ферм применяют радиальные фермы из прокатных или сварных профилей.
8.5.1 Вантовые сети содержат два или более семейств вант, образующих ячейки прямоугольной, квадратной, треугольной, ромбической и других форм, образующих поверхность отрицательной гауссовой кривизны, что позволяет предварительно напрягать сетку (рисунок 8.15). Более эффективны системы с тросами двух направлений.
Рисунок 8.15 - Вантовые сетки с различной формой ячеек
8.5.2 В вантовых сетках тросы одного направления - несущие, (провисающие), а ванты другого направления - вспарушенные, являются стабилизирующими (напрягающими). Стрелы провиса/подъема следует принимать: для несущих нитей от 1/15 до 1/8 пролета, для стабилизирующих нитей от 1/25 до 1/10 пролета.
8.5.3 Стабилизацию вантовых сеток (рисунок 8.16) следует осуществлять предварительным напряжением, после чего они превращаются в жесткую конструктивную систему. Необходимую для стабилизации величину предварительного натяжения следует определять расчетом. При этом усилия начального натяжения стабилизирующих вант назначают таким образом, чтобы при всех вариантах нагружения покрытия, усилия в них оставались бы растянутыми.
Nн - усилия в несущих вантах; Nс - усилия
в стабилизирующих вантах
Рисунок 8.16 - Схема предварительного напряжения
вантовых сеток
8.5.4 Форму поверхности вантовых сетей следует создавать изменением граничных условий и конфигурации их границ, вводя внутренние стойки или жесткие контурные элементы, изменяя отношение усилий предварительного напряжения в тросах.
8.5.5 Несущие и напрягающие тросы сетки в местах их пересечения следует фиксировать от взаимного сдвига узлами в виде болтовых хомутов, штампованных деталей или литыми накладками с пазами (рисунок 8.17).
а, б - штампованные детали; г, е, ж - болтовые хомуты;
в - литые шайбы с пазами (ортогональное пересечение
канатов); д - литые шайбы с пазами
(пересечение канатов под углом)
Рисунок 8.17 - Узлы крепления в местах пересечения тросов
8.5.6 В большепролетных сооружениях следует избегать плоских участков покрытия, для предотвращения аэродинамических колебаний.
8.5.7 Распор с пролетной конструкции следует воспринимать жестким замкнутым опорным контуром, наклонными или вертикальными арками, гибкими растянутыми вантами-подборами.
8.5.8 Замкнутый жесткий опорный контур седловидного покрытия с вантовыми сетками, круглый или овальный в плане, должен иметь депланированную форму (рисунок 8.18).
Рисунок 8.18 - Вантовая сеть на замкнутом жестком контуре
на круглом/овальном плане
8.5.9 Вантовую сеть на жестком замкнутом контуре на прямоугольном плане следует применять как для отдельно стоящих сооружений (см. рисунок 8.19, а), так и для сочлененных оболочек (рисунок 8.19, б).
а - для отдельно стоящих сооружений;
б - для сочлененных оболочек
Рисунок 8.19 - Вантовая сеть на замкнутом контуре
на прямоугольном плане
Геометрию ломанного рамного контура следует назначать исходя из обеспечения рекомендованных в
8.5.2 стрел провиса/подъема несущих/стабилизирующих вант. Нижние углы контура следует объединять затяжками или в этих местах устанавливать пилоны.
8.5.10 В покрытиях с вантовой сетью и опорным контуром из арок наиболее простое решение - две наклонные арки, пересекающиеся в пятах и опертые по периметру на колонны или стены (рисунок 8.20, а). Распор с покрытия следует воспринимать затяжкой или пилонами в узлах пересечения арок. Возможны решения с раздвижкой арок, образующих разомкнутый контур (рисунок 8.20, б).
а - пересекающиеся в пятах; б - с раздвинутыми арками
Рисунок 8.20 - Седловидное покрытие
с двумя наклонными арками
Арки могут быть установлены наклонно или вертикально с наружными оттяжками (рисунок 8.21).
Рисунок 8.21 - Седловидное покрытие
с вертикальными арками и оттяжками
Сочлененные покрытия следует формировать пересечением нескольких наружных и внутренних арок (рисунок 8.22,
а,
б) или не иметь переломов по линиям сопряжения поверхности
(рисунок 8.23).
Рисунок 8.22 - Сочлененные покрытия
из нескольких наружных и внутренних арок
Рисунок 8.23 - Вантовая сеть с арочными контурами
и кусочно-гладкой поверхностью
8.5.11 Шатровые вантовые оболочки, круглые в плане, следует применять в покрытиях пролетом до 350 м. Конструкция состоит из оболочки с поверхностью вращения отрицательной кривизны, с несущими радиальными и стабилизирующими кольцевыми вантами, наружного контура и внутреннего кольца, опертого на центральную опору (рисунок 8.24). Стрелу подъема оболочки следует назначать от D/15 до D/7. Общую устойчивость сооружения обеспечивают изгибной жесткостью периметральных колонн и центральной опоры. Очертание меридиана шатровой оболочки вращения следует определять уравнением гибкой нити, подвешенной к двум точкам на разных уровнях. Наклон касательной к меридиану оболочки в месте примыкания к наружному контуру должен быть около 5° для обеспечения наружного водоотвода. Стабилизацию покрытия следует осуществлять предварительным напряжением радиальных вант.
а - план; б - разрез
Рисунок 8.24 - Шатровая сетчатая вантовая оболочка
Внутреннее кольцо диаметром от 0,05 до 0,15 наружного диаметра покрытия следует проектировать металлическим из прокатных или сварных профилей (рисунок 8.25).
Рисунок 8.25 - Узел крепления радиальных тросов
к оголовнику центральной опоры шатровой оболочки
8.5.12 Вантовые сетки, закрепленные на гибком опорном контуре (краевые тросы), стабилизируют натяжением системы стоек и оттяжек. Форму покрытия образовывают расположением тросов-подборов по периметру сети и расположением стоек. Вантовые сетки с гибким опорным контуром следует применять в седлообразных покрытиях (рисунок 8.26,
а,
б) или шатровых (
рисунок 8.27,
а) с одной или несколькими промежуточными опорами (
рисунок 8.27,
б).
а - с двумя стойками; б - с четырьмя стойками
Рисунок 8.26 - Седлообразная вантовая сеть
с гибким опорным контуром
а - одностоечные; б - многостоечные регулярные
Рисунок 8.27 - Вантовые шатровые сетки
на гибком опорном контуре
9 Мембранные (тонколистовые) висячие покрытия
9.1.1 Основными элементами мембранных покрытий являются металлическая тонколистовая пролетная конструкция и опорный контур. По конструктивным решениям мембранные системы разделяются на провисающие и первоначально плоские.
9.1.2 Тонколистовыми конструкциями перекрывают пролеты от 24 до 300 м, с разнообразной формой плана: квадрат, прямоугольник, треугольник, круг, овал или комбинированного очертания (
рисунки 9.1,
9.2).
9.1.3 Мембранные оболочки следует проектировать с формой поверхности: нулевой, положительной и отрицательной гауссовой кривизны (рисунок 9.1), а также составными, в виде комбинации оболочек с одинаковой или различной формой поверхности
(рисунок 9.2).
а, г - нулевой гауссовой кривизны; б, в - положительной
гауссовой кривизны; д, е, ж, и, к - отрицательной
гауссовой кривизны
Рисунок 9.1 - План и форма поверхности
отдельно стоящих покрытий
а, г, е, ж, и - отрицательной гауссовой кривизны;
б, в, д - нулевой гауссовой кривизны
Рисунок 9.2 - План и форма поверхности составных покрытий
9.1.4 Элементы "постели" следует принимать гибкими, из полосы шириной от 300 до 500 мм и толщиной в 1,3 - 1,5 раза больше толщины стальной мембраны, провисающими под собственным весом, или изгибно-жесткими.
9.1.5 Стабилизацию тонколистовых покрытий следует осуществлять:
- увеличением собственной массы покрытия, в том числе с подвеской пригруза или технологического оборудования (
рисунок 9.3,
а);
- введением в конструкцию покрытия элементов, обладающих изгибной жесткостью (
рисунок 9.3,
б,
в);
а - пригрузом; б, в - с использованием
изгибно-жестких элементов;
1 - мембрана; 2 - пригруз; 3 - кольцевой кран; 4 - основные
(продольные или радиальные) ребра; 5 - вспомогательные
(поперечные или кольцевые) ребра
Рисунок 9.3 - Стабилизация покрытий
9.1.5.1 Увеличение собственной массы покрытия следует назначать с учетом обеспечения растягивающих напряжений в мембране при ветровом отсосе, уменьшения доли неравномерных временных нагрузок. Как правило, конструкция кровли совместно с мембраной и подвесным технологическим оборудованием обеспечивают требуемую для стабилизации массу покрытия.
9.1.5.2 Стабилизирующие изгибно-жесткие элементы следует располагать по линиям главных кривизн оболочки с шагом от 6 до 12 м, увязывать с шириной полотнища мембраны, использовать как основание для монтажа мембраны, подвески акустического потолка. Ребра следует выполнять из прокатных или сварных элементов или в виде висячих ферм.
9.1.5.3 Стабилизацию тонколистовых покрытий предварительным напряжением следует осуществлять в зависимости от формы поверхности:
- оболочки отрицательной кривизны - притягиванием мембраны к контуру или изменением положения контура (
рисунок 9.4,
а,
б);
- оболочки нулевой или положительной гауссовой кривизны - с помощью системы вантовых ферм (
рисунок 9.4,
в,
г,
д);
- цилиндрические оболочки - притягиванием концов поперечных ребер к основанию (рисунок 9.4, е).
а - притягиванием мембраны к контуру; б - изменением
геометрии покрытия; в, г, д - с помощью натяжения вантовых
ферм; е - притягиванием поперечных балок к основанию;
1 - мембрана; 2 - стабилизирующие ванты; 3 - центральный
пригруз; 4 - оттяжки
Рисунок 9.4 - Стабилизация покрытия
предварительным натяжением
9.1.6 Мембранные оболочки следует выполнять из отдельных тонколистовых полотнищ заводского изготовления шириной до 12 м, поставляемых на строительную площадку в рулонах и объединяемых на монтаже в сплошную пространственную систему. Полотнища следует располагать в направлении действия максимальных усилий в покрытии. Толщину мембраны следует принимать от 2 до 6 мм.
9.1.7 При существенной неравномерности усилий в мембране следует использовать листы, которые крепят к основному полотнищу, обеспечивая их совместную работу. Зазор между основным полотнищем и листами усиления по их периметру должен быть загерметизирован.
9.1.8 В провисающие мембранные покрытия следует включать систему элементов подкрепления, служащую на стадии монтажа "постелью", для укладки полотнищ мембраны. "Постель" состоит из направляющих и поперечных элементов.
9.1.8.1 Направляющие элементы длиной на пролет (или половину пролета для круглых или овальных в плане покрытий) следует располагать вдоль мембранных полотнищ шагом равным их ширине или в два раза чаще. Площадь сечения направляющих элементов следует включать в работу пролетной конструкции, обеспечивая совместность их работы.
9.1.8.2 Поперечные элементы "постели" (гнутые или прокатные профили), объединяющие отдельные направляющие в пространственную систему, следует устанавливать шагом от 3 до 6 м. Их сечение определяют расчетом на нагрузку от собственного веса полотнища мембраны, ограничивая относительный прогиб до 1/200 пролета. Крепление поперечных элементов к направляющим следует выполнять по неразрезной схеме.
9.1.9 Мембранные полотнища следует соединять между собой и с контуром внахлестку на сварке (непрерывным угловым швом, точечной сваркой проплавлением) или на высокопрочных болтах (рисунок 9.5).
а - без "постели"; б - с "постелью", внахлестку полотнищ
мембраны; в - с "постелью", внахлестку
на направляющих элементах;
1 - мембрана; 2 - направляющие элементы "постели";
3 - болты или сварные точки; 4 - сварка
Рисунок 9.5 - Узлы сопряжения полотнищ мембраны
9.1.10 Один из концов направляющих элементов следует заканчивать стержнем с нарезкой, для подтяжки к упорам на контуре, а другой крепить на монтажной сварке. Изгибно-жесткие направляющие элементы следует крепить к опорному контуру с применением шарнирного узла.
9.1.11 В пролетной конструкции, на участках удаленных от контура, допускается устройство проемов для установки зенитных фонарей, пропуска коммуникаций и т.п. При наличии элементов "постели", проемы следует располагать между ними. Проемы в плоскости мембраны следует усиливать листом с площадью поперечного сечения не менее половины площади ослабления мембраны (рисунок 9.6). Проемы следует проектировать круглой, овальной или многоугольной формы с закругленными углами.
1 - мембрана; 2 - лист усиления
Рисунок 9.6 - Узел усиления проемов в мембране
9.1.12 Крепление технологического оборудования к покрытию следует осуществлять на гибких подвесках к элементам "постели" (рисунок 9.7, а) или непосредственно к мембране с использованием распределительных шайб (рисунок 9.7, б), диаметр и толщину которых следует подбирать в зависимости от нагрузки на подвеску.
а - к элементам "постели"; б - к мембране;
1 - мембрана; 2 - поперечный элемент "постели";
3 - распределительная шайба; 4 - подвеска
Рисунок 9.7 - Узлы крепления подвесок к мембране
9.1.13 Опорный контур следует проектировать замкнутым или разомкнутым. При проектировании следует учитывать, что в первом случае распоры воспринимают в уровне покрытия и на нижележащие конструкции передают в основном вертикальные усилия. Во втором - распоры передают на нижележащие конструкции.
9.1.14 Форму контура следует определять линией пересечения поверхности покрытия со стеновым ограждением. Контур с осью в виде плоской или пространственной кривой для упрощения изготовления следует проектировать из прямолинейных отрезков.
9.1.15 Опорный контур мембранных покрытий следует выполнять из железобетона или металла. Длину сборных элементов необходимо увязывать с шагом, расположенных по контуру опор.
9.1.16 Форму поперечного сечения железобетонного контура следует принимать прямоугольной (сплошной или пустотелой), двутавровой, трапециевидной, круглой (трубобетон) (рисунок 9.8). Для облегчения сборных элементов контура следует принимать корытообразное сечение с последующим заполнением полости монолитным бетоном на проектной отметке (рисунок 9.8, б). Допускаются решения, когда контур бетонируют в металлической опалубке (рисунок 9.8, д). Корытообразные сборные железобетонные элементы и металлическую опалубку железобетонного контура необходимо дополнительно рассчитывать на вес свежеуложенного бетона. На эксплуатационные нагрузки их следует рассчитывать, как составное сечение, обеспечивая их совместную работу.
а - сборный или монолитный; б - сборно-монолитный;
в - двутавровый; г - трубобетонный; д - монолитный
в металлической опалубке
Рисунок 9.8 - Железобетонный опорный контур
9.1.17 В мембранных покрытиях малых и средних пролетов металлический контур следует выполнять в виде балок из прокатных или сварных профилей (рисунок 9.9 а, б), а в покрытиях больших пролетов - коробчатого сечения из листов усиленных ребрами и диафрагмами (рисунок 9.9, в). При существенной разнице в величинах усилий по длине контура металлические коробчатые элементы следует проектировать с несколькими типами поперечного сечения (приопорным и пролетным), отличающимися толщиной листов при сохранении габаритных размеров. При определении сечения контура следует учитывать, что кручение контура вызывает в нем дополнительные моменты в вертикальной плоскости.
а, б - прокатной или сварной элемент;
в - коробчатый сварной элемент
Рисунок 9.9 - Металлический опорный контур
9.1.18 Соединение мембраны с контуром следует выполнять непрерывным, с использованием опорного столика. Конструкция узла должна обеспечивать надежную передачу цепных (нормальных и касательных) усилий с пролетной конструкции
(рисунок 9.10). При проектировании необходимо предусмотреть надежную анкеровку закладных деталей и усиление стенки стального короба в местах установки столика.
Плоскость опорного столика следует выполнять с наклоном, соответствующим углу касательной к поверхности мембранной оболочки в месте примыкания к контуру под максимальной нагрузкой. Линия действия усилий в мембране должна иметь минимальные отклонения от центра тяжести поперечного сечения контура. Опорный столик следует назначать толщиной не менее 1,3 толщины мембраны, шириной до 400 мм, подкрепленный вертикальными ребрами не реже чем через 300 мм (рисунок 9.10, а). Присоединение мембраны к опорному столику допускается выполнять через листовую подкладку шириной не менее 150 мм (рисунок 9.10, б).
1 - мембрана; 2 - опорный контур; 3 - опорный столик;
4 - накладка
Рисунок 9.10 - Узел примыкания мембраны к опорному контуру
9.1.19 При проектировании следует учитывать, что:
- сечение контура необходимо определять расчетом с учетом податливости;
- при монтаже в контуре могут возникать моменты, превышающие моменты от эксплуатационных нагрузок;
- устойчивость контура в покрытиях на круглом и овальном плане обеспечивается его совместной работой с мембраной. Прямоугольный в плане контур, с недостаточной жесткостью, может потерять устойчивость;
- мембранное покрытие в своей плоскости является жестким диском;
- колонны и стены кроме вертикальных нагрузок воспринимают горизонтальные воздействия от перемещения контура (обжатие, изгибные деформации и температурные воздействия, давление ветра на стеновое ограждение и, при наличии, сейсмические воздействия);
- колонны, при

, следует соединять с опорным контуром и фундаментом жестко, а при

шарнирно с фундаментами и жестко с опорным контуром.
9.1.20 Расчетные длины колонн следует определять с учетом:
- шарнирного сопряжения колонн с контуром из плоскости стен, и соотношений изгибных жесткостей колонн и контура в плоскости стен;
- соединения колонн с фундаментами в расчетной схеме в соответствии с проектным решением (шарнир, упругое или жесткое защемление).
На стадии монтажа колонну следует рассматривать как консоль, защемленную в фундаменте. Если высота колонн более чем в 1,5 раза превышает шаг их расположения в плане, то по периметру сооружения следует вводить дополнительные горизонтальные распорки, уменьшающие расчетные длины стоек.
9.1.21 При проектировании необходимо обеспечивать общую устойчивость сооружения в период его монтажа и эксплуатации, за счет:
- вертикальных связей между колоннами по осям симметрии сооружения;
- вертикальных диафрагм, совмещенных со стенами лестничных клеток или другими конструктивными элементами. В круглых (овальных) в плане покрытиях контур следует крепить к вертикальным диафрагмам с помощью связей, допускающих радиальные перемещения, но препятствующих его тангенциальным перемещениям.
9.1.22 При проектировании следует учитывать, что стальные мембранные оболочки без огнезащиты имеют предел огнестойкости R 45.
9.2 Мембранные висячие покрытия разных типов. Особенности конструктивных решений
9.2.1 Цилиндрические (нулевой гауссовой кривизны) мембранные висячие оболочки
9.2.1.1 Цилиндрические оболочки разделяются на:
- покрытия с разомкнутым контуром прямоугольные в плане (
рисунок 9.11,
в). В этом случае пролетную часть следует подкреплять вантовыми (
рисунок 9.11,
г) или жесткими фермами.
Покрытия с замкнутым контуром возможно выполнять составным, в виде комбинации цилиндрических поверхностей (рисунок 9.11, д).
а, б - на прямоугольном и овальном плане с замкнутым опорным
контуром; в, г - на прямоугольном плане с разомкнутым
опорным контуром; д - составные цилиндрические оболочки
на прямоугольном плане
Рисунок 9.11 - Типы конструкций
цилиндрических мембранных покрытий
9.2.1.2 Оболочки с замкнутым прямоугольным контуром следует применять для покрытий пролетом до 120 м, вытянутых в плане вдоль провисающей стороны покрытия при соотношении сторон

или вдоль прямолинейной образующей при соотношении сторон

.
Овальные в плане оболочки следует применять для покрытий пролетом до 200 м с соотношением осей до 1,5 и расположением провисающего направления вдоль короткой оси.
9.2.1.3 Цилиндрические покрытия следует выполнять со стрелой провиса
f/
L от 1/20 до 1/10. В них следует предусматривать мероприятия по их стабилизации в соответствии с
9.1.5.
9.2.1.4 Цепные усилия с цилиндрической мембраны с разомкнутым контуром, работающей в одном направлении, следует воспринимать нижележащими конструкциями пилонов (
рисунок 9.11,
в) или оттяжками (
рисунок 9.11,
г). Рационально в качестве опор использовать рамные конструкции пристроек, трибун и т.п.
9.2.1.5 Пролетная конструкция в цилиндрических оболочках с замкнутым контуром работает на растяжение в двух направлениях. Поверхность оболочки на овальном (рисунок 9.12) или прямоугольном
(рисунок 9.13) плане следует задавать с небольшой вспарушенностью. Стрелу провиса
f1 следует принимать в интервале от
a/10 до
a/5; стрелу вспарушенности
f2 =
f1/5, где
a - половина пролета покрытия в провисающем направлении.
1 - мембрана; 2 - элементы "постели";
3 - опорный контур; 4 - дополнительная затяжка;
а - половина пролета покрытия в провисающем направлении;
б - половина пролета покрытия в вспарушенном направлении
Рисунок 9.12 - Цилиндрическое покрытие на овальном плане
9.2.1.6 Пролетную конструкцию оболочек с замкнутым контуром на прямоугольном плане следует собирать на ортогональной системе элементов "постели" из прямоугольных полотнищ, располагая их, в зависимости от направления максимальных усилий, вдоль (рисунок 9.13, а) или поперек пролета (рисунок 9.13, б).
а - металлический опорный контур и продольное расположение
полотнищ мембраны; б - железобетонный опорный контур
и поперечное расположение полотнищ мембраны;
Размер покрытия в плане: 2a - в провисающем направлении,
2b - в вспарушенном направлении; 1 - мембрана; 2 - элементы
"постели"; 3 - опорный контур; 4 - распорки;
5 - регулирующая монтажная затяжка
Рисунок 9.13 - Цилиндрическое покрытие
на прямоугольном плане
В углах контур следует уширять или вводить распорки для восприятия изгибающих моментов. Длину углового уширения контура следует принимать 0,2 пролета, соответствующую ширину - в три раза больше ширины контура в пролетной части. Прямолинейные бортовые элементы следует выполнять повернутыми внутрь по касательной к поверхности оболочки в месте примыкания к контуру.
9.2.1.7 Сочлененные оболочки, образованные комбинацией цилиндрических поверхностей (
рисунок 9.11,
д), следует применять для покрытий зданий пролетом до 100 м с соотношением сторон от 1:1 до 1:2.
При проектировании следует учитывать, что пролетная конструкция в этих системах в каждом из секторов между диагональными элементами, работает в одном направлении, а цепные усилия с мембраны через диагональные элементы передают в углы опорного контура. Поверхность оболочки следует задавать пониженной в середине сторон контура, по отношению к центру покрытия. Крепление мембраны к криволинейному контуру следует осуществлять с применением листовых компенсаторов.
9.2.2 Тонколистовые висячие оболочки положительной гауссовой кривизны
9.2.2.1 Провисающие мембранные оболочки на круглом или овальном плане следует применять в покрытиях пролетом до 250 м. Относительную стрелу провиса следует назначать от D/30 до D/20, меньшая величина соответствует покрытиям меньших пролетов.
9.2.2.2 Пролетную конструкцию следует собирать из прямоугольных или трапециевидных тонколистовых полотнищ, подкрепленных ортогональной (диаметром до 100 м) или радиально-кольцевой системой (диаметром более 100 м) элементов ("постель") (рисунок 9.14). В последнем случае в середине покрытия следует устанавливать кольцо.
а - ортогональная система;
б - радиально-кольцевая система; в - разрез;
1 - контур; 2 - мембрана; 3 - направляющие;
4 - второстепенные элементы; 5 - кольцо
Рисунок 9.14 - Схемы расположения подкрепляющих элементов
9.2.2.3 Площадь сечения направляющих элементов, следует включать в работу оболочек, что при радиально-кольцевой системе "постели" обеспечивает переменную приведенную толщину пролетной конструкции соответствующую эпюре радиальных усилий в оболочке.
9.2.2.4 Форму центральной плиты следует принимать подобной очертанию наружного контура, а размеры определять из условия закрепления в ней радиальных элементов подкрепления и мембраны, но не менее 0,1 диаметра покрытия. Центральную плиту следует проектировать плоской из прокатных или сварных профилей (рисунок 9.15, а, б). Внутри кольца следует располагать балочную клетку. Мембрана должна примыкать к плите по центру контура (рисунок 9.15, в), натяжные болты (хвостовики), которыми заканчиваются радиальные направляющие "постели", следует устанавливать со стороны центральной плиты (рисунок 9.15, г).
а - план плиты; б - разрез; в - узел примыкания мембраны;
г - узел примыкания радиального элемента "постели";
1 - мембрана; 2 - контурная балка центральной плиты;
3 - балочная клетка; 4 - радиальный элемент "постели";
5 - натяжной болт
Рисунок 9.15 - Центральная плита
9.2.3 Тонколистовые шатровые оболочки
9.2.3.1 Шатровые оболочки на круглом плане применяют в покрытиях зданий и сооружений пролетом от 30 до 350 м. Конструкция (рисунок 9.16) состоит из мембранной оболочки, наружного контура и внутреннего кольца, опертого на центральную опору. Мембрану следует подкреплять радиально-кольцевой системой "постели", которую включают в работу пролетной конструкции. Внутреннее кольцо следует устанавливать выше отметки наружного опорного контура, с учетом относительной стрелы подъема оболочки в интервале от D/15 до D/7. Общую устойчивость сооружения следует обеспечивать пространственной мембранной, изгибной жесткостью периметральных колонн и центральной опоры.
1 - наружный опорный контур; 2 - мембрана; 3 - внутреннее
кольцо; 4 - периметральные колонны; 5 - центральная опора;
6 - радиальные и кольцевые элементы "постели"
Рисунок 9.16 - Конструктивная схема
шатрового мембранного покрытия
9.2.3.2 Геометрию шатрового покрытия следует определять, используя уравнение оси гибкой нити, подвешенной к двум точкам на разных уровнях, под действием трапецеидальной монтажной нагрузки. При этом необходимо соблюдение условия наклона касательной к меридиану оболочки в месте примыкания к наружному контуру - около 5° для обеспечения наружного водоотвода.
9.2.3.3 Внутреннее кольцо следует проектировать металлическим из прокатных или сварных профилей двутаврового сечения. Диаметр кольца следует определять из условия закрепления в нем радиальных направляющих элементов и мембраны или технологических требований в интервале от 0,05 до 0,15 наружного диаметра покрытия. Внутреннее кольцо следует свободно устанавливать на центральную опору. В период монтажа внутреннее кольцо должно быть зафиксировано временными креплениями.
9.2.3.4 Высоту опоры следует определять, как сумму высоты периметральных колонн и стрелы подъема покрытия. Для покрытий диаметром менее 100 м центральную опору допускается выполнять из трубобетона (рисунок 9.17).
1 - мембрана; 2 - натяжной болт; 3 - внутреннее кольцо;
4 - трубобетонная стойка
Рисунок 9.17 - Конструкция центральной опоры
при диаметре покрытия до 100 м
При больших размерах покрытия центральную опору следует выполнять в виде круговой железобетонной рамы со стойками, объединенными кольцевыми ригелями, диаметром равным диаметру внутреннего кольца (рисунок 9.18). Крепление центральной опоры к фундаменту следует выполнять жестким.
1 - мембрана; 2 - внутреннее кольцо; 3 - центральная опора
Рисунок 9.18 - Конструкция центральной опоры
при диаметре покрытия более 100 м
9.2.4 Мембранные оболочки седловидной формы
9.2.4.1 Мембранные оболочки седловидной формы следует применять:
- в покрытиях многопролетных зданий с укрупненной сеткой колонн 18 x 18, 24 x 24 м (
рисунок 9.19,
а,
б);
- в покрытиях отдельно стоящих зданий в виде одной (рисунок 9.19,
в) или системы сочлененных оболочек на прямоугольном (
рисунок 9.1,
ж) или овальном (
рисунок 9.2,
е,
ж,
и) планах пролетом от 30 до 100 м.
а - многопролетное покрытие из сочлененных оболочек;
б - конструктивные элементы секции сочлененных оболочек;
в - схема покрытия отдельно стоящего здания на прямоугольном
плане; 1 - наружный опорный контур; 2 - внутренний опорный
контур; 3 - ячейки (мембранные оболочки); 4 - затяжки
Рисунок 9.19 - Мембранные оболочки
отрицательной гауссовой кривизны
9.2.4.2 Седловидное покрытие состоит из пролетной конструкции (мембраны) и опорного контура в виде замкнутой прямоугольной в плане депланированной рамы, плоских арок или пространственных замкнутых кривых. Для восприятия горизонтальных усилий, передающихся с опорного контура на нижележащие конструкции, необходимо предусматривать постановку затяжек или пилонов, соединяющих нижние углы покрытия.
9.2.4.3 Пролетную конструкцию собирают из тонколистовых прямоугольных полотнищ, располагаемых вдоль линейной образующей. Ширина полотнищ определяется геометрией поверхности покрытия, исходя из условия ограничения зазоров между стыкуемыми полотнищами и составляет менее 1/10 размера стороны покрытия. Стрелу провиса/подъема мембраны, в вогнутом и выпуклом направлении, следует принимать соответственно равной от 1/20 до 1/15 пролета.
9.2.4.4 При проектировании следует учитывать, что оболочка в одном из направлений всегда сжата, что приводит к потере ее местной устойчивости. Для предотвращения этого и включения в работу мембраны в обоих направлениях ее следует предварительно напрягать.
Для упрощения монтажа допускается применение оболочки без предварительного напряжения, работающей в основном в одном растянутом направлении.
9.2.5 Первоначально плоские мембранные оболочки
9.2.5.1 Такие оболочки следует применять в покрытиях многопролетных зданий с укрупненной сеткой колонн 18 x 18, 24 x 24 м (рисунок 9.20), а также отдельно стоящих зданий на прямоугольном или овальном плане пролетом от 30 до 70 м при соотношении сторон до 1:1,5.
Рисунок 9.20 - Первоначально плоские многопролетные
мембранные покрытия зданий с укрупненной сеткой колонн
9.2.5.2 Конструкцию следует собирать на спланированной поверхности земли или подмостях. После подъема покрытия на проектную отметку или раскружаливания мембрана провисает со стрелой провиса не менее 1/60 пролета. Большие складки в углах покрытия длиной до 1/10 диагонали следует удалять.
9.2.5.3 Сопряжение бортовых элементов в углах следует выполнять с применением вутов, высотой не менее трети высоты контура и размером в плане не менее 1/10 его длины, располагая вут симметрично относительно нейтральной оси контурного элемента. В случае выполнения опорного контура из металла или сборного железобетона вуты допускается заменять распорками.
9.2.5.4 Мембрана, закрепленная по всему периметру к опорному контуру, обеспечивает его устойчивость в плоскости мембраны. В случае сравнительно гибкого контура он может потерять устойчивость в горизонтальной плоскости.
10 Комбинированные системы
10.1.1 Комбинированные системы пространственных покрытий включают структурно объединенные растянутые элементы и элементы, работающие на сжатие и изгиб.
10.1.2 В комбинированных системах используют соединение распорной (арка, висячая система) с безраспорной системой (балка, ферма). Элементарные схемы разнообразными способами объединяют в сложные пространственные структуры.
10.1.3 Область применения комбинированных систем - покрытия пролетом до 300 м. По конструктивным особенностям комбинированные системы разделяют на: арочно-вантовые, шпренгельные, подвесные и консольные, "Тенсегрити"-системы.
10.2 Арочно-вантовые системы
10.2.1 Арочно-вантовые комбинированные системы состоят из жесткого криволинейного верхнего пояса, растянутого нижнего пояса, объединенных между собой гибкими элементами в виде затяжек, подвесок или сжатых распорок (рисунок 10.1).
1 - жесткий криволинейный верхний пояс;
2 - растянутый нижний пояс; 3 - подвески; 4 - распорки;
5 - лучевые затяжки; 6 - веерные затяжки
Рисунок 10.1 - Варианты арочно-вантовых
комбинированных систем
10.2.2 Верхний пояс (арку) следует выполнять сплошного или сквозного сечения, постоянной или переменной высоты, равной соответственно от L/80 до L/50 или от L/60 до L/30, определяемой расчетом, в зависимости от пролета (L), соотношения величин постоянной и временной нагрузок. Пояса и решетку арок сквозного сечения следует выполнять из труб, двутавров, парных уголков или швеллеров. Решетку следует проектировать треугольной (с дополнительными стойками) или раскосной. Стойки следует устанавливать нормально к поясам, так же как и прогоны покрытия, которые (совместно со связями) одновременно обеспечивают устойчивость плоских арок из их плоскости. Размер панелей решетчатых арок следует принимать равной высоте арочной фермы.
10.2.3 Нижний пояс (затяжки, в том числе лучевые и веерные) следует выполнять из предварительно напряженных стальных канатов. Рациональное решение сечения нижнего пояса - две полосы, расположенные вертикально и объединенные между собой прокладками (рисунок 10.2, а), шагом равным 80i, где i - минимальный радиус инерции сечения одной полосы. Монтажный стыковой шов (рисунок 10.2, б).
а - промежуточная прокладка; б - стыковой шов
1 - растянутые полосы; 2 - прокладки;
3 - стыковой сварной шов
Рисунок 10.2 - Вариант сечения нижнего пояса из двух полос,
расположенных вертикально
10.2.4 Арки следует устанавливать шагом от
L/10 до
L/5, с уменьшением шага при увеличении пролета покрытия. Высоту подъема арки следует принимать в интервале от
L/10 до
L/5.
Возможны схемы, где вспарушенную затяжку объединяют с аркой при помощи подвесок (
рисунок 10.1,
а), на которых следует устанавливать фаркопы для регулирования геометрии арки и предварительного натяжения затяжки. Предварительное напряжение комбинированной системы с криволинейным верхним поясом и провисающей затяжкой (
рисунок 10.1,
б), объединенных сжатыми стойками следует выполнять за счет раздвижки стоек.
10.2.5 При проектировании следует учитывать, что лучевые и веерные предварительно напряженные затяжки (
рисунок 10.1,
г,
д) обеспечивают общую устойчивость арки в ее плоскости, уменьшают свободную длину отдельных участков, повышают жесткость арки при неравномерной нагрузке, уменьшают в ней величины изгибающих моментов.
В веерной схеме (
рисунок 10.1,
д) с точкой схода затяжек по середине пролета, подъем центрального узла пересечения затяжек, относительно опор, следует принимать равным четверти подъема верхнего арочного пояса, а число панелей верхнего пояса - до 9.
10.3 Шпренгельные системы
10.3.1 Комбинированные шпренгельные системы
(рисунок 10.3) включают верхний и нижний пояса, объединенные между собой двумя парами V-образных стоек. Расстояние между поясами в середине пролета следует принимать от
L/10 до
L/8.
10.3.2 Верхний пояс ломаного очертания следует проектировать из прокатного или сварного двутавра высотой от
L/90 до
L/60, а нижний пояс в соответствии с
10.2.4, из двух вертикальных полос толщиной от 20 до 50, высотой от 200 до 500 мм
(рисунок 10.2). V-образные стойки выполняют из труб, прокатных (сварных) двутавров. Соотношение пролетов
L2/
L1 (рисунок 10.3) следует принимать по расчету в интервале от 1,0 до 1,25.
1 - жесткий криволинейный верхний пояс;
2 - растянутый нижний пояс; 3 - V-образные стойки
Рисунок 10.3 - Комбинированная шпренгельная система
10.3.3 Узлы сопряжения нижнего пояса с верхним поясом и V-образными стойками следует выполнять шарнирными (рисунок 10.4). Для упрощения изготовления конструкций допускается применение жестких узлов. Одну из опор шпренгельной системы необходимо выполнять шарнирно неподвижной, а другую - шарнирно подвижной.
а - опорный узел объединения нижнего и верхнего поясов;
б - узел объединения нижнего пояса со стойками;
в - узел объединения верхнего пояса со стойками;
1 - верхний пояс; 2 - нижний пояс; 3 - цилиндрический
шарнир; 4 - опорная часть; 5 - V-образная стойка,
6 - прокладка
Рисунок 10.4 - Конструктивные узлы
10.3.4 Устойчивость сжато-изогнутого верхнего пояса в горизонтальной плоскости следует обеспечивать прогонами и связевым блоком в средней части покрытия. В случае стрелы провиса нижнего пояса более L/30 и отсутствии динамических воздействий на несущие конструкции покрытия, связи из его плоскости возможно не устанавливать.
10.3.5 Расчеты комбинированных арочно-вантовых систем следует выполнять с учетом геометрической нелинейности и последовательности монтажа.
10.3.6 Для включения в работу нижнего пояса, его следует выполнять прямолинейным без начальных отклонений от проектной геометрии и погибей в обеих плоскостях. В ряде случаев, с этой же целью, систему следует предварительно напрягать увеличением длины телескопических стоек.
10.3.7 Для овального в плане покрытия, включающего центральный прямоугольный участок с двумя полукругами по торцам, несущие конструкции следует выполнять из однотипных элементов, расположенных параллельно в центральной части покрытия и радиально на закругленных торцах сооружения (рисунок 10.5). Эти элементы состоят из сжато-изогнутого верхнего пояса - полуарки и растянутого провисающего нижнего пояса, объединенных V-образной распоркой. В средней части покрытия следует располагать центральное ядро, в виде пространственной стержневой конструкции. Общую устойчивость сооружения следует обеспечивать четырьмя связевыми блоками, которые устанавливают между опорными колоннами по осям симметрии системы, кольцевыми распорками и жестким диском покрытия.
1 - верхний пояс; 2 - нижний пояс; 3 - V-образные стойки;
4 - центральное ядро
Рисунок 10.5 - Пространственная комбинированная
шпренгельная система
10.3.8 Варианты пространственных комбинированных шпренгельных систем показаны на рисунке 10.6.
а - пространственная ортогональная система;
б - система с плитным стержневым верхним поясом;
в - система с диагональными элементами
Рисунок 10.6 - Варианты пространственных комбинированных
шпренгельных систем
10.4 Подвесные и консольные системы
10.4.1 Подвесные комбинированные системы представляют собой жесткую пролетную конструкцию, подвешенную к внешним вантам, закрепленным на стойках или пилонах выше уровня крыши. Наиболее простые схемы показаны на рисунке 10.7, более сложные схемы - на
рисунке 10.8.
а - вантовые; б - висячие
Рисунок 10.7 - Подвесные комбинированные системы
Рисунок 10.8 - Варианты конструктивных схем
подвесных комбинированных систем
10.4.2 При проектировании следует учитывать, что в таких системах распор воспринимается балкой (фермой) жесткости, а подвески являются для них упругими опорами. В качестве жесткой конструкции может быть использована структурная плита.
10.4.3 В подвесных покрытиях с параллельным расположением несущих систем шаг конструкций следует принимать не менее 10 м. Для увеличения жесткости конструкций стрелу провиса вант (смотри
рисунок 10.7,
б) следует принимать от 1/12 до 1/8 пролета, а угол наклона вант не менее 30° (
рисунки 10.7,
а, и
10.8) Строительную высоту жесткой конструкции, в зависимости от расстояния между подвесками, следует назначать от 1/12 до 1/10 этого расстояния.
10.5 "Тенсегрити"-системы
10.5.1 Конструкция типа "Тенсегрити" представляет собой комбинацию из элементарных типовых модулей (симплекс-элементов), состоящих из растянутых канатов и сжатых стоек, которые совместно образуют пространственную решетку.
10.5.2 Элементарный модуль включает три и более сжатых, не пересекающихся друг с другом стержней, объединенных, образующими сеть, тросами. Для равновесия нерегулярной системы элементарных модулей, на концах сжатых стержней необходимо закрепление трех или более тросов. Неизменяемость системы следует обеспечивать предварительным напряжением, прямолинейностью элементов, проектными размерами.
10.5.3 Построение системы следует выполнять двумя способами: длину растянутых элементов сохраняют постоянной, а длину сжатых стержней изменяют телескопическим устройством; или длину стоек сохраняют постоянной, а изменяют длину растянутых элементов предварительным напряжением. "Тенсегрити"-системы следует моделировать стержнями (сжатыми распорками и непрерывными растянутыми тросами) с антифрикционными узлами. Из элементарных модулей "Тенсегрити", соединенных друг с другом, собирают различные пространственные структуры, в частности стержневые плиты (рисунок 10.9). Пространственные стержневые системы "Тенсегрити" следует применять для перекрытия зданий пролетом от 50 м и выше с различной формой плана: прямоугольной, круглой, овальной, при относительно пологой поверхности покрытия.
Рисунок 10.9 - Стержневая плита "Тенсегрити"
10.5.4 Конструкции покрытий "Тенсегрити" подразделяют на системы с параллельным или радиальным расположением элементов (купольные системы со стойками или кольцевыми фермами). Нижние и верхние параллельные или радиальные несущие элементы следует выполнять из канатов, стойки - из труб.
10.5.5 Наиболее простая конструктивная форма "Тенсегрити", купол "Гейгера", включает: растянутые тросы (радиальные хребтовые, диагональные и кольцевые) и сжатые элементы (стойки-распорки и наружный контур). Растянутые кольца связаны с верхним тросом стойками и диагональными тросами (рисунок 10.10). Эффективная форма плана - круг. За счет раздвижки распорок все тросы предварительно напрягают. Недостаток системы - низкое сопротивление горизонтальным нагрузкам.
а - поперечное сечение; б - общий вид;
1 - верхний радиальный пояс; 2 - кольцевой элемент;
3 - диагональный радиальный элемент; 4 - стойка;
5 - центральная ферма; 6 - наружный опорный контур
Рисунок 10.10 - "Тенсегрити" купол Гейгера
10.5.6 Более сложная конструктивная форма "Тенсегрити", купол "Фуллера" (рисунок 10.11). Включением в систему дополнительных диагональных элементов образуется пространственная звездчатая схема.
а - общий вид; б - план;
1 - верхний радиальный пояс; 2 - кольцевой элемент;
3 - диагональный радиальный элемент; 4 - стойка;
5 - центральная ферма; 6 - наружный опорный контур
Рисунок 10.11 - "Тенсегрити" купол Фуллера
10.5.7 Оптимальные конструктивные параметры куполов "Тенсегрити":
- диаметр покрытия до 250 м и выше, допускается овальный план;
- количество кольцевых участков от 3 до 6;
- количество секторов на плане покрытия от 8 до 24 с учетом диаметра купола и величины внешних нагрузок;
- уклон диагональных тросов в центре покрытия - между 13° и 17°;
- отношение стрелы подъема (от уровня наружного опорного контура) к пролету (диаметру) покрытия от 1/12 до 1/8;
- провис конструкции ниже уровня наружного опорного контура, зависит от уклона диагональных тросов 1-го яруса;
- уровень предварительного напряжения определяется требованием обязательного растяжения всех тросов.
11.1.1 При проектировании узлов пространственных металлических конструкций необходимо учитывать следующие факторы:
- пространственное расположение большого количества элементов, объединенных одним узлом, усложняет механизм взаимной передачи усилий;
- углы между осями смежных стержневых элементов, объединенных в узле, должны быть между 30° и 150°;
- стесненное расположение примыкающих к узлу элементов, препятствующих выполнению болтовых и сварных соединений, а также осмотрам и восстановлению антикоррозионной защиты;
- исключение зон, в которых возможно скопление воды и загрязнений;
- сокращение до минимума количества монтажных узлов, с учетом вопросов транспортирования и монтажа.
11.1.2 Для повышения выносливости и хладостойкости узлов конструкций, снижения отрицательного влияния остаточных деформаций и напряжений от сварки, следует предусматривать соответствующие конструктивные и технологические мероприятия.
11.1.3 В деталях конструкции не должно быть негерметизированных соприкасающихся частей, а также щелей, зазоров, пазух и корыт. В местах возможного скопления влаги следует устраивать дренажные отверстия диаметром не менее 50 мм.
11.1.5 В расчетах, для учета эффекта совместной работы узловой детали и примыкающих элементов, следует рассматривать три возможные модели соединения:
- шарнирный узел, не передающий изгибающий момент;
- жесткий узел, не влияющий на результаты статического расчета;
- полужесткий узел, при котором следует учитывать влияние податливости узла на расчет.
Жесткие соединения элементов в узлах стержневых конструкций допускается принимать при расчете шарнирными, если при таком допущении конструкция сохраняет свою неизменяемость. При этом отношение высоты сечения к длине элементов должно быть, как правило, не менее 1:15.
11.1.6 Расчеты наиболее сложных узлов металлических конструкций, пространственных деталей, а также узловых фасонок, следует выполнять МКЭ с учетом
6.3.10.
11.2 Узлы пространственных стержневых конструкций
11.2.1 При проектировании следует учитывать, что:
- в двухслойных системах узловое соединение работает в основном на сжатие, а в однослойных системах узел воспринимает также изгибающие и крутящие моменты;
- расход металла на узлы пространственных стержневых конструкций составляет от 5% до 7%, а в некоторых системах - более 10% от общего веса конструкции покрытия.
11.2.2 Все соединения разделяются на три категории: с одной узловой деталью; без дополнительных элементов (ванная сварка, соединение стержней внахлест и т.д.); с предварительно изготовленными элементами, с узловой деталью.
11.2.3 В зависимости от способа соединения на монтаже они подразделяются на комбинированные, болтовые и сварные соединения.
Для болтовых соединений характерна податливость соединений из-за разности диаметра отверстия в фасонке и диаметра болта.
Сварные соединения позволяют объединять разное количество элементов в пространстве практически под любым углом, при этом следует учитывать сложность их выверки и жесткие требования к длинам стержней.
11.3 Узловые болты-шарниры
11.3.1 Узловые болты-шарниры следует применять для обеспечения свободного вращения соединяемых элементов относительно друг друга (рисунок 11.1). Болты-шарниры следует применять и для упрощения работы конструкции, исключая дополнительные напряжения из-за погрешностей монтажа. Один из элементов имеет конец в виде вилки с проушинами, через которые проходит ось. Если необходимо гарантировать вращение узла между соединяемыми деталями следует устанавливать шайбы из коррозионно-стойкого материала.
1 - вилкообразное анкерное устройство; 2 - канат;
3 - болт-шарнир
Рисунок 11.1 - Схема узлового болта-шарнира
11.3.2 При проектировании следует учитывать, что болты-шарниры кроме работы на срез и изгиб должны воспринимать поперечную нагрузку в ортогональной плоскости, равную не менее 10% срезающего усилия. Боковые пластины соединения должны иметь достаточные размеры для восприятия проектных усилий и исключать эксцентриситет.
Геометрию узлов растянутых элементов симметричного сечения для болтов-шарниров с проушиной типа "А" (
рисунок 11.2,
а) или типа "Б" (
рисунок 11.2,
б) следует определять следующими соотношениями:
тип А: | amin = N/(2tRy) + 0,666d; | cmin = N/(2tRy) + 0,333d | (11.1) |
тип Б: |  ; | d = 2,5t | (11.2) |
Площадь нетто разреза, проходящего через болтовое отверстие, должна быть не менее 140%, а разреза от торца элемента до болтового отверстия - не менее 100% расчетного сечения элемента. В болтах-шарнирах зазор

следует принимать равным 0,1
d и менее, но не более 3 мм. Вариант узла с уменьшенной шириной
b растянутого стержня (
b = 1,46
d,
d = 2
r,
d - диаметр отверстия под ось) (
рисунок 11.3,
а). В ряде случаев, для увеличения площади сечения одиночного растянутого элемента, необходимо использовать усиливающие пластины, которые следует располагать без эксцентриситета (
рисунок 11.3,
б).
а - с проушиной типа А; б - с проушиной типа Б
1 - звено цепи; 2 - болт-шарнир
Рисунок 11.2 - Геометрия узла с болтом-шарниром
а - с уменьшением ширины растянутого стержня
за узлом (b = 2,92r); б - с усиливающими пластинами
Рисунок 11.3 - Варианты узла с болтом-шарниром
Варианты конструктивного решения оси (шпильки) болта-шарнира приведены на рисунке 11.4.
1 - ось (шпилька); 2 - крышка; 3 - крепежный болт;
4 - паз для замка (шайба)
Рисунок 11.4 - Варианты конструктивного решения оси
(шпильки) болта-шарнира
11.3.3 Требования к материалу болтов-шарниров следует принимать по
ГОСТ 7062 и
ГОСТ 8479. Требования к допускам на форму и расположение поверхности детали следует принимать по
ГОСТ 24642 и
ГОСТ 30893.2. Требования к шероховатости (чистоте) поверхности следует устанавливать по
ГОСТ 2789.
При диаметре оси менее чем 300 мм требования к материалу оси (поковки) следует принимать по
5.4.3.
11.3.4 Для сооружений с повышенным уровнем ответственности КС-3 при диаметрах осей свыше 300 мм для поковок категории прочности КП 685 и выше следует разрабатывать "Технические условия на изготовление осей" с указанием марки, химического состава и механических свойств стали, технологии изготовления и методики испытаний.
11.3.5 Прочность узлового болта-шарнира следует проверять расчетом по СП 35.13330.2011
(пункт 8.107), в предположении работы болта-шарнира на изгиб как свободно лежащей балки, нагруженной сосредоточенными силами по оси пакетов, соприкасающихся с болтом-шарниром, принимая расчетные сопротивления по СП 35.13330.2011
(таблица 8.7).
- изгиб болта-шарнира | Nb = 4WRy/1,25(t + 2s); | (11.3) |
- срез болта-шарнира | Nb = 0,55RyAns; | (11.4) |
- смятие проушин соединяемых элементов | Nb = 1,5Rptd, | (11.5) |
где Nb - несущая способность болта-шарнира, Н;

- момент сопротивления сечения болта-шарнира, мм
3;
Ry - расчетное сопротивление стали, из которой изготовлен болт-шарнир, Н/мм2;
t - наименьшая суммарная толщина проушин, сминаемых в одном направлении, мм;
s - зазор между проушинами, мм;
A - площадь сечения болта-шарнира, мм2;
ns - количество плоскостей среза, ns = 2;
Rp - расчетное сопротивление смятию стали элементов, соединяемых болтом-шарниром, принимаемое по СП 16.13330.2017
(таблица Г.6);
d - наружный диаметр, мм.
Для болта-шарнира в критических поперечных сечениях должно выполняться условие одновременного действия изгиба и среза:
(
M/
My)
2 + (
V/
Vy)
2 <= 1. (11.6)
M = N(t2 + 2s)/8. (11.7)
Изгибающий момент, воспринимаемый болтом-шарниром:
My = WRyn/1,25. (11.8)
Усилие среза, V, Н:
V = 0,5N. (11.9)
Предельное усилие среза Vy, Н, воспринимаемое болтом-шарниром по одной плоскости:
Vy = ARs, (11.10)
где N - максимальное растягивающее расчетное усилие, Н;
Ryn - предел текучести стали материала оси, Н/мм2;
Rs = 0,55Ryn - расчетное сопротивление на сдвиг материала оси, Н/мм2;
t2 - толщина средней проушины, мм;
t1 = 0,5t2 - толщина крайней проушины, мм (рисунок 11.5).
Рисунок 11.5 - Схема для определения
изгибающего момента в болте
Условие (11.6) не требует проверки, если соотношения
M/
My и V/
Vy оказываются менее 0,25.
11.3.6 В ряде случаев (уникальное сооружение, большие усилия, большие диаметры осей) узловое шарнирное соединение следует уточнять расчетом МКЭ с использованием объемных конечных элементов, с учетом контактного взаимодействия между деталями узла, допусков на изготовление и сборку элементов (наличие зазоров и разницы в диаметрах отверстия и вала), трения в узле

. Расчет узла следует выполнять с учетом геометрической и физической нелинейности на усилия из статического расчета системы. Приведенные напряжения в оси не должны превышать отношения

, где
Ryn - предел текучести материала болта-шарнира,

- коэффициент надежности по материалу. Относительные удлинения в проушине не должны превышать 1%.
11.4.1 Выбор марки, типа и расположения опорной части (ОЧ) следует производить исходя из расчетных величин вертикальной и горизонтальных нагрузок и горизонтальных перемещений опорного сечения.
Проектную документацию на конструкцию ОЧ следует разрабатывать применительно к конкретному объекту, а изготавливать их в заводских условиях.
11.4.2 По функциональному назначению ОЧ подразделяются на неподвижные, линейно- и всесторонне-подвижные. Опирание конструкций не должно приводить к появлению в них дополнительных усилий и исключать кинематические перемещения системы.
Для линейных конструкций пролетом свыше 25 м эти условия следует выполнять при установке одной неподвижной и одной односторонне-подвижной ОЧ. При расстоянии между центрами опорных частей, расположенных на одной опоре, свыше 15 м следует обеспечивать также поперечную подвижность одной из ОЧ. Для всех ОЧ должно быть обеспечено требуемое угловое перемещение.
11.4.3 Несвободное опирание (заделка) пролетного строения допускается, если повреждения могут быть компенсированы сварными швами или образованием шарниров вследствие трещинообразования. В этом случае концы пролетных строений должны быть прикреплены к опорам анкерными болтами по расчету.
11.4.4 Конструкцию и материалы для изготовления ОЧ следует назначать исходя из района строительства, величин усилий, обеспечения расчетных линейных и угловых перемещений опорных узлов. Применяют различные типы ОЧ (рисунок 11.6): тангенциальные, шаровые/сферические, катковые, стаканного типа.
а - тангенциальная; б - шаровая (со сферическим сегментом);
в - катковая; г - стаканного типа
Рисунок 11.6 - Принципиальные конструктивные решения
опорных частей
11.4.5 Стальные неподвижные ОЧ следует выполнять в виде тангенциальных или шаровых опор, сварными, из листового проката, из низколегированных сталей, или литыми из легированных сталей. Стальное литье для опорных элементов следует использовать при нагрузках более 6000 кН.
11.4.6 Для тангенциальных опор следует применять конструкции, в которых горизонтальные силы воспринимаются вертикальными опорными поверхностями. У тангенциальных ОЧ, обеспечивающих угловые перемещения в одном направлении, опорная поверхность должна быть прямоугольной в плане.
11.4.7 Неподвижные шарнирные опоры следует применять при обеспечении строго равномерного распределения давления под опорой.
11.4.8 При малых расчетных угловых перемещениях (до 1%) следует использовать призматические опоры (рисунок 11.7, а), в противном случае применяют цилиндрические опоры (рисунок 11.7, б). В шаровых опорах угловые перемещения следует обеспечить во всех направлениях, а горизонтальные нагрузки воспринимать сферической поверхностью (рисунок 11.7, в).
а - призматическая опора;
б - цилиндрическая опора; в - шаровая опора;
1 - призма; 2 - поперечные упоры; 3 - продольные упоры;
4 - цилиндрическая деталь; 5 - верхняя опорная плита;
6 - шаровая деталь
Рисунок 11.7 - Тангенциальные опоры
11.4.9 Конструкция ОЧ должна обеспечивать распределение нагрузки по всей площади опирания узла на опору. Для тангенциальных ОЧ отношение ее ширины к длине следует принимать не менее 0,33. Для шаровых ОЧ отношение радиуса сферической детали к диаметру опорной плиты должно быть не менее 1,5.
11.4.10 Шарнирно-неподвижные опорные узлы стоек при больших углах поворота ОЧ следует проектировать с цилиндрическими шарнирами (цапфами) - балансирные ОЧ (рисунок 11.8, а). Допускается применение упрощенных шарнирно-неподвижных узлов сопряжения стоек с фундаментом и с опорным контуром (рисунок 11.8, б).
а - балансирные, с цилиндрическим шарниром (цапфой);
б - упрощенные, с призматической или цилиндрической пятой;
1 - стойка; 2 - ось (вал) балансира; 3 - цапфа (опорная
часть вала); 4 - опорный элемент (призма или цилиндр);
5 - упор; 6 - площадка смятия
Рисунок 11.8 - Шарнирно-неподвижные опорные узлы стоек
11.4.11 Скользящие или катковые по
ГОСТ Р 53628 подвижные опоры следует применять в случаях, когда нижележащая конструкция должна быть разгружена от горизонтальных усилий. Коэффициент трения в скользящих подвижных опорах следует принимать равным 0,3, в катковых - 0,03.
11.4.12 Тангенциальные и шаровые опоры для обеспечения поворота опорного сечения и горизонтального перемещения следует разделять на два уровня, реализовывающие соответственно поворот и перемещение плит скольжения относительно друг друга.
Для уменьшения сил трения, нижнюю контактную плоскость следует выполнять с плакирующим слоем из нержавеющей стали, а на ответных верхних плоскостях следует формировать антифрикционный слой.
11.4.13 ОЧ стаканного типа (рисунок 11.9) могут быть неподвижными, линейно- и всесторонне-подвижными. Неподвижная стаканная ОЧ состоит из стального стакана (обоймы), заполненного полимерным материалом или резиной, и крышки (нижняя плита опорной части). При взаимном вращении стакана и крышки, материал, заполняющий стакан, деформируется. Углы поворота в стаканных опорных частях конструктивно ограничены величиной 0,01.
1 - стакан; 2 - полимерный материал или резина;
3 - уплотнитель; 4 - крышка; 5 - фторопластовая пластина;
6 - стальной полированный лист; 7 - скользящая плита;
8 - транспортный болт
Рисунок 11.9 - Всесторонне-подвижная опора стаканного типа
Линейно-подвижная и всесторонне-подвижная ОЧ должны включать дополнительно пару скольжения и направляющие элементы.
11.4.14 Нижние плиты неподвижных и подвижных ОЧ следует крепить на опорах болтами (анкерными или высокопрочными). Их крепление на сварке не допускается.
11.4.15 Для обеспечения работоспособности ОЧ и исключения возникновения дополнительных усилий следует предусматривать приспособления, обеспечивающие возможность регулирования опорных частей. При проектировании необходимо учитывать температуру наружного воздуха в момент установки и замыкания пролетной конструкции.
11.4.16 Расчет ОЧ и элементов их крепления следует выполнять на вертикальные и горизонтальные силы и воздействия от постоянных и временных нагрузок. Следует учитывать реактивные усилия (силы трения, реактивные моменты), возникающие в ОЧ при угловых и линейных перемещениях опорных сечений.
11.4.17 Для стальных тангенциальных ОЧ следует выполнять следующие виды расчетов:
- на изгиб нижней и верхней плит;
- определение напряжений смятия по линии касания;
- проверку восприятия горизонтальных сил;
- определение напряжений смятия бетона под нижней плитой.
11.4.18 Продольные перемещения подвижных ОЧ следует определять в соответствии с указаниями
СП 35.13330 от постоянной и временной вертикальной нагрузки, расчетных температурных воздействий, деформаций опор и их оснований.
Для первоначальной оценки деформаций стальных конструкций на опоре следует принимать: горизонтальные перемещения +/- 0,50 мм/м, угол поворота 2%.
11.4.19 Для ОЧ стаканного типа угол поворота должен назначаться с запасом. Угол поворота

, рад, допускается определять по формуле

, (11.13)
где l - пролет конструкции, м;
Mmax - наибольший момент в пролете, кНм;
E - модуль упругости материала конструкции, кПа;
I - момент инерции сечения пролетной конструкции, м4.
11.4.20 При расчете подвижных опорных частей должны быть учтены указания СП 35.13330.2011
(пункт 6.28) относительно сопротивления от трения, а также эксцентриситеты передачи давления, равные продольным перемещениям катков, секторов и балансиров от нормативных нагрузок и воздействий.
11.4.21 Расчеты на смятие в цилиндрических шарнирах (цапфах) балансирных ОЧ (
рисунок 11.8,
а) и на диаметральное сжатие катков следует выполнять в соответствии с СП 35.13330.2011
(пункт 8.112).
11.4.22 Расчет упрощенных шарнирно-неподвижных узлов сопряжения стоек с фундаментом и с опорным контуром (
рисунок 11.8,
б) следует выполнять с учетом дополнительных моментов от эксцентриситета между центром тяжести площадки смятия и основной стойки.
ТЕХНИЧЕСКИЕ ХАРАКТЕРИСТИКИ СТАЛЬНЫХ КАНАТОВ
Таблица А.1
Закрытый канат с двумя слоями клиновидной и одним слоем
Диаметр каната, мм | Расчетная площадь сечения всех проволок, мм2 | Расчетная масса 100 м смазанного каната, кг | Расчетное разрывное усилие, кН, не менее, для маркировочных групп, Н/мм2 |
1270 | 1370 | 1470 | 1570 | 1670 |
50,0 | 1713,8 | 1469,51 | 2180 | 2345 | 2515 | 2685 | 2850 |
52,0 | 1846,2 | 1582,83 | 2350 | 2525 | 2705 | 2890 | 3070 |
54,0 | 1988,1 | 1704,37 | 2525 | 2720 | 2920 | 3116 | 3305 |
55,0 | 2016,3 | 1728,06 | 2565 | 2760 | 2955 | 3160 | 3355 |
60,0 | 2408,7 | 2063,60 | 3065 | 3300 | 3535 | 3770 | 4005 |
65,0 | 2764,0 | 2367,31 | 3515 | 3785 | 4060 | 4330 | 4600 |
70,0 | 3231,84 | 2767,12 | 4115 | 4425 | 4745 | 5065 | 5380 |
Таблица А.2
Закрытый канат с двумя слоями Z-образной проволоки
Диаметр каната, мм | Расчетная площадь сечения всех проволок, мм2 | Расчетная масса 100 м смазанного каната, кг | Расчетное разрывное усилие, кН, не менее, для маркировочных групп, Н/мм2 |
1180 | 1270 | 1370 | 1470 | 1570 |
38,5 | 1003,01 | 858,15 | 1175 | 1270 | 1370 | 1470 | 1565 |
40,5 | 1089,44 | 931,89 | 1275 | 1385 | 1490 | 1595 | 1705 |
42,5 | 1213,89 | 1038,40 | 1425 | 1540 | 1660 | 1780 | 1900 |
45,0 | 1336,46 | 1142,72 | 1565 | 1700 | 1830 | 1960 | 2090 |
47,0 | 1478,89 | 1264,56 | 1730 | 1880 | 2025 | 2170 | 2315 |
51,0 | 1711,89 | 1463,53 | 2005 | 2180 | 2345 | 2510 | 2680 |
54,0 | 1950,11 | 1667,91 | 2290 | 2480 | 2675 | 2865 | 3055 |
Таблица А.3
Закрытый канат с Z-образной проволокой в наружном слое
Диаметр каната, мм | Масса 1000 м смазанного каната, кг | Маркировочная группа, Н/мм2 |
1270 | 1370 |
Расчетное разрывное усилие, кН |
32,0 | 6 057 | - | 1 981 |
42,0 | 10 862 | 1 667 | - |
52,0 | 16 848 | 2 527 | - |
54,0 | 17 900 | - | 2 771 |
62,0 | 23 850 | 3 548 | - |
66,0 | 26 170 | 4 023 | - |
72,0 | 32 088 | 4 729 | - |
78,0 | 35 950 | 5 543 | - |
90,0 | 47 540 | 7 384 | - |
Таблица А.4
Закрытый канат с омегообразными проволоками
Диаметр каната, мм | Масса 1000 м смазанного каната, кг | Маркировочная группа, Н/мм2 |
1180 | 1270 | 1370 |
Расчетное разрывное усилие, кН |
38,5 | 8 399 | 1 164 | 1 253 | 1 352 |
45,0 | 11 683 | 1 620 | 1 743 | 1 881 |
60,0 | 20 693 | 2 814 | 3 028 | 3 267 |
Таблица А.5
Сокращенные технические данные для спиральных канатов
Диаметр каната, мм | Минимальная разрывная прочность, кН | Расчетная несущая способность, кН | Площадь (А) поперечного сечения, мм2 | Продольная жесткость (ЕА), МН | Масса, кг/пог.м |
85 | 6680 | 4060 | 4150 | 643 | 34,8 |
90 | 7320 | 4440 | 4650 | 721 | 39,0 |
95 | 8160 | 4950 | 5190 | 804 | 43,5 |
100 | 9040 | 5480 | 5740 | 890 | 48,2 |
105 | 10200 | 6160 | 6340 | 983 | 53,1 |
110 | 11200 | 6760 | 6950 | 1080 | 58,3 |
115 | 12300 | 7440 | 7610 | 1180 | 63,7 |
120 | 13300 | 8060 | 8280 | 1280 | 69,4 |
125 | 14500 | 8780 | 8980 | 1390 | 75,3 |
130 | 15600 | 9470 | 9710 | 1510 | 81,4 |
135 | 16800 | 10200 | 10500 | 1630 | 87,8 |
140 | 18200 | 11000 | 11300 | 1750 | 94,4 |
145 | 19500 | 11800 | 12100 | 1880 | 102 |
150 | 20800 | 12600 | 13000 | 2020 | 108 |
155 | 22200 | 13500 | 13800 | 2140 | 113 |
160 | 23700 | 14300 | 14800 | 2300 | 121 |
165 | 25200 | 15300 | 15700 | 2440 | 128 |
Таблица А.6
Сокращенные технические данные
для закрытых спиральных канатов
Диаметр каната, мм | Минимальная разрывная прочность, кН | Расчетная несущая способность, кН | Площадь (А) поперечного сечения, мм2 | Продольная жесткость (ЕА), МН | Масса, кг/пог.м |
75 | 5620 | 3406 | 3890 | 642 | 33,8 |
80 | 6390 | 3873 | 4420 | 729 | 31,3 |
85 | 7220 | 4376 | 4990 | 823 | 40,1 |
90 | 8090 | 4903 | 5600 | 924 | 45,0 |
95 | 9120 | 5527 | 66310 | 1040 | 50,7 |
100 | 10100 | 6121 | 6990 | 1150 | 56,2 |
105 | 11100 | 6727 | 7710 | 1270 | 61,9 |
110 | 12200 | 7394 | 8460 | 1400 | 68,0 |
115 | 13300 | 8061 | 9240 | 1520 | 74,5 |
120 | 14500 | 8788 | 10100 | 1670 | 81,1 |
125 | 15700 | 9515 | 10900 | 1800 | 88,4 |
130 | 162000 | 9818 | 11900 | 1960 | 95,6 |
135 | 17500 | 10606 | 12900 | 2130 | 104 |
140 | 18700 | 11333 | 13900 | 2290 | 112 |
145 | 20100 | 12182 | 14900 | 2460 | 120 |
150 | 21500 | 13030 | 15900 | 2620 | 128 |
155 | 23000 | 13939 | 17000 | 2810 | 136 |
160 | 24500 | 14848 | 18100 | 2990 | 145 |
165 | 26100 | 15818 | 19200 | 3170 | 155 |
170 | 27600 | 16727 | 20400 | 3370 | 164 |
175 | 29300 | 17758 | 21600 | 3560 | 174 |
180 | 31000 | 18788 | 22900 | 3780 | 184 |
МОДУЛИ УПРУГОСТИ СТАЛЬНЫХ КАНАТОВ
Таблица Б.1
Канаты | Кратность свивки | Модуль упругости E, МПа |
| 6 | 1,18 x 105 |
8 | 1,45 x 105 |
10 | 1,61 x 105 |
11 | 1,65 x 105 |
12 | 1,70 x 105 |
14 | 1,75 x 105 |
16 | 1,77 x 105 |
Пучки из параллельно уложенных проволок | - | 2,01 x 105 |
Таблица Б.2
Конструкция стальных канатов | Модуль упругости E, МПа |
Спиральные однопрядные | 1,5 x 105 |
Спиральные закрытые | 1,6 x 105 |
Примечание - Приведенные в настоящей таблице значения модуля упругости соответствуют переменным усилиям в диапазоне 30% - 40% разрывного усилия в канате. |
КОНСТРУКТИВНЫЕ СХЕМЫ КУПОЛОВ
В.1 Купольные покрытия проектируют по нескольким конструктивным схемам: ребристыми, ребристо-кольцевыми и сетчатыми.
В.2 Ребристый купол - система, состоящая из радиальных ребер (полуарок), объединенных внизу и в центре опорными кольцами. К ребрам купола шарнирно крепят прогоны и связи, не включающиеся в пространственную работу конструкции.
В.3 Ребристо-кольцевой купол (см.
рисунок В.1,
а) образуют включением в систему жестко соединенных с ребрами колец, работающих не только на местный изгиб в качестве прогонов, но и на кольцевые усилия растяжения-сжатия, обеспечивая пространственную работу конструкции, снижая изгибающие моменты и продольные усилия в радиальных ребрах.
В.4 В ребристых и ребристо-кольцевых куполах необходимо в нескольких секторах устанавливать связи по поясам ребер, для обеспечения общей устойчивости покрытия и устойчивости ребер из плоскости.
В.5 Формообразование ребристых и ребристо-кольцевых куполов определяют формой плоской арки, образованной из двух диаметрально расположенных ребер. Рекомендуется, для минимизации количества типоразмеров элементов, меридиан принимать в виде дуги окружности, а узловые точки располагать на равных расстояниях друг от друга.
В.6 Статические недостатки первых двух конструктивных схем компенсируются технологическими выгодами (минимальное количество типоразмеров элементов и узлов, простота узловых соединений между элементами). Эти схемы следует применять в покрытиях относительно небольших пролетов.
В.7 Сетчатый купол следует образовывать включением во все панели дополнительных связей (
рисунок В.1,
б,
в,
г,
д,
е).
В.8 Для сокращения числа конструктивных элементов сетчатых куполов следует применять циклически симметричные схемы на основе поверхностей вращения. Сетчатая схема куполов значительно более рациональна по статической работе, но приводит к усложнению технологии изготовления и монтажа.
В.9.1 Купол Шведлера образуют установкой диагональных или крестовых связей в каждой ячейке ребристо-кольцевого купола (
рисунок В.1,
б).
В.9.2 Звездчатую схему (купол Феппля) образуют из схемы Шведлера поворотом каждого горизонтального кольца на угол

, где
n - число граней купола (
рисунок В.1,
в). Длину всех стержней, кроме кольцевых, следует принимать одинаковой.
В.9.3 Купол Кайвитта (
рисунок В.1,
г) состоит из нескольких секторов (от 6 до 12 в зависимости от диаметра купола). Первичная разбивка - меридиональная. Основание каждого сектора делят на равные отрезки, число которых равно числу кольцевых сечений. В каждом последующем кольцевом сечении сектора число отрезков уменьшают на единицу. Таким образом, каждый сектор равномерно разбит на треугольные ячейки, основание которых вдоль каждого яруса имеют одинаковый размер. Однако треугольники неравнобедренные, поэтому число их типоразмеров соответствует квадрату числа ярусов. В схеме Кайвитта устраняется сгущение элементов в центральной части купола.
В.9.4 Схема "ромб" образуется перекрестной системой полуарок, расположенных в трех направлениях (рисунок В.1,
в). В результате такой разбивки получается достаточно равномерная сеть из равнобедренных треугольников, число типоразмеров которых приблизительно в два раза меньше, чем в системе Кайвитта. Основания ячеек купола не совпадают с кольцевыми сечениями, а стороны образуют пространственную (неплоскую) кривую и соответствующую форму плана в виде правильного многоугольника
(рисунок В.2).
а - ребристо-кольцевая; б - ребристо-кольцевая со связями
(сетчатый купол Шведлера); в - схема "ромб"; г - схема
Кайвитта; д - звездчатая система; е - геодезический купол
Рисунок В.1 - Варианты конструктивных схем
металлических куполов
Рисунок В.2 - Купол с формой плана
в виде правильного многоугольника
В.10 Геодезические купола строят на основе многогранника (геометрическое тело, ограниченное со всех сторон плоскими многоугольниками - гранями) в виде икосаэдра (двадцать равносторонних треугольных граней (рисунок В.3, а)) или додекаэдра (двенадцать пятиугольных граней (рисунок В.3, б)).
а - икосаэдр; б - додекаэдр
Рисунок В.3 - Многогранники
В.11 Первичную разбивку сети следует проводить по геодезическим линиям, проведенным через вершины вписанных многогранников. Рекомендуется использовать первый тип многогранника, так как второй - приводит к чрезмерной длине стержневых элементов.
В.12 При проецировании икосаэдра на сферу, сеть купола образует 20 правильных равносторонних сферических треугольников (
рисунок В.4,
а), каждый из которых может быть расчленен на более мелкие треугольники, деля пополам стороны каждого треугольника, формируя 15 окружностей равных диаметров, регулярно расположенных на поверхности сферы (
рисунок В.4,
б).
В.13 Грани основного треугольника разделяют на модули (рисунок В.4, в), число которых зависит от размеров купола, его пролета и ограждающей конструкции покрытия. Членение сферической поверхности следует назначать с учетом длины стержневых элементов, оптимизируемой по прочности, экономичности, трудоемкости изготовления и монтажа, после чего криволинейные проекции ребер заменяют прямыми стержнями. Конечные треугольники не являются равносторонними.
а, б - правильные равносторонние сферические треугольники;
в - варианты частоты (повторяемости) разбиения ячеек
Рисунок В.4 - Сеть геодезического купола
В.14 В зависимости от членения сферических треугольников на мелкие ячейки могут быть получены треугольные, квадратные, пятиугольные, шестиугольные и ромбические сетки, в которых большинство стержней имеют равные длины, а остальные стержни незначительно отличаются по длине друг от друга. Для двухслойных куполов возможны решения, когда наружная сетка треугольная, а внутренняя - шестиугольная.
В.15 Расчет геометрических параметров всех рассмотренных схем следует выполнять численными методами ввиду большого объема вычислений.
Первичная разбивка такой системы - меридиональная. На сферический сегмент наносят сеть меридианов. Каждый полученный участок следует делить четырехугольными ячейками таким образом, чтобы два противоположных узла ячейки располагались на одном меридиане, а два других - на одной параллели.
[1]
СП 53-101-98 Изготовление и контроль качества стальных строительных конструкций
[2]
СП 31-114-2004 Правила проектирования жилых и общественных зданий для строительства в сейсмических районах