Главная // Актуальные документы // Постановление
СПРАВКА
Источник публикации
ИУС "Государственные стандарты", N 7, 1998
Примечание к документу
Документ введен в действие на территории Российской Федерации с 1 сентября 1998 года Постановлением Госстандарта России от 20.04.1998 N 126 ("ИУС", N 7, 1998).
Название документа
"Изменение N 2 ГОСТ 3-88 "Перчатки хирургические резиновые. Технические условия"
(принято Протоколом Межгосударственного совета по стандартизации, метрологии и сертификации от 21.11.1997 N 12)


"Изменение N 2 ГОСТ 3-88 "Перчатки хирургические резиновые. Технические условия"
(принято Протоколом Межгосударственного совета по стандартизации, метрологии и сертификации от 21.11.1997 N 12)

Принято
Межгосударственным советом
по стандартизации, метрологии
и сертификации
от 21 ноября 1997 г. N 12
ИЗМЕНЕНИЕ N 2 ГОСТ 3-88
"ПЕРЧАТКИ ХИРУРГИЧЕСКИЕ РЕЗИНОВЫЕ.
ТЕХНИЧЕСКИЕ УСЛОВИЯ"
Группа Р13
Принято Межгосударственным советом по стандартизации, метрологии и сертификации (Протокол N 12 от 21.11.97).
Зарегистрировано Техническим секретариатом МГС N 2656.
За принятие изменения проголосовали:
Наименование государства
Наименование национального органа стандартизации
Азербайджанская Республика
Азгосстандарт
Республика Армения
Армгосстандарт
Республика Белоруссия
Госстандарт Белоруссии
Республика Казахстан
Госстандарт Республики Казахстан
Киргизская Республика
Киргизстандарт
Республика Молдова
Молдовастандарт
Российская Федерация
Госстандарт России
Республика Таджикистан
Таджикгосстандарт
Туркменистан
Главная государственная инспекция Туркменистана
Республика Узбекистан
Узгосстандарт
Украина
Госстандарт Украины
Вводная часть. Первый абзац изложить в новой редакции:
"Настоящий стандарт распространяется на нестерильные резиновые хирургические перчатки (далее - перчатки) многократного использования, предназначенные для изоляции рук";
дополнить абзацем:
"Обязательные требования к продукции, направленные на обеспечение безопасности для жизни и здоровья населения, изложены в пп. 1.2, 1.3, 1.4.1, 2.3, 2.5, 2.7, 3.1 - 3.7".
Пункт 1.2.1. Чертеж заменить новым (см. с. 52).
Черт. 1
Пункт 1.3.1. Заменить слова: "Минздравом СССР" на "органами здравоохранения".
Пункт 1.3.4. Таблица 2. Примечание исключить.
Пункт 1.3.7. Заменить слово: "физиологически" на "биологически".
Пункт 1.4.2. Исключить слово: "розничной";
дополнить абзацем: "Допускается наносить рекламный материал".
Пункт 1.4.3. Заменить ссылку: ГОСТ 14192-77 на ГОСТ 14192-96.
Пункт 1.5.1. Первый абзац изложить в новой редакции:
ИС МЕГАНОРМ: примечание.
ГОСТ 9421-80 утратил силу с 1 июля 2014 года в части картона для изготовления тары для пищевой продукции в связи с введением в действие ГОСТ 32096-2013 (Приказ Росстандарта от 01.08.2013 N 471-ст).
"Перчатки одного номера в количестве не более 50 пар укладывают в коробку из картона по ГОСТ 7933-89, ГОСТ 9421-80.
По согласованию с потребителем допускается упаковывать перчатки в иную картонную тару, выпускаемую по другой нормативной документации и обеспечивающую сохранность перчаток. В этом случае количество упакованных в картонную тару перчаток не должно превышать 300 пар";
четвертый абзац после слова "коробку" дополнить словами: "(или другую картонную тару)";
последний абзац после слов "по эксплуатации" дополнить словами: "и хранению".
Пункт 1.5.2. Первый абзац. Заменить ссылки: ГОСТ 10131-87 на ГОСТ 10131-93, ГОСТ 13511-84 на ГОСТ 13511-91, ГОСТ 13512-81 на ГОСТ 13512-91, ГОСТ 13515-80 на ГОСТ 13515-91, ГОСТ 13841-79 на ГОСТ 13841-95;
ИС МЕГАНОРМ: примечание.
Взамен ГОСТ 13514-82 Постановлением Госстандарта России от 02.06.1994 N 160 с 1 января 1995 года введен в действие ГОСТ 13514-93.
исключить ссылку: ГОСТ 13514-82;
после слова "другой" дополнить словом: "транспортной".
Пункт 2.3. Таблица 4. Графа "Уровень контроля". Заменить значение: П на II.
Пункт 2.7. Таблица 5. Графа "Наименование показателя". Показатель 5 изложить в новой редакции:
"5. Упаковка перчаток в ящики, маркировка транспортной тары (пп. 1.4.3, 1.5.2)".
Пункт 3.1 после слов "Размеры перчаток" дополнить ссылкой: "(п. 1.2)";
заменить слово: "третьего" на "второго".
Пункт 3.2. Первый абзац после слов "толщину перчатки" дополнить ссылкой: "(п. 1.2)";
заменить ссылку: ГОСТ 11358-74 на ГОСТ 11358-89.
Пункт 3.3 до слов "проверяют визуально" изложить в новой редакции:
"Внешний вид перчаток, отсутствие дефектов и наличие обработки поверхности (пп. 1.3.2, 1.3.4, 1.3.7)".
Пункт 3.4 изложить в новой редакции; дополнить пунктами 3.4.1 - 3.4.2.2:
"3.4. Герметичность перчаток определяют методами А или Б.
При разногласии в оценке герметичность перчаток определяют методом А с применением подкрашенной воды.
3.4.1. Метод А
3.4.1.1. Аппаратура, материалы и реактивы
Цилиндр из алюминия, пластика или стекла, полый, сквозной, наружным диаметром 60 мм и длиной не более 400 мм.
Муфта из резины или металла внутренним диаметром 60 мм, внешним - не более 80 мм, высотой - не более 20 мм.
Стойка опорная (штатив) для укрепления (или подвешивания) одного или нескольких цилиндров.
Стакан со шкалой В-1-1000 ТС или В-2-1000 ТС по ГОСТ 25336-82.
Краситель водорастворимый (метиловый оранжевый или бромфеноловый синий), раствор в питьевой воде с массовой долей 0,01%, по нормативной документации.
Вода питьевая по ГОСТ 2874-82.
Бумага фильтровальная по ГОСТ 12026-76.
Линейка измерительная металлическая по ГОСТ 427-75.
3.4.1.2. Проведение испытания
На полый сквозной цилиндр надевают муфту и укрепляют ее на такой высоте, чтобы расстояние между нижним краем цилиндра и верхней поверхностью муфты не превышало 60 мм. Затем, растягивая слегка венчик перчатки, надевают ее снизу на цилиндр и укрепляют венчик на уровне верхней поверхности муфты.
Допускается дополнительно укреплять перчатки иным способом, не изменяющим расстояние между нижним краем цилиндра и верхней поверхностью муфты (не более 60 мм).
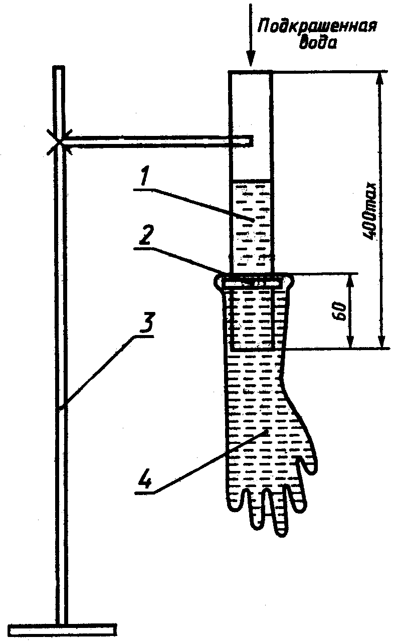
Цилиндр закрепляет или подвешивают на опорной стойке (штативе) (см. черт. 2).
1 - цилиндр; 2 - муфта; 3 - опорная стойка;
4 - испытуемая перчатка
Черт. 2
В цилиндр наливает 1000 см3 питьевой воды (или 1000 см3 подкрашенной водорастворимым красителем питьевой воды) комнатной температуры, не допуская попадания ее на внешнюю поверхность перчатки.
Оценку герметичности перчаток проводят через 2 мин по одному из перечисленных проявлений утечки:
появлению струек воды на внешней поверхности перчатки;
отпечатку красителя на высушенной поверхности перчатки (при применении подкрашенной воды);
отсутствию следов воды при промокании белой фильтровальной бумагой в местах контакта с ее поверхностью перчатки.
Участок краги перчатки, не подвергшийся испытанию на герметичность указанным методом, проверяют на отсутствие дефектов, приводящих к нарушению герметичности, визуально на растянутой руками краге до ширины 12 - 13 см.
3.4.2. Метод Б
3.4.2.1. Аппаратура и реактивы
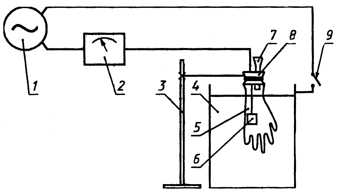
Установка для определения герметичности перчаток (см. черт. 3).
Установка для определения герметичности перчаток
1 - источник переменного тока; 2 - показывающий
миллиамперметр; 3 - опорная стойка (штатив);
4 - изолированная ванна из нержавеющей стали;
5 - испытуемая перчатка; 6 - электрод; 7 - воронка для
заполнения перчатки раствором; 8 - полимерное кольцо
для закрепления и удерживания перчатки;
9 - выключатель
Черт. 3
Натрий хлористый по ГОСТ 4233-77, раствор с массовой долей 3,75%.
Линейка измерительная металлическая по ГОСТ 427-75.
3.4.2.2. Проведение испытания
Перчатку закрепляют по венчиковой части на опорной стойке (штативе), заполняют раствором хлористого натрия с массовой долей 3,75% на длину перчатки (200 +/- 10) мм и погружают в ванну с таким же раствором хлористого натрия, но подогретым до температуры (37 +/- 2) °C, до совмещения уровня поверхности раствора в перчатке и ванне.
На установку подают переменный электрический ток с напряжением (24 +/- 4) В и частотой (50 +/- 2) Гц.
Через 30 мин записывают показания миллиамперметра.
Перчатку считают герметичной, если зарегистрированный ток на шкале не превышает 0,01 А.
Участок краги перчатки, не подвергшийся испытанию на герметичность указанным методом, проверяют на отсутствие дефектов, приводящих к нарушению герметичности, визуально на растянутой руками краге до ширины 12 - 13 см".
Пункт 3.5. Первый абзац после слова "старению" дополнить ссылкой: "(п. 1.3.5)";
второй абзац. Заменить слова: "Перчатки замачивают, полностью погружая их в моющий раствор" на "Перчатки полностью погружают в моющий раствор", "при первоначальной температуре 50 - 55 °C в течение 15 - 16 мин" на "и выдерживают в нем в течение 15 - 16 мин при первоначальной температуре 50 - 55 °C";
после слов "не допускаются" дополнить словами: "Обработанные в моющем растворе перчатки промывают в проточной питьевой воде по ГОСТ 2874-82 в течение 15 - 16 мин. Затем влажные перчатки обрабатывают биологически безвредным порошкообразным веществом и высушивают при температуре не выше 70 °C";
четвертый абзац. Исключить слова: "или обработки физиологически безвредным веществом";
заменить ссылки: ГОСТ 9412-77 на ГОСТ 9412-93, ГОСТ 19569-80 на ГОСТ 19569-89.
Пункт 3.6. Первый абзац после слова "перчаток" дополнить ссылкой: "(п. 1.3.6)";
заменить ссылку: 3.4 на 3.5.
Пункт 3.7 после слова "перчаток" дополнить ссылкой: "(пп. 1.4, 1.5)".
Пункт 4.2. Заменить ссылку: ГОСТ 21929-76 на ГОСТ 26663-85.
Пункт 4.3. Второй абзац. Заменить слова: "и других веществ, разрушающих резину" на "(других органических растворителей), а также иных веществ, разрушающих резину".
Приложение. Наименование изложить в новой редакции:
"Правила по эксплуатации и хранению перчаток";
пункт 5. Заменить слова: "и других веществ, разрушающих резину" на "(других органических растворителей), а также иных веществ, разрушающих резину";
пункт 6 изложить в новой редакции:
"6. Промытые после обработки водным моющим раствором перчатки необходимо обработать внутри и снаружи биологически безвредным веществом во избежание слипания, просушить на воздухе и подвергнуть стерилизации".