Главная // Актуальные документы // ПособиеСПРАВКА
Источник публикации
М., 1988
Примечание к документу
Документ фактически утратил силу с 1 января 2013 года в связи с изданием
Приказа Минрегиона России от 29.12.2011 N 635/6, отменившего
СНиП 2.11.02-87.
Название документа
"Пособие по проектированию зданий холодильников (в развитие главы СНиП 2.11.02-87 "Холодильники") Шифр 08-0196-87/6-88"
"Пособие по проектированию зданий холодильников (в развитие главы СНиП 2.11.02-87 "Холодильники") Шифр 08-0196-87/6-88"
натурных исследований и темы
докт. техн. наук, проф.
А.Г.ГИНДОЯН
| | ИС МЕГАНОРМ: примечание. В официальном тексте документа, видимо, допущена опечатка: правильный номер СНиП 2.11.02-87, а не СНиП 2.11.02.87. | |
ПОСОБИЕ
ПО ПРОЕКТИРОВАНИЮ ЗДАНИЙ ХОЛОДИЛЬНИКОВ
(В РАЗВИТИЕ ГЛАВЫ СНиП 2.11.02.87 "ХОЛОДИЛЬНИКИ")
ШИФР 08-0196-87/6-88
Рекомендовано к изданию Решением секции ограждающих конструкций Научно-технического совета ЦНИИпромзданий Госстроя СССР.
Пособие по проектированию зданий холодильников составлено в развитие главы
СНиП 2.11.02-87 "Холодильники".
Содержит основные требования к объемно-планировочным и конструктивным решениям зданий холодильников различного назначения, методику расчета теплоизоляции и пароизоляции ограждающих конструкций, рекомендации по выбору материалов и конструкций, замене и усилению теплоизоляции, надзору в процессе эксплуатации холодильников.
Пособие разработано ЦНИИпромзданий Госстроя СССР (д-р техн. наук, проф. А.Г. Гиндоян - руководитель темы, кандидаты техн. наук С.М. Гликин, В.Я. Грушко, Г.М. Смилянский, Э.А. Наргизян, В.М. Панарин, инженеры Б.В. Лифанов, В.А. Файнштейн, В.Т. Ходырева), совместно с институтом Гипрохолод Министерства торговли СССР (инженеры В.В. Васютович, Г.А. Карганов, В.И. Чернов, В.А. Жилкин), с участием институтов Гипромясомолпром Государственного агропромышленного комитета СССР (инженеры О.Ф. Авдеев, А.Г. Козлов, Гипрорыбпром Министерства рыбного хозяйства СССР (инженеры Е.Н. Тарасов, А.С. Краснощеков, С.Ф. Кошелев, Ленгипромясомолпром Государственного агропромышленного комитета РСФСР (инженеры В.А. Рыбаков, Э.А. Даен, В.И. Мазурчик, Б.Ф. Русин), ВНИИ кабельной промышленности (к.т.н. С.З. Ерухимович), ВНИИОСП им. Н.М. Герсеванова Госстроя СССР (к.т.н. Д.И. Федорович, к.т.н. В.К. Щелоков).
Замечания и предложения просим направлять в ЦНИИпромзданий Госстроя СССР по адресу: 127238, Москва, И-238, Дмитровское шоссе, д. 46.
Пособие предназначено для инженерно-технических работников, осуществляющих проектирование, строительство и эксплуатацию холодильников.
1.1. Пособие по проектированию зданий холодильников предназначено для инженерно-технических работников осуществляющих проектирование, строительство и эксплуатацию охлаждаемых зданий и помещений, предназначенных для холодильной обработки и хранения пищевых продуктов.
Охлаждаемыми считаются помещения, в которых постоянно, или в период хранения продуктов поддерживается температура воздуха 12 °C и ниже.
1.2. Пособие содержит основные требования к объемно-планировочным и конструктивным решениям, противопожарной защите зданий холодильников различного назначения, данные по рекомендуемым теплоизоляционным и пароизоляционным материалам, методику определения оптимального сопротивления теплопередаче ограждений и требуемого сопротивления паропроницанию пароизоляционных слоев, рекомендации по защите грунтов оснований от промерзания, рекомендации по эксплуатации строительных конструкций, замене и усилению теплоизоляции в процессе эксплуатации.
1.3. При проектировании зданий холодильников дополнительно к
СНиП 2.11.02-87 и настоящему пособию следует пользоваться следующими инструктивно-нормативными документами:
| | ИС МЕГАНОРМ: примечание. В официальном тексте документа, видимо, допущена опечатка: СНиП 2.11.01-85* имеет название "Складские здания", а не "Склады". | |
1.4. Холодильники по назначению подразделяются на холодильники длительного хранения продуктов, распределительные холодильники для обеспечения скоропортящимися продуктами предприятий торговли и общественного питания, производственные холодильники, которые технологически связаны с производственными процессами, обработки и переработки продуктов питания, холодильники для хранения картофеля, овощей и фруктов.
Многоэтажные холодильники емкостью свыше 5000 т при низком уровне стояния грунтовых вод целесообразно проектировать с подвалами, температура в которых предусматривается 0 °C и выше.
1.5. Комплекс холодильника включает следующие здания и сооружения:
охлаждаемый склад;
закрытая железнодорожная платформа;
автомобильная платформа;
машинное и аппаратное отделение аммиачных холодильных установок;
конденсаторное отделение;
зарядная станция самоходных машин;
административно-бытовой корпус;
склад аммиака и масел;
автовесовая на 15 и 30 т.
1.6. Холодильники могут являться самостоятельными предприятиями (распределительные холодильники), либо включаться в состав производственного комплекса (мясокомбинат, рыбокомбинат и др.).
1.7. Холодильники предприятий мясной и рыбной промышленности должны, как правило, располагаться в главном производственном здании.
Допускается располагать холодильники в отдельно стоящем здании, соединяя их с производственными корпусами транспортными коридорами или галереями.
Этажность холодильников определяется этажностью производственных корпусов.
1.8. Генеральные планы распределительных холодильников, а также предприятий, в состав которых входят производственные холодильники, должны обеспечивать наиболее благоприятные условия для производственного процесса и труда на предприятиях, рациональное и экономное использование земельных участков и наибольшую эффективность капитальных вложений.
1.9. Административно-бытовой корпус с проходной и помещением охраны, а также автовесовая располагаются при въезде на территорию.
1.10. Склад аммиака размещается на расстоянии 20 м от зданий и сооружений.
1.11. Перед автоплатформой должна быть предусмотрена площадка шириной 25 - 35 м с асфальтобетонным покрытием.
1.12. Вокруг здания холодильника предусматривается кольцевой объезд.
1.13. Территория должна иметь глухое ж.б. ограждение высотой не менее 2-х м.
1.14. При необходимости расширения здания холодильника его целесообразно предусматривать со стороны ж.д. тупика.
1.15. РП(РУ)6-10 кв следует размещать на границе промплощадки холодильника.
1.16. Холодильники емкостью более 600 т необходимо относить ко 2-ой категории по степени обеспечения надежности электроснабжения; емкостью 600 т и менее - к 3-ей категории. В первом случае холодильники комплектуются двухтрансформаторной подстанцией, во втором - однотрансформаторной подстанцией.
1.17. Плотность застройки площадок предприятий должна быть не менее указанной в
СНиП II-89-80 "Генеральные планы промышленных предприятий".
Примеры решения генеральных планов распределительных и производственных холодильников приведены на рис. 2.1 -
2.4.
Рис. 2.1. Пример решения схемы генерального плана
холодильника
1 - главный корпус; 2 - административно-бытовой корпус;
3 - автовесовая; 4 - Р.П.; 5 - конденсаторная;
6 - резервуары запаса воды; 7 - насосная; 8 - склад аммиака
Рис. 2.2. Мясокомбинат мощностью 30 тонн мяса в смену.
Схема генплана
1 - главное производственное здание; 1А - мясожировой
корпус; 1Б - холодильник; 1В - мясоперерабатывающий корпус;
2 - административно-бытовой корпус; 3 - блок подсобных
цехов; 4 - санитарная бойня, карантин, изолятор;
5 - каныжная на 2 пресса; 6 - блок очистных сооружений;
7 - склад аммиака и масел; 8 - насосная станция II подъема;
9 - весовая с 15 и 30-тонными весами; 10 - пункт мойки
и дезинфекции, контора скотоприемного двора;
11 - котельная; 12 - дезинфекционный барьер
Рис. 2.3. Типовое проектное решение мясокомбината
мощностью 50 тонн мяса в смену
1 - главное производственное здание: А. мясожировой корпус,
Б. холодильник, машинное отделение и трансформаторная
подстанция, В. мясоперерабатывающий корпус, Г. корпус
предубойного содержания скота; 2 - административно-бытовой
корпус; 3 - блок подсобных цехов; 4 - санитарная бойня,
карантин, изолятор; 5 - песколовка-жироловка;
6 - дезинфектор; 7 - конденсаторная установка;
8 - котельная; 9 - весовая с 15 т и 30 т весами; 10 - пункт
мойки и дезинфекции автомашин; 11 - вентиляторная градирня;
12 - резервуар для воды; 13 - склад аммиака; 14 - каныжная;
15 - навозоуловитель; 16 - дезинфекционный барьер
Рис. 2.4. Типовое проектное решение мясокомбината
мощностью 100 тонн мяса в смену
1 - главное производственное здание: А - мясожировой корпус,
Б - холодильник, машинное отделение и трансформаторная
подстанция, В - мясоперерабатывающий корпус, Г - корпус
предубойного содержания скота; 2 - корпус технических
фабрикатов; 3 - административно-бытовой корпус; 4 - пункт
мойки и дезинфекции автомашин; 5 - блок подсобных цехов;
6 - весовая с 15 и 30 т весами; 7 - конденсаторная
установка; 8 - песколовка-жироловка; 9 - дезинфектор;
10 - санитарный блок; 11 - котельная; 12 - каныжная
на 3 пресса; 13 - вентиляторная градирня
2. ОБЪЕМНО-ПЛАНИРОВОЧНЫЕ РЕШЕНИЯ
2.1. Соотношение площадей основных и вспомогательных помещений зданий распределительных холодильников определяется их емкостью.
При определении ориентировочных габаритных размеров основных и вспомогательных зданий комплекса холодильника следует руководствоваться таблицей 2.1.
Таблица 2.1
ПРИМЕРНЫЕ СООТНОШЕНИЯ ПЛОЩАДЕЙ
РАСПРЕДЕЛИТЕЛЬНЫХ ХОЛОДИЛЬНИКОВ
Холодильник емкостью в тоннах условного груза (т) | Общая площадь (м2) | Строительный объем охлаждаемого склада (м3) | Соотношение площадей |
охлаждаемый склад | подсобно-вспомогательные службы | разгрузочные площадки и платформы | бытовые помещения |
площадь м2 --------------- % от общей | площадь м2 --------------- % от общей | площадь м2 --------------- % от общей | площадь м2 --------------- % от общей |
250 | 487 | 1360 | 283 ----- 58 | 140 ----- 28 | 36 ---- 7 | 28,5 ----- 6 |
400 | 642 | 2060 | 423 ----- 66 | 143 ----- 22 | 52 ---- 8 | 24,1 ----- 4 |
700 | 1055 | 3540 | 737 ----- 70 | 182 ----- 17 | 53 ---- 5 | 82,4 ----- 8 |
1500 | 3244 | 6880 | 1147 ------ 35 | 902 ----- 28 | 985 ----- 30 | 210 ----- 7 |
3000 | 6745 | 18430 | 3071 ------ 45 | 1665 ------ 25 | 1450 ------ 21 | 558 ----- 8 |
5000 | 8505 | 26740 | 4456 ------ 52 | 1806 ------ 21 | 1550 ------ 18 | 692 ----- 8 |
10000 и более | 15812 | 53700 | 9710 ------ 61 | 2673 ------ 17 | 2206 ------ 14 | 1223 ------ 8 |
Таблица 2.1 разработана для одноэтажных холодильников емкостью 250, 700, 1500, 3000 и 5000 т и многоэтажных - 10000 т и более. Площади холодильников промежуточной емкости определяются интерполяцией.
Соотношение площадей основных и вспомогательных помещений производственных холодильников определяется по Нормам технологического проектирования соответствующих отраслей промышленности.
2.2. Высота помещений (от чистого пола до низа несущих конструкций) одноэтажных холодильников емкостью 1500 т и более должны быть не менее 6 м, емкостью свыше 125 т до 1500 т - 4,8 м емкостью 125 т и менее - 3,6 м. Высоты надземных этажей зданий многоэтажных холодильников следует принимать равными 4,8; 5,4 или 6 м. Высота подвального этажа должна быть не менее 3,6 м.
2.3. Ворота всех охлаждаемых камер должны выходить во внутренние грузовые коридоры соединяющие автомобильную и железнодорожные платформы в одноэтажных холодильниках и в грузовые вестибюли в многоэтажных холодильниках.
2.4. При включении в состав комплекса холодильника производственных помещений по фасовке мяса, масла, парафинирования сыров, а также цеха по производству мороженого, следует блокировать их с охлаждаемым складом холодильника максимально сокращая пути транспортировки сырья и готовой продукции. В случае невозможности блокировки указанных выше цехов рекомендуется проектировать транспортные галереи с механизированной подачей сырья и отправкой готовой продукции в охлаждаемый склад.
2.5. Рекомендуется при принятии объемно-планировочных решений по охлаждаемому складу, грузовым платформам, административно-бытовому корпусу и др. руководствоваться по составу помещений приложением N 1 "Ведомственных норм технологического проектирования распределительных холодильников", ВНТП 03-86/Минторга СССР.
2.6. Многоэтажные холодильники оборудуются лифтами со стороны железнодорожной и автомобильной платформ.
На платформах предусматривают весы грузоподъемностью до 5 т.
2.7. При проектировании административно-бытового корпуса рекомендуется включать в него гардеробные блоки, обслуживающие рабочий персонал холодильника, работающий при температуре воздуха ниже +10 °C и на открытом воздухе.
Допускается предусматривать эти помещения в блоке с машинным отделением и зарядной станцией при условии отдельного размещения от гардеробных зарядной станции и машинного отделения.
2.8. При проектировании машинных отделений аммиачных холодильных установок должны предусматриваться следующие помещения: КИП, ремонтная мастерская, кладовая запасных частей, комната начальника цеха, гардероб уличный, домашней и специальной одежды, уборная, комната приема пищи, венткамера. Все указанные помещения должны быть связаны отдельным коридором имеющим выход наружу. Не допускается использовать коридор машинного отделения для связи с другими помещениями холодильника.
2.9. Трансформаторную подстанцию целесообразно размещать смежно с машинным отделением.
2.10. В помещениях машинных и аппаратных отделений аммиачных холодильных установок допускается устройство открытого приямка глубиной 2,5 м для установки аппаратов и насосов. Приямок должен иметь ограждение и не менее двух лестниц, а при глубине приямка более 2 м - выход непосредственно наружу.
2.11. Помещения машинных отделений аммиачных холодильных установок должны иметь не менее двух выходов, один из которых непосредственно наружу.
Допускается устройство одного из выходов через тамбур-шлюз в коридор подсобно-бытовых помещений машинного отделения.
2.12. Над помещениями машинных и аппаратных отделений аммиачных холодильных установок не разрешается располагать помещения с постоянными рабочими местами, а также административные и бытовые помещения.
Допускается располагать над машинными отделениями аппаратные отделения.
Не допускается заглубление пола машинного (аппаратного) отделения ниже планировочной отметки территории.
2.13. Непроходные каналы и люки должны закрываться заподлицо с полом схемными плитами или металлическими рифлеными листами. Высота от чистого пола до подоконника машинного отделения должна быть не более 120 см. Если отметка пола превышает уровень двора, на выходе из машинного отделения должна быть устроена наружная площадка со ступенями. Не допускается устройство ступеней с подъемом перед выходами из машинного отделения наружу.
2.14. Зарядная станция самоходных машин предназначается для периодической подзарядки батарей механизмов, осуществляющих транспортировку грузов. В состав зарядной станции входят следующие помещения: зарядки батарей, ремонтное отделение, агрегатная, электролитная, гардероб уличной, домашний и специальной одежды, уборные, венткамеры. Все указанные помещения компонуются в единый блок, при этом следует учитывать при проектировании разделение людских потоков и потоки транспортные.
2.15. Минимальную ширину транспортных коридоров в свету следует принимать:
в один ряд - ширина транспортируемого груза плюс 1000 мм;
в два ряда (в двух направлениях) - две ширины транспортируемых грузов плюс 1400 мм.
2.16. Для помещений машинных отделений аммиачных холодильных установок и зарядных станций предусматривается молниезащита.
2.17. Примеры компоновочных решений одноэтажных и многоэтажных холодильников приведены на рис. 2.5 -
2.7.

основной вариант

возможный вариант
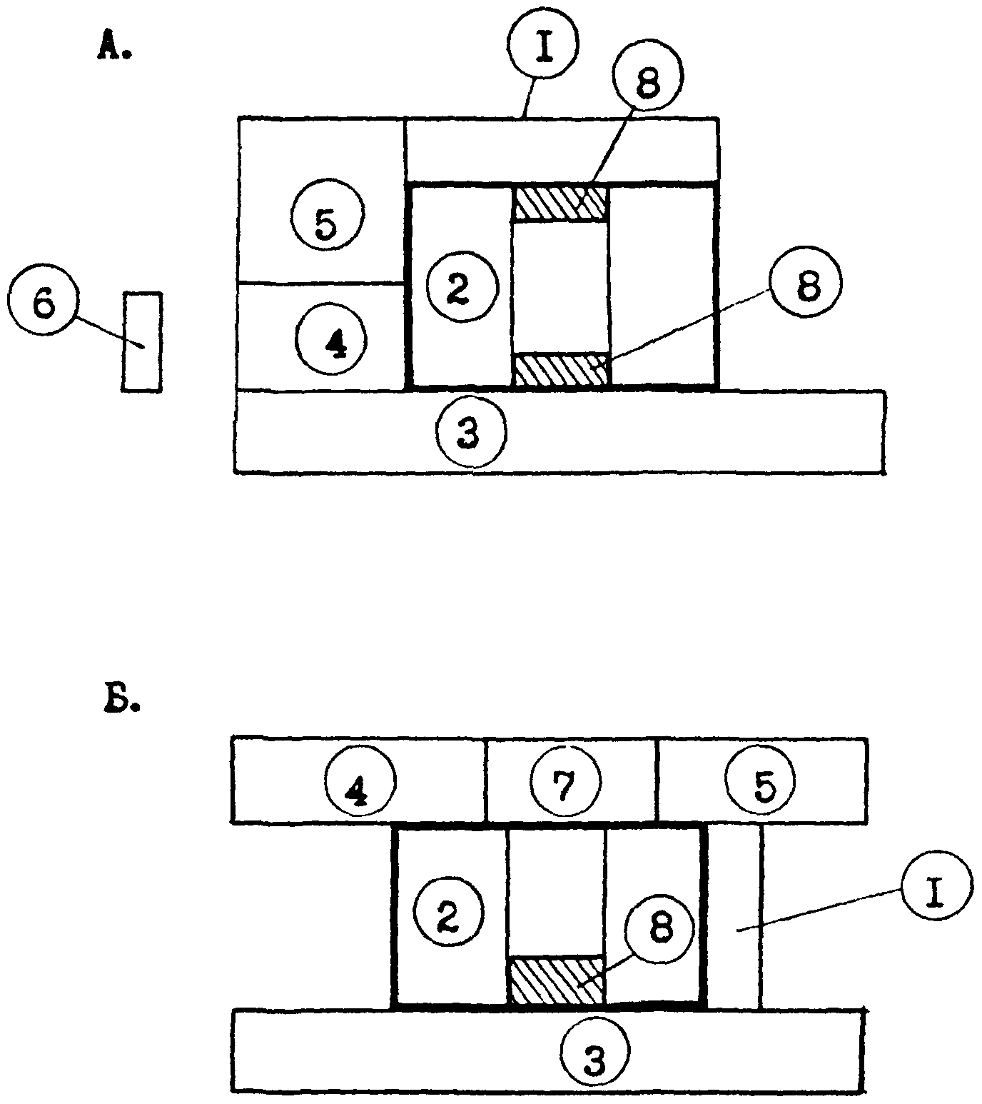
Рис. 2.5. Компоновочные решения одноэтажных холодильников
емкостью от 1500 + 5000 т (главный корпус)
1 - охлаждаемый склад; 2 - машинное отделение с зарядной
станцией; 3 - закрытая железнодорожная платформа;
4 - открытая железнодорожная платформа с навесом; 5 -
конденсаторное отделение; 6 - бытовые помещения холодильника
(могут размещаться в административно-бытовом корпусе - АБК)
Рис. 2.6. Компоновочное решение одноэтажных холодильников
емкостью от 25 до 1500 т (главный корпус)
1 - охлаждаемый склад; 2 - машинное отделение;
3 - бытовые помещения; 4 - платформа разгрузочная
Рис. 2.7. Компоновочные решения многоэтажных холодильников
емкостью от 5000 до 10000 т и выше
А. - вариант I, Б. - вариант II
1 - автомобильная платформа с навесом; 2 - охлаждаемый
многоэтажный склад; 3 - закрытая железнодорожная платформа;
4 - одноэтажное машинное отделение; 5 - одноэтажный блок
зарядной станции; 6 - конденсаторное отделение; 7 - бытовые
помещения; 8 - вестибюльная группа с лифтами
грузоподъемностью 3,2 или 5 т
3. КОНСТРУКТИВНЫЕ РЕШЕНИЯ ЗДАНИЙ ХОЛОДИЛЬНИКОВ
3.1. Требования к материалам строительных конструкций
3.1.1. Производственная среда в охлаждаемых помещениях холодильника классифицируется как слабоагрессивная по отношению к железобетонному и среднеагрессивная по отношению к стали.
Цементы и заполнители, предназначенные для приготовления бетона для железобетонных несущих и ограждающих конструкций зданий холодильников, должны отвечать требованиям
СНиП 2.03.11-85 "Защита строительных конструкций от коррозии". Минимальный защитный слой бетона для рабочей арматуры железобетонных конструкций должен быть не менее 20 мм.
3.1.2. Класс по прочности на сжатие бетона для сборных железобетонных конструкций должен приниматься не менее В15.
3.1.3. Для несущих конструкций холодильников марку бетона по морозостойкости и водонепроницаемости следует принимать не ниже:
F 150 и W'4 - в низкотемпературных холодильниках (температура ниже минус 5 °C)
F 100 и W'4 - в холодильниках для хранения овощей и фруктов (температура минус 5 °C и выше).
3.1.4. Железобетонные панели наружных стен зданий низкотемпературных холодильников из тяжелого бетона должны иметь марку по морозостойкости не ниже F 200 для районов с расчетной зимней температурой до минус 40 °C включительно и не ниже F 300 при температуре ниже минус 40 °C; панели из легкого бетона соответственно - не ниже F 150 и F 200. Марка бетона по водонепроницаемости для железобетонных панелей наружных стен должна быть не ниже W4.
Для холодильников, предназначенных для хранения овощей и фруктов марку по морозостойкости бетона наружных стеновых панелей допускается принимать:
- для тяжелого бетона F 150
- для легкого бетона F 100
в районах с расчетной зимней температурой до минус 40 °C включительно, и:
- для тяжелого бетона F 200
- для легкого бетона F 150
в районах с расчетной зимней температурой ниже минус 40 °C.
Марка бетона по водонепроницаемости для всех случаев должна приниматься W4.
3.1.5. Кирпичные стены должны проектироваться из глиняного обыкновенного сплошного кирпича пластического прессования марки не ниже 100 на тяжелом растворе марки не ниже 50.
В нормальных и сухих зонах (по
СНиП II-3-79**) допускается предусматривать наружные стены холодильников из силикатного кирпича марки 150 или из природных камней марки не ниже 75.
Кирпич и естественный камень для стен зданий холодильников должен иметь марку по морозостойкости не ниже F 25, для зданий холодильников емкостью менее 700 т допускается применять марку по морозостойкости не ниже F 15.
3.1.6. При применении в качестве стенового материала легкобетонных блоков требования к маркам по прочности и морозостойкости должны соответствовать
пункту 3.1.4.
3.1.7. Железобетонные перегородки между камерами должны выполняться из бетона с маркой по морозостойкости F-75.
3.1.8. Бетонные покрытия полов в холодильных камерах, коридорах, вестибюлях и на платформах должны выполняться из тяжелого бетона марки по морозостойкости F 150. Класс бетона по прочности следует принимать В30 для покрытий из сборных железобетонных плит и В 22,5 для монолитных покрытий.
3.1.9. Здания холодильников с отрицательными температурами в помещениях, возводимые во всех строительно-климатических районах, за исключением зон распространения вечномерзлых грунтов, должны проектироваться с учетом необходимости предотвращения промерзания грунтов, являющихся основанием фундаментов и полов. С этой целью следует применять системы искусственного обогрева, устройство проветриваемого подполья и другие системы защиты, в соответствии с рекомендациями
раздела 7.
Системы защиты грунтов от промерзания должны предусматриваться под помещениями с отрицательными температурами, а также под примыкающими к ним коридорами, вестибюлями, лифтовыми шахтами.
Не требуется защита от промерзания непучинистых грунтов, простирающих ниже подошвы фундамента на глубину не менее 1/3 ширины здания охлаждаемого склада при его ширине менее 30 м, или на 10 м при ширине охлаждаемого склада более 30 м. Подсыпка под полы, в этом случае должна выполняться из непучинистых грунтов.
К непучинистым грунтам относятся пески крупные и средней крупности, крупнообломочные грунты с песчаным заполнителем и скальные грунты при любом уровне стояния грунтовых вод.
3.2. Несущие конструкции.
3.2.1. Здания многоэтажных холодильников должны проектироваться с железобетонным каркасом безбалочного типа. Конструкция сборных железобетонных элементов перекрытия должна обеспечить гладкие потолки в охлаждаемых помещениях.
3.2.2. Несущие конструкции зданий одноэтажных холодильников принимаются по номенклатуре одноэтажных промышленных зданий в соответствии с территориальными каталогами отдельных регионов страны.
Для снижения собственного веса покрытия стропильные балки допускается устанавливать на стальные столики и устанавливать балки по уклону, соответствующему уклону кровли.
В покрытии одноэтажных холодильников применяются сборные железобетонные ребристые плиты. Применение плит с пустотами не рекомендуется, а для производственных холодильников не допускаются.
3.2.3. Внутренние стены зданий многоэтажных холодильников (стены вестибюльных групп), несущие нагрузку от перекрытий вестибюлей предусматриваются из глиняного кирпича, бетонных блоков или монолитного железобетона, отвечающих требованиям
пунктов 3.1.3. и
3.1.5.
3.2.4. Сборные железобетонные несущие конструкции каркаса железобетонной платформы принимаются по номенклатуре одноэтажных промышленных зданий.
3.2.5. Навес над автомобильной платформой проектируется в сборных железобетонных конструкциях. Вылет навеса от края платформы должен составлять от 1,5 м до 4,5 м.
Применение для покрытия платформ асбестоцементных листов не рекомендуется. Применение стального профилированного настила для этой же цели должно быть обосновано и согласовано в установленном порядке.
3.2.6. При проектировании фундаментов зданий холодильников с искусственным обогревом грунтов расчетную глубину сезонного промерзания грунтов по наружному контуру зданий в зависимости от среднегодовой температуры наружного воздуха района строительства следует принимать согласно табл. 3.1.
Таблица 3.1
Глубина сезонного промерзания грунта в зависимости
от среднегодовой температуры наружного воздуха
Среднегодовая температура наружного воздуха района строительства °C | Расчетная глубина промерзания, м |
0 °C и ниже | HН |
Выше 0 до 3 °C | 1,1HН |
От 3 до 5 °C | 1,2HН |
От 5 °C и выше | 1,3HН |
Примечание: H
Н - нормативная глубина сезонного промерзания определяется по
СНиП 2.02.01-83.
3.2.7. Глубина заложения фундаментов внутренних стен и колонн не зависит от глубины сезонного промерзания грунта.
Внутренние стены и перегородки холодильников рекомендуется проектировать по фундаментным балкам на отсетке чистого пола.
При проектировании ленточных фундаментов или фундаментных балок, прорезающих теплоизоляцию пола, необходимо учитывать их влияние на температурный режим полов и грунтов основании согласно рекомендациям
раздела 7.
3.2.8. Здания холодильников с проветриваемыми подпольями должны проектироваться таким образом, чтобы обеспечивалось сквозное проветривание по крайней мере в одном направлении.
Высота подполья должна приниматься не менее 0,6 м от поверхности спланированного грунта до низа плит перекрытия. В пределах подполья не должно быть балок высотой более 1/3 высоты подполья. Расположение в подполье инженерных сетей и труб для транспортировки хладоагента не допускается.
Элементы железобетонного перекрытия над проветриваемым подпольем должны выполняться из бетона с маркой по морозостойкости не менее F 300, по водонепроницаемости не менее W 6.
3.2.9. Колонны в охлаждаемых помещениях, коридорах, на платформах, стены платформ, транспортных коридоров и вестибюлей, а также стены камер из металлических панелей должны быть защищены от механических повреждений при транспортировке грузов автопогрузчиками на высоту 1,5 м, при транспортировке и хранении на подвесных путях на высоту 2,5 м.
3.3. ОГРАЖДАЮЩИЕ КОНСТРУКЦИИ
3.3.1. Наружные стены многоэтажных холодильников рекомендуется проектировать самонесущими из вертикальных стеновых панелей с послойно наклеенными на них в заводских условиях (комплексные панели) или после монтажа паро- и теплоизоляционными слоями или трехслойных панелей на гибких связях с двумя железобетонными оболочками и внутренним паро-, теплоизоляционным слоем.
3.3.2. Наружные стены одноэтажных холодильников рекомендуется проектировать из горизонтальных стеновых панелей с послойной наклейкой паро- и теплоизоляционных слоев, после монтажа панелей вертикальных комплексных панелей и трехслойных горизонтальных панелей. На гибких связях с железобетонными оболочками и внутренним паро-, теплоизоляционным слоем.
3.3.3. Допускается проектирование стены зданий холодильников из кирпича и естественных камней с соблюдением требований
пунктов 3.1.5 и
3.1.6.
3.3.4. Перегородки между камерами должны выполняться, как правило, сборными железобетонными, отвечающим требованиям
пункта 3.1.7.
Верхняя часть перегородок в уровне низа балок покрытия или в уровне капителей перекрытий должна выполняться из глиняного кирпича с креплением к железобетонным панелям перегородок и конструкциям покрытий и перекрытий, либо заполняться плитным утеплителем на деревянном каркасе с устройством с двух сторон цементно-песчаной штукатурки по металлической сетке.
Перегородки могут также быть кирпичными или из естественных камней отвечающих требованиям
пункта 3.1.5.
3.3.5. Наружные стены охлаждаемого склада проектируются, как правило, с отступом от каркаса здания, для выполнения замкнутого тепло- пароизоляционного контура, и исключения "мостиков холода", образующихся при стыковке наружных стен с каркасом здания.
3.3.6. Кровля зданий охлаждаемого склада должна проектироваться с наружным отводом воды. Отвод воды для многоэтажных зданий должен проектироваться организованным с устройством карнизов, имеющих форму желоба и водосточных труб

.
Допускается устройство внутреннего водоотвода через встроенные и пристроенные отапливаемые помещения площадь сбора воды на одну водосточную воронку не должна превышать 700 м2. По периметру кровли многоэтажного здания охлаждаемого склада требуется устройство металлического ограждения, обеспечивающего безопасность при выполнении ремонтных работ в процессе эксплуатации. Кровля одноэтажного охлаждаемого склада может выполняться с "неорганизованным" водоотводом.
3.3.7. Конструкция кровель зданий охлаждаемых зданий выполняется в соответствии со
СНиП "Кровли".
3.3.8. Покрытия полов охлаждаемых помещений вестибюлей, коридоров и платформ как правило должны выполняться из бетона толщиной 40 мм монолитными или сборными из плит размером 500 x 500 мм в соответствии с требованиями
п. 3.1.8.
Монолитное покрытие пола должно проектироваться с разрезкой на квадраты со стороной 3 x 3 м с прокладкой алюминиевой полосы. Прокладка стеклянной полосы не допускается. Поверхность пола должна быть отшлифована с применением кварцевого песка.
3.3.9. Покрытия полов во взрывоопасных помещениях категорий А, Б следует проектировать безыскровыми.
3.3.10. По теплоизоляции пола следует выполнять бетонную стяжку из бетона класса В15 толщиной 80 мм с армированием стальными сетками из стержневой арматуры класса А1 с ячейкой 100 x 100 мм.
3.3.11. В полах охлаждаемых камер, конструкция которых предусматривает обогрев грунта следует предусматривать люки для установки термометров сопротивления, см. рис.
3.3.12. Изотермические двери охлаждаемого склада изготавливаются двух видов: распашные и откатные. Откатные двери изготавливаются как с ручным, так и с механическим приводом.
При использовании откатных дверей одна из дверей охлаждаемого помещения должна иметь калитку для возможной эвакуации людей.
Вместо калитки допускается предусматривать вышибной люк размером 600 x 800 мм или установку распашной двери. Место расположения вышибного люка должно быть доступным и соответствующим образом обозначено.
3.3.13. При выходе из охлаждаемого помещения непосредственно наружу или в отапливаемое помещение должна быть предусмотрена воздушная завеса.
3.3.14. Номенклатура дверей с ручными и механическими приводами приводится в
приложении 17.
| | ИС МЕГАНОРМ: примечание. В официальном тексте документа, видимо, допущена опечатка: рисунок 3.1 отсутствует. | |
Деталь установки дверей см. рис. 3.1.
3.3.15. Наружную отделку в проектах зданий холодильников следует предусматривать двух основных типов по ее изготовлению: отделка в заводских условиях и отделка в построечных условиях.
В заводских условиях, может предусматриваться отделка стеновых панелей следующими материалами: керамической плиткой, стекломозаичной плиткой, щебнем из естественных пород камня, плиткой из естественного отделочного камня.
В построечных условиях: облицовка лицевым кирпичом наружных кирпичных стен, декоративная штукатурка с применением мраморной крошки, облицовка керамической плиткой и окраска красками или эмалями панелей и монолитных стен из бетона с применением различной фактуры или без нее.
3.3.16. Внутренняя отделка помещений камер охлаждаемого оклада должна предусматриваться с учетом санитарных требований, исключающих образование "грибка", и быть легко обновляемой в процессе эксплуатации.
Рекомендуется выполнять по теплоизоляции штукатурку цементно-известковым раствором по металлической сетке.
Допускается взамен штукатурки по теплоизоляции применять плоские асбестоцементные листы с заделкой швов.
3.4. Холодильники из легких металлических конструкций (ЛМК).
3.4.1. Холодильники из ЛМК должны проектироваться одноэтажными с безрулонной кровлей и неорганизованным отводом воды.
3.4.2. Здание холодильника из ЛМК следует применять, как правило, при условии осуществления комплектной поставки несущих и ограждающих конструкций, включая крепежные детали, уплотнитель и герметики.
3.4.3. Здания холодильников из ЛМК должны монтироваться специализированными монтажными организациями, оснащенными необходимым инструментом, о чем следует указывать в рабочих чертежах строительной части проекта.
3.4.4. Несущие конструкции рекомендуется проектировать с наружным или смешанным каркасом. Со смешанным каркасом должны преимущественно проектироваться холодильники для навального хранения картофеля и овощей.
3.4.5. Уклон кровель из профилированного стального настила должен приниматься не менее 10%.
3.4.6. Пространство над изолированным перекрытием должно иметь естественное проветривание. Нормативная полезная нагрузка на перекрытие должна приниматься равной 50 кгс/м2.
3.4.7. В зданиях со смешанным каркасом колонны в местах прохода через перекрытия должны быть изолированы со стороны камер на высоту 0,5 м.
3.4.8. Под базы крайних колонн при смешанном каркасе должен укладываться слой теплоизоляции с сопротивлением теплопередаче по расчету, но не менее

.
3.4.9. Элементы каркаса выполненные из холодноформованных профилей, а также подвески и крепежные детали должны иметь антикоррозийное цинковое покрытие.
3.4.10. Профилированный настил кровли должен крепиться к прогонам в лотке самонарезающими винтами с упругой уплотнительной шайбой. Кромки соседних листов должны соединяться между собой комбинированными заклепками закрытого типа.
3.4.11. Стены и покрытие здания холодильника должны выполняться из трехслойных бескаркасных панелей с облицовками из стального оцинкованного и окрашенных в заводских условиях листа и среднего слоя из пенополиуретана плотностью

.
3.4.12. Панели непрерывного изготовления крепят к каркасу сквозными металлопластмассовыми болтами. Панели стендового изготовления крепят к каркасу с помощью закладных резьбовых деталей на обычных болтах.
3.4.13. Кромки панелей должны обеспечивать возможность надежного уплотнения стыка с одной из сторон мастикой.
Определение месторасположения герметизирующей мастики (снаружи или изнутри помещения) определяется в зависимости от соотношения потоков пара в годовом цикле.
3.4.14. Для фруктохранилищ с регулируемой газовой средой в помещениях хранения соединения панелей должны выполняться на встроенных в панели замках эксцентрикового типа.
3.4.15. Соединение панелей стен и покрытий в вертикальных и горизонтальных углах должно, как правило, выполняться с помощью применения фигурных панелей стендового производства.
3.4.16. Наружные стены и перегородки из панелей должны иметь защитный бетонный цоколь высотой не менее 400 мм. Проемы по боковым и верхним сторонам должны быть защищены от возможных ударов напольным транспортом стальными рамами с предупредительной окраской.
3.4.17. Вентиляционные шахты и выходы технологического оборудования на покрытие с кровлей из стальных профилированных листов необходимо, как правило, устраивать в коньке покрытия, либо в карнизной части стены.
3.4.18. В местах пропуска вентиляционных шахт и другого инженерного оборудования следует предусматривать применение переходных деталей, защитных фартуков из оцинкованной кровельной стали или алюминиевых сплавов и герметическое их соединение со стенками шахт или оборудования. Фартуки должны быть заведены на стенки шахт не менее, чем на 300 мм, и закреплены к ней. Стыки между шахтой и фартуком должны быть загерметизированы. Фартуки должны перекрывать кровлю по скату не менее, чем на 300 мм, а поперек ската - на 200 мм.
Участок кровли между шахтой и коньком следует полностью закрывать защитным фартуком. Между кровельным гнутым металлическим профилем и фартуками у шахт и в коньке необходимо предусматривать установку по скату кровли уплотнительных эластичных прокладок по форме гнутого профиля.
3.5. Особенности проектирования холодильников в сейсмических районах.
3.5.1. Здания одноэтажных холодильников должны проектироваться с самонесущими стенами, связанными с каркасом гибкими связями. Смещение панелей относительно друг друга не допускается.
В углах наружных стен следует предусматривать вертикальные антисейсмические швы, которые должны закрываться компенсаторами, обеспечивающими неразрывность пароизоляционного слоя.
3.5.2. Здания многоэтажных холодильников при расчетной сейсмичности 8 и более баллов рекомендуется выполнять по рамно-связевой конструктивной схеме, при расчетной сейсмичности 7 баллов по рамно-связевой или рамной схемам. Наружные стены должны быть, как правило, самонесущими. В углах стен должны предусматриваться вертикальные антисейсмические швы, перекрываемыми компенсаторами.
3.5.3. При расчете несущих конструкций здания холодильника с учетом сейсмических воздействий допускается принимать временную нагрузку на 1 м2 перекрытия равной отношению паспортной емкости холодильника к суммарной площади всех камер хранения.
4. ПРОТИВОПОЖАРНЫЕ ТРЕБОВАНИЯ
4.1. Здания холодильников по степени огнестойкости подразделяются на семь степеней - II; III; IIIа; IIIб; IV; IVа и V. Классификация здания холодильников по степени огнестойкости, в зависимости от конструктивного их решения приведены в табл. 4.1.
Таблица 4.1
Степень огнестойкости зданий холодильников
в зависимости от их конструктивных решений
Степень огнестойкости | Конструктивные решения зданий холодильников |
1 | 2 |
II | Несущие и ограждающие конструкциями из естественных или искусственных каменных материалов, бетона или железобетона с применением листовых или плитных материалов. I В покрытиях зданий холодильников II степени огнестойкости допускается применять незащищенные стальные конструкции. |
III | Несущие и ограждающие конструкции из естественных или искусственных каменных материалов, бетона или железобетона. К элементам покрытий не предъявляются требования по пределам огнестойкости и пределам распространения огня. При этом элементы чердачного покрытия из древесины должны подвергаться огнезащитной обработке. |
IIIа | Каркасная конструктивная схема. Элементы каркаса - из стальных незащищенных конструкций. Ограждающие конструкции - из стальных профилированных листов или других негорючих листовых материалов с трудногорючим утеплителем. |
IIIб | Каркасная конструктивная схема. Элементы каркаса - из цельной или клееной древесины, подвергнутой огнезащитной обработке, обеспечивающей требуемый предел распространения огня. Ограждающие конструкции - из панелей или поэлементной сборки, выполненные с применением древесины или материалов на ее основе. Древесина и другие горючие материалы ограждающих конструкций должны быть подвергнуты огнезащитной обработке или защищены от воздействия огня и высоких температур таким образом, чтобы обеспечить требуемый предел распространения огня. |
IV | Несущие и ограждающие конструкции из цельной или клееной древесины и других горючих или трудногорючих материалов, защищенных от воздействия огня и высоких температур штукатуркой или другими листовыми или плитными материалами. К элементам покрытий не предъявляются требования по пределам огнестойкости и пределам распространения огня. При этом элементы чердачного покрытия из древесины должны подвергаться огнезащитной обработке. |
IVа | Каркасная конструктивная схема. Элементы каркаса - из стальных незащищенных конструкций. Ограждающие конструкции - из стальных профилированных листов или других негорючих материалов с горючим утеплителем |
V | К несущим и ограждающим конструкциям которых не предъявляются требования по пределам огнестойкости и пределам распространения огня |
Примечание. В зданиях холодильников, за исключением зданий со степенью огнестойкости IIIа, допускаются применять трудногорючие и горючие теплоизоляционные материалы при выполнении требований
п. 4.15.
Степень огнестойкости зданий холодильников должна быть не ниже данных приведенных в табл. 4.2.
Таблица 4.2
Степень огнестойкости зданий холодильников
Емкость холодильника | Степень огнестойкости |
700 т и более | II |
свыше 250 до 700 т | III |
до 250 т | IIIб, IV, V |
Емкость холодильников не более 5000 т (за исключением зданий для хранения картофеля, овощей и фруктов) | IIIа |
То же не более 2000 т | IVа |
Здания холодильников для хранения картофеля и овощей россыпью, емкостью не более 5000 т | IVа |
Здания холодильников для хранения картофеля, овощей и фруктов в горючей таре емкостью не более 3000 т | IVа |
Здания холодильников III - V степеней огнестойкости большей емкости следует разделять на отсеки указанной емкости противопожарными стенами 1-го типа (см.
табл. 2 СНиП 2.01.02-85).
4.2. Категории зданий и помещений по взрывно-пожарной опасности устанавливаются в технологической части проекта в соответствии с Общесоюзными нормами технологического проектирования "Определение категорий помещений и зданий по взрывопожарной и пожарной опасности (ОНТП-24-86 МВД СССР), ведомственными нормами технологического проектирования или специальными перечнями, утвержденными в установленном порядке.
4.3. Размещение помещений различных категорий в зданиях, требований к эвакуационным путям и выходам, наружным легкосбрасываемым конструкциям, устройству дымоудаления следует принимать в соответствии с
СНиП 2.09.02-85 и
СНиП 2.04.05-86.
4.4. Здания холодильников II степени огнестойкости допускается проектировать высотой до 6 наземных этажей включительно, здания холодильников других степеней огнестойкости должны быть одноэтажными.
4.5. Помещения машинных и аппаратных отделений аммиачных холодильных установок должны располагаться в отдельных одноэтажных зданиях II и IIIа степени огнестойкости или пристройках к зданиям холодильников и отделяться от них противопожарными стенами 1-го типа. Типы противопожарных преград принимаются в соответствии с
СНиП 2.01.02-85.
Помещения машинных и аппаратных отделений аммиачных холодильных установок допускается располагать в одноэтажных и на первом этаже многоэтажных зданиях холодильников II степени огнестойкости, отделяя их от других помещений противопожарными перегородками 1-го типа и перекрытиями 3-го типа.
4.6. Над помещениями машинных и аппаратных отделений аммиачных холодильных установок не разрешается располагать помещения с постоянными рабочими местами, а также административно-бытовые помещения.
4.7. Производственные и административно-бытовые здания должны отделяться от зданий холодильников III - V степени огнестойкости противопожарными стенами 1-го типа, от зданий холодильников II степени огнестойкости - противопожарными стенами 2-го типа. Встроенные производственные и административно-бытовые помещения должны отделяться от других помещений зданий холодильников противопожарными перегородками 1-го типа и перекрытиями 3-го типа и иметь выходы наружу.
4.8. В зданиях холодильников допускается устраивать один из эвакуационных выходов на закрытую грузовую платформу непосредственно из лестничной клетки или через транспортный коридор, при этом на автомобильной платформе должны устраиваться спуски (лестницы) напротив выходов из лестничных клеток, а на железнодорожной платформе выделяться пешеходные зоны шириной не менее 1 м, ведущие к выходу и имеющие специальное обозначение.
Закрытая грузовая платформа должна иметь не менее двух выходов наружу.
4.9. Конструкции закрытых платформ и навесов, примыкающих к зданиям II, III, IIIа и IVа степени огнестойкости следует принимать из негорючих материалов.
| | ИС МЕГАНОРМ: примечание. В официальном тексте документа, видимо, допущена опечатка: имеется в виду СНиП 2.04.05-86, а не СНиП 2.04-86. | |
Закрытые платформы следует проектировать с дымоудалением в соответствии с
СНиП 2.04-86.
4.10. В воротах, предназначенных для эвакуации людей, следует предусматривать калитки без порогов или с порогами высотой не более 100 мм, открывающиеся по направлению выхода из здания.
4.11. Емкость холодильников IVа степени огнестойкости должна быть не более 2000 т (за исключением зданий для хранения картофеля, овощей и фруктов), IIIа степени огнестойкости не более 5000 т.
В зданиях холодильников (кроме зданий для хранения картофеля, овощей и фруктов) охлаждаемые помещения следует разделять на отсеки емкостью не более 1250 т в зданиях IIIа степени огнестойкости и 500 т в зданиях IVа степени огнестойкости противопожарными стенами 2-го типа. В указанных стенах допускается применять трехслойные конструкции толщиной не менее 100 мм из стальных профилированных листов с трудногорючим утеплителем.
4.12. При проектировании зданий холодильников IVа степени огнестойкости, предназначенных для хранения картофеля, овощей и фруктов, допускается принимать их емкость до 5000 т при хранении картофеля и овощей россыпью и до 3000 т при хранении картофеля, овощей и фруктов в горючей таре. Здания большей емкости следует разделять на отсеки указанной емкости противопожарными стенами 1-го типа.
Здания холодильников для хранения картофеля и овощей россыпью емкостью более 3000 до 5000 т следует разделять противопожарными стенами 2-го типа на отсеки емкостью не более 3000 т, здания холодильников для хранения картофеля, овощей и фруктов в горючей таре емкостью 1000 до 3000 т - на отсеки не более 1000 т, при этом в указанных стенах допускается применять трехслойные конструкции толщиной не менее 100 мм из стальных профилированных листов с трудногорючим утеплителем.
4.13. В зданиях холодильников IIIа и IVа степеней огнестойкости блок хранения (охлаждаемые помещения с транспортным коридором) следует отделять от остальной части здания холодильника (производственного блока) противопожарной стеной 2-го типа. В указанных зданиях холодильников, предназначенных для хранения картофеля, овощей и фруктов, допускается применять трехслойные конструкции толщиной не менее 100 мм из стальных профилированных листов с трудногорючим утеплителем.
При размещении машинных отделений холодильных установок и бытовых помещений в одном здании с помещениями хранения и товарной обработки следует отделять их от других помещений противопожарными перегородками 1-го типа и перекрытиями 3-го типа.
В зданиях холодильников для хранения картофеля, овощей и фруктов допускается отделять указанные помещения перегородками и перекрытиями из трехслойных панелей из стальных профилированных листов с трудногорючим или негорючим утеплителем.
4.14. При монтаже зданий IVа степени огнестойкости все конструкции следует предусматривать на болтах, заклепках и самонарезающих винтах. Применение сварки не допускается.
4.15. В зданиях I, II и III степеней огнестойкости теплоизоляция стен и покрытий из горючих и трудногорючих материалов должна разделяться противопожарными поясами поэтажно и на отсеки площадью не более:
500 м2 - при применении горючих теплоизоляционных материалов;
1000 м2 - при применении трудногорючих теплоизоляционных материалов.
Противопожарные пояса должны быть шириной не менее 500 мм из негорючих теплоизоляционных материалов с коэффициентом теплопроводности не более 0,174 Вт/(м2-°C) (0,15 ккал/м2 ч °C) и водопоглощением не более 5% по объему за 24 часа.
Противопожарные пояса должны плотно примыкать к огнестойким конструкциям. В них не допускается устройство отверстий и пропуск коммуникации. Пароизоляцию противопожарных поясов следует выполнять из негорючих материалов.
4.16. Теплоизоляция из горючих и трудногорючих материалов должна быть защищена со стороны помещений слоем штукатурки толщиной 20 мм или другими материалами, обеспечивающими предел огнестойкости ограждающих конструкций и предел распространения огня по ним в соответствии с требованиями
СНиП 2.01.02-85.
Незащищенная в процессе производства работ теплоизоляция допускается в пределах только одного отсека, но площадью не более 700 м2, о чем следует указывать в рабочих чертежах строительной части проекта.
4.17. Здания холодильников IVа степени огнестойкости из легких металлических конструкций предпочтительнее проектировать с наружным каркасом, так как такие здания имеют большую противопожарную устойчивость по сравнению с аналогичными зданиями с внутренним каркасом.
4.18. Противопожарные стены (ППС) должны опираться на фундаменты или фундаментные балки, возводиться на всю высоту здания, пересекать все его конструкции и этажи.
ППС должны возвышаться над кровлей:
- не менее 0,60 м, если хотя бы один из элементов чердачного или бесчердачного покрытия, за исключением кровли выполняются из горючих материалов;
- не менее 0,3 м, если элементы чердачного или бесчердачного покрытия, за исключением кровли, выполнены из трудногорючих материалов.
ППС могут не возвышаться над кровлей, если все элементы чердачного или бесчердачного покрытия за исключением кровли, выполнены из негорючих материалов.
ППС в зданиях холодильников с наружными стенами, выполненными с применением горючих или трудногорючих материалов, должна пересекать наружные стены и выступать за их плоскостью не менее 0,3 м.
4.19. При проектировании главного корпуса холодильника размещение взрывоопасных помещений (машинного отделения, зарядной станции) отнесенные к категории "А" по пожарной опасности, должны в обязательном порядке иметь:
а) возможность устройства легкосбрасываемых поверхностей ограждающих конструкций;
б) над и под этими помещениями не допускается размещение помещений с постоянным пребыванием людей;
в) машинное отделение следует размещать со стороны низкотемпературных камер;
г) зарядную станцию рекомендуется блокировать о машинным отделением и проектировать на одних отметках с автомобильной или железнодорожной платформами, максимально приближенной к ним.
Допускается устройство машинного отделения и зарядной станции под охлаждаемым складом в случае, если участок, отведенный под застройку, является стесненным существующей застройкой.
4.20. В зданиях холодильников допускается устраивать один из эвакуационных выходов на грузовую платформу непосредственно из лестничной клетки или через транспортный коридор. При этом, на автомобильной платформе должны устраиваться спуски (лестницы) напротив выходов из здания холодильника, а на железнодорожной платформе выделяться пешеходная зона шириной не менее одного метра, ведущая к выходу.
4.21. Вход в охлаждаемое помещение низкотемпературных холодильников снаружи или из отапливаемого помещения необходимо предусматривать через тамбур или неотапливаемое помещение.
Двери и ворота с электрическим или пневматическим приводом во всех случаях должны быть обеспечены устройствами открывания их вручную.
В воротах, предназначенных для эвакуации людей, следует предусматривать калитки без порогов или с порогами высотой не более 100 мм, открывающиеся по направлению выхода из здания холодильника.
4.22. В зданиях холодильников следует предусматривать системы сигнализации, безопасности ("Человек в камере"), пожарную и охранную. Во всех случаях вывод сигнала должен предусматриваться в помещениях с круглосуточным пребыванием людей.
4.23. Закрытые платформы следует проектировать с дымоудалением в соответствии со
СНиП 2.04.05-86.
4.24. Размещение помещений различных категорий в зданиях холодильников и требования к эвакуационным путям и выходам, наружным легкосбрасываемым конструкциям и системам дымоудаления следует принимать в соответствии с
СНиП 2.09.02-85 и
СНиП 2.04.05-86.
4.25. Вариант расположения эвакуационных путей и выходов в многоэтажном здании холодильника приведен на рис. 4.1.
Рис. 4.1. Возможные схемы путей эвакуации в здании
холодильника
а). План 1-го этажа; б). План 2 - 4 этажей
4.26. При проектировании эвакуационных путей и выходов в зданиях холодильников может быть использовано "Пособие по проектированию эвакуационных путей и выходов" (к
СНиП 2.01.02-85) ЦНИИпромзданий 1987.
5. ТЕПЛО- И ПАРОИЗОЛЯЦИЯ ОГРАЖДАЮЩИХ КОНСТРУКЦИЙ
5.1. Общие положения по проектированию теплоизоляции
и пароизоляции ограждающих конструкций
5.1.1. Создание ограждений зданий холодильников со стабильными теплоизоляционными свойствами достигается рациональным применением в конструкциях эффективных теплоизоляционных материалов в сочетании с надежной гидро-пароизоляцией, не допускающей проникания влаги в жидкой фазе и максимально сокращающей проникновение водяных паров в толщу теплоизоляции.
5.1.2. Тепловая изоляция ограждений охлаждаемых помещений должна быть непрерывной по всей поверхности здания.
5.1.3. Тепло- и пароизолирующие свойства стыков панелей должны быть близкими к свойствам по полю панелей.
5.1.4. Защита ограждений от увлажнения достигается комплексом мероприятий:
- обеспечением значения общего сопротивления теплопередаче ограждения Rо не менее значения, определяемого из условия исключения образования конденсата на теплой поверхности ограждения;
- выполнением непрерывного эффективного гидро-пароизоляционного слоя со стороны более теплой среды (со стороны большего суммарного давления водяных паров);
- герметизацией мест прохождения через пароизоляционный слой анкеров, болтов и др. элементов;
- расположением материалов в конструкции ограждения в таком порядке, чтобы их сопротивление паропроницанию понижалось в направлении к более холодной поверхности (с этой целью более плотные малопаропроницаемые материалы следует располагать с более теплой стороны);
- исключением в толщине теплоизоляции пароизоляционных слоев;
- креплением теплоизоляционных материалов при изоляции вертикальных поверхностей полосовой или точечной склейкой между собой (наклейку первого слоя плит к изолируемой поверхности следует осуществлять сплошным слоем клея).
5.1.5. Пароизоляционное покрытие, расположенное между конструктивной частью ограждения и слоем теплоизоляции и недоступное для осмотра, ремонта и восстановления следует выполнять из высокоэффективных рулонных материалов или мастичных, наносимых механизированным путем (набрызгиванием).
5.1.6. Поверхность кирпичной кладки с внутренней стороны должна быть подготовлена для нанесения пароизоляции. С этой целью внутренняя поверхность кладки затирается (выравнивается) цементным раствором марки 50.
5.1.7. Для крепления каркаса теплоизоляции к кирпичным стенам в кладку необходимо закладывать деревянные пробки или анкерные болты, или "усы" из оцинкованной арматурной проволоки.
5.1.8. Для крепления каркаса теплоизоляции к железобетонным панелям в последних необходимо предусматривать специальные закладные детали.
5.1.9. Крепление эффективной плитной теплоизоляции к кирпичным и панельным внутренним стенам и перегородкам осуществляется согласно
п.п. 5.1.7. и
5.1.8.
5.1.10. Теплоизоляция перекрытия, как правило, укладывается сверху насухо. Для подклейки теплоизоляции снизу в железобетонные перекрытия закладываются детали для ее крепления.
5.1.11. Примыкание междуэтажных перекрытий к наружным стенам следует осуществлять таким образом, чтобы исключалась возможность образования теплопроводных включений.
5.1.12. Теплоизоляция полов с искусственным обогревом грунта может выполняться однослойной (из засыпного или плитного материала) или двухслойной (в виде комбинации засыпного и плитного материалов) в зависимости от температуры воздуха в охлаждаемых помещениях и расположения нагревателей.
5.1.13. Теплоизоляцию обогреваемых полов в помещениях с температурой воздуха -20 °C и ниже рекомендуется выполнять из эффективных плитных материалов.
5.1.14. Гидроизоляция обогреваемых полов должна предусматриваться как для подвалов зданий с помещениями 1 категории степени сухости.
5.1.15. При расположении плиты с нагревателями под фундаментами гидро-пароизоляция должна выполняться непосредственно под плитой по бетонному подстилающему слою; при расположении плиты с нагревателями над фундаментами гидро-пароизоляцию следует выполнять по плите.
5.1.16. Для гидро-пароизоляции конструкций обогреваемых полов следует применять материалы с повышенной водостойкостью (изол, полиэтиленовая пленка и др.).
5.1.17. По поверхности теплоизоляции, повреждаемой грызунами, (см.
табл. 5.1) необходимо предусматривать со стороны помещений крепление на высоту 1 м от пола сетки с ячейками не более 12 x 12 мм из стальной проволоки. Сетка должна заводится в конструкцию пола.
5.1.18. Колонны в помещениях с обогреваемыми полами при температурах воздуха -10 °C и выше изолировать не целесообразно. При температурах воздуха ниже -10 °C и глубине заложения обогревающей плиты менее 1,2 м от поверхности пола колонны целесообразно изолировать на высоту 1,0 - 1,5 м плитами пенопласта ПСБ-С толщиной 50 мм или другими материалами с равноценными термическим сопротивлением.
5.1.19. В состав архитектурно-строительной части проекта холодильника следует включать детали устройства теплоизоляции и пароизоляции ограждающих конструкций, а также необходимые указания по производству изоляционных работ.
5.1.20. Для тепло- и пароизоляции и внутренней отделки помещений холодильников могут применяться только материалы, допущенные для этой цели Министерством здравоохранения СССР.
5.1.21. Схемы тепло-пароизоляции различных ограждающих конструкций даны на рис. 5.1. -
5.4.
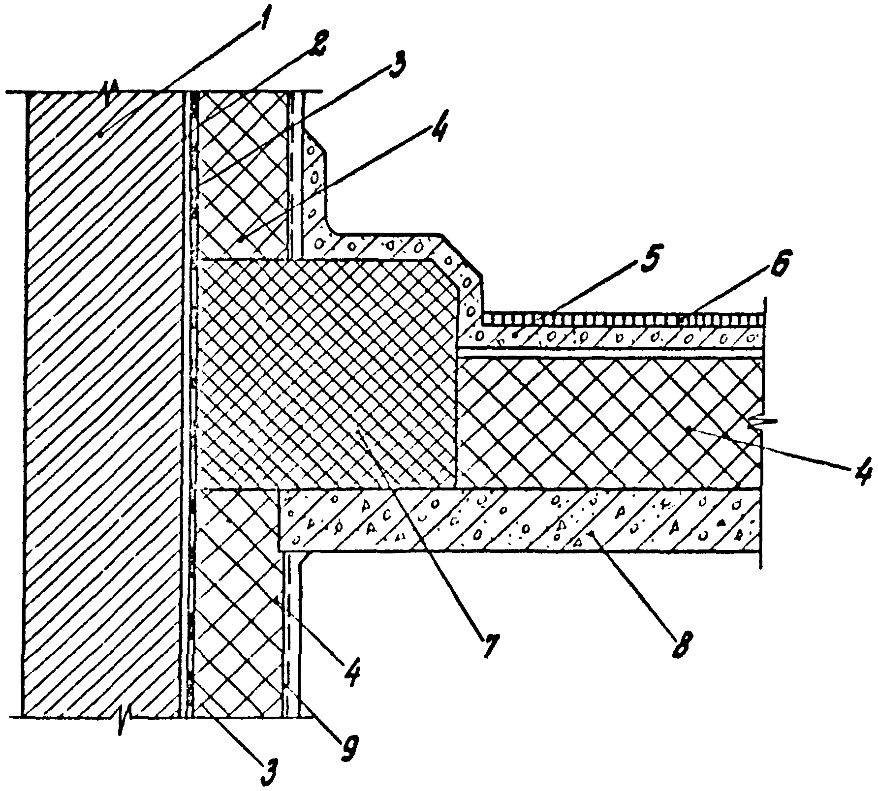
Рис. 5.1. Примыкание междуэтажных перекрытий
к наружным стенам
1 - наружный (несущий) слой; 2 - штукатурка (при кирпичных
и блочных стенах); 3 - несгораемый пароизоляционный слой;
4 - теплоизоляционный слой; 5 - армированная бетонная
стяжка; 6 - пол; 7 - противопожарный пояс;
8 - междуэтажное перекрытие; 9 - отделочный слой
Рис. 5.2. Схемы тепло- и пароизоляции стен и перегородок
1 - кирпичная кладка; 2 - штукатурка; 3 - пароизоляционный
слой; 4 - теплоизоляционный слой; 5 - отделочный слой;
6 - облицовка; 7 - блоки (ячеистый бетон, перлитобетон);
8 - блоки пеностекла; 9 - железобетонная панель
Рис. 5.3. Схемы тепло и пароизоляции покрытий
и перекрытий над подпольем
а - покрытие над камерами с нулевыми
и отрицательными температурами
б - покрытие над камерами с плюсовыми температурами
в - перекрытие над подпольем
1 - кровельный ковер с защитным слоем; 2 - пароизоляционный
слой 3 - армированная бетонная стяжка 4 - теплоизоляционный
слой 5 - плита покрытия 6 - покрытие пола
7 - плита перекрытия
Рис. 5.4. Схемы тепло- и пароизоляции междуэтажных
перекрытий
а - при расположении холодных помещений над теплыми
б - при расположении теплых помещений над холодными
1 - покрытие, 2 - армированная бетонная стяжка
3 - теплоизоляционный слой, 4 - пароизоляционный слой,
5 - плита перекрытия
5.2. Теплоизоляционные материалы
5.2.1. К теплоизоляционным материалам, предназначенным для изолирования ограждений охлаждаемых помещений, предъявляются ряд требований, в том числе специфических, связанных с тяжелыми условиями эксплуатации ограждающих конструкций зданий холодильников.
Наиболее эффективными для теплоизоляции ограждений охлаждаемых помещений являются материалы со следующими свойствами:
- с плотностью не более 300 кг/м3;
- с коэффициентом теплопроводности при температуре 20 °C не более 0,1 Вт/м°C;
- с пределами прочности при изгибе не менее 0,1 МПа;
- с относительной деформацией сжатия под действием удельной нагрузки в 0,02 кгс/см2 не более 6%;
- с водопоглощением не более 5% по объему за 24 часа;
- с малой сорбиционной способностью (максимальная сорбиционная влажность при температуре +20 °C не менее 3% по объему);
- с морозостойкостью не менее 25 циклов теплосмен.
Кроме вышеперечисленных свойств теплоизоляционные материалы должны обладать устойчивостью к заражению бактериями и грибками (т.е. должны быть биостойкими), не выделять запахов.
5.2.2. Теплоизоляционные материалы, свойства которых в основном отвечают требованиям
п. 5.2.1. и рекомендуемые варианты их применения приведены в
табл. 5.1.
Рис. 5.5. Примыкание перегородок и внутренних стен
к перекрытиям и покрытиям
1 - конструкция перекрытия или покрытия; 2 - перегородка
или стена; 3 - пароизоляция; 4 - теплоизоляция перегородки
или стены; 5 - фартук теплоизоляции; 6 - защитный слой
цементной штукатурки по сетке
Рис. 5.6. Пересечение колоннами каркаса
теплоизоляции перекрытий
1 - колонна каркаса; 2 - конструкция перекрытия;
3 - теплоизоляция перекрытия; 4 - фартук; 5 - пароизоляция;
6 - защитный слой цементной штукатурки по сетке
Таблица 5.1
Основные свойства теплоизоляционных материалов
для строительных конструкций зданий холодильников
NN пп | Материал | Плотность  кг/м3 | Расчетные коэффициенты | Возгораемость | Водопоглощение, % к объему | Отпускная влажность % к объему | Рекомендуемая область применения |
теплопроводности  Вт/(м °C) | паропроницаемости  мг/м·ч·Па |
1 | 2 | 3 | 4 | 5 | 6 | 7 | 8 | 9 |
1. | Изделия из ячеистого бетона | 350 | 0,15 | 0,23 | несгораемый | не нормируется | <= 10 | Для устройства перегородок и противопожарных поясов |
400 | 0,20 | 0.20 |
| | ИС МЕГАНОРМ: примечание. Взамен ГОСТ 5578-76 Постановлением Минстроя России от 12.04.1995 N 18-37 с 1 января 1996 года введен в действие ГОСТ 5578-94. | |
| | ИС МЕГАНОРМ: примечание. Взамен ГОСТ 9760-86 Постановлением Госстроя СССР от 30.08.1990 N 75 с 1 января 1991 года введен в действие ГОСТ 9757-90. | |
|
2. | Щебень из доменного шлака (ГОСТ 5578-76), шлаковая пемза (ГОСТ 9760-86) | 400 | 0.16 | 0.24 | несгораемый | то же | Воздушно-сухое состояние | Для теплоизоляции полов на грунтах и устройства выравнивающего слоя |
| Блоки из пеностекла для строительства (РСТ БССР 665-82) | 400 | 0.14 | 0.02 | несгораемый | то же | то же | Для теплоизоляции покрытий и перекрытий; устройства перегородок и противопожарных поясов |
300 | 0.12 | 0.02 |
200 | 0.09 | 0.03 |
| Изделия из вспученного перлита на битумном связующем (плиты перлито-битумные теплоизоляционные) | 300 | 0.099 | 0.04 | трудносгораемый | <= 5 | то же | Для теплоизоляции покрытий, перекрытий и полов на грунтах |
250 | 0.087 | 0.04 |
| | ИС МЕГАНОРМ: примечание. ГОСТ 18109-80 утратил силу с 1 января 1992 года в связи с изданием Постановления Госстроя СССР от 14.08.1990 N 70. | |
|
| Перлитоцементные изделия (ГОСТ 18109-80) | 300 | 0.093 | - | несгораемый | не нормируется | <= 8 | Для теплоизоляции перегородок и устройства противопожарных поясов |
250 | 0.087 | - |
| | ИС МЕГАНОРМ: примечание. ГОСТ 13450-68 утратил силу с 1 января 1992 года в связи с изданием Постановления Госстроя СССР от 14.08.1990 N 70. | |
|
6. | Асбестовермикулитовые теплоизоляционные изделия (ГОСТ 13450-68) | 300 | 0.015 | - | несгораемый | то же | <= 1,5 | Для устройства противопожарных поясов |
250 | 0.099 | - |
7. | Перлитофосфогелевые изделия (ГОСТ 21500-76) (без гидроизоляционно-упрочняющего слоя) | 300 | 0.12 | 0.2 | несгораемый | 15 | <= 1,2 | То же |
200 | 0.09 | 0.23 |
| Плиты теплоизоляционные жесткие из минераловатной ваты на битумном связующем (ГОСТ 10140-80) | 250 | 0.085 | 0.45 | трудносгораемый | не нормируется | <= 0,5 | Для теплоизоляции наружных и внутренних стен, перегородок, покрытий, перекрытий |
200 | 0.080 | 0.49 |
9. | Плиты теплоизоляционные из пенопласта полистирольного ПСБ-С (плиты пенополистирольные) | 25 | 0.05 | 0.05 | сгораемый | <= 4 | <= 0,5 | Для теплоизоляции наружных и внутренних стен, перегородок, покрытий, колонн, дверей, междуэтажных перекрытий и полов на грунтах |
30 | 0.05 | 0.05 | <= 3 |
40 | 0.05 | 0.05 | <= 2 |
10. | Плиты торфяные теплоизоляционные (ГОСТ 4861-74 водостойкие) | 200 | 0.064 | 0.49 | трудносгораемый | <= 10 | <= 3 | Для теплоизоляции перегородок, перекрытий, полов на грунтах |
11. | Плиты из пенопласта полистирольного ПС-4 (ТУ-6-05-1178-78) | 80 | 0.52 | 0.05 | сгораемый | <= 0,5 | воздушно-сухое состояние | Для теплоизоляции покрытий, перекрытий, дверей, колонн |
12. | Плиты из поливинилхлоридного пенопласта ПВ-1 (ТУ-6-05-1158-78) | 80 | 0.052 | 0.23 | сгораемый | <= 0.3 | то же | Для теплоизоляции наружных и внутренних стен, покрытий, перекрытий, потолков, колонн, дверей |
|
|
| Плиты теплоизоляционные из пенопласта на основе резольных фенолформальдегидных смол (ГОСТ 20916-75) | 80 | 0.070 | 0.23 | трудносгораемый | не нормируется | то же | Для теплоизоляции перегородок |
| Заливочный и напыляемый пенополиуретан (ТУ В-56-70, ТУ 67-98-75, ТУ 67-87-75) | 50 | 0.040 | 0.05 | сгораемый | <= 0.5 | то же | Для теплоизоляции наружных и внутренних стен, потолков, колонн и дверей |
| | ИС МЕГАНОРМ: примечание. Взамен ГОСТ 10832-83 Постановлением Госстроя СССР от 10.04.1991 N 15 с 1 января 1992 года введен в действие ГОСТ 10832-91. | |
|
15. | Песок из перлита вспученного (ГОСТ 10832-83) | 400 | 0.09 | 0.3 | несгораемый | не нормируется | <= 0,8 | Для теплоизоляции полов на грунтах |
200 | 0.08 | 0.34 |
| Напыляемый пенополиуретан типа рипор 6ТН (ТУ88 Латв. ССР-052-85 на смесь А-6ТН) | 40 - 50 | 0.03 | 0.05 | сгораемый | <= 2 | воздушно-сухое состояние | Для теплоизоляции перекрытий и покрытий (снизу) |
| Заливочный пенополиуретан тира рипор 6ТЗ (ТУ 88 Латв.ССР-055-85 на смесь А-6ТЗ) | 50 - 60 | 0.03 | | сгораемый | <= 2 | то же | Для теплоизоляции покрытий и перекрытий (сверху), наружных и внутренних стен, колонн; для теплоизоляции стеновых панелей |
Примечание: 1. Для материалов, не вошедших в данную таблицу, расчетные коэффициенты (
поз. 4,
5 следует принимать по СНиП II-3-79**,
приложение 3.
2. Блоки из пеностекла
(поз 3), а также плиты из минеральной ваты
(поз 8) не повреждается грызунами.
3. Использование пенополиуретанов (
поз 14,
16,
17) разрешено при работе приточно-вытяжной вентиляции в холодильных камерах во время проведения изоляционных работ и в течение одного месяца после их окончания (без загрузки камер пищевыми продуктами).
4. Для плит из пенопласта на основе фенолформальдегидных смол
(поз. 13) нормируется сорбционное увлажнение (гигроскопичность) в размере не более 2,0% по объему за 24 часа.
5.3. Паро-гидроизоляционные материалы
5.3.1. Пароизоляционные слои ограждающих конструкций должны:
- обеспечивать требуемое сопротивление паропроницанию при толщине, как правило, не более 4 мм;
- сохранять сопротивление паропроницанию и адгезию к изолируемым поверхностям при воздействии знакопеременных температур;
- быть непрерывными и эластичными, обеспечивать паронепроницаемость стыковых соединений;
- иметь теплостойкость до 50 °C при применении на вертикальных ограждающих конструкциях (не сползать).
5.3.2. Характеристики рекомендуемых пароизоляционных и гидроизоляционных материалов и области их применения приведены в табл. 5.2.
Таблица 5.2
Материалы для паро-гидроизоляции ограждающих
конструкций холодильников
NN п/п | Наименование материалов | ГОСТ или ТУ | Марка | Сопротивление паропроницанию | Предназначение |
1 | 2 | 3 | 4 | 5 | 6 |
1. | Битумные нефтяные строительные | | БН-70/30 (БН-IV) | 0,3 (покрытие горячим битумом за один раз) | Для приклейки рулонных паро-гидроизоляционных материалов. Для приклейки теплоизоляционных материалов |
2. | Мастика битумная кровельная горячая | | МБК-Г-55 МБК-Г-65 МБК-Г-75 | 0,64 (покрытие мастикой за один раз) | Для приклейки паро-гидроизоляционных и теплоизоляционных материалов. Для выполнения окрасочной паро-гидроизоляции. Для устройства рулонных и мастичных кровель, армированных стекломатериалами. |
МБК-Г-85 МБК-Г-100 | Для устройства кровель с уклоном >= 10% в южных районах и мест примыканий |
3. | Мастика "Изол" горячая | ТУ21-27-37-74 Минстройматериалов СССР | МРБ-Г-Т10 МРБ-Г-Т15 | 0,60 (покрытие изольной мастикой за один раз) | Для приклейки рулонных материалов (изола и др. аналогичных материалов). Для выполнения окрасочной паро-гидроизоляции |
4. | Мастика "Изол" холодная | ТУ21-27-37-74 Минстройматериалов СССР | МРБ-Х-Т10 МРБ-Х-Т15 | | Для мастичной гидроизоляции. Для устройства мастичных кровель, армированных стекломатериалами (стеклотканью и др.), по бетонной стяжке |
5. | Мастики битумно-бутилкаучуковые горячие кровельные и гидроизоляционные *) | ТУ21-27-40-85 Минстройматериалов СССР | МББГ-70 МББП-80 | | Для устройства мастичных и рулонных кровель по бетонной стяжке. Для ремонта мастичных и рулонных кровель. Для мастичной гидроизоляции и приклейки рулонных гидроизоляционных материалов |
6. | Мастика бутилкаучуковая холодная | ТУ21-27-90-83 Минстройматериалов СССР | МБК | | Для приклейки рулонного гидроизоляционного материала "Гидробутил" и др. аналогичных материалов |
7. | Мастика битумно-бутилкаучуковая холодная для устройства безрулонной кровли и гидроизоляции | ТУ21-27-39-77 Минстройматериалов СССР | МББ-Х-120 | | Для устройства кровельного ковра по армированной цементно-песчаной стяжке. Для мастичной гидроизоляции, ремонта рулонных и безрулонных кровель |
8. | Мастика битумно-полимерная эмульсионная холодная | см. прилож. | | | Для выполнения окрасочной пароизоляции механизированным способом |
| | ИС МЕГАНОРМ: примечание. Нумерация пунктов дана в соответствии с официальным текстом документа. | |
|
8. | Рубероид наплавляемый | ТУ21-27-37-78 Минстройматериалов СССР | РК-420-1,0 РК-500-2,0 | | Для устройства верхнего слоя кровельного ковра |
РМ-350-1,0 РМ-420-1,0 РМ-500-2,0 | Для нижних слоев кровельного ковра и оклеечной гидроизоляции |
| | ИС МЕГАНОРМ: примечание. Взамен ГОСТ 10923-82 МНТКС 10.11.1993 принят ГОСТ 10923-93, введенный в действие с 1 января 1995 года. | |
|
9. | Рубероид | ГОСТ 10923-82 | РКК-420А **) РКК-420Б РКК-350Б РКК-350Б | 164 (наклеенный на горячем битуме) | Для устройства верхнего слоя кровельного ковра |
РКП-350А **) РКП-350Б | Для устройства верхнего слоя кровельного ковра с защитным покровным слоем |
РПП-300А **) РПП-300Б | Для нижних слоев кровельного ковра и оклеечной паро-гидроизоляции |
РПЭ-300 | Для нижних слоев кровельного ковра в районах Крайнего Севера |
Рубероид с крупнозернистой цветной посыпкой | ТУ21-27-85-80 Минстройматериалов СССР | РКЦ-420 | Для устройства верхнего слоя кровельного ковра |
10. | Стеклорубероид | | С-РК С-РЧ | | Для устройства верхнего слоя кровельного ковра |
С-РМ | Для кровельного ковра с защитным покровным слоем. Для нижних слоев кровельного ковра и оклеечной паро-гидроизоляции |
11. | Пергамин кровельный | | П-350 | 0,33 | Для нижних слоев кровельного ковра и оклеечной пароизоляции |
12. | Изол | | И-ДБ И-ПД **) | 5,34 | Для выполнения оклеечной паро-гидроизоляции |
13. | Гидроизол | | ГИ-К | | Для устройства рулонных плоских кровель |
ГИ-Г **) | Для оклеечной паро-гидроизоляции |
14. | Полиэтиленовая пленка | | С | 133 (при толщине пленки 0,2 мм, наклеенной на битумно-кукерсольной мастике) | Для оклеечной паро-гидроизоляции |
15. | Материал рулонный кровельный "Гидробутил" | ТУ21-27-96-85 | Гидробутил К-7 | | Для устройства кровельного ковра по цементно-песчаной стяжке |
Примечания: 1. Знаком *) отмечены мастики, при применении которых внутри помещений требуется приточно-вытяжная вентиляция.
2. Знаком **) отмечены рубероиды более высокого качества.
6. ТЕПЛОТЕХНИЧЕСКИЙ РАСЧЕТ ОГРАЖДАЮЩИХ КОНСТРУКЦИЙ
6.1. Определение требуемого сопротивления теплопередаче.
Величина требуемого сопротивления теплопередаче ограждающих конструкций

(величина обратная коэффициенту теплопередачи

) определится из физических и экономических условий. При

обеспечивается отсутствие конденсации влаги на поверхности конструкций и минимум приведенных затрат на возведение и эксплуатацию конструкций.
6.1.1. Ограждающие конструкции охлаждаемых помещений с температурой воздуха минус 5 °C и выше необходимо проверять на возможность конденсации влаги с теплой стороны конструкций. Отсутствие конденсации обеспечивается при значении

не менее определяемого по формуле.
где: tв - расчетная температура внутреннего воздуха, принимаемая по нормам технологического проектирования, °C;
t
н - расчетная зимняя температура наружного воздуха, принимаемая в соответствии с
п.п. 2.3* и
2.4* главы СНиП II-3-79** "Строительная теплотехника" с учетом тепловой инерции ограждающей конструкции;

- температурный перепад между температурой внутреннего воздуха и температурой внутренней поверхности ограждающей конструкции, принимаемой: для наружных стен

, для покрытия и перекрытия

, где t
р температура точки росы при расчетной температуре и относительной влажности воздуха.

- коэффициент теплоотдачи внутренней поверхности ограждающих конструкций, принимаемый равным 8,7 Вт/(м
2·°C).
6.1.2. При технико-экономическом сравнении вариантов ограждающих конструкций с различными теплоизоляционными материалами, а также при экспериментальном проектировании их, рекомендуется определять экономически целесообразное сопротивление теплопередаче

в соответствии с п. 6.1.3 и
6.1.4.
6.1.3. В общем случае экономически целесообразное сопротивление теплопередаче ограждающих конструкций определяется по формуле:

(6.1)
где Eн - нормативный коэффициент эффективности капитальных вложений, принимаемый равным 0,12;
tв - температура внутреннего воздуха камеры, °C;

- суммарная максимальная температура наружного воздуха, определяемая по
формуле (6.4), °C;

- суммарная среднегодовая температура наружного воздуха, определяемая по
формуле (6.6), °C;
bх - удельная установочная стоимость холодильного оборудования, руб./Вт;
Cиз - стоимость теплоизоляции в руб/м3,
Cх - стоимость производства 1 нормального ГДж холода, руб./ГДж;
nох - продолжительность охлаждения камер, месяцы;
z - продолжительность охлаждения камер, за 1 месяц, час;
a - коэффициент, учитывающий потери в трубопроводах, принимаемый по
табл. 6.1 настоящего пособия;
m - коэффициент перевода рабочих ГДж в нормальные, принимаемый по
табл. 6.1 настоящего пособия;
l - коэффициент использования полезной емкости камер;

- коэффициент теплопроводности материала изоляции,

;
r - коэффициент уплотнения материала изоляции принимаемый равным 1,2.
Таблица 6.1
Значения коэффициентов m и a
NN п/п | Температура воздуха в камере tв, °C | Коэффициент перевода m | Коэффициент, учитывающий потери в трубопроводах - a |
1 | Минус 30 | 4,5 | 1,10 |
2 | " 20 | 2,8 | 1,07 |
3 | 10 | 2,1 | 1,06 |
4 | 5 | 1,8 | 1,05 |
5 | 0 | 1,4 | 1,03 |
| | ИС МЕГАНОРМ: примечание. Нумерация пунктов дана в соответствии с официальным текстом документа. | |
6.1.3. Для инженерных расчетов, при определении

целесообразно воспользоваться упрощенными
формулами (6.2);
(6.3) и
(6.8), полученными из
(6.1). При этом в формулах (
6.2 и
6.8) приняты b
х = 0,43 руб/Вт, n
ох = 12 месяцев и l = 0,9; в
формуле (6.3) b
х = 0,34 руб/Вт, l = 0,7, n
ох принимается в зависимости от продолжительности охлаждения камер.
При температуре воздуха камеры - tв ниже минус 5 °C

; (6.2)
при температуре воздуха камеры - tв минус 5 °C и выше

, (6.3)
где

- суммарная максимальная температура наружного воздуха, определяемая по формуле

, (6.4)
где: t
ср.м. и t
аmax - соответственно средняя и абсолютная максимальные температуры наружного воздуха принимаемые по
табл. 1 главы СНиП 2.01.01.82.

- коэффициент поглощения солнечной радиации поверхностью ограждения, принимаемый по табл.
приложения 2.
I
max - максимальная интенсивность солнечной радиации (прямой + рассеянной) Вт/м
2, поступающая на поверхность ограждения данной ориентации в июле определяемая по таблицам
приложений 5,
6 и
7 главы СНиП 2.01.01-82;

- коэффициент теплоотдачи наружной поверхности ограждающих конструкций, Вт/(м
2·°C), определяемый по летним условиям для вертикальных поверхностей по формуле

, а для горизонтальных

. Здесь v - скорость ветра, м/с, принимаемая согласно указаниям
п. 3.6* главы СНиП II-3-79** по
приложению 4 СНиП 2.01.01-82;

- суммарная амплитуда суточных колебаний температуры наружного воздуха, определяемая по формуле

(6.5)
здесь:
A
tн - средняя амплитуда суточных колебаний температуры наружного воздуха в июле месяце, °C, принимаемая по таблице
приложения 2 главы СНиП 2.01.01-82
I
ср - среднесуточное значение интенсивности солнечной радиации Вт/м
2, в июле принимаемое по
приложениям 6 и
7 главы СНиП 2.01.01-82.

- коэффициент, учитывающий несовпадения во времени максимумов солнечной радиации I
max на поверхность ограждения заданной ориентации и максимальной температуры наружного воздуха t
нmax, наблюдаемая, как правило, в 15 часов по местному времени.
Значения коэффициента

в зависимости от различия времени наступления I
max и t
нmax и соотношения

и суточной амплитуды колебания температуры наружного воздуха - A
tн и приведены в табл. 6.2.
Таблица 6.2
Значения коэффициента

Отношение амплитуд | Разность времени наступления максимумом Imax и tнmax в часах |
1 | 2 | 3 | 4 | 5 | 6 | 7 | 8 | 9 | 10 |
1 | 0,99 | 0,96 | 0,92 | 0,87 | 0,79 | 0,71 | 0,61 | 0,50 | 0,38 | 0,26 |
2 | 0,99 | 0,97 | 0,93 | 0,88 | 0,82 | 0,75 | 0,66 | 0,57 | 0,49 | 0,41 |
3 | 0,99 | 0,97 | 0,94 | 0,90 | 0,85 | 0,79 | 0,73 | 0,66 | 0,60 | 0,55 |
4 и более | 1,00 | 0,98 | 0,96 | 0,93 | 0,89 | 0,85 | 0,81 | 0,76 | 0,73 | 0,69 |

- коэффициент теплоинерционности ограждений принимаемый в зависимости от вида ограждающей конструкции
рис. 6.1 теплоизоляции по табл. 6.3.
Таблица 6.3
Значения коэффициента

для различных конструкций
Материал теплоизоляции | Толщина теплоизоляции  мм | | | | |
Пенополистирол Пенополиуретан | | 100 | 0 | 0,25 | 0,75 | 1 |
Жесткие минераловатные плиты с объемной массой  | 100 | 0 | 0,25 | 0,75 | - |
200 | 0 | 0,25 | 0,25 | - |
300 | 0 | 0,25 | 0,25 | - |
400 | 0 | 0 | 0 | - |
Примечание: (-) означает, что в конструкциях типа д и е, жесткие минераловатные плиты не применяются.
Рис. 6.1. Схемы ограждающих конструкций зданий холодильников
а - кирпичная стена; б - стена из керамзитобетонных панелей;
в - железобетонное безбалочное покрытие; г - железобетонное
покрытие из ребристых плит; е - панельное покрытие;
г - стена из трехслойных панелей с металлическими
облицовками и трудносгораемым утеплителем
1 - кирпичная стена; 2 - штукатурка; 3 - пароизоляционный
слой; 4 - теплоизоляционный слой; 5 - керамзитобетонная
панель; 6 - кровельный ковер с защитным слоем;
7 - армированная бетонная стяжка; 8 - железобетонная плита
перекрытия

; 9 - железобетонная плита покрытия

; 10 - металлическая облицовка

- суммарная среднегодовая температура наружного воздуха в °C, с учетом среднегодовой солнечной радиации определяемая по формуле

(6.6)
здесь: t
ср.год. - среднегодовая температура наружного воздуха °C, принимаемая по
табл. 1 главы СНиП 2.01.01-82;
I
ср.год. - средняя за год интенсивность солнечной радиации (прямой + рассеянной) Вт/м
2, на горизонтальную поверхность, принимая по карте
приложения 12.
f - коэффициент учитывающий ориентации ограждения по странам света, принимаемый для горизонтальной поверхности 1,0; для вертикальных северной, северо-восточной и северо-западной ориентации - 0,3; для южной, восточной, западной, юго-восточной и юго-западной - 0,6.

- суммарная средняя за период охлаждения - температура наружного воздуха °C, определяемая по формуле:

(6.7)
здесь: n
ох - число месяцев со среднемесячной температурой наружного воздуха выше температуры воздуха в камере, принимаемая по главе
СНиП 2.01.01-82.
Примечание: При работе камер менее 50% летних месяцев, выражение

не учитывается.
t
н.ср.мес. - среднемесячная температура каждого из числа месяцев, равных n
ох, принимаемая по главе
СНиП 2.01.01-82.
6.1.4. Экономически целесообразное сопротивление теплопередаче конструкции обогреваемого пола

рекомендуется определять по формуле:

, (6.8)
где tгр.ср. - средняя температура обогревающего грунт массива, (принимаемая для электрообогреваемых полов равной +2 °C).
Примеры расчета экономически целесообразного сопротивления теплопередаче -

приведены в
приложении 13.
6.1.5. Установленные
СНиП 2.11.02-87 значения

для различных ограждающих конструкций охлаждаемых помещений, учитывающие физические и экономические условия эксплуатации, представлены в табл. 6.4. -
6.10.
Таблица 6.4
Требуемое сопротивление теплопередаче наружных
стен из условий эксплуатации в летнее время
года для различных районов СССР
Среднегодовая температура наружного воздуха в районе строительства, °C | Требуемое сопротивление теплопередаче м2 °C/Вт при температуре воздуха в охлаждаемых помещениях, °C |
минус 30 | минус 20 | минус 10 | минус 5 | 0 | 5 | 12 |
минус 2 и ниже | 4,8 | 3,9 | 3,1 | 2,6 | 2,4 | 2,1 | 1,9 |
выше минус 2 и ниже 7 | 5,1 | 4,3 | 3,6 | 2,8 | " | " | " |
7 и выше | 5,4 | 4,8 | 4,3 | 3,7 | 3,3 | 2,8 | 2,2 |
Таблица 6.5
Требуемое сопротивление теплопередаче покрытий для условий
эксплуатации в летнее время года для различных районов СССР
Среднегодовая температура наружного воздуха в районе строительства, °C | Требуемое сопротивление теплопередаче м2°C/Вт при температуре воздуха в охлаждаемых помещениях, °C |
минус 30 | минус 20 | минус 10 | минус 5 | 0 | 5 | 12 |
минус 2 и ниже | 5,1 | 4,1 | 3,3 | 2,8 | 2,8 | 2,6 | 2,3 |
выше минус -2 и ниже 7 | 5,4 | 4,6 | 3,7 | 3,3 | " | " | " |
7 и выше | 5,8 | 5,1 | 4,3 | 3,9 | 3,4 | 3,0 | 2,7 |
Примечание. Сопротивление теплопередаче чердачных перекрытий следует принимать с коэффициентом 0,9, но не менее чем для стен.
Таблица 6.6
Требуемое сопротивление теплопередаче для внутренних
стен, перегородок и междуэтажных перекрытий
Температура воздуха в более теплом помещении °C | Требуемое сопротивление теплопередаче м2°C/Вт при температуре воздуха в более холодном помещении, °C |
минус 30 | минус 20 | минус 10 | минус 5 | 0 | 5 | 12 |
минус 30 | 1,7 | | | | | | |
минус 20 | 2,2 | 1,7 | | | | | |
минус 10 | 3,4 | 2,7 | 1,7 | | | | |
минус 5 | 4,0 | 3,3 | 2,2 | 1,7 | | | |
0 | 4,3 | 3,6 | 2,7 | 2,2 | 1,7 | | |
5 | 4,6 | 4,0 | 3,2 | 2,7 | 2,2 | 1,7 | |
10 | 4,8 | 4,5 | 3,7 | 3,2 | 2,7 | 2,2 | 1,7 |
20 | 5,2 | 5,0 | 4,3 | 3,6 | 2,9 | 2,2 | 2,2 |
Таблица 6.7
Требуемое сопротивление теплопередаче для внутренних
стен и перегородок, отделяющих охлаждаемые помещения
от неохлаждаемых и неотапливаемых
Температура воздуха в охлаждаемых помещениях, °C | Требуемое сопротивление теплопередаче м2 °C/Вт |
минус 30 | 5,1 |
минус 20 | 4,3 |
минус 10 | 3,6 |
0 | 2,4 |
12 | 1,9 |
Таблица 6.8
Требуемое сопротивление теплопередаче
полов на обогреваемых грунтах
Температура воздуха в охлаждаемом помещении, °C | Требуемое сопротивление теплопередаче м2 °C/Вт |
минус 1 | 2,8 |
минус 10 | 3,8 |
минус 20 | 5,5 |
минус 30 | 6,5 |
Таблица 6.9
Требуемое сопротивление теплопередаче над проветриваемыми
подпольями для различных районов СССР
Среднегодовая температура наружного воздуха в районе строительства, °C | Требуемое сопротивление теплопередаче м2 °C/Вт при температуре воздуха в охлаждаемом помещении, °C |
минус 30 | минус 20 | минус 10 | минус 5 | 0 и неохлаждаемые помещения |
3 и ниже | 4,8 | 3,9 | 3,1 | 2,6 | 2,4 |
Выше 3 - ниже 9 | 5,1 | 4,3 | 3,6 | 2,8 | 2,6 |
9 и выше | 5,4 | 4,8 | 4,3 | 3,7 | 3,0 |
Наименование помещений | Нормативный температурный перепад  , °C для |
наружных стен | покрытия и чердачного перекрытия |
1. Хранилища картофеля | 2,0 | 1,8 |
2. -"- корнеплодов и бахчевых культур | 2,0 | 1,8 |
3. -"- лука | 2,6 | 2,3 |
4. -"- яблок | 2,0 | 1,8 |
5. -"- винограда | 1,5 | 1,4 |
6. -"- других продуктов с температурой хранения минус 4 °C и выше | 2,0 | 1,8 |
6.1.6. Рекомендуемая теплоизоляция ограждающих конструкций охлаждаемых помещений, обеспечивающая значения

, установленные
СНиП 2.11.02-87, приведена в
приложениях 3.
6.1.7. Полы охлаждаемых помещений, располагаемые на необогреваемых грунтах, при температурах хранения минус 4 °C и выше, должны иметь по периметру наружных стен на ширину 1,5 м теплоизоляцию с сопротивлением теплопередаче равным сопротивлению теплопередаче наружных стен, при температурах мине минус 4 °C вся поверхность пола должна иметь теплоизоляцию с сопротивлением теплопередаче не менее 2,0 м2°C/Вт.
Требуемое сопротивление теплопередаче наружных стен и покрытия помещений хранения картофеля, овощей и фруктов, а также других продуктов, хранение которых осуществляется при температурах минус 4 °C и выше из условий эксплуатации в зимнее время года следует определять по
СНиП II-3-79**, при этом температуру воздуха в помещениях хранения следует принимать по нормам технологического проектирования, нормативный температурный перепад между температурой внутреннего воздуха и температурой внутренней поверхности ограждающей конструкции следует принимать по
таблице 6.12. настоящего пособия.
6.2. Определение сопротивления паропроницанию пароизоляционных слоев ограждающих конструкций.
6.2.1. Величину сопротивления паропроницанию пароизоляционных слоев наружных ограждений холодильников следует определять из условия максимального ограничения проникания водяных паров в ограждения и накопления влаги в теплоизоляционном слое за летний или зимний период эксплуатации.
6.2.2. Для ограждений помещений холодильников с tв <= 1 °C сопротивление паропроницанию определяется по летним расчетным условиям эксплуатации, для помещений с tв > 1 °C - по зимним.
6.2.3. Величина сопротивления паропроницанию пароизоляционного слоя наружных ограждений помещений с t
в <= 1 °C должна быть не менее значения, определяемого по формуле
| | ИС МЕГАНОРМ: примечание. Нумерация формул дана в соответствии с официальным текстом документа. | |

, (6.8)
где:

- сопротивление паропроницанию внутреннего (отделочного) слоя, м
2·ч·Па/мг; e
н - расчетное значение упругости водяного пара наружного воздуха, гПа, принимается по
СНиП 2.01.01-82 или по
приложению 11 (как средняя величина за три наиболее теплых месяца для помещений с t
в >= -20 °C и как среднегодовая величина для помещений с t
в < -20 °C); e
в - расчетное значение упругости водяного пара внутреннего воздуха охлаждаемого помещения, гПа, определяется из выражения

, здесь

- максимальная упругость водяного пара внутреннего воздуха с температурой t
в, гПа, принимается по
приложению 1;

- расчетная относительная влажность внутреннего воздуха охлаждаемого помещения, %, принимается по нормам технологического проектирования или по
прил. 6; m
в - коэффициент, зависящий от температуры внутреннего воздуха охлаждаемого помещения, принимаемый по
табл. 6.11;

- сумма сопротивлений паропроницанию всех слоев ограждения, исключая отделочный и пароизоляционный слои, м
2·ч·Па/мг.

,
где:

- толщина отдельных слоев, м;

- коэффициент паропроницаемости материала отдельных слоев, мг/(м·ч·Па).
Температура внутреннего воздуха охлаждаемого помещен.  , °C | Значения коэффициента mв |
-0 | 1,2 |
-5 | 1,7 |
-10 | 2,5 |
-15 | 3,5 |
-20 | 5,2 |
-25 | 7,7 |
-30 | 11,3 |
6.2.4. Пароизоляцию в конструкциях наружных стен рекомендуется принимать по табл. 6.12.
Расчетная влажность наружного воздуха в районе строительства, гПа | Сопротивление паропроницанию пароизоляции,  , м2·ч·Па/мг при температуре воздуха в охлаждаемых помещениях, °C | |
Минус 10 и ниже | От минус 9 до 1 |
1 | 2 | 3 | 4 |
До 14 | 6,6 | | П-8; П-9 |
| 2,6 | П-3 |
От 14 до 18 | 9,3 | | П-9; П-10 |
| 4,6 | П-5; П-6 |
Свыше 18 | 13,3 | | П-11 |
| 6,6 | П-8; П-9 |
Примечания: 1. За расчетную влажность наружного воздуха принимается средняя влажность (упругость) за три наиболее теплых месяца по
СНиП 2.01.01-82 или по
приложению 11.
3. Пароизоляция в противопожарных поясах принимается типа П-14.
6.2.5. Сопротивление пароизоляции в конструкциях покрытия принимается не менее значений, указанных в
табл. 6.13. Требуемое сопротивление паропроницанию должен обеспечивать основной водоизоляционный ковер, назначаемый в соответствии со
СНиП II-26-76 "Кровли".
6.2.6. Для охлаждаемых помещений с t
в > 1 °C сопротивление паропроницанию ограждающих конструкций определяется по зимним расчетным условиям (в соответствии со
СНиП II-3-79** и
СНиП 2.01.01-82).
6.2.7. Пароизоляцию в конструкциях внутренних стен, перегородок и перекрытий рекомендуется принимать по табл. 6.13.
Температура воздуха в охлаждаемом помещении, °C | Температура воздуха в смежном помещении, °C | Сопротивление паропроницанию пароизоляции  , | Рекомендуемый тип пароизоляции |
1 | 2 | 3 | 4 |
Минус 30 | минус 30 | - | - |
минус 20 | 1,3 | П-1; П-15; П-16 |
минус 10 | 2,0 | П-2; П-16 |
0 | 2,6 | П-3 |
12 | 4,0 | П-4 |
Минус 20 | минус 20 | - | - |
минус 10 | 1,3 | П-1; П-15; П-16 |
0 | 2,0 | П-2; П-16 |
12 | 2,6 | П-3 |
Минус 10 | минус 10 | - | - |
0 | 1,3 | П-1; П-15; П-16 |
12 | 2,0 | П-2; П-16 |
0 | 0 | - | - |
12 | 1,3 | П-1; П-15; П-16 |
6.2.8. Пароизоляцию в конструкциях полов на обогреваемых грунтах рекомендуется принимать по табл. 6.14.
Температура воздуха в охлаждаемом помещении, °C | Сопротивление паропроницанию пароизоляции  , | Рекомендуемый тип пароизоляции |
Минус 30 | 10 | П-12; П-13 |
Минус 20 | 5,3 | П-7 |
Минус 10 | 4,0 | П-7 |
Минус 4 | 4,0 | П-7 |
6.2.9. При промежуточных значениях температур в охлаждаемых помещениях значения сопротивлений паропроницанию в
табл. 6.14. целесообразно принимать с запасом (например, при температуре воздуха в охлаждаемом помещении -25 °C по
табл. 6.14. принимать

).
7. ЗАЩИТА ГРУНТОВ ОСНОВАНИЙ ЗДАНИЙ ХОЛОДИЛЬНИКОВ
ОТ МОРОЗНОГО ПУЧЕНИЯ
7.1.1. В качестве способов защиты грунтов оснований от морозного пучения могут применяться теплотехнические (электрообогрев грунта, обогрев незамерзающей жидкостью, обогрев воздухом) и конструктивные (проветриваемое подполье, подвалы с неотрицательными температурами, устройство добавочного слоя теплоизоляции пола) способы.
7.1.2. В настоящее время наиболее распространенными и надежными способами защиты с лучшими технико-экономическими показателями являются электрообогрев (со стержневыми и кабельными нагревателями) и проветриваемое подполье.
7.2. Система электрического обогрева грунта.
7.2.1. Система электрообогрева предусматривается под всеми помещениями с отрицательными температурами внутренней среды, включая примыкающие к ним вестибюли, коридоры, лифтовые шахты.
7.2.2. Систему электрообогрева разбивают на отдельные участки, которые характеризуются наличием самостоятельной системы автоматического регулирования температуры грунта. Участок рекомендуется проектировать под одной камерой или под группой камер со сходными температурными режимами. При этом мощность обогрева участка определяется по камере с наиболее низкой температурой.
При больших требуемых для обогрева мощностях рекомендуется разбивать участок на секции.
7.2.3. Участок системы электрообогрева состоит из: электрических нагревателей, системы автоматического и ручного регулирования температуры грунта, контролирующей аппаратуры, системы обеспечения электроэнергией с защитой от перегрузки и токов короткого замыкания, соединительных кабелей. При использовании в качестве нагревателей стержней, необходимо наличие понижающего силового трансформатора.
7.2.4. Для надежной и экономичной работы системы электрообогрева используется автоматическое регулирование температуры грунта в диапазоне 1 - 2 °C, осуществляемое термометрическими датчиками, устанавливаемыми в специальных колодцах.
7.2.5. Термометрические датчики устанавливаются не менее двух в каждой камере и не менее двух на каждом участке. Приборы контроля и измерения температуры должны обеспечивать точность измерений +/- 0,5 °C.
7.2.6. Термометрические датчики устанавливаются непосредственно в плиту обогрева или другой нагреваемый источниками тепла слой на расстоянии полушага между нагревателями. Схема установки термометра сопротивления в конструкции пола приведена на рис. 7.1.
Рис. 7.1. Схема установки термометра сопротивления
в конструкции пола
1 - деревянная пробка; 2 - гильза контрольного замера
температуры; 3 - трансформаторное масло; 4 - гильзы из трубы
сопротивления ТСМ-6097 Гр 50 м l = 80 мм; 6 - труба
винипластовая

ТУ6-05-1573-72 l = по месту;
7 - гильза подключения к приборам автоматики
7.2.7. Питающие линии и групповые сети нагревательных устройств, сети заземления или зануления экранирующих навивок или сеток, автоматику регулирования и защиты и противопожарные мероприятия следует проектировать руководствуясь "
Правилами устройства электроустановок (ПУЭ)", "Строительными нормами и правилами. Электротехнические устройства"
(СНиП 3.05.06-85), "Инструкцией по проектированию силового и осветительного электрооборудования промышленных предприятий"
(СН 357-77), "Инструкцией по установке сетей заземления и зануления в электроустановках" (СН 102-76).
7.2.8. Распределительный силовой щит и щит управления установить в электрощитовом помещении или в наиболее удобном для обслуживания помещении.
А. Система со стержневыми нагревателями
7.2.9. В качестве нагревателей используются стержни круглого сечения из арматурной стали диаметром 6 - 14 мм, которые размещаются без электрической изоляции в теле горизонтальной бетонной плиты, называемой нагревательной (рис. 7.2). Нагревательную плиту следует размещать выше уровня грунтовых вод.
Рис. 7.2. Конструктивная схема пола с электрообогревом
при помощи стержневых нагревателей
1 - покрытие пола; 2 - подстилающий слой; 3 - теплоизоляция;
4 - гидропароизоляция; 5 - стержни-нагреватели;
6 - обогревающая бетонная плита; 7 - бетонная подготовка;
8 - грунт основания, уплотненный щебнем или гравием
7.2.10. Участок электрообогрева следует питать через трехфазный разделительный понижающий трансформатор. Участки площадью обогрева до 100 м2 можно питать от однофазных трансформаторов. Применять автотрансформаторы не допускается. Напряжение на стержнях не должно превышать 41 - 42 В. Рекомендуется использовать рабочие ступени напряжения трансформатора 25 и 38 В.
7.2.11. Трансформатор участка электрообогрева должен иметь со стороны питания 380/220 В: контактор (пускатель) управления, аппарат защиты от перегрузок.
Со стороны низкого напряжения трансформатор присоединяется непосредственно к секциям обогрева, соединенным в треугольник или звезду.
7.2.12. Каждый трехфазный участок обогрева делится на три секции, имеющие самостоятельные выводы стальными шинами.
7.2.13. Стержни-нагреватели располагаются в плите обогрева с шагом 0,3 - 1 м, и в количестве 2 - 8 штук соединяются параллельно в группы. Соединения следует делать сваркой к сборным шинам из полосовой стали размером 80 x 8 мм или из стали другого сечения, равнозначного по проводимости. При длине стержней более 20 м, они соединяются в середине стальной уравнительной шиной с тем же сечением, что и у сборных шин.
Группы нагревателей могут соединяться последовательно, образуя секцию.
7.2.14. В зависимости от глубины заложения обогревающей плиты, фундаментов колонн и стен рекомендуются две схемы распределения источников обогрева:
первая - равномерное распределение тепловой мощности по площади участка обогрева при постоянном шаге стержней - нагревателей
(рис. 7.3); при этой схеме для обогрева теплопроводных включений (фундаменты стен, колонн и т.п.) вводится дополнительный коэффициент запаса мощности системы;
вторая - неравномерное распределение тепловой мощности по площади участка обогрева с его локализацией в зонах расположения теплопроводных включений за счет уменьшения шага источников в этих зонах (
рис. 7.4,
7.5).
Рис. 7.3. Схема равномерного распределения тепловой мощности
по площади участка обогрева
1 - колонна; 2 - стержни-нагреватели
Рис. 7.4. Схема распределения стержней-нагревателей
при расположении плиты обогрева по основанию
фундаментов колонн
1 - фундамент колонны; 2 - стержни-нагреватели
Рис. 7.5. Схема распределения стержней-нагревателей
при расположении плиты обогрева выше фундаментов колонн
1 - колонна; 2 - стержни-нагреватели
Б. Система с кабельным нагревателем
7.2.15. В качестве нагревателя может быть использован греющий кабель, который укладывается либо в тело бетонной плиты, либо в слой утрамбованного песка (рис. 7.6). Питание системы обогрева производится по кабельной линии напряжением 380/220 В, 50 Гц.
Рис. 7.6. Конструктивная схема пола с греющим кабелем
а) кабель в плите; б) кабель в песке
1 - покрытие пола; 2 - подстилающий слой; 3 - теплоизоляция;
4 - гидропароизоляция; 5 - обогревающая бетонная плита; 6 -
стяжка из цементно-песчаного раствора; 7 - слой уплотненного
песка; 8 - греющий кабель; 9 - бетонная подготовка;
10 - грунт основания, уплотненный щебнем или гравием
7.2.16. Технические характеристики греющих кабелей приведены в таблице 7.1. Зависимость удельного сопротивления жилы кабеля от температуры приведена на
рис. 7.7,
7.8.
Таблица 7.1
Технические характеристики греющих проводов и кабелей
NN п/п | Марка кабеля или провода | Разработчик кабеля или провода | Изготовитель кабеля или провода | ТУ N | Диаметр жилы, сечение | Наружный диаметр, размер, мм | Масса 1 км, кг | Реком. наибол. длит. ток, А | Уд. сопр. при tк = 20 °C, Ом/м | Примечание |
1 | 2 | 3 | 4 | 5 | 6 | 7 | 8 | 9 | 10 | 11 |
1. | ПНВСВ | ВНИИКП Москва | З-д "Электрокабель" г. Свердловск | Провод ПНВСВ ТУ 16-705.268-83 | 1,2 мм | 6,2 | 65 | 8 | 0,11 | Экранированный |
2. | КНРПВ 1 x 0,35 мм2 | -"- | З-д "Москабель" г. Москва | ТУ 16-705.141-80 | 0,35 мм2 | 5,55 | 36 | 4,5 | 0,49 | |
3. | КНРПЭВ 1 x 0,35 мм2 | -"- | -"- | -"- | -"- | 6,35 | 51 | 4,5 | 0,49 | Экранированный |
4. | КНРПВ 2 x 0,35 | -"- | -"- | -"- | -"- | 5,55 x 8,3 | 47 | 4,5 | 0,49 | |
5. | КНРПЭВ 2 x 0,35 | -"- | -"- | -"- | -"- | 6,35 x 9,1 | 73 | 4,5 | 0,49 | Экранированный |
Рис. 7.7. Зависимость удельного сопротивления
кабеля ПНВСВ от температуры
Рис. 7.8. Зависимость удельного сопротивления
кабеля КНРПЭВ от температуры
7.2.17. Для повышения надежности и долговечности системы обогрева рекомендуется укладывать рабочий и резервный кабель или в случае применения двужильного кабеля использовать в качестве резервной вторую жилу. Работа рабочего и резервного кабеля секции должна быть независимой.
7.2.18. При наличии резервного кабеля возможна как отдельная работа рабочего и резервного нагревателей, так и совместная их работа.
7.2.19. Расчет схемы электроснабжения и выбор питающих кабелей следует производить на полную мощность нагревательной секции при совместной работе рабочего и резервного кабелей.
7.2.20. Укладку кабеля следует производить в форме змеевика любой конфигурации с соблюдением следующих правил:
- не допускается пересечение кабеля в одной плоскости;
- радиус закругления кабеля в местах его поворота должен быть не менее его пяти наружных диаметров;
- шаг раскладки нагревателя выбирается из условия обеспечения требуемой электрической мощности и из конструктивных условий в пределах

;
- расстояние от нагревателя до металлических конструкций и электропроводок общего назначения - не менее 50 мм, а до незащищенных деревянных элементов - 10 мм;
- рабочие и резервные кабели прокладывается параллельно друг другу, не пересекаясь. Расстояние между ними должно быть не менее 50 мм.
7.2.21. В качестве нагревателей рекомендуется использовать кабели, имеющие экранирующий повив из проволоки. Экран в начале и конце присоединить к контуру заземления или зануления.
7.2.22. При использовании кабеля без экрана в верхнем подстилающем слое конструкции пола следует предусмотреть заложение экранирующей сетки из стальной проволоки диаметром не менее 3 мм с размером ячейки не более 500 мм. Экранирующая сетка должна быть соединена с контуром заземления либо зануления, не менее чем в двух точках. Узлы сетки должны быть проварены.
7.2.23. Электрическое сопротивление экранирующих сеток между присоединением их к заземляющему или зануляющему проводнику и наиболее удаленной точкой не должно превышать 2% сопротивления соответствующего нагревательного элемента.
7.2.24. Соединение греющего и питающего кабелей производить в клеммной коробке, которую устанавливать за пределами холодильной камеры в удобном для обслуживания месте.
7.2.25. Электропроводку питающего кабеля следует предусмотреть открытой. Греющий кабель от клеммной коробки проложить в трубах, которые затем засыпать песком или залить цементным раствором.
7.2.26. Длина греющего кабеля должна выбираться с учетом условия, что длительный ток, проходящий по нему, не должен превышать допустимый, приведенный в
табл. 7.1. Это позволяет производить соединение греющего и питающего кабелей без принятия специальных мер.
7.2.27. Нагревательные элементы следует, как правило, собирать из цельного отрезка кабеля. Как исключение допускается сращивание кабеля, но не более одного раза. Сращивание производить, согласно техническим условиям на данный кабель.
7.2.28. При кабельном обогреве легко реализуется локальный обогрев любых теплопроводных включений в теплоизоляционной конструкции пола (фундаменты стен, колонн и т.п.). На рис. 7.9 а,
б и
7.10 приведены схемы раскладки кабеля для обогрева пола, стены и колонны.
Рис. 7.9а. Схема раскладки одножильного греющего кабеля
с использованием опорных колодок
1 - клеммная коробка; 2 - опорная колодка концевая;
3 - одножильный греющий кабель (резервный); 4 - одножильный
греющий кабель (рабочий); 5 - опорная колодка проходная
Рис. 7.9б. Схема раскладки двухжильного греющего кабеля
без использования опорных колодок
1 - двухжильный греющий кабель; 2 - клеммная коробка
Рис. 7.10а. Схема кабельного обогрева колонны
1 - греющий кабель (рабочий); 2 - греющий кабель
(резервный); 3 - колонна; 4 - покрытие пола;
5 - подстилающий слой; 6 - теплоизоляционный слой;
7 - гидроизоляционный слой; 8 - обогревающая плита;
9 - бетонная подготовка; 10 - опорная стойка колонны;
11 - замоноличивающий слой колонны; 12 - экранирующая сетка
Рис. 7.10б. Схема кабельного обогрева стены
1, 2, 6, 7, 12 - см.
рис. 7.10а; 13 - стена; 14 - стойка
опорная конечная; 15 - стойка опорная промежуточная;
16 - замоноличивающий слой стены
При этом шаг раскладки кабеля при локальном обогреве теплопроводных включений должен быть не менее 50 мм. Закрепленный с нужным шагом к стене, колонне и т.п., греющий кабель следует замонолитить в цементно-песчаном растворе.
7.2.29. Питающие линии и каждый нагреватель системы обогрева должны иметь отдельную защиту от перегрузок и коротких замыканий.
Питающие линии рекомендуется выполнять по магистральной, а групповую - по радиальной схеме.
7.3. Определение тепловой мощности участка обогрева
7.3.1. При теплотехническом расчете обогреваемых полов основной расчетной величиной является тепловая мощность системы электрообогрева qF, Вт.
7.3.2. Основными исходными величинами для теплотехнического расчета системы обогрева являются:
tп - температура плиты обогрева (+2 °C);
tв - температура воздуха в холодильной камере, °C;

- коэффициент теплопроводности железобетона (2,04 Вт/м);

- коэффициент теплопроводности материала стены, Вт/м·°C;
hпл - глубина заложения плиты обогрева, м;
hф - высота фартука колонн, м;
кi - число типов колонн на участке;
Fкi - площадь сечения колонны, м2;
bс - толщина стены, м;
Rо - требуемое сопротивление теплопередаче конструкции пола, м2·°C/Вт;
Rиз - термическое сопротивление изоляции, м2·°C/Вт;
Fп - площадь пола участка, м2;
ni - число колонн i-ого типа на участке;
кj - число типов стен на участке;
Lj - длина j-ого типа стены на участке.
7.3.3. Требуемая тепловая мощность обогрева 1 м2 пола без теплопроводных включений

, (7.1)
7.3.4. Внутри участка сгруппировать по типам стены, колонны и т.п., к одному типу которых относятся элементы, имеющие одинаковую конструкцию.
7.3.5. Требуемая тепловая мощность обогрева теплопроводных включений в конструкции пола
а) для колонн, прорезающих плиту обогрева

; (7.2)
б) для колонн, опирающихся на плиту обогрева

; (7.3)
в) для 1 м внутренней стены, прорезающей изоляцию

(7.4)
Здесь:
hп - расчетная высота колонны или стены, равная для колонн при отсутствии теплоизолирующего фартука глубине заложения обогревающей плиты hпл, а при его наличии
hп = hпл + hф, м; (7.5)
для стены при наличии ее двусторонней изоляции

(7.6)
Для внутренних стен расчетная температура tв выбирается следующим образом:
а) при отсутствии теплоизоляции стены с обеих сторон

(7.7)
где tв1, tв2 - температура воздуха в помещениях по обе стороны стены;
б) при наличии теплоизоляции с одной стороны стены tв приблизительно равна температуре воздуха с неизолированной стороны стены.
| | ИС МЕГАНОРМ: примечание. Нумерация пунктов дана в соответствии с официальным текстом документа. | |
7.3.5. Для наружных стен, которые обычно изолируются изнутри, при среднегодовой температуре грунта выше 2 °C следует использовать внешнюю обваловку стен на высоту 1 - 1,5 м (например, засыпать песком или теплоизоляционным материалом пространство под автомобильными и железнодорожными платформами). Это позволяет исключить сезонное промерзание грунта под фундаментами наружных стен.
7.3.6. Требуемая мощность обогрева участка

. (7.8)
7.4. Электротехнический расчет системы обогрева
А. Система обогрева со стержневыми нагревателями
7.4.1. Исходной величиной для расчета системы электрообогрева является требуемая мощность обогрева участка qF, равная активной электрической мощности нагревателей.
Искомой величиной - напряжение в В, которое необходимо подвести к выводам шины, для получения требуемой мощности.
Участок электрообогрева разбивается на три секции, соединяемые в треугольник или звезду.
Количество участков определяется в зависимости от объемно-планировочного решения здания, температурных режимов в камерах и конструктивных требований рационального размещения системы.
Расчет ведется для секции участка.
7.4.2. Мощность обогрева секции Pс участка определяется
Pс = 0,33Кз·qF, Вт, (7.9)
где: Кз - коэффициент запаса, принимаемый при расчете обогрева равным 3.
7.4.3. Исходя из мощности теплового потока и планировочного решения здания выбираются параметры секции: l - длина одного стержня, км; d - диаметр стержней, мм; s - расстояние между нагревательными стержнями, м; n - количество параллельных стержней в группе; m - четное количество групп в секции.
Диаметр стержней-нагревателей, количество параллельно соединенных стержней в группе, количество групп в секции определяется при расчете последовательным приближением.
7.4.4. Активное сопротивление r стержня определяется по формуле
r = rо·l, (7.10)
где: rо - удельное сопротивление, Ом/км, стальных стержней нагревателей, определяемое в зависимости от диаметра стержней и величины тока при его частоте 50 Гц по табл. 7.2.
Таблица 7.2
Удельное сопротивление стальных стержней, Ом/км
Диаметр стержня, мм | Удельное активное сопротивление rо, Ом/км при силе тока I, А |
10 | 20 | 30 | 40 | 50 |
6 | 13,8 | 12,5 | 11,3 | 10,4 | 10 |
8 | 9,3 | 9,3 | 8,8 | 8,3 | 7,6 |
10 | 7,7 | 7,7 | 7,5 | 7,1 | 6,7 |
12 | 6,7 | 6,7 | 6,5 | 6,1 | 5,7 |
14 | 5,4 | 5,4 | 5,4 | 5,4 | 5,2 |
Общее активное сопротивление секции rс определяется по формуле

. (7.11)
Полное сопротивление секции zс определяется по формуле

, (7.12)
где

принимается равным 0,7.
Сила тока секции Iс, А определяется по формуле

; (7.13)
Сила тока стержня Iст, А, определяется по формуле

. (7.14)
Сила тока трансформатора Iт, А, определяется по формулам
а) при соединении секции в треугольник

; (7.15)
б) при соединении секции в звезду
Iт = Iс. (7.16)
Напряжение в секции Uс, В, определяется по формуле
Uс = Iс·zс. (7.17)
Варьируя параметрами d, m, n подбирают напряжение секции, близкое к 25 или 38 В.
Принимая потерю в сети с напряжением 380 В 3%, в подводящих проводах и выводах 4%, в понижающем трансформаторе 3%, определяем напряжение трансформатора Uт, В, с учетом потерь по формуле

(7.18)
По расчетным величинам U
т и I
с выбирается тип трансформатора таким образом, чтобы фактическое напряжение с низкой стороны было

, а фактическая сила тока нагрузки I
т <= I
д предельно допустимой силе тока выбранного трансформатора.
Величина

определяется по формуле

. (7.19)
Фактический коэффициент запаса Кз определяется по формуле

. (7.20)
Если не выполняется условие

, то расчет производится вновь с новыми значениями параметров d, m, n.
Б. Система обогрева с кабельными нагревателями
7.4.5. Исходными величинами для расчета системы обогрева являются требуемые мощности обогрева 1 м2 пола, 1 м стены, 1 колонны и т.п., а также требуемая мощность обогрева участка.
Искомыми величинами являются электрические мощности обогрева участка, 1 м2 пола, 1 м стены, 1 колонны и т.п.
7.4.6. Электрическая мощность обогрева участка
Pу = Кз·qF,
где: Кз - принимается равным 1,7 при наличии резервного кабеля.
7.4.7. Сначала выполняется предварительный расчет электротехнических параметров системы обогрева, а затем проводится поверочный расчет с определением точных значений коэффициентов запаса.
| | ИС МЕГАНОРМ: примечание. Нумерация пунктов дана в соответствии с официальным текстом документа. | |
7.4.7. При предварительном расчете сначала выбираем число секций на участке для принятого типа греющего кабеля
(табл. 7.1).
Критерием выбора является рекомендуемая величина длительного рабочего тока.
Число секций m на участке можно принять из соотношений
Электрическая мощность секции
Pс = Pу/m. (7.21)
7.4.8. Предварительное требуемое сопротивление секции
rс = U2/Pс (7.22)
где U - напряжение секции, В.
7.4.9. Принимаем температуру жилы греющего кабеля в пределах от 20 до 30 °C. Тогда предварительная длина кабеля в секции
l = rс/rи, м, (7.23)
где r
и - удельное сопротивление кабеля при принятой температуре жилы (
рис. 7.7;
7.8), Ом/м.
7.4.10. Определяем предварительные электрические параметры
а) величина силы тока в секции

; (7.24)
б) величина тепловыделений на 1 м длины провода

; (7.25)
в) шаг раскладки провода
s = qпр/(Кз·Qп), м; (7.26)
г) число проводов обогрева стены с обеих сторон

, (7.27)
где [ ] - целая часть числа;
количество проводов о каждой стороны стены можно принять равным Nст/2 или назначить из конструктивных соображений;
д) необходимая длина провода на обогрев колонны

. (7.28)
7.4.11. После раскладки кабеля для каждой секции с учетом полученных в
п. 7.4.10 необходимых длин и шагов раскладки для обогрева необходимо провести поверочный расчет системы обогрева. При этом примеры раскладки кабеля приведены на
рис. 7.9;
7.10. После раскладки известна длина кабеля l
с для каждой секции.
7.4.12. Поверочный расчет системы электрообогрева
rс = lс·rt, Ом (7.29)
где rt - удельное сопротивление кабеля для температуры t °C, первоначально rt = rи;
б) рабочий ток секции
Iс = U/rс, А, (7.30)
который не должен превышать допустимую величину, приведенную в
табл. 7.1;
в) величина тепловыделений 1 м длины жилы кабеля

; (7.31)
г) мощность обогрева 1 м2 пола
Pп = qпр/s, Вт; (7.32)
д) мощность обогрева 1 м стены
Pстj = (N1j + N2j)·qпр, j = 1, 2,...кj, Вт/м (7.33)
где N1j, N2j - число проводов с каждой стороны для стены j-ого типа;
е) мощность обогрева колонн
Pкi = lкi·qпр, i = 1, 2,...Кi, Вт, (7.34)
где

- уточненная длина кабеля для i-ого типа колонн, м;
ж) мощность обогрева секции

; (7.35)
и) температура токопроводящей жилы кабеля

, (7.36)
где

- коэффициент теплопроводности материала, в который уложен кабель Вт/м·°C;
d - диаметр токопроводящей жилы кабеля, м;
л) при отличии величины t
ж от первоначально принятой температуры жилы кабеля t более, чем на 5 °C, за величину t принимается t
ж и расчет повторяется, начиная с
пункта а);
м) необходимо проверить температуру оболочки кабеля, которая не должна превышать 80 °C; проверка проводится по
формуле (7.36), в которой в качестве d подставляется наружный диаметр кабеля.
7.4.13. Определяются коэффициенты запаса мощности обогрева пола, стен, колонн и т.п.
а) коэффициент запаса мощности обогрева пола

; (7.37)
б) коэффициент запаса мощности обогрева стен

; (7.38)
в) коэффициент запаса мощности обогрева колонн

. (7.39)
Коэффициенты запаса должны быть
Кзп >= 1,6; Кзст >= 1,35; Кзк >= 1,35.
7.5. Требования к монтажу систем электрообогрева
А. Стержневой электрообогрев
7.5.1. Монтаж систем электрообогрева производится специализированной организацией, которая несет ответственность за качество выполненных работ.
Монтажная организация ведет журнал производства монтажных работ системы электрообогрева. В журнал записываются:
- фамилии и должности технических руководителей, ответственных за монтаж и контроль системы электрообогрева;
- параметры участков по рабочим чертежам;
- время начала и окончания основных этапов работ;
- изменения проектных решений системы электрообогрева с соответствующим обоснованием;
- фактические параметры участков системы электрообогрева после производства монтажных работ и испытания.
Журнал предъявляется приемной комиссии вместе со всеми техническими документами и передается по акту заказчику при сдаче объекта в эксплуатацию.
7.5.2. Рекомендуется следующий порядок производства работ по монтажу системы обогрева:
укладка, рихтовка, сварка стержней-нагревателей, сборных и уравнительных шин по первому нижнему слою бетона толщиной 50 мм обогревающей плиты;
устройство вертикальных выводов от секции обогрева и установка гильз для температурных датчиков между стержнями-нагревателями;
электрическое испытание качества сварки на равномерность распределения тока в стержнях-нагревателях с составлением акта, после чего разрешается укладка верхнего слоя бетона;
укладка второго верхнего слоя бетона толщиной 50 мм;
прокладка соединительных проводов от вертикальных выводов секции к трансформатору;
установка колодцев для температурных датчиков;
установка трансформатора и аппаратуры;
испытание системы электрообогрева по программе (см.
п. 7.7.).
7.5.3. Стержни-нагреватели, сборные и уравнительные шины, а также вертикальные выводы не должны касаться токопроводящих элементов строительных конструкций.
7.5.4. Выводы от электронагревателей выполняются из полосовой стали размером 80 x 8 мм с покраской их за два раза асфальтовым лаком. Вертикальные выводы прокладываются в асбестоцементной трубе на высоту 1,5 м от пола с заливкой трубы бетоном.
7.5.5. Испытания выполняются комиссией, назначаемой приказом. Результаты испытания оформляются актами, форма которых приведена в прил. IV, V главы СНиП III-Г.31-74 "Технологическое оборудование. Основные положения" или по формам главы СНиП III-Г.10.4-67 "Теплоэнергетическое оборудование. Правила производства и приемки монтажных работ".
К акту прилагается исполнительная схема раскладки нагревателей, соединительных и выводных шин.
7.5.6. Система автоматического управления и измерения температуры обогревающей плиты перед сдачей в эксплуатацию должна быть налажена и определена поправка к показанию приборов по каждой точке измерения температуры.
7.5.7. Сдача-приемка системы электрообогрева производится только после окончания монтажных и наладочных работ на участках электрообогрева и системах автоматического регулирования.
Акт готовности оборудования к комплексному опробованию является одновременно актом передачи системы электрообогрева от монтажников заказчику, который несет ответственность за дальнейшую ее эксплуатацию.
При сдаче-приемке системы электрообогрева полов, в соответствии с главой СНиП III-33-76 "Электротехнические устройства", оформляется следующая техническая документация: акт об условиях хранения и последующей работе трансформаторов; журнал прокладки и осмотра кабелей; акт готовности плиты электрообогрева под монтаж участков; акт на монтаж оборудования; акт установки термометрических гильз и датчиков; акт испытания и готовности оборудования под нагрузку и эксплуатацию; акт испытания и готовности системы автоматического регулирования температуры; исполнительная схема системы электрообогрева с подписями ответственных лиц монтажной организации; акты на скрытые работы по производству гидроизоляции и теплоизоляции полов.
Б. Кабельный обогрев
7.5.8. Монтаж системы кабельного обогрева должен выполняться, согласно документации проектного института.
Отклонения от проектных решений недопустимы.
Любые отступления от проектных решений должны быть согласованы с представителем проектной организации.
7.5.9. Монтаж, укладка, проверка и наладка греющих проводов марки ПНВСВ и кабелей КНРПВ, КНРПЭВ выполнять в соответствии с требованиями технических условий ТУ 16-705.268-83 для проводов и ТУ 16-705.141-80 для кабелей.
7.5.10. Перед укладкой провода следует убедиться в соответствии марки провода и его длины в бухте (по бирке) проектным марке и длине.
7.5.11. У всех бухт, полученных с завода-изготовителя, замерить электрическое сопротивление изоляции и сопротивление жилы.
7.5.12. Измерение сопротивления изоляции греющих проводов и кабелей проводить, согласно требованиям
ГОСТ 3345-76 "Кабели, провода и шнуры. Методы определения электрического сопротивления изоляции с погружением изделия в воду мегомметром переменного тока напряжением 1000 В".
Для одножильных проводов и кабелей без металлического экрана - между токопроводящей жилой и водой.
Для одножильных проводов и кабелей с металлическим экраном - между токопроводящей жилой и экраном.
Для двужильных проводов и кабелей без металлического экрана - между токопроводящими жилами и между каждой токопроводящей жилой и водой.
Для двухжильных проводов с металлическим экраном - между токопроводящими жилами и между каждой токопроводящей жилой и экраном.
7.5.13. Электрическое сопротивление изоляции проводов или кабелей, пересчитанное на 1 км длины и температуру 20 °C, должно быть не менее (пересчет см.
ГОСТ 3345-76):
для проводов ПНВСВ - 10 мом;
для кабелей КНРПВ, КНРПЭВ - 100 мом.
7.5.14. Измерение электрического сопротивления токопроводящей жилы проводить, согласно ТУ на изделие и
ГОСТ 7229-76 "Кабели, провода и шнуры. Методы определения электрического сопротивления токопроводящих жил и проводников".
7.5.15. Электрическое сопротивление токопроводящих жил постоянному току, пересчитанное на 1 м длины и температуру 20 °C, не должно быть более 0,53 ом +/- 15% для кабелей КНПРВ, КНРПЭВ и 0,113 м +/- 15% для проводов ПНВСВ.
7.5.16. Прокладка проводов и кабелей должна производиться при температуре окружающего воздуха не ниже -10 °C.
7.5.17. Кабели и провода допускается прокладывать: открыто и скрыто под слоем цементной стяжки, по кирпичу и бетону, в стальных трубах.
7.5.18. Подбор бухт производится согласно требуемой проектной длины секций. Сращивание проводов и кабелей нагревательных элементов не рекомендуется.
На нагревательной секции допускается производить сращивание не более двух кусков проводов (кабелей).
7.5.19. Во время укладки провода визуально внимательно осматривать его.
При обнаружении повреждения изоляции глубоких вмятин, ведущих к перелому, считать для заливки бетоном непригодным.
7.5.20. Нагревательные элементы для плиты обогрева укладываются на подготовку с помощью металлических опор, располагаемых с противоположных сторон обогреваемой площади.
На подготовке пола опоры крепятся дюбелями пристрелкой.
Укладка провода у колонн и стен производится на металлические стойки, которые к колоннам крепятся обхватами, а к стенам - пристрелкой.
7.5.21. Во избежание перекручивания и запутывания, раскладка провода должна производиться с бухты, надетой на свободно вращающийся барабан.
7.5.22. После окончания укладки провода в каждой секции производится электрическая прозвонка целостности токопроводящей жилы и экрана.
7.5.23. Вручную производится прихватка провода на подготовке пола небольшим слоем бетона.
| | ИС МЕГАНОРМ: примечание. Нумерация пунктов дана в соответствии с официальным текстом документа. | |
7.5.23. Для замоноличивания провода вдоль стен и колонн строятся опалубки.
7.5.24. Провод заливается раствором по секциям. Замоноличивание провода у колонн и стен производится жидким бетоном с мелкой фракцией заполнителя.
Эти операции выполняются осторожно, и как правило, в присутствии производителя работ.
7.5.25. После заливки провода раствором необходимо повторно замерить сопротивление токопроводящих жил мостом постоянного тока и сопротивление изоляции провода мегомметром напряжением 1000 В. Результаты измерений, приведенные к температуре рабочей жилы нагревательного элемента, сравниваются с расчетными по проекту.
Сравниваемые величины не должны отличаться более, чем на 5%.
7.5.26. После затвердевания раствора устанавливается клеммная коробка, концы провода выводят на клеммы и крепятся под винт.
7.5.27. Укладку провода в бетон следует оформлять актом освидетельствования скрытых работ, в котором указываются номер нагревательной секции, длина кабеля, шаг его раскладки, сопротивление токопроводящих жил и температура, при которой производится замер, отклонение сопротивления от предусмотренного проектом, сопротивление изоляции элемента.
7.5.28. Соединение питающей проводки и греющего провода должно выполняться во вводной коробке с помощью клемм и зажимов. Коробку рекомендуется располагать на высоте 0,7 м от чистого пола на наружных стенах помещений. В коробках должен предусматриваться запас питающего и греющего провода.
7.5.29. Места установки коробок рекомендуется выбирать так, чтобы в процессе эксплуатации систем обогрева обеспечивался свободный доступ для периодического осмотра соединений, а также надежная их защита от повреждений и попадания влаги.
7.5.30. Проводку греющего провода от плиты обогрева к клеммной коробке выполнять в металлической трубе, с последующей забивкой трубы песком или песчано-цементным раствором. Прокладку рабочего и резервного проводов выполнить в разных трубах.
7.5.31. Резервный греющий провод секции укладывать параллельно рабочему на расстоянии не менее 50 мм.
7.5.32. Не допускается пересечение витков греющего провода. Не допускается пересечение рабочего и резервного провода греющей секции.
7.5.33. Укладку греющих проводов для обогрева колонн и стен производить на стойках, обеспечивая разрыв между проводами не менее 50 мм.
7.5.34. Сращивание проводов в секцию производится пайкой по нижеприведенной методике:
- провода зачистить, скрутить и пропаять на участке 20 мм;
- места пайки изолировать путем обмотки поливинилхлоридной лентой двумя слоями с перекрытием порядка 50%. Длина изолированного участка должна быть 80 мм и расположена симметрично от участка пайки;
- отремонтировать экранирующий навив путем наложения бандажа из медной проволоки и пайкой с последующим изолированием обмотки двумя слоями поливинилхлоридной липкой ленты с перекрытием порядка 50% на участке 80 мм;
- на поливинилхлоридную ленту наложить бандаж из суровых ниток с плотно уложенными витками с покрытием в 2 - 3 слоя клея БФ или надеть термоусаживающуюся полиэтиленовую трубку.
7.5.35. Металлический экран рабочего и резервного проводов с обеих сторон подключить к клеммам заземления.
7.5.36. Резервный греющий провод подключается в параллельную работу с рабочим при ухудшении теплозащитных свойств изоляции специальным автоматическим выключателем.
7.5.37. Хранение нагревательных элементов и все работы с ними выполнить, согласно техническим условиям на эти элементы.
7.6. Эксплуатация системы электрообогрева грунта
7.6.1. Для защиты обслуживающего персонала от поражения электрическим током все электроустановки должны быть снабжены защитными средствами в соответствии с "
Правилами технической эксплуатации электроустановок потребителем" и "
Правилами технической безопасности при эксплуатации электроустановок потребителем" (3-е изд.) Минэнерго СССР, М.: Атомиздат, 1974.
7.6.2. Включение системы электрообогрева производится до ввода в действие холодильных агрегатов. Ввод в действие холодильных агрегатов производится после достижения обогревающей плитой температуры не ниже 2 °C и срабатывания системы автоматического регулирования на отключение обогрева.
7.6.3. Главным инженером предприятия утверждается инструкция по эксплуатации системы электрообогрева.
Инструкция должна содержать проектные температурные режимы камер: правила-пуска и остановки системы; исполнительную схему и маркировку шин, электрокабели; режим работ участков электрообогрева; электрическую схему участков системы электрообогрева с расстановкой контрольно-измерительных приборов; журнал ежедневного контроля работы системы электрообогрева полов
(табл. 7.4); перечень лиц, допускаемых к работе с системой электрообогрева.
В инструкции необходимо указать на недопустимость понижения температур камер против проектных.
7.6.4. Журнал эксплуатации системы электрообогрева ведется ответственным лицом, назначенным приказом главного инженера предприятия.
В журнал вносятся следующие данные: показания термометрических датчиков - ежедневно; фактические режимы (напряжения, сила тока) - ежедневно; температура воздуха камер - ежедневно; данные расхода электроэнергии по участкам; особые условия эксплуатации участков (неисправности); даты проверок термометрических датчиков; срок и проведение ремонтов систем электрообогрева.
Контроль за ведением журнала осуществляется ежеквартально главным инженером предприятия.
7.6.5. Правильность показаний температуры обогревающей плиты подлежит периодической проверке, но не реже двух раз в год с помощью переносного прибора, например, типа ПИТ-2 (Опытный завод ВНИКТИ холодильной промышленности).
Отклонение температуры от заданной в точке установки датчика не должно превышать +/- 1 °C.
7.6.6. При понижении температуры грунта ниже допустимой (+1 °C) производят проверку работы системы обогрева с целью обнаружения дефекта. При недостатке выделяемой мощности, ее увеличение достигается переключением трансформатора на более высокую ступень (для стержневой системы обогрева).
При этом надо иметь в виду, что потребляемая мощность растет в квадратичной зависимости от увеличения подводимого напряжения, в связи с чем при переключении на ступень повышенного напряжения предельно допустимые мощности и сила тока трансформатора могут оказаться недостаточными. В таком случае рекомендуется устанавливать трансформатор большей мощности.
В случае значительного увеличения мощности электрообогревателей, требуемой для поддержания температуры грунта в нужных пределах, необходимо проверить качество и состояния тепловой изоляции конструкции пола.
Если на действующем холодильнике теплоизоляции полов не обеспечивает расчетного коэффициента теплопередачи, следует на основании технико-экономического расчета решить вопрос о целесообразности улучшения теплоизоляции или дальнейшего увеличения тепловыделения нагревателей.
7.7. Программа электрических испытаний системы
стержневого обогрева
7.7.1. Проверяется правильность выполнения электромонтажа системы электрообогрева в соответствии с проектом.
7.7.2. Производится проверка качества сварных соединений путем контроля равномерности распределения силы тока между параллельно включенными стержнями.
Измерение силы тока в стержнях-нагревателях производится тонкоизмерительными клещами. При выявлении неравномерности распределения силы тока устраняют дефекты сварки.
7.7.3. После окончательного исполнения каждого трехфазного участка электрообогрева проверяется соответствие фактических электрических параметров проектным. С этой целью участок электрообогрева подключается к трансформатору на расчетное напряжение и измеряются фактические значения электрических параметров согласно номенклатуре, приведенной в табл. 7.3.
Таблица 7.3
Номенклатура измеряемых и расчетных параметров
системы электрообогрева
NN п/п | Наименование параметров | Единица измерен. | Метод определения | Участок N |
Секция N |
1 | 2 | 3 |
1 | 2 | 3 | 4 | 5 | 6 | 7 |
1. | Напряжение трансформатора Vт | В | Вольтметром | Vт1 | Vт2 | Vт3 |
2. | Напряжение секции Vс | -"- | -"- | Vс1 | Vс2 | Vс3 |
3. | Сила тока секции Iс | А | Амперметром | Iс1 | Iс2 | Iс3 |
4. | Сила тока трансформатора Iт (при включении секций по схеме треугольника) | А | -"- | Iт1 | Iт2 | Iт3 |
5. | Активная электрическая мощность секции Pс | Вт | Ваттметром | Pс1 | Pс2 | Pс3 |
6. | Активная электрическая мощность участка Pу | -"- | По формуле Pу = Pс1 + Pс2 + Pс3 | - | Pу | - |
7. | Коэффициент мощности секции  | | По формуле | | | |
8. | Потери напряжения секции  | В | По формуле | | | |
9. | Полное сопротивление секции zс | Ом | По формуле | zс1 | zс2 | zс3 |
10. | Активное сопротивление секции rс | -"- | По формуле | rс1 | rс2 | rс3 |
11. | Коэффициент мощности участка  | - | По формуле | - | | - |
7.7.4. Результаты измерений в случае отклонения от расчетных данных, сообщаются проектной организации для получения от нее рекомендаций по обеспечению нормальной работы.
7.7.5. С начала ввода холодильника в эксплуатацию необходимо контролировать работу системы электрообогрева путем измерения и регистрации температуры обогревающей плиты на каждом участке и наблюдения за выходом на автоматический режим работы системы.
Автоматический режим работы системы электрообогрева должен начаться с момента достижения температуры обогревающей плиты +2 °C.
7.7.6. В случае невыхода системы на автоматический режим работы (т.е. при отсутствии периодического включения и отклонения нагревателей участков) обратиться в проектную организацию для получения рекомендаций по обеспечению нормальной работы системы электрообогрева.
Таблица 7.4
Журнал ежедневного контроля работы системы
электрообогрева полов (форма)
Дата, время смены | Номера | Температура, °C | Сила тока секции А | Показания электросчетчиков кВт·ч | Результаты осмотра внешних цепей | Примечание (сроки проведения ремонта, даты проверки датчиков, температуры, особые условия эксплуатации) |
участка обогрева | секций участка | камер | воздуха в камере | обогревающей плиты |
по проекту | фактическая | по проекту | фактическая |
| | | | | | | | | | | |
_______________________________ _________________________________________
(подпись проводившего контроль (должность и подпись лица, ответственного
и дата) за работу электрообогрева)
7.8. Устройство проветриваемого подполья
7.8.1. Здания холодильников с проветриваемыми подпольями проектируются в соответствии с рекомендациями
п. 3.2.8.
7.8.2. Высота подполья должна приниматься не менее 0,6 м от поверхности спланированного грунта до низа плит перекрытия. В пределах подполья не должно быть балок высотой более 1/3 высоты подполья.
Расположение в подполье инженерных сетей и труб для транспортировки хладоагента не допускается.
7.8.3. Образование конденсата на поверхности перекрытия не допускается. Теплотехнический расчет перекрытия должен производиться в соответствии со
СНиП II-3-79** "Строительная теплофизика" для летних условий. Среднелетняя температура воздуха в подполье определяется из теплотехнического расчета
(п. 7.9). Абсолютная влажность воздуха в подполье в летних условиях определяется абсолютной влажностью внешнего воздуха.
Конструктивная схема перекрытия приведена на рис. 7.11.
Рис. 7.11. Конструктивная схема перекрытия
над проветриваемым подпольем
1 - покрытие пола; 2 - подстилающий слой; 3 - теплоизоляция;
4 - пароизоляция; 5 - железобетонная плита перекрытия
7.9. Теплотехнический расчет проветриваемого подполья
7.9.1. Требуемая среднегодовая температура проветриваемого подполья

в °C, исключающая промерзание грунта и образование перелетка, определяется из выражения:

, (7.40)
где:

- продолжительность периода со средней суточной отрицательной температурой воздуха, принимаемая по
графе 27 таблицы главы СНиП 2.01.01-82 "Строительная климатология и геофизика", час;

- продолжительность года, равная 8760 час;
| | ИС МЕГАНОРМ: примечание. Взамен СНиП II-18-76 Постановлением Госстроя СССР от 21.12.1988 N 252 с 1 января 1990 года введен в действие СНиП 2.02.04-88. | |

,

- коэффициенты теплопроводности соответственно мерзлого и талого грунта, принимаемые по таблице Приложения 1 главы СНиП II-18-76. "Основания и фундаменты на вечномерзлых грунтах", Вт/м·°C) (см.
Приложение 14 настоящего пособия).
7.9.2. Требуемые значения среднегодовой температуры воздуха в естественно проветриваемом подполье обеспечивается за счет ветрового напора при

(здесь h
п - высота подполья, B - ширина здания, м) при требуемом модуле вентилирования

, (7.41)
где: Кп - коэффициент, принимаемый в зависимости от расстояния между зданиями l и их высотой h на застроенной территории, равными 1,0 - при l > 5h, 1,2 - при l = 4h, 1,5 - при l = 3h;
tв - расчетная температура воздуха в холодильнике, принимаемая как средневзвешенная по площади охлаждаемых помещений, °C;
t
нг - среднегодовая температура наружного воздуха, принимаемая по
графе 14 таблицы в главе СНиП 2.01.01-82, °C;
Rо - сопротивление теплопередаче перекрытия над подпольем, м2·°C/Вт;
Ка - обобщенный аэродинамический коэффициент, учитывающий давление ветра и гидравлические сопротивления, принимаемый равным для зданий прямоугольной формы в плане - 0,37, П-образной формы - 0,3, Т-образной - 0,33, L-образной - 0,29;
C - безразмерный параметр, который для открытых подполий равен 0, а для подполий с продухами определяется из выражения

, (7.42)
Fс - площадь здания в плане по наружному контуру, м2;
Fц - площадь цоколя для подполий с продухами, м2;
Rц - сопротивление теплопередаче цоколя, м2·°C/Вт;
V
ср - средняя годовая скорость ветра в м/с, определяемая с помощью таблицы
Приложения 4 Главы СНиП 2.01.01-82 "Строительная климатология и геофизика" из выражения

, (7.43)
W
j - повторяемость направлений ветра или штиля, где j - номер столбца в таблице
Приложения 4,
Vj - скорость ветра по направлению, где j - номер столбца
7.9.3. Действительный модуль вентилирования определяется из выражения:

, (7.44)
где Fв - для подполий с продухами равно общей площади продухов, а для открытых подполий - площади, равной произведению периметра здания на расстояние от поверхности грунта или отмостки до низа фундаментных балок, м2.
При выборе площади продухов принимаем М1 = М,
Fв = М·Fс. (7.45)
Для заданной площади Fв продухов или открытого подполья
М1 > М,
и температурный режим подполья определяется модулем вентилирования М1.
7.9.4. Среднегодовая температура проветриваемого подполья находится по формуле:

, (7.46)
где

.
При этом должно соблюдаться условие
7.9.5. Глубина сезонного промерзания грунта в проветриваемом подполье зимой определяется из выражения:

. (7.47)
Здесь

. (7.48)
В этих выражениях

- удельная теплота плавления льда, равная 336 кДж/кг;
Wс - суммарная массовая влажность грунта в долях единицы;
| | ИС МЕГАНОРМ: примечание. Взамен СНиП II-18-76 Постановлением Госстроя СССР от 21.12.1988 N 252 с 1 января 1990 года введен в действие СНиП 2.02.04-88. | |
W
н - массовое содержание незамерзшей влаги в долях единицы, определяемое по главе СНиП II-18-76 "Основания и фундаменты на вечномерзлых грунтах" (см.
Приложение 15 Пособия),

- плотность скелета мерзлого грунта, кг/м3;
Cм - объемная теплоемкость грунта, определяемая по табл. Приложения 1 Главы СНиП II-18-76, кДж/(м3·°C);
tзп - среднезимняя температура воздуха в подполье, °C

(7.49)

;
tлп - среднелетняя температура воздуха в подполье, °C

(7.50)
Vл - средняя скорость ветра за летний период, м/с;

, (7.52)

; (7.53)
t
нл - средняя температура наружного воздуха в °C за период с положительными температурами, определяемая по
таблице главы СНиП 2.01.01-82 "Строительная климатология и геофизика".
7.9.6. Глубина заложения фундаментов должна быть не менее глубины Нм промерзания грунта под холодильником, но не менее нормативной глубины промерзания грунта

.
Пример теплотехнического расчета проветриваемого подполья приведен в
приложении 14.
8. ЭКСПЛУАТАЦИЯ СТРОИТЕЛЬНЫХ КОНСТРУКЦИЙ
ЗДАНИЯ ХОЛОДИЛЬНИКОВ
8.1.1. Положения Пособия направлены на обеспечение эксплуатации строительных конструкций в соответствии с условиями, предусмотренными в нормах на проектирование, на предотвращение их преждевременного физического износа и на сокращение затрат на эксплуатацию и ремонт.
8.1.2. Основными задачами по эксплуатации и ремонту строительных конструкций зданий холодильников являются:
- обеспечение соответствия параметров эксплуатационных сред, нагрузок и воздействий на строительные конструкции величинам, принятым при проектировании здания или оговоренным действующими нормативными документами;
- обеспечение соответствия параметров и режима работы системы обогрева грунта в основании холодильника;
- своевременное выявление и правильная оценка неисправностей строительных конструкций;
- своевременное устранение неисправностей строительных конструкций;
- своевременная очистка строительных конструкций от загрязнений и льда;
- предотвращение аварийного разрушения конструкций и обеспечение безопасности людей и сохранности оборудования при подготовке и проведении всех работ по эксплуатации и ремонту строительных конструкций.
8.1.3. Ответственность за правильную эксплуатацию и своевременный ремонт здания возлагается на начальника холодильника (технологического цеха).
8.1.4. Контроль качества выполнения работ по эксплуатации и ремонту зданий, а также планирование и организационная подготовка ремонта зданий должны осуществляться специальным подразделением (специальными лицами) совместно с цехами (службами, участками).
8.2. Надзор за состоянием строительных конструкций
8.2.1. Цель надзора за состоянием строительных конструкций заключается в своевременном выявлении и правильной оценке их дефектов и повреждений.
8.2.2. Надзор за состоянием строительных конструкций включает:
- систематические ежедневные наблюдения, осуществляемые лицом, уполномоченным начальником цеха;
- текущие периодические осмотры, осуществляемые сотрудником Отдела эксплуатации и ремонта зданий при участии лица, ведущего ежедневные наблюдения (текущие осмотры);
- общие периодические осмотры, осуществляемые специальной комиссией, как правило, два раза в год - весной и осенью (общие осмотры);
- внеочередные осмотры, осуществляемые специальной комиссией после стихийных бедствий или аварий, а также после выявления ежедневными наблюдениями или текущим осмотром аварийного состояния строительных конструкций;
- обследование специализированными организациями.
8.2.3. Текущие осмотры должны производиться в сроки, установленные Отделом эксплуатации и ремонта зданий по графикам, утвержденным руководителем предприятия.
Задачами текущих осмотров являются контроль за соблюдением персоналом правил содержания здания и ежедневных наблюдений за ними, правильностью оценки состояния строительных конструкций, а также определение необходимости и состава работ по проведению обследований специализированными организациями.
8.2.4. Во время весеннего общего осмотра (после таяния снега или зимних дождей) выявляют появившиеся за зимний период повреждения конструкций. При этом уточняют объемы работ по текущему ремонту конструкций в летний период и объемы работ по капитальному ремонту на следующий год.
8.2.5. Основной задачей осеннего общего осмотра является проверка готовности здания холодильника к эксплуатации в зимний период. К этому времени должны быть закончены все летние работы по текущему ремонту.
8.2.6. Во время внеочередного осмотра после стихийного бедствия устанавливают характер повреждений конструкций и определяют срочные меры по устранению обнаруженных дефектов.
8.2.7. Обследование специализированными организациями производится при необходимости углубленного изучения действительной работы, оценки состояния и определения мер по ремонту или усилению строительных конструкций по специальным методикам, разрабатываемым организациями, выполняющими обследование, и включает в себя помимо осмотра инструментальную проверку, анализ материалов конструкций, поверочные, расчеты и др. работы.
8.2.8. Текущий осмотр конструкций здания производят, как правило, не реже одного раза в квартал.
8.2.9. Результаты всех видов осмотров оформляют в виде актов, в которых отмечают обнаруженные дефекты и указывают пути и сроки их устранения.
8.2.10. Осмотры строительных конструкций, учет работ по их эксплуатации, а также ремонтно-восстановительные работы, следует осуществлять в соответствии с "Руководством по эксплуатации строительных конструкций производственных зданий промышленных предприятий" (Москва, Стройиздат, 1981 г.).
8.3. Надзор за теплоизолированными
строительными конструкциями
8.3.1. Вследствие специфики зданий холодильников, предметом особых забот его персонала должна быть сохранность теплоизоляционных конструкций, соответствие их теплозащитных свойств нормативным требованиям.
8.3.2. Систематическому надзору и периодическим осмотрам и обследованию подлежат все теплоизолированные конструкции здания холодильника: наружные стены и покрытия, стены коридоров, вестибюлей, тамбуров, межкамерные перегородки и стены, разделяющие охлаждаемые и отапливаемые помещения; междуэтажные и подвальные перекрытия; изолированные колонны и двери, а также воздушные завесы и шторы, влияющие на условия эксплуатации теплоизоляционных конструкций.
8.3.3. Увлажнение теплоизоляции и разрушение конструкций в процессе эксплуатации холодильника могут происходить вследствие:
- увлажнения теплоизоляции в период строительства холодильника;
- конденсации влаги на поверхности стен вследствие недостаточной толщины и теплоизолирующей способности изоляционного слоя или несоответствия эксплуатационного температурно-влажностного режима расчетному;
- конденсации влаги на поверхности конструкции вследствие проникновения в охлаждаемые помещения теплого воздуха через дверные и другие проемы; разрушение защитных штукатурных слоев и пароизоляции, а также образование сквозных трещин и щелей в конструкциях стен, перегородок и покрытий;
- разрушения или повреждения кровельного гидроизоляционного ковра; повреждения системы водостока, водоотвода и отмостки вокруг здания холодильника;
- повреждения пола и постоянного наличия конденсата на нем в виде жидкой влаги;
- недостаточной пароизоляции теплоизоляционных конструкций (применение неэффективных материалов и низкое качество работ);
- нарушения структуры теплоизоляции и разрушения изоляционной конструкции вследствие увлажнения, попеременного замерзания и оттаивания увлажненного материала или проникшей в конструкцию влаги;
- гниения изоляции органического происхождения или разрушения ее грызунами, а также наличия пустот в теплоизоляционном слое.
8.3.4. Основными признаками увлажнения и разрушения теплоизоляции покрытия являются:
- образование "воздушных подушек" (местное вздутие) и трещин в кровельном ковре, расслоение ковра;
- появление на потолке верхнего этажа и на внутренней поверхности стен (в местах их примыкания к потолку) мокрых бурых пятен;
- образование на полу ледяных наростов ("сталактитов");
- повышение температуры в камерах (в камерах верхнего этажа многоэтажных холодильников) и увеличение нагрузки на холодильное оборудование.
8.3.5. Основными признаками увлажнения и разрушения теплоизоляции стен, перегородок, перекрытий являются:
- образование устойчивых пятен сырости на поверхности наружных стен со стороны фасадов;
- образование пятен сырости на фасадах холодильника по периметру примыкания к наружным стенам междуэтажных перекрытий (увлажнение противопожарных поясов, осадки теплоизоляции стен и образование пустот);
- разрушение штукатурки и выпучивание теплоизоляции (т.е. ее расслоение и отслоение от ограждающей конструкции и образование пустот);
- образование конденсата и наледи на стенках и перегородках со стороны более теплых помещений, разрушение штукатурки и ее отслоение с прилегающим слоем теплоизоляции;
- образование конденсата (воды или инея) на потолках нижележащих помещений с более высокой температурой;
- ухудшение температурных условий хранения части грузов, расположенных на полу или под потолком (подмораживание или отепление);
- выделение характерного запаха при вскрытии штукатурки (поражение теплоизоляции плесенью и гниение);
- увеличение расхода энергии на обогрев грунта, понижение температуры грунта и его промерзание (при исправной работе системы обогрева);
- повышение температуры в охлаждаемых помещениях и увеличение нагрузки на холодильное оборудование, увеличение усушки продуктов.
8.3.6. В процессе наблюдения за сохранностью изолированных строительных конструкций холодильника необходимо:
- следить за состоянием спланированной поверхности вокруг холодильника для отвода атмосферной воды от цоколя и стен подвала;
- не допускать складирования материалов, отходов производства, а также устройства цветников и газонов у стен холодильника;
- следить за исправным состоянием кровли и устройств по отводу атмосферных и талых вод с крыши холодильника и примыкающих к нему зданий;
- своевременно удалять снег от цоколя стен зданий;
- не допускать выброса воды и пара у стен холодильника;
- не допускать повышенной влажности воздуха и температуры в охлаждаемых помещениях ниже уровня, предусмотренного проектом;
- в случае появления в конструкциях трещин, немедленно устанавливать маяки и проводить наблюдения за раскрытием трещин (для выявления вызвавших их причин) и конструкциями в целом;
- не допускать пробивки отверстий в изолированных конструкциях без письменного разрешения лиц, ответственных за правильную эксплуатацию зданий;
- следить за состоянием устройств для обогрева грунта под холодильниками, не допускать снижения температуры в подвальных этажах, не имеющих устройств для обогрева грунта, ниже 0 °C. В зависимости от местных условий иметь утвержденную инструкцию по эксплуатации устройств для обогрева грунта.
8.4. Допустимый уровень снижения теплозащитных
свойств ограждающих конструкций
8.4.1. Допустимый уровень снижения теплоизолирующей способности ограждений определяется техническим состоянием конструкций (влажность теплоизоляции, внешние признаки недостаточной теплоизолирующей способности, признаки разрушения теплоизоляции), а также соответствующим технико-экономическим анализом.
8.4.2. При отсутствии разрушений теплоизоляционных конструкций необходимость их усиления или замены определяется сопоставлением фактических эксплуатационных расходов и необходимых затрат на ремонтные работы.
Предельное, с экономической точки зрения, снижение теплозащитных свойств наружных ограждений определяется выражением
Э >= П,
где: Э - текущие эксплуатационные затраты на ограждающие конструкции;
П - приведенные затраты на замену теплоизоляционных конструкций.
8.4.3. Предельное снижение теплозащитных свойств, определяемое соотношением фактического

и проектного (первоначального)

сопротивлений теплопередаче ограждений, можно определить из следующей формулы

, (8.1)
где:

- фактическое (эксплуатационное) значение сопротивления теплопередаче ограждения, определяемое экспериментальным путем, м
2·°C/Вт;

- требуемое (первоначальное) значение сопротивления теплопередаче ограждения, м
2·°C/Вт;

- расчетная разность температур, °C;
n - длительность работы холодильной установки в течение года, час;
m - коэффициент перевода рабочих ккал холода в стандартные (m = 2,4);
a - коэффициент, учитывающий потери холода в трубопроводах

;
Cх - стоимость стандартной Гкал холода, руб.;
Eн - нормативный коэффициент эффективности капиталовложений (Eн = 0,15);
Cиз - сметная стоимость теплоизоляционной конструкции, руб/м3;

- расчетное значение коэффициента теплопроводности теплоизоляции, Вт/(м·°C);
Rк - значение термического сопротивления конструктивной части ограждения (кирпичная стена, плита перекрытий и т.д.), м2·°C/Вт.
8.4.4. При снижении теплозащитных свойств наружных ограждений до величины

, определяемой
формулой (8.1) экономически оправдано выполнить замену теплоизоляционных конструкций на новые равноценные по первоначальной стоимости единицы термического сопротивления (под стоимостью единицы термического сопротивления теплоизоляционной конструкции подразумевается произведение

).
Расчеты по
формуле (8.1) показывают, например, что дальнейшая эксплуатация наружных ограждений камер хранения мороженых грузов с теплозащитными свойствами, сниженными в процессе эксплуатации на 50% и более, экономически не оправдана (дальнейшая эксплуатация приводит к значительному увеличению приведенных затрат, к неоправданным потерям холода и перерасходу электроэнергии).
8.5. Определение фактических теплозащитных
свойств ограждений
8.5.1. Фактические величины коэффициентов теплопередачи ограждений и влажность теплоизоляции следует определять периодически, примерно через каждые 5 лет эксплуатации, и при появлении внешних признаков значительного снижения их изолирующей способности.
8.5.2. Величины коэффициентов теплопередачи определяются путем измерения удельных тепловых потоков через ограждающие конструкции и перепада температур между наружной и внутренней поверхностью, а также путем определения фактического коэффициента теплопроводности теплоизоляции по известной зависимости от объемного влагосодержания.
8.5.3. Измерение удельных тепловых потоков осуществляют с помощью плоских тепломеров, позволяющих измерять удельные тепловые потоки в пределах от 1,0 до 35 Вт/м2 (тепломеры Ленинградского теплотехнического института холодильной промышленности, института технической теплофизики АН УССР и др.).
8.5.4. Выбранный участок для установки тепломеров должен быть характерным для всего исследуемого ограждения с точки зрения лучистого теплообмена. Участок должен быть удален не менее, чем на 1,5 м от элементов конструкций, изменяющих направление теплового потока (стык стен, стык перекрытия со стеной и т.д.). Участок не должен подвергаться непосредственному местному обдуванию, должен быть равным в районе 1,0 - 1,5 м от места установки тепломеров.
8.5.5. На выбранном участке устанавливают 2 - 3 тепломера (при использовании одного измерителя не исключается возможность установки его на место, не характерное для всей конструкции). Тепломеры необходимо установить на той стороне исследуемой конструкции, где ожидается наименьшее колебание температуры воздуха (при испытании наружных ограждений - со стороны охлаждаемых помещений). Тепломер должен плотно прилегать к поверхности конструкции. Величина удельного теплового потока на исследуемом участке определяется как средняя арифметическая из показаний установленных тепломеров.
8.5.6. Одновременно с установкой тепломеров рядом с ними с обеих сторон ограждения крепят датчики для измерения температур наружного и внутреннего воздуха, наружной и внутренней поверхности (термопары или термометры сопротивления). Датчики для измерения температур воздуха устанавливают на расстоянии 100 мм от поверхности исследуемой конструкции.
8.5.7. Испытания, во время которых измеряются тепловые потоки, температуры наружного воздуха t
н и воздуха в охлаждаемых помещениях t
в, температуры внутренней

и наружной

поверхности ограждающей конструкции, проводятся круглосуточно при записи показаний через каждые два часа в течение 5 - 7 суток (желательно при автоматической записи показаний).
Начало замеров - не менее, чем через 2 часа после установки термодатчиков.
8.5.8. Величины термо ЭДС тепломеров и термопар переводятся в тепловые потоки и температуры в соответствии с их паспортными характеристиками. Расчетные величины тепловых потоков и температур определяются как средние показания за расчетный период с минимальным колебанием температур.
8.5.9. Значение коэффициента теплопередачи ограждающей конструкции на основе данных измерения удельных тепловых потоков и температур рассчитывается по формуле
где: Rо - общее сопротивление теплопередаче ограждающей конструкции, м2·°C/Вт
где:

,

- коэффициенты теплоотдачи внутренней и наружной поверхности ограждающей конструкции, Вт/(м
2·°C);
R
к - термическое сопротивление ограждающей конструкции,

;
где:

,

- средние за расчетный период исследования значений температуры наружной и внутренней поверхности ограждающей конструкции, °C;
q - среднее за расчетный период исследования значение удельного теплового потока через ограждающую конструкцию по показаниям тепломеров, Вт/м2
где tв - среднее за расчетный период исследования значение температуры воздуха в охлаждаемом помещении, °C;
где tн - среднее за расчетный период исследования значение температуры наружного воздуха, °C.
8.5.10. При определении фактического коэффициента теплопроводности теплоизоляции осуществляется ее вскрытие и отбор послойных проб. В процессе вскрытия конструкций и отбора проб, определяется вид и состояние теплоизоляционных материалов и пароизоляции, фактическая толщина теплоизоляции. В процессе последующих лабораторных исследований устанавливается влажность материала теплоизоляции и объемная масса в сухом состоянии.
8.5.11. На исследуемом участке ограждения пробы отбирают в 2 - 3 местах стальным шлямбуром диаметром 50 мм. Пробы отбирают послойно (через каждые 50 - 60 мм) на всю толщину теплоизоляции. Послойные пробы помещают в отдельные бюксы и фиксируют в протоколе, затем взвешивают в лаборатории и высушивают до постоянной массы. После высушивания определяют плотность и объемную влажность проб теплоизоляции. Объемная влажность рассчитывается по формуле

;
где: Wв - массовая влажность проб, %%;

- плотность проб в воздушно-сухом состоянии, кг/м
3.
8.5.12. Значение коэффициента теплопередачи ограждающей конструкции на основе исследования проб теплоизоляции рассчитывается по формуле:
где

- расчетное сопротивление теплопередаче ограждающей конструкции, определяемое по фактическому коэффициенту теплопроводности материала теплоизоляции в зависимости от объемного влагосодержания, м
2·°C/Вт
где

,

- расчетные значения коэффициентов теплоотдачи внутренней и наружной поверхности ограждающей конструкции, Вт/м
2·°C

- толщина отдельных слоев конструкции, м;

- фактический коэффициент теплопроводности материалов отдельных слоев конструкции, Вт/(м·°C).
Для наружной поверхности наружных стен, покрытий, перекрытий над проветриваемым подпольем, чердачных перекрытий расчетное значение

; для внутренней поверхности стен, перегородок, полов, потолков расчетное значение
где

,

- толщина отдельных слоев конструкции из зоны положительной и отрицательной температуры ограждения;

,

- коэффициенты теплопроводности материалов отдельных слоев конструкции из зоны положительной и отрицательной температуры ограждения с учетом объемной влажности.
8.5.13. Зоны положительной и отрицательной температуры ограждения различных охлаждаемых помещений определяют путем измерения температур внутри конструкции с помощью термопар. При этом распределение температур внутри конструкции наружных ограждений следует определять для летних условий, соответствующих максимальным теплопритокам в охлаждаемые помещения.
8.5.14. Значения

для отдельных слоев теплоизоляции принимаются в соответствии с полученными данными по плотности и объемной влажности материалов, при положительной или отрицательной температуре по таблицам (А.У. Франчук "Таблицы теплотехнических показателей строительных материалов". М., 1969). Значения

для остальных слоев конструкций (кирпичная кладка, железобетон, штукатурка и др.) принимаются по
СНиП II-3-79** "Строительная теплотехника. Нормы проектирования" и по
приложениям 10 и
15 настоящего пособия.
8.6. Рекомендации по восстановлению и повышению
теплозащитных свойств ограждающих конструкций
8.6.1. Восстановление и повышение теплозащитных свойств ограждающих конструкций осуществляется путем усиления теплоизоляции (т.е. монтажа дополнительного слоя), замены теплоизоляции, усиления и замены пароизоляции.
8.6.2. Замену теплоизоляционных конструкций выполняют в случаях:
- чрезмерного увлажнения и разрушения теплоизоляции;
- необходимости капитально-восстановительного ремонта несущего слоя ограждающих конструкций.
Усиление теплоизоляции (т.е. монтаж дополнительного слоя) может выполняться в следующих случаях:
- при снижении теплоизолирующей способности ограждений в процессе эксплуатации;
- при недостаточной толщине слоя теплоизоляции, выполненной в процессе строительства;
- при понижении температуры в охлаждаемых помещениях или изменении температурно-влажностных условий в смежных помещениях;
- при целесообразности дополнительного снижения теплопритоков в охлаждаемые помещения за счет увеличения толщины слоя теплоизоляции.
8.6.3. Замену теплоизоляционных конструкций осуществляют на основе утвержденного проекта. Тепло-пароизоляционные работы осуществляют в основном так же, как и при новом строительстве, с соблюдением требований СНиП III-20-74 "Кровли, гидроизоляция, пароизоляция и теплоизоляция".
При замене теплоизоляционных конструкций пароизоляцию выполняют заново.
Пароизоляцию выполняют при температуре изолируемых поверхностей не ниже 5 °C. Старый пароизоляционный слой снимают, изолируемые поверхности очищают, протирают керосином или солярным маслом, а затем окрашивают битумом или битумной мастикой. Поврежденные места на поверхностях ограждений перед окрашиванием выравнивают цементным раствором и просушивают.
На подготовленную таким образом поверхность наклеивают рулонную пароизоляцию или наносят механизированным путем покрытие из битумной мастики (2 - 3 разовое покрытие).
Пароизоляционные работы относятся к скрытым и принимаются по акту. Пароизоляционный слой должен быть равномерным по толщине и сплошным (без пропусков, расслоений, воздушных пузырей).
8.6.4. При замене теплоизоляции наклейку первого слоя плит или блоков к ограждениям осуществляют сплошной промазкой поверхности изделий клеем, а второго и последующих слоев - точечной или полосовой склейкой.
8.6.5. При усилении теплоизоляции ограждающих конструкций толщину дополнительного слоя теплоизоляции определяют по формуле
где

- расчетный коэффициент теплопроводности теплоизоляционного материала, используемого для выполнения дополнительного слоя, ккал/м·ч·°C;

- нормативное сопротивление теплопередаче ограждения, м
2·°C/Вт;

- фактическое (эксплуатационное) значение сопротивления теплопередаче ограждения, определяемое экспериментальным путем, м
2·°C/Вт.
Для усиления теплоизоляции следует применять материалы с наименьшим значением коэффициента теплопроводности.
8.6.6. Перед усилением теплоизоляции стен и перегородок удаляют отслоившуюся штукатурку (в целом штукатурку не удаляют), восстанавливают поврежденные места, проверяют плотность прилегания существующей теплоизоляции. При обнаружении неплотностей удаляют штукатурку и отслоившийся участок теплоизоляции. Поверхность дополнительного слоя теплоизоляции со стороны помещений с отрицательной температурой перед оштукатуриванием (или перед облицовкой листовыми материалами) не следует покрывать битумной мастикой. При усилении теплоизоляции стен и перегородок со стороны отапливаемых помещений, коридоров и вестибюлей, поверхность теплоизоляции перед отделкой покрывают слоем битумной мастики.
| | ИС МЕГАНОРМ: примечание. Нумерация пунктов дана в соответствии с официальным текстом документа. | |
8.7.7. Перед усилением теплоизоляции покрытий и чердачных перекрытий необходимо уточнить несущую способность конструкции. Усиление может выполняться при условии, если величина дополнительной нагрузки является допустимой.
8.6.8. Усиление теплоизоляции чердачных перекрытий выполняется со стороны чердака (т.е. сверху). Дополнительный слой теплоизоляции укладывают насухо, защищают слоем пароизоляции и бетонной стяжкой.
8.6.9. Усиление теплоизоляции бесчердачных покрытий выполняется сверху (по существующей кровле) или снизу (по потолку охлаждаемых помещений). При усилении сверху некачественный кровельный ковер (при наличии большого числа вздутий, расслоений, трещин) целесообразно снять, а бетонную стяжку зачистить и выровнять.
Дополнительный слой теплоизоляции наклеивают точечным или полосовым способом.
8.6.10. Усиление теплоизоляции междуэтажных перекрытий предпочтительно производить снизу (по потолку) с использованием легких и прочных пенопластов (пенополистирол, пенополиуретан). Поверхность теплоизоляции облицовывают листовыми материалами или окрашивают огнезащитными красками.
8.6.11. При усилении теплоизоляции обогреваемых полов, лежащих на грунте, в связи с необходимостью сохранять существующие отметки чистого пола, частично удаляют засыпную теплоизоляцию. Слой усиления выполняют из эффективных плитных материалов.
ЗНАЧЕНИЯ МАКСИМАЛЬНОЙ УПРУГОСТИ ВОДЯНОГО
ПАРА (E, гПа) ДЛЯ РАЗЛИЧНЫХ ТЕМПЕРАТУР ВОЗДУХА
ПРИ НОРМАЛЬНОМ БАРОМЕТРИЧЕСКОМ ДАВЛЕНИИ
t, °C | E, гПа | t, °C | E, гПа | t, °C | E, гПа | t, °C | E, гПа |
Для температур от 0 до минус 40 °C |
-0,0 | 6,11 | -9,0 | 2,84 | -18,0 | 1,25 | -27,0 | 0,51 |
-0,5 | 5,87 | -9,5 | 2,71 | -18,5 | 1,19 | -27,5 | 0,48 |
-1,0 | 5,63 | -10,0 | 2,60 | -19,0 | 1,13 | -29,0 | 0,45 |
-1,5 | 5,40 | -10,5 | 2,48 | -19,5 | 1,08 | -28,5 | 0,44 |
-2,0 | 5,17 | -11,0 | 2,37 | -20,0 | 1,03 | -29,0 | 0,41 |
-2,5 | 4,96 | -11,5 | 2,27 | -20,5 | 0,99 | -29,5 | 0,39 |
-3,0 | 4,76 | -12,0 | 2,17 | -21,0 | 0,93 | -30,0 | 0,37 |
-3,5 | 4,56 | -12,5 | 2,08 | -21,5 | 0,89 | -31,0 | 0,34 |
-4,0 | 4,37 | -13,0 | 1,99 | -22,0 | 0,85 | -32,0 | 0,30 |
-4,5 | 4,19 | -13,5 | 1,89 | -22,5 | 0,91 | -33,0 | 0,27 |
-5,0 | 4,01 | -14,0 | 1,81 | -23,0 | 0,77 | -34,0 | 0,25 |
-5,5 | 3,84 | -14,5 | 1,73 | -23,5 | 0,73 | -35,0 | 0,22 |
-6,0 | 3,68 | -15,0 | 1,65 | -24,0 | 0,69 | -36,0 | 0,20 |
-6,5 | 3,53 | -15,5 | 1,57 | -24,5 | 0,65 | -37,0 | 0,18 |
-7,0 | 3,37 | -16,0 | 1,51 | -25,0 | 0,63 | -38,0 | 0,16 |
-7,5 | 3,24 | -16,5 | 1,44 | -25,5 | 0,60 | -39,0 | 0,14 |
-8,0 | 3,09 | -17,0 | 1,37 | -26,0 | 0,56 | -40,0 | 0,13 |
-8,5 | 2,96 | -17,5 | 1,31 | -26,5 | 0,53 | | |
Для температур от 0 до 50 °C |
0,0 | 6,11 | 12,5 | 14,49 | 25,0 | 31,68 | 37,5 | 64,50 |
0,5 | 6,33 | 13,0 | 14,97 | 25,5 | 32,22 | 38,0 | 66,25 |
1,0 | 6,57 | 13,5 | 15,47 | 26,0 | 33,61 | 38,5 | 68,07 |
1,5 | 6,81 | 14,0 | 15,99 | 26,5 | 34,61 | 39,0 | 69,91 |
2,0 | 7,05 | 14,5 | 16,51 | 27,0 | 35,65 | 39,5 | 71,83 |
2,5 | 7,32 | 15,0 | 17,05 | 27,5 | 36,72 | 40,0 | 73,75 |
3,0 | 7,59 | 15,5 | 17,61 | 28,0 | 37,80 | 40,5 | 75,76 |
3,5 | 7,85 | 16,0 | 18,17 | 28,5 | 38,90 | 41,0 | 77,78 |
4,0 | 8,13 | 16,5 | 18,77 | 29,0 | 40,05 | 41,5 | 79,88 |
4,5 | 8,43 | 17,0 | 19,37 | 29,5 | 41,22 | 42,0 | 81,99 |
5,0 | 8,72 | 17,5 | 20,00 | 30,0 | 42,42 | 42,5 | 84,19 |
5,5 | 9,04 | 18,0 | 20,64 | 30,5 | 43,68 | 43,0 | 86,39 |
6,0 | 9,35 | 18,5 | 21,29 | 31,0 | 44,93 | 43,5 | 88,70 |
6,5 | 9,68 | 19,0 | 21,97 | 31,5 | 46,24 | 44,0 | 91,00 |
7,0 | 10,01 | 19,5 | 22,66 | 32,0 | 47,54 | 44,5 | 93,41 |
7,5 | 10,37 | 20,0 | 23,38 | 32,5 | 48,92 | 45,0 | 95,83 |
8,0 | 10,73 | 20,5 | 24,12 | 33,0 | 50,30 | 45,5 | 98,34 |
9,0 | 11,48 | 21,5 | 25,64 | 34,0 | 53,20 | 46,5 | 103,49 |
9,5 | 11,88 | 22,0 | 26,44 | 34,5 | 54,72 | 47,0 | 106,12 |
10,0 | 12,28 | 22,5 | 27,25 | 35,0 | 56,24 | 47,5 | 108,86 |
10,5 | 12,69 | 23,0 | 28,09 | 35,5 | 57,82 | 48,0 | 111,60 |
11,0 | 13,12 | 23,5 | 28,94 | 36,0 | 59,41 | 48,5 | 114,48 |
11,5 | 13,57 | 24,0 | 29,84 | 36,5 | 61,08 | 49,0 | 117,35 |
12,0 | 14,03 | 24,5 | 30,74 | 37,0 | 62,75 | 49,5 | 120,34 |
| | | | | | 50,0 | 123,34 |
КОЭФФИЦИЕНТЫ ПОГЛОЩЕНИЯ СОЛНЕЧНОЙ РАДИАЦИИ МАТЕРИАЛОМ
НАРУЖНОЙ ПОВЕРХНОСТИ ОГРАЖДАЮЩЕЙ КОНСТРУКЦИИ
NN пп | Материал наружной поверхности ограждающей конструкции | Коэффициент поглощения солнечной радиации -  |
1 | Алюминий | 0,5 |
2 | Асбестоцементный лист | 0,65 |
3 | Защитный слой рулонной кровли из светлого гравия | 0,65 |
4 | Кирпич глиняный красный | 0,7 |
5 | Кирпич силикатный | 0,6 |
6 | Облицовка природным камнем белым | 0,45 |
7 | Окраска известковая белая | 0,3 |
8 | Рубероид с песчаной посыпкой | 0,9 |
9 | Сталь листовая, окрашенная белой краской | 0,45 |
10 | Сталь кровельная оцинкованная | 0,65 |
11 | Штукатурка известковая темно-серая или терракотовая | 0,7 |
12 | Штукатурка цементная светло-голубая | 0,3 |
13 | Штукатурка цементная кремовая | 0,4 |
Примечание: Коэффициенты поглощения солнечной радиации приняты в соответствии с
СНиП II-3-79**.
Табл. 1 (к
табл. 2 СНиП 2.11.02-87)
Рекомендуемая толщина теплоизоляции наружных стен
охлаждаемых помещений, обеспечивающая требуемое
сопротивление теплопередаче
Среднегодовая температура наружного воздуха в районе строительства, °C | Тип наружного слоя стен | Тип теплоизоляционного материала стен | Толщина слоя теплоизоляции в мм при температуре воздуха в охлаждаемых помещениях, °C |
минус 30 | минус 20 | минус 10 | минус 5 | 0 | 5 | 12 |
1 | | | 4 | 5 | 6 | 7 | 8 | 9 | 10 |
Минус 2 и ниже | | 1 | 150 | 100 | 85 | 70 | 60 | 50 | 40 |
2 | 200 | 150 | 100 | 100 | 100 | 50 | 50 |
3 | 350 | 250 | 200 | 150 | 150 | 100 | 100 |
| 1 | 160 | 130 | 100 | 80 | 75 | 65 | 60 |
2 | 200 | 150 | 150 | 100 | 100 | 100 | 100 |
3 | 350 | 300 | 250 | 200 | 200 | 150 | 150 |
Выше минус 2 и ниже 7 | | 1 | 155 | 130 | 100 | 75 | 60 | 50 | 45 |
2 | 200 | 150 | 150 | 100 | 100 | 50 | 50 |
3 | 350 | 300 | 250 | 200 | 150 | 100 | 100 |
| 1 | 170 | 140 | 120 | 90 | 75 | 65 | 50 |
2 | 250 | 200 | 150 | 100 | 100 | 100 | 100 |
3 | - | 350 | 300 | 250 | 200 | 150 | 150 |
7 и выше | | 1 | 165 | 145 | 130 | 100 | 90 | 75 | 55 |
2 | 250 | 200 | 200 | 150 | 150 | 100 | 100 |
3 | - | 350 | 300 | 250 | 200 | 150 | 150 |
| 1 | 180 | 160 | 140 | 120 | 100 | 90 | 70 |
2 | 250 | 200 | 200 | 150 | 150 | 100 | 100 |
3 | - | 350 | 350 | 300 | 250 | 200 | 150 |
Примечание: 1. В
графе 3 обозначены теплоизоляционные материалы:
1. - заливочный пенополиуретан (ТУ 88 Латв.ССР-055-85)

;
- кирпичная кладка в 1,5 кирпича;

- железобетонная панель толщиной 120 мм.
Табл. 2 (к
табл. 3 СНиП 2.11.02-87)
Рекомендуемая толщина теплоизоляции покрытий
охлаждаемых помещений, обеспечивающая требуемое
сопротивление теплопередаче
Среднегодовая температура наружного воздуха в районе строительства, °C | Вид теплоизоляционного материала | Толщина теплоизоляции в мм при температуре воздуха в охлаждаемых помещениях, °C |
минус 30 | минус 20 | минус 20 | минус 5 | 0 | 5 | 12 |
1 | | 3 | 4 | 5 | 6 | 7 | 8 | 9 |
Минус 2 и ниже | 1 | 300 | 250 | 200 | 150 | 150 | 150 | 150 |
2 | 400 | 300 | 250 | 200 | 200 | 200 | 200 |
3 | - | 350 | 300 | 250 | 250 | 200 | 200 |
Выше минус 2 и ниже 7 | 1 | 300 | 250 | 200 | 200 | 150 | 150 | 150 |
2 | 400 | 350 | 300 | 250 | 200 | 200 | 200 |
3 | - | 400 | 300 | 300 | 250 | 200 | 200 |
7 и выше | 1 | 300 | 300 | 250 | 200 | 200 | 150 | 150 |
3 | - | 400 | 350 | 300 | 250 | 250 | 200 |
3 | - | - | 400 | 350 | 300 | 250 | 250 |
| | ИС МЕГАНОРМ: примечание. ГОСТ 18109-80 утратил силу с 1 января 1992 года в связи с изданием Постановления Госстроя СССР от 14.08.1990 N 70. | |
Примечание: В
графе 2 обозначены теплоизоляционные материалы: 1 - плиты пенополистирольные
(ГОСТ 15588-86) 
; 2 - жесткие минераловатные плиты на битумном связующем)
(ГОСТ 10140-80) 
; 3 - плиты перлитобитумные
(ГОСТ 16136-80) и перлитоцементные (ГОСТ 18109-80)

.
Табл. 3 (к
табл. 5 СНиП 2.11.02-87)
Рекомендуемая толщина теплоизоляции внутренних стен
и перегородок, отделяющих охлаждаемые помещения
от неохлаждаемых и неотапливаемых, обеспечивающая
требуемое сопротивление теплопередаче
Температура воздуха в охлаждаемом помещении, °C | Вид теплоизоляционного материала | Толщина слоя теплоизоляции, мм |
1 | | 3 |
Минус 30 | 1 | 200 |
2 | 300 |
Минус 20 | 1 | 150 |
2 | 250 |
3 | 300 |
Минус 10 | 1 | 150 |
2 | 200 |
3 | 250 |
0 | 1 | 100 |
2 | 150 |
3 | 200 |
4 | 300 |
12 | 1 | 50 |
2 | 100 |
3 | 100 |
4 | 200 |
Примечание. В
графе 2 обозначены теплоизоляционные материалы:
| | ИС МЕГАНОРМ: примечание. В официальном тексте документа, видимо, допущена опечатка: имеется в виду ГОСТ 15588-86, а не ГОСТ 15588-88. | |
2 - жесткие минераловатные плиты на битумном связующем
(ГОСТ 10140-80) 
; 3 - перлитовые плиты на различных связующих (
ГОСТ 16136-80, ГОСТ 18109-80, ГОСТ 21500-76)

Табл. 4 (к
табл. 4 СНиП 2.11.02-87)
Рекомендуемая толщина теплоизоляции внутренних стен,
перегородок и междуэтажных перекрытий охлаждаемых помещений,
обеспечивающая требуемое сопротивление теплопередаче
Температура воздуха в теплом помещении, °C | Вид теплоизоляционного материала | Толщина теплоизоляции в мм при температуре воздуха в более холодном помещении, °C |
минус | минус | минус | минус | 0 | 5 | 12 |
1 | | 3 | 4 | 5 | 6 | 7 | 8 | 9 |
минус 30 | 1 | 50 | | | | | | |
2 | 100 | | | | | | |
3 | 150 | | | | | | |
4 | 250 | | | | | | |
минус 20 | 1 | 100 | 50 | | | | | |
2 | 150 | 100 | | | | | |
3 | 200 | 150 | | | | | |
4 | 300 | 250 | | | | | |
минус 10 | 1 | 150 | 100 | 50 | | | | |
2 | 250 | 200 | 100 | | | | |
3 | 300 | 200 | 150 | | | | |
4 | - | 400 | 250 | | | | |
минус 5 | 1 | 200 | 150 | 100 | 50 | | | |
2 | 300 | 250 | 150 | 100 | | | |
3 | 350x) | 300 | 150 | 150 | | | |
4 | - | - | 300 | 250 | | | |
0 | 1 | 200 | 150 | 100 | 100 | 50 | | |
2 | 300 | 250 | 200 | 150 | 100 | | |
3 | 350x) | 300 | 200 | 200 | 150 | | |
4 | - | - | 400 | 300 | 250 | | |
5 | 1 | 200 | 200 | 150 | 100 | 100 | 50 | |
2 | 350x) | 300 | 250 | 200 | 150 | 100 | |
3 | 400x) | 350x) | 250 | 200 | 150 | 150 | |
4 | - | - | - | 400 | 300 | 250 | |
10 | 1 | 200 | 200 | 150 | 150 | 150 | 100 | 50 |
2 | 350x) | 350x) | 300 | 250 | 200 | 150 | 100 |
3 | 400x) | 400x) | 300 | 250 | 200 | 150 | 150 |
4 | - | - | - | | 300 | 250 | 250 |
20 | 1 | 200 | 200 | 200 | 150 | 150 | 100 | 100 |
2 | 400x) | 400x) | 300 | 250 | 200 | 150 | 150 |
3 | - | - | 350x) | 300 | 250 | 200 | 150 |
4 | - | - | - | - | 400 | 300 | 300 |
Примечание: В
графе 2 обозначены теплоизоляционные материалы
| | ИС МЕГАНОРМ: примечание. ГОСТ 18109-80 утратил силу с 1 января 1992 года в связи с изданием Постановления Госстроя СССР от 14.08.1990 N 70. | |
3 - перлитовые плиты на различных связующих (
ГОСТ 16136-80, ГОСТ 18109-80, ГОСТ 21500-76)

;
5 - 350
x), 400
x) 
- толщина теплоизоляции не рекомендуется для стен и перегородок.
| | ИС МЕГАНОРМ: примечание. В официальном тексте документа, видимо, допущена опечатка: правильный номер СНиП 2.11.02-87, а не СНиП 2.11.02.87 | |
Табл. 5 (к
табл. 6 СНиП 2.11.02.87)
Рекомендуемая толщина теплоизоляции полов
на обогреваемых грунтах, обеспечивающая требуемое
сопротивление теплопередаче
Температура воздуха в охлаждаемом помещении, °C | Вид теплоизоляционного материала | Толщина слоя теплоизоляции, мм |
1 | | 3 |
Минус 2 | 1 | 100 |
2 | 180 |
3 | 250 |
4 | 430 |
Минус 10 | 1 | 150 |
2 | 240 |
3 | 330 |
4 | 580 |
Минус 20 | 1 | 250 |
2 | 360 |
3 | 500 |
Минус 30 | 1 | 300 |
3 | 600 |
Примечание: В
графе 2 обозначены теплоизоляционные материалы:
2. плиты торфяные (ГОСТ 4861-74)

;
| | ИС МЕГАНОРМ: примечание. Взамен ГОСТ 10832-83 Постановлением Госстроя СССР от 10.04.1991 N 15 с 1 января 1992 года введен в действие ГОСТ 10832-91. | |
3. песок перлитовый (ГОСТ 10832-83)

;
| | ИС МЕГАНОРМ: примечание. Взамен ГОСТ 9759-83 Постановлением Госстроя СССР от 30.08.1990 N 75 с 1 января 1991 года введен в действие ГОСТ 9757-90. | |
4. гравий керамзитовый (ГОСТ 9759-83)

.
Табл. 6 (к
табл. 7 СНиП 2.11.02-87)
Рекомендуемая толщина теплоизоляции перекрытий
над проветриваемыми подпольями
Среднегодовая температура наружного воздуха в районе строительства, °C | Вид теплоизоляционного материала | Толщина слоя теплоизоляции в мм, при температуре воздуха в охлаждаемых помещениях, °C |
минус 30 | минус 20 | минус 10 | минус 5 | 0, неохлаждаемые помещения |
1 | | 3 | 4 | 5 | 6 | 7 |
3 и ниже | 1 | 200 | 150 | 150 | 100 | 100 |
2 | 350 | 300 | 250 | 200 | 150 |
3 | 300 | 240 | 180 | 150 | 150 |
выше 3 и ниже 9 | 1 | 200 | 200 | 150 | 100 | 100 |
2 | 400 | 300 | 250 | 200 | 200 |
3 | 330 | 280 | 240 | 180 | 150 |
9 и выше | 1 | 250 | 200 | 180 | 150 | 100 |
2 | 400 | 350 | 300 | 250 | 200 |
3 | 300 | 300 | 270 | 240 | 180 |
Примечание. В
графе 2 обозначены теплоизоляционные материалы:
3 - плиты торфяные (ГОСТ 4861-74)

.
ПРИМЕРЫ РАСЧЕТА ТРЕБУЕМОГО СОПРОТИВЛЕНИЯ ПАРОПРОНИЦАНИЮ

ПАРОИЗОЛЯЦИОННЫХ СЛОЕВ ОГРАЖДАЮЩИХ КОНСТРУКЦИЙ
ЗДАНИЯ ХОЛОДИЛЬНИКА
Пример 1. А. Исходные данные. Требуется определить

наружных кирпичных стен, утепленных полистирольным пенопластом ПСБ-С и оштукатуренных изнутри, помещения с t
в = -25 °C,

(холодильник в г. Москве).
Величины теплотехнических показателей:

;

; e
н = 7,6 гПа; E(t
в) = 0,63 гПа; e
в = 0,63·0,90 = 0,57 гПа;

;

;

;

;
Б. Расчет.

определяется в соответствии с
п. 6.2.3.
1. Сопротивление паропроницанию внутреннего (отделочного) слоя стены
2. Сумма сопротивлений паропроницанию всех слоев стены, исключая пароизоляционный и отделочный
3. Сопротивление паропроницанию пароизоляционного слоя определяется по
формуле (6.8.)

, где
mв = 7,7.
Требуемое сопротивление паропроницанию можно обеспечить, приняв в качестве пароизоляции два слоя рубероида РПП-300 или один слой изола И-ДБ.
Пример 2. А. Исходные данные. Требуется определить

совмещенного покрытия из железобетонной плиты, утепленной жесткими минераловатными плитами на битумном связующем, помещения холодильника t
в = -10 °C в г. Краснодаре).
Величины теплотехнических показателей:

;

;

;

;

;

; e
н = 17,2 гПа; E(t
в) = 6,04 Па; e
в = 6,04; 0,9 = 5,44 гПа;
Б. Расчет.

определяется в соответствии с
п. 6.2.3.
1. Сопротивление паропроницанию внутреннего слоя покрытия (железобетонной плиты).
2. Сумма сопротивлений паропроницанию всех слоев покрытия, исключая пароизоляционный и внутренний.
3. Сопротивление паропроницанию пароизоляционного слоя определяется по
формуле (6.8.), где коэффициент m
в = 1,2 (по
табл. 6.13.)
Требуемое сопротивление паропроницанию

обеспечит основной водоизоляционный ковер, конструкцию которого необходимо выбрать в соответствии с главой СНиП II-26-76 "Кровли",
табл. 2.
Тип пароизоляции | Материалы пароизоляционного покрытия (слоя) |
П-1 | Грунтовка битумная Мастика битумная горячая Пергамин (1 слой), покрытый сверху слоем горячего битума (для наклейки теплоизоляционных материалов) |
П-2 | Грунтовка битумная Мастика битумная горячая Рубероид РПП-300А РПП-300Б (1 слой), покрытый сверху слоем битума |
П-3 | Грунтовка битумная Мастика битумная горячая Гидроизол ГИ-Г (1 слой), покрытый сверху слоем горячей битумной мастики |
П-4 | Грунтовка битумная Мастика битумная горячая Рубероид РПП-300А, РПП-300Б. (2 слоя на горячей битумной мастике), покрытый сверху слоем горячей битумной мастики |
П-5 | Грунтовка битумная Гидроизол ГИ-Г (2 слоя на горячей битумной мастике), покрытый сверху слоем горячей битумной мастики |
П-6 | Грунтовка битумная Битум горячий Изол (1 слой), покрытый сверху слоем горячего битума |
П-7 | Изол (1 слой), уложенный насухо с проклейкой стыков горячей битумной мастикой |
П-8 | Грунтовка битумная Мастика битумная горячая Изол (1 слой), покрытый сверху горячей битумной мастикой |
П-9 | Мастика битумно-полимерная эмульсионная холодная (трехкратное покрытие распылением) |
П-10 | Мастика битумно-полимерная эмульсионная холодная, армированная строительной стеклосеткой (четырехкратное покрытие распылением) |
П-11 | Грунтовка битумная Изол (2 слоя на горячей битумной мастике), покрытый сверху слоем горячей битумной мастики |
П-12 | Полиэтиленовая пленка (2 слоя), уложенная насухо с проклейкой стыков битумно-кукерсольной мастикой |
П-13 | Изол (2 слоя), уложенный насухо с проклейкой стыков горячим битумом |
П-14 | Цемент на жидком стекле (1:5) Фольга алюминиевая мягкая (толщина 0,15 - 0,2 мм) |
П-15 | Мастика битумная горячая (двухкратное покрытие) |
П-16 | Мастика "Изол" горячая (двукратное покрытие) |
Примечание: Состав битумно-полимерной эмульсионной холодной мастики (% к весу):
Битум БН-70/30 - 45 - 50; вода - 45 - 50;
Эмульгатор - 2 - 2,5; Латекс - 2 - 3;
Состав водного раствора эмульгатора:
Асидолмылонафт - 2%;
Едкий натр технический -

;
Жидкое стекло - 0,9%
ТЕМПЕРАТУРНО-ВЛАЖНОСТНЫЙ РЕЖИМ ОХЛАЖДАЕМЫХ
ПОМЕЩЕНИЙ РАЗЛИЧНОГО НАЗНАЧЕНИЯ
NN пп | Наименование | Характеристика помещений |
Расчетная температура воздуха tв, °C | Расчетная относительная влажность  , %% |
1 | 2 | 3 | 4 |
1 | Камеры интенсивного замораживания и тоннельные морозилки | -30° | 95 |
2 | Камеры закаливания мороженого | -30 | - |
3 | Камеры длительного хранения особо жирных продуктов (мороженная свинина, птица, жирная рыба) | -30 | 95 |
4 | Камеры накопительные перед замораживанием | -2 | 95 |
5 | Камеры разгрузочные после замораживания | -20 | 95 |
6 | Камеры замораживания масла | -20 | 85 |
7 | Камеры хранения мороженых продуктов (мясо, масло, рыба) | от -20 до -25 | 95 |
8 | Камеры хранения жиров, меланжа | -20 | 95 |
9 | Камера длительного хранения замороженного творога в брикетах | -20 | 85 |
10 | Сортировочная и экспедиция мороженых продуктов | -12 | 95 |
11 | Камеры интенсивного охлаждения мяса | -10 | 95 |
12 | Камеры хранения сельди и рыбы соленой | от -2 до -10 | - |
13 | Камеры охлаждения и краткосрочного (до 15 дней) хранения масла | от -5 до -8 | 85 |
14 | Камеры хранения икры осетровой и лососевой | от -2 до -4 | 90 |
15 | Камеры охлаждения и хранения яиц | -2 | 90 |
16 | Камеры хранения охлажденного мяса | от -1 до -2 | 90 |
17 | Камера хранения топленого масла | от 0 до -5 | 85 |
18 | Камеры хранения рыбы горячего и холодного копчения | от 0 до -2 | 80 |
19 | Камеры хранения сыров | от 0 до -2 | 80 |
20 | Камеры охлаждения и хранения продуктов в охлажденном состоянии | от +4 до -2 | 95 |
21 | Камеры хранения сметаны в кадках | от 0 до -1 | 85 |
22 | Сортировочная и экспедиция охлажденных продуктов | 0 | - |
23 | Камеры хранения кулинарии (печеной, вареной, жареной) | от 0 до +2 | 80 |
24 | Камера хранения охлажденной рыбы | 0 | 90 |
25 | Общая камера хранения молочной бутылочной продукции | 0 | 85 |
26 | Камеры предварительного охлаждения всех видов плодов на заготовительных холодильниках | 0 | 90 |
27 | Камеры хранения плодов, ягод, овощей | от -1 до +4 | 90 |
28 | Камеры хранения всех видов вареных колбасных изделий | 4 | 85 |
29 | Камеры для созревания сыров | 10 | 80 |
30 | Камеры производства фасованного мяса и мясных полуфабрикатов | 12 | 75 |
31 | Камеры колбасных заводов (разрубочные, обвалочные, жиловочные, сушильные и др.) | 12 | 75 |
Примечание: Характеристики охлаждаемых помещений, не представленные в данной таблице, следует определять по соответствующим отраслевым технологическим нормам проектирования, а также по "Рекомендациям по проектированию холодильных установок"
(М. 1962 г., ВНИХИ).
ПРИМЕР РАСЧЕТА ДОПУСТИМОГО СНИЖЕНИЯ ТЕПЛОЗАЩИТНЫХ
СВОЙСТВ НАРУЖНЫХ ОГРАЖДЕНИЙ ХОЛОДИЛЬНИКА
Рассмотрим наружные кирпичные стены камер хранения мороженых грузов (tк = -20 °C), изолированные различными материалами. Холодильник эксплуатируется в районе Москвы (средняя годовая температура tв = 5 °C).
Определим допустимое с экономической точки зрения снижения теплозащитных свойств наружных стен, выражаемое соотношением фактического и нормативного (первоначального) значений сопротивлений теплоотдаче, т.е.

.
| | ИС МЕГАНОРМ: примечание. В официальном тексте документа, видимо, допущена опечатка: имеется в виду формула (8.1), а не формула 5. | |
Исходные данные, принимаемые для анализа соотношения

(см.
формулу 5), приводятся в следующей таблице:
Теплоизоляционный материал | Расчетное значение теплопроводности теплоизоляции  , Вт/м·ч°C | Сметная стоимость теплоизоляционной конструкции Cиз. руб/м3 | Значение величин, одинаковых для всех анализируемых конструкций |
Торфяные плиты | 0,087 | 85 | |
Ячеистый бетон (пенобетон) | 0,163 | 332 | Rк = 0,52 n = 8640 |
Жесткие минераловатные плиты на битумном связующем | 0,08 | 80 | m = 2,4 a = 1,07 Cх = 0,026 Eн = 0,15 |
Величина допустимого соотношения:
а) при стенах, изолированных торфяными плитами,
б) при стенах, изолированных ячеистым бетоном
| | ИС МЕГАНОРМ: примечание. Формула дана в соответствии с официальным текстом документа. | |
в) при стенах, изолированных жесткими минераловатными плитами на битумном связующем
| | ИС МЕГАНОРМ: примечание. Формула дана в соответствии с официальным текстом документа. | |

.
Таким образом, расчетом установлено, что экономически допустимое значение снижения фактического сопротивления теплопередаче наружных стен камер хранения мороженых грузов, изолированных торфяными плитами, составляет 46%; стен, изолированным ячеистым бетоном, 55%; стен, изолированных жесткими минераловатными плитами на битумном связующем, 50% первоначального (проектного) значения.
РАСЧЕТ УЧАСТКА ЭЛЕКТРООБОГРЕВА С ГРЕЮЩИМ КАБЕЛЕМ
Наименование и обозначение расчетных параметров | Единицы измерения | Способ определения параметров | Расчетные величины |
1 | 2 | 3 | 4 |
1. | Площадь пола Fп | м2 | | 586,5 |
2 | Количество колонн n1 (всего один тип) | | -"- | 12 |
3 | Глубина заложения плиты обогрева hпл | м | -"- | 0,53 |
4 | Сопротивление теплопередаче пола Rо | м2·°C/Вт | -"- | 4,8 |
5 | Коэффициент теплопроводности материала колонны,  | Вт/м °C | | 2,04 |
6 | Площадь колонны Fк | м2 | | 0,16 |
7 | Характеристики стен | | | |
| тип 1 | | | |
| длина Lс1 | м | | 23,88 |
| толщина b1 | м | | 0,26 |
| коэффициент теплопроводности материала  | Вт/м°C | | 2,04 |
| тип 2 | | | |
| длина Lс2 | м | | 23,88 |
| толщина b2 | м | | 0,52 |
| коэффициент теплопроводности  | Вт/м°C | | 1,86 |
| тип 3 | | | |
| длина Lс3 | м | | 24,56 |
| толщина b3 | м | | 0,12 |
| коэффициент теплопроводности  | Вт/м°C | | 0,82 |
| тип 4 | | | |
| длина Lс4 | м | | 24,56 |
| толщина b4 | м | | 0,12 |
| коэффициент теплопроводности  | Вт/м°C | | 0,82 |
8. | Температура воздуха в холодильной камере tв | °C | | -20 |
9 | Температура плиты tп | °C | | +2 |
10 | Требуемая тепловая мощность обогрева пола Qп | Вт/м2 | | 5,53 |
11 | Мощность обогрева одной колонны Qк | Вт | | 5,025 |
12 | Мощность обогрева стены Qстj | Вт/м | | |
| тип 1 | | | 27,6 |
| тип 2 | | | 50,4 |
| тип 3 | | | 5,1 |
| тип 4 | | | 5,1 |
13. | Требуемая мощность обогрева участка qF | Вт | | 4079,7 |
14 | Требуемая электрическая мощность обогрева участка Pу | Вт | Pу = 1,7qF | 6936 |
| Марка кабеля | ПНВСВ 1 x 1,2 |
15 | Количество секций m | Выбирается | | 7 |
16 | Напряжение U | В | | 220 |
17 | Мощность одной секции Pс | Вт | Pс = Pу/m | 990,8 |
18 | Предварительное сопротивление секции rс | Ом | rс = U2/Pс | 48,9 |
19 | Предварительная длина кабеля секции l | м | l = rс/rи | 469,7 |
20. | Предварительная сила тока секции Iс | А | Iс = U/rс | 4,5 |
21 | Величина тепловыделений на 1 м провода qпр | Вт/м | | 2,11 |
| | ИС МЕГАНОРМ: примечание. Нумерация пунктов дана в соответствии с официальным текстом документа. | |
|
23 | Предварительный шаг раскладки провода s | м | s = qпр/(КзQп) | 0,246 |
24 | Число проводов обогрева стены с 1 стороны | | | |
| тип 1 | | | 11 |
| тип 2 | | | 21 |
| тип 3 | | | 2 |
| тип 4 | | | 2 |
Полученные результаты означают, что стены типа 1 и 2 должны быть теплоизолированы |
25 | Необходимая длина провода на обогрев колонны lк | м | lк = КзQк/qпр | 4,05 |
Проводится реальная раскладка провода для секции N 1 |
26 | Шаг раскладки s' | м | из проекта | 0,366 |
27 | Длина провода на обогрев 1 колонны  | м | -"- | 5,93 |
28 | Уточненная длина провода на обогрев секций 1  | м | -"- | 368 |
Поверочный расчет |
29 | Сопротивление секции rс | Ом | | 38,3 |
30 | Рабочий ток секции Iс | А | Iс = U/rс | 5,75 |
31 | Величина тепловыделений 1 м кабеля qпр | Вт/м | | 3,43 |
32 | Мощность обогрева пола Pп | Вт/м2 | Pп = qпр/s' | 9,4 |
33 | Мощность обогрева 1 м стены Pст | Вт/м | Pст = (N1j + N2j)qпр | |
| тип 1 | | | 75,6 |
| тип 2 | | | 144,3 |
| тип 3 | | | 20,6 |
| тип 4 | | | 20,6 |
Примечание: Для снижения мощностей обогрева стен типа 1 и 2 необходимо их теплоизолировать. |
34. | Мощность обогрева колонны Pк | Вт | | 20,7 |
35. | Мощность секции  | Вт | | 1270 |
36 | Максимальная температура жилы провода tж | °C | | 26 |
37 | Коэффициенты запаса мощности обогрева | | | |
| а) пола Кзп | | Кзп = Pп/Qп | 1,89 |
| б) колонны Кзк | | Кзк = Pк/Qк | 4,13 |
| в) стены Кзсj | | Кзсj = Pсj/Qстj | |
| тип 1 | | | 2,79 |
| тип 2 | | | 2,91 |
| тип 3 | | | 4,12 |
| тип 4 | | | 4,12 |
Примечание: Коэффициенты запаса мощности обогрева колонны и всех типов стен велики. Следует уменьшить длину греющего кабеля у стен и колонн.
Рис. П.8.1. Пример раскладки кабеля
РАСЧЕТ СЕКЦИИ ЭЛЕКТРООБОГРЕВА КОНСТРУКЦИИ ПОЛА
В ЗОНЕ ТЕПЛОПРОВОДНЫХ ВКЛЮЧЕНИЙ
Наименование и обозначение расчетных параметров | Единицы измерений | Способ определения параметра | Расчетная величина |
1 | 2 | 3 | 4 |
1 | Площадь обогрева пола секции Fп | м2 | | 384 |
2 | Температура воздуха в камере tв | °C | | -20 |
3 | Температура обогревающей плиты tп | °C | | +2 |
| | ИС МЕГАНОРМ: примечание. В официальном тексте документа, видимо, допущена опечатка: правильный номер СНиП 2.11.02-87, а не СНиП 2.11.02.87 | |
|
4 | Требуемое сопротивление теплопередаче конструкции пола Rо | м2·°C/Вт | | 5,5 |
5 | Требуемая тепловая мощность обогрева 1 м2 пола Qп | Вт/м2 | | 4,4 |
6 | Требуемая мощность обогрева секции qF | Вт | qF = Qп·Fп | 1690 |
7 | Активная электрическая мощность Pс | Вт | Pс = КзqF = 3qF | 5050 |
8 | Диаметр стержней нагревателей d | мм | | 8 |
9 | Длина стержня нагревателя l | км | по проекту | 0,048 |
10 | Удельное активное сопротивление стержней rо | Ом/км | | 8,3 |
11 | Активное сопротивление стержня r | Ом | r = rо·l | 0,4 |
12 | Количество параллельных стержней в группе | | Выбирается по величине активного сопротивления | 7 |
13. | Количеств групп в секции m | то же самое | 2 |
14 | Активное сопротивление секции rс | Ом | | 0,114 |
15 | Коэффициент мощности  | | | 0,7 |
16 | Полное сопротивление zс | Ом | | 0,16 |
17 | Сила тока секции Iс | А | | 210 |
18 | Напряжение секции Uс | В | Uс = Iсzс | 33,5 |
19 | Расчетное напряжение трансформатора Uт | В | Uт = Uс/0,9 | 37,4 |
20 | Трансформатор марки | | | |
а) | наложение с низкой стороны Uт | В | по паспорту трансформатора | 42,6 |
б) | предельно допустимая сила тока Iд | А | | 427 |
21 | Сила тока нагрузки трансформатора  | А | | 240 |
22 | Фактический к-т запаса  | - | | 3,9 |
ОСНОВНЫЕ РАСЧЕТНЫЕ ВЕЛИЧИНЫ ФИЗИЧЕСКИХ
ПОКАЗАТЕЛЕЙ СТРОИТЕЛЬНЫХ МАТЕРИАЛОВ
NN пп | Наименование материалов | Плотность  кг/м3 | Расчетные коэффициенты |
теплопроводности  ,  | паропроницаемости  ,  |
1 | 2 | 3 | 4 | 5 |
| 1. Асбестоцементные изделия | | | |
| | ИС МЕГАНОРМ: примечание. Взамен ГОСТ 18124-75 Постановлением Минстроя России от 14.07.1995 N 18-68 с 1 июля 1996 года введен в действие ГОСТ 18124-95. | |
|
1 | Асбестоцементные плоские листы (ГОСТ 18124-75) | 1800 | 0,52 | 0,03 |
| 2. Асфальтовые и битумные материалы | | | |
2 | Асфальт в полах и стяжках | 1800 | 0,76 | 0,008 |
|
|
3 | Асфальтобетон (ГОСТ 9128-76) | 2100 | 1,05 | 0,008 |
4 | | 1000 | 0,17 | 0,008 |
| 3. Бетоны | | | |
5 | Железобетон | 2500 | 2,04 | 0,03 |
6 | Бетон на гравии или щебне из природного камня | 2400 | 1,86 | 0,03 |
7 | Шлакобетон на топливных (котельных) шлаках и аглопоритобетон | 1600 | 0,78 | 0,083 |
| То же | 1000 | 0,44 | 0,14 |
8 | Шлакобетон на доменных гранулированных шлаках | 1600 | 0,63 | 0,09 |
9 | Термозитобетон (шлакопемзобетон) | 1600 | 0,63 | 0,09 |
10 | Перлитобетон | 1200 | 0,50 | 0,15 |
11 | Керамзитобетон | 1600 | 0,79 | 0,09 |
12 | Бетоны ячеистые (газобетон, пенобетон) | 800 | 0,37 | 0,14 |
| 4. Грунтовые материалы | | | |
13. | Засыпка из сухого песка | 1600 | 0,58 | 0,17 |
14 | Грунт растительный под зданием | 1800 | 1,16 | - |
| 5. Дерево и изделия из него | | | |
| | ИС МЕГАНОРМ: примечание. Взамен ГОСТ 8486-66 Постановлением Госстандарт СССР от 30.09.1986 N 2933 с 1 января 1988 года введен в действие ГОСТ 8486-86. | |
| | ИС МЕГАНОРМ: примечание. Взамен ГОСТ 9463-72 Постановлением Госстандарта СССР от 21.04.1988 N 33 с 1 января 1991 года введен в действие ГОСТ 9463-88. | |
|
15 | Сосна и ель поперек волокон (ГОСТ 8486-66, ГОСТ 9463-72) | 500 | 0,18 | 0,06 |
16 | То же, вдоль волокон | 500 | 0,35 | 0,32 |
17 | Фанера клееная (ГОСТ 3916-69) | 600 | 0,18 | 0,02 |
18 | | 600 | 0,23 | 0,11 |
19 | То же | 300 | 0,14 | 0,30 |
| | ИС МЕГАНОРМ: примечание. Взамен ГОСТ 4598-74 Постановлением Госстроя СССР от 19.12.1985 N 240 с 31 января 1986 года введен в действие ГОСТ 4598-86. | |
| | ИС МЕГАНОРМ: примечание. Взамен ГОСТ 10632-77 Постановлением Госстандарта СССР от 02.02.1989 N 13 с 1 января 1990 года введен в действие ГОСТ 10632-89. | |
|
20 | Плиты древесноволокнистые и древесностружечные (ГОСТ 4598-74, ГОСТ 10632-77) | 1000 | 0,29 | 0,12 |
21 | То же | 600 | 0,16 | 0,13 |
22 | -"- | 200 | 0,08 | 0,24 |
| 6. Кирпичная кладка | | | |
| | ИС МЕГАНОРМ: примечание. Взамен ГОСТ 530-80 Постановлением Минстроя России от 05.12.1995 N 18-103 с 1 июля 1996 года введен в действие ГОСТ 530-95. | |
|
23 | Кирпичная кладка из обыкновенного (ГОСТ 530-80) глиняного обожженного кирпича на цементно-песчаном растворе | 1800 | 0,81 | 0,11 |
24 | Кладка из силикатного (ГОСТ 379-69) кирпича на цементно-песчаном растворе | 1800 | 0,87 | 0,11 |
| 7. Растворы строительные и штукатурка | | | |
25 | Цементно-песчаный раствор или штукатурка из него | 1800 | 0,93 | 0,09 |
26 | Сложный (песок, известь, цемент, раствор или штукатурка из него) | 1700 | 0,87 | 0,098 |
Примечание. Расчетные значения

и

приняты по
СНиП II-3-79** (для условий эксплуатации "Б").
РАСЧЕТНЫЕ ЗНАЧЕНИЯ УПРУГОСТИ ВОДЯНОГО ПАРА
НАРУЖНОГО ВОЗДУХА eн, гПа
Республика, край, область, пункт (областной или краевой центр) | Упругость водяного пара наружного воздуха eн, гПа |
среднегодовая | ср. за 3 наиб. теплых м-ца |
1 | 2 | 3 |
РСФСР | | |
Алтайский край Барнаул | 6,7 | 13,9 |
Амурская область Благовещенск | 7,1 | 17,0 |
Архангельская область Архангельск | 6,8 | 12,5 |
Астраханская область Астрахань | 10,0 | 16,2 |
Башкирская АССР Уфа | 7,2 | 14,0 |
Белгородская область Белгород | 8,1 | 13,9 |
Брянская область Брянск | 8,1 | 14,3 |
Бурятская АССР Улан-Удэ | 5,4 | 12,4 |
Владимирская обл. Владимир | 7,6 | 13,9 |
Волгоградская обл. Волгоград | 7,9 | 13,1 |
Вологодская обл. Вологда | 7,2 | 13,6 |
Воронежская обл. Воронеж | 7,9 | 13,9 |
Горьковская обл. Горький | 7,4 | 13,7 |
Дагестанская АССР Махачкала | 11,5 | 18,6 |
Ивановская обл. Иваново | 7,4 | 13,7 |
Иркутская область Иркутск | 6,0 | 13,2 |
Кабардино-Балкарская АССР Нальчик | 9,9 | 16,5 |
Калининградская обл. Калининград | 9,0 | 14,3 |
Калининская обл. Калинин | 7,7 | 14,0 |
Калмыцкая АССР Элиста | 8,6 | 13,6 |
Калужская обл. Калуга | 7,9 | 14,4 |
Камчатская обл. Петропавловск-Камчатский | 6,2 | 11,5 |
Карельская АССР Петрозаводск | 6,9 | 12,4 |
Кемеровская обл. Кемерово | 6,5 | 13,6 |
Кировская обл. Киров | 6,8 | 12,8 |
Коми АССР Сыктывкар | 5,9 | 12,0 |
Костромская обл. Кострома | 7,5 | 13,9 |
Краснодарский край Краснодар | 10,6 | 17,2 |
Красноярский край Красноярск | 5,4 | 13,2 |
Куйбышевская обл. Куйбышев | 7,1 | 13,3 |
Курганская обл. Курган | 6,6 | 13,1 |
Курская обл. Курск | 7,7 | 14,1 |
Ленинградская обл. Ленинград | 7,3 | 13,7 |
Липецкая обл. Липецк | 7,4 | 14,1 |
Магаданская обл. Магадан | 4,9 | 10,5 |
Марийская АССР Йошкар-Ола | 6,9 | 13,9 |
Мордовская АССР Саранск | 6,9 | 13,4 |
Московская обл. Москва | 7,6 | 13,8 |
Мурманская обл. Мурманск | 5,4 | 9,7 |
Новгородская обл. Новгород | 7,5 | 14,2 |
Новосибирская обл. Новосибирск | 6,6 | 13,9 |
Омская обл. Омск | 6,3 | 12,7 |
Оренбургская обл. Оренбург | 6,9 | 12,9 |
Орловская обл. Орел | 8,0 | 14,1 |
Пензенская обл. Пенза | 7,4 | 13,7 |
Пермская обл. Пермь | 6,5 | 12,7 |
Приморский край Владивосток | 7,9 | 18,0 |
Псковская обл. Псков | 7,7 | 13,9 |
Ростовская обл. Ростов-на-Дону | 8,8 | 14,9 |
Рязанская обл. Рязань | 7,4 | 14,1 |
Саратовская обл. Саратов | 6,9 | 12,9 |
Сахалинская обл. Южно-Сахалинск | 6,9 | 14,9 |
Северо-Осетинская АССР Орджоникидзе | 10,0 | 16,6 |
Свердловская обл. Свердловск | 5,9 | 12,6 |
Смоленская обл. Смоленск | 8,1 | 17,7 |
Ставропольский край Ставрополь | 8,6 | 14,2 |
Тамбовская обл. Тамбов | 7,4 | 14,0 |
Татарская АССР Казань | 6,8 | 13,7 |
Томская обл. Томск | 5,8 | 13,6 |
Тувинская АССР Кызыл | 4,5 | 11,4 |
Тульская обл. Тула | 7,4 | 14,0 |
Тюменская обл. Тюмень | 6,0 | 13,3 |
Удмуртская АССР Ижевск | 6,5 | 13,1 |
Ульяновская обл. Ульяновск | 6,8 | 13,5 |
Хабаровский край Хабаровск | 6,9 | 17,7 |
Челябинская обл. Челябинск | 6,1 | 13,1 |
Чечено-Ингушская АССР Грозный | 10,5 | 17,8 |
Читинская обл. Чита | 4,4 | 12,2 |
Чувашская АССР Чебоксары | 6,9 | 13,7 |
Якутская АССР Якутск | 3,8 | 11,2 |
Ярославская обл. Ярославль | 7,1 | 14,0 |
Украинская ССР | | |
Винницкая обл. Винница | 8,3 | 14,4 |
Волынская обл. Луцк | 8,7 | 14,6 |
Ворошиловградская обл. Ворошиловград | 8,1 | 14,1 |
Днепропетровская обл. Днепропетровск | 8,6 | 14,7 |
Донецкая обл. Донецк | 8,1 | 13,9 |
Житомирская обл. Житомир | 8,5 | 14,7 |
Закарпатская обл. Ужгород | 9,3 | 15,4 |
Запорожская обл. Запорожье | 8,8 | 15,0 |
Ивано-Франковская обл. Ивано-Франковск | 8,8 | 14,9 |
Киевская обл. Киев | 8,5 | 14,7 |
Кировоградская область Кировоград | 8,4 | 14,3 |
Крымская обл. Симферополь | 9,4 | 15,2 |
Львовская обл. Львов | 8,7 | 14,6 |
Николаевская обл. Николаев | 9,4 | 15,4 |
Одесская обл. Одесса | 10,0 | 16,6 |
Полтавская обл. Полтава | 8,2 | 14,2 |
Ровенская обл. Ровно | 8,7 | 14,6 |
Сумская обл. Сумы | 8,1 | 14,6 |
Тернопольская обл. Тернополь | 8,5 | 14,4 |
Харьковская обл. Харьков | 8,0 | 14,0 |
Херсонская обл. Херсон | 9,3 | 15,3 |
Хмельницкая обл. Хмельницкий | 8,3 | 14,3 |
Черкесская обл. Черкессы | 8,6 | 14,9 |
Черниговская обл. Чернигов | 8,3 | 14,7 |
Черновицкая обл. Черновцы | 8,7 | 15,1 |
Белорусская ССР | | |
Брестская обл. Брест | 8,6 | 14,3 |
Витебская обл. Витебск | 7,8 | 14,0 |
Гомельская обл. Гомель | 8,2 | 14,6 |
Гродненская обл. Гродно | 8,3 | 13,9 |
Минская обл. Минск | 7,9 | 13,6 |
Могилевская обл. Могилев | 7,9 | 14,1 |
Узбекская ССР | | |
Андижанская обл. Андижан | 9,9 | 15,7 |
Бухарская обл. Бухара | 8,9 | 13,1 |
Джизакская обл. Джизак | 8,6 | 11,7 |
Каракалпакская АССР Нукус | 7,9 | 14,2 |
Кашкадарьинская обл. Мубарок | 7,7 | 9,2 |
Наманганская обл. Наманган | 9,5 | 15,1 |
Самаркандская обл. Самарканд | 8,9 | 12,3 |
Сухандарьинская обл. Термез | 9,7 | 12,6 |
Сырдарьинская обл. Сырдарья | 10,1 | 16,4 |
Ташкентская обл. Ташкент | 8,8 | 13,2 |
Ферганская обл. Фергана | 9,5 | 14,8 |
Корезмская обл. Ургенч | 8,2 | 13,8 |
Казахская ССР | | |
Актюбинская обл. Актюбинск | 6,2 | 11,8 |
Алма-Атинская обл. Алма-Ата | 7,1 | 11,9 |
Восточно-Казахстанская обл. Усть-Каменогорск | 6,3 | 13,6 |
Гурьевская обл. Гурьев | 7,9 | 14,5 |
Джамбульская обл. Джамбул | 7,7 | 12,2 |
Джезказганская обл. Джезказган | 5,7 | 10,3 |
Карагандинская обл. Караганда | 5,7 | 11,0 |
Кзыл-Ординская обл. Кзыл-Орда | 6,5 | 11,5 |
Кокчетавская обл. Кокчетав | 5,9 | 12,4 |
Кустанайская обл. Кустанай | 6,0 | 12,5 |
Мангышлакская обл. Форт-Шевченко | 9,7 | 18,6 |
Павлодарская обл. Павлодар | 6,1 | 13,0 |
Северо-Казахская обл. Петропавловск | 6,1 | 13,2 |
Семипалатинская обл. Семипалатинск | 6,0 | 12,5 |
Талды-Курганская обл. Талды-Курган | 6,7 | 11,8 |
Тургайская обл. Тургай | 6,1 | 11,6 |
Уральская обл. Уральск | 6,9 | 12,6 |
Целиноградская обл. Целиноград | 5,8 | 11,7 |
Чимкентская обл. Чимкент | 7,8 | 11,0 |
Грузинская ССР | | |
Тбилиси | 10,3 | 16,2 |
Абхазская АССР Сухуми | 12 | 20,4 |
Аджарская АССР Батуми | 13,5 | 21,3 |
Азербайджанская ССР | | |
Баку | 12,2 | 18,7 |
Нахичеванская АССР Нахичевань | 8,1 | 11,9 |
Литовская ССР | | |
Вильнюс | 8,2 | 14,1 |
Молдавская ССР | | |
Кишинев | 8,9 | 15,1 |
Латвийская ССР | | |
Рига | 8,1 | 13,9 |
Киргизская ССР | | |
Фрунзе | 7,8 | 12,6 |
Иссык-Кульская обл. Пржевальск | 6,3 | 11,0 |
Нарынская обл. Нарын | 6,3 | 8,4 |
Ошская обл. Ош | 8,8 | 13,4 |
Таджикская ССР | | |
Душанбе | 9,5 | 13,9 |
Кулябская обл. Куляб | 9,7 | 12,4 |
Курган-Тюбинская обл. Курган-Тюбе | 10,9 | 15,8 |
Ленинабадская обл. Ленинабад | 8,5 | 11,3 |
Армянская ССР | | |
Ереван | 8,5 | 13,3 |
Туркменская ССР | | |
Ашхабадская обл. Ашхабад | 9,3 | 12,9 |
Красноводская обл. Красноводск | 10,5 | 16,4 |
Марыйская обл. Мары | 8,5 | 12,8 |
Ташаузская обл. Ташауз | 7.9 | 13,6 |
Чарджоуская обл. Чарджоу | 9,0 | 13,3 |
Эстонская ССР | | |
Таллин | 7,9 | 14,0 |
СХЕМАТИЧЕСКАЯ КАРТА СССР ДЛЯ ОПРЕДЕЛЕНИЯ
СРЕДНЕГОДОВОЙ СУММАРНОЙ СОЛНЕЧНОЙ РАДИАЦИИ
НА ГОРИЗОНТАЛЬНУЮ ПОВЕРХНОСТЬ В

ПРИМЕРЫ РАСЧЕТА ЭКОНОМИЧЕСКИ ЦЕЛЕСООБРАЗНОГО
СОПРОТИВЛЕНИЯ ТЕПЛОПЕРЕДАЧЕ

Пример - 1. Требуется определить экономически целесообразное сопротивление теплопередаче -

и толщину теплоизоляции -

покрытия из железобетонной плиты с теплоизоляцией из пенополистирола марки ПСБ-С, плотностью

, для холодильной камеры с t
в = -20 °C, в климатических условиях г. Москвы (конструктивная схема покрытия см. рис. п.13.1).
Рис. п.13.1. Конструктивная схема железобетонного покрытия
1 - кровельный ковер с защитным слоем из гравия
на антисептированной мастике; 2 - пароизоляционный слой;
3 - армированная бетонная стяжка; 4 - теплоизоляционный
слой; 5 - железобетонная плита покрытия
Исходные данные приведены в табл. п.13.1.
Таблица п.13.1
Исходные данные к расчету примера 1
NN п/п | Наименование и обозначение расчетных величин | Единица измерения | Способ определения параметра | Расчетные величины |
1 | 2 | 3 | 4 | 5 |
1. | Температура воздуха камеры - tв | °C | по нормам технологического проектирования | -20 |
2. | Стоимость теплоизоляции марки ПСБ-С, Cиз | руб/м3 | прейскуранты и ЕрЕр | 66,6 |
3. | Коэффициент теплопроводности теплоизоляции,  | Вт/(м °C) | | 0,05 |
4. | Коэффициент перевода, m | - | | 2,8 |
5. | Абсолютная максимальная температура наружного воздуха - tа.м. | °C | | 37 |
6. | Среднемесячная максимальная температура наружного воздуха tср.м. | °C | | 23,7 |
7. | Среднегодовая температура наружного воздуха tср.г. | °C | | 3,8 |
8. | Средняя амплитуда суточных колебаний наружного воздуха в июле,  | °C | | 10,4 |
9. | Максимальная интенсивность солнечной радиации на поверхность в июле, Imax | Вт/м2 | | 817 |
10. | Среднесуточное значение интенсивности солнечной радиации в июле, Iср | Вт/м2 | | 327 |
11. | Средняя за год интенсивность солнечной радиации на горизонтальную поверхность, Iср.г. | Вт/м2 | | 105 |
12. | Коэффициент поглощения солнечной радиации поверхностью ограждения  | - | | 0,65 |
13. | Коэффициент теплоотдачи наружной поверхности ограждения  | Вт/(м2°C) | | 11,25 |
14. | Коэффициент учитывающий несовпадение во времени I max и t нmax,  | - | | 0,96 |
15. | Коэффициент теплоинерционности ограждений  | - | | 0,25 |
16. | Коэффициент учитывающий ориентацию ограждения по сторонам света f | - | | 1 |
17. | Скорость ветра v | м/с | | 3,4 |
Расчет

ведется в следующей последовательности
1. Определение

производится по
формуле (6.2), так как t
в < -5 °C.
| | ИС МЕГАНОРМ: примечание. В официальном тексте документа, видимо, допущена опечатка: имеется в виду пункт 6.1.3, а не пункт 6.13. | |
2. Согласно
п. 6.13 коэффициент теплоотдачи наружной поверхности покрытия

.
3. Суммарная амплитуда суточных колебаний температуры наружного воздуха
Таким образом

,

.
4. Суммарная максимальная температура наружного воздуха

;
значение коэффициента

определяем для разности времени наступления t
нmax и I
max 15 - 12 = 3 ч и при значении отношения

; по
табл. 6.2. находим

; значение коэффициента

находим по
табл. 6.3. для конструкции типа r
(рис. п.13.1),

. Подставляя значения исходных данных в
формулу (6.4) получим

.
5. Суммарная среднегодовая температура наружного воздуха

.
| | ИС МЕГАНОРМ: примечание. В официальном тексте документа, видимо, допущена опечатка: имеется в виду пункт 6.1.3, а не пункт 6.13. | |
Для горизонтальной поверхности, согласно
п. 6.13 f - 1; значение I
ср.год. определяем по карте
приложения 12 для г. Москвы I
ср.год. = 115,0 Вт/м
2.
Тогда

.
6. Подставляя значения исходных и расчетных величин в
формулу (6.2) получим

.
7. Толщина

слоя теплоизоляции

,
где

- термическое сопротивление конструктивных слоев, кроме слоя теплоизоляции. В рассматриваемой нами конструкции покрытия, такими слоями являются соответственно:
1 - ж/б покрытие толщиной,

,

;
2 - армированная бетонная стяжка,

;

;
3 - кровельный ковер,

,

;

.

- сопротивление теплопереходу внутренней и наружной поверхности ограждения

.
Пример 2. Требуется определить экономически целесообразное сопротивление теплопередаче

и толщину теплоизоляции -

стеновой конструкции типа "Сэндвич" с алюминиевой обшивкой, ориентированной на юго-запад, утепленной пенопластом ПСБ-С, плотностью

для холодильной камеры с t
в = 0 °C, в климатических условиях г. Еревана (конструктивная схема стены см. рис. п.13.2.) Исходные данные приведены в
табл. п.13.2.
Рис. п.13.2. Конструктивная схема стены типа "СЭНДВИЧ"
1 - металлическая облицовка; 2 - слой теплоизоляции
Таблица п.13.2
Исходные данные к расчету примера 2
NN п/п | Наименование и обозначение расчетных величин | Единица измерения | Способ определения параметра | Расчетные величины |
1 | 2 | 3 | 4 | 5 |
1. | Температура воздуха камеры - tв | °C | по нормам технологического проектирования | 0 |
2. | Коэффициент перевода m | - | | 1.4 |
3. | Абсолютная максимальная температура наружного воздуха - tа.м. | °C | | 41.0 |
4. | Среднемесячная максимальная температура наружного воздуха tср.м. | °C | | 32,5 |
5. | Среднемесячная температура наружного воздуха tн.ср.мес. за nох = 9 мес. периода охлаждения | °C | | 16,1 |
6. | Средняя амплитуда суточных колебаний наружного воздуха в июле,  | °C | | 15,1 |
7. | Максимальная интенсивность солнечной радиации на поверхность в июле, Imax | Вт/м2 | | 554 |
8. | Среднесуточное значение интенсивности и солнечной радиации в июле, Iср | Вт/м2 | | 140 |
9. | Средняя за год интенсивность солнечной радиации на горизонтальную поверхность, Iср.г. | Вт/м2 | | 194,0 |
10. | Коэффициент, учитывающий ориентацию ограждения по сторонам света f | - | | 0,6 |
11. | Коэффициент поглощения солнечной радиации поверхностью ограждения,  | - | | 0,5 |
12. | Коэффициент, учитывающий несовпадение во времени I max и t н.max,  | - | | 0,99 |
13. | Коэффициент теплоинерционности ограждения,  | - | | 1 |
14. | Скорость ветра v | м/сек | | 2,1 |
15. | Стоимость "в деле" теплоизоляции марки ПСБ-С  , C из | руб./м3 | Прейскуранты и ЕРЕР | 91,49 |
Расчет

ведется в следующей последовательности:
1. Определение

производится по
формуле 6.3, т.к. t
в > -5 °C.
2. Согласно
п. 6.1.3. коэффициент теплоотдачи наружной поверхности стены

.
3. Суммарная амплитуда суточных колебаний температуры наружного воздуха
где

.
4. Суммарная максимальная температура наружного воздуха,

.
Определяем значение коэффициента

для разности времени наступления t
н.max и I
max, 15 - 14 = 1 час и при значении отношения

и по
табл. 6.2. Пособия, находим

. Значение коэффициента

находим по
табл. 6.3. для конструкции типа е
(рис. 6.1) 
.
Подставляя значения исходных данных в
формулу 6.4, получаем:

.
Суммарная, средняя за период охлаждения - nох, температура наружного воздуха в °C

.
Для вертикальной поверхности, согласно
п. 6.1.3. f = 0,6; значение I
ср.год. определяем по карте
приложения 12, для г. Еревана

,
тогда

6. Подставляя значения исходных и расчетных величин в
формулу (6.3), получим:
7. Толщина слоя теплоизоляции

,
где

- термическое сопротивление алюминиевой обшивки, которым в данном случае можно пренебречь из-за малой его величины

- сопротивление теплопереходу внутренней и наружной поверхности ограждений

.
ПРИМЕР ТЕПЛОТЕХНИЧЕСКОГО РАСЧЕТА
ПРОВЕТРИВАЕМОГО ПОДПОЛЬЯ ЗДАНИЯ ХОЛОДИЛЬНИКА
Исходные данные.
Место строительства - Москва, здание отдельно стоящее размерами 96 x 50 мм
Высота подполья hп = 1 м.
Сопротивление теплопередаче перекрытия над подпольем
Rо = 4,3 м2·°C/Вт.
Грунт суглинистый W
с = 0,25; W
н = 0,1;

;

;

; C
м = 2100 кДж/м
3°C.
Средняя температура в камерах tв = -20 °C.
tнв = 3,8 °C;
tнл = 11,5 °C.
vср = [(4·0,09 + 3,1·0,07 + 3,5·0,07 + 4,5·0,15 + 4,9·0,16 + 4,1·0,21 + 4,1·0,13 + 44·0,13)·0,93 + (3,8·0,17 + 2,9·0,1 + 3·0,1 + 3,4·0,08 + 3,4 x 0,06 + 3,3·0,11 + 3,4·0,16 + 3,9·0,22)0,88]/2 = 3,48 м/с
vл = 3,06 м/с.
2. Требуемая среднегодовая температура подполья, исключающая промерзание грунта (из
выражения 7.40)

.
3. Требуемый модуль вентилирования определяется по
(7.41), где К
п = 1, так как здание отдельно стоящее

.
4. Действительный модуль вентилирования определяется по
(7.44)

.
5. Среднегодовая температура проветриваемого подполья находится по формулам

;

.
Aл = 330·0,061·3,06 = 264.
7. Величины q, Bл, tлп, tзп определяем методом последовательных приближений.
а) Так как неизвестно t
зп, то первоначально считаем его равным 0; далее по
(7.48) находим
q = 1000·336(0,25 - 0,1)·1400 = 7,05·107 Дж/м3;

.
| | ИС МЕГАНОРМ: примечание. Формула дана в соответствии с официальным текстом документа. | |

.

.
б) Принимаем для дальнейшего расчета tзп = -6 °C.
Тогда повторяем расчет в соответствии с
п. а:
q = 7,05·107 + 500·2100·6 = 7,7·107 Дж/м3;

;

;

.
Отличие исходного tзп = -6 °C от результата tзп = -6,74 °C невелико.
8. Глубина сезонного промерзания грунта определяется по
(7.47)

.
В результате глубина заложения фундамента должна быть не менее 1,85 м в климатических условиях г. Москвы.
Проведенный расчет показывает, что температура воздуха в подполье незначительно отличается от температуры наружного воздуха, но при этом глубина промерзания грунта под холодильником превышает глубину промерзания его в естественных условиях.
Поэтому здесь желательно на зимний период закрыть продухи и сделать подполье непроветриваемым.
РАСЧЕТНЫЕ ЗНАЧЕНИЯ ТЕПЛОФИЗИЧЕСКИХ ХАРАКТЕРИСТИК
ТАЛЫХ И МЕРЗЛЫХ ГРУНТОВ <*>
--------------------------------
| | ИС МЕГАНОРМ: примечание. Взамен СНиП II-18-76 Постановлением Госстроя СССР от 21.12.1988 N 252 с 1 января 1990 года введен в действие СНиП 2.02.04-88. | |
<*> Настоящее приложение соответствует Приложению 1 СНиП II-18-76 "Основания и фундаменты на вечномерзлых грунтах" с переводом размерности теплофизических параметров грунтов в Международную систему единиц СИ. Помещено в Пособие для удобства пользования.
Плотность скелета грунта  ,  , кг/м3 | Суммарная влажность грунта Wс, доли единицы | Коэффициент теплопроводности грунта, Вт/м·°C | Объемная теплоемкость грунта, кДж/м3·°C |
песок | супесь | суглинок и глина | торф |
| | | | | | | | Cт | Cм |
1 | 2 | 3 | 4 | 5 | 6 | 7 | 8 | 9 | 10 | 11 | 12 |
100 | 9 | - | - | - | - | - | - | 0,81 | 1,34 | 4000 | 2300 |
100 | 6 | - | - | - | - | - | - | 0,407 | 0,698 | 2720 | 1680 |
100 | 4 | - | - | - | - | - | - | 0,23 | 0,407 | 1890 | 1260 |
100 | 2 | - | - | - | - | - | - | 0,116 | 0,23 | 1050 | 840 |
200 | 4 | - | - | - | - | - | - | 0,81 | 1,34 | 3780 | 2390 |
200 | 2 | - | - | - | - | - | - | 0,23 | 0,523 | 2100 | 1470 |
300 | 3 | - | - | - | - | - | - | 0,93 | 1,4 | 4150 | 2390 |
400 | 2 | - | - | - | 2,09 | - | 2,09 | 0,93 | 1,4 | 3780 | 2720 |
700 | 1 | - | - | - | 2,09 | - | 2,04 | - | - | 3580 | 2100 |
1000 | 0,6 | - | - | - | 2,04 | - | 1,92 | - | - | 3440 | 2180 |
1200 | 0,4 | - | - | - | 1,92 | 1,57 | 1,8 | - | - | 3100 | 2120 |
1400 | 0,35 | - | - | 1,8 | 1,86 | 1,57 | 1,69 | - | - | 3350 | 2350 |
1400 | 0,3 | - | - | 1,75 | 1,8 | 1,45 | 1,57 | - | - | 3020 | 2180 |
1400 | 0,25 | 1,92 | 2,15 | 1,57 | 1,69 | 1,34 | 1,51 | - | - | 2770 | 2050 |
1400 | 0,2 | 1,57 | 1,86 | 1,34 | 1,51 | 1,1 | 1,22 | - | - | 2470 | 1890 |
1400 | 0,15 | 1,4 | 1,63 | 1,1 | 1,28 | 0,87 | 0,99 | - | - | 2180 | 1760 |
1400 | 0,1 | 1,1 | 1,28 | 0,93 | 1,05 | 0,7 | 0,82 | - | - | 1890 | 1740 |
1400 | 0,05 | 0,76 | 0,82 | 0,64 | 0,7 | 0,47 | 0,52 | - | - | 1600 | 1470 |
1600 | 0,3 | - | - | 1,96 | 1,98 | 1,69 | 1,8 | - | - | 3500 | 2470 |
1600 | 0,25 | 2,5 | 2,74 | 1,8 | 1,92 | 1,51 | 1,69 | - | - | 3150 | 2350 |
1600 | 0,2 | 2,15 | 2,38 | 1,63 | 1,75 | 1,34 | 1,51 | - | - | 2810 | 2140 |
1600 | 0,15 | 1,8 | 2,04 | 1,45 | 1,57 | 1,05 | 1,22 | - | - | 2470 | 2010 |
1600 | 0,1 | 1,45 | 1,63 | 1,16 | 1,28 | 0,87 | 0,93 | - | - | 2160 | 1800 |
1600 | 0,05 | 1,05 | 1,1 | 0,82 | 0,87 | 0,58 | 0,64 | - | - | 1820 | 1680 |
1800 | 0,2 | 2,68 | 2,85 | 1,86 | 1,98 | 1,57 | 1,8 | - | - | 3160 | 2400 |
1800 | 0,15 | 2,27 | 2,62 | 1,69 | 1,8 | 1,4 | 1,57 | - | - | 2770 | 2260 |
1800 | 0,1 | 1,98 | 2,21 | 1,45 | 1,57 | 1,05 | 1,22 | - | - | 2410 | 2030 |
1800 | 0,05 | 1,45 | 1,51 | 0,99 | 0,99 | 0,7 | 0,76 | - | - | 2030 | 1890 |
2000 | 0,1 | 2,74 | 2,91 | 1,75 | 1,86 | 1,28 | 1,4 | - | - | 2630 | 2260 |
2000 | 0,05 | 2,09 | 2,15 | - | - | - | - | - | - | 2260 | 2100 |
Обозначения, принятые в приложении:

,

- коэффициенты теплопроводности талого и мерзлого грунта соответственно;
Cт, Cм - объемная теплоемкость талого и мерзлого грунта соответственно;

,

- плотность скелета грунта соответственно в талом и мерзлом состоянии.
Примечания: 1. Значения теплофизических характеристик крупнообломочных грунтов допускается определять как для песков.
2. Значения теплофизических характеристик засоленных грунтов допускается определять без учета засоленности.
КОЛИЧЕСТВО НЕЗАМЕРЗШЕЙ ВОДЫ В МЕРЗЛЫХ ГРУНТАХ
| | ИС МЕГАНОРМ: примечание. Взамен СНиП II-18-76 Постановлением Госстроя СССР от 21.12.1988 N 252 с 1 января 1990 года введен в действие СНиП 2.02.04-88. | |
Настоящее Приложение помещено для удобства пользования Пособием и соответствует п. 2.12 СНиП II-18-76 "Основания и фундаменты на вечномерзлых грунтах".
Количество незамерзшей воды в мерзлых грунтах Wн допускается для всех видов грунтов, включая грунты с примесью растительных остатков (при q <= 0,1) и засоленные, определять по формуле:

,
где q - относительное содержание растительных остатков (степень заторфованности), принимается в соответствии с требованиями
п. 2.19 главы СНиП II-15-74;
Wр - влажность грунта на границе раскатывания в долях единицы;
| | ИС МЕГАНОРМ: примечание. В официальном тексте документа, видимо, допущена опечатка: имеется в виду таблица П.16.1, а не таблица п.15.1. | |
К
w - коэффициент, принимаемый по
табл. п.15.1. в зависимости от числа пластичности Ip и температуры грунта;
Кп.р. - концентрация порового раствора в засоленном грунте, характеризуется степенью минерализации воды в порах грунта и определяется по формуле

,

,
gz - масса легкорастворимых солей в единице объема грунта, кг/м3;

- плотность скелета мерзлого грунта;
| | ИС МЕГАНОРМ: примечание. В официальном тексте документа, видимо, допущена опечатка: имеется в виду таблица П.16.2, а не таблица П.15.2. | |
К
р - равновесная концентрация порового раствора в засоленном грунте, определяемая опытным путем, а при отсутствии опытных данных - по
табл. П.15.2, (только для значений температуры ниже температуры начала замерзания грунта);
Wг - влажность мерзлого грунта, расположенного между ледяными включениями, определяется опытным путем.
Грунты | Число пластичности грунтов Ip | Коэффициент Кw при температуре гр. °C |
-0,3 | -0,5 | -1 | -2 | -3 | -4 | -6 | -8 | -10 |
Пески и супеси | Ip <= 0,02 | 0 | 0 | 0 | 0 | 0 | 0 | 0 | 0 | 0 |
Супеси | 0,02 < Ip <= 0,07 | 0,6 | 0,5 | 0,4 | 0,35 | 0,33 | 0,3 | 0,28 | 0,26 | 0,25 |
Суглинки | 0,07 < Ip <= 0,13 | 0,7 | 0,65 | 0,6 | 0,5 | 0,48 | 0,45 | 0,43 | 0,41 | 0,4 |
-"- | 0,13 < Ip <= 0,17 | * | 0,75 | 0,65 | 0,55 | 0,53 | 0,5 | 0,48 | 0,46 | 0,45 |
Глины | Ip > 0,17 | * | 0,95 | 0,9 | 0,65 | 0,83 | 0,6 | 0,58 | 0,56 | 0,55 |
Примечание: Знаком * обозначено, что вся вода в порах грунта не замерзла.
Температура грунта, °C | -0,3 | -0,5 | -1 | -2 | -3 | -4 | -6 | -8 | -10 |
Равновесная концентрация порового раствора Кр в долях единицы | 0,003 | 0,005 | 0,012 | 0,026 | 0,045 | 0,062 | 0,100 | 0,135 | 0,168 |
ТЕХНИЧЕСКИЕ ХАРАКТЕРИСТИКИ ИЗОЛИРОВАННЫХ ДВЕРЕЙ
ДЛЯ ХОЛОДИЛЬНЫХ КАМЕР (ТУ 13-313-80)
Основные марки и размеры дверей
Марка | Размеры по габаритам коробки, мм | Размеры полотна, мм | Размеры в свету мм |
1 | 2 | 3 | 4 | 5 | 6 | 7 | 8 |
ПДГ | 240 | 2200 | 2500 | 1920 | 2300 | 1700 | 2200 |
ПДП | 240 | 2200 | 3460 | 1920 | 3260 | 1700 | 3160 |
ПС | 240 | 1400 | 2305 | 1120 | 2100 | 900 | 2000 |
ПДГА | 240 | 2200 | 3350 | 1920 | 3150 | 1700 | 3050 |
ПДГМ | 240 | 2500 | 2614 | 2320 | 2414 | 2000 | 2314 |
ПС-1 | 240 | 1500 | 2305 | 1220 | 2100 | 1000 | 2000 |
ПДГН | 240 | 3500 | 3600 | 3220 | 3400 | 3000 | 3300 |
ПДГМН | 240 | 2500 | 3600 | 2220 | 3400 | 2000 | 3300 |
ПДПМ | 240 | 2500 | 3460 | 2220 | 3260 | 2000 | 3160 |