Главная // Актуальные документы // ПНСТ (Предварительный национальный стандарт)
СПРАВКА
Источник публикации
М.: Стандартинформ, 2017
Примечание к документу
Документ утратил силу с 01.03.2021 в связи с истечением срока действия, установленного Приказом Росстандарта от 27.10.2017 N 26-пнст.

Документ введен в действие с 01.03.2018 на период по 01.03.2021 (Приказ Росстандарта от 27.10.2017 N 26-пнст).
Название документа
"ПНСТ 225-2017. Предварительный национальный стандарт Российской Федерации. Системы бесперебойного питания на основе литий-ионных железо-фосфатных аккумуляторов. Технические требования"
(утв. и введен в действие Приказом Росстандарта от 27.10.2017 N 26-пнст)

"ПНСТ 225-2017. Предварительный национальный стандарт Российской Федерации. Системы бесперебойного питания на основе литий-ионных железо-фосфатных аккумуляторов. Технические требования"
(утв. и введен в действие Приказом Росстандарта от 27.10.2017 N 26-пнст)


Содержание


Утвержден и введен в действие
Приказом Федерального
агентства по техническому
регулированию и метрологии
от 27 октября 2017 г. N 26-пнст
ПРЕДВАРИТЕЛЬНЫЙ НАЦИОНАЛЬНЫЙ СТАНДАРТ РОССИЙСКОЙ ФЕДЕРАЦИИ
СИСТЕМЫ БЕСПЕРЕБОЙНОГО ПИТАНИЯ НА ОСНОВЕ ЛИТИЙ-ИОННЫХ
ЖЕЛЕЗО-ФОСФАТНЫХ АККУМУЛЯТОРОВ
ТЕХНИЧЕСКИЕ ТРЕБОВАНИЯ
Uninterruptible power systems with lithium-iron phosphate
cells. Technical requirements
ПНСТ 225-2017
ОКС 29.200,
29.220.99
ОКПД2 27.20.23.130
Срок действия
с 1 марта 2018 года
до 1 марта 2021 года
Предисловие
1 РАЗРАБОТАН Обществом с ограниченной ответственностью "Региональный консультационно-технический центр автономных источников тока "Фирма Альфа-плюс" (ООО "Фирма Альфа-плюс")
2 ВНЕСЕН Техническим комитетом по стандартизации ТК 044 "Аккумуляторы и батареи"
3 УТВЕРЖДЕН И ВВЕДЕН В ДЕЙСТВИЕ Приказом Федерального агентства по техническому регулированию и метрологии от 27 октября 2017 г. N 26-пнст
ИС МЕГАНОРМ: примечание.
В официальном тексте документа, видимо, допущена опечатка: имеется в виду ГОСТ Р 1.16-2011, а не ГОСТ 1.16-2011.
Правила применения настоящего стандарта и проведение его мониторинга установлены в ГОСТ 1.16-2011 (разделы 5 и 6).
Федеральное агентство по техническому регулированию и метрологии собирает сведения о практическом применении настоящего стандарта. Данные сведения, а также замечания и предложения по содержанию стандарта можно направить не позднее чем за четыре месяца до истечения срока его действия разработчику настоящего стандарта по адресу: 105094, Москва, ул. Б. Семеновская, д. 42, стр. 1, помещение VI и/или в Федеральное агентство по техническому регулированию и метрологии по адресу: 109074, Москва, Китайгородский пр-д, д. 7, стр. 1.
В случае отмены настоящего стандарта соответствующее уведомление будет опубликовано в ежемесячных изданиях: информационном указателе "Национальные стандарты" и журнале "Вестник технического регулирования". Уведомление также будет размещено на официальном сайте Федерального агентства по техническому регулированию и метрологии и в сети Интернет (www.gost.ru)
Введение
Литий-ионные аккумуляторы являются эффективной альтернативной системой аккумулирования энергии для систем накопления энергии, которые можно с успехом использовать в составе систем бесперебойного питания. Их основные преимущества - большая удельная энергия (как объемная, так и весовая) и ресурс, существенно меньший саморазряд, чем у традиционных систем на основе свинцово-кислотных и никель-кадмиевых аккумуляторов. Это имеет существенное значение, особенно для систем с высокими требованиями к количеству запасаемой энергии, так как в несколько раз снижает их объем и массу. Немаловажным фактором является также их полная герметичность, исключающая требование к вентилируемости помещений для вывода взрывоопасных газов, выделение которых характерно для всех свинцово-кислотных и большинства никель-кадмиевых систем. Для этих систем проще обеспечить термокондиционирование и перейти с воздушной на жидкостные системы.
Однако применение систем с высокими энергетическими показателями на основе органических растворителей (в большинстве случаев являющихся горючими соединениями), а также характерная для некоторых литий-ионных систем нестабильность, возникающая при превышении рекомендованных значений параметров (например, напряжения при заряде), которая может перейти в режим теплового разгона с дальнейшим воспламенением и взрывом, требует повышенного внимания к предотвращению возможных опасностей. Одним из эффективных подходов снижения рисков является активная безопасность - использование дополнительных (в основном электронных) устройств, способных контролировать и управлять поведением объекта, поддерживая его состояние в пределах допустимых значений. Этот вопрос в большинстве случаев решают на стадии конструирования и изготовления систем бесперебойного питания. Задача облегчается, если при изготовлении используют функционально законченные модули, уже содержащие необходимые элементы защиты, спроектированные и установленные изготовителем аккумуляторов или лицензированным им сборщиком с учетом особенностей аккумуляторов и их возможной реакции на ситуации, возникающие при эксплуатации или при возможном неправильном использовании. Поэтому многие изготовители аккумуляторов, следуя введенной у них политике безопасности, строго дифференцируют минимальную единицу поставки и не допускают в свободное обращение одиночные аккумуляторы во избежание серьезных последствий их неправильного применения.
Такой подход к контролю состояния системы позволяет получить качественно другие потребительские характеристики, в первую очередь по надежности, малообслуживаемости, своевременному информированию о возможных проблемах системы.
Все это обуславливает необходимость отдельного рассмотрения систем на основе литий-ионных аккумуляторов, особенно высокомощных.
1 Область применения
Настоящий стандарт распространяется на системы бесперебойного питания на основе литий-ионных аккумуляторных батарей с катодами из фосфата железа, оборудованные системами контроля и управления и предназначенные для низковольтных систем электропитания до 1000 В сетей переменного трехфазного тока номинальным напряжением 380 В и частотой 50 Гц.
Системы предназначены для работы во всех областях промышленности и на объектах потребителей первой категории и первой особой группы, не допускающих ухудшения качества и перерывов электроснабжения.
Настоящий стандарт распространяется на стационарные и передвижные системы мощностью 40 кВА и выше, размещенные в шкафах.
Стандарт не распространяется на системы на основе вращающихся машин.
2 Нормативные ссылки
В настоящем стандарте использованы нормативные ссылки на следующие стандарты:
ГОСТ 12.1.044 Пожаровзрывоопасность веществ и материалов. Номенклатура показателей и методы их определения
ГОСТ 14192 Маркировка грузов
ГОСТ 14254 (МЭК 529-89) Степени защиты, обеспечиваемые оболочкой (Код IP)
ГОСТ 21130 Изделия электротехнические. Зажимы заземляющие и знаки заземления. Конструкция и размеры
ГОСТ 23216 Изделия электротехнические. Хранение, транспортирование, временная противокоррозионная защита, упаковка. Общие требования и методы испытаний
ГОСТ 30331.5 (МЭК 364-4-43-77) Электроустановки зданий. Часть 4. Требования по обеспечению безопасности. Защита от сверхтока
ГОСТ 30331.6 (МЭК 364-4-45-84) Электроустановки зданий. Часть 4. Требования по обеспечению безопасности. Защита от понижения напряжения
ГОСТ 30331.7 (МЭК 364-4-46-81) Электроустановки зданий. Часть 4. Требования по обеспечению безопасности. Отделение, отключение, управление
ГОСТ 30331.9 (МЭК 364-4-473-77) Электроустановки зданий. Часть 4. Требования по обеспечению безопасности. Применение мер защиты от сверхтоков
ГОСТ 31947 Провода и кабели для электрических установок на номинальное напряжение до 450/750 В включительно. Общие технические условия
ГОСТ 31996 Кабели силовые с пластмассовой изоляцией на номинальное напряжение 0,66; 1 и 3 кВ. Общие технические условия
ГОСТ 32133.2 (IEC 62040-2:2005) Совместимость технических средств электромагнитная. Системы бесперебойного питания. Требования и методы испытаний
ГОСТ IEC 60950-1 Оборудование информационных технологий. Требования безопасности. Часть 1. Общие требования
ГОСТ IEC 61140 Защита от поражения электрическим током. Общие положения безопасности установок и оборудования
ИС МЕГАНОРМ: примечание.
Взамен ГОСТ IEC 62040-1-2013 Приказом Росстандарта от 08.11.2018 N 954-ст с 01.03.2019 введен в действие ГОСТ IEC 62040-1-2018.
ГОСТ IEC 62040-1-2013 Системы бесперебойного энергоснабжения (UPS). Часть 1. Общие требования и требования безопасности к UPS
ГОСТ Р 50571.3 (МЭК 60364-4-41:2005) Электроустановки низковольтные. Часть 4-41. Требования для обеспечения безопасности. Защита от поражения электрическим током
ИС МЕГАНОРМ: примечание.
Взамен ГОСТ Р МЭК 60050-482-2011 Приказом Росстандарта от 07.10.2019 N 964-ст с 01.05.2020 введен в действие ГОСТ Р 58593-2019.
ГОСТ Р МЭК 60050-482 Источники тока химические. Термины и определения
ГОСТ Р МЭК 60664.1-2012 Координация изоляции для оборудования в низковольтных системах. Часть 1. Принципы, требования и испытания
ГОСТ Р МЭК 62620-2016 Аккумуляторы и аккумуляторные батареи, содержащие щелочной или другие некислотные электролиты. Аккумуляторы и батареи литиевые для промышленных применений
Примечание - При пользовании настоящим стандартом целесообразно проверить действие ссылочных стандартов в информационной системе общего пользования - на официальном сайте Федерального агентства по техническому регулированию и метрологии в сети Интернет или по ежегодному информационному указателю "Национальные стандарты", который опубликован по состоянию на 1 января текущего года, и по выпускам ежемесячного информационного указателя "Национальные стандарты" за текущий год. Если заменен ссылочный стандарт, на который дана недатированная ссылка, то рекомендуется использовать действующую версию этого стандарта с учетом всех внесенных в данную версию изменений. Если заменен ссылочный стандарт, на который дана датированная ссылка, то рекомендуется использовать версию этого стандарта с указанным выше годом утверждения (принятия). Если после утверждения настоящего стандарта в ссылочный стандарт, на который дана датированная ссылка, внесено изменение, затрагивающее положение, на которое дана ссылка, то это положение рекомендуется применять без учета данного изменения. Если ссылочный стандарт отменен без замены, то положение, в котором дана ссылка на него, рекомендуется применять в части, не затрагивающей эту ссылку.
3 Термины и определения
ИС МЕГАНОРМ: примечание.
Взамен ГОСТ Р МЭК 60050-482-2011 Приказом Росстандарта от 07.10.2019 N 964-ст с 01.05.2020 введен в действие ГОСТ Р 58593-2019.
В настоящем стандарте применены термины по ГОСТ Р МЭК 60050-482, а также следующие термины с соответствующими определениями.
3.1 Общие понятия
3.1.1 система бесперебойного питания; СБП: Сочетание преобразователей, переключателей и устройств хранения электроэнергии (например, аккумуляторных батарей), образующее систему электропитания для поддержания непрерывности питания нагрузки в случае отказа или ухудшения качества основного источника энергоснабжения.
Примечание - Перебой подачи питания возможен, если не обеспечено постоянное соблюдение допустимых пределов колебаний напряжения и частоты, либо искажения и перерывы подачи питания превышают нормы, установленные для данной СБП.
3.1.2 байпас: Резервная цепь для подачи электропитания в обход основной схемы как составляющая часть СБП или внешняя по отношению к нему.
3.1.3 аккумулятор: Вторичный (перезаряжаемый) элемент (химический источник тока), способный в результате происходящих в нем при внешнем воздействии электрохимических реакций накапливать электрическую энергию, преобразуя ее в химическую, хранить ее продолжительное время и отдавать обратно, преобразуя в электрическую, повторяя этот цикл многократно.
Примечание - Под внешним воздействием понимают подключение внешнего источника электрической энергии с заданными параметрами, позволяющими осуществить заряд аккумулятора, разрыв внешней цепи для обеспечения сохранности заряда (создавая условия отсутствия внешней нагрузки), включение в общую цепь или подключение к резистивной нагрузке.
3.1.4 литий-ионный аккумулятор: Аккумулятор с органическим неводным электролитом, положительными и отрицательными электродами, содержащими компоненты, способные поглощать и длительно удерживать ионы лития, встраивая их в свою структуру без существенных пространственных искажений, и впоследствии отдавать их обратно, в котором электрическая энергия запасается при заряде путем переноса ионов лития из положительного электрода в отрицательный и выделяется при разряде при их перемещении в обратном направлении.
Примечания
1 Литий-ионные аккумуляторы не содержат металлического лития.
2 Процесс встраивания ионов лития в структуру называется также внедрением, или интеркаляцией, а обратный процесс - экстракцией, или деинтеркаляцией.
3 Электролит всех типов литий-ионных аккумуляторов может быть в свободном жидком виде, в иммобилизованном в полимерной матрице состоянии и в виде ионопроводящей твердой полимерной мембраны.
3.1.5 литий-ионный железо-фосфатный аккумулятор: Разновидность литий-ионных аккумуляторов, в качестве основного компонента катода которых использован литированный фосфат железа оливиновой структуры.
Примечания
1 Основным преимуществом литий-ионных железо-фосфатных электродов является их пассивная безопасность - низкая вероятность теплового разгона при заряде или физическом разрушении. Под пассивной безопасностью подразумевают наличие определенных свойств самого аккумулятора, проявляемых им даже при отсутствии электронных (активных) компонентов безопасности.
2 В качестве анодных материалов могут быть использованы, например, модификации углеродных материалов, титанаты и т.д.
3 Номинальное напряжение литий-ионных железо-фосфатных аккумуляторов обычно составляет 3,2 В, что характерно для наиболее массово используемых анодов на основе углеродных материалов. При использовании других анодных материалов номинальное напряжение может быть иным.
3.1.6 балансировка: Процесс приведения аккумуляторов при их последовательном соединении в накопителе в состояние близкой степени заряженности (СЗ) путем подачи дополнительной энергии на аккумуляторы, имеющие меньшую СЗ, или отбора части энергии от аккумуляторов, имеющих большую СЗ, для обеспечения максимально возможной СЗ накопителя при заряде.
Примечания
1 Необходимость балансировки возникает даже для изначально идеально подобранных аккумуляторов, так как в процессе эксплуатации, в основном из-за градиента температур по объему аккумуляторного накопителя (НА), скорость деградационных процессов и связанных с ними процессов саморазряда отдельных аккумуляторов разная, вследствие чего происходит расхождение значимых параметров. В результате аккумулятор, имеющий, например, более низкий саморазряд, подойдет при заряде к значению величины отключения НА раньше, что приведет к снижению разрядной емкости НА в следующем цикле, так как она будет определяться аккумулятором, имеющим в итоге наименьшую емкость.
2 Наиболее распространенные типы балансировки - пассивная и активная, основанные на сближении параметров при заряде, но иногда применяют балансировку, основанную на сближении параметров при разряде, используя специальные схемные решения периодическим проведением глубокого разряда аккумуляторов до минимального допускаемого изготовителем значения.
3.1.7 пассивная балансировка: Шунтирование в конце заряда отдельных аккумуляторов сопротивлением с целью снижения тока заряда аккумулятора, имеющего большее напряжение (а значит, и СЗ) по сравнению с другими.
3.1.8 активная балансировка: Передача части энергии между соседними аккумуляторами в последовательной цепи или использование части энергии всей батареи для корректировки СЗ "отстающих" аккумуляторов, может быть проведена как при заряде, так и при разряде.
3.2 Элементы структуры аккумуляторного накопителя
3.2.1 одиночный аккумулятор; ОА: Аккумулятор, доступный потребителю для самостоятельной сборки в батарею с требуемыми ему характеристиками.
Примечание - Одиночный аккумулятор может иметь встроенные простейшие предохранительные элементы электрического или механического типа, но не содержать элементы электронной защиты в виде самостоятельных плат.
3.2.2 аккумуляторная группа накопителя; ГА: Набор аккумуляторов, скомплектованный по основным параметрам, влияющим на работоспособность, для совместного использования при последовательном соединении.
Примечание - К таким параметрам обычно относят дату изготовления, одинаковые условия хранения, энергоемкость, внутреннее сопротивление и др.
3.2.3 аккумуляторный модуль; МА: Минимально доступная потребителю сборочная единица, состоящая из одного или нескольких аккумуляторов, соединенных последовательно, параллельно или в любой иной комбинации для обеспечения требуемых емкостных и мощностных параметров, элементов коммутации, а также в необходимых случаях включающая БКУ, элементы информационных и других вспомогательных систем, размещенных в едином корпусе.
Примечания
1 В качестве элементов вспомогательных систем могут быть, например, трубопроводы/патрубки/фланцы систем теплового кондиционирования.
2 МА имеет объем защиты, позволяющий использовать его по назначению потребителю, не имеющему специальной квалификации.
3.2.4 аккумуляторный накопитель энергии; НА: Набор аккумуляторов, ГА, МА, соединенных последовательно, параллельно или в любой иной смешанной конфигурации, снабженный электронными и иными средствами контроля и управления, обеспечивающими контроль непосредственно или по иерархии за состоянием каждого аккумулятора.
Примечание - Часть контролирующих и управляющих устройств может находиться непосредственно в оборудовании пользователя.
3.3 Свойства накопителей
3.3.1 фактическая энергия (энергоемкость аккумуляторов, МА, НА) Eф, Вт·ч: Количество энергии, определенное экспериментально в заданный момент времени при разряде с постоянной заданной мощностью до заданного конечного напряжения и при заданной температуре.
Примечания
1 Значение фактической энергии изменяется в ходе рабочих циклов или срока службы.
2 Значение фактической энергии - наиболее важный показатель для потребителя, так как именно он характеризует полезную работу, которую может получить потребитель в требуемых ему условиях.
3.3.2 энергия (энергоемкость) начальная Eнач., Вт·ч: Фактическая энергоемкость сразу после изготовления, технологической выдержки и приемки службами контроля изготовителя.
3.3.3 энергия (энергоемкость) номинальная Eн, Вт·ч: Нормируемая энергия, которую аккумулятор, МА, НА должен отдать в режиме разряда, указанном изготовителем как основной режим.
3.3.4 энергия (энергоемкость) нормируемая En, Вт·ч: Количество энергии, которую аккумулятор, МА, НА должен отдать в заданном n-часовом режиме разряда.
3.3.5 степень заряженности; СЗ: Доступная в текущем состоянии емкость/энергоемкость батарейного модуля или системы, отнесенная к величине фактической емкости/энергоемкости.
Примечания
1 Степень заряженности выражается в процентах от фактической емкости/энергоемкости.
2 В связи с деградационными процессами в аккумуляторах их емкость постепенно снижается, достигая к концу срока службы значения 0,6Eн, поэтому величина емкости, соответствующая, например, СЗ = 100% или СЗ = 50%, в процессе эксплуатации также снижается.
3 Термин введен для привязки к величине полного заряда батареи, что особенно существенно при проведении ее заряда. Понятие важно также для применений, в которых используется понятие целевой степени заряженности (СЗЦ) для обеспечения возможности в любой момент не только отдать требуемую энергию, но получить ее от устройства потребителя, например при рекуперации.
3.4 Режимы работы накопителей
3.4.1 буферный накопитель: Накопитель, который после достижения установленного значения СЗ не отключают от цепи заряда и нагрузки, что позволяет производить его немедленное использование для питания нагрузки без использования коммутационных размыкающих устройств, обеспечивая тем самым сплошность питания.
Примечание - СЗЦ аккумуляторов буферного накопителя устанавливают, как правило, в диапазоне СЗ от 70 до 90% по рекомендации изготовителя аккумуляторов, так как при этом существенно повышается его ресурс благодаря снижению скорости деградационных процессов в аккумуляторе, имеющих максимальные значения при значениях СЗ 0 и 100%.
3.4.2 резервный накопитель: Накопитель, который после достижения установленного значения СЗ отключают от цепи заряда и нагрузки, с определенной периодичностью вновь включая в цепь заряда для компенсации потерь от саморазряда аккумуляторов и потребления вспомогательных и контролирующих систем, и который подключается к нагрузке в случае пропадания питания внешней сети или снижения ее мощности ниже требуемой.
Примечание - СЗЦ аккумуляторов резервного накопителя можно держать близкой к 100%. Однако если частота отключения основного питания невысока, то с целью увеличения срока службы целесообразно устанавливать СЗЦ на уровне значений, рекомендованных изготовителем аккумуляторов для режима долговременного хранения.
3.4.3 режим сна: Состояние НА, при котором он отключен от цепей заряда и разряда, а внутреннее потребление БКУ/СКУ на диагностику и регистрацию данных сведено к минимуму путем уменьшения частоты и объема диагностики.
3.4.4 режим защиты: Отключение НА от цепи разряда и/или заряда при выходе контролируемых параметров НА и цепей за допустимые диапазоны значений с последующим обратным включением при устранении причин, вызвавших переход в это состояние.
3.5 Защита и безопасность
3.5.1 блок контроля и управления; БКУ: Электронная система, которая контролирует и/или управляет состоянием входящих в ГА аккумуляторов и вспомогательных систем, рассчитывает вторичные данные, индицирует или передает эти данные непосредственно в устройство назначения или СКУ и получает и исполняет команды внешнего устройства или СКУ для обеспечения безопасного функционирования, повышения рабочих характеристик и/или срока службы НА, а также повышения удобства эксплуатации.
3.5.2 системы контроля и управления; СКУ: Электронная система, которая контролирует и/или управляет состоянием входящих в НА аккумуляторов и вспомогательных систем непосредственно или через соответствующие БКУ, рассчитывает вторичные данные, индицирует или передает эти данные непосредственно в устройство назначения и получает и исполняет команды внешнего устройства для обеспечения безопасного функционирования, повышения рабочих характеристик и/или срока службы НА, а также повышения удобства эксплуатации.
3.5.3 безопасность: Отсутствие неприемлемого риска при использовании НА.
Примечания
1 В области стандартизации безопасность продукции, процессов и услуг обычно рассматривается с точки зрения достижения оптимального баланса ряда факторов, включая нетехнические факторы, такие как поведение человека, что позволит снизить неоправданные риски вреда для людей и имущества до приемлемого уровня.
2 Неприемлемый риск должен быть определен в каждом конкретном случае.
3.5.4 область безопасного использования (НА, МА, ОА): Диапазон значений значимых для поддержания безопасности величин, к числу которых относятся, например, верхний и нижний пределы напряжений, максимальный ток постоянного использования и импульсный, причем значения величин обычно зависят от температуры.
Примечание - Область безопасного использования обычно шире, чем область, рекомендуемая изготовителем для эксплуатации, так как не принимает во внимание такие параметры, как ресурс, для обеспечения которого на приемлемом для потребителя уровне может потребоваться сужение диапазонов значений всех или части параметров.
3.5.5 пассивная безопасность (аккумулятора, батареи): Совокупность конструктивных и эксплуатационных свойств химического источника тока, обеспечивающих низкий риск возникновения неприемлемого ущерба, являющаяся следствием характеристик самой литий-ионной электрохимической системы с определенным составом электродных активных масс, видом электролита и сепаратора без возможного улучшения за счет использования предохранительных и ограничивающих электронных устройств.
Примечание - Пассивная безопасность направлена на снижение последствий произошедшего события и не может влиять на факт возникновения ситуации иначе, чем через определение области безопасного использования.
3.5.6 активная безопасность: Совокупность конструктивных и эксплуатационных свойств химического источника тока, направленных на предотвращение возникновения опасностей и исключение предпосылок их возникновения, связанных с конструктивными особенностями дополнительно установленных на источнике тока защитных элементов, обеспечивающих своевременный возврат в область значений параметров безопасной эксплуатации.
Примечание - Активная безопасность направлена на снижение вероятности возникновения опасной ситуации путем регулирования параметров внешнего воздействия или связанных с ними факторов. Достигается в основном применением контролирующих и управляющих электронных устройств, например БКУ или СКУ.
4 Сокращения
В настоящем стандарте применены следующие сокращения:
БКУ - блок контроля и управления;
ГА - группа аккумуляторная накопителя;
КЗ - короткое замыкание;
МА - модуль аккумуляторный;
НА - накопитель энергии аккумуляторный;
ОА - одиночный аккумулятор;
СБП - системы бесперебойного питания;
СЗ - степень заряженности;
СКУ - системы контроля и управления;
КПД - коэффициент полезного действия.
5 Общие требования
5.1 Общие положения
ИС МЕГАНОРМ: примечание.
Взамен ГОСТ IEC 62040-1-2013 Приказом Росстандарта от 08.11.2018 N 954-ст с 01.03.2019 введен в действие ГОСТ IEC 62040-1-2018.
5.1.1 СБП должны соответствовать требованиям ГОСТ IEC 62040-1, ГОСТ IEC 60950-1 и ГОСТ 32133.2 в соответствии с областью их применения.
ИС МЕГАНОРМ: примечание.
Нумерация пунктов дана в соответствии с официальным текстом документа.
5.1.1 СБП должны соответствовать классу VFI SS 111.
В обозначении класса буквы и цифры означают:
VFI - выходные параметры, независимые от напряжения питания, предоставляемого от сети, и изменений частоты, причем это обеспечено без использования энергии НА;
Примечание - Допустимые предельные значения: изменение среднеквадратического значения напряжения +/- 10% от нормированного напряжения, изменение частоты +/- 2% от нормированной частоты; дисбаланс трехфазного напряжения с отношением дисбаланса 5%, общий коэффициент гармонических искажений напряжения не более 8% с максимальным уровнем индивидуальных гармонических напряжений, соответствующих уровням совместимости для индивидуальных гармонических напряжений в низковольтных сетях (см. таблицу 1);
SS - синусоидальная форма сигнала напряжения как при питании от сети, так и от НА, которая обеспечивает суммарный коэффициент гармонических искажений <= 8% и единичное гармоническое искажение в пределах, установленных в таблице 1 <1>, при всех условиях линейных и эталонных нелинейных нагрузок;
111 - динамическая выходная характеристика, которая описывает изменение напряжения, вызванное изменением режима работы - 1, применением ступенчатой (шаговой) линейной нагрузки - 1, применением ступенчатой (шаговой) нелинейной нагрузки - 1. Значение 1 каждого символа означает характеристику, требуемую для чувствительных критических нагрузок.
--------------------------------
<1> Справка разработчика. Приведенная таблица является выдержкой из стандарта МЭК 61000-2-2:2002 "Электромагнитная совместимость. Часть 2-2. Окружающая среда. Уровни совместимости для низкочастотных проводимых помех и прохождения сигналов в низковольтных системах коммунального энергоснабжения".
Таблица 1
Нечетная гармоника, не кратная 3
Нечетная гармоника, кратная 3 <*>
Четная гармоника
Порядок гармоники, n
Напряжение гармоники <**>, %
Порядок гармоники, n
Напряжение гармоники <**>, %
Порядок гармоники, n
Напряжение гармоники <**>, %
5
6
3
5
2
2
7
5
9
1,5
4
1
11
3,5
15
0,3
6
0,5
13
3
21
0,2
8
0,5
17 <= n <= 49
2,27·(17/n) - 0,27
21 <= n <= 45
0,2
10 <= n <= 50
0,25·(10/n) - 0,25
Примечание - Предполагают, что все указанные гармонические уровни не происходят одновременно.
<*> Применяют к нулевым гармоникам последовательности. В трехфазной сети без нейтрального проводника или без нагрузки, подключенной между линией и землей, значения 3-й и 9-й гармоник могут быть значительно ниже, чем уровни совместимости, в зависимости от дисбаланса системы.
<**> Среднеквадратическое значение в процентах от среднеквадратического значения основного компонента.
5.1.2 НА должны обеспечивать возможность продолжительной непрерывной работы в течение всего срока своей службы.
5.2 Нормальные условия окружающей среды при эксплуатации
СБП предназначены для работы при следующих условиях:
- температура от 1 до 40 °C;
- относительная влажность от 60 до 80% при температуре окружающей среды 25 °C (до 90% при температуре окружающей среды 20 °C);
- атмосферное давление от 84,0 до 106,7 кПа;
- высота над уровнем моря не более 1000 м;
- переходные перенапряжения сети питания категории II по 4.3.3.2.2 ГОСТ Р МЭК 60664.1;
- степень загрязнения 2 по ГОСТ Р МЭК 60664.1.
5.3 Общие условия испытаний
Общие условия испытаний по 1.4 ГОСТ Р МЭК 60950-1 со следующим дополнением.
При предельных значениях допуска входного напряжения проводят только испытания тока утечки и нагрева. Все остальные испытания выполняют при номинальном входном напряжении.
5.4 Рабочие параметры для испытаний
Испытания проводят при наиболее неблагоприятном сочетании следующих параметров в пределах норм, установленных изготовителем, если иное не установлено в конкретном методе испытаний:
- входное напряжение;
- отсутствие входного напряжения;
- входная частота;
- СЗ батарей;
- физическое расположение СБП;
- режим работы;
- управляемые термостаты, регулирующие устройства или средства контроля, доступные обслуживающему персоналу, регулируемые с/без использования ключей и специального инструмента оператора.
5.5 Нагрузки для испытаний
При определении входного тока и в иных случаях, когда это может повлиять на результаты испытаний, необходимо учитывать и варьировать следующие переменные, чтобы получить наиболее неблагоприятные результаты:
- нагрузки, связанные с зарядом батарей;
- нагрузки, связанные с дополнительными средствами, которые изготовитель предлагает или предусматривает для включения в испытуемое оборудование или в сочетании с ним;
- нагрузки, связанные с другими устройствами, предназначенными изготовителем для получения электропитания от испытуемого оборудования;
- нагрузки, которые могли быть подключены к любому стандартному выходу питания в местах доступа оператора на оборудовании, до максимального значения, указанного в маркировке.
В качестве модели для испытаний применяют искусственные нагрузки.
5.6 Компоненты
Требования к компонентам по 1.5.1 - 1.5.8 ГОСТ Р МЭК 60950-1.
5.7 Подключение к сети питания
Подключение к сети питания по 1.6.1, 1.6.2 и 1.6.4 ГОСТ Р МЭК 60950-1 со следующим дополнением.
Нулевые проводники (при наличии) должны быть изолированы от земли и корпуса во всех частях оборудования, как если бы они представляли собой фазные проводники. Компоненты, подключенные между нулем и землей, должны быть рассчитаны на номинальное рабочее напряжение, равное напряжению между фазой и нулем. В случае если выходной нулевой проводник изолируют от входного нулевого проводника, ответственный за установку обслуживающий персонал должен подсоединить этот выходной нулевой проводник, как описано в инструкциях по установке.
6 Классификация и обозначение
6.1 СБП классифицируют по выходной мощности и способу размещения НА.
6.2 Мощность СБП выбирают из ряда 40/60/80/100/120/160/200/300 кВА, далее декадное увеличение ряда. СБП с мощностями, имеющими промежуточные значения, обозначают наиболее близким значением из указанного ряда снизу.
6.3 Обозначение системы должно содержать:
- условное наименование серии изготовителя;
- аббревиатуру СБП;
- обозначение класса - VFI SS 111;
- значение выходной мощности, кВА;
- значение энергоемкости НА, кВтч;
- обозначение способа установки НА (F - батарейный стеллаж; C - батарейный шкаф);
- обозначение варианта комплектации по системе изготовителя (01 - базовая комплектация; 02, 03, ... - конкретное индивидуальное исполнение);
- число силовых модулей, работающих параллельно.
Пример обозначения системы бесперебойного питания "Исток" мощностью не менее 80 кВА, но менее 100 кВА, энергоемкостью НА 100 кВтч, установленной в батарейный шкаф, в базовом варианте исполнения, с двумя силовыми модулями мощностью 40 кВА каждый, работающими параллельно:
Исток-СБП-VFI SS 111-80 кВА-100 кВтч-C-01/2.
Допускается вводить в условные обозначения дополнительные буквы, знаки и цифры с расшифровкой их в технических условиях на СБП конкретных типов.
6.4 Значение энергоемкости НА устанавливают по заказу потребителя.
6.5 Обозначение НА - по ГОСТ Р МЭК 62620.
7 Конструкция и основные параметры
7.1 Требования к конструкции СБП
7.1.1 СБП и ее компоненты размещают в металлических шкафах.
7.1.2 Габаритные размеры и допустимую массу шкафов СБП устанавливают в технических условиях на СБП конкретных типов.
ИС МЕГАНОРМ: примечание.
Взамен ГОСТ IEC 62040-1-2013 Приказом Росстандарта от 08.11.2018 N 954-ст с 01.03.2019 введен в действие ГОСТ IEC 62040-1-2018.
7.1.3 Шкафы должны соответствовать требованиям раздела 7 ГОСТ IEC 62040-1 за исключением 7.6.6 - 7.6.7.
7.1.4 Шкафы СБП должны обеспечивать степень защиты не ниже IP 21 по ГОСТ 14254.
7.1.5 Шкафы СБП должны иметь открывающуюся переднюю дверь, снабженную защитой от несанкционированного доступа.
7.1.6 Шкафы СБП должны иметь съемные боковые панели для безопасного проведения сервисного обслуживания и ремонта СБП. Съем боковых и верхней панелей должен быть возможен только при снятой защите передней двери.
7.1.7 Для поддержания нормального температурного режима работы СБП должны быть оборудованы системой термокондиционирования. При необходимости создания вентиляционных отверстий их размещают на передней двери, задней стенке и на верхней панели. На боковых панелях вентиляционные отверстия размещать не рекомендуется для обеспечения возможности компактного размещения частей систем.
7.1.8 СБП не должна содержать узлов и конструктивных элементов с резонансом в диапазоне частот от 5 до 25 Гц.
7.2 Состав СБП
7.2.1 Пример типовых блок-схем СБП приведен в приложении А.
7.2.2 В состав СБП должны входить силовой преобразовательный блок и НА.
7.2.3 Силовой преобразовательный блок должен иметь в своем составе:
- силовой выпрямительный модуль для преобразования входного переменного тока в постоянный для питания инвертора и заряда/подзаряда НА;
- инверторный модуль для преобразования постоянного тока от выпрямителя или от НА в выходной переменный ток;
- блок управления, обеспечивающий мониторинг и управление работой СБП, включая передачу данных в верхний уровень автоматизации, а также при необходимости внешним устройствам, в том числе через мобильную связь и/или интернет;
- панель управления, сигнализации и индикации с графическим дисплеем для отображения и настройки параметров СБП;
- аварийный (статический) байпас для автоматического переключения нагрузки от инвертора к резервной линии без прерывания сети электроснабжения нагрузки;
- блок "сухих контактов" для передачи аварийных сигналов в верхний уровень автоматизации;
- блок коммутационных устройств, обеспечивающих защиту от перегрузок и КЗ по входному и выходному току.
Для удобства обслуживания в состав силового преобразовательного блока может быть включен сервисный байпас для ручного переключения нагрузки от инвертора к обходной линии при проведении сервисных и ремонтных работ.
7.2.4 СБП может использовать несколько НА, соединяемых параллельно, последовательно или в любой комбинации. Архитектура построения таких систем и способы силового и коммуникационного согласования их устанавливают в технических условиях на конкретное изделие при условии соблюдения основных требований безопасности.
7.2.5 НА может включать набор ОА, ГА, функционально законченные МА. Изготовитель СБП должен строго следовать указаниям изготовителя ОА, ГА или МА при конфигурировании НА.
7.2.6 Не допускается использование в составе одного НА аккумуляторов различного значения емкости, разных изготовителей, а также разной даты изготовления (отличающейся более, чем на 1 мес) или хранившихся при разных температурных условиях. Исключение составляют НА, построенные объединением функционально законченных МА в случае наличия в них схем, позволяющих не проводить их отключение при подаче большего зарядного напряжения, чем установлено изготовителем.
7.2.7 В случае размещения НА вне шкафа СБП и отсутствия предусмотренной конструкцией защиты от доступа к местам сочленения НА (или отдельных его частей) в непосредственной близости от мест сочленения должны быть размещены предупреждающие надписи с имеющимися ограничениями. В полном объеме данные ограничения должны быть указаны в эксплуатационной документации.
8 Технические требования
8.1 Общие требования
8.1.1 СБП должна обеспечивать:
- автоматическое включение при появлении напряжения сети переменного тока для питания нагрузки и заряда НА (если она не была остановлена оператором);
- питание нагрузки с отключенным НА;
- питание нагрузки с одновременным ускоренным зарядом НА;
- автоматическую и ручную коммутацию и защиту НА, автоматическое отключение от нагрузки в конце разряда при достижении на любом из аккумуляторов конечного напряжения разряда, установленного изготовителем аккумуляторов;
- автоматическое регулирование напряжения заряда (непрерывного подзаряда) НА в зависимости от температуры аккумуляторов и их СЗ;
- рекомендованный изготовителем аккумуляторов алгоритм заряда. После окончания заряда напряжение для СБП с резервным накопителем должно полностью отключаться; для СБП с накопителем, работающим в буферном режиме, напряжение в цепи заряда должно быть снижено до значения, рекомендованного изготовителем аккумуляторов. Альтернативным является снижение напряжения до достижения значения зарядного тока, равного нулю. В этом случае должен быть предусмотрен повторный переход в режим подзаряда с периодичностью, установленной изготовителем СБП для компенсации токов потребления вспомогательных и контролирующих систем и процессов саморазряда аккумуляторов НА;
- балансировку аккумуляторов НА в режиме заряда и постоянного подзаряда;
- отключение СБП при нарушении нормальных режимов работы.
8.1.2 В СБП должна быть обеспечена гальваническая изоляция между входом и выходом.
8.1.3 СБП должна иметь защиту от перегрузки по выходному току с автоматическим возвратом в рабочий режим при снятии перегрузки.
8.1.4 СБП должна обеспечивать защиту от КЗ предохранителями или автоматическими выключателями входной и выходной линии электропитания, а также цепи питания НА.
8.1.5 СБП должна иметь возможность установки ограничения по уровню входной мощности.
8.1.6 СБП должна обеспечивать приоритетности питания запрашиваемой нагрузки в пределах установленной выходной мощности или ограниченной входной мощности в зависимости от того, какая из них меньше с учетом КПД-преобразований. Для подзаряда НА должна быть выделена только свободная доля мощности. При недостаточной свободной мощности СБП должна выдавать сигнал для возможного ручного снижения полезной нагрузки при необходимости ускорить заряд НА.
8.1.7 Зарядное устройство должно обеспечивать заряд полностью разряженного НА в течение не более 8 ч. Время заряда может быть изменено по согласованию между изготовителем и потребителем.
8.1.8 СБП должна обеспечивать температурную компенсацию заряда/подзаряда НА, если это рекомендовано изготовителем аккумуляторов.
8.1.9 Величина пульсаций зарядного/подзарядного напряжения постоянного тока должна быть не более +/- 1%.
8.1.10 Значения КПД СБП при работе от НА приведены в таблице 2.
Таблица 2
Зависимость КПД СБП от величины нагрузки при работе от НА
Нагрузка в процентах от мощности СБП
КПД, %, не менее
100
90
50
86
20
75
Примечание - Реальные данные СБП должны быть приведены в эксплуатационной документации по форме таблицы Б.1 приложения Б.
8.1.11 КПД СБП при максимальном значении выходного тока, полностью заряженном НА и номинальном напряжении сети переменного тока должен быть не менее 0,94%.
8.1.12 Отклонение выходного напряжения СБП должно быть не более +/- 1% от установленного значения при изменении параметров входной сети переменного тока и тока нагрузки от 0 до 90% максимального значения.
8.1.13 Коэффициент мощности СБП при максимальном значении выходного тока и номинальном напряжении сети переменного тока должен быть не менее 0,98.
8.1.14 При включении СБП должен быть обеспечен плавный запуск выпрямителя с присоединенной на выходе 100-процентной нагрузкой с возможностью регулирования времени запуска от 0 до 120 с.
8.1.15 При включении СБП должна быть обеспечена задержка плавного запуска выпрямителя с возможностью регулирования времени задержки запуска от 0 до 120 с.
8.1.16 СБП должна выдерживать без повреждений импульсные перенапряжения на каждой фазе до 1500 В длительностью до 50 мкс.
ИС МЕГАНОРМ: примечание.
Взамен ГОСТ IEC 62040-1-2013 Приказом Росстандарта от 08.11.2018 N 954-ст с 01.03.2019 введен в действие ГОСТ IEC 62040-1-2018.
8.1.17 Средства изоляции и устройства отключения внутренних и внешних источников постоянного тока, например НА, должны разрывать все незаземленные провода, подключенные к источнику постоянного тока (см. 5.4.2 ГОСТ IEC 62040-1).
ИС МЕГАНОРМ: примечание.
Взамен ГОСТ IEC 62040-1-2013 Приказом Росстандарта от 08.11.2018 N 954-ст с 01.03.2019 введен в действие ГОСТ IEC 62040-1-2018.
8.1.18 Цепь питания от батарей должна быть снабжена защитой от чрезмерного тока и соответствовать требованиям 5.5.3.2 и 5.5.3.3 ГОСТ IEC 62040-1, защитные устройства должны быть расположены как можно ближе к НА. При расположении НА вне СБП устройства защиты от чрезмерного тока должны учитывать возможные падения в проводниках, соединяющих СБП с НА.
8.1.19 СБП должна обеспечивать управление и мониторинг с помощью внешней системы управления через компьютерный интерфейс RS485/USB или аналогичный.
8.1.20 СБП должна обеспечивать сигнализацию о нормальном или аварийном состоянии (по согласованию с потребителем):
- местную: звуковую и световую, графическую на дисплее;
- дистанционную "сухими контактами";
- на персональный компьютер и/или в систему автоматизации верхнего уровня с помощью интерфейсов RS232, RS485/USB или SNMP/LAN адаптера по сети Ethernet через специализированное программное обеспечение.
8.2 Требования к электрическим параметрам силового преобразовательного блока
8.2.1 Силовой выпрямительный модуль
8.2.1.1 Мощность на выходе выпрямительного модуля должна обеспечивать питание инвертора при мощности нагрузки, равной номинальной мощности СБП, и заряд на начальной стадии заряда полностью разряженного НА в режиме, обеспечивающем его полный заряд в течение 8 ч или в течение времени, установленного в технических условиях на конкретное изделие и согласованного с потребителем.
8.2.1.2 В эксплуатационной документации СБП должен быть указан максимальный потребляемый ток при полной нагрузке и начальной стадии подзарядки НА в зависимости от энергоемкости, выбранной потребителем, в соответствии с таблицей Б.1 приложения Б.
8.2.1.3 Основные электрические параметры силового выпрямительного модуля должны соответствовать значениям, приведенным в таблице 3.
Таблица 3
Параметр
Значение
Коэффициент мощности при номинальном напряжении и заряде НА от 25 до 100% нагрузки, не менее
0,99
Пульсация напряжения при заряженном НА, %, не более
1
8.2.2 Выходной инверторный модуль
8.2.2.1 Эффективность работы инвертора от НА устанавливают в технических условиях на СБП конкретного типа.
8.2.2.2 Мощность инвертора должна быть не менее максимальной мощности СБП как при обычном режиме работы от основной сети, так и в режиме автономной работы только от НА.
8.2.2.3 Основные электрические параметры выходного инверторного модуля должны соответствовать значениям, приведенным в таблице 4.
Таблица 4
Параметр
Значение
Диапазон настройки номинального напряжения, В
360 - 420
Статические изменения, %, не более
+/- 1
Динамические изменения, %, не более
+/- 5
Время восстановления в пределах +/- 1%, мс, не более
20
Амплитудный коэффициент тока
3:1
Искажение напряжения при линейной нагрузке, %, не более
1 - для типичного; 2 - для максимального
Искажение напряжения при нелинейной нагрузке, %, не более
3
Стабильность частоты инвертора, синхронизированного с байпасом сети, %, не менее
+/- 2 (настраивается от +/- 1 до +/- 6 с помощью панели управления)
Стабильность частоты инвертора, не синхронизированного с байпасом сети, %, не менее
+/- 0,05
Скорость изменения частоты, Гц/с, не менее
1
Несимметричность фазовых напряжений при сбалансированной и несбалансированной нагрузке, %, не более
<= 1
Сдвиг фазового напряжения при сбалансированной и несбалансированной нагрузке, град, не более
120 +/- 1
Перегрузка относительно номинальной мощности, %, для:
- трех фаз;
110 в течение 60 мин., 125 в течение 10 мин., 150 в течение 1 мин.;
- одной фазы
200 в течение 6 с
Ток короткого замыкания, %, между:
- фазами;
180 в течение 1 с (с ограничением тока);
- фазой и нейтралью
300 в течение 1 с (с ограничением тока)
Эффективность работы инвертора от аккумулятора, %, не менее
94
8.2.3 Модуль байпас
Основные электрические параметры модуля байпас должны соответствовать значениям, приведенным в таблице 5.
Таблица 5
Параметр
Значение
Переключение на байпас при синхронизированном инверторе (нормальный режим), мс, не более
1
Переключение на байпас при несинхронизированном инверторе (нормальный режим), мс, не более
100
Переключение с байпаса на инвертор (резервный режим), мс, не более
от 2 до 5
Запаздывание при переключении на инвертор после переключения на байпас, с, не более
4
Допускаемая перегрузка по мощности, %, не менее
110 в течение 60 мин.; 125 в течение 10 мин.; 150 в течение 1 мин.
8.3 Требования к регламентируемым режимам работы аккумуляторного накопителя
8.3.1 СБП должна обеспечивать (с учетом температуры окружающей среды и распределения температуры по объему НА):
- напряжение постоянного подзаряда, которое можно подавать на НА или отдельные его части;
- допустимое отклонение значения напряжения.
8.3.2 СБП должна соответствовать требованиям 6.6.2 ГОСТ Р МЭК 62620, а в циклическом режиме работы - требованиям 6.6.1 ГОСТ Р МЭК 62620.
8.3.3 В режим защиты НА должен переходить при:
- превышении предельных значений токов заряда/разряда, установленных изготовителем ОА или МА;
- выходе значений температуры окружающей среды или в точках измерения температуры внутри модуля за пределы, установленные изготовителем ОА или МА для соответствующего режима заряда/разряда;
- внешнем КЗ.
НА должен автоматически переходить в обычный режим после возврата значения параметра, приведшего к переходу в режим защиты, в область безопасного использования, в том числе при возобновлении работы сети после отключения, приведшего к полному или частичному разряду НА.
Временные параметры перехода в режим защиты, выхода из него, а также параметры, отличающие превышение тока от КЗ, устанавливают в технических условиях на СБП конкретного типа.
СБП должна обеспечивать многократную возможность входа в режим защиты и выхода из него.
8.3.4 Перевод НА в режим сна и его прекращение осуществляет только оператор основным выключателем НА.
Если в БКУ есть функция ведения журнала событий и фиксации температуры, то она не отключается. При превышении допустимой температуры должны включиться "сухие контакты" сигнала "Авария", БКУ должен перейти в обычный режим работы и подать соответствующую информацию внешнему устройству потребителя энергии через коммуникационный канал (при наличии).
8.4 Требования к блокам контроля и управления в составе аккумуляторной группы
БКУ должны обеспечивать:
- контроль напряжения каждого аккумулятора, входящего в ГА;
- контроль температуры в наиболее проблемных точках;
- контроль токов при заряде/разряде;
- балансировку аккумуляторов как минимум при заряде;
- переход в режим защиты в соответствии с 8.3.3;
- переход в режим снижения напряжения на входе до максимально допустимого значения в случае его превышения в цепи заряда (данная функция является рекомендуемой);
- двусторонний обмен данными с СКУ в случае многоуровневого построения НА.
Примечание - Число и место расположения точек контроля температуры выбирает изготовитель СБП на основании карты распределения тепла в режиме разряда на внешнюю нагрузку, в режиме максимальной установленной мощности и заряда полностью разряженного НА при максимальной мощности заряда, обеспечиваемого изготовителем СБП.
8.5 Требования к системам контроля и управления
8.5.1 Требования к СКУ и БКУ едины в случае одноуровневой структуры.
В случае многоуровневой структуры СКУ осуществляет управление СКУ более низкого уровня или БКУ.
8.5.2 СКУ (БКУ в случае отсутствия СКУ) должна обеспечивать следующие функции:
- информационный обмен накопленной первичной и расчетной информацией с СБП и получение от нее команд управления. Информационный обмен с внешним устройством должен быть по интерфейсу CAN и протоколам CanOpen и J1939;
Примечание - По согласованию с потребителем может быть выбран другой протокол для обеспечения совместимости с имеющимися у него устройствами;
- ведение электронного журнала событий с записью в энергонезависимую память.
8.5.3 СКУ должна формировать следующие сигналы:
- сигнал типа "сухой контакт" для коммутации цепей заряда/разряда;
- аварийный сигнал по интерфейсу CAN в верхний уровень управления.
8.5.4 СКУ должна поддерживать настройку параметров работы с НА специальным программным обеспечением.
8.5.5 СКУ должна иметь светодиодную или иную индикацию режимов работы.
8.6 Функция балансировки должна обеспечивать отклонение значений напряжения на аккумуляторах в пределах одной ГА не более 0,05 В для НА, находящегося в буферном режиме более 48 ч после полного заряда.
8.7 Требования электромагнитной совместимости
8.7.1 Допускаемые величины радиопомех при работе СБП не должны превышать значений, указанных в таблице 6.
Таблица 6
Полоса частот, МГц
Значение напряжения радиопомех по входу, дБ мкВ, не более
Квазипиковое
Среднее
От 0,15 до 0,5 включ.
79
66
От 5,0 до 30,0 включ.
73
57
8.7.2 Квазипиковое значение напряженности поля радиопомех при работе СБП не должно превышать значений, указанных в таблице 7.
Таблица 7
Полоса частот, МГц
Расстояние, м
Напряженность поля радиопомех, дБ мкВ/м, не более
От 30,0 до 230 включ.
3
50
Св. 230 до 1000 включ.
57
8.8 Требования надежности
8.8.1 Средняя наработка на отказ СБП - не менее 150 000 ч.
8.8.2 Средний срок службы СБП - не менее 20 лет (без учета срока службы элементов термокондиционирования и НА).
8.8.3 Среднее время безотказной работы (или частоту отказов) указывают в технических условиях на СБП конкретного типа. Среднее время ремонта - не более 1 ч.
8.9 Требования устойчивости и прочности к механическим и климатическим воздействиям
8.9.1 СБП должна быть работоспособна:
- при температуре +50 °C и после пребывания в нерабочем состоянии при температуре +70 °C;
- при температуре -10 °C и после пребывания в нерабочем состоянии при температуре -40 °C;
- при пониженном атмосферном давлении 70 кПа.
8.9.2 СБП должна выдерживать воздействие синусоидальных вибраций с амплитудой ускорения 19,6 м/с2 (2g) и частотой 25 Гц в течение 30 мин.
9 Комплектность
9.1 Комплектность указывают в технических условиях на СБП конкретного типа или по согласованию с потребителем.
9.2 В комплект входят руководство по эксплуатации и паспорт.
10 Маркировка
10.1 На поверхности шкафов СБП, в доступном для обзора месте, должна быть надежно закреплена табличка, содержащая:
- товарный знак предприятия-изготовителя;
- тип СБП;
- порядковый номер по системе нумерации предприятия-изготовителя;
- обозначение технических условий;
- дату выпуска.
Маркировочная табличка и способ нанесения маркировки должны обеспечивать сохранность информации в течение всего срока службы СБП.
10.2 Транспортная маркировка должна содержать следующую информацию:
- тип СБП;
- товарный знак и адрес предприятия-изготовителя;
- наименование и адрес заказчика;
- место отправления/назначения;
- массу, кг;
- манипуляционные знаки по ГОСТ 14192.
11 Упаковка
11.1 Каждый шкаф СБП поставляют в собранном виде за исключением шкафов, в которых НА размещают в виде ОА.
11.2 Упаковка и консервация шкафов, аккумуляторных элементов и запасных частей - по ГОСТ 23216.
11.3 Упаковка аккумуляторов должна исключать возможность случайного замыкания клемм полюсов каждого аккумулятора при транспортировании.
11.4 При необходимости использования ГА аккумуляторы, входящие в различные ГА, должны быть упакованы отдельно и промаркированы.
12 Требования безопасности и охраны окружающей среды
12.1 Материалы для изготовления СБП не должны выделять отравляющих и вредных для здоровья человека и окружающей среды веществ при нормальной эксплуатации и в аварийных режимах.
12.2 Требования к защите от поражения электрическим током - согласно соответствующим разделам ГОСТ IEC 61140. СБП в целом должна удовлетворять соответствующим требованиям ГОСТ Р 50571.3, ГОСТ 30331.5, ГОСТ 30331.6, ГОСТ 30331.7 и ГОСТ 30331.9.
12.3 Сопротивление изоляции шкафов СБП по отношению к "земле" должно быть не менее 1 МОм.
12.4 Цепь защиты обслуживающего персонала от поражения электрическим током должна быть обеспечена специальным защитным проводником и/или неразборными токопроводящими конструктивными частями. Конструкция должна обеспечивать непрерывность электрической цепи между токопроводящими частями и элементами шкафов СБП, которые могут оказаться под напряжением, и общим контуром заземления. Сопротивление цепи защиты должно быть не более 0,1 Ом. Для подключения к контуру заземления шкафы должны иметь маркированные зажимы по ГОСТ 21130.
12.5 Конструкция шкафов СБП должна исключать возможность случайного доступа к неизолированным токоведущим частям.
12.6 Шкафы должны иметь защиту от случайного доступа к нетоковедущим частям, которые в аварийном режиме могут оказаться под напряжением.
12.7 Значения расстояний между токоведущими частями оборудования СБП устанавливают в технических условиях на СБП конкретных типов.
12.8 Изоляция СБП должна выдерживать без повреждений испытательное напряжение 2500 В переменного тока частотой от 45 до 62 Гц.
12.9 Эквивалентный уровень акустических шумов, создаваемых системой охлаждения СБП на расстоянии 1 м, не должен превышать 72 дБА.
12.10 Аккумуляторные элементы должны быть защищены от случайного попадания токопроводящих предметов на их выводные клеммы во избежание КЗ.
12.11 Не допускается вскрывать или использовать аккумуляторы с поврежденным корпусом и выводными клеммами.
12.12 Провода и кабели должны соответствовать требованиям ГОСТ 31947 или ГОСТ 31996.
12.13 Места соединения кабелей, как со стороны батареи, так и со стороны силового блока СБП, должны находиться внутри пространства, защищенного от несанкционированного доступа.
12.14 Маркировка клемм, контактных групп, органов управления, предохранительных элементов и предостерегающая информация - по ГОСТ Р МЭК 60950-1.
12.15 Клеммы, предназначенные для подключения батарей, должны быть обозначены полярностью или сконструированы так, чтобы исключить неправильное подключение.
12.16 Система термокондиционирования СБП не должна допускать нагрев аккумуляторных элементов более 70 °C.
12.17 Пожарная безопасность должна быть обеспечена:
- применением несгораемых и трудносгораемых материалов, в том числе в конструкции аккумуляторов (группа не ниже трудногорючих по ГОСТ 12.1.044);
- наличием автоматического отключения коммутационных аппаратов в аварийных режимах (перегрузка, КЗ), исключающим возгорание частей оборудования, выполненных из электроизоляционных материалов;
- автономными противопожарными датчиками и/или датчиками с подключением в общую систему пожарной сигнализации.
13 Транспортирование и хранение
13.1 СБП хранят в закрытых помещениях и транспортируют в стандартной упаковке изготовителя любыми видами наземного и морского транспорта при следующих условиях окружающей среды:
- температура от -25 до 55 °C;
- относительная влажность от 20 до 95% (без выпадения конденсата);
- высота над уровнем моря до 5000 м (или в среде с эквивалентным давлением воздуха), если иное не указано изготовителем.
13.2 СБП транспортируют любыми видами транспорта в соответствии с правилами перевозок, действующими на каждом виде транспорта.
13.3 Упаковка, не предназначенная для влажных условий окружающей среды (выпадение конденсата), должна быть снабжена этикеткой с предупреждающей маркировкой.
Примечание - Изготовитель может ограничить продолжительность воздействия высокой или низкой температуры окружающей среды при транспортировании и/или хранении, поскольку это может влиять на срок службы системы. В этом случае изготовитель СБП указывает эту информацию в эксплуатационной документации.
13.4 Специальные условия хранения и транспортирования устанавливают в технических условиях на конкретные типы изделий по согласованию с потребителем.
Приложение А
(справочное)
ТИПОВЫЕ БЛОК-СХЕМЫ СИСТЕМ БЕСПЕРЕБОЙНОГО ПИТАНИЯ
А.1 Типовая блок-схема СБП с отключаемым НА приведена на рисунке А.1.
1 - выпрямитель; 2 - инвертор; 3 - защита от обратного тока;
4 - статический переключатель; 5 - контроллер СБП;
6 - СКУ; 7 - БКУ-1; 8 - БКУ-n
Рисунок А.1 - Типовая блок-схема СБП с отключаемым НА
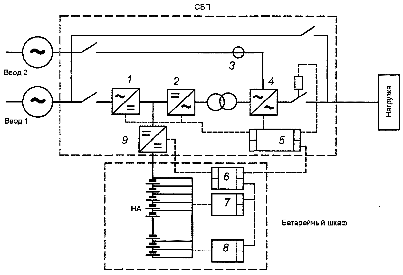
А.2 Типовая блок-схема СБП с постоянно подключенным НА приведена на рисунке А.2.
1 - выпрямитель; 2 - инвертор; 3 - защита от обратного тока;
4 - статический переключатель; 5 - контроллер СБП; 6 - СКУ;
7 - БКУ-1; 8 - БКУ-n; 9 - конвертер
Рисунок А.2 - Типовая блок-схема СБП с постоянно
подключенным НА
Приложение Б
(обязательное)
ДАННЫЕ, ПРИВОДИМЫЕ В ЭКСПЛУАТАЦИОННОЙ ДОКУМЕНТАЦИИ
Б.1 В сопроводительной эксплуатационной документации СБП должна быть приведена следующая обязательная информация, указанная в таблицах Б.1 - Б.3.
Для оценки необходимой энергоемкости НА в зависимости от требуемой нагрузки и необходимого обеспечения длительности ее питания используют данные таблицы Б.1.
Таблица Б.1
Энергоемкость аккумуляторного накопителя для обеспечения
необходимой продолжительности разряда
при постоянной мощности
Нагрузка в процентах от мощности СБП
Продолжительность разряда СБП
минуты
часы
1
3
5
10
15
20
30
45
1
1,5
2
3
4
5
6
10
20
100%
75%
50%
Примечания
1 Допускается вместо значений в процентах от заявленной выходной мощности указывать конкретные значения в кВА, соответствующие 100, 75 и 50% относительно выходной мощности нагрузки. В этом случае наименование графы головки таблицы - "Нагрузка, кВА".
2 Если изготовитель допускает возможность применения нескольких типов НА различной мощности (соотношение максимальной мощности и энергоемкости), данные приводят для каждого типа.
После таблицы целесообразно привести информацию о том, что:
- данные в таблице приведены для новых, не бывших в эксплуатации НА, со времени изготовления которых прошло не более 6 мес.;
- данные приведены для температуры окружающей среды от 20 до 25 °C;
- хранение НА осуществлялось при температуре окружающей среды от 20 до 25 °C;
- данные соответствуют размещению СБП на высоте не более 1000 м над уровнем моря;
- данные таблицы являются оценочными и не являются основанием для возникновения обязательств поставщика или рекламаций потребителя, поскольку на реальное время автономной работы оборудования влияет много факторов, таких как температура, срок и условия реальной эксплуатации, высота размещения над уровнем моря и ряд других;
- для размещения СБП на высоте над уровнем моря более 1000 м следует учесть соответствующий поправочный коэффициент;
- для обеспечения выбранной длительности автономного режима работы в конце назначенного срока службы НА, необходимо увеличить его начальную энергоемкость в K раз;
- для оценки работы при более высоких температурах окружающей среды необходимо учесть, что выходная мощность СБП снижается приблизительно на 20% на каждые 10 °C превышения температуры 25 °C, а также то, что энергоемкость НА снижается примерно на 5% на каждый градус свыше 40 °C.
Примечание - Коэффициент K рассчитывает и предоставляет изготовитель СБП по формуле
K = 1/(K1·K2), (1)
где K1 - доля энергоемкости, прогнозируемая изготовителем аккумуляторов или МА на момент достижения назначенного срока службы относительно номинальной энергоемкости, как правило 0,6;
K2 - прогнозируемое снижение энергетической эффективности аппаратной части СБП по относительному времени, прошедшему с начала его эксплуатации.
Коэффициент K1 является более значимым, и для упрощения допускается учитывать только его, а K2 считать равным единице.
Б.2 Значения КПД СБП от величины нагрузки при работе от накопителя приводят в таблице Б.2.
Таблица Б.2
Зависимость КПД СБП от величины нагрузки
при работе от накопителя
Нагрузка, кВА, не более
КПД при работе от накопителя, %, не менее
Примечание - Допустимым считают КПД 94%.
Б.3 Значения выходной мощности СБП в зависимости от высоты размещения над уровнем моря приводят в таблице Б.3.
Таблица Б.3
Зависимость выходной мощности СБП от высоты размещения
над уровнем моря
Высота размещения над уровнем моря, м, не более
Выходная мощность в процентах от номинальной выходной мощности СБП, %, не менее
1000
100
2000
2500
3000
4000
5000
Примечание - Данные приводят только для высот, до которых допускается применение.
УДК 621.31; 621.35:006.354
ОКПД2 27.20.23.130
Ключевые слова: бесперебойный источник питания, бесперебойная система питания, аккумуляторы, литий-ионные