Главная // Актуальные документы // НормыСПРАВКА
Источник публикации
М.: ГУГПС МВД РФ, ВНИИПО МВД РФ
Примечание к документу
Введен в действие с 1 сентября 1997 года.
Название документа
"НПБ 63-97. Установки пенного пожаротушения автоматические. Дозаторы. Общие технические требования. Методы испытаний"
(утв. Приказом ГУГПС МВД РФ от 31.07.1997 N 51)
"НПБ 63-97. Установки пенного пожаротушения автоматические. Дозаторы. Общие технические требования. Методы испытаний"
(утв. Приказом ГУГПС МВД РФ от 31.07.1997 N 51)
Введены в действие
Приказом ГУГПС МВД РФ
от 31 июля 1997 г. N 51
НОРМЫ ПОЖАРНОЙ БЕЗОПАСНОСТИ
УСТАНОВКИ ПЕННОГО ПОЖАРОТУШЕНИЯ АВТОМАТИЧЕСКИЕ.
ДОЗАТОРЫ.
ОБЩИЕ ТЕХНИЧЕСКИЕ ТРЕБОВАНИЯ. МЕТОДЫ ИСПЫТАНИЙ
AUTOMATIC WATER AND FOAM FIRE FIGHTING SYSTEMS.
FEEDER.
General technical requirements. Test methods
НПБ 63-97
Разработаны Всероссийским научно-исследовательским институтом противопожарной обороны (ВНИИПО) МВД России (В.А. Былинкин, А.В. Первых, В.В. Гришин).
Внесены и подготовлены к утверждению нормативно-техническим отделом ГУГПС МВД России.
Утверждены главным государственным инспектором Российской Федерации по пожарному надзору.
Дата введения в действие 01.09.1997 г.
Вводятся впервые.
Настоящие нормы распространяются на вновь разрабатываемые и выпускаемые дозаторы эжекторного типа (далее - дозаторы), предназначенные для дозирования (ввода) пенообразователя (добавок) с плотностью от 1,0 до 1,2 кг/м3 и кинематической вязкостью от 40 до 200 мм2/с в поток воды и устанавливаемые на обводной линии водяного насоса в дренчерных установках пенного пожаротушения.
Обязательные требования к качеству продукции, выполнение которых обеспечивают ее безопасность для жизни, здоровья и имущества населения, охрану окружающей среды, изложены в разделе 6.
Настоящие нормы могут применяться при сертификационных испытаниях дозаторов.
Нормы не распространяются на автоматические дозаторы.
В настоящих нормах использованы ссылки на следующие стандарты:
ГОСТ 9.014-78. ЕСЗКС Временная противокоррозионная защита изделий. Общие требования.
ГОСТ 9.032-74. ЕСЗКС Покрытия лакокрасочные. Группы. Технические требования и обозначения.
ГОСТ 9.302-88. ЕСЗКС Покрытия металлические и неметаллические неорганические. Методы контроля.
ГОСТ 9.303-84. ЕСЗКС Покрытия металлические и неметаллические. Общие требования к выбору.
ГОСТ 9.308-85. ЕСЗКС Покрытия металлические и неметаллические неорганические. Методы ускоренных коррозионных испытаний.
ГОСТ 12.2.003-91. ССБТ Оборудование производственное. Общие требования безопасности.
ГОСТ 12.4.009-83. ССБТ Пожарная техника для защиты объектов. Основные виды. Размещение и обслуживание.
ГОСТ 12.4.026-76. ССБТ Цвета сигнальные и знаки безопасности.
ГОСТ 15.001-88. Система разработки и постановки продукции на производство. Продукция производственно-технического назначения.
ГОСТ 27.301-95. Надежность в технике. Методы контроля показателей надежности и планы контрольных испытаний на надежность.
ГОСТ 427-75. Линейки измерительные металлические. Технические условия.
ГОСТ 1583-89. Сплавы алюминиевые литейные. Технические условия.
ГОСТ 2991-85. Ящики дощатые неразборные для грузов массой до 500 кг. Общие технические условия.
ГОСТ 12815-80. Фланцы арматуры, соединительных частей и трубопроводов на

от 0,1 до 20,0 МПа (от 1 до 200 кгс/см2). Типы. Присоединительные размеры и размеры уплотнительных поверхностей.
ГОСТ 15150-69. Машины, приборы и другие технические изделия. Исполнение для различных климатических районов. Категории, условия эксплуатации, хранения и транспортирования в части воздействия климатических факторов внешней среды.
ГОСТ 18321-73. Статистический отбор качества. Методы случайного отбора выборок штучной продукции.
ГОСТ 23170-78. Упаковка для изделий машиностроения. Общие требования.
| | ИС МЕГАНОРМ: примечание. Взамен ГОСТ 23711-79 Постановлением Госстандарта РФ от 27.03.1992 N 294 с 1 января 1994 года введен в действие ГОСТ 29329-92. | |
ГОСТ 23711-79. Весы для статического взвешивания. Общие технические требования.
ГОСТ 24054-80. Изделия машиностроения и приборостроения. Методы испытаний на герметичность. Общие требования.
ГОСТ Р 50460-92. Знак соответствия при обязательной сертификации. Форма, размеры и технические требования.
ГОСТ Р 50588-93. Пенообразователи для тушения пожаров. Общие технические требования и методы испытаний.
ГОСТ Р 50800-95. Установки пенного пожаротушения автоматические. Общие технические требования. Методы испытаний.
3. ОПРЕДЕЛЕНИЯ, ОБОЗНАЧЕНИЯ И СОКРАЩЕНИЯ
3.1. В настоящих нормах применяют следующие термины с соответствующими определениями:
3.1.1. Дозатор - устройство, предназначенное для дозирования пенообразователя (добавок) к воде в дренчерных установках пенного пожаротушения.
3.1.2. Давление рабочее

- установившееся давление, при котором обеспечивается заданный в нормативном документе расход пенообразователя.
3.1.3. Давление рабочее максимальное

- установившееся максимальное рабочее давление, при котором обеспечивается заданный в нормативном документе расход пенообразователя.
4.1. Эжектируемый расход пенообразователя должен составлять 1,5; 2,5; 5,0; 8,5 и 16 л/с.
4.2. Основные параметры и размеры дозаторов должны соответствовать значениям, приведенным на рис. 1 и в
табл. 1.
Рис. 1. Дозатор:
1 - входной патрубок; 2 - всасывающая камера; 3 - сопло;
4 - выходной патрубок
┌──────────────┬─────────────────────────────────────────────────┐
│ Параметр │ Значение параметра │
│ ├─────────┬─────────┬─────────┬─────────┬─────────┤
│ │ Д-1,5 │ Д-2,5 │ Д-5,0 │ Д-8,5 │ Д-16,0 │
├──────────────┼─────────┼─────────┼─────────┼─────────┼─────────┤
│Рабочее │0,6 - 1,0│0,6 - 1,0│0,6 - 1,0│0,6 - 1,0│0,6 - 1,0│
│давление перед│ │ │ │ │ │
│дозатором, │ │ │ │ │ │
│МПа │ │ │ │ │ │
│Давление на │0,08 +/- │0,08 +/- │0,08 +/- │0,08 + │0,08 +/- │
│выходе из │ 0,05│ 0,05│ 0,05│ 0,05│ 0,05│
│дозатора, │ │ │ │ │ │
│МПа │ │ │ │ │ │
│Расход воды │1,9 +/- │3,0 +/- │6,1 +/- │9,8 +/- │17,5 +/- │
│при рабочем │ 0,1│ 0,1│ 0,2│ 0,3│ 0,5│
│давлении │ │ │ │ │ │
│0,8 МПа, л/с │ │ │ │ │ │
│Расход пено- │1,5 +/- │2,5 +/- │5,0 +/- │8,5 +/- │16,0 +/- │
│образователя │ 0,1│ 0,1│ 0,1 │ 0,2│ 0,2│
│при рабочем │ │ │ │ │ │
│давлении │ │ │ │ │ │
│0,8 МПа, л/с │ │ │ │ │ │
│Габаритные │ │ │ │ │ │
│размеры, мм, │ │ │ │ │ │
│не более: │ │ │ │ │ │
│ длина L │ 380 │ 450 │ 640 │ 800 │ 970 │
│ высота Н │ 150 │ 160 │ 200 │ 240 │ 320 │
│ ширина B │ 130 │ 140 │ 185 │ 205 │ 245 │
│Масса, кг, │ 4 │ 5 │ 8 │ 13 │ 25 │
│не более │ │ │ │ │ │
└──────────────┴─────────┴─────────┴─────────┴─────────┴─────────┘
Примечание. Масса указана для дозаторов, изготовленных из алюминиевых сплавов.
4.3. Пример условного обозначения дозатора с расходом эжектируемого пенообразователя 1,5 л/с, климатического исполнения УХЛ, категории размещения 4: Д-1,5 УХЛ 4 ГОСТ Р...
5. ОБЩИЕ ТЕХНИЧЕСКИЕ ТРЕБОВАНИЯ
5.1. Дозаторы не должны иметь внешних дефектов: следов растрескивания, отслаивания или повреждений иного рода.
5.2. Присоединительные размеры дозатора должны соответствовать требованиям
ГОСТ 12815.
5.3. Масса дозаторов должна соответствовать данным
табл. 1.
5.4. Дозатор должен быть окрашен в красный цвет по ГОСТ 12.4.026.
5.5. По устойчивости к климатическим воздействиям дозаторы должны соответствовать требованиям исполнения УХЛ, категории размещения 4 по
ГОСТ 15150.
5.6. Конструкция дозатора и его соединения должны обеспечивать прочность при пробном гидравлическом давлении, равном 1,5

.
5.7. Конструкция дозатора и его соединения должны обеспечивать герметичность при давлении, равном

.
5.8. Дозатор должен выдерживать вибрацию частотой от 5 до 40 Гц и амплитуду колебания 1 мм.
5.9. После действия на внешнюю поверхность дозатора в течение 30 суток повышенной влажности и температуры по ГОСТ 9.308
(раздел 5) дозатор не должен проявлять признаков разрушения деталей, нарушения герметичности соединений.
5.10. После действия на внутреннюю поверхность дозатора в течение 30 суток водного раствора хлористого натрия при температуре (40 +/- 2) °С дозатор не должен проявлять признаков разрушения, нарушения герметичности соединений и изменения расходных характеристик
(табл. 1).
5.11. Дозаторы должны обеспечивать расход воды и пенообразователя согласно
табл. 1.
5.12. Дозатор должен обеспечивать работоспособность при давлении воды

в течение не менее 60 мин.
5.13. Дозатор должен сохранять работоспособность после 100 циклов включения.
5.14. Вероятность безотказной работы дозатора в режиме ожидания должна быть не менее 0,99 за время работы не менее 2000 ч.
5.15. Назначенный срок службы - не менее 10 лет.
5.16. Габаритные размеры должны соответствовать
табл. 1.
6. ТРЕБОВАНИЯ БЕЗОПАСНОСТИ
6.2. Запрещается проводить техническое обслуживание (демонтаж, подтягивание крепежных деталей) дозатора, находящегося под давлением.
6.3. При демонтаже дозатора следует предохранять органы зрения от попадания пенообразователя или его раствора.
7.1. К каждому дозатору должна быть приложена эксплуатационная документация по
ГОСТ 2.601:
- техническое описание, инструкция по монтажу и эксплуатации дозатора;
- паспорт на дозатор (или паспорт, совмещенный с техническим описанием и инструкцией по эксплуатации);
- монтажные чертежи и гидравлические схемы;
- ремонтная документация;
- ЗИП.
8.1. Для контроля соответствия дозатора требованиям настоящего стандарта и нормативному документу, утвержденному в установленном порядке, проводят следующие виды испытаний: приемочные, квалификационные, приемосдаточные, периодические, типовые и на надежность.
8.2. Приемочные испытания дозаторов проводят в соответствии с
ГОСТ 15.001 на образцах опытной партии по программе, разработанной изготовителем и разработчиком.
8.3. Квалификационные испытания проводят на образцах установочной серии или первой промышленной партии с целью определения готовности предприятия к выпуску продукции по программе, разработанной изготовителем и разработчиком.
8.4. Каждый дозатор следует подвергать приемосдаточным испытаниям. Номенклатура параметров, которые проверяют в процессе этих испытаний, приведена в табл. 2. Испытания проводит служба технического контроля предприятия-изготовителя на соответствие изделий конструкторской документации.
Номер п/п | Показатель | Номер пункта в настоящих нормах | Вид испытания |
приемо- сдаточ- ные | перио- дичес- кие | сертифи- кацион- ные |
1 | Визуальный осмотр | | + | + | + |
2 | Проверка на соответ- ствие чертежам | | + | + | - |
3 | Проверка массы дозатора | | + | + | - |
4 | Проверка цвета окраски дозатора | | + | + | - |
5 | Испытание на устойчи- вость к климатическим воздействиям | | - | + | + |
6 | Испытание на прочность | | + | + | + |
7 | Испытание на герметич- ность | | + | + | + |
8 | Испытание на вибро- устойчивость | | - | - | + |
9 | Испытание на устойчи- вость к воздействию повышенной влажности и температуры | | - | + | + |
10 | Испытание на устойчи- вость к воздействию водного раствора хло- ристого натрия | | - | + | + |
11 | Проверка расхода воды | | - | + | + |
12 | Проверка расхода пенообразователя | | - | + | + |
13 | Проверка работоспособ- ности при расходе воды | | - | + | + |
14 | Проверка работоспособ- ности при многократном включении | | - | + | + |
15 | Испытания на вероят- ность безотказной работы | | - | + | - |
16 | Проверка назначенного срока службы | | - | + | - |
17 | Проверка маркировки | | + | + | - |
18 | Комплектность | | + | + | - |
За партию принимают число изделий, сопровождаемых одним документом.
8.5. Периодические испытания проводят не реже одного раза в три года на образцах, прошедших приемосдаточные испытания с целью контроля стабильности качества продукции и возможности продолжения выпуска изделия. Отбор образцов для испытаний проводят по
ГОСТ 18321. Количество испытываемых образцов не менее трех.
8.6. Типовые испытания проводят при внесении конструктивных или иных изменений (технологии изготовления, материала и т.п.), способных повлиять на основные параметры, обеспечивающие работоспособность дозатора. Программу испытаний планируют в зависимости от характера изменений и согласовывают с разработчиком.
8.7. Испытания на надежность проводят не реже одного раза в три года.
8.8. Сертификационные испытания проводят с целью установления соответствия характеристик дозатора требованиям настоящих норм.
Отбор образцов для испытаний проводят по
ГОСТ 18321. Количество испытываемых образцов не менее трех.
8.9. Объем проведения приемосдаточных, периодических и сертификационных испытаний приведен в
табл. 2.
8.10. Результаты испытаний считают удовлетворительными, если предъявленные к испытаниям дозаторы соответствуют требованиям настоящего стандарта.
8.11. В случае получения отрицательных результатов по какому-либо виду испытаний число испытываемых образцов удваивают и испытания повторяют в полном объеме. Полученные повторно отрицательные результаты считают окончательными.
8.12. При сертификации допускается использовать протоколы периодических испытаний, если срок, прошедший после их проведения, не превышает 6 месяцев и при их проведении присутствовали представители органов сертификации.
9.1.1. Все испытания, если это отдельно не оговорено, следует проводить при нормальных климатических условиях по
ГОСТ 15150.
9.1.2. Все дозаторы, подвергающиеся испытаниям, предварительно осматривают на отсутствие внешних дефектов.
9.1.3. При гидравлических испытаниях должно быть обеспечено отсутствие воздуха во внутренних полостях.
9.1.4. Погрешность измерения параметров при испытаниях не должна превышать:
+/- 2,5% - при измерении давления;
+/- 4% - при измерении расхода жидкости;
+/- 5% - при измерении массы;
+/- 1 мм - при измерении габаритных размеров.
9.2. Габаритные размеры дозатора
(п. 5.16) определяют линейкой по
ГОСТ 427 с ценой деления не более 1 мм.
Присоединительные размеры дозатора
(п. 5.2) определяют штангенциркулем с ценой деления не более 0,1 мм.
| | ИС МЕГАНОРМ: примечание. Взамен ГОСТ 23711-79 Постановлением Госстандарта РФ от 27.03.1992 N 294 с 1 января 1994 года введен в действие ГОСТ 29329-92. | |
9.3. Определение массы дозатора
(п. 5.3) проводят на весах по ГОСТ 23711-79 с погрешностью, указанной в
п. 9.1.4.
9.5. Испытания дозатора на устойчивость к климатическим воздействиям
(п. 5.5) проводят на устойчивость к холоду и теплу при температурах по
ГОСТ 15150, соответствующих их исполнению и категории (устойчивость к теплу - не ниже 50 °С). Дозатор выдерживают при соответствующей минимальной температуре в течение не менее 3 ч. После испытания дозатор помещают в нормальные климатические условия по
ГОСТ 15150 не менее чем на 3 ч. Затем дозатор выдерживают при соответствующей максимальной температуре в течение не менее 3 ч. После испытания дозатор помещают в нормальные климатические условия по
ГОСТ 15150 не менее чем на 3 ч.
Результаты испытаний считают положительными, если после всего цикла испытаний дозатор удовлетворяет требованиям к герметичности по
п. 5.7.
9.6. Испытания корпуса дозатора на прочность
(п. 5.6) проводят на гидравлическом стенде давлением, равным 1,5

, контролируемым манометром, установленным на нагнетательном магистральном трубопроводе, в течение не менее 5 мин. Скорость нарастания давления должна быть не более 0,02 МПа/с.
Течь, остаточные деформации и разрушение корпуса дозатора не допускаются.
9.7. Испытания дозатора на герметичность
(п. 5.7) проводят на пневматическом стенде по
ГОСТ 24054 давлением, равным

, в течение не менее 5 мин. Скорость нарастания давления не более 0,02 МПа/с, при этом дозатор погружают в ванну с жидкостью.
Утечка воздуха не допускается.
9.8. Испытание дозаторов на виброустойчивость
(п. 5.8) проводят на вибростенде, при этом дозатор крепят к платформе стенда в рабочем положении. Необходимо непрерывно отслеживать частоту вибраций от 5 до (40 +/- 1) Гц при темпе не более 5 мин/октава и амплитуде колебаний 1 мм. При обнаружении резонансных точек дозатор необходимо подвергать воздействию вибрации на каждой резонансной частоте в течение 120 ч.
Если резонансная частота не установлена, то дозатор необходимо подвергать вибрациям на частоте от 5 до 40 Гц с амплитудой колебаний 1 мм в течение 120 ч.
После испытаний дозатор не должен иметь видимых механических повреждений и должен удовлетворять требованиям к герметичности по
п. 5.7.
9.9. Испытание на устойчивость к воздействию повышенной влажности и температуры
(п. 5.9) проводят по ГОСТ 9.308
(раздел 5) в течение 30 суток.
После окончания испытаний дозаторы не должны иметь следов растрескивания, отслаивания или повреждений иного рода и удовлетворять требованиям на прочность
(п. 5.6) и герметичность
(п. 5.7).
9.10. Испытания на устойчивость к воздействию водного раствора хлористого натрия на внутреннюю поверхность дозатора
(п. 5.10) проводят путем заполнения дозатора 1%-ным раствором хлористого натрия NaCl в дистиллированной воде.
После этого дозатор закрывают со всех сторон крышками и помещают на 30 суток в тепловую камеру с температурой (40 +/- 2) °С. Температуру воздуха поддерживают постоянной в течение всего времени испытания.
После окончания испытания дозатор вскрывают, освобождают от солевого раствора.
Дозаторы не должны иметь следов растрескивания, отслаивания или повреждений иного рода и должны удовлетворять требованиям на прочность
(п. 5.6), герметичность
(п. 5.7) и обеспечивать расходные характеристики
(табл. 1).
9.11. Испытания по определению расходов воды и пенообразователя
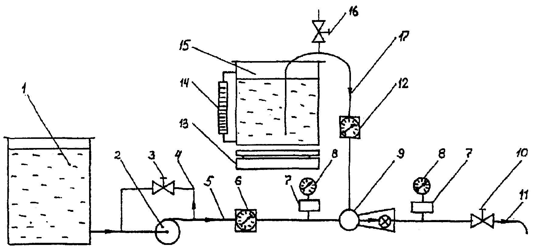
(п. 5.11) проводят на установке, схема которой приведена на рис. 2.
Рис. 2. Установка для определения расхода воды и
пенообразователя через дозатор:
1 - емкость для воды; 2 - насос; 3, 10, 16 - вентиль;
4 - обводное кольцо на насосе; 5 - напорный трубопровод;
6, 12 - расходомер; 7 - демпфирующее устройство под
манометром; 8 - манометры; 9 - дозатор; 11 - сливной патрубок;
13 - весы; 14 - уровнемер; 15 - бак для пенообразователя
(добавки); 17 - всасывающий трубопровод для пенообразователя
Предельные уровни пенообразователя в емкости должны быть: нижний на 0,3 м ниже оси дозатора, а верхний не выше чем на 2 м от оси дозатора. Заборный уровень должен быть расположен на оси дозатора. Протяженность трубопровода подачи пенообразователя должна быть не более 6 м и иметь условный проход, равный условному проходу всасывающего патрубка дозатора.
9.11.1. Определение расхода воды через дозатор с использованием расходомера.
Емкость 1 заполняют водой. В качестве водоисточника допускается использовать водопровод или иной источник, обеспечивающий требуемые параметры
(табл. 1) по давлению и расходу. Включают насос 2 при открытых вентилях 3, 10 и 16. Устанавливают давление перед дозатором (0,80 +/- 0,02) МПа и на выходе из дозатора с помощью вентилей 3 и 10. Давление на входе в дозатор измеряют манометром с верхним пределом измерения не менее 1,2 МПа и установленным на расстоянии от входа не более 400 мм. Давление на выходе из дозатора измеряют манометром (мановакуумметром), с верхним пределом измерения 0,1 МПа и установленным на расстоянии от входа не более 250 мм. При этом на линии отбора давления на входе и выходе из дозатора должно быть установлено демпфирующее устройство, обеспечивающее колебание стрелки манометра не более одного деления шкалы. Линия отбора давления должна быть полностью заполнена жидкостью. После установления стационарного режима, когда показания манометров перед и за дозатором будут соответствовать заданным значениям, измеряют расход воды, проходящей через дозатор, путем снятия показаний с расходомера 6. За результаты испытаний принимают среднее арифметическое значение не менее чем трех измерений.
9.11.2. Определение расхода пенообразователя с использованием расходомера.
Емкости 1 и 15 заполняют соответственно водой и пенообразователем. В качестве водоисточника допускается использовать водопровод или иной источник, обеспечивающий требуемые параметры по давлению и расходу.
Включают насос 2 при открытых вентилях 3, 10 и 16. Устанавливают давление перед дозатором (0,80 +/- 0,02) МПа и на выходе из дозатора вентилями 3 и 10. После установления стационарного режима, когда показания манометров перед и за дозатором будут соответствовать заданным значениям, закрывают вентиль 16, тем самым открывая доступ пенообразователя в систему. Выдерживают время установления стационарного режима. Расход пенообразователя через дозатор измеряют расходомером 12. За результаты испытаний принимают среднее арифметическое значение не менее чем трех измерений.
9.11.3. Определение расхода пенообразователя с использованием уровнемера, установленного на емкости с пенообразователем
(рис. 2).
9.11.3.1. Предварительно проводят тарировку уровнемера по определению объема жидкости в единице деления любым удобным для испытателя способом. В качестве рабочей жидкости используют воду.
9.11.3.2. Проведение испытаний.
Включают насос 2 при открытых вентилях 3, 10 и 16. Вентилями 3 и 10 устанавливают давление перед дозатором (0,80 +/- 0,02) МПа и на выходе из дозатора. После установления стационарного режима, когда показания манометров перед и за дозатором будут соответствовать заданным значениям, закрывают вентиль 16. После установления стационарного режима отмечают начальный уровень жидкости в уровнемере и включают секундомер. По истечении времени, достаточного для обеспечения требуемой погрешности измерения расхода не ниже указанной в
п. 9.1.4, открывают вентиль 16 и снимают конечное показание уровня в мерной трубке.
Расход пенообразователя Q, м3/с, рассчитывают по формуле

, (1)
где q - цена деления мерной трубки, м3/дел.;

и

- начальное и конечное значения делений на мерной трубке, дел.;
t - время испытаний, с.
За результаты испытаний принимают среднее арифметическое значение не менее чем трех измерений.
9.11.4. Определение расхода пенообразователя весовым способом.
Порядок проведения испытаний аналогичен с проведением испытаний с использованием уровнемера. Проводят предварительную тарировку весов. В качестве рабочей жидкости при тарировке используют воду.
Включают насос 2 при открытых вентилях 3, 10 и 16. Устанавливают давление перед дозатором (0,80 +/- 0,02) МПа и на выходе из дозатора вентилями 3 и 10. После установления стационарного режима закрывают вентиль 16. Выдерживают время для установления стационарного режима. Затем на весах отмечают начальную массу и включают секундомер. По истечении времени, определенного в предварительных испытаниях, снимают конечные показания массы.
Расход пенообразователя Q, м3/с, рассчитывают по формуле

, (2)
где

и

- начальное и конечное значения показания весов, кг;
t - время испытаний, с;

- плотность пенообразователя, кг/м3.
За результаты испытаний принимают среднее арифметическое значение не менее чем трех измерений.
Для определения расхода пенообразователя допускается вместо пенообразователя использовать воду. При этом возможно закольцовывание напорного трубопровода установки со всасывающей линией насоса через емкость.
Значения подсасываемого пенообразователя определяют в этом случае расчетным способом - путем умножения полученного расхода по воде на коэффициент, равный 0,85.
9.12. Испытание на работоспособность дозатора
(п. 5.12) проводят при давлении на входе в дозатор (0,80 +/- 0,02) МПа с расходом воды согласно
табл. 1. Продолжительность испытаний не менее 60 мин.
Признаки внешних повреждений элементов дозатора, трещин на корпусе, остаточных деформаций и поломок отдельных частей не допускаются.
9.13. Работоспособность дозатора (число циклов включения)
(п. 5.13) проверяют при

после 100 циклов (не менее) включения установки. Число циклов в минуту - не более 5.
После испытания дозаторы должны соответствовать требованиям
пп. 5.6, 5.7.
9.14. Испытание на вероятность безотказной работы (надежность)
(п. 5.14) проводят в соответствии с
ГОСТ 27.410 одноступенчатым методом. Приемочный уровень срока сохраняемости принимается равным 0,99, браковочный уровень - 0,9. Риск изготовителя принимают 0,1, риск потребителя - 0,2. Объем выборки 11 дозаторов, приемочное число отказов 0. Продолжительность испытаний не менее 300 ч при максимальном рабочем давлении.
В качестве критерия отказа принимают наличие механических дефектов и несоответствие параметрам по
пп. 5.6 -
5.8.
9.15. Контроль назначенного срока службы
(п. 5.15) проверяют путем обработки статистических данных (
РД 50-204-87. Надежность в технике. Сбор и обработка информации о надежности изделий в эксплуатации. Основные положения. Методические указания).
10. МАРКИРОВКА И УПАКОВКА
10.1. На каждом дозаторе должна быть нанесена маркировка, содержащая следующие данные:
- товарный знак или торговую марку предприятия-изготовителя;
- условное обозначение дозатора;
- номер дозатора по системе нумерации предприятия-изготовителя;
- обозначения ГОСТ или ТУ;
- дату выпуска;
- направление потока воды;
10.2. Место и способ нанесения, шрифт маркировки устанавливает предприятие-изготовитель.
10.3. Маркировка должна сохраняться в течение всего срока эксплуатации дозатора.
10.4. Каждый дозатор перед упаковкой в транспортную тару должен пройти консервацию по
ГОСТ 9.014 для группы изделий 1, условий хранения Ж. Вариант временной противокоррозионной защиты ВЗ-1, вариант внутренней упаковки ВУ-0.
10.5. Дозаторы должны быть упакованы в транспортную тару (ящики) по
ГОСТ 2991.
10.6. Дозаторы различных типоразмеров допускается упаковывать в одну транспортную тару только по требованию заказчика.
10.7. Для предотвращения перемещения и повреждения дозатора при транспортировании в таре должны быть применены подкладки, подпорки и т.д.
10.8. Масса упаковки и продукции в ней (брутто) не должна превышать 50 кг.
10.9. В тару должен быть вложен упаковочный лист, содержащий:
- наименование и товарный знак или торговую марку предприятия-изготовителя;
- условное обозначение дозатора;
- количество изделий;
- дату упаковки;
- личное клеймо упаковщика.
Допускается вместо личного клейма упаковщика вкладывать контрольный талон упаковщика, напечатанный типографским способом, или проставлять номер упаковщика штампом на поверхности тары или компостером на ярлыке. Ярлык должен быть напечатан типографским способом и приклеен на тару.
Всю документацию помещают в герметичный пакет.
10.10. Надписи на таре должны соответствовать
ГОСТ 14192.
10.11. Консервация и упаковка должны предохранять дозатор от коррозии не менее года со дня отгрузки с предприятия-изготовителя при жестких условиях хранения и транспортирования по
ГОСТ 9.014.
10.12. Допускается любой, отличный от указанного в
п. 10.5, вид упаковки, обеспечивающий сохранность дозатора при транспортировании и хранении.
10.13. Сопроводительная документация должна быть упакована по
ГОСТ 23170.