Главная // Актуальные документы // ГОСТ Р (Государственный стандарт)СПРАВКА
Источник публикации
М.: Издательство стандартов, 1993
Примечание к документу
Документ утратил силу с 01.09.2012 в связи с изданием
Приказа Росстандарта от 14.05.2012 N 66-ст. Взамен введен в действие
ГОСТ Р 50588-2012.
Документ включен в
Перечень национальных стандартов и сводов правил, в результате применения которых на добровольной основе обеспечивается соблюдение требований Федерального
закона от 22.07.2008 г. N 123-ФЗ "Технический регламент о требованиях пожарной безопасности" (
Приказ Ростехрегулирования от 30.04.2009 N 1573).
Документ включен в
Перечень национальных стандартов, содержащих правила и методы исследований (испытаний) и измерений, в том числе правила отбора образцов, необходимых для применения и исполнения Федерального
закона от 22.07.2008 N 123-ФЗ и осуществления оценки соответствия (
Распоряжение Правительства РФ от 10.03.2009 N 304-р).
С 1 июля 2003 года до вступления в силу технических регламентов акты федеральных органов исполнительной власти в сфере технического регулирования носят рекомендательный характер и подлежат обязательному исполнению только в части, соответствующей целям, указанным в
пункте 1 статьи 46 Федерального закона от 27.12.2002 N 184-ФЗ.
Введен в действие с 01.07.1994.
Название документа
"ГОСТ Р 50588-93. Пенообразователи для тушения пожаров. Общие технические требования и методы испытаний"
(утв. Постановлением Госстандарта РФ от 28.07.1993 N 191)
"ГОСТ Р 50588-93. Пенообразователи для тушения пожаров. Общие технические требования и методы испытаний"
(утв. Постановлением Госстандарта РФ от 28.07.1993 N 191)
Утвержден и введен в действие
Постановлением Госстандарта РФ
от 28 июля 1993 г. N 191
ГОСУДАРСТВЕННЫЙ СТАНДАРТ РОССИЙСКОЙ ФЕДЕРАЦИИ
ПЕНООБРАЗОВАТЕЛИ ДЛЯ ТУШЕНИЯ ПОЖАРОВ
ОБЩИЕ ТЕХНИЧЕСКИЕ ТРЕБОВАНИЯ И МЕТОДЫ ИСПЫТАНИЙ
Foaming agents for fire extinguishing.
General technical requirements and test methods
ГОСТ Р 50588-93
Дата введения
1 июля 1994 года
1. Разработан и внесен Техническим комитетом ТК 274 "Пожарная безопасность".
Разработчики: Д.И. Юрченко; В.В. Пивоваров; В.В. Пешков; Ю.Ф. Антипин.
2. Утвержден и введен в действие Постановлением Госстандарта России от 28.07.1993 N 191.
3. Введен впервые.
4. Ссылочные нормативно-технические документы
────────────────────────────────┬─────────────────────────────────
Обозначение НТД, │ Номер пункта, раздела,
на который дана ссылка │ приложения
────────────────────────────────┼─────────────────────────────────
ИС МЕГАНОРМ: примечание.
Взамен ГОСТ 33-82 Постановлением Госстандарта РФ от 27.03.2001
N 137-ст с 1 января 2002 года введен в действие ГОСТ 33-2000.
ИС МЕГАНОРМ: примечание.
Взамен ГОСТ 22567.5-77 Постановлением Госстандарта РФ от
10.10.1995 N 530 с 1 января 1996 года введен в действие
ИС МЕГАНОРМ: примечание.
Взамен ГОСТ 23676-79 Постановлением Госстандарта РФ от
27.03.1992 N 294 с 1 января 1994 года введен в действие
ИС МЕГАНОРМ: примечание.
Взамен ГОСТ 24104-88 Постановлением Госстандарта РФ от
26.10.2001 N 439-ст с 1 июля 2002 года введен в действие
Настоящий стандарт распространяется на пенообразователи, предназначенные для получения с помощью специальной аппаратуры воздушно-механической пены для тушения пожаров.
Требования разд. 1 -
6,
Приложения 1 настоящего стандарта являются обязательными, другие требования настоящего стандарта - рекомендуемыми.
Обязательные требования к пенообразователям, направленные на обеспечение безопасности для жизни, здоровья населения и охраны окружающей среды, изложены в
разд. 3.
1.1. Классификация пенообразователей - по
ГОСТ 4.99.
1.2. В зависимости от химического состава (поверхностно-активной основы) пенообразователи подразделяют на:
синтетические углеводородные;
синтетические фторсодержащие.
2. ОБЩИЕ ТЕХНИЧЕСКИЕ ТРЕБОВАНИЯ
Основные показатели пенообразователей должны соответствовать значениям, приведенным в таблице.
─────────────────────┬─────────────────────────────────────┬───────────────
Наименование │ Значение показателя │ Методы
показателя ├─────────────────┬───────────────────┤ испытаний
│Пенообразователи │ Пенообразователи │
│общего назначения│целевого назначения│
│ │ синтетические │
│ ├─────────┬─────────┤
│ │углеводо-│фторсо- │
│ │родные │держащие │
─────────────────────┼─────────────────┼─────────┴─────────┼───────────────
Внешний вид │Прозрачная │Однородная жидкость│По
п. 5.1
│жидкость │без осадка │
│без осадка │и расслоения │
20 °C, кг/м3 │ │
ИС МЕГАНОРМ: примечание.
Взамен ГОСТ 33-82 Постановлением Госстандарта РФ от 27.03.2001
N 137-ст с 1 января 2002 года введен в действие ГОСТ 33-2000.
Кинематическая │ 100 │ 200 │По ГОСТ 33
вязкость при 20 °C, │ │ │
-1 │ │ │
мм2 x с , не более │ │ │
ИС МЕГАНОРМ: примечание.
Взамен ГОСТ 22567.5-77 Постановлением Госстандарта РФ от
10.10.1995 N 530 с 1 января 1996 года введен в действие
Водородный │ 7,0 - 10,0 │ 6,5 - 10,0 │По ГОСТ 22567.5
показатель (pH) │ │ │
ния, °C, не выше │ │ │
Показатель смачива- │ 9 │Не устанавливается │По
Приложению 1
ющей способности, с, │ │ │
не более │ │ │
Кратность пены: │ │
низкая, не более │ 20 │По
п. 5.2
средняя, не менее │ 60 │ 60 │ 40 │По
п. 5.2
Устойчивость пены │ Устанавливается в НТД │По
п. 5.2
высокой кратности, с │ │
Время тушения │ │ │
н-гептана при задан- │ │ │
ной интенсивности │ │ │
подачи рабочего │ │ │
раствора, с, │ │ │
не более: │ │ │
пеной низкой │ Не устанавливается │ 120 │По
п. 5.3
кратности при │ │ │
интенсивности │ │ │
(0,059 +/- 0,002), │ │ │
дм3/м2 x с; │ │ │
пеной средней │ │ │
кратности при │ │ │
интенсивности, │ │ │
дм3/м2 x с: │ │ │
0,042 +/- 0,02 │ 300 │Не устанавливается │По
п. 5.4
0,032 +/- 0,002 │ Не │ 300 │По
п. 5.4
│ устанавливается │ │
0,032 +/- 0,002 │ Не │ 120 │По
п. 5.5
│ устанавливается │ │
Примечание. Норму интенсивности подачи для водорастворимых горючих жидкостей устанавливают в каждом конкретном случае.
3. ТРЕБОВАНИЯ БЕЗОПАСНОСТИ
3.1. По степени воздействия на организм человека пенообразователи не должны превышать 3-й класс опасности по
ГОСТ 12.1.007.
3.2. Пенообразователи не должны оказывать канцерогенных и мутагенных воздействий на организм человека.
3.3. Рабочие растворы пенообразователей должны быть безвредны. Составы, содержащие фторированные добавки, могут обладать слабым кумулятивным и кожно-резорбтивным действием.
3.4. При работе с пенообразователями необходимо применять индивидуальные средства защиты по
ГОСТ 12.4.011, чтобы исключить возможность попадания состава на кожные покровы, слизистую оболочку глаз и в желудочно-кишечный тракт.
3.5. Производственные помещения должны быть оборудованы приточно-вытяжной вентиляцией.
3.6. Лицам, работающим с пенообразователями, необходимо соблюдать меры личной гигиены перед приемом пищи, курением и после окончания работ.
3.7. Пенообразователи не должны быть способны к самостоятельному горению.
Рабочие растворы пенообразователей должны быть пожаро- и взрывобезопасны.
Методы определения номенклатуры показателей пожаро- и взрывоопасности - по
ГОСТ 12.1.044.
3.8. В процессе производства и использования пенообразователей не должны образовываться вторичные опасные соединения.
3.9. Разрешается сброс биологически "мягких" пенообразователей (биоразлагаемость более 80%) в производственные сточные воды при разбавлении их водой предельно допустимой концентрации ПАВ, равной

по активному веществу.
3.10. Запрещается сброс производственных сточных вод, содержащих биологически "жесткие" пенообразователи (биоразлагаемость не более 40%), в систему канализации населенных пунктов.
3.11. В процессе эксплуатации и хранения необходимо принимать меры, исключающие пролив пенообразователей.
3.12. Слив остатков пенообразователей при промывке пенных коммуникаций, пеносмесителей, оборудования, емкостей для хранения в водоемы хозяйственно-питьевого и культурно-бытового водоиспользования не разрешается.
4.1. Пенообразователи должны приниматься партиями. Партией считается любое количество пенообразователя единовременного изготовления, однородное по своим показателям качества, сопровождаемое одним документом о качестве.
4.3. При получении неудовлетворительных результатов испытаний хотя бы по одному из показателей по нему следует проводить повторные испытания пенообразователя на удвоенной выборке. Результаты повторных испытаний распространяют на всю партию.
5.1. Определение внешнего вида
5.1.1. Внешний вид пенообразователя определяют визуально в пробирке из бесцветного стекла П 2 по
ГОСТ 25336 диаметром 30 мм, вместимостью 250 см3 в проходящем рассеянном свете при (20 +/- 2) °C.
5.1.2. Предварительно отфильтрованный при (20 +/- 2) °C пенообразователь заливают в количестве по 250 см3 в два цилиндра 2-250 по
ГОСТ 1770 и выдерживают в течение (24 +/- 2) ч при температурах (3 +/- 2) °C и (60 +/- 2) °C. При этом не должно наблюдаться выпадение кристаллического осадка и расслоения, видимого невооруженным глазом.
5.2. Определение кратности и устойчивости пены низкой и средней кратности
Кратность пены характеризуется величиной, равной отношению объема пены к объему раствора, содержащегося в пене.
В зависимости от величины кратности получаемую из пенообразователей пену подразделяют на:
пену низкой кратности (не более 20);
пену средней кратности (от 20 до 200);
пену высокой кратности (более 200).
За устойчивость пены принимают ее способность к сохранению первоначальных свойств. Сущность метода определения устойчивости пены заключается в установлении времени разрушения 50% объема пены или времени выделения 50% жидкой фазы.
5.2.1. Аппаратура и материалы
Для определения используют установку
(черт. 1), в комплект которой входят:
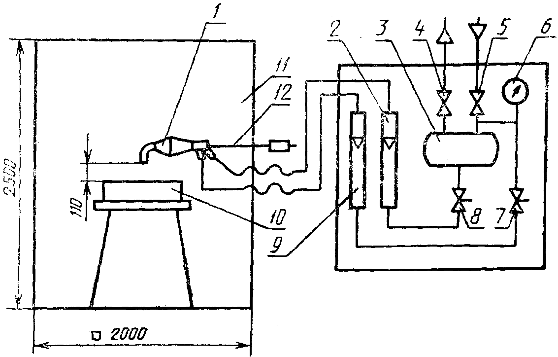
пенный пожарный ствол для получения пены различной кратности: генератор пены средней кратности ГПС-100 с распылителем
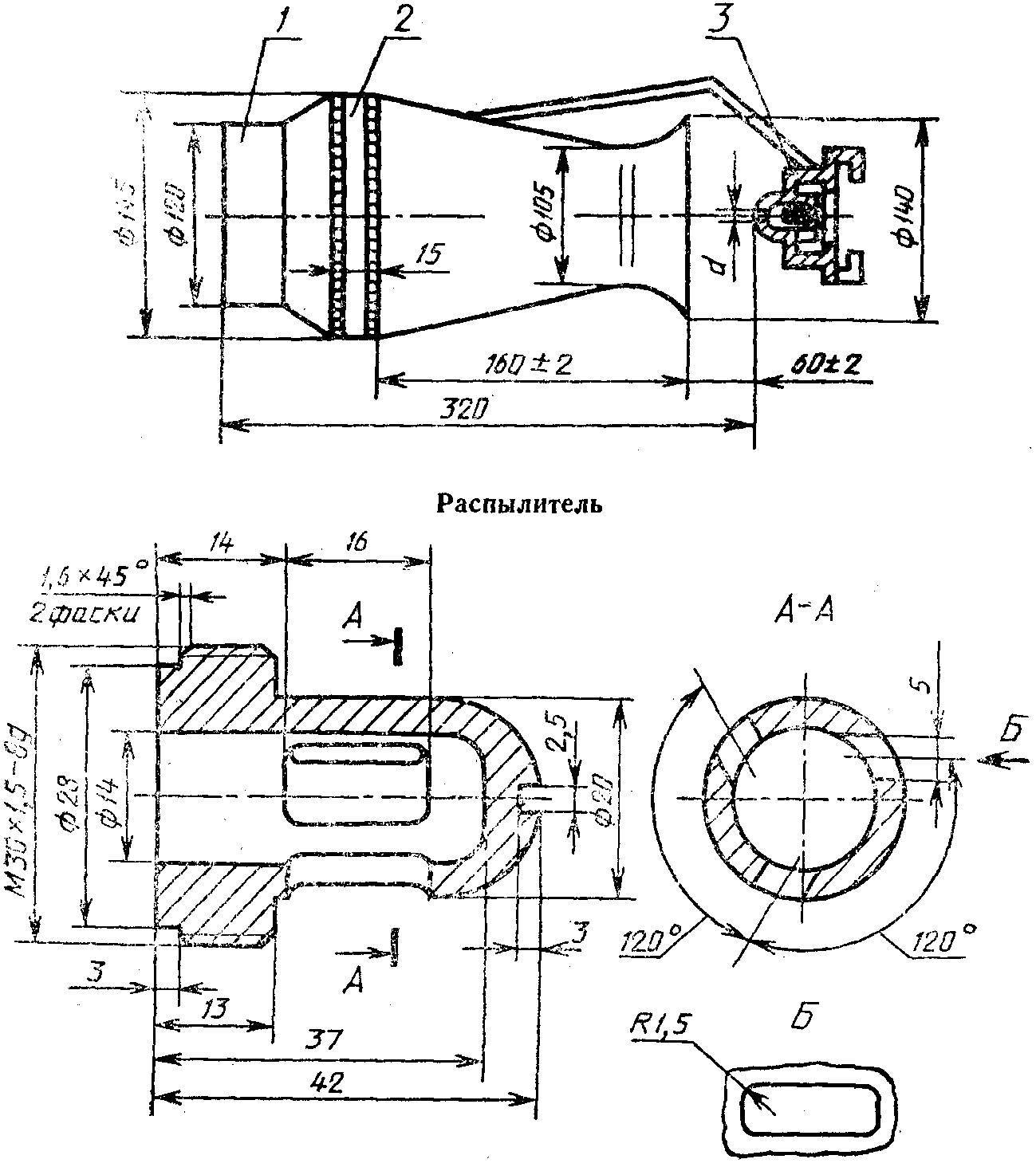
(черт. 2), позволяющим обеспечить расход раствора (1 +/- 0,1) дм3/с при давлении перед распылителем (0,6 +/- 0,01) МПа ((6 +/- 0,1) кгс/см2) или ствол для пены низкой кратности со сменными распылителями
(черт. 3), позволяющими обеспечить расход раствора от 0,2 до 1,0 дм3/с при давлении перед распылителем (0,6 +/- 0,01) МПа ((6 +/- 0,1) кгс/см2);
насос водяной, обеспечивающий производительность от 0,2 до 1,0 дм3/с при давлении на выходе (0,6 +/- 0,01) МПа ((6 +/- 0,1) кгс/см2);
рукав пожарный напорный длиной не более 2 м;
рукав пожарный всасывающий по
ГОСТ 5398 длиной 1,8 м;
емкость металлическая вместимостью не менее 100 дм3;
емкость металлическая вместимостью до 200 дм3 массой не более 12 кг;
| | ИС МЕГАНОРМ: примечание. Взамен ГОСТ 23676-79 Постановлением Госстандарта РФ от 27.03.1992 N 294 с 1 января 1994 года введен в действие ГОСТ 29329-92. | |
весы по ГОСТ 23676 с пределом взвешивания не менее 20 кг и погрешностью не более 0,05 кг;
манометр по
ГОСТ 2405 с верхним пределом измерений 1,0 МПа (10 кгс/см2) и ценой деления 0,04 МПа (0,4 кгс/см2), установленный на выходе насоса на патрубке;
термометр по
ГОСТ 28498 с диапазоном измерений от 0 °C до 100 °C и ценой деления 1 °C;
цилиндр 1-2000 по
ГОСТ 1770 с ценой деления 20 мл;
секундомер с пределом измерений 60 мин и ценой деления 0,2 с;
вода питьевая по
ГОСТ 2874 или по нормативно-технической документации на пенообразователь.
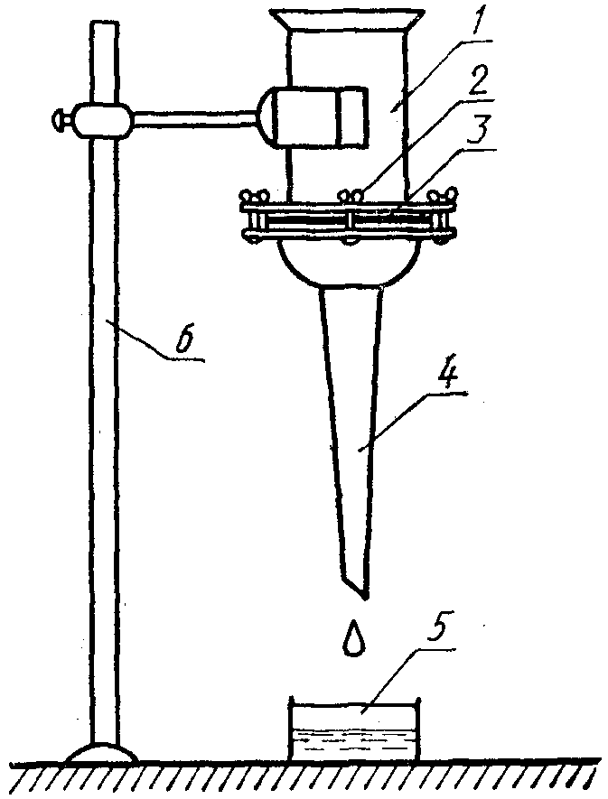
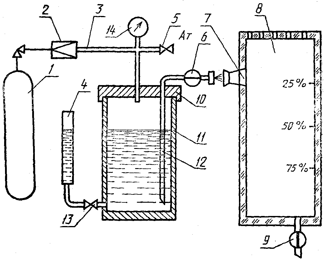
Схема установки для определения кратности
и устойчивости пены
1 - пенный пожарный ствол; 2 - рукав напорный;
3, 4 - патрубок с манометром; 5 - насос;
6 - рукав всасывающий; 7, 8 - емкость; 9 - весы
Черт. 1
Генератор пены средней кратности ГПС-100
1 - корпус; 2 - пакет сеток; 3 - распылитель
Черт. 2
Пожарный ствол для пены низкой кратности
1 - труба; 2 - успокоитель; 3 - муфта; 4, 7 - штуцер;
5 - распылитель; 6 - смеситель; 8 - переходник;
9 - головка напорная ГМ-50
Черт. 3
5.2.2. Подготовка к проведению испытаний
В емкости 7
(черт. 1) приготавливают 100 дм3 рабочего раствора испытуемого пенообразователя. Всасывающий рукав опускают в приготовленный раствор и заполняют линию кратковременным включением насоса. Проверяют работоспособность установки. Определяют массу пустой емкости 8.
Перед каждой серией определений осуществляют контроль температуры рабочего раствора пенообразователя (20 +/- 2) °C.
5.2.3. Проведение испытаний
Условия окружающей среды, при которой суммарная погрешность методики выполнения определений находится на уровне заданной, следующие: температура воздуха от 15 до 25 °C, давление от 84 до 106,7 кПа, относительная влажность воздуха от 40 до 80%.
Приготовленный рабочий раствор подают под давлением (0,6 +/- 0,01) МПа ((6 +/- 0,1) кгс/см2) в напорный рукав, на выходе которого установлен пенный пожарный ствол. После получения устойчивой струи из генератора пены средней кратности (ГПС) наполняют емкость для сбора пены и взвешивают ее. При этом должно быть равномерное заполнение всего объема, не допуская образования пустот. Массу пены определяют по разности веса заполненной и пустой емкости.
Для низкократной пены емкость заполняют в течение 5 - 7 с. С помощью линейки с пределом измерения 100 см определяют высоту пены с погрешностью до 1 см и вычисляют объем низкократной пены (V) в кубических сантиметрах по формуле

,
где H - высота пены, см;
d - диаметр емкости для сбора пены, см.
Кратность пены (K) вычисляют по формуле

,
где

- объем пены, дм3;

- объем раствора пенообразователя, дм3, численно равный массе пены, кг.
Для определения устойчивости пены средней кратности используют цилиндрическую емкость для сбора пены (h:d) = 1,5 вместимостью (200 +/- 0,5) дм3, при этом значение кратности пены должно быть не менее 50.
После равномерного заполнения из ГПС емкости пеной фиксируют время разрушения 50% объема пены.
5.2.4. Обработка результатов
За окончательный результат принимают среднее арифметическое двух определений. Допустимое расхождение между результатами повторных испытаний, полученных одним оператором при постоянных условиях испытаний с доверительной вероятностью 0,95, не должно превышать 10%.
5.3. Определение времени тушения пеной низкой кратности из фторсодержащих пенообразователей водонерастворимых горючих жидкостей
Сущность метода заключается в определении времени тушения при заданной интенсивности подачи рабочего раствора пенообразователя.
5.3.1. Аппаратура, материалы
Круглый противень, изготовленный из стали марки Ст3, внутренним диаметром (1900 +/- 15) мм, высотой (200 +/- 10) мм, толщиной стенок 2,5 мм, площадью 2,8 м2.
Пожарный ствол для пены низкой кратности с распылителем
(черт. 3), позволяющим обеспечить расход раствора 10 дм3/мин при давлении на стволе (0,58 +/- 0,02) МПа ((5,8 +/- 0,2) кгс/см2).
Тигель для повторного воспламенения, изготовленный из стали Ст3, внутренним диаметром (300 +/- 10) мм, высотой (100 +/- 10) мм, толщиной стенок 2,5 мм. Тигель имеет ручку, на которой с помощью шеста он подается в противень.
Секундомер с пределом измерений 60 мин и ценой деления 0,2 с.
Вода питьевая по
ГОСТ 2874 или по нормативно-технической документации на пенообразователь.
5.3.2. Подготовка к проведению испытаний
Устанавливают противень на ровной поверхности земли. Располагают ствол на таком расстоянии и с таким наклоном, чтобы пена попадала в центр очага под углом 45°. Испытания проводят на открытом воздухе при скорости ветра вблизи противня не более 3 м/с. Температура воздуха (15 +/- 5) °C, температуры горючего и рабочего раствора (17,5 +/- 2,5) °C.
5.3.3. Проведение испытания
Заливают в противень (150 +/- 5) дм3 горючего без водяной подушки. Зажигают его. Время предварительного горения (120 +/- 5) с после воспламенения. Подача пены в течение (120 +/- 2) с, даже если тушение наступило раньше этого времени.
Проводят три опыта. При успешном тушении в первых двух опытах третий опыт не проводят.
5.3.4. Определение времени повторного воспламенения
После прекращения подачи пены через 60 с в центре противня устанавливают тигель для повторного воспламенения, в который залито 5 дм3 горючего. Горючее в тигле зажигают одновременно с зажиганием горючего в противне. При опускании тигля в противень необходимо следить, чтобы пена из противня не потушила горючее в тигле. Фиксируют время, за которое вся площадь противня будет охвачена пламенем. Время повторного воспламенения должно быть не менее 300 с.
5.3.5. Обработка результатов
За результат испытания принимают среднее арифметическое результатов трех определений. Допустимое расхождение между результатами повторных испытаний, полученных одним оператором при постоянных условиях испытаний с доверительной вероятностью 0,95, должно быть в пределах +/- 20%.
5.4. Определение времени тушения и критической интенсивности подачи рабочего раствора пенообразователя для пены средней кратности (стендовая методика)
Сущность метода заключается в определении времени тушения при заданной интенсивности подачи рабочего раствора пенообразователя и установления минимальной интенсивности подачи раствора (критической интенсивности), к значению которой асимптотически приближается кривая, характеризующая зависимость времени тушения от интенсивности подачи раствора.
5.4.1. Аппаратура, реактивы и материалы
Для определения времени тушения пеной используют установку
(черт. 4), в комплект которой входят:
пеногенератор, обеспечивающий получение пены средней кратности (100 +/- 20) при рабочих расходах раствора (2,0 +/- 0,2) г/с и воздуха (200 +/- 20) см3/с;
бачок, изготовленный из стали 12Х18Н9Т по
ГОСТ 5632, вместимостью до 5 дм3 с горловиной и завинчивающейся крышкой, нижним сливным отверстием;
ротаметр типа РМ 0,63 ГУЗ по
ГОСТ 13045 с ценой деления

;
ротаметр типа РМ 0,016 ЖУЗ по
ГОСТ 13045 с ценой деления

;
манометр по
ГОСТ 2405 с верхним пределом измерения 0,6 МПа (6 кгс/см2) и ценой деления 0,04 МПа (0,4 кгс/см2);
регулировочные клапаны;
запорные клапаны;
цилиндрические горелки, изготовленные из стали марки 12Х18Н9Т по
ГОСТ 5632, внутренним диаметром от 140 до 450 мм, высотой (100 +/- 2) мм, толщиной стенок 1 - 1,5 мм;
ограждение для горелки и пеногенератора, которое оборудуют окном для наблюдения за ходом тушения, входной дверью для замены горелок и контроля пеногенератора, выдвижным держателем для пеногенератора;
весы лабораторные типа ВЛК-500 по ГОСТ 24104;
цилиндр 1-2000 по
ГОСТ 1770 с ценой деления 20 мл;
секундомер с пределом измерений 60 мин и ценой деления 0,2 с;
источник сжатого воздуха с рабочим давлением 0,3 - 0,4 МПа (3 - 4 кгс/см2);
термометр по
ГОСТ 28498 с диапазоном измерений от 0 до 100 °C и ценой деления 0,2 °C;
вода дистиллированная по
ГОСТ 6709 (или модель морской воды).
Схема установки для тушения пеной средней кратности
1 - пеногенератор; 2, 9 - ротаметр; 3 - бачок;
4, 5, 7, 8 - клапан; 6 - манометр; 10 - горелка;
11 - ограждение; 12 - выдвижной держатель
Черт. 4
5.4.2. Подготовка к испытанию
Готовят 4 дм3 рабочего раствора в дистиллированной (морской) воде с температурой (20 +/- 2) °C. Раствор заливают в бачок. Подают воздух и раствор в пеногенератор. Через 5 - 10 с после начала подачи пены отбирают пробу в сосуд для определения расхода. Фиксируют время набора пены. Отбор пробы следует проводить таким образом, чтобы мерный сосуд был заполнен равномерно по всему объему. Определяют массу пены взвешиванием сосуда до набора пены и после. Расход раствора вычисляют делением массы пены на время заполнения сосуда, расход воздуха - делением объема пены на время заполнения сосуда. Если расходы соответствуют заданным, то приступают к проведению испытания.
Условия окружающей среды, при которой суммарная погрешность методики выполнения определений находится на уровне заданной, следующие: температура воздуха от 15 до 25 °C, давление от 84 до 106,7 кПа, относительная влажность воздуха от 40 до 80%.
5.4.3. Проведение испытания
После проверки работы пеногенератора заливают в горелку гептан высотой слоя (2,0 +/- 0,1) см. Гептан зажигают и выдерживают время свободного горения (180 +/- 5) с. Во время свободного горения пеногенератор должен находиться вне зоны пламени. Затем подают пену и вводят пеногенератор в зону горения так, чтобы пена ложилась в центр горелки, поддерживая заданные расходы раствора и воздуха. Одновременно с вводом включают секундомер и измеряют время тушения, т.е. время от начала подачи пены в горелку до прекращения горения гептана.
Проводят три опыта. При успешном тушении в первых двух опытах третий опыт не проводят.
Для определения критической интенсивности подачи раствора пенообразователя размеры горелок подбирают таким образом, чтобы получить минимальный интервал между двумя значениями интенсивности подачи, при одном из которых время тушения составляет не более 300 с, а при другом оно превышает это значение, или тушение не наступает. Для каждой горелки проводят три опыта.
Повторное использование гептана недопустимо.
5.4.4. Обработка результатов
За результат определения времени тушения пеной средней кратности при заданной интенсивности подачи раствора принимают среднее арифметическое результатов трех параллельных испытаний.
Допустимое расхождение между результатами повторных испытаний, полученных одним оператором при постоянных условиях испытаний, с доверительной вероятностью 0,95, должно быть в пределах +/- 15%.
Интенсивность подачи рабочего раствора для каждой горелки (I), дм3/м2 x с, рассчитывают по формуле

,
где Q - расход раствора пенообразователя, дм3/с;
S - площадь зеркала горючей жидкости, м2.
Критическую интенсивность (

), дм3/м2 x с, рассчитывают по формуле

,
где

- интенсивность, при которой время тушения превышает 300 с или тушение не достигнуто, дм3/м2 x с;

- минимальная интенсивность, при которой время тушения не превышает 300 с, дм3/м2 x с.
За результат определения критической (минимальной) интенсивности подачи раствора принимают значение интенсивности, равное среднему арифметическому результату трех испытаний.
Допустимое расхождение между результатами повторных испытаний, полученных одним оператором при постоянных условиях испытаний с доверительной вероятностью 0,95, должно быть в пределах +/- 10%.
5.5. Определение времени тушения пеной средней кратности
5.5.1. Аппаратура и материалы
Для определения времени тушения пеной используют установку
(черт. 5), в комплект которой входят:
пожарный ствол для пены средней кратности с распылителем
(черт. 6), обеспечивающим расход раствора от 3 до 4 дм3/мин при давлении на стволе от 0,4 до 0,6 МПа;
круглый противень, изготовленный из стали марки Ст3, внутренним диаметром (1480 +/- 15) мм, высотой (150 +/- 10) мм, толщиной стенок 2,5 мм, площадью 1,73 м2;
насос водяной, обеспечивающий производительность от 3 до 4 дм3/мин при рабочем давлении на стволе от 0,4 до 0,6 МПа;
рукав напорный;
емкость вместимостью не менее 300 дм3;
манометр по
ГОСТ 2405 с верхним пределом измерений 1,0 МПа (10 кгс/см2) и ценой деления 0,02 МПа (0,2 кгс/см2), установленный на стволе;
тигель для повторного воспламенения, изготовленный из стали марки Ст3, с внутренним диаметром (150 +/- 5) мм, высотой (150 +/- 5) мм, толщиной стенок 2,5 мм. Тигель имеет скобу, с помощью которой его крепят к внешней стенке противня;
секундомер с пределом измерений 60 мин и ценой деления 0,2 с;
вода питьевая по
ГОСТ 2874 или по нормативно-технической документации на пенообразователь.
Схема установки для тушения пеной средней кратности
1 - емкость; 2 - насос; 3 - трубопровод; 4 - рукав;
5 - манометр; 6 - пеногенератор; 7 - противень; 8 - тигель
Черт. 5
Пожарный ствол для пены средней кратности
1 - сетка; 2 - корпус; 3 - распылитель; 4 - манометр;
5 - кран; 6 - головка напорная ГМ-50
Черт. 6
5.5.2. Подготовка к проведению испытания
Испытания проводят на открытом воздухе при скорости ветра вблизи противня не более 3 м/с и температуре воздуха (15 +/- 5) °C, температуре воды (17,5 +/- 2,5) °C, температура рабочего раствора (17,5 +/- 2,5) °C и температуре горючего (17,5 +/- 2,5) °C.
Противень устанавливают на ровном участке земли. Заливают (30 +/- 1) дм3 воды и (55 +/- 1) дм3 горючего. Ствол пены средней кратности устанавливают горизонтально непосредственно на краю противня с подветренной стороны. Тигель для повторного воспламенения закрепляют с внешней стороны противня и заливают (1 +/- 0,1) дм3 горючего. В емкости готовят рабочий раствор нужной концентрации испытуемого пенообразователя. Проверяют работоспособность установки.
5.5.3. Проведение испытания
Горючее в противне и тигле зажигают: время свободного горения (60 +/- 5) с. Во время свободного горения ствол выносят из зоны пламени. По истечении 60 с включают насос, устанавливают ствол на краю противня и подают пену на поверхность горящей жидкости. Подачу пены продолжают в течение (120 +/- 5) с. Фиксируют время тушения, равное времени от начала подачи пены в противень до прекращения горения.
Для определения времени повторного воспламенения фиксируют время воспламенения 1% и 25% поверхности противня от горящего тигля.
Проводят три опыта. При успешном тушении в первых двух опытах третий опыт не проводят.
5.5.4. Обработка результатов
За результат определения принимают среднее арифметическое результатов трех испытаний. Допустимое расхождение между результатами повторных испытаний, полученных одним оператором при постоянных условиях испытаний с доверительной вероятностью 0,95, должно быть в пределах +/- 20%.
6. УПАКОВКА, МАРКИРОВКА, ТРАНСПОРТИРОВАНИЕ И ХРАНЕНИЕ
Упаковка, маркировка, транспортирование и хранение пенообразователей в соответствии с
ГОСТ 1510 и инструкцией "Порядок применения, транспортирования, хранения и проверки качества пенообразователей для тушения пожаров", утвержденной ГУПО МВД СССР 29 июля 1988 г.
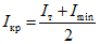
Обязательное
1. ОПРЕДЕЛЕНИЕ ПОКАЗАТЕЛЯ СМАЧИВАЮЩЕЙ СПОСОБНОСТИ
Сущность метода заключается в определении времени смачивания гидрофобной ткани растворов пенообразователя и установления его рабочей концентрации для получения смачивателя при пожаротушении.
1.1. Аппаратура и материалы
Устройство для определения показателя смачивающей способности пенообразователей (черт. 7) состоит из полого цилиндра и стока с коническим дном, скрепленных между собой винтами, фильтра (саржа суровая, х/б), лабораторного штатива, чашки ЧБН-1-40 по
ГОСТ 25336.
Устройство для определения показателя
смачивающей способности пенообразователей
1 - цилиндр; 2 - винт; 3 - фильтр; 4 - сток;
5 - чашка; 6 - штатив
Черт. 7
Секундомер с пределом измерения 60 мин и ценой деления 0,2 с.
Цилиндр 2-100 по
ГОСТ 1770 с ценой деления 1 мл.
1.2. Подготовка к испытанию
Между цилиндрической частью и стоком устанавливают фильтр. В качестве фильтра используют один слой ткани, вырезанный в виде круга диаметром не менее 34 мм.
В цилиндре готовят раствор пенообразователя предполагаемой рабочей концентрации. Температура воздуха и раствора (20 +/- 2) °C.
1.3. Проведение испытания
Пипеткой отбирают 10 см3 приготовленного раствора и заливают его в мензурку. Затем выливают раствор в полый цилиндр устройства и включают секундомер, определяя время до появления первой капли раствора.
Для определения рабочей концентрации пенообразователя необходимо определить минимальную концентрацию, при которой время, прошедшее с момента налива испытуемого раствора в полый цилиндр до появления первой капли, составит (8 +/- 1) с.
Рекомендуемый интервал концентрации растворов пенообразователя при проведении измерений от 1 до 10% (масс.) с шагом 0,5%.
Повторное использование фильтров и растворов пенообразователя недопустимо.
1.4. Обработка результатов
За результат испытания принимают среднее арифметическое двух параллельных определений. Допустимое расхождение между результатами повторных испытаний, полученными одним оператором при постоянных условиях испытания с доверительной вероятностью 0,95, не должно превышать 0,5 с.
Рекомендуемое
1. ОПРЕДЕЛЕНИЕ КРАТНОСТИ И УСТОЙЧИВОСТИ ПЕНЫ
ВЫСОКОЙ И СРЕДНЕЙ КРАТНОСТИ В ЛАБОРАТОРНЫХ УСЛОВИЯХ
1.1. Аппаратура, реактивы, материалы
Для получения пены высокой и средней кратности используют установки, показанные на
черт. 8 и
9, соответственно.
В комплект установки
(черт. 8) входят: источник сжатого воздуха, краны, трубка для создания давления в сосуде с раствором пенообразователя, заслонка с отверстием для регулирования воздуха, пенообразующие сетки, прямоугольная емкость для сбора пены высотой 0,5 м вместимостью 50 дм3, трубка для подачи раствора пенообразователя, клапан для регулирования давления в сосуде, прибор для контроля давления, цилиндры по
ГОСТ 1770 вместимостью 100 мл и ценой деления 1 мл, термометр по
ГОСТ 28498 с диапазоном измерения от 0 до 100 °C и ценой деления 1 °C.
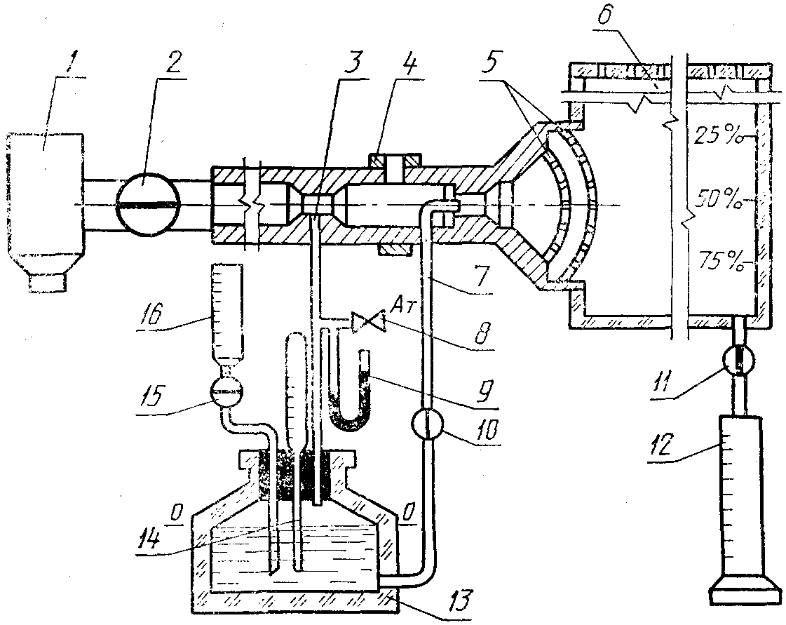
Схема установки для получения пены высокой кратности
1 - источник воздуха; 2, 10, 11, 15 - кран; 3, 7 - трубка;
4 - заслонка; 5 - сетка; 6 - емкость; 8 - клапан;
9 - прибор для контроля давления; 12, 16 - цилиндр;
13 - сосуд; 14 - термометр
Черт. 8
В комплект установки
(черт. 9) входят: баллон для сжатого воздуха, обеспечивающий рабочее давление не менее 0,6 МПа (6 кгс/см2), редуктор, трубопровод, мерная трубка, клапаны, краны, генератор пены, прямоугольная емкость для сбора пены высотой 0,5 м, вместимостью 50 дм3, крышка, сосуд для рабочего раствора пенообразователя, сифонная трубка. Давление в емкости контролируют с помощью манометра по
ГОСТ 2405 с верхним пределом измерения 1,0 МПа (10 кгс/см2) и ценой деления 0,04 МПа (0,4 кгс/см2).
Схема установки для получения пены средней кратности
1 - баллон для сжатого воздуха; 2 - редуктор;
3 - трубопровод; 4 - мерная трубка; 5, 13 - клапан;
6, 9 - кран; 7 - генератор пены; 8 - емкость; 10 - крышка;
11 - сосуд; 12 - сифонная трубка; 14 - манометр
Черт. 9
Секундомер с пределом измерения 60 мин и ценой деления 0,2 с.
Весы типа ВЛК-500 по ГОСТ 24104.
Посуда для приготовления модели морской воды и растворов пенообразователей.
Для приготовления растворов пенообразователей используют дистиллированную воду по
ГОСТ 6709.
Модель морской воды, используемой для приготовления растворов пенообразователей, содержит, % (масс.):
магний хлористый, 6-водный по
ГОСТ 4209 ....... 1,10
кальций хлористый, 2-водный ................... 0,16
натрий сернокислый, безводный по
ГОСТ 4166 .... 0,40
натрий хлористый по
ГОСТ 4233 ................. 2,50
вода питьевая по
ГОСТ 2874 .................... до 100
1.2. Подготовка к испытанию
Перед проведением опытов на установке для получения пены высокой кратности
(черт. 8) емкость для сбора пены должна быть смочена раствором пенообразователя. Для этого емкость заполняют пеной и, не дожидаясь разрушения, удаляют ее лопаткой.
Готовят 0,5 дм3 раствора пенообразователя требуемой концентрации при температуре (20 +/- 2) °C. Приготовленный раствор заливают в сосуд вместимостью 0,4 дм3 через цилиндр до риски на горловине при открытом кране 10 и закрывают кран 15. Заполняют цилиндр 16 до верхней отметки шкалы. Кран 2 закрывают.
Для получения пены средней кратности на установке
(черт. 9) готовят 2 дм3 рабочего раствора пенообразователя требуемой концентрации при температуре (20 +/- 2) °C.
Емкость для сбора пены смачивают раствором пенообразователя. Сняв крышку, заливают в сосуд 1 дм3 раствора пенообразователя. Закрывают крышку, открывают клапан 13 и измеряют уровень раствора в мерной трубке, закрывают клапаны 5, 13 и кран 6. Открывают воздушный баллон и с помощью редукционного клапана устанавливают требуемое давление в сосуде 11, контролируемое манометром. Обычно испытания проводят при давлении 0,6 МПа.
Условия окружающей среды, при которых суммарная погрешность методики выполнения определений находится на уровне заданной, следующие: температура воздуха от 15 до 25 °C, давление от 84 до 106,7 кПа, относительная влажность воздуха от 40 до 80%.
1.3. Проведение испытания
В установке
(черт. 8) включают воздуходувку и открывают кран 2. Когда емкость полностью заполняют пеной, кран 2 закрывают и воздуходувку выключают. В момент окончания процесса пенообразования открывают кран 11 и включают секундомер для измерения времени разрушения объема пены. Для измерения времени выделения 50% жидкости секундомер включают с момента начала заполнения емкости пеной. Открывают кран 15 и перепускают раствор из мерного цилиндра 16 в сосуд до риски на его горловине. По разности начального и конечного уровней в цилиндре 16 определяют израсходованный раствор пенообразователя.
Для определения устойчивости пены измеряют время разрушения пены между рисками 25 и 75% ее высоты, сделанными на емкости для сбора пены, и фиксируют время, когда через открытый кран 11 в цилиндр 12 вытечет из пены 50% объема жидкости.
В установке
(черт. 9) открывают кран 6 и собирают пену в емкость. После заполнения емкости закрывают кран 6 и клапан на баллоне. Открывают клапан 5 и выпускают воздух из сосуда. Открывают клапан 13 и измеряют уровень раствора в мерной трубке. По разности уровней до и после опыта определяют израсходованный раствор.
Время разрушения пены определяют аналогично. Кран 9 открывают после набора пены.
1.4. Обработка результатов
Кратность пены (K) вычисляют по формуле

,
где

- объем собранной пены, дм3;

- объем израсходованного раствора пенообразователя, дм3.
Для каждого типа пенообразователя определение проводят не менее трех раз при условии расхождения между максимальным и минимальным значениями не более чем на 5%.
За окончательный результат принимают среднее арифметическое трех параллельных определений. Допустимое расхождение между результатами повторных испытаний, полученных одним оператором при постоянных условиях испытаний с доверительной вероятностью 0,95, не должно превышать 5%.