Главная // Актуальные документы // ГОСТ (Государственный стандарт)СПРАВКА
Источник публикации
М.: ИПК Издательство стандартов, 2004
Примечание к документу
Документ утратил силу с 01.01.2023 в связи с изданием Приказа Росстандарта от 26.09.2022 N 997-ст. Взамен введен в действие
ГОСТ 18995.5-2022.
С 1 июля 2003 года до вступления в силу технических регламентов акты федеральных органов исполнительной власти в сфере технического регулирования носят рекомендательный характер и подлежат обязательному исполнению только в части, соответствующей целям, указанным в
пункте 1 статьи 46 Федерального закона от 27.12.2002 N 184-ФЗ.
Документ
введен в действие с 01.07.1974.
Взамен ГОСТ 9884-61 в части разд. 6 и ГОСТ 9390-60 в части разд. 3.
Название документа
"ГОСТ 18995.5-73. Межгосударственный стандарт. Продукты химические органические. Метод определения температуры кристаллизации"
(утв. и введен в действие Постановлением Госстандарта СССР от 17.07.1973 N 1741)
(ред. от 01.05.1990)
"ГОСТ 18995.5-73. Межгосударственный стандарт. Продукты химические органические. Метод определения температуры кристаллизации"
(утв. и введен в действие Постановлением Госстандарта СССР от 17.07.1973 N 1741)
(ред. от 01.05.1990)
Утвержден и введен в действие
Постановлением Государственного
комитета стандартов
Совета Министров СССР
от 17 июля 1973 г. N 1741
МЕЖГОСУДАРСТВЕННЫЙ СТАНДАРТ
ПРОДУКТЫ ХИМИЧЕСКИЕ ОРГАНИЧЕСКИЕ
МЕТОД ОПРЕДЕЛЕНИЯ ТЕМПЕРАТУРЫ КРИСТАЛЛИЗАЦИИ
Organic chemical products.
Methods for determination of freezing point
ГОСТ 18995.5-73
| | Список изменяющих документов (в ред. Изменения N 1, утв. в сентябре 1976 г., Изменения N 2, утв. в июне 1981 г., Изменения N 3, утв. в августе 1982 г., Изменения N 4, утв. в мае 1990 г.) | |
Группа Л09
МКС 71.080.01,
71.100.01;
ОКСТУ 2609
Дата введения
1 июля 1974 года
1. Разработан и внесен Министерством химической промышленности СССР.
2. Утвержден и введен в действие Постановлением Государственного комитета стандартов Совета Министров СССР от 17.07.1973 N 1741.
3. Взамен ГОСТ 9884-61 в части разд. 6 и ГОСТ 9390-60 в части разд. 3.
4. Стандарт содержит все требования СТ СЭВ 2336-80 и СТ СЭВ 2343-80.
5. В стандарт введены международные стандарты ИСО 1392-77 и ИСО 6353-1-82 (GM 5.25.3).
6. Ссылочные нормативно-технические документы
Обозначение НТД, на который дана ссылка | Номер пункта, подпункта |
| |
| |
| |
7. Ограничение срока действия снято по Протоколу N 5-94 Межгосударственного совета по стандартизации, метрологии и сертификации (ИУС 11 - 12-94).
8. Издание (сентябрь 2004 г.) с Изменениями N 1, 2, 3, 4, утвержденными в сентябре 1976 г., июне 1981 г., августе 1982 г., мае 1990 г. (ИУС 10-76, 9-81, 12-82, 8-90).
Настоящий стандарт распространяется на органические химические продукты (реактивы, особо чистые вещества и технические продукты, кроме бензола) и устанавливает методы определения температуры кристаллизации в диапазоне от минус 30 °C до плюс 250 °C.
Сущность метода заключается в наблюдении за изменением температуры охлаждаемой жидкой или расплавленной пробы испытуемого вещества во времени и установлении температуры кристаллизации.
Диапазон определяемых температур кристаллизации следующий:
от минус 30 °C до плюс 150 °C - в приборе Баумана-Фрома;
от минус 10 °C до плюс 140 °C - в приборе Жукова;
от минус 50 °C до плюс 250 °C - в приборе, состоящем из двух пробирок.
(Измененная редакция, Изм. N 4).
1. ОПРЕДЕЛЕНИЕ ТЕМПЕРАТУРЫ КРИСТАЛЛИЗАЦИИ
1.1. Аппаратура и реактивы
Прибор Баумана-Фрома
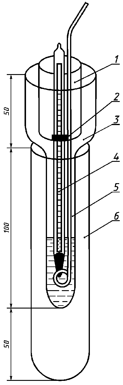
(черт. 1), состоящий из следующих частей: стеклянного толстостенного цилиндрического сосуда 3, с нижней частью диаметром 20 мм, а верхний - диаметром 50 мм. В верхнюю часть сосуда помещают насадку 1 (в виде стаканчика), на дне которой имеются два круглых отверстия: для термометра 4 и мешалки 5. Последние свободно подвешены в отверстиях на резиновых кольцах 2. Цилиндрический сосуд с насадкой помещают в широкую пробирку 6 диаметром 40 - 45 мм. Вместо цилиндрического сосуда с насадкой допускается применять пробирку, снабженную корковой пробкой с отверстиями для термометра и мешалки.
Прибор Жукова (черт. 1а).
Черт. 1а
Прибор, состоящий из двух пробирок (см.
черт. 1б), - внутренней пробирки 3 с наружным диаметром 25 мм и длиной около 150 мм и защитной пробирки 4 с внутренним диаметром 28 мм, толщиной стенки 2 мм и длиной около 120 мм. Во внутреннюю пробирку вставлена стеклянная или металлическая мешалка 1 с диаметром кольца не более 20 мм и термометр 2.
Сосуд Дьюара с термометром (см. черт. 1в).
Сосуд Дьюара (см. черт. 1г) (допускается поверхность внутренней стенки не покрывать серебром).
Допускается использование других приборов, чертежи которых должны быть приведены в нормативно-технической документации на испытуемый продукт.
Бани охлаждающая и нагревательная.
Термометры ртутные стеклянные лабораторные укороченные с ценой деления 0,1 или 0,2 °C и установленной температурной поправкой. Допускается использование термометров с ценой деления 0,5 °C и установленной температурной поправкой.
Секундомер.
Жидкость кремнийорганическая ПФМС-4 по
ГОСТ 15866 (силиконовое масло).
Смеси для охлаждающей бани:
вода со снегом или толченым льдом - для температуры до 0 °C;
смесь из снега или толченого льда с поваренной солью (10:3) - для температуры до минус 10 °C;
смесь из снега или толченого льда, хлористого аммония и поваренной соли (10:2:4) - для температуры до минус 20 °C;
смесь из ацетона и твердой углекислоты - для температуры до минус 30 °C (в ацетон постепенно прибавляют малыми порциями твердую углекислоту).
Шкаф сушильный или термостат.
(Измененная редакция, Изм. N 1, 4).
1.2. Проведение испытания
1.2.1а. Общие указания по проведению анализа -
ГОСТ 27025.
1.2.1. Отбор и подготовку проб проводят по нормативно-технической документации на конкретную продукцию.
Условия определения температуры кристаллизации продуктов, обладающих специфическими свойствами (гигроскопичность и др.), устанавливают в нормативно-технической документации на конкретную продукцию.
Перед испытанием легкоразлагающихся продуктов необходимо проверить степень разложения продукта при расплавлении. С этой целью повторяют определение температуры кристаллизации, не вынимая пробу из пробирки. Если полученные результаты совпадают, степень разложения продукта не учитывают.
Температуру кристаллизации определяют по температурной остановке или графическим методом.
1.2.2. При определении температуры кристаллизации в приборе Баумана-Фрома испытуемое вещество помещают в сухой и чистый цилиндрический сосуд прибора. При испытании твердого вещества его расплавляют при температуре на 10 - 15 °C выше предполагаемой температуры кристаллизации.
Слой расплавленного или жидкого вещества должен быть высотой 25 - 30 мм. В сосуд с расплавленным веществом помещают термометр и мешалку, которые после расплавления вещества не должны касаться дна и стенок цилиндрического сосуда, а ртутный резервуар термометра должен находиться в середине слоя вещества.
Сосуд с испытуемым веществом протирают снаружи и вставляют в широкую пробирку, закрепленную на штативе.
(Измененная редакция, Изм. N 1, 4).
1.2.3. Испытуемое вещество в приборе охлаждают на воздухе или погружением его в охлаждающую баню, при этом жидкость осторожно перемешивают в цилиндрическом сосуде мешалкой, не касаясь дна и стенок прибора. Температура охлаждающей бани должна быть на 5 - 10 °C ниже предполагаемой температуры кристаллизации испытуемого вещества.
1.2.4. При определении температуры кристаллизации вещества, способного переохлаждаться, температура его сначала понижается ниже предполагаемой температуры кристаллизации, затем самопроизвольно повышается (в этот момент прекращают перемешивание) и, достигнув определенного максимума, остается на этом уровне в течение некоторого времени, а затем снова начинает понижаться.
Минимальная температура перед началом самопроизвольного ее повышения не должна отличаться от найденной температуры кристаллизации более чем на 3 °C.
За температуру кристаллизации в данном случае принимают высшую точку подъема температуры.
1.2.5. При определении температуры кристаллизации непереохлаждающихся веществ с момента начала кристаллизации понижение температуры прекращается, и температура остается постоянной в течение некоторого времени (в этот момент также прекращают перемешивание) и, не повышаясь, снова начинает понижаться.
За температуру кристаллизации в этом случае принимают температуру, сохраняющуюся в течение процесса кристаллизации.
По окончании определения прибор промывают растворителем, в котором растворяется испытуемый продукт, и сушат в сушильном шкафу.
1.2.6. Если образец остается жидким при температуре более чем на 3 °C ниже предполагаемой температуры кристаллизации, испытание повторяют, используя свежую порцию вещества. Когда температура жидкости будет чуть ниже предполагаемой температуры кристаллизации, добавляют "затравку", т.е. кристаллик испытуемого вещества и вызывают кристаллизацию трением мешалкой о стенки пробирки.
При испытании жидких веществ "затравку" готовят сильным охлаждением небольшой порции вещества. Если вещество существует в нескольких полиморфных формах, "затравка" должна представлять собой наиболее стабильную модификацию (т.е. форму, имеющую наивысшую температуру кристаллизации).
1.2.7. При проведении определения в приборе Жукова расплавленное вещество помещают в подогретый сухой и чистый прибор, заполняя его на 3/4 высоты, и закрывают корковой или резиновой пробкой со вставленным в нее термометром. Ртутный резервуар термометра должен находиться в середине слоя расплавленного вещества. Прибор предварительно нагревают в термостате при температуре на 10 - 15 °C выше предполагаемой температуры кристаллизации испытуемого вещества. При определении температуры кристаллизации, превышающей комнатную температуру более чем на 10 °C, прибор с расплавленным веществом оставляют на воздухе. При определении более низких температур кристаллизации прибор погружают в охлаждающую баню с температурой примерно на 10 °C ниже температуры кристаллизации испытуемого вещества. Расплавленное вещество осторожно перемешивают термометром, не касаясь дна и стенок прибора, до тех пор, пока вещество не начнет кристаллизоваться (вещество кристаллизуется без переохлаждения), или температура вещества не будет на 2 - 3 °C ниже предполагаемой температуры кристаллизации (вещество способно переохлаждаться). Если при этом кристаллизация не начинается, то добавляют "затравку", как указано в
п. 1.2.6. С момента прекращения понижения температуры или начала ее подъема перемешивание прекращают.
Температуру кристаллизации вещества отмечают так же, как при определении в приборе Баумана-Фрома.
При повторном определении температуры кристаллизации прибор промывают, сушат и применяют новую порцию вещества.
1.2.8. Определение в приборе, состоящем из двух пробирок
Жидкую или расплавленную пробу, подогретую на 5 - 10 °C выше ожидаемой температуры кристаллизации, заливают во внутреннюю пробирку до 60 мм. При ограниченном количестве пробы допускается заполнение пробирки до 35 - 40 мм. Допускается расплавлять пробу непосредственно в приборе и при температуре на 20 °C выше предполагаемой температуры кристаллизации.
В заполненную пробирку опускают мешалку и термометр так, чтобы нижний край ртутного резервуара был на 15 мм выше дна, а термометр и мешалка не касались дна и стенок пробирки. Затем внутреннюю пробирку с помощью корковой или резиновой пробки укрепляют в защитной пробирке.
1.2.6 - 1.2.8. (Измененная редакция, Изм. N 4).
1.2.8.1. Для определения температуры кристаллизации в диапазоне от комнатной температуры до минус 35 °C собранный прибор опускают в сосуд Дьюара
(черт. 1в) или баню, заполненную охладительной смесью с температурой на 3 - 5 °C ниже ожидаемой температуры кристаллизации.
1.2.8.2. Для определения температуры кристаллизации в диапазоне от комнатной температуры до 100 °C собранный прибор опускают в сосуд Дьюара
(черт. 1г) или нагревательную баню, заполненную теплоносителем, температура которого на 5 - 10 °C ниже ожидаемой температуры кристаллизации.
1.2.8.3. Для определения температуры кристаллизации в диапазоне от 100 до 250 °C собранный прибор опускают в нагревательную баню, заполненную теплоносителем, температура которого на 5 - 10 °C ниже ожидаемой температуры кристаллизации.
1.2.8.4. Пробу охлаждают, перемешивая мешалкой со скоростью 30 - 60 движений в минуту, и записывают изменение температуры через каждые 30 с. Температура сначала равномерно понижается, затем при появлении кристаллов немного повышается и на короткое время остается постоянной, затем снова равномерно понижается. В момент кристаллизации перемешивание испытуемой пробы прекращают.
1.2.8.5. Повышение температуры более чем на 1 °C означает нежелательное переохлаждение пробы. В таком случае определение повторяют, увеличив скорость перемешивания или добавив несколько кристаллов "затравки" в начале процесса кристаллизации.
1.2.8.6. Температуру кристаллизации вещества отмечают так же, как при определении в приборе Баумана-Фрома.
1.2.8 - 1.2.8.6. (Введены дополнительно, Изм. N 2).
2. ОПРЕДЕЛЕНИЕ ТЕМПЕРАТУРЫ
КРИСТАЛЛИЗАЦИИ ГРАФИЧЕСКИМ МЕТОДОМ
(по кривой охлаждения)
2.1. Для установления зависимости температуры охлаждения от времени строят кривую охлаждения (черт. 2а,
б,
в,
г).
Черт. 2
Определение проводят по
п. 1.2. При этом записывают показания термометра в течение процесса охлаждения через каждые 0,5 мин. Проводят не менее десяти измерений.
После этого по данным строят кривую охлаждения, откладывая по оси абсцисс время в минутах, а по оси ординат - температуру в градусах Цельсия. Если температура понижается и затем остается постоянной в течение девяти последовательных измерений, то за температуру кристаллизации принимают температуру, соответствующую горизонтальному участку кривой (указанной на
черт. 2а).
Если вещество кристаллизуется с переохлаждением (не более 2 - 3 °C), то за температуру кристаллизации принимают температуру, соответствующую горизонтальному участку кривой после повышения температуры (см.
черт. 2б).
Если на протяжении первых десяти отсчетов после повышения температуры не будет получена постоянная температура, то температуру кристаллизации определяют графической экстраполяцией, продолжая прямую, соединяющую первую, вторую, девятую и десятую точки отсчета влево до пересечения с линией охлаждения жидкости (см.
черт. 2в,
г).
Чем чище вещество, тем выше уровень площадки по оси ординат и тем меньше угол наклона ее к горизонтали. При значительных количествах примесей горизонтальный участок экспериментальной кривой будет гораздо короче или его совсем не будет. Допускается для технических продуктов наличие нескольких горизонтальных участков экспериментальной кривой. В этом случае за температуру кристаллизации принимают температуру верхнего горизонтального участка.
(Измененная редакция, Изм. N 4).
3.1. При определении в приборах Баумана-Фрома и Жукова с использованием всех типов термометров за температуру кристаллизации принимают температуру, установленную в соответствии с
п. 1.2.4,
1.2.5 и
1.2.7 настоящего стандарта.
(Измененная редакция, Изм. N 4).
3.2. При определении в приборе, состоящем из двух пробирок, температуру кристаллизации (T) в градусах Цельсия вычисляют по формуле

,
где t - температура кристаллизации, определенная графическим методом или по температурной остановке, °C;

- средняя температура выступающего над уровнем продукта столбика ртути, °C;
h - высота столбика ртути термометра, выступающего над уровнем продукта, °C;
0,00016 - коэффициент расширения ртути.
3.3. За результат анализа принимают среднеарифметическое результатов двух параллельных определений, абсолютное расхождение между которыми не превышает допускаемое расхождение, равное 0,2 °C для термометров с ценой деления 0,1 и 0,2 °C и 1 °C для термометров с ценой деления 0,5 °C. При проведении определений в других приборах допускаемые абсолютные расхождения между результатами параллельных определений указывают в нормативно-технической документации на испытуемый продукт.
Допускаемая абсолютная суммарная погрешность результата анализа +/- 0,2 °C для термометров с ценой деления 0,1 и 0,2 °C и +/- 1 °C для термометров с ценой деления 0,5 °C при доверительной вероятности P = 0,95.
(Измененная редакция, Изм. N 4).