Главная // Актуальные документы // ГОСТ (Государственный стандарт)СПРАВКА
Источник публикации
М.: Издательство стандартов, 2000
Примечание к документу
С 1 июля 2003 года до вступления в силу технических регламентов акты федеральных органов исполнительной власти в сфере технического регулирования носят рекомендательный характер и подлежат обязательному исполнению только в части, соответствующей целям, указанным в
пункте 1 статьи 46 Федерального закона от 27.12.2002 г. N 184-ФЗ.
Ограничение срока действия снято Постановлением Госстандарта СССР от 17.03.1988 N 567.
Введен в действие с 1 января 1967 года.
Взамен МН 5410-64.
Название документа
"ГОСТ 12458-67*. Винты с буртиком. Конструкция"
(утв. Госстандартом СССР 03.01.1967)
(ред. от 01.03.1988)
"ГОСТ 12458-67*. Винты с буртиком. Конструкция"
(утв. Госстандартом СССР 03.01.1967)
(ред. от 01.03.1988)
Постановлением Госстандарта СССР
3 января 1967 г.
МЕЖГОСУДАРСТВЕННЫЙ СТАНДАРТ
ВИНТЫ С БУРТИКОМ
КОНСТРУКЦИЯ
Screws with bead. Design
ГОСТ 12458-67*
| | Список изменяющих документов (в ред. Изменения N 1, утв. в июне 1980 г., Изменения N 2, утв. в марте 1988 г.) | |
Взамен МН 5410-64
Утвержден Комитетом стандартов, мер и измерительных приборов 3 января 1967 г. Срок введения установлен с 01.07.67.
Постановлением Госстандарта СССР от 17.03.88 N 567 снято ограничение срока действия.
Переиздание (ноябрь 1999 г.) с Изменениями N 1, 2, утвержденными в июне 1980 г., марте 1988 г. (ИУС 9-80, 6-88).
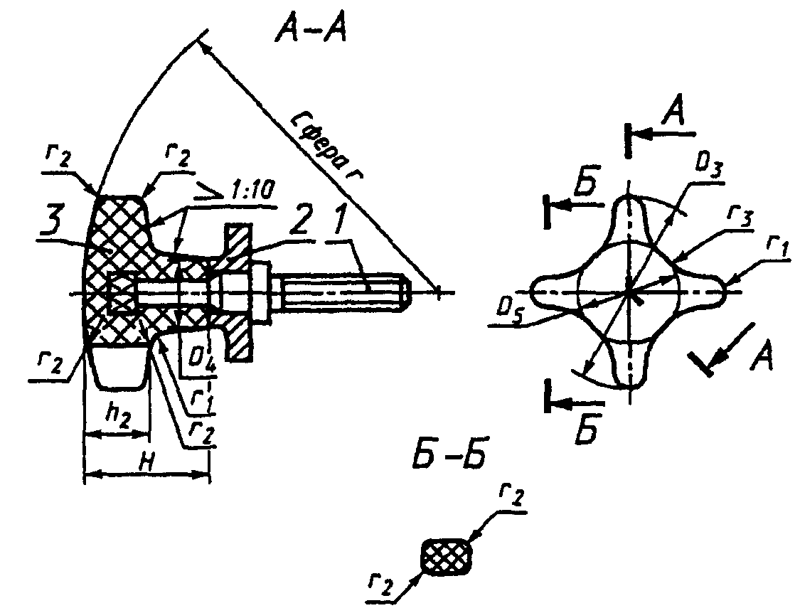
1. Конструкция и размеры винтов с буртиком исполнения 1 должны соответствовать черт. 1 и
табл. 1, исполнения 2 - черт. 1 и
табл. 1 и
2.
Исполнение 1
Исполнение 2
Черт. 1
Размеры в мм
─────────┬──────┬──────┬───┬──┬──────┬──┬──┬──┬──┬──────┬───┬──┬──┬──┬──┬──┬───┬───┬────┬──────
Обозначе-│При- │Испол-│ d │l │D (по-│D │D │D │D │ D │ L │H │h │h │h │r │r │r │ r │Масса,
ния │меня- │нение │ │ │ле до-│ 1│ 2│ 3│ 4│ 5 │ │ │ │ 1│ 2│ │ 1 │ 2 │ 3 │ кг
винтов │емость│ │ │ │пуска │ │ │ │ │справ.│ │ │ │ │ │ │ │ │ │
│ │ │ │ │f9) │ │ │ │ │ │ │ │ │ │ │ │ │ │ │
─────────┼──────┼──────┼───┼──┼──────┼──┼──┼──┼──┼──────┼───┼──┼──┼──┼──┼──┼───┼───┼────┼──────
7002-2281│ │1 │М4 │16│18 │10│22│- │- │- │36 │- │6 │3 │- │- │- │- │- │0,032
─────────┼──────┤ ├───┼──┼──────┤ ├──┤ │ │ ├───┤ │ │ │ │ │ │ │ ├──────
2282│ │ │М5 │20│20 │ │25│ │ │ │42 │ │ │ │ │ │ │ │ │0,041
─────────┼──────┤ ├───┼──┼──────┼──┼──┤ │ │ ├───┤ │ ├──┤ │ │ │ │ ├──────
2283│ │ │М6 │25│22 │12│28│ │ │ │52 │ │ │4 │ │ │ │ │ │0,061
─────────┼──────┼──────┤ │ │ ├──┼──┼──┼──┼──────┤ ├──┼──┤ ├──┼──┼───┼───┼────┼──────
2284│ │2 │ │ │ │- │- │32│12│18 │ │20│- │ │10│50│2,5│2,0│13,0│0,035
─────────┼──────┼──────┼───┼──┼──────┼──┼──┼──┼──┼──────┼───┼──┼──┼──┼──┼──┼───┼───┼────┼──────
2285│ │1 │М8 │32│25 │14│32│- │- │- │65 │- │8 │5 │- │- │- │- │- │0,106
─────────┼──────┼──────┤ │ │ ├──┼──┼──┼──┼──────┤ ├──┼──┤ ├──┼──┼───┼───┼────┼──────
2286│ │2 │ │ │ │- │- │40│14│21 │ │25│- │ │12│60│3,0│2,0│14,5│0,062
─────────┼──────┼──────┼───┼──┼──────┼──┼──┼──┼──┼──────┼───┼──┼──┼──┼──┼──┼───┼───┼────┼──────
2287│ │1 │М10│40│28 │18│36│- │- │- │82 │- │8 │6 │- │- │- │- │- │0,173
─────────┼──────┼──────┤ │ │ ├──┼──┼──┼──┼──────┤ ├──┼──┤ ├──┼──┼───┼───┼────┼──────
2288│ │2 │ │ │ │- │- │50│18│25 │ │32│- │ │14│70│4,0│2,5│16,0│0,102
─────────┼──────┼──────┼───┼──┼──────┼──┼──┼──┼──┼──────┼───┼──┼──┤ ├──┼──┼───┼───┼────┼──────
2289│ │1 │М12│50│32 │20│40│- │- │- │100│- │10│ │- │- │- │- │- │0,264
─────────┼──────┼──────┤ │ │ ├──┼──┼──┼──┼──────┤ ├──┼──┤ ├──┼──┼───┼───┼────┼──────
7002-2290│ │2 │ │ │ │- │- │62│20│32 │ │40│- │ │17│80│5,0│3,0│21,0│0,166
──────────────────┬─────────────────┬───────────────┬─────────────
Обозначения винтов│ Деталь 1 │ Деталь 2 │ Деталь 3
│ Винт │ Шайба │ Рукоятка
├─────────────────┴───────────────┴─────────────
│ Количество
├─────────────────┬───────────────┬─────────────
│ 1 │ 1 │ 1
├─────────────────┴───────────────┴─────────────
│ Обозначения деталей
──────────────────┼─────────────────┬───────────────┬─────────────
7002-2284 │7002-2284/001 │7002-2284/002 │7002-2284/003
──────────────────┼─────────────────┼───────────────┼─────────────
2286 │2286/001 │2286/002 │2286/003
──────────────────┼─────────────────┼───────────────┼─────────────
2288 │2288/001 │2288/002 │2288/003
──────────────────┼─────────────────┼───────────────┼─────────────
7002-2290 │7002-2290/001 │7002-2290/002 │7002-2290/003
──────────────────┴─────────────────┴───────────────┴─────────────
Пример условного обозначения винта с буртиком исполнения 1, размером d = M4:
Винт 7002-2281 ГОСТ 12458-67
(Измененная редакция, Изм. N 1, 2.)
1.1. Конструкция и размеры винта (деталь 1) должны соответствовать указанным на черт. 2 и в
табл. 3.
Черт. 2
Размеры в мм
─────────────┬────┬────┬────┬──────┬────┬────┬────┬────┬───┬──────
Обозначения │ d │ l │ d │d │ d │ d │ l │ l │ L │Масса,
винтов │ │ │ 1 │ 2 │ 3 │ 4 │ 1 │ 2 │ │ кг
│ │ │ │(поле │ │ │ │ │ │
│ │ │ │допус-│ │ │ │ │ │
│ │ │ │ка u8)│ │ │ │ │ │
─────────────┼────┼────┼────┼──────┼────┼────┼────┼────┼───┼──────
7002-2284/001│М6 │25 │10 │8 │5 │8 │7 │4 │48 │0,013
─────────────┼────┼────┼────┼──────┼────┼────┼────┼────┼───┼──────
2286/001│М8 │32 │12 │10 │6 │10 │8 │5 │60 │0,025
─────────────┼────┼────┼────┼──────┼────┼────┼────┼────┼───┼──────
2288/001│М10 │40 │14 │12 │8 │12 │10 │6 │78 │0,049
─────────────┼────┼────┼────┼──────┼────┼────┤ ├────┼───┼──────
7002-2290/001│М12 │50 │16 │14 │10 │14 │ │7 │95 │0,082
Пример условного обозначения винта размером d = М6:
Винт 7002-2284/001 ГОСТ 12458-67
1.2. Конструкция и размеры шайбы должны соответствовать черт. 3 и
табл. 4.
Черт. 3
Размеры в мм
─────────────┬─────────┬──────┬─────────┬───────┬──────┬──────────
Обозначения │D (поле │ D │ d (поле │h (поле│ h │Масса, кг
шайб │ допуска │ 1 │ допуска │допуска│ 1 │
│ f9) │ │ Н8) │ b12) │ │
─────────────┼─────────┼──────┼─────────┼───────┼──────┼──────────
7002-2284/002│22 │12 │8 │7 │4 │0,012
─────────────┼─────────┼──────┼─────────┼───────┼──────┼──────────
2286/002 │25 │14 │10 │8 │5 │0,018
─────────────┼─────────┼──────┼─────────┼───────┼──────┼──────────
2288/002 │28 │18 │12 │10 │6 │0,028
─────────────┼─────────┼──────┼─────────┤ │ ├──────────
7002-2290/002│32 │20 │14 │ │ │0,036
Пример условного обозначения шайбы размером D = 22 мм:
Шайба 7002-2284/002 ГОСТ 12458-67
1.1, 1.2. (Введены дополнительно, Изм. N 2.)
2. Материал винтов исполнения 1, винта (деталь 1) и шайбы (деталь 2) - сталь марки 45 по
ГОСТ 1050-88. Допускается замена на стали других марок с механическими свойствами не ниже, чем у стали марки 45.
Материал рукоятки (деталь 3) - фенопласт марок У1-301-07 и У2-301-07 коричневого цвета.
Допускается по требованию заказчика изготовлять рукоятки другого цвета.
(Измененная редакция, Изм. N 2.)
3. Твердость винтов с буртиком, кроме детали 3, - 35,0 ... 39,5

.
(Измененная редакция, Изм. N 1, 2.)
4. Неуказанные предельные отклонения размеров: h14,

.
(Измененная редакция, Изм. N 2.)
| | ИС МЕГАНОРМ: примечание. В официальном тексте документа, видимо, допущена опечатка: имеется в виду ГОСТ 24705-81, а не ГОСТ 24705-94. | |
| | ИС МЕГАНОРМ: примечание. Взамен ГОСТ 24705-81 Приказом Ростехрегулирования от 02.03.2005 N 36-ст с 1 июля 2005 года введен в действие ГОСТ 24705-2004. | |
| | ИС МЕГАНОРМ: примечание. Взамен ГОСТ 16093-81 Приказом Ростехрегулирования от 02.03.2005 N 39-ст с 1 июля 2005 года введен в действие ГОСТ 16093-2004. | |
5. Резьба метрическая - по ТОСТ 24705-94. Поле допуска резьбы - 6g по ГОСТ 16093-81.
(Измененная редакция, Изм. N 1, 2.)
(Измененная редакция, Изм. N 1.)
7. (Исключен, Изм. N 1.)
8. Покрытие винтов с буртиком, кроме детали 3, - Хим. Окс. прм. (обозначение покрытия - по
ГОСТ 9.306-85).
(Измененная редакция, Изм. N 2.)
10. Маркировать партию деталей одного типоразмера на таре или упаковке с указанием условного обозначения.
Пример маркировки на таре или упаковке винтов с буртиком исполнения 1, размером d = М4:
Винты 7002-2281 ГОСТ 12458-67
(Введен дополнительно, Изм. N 2.)
Справочное