Главная // Актуальные документы // ГОСТ (Государственный стандарт)СПРАВКА
Источник публикации
В данном виде документ опубликован не был.
Первоначальный текст документа опубликован в издании
М.: Издательство стандартов, 1983.
Информацию о публикации документов, создающих данную редакцию, см. в справке к этим документам.
Примечание к документу
С 1 июля 2003 года до вступления в силу технических регламентов акты федеральных органов исполнительной власти в сфере технического регулирования носят рекомендательный характер и подлежат обязательному исполнению только в части, соответствующей целям, указанным в
пункте 1 статьи 46 Федерального закона от 27.12.2002 N 184-ФЗ.
Ограничение срока действия снято по Протоколу N 7-95 Межгосударственного совета по стандартизации, метрологии и сертификации ("ИУС", N 11, 1995).
Изменение N 3, утв. Постановлением Госстандарта СССР от 26.06.1991 N 1039, введено в действие с 1 января 1992 года.
Взамен ГОСТ 11826-66 и ГОСТ 5.819-71.
Название документа
"ГОСТ 11826-77*. Государственный стандарт Союза ССР. Краски масляные и пентамасляные художественные. Технические условия"
(введен в действие Постановлением Госстандарта СССР от 11.02.1977 N 368)
(ред. от 26.06.1991)
"ГОСТ 11826-77*. Государственный стандарт Союза ССР. Краски масляные и пентамасляные художественные. Технические условия"
(введен в действие Постановлением Госстандарта СССР от 11.02.1977 N 368)
(ред. от 26.06.1991)
Постановлением Государственного
комитета стандартов
Совета Министров СССР
от 11 февраля 1977 г. N 368
ГОСУДАРСТВЕННЫЙ СТАНДАРТ СОЮЗА ССР
КРАСКИ МАСЛЯНЫЕ И ПЕНТАМАСЛЯНЫЕ ХУДОЖЕСТВЕННЫЕ
ТЕХНИЧЕСКИЕ УСЛОВИЯ
Oil and pentaoil paints for artists use.
Specifications
ГОСТ 11826-77*
| | Список изменяющих документов (в ред. Изменения N 1, утв. Постановлением Госстандарта СССР от 17.03.1983 N 1198, Госстандарта СССР от 18.12.1987 N 4703, Госстандарта СССР от 26.06.1991 N 1039) | |
(в ред.
Изменения N 3, утв. Постановлением Госстандарта СССР от 26.06.1991 N 1039)
Взамен
ГОСТ 11826-66
и ГОСТ 5.819-71
Постановлением Государственного комитета стандартов Совета Министров СССР от 11 февраля 1977 г. N 368 срок введения установлен
с 1 июля 1978 года
Проверен в 1983 г. Постановлением Госстандарта от 17.03.83 N 1199 срок действия продлен
до 1 июля 1988 года
Переиздание сентябрь 1983 г. с Изменением N 1, утвержденным в марте 1983 г.; Пост. N 1198 от 17.03.83 (ИУС 6 - 1983 г.).
Настоящий стандарт распространяется на художественные масляные и пентамасляные краски, представляющие собой тонкодисперсные суспензии неорганических и органических пигментов и наполнителей в связующем веществе, содержащим пленкообразующее (специально обработанные масла или пентаэритритовые эфиры жирных кислот подсолнечного или хлопкового масла), натуральные смолы, воск и другие вещества.
Краски предназначаются на масляной живописи.
(Измененная редакция, Изм. N 1).
1. ВИДЫ И ТЕХНИЧЕСКИЕ ТРЕБОВАНИЯ
1.1. В зависимости от применяемого пленкообразующего краски выпускают двух видов:
художественные масляные краски на обработанных растительных маслах;
художественные пентамасляные краски на пентаэритритовом эфире жирных кислот подсолнечного или хлопкового масла.
Ассортимент и код ОКП красок должны соответствовать указанным в
табл. 2.
Перечень красок, в состав которых входят органические пигменты (органические красители), указан в справочном приложении.
1.2. Художественные масляные и пентамасляные краски должны соответствовать образцам-эталонам и изготовляться в соответствии с требованиями настоящего стандарта по рецептурам и регламентам, утвержденным в установленном порядке.
1.3. По физико-химическим показателям краски должны соответствовать требованиям и нормам, указанным в табл. 1 -
2.
Наименование показателя | Норма | Метод испытания |
Белила цинковые пентамасляные | Художественные масляные и пентамасляные краски |
1. Цвет краски: | | | |
а) по утвержденным образцам | - | По утвержденным образцам N 1 и 2 | |
б) в координатах XYZ, не менее | | | |
X | 88,6 | - | |
Y | 90,8 | - | |
Z | 94,0 | - | |
2. Степень перетира, мкм, не более | 15 | | |
3. Предельное напряжение сдвига при 20 +/- 2 °C, Па·10-2 | 9 - 15 | То же | |
4. Тягучесть, мм, не более | 8 | " | |
5. Пастозность | После отрыва мастихина краска должна принимать конусообразную форму, не оплывать и не растекаться. Допускается склонение верхней части конуса | |
(в ред. Изменения N 2, утв. Постановлением Госстандарта СССР от 18.12.1987 N 4703) |
6. Время высыхания при температуре 20 +/- 2 °C, сут, не более: | | | |
до степени 1 | 7 | | |
до степени 5 | 13 | То же | |
7. Светостойкость цветных красок | - | Изменение цвета не должно превышать изменения цвета утвержденного образца | |
(в ред. Изменения N 2, утв. Постановлением Госстандарта СССР от 18.12.1987 N 4703) |
8. Стойкость к пожелтению белых красок: | | | |
а) по утвержденным образцам | - | Изменение цвета не должно превышать изменения цвета утвержденного образца | |
(в ред. Изменения N 2, утв. Постановлением Госстандарта СССР от 18.12.1987 N 4703) |
б) в координатах XYZ, не менее: | | | |
X | 81,0 | - | |
Y | 84,0 | - | |
Z | 76,2 | - | |
| 17 | | |
(в ред.
Изменения N 2, утв. Постановлением Госстандарта СССР от 18.12.1987 N 4703)
Примечание. Образцы цвета красок N 1 и 2 утверждаются в установленном порядке. Образцы цвета N 2 одновременно являются образцами светостойкости для цветных красок и стойкости к пожелтению для белых красок.
Госстандарта СССР от 18.12.1987 N 4703)
Наименование краски | Код ОКП | Норма |
Светостойкость или стойкость к пожелтению | Степень перетира, мкм, не более | Предельное напряжение сдвига при температуре (20 +/- 2) °C, Па·10-2 | Тягучесть при температуре (20 +/- 2) °C, мм, не более | Время высыхания при температуре (20 +/- 2) °C, сут., не более, до степени | Адгезия, мм, не менее |
1 | 5 |
Масляные краски | | | | | | | | |
Белила цинковые | 23 3111 0900 05 | X | 15 | 8 - 15 | 9 | 8 | 15 | 10 |
Белила свинцово-цинковые | 23 3111 0800 08 | X | 20 | 8 - 14 | 11 | 8 | 13 | 5 |
Белила свинцовые | 23 3111 7300 06 | X | 20 | 8 - 14 | 12 | 7 | 13 | 5 |
Стронциановая желтая | 23 3111 6000 08 | X | 25 | 6 - 12 | 12 | 7 | 13 | 25 |
Кадмий лимонный | 23 3111 2500 09 | XX | 20 (25) | 7 - 12 | 9 | 10 (12) | 15 | 25 |
Кадмий желтый светлый | 23 3111 2100 10 | XXX | 25 | 7 - 12 | 9 | 7 | 15 | 25 |
Кадмий желтый средний | 23 3111 2200 07 | XXX | 25 (30) | 7 - 12 | 9 | 13 | 19 | 25 |
Кадмий желтый темный | 23 3111 2700 03 | XXX | 20 (25) | 7 - 12 | 9 | 12 (13) | 19 | 25 |
Кадмий оранжевый | 23 3111 2800 00 | XXX | 20 (25) | 7 - 12 | 9 | 10 | 15 | 25 |
Неаполитанская желтая | 23 3111 5100 09 | XX | 30 | 6 - 12 | 11 | 10 | 20 | 10 |
Золотисто-желтая "ЖХ" | 23 3111 1700 07 | X | 25 | 6 - 20 | 13 | 13 | 22 | 45 |
Охра светлая | 23 3111 5500 08 | XXX | 30 (35) | 5 - 12 | 10 | 7 | 15 | 45 |
Охра тульская | 23 3111 1600 10 | XXX | 30 (35) | 8 - 12 | 10 | 7 | 15 | 30 |
Охра золотистая | 23 3111 8000 00 | XXX | 35 (40) | 5 - 12 | 10 | 7 | 15 | 45 |
Сиена натуральная | 23 3111 5800 10 | XXX | 30 (35) | 7 - 12 | 10 | 6 | 15 | 45 |
Марс желтый прозрачный | 23 3111 4500 01 | XXX | 25 | 8 - 20 | 9 | 4 | 12 | 45 |
Кадмий оранжево-красный | 23 3111 2900 08 | XXX | 25 | 7 - 12 | 9 | 7 | 15 | 25 |
Кадмий красный светлый | 23 3111 2300 09 | XXX | 20 (25) | 7 - 12 | 9 | 8 | 15 | 25 |
Кадмий красный темный | 23 3111 2400 01 | XXX | 20 (25) | 7 - 12 | 9 | 8 | 15 | 25 |
Кадмий пурпурный | 23 3111 3000 09 | XXX | 20 (25) | 7 - 12 | 9 | 8 | 14 | 30 |
Пирофиллитовая розовая | 23 3111 6800 06 | XX | 35 | 6 - 11 | 10 | 5 | 20 | 30 |
Тиоиндиго розовая "УСВ" | 23 3111 9800 05 | X | 25 | 4 - 13 | 13 | 10 | 19 | 45 |
Тиоиндиго розовая | 23 3111 6200 02 | X | 25 | 4 - 13 | 13 | 15 | 35 | 45 |
Краплак красный светлый | 23 3111 8100 08 | X | 15 | 5 - 13 | 12 | 15 (20) | 20 (30) | 45 |
Краплак красный темный | 23 3111 7800 02 | X | 15 | 5 - 13 | 13 | 25 | 35 | 45 |
Краплак красный темный "УСВ" | 23 3111 9700 02 | X | 15 | 5 - 13 | 13 | 13 | 20 | 45 |
Кобальт фиолетовый светлый | 23 3111 7600 08 | XX | 30 | 6 - 12 | 10 | 5 | 15 | 30 |
Кобальт фиолетовый темный | 23 3111 4000 05 | XXX | 30 (35) | 7 - 13 | 10 | 5 | 13 | 30 |
Охра красная прозрачная | 23 3111 5400 00 | XXX | 35 | 5 - 12 | 10 | 7 | 12 | 30 |
Охра красная | 23 3111 5300 03 | XXX | 35 (40) | 6 - 12 | 10 | 7 | 12 | 30 |
Английская красная | 23 3111 0600 03 | XXX | 30 | 6 - 12 | 9 | 7 | 14 | 30 |
Индийская красная | 23 3111 2000 02 | XXX | 25 | 6 - 12 | 10 | 7 | 13 | 25 |
Венецианская красная | 23 3111 1200 00 | XXX | 30 | 6 - 12 | 10 | 7 | 13 | 25 |
Шахназарская красная | 23 3111 8900 05 | XXX | 35 | 6 - 12 | 10 | 7 | 15 | 45 |
Серпуховская красная | 23 3111 9000 07 | XXX | 35 | 8 - 14 | 10 | 7 | 15 | 45 |
Капут-мортуум светлый | 23 3111 3100 06 | XXX | 30 | 8 - 13 | 9 | 7 | 13 | 30 |
Капут-мортуум темный | 23 3111 3200 03 | XXX | 30 | 6 - 12 | 9 | 7 | 13 | 30 |
Сиена жженая | 23 3111 5900 07 | XXX | 35 | 5 - 12 | 11 | 6 | 13 | 40 |
Гутанкарская фиолетовая | 23 3111 9100 04 | XX | 35 (40) | 6 - 12 | 10 | 7 | 13 | 45 |
Марс оранжевый прозрачный | 23 3111 4900 00 | XXX | 25 | 8 - 20 | 9 | 6 | 13 | 45 |
Охра темная | 23 3111 5600 05 | XXX | 35 | 4 - 12 | 10 | 7 | 13 | 45 |
Агаракская красная | 23 3111 9300 09 | XXX | 35 | 6 - 12 | 10 | 7 | 15 | 45 |
Марс коричневый светлый | 23 3111 4700 06 | XXX | 35 (40) | 6 - 16 | 9 | 4 | 10 | 45 |
Марс коричневый темный прозрачный | 23 3111 4600 09 | XXX | 30 | 6 - 16 | 9 | 5 | 12 | 45 |
Марс коричневый темный | 23 3111 4800 03 | XXX | 35 | 6 - 16 | 9 | 4 | 10 | 45 |
Кудиновская коричневая | 23 3111 9600 00 | XXX | 35 | 8 - 14 | 10 | 5 | 15 | 45 |
Умбра жженая | 23 3111 6600 04 | XXX | 35 (40) | 5 - 14 | 10 | 5 | 15 | 40 |
Архангельская коричневая | 23 3111 0700 00 | XXX | 30 | 7 - 12 | 11 | 5 | 10 | 25 |
Феодосийская коричневая | 23 3111 6900 03 | XXX | 25 | 8 - 22 | 10 | 5 | 13 | 30 |
Хотьковская коричневая | 23 3111 9200 01 | XXX | 35 | 7 - 12 | 10 | 5 | 13 | 45 |
Умбра натуральная ленинградская | 23 3111 6500 04 | XXX | 30 (35) | 8 - 19 | 9 | 5 | 11 | 30 |
Умбра натуральная | 23 3111 6700 09 | XXX | 30 (35) | 8 - 21 | 10 | 7 | 16 | 45 |
Ван-Дик коричневый | 23 3111 1100 03 | X | 30 | 4 - 12 | 12 | 7 | 13 | 25 |
Тульская коричневая прозрачная | 23 3111 2600 06 | XXX | 30 (35) | 8 - 12 | 10 | 7 | 15 | 30 |
Севанская зеленая | 23 3111 7500 00 | XX | 35 | 6 - 11 | 10 | 5 | 15 | 25 |
Умбра грузинская | 23 3111 6100 05 | XX | 30 | 6 - 11 | 10 | 5 | 15 | 25 |
Кобальт зеленый светлый "Холодный" | 23 3111 3500 05 | XXX | 30 | 8 - 12 | 10 | 5 | 13 | 10 |
Кобальт зеленый светлый | 23 3111 3400 08 | XXX | 25 | 8 - 12 | 10 | 5 | 13 | 10 |
Марганцово-кадмиевая зеленая | 23 3111 4200 10 | XX | 25 | 7 - 12 | 10 | 5 | 15 | 10 |
Окись хрома | 23 3111 5200 06 | XXX | 25 | 5 - 13 | 10 | 7 | 13 | 30 |
Кобальт зеленый темный | 23 3111 3600 02 | XXX | 25 | 8 - 12 | 10 | 5 | 13 | 20 |
Изумрудная зеленая | 23 3111 1800 04 | XXX | 30 | 6 - 14 | 11 | 5 | 13 | 45 |
Виридоновая зеленая | 23 3111 1400 05 | X | 20 | 5 - 12 | 13 | 8 | 20 (35) | 45 |
Волконскоит | 23 3111 7400 03 | XXX | 30 | 5 - 12 | 10 | 7 | 13 | 45 |
Зеленая "ФЦ" | 23 3111 1500 02 | XX | 20 | 5 - 12 | 12 | 8 | 20 | 45 |
Хром-кобальт сине-зеленый | 23 3111 7000 05 | XX | 25 | 6 - 12 | 10 | 7 | 13 | 30 |
Хром-кобальт зелено-голубой | 23 3111 7700 05 | XX | 25 | 5 - 12 | 10 | 7 | 13 | 25 |
Марганцовая голубая | 23 3111 4400 04 | XX | 25 | 8 - 14 | 10 | 6 | 13 | 20 |
Церулеум | 23 3111 7100 01 | XXX | 25 | 5 - 12 | 12 | 7 | 13 | 20 |
Кобальт синий светлый | 23 3111 3300 00 | XXX | 25 | 4 - 12 | 12 | 5 | 15 | 30 |
Кобальт синий средний | 23 3111 3800 07 | XXX | 25 | 7 - 14 | 11 | 5 | 13 | 30 |
Кобальт синий спектральный | 23 3111 3700 10 | XXX | 30 | 4 - 13 | 12 (13) | 5 | 13 | 25 |
Кобальт синий темный | 23 3111 3900 04 | XXX | 30 | 4 - 12 | 13 | 5 | 13 | 20 |
Ультрамарин светлый | 23 3111 6300 10 | XX | 25 | 6 - 12 | 12 | 7 | 13 | 25 |
Ультрамарин темный | 23 3111 6400 07 | XX | 25 | 6 - 12 | 13 | 7 | 13 | 25 |
Голубая "ФЦ" | 23 3111 0400 09 | XX | 20 | 5 - 13 | 10 | 8 | 20 | 45 |
Виноградная черная | 23 3111 1300 06 | XXX | 30 | 4 - 12 | 11 | 7 | 13 | 45 |
Персиковая черная | 23 3111 5700 02 | XXX | 30 | 5 - 12 | 10 | 7 | 13 | 45 |
Звенигородская черная | 23 3111 9400 06 | XXX | 30 (35) | 7 - 12 | 10 | 7 | 13 | 45 |
Кость жженая | 23 3111 4100 02 | XXX | 25 | 5 - 12 | 10 | 7 | 13 | 45 |
Тиоиндиго черная | 23 3111 0500 02 | XX | 20 | 5 - 13 | 13 | 8 | 30 | 45 |
Тиоиндиго черная "УСВ" | 23 3111 9900 02 | XX | 20 | 5 - 13 | 10 | 7 | 19 | 45 |
Подольская черная | 23 3111 9500 03 | XXX | 30 (35) | 7 - 12 | 10 | 7 | 13 | 45 |
Марс черный | 23 3111 5000 06 | XXX | 30 | 6 - 12 | 10 | 6 | 12 | 45 |
Сажа газовая | 23 3111 8800 09 | XX | 20 | 5 - 12 | 10 | 7 | 13 | 45 |
(позиция введена Изменением N 3, утв. Постановлением Госстандарта СССР от 26.06.1991 N 1039) |
Охра закарпатская | 23 3119 9200 05 | XXX | 35 | 6 - 12 | 10 | 5 | 15 | 25 |
(позиция введена Изменением N 3, утв. Постановлением Госстандарта СССР от 26.06.1991 N 1039) |
Закарпатская красная | 23 3119 9300 02 | XXX | 35 | 6 - 12 | 10 | 5 | 15 | 25 |
(позиция введена Изменением N 3, утв. Постановлением Госстандарта СССР от 26.06.1991 N 1039) |
Пентамасляные краски | | | | | | | | |
Белила цинковые | 23 3111 1000 06 | XXX | | | | | | |
Белила титановые | 23 3111 0300 01 | XXX | 20 | 9 - 15 | 9 | 7 | 12 | 17 |
Белила свинцово-цинковые | 23 3111 0100 07 | XXX | 20 | 7 - 14 | 10 | 8 | 13 | 10 |
Белила свинцовые | 23 3111 0200 04 | XXX | 20 | 8 - 14 | 10 | 7 | 13 | 10 |
Марганцово-кадмиевая зеленая | 23 3111 7900 10 | XX | 25 | 7 - 12 | 11 | 5 | 15 | 10 |
Кобальт зеленый светлый "холодный" | 23 3111 8400 10 | XXX | 30 | 8 - 12 | 9 | 5 | 16 | 30 |
Кобальт зеленый светлый | 23 3111 8300 02 | XXX | 25 | 8 - 12 | 9 | 5 | 13 | 30 |
Кобальт зеленый темный | 23 3111 8500 07 | XXX | 25 | 8 - 12 | 9 | 5 | 13 | 30 |
Изумрудная зеленая | 23 3111 1900 01 | XXX | 30 | 8 - 14 | 9 | 5 | 13 | 45 |
Марганцовая голубая | 23 3111 4300 04 | XXX | 25 | 8 - 14 | 9 | 5 | 13 | 20 |
Церулеум | 23 3111 7200 09 | XXX | 25 | 6 - 12 | 10 | 7 | 13 | 30 |
Хром-кобальт сине-зеленый | 23 3111 8600 04 | XX | 25 | 6 - 12 | 9 | 5 | 13 | 45 |
Хром-кобальт зелено-голубой | 23 3111 8700 01 | XX | 25 | 6 - 12 | 9 | 5 | 13 | 45 |
Кобальт синий средний | 23 3111 8200 05 | XXX | 25 | 7 - 14 | 9 | 5 | 18 | 45 |
(в ред.
Изменения N 3, утв. Постановлением Госстандарта СССР от 26.06.1991 N 1039)
Примечания:
1. (Исключено, Изм. N 1).
2. Приняты следующие обозначения:
Для цветных красок
*** - светостойкие краски н (не изменяющие цвет при испытании по
п. 3.8).
** - среднесветостойкие краски (незначительно изменяющие цвет при испытании по
п. 3.8).
* - малосветостойкие краски (изменяющие цвет при испытании по
п. 3.8).
Для белых красок
*** - маложелтеющие при испытании по
п. 3.9.
** - среднежелтеющие при испытании по
п. 3.9.
* - сильно желтеющие при испытании по
п. 3.9.
3. Допускается до 01.01.96 изготовление красок в соответствии с нормами, указанными в скобках.
(примечание 3 в ред.
Изменения N 3, утв. Постановлением Госстандарта СССР от 26.06.1991 N 1039)
1.1. - 1.3. (Измененная редакция, Изм. N 1).
(в ред.
Изменения N 2, утв. Постановлением Госстандарта СССР от 18.12.1987 N 4703)
(Измененная редакция, Изм. N 1).
2.2. (Исключен, Изм. N 1).
2.3. Для проверки физико-химических показателей объем выборки составляет 0,01% туб, отобранных из разных мест партии, но не менее 13 туб N 3, 7 туб N 6 или 7, 5 туб N 10 и 11.
2.5. Исключен с 1 июля 1988 года. -
Изменение N 2, утв. Постановлением Госстандарта СССР от 18.12.1987 N 4703.
2.6. (Исключен, Изм. N 1).
2.7. Для определения состояния тары, упаковки и правильности нанесения маркировки отбирают 3% транспортных единиц, но не менее одного.
Если при повторной проверке в выборке обнаружится более 3% транспортных единиц, не соответствующих требованиям настоящего стандарта, вся партия бракуется; при наличии трех и менее процентов - бракуется фактически обнаруженное количество дефектных единиц.
(Измененная редакция, Изм. N 1).
3.1. Отбор проб - по
ГОСТ 9980.2-86, при этом общая проба краски представляет собой совокупность туб, отобранных по
п. 2.3. Краску из туб тщательно перемешивают и отбирают среднюю пробу в количестве не менее 100 см
3.
(в ред.
Изменения N 2, утв. Постановлением Госстандарта СССР от 18.12.1987 N 4703)
Среднюю пробу помещают в тубы или в стеклянную закрытую тару.
(в ред.
Изменения N 2, утв. Постановлением Госстандарта СССР от 18.12.1987 N 4703)
3.2. Определение цвета краски
3.2.1. Определение цвета краски по утвержденным образцам
3.2.1.1. Применяемые материалы
картон переплетный по
ГОСТ 7950-77, размером 350 x 500 мм или финский, загрунтованный масляной грунтовкой по документации, утвержденной в установленном порядке;
кисть художественная щетинная плоская N 6;
(в ред.
Изменения N 2, утв. Постановлением Госстандарта СССР от 18.12.1987 N 4703)
краска пентамасляная или масляная художественная "Белила цинковые";
утвержденные образцы цвета.
3.2.1.2. Подготовка к испытанию
Для определения цвета изготовляют на картоне накраски испытуемой краски и утвержденного образца цвета в виде прямоугольника размером 20 x 70 мм цельные (без разбела) и в разбеле с цинковыми белилами. Накраски изготовляют движениями кисти с краской сверху вниз.
Для изготовления цельной накраски краску наносят слоем, постепенно переходящим от корпусного к лессирующему.
При выполнении накраски в разбеле вначале наносят цинковые белила, начиная с правого края прямоугольника, слоем, постепенно уменьшающимся по толщине. При этом в левой части прямоугольника, на расстоянии 5 - 10 мм от края, белила не наносят. С левого края прямоугольника наносят испытуемую краску слоем, постепенно уменьшающимся по толщине и заканчивающимся на расстоянии 5 - 10 мм от правого края накраски. Затем движением кисти сверху вниз смешивают краску с цинковыми белилами.
Готовая накраска должна представлять постепенный переход от чистой краски через разбельные оттенки к чистым белилам.
Для белых красок делают только одну цельную накраску.
3.2.1.3. Проведение испытания
Накраски испытуемого и утвержденного образцов, подготовленные по
п. 3.2.1.2, визуально сравнивают при рассеянном дневном свете. Цвет испытуемой накраски цельной и в разбеле должен соответствовать цвету утвержденного образца N 1 или быть близким к нему и не отличаться от образца N 1 более чем образец N 2.
3.2.2. Определение цвета краски в координатах
XYZ
3.2.2.1. Аппаратура и материалы
Цветоизмерительные приборы типа спектроколориметров "Радуга-2", "Спектротон", "Пульсар", ПТК "Колорист", компараторы цвета типа КЦ-2, позволяющие измерять координаты цвета XYZ при геометрии освещения и наблюдения диф/8° и источнике света С по ГОСТ 7721-89.
Образцы белой поверхности из молочного стекла МС-14 и МС-20 шпатель металлический.
(п. 3.2.2.1 в ред.
Изменения N 3, утв. Постановлением Госстандарта СССР от 26.06.1991 N 1039)
3.2.2.2. Подготовка к испытанию
Испытуемую краску помещают в кювету. Поверхность пасты выравнивают шпателем заподлицо с бортиком кюветы, а края кюветы защищают во избежание загрязнения прибора.
3.2.2.3. Проведение испытания
Определение цвета проводят с помощью цветоизмерительного прибора.
(в ред.
Изменения N 2, утв. Постановлением Госстандарта СССР от 18.12.1987 N 4703)
Измерение координат производят при источнике С (
ГОСТ 7721-89) три раза при различных положениях кюветы, достигаемых вращением ее вокруг оси.
(в ред.
Изменения N 3, утв. Постановлением Госстандарта СССР от 26.06.1991 N 1039)
За результат измерения принимают среднее арифметическое трех измерений, допускаемые расхождения между которыми не должны превышать 1,5%.
3.2.2.4. Обработка результатов
Значения координат цвета испытуемой краски вычисляют с точностью до 0,1.
3.2.3. При разногласиях в оценке цвета красок определение цвета в сравнении с утвержденными образцами производят по
п. 3.2.2. Цветовые характеристики испытуемой краски должны быть в пределах цветовых характеристик утвержденных образцов.
(Измененная редакция, Изм. N 1).
3.3. Определение степени перетира
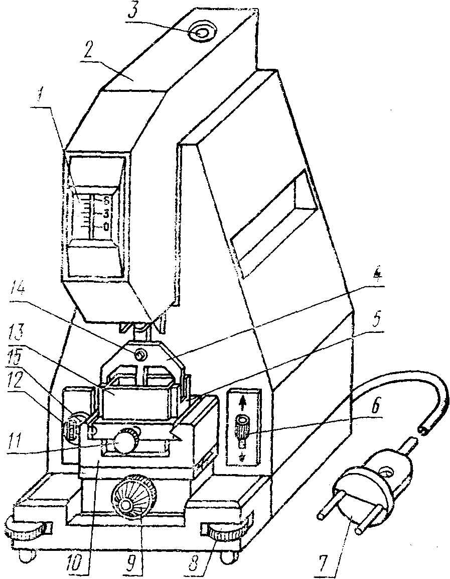
Прибор для определения степени
перетира художественных красок КМ-1
1 - клин; 2 - груз; 3 - винт; 4 - шпатель; 5 - каретка;
6 - пусковая кнопка; 7 - тумблер; 8 - штепсельная вилка;
9 - предохранитель
Черт. 1
3.3.1. Применяемые приборы:
прибор КМ-1
(черт. 1) для определения степени перетира художественных красок, основной рабочей частью которого является прибор "клин" (гриндометр) по
ГОСТ 6589-74 с пределами измерения 0 - 50 мкм с механически перемещающимся скребком;
(в ред.
Изменения N 2, утв. Постановлением Госстандарта СССР от 18.12.1987 N 4703)
шпатель или мастихин.
(абзац введен
Изменением N 2, утв. Постановлением Госстандарта СССР от 18.12.1987 N 4703)
3.3.2. Проведение испытания
Испытуемую краску равномерно распределяют вдоль паза измерительной плиты, начиная с верхнего предела шкалы до ее средней части, и проводят испытание по
ГОСТ 6589-74 и инструкции, прилагаемой к прибору КМ-1.
Степень перетира определяют по границе начала пятого штриха, прочерченных до металла.
(в ред.
Изменения N 2, утв. Постановлением Госстандарта СССР от 18.12.1987 N 4703)
При определении степени перетира допускается использовать скребок по
ГОСТ 6589-74. При разногласиях в оценке показателя испытание проводят механическим скребком.
(абзац введен
Изменением N 2, утв. Постановлением Госстандарта СССР от 18.12.1987 N 4703)
3.4. Определение предельного напряжения сдвига
3.4.1. Применяемые приборы:
прибор ПНС-2
(черт. 2) для определения предельного напряжения сдвига красок;
мастихин.
(абзац введен
Изменением N 2, утв. Постановлением Госстандарта СССР от 18.12.1987 N 4703)
3.4.2. Проведение испытания
Подготовку прибора к работе и определение предельного напряжения сдвига производят по инструкции, прилагаемой к прибору. При этом кювету наполняют краской до краев, загружая ее небольшими порциями при периодическом встряхивании во избежание попадания в краску пузырьков воздуха. Кювету с краской и погруженной в нее рифленой пластинкой оставляют в покое в течение 10 мин, после этого производят измерение. Испытания проводят при 20 +/- 2 °C.
3.4.3. Обработка результатов
Предельное напряжение сдвига (Pm) в паскалях (Па) вычисляют по формуле
Pm = n·98,1,
где n - показания прибора, г/см2.
За результат измерения принимают среднее арифметическое трех измерений, расхождения между которыми не должны превышать:
100 Па при значениях Pm = 400 - 1000 Па и
200 Па при значениях Pm свыше 1000 Па.
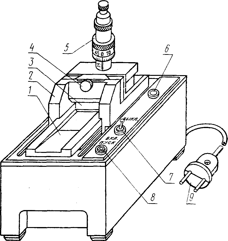
3.5. Определение тягучести
3.5.1. Применяемые приборы:
прибор ДМ-1
(черт. 3) для определения тягучести красок;
шпатель.
(абзац введен
Изменением N 2, утв. Постановлением Госстандарта СССР от 18.12.1987 N 4703)
3.5.2. Проведение испытания
Тягучесть красок определяют на приборе ДМ-1 по инструкции, прилагаемой к прибору. Производят не менее трех измерений при 20 +/- 2 °C каждый раз с новой порцией краски.
За результат измерений принимают среднее арифметическое трех измерений, допускаемые расхождения между которыми не должны превышать 0,5 мм.
Прибор для определения предельного
напряжения сдвига красок "ПНС-2"
1 - шкала; 2 - измерительный механизм; 3 - уровень;
4 - рифленая пластинка; 5 - обойма кюветы; 6 - рукоятка
ключа; 7 - штепсельная вилка; 8 - маховичок; 9 - рукоятка;
10 - столик кюветы; 11 - винт прижима кюветы; 12 - винты
обоймы; 13 - кювета; 14 - палец индентора;
15 - предохранитель
Черт. 2
(Измененная редакция, Изм. N 1).
3.6. Определение пастозности
| | ИС МЕГАНОРМ: примечание. Взамен ГОСТ 111-78 с 1 января 1992 года Постановлением Госстроя СССР от 18.12.1990 N 108 введен в действие ГОСТ 111-90. ГОСТ 111-90 утратил силу с 1 января 2003 года в связи с введением в действие ГОСТ 111-2001 (Постановление Госстроя России от 07.05.2002 N 22). | |
На стеклянную пластинку (ГОСТ 111-78) помещают 1 - 2 см3 краски, прижимают ее мастихином (или щетинной кистью) и затем плавным движением вверх отрывают мастихин от краски. Краска считается выдержавшей испытание, если после отрыва мастихина краска принимает конусообразную форму, не оплывает и не растекается. Допускается склонение верхней части конуса.
(в ред.
Изменения N 2, утв. Постановлением Госстандарта СССР от 18.12.1987 N 4703)
Определение проводят при 20 +/- 2 °C.
Прибор для определения тягучести красок ДМ-1
1 - маховичок; 2 - кювета; 3 - каретка: 4 - установочная
планка; 5 - экран; 6 - конус; 7 - уровень; 8 - нониус;
9 - шкала; 10 - рукоятка ключа; 11 - предохранитель;
12 - штепсельная вилка; 13 - шпатель
Черт. 3
3.7. Определение времени высыхания
3.7.1. Применяемые приборы и материалы:
прибор СНАМК-1
(черт. 4) для нанесения масляных художественных красок;
| | ИС МЕГАНОРМ: примечание. Взамен ГОСТ 111-78 с 1 января 1992 года Постановлением Госстроя СССР от 18.12.1990 N 108 введен в действие ГОСТ 111-90. ГОСТ 111-90 утратил силу с 1 января 2003 года в связи с введением в действие ГОСТ 111-2001 (Постановление Госстроя России от 07.05.2002 N 22). | |
пластины из оконного стекла по ГОСТ 111-78, размером 70 x 140 мм, толщиной 2 - 3 мм;
мастихин.
(абзац введен
Изменением N 2, утв. Постановлением Госстандарта СССР от 18.12.1987 N 4703)
3.7.2. Подготовка к испытанию
Для испытания готовят три образца. На стеклянные пластинки, подготовленные по ГОСТ 8832-76,
разд. 3, наносят краски с помощью прибора СНАМК-1. Для получения сплошной равномерной пленки нанесения повторяют три раза.
Толщина наносимого слоя 200 +/- 10 мкм. На стекло с накраской наносят маркировку тушью с указанием наименования краски, даты выпуска, номера партии и даты изготовления образца.
Прибор для стандартного нанесения масляных красок СНАМК-1
1 - трафарет; 2 - каретка; 3 - шпатель; 4 - стопорный винт;
5 - микрометрический глубиномер; 6 - предохранитель;
7 - тумблер; 8 - пусковая кнопка; 9 - штепсельная вилка
Черт. 4
3.7.3. Проведение испытания
Время высыхания красок определяют по
ГОСТ 19007-73 до 1-й и 5-й степеней после естественной сушки. При определении высыхания до 5-й степени допускается легкое прилипание бумаги.
3.8. Определение светостойкости цветных красок
3.8.1. Подготовка к испытанию
Образцы для испытания готовят по
п. 3.7.2. Изготовляют одновременно две накраски из испытуемой и две из утвержденного образца красок. Накраски сушат при 20 +/- 2 °C и относительной влажности воздуха 65 +/- 5% до степени 5 и выдерживают не менее 20 сут до проведения испытания.
(Измененная редакция, Изм. N 1).
3.8.2. Проведение испытания
| | ИС МЕГАНОРМ: примечание. Взамен ГОСТ 111-78 с 1 января 1992 года Постановлением Госстроя СССР от 18.12.1990 N 108 введен в действие ГОСТ 111-90. ГОСТ 111-90 утратил силу с 1 января 2003 года в связи с введением в действие ГОСТ 111-2001 (Постановление Госстроя России от 07.05.2002 N 22). | |
Два образца (испытуемый и утвержденный) выдерживают в течение пяти месяцев (май - сентябрь) на атмосферной площадке в застекленных витринах (стекло оконное по ГОСТ 111-78, толщиной 3 мм), обращенных на юг и образующих с горизонталью угол, приблизительно равный широте того места, где проводят испытание. Два других образца (испытуемый и утвержденный) сохраняют в качестве контрольных для сопоставления с образцами, которые подвергают испытаниям. Хранение контрольных образцов проводят в отапливаемом помещении до завершения испытаний на рассеянном дневном свете при 20 +/- 2 °C и относительной влажности воздуха 65 +/- 5%.
3.8.3. Обработка результатов
По окончании испытания цвет испытуемого и утвержденного образцов сравнивают визуально при дневном рассеянном свете с соответствующими контрольными образцами. Изменение цвета испытуемого образца не должно превышать изменения цвета утвержденного образца.
При разногласиях в оценке светостойкости красок определение светостойкости проводят измерением координат цвета испытуемых и контрольных образцов по
п. 3.2.2. Изменения цветовых характеристик испытуемого образца после экспозиции не должны превышать изменения цветовых характеристик утвержденного образца.
3.9. Определение стойкости к пожелтению белых красок
Определение стойкости к пожелтению белых красок производят после ускоренного термостарения пленки визуальным или фотоэлектрическим методами.
3.9.1. Применяемые материалы и аппаратура:
| | ИС МЕГАНОРМ: примечание. ГОСТ 683-85 утратил силу с 1 января 1991 года (ИУС "Государственные стандарты", N 6, 1992). | |
пластинки из стекла по ГОСТ 683-85, размером 70 x 120 мм,
(в ред.
Изменения N 2, утв. Постановлением Госстандарта СССР от 18.12.1987 N 4703)
абзац исключен с 1 июля 1988 года. -
Изменение N 1, утв. Постановлением Госстандара СССР от 18.12.1987 N 4703,
утвержденные образцы стойкости к пожелтению;
(Измененная редакция, Изм. N 1).
шкаф сушильный лабораторный, обеспечивающий температуру нагрева (80 +/- 1) °C;
(абзац введен
Изменением N 2, утв. Постановлением Госстандарта СССР от 18.12.1987 N 4703)
термометр лабораторный ТЛ-2 1-А2 или ТЛ-2 1-Б2;
(абзац введен
Изменением N 2, утв. Постановлением Госстандарта СССР от 18.12.1987 N 4703, в ред.
Изменения N 3, утв. Постановлением Госстандарта СССР от 26.06.1991 N 1039)
мастихин.
(абзац введен
Изменением N 2, утв. Постановлением Госстандарта СССР от 18.12.1987 N 4703)
3.9.2. Подготовка к испытанию
Накраски изготовляют на стекле по
п. 3.7.2 и высушивают их в течение 15 - 20 сут при 20 +/- 2 °C.
Для определения цвета пленки после ускоренного термостарения визуальным методом готовят две накраски испытуемой и две накраски утвержденного образца краски, фотоэлектрическим методом - три накраски испытуемой краски.
3.9.3. Проведение испытания
Образцы накрасок, подготовленные по
п. 3.9.2, выдерживают в термостате при 80 +/- 1 °C в течение 15 ч по 7 - 8 ч в сутки с максимальными перерывами между испытаниями не более 2 сут. В промежутках между испытаниями образцы хранят без доступа света.
По окончании испытания образцы охлаждают до 20 +/- 2 °C.
При визуальном методе определения два образца (испытуемый и утвержденный) сохраняют в качестве контрольных для сопоставления с образцами, которые подвергаются испытаниям. Хранение контрольных образцов проводят в отапливаемом помещении до завершения испытаний на рассеянном дневном свете при 20 +/- 2 °C и относительной влажности воздуха 65 +/- 5%.
3.9.4. Обработка результатов
А. Визуальный метод
Накраски испытуемого и утвержденного образцов после испытания сравнивают визуально при рассеянном дневном свете с соответствующими контрольными накрасками.
Изменение цвета пленки испытуемого образца не должно превышать изменения цвета пленки утвержденного образца.
Б. Фотоэлектрический метод
Цвет пленки после испытания в координатах
XYZ измеряют с помощью компаратора цвета ФКЦШ-М по
п. 3.2.2.
При разногласиях в оценке стойкости к пожелтению белых красок определение этого показателя производят измерением координат цвета испытуемых и контрольных образцов по
п. 3.2.2. Изменения цветовых характеристик испытуемого образца не должны превышать изменения цветовых характеристик утвержденного образца.
3.10. Определение адгезии
3.10.1. Применяемые приборы:
прибор СНАМК-1
(черт. 4) для стандартного нанесения масляных художественных красок,
прибор ОАНМО-1
(черт. 5) для определения адгезии,
холст (ГОСТ 11040-74), артикул 09132, загрунтованный эмульсионной грунтовкой, размером 70 x 140 мм (по основе).
3.10.2. Подготовка к испытанию
Для испытания готовят три образца. На загрунтованный холст наносят краску с помощью прибора СНАМК-1. Для получения сплошной равномерной пленки нанесение повторяют три раза. Толщина наносимого слоя 200 +/- 10 мкм. На холст с накраской наносят маркировку тушью с указанием наименования краски, даты выпуска, номера партии и даты изготовления образца.
Подготовленные образцы сушат до 5-й степени при 20 +/- 2 °C на специальных полках - этажерках в горизонтальном положении и хранят в условиях, исключающих механическое повреждение пленок.
3.10.3. Проведение испытания
Адгезию определяют через пять месяцев после высыхания до 5-й степени на приборе ОАНМО-1 по инструкции, прилагаемой к прибору.
Прибор для определения адгезии пленок
к мягкой подложке ОАНМО-1
1 - коммутаторный ключ; 2 - зажим образца; 3 - шаблон;
4 - нож; 5 - образец; 6 - шкала; 7 - предохранитель;
8 - пусковая кнопка; 9 - штепсельная вилка
Черт. 5
Образец закрепляют зажимами так, чтобы левый край пленки отступал от зажима вправо на 5 мм.
Значение адгезии выражают расстоянием в миллиметрах от левого края пленки до начала отслоения ее от холста.
За результат испытания принимают среднее арифметическое значение адгезии трех образцов, допускаемые расхождения между которыми не должны превышать +/- 5%.
(Измененная редакция, Изм. N 1).
4. УПАКОВКА, МАРКИРОВКА, ТРАНСПОРТИРОВАНИЕ И ХРАНЕНИЕ
4.1. Упаковка - по
ГОСТ 9980.3-86, при этом для упаковывания художественных масляных и пентамасляных красок должны применяться свинцовые с оловянным покрытием или алюминиевые с внутренним лаковым покрытием тубы размером, указанным в табл. 3.
(в ред.
Изменения N 2, утв. Постановлением Госстандарта СССР от 18.12.1987 N 4703)
Таблица 3
Госстандарта СССР от 18.12.1987 N 4703)
Номер тубы | Внутренний диаметр, мм | Длина цилиндрической части, мм | Объем краски в тубе, см |
2 | 13,20 +/- 0,30 | 75,00 +/- 0,75 | 7,5 +/- 0,5 |
3 | 13,90 +/- 0,15 | 75,50 +/- 0,50 | 9,0 +/- 0,5 |
6 | 18,80 +/- 0,15 | 85,50 +/- 0,50 | 18,0 +/- 1,0 |
7 | 18,80 +/- 0,15 | 100,50 +/- 0,50 | 20,0 +/- 1,0 |
10 | 24,50 +/- 0,15 | 120,50 +/- 0,50 | 46,0 +/- 2,3 |
11 | 29,00 +/- 0,15 | 130,00 +/- 0,50 | 70,0 +/- 3,5 |
4.2. На тубу должна быть нанесена печать или наклеена этикетка, на которых должны быть указаны:
а) наименование и товарный знак предприятия-изготовителя;
б) местонахождение предприятия-изготовителя (в случае, если местонахождение предприятия-изготовителя не входит в его наименование);
(в ред.
Изменения N 2, утв. Постановлением Госстандарта СССР от 18.12.1987 N 4703)
в) наименование и вид краски;
г) цветовая полоса по цвету, близкому к цвету краски;
(в ред.
Изменения N 2, утв. Постановлением Госстандарта СССР от 18.12.1987 N 4703)
д) условное обозначение светостойкости или стойкости к пожелтению в соответствии с
табл. 2;
е) артикул;
(в ред.
Изменения N 3, утв. Постановлением Госстандарта СССР от 26.06.1991 N 1039)
ж) обозначение стандарта, по которому выпускается продукция;
з) номер тубы;
и) исключен с 1 января 1992 года. -
Изменение N 3, утв. Постановлением Госстандарта СССР от 26.06.1991 N 1039.
к) надпись для красок, содержащих соединения свинца, "Содержит соединения свинца. Обращаться осторожно";
л) гарантийный срок хранения краски;
м) исключен с 1 января 1992 года. -
Изменение N 3, утв. Постановлением Госстандарта СССР от 26.06.1991 N 1039.
При комплектации красок в наборы допускается не указывать гарантийный срок хранения краски, артикул.
(в ред.
Изменения N 3, утв. Постановлением Госстандарта СССР от 26.06.1991 N 1039)
При реализации красок в системе художественного фонда допускается на потребительной таре не указывать артикул.
(абзац введен
Изменением N 3, утв. Постановлением Госстандарта СССР от 26.06.1991 N 1039)
4.1, 4.2. (Измененная редакция, Изм. N 1).
4.3. На конце тубы тиснением или на этикетке компостированием должны быть обозначены:
номер партии;
дата выпуска (месяц, год).
4.4. Тубы с краской не должны иметь пробоин и протечек, на их наружной поверхности и на этикетках не должно быть следов краски. Этикетки должны быть наклеены без перекосов и плотно прилегать к тубе.
4.5. Тубы с краской упаковывают в картонные коробки или комплектуют в наборы в соответствии с нормативно-технической документацией.
На коробки с красками одного цвета наклеивают этикетки с обозначениями по
п. 4.2.
В наборы или коробки с краской одного цвета вкладывают этикетку с указанием:
даты выпуска (год, месяц);
номера укладчика.
При комплектации красок в наборы маркировку наборов производят в соответствии с нормативно-технической документацией на наборы.
| | ИС МЕГАНОРМ: примечание. Взамен ГОСТ 9142-84 Постановлением Госстандарта СССР от 21.09.1990 N 2543 с 1 января 1992 года введен в действие ГОСТ 9142-90. | |
Допускается тубы с красками, предназначенные для предприятий Художественного фонда СССР, упаковывать в ящики из гофрированного картона по ГОСТ 9142-84 по 60 штук.
(в ред.
Изменения N 2, утв. Постановлением Госстандарта СССР от 18.12.1987 N 4703)
4.6. Транспортная тара для упаковывания коробок с красками - по ГОСТ
ГОСТ 9980.3-86. Свободные промежутки в таре заполняются мягким прокладочным материалом.
(в ред.
Изменения N 2, утв. Постановлением Госстандарта СССР от 18.12.1987 N 4703)
Масса брутто деревянных ящиков с краской не должна превышать 30 кг, ящиков из гофрированного картона - 20 кг.
| | ИС МЕГАНОРМ: примечание. Взамен ГОСТ 1760-81 Постановлением Госстандарта СССР от 19.12.1986 N 4140 с 1 января 1988 года введен в действие ГОСТ 1760-86. | |
По соглашению с потребителем при внутригородских перевозках коробки с красками одного цвета и наборы могут быть упакованы в пачки, которые обертывают бумагой по ГОСТ 2228-86 или по ГОСТ 1760-81 в четыре листа и перевязывают шпагатом по
ГОСТ 17308-88.
(в ред.
Изменения N 2, утв. Постановлением Госстандарта СССР от 18.12.1987 N 4703,
Изменения N 3, утв. Постановлением Госстандарта СССР от 26.06.1991 N 1039)
Масса брутто пачки с красками (бандероли) не должна превышать 10 кг.
4.7. Маркировка транспортной тары по
ГОСТ 14192-77 с нанесением предупредительных знаков "Беречь от влаги", "Хрупкое. Осторожно".
(в ред.
Изменения N 3, утв. Постановлением Госстандарта СССР от 26.06.1991 N 1039)
Маркировка ящиков и бандеролей должна содержать следующие дополнительные надписи:
абзац исключен с 1 января 1992 года. -
Изменение N 3, утв. Постановлением Госстандарта СССР от 26.06.1991 N 1039;
наименование и товарный знак предприятия-изготовителя;
адрес предприятия-изготовителя;
наименование краски;
номер и количество упакованных туб;
абзац исключен с 1 января 1992 года. -
Изменение N 3, утв. Постановлением Госстандарта СССР от 26.06.1991 N 1039;
артикул;
(в ред.
Изменения N 3, утв. Постановлением Госстандарта СССР от 26.06.1991 N 1039)
номер партии;
дату изготовления;
обозначение стандарта;
абзац исключен с 1 января 1992 года. -
Изменение N 3, утв. Постановлением Госстандарта СССР от 26.06.1991 N 1039.
При комплектации красок в наборы маркировка транспортной тары должна быть указана в нормативно-технической документации на набор.
4.8. Транспортирование красок - по ГОСТ 9980.4-86.
(в ред.
Изменения N 2, утв. Постановлением Госстандарта СССР от 18.12.1987 N 4703)
4.4 - 4.8. (Измененная редакция, Изм. N 1).
4.9. Масляные и пентамасляные художественные краски хранят в закрытом сухом помещении при температуре 20 +/- 10 °C.
4.10. Исключен с 1 июля 1988 года. -
Изменение N 1, утв. Постановлением Госстандара СССР от 18.12.1987 N 4703.
4.11. Упаковку и маркировку красок, предназначенных для экспорта, производят по документации, утвержденной в установленном порядке.
5.1. Изготовитель гарантирует соответствие выпускаемых масляных и пентамасляных художественных красок требованиям настоящего стандарта при соблюдении условий транспортирования и хранения, установленных стандартом.
(в ред.
Изменения N 2, утв. Постановлением Госстандарта СССР от 18.12.1987 N 4703)
5.2. Гарантийный срок хранения красок - три года со дня изготовления.
(п. 5.2 в ред.
Изменения N 2, утв. Постановлением Госстандарта СССР от 18.12.1987 N 4703)
6. ТРЕБОВАНИЯ БЕЗОПАСНОСТИ
6.1. Художественные масляные и пентамасляные краски пожароопасны, что обусловлено свойствами применяемых связующих. Ряд красок содержит в качестве пигментов вредные вещества: краски белила свинцовые, свинцово-цинковые, неаполитанская желтая - основной карбонат свинца; желтые кадмиевые краски - сульфид кадмия; красные кадмиевые краски - сульфид - селениды кадмия; кобальтовые краски - алюминат кобальта; стронциановая желтая - хромат стронция; окись хрома и изумрудная зеленая - окись хрома.
6.2. При производстве красок указанные вредные вещества могут попадать в организм в виде пыли через органы дыхания, пищеварительный тракт и кожный покров. Пасты красок при производстве и работе с ними без достаточного соблюдения мер личной гигиены могут заноситься с загрязненных рук и предметов в пищеварительный тракт.
6.3. Соединения свинца, являясь высокотоксичными, могут вызывать хроническую интоксикацию, выражающуюся в поражении центральной нервной системы и сердечно-сосудистой системы, в изменениях со стороны крови.
Соединения кадмия могут вызывать раздражение верхних дыхательных путей, а также поражение глубоких дыхательных путей. При попадании соединений кадмия в пищеварительный тракт могут возникнуть тяжелые отравления с симптоматикой, аналогичной пищевым токсикоинфекциям.
Соединения кобальта могут вызвать хронические отравления, характеризующиеся поражением дыхательных путей, хроническим бронхитом, симптомами общей интоксикации. При попадании на незащищенную кожу могут вызвать острые дерматиты.
Соединения хрома могут оказывать местное воздействие на кожу и слизистые оболочки верхних дыхательных путей, проявляющееся в виде характерных изъязвлений. Кроме того возможно и общетоксическое действие, при котором поражается, главным образом, желудочно-кишечный тракт.
Предельно допустимые концентрации компонентов красок в воздухе рабочей зоны производственных помещений в соответствии с
ГОСТ 12.1.005-88 и их класс опасности приведены в табл. 4.
(в ред.
Изменения N 3, утв. Постановлением Госстандарта СССР от 26.06.1991 N 1039)
Таблица 4
Наименование компонента | Предельно допустимая концентрация в воздухе рабочей зоны, мг/м3 | Класс опасности |
Свинец и его неорганические соединения | 0,01/0,005 | 1 |
(в ред. Изменения N 3, утв. Постановлением Госстандарта СССР от 26.06.1991 N 1039) |
Соединения кадмия (в пересчете на окись кадмия) | 0,05/0,01 | 1 |
(в ред. Изменения N 3, утв. Постановлением Госстандарта СССР от 26.06.1991 N 1039) |
Соединения кобальта (в пересчете на окись кобальта) | 0,5 | 2 |
Соединения марганца (в пересчете на окись марганца) | 0,3 | 2 |
Окись хрома | 1,0 | 2 |
Углерод технический | 4,0 | 3 |
Соединения марганца токсичны, действуют на центральную нервную систему.
Углерод технический может вызывать профессиональные заболевания верхних дыхательных путей, органов дыхания и пищеварения.
(Измененная редакция, Изм. N 1).
6.4. Все работы по изготовлению красок должны проводиться в соответствии с принятыми "Санитарными
правилами организации технологических процессов и гигиенических требований к производственному оборудованию" N 1042-73 в помещениях, оборудованных приточно-вытяжной вентиляцией.
| | ИС МЕГАНОРМ: примечание. Взамен ГОСТ 12.4.013-85 Постановлением Госстандарта России от 28.04.1997 N 198 с 1 июля 1998 года введен в действие ГОСТ Р 12.4.013-97. | |
6.5. Лица, связанные с изготовлением красок, должны быть обеспечены специальной одеждой, специальной обувью и средствами защиты рук по ГОСТ 12.4.013-85, биологическими перчатками, противопылевым респиратором ШБ-1 "Лепесток-200" по
ГОСТ 12.4.028-76 и защитными очками по
ГОСТ 12.4.103-83.
(в ред.
Изменения N 2, утв. Постановлением Госстандарта СССР от 18.12.1987 N 4703,
Изменения N 3, утв. Постановлением Госстандарта СССР от 26.06.1991 N 1039)
(Измененная редакция, Изм. N 1).
6.6. К работе по изготовлению художественных масляных и пентамасляных красок допускаются лица, прошедшие медицинский осмотр, ознакомленные под расписку с правилами техники безопасности при обращении с токсичными материалами и сдавшие экзамен по технике безопасности.
6.7. При попадании красок на кожу необходимо протереть кожу ватой и промыть теплой водой с мылом.
6.8. При производстве и работе с содержащими свинец красками, кроме указанных выше требований безопасности, необходимо строгое соблюдение мер личной гигиены, исключающих занесение соединений свинца в пищеварительный тракт.
При производстве этих красок необходима специальная очистка и стирка спецодежды.
Справочное
ПЕРЕЧЕНЬ
КРАСОК, В СОСТАВ КОТОРЫХ ВХОДЯТ ОРГАНИЧЕСКИЕ ПИГМЕНТЫ
(ОРГАНИЧЕСКИЕ КРАСИТЕЛИ)
Золотисто-желтая "ЖХ".
Тиоиндиго розовая.
Краплак красный светлый.
Краплак красный темный.
Виридоновая зеленая.
Зеленая "ФЦ".
Голубая "ФЦ".
Тиоиндиго черная.
(Введено дополнительно, Изм. N 1).