Главная // Актуальные документы // ГОСТ Р (Государственный стандарт)СПРАВКА
Источник публикации
М.: ИПК Издательство стандартов, 2001
Примечание к документу
Документ утратил силу на территории Российской Федерации с 01.07.2008 в связи с изданием
Приказа Ростехрегулирования от 15.05.2007 N 90-ст. Взамен введен в действие
ГОСТ Р 12.4.230.1-2007.
С 01.07.2003 до вступления в силу технических регламентов акты федеральных органов исполнительной власти в сфере технического регулирования носят рекомендательный характер и подлежат обязательному исполнению только в части, соответствующей целям, указанным в
п. 1 ст. 46 Федерального закона от 27.12.2002 N 184-ФЗ.
Документ
введен в действие с 01.07.1998.
Название документа
"ГОСТ Р 12.4.013-97. Система стандартов безопасности труда. Очки защитные. Общие технические условия"
(принят Постановлением Госстандарта РФ от 28.04.1997 N 198)
"ГОСТ Р 12.4.013-97. Система стандартов безопасности труда. Очки защитные. Общие технические условия"
(принят Постановлением Госстандарта РФ от 28.04.1997 N 198)
Принят и введен в действие
Постановлением Госстандарта РФ
от 28 апреля 1997 г. N 198
ГОСУДАРСТВЕННЫЙ СТАНДАРТ РОССИЙСКОЙ ФЕДЕРАЦИИ
СИСТЕМА СТАНДАРТОВ БЕЗОПАСНОСТИ ТРУДА
ОЧКИ ЗАЩИТНЫЕ
ОБЩИЕ ТЕХНИЧЕСКИЕ УСЛОВИЯ
Occupational safety standards system.
Goggles. General specifications
ГОСТ Р 12.4.013-97
ОКП 94 4266
Дата введения
1 июля 1998 года
1. Разработан и внесен Техническим комитетом по стандартизации ТК 320 "Средства индивидуальной защиты" (СИЗ).
2. Принят и введен в действие Постановлением Комитета Российской Федерации по стандартизации, метрологии и сертификации (Госстандарта России) от 28 апреля 1997 г. N 198.
3. Введен впервые.
4. Переиздание. Август 2001 г.
Настоящий стандарт распространяется на очки, предназначенные для защиты глаз от твердых частиц, брызг жидкостей, газов, паров, аэрозолей, пыли, ультрафиолетового и инфракрасного излучений, слепящей яркости света, выпускаемые в климатическом исполнении У для категории размещения 1.1 по
ГОСТ 15150, для работ при температуре от плюс 40 до минус 30 °С и устанавливает требования к очкам, изготовляемым для различных отраслей промышленности.
Стандарт не распространяется на очки для защиты от брызг расплавленного металла, лазерного излучения и радиоволн.
Обязательные требования, подлежащие проверке при сертификации, изложены в
5.1 -
5.5,
6.5 -
6.9,
6.11,
6.13,
6.15 -
6.17,
6.19,
6.22,
6.23,
6.25,
6.28.
В настоящем стандарте использованы ссылки на следующие стандарты:
ГОСТ 2.601-95. Единая система конструкторской документации. Эксплуатационные документы
ГОСТ 9.301-86. Единая система защиты от коррозии и старения. Покрытия металлические и неметаллические неорганические. Общие требования
ГОСТ 9.302-88. Единая система защиты от коррозии и старения. Покрытия металлические и неметаллические неорганические. Методы контроля
ГОСТ 9.303-84. Единая система защиты от коррозии и старения. Покрытия металлические и неметаллические неорганические. Общие требования к выбору
ГОСТ 12.4.008-84. Система стандартов безопасности труда. Средства индивидуальной защиты. Метод определения поля зрения
ГОСТ 270-75. Резина. Метод определения упругопрочных свойств при растяжении
ГОСТ 2239-79. Лампы накаливания общего назначения. Технические условия
ГОСТ 2991-85. Ящики дощатые неразборные для грузов массой до 500 кг. Общие технические условия
ГОСТ 5959-80. Ящики из листовых древесных материалов неразборные для грузов массой до 200 кг. Общие технические условия
ГОСТ 6613-86. Сетки проволочные тканые с квадратными ячейками. Технические условия
ГОСТ 7338-90. Пластины резиновые и резинотканевые. Технические условия
ГОСТ 8828-89. Бумага-основа и бумага двухслойная водонепроницаемая упаковочная. Технические условия
ГОСТ 9142-90. Ящики из гофрированного картона. Общие технические условия
ГОСТ 9411-91. Стекло оптическое цветное. Технические условия
ГОСТ 10377-78. Стекла бесцветные для противогазов и защитных очков. Технические условия
ГОСТ 15150-69. Машины, приборы и другие технические изделия. Исполнение для различных климатических районов. Категории, условия эксплуатации, хранения и транспортирования в части воздействия климатических факторов внешней среды
ГОСТ 15151-69. Машины, приборы и другие технические изделия для районов с тропическим климатом. Общие технические условия
ГОСТ 18491-90. Оправы корригирующих очков. Общие технические требования и методы испытаний
ОСТ 21-6-87. Светофильтры стеклянные для защиты глаз от вредных излучений на производстве. Технические условия.
3.1. В настоящем стандарте применяют следующие термины с соответствующими определениями:
3.1.1. защитное стекло: Прозрачная часть средства индивидуальной защиты глаз, позволяющая видеть;
3.1.2. защитные очки: Средство индивидуальной защиты глаз от воздействия вредных и опасных производственных факторов;
3.1.3. прилегающие защитные очки: Защитные очки, соприкасающиеся с лицом контуром корпуса или оправы;
3.1.4. закрытые защитные очки: Прилегающие защитные очки, соприкасающиеся с лицом всем контуром корпуса;
3.1.5. откидные защитные очки: Защитные очки, оправа которых может откидываться от лица при фиксированном креплении;
3.1.6. двойные защитные очки: Защитные очки с двумя видами очковых стекол;
3.1.7. неприлегающие защитные очки: Защитные очки, не соприкасающиеся с лицом контуром корпуса или оправы;
3.1.8. защитный лорнет: Неприлегающие защитные очки, фиксируемые в руке;
3.1.9. козырьковые защитные очки: Неприлегающие защитные очки, фиксируемые на головном уборе;
3.1.10. насадные защитные очки: Неприлегающие защитные очки, фиксируемые на корригирующих очках;
3.1.11. защитные очки с прямой вентиляцией: Вентилируемые защитные очки, в подочковое пространство которых воздух поступает, не меняя направления;
3.1.12. защитные очки с непрямой вентиляцией: Вентилируемые защитные очки, в подочковое пространство которых воздух поступает, меняя направление;
3.1.13. открытые защитные очки: Прилегающие защитные очки, соприкасающиеся с лицом частью контура оправы;
3.1.14. герметичные защитные очки: Закрытые защитные очки, обеспечивающие изоляцию подочкового пространства от воздуха рабочей зоны;
3.1.15. покровные защитные очки: Защитные очки для ношения поверх корригирующих очков;
3.1.16. оправа защитных очков: Совокупность конструктивных элементов открытых защитных очков для удержания очковых стекол в требуемом при эксплуатации положении;
3.1.17. корпус защитных очков: Совокупность конструктивных элементов закрытых защитных очков для удержания очковых стекол в требуемом для эксплуатации положении;
3.1.18. светофильтр защитных очков: Очковое стекло для снижения интенсивности вредного и опасного излучения;
3.1.19. покровное очковое стекло: Очковое стекло для защиты светофильтра от разрушения;
3.1.20. наголовная лента защитных очков: Крепление защитных очков, фиксируемое на затылке;
3.1.21. регулирующая перемычка защитных очков: Конструктивный элемент оправы или корпуса защитных очков для регулирования межцентрового расстояния;
3.1.22. спектральный коэффициент пропускания

: Отношение прошедшего потока излучения к падающему спектральному потоку

, (1)
где

- прошедший спектральный поток излучения;

- падающий спектральный поток излучения.
3.1.23. оптическая сила (рефракция): Величина, обратная фокусному расстоянию оптической системы;
3.1.24. астигматизм: Максимальная разность рефракций между двумя главными меридианами, перпендикулярными друг к другу и проходящими через оптическую ось;
3.1.25. призматическое действие: 100-кратное отношение кажущегося смещения предмета, наблюдаемого через оптическую систему, к расстоянию до этого предмета.
Типы защитных очков должны соответствовать указанным в таблице 1.
Таблица 1
┌────────────────────┬────────────┬──────────────────────────────┐
│ Тип очков │ Вид стекла │ Применяемость │
├───────┬────────────┤ │ │
│обозна-│наименование│ │ │
│чение │ │ │ │
├───────┼────────────┼────────────┼──────────────────────────────┤
│О │Открытые │Бесцветное │ Защита глаз спереди и │
│ │защитные │ │с боков от воздействия твердых│
│ │очки │ │частиц │
│ │ ├────────────┼──────────────────────────────┤
│ │ │Светофильтр │ Защита глаз спереди и │
│ │ │ │с боков от слепящей яркости │
│ │ │ │света, ультрафиолетового, │
│ │ │ │инфракрасного излучений и от │
│ │ │ │сочетания излучений указанных │
│ │ │ │видов с воздействием твердых │
│ │ │ │частиц │
├───────┼────────────┼────────────┼──────────────────────────────┤
│ОО │Открытые │Бесцветное │ Защита глаз спереди и │
│ │откидные │ │с боков от воздействия твердых│
│ │защитные │ │частиц │
│ │очки ├────────────┼──────────────────────────────┤
│ │ │Светофильтр │ Защита глаз спереди и │
│ │ │ │с боков от слепящей яркости │
│ │ │ │света, ультрафиолетового, │
│ │ │ │инфракрасного излучений и от │
│ │ │ │сочетания излучений указанных │
│ │ │ │видов с воздействием твердых │
│ │ │ │частиц │
├───────┼────────────┼────────────┼──────────────────────────────┤
│ЗП │Закрытые │Бесцветное │ Защита глаз спереди, │
│ │защитные │ │с боков, сверху и снизу от │
│ │очки с │ │воздействия твердых частиц │
│ │прямой ├────────────┼──────────────────────────────┤
│ │вентиляцией │Светофильтр │ Защита глаз спереди, │
│ │ │ │с боков, сверху и снизу от │
│ │ │ │слепящей яркости света, │
│ │ │ │инфракрасного излучения и │
│ │ │ │от сочетания излучения │
│ │ │ │указанного вида │
│ │ │ │с воздействием твердых частиц │
├───────┼────────────┼────────────┼──────────────────────────────┤
│ЗН │Закрытые │Бесцветное │ Защита глаз спереди, │
│ │защитные │ │с боков, сверху и снизу от │
│ │очки с │ │брызг неразъедающих жидкостей │
│ │непрямой │ │и от сочетания их │
│ │вентиляцией │ │с воздействием твердых частиц │
│ │ ├────────────┼──────────────────────────────┤
│ │ │Светофильтр │ Защита глаз спереди, │
│ │ │ │с боков, сверху и снизу │
│ │ │ │от слепящей яркости света, │
│ │ │ │ультрафиолетового, инфракрас- │
│ │ │ │ного излучений и от сочетания │
│ │ │ │излучений указанных видов │
│ │ │ │с воздействием твердых частиц │
├───────┼────────────┼────────────┼──────────────────────────────┤
│Г │Закрытые │Бесцветное │ Защита глаз спереди, │
│ │герметичные │химически │с боков, сверху и снизу │
│ │защитные │стойкое │от разъедающих газов, паров, │
│ │очки │ │аэрозолей, жидкостей и │
│ │ │ │от сочетания их с пылью и │
│ │ │ │воздействием твердых частиц │
│ │ ├────────────┼──────────────────────────────┤
│ │ │Светофильтр │ Защита глаз спереди, │
│ │ │химически │с боков, сверху и снизу от │
│ │ │стойкий │слепящей яркости света, │
│ │ │ │ультрафиолетового, │
│ │ │ │инфракрасного излучений и от │
│ │ │ │сочетания излучений указанных │
│ │ │ │видов с воздействием │
│ │ │ │разъедающих жидкостей и газов │
├───────┼────────────┼────────────┼──────────────────────────────┤
│Н │Насадные │Бесцветное │ Защита глаз спереди │
│ │защитные │ │от воздействия твердых частиц │
│ │очки │ │при условии работы │
│ │ │ │в корригирующих очках │
│ │ ├────────────┼──────────────────────────────┤
│ │ │Светофильтр │ Защита глаз спереди │
│ │ │ │от слепящей яркости света и │
│ │ │ │от сочетания ее с воздействием│
│ │ │ │твердых частиц при условии │
│ │ │ │работы в корригирующих очках │
├───────┼────────────┼────────────┼──────────────────────────────┤
│К │Козырьковые │Светофильтр │ Защита глаз спереди │
│ │защитные │ │от слепящей яркости света и │
│ │очки │ │инфракрасного излучения при │
│ │ │ │условии работы в защитном │
│ │ │ │головном уборе │
├───────┼────────────┼────────────┼──────────────────────────────┤
│Л │Защитный │Светофильтр │ Защита глаз спереди │
│ │лорнет │ │от слепящей яркости света и │
│ │ │ │инфракрасного излучения при │
│ │ │ │условии кратковременной │
│ │ │ │работы │
├───────┴────────────┴────────────┴──────────────────────────────┤
│ Примечания. 1. Наименования типов защитных очков с│
│использованием их обозначений, установленных настоящим│
│стандартом, устанавливают при разработке изделий новых видов. │
│ 2. При использовании в защитных очках двойного остекления│
│(комбинации бесцветного стекла и светофильтра) к наименованию│
│очков добавляют слово "двойные", а к обозначению - букву "Д". │
│ Пример: │
│ ОД - двойные открытые защитные очки; │
│ ЗНД - двойные закрытые защитные очки с непрямой вентиляцией.│
│ 3. При использовании в защитных очках регулирующей перемычки│
│к наименованию очков добавляют слова "с регулирующей│
│перемычкой", а к обозначению - букву "Р". │
│ Пример: │
│ ОР - открытые защитные очки с регулирующей перемычкой; │
│ ЗНР - закрытые защитные очки с непрямой вентиляцией и│
│регулирующей перемычкой; │
│ ГР - герметичные закрытые защитные очки с регулирующей│
│перемычкой. │
└────────────────────────────────────────────────────────────────┘
5. Основные параметры и размеры
5.1. Монокулярное поле зрения очков должно соответствовать указанному в таблице 2.
Таблица 2
┌─────────────────────────────┬──────────────────────────────────┐
│ Тип очков │ Поле зрения, не менее │
│ ├────────┬─────┬──────┬────────────┤
│ │ вверх │вниз │к носу│ к виску │
├─────────────────────────────┼────────┼─────┼──────┼────────────┤
│Открытые │45°; │55° │50° │75°; 55°
<*>│
│Открытые откидные │40°
<*> │ │ │ │
├─────────────────────────────┼────────┼─────┼──────┼────────────┤
│Открытые с откидным │35°; │55° │50° │65°; 45°
<*>│
│стеклодержателем │30°
<*> │ │ │ │
├─────────────────────────────┼────────┼─────┼──────┼────────────┤
│Закрытые с прямой вентиляцией│35° │45° │40° │75°; 45°
<*>│
│Закрытые с непрямой │ │ │ │ │
│вентиляцией │ │ │ │ │
├─────────────────────────────┼────────┼─────┼──────┼────────────┤
│Закрытые герметичные │35° │45° │40° │75°; 45°
<*>│
├─────────────────────────────┼────────┼─────┼──────┼────────────┤
│Закрытые с прямой вентиляцией│25° │40° │30° │70°; │
│и откидным стеклодержателем │ │ │ │35°
<**> │
├─────────────────────────────┼────────┼─────┼──────┼────────────┤
│Закрытые с непрямой │25° │40° │30° │70°; │
│вентиляцией и откидным │ │ │ │35° <**> │
│стеклодержателем │ │ │ │ │
│ -------------------------------- │
│ <*> Для очков со стеклами круглой формы и очков│
│с регулирующей перемычкой. │
│ <**> Для очков со стеклами круглой формы и очков,│
│используемых в качестве покровных. │
└────────────────────────────────────────────────────────────────┘
5.2. Световые проемы для очковых стекол должны иметь следующие минимальные размеры:
- круглые - диаметр 45 мм;
- некруглые: 42 мм (горизонтальный размер), 32 мм (вертикальный размер);
- прямоугольные - 100 х 35 мм.
5.3. Открытые и насадные очки следует изготавливать с межцентровым расстоянием: 60, 64, 68, 72 и 76 мм.
Закрытые очки следует изготавливать с межцентровым расстоянием: 60, 64, 72 и 80 мм. Предельные отклонения межцентровых расстояний +/- 1 мм. Межцентровое расстояние закрытых очков с регулирующей перемычкой должно регулироваться от 64+4 до 80+4 мм.
По заказу потребителя очки следует изготавливать с другими межцентровыми расстояниями.
Примечание. За межцентровое расстояние очков с одним стеклом (рисунок 1) следует принимать расстояние между центрами двух вписанных в очковое стекло окружностей диаметром D, не менее:
50 мм - для межцентрового расстояния 64 мм и менее;
56 мм - для межцентрового расстояния свыше 64 мм.
Рисунок 1
5.4. Ширина наголовной ленты закрытых защитных очков должна быть не менее 14 мм.
5.5. Длина наголовной ленты должна обеспечивать возможность регулирования очков по обхвату головы от 540 до 620 мм.
5.6. Структура условного обозначения очков приведена в
Приложении А.
6. Общие технические требования
6.1. Очки следует изготавливать в соответствии с требованиями настоящего стандарта и по рабочим чертежам.
6.2. Очки следует изготавливать из материалов, разрешенных органами Госсанэпиднадзора.
6.3. Очки не должны иметь выступающих частей, острых кромок, других особенностей, которые могут вызвать дискомфорт.
6.4. Регулируемые части или детали очков должны легко регулироваться и заменяться.
6.5. Масса очков должна соответствовать указанной в таблице 3.
Таблица 3
┌────────────────────────────────────────────────┬───────────────┐
│ Тип очков │ Масса, г, │
│ │ не более │
├────────────────────────────────────────────────┼───────────────┤
│Открытые │80 │
│Открытые откидные │90 │
├────────────────────────────────────────────────┼───────────────┤
│Открытые с откидным стеклодержателем │120 │
├────────────────────────────────────────────────┼───────────────┤
│Закрытые с прямой вентиляцией │130 │
│Закрытые с непрямой вентиляцией │ │
│Закрытые герметичные │ │
├────────────────────────────────────────────────┼───────────────┤
│Закрытые с откидным стеклодержателем и прямой │150 │
│вентиляцией │ │
│Закрытые с откидным стеклодержателем и непрямой │150 │
│вентиляцией │ │
│Козырьковые │90 │
│Насадные │50 │
│Защитный лорнет │70 │
└────────────────────────────────────────────────┴───────────────┘
6.6. Очки с бесцветными однослойными очковыми стеклами должны выдерживать одиночные удары с кинетической энергией не менее 0,6 Дж.
Очки с бесцветными трехслойными очковыми стеклами должны выдерживать одиночные удары с кинетической энергией не менее 1,2 Дж.
6.7. Материал корпуса очков должен гореть со скоростью не более 75 мм/мин (при размере образца 150 х 20 х 2 мм).
6.8. В очках
типа ЗН проникание через вентиляционные отверстия в подочковое пространство пылевой смеси, содержащей 70% кварцевого песка, 15% мела и 15% каолина, летящей со скоростью 5 м/с при концентрации 1 кг/м3, не должно быть более 3 мг/мин. Размер частиц пылевой смеси должен быть таким, чтобы они проходили без остатка через сито с сеткой N 0224 по
ГОСТ 6613 и оставляли остаток не более 3% на сите с сеткой N 02.
6.9. Светофильтры очков по
ГОСТ 9411 и ОСТ 21-6.
Допускается применение стеклянных светофильтров с покрытием, а также других материалов, спектральные характеристики и показатели внешнего вида которых не ниже установленных в
ГОСТ 9411 и ОСТ 21-6.
6.10. Корпус очков и боковые щитки очков со светофильтрами следует изготавливать из непрозрачного материала, спектральные характеристики которого не ниже, чем у светофильтров.
6.11. Показатели внешнего вида и общего светопропускания бесцветных очковых стекол - по ГОСТ 10377.
6.12. Коэффициент светопропускания покровных стекол и подложек очков - не менее 85%.
6.13. Для неплоских стекол защитных очков рефракция должна быть не более +/- 0,1, астигматизм - не более +/- 0,1 дптр и призматическое действие - не более 0,25 призматических дптр.
6.14. Общее светопропускание при запотевании очковых стекол не должно снижаться за 30 мин более чем на 10% при разности температур окружающей среды и подочкового пространства (15 +/- 3) °С и относительной влажности (80 +/- 3)%.
6.15. Защитные очки
типа Г должны обеспечивать защиту глаз от капель химических продуктов.
6.16. Защитные очки
типа Г должны обеспечивать защиту глаз от газа, паров, аэрозолей.
6.17. Длина заушника открытых очков - по
ГОСТ 18491.
6.18. Заушники открытых очков, соединенные с корпусом шарнирно, должны поворачиваться относительно оси шарнира без заедания при приложении к ним усилия (0,98 +/- 0,49) Н.
6.19. Заушники открытых очков с плоским корпусом, раскрытые до упора, должны составлять с прямой, проходящей через оси шарниров, угол, равный 100° +/- 5° (рисунок 2), а заушники очков с изогнутым корпусом - угол, равный 90° +/- 5° (
рисунок 3) на длине заушника 25 мм от оси шарнира.
Рисунок 2
6.20. Открытые очки с заушниками, раскрытыми до упора, установленные на горизонтальной плоскости (рисунок 4), должны касаться этой плоскости в четырех точках. Допустимый зазор между одной из точек и плоскостью - не более 3 мм.
Рисунок 4
6.21. Эластичная часть заушника открытых очков должна быть упругой.
6.22. Материал наголовной ленты закрытых очков должен иметь относительное удлинение при разрыве не менее 200%.
6.23. Откидной стеклодержатель двойных очков, установленный под углом 90°

к корпусу очков, не должен опускаться под действием собственной массы.
6.25. На поверхности очков не должно быть раковин, трещин, наплывов припоя, клея и других дефектов, ухудшающих внешний вид очков, а также острых кромок и заусенцев.
6.26. Очки должны сохранять значения показателей в пределах норм, установленных
6.18,
6.20,
6.23 -
6.25, при воздействии в условиях эксплуатации температуры, смены температур от верхнего до нижнего рабочих значений, влажности воздуха и солнечной радиации в соответствии с
ГОСТ 15150.
6.27. Очки должны сохранять или восстанавливать значения показателей по
6.18,
6.20,
6.23 -
6.25 после транспортирования и хранения в условиях, указанных в
9.7 и
9.8.
6.28. Стекла должны заменяться без применения специального инструмента.
6.29. Средний ресурс очков с шарнирными соединениями (корпуса с откидным стеклодержателем, заушниками и боковыми щитками) должен быть не менее 5000 качаний подвижного звена.
6.30. Комплектность защитных очков должна быть указана в эксплуатационной документации по
ГОСТ 2.601.
7.1. Очки должны подвергаться приемосдаточным, периодическим и типовым испытаниям.
7.2. За партию принимается количество очков одной модели, изготовленных за одну смену.
При приемосдаточных испытаниях очки следует проверять на соответствие требованиям:
6.18 -
6.20 и
6.23 - 1% от партии, но не менее 30 шт. случайной выборки из разных мест партии. Если в выборке будут обнаружены очки, не соответствующие требованиям хотя бы одного из
6.18 -
6.20 и
6.23, проводят повторную проверку на удвоенном количестве образцов. Результаты повторных испытаний являются окончательными и распространяются на всю партию.
7.3. При периодических испытаниях следует проверять очки из числа прошедших приемосдаточные испытания на соответствие требованиям
6.5,
6.6,
6.12,
6.22 на 10 шт. каждой модели не реже одного раза в год;
6.26 - на семи образцах при допустимом числе отказов 0 или на 14 образцах при допустимом числе отказов один не реже одного раза в три года;
6.29 - на трех шарнирных соединениях каждого вида при допустимом числе отказов 0 или на пяти шарнирных соединениях при допустимом числе отказов один не реже одного раза в три года. При получении неудовлетворительных результатов хотя бы по одному из проверяемых пунктов проводят повторную проверку на удвоенном количестве образцов по пунктам несоответствия. Результаты повторных испытаний являются окончательными.
7.4. В случае обнаружения несоответствия очков требованиям хотя бы одного из вышеперечисленных пунктов испытания по данному пункту переводят в приемосдаточные до трехкратного положительного результата.
Типовые испытания следует проводить в случае внесения изменений в конструкцию или технологию изготовления. Испытаниям должны быть подвергнуты не менее десяти очков.
Площади монокулярных полей зрения получают графически на бланк-схеме путем соединения точек, указывающих на значение поля зрения по каждому меридиану. Общая для монокулярных полей зрения наружная линия представляет собой границу площади бинокулярного поля зрения. Линия, полученная в результате пересечения границ монокулярных полей зрения, представляет собой границу центральной зоны бинокулярного поля зрения. Погрешность измерения не должна быть более 5°.
8.2. Размеры очков (
5.2 -
5.5,
6.7 и
6.20) следует проверять измерительными инструментами с точностью 1 мм, угловые размеры (
6.19) - с точностью 1°.
8.3. Проверку легкости регулирования и замены составных частей (
6.4) осуществляют опробованием.
8.4. Массу очков (
6.5) следует проверять взвешиванием на весах с точностью 2 г.
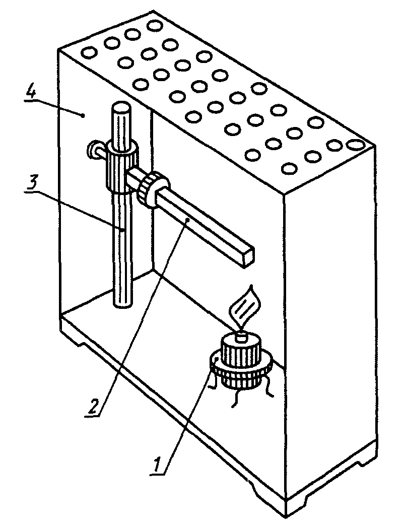
8.5. Прочность на удар очков с бесцветными стеклами (
6.6) следует проверять на стенде (
рисунок 5) с помощью свободно падающего стального шара массой 0,1 кг: с высоты 0,6 м - для очков с однослойными стеклами и с высоты 1,2 м - для очков с трехслойными стеклами. Допускается использование стального шара меньшей или большей массы при условии обеспечения энергии удара в соответствии с
6.6 путем подбора высоты.
1 - поворотное устройство; 2 - макет головы;
3 - испытываемые очки; 4 - резиновая прокладка;
5 - станина; 6 - штанга; 7 - держатель; 8 - шар
Очки фиксируют на деревянном макете головы. Между очками и макетом прокладывают лист мягкой резины толщиной 1,5 мм по
ГОСТ 7338. Точки приложения ударов должны находиться внутри окружности диаметром 15 мм, проведенной из центра стекла. Очки с однослойными стеклами считают годными, если после трех ударов на стекле не образовалось трещин, сколов и других повреждений и стекло удержалось в корпусе. Очки с трехслойными стеклами считают годными, если после трех ударов в подочковом пространстве не обнаружено сколов, осколков стекла и стекло удержалось в корпусе.
8.6. Скорость горения материала (
6.7) следует проверять в специальной камере (рисунок 6).
1 - горелка; 2 - образец; 3 - штатив; 4 - камера
Рисунок 6
Для испытания берут три образца размером 150 х 20 х 2 мм. На образец наносят две риски на расстоянии 25 мм от краев. Образец укрепляют в камере так, чтобы продольная ось его располагалась горизонтально, а поперечная - под углом 45° к горизонту. К свободному концу образца подводят пламя газовой горелки или спиртовки. Высота пламени 25 - 30 мм. Через 10 с горелку убирают. Время, за которое пламя пройдет расстояние между двумя рисками образца, измеряют с точностью 1 с. Скорость горения образца берут как среднеарифметическое результатов испытания трех образцов.
8.7. Проникание пыли (
6.8) следует проверять в пылевой камере. Очки фиксируют на деревянном макете головы и помещают в камеру. При этом не должно быть зазоров по контуру корпуса очков. Испытания проводят обдуванием защитных очков в течение 15 мин просушенной пылевой смесью с последующим осаждением ее в течение 30 мин. После испытания пыль, попавшую в подочковое пространство, собирают и взвешивают с погрешностью не более 1 мг.
8.8. Коэффициент светопропускания покровных стекол и подложек (
6.2) следует проверять с помощью прибора с пределами измерения коэффициента светопропускания 100

% в области спектра 400 - 720 нм и погрешностью измерения не более 3%.
8.9. Определение рефракции, астигматизма и призматического действия защитных очков (
6.13).
Рефракцию (
6.13) следует проверять с помощью диоптриметра с ценой деления не более 0,125 дптр.
Астигматизм, наблюдаемый при вращении защитного стекла, определяют с помощью диоптриметра по разности рефракций между двумя взаимно перпендикулярными меридианами.
Призматическое действие определяют диоптриметром.
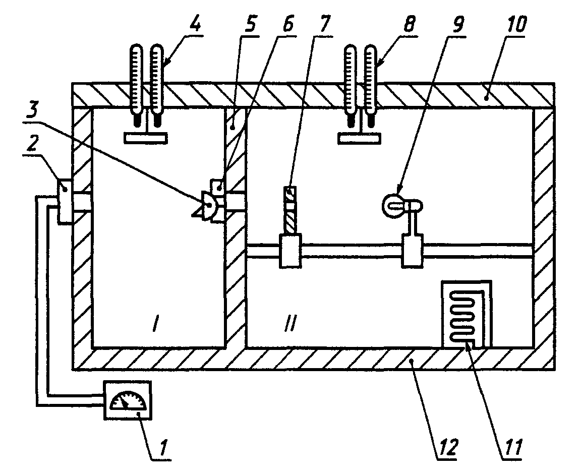
8.10. Запотевание очковых стекол (
6.14) следует проверять на специальной установке (рисунок 7), состоящей из камеры, разделенной перегородкой на два отсека.
I - отсек 1; II - отсек 2
1 - люксметр; 2 - фотоэлемент; 3 - испытываемые очки;
4, 8 - психрометр; 5 - перегородка; 6 - макет головы;
7 - диск с отверстием; 9 - источник света; 10 - крышка;
11 - нагреватель; 12 - теплоизоляция
Рисунок 7
Очки устанавливают в перегородке так, чтобы сторона очковых стекол, обращенная к глазу, была в первом отсеке, а наружная сторона - во втором. При этом обеспечивают полную изоляцию одного отсека от другого. После установки очков и изоляции отсеков проверяют светопропускание стекол. Для этого в одном из отсеков устанавливают лампу накаливания мощностью 40 Вт по
ГОСТ 2239, создающую пучок света, проходящий через очковое стекло в другой отсек и падающий на фотоэлемент люксметра типа Ю117 с пределом допускаемой основной погрешности +/- 10%. Затем в первом отсеке создают температуру (37 +/- 3) °С и относительную влажность (80 +/- 3)%, во втором - температуру (22 +/- 3) °С. Температуру с погрешностью измерения 0,1 °С и относительную влажность проверяют психрометром.
Через 30 мин вторично проверяют светопропускание стекол. Снижение светопропускания

, %, рассчитывают по формуле

, (2)
где

- показание люксметра до начала испытаний, лк;

- показание люксметра по окончании испытании, лк.
8.11. Испытание на непроницаемость химических капель (
6.15) проводят на испытательной установке, в которую входит ручной распылитель, макет головы.
Защитные очки укрепляют на макете головы. Поверхность защитного стекла с внутренней стороны должна быть покрыта двойным слоем абсорбирующего хлопчатобумажного волокна.
Ручной распылитель должен образовывать мелкие капли, но не туман.
Индикаторная белая промокательная бумага размером около 180 х 100 мм, пропитанная в 0,1 моль/дм3 раствора углекислого натрия, должна быть помещена над волокном.
Детекторный раствор приготовляют путем растворения 5 г фенолфталеина C20H14O4 в 500 см3 метилового спирта и добавления 500 см3 воды при постоянном помешивании. Раствор фильтруют в случае образования осадка. Объем раствора - 1 дм3.
Очки, размещенные на макете головы в вертикальной плоскости, закрывают индикаторной бумагой. Натяжение наголовной ленты регулируют в соответствии с рекомендациями изготовителя. Собранное устройство обрызгивают детекторным раствором. Распыление проводят с расходом приблизительно 20 - 30 мл/мин, держа распылитель на расстоянии около 600 мм от макета головы. Продолжительность распыления - около 10 с. В течение этого времени макет обрызгивают со всех сторон.
В целях безопасности испытание следует проводить в вытяжном шкафу.
Если детекторный раствор проникает в защитные очки, то индикаторная бумага моментально окрашивается в малиновый цвет. Малиновую окраску в непосредственной близости от краев защитного стекла, проникающую внутрь защитных очков не далее чем на 6 мм, не принимают во внимание.
8.12. Испытание на защиту от газа (
6.16) проводят в газовой камере. Газовая камера - газонепроницаемая камера, изготовленная из стекла с внутренними размерами 560 х 560 х 560 мм и плотно закрывающейся крышкой. Газовая камера должна вентилироваться с помощью небольшого вентилятора и вытяжной трубы. В газовой камере устанавливают макет головы с защитными очками, которые фиксируются симметрично над индикаторной бумагой (рисунок 8). Допускаются другие размеры макета головы.
Рисунок 8
В качестве индикаторной бумаги служит белая промокательная бумага размером 180 х 100 мм, смоченная на время испытания в 1%-ном растворе нитрата ртути (2) Hg(NO3)2. Раствор нитрата ртути приготавливают путем растворения 10 г измельченного нитрата ртути в 100 см3 дистиллированной воды, к которой добавлен 1 мл концентрированной азотной кислоты.
Подачу газа осуществляют продуванием воздуха через промывочный баллон, содержащий концентрированный раствор аммиака, или используя баллон с газообразным аммиаком. На пол камеры укладывают контрольную полоску индикаторной бумаги и заполняют газовую камеру аммиачным газом. Затем закрывают выпускное отверстие и оставляют испытуемый образец в среде газа в течение 5 мин.
После удаления газа из камеры вынимают очки и осматривают индикаторную бумагу. Если какое-либо незначительное количество газа проникло в подочковое пространство очков, то индикаторная бумага окрасится в коричневый цвет.
8.13. Отсутствие заеданий при повороте заушников (
6.18) следует проверять по
ГОСТ 18491.
8.14. Упругость эластичной части заушника (
6.20) проверяют по
ГОСТ 18491.
8.15. Относительное удлинение при разрыве (
6.22) проверяют по
ГОСТ 270.
8.16. Опускание откидного стеклодержателя защитных очков под действием собственной массы (
6.23) следует проверять установкой корпуса очков в вертикальной плоскости, а откидного стеклодержателя - в горизонтальной. При этом стеклодержатель не должен опускаться.
8.17. Методы контроля защитно-декоративных покрытий (
6.24) - по
ГОСТ 9.302.
8.18. Отсутствие на поверхности раковин, трещин, наплывов, припоя, клея и других дефектов (
6.25) следует проверять осмотром без применения увеличительных средств.
8.19. Стойкость очков к воздействию климатических факторов внешней среды при эксплуатации (
6.26) следует проверять:
- на тепло- и холодоустойчивость - при крайних значениях температуры выдержкой в течение 4 ч в камере тепла и холода, обеспечивающей поддержание температуры с погрешностью не более 3 °С;
- на смену температур - путем воздействия на очки трех непрерывно следующих друг за другом циклов. В каждом цикле очки помещают в камеру холода, температуру которой заранее доводят до минус 30 °С, и выдерживают в течение 4 ч, затем их вынимают из камеры холода и переносят в камеру тепла, в которой заранее установлена температура 40 °С. Очки выдерживают в камере тепла в течение 4 ч. Время переноса очков из камеры в камеру не должно превышать 5 мин;
- на влагоустойчивость - выдержкой очков в камере влажности, обеспечивающей поддержание температуры с погрешностью не более 3 °С и влажности - не более 3% при температуре (25 +/- 3) °С и относительной влажности (80 +/- 3)%, в течение 24 ч;
- испытаниям на стойкость очков к солнечной радиации в циклическом режиме облучения узлов и деталей - по
ГОСТ 15151.
По окончании каждого вида испытаний очки проверяют на соответствие требованиям
6.18,
6.20,
6.23 -
6.25.
8.20. Проверку стойкости очков к климатическим воздействиям при транспортировании (
6.27) следует проводить:
- выдержкой очков в камерах тепла и холода, обеспечивающих поддержание температуры в течение 4 ч с последующей выдержкой в нормальных условиях в течение 4 ч;
- выдержкой очков в камере влажности в течение 48 ч при температуре (25 +/- 3) °С и относительной влажности 100% с последующей выдержкой в нормальных условиях в течение 24 ч.
После каждого вида испытаний очки должны соответствовать требованиям
6.20,
6.23 -
6.25.
8.21. Возможность замены стекол в защитных очках (
6.28) следует проверять пятикратной заменой.
8.22. Средний ресурс очков с шарнирными соединениями (
6.29) следует проверять выполнением 5000 плавных перемещений подвижного звена каждого типа шарнирного соединения из одного предельного положения в другое и обратно со скоростью не более 30 колебаний в минуту при подвижно закрепленном корпусе. За отказ принимают несоответствие требованиям
6.18 и
6.23 и поломку шарнирного соединения.
9. Маркировка, упаковка, транспортирование и хранение
9.1. На каждой оправе должны быть нанесены:
- товарный знак предприятия-изготовителя;
- год выпуска.
9.2. Очки должны быть уложены в полиэтиленовый пакет, пластмассовую или картонную коробку или футляр вместе с инструкцией по эксплуатации. На пакете, коробке, футляре или на вложенном в них листке должны быть указаны:
- товарный знак предприятия-изготовителя;
- условное обозначение очков;
- обозначение настоящего стандарта;
- год выпуска.
9.3. Очки в пакетах, коробках или футлярах должны быть уложены в упаковочную единицу, на этикетке которой должны быть указаны:
- товарный знак предприятия-изготовителя;
- наименование предприятия-изготовителя;
- количество очков в коробке;
- год выпуска.
В каждую упаковочную единицу должен быть вложен ярлык с указанием фамилий контролеров службы технического контроля и упаковщика или их условных номеров и даты приемки.
9.4. Упаковочные единицы с очками должны быть уложены в фанерные, древесно-волокнистые или дощатые ящики по
ГОСТ 2991,
ГОСТ 5959 или ящики из гофрированного картона по
ГОСТ 9142. Деревянные ящики должны быть выложены внутри влагонепроницаемой бумагой по
ГОСТ 8828. Масса брутто не должна превышать 50 кг.
Примечание. При упаковке в ящики из гофрированного картона по
ГОСТ 9142 допускается укладывать очки в пластмассовых или картонных коробках и футлярах непосредственно в ящик (без упаковочной единицы).
9.5. В каждый ящик должен быть вложен упаковочный лист с указанием наименований изделий, количества упакованных изделий, даты упаковки, а также условного номера упаковщика.
9.6. Маркировка транспортной тары - по
ГОСТ 14192 с нанесением манипуляционного знака "Осторожно. Хрупкое".
9.7. Продукция транспортируется всеми видами транспорта в соответствии с правилами перевозки грузов, действующими на каждом виде транспорта.
Транспортирование очков - по группе условий хранения 5 (ОЖ4)
ГОСТ 15150, при этом ящики из гофрированного картона транспортируют только в контейнерах.
9.8. Хранение очков - по группе условий хранение 1 (Л)
ГОСТ 15150. Не допускается хранение очков в одном помещении с веществами, вызывающими порчу металлических, резиновых или пластмассовых конструктивных элементов очков.
10. Гарантии изготовителя
10.1. Изготовитель гарантирует соответствие выпускаемых очков требованиям настоящего стандарта при соблюдении условий транспортирования, хранения и эксплуатации.
Гарантийный срок хранения - 12 мес с момента изготовления, эксплуатации - 6 мес.
Для очков с обтюраторами из латекса и поролона срок хранения и эксплуатации - 6 мес с момента изготовления.
(справочное)
СТРУКТУРА УСЛОВНОГО ОБОЗНАЧЕНИЯ
Очки Х... ХХ... ХХ... Х ГОСТ
─┬─ ─┬─ ─┬─ ──┬───
│ │ │ │ ГОСТ Р 12.4.013
└─────┼─────┼──────┼────────────────────────────────────
│ │ │ Порядковый номер модели,
│ │ │ устанавливаемый Министерством
│ │ │ здравоохранения и медицинской
│ │ │ промышленности РФ
└─────┼──────┼────────────────────────────────────
│ │ Обозначение светофильтра по
│ │ обозначение трехслойного
│ │ бесцветного стекла - Т
└──────┼────────────────────────────────────
│ Обозначение настоящего
│ стандарта
└────────────────────────────────────
Пример условного обозначения закрытых защитных очков с непрямой вентиляцией (ЗН), модели 12, со светофильтром для газосварщиков и газорезчиков Г-1 по ОСТ 21-6:
Очки ЗН12-Г-1 ГОСТ Р 12.4.013-97