Главная // Актуальные документы // ГОСТ (Государственный стандарт)СПРАВКА
Источник публикации
М.: ИПК Издательство стандартов, 1999
Примечание к документу
Отдельные положения данного документа включены в
Перечень документов в области стандартизации, в результате применения которых на добровольной основе обеспечивается соблюдение требований Федерального
закона от 22.07.2008 N 123-ФЗ "Технический регламент о требованиях пожарной безопасности" (
Приказ Росстандарта от 13.02.2023 N 318).
Отдельные положения данного документа включены в
Перечень документов в области стандартизации, в результате применения которых на добровольной основе обеспечивается соблюдение требований Федерального
закона от 22.07.2008 N 123-ФЗ "Технический регламент о требованиях пожарной безопасности" (
Приказ Росстандарта от 14.07.2020 N 1190).
Отдельные положения данного документа включены в
Перечень документов в области стандартизации, в результате применения которых на добровольной основе обеспечивается соблюдение требований Федерального
закона от 22.07.2008 N 123-ФЗ "Технический регламент о требованиях пожарной безопасности" (
Приказ Росстандарта от 03.06.2019 N 1317).
Отдельные положения данного документа включены в
Перечень документов в области стандартизации, в результате применения которых на добровольной основе обеспечивается соблюдение требований Федерального
закона от 22.07.2008 N 123-ФЗ "Технический регламент о требованиях пожарной безопасности" (
Приказ Росстандарта от 17.04.2019 N 832).
С 1 июля 2003 года до вступления в силу технических регламентов акты федеральных органов исполнительной власти в сфере технического регулирования носят рекомендательный характер и подлежат обязательному исполнению только в части, соответствующей целям, указанным в
пункте 1 статьи 46 Федерального закона от 27.12.2002 N 184-ФЗ.
Введен в действие с 1 июля 2000 года.
Взамен ГОСТ 26813-86.
Название документа
"ГОСТ 26813-99. Межгосударственный стандарт. Воздухоочистители для кухонь электрические бытовые. Общие технические условия"
(введен в действие Постановлением Госстандарта РФ от 18.10.1999 N 347-ст)
"ГОСТ 26813-99. Межгосударственный стандарт. Воздухоочистители для кухонь электрические бытовые. Общие технические условия"
(введен в действие Постановлением Госстандарта РФ от 18.10.1999 N 347-ст)
от 18 октября 1999 г. N 347-ст
МЕЖГОСУДАРСТВЕННЫЙ СТАНДАРТ
ВОЗДУХООЧИСТИТЕЛИ ДЛЯ КУХОНЬ ЭЛЕКТРИЧЕСКИЕ БЫТОВЫЕ
ОБЩИЕ ТЕХНИЧЕСКИЕ УСЛОВИЯ
Domestic electric air cleaners for kitchens.
General specifications
ГОСТ 26813-99
1. Разработан Техническим комитетом по стандартизации ТК 19 "Бытовые электроприборы".
Внесен Госстандартом России.
2. Принят Межгосударственным советом по стандартизации, метрологии и сертификации (Протокол N 15-99 от 28 мая 1999 г.).
За принятие проголосовали:
┌──────────────────────────┬─────────────────────────────────────┐
│ Наименование государства │Наименование национального органа │
│ │ по стандартизации │
├──────────────────────────┼─────────────────────────────────────┤
│Азербайджанская Республика│Азгосстандарт │
│Грузия │Грузстандарт │
│Республика Казахстан │Госстандарт Республики Казахстан │
│Киргизская Республика │Киргизстандарт │
│Российская Федерация │Госстандарт России │
│Республика Таджикистан │Таджикгосстандарт │
│Туркменистан │Главная государственная инспекция │
│ │Туркменистана │
│Республика Узбекистан │Узгосстандарт │
│Украина │Госстандарт Украины │
└──────────────────────────┴─────────────────────────────────────┘
3.
Постановлением Государственного комитета Российской Федерации по стандартизации и метрологии от 18 октября 1999 г. N 347-ст межгосударственный стандарт ГОСТ 26813-99 введен в действие непосредственно в качестве государственного стандарта Российской Федерации с 1 июля 2000 г.
4. Взамен ГОСТ 26813-86.
Настоящий стандарт распространяется на бытовые электрические циркуляционные воздухоочистители (далее - воздухоочистители), устанавливаемые над кухонными плитами и предназначенные для очистки воздуха в процессе приготовления пищи.
Стандарт не распространяется на вытяжные воздухоочистители.
Климатическое исполнение воздухоочистителей - УХЛ, категория размещения -
4.2 по
ГОСТ 15150.
Требования, установленные
5.1,
5.2,
5.3,
5.4,
5.5,
5.7,
5.8,
5.11,
5.13,
8.3,
8.4,
разделами 6 и
9, являются обязательными.
В настоящем стандарте использованы ссылки на следующие стандарты:
ГОСТ 9.032-74. Единая система защиты от коррозии и старения. Покрытия лакокрасочные. Группы, технические требования и обозначения
ГОСТ 12.1.004-91. Система стандартов безопасности труда. Пожарная безопасность. Общие требования
ГОСТ 12.1.026-80. Система стандартов безопасности труда. Шум. Определение шумовых характеристик источников шума в свободном звуковом поле над звукоотражающей плоскостью. Технический метод
ГОСТ 27.410-87. Надежность в технике. Методы контроля показателей надежности и планы контрольных испытаний на надежность
ГОСТ 7399-97. Провода и шнуры на номинальное напряжение до 450/750 В. Технические условия
ГОСТ 9077-82. Кварц молотый пылевидный. Общие технические условия
ГОСТ 10921-90. Вентиляторы радиальные и осевые. Методы аэродинамических испытаний
| | ИС МЕГАНОРМ: примечание. ГОСТ 14087-88 утратил силу на территории Российской Федерации с 1 июля 2004 года в связи с введением в действие ГОСТ Р 52084-2003 (Постановление Госстандарта РФ от 30.06.2003 N 214-ст). | |
ГОСТ 14087-88. Электроприборы бытовые. Общие технические требования
ГОСТ 14254-96. Степени защиты, обеспечиваемые оболочками (Код IP)
ГОСТ 15150-69. Машины, приборы и другие технические изделия. Исполнения для различных климатических районов. Категории, условия эксплуатации, хранения и транспортирования в части воздействия климатических факторов внешней среды
ГОСТ 15543.1-89. Изделия электротехнические. Общие требования в части стойкости к климатическим внешним воздействующим факторам
ГОСТ 16962.1-89. Изделия электротехнические. Методы испытаний на устойчивость к климатическим внешним воздействующим факторам
ГОСТ 16962.2-90. Изделия электротехнические. Методы испытаний на стойкость к механическим внешним воздействующим факторам
ГОСТ 17083-87. Электротепловентиляторы бытовые. Общие технические условия
ГОСТ 17516.1-90. Изделия электротехнические. Общие требования в части стойкости к механическим внешним воздействующим факторам
ГОСТ 18321-73. Статистический контроль качества. Методы случайного отбора выборок штучной продукции
ГОСТ 23216-78. Изделия электротехнические. Общие требования к хранению, транспортированию, временной противокоррозионной защите и упаковке
| | ИС МЕГАНОРМ: примечание. ГОСТ 23511-79 утратил силу на территории Российской Федерации с 1 июля 2001 года (ИУС "Государственные стандарты", N 4, 2000). | |
ГОСТ 23511-79. Радиопомехи индустриальные от электротехнических устройств, эксплуатируемых в жилых домах или подключаемых к их электрическим сетям. Нормы и методы измерений
ГОСТ 26119-84. Электроприборы бытовые. Эксплуатационные документы. Общие технические требования
ГОСТ 27570.0-87. Безопасность бытовых и аналогичных электрических приборов. Общие требования и методы испытаний
ГОСТ 27570.26-91 <*>. Безопасность бытовых и аналогичных электрических приборов. Дополнительные требования к воздухоочистителям для кухонь и методы испытаний
--------------------------------
<*> На территории Российской Федерации действует ГОСТ Р МЭК 60335-2-31-99 (см. здесь и далее).
ГОСТ 27805-88. Приборы электрические бытовые. Метод измерения вибрации
ГОСТ 28244-96. Провода и шнуры армированные. Технические условия.
В настоящем стандарте применяются следующие термины с соответствующими определениями:
Элемент стерилизующего действия: бактерицидная лампа или другой встроенный в воздухоочиститель элемент, предназначенный для стерилизации проходящего через воздухоочиститель воздуха.
4. Классификация, основные параметры и размеры
4.1. Исполнения воздухоочистителей, отличающиеся разным набором составных частей, определяющих комфортность, должны соответствовать приведенным в таблице 1.
Таблица 1
┌──────────┬──────────────┬──────────────┬────────────────┬───────────────┐
│Исполнение│Фильтр очистки│Фильтр очистки│ Элемент │ Узел │
│ │ от аэрозолей │ от продуктов │ стерилизующего │дополнительного│
│ │ │ неполного │ действия │ освещения │
│ │ │ сгорания │ │ │
├──────────┼──────────────┼──────────────┼────────────────┼───────────────┤
│ 1 │ + │ + │ + │ + │
│ 2 │ + │ + │ - │ + │
│ 3 │ + │ - │ - │ + │
│ 4 │ + │ - │ + │ + │
├──────────┴──────────────┴──────────────┴────────────────┴───────────────┤
│ Примечание. Знак "+" означает наличие составной части в данном │
│исполнении; знак "-" - отсутствие. │
└─────────────────────────────────────────────────────────────────────────┘
4.2. Воздухоочистители должны иметь бесступенчатый режим или не менее двух режимов работы вентилятора:
- номинальный;
- форсированный с повышенной воздухопроизводительностью.
4.3. Основные параметры воздухоочистителей должны соответствовать значениям, указанным в таблице 2.
Таблица 2
┌────────────────────────────────────────┬───────────────────────┐
│ Наименование параметра │Значение для исполнения│
│ ├─────┬─────┬─────┬─────┤
│ │ 1 │ 2 │ 3 │ 4 │
├────────────────────────────────────────┼─────┼─────┼─────┼─────┤
│1. Номинальное напряжение однофазного │220 │ 220 │ 220 │220 │
│переменного тока частотой 50 Гц, В │ │ │ │ │
│2. Номинальная потребляемая мощность │ │ │ │ │
│воздухоочистителей, Вт: │ │ │ │ │
│ в номинальном режиме │230 │ 230 │ 230 │230 │
│ в форсированном режиме │250 │ 250 │ 250 │250 │
│ 2.1. Номинальная потребляемая мощность │ │ │ │ │
│вентилятора, Вт: │ │ │ │ │
│ в номинальном режиме │110 │ 110 │ 110 │110 │
│ в форсированном режиме │130 │ 130 │ 130 │130 │
│ 2.2. Номинальная потребляемая мощность │120 │ 120 │ 120 │120 │
│узла дополнительного освещения, Вт │ │ │ │ │
│3. Эффективность очистки от аэрозолей │ 82 │ 82 │ 82 │ 82 │
│прошедшего через воздухоочиститель │ │ │ │ │
│воздуха, %, не менее │ │ │ │ │
│4. Эффективность очистки воздуха │ │ │ │ │
│от продуктов неполного сгорания газа │ │ │ │ │
│(относительное снижение концентрации │ │ │ │ │
│газовых примесей через 1 ч эксплуатации │ │ │ │ │
│воздухоочистителя), %, не менее: │ │ │ │ │
│ от суммарных углеводородов │ 75 │ 75 │ - │ - │
│ от окислов азота │ 40 │ 40 │ - │ - │
│5. Воздухопроизводительность, м3/ч, │200 │ 200 │ 200 │200 │
│не менее │ │ │ │ │
│6. Корректированный уровень звуковой │ 65 │ 65 │ 65 │ 65 │
│мощности в форсированном режиме, дБА, │ │ │ │ │
│не более │ │ │ │ │
│7. Масса, кг, не более │12,5 │12,5 │12,5 │12,5 │
│8. Габаритные размеры корпуса, мм, │ │ │ │ │
│не более: │ │ │ │ │
│ ширина │602 │ 602 │ 602 │602 │
│ глубина │552 │ 552 │ 552 │552 │
├────────────────────────────────────────┴─────┴─────┴─────┴─────┤
│ Примечание. Для воздухоочистителей, имеющих бесступенчатый│
│режим работы, диапазон регулирования воздухопроизводительности│
│должен быть не менее 40%. │
└────────────────────────────────────────────────────────────────┘
4.4. Структурная схема условного обозначения воздухоочистителя:
┌──┐ ┌──┐ ┌──┐
Б Э В - │ │ - │ │ УХЛ4.2 │ │
─ ─ ─ └──┘ └──┘ ────── └──┘
│ │ │ │ │ │ │ Бытовой
└───┼───┼─────┼──────┼─────┼──────┼───────────────────────────
│ │ │ │ │ │ Электрический
└───┼─────┼──────┼─────┼──────┼───────────────────────────
│ │ │ │ │ Воздухоочиститель
└─────┼──────┼─────┼──────┼───────────────────────────
│ │ │ │ Номер модели
└──────┼─────┼──────┼───────────────────────────
│ │ │ Исполнение
└─────┼──────┼───────────────────────────
│ │ Климатическое исполнение
│ │ и категория размещения
└──────┼───────────────────────────
│ Словесный товарный
│ знак (при его наличии)
└───────────────────────────
Пример условного обозначения воздухоочистителя с номером модели 3, исполнения 1:
Воздухоочиститель БЭВ-3-1 УХЛ4.2 "Элион"
5. Технические требования
| | ИС МЕГАНОРМ: примечание. ГОСТ 14087-88 утратил силу на территории Российской Федерации с 1 июля 2004 года в связи с введением в действие ГОСТ Р 52084-2003 (Постановление Госстандарта РФ от 30.06.2003 N 214-ст). | |
5.1. Воздухоочистители должны соответствовать требованиям настоящего стандарта, ГОСТ 14087,
ГОСТ 27570.0, ГОСТ 27570.26 и образцам-эталонам, утвержденным в установленном порядке.
Воздухоочистители, предназначенные для экспорта, должны соответствовать договору между предприятием-изготовителем и внешнеэкономической организацией.
5.2. Воздухоочистители должны нормально функционировать при отклонениях напряжения сети в пределах +/- 10% номинального значения.
5.3. Присоединение воздухоочистителя к источнику питания - по ГОСТ 27570.26.
Допускается использование легких шнуров в поливинилхлоридной оболочке типа ШВЛ и ШВВП (227 МЭК 52) по
ГОСТ 7399 или
ГОСТ 28244.
Длина шнура от места выхода из корпуса воздухоочистителя до рабочей поверхности вилки шнура должна быть не менее 1,5 м.
5.4. Номинальный режим работы воздухоочистителей - продолжительный.
| | ИС МЕГАНОРМ: примечание. ГОСТ 23511-79 утратил силу на территории Российской Федерации с 1 июля 2001 года (ИУС "Государственные стандарты", N 4, 2000). | |
5.5. Уровень допустимых индустриальных радиопомех - по ГОСТ 23511.
5.6. Среднее квадратическое значение вибрационной скорости - не более 12 мм/с.
5.7. Лакокрасочные покрытия наружных поверхностей воздухоочистителей должны быть не ниже класса III по
ГОСТ 9.032.
5.8. Воздухоочистители в упаковке должны быть устойчивы к механическим воздействиям при транспортировании.
5.9. Показатели надежности
5.9.1. Средняя наработка на отказ - не менее 1500 ч.
5.9.2. Средний срок службы - не менее 10 лет.
5.10. Ремонтопригодность
5.10.1. Конструкция воздухоочистителей и их составных частей должна быть ремонтопригодной и обеспечивать:
- контролепригодность в части приспособленности изделий к рациональным методам и средствам диагностики;
- доступность к местам ремонта со стандартным инструментом;
- легкосъемность с минимальными затратами времени на разборку, ремонт и сборку;
- восстанавливаемость составных частей с учетом возможности применения прогрессивных технологических процессов ремонта.
5.10.2. Среднее время восстановления последствий отказа основных составных частей воздухоочистителя - вентилятора, переключателя, элемента стерилизующего действия - должно быть не более 2 ч, в том числе электродвигателя - не более 0,5 ч.
Примечание. Критерии отказов - по
9.16.3.
5.11. Группа исполнения воздухоочистителей по воздействию механических внешних воздействующих факторов по
ГОСТ 17516.1 должна быть М13.
5.12. Требования в части воздействия климатических факторов внешней среды - по
ГОСТ 15543.1.
5.13.1. К каждому воздухоочистителю должна прилагаться инструкция по эксплуатации по ГОСТ 26119, в которой должна быть указана комплектность конкретного исполнения воздухоочистителя.
5.14.1. Требования к маркировке, место и содержание маркировки воздухоочистителей - по ГОСТ 27570.26.
5.14.2. Маркировка воздухоочистителей для экспорта - в соответствии с требованиями договора между предприятием-изготовителем и внешнеэкономической организацией.
5.15. Упаковка
5.15.1. Упаковка воздухоочистителей - по
ГОСТ 23216.
5.15.2. Каждый воздухоочиститель должен быть упакован в индивидуальную упаковку - ящик из гофрированного картона.
5.15.3. На индивидуальной упаковке воздухоочистителей должны быть нанесены следующие данные:
- тип и наименование воздухоочистителей;
- номинальное напряжение;
- номинальная потребляемая мощность;
- наименование предприятия-изготовителя или его товарный знак;
- масса брутто;
- дата выпуска;
- номер упаковщика;
- обозначение настоящего стандарта.
6. Требования безопасности
6.1. Требования безопасности - по ГОСТ 27570.26 со следующими дополнениями.
6.2. Конструкция воздухоочистителей должна иметь степень защиты IP20 по
ГОСТ 14254.
6.3. По степени защиты от влаги воздухоочистители должны относиться к приборам обычного исполнения по ГОСТ 27570.26.
| | Применение на добровольной основе пункта 6.4 обеспечивает соблюдение требований Федерального закона от 22.07.2008 N 123-ФЗ "Технический регламент о требованиях пожарной безопасности" (Приказ Росстандарта от 16.04.2014 N 474). | |
| | Применение на добровольной основе пункта 6.4 обеспечивает соблюдение требований Федерального закона от 22.07.2008 N 123-ФЗ "Технический регламент о требованиях пожарной безопасности" (Приказ Ростехрегулирования от 30.04.2009 N 1573). | |
6.4. Требования к теплостойкости, огнестойкости и стойкости к образованию токоведущих мостиков - по ГОСТ 27570.26 (для жестких условий работы).
Примечание. Части конструкции воздухоочистителей (переключатели и другие), дополнительно закрытые и расположенные за фильтрами, не являются частями, подлежащими очистке.
6.5. При использовании в воздухоочистителях в качестве элемента стерилизующего действия бактерицидных ламп должна быть исключена возможность прямого попадания излучения на человека.
| | Применение на добровольной основе пункта 6.6 обеспечивает соблюдение требований Федерального закона от 22.07.2008 N 123-ФЗ "Технический регламент о требованиях пожарной безопасности" (Приказ Росстандарта от 16.04.2014 N 474). | |
| | Применение на добровольной основе пункта 6.6 обеспечивает соблюдение требований Федерального закона от 22.07.2008 N 123-ФЗ "Технический регламент о требованиях пожарной безопасности" (Приказ Ростехрегулирования от 30.04.2009 N 1573). | |
6.6. Вероятность возникновения пожара должна быть не более

в расчете на один воздухоочиститель в год.
7. Требования охраны окружающей среды
7.1. При использовании в воздухоочистителях в качестве элемента стерилизующего действия бактерицидных ламп должна проводиться утилизация указанных ламп в соответствии с установленными в законодательном порядке требованиями и нормами по охране окружающей среды.
8.1. Воздухоочистители должны подвергаться квалификационным, приемо-сдаточным, периодическим, типовым испытаниям и испытаниям на надежность.
8.2. Квалификационные испытания следует проводить на трех воздухоочистителях, взятых из установочной серии методом случайного отбора по
ГОСТ 18321, на соответствие всем требованиям настоящего стандарта.
8.3. Приемо-сдаточным испытаниям следует подвергать каждый воздухоочиститель по программе, указанной в таблице 3.
Таблица 3
┌─────────────────────────────────┬───────────────────────────────────────┐
│ Программа испытаний │Обозначение государственного стандарта │
│ │ или номер пункта настоящего стандарта │
│ ├──────────────────────┬────────────────┤
│ │Технические требования│Методы испытаний│
├─────────────────────────────────┼──────────────────────┼────────────────┤
ИС МЕГАНОРМ: примечание.
ГОСТ 14087-88 утратил силу на территории Российской Федерации с 1 июля
Госстандарта РФ от 30.06.2003 N 214-ст).
│2. Испытание на функционирование │
5.2 │ По ГОСТ 14087 │
│(запуск при пониженном │ │ │
│напряжении) │ │ │
│прочности изоляции в холодном │ │ │
│состоянии без увлажнения │ │ │
└─────────────────────────────────┴──────────────────────┴────────────────┘
8.4. Периодические испытания
8.4.1. Периодические испытания проводят не реже одного раза в год не менее чем на трех воздухоочистителях, взятых методом случайного отбора по
ГОСТ 18321 и прошедших приемо-сдаточные испытания. Испытания проводят по программе, указанной в таблице 4.
Таблица 4
┌───────────────────────────────────────┬─────────────────────────────────┐
│ Программа испытаний │ Обозначение государственного │
│ │ стандарта или номер пункта │
│ │ настоящего стандарта │
│ ├────────────────┬────────────────┤
│ │ Технические │Методы испытаний│
│ │ требования │ │
├───────────────────────────────────────┼────────────────┼────────────────┤
│1. Проверка защиты от поражения │
6.1,
6.2 │По ГОСТ 27570.26│
│электрическим током │ │ │
│3. Измерение воздухопроизводительности │
4.3 │
9.3 │
│4. Определение эффективности очистки │
4.3 │
9.4 │
│воздуха от аэрозолей
<*> │ │ │
│5. Определение эффективности очистки │
4.3 │
9.4 │
│воздуха от продуктов неполного сгорания│ │ │
│звуковой мощности
<*> │ │ │
│7. Испытание на нагрев │По ГОСТ 27570.26│По ГОСТ 27570.26│
│9. Испытание при ненормальной работе │По ГОСТ 27570.26│По ГОСТ 27570.26│
│10. Испытание на влагостойкость
<*> │
6.3 │По ГОСТ 27570.26│
│12. Измерение вибрационной скорости
<*>│
5.6 │По ГОСТ 27805 │
│воздушных зазоров и расстояний │ │ │
│по изоляции │ │ │
│16. Испытание на теплостойкость, │
6.4 │
9.7 │
│огнестойкость и стойкость к образованию│ │ │
│токоведущих мостиков │ │ │
│17. Определение вероятности │
6.6 │
9.9 │
│возникновения пожара <*> │ │ │
│18. Определение массы │
4.3 │
9.10 │
│19. Измерение габаритных размеров │
4.3 │
9.11 │
│ -------------------------------- │
│ <*> Допускается проводить раз в три года. │
│ │
│ Примечание. При наличии сертификата соответствия требованиям │
│
13,
14,
15,
16 настоящей таблицы не проводят. │
└─────────────────────────────────────────────────────────────────────────┘
8.5. Типовые испытания
8.5.1. Типовые испытания следует проводить при изменении конструкции, технологии изготовления или замене материалов.
Программу испытаний следует устанавливать в зависимости от характера указанных изменений.
8.6. Испытания на надежность
8.6.1. Испытания на надежность следует проводить по
ГОСТ 27.410 не реже одного раза в три года.
8.7. Испытания на ремонтопригодность следует проводить при постановке на производство и при модернизации воздухоочистителей.
8.8. Если при квалификационных, периодических или типовых испытаниях хотя бы один испытуемый воздухоочиститель не будет соответствовать требованиям настоящего стандарта, повторным испытаниям подвергают удвоенное число воздухоочистителей.
Результаты повторных испытаний являются окончательными.
9.2. При внешнем осмотре проверяют правильность сборки и комплектность воздухоочистителя, отсутствие внешних повреждений, качество покрытий, четкость и полноту маркировки изделия и упаковки, состояние упаковки, проводят сравнение воздухоочистителя с образцом-эталоном.
Если внешний осмотр проводят с целью оценки результатов других испытаний, то проверяют только отсутствие внешних повреждений, при необходимости - состояние упаковки.
9.3. Измерение воздухопроизводительности следует проводить при номинальном напряжении по
ГОСТ 10921 через 60 с после включения воздухоочистителей.
Определение диапазона регулирования воздухопроизводительности для воздухоочистителей с бесступенчатым режимом работы следует проводить при установке регулятора скорости в одно из крайних положений (максимальное или минимальное значения воздухопроизводительности).
Диапазон регулирования воздухопроизводительности в процентах определяют как отношение разности максимального и минимального значений воздухопроизводительности к ее максимальному значению.
Допускается проводить измерение воздухопроизводительности по методике
ГОСТ 17083.
9.4. Эффективность очистки прошедшего через воздухоочиститель воздуха от аэрозолей и продуктов неполного сгорания газа следует определять по методике в соответствии с
Приложением А настоящего стандарта.
9.5. Испытание воздухоочистителей на механическую прочность корпуса следует проводить по
ГОСТ 27570.0.
Допускается проводить испытание любым устройством, обеспечивающим энергию удара (0,5 +/- 0,05) Н x м.
Испытанию на механическую прочность не подвергают плафоны дополнительного освещения, решетки выходных отверстий вентилятора и клавиши органов управления.
9.6. Длину соединительного шнура следует измерять от места выхода его из корпуса воздухоочистителя до рабочей поверхности вилки. Погрешность измерения не должна превышать 0,05 м.
9.7. Испытание воздухоочистителей на теплостойкость, огнестойкость и стойкость к образованию токоведущих мостиков - по ГОСТ 27570.26.
Примечание. Откидной козырек воздухоочистителей и решетки выходных отверстий вентилятора относят к декоративным элементам конструкции.
9.8. Возможность прямого попадания излучения от элемента стерилизующего действия (бактерицидной лампы) на потребителя при нормальной эксплуатации воздухоочистителя проверяют внешним осмотром с включенной лампой при закрытой и открытой крышке воздухоочистителя.
Определение концентрации озона, создаваемой элементом стерилизующего действия, следует проводить при напряжении, равном 1,1 номинального по ГОСТ 27570.26.
9.9. Определение вероятности возникновения пожара следует проводить в соответствии с
Приложением Б настоящего стандарта.
9.10. Массу воздухоочистителей следует определять взвешиванием на весах с погрешностью, не выходящей за пределы +/- 0,1 кг.
9.11. Измерение габаритных размеров воздухоочистителей следует проводить измерительным инструментом, обеспечивающим точность, указанную в рабочих чертежах.
9.12. Испытание воздухоочистителей на соответствие группе исполнения по воздействию механических внешних воздействующих факторов - по
ГОСТ 16962.2.
| | ИС МЕГАНОРМ: примечание. ГОСТ 23511-79 утратил силу на территории Российской Федерации с 1 июля 2001 года (ИУС "Государственные стандарты", N 4, 2000). | |
9.13. Измерение уровня допустимых радиопомех - по ГОСТ 23511.
9.14. Испытание на устойчивость к механическим воздействиям воздухоочистителей в упаковке при транспортировании - по
ГОСТ 23216.
9.15. Испытания в части воздействия климатических факторов внешней среды - по
ГОСТ 16962.1.
9.15.1. Испытание на теплоустойчивость
Воздухоочистители в упакованном виде следует поместить в камеру тепла, выдержать при температуре плюс 50 °C в течение 12 ч, извлечь из камеры и выдержать в нормальных климатических условиях в течение 12 ч. Затем следует провести проверку воздухоочистителей на функционирование.
9.15.2. Испытание на холодоустойчивость
Воздухоочистители в упакованном виде следует поместить в камеру холода, выдержать при температуре минус 50 °C в течение 12 ч, извлечь из камеры и выдержать в нормальных климатических условиях в течение 12 ч. Затем следует провести проверку воздухоочистителей на функционирование.
9.16. Испытания на надежность
9.16.1. Испытания на надежность следует проводить по
ГОСТ 27.410 со следующими дополнениями.
Среднегодовая наработка изделия 670 ч.
При контроле средней наработки на отказ исходными данными являются:
- средняя наработка на отказ

;
- браковочное значение средней наработки на отказ

;
- приемочное значение средней наработки на отказ

;
- риск потребителя

;
- риск изготовителя

;
- объем выборки

;
- время испытаний

;
- предельное число отказов

.
Допускается проводить контроль показателей надежности (безотказность и долговечность) воздухоочистителей методами ускоренных испытаний в соответствии с методиками, утвержденными в установленном порядке.
9.16.2. Испытание воздухоочистителей следует проводить на стенде, обеспечивающем колебание напряжения питания воздухоочистителей по 5.2 настоящего стандарта.
9.16.3. Испытание следует проводить по циклам с длительностью работы в цикле:
0,5 ч - для номинального режима;
0,5 ч - для форсированного режима;
1,0 ч - для номинального режима.
Перерыв между циклами - не менее 0,5 ч.
Критериями отказов являются:
- отсутствие выхода воздуха из воздухоочистителя при включенном электродвигателе в номинальном или форсированном режиме работы;
- не работает электродвигатель при включении воздухоочистителя в сеть;
- из работающего воздухоочистителя выделяется дым или запах горелой изоляции;
- скачкообразное или постепенное появление нехарактерных для нормальной работы шумов, превышающих допустимые значения;
- уменьшение сопротивления изоляции ниже норм, установленных
ГОСТ 27570.0 (контролируют через каждые 25 циклов в холодном состоянии без увлажнения).
Примечания. 1. За отказы воздухоочистителя не считают отказы, которые могут быть устранены методами, изложенными в руководстве по эксплуатации, причинами которых являются:
- перегорание нити в лампе дополнительного освещения;
- отсутствие контакта в контактных зажимах электродвигателя;
- отсутствие контакта в патронах для элемента стерилизующего действия;
- выход из строя стартера.
2. Испытания для воздухоочистителей с регулятором скорости следует проводить, устанавливая регулятор скорости в крайние положения, обеспечивающие максимальное и минимальное значения воздухопроизводительности.
9.17. Оценку технической возможности ремонта следует проводить в установленном порядке.
10. Транспортирование и хранение
10.1. Транспортирование воздухоочистителей проводят всеми видами транспорта в крытых транспортных средствах в соответствии с правилами перевозки грузов, действующими на транспорте данного вида.
При транспортировании должна быть исключена возможность перемещения воздухоочистителей внутри транспортных средств.
Способ и средства крепления, схемы размещения (количество ярусов, рядов) в транспортных средствах с учетом максимального использования их вместимости, схемы формирования транспортных пакетов должны соответствовать правилам, действующим на транспорте данного вида.
10.2. Условия транспортирования в части воздействия механических факторов - по группе С по
ГОСТ 23216, климатических факторов - по условиям хранения 3 по
ГОСТ 15150.
10.3. Воздухоочистители должны храниться по условиям хранения 1 по
ГОСТ 15150.
11. Указания по эксплуатации
11.1. Воздухоочистители относятся к приборам, работающим без надзора.
11.2. Руководство по эксплуатации на воздухоочистители должно содержать требования безопасности по ГОСТ 27570.26.
12. Гарантии изготовителя
12.1. Изготовитель гарантирует соответствие воздухоочистителей требованиям настоящего стандарта при соблюдении условий эксплуатации, указанных в руководстве по эксплуатации.
12.2. Гарантийный срок эксплуатации воздухоочистителей - 12 мес со дня продажи через розничную торговую сеть.
(обязательное)
ОПРЕДЕЛЕНИЕ ЭФФЕКТИВНОСТИ ОЧИСТКИ
ПРОШЕДШЕГО ЧЕРЕЗ ВОЗДУХООЧИСТИТЕЛЬ ВОЗДУХА
ОТ АЭРОЗОЛЕЙ И ПРОДУКТОВ НЕПОЛНОГО СГОРАНИЯ ГАЗА
А.1. Определение эффективности очистки воздуха от аэрозолей
А.1.1. Средства контроля, вспомогательные устройства и материалы
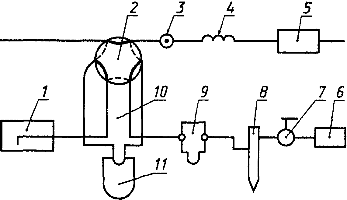
Испытания фильтров очистки от аэрозолей воздухоочистителей проводят на стенде в соответствии с рисунком А.1.
1 - дозатор пыли; 2 - классификатор-генератор аэрозолей;
3 - входной коллектор; 4 - пылезаборные трубки;
5 - вакуумный насос; 6 - испытываемый воздухоочиститель;
7 (в, г, д, е) - ротаметры; 8 - микроманометр;
9 - трубопровод; 10 - вентилятор стенда;
11 - дроссель-клапан; 12 - электрофильтр; 13 - диафрагма;
14 - нагревательный трубопровод
Диаметр трубопровода стенда выбирают в зависимости от пропускной способности испытываемых фильтров очистки от аэрозолей так, чтобы скорость воздуха в нем составляла 8 - 12 м/с.
Угол раскрывания диффузоров при гнезде для установки воздухоочистителя не должен превышать 15°, конфузоров - 45°.
Пылезаборные трубки устанавливают на вертикальных участках трубопровода стенда с соблюдением расстояний, указанных на
рисунке А.1 (5D и 2D), от ближайших препятствий.
Конструкция классификатора-генератора аэрозолей должна соответствовать приведенной на рисунке А.2.
Рисунок А.2. Классификатор-генератор аэрозолей
Допускается пропорциональное уменьшение или увеличение всех размеров классификатора.
Конструкция механического дозатора порошка классификатора-генератора аэрозолей должна обеспечивать равномерное дозирование порошка и подачу его сжатым воздухом.
Конструкция пылезаборной трубки должна быть в соответствии с рисунком А.3.
1 - сменный наконечник; 2 - прижимное кольцо;
3 - аналитический фильтр; 4 - трубка полного давления;
5 - ниппель; 6 - трубка статического давления;
7 - отверстие статического давления
Рисунок А.3. Пылезаборная трубка
Допускается пропорциональное уменьшение или увеличение всех размеров насадки трубки.
Конструкция входного коллектора должна соответствовать
ГОСТ 10921.
Конструкция дросселя-клапана должна допускать регулирование расхода через испытываемый фильтр очистки от аэрозолей в пределах +/- 50% его номинальной пропускной способности.
Все стыки и швы конструкции стенда должны быть тщательно промазаны уплотняющими мастиками.
Расход воздуха, отсасываемого через пылезаборные трубки при отборе пылевых проб, измеряют ротаметрами или другими приборами, допускающими непрерывный визуальный или автоматический контроль постоянства отсоса.
Отсос воздуха при отборе проб проводят с помощью поршневых компрессоров, вакуумных насосов или эжекторов.
Расход воздуха в стенде измеряют с помощью микроманометров, присоединяемых к приемникам давления градуированной диафрагмы.
Приемники давления выполняют в виде отверстий диаметром (1,0 +/- 0,1) мм в трубопроводе стенда. Отверстия снабжают штуцером для подключения трубок.
Штуцеры располагают в поперечных сечениях, отстоящих от испытываемого фильтра очистки от аэрозолей на расстоянии 10 - 20 мм. В каждом сечении должно быть не менее 4 штуцеров, объединяемых трубками.
Микроманометры присоединяют к штуцерам приемников давления с помощью трубок.
Градуировку измерительной диафрагмы проводят непосредственно в стенде с помощью мерного коллектора плавного входа по
ГОСТ 10921.
Фракционный состав пыли, поступающей в трубопровод стенда, определяют с помощью каскадного импактора НИИОГаз <*>, устанавливаемого над выходным отверстием классификатора-генератора аэрозолей.
--------------------------------
<*> АО Научно-исследовательский институт по промышленной и санитарной очистке газов.
Температуру воздуха в помещении, из которого воздух поступает в стенд, определяют с помощью жидкостных термометров, а относительную влажность в этом помещении - с помощью аспирационных психрометров.
Барометрическое давление в период проведения испытаний определяют с помощью барометров-анероидов или принимают по данным метеорологической службы.
Для подсушивания порошка, применяемого для запыления воздуха, используют лабораторные сушильные шкафы с температурой нагрева 105 °C.
Для запыления воздуха при испытаниях фильтра очистки от аэрозолей применяют порошок пылевидного кварца ПК-3 по
ГОСТ 9077, из которого с помощью классификатора-генератора аэрозолей отделяют частицы мельче 10 мкм.
Аналитические фильтры пылезаборных трубок изготавливают из фильтрующих материалов эффективностью не менее 99,5%.
А.1.2. Подготовка тестовой пыли
Порошок пылевидного кварца ПК-3 отбирают в металлический противень и помещают в сушильный шкаф.
Перед испытанием порошок просушивают в сушильном шкафу при температуре 105 °C в течение 10 - 12 ч, после чего охлаждают до комнатной температуры без извлечения из шкафа.
Для проведения испытаний порошок отбирают из противня и засыпают в бункер дозатора пыли. Отбор порошка из противня проводят в двух - трех точках в плане.
Сжатый воздух, используемый для подачи дозированного порошка в классификатор-генератор аэрозолей, должен быть очищен от аэрозолей масла и воды. Общий объем воздуха, поступающего с порошком в бункер для сбора крупных фракций классификатора-генератора аэрозолей, определяют по скорости движения воздуха в сечении цилиндрической части бункера, равной (0,8 +/- 0,05) см/с.
Концентрацию пыли (1,0 +/- 0,5) мг/м3 в трубопроводе стенда контролируют с помощью пылезаборных трубок и регулируют изменением количества пыли, подаваемой дозатором.
Дисперсный состав аэрозолей, поступающих из классификатора-генератора аэрозолей в трубопровод стенда, контролируют при помощи каскадного импактора НИИОГаз и корректируют путем регулирования объема поступающего сжатого воздуха. Каскадный импактор устанавливают непосредственно над выходным отверстием классификатора-генератора аэрозолей.
А.1.3. Подготовка пылезаборных трубок
Пылезаборные трубки снаряжают аналитическими фильтрами, вырезаемыми из фильтрующих материалов по шаблону в виде кружка, диаметр которого соответствует размеру пылезаборной трубки. Аналитические фильтры взвешивают на аналитических весах, укладывают в трубку с помощью прижимного кольца и сменного наконечника в соответствии с
рисунком А.3.
Диаметр отверстия сменного наконечника выбирают из условия соблюдения равенства скоростей движения воздуха в пылезаборной трубке и трубопроводе.
Пылезаборные трубки устанавливают по две в каждом сечении на расстоянии от стенки трубопровода, равном 0,2 диаметра трубопровода. После закрепления трубок с помощью микроманометра, присоединяемого к штуцерам полного и статического давлений трубок, определяют скорость в месте установки каждой из трубок и выбирают объем отсоса.
Скорость воздушного потока в месте установки пылезаборной трубки вычисляют по разности давлений в указанных штуцерах с учетом градуировочного коэффициента трубки, равного 0,6.
Объем воздуха Q, м3/ч, отсасываемого через пылезаборную трубку, определяют по формуле
Q = S x V x 3600, (А.1)
где S - площадь отверстия насадки пылезаборной трубки перед испытываемым фильтром для очистки аэрозолей, м2;
V - скорость в точке отбора пробы, м/с.
Объем отсасываемого воздуха контролируют ротаметрами в, г, д, е (см.
рисунок А.1).
Конструкция пылезаборных трубок, длина и диаметр резиновых шлангов и трубок, используемых для отсоса, и конструкция расходомеров, применяемых на всех участках стенда, должны быть одинаковыми.
Все отсчеты по приборам во время испытания проводят одновременно при установившемся режиме работы.
Все измеренные значения величин заносят в журнал регистрации результатов испытаний.
А.1.4. Проведение испытаний
Испытаниям подвергают воздухоочиститель с испытываемым фильтром очистки от аэрозолей. Напряжение питания подают на исполнительный механизм, приводящий в движение дроссель-клапан, включают вентилятор стенда и подают напряжение на схему управления работой дозатора пыли.
Дросселем-клапаном устанавливают показание микроманометра на нуль. На ротаметрах а и б (см.
рисунок А.1) с помощью регулятора нагнетательного трубопровода устанавливают расчетное количество делений шкалы ротаметра, соответствующее расходу воздуха, рассчитанному по заданной скорости потока воздуха в цилиндрической части классификатора-генератора аэрозолей. Количество делений шкалы в зависимости от расхода воздуха указывают в паспорте на конкретный тип ротаметра.
Объем отсасываемого воздуха регулируют с помощью зажима Мора, установленного на шлангах, идущих от вакуумного насоса к пылезаборным трубкам.
Допускается применение других устройств, обеспечивающих регулирование объема отсасываемого воздуха.
Постоянство расхода воздуха через испытываемый фильтр очистки от аэрозолей контролируют по микроманометру и поддерживают с помощью дросселя-клапана.
В процессе испытания воздух поступает в стенд из отапливаемого помещения, температура в котором в течение испытаний не должна меняться более чем на +/- 5 °C, а относительная влажность более чем на +/- 10% по сравнению со средним значением.
Продолжительность испытания от 3 до 6 ч.
По окончании испытания отключают дозатор пыли и вентилятор стенда.
Осторожно (без толчков) снимают пылезаборные трубки и переворачивают их насадками вверх.
Отключают вакуумный насос, перекрывают нагнетательный трубопровод.
Аналитические фильтры извлекают из насадок пылезаборных трубок и взвешивают на аналитических весах.
Определяют привес аналитических фильтров пылезаборных трубок. Для этого из веса аналитических фильтров пылезаборных трубок, установленных до и после воздухоочистителя с испытываемым фильтром очистки от аэрозолей, вычитают чистый вес аналитических фильтров, определенный до начала испытаний.
Вес аналитических фильтров пылезаборных трубок, устанавливаемых до и после воздухоочистителя, а также их вес до и после испытания определяют на одних и тех же аналитических весах.
А.1.5. Обработка результатов испытания
Эффективность очистки воздуха Э, %, испытываемым фильтром очистки от аэрозолей вычисляют непосредственно по соотношению привесов аналитических фильтров пылезаборных трубок по формуле

, (А.2)
где

- средний привес фильтров пылезаборных трубок, установленных до воздухоочистителя, мг;

- средний привес фильтров пылезаборных трубок, установленных после воздухоочистителя, мг.
Результаты испытаний оформляют в виде протокола, который должен содержать краткое описание условий испытаний и результаты испытаний.
А.1.6. Требования безопасности
Перед началом испытаний необходимо провести внешний осмотр стенда и воздухоочистителя с испытываемым фильтром очистки от аэрозолей, убедиться в исправности электропроводки подключения и заземления электродвигателя вентилятора стенда.
Кратковременным включением на 10 - 30 с стенда и воздухоочистителя проверяют работу механизмов стенда и воздухоочистителя.
К работе на стенде приступают только после его осмотра и устранения обнаруженных неисправностей.
Для индивидуальной защиты от пыли персонала, работающего на стенде, применяют респираторы.
А.2. Определение эффективности очистки воздуха от продуктов неполного сгорания газа
А.2.1. Определение эффективности очистки воздуха по суммарным углеводородам
А.2.1.1. Применяемые реактивы и приборы:
- этанол;
- бензол;
- ацетон;
- бутен;
- гелий;
- водород;
- активный уголь СКТ-3;
- кремнийорганическая жидкость ПФМС-4;
- 1,2,3-трис-(

-цианотокси) пропан;
- полисорб-1;
- хроматограф типа ЛХМ-8МД (5-я модель);
- электротепловентилятор бытовой;
- вакуумный насос водоструйный стеклянный;
- баня водяная одноместная;
- шприцы медицинские вместимостью 2, 5, 10 мл;
- микропипетка, градуированная на 1 мл;
- реометр лабораторный РКС;
- сосуд Дьюара вместимостью 0,5 л;
- барометр-анероид типа БР-52;
- термометр;
- секундомер.
Рисунок А.5. Поглотитель для испарения органических веществ
Рисунок А.6. Пробоотборник
Рисунок А.7. Пенный измеритель скорости газа
А.2.1.2. Принцип определения
Измерение степени очистки воздуха от суммарных углеводородов проводят с использованием хроматографического метода анализа. Анализ осуществляют на хроматографе с применением детектора ионизации в пламени.
А.2.1.3. Условия хроматографического анализа
Для разделения выбранных химических соединений используют хроматографическую колонку из нержавеющей стали, заполненную 20% 1,2,3-трис-(

-цианотокси) пропана на полисорбе-1. Длина хроматографической колонки 1000 мм, диаметр 4 мм.
Анализ проводят при температуре 150 °C, скорость газа-носителя (гелий) составляет 3 л/ч, воздуха 20 л/ч.
Время выхода опорных веществ и объем пробы при анализе - в соответствии с таблицей А.1.
Таблица А.1
┌────────────────────┬─────────────────────┬─────────────────────┐
│ Опорное вещество │ Время выхода, с │ Объем пробы, мл │
├────────────────────┼─────────────────────┼─────────────────────┤
│Этанол │ 38 │ 5 │
│Ацетон │ 33 │ 10 │
│Бензол │ 98 │ 10 │
│Бутен-1 │ 13 │ 2 │
└────────────────────┴─────────────────────┴─────────────────────┘
При проведении хроматографического анализа фиксируют высоту пика (H), ширину пика (B), измеряемую на середине высоты, масштаб записи (M) пика хроматографа.
Анализ по всем компонентам в области концентрации ниже предельно допустимой (ПДК) проводят с предварительным концентрированием пробы воздуха. Концентрирование проводят путем пропускания определенных объемов модельной смеси из испытательного стенда через ловушку с активным углем при 0 °C.
Схема установки для концентрирования пробы приведена на рисунке А.8.
1 - испытательный стенд; 2 - кран-дозатор хроматографа;
3 - пробоотборник; 4 - хроматографическая колонка;
5 - детектор ионизации в пламени; 6 - вакуумный насос;
7 - регулировочный кран; 8 - пенный измеритель скорости
газа; 9 - реометр; 10 - ловушка; 11 - сосуд Дьюара
Рисунок А.8. Схема установки для концентрирования пробы
Ловушку заполняют активным углем СКТ-3 (фракция 0,25 - 0,5 мм) на высоту 50 мм обоих колен трубки. Ежедневно перед работой активный уголь регенерируют непосредственно в ловушке в потоке газа-носителя при температуре 400 °C в течение 30 мин.
Отбор проб воздуха и анализ проводят следующим образом: включают вакуум-насос и краном по реометру устанавливают расход воздуха 1,8 л/ч; кран-дозатор хроматографа ставят в положение "анализ" (на
рисунке А.8 это положение отмечено пунктирной линией). Газ-носитель при этом идет через ловушку, помещенную в сосуд Дьюара со льдом, через 30 с кран-дозатор хроматографа ставят в положение "отбор" (на
рисунке А.8 это положение отмечено сплошной линией). В этом положении крана анализируемый воздух проходит через ловушку с установленной скоростью 1,8 л/ч. Отбор пробы воздуха проводят в течение времени, необходимого для прохождения заданного объема воздуха, например, для 100 мл воздуха - 200 с. Кран-дозатор хроматографа ставят в положение "анализ" и в течение 30 с ловушку продувают потоком газа-носителя. Затем проводят быстрый нагрев ловушки до температуры 200 °C при помощи сосуда Дьюара с нагретой до этой температуры кремнийорганической жидкостью ПФМС-4. Адсорбированное вещество при этом десорбируется и направляется в хроматографическую колонку. Калибровку проводят по исходной смеси с заданной концентрацией опорного вещества. Калибровочный коэффициент K, мм2 x м3/(мг x мл), вычисляют по формуле

, (А.3)
где S - площадь пика, мм2;
M - масштаб записи пика хроматографа;
H - высота пика, мм;
B - ширина пика, мм;
C - исходная концентрация опорного вещества, мг/м3;
V - объем пробы, мл.
Калибровочный коэффициент представляет собой площадь пика вещества при его концентрации 1 мг/м3 и объеме пробы 1 мл. Калибровочный коэффициент - величина постоянная, характерная для каждого химического соединения при данных условиях его анализа.
Подготовка хроматографа к работе и его эксплуатация должны быть описаны в инструкции к данному прибору.
А.2.1.4. Приготовление модельных смесей опорных веществ
Измерение степени очистки воздуха от суммарных углеводородов проводят на испытательном стенде, представляющем собой камеру объемом 0,45 м3, совмещенную с системой дозировки опорных компонентов и отбора проб (рисунок А.9).
1 - испытательная камера; 2 - воздухоочиститель;
3 - электротепловентилятор; 4 - пробоотборник; 5 - водяная
баня; 6 - поглотитель для испарения органических веществ;
7 - микрокомпрессор
Рисунок А.9. Схема установки для измерения степени
очистки воздуха от суммарных углеводородов
ПДК опорных веществ и исходные концентрации, необходимые для приготовления модельных смесей при нормальных условиях в герметичном объеме 0,45 м3, должны соответствовать приведенным в таблице А.2.
Таблица А.2
┌────────────────┬───────────┬───────────────────┬────────────────────────┐
│Опорное вещество│ПДК, мг/м3 │ Исходная │Минимально определяемая │
│ │ │концентрация, мг/м3│ концентрация, мг/м3 │
├────────────────┼───────────┼───────────────────┼────────────────────────┤
│Этанол │ 5,00 │ 200,00 │ 2,50 │
│Ацетон │ 0,35 │ 17,50 │ 0,35 │
│Бензол │ 1,50 │ 75,00 │ 1,50 │
│Бутен-1 │ 3,00 │ 50,00 │ 1,00 │
└────────────────┴───────────┴───────────────────┴────────────────────────┘
Расчет количества жидких опорных веществ (этанола, бензола, ацетона), необходимого для создания заданной концентрации q, мг, вычисляют по формуле

, (А.4)
где

- исходная концентрация опорного вещества при номинальных условиях, мг/м3;

- объем воздуха в стенде, м3;

- давление воздуха в стенде, мм рт. ст.;

- температура воздуха в стенде, °C.
При расчете количества газообразного бутена-1 необходимо учитывать, кроме того, условия дозировки (давление и температуру). Объем газообразного бутена-1 V, м3, вычисляют по формуле

, (А.5)
где

- барометрическое давление в лаборатории, мм рт. ст.;

- температура в лаборатории, °C;
0,4 - отношение объема грамм-молекулы бутена-1 при нормальных условиях к его молекулярному весу (22,4/56).
Для создания исходной концентрации этанола, бензола, ацетона эти вещества в рассчитанном количестве взвешивают и заливают в поглотитель, помещенный на водяную баню с температурой воды 100 °C. Пары микрокомпрессором направляют в камеру стенда. Испарение рассчитанного количества вещества продолжают в течение 3 - 5 мин. В стенде паровоздушную смесь перемешивают электротепловентилятором. Отбор проб на анализ проводят шприцем через пробоотборник или краном-дозатором хроматографа. Газообразный бутен-1 дозируют с помощью шприца вместимостью 10 мл через пробоотборник.
При использовании стенда других размеров проводят пропорциональный перерасчет концентраций на соответствующий объем.
А.2.1.5. Проведение испытания
Измерение степени очистки воздуха по суммарным углеводородам проводят в следующем порядке:
- воздухоочиститель устанавливают в камере стенда, стенд закрывают;
- создают исходную модельную смесь, содержащую опорные вещества. В случае необходимости воздухоочиститель испытывают одновременно по четырем компонентам, создавая модельную смесь сразу из четырех компонентов;
- проводят анализ исходной смеси и рассчитывают калибровочные коэффициенты. Результаты оформляют в соответствии с
таблицей А.3;
- проводят определение эффективности очистки воздухоочистителем в отношении веществ, определенные концентрации которых были созданы на стенде. Для этого включают воздухоочиститель и через каждые 30 с, считая с момента его включения, проводят отбор проб газовой смеси на анализ с помощью шприца через пробоотборник. Для каждого анализа измеряют высоту и ширину пиков анализируемых веществ на хроматографе (M, H, B). Хроматографический анализ проводят введением каждой из отобранных проб воздуха с помощью шприца в устройство для ввода проб хроматографа. При концентрировании проб воздуха отбор и анализ его проводят по
А.2.1.3.
┌─────────┬──────────┬────────┬───────┬──────┬────────┬───────┬───────────┐
│Компонент│Исходная │ Объем │Масштаб│Ширина│ Высота │Площадь│Калибровоч-│
│ │концентра-│ пробы, │
<*> │пика, │ пика, │ пика, │ный коэффи-│
│ │ция, мг/м3│ мл │ │ мм │ мм │ мм2 │циент │
├─────────┼──────────┼────────┼───────┼──────┼────────┼───────┼───────────┤
│Бутен-1 │ 50,0 │ 2 │ 8 │ 0,5 │ 80 │ 320 │ 3,200 │
│Этанол │ 200,0 │ 5 │ 8 │ 1,0 │ 92 │ 736 │ 0,736 │
│Бензол │ 75,0 │ 10 │ 8 │ 4,0 │ 73 │ 3140 │ 3,120 │
│Ацетон │ 17,5 │ 10 │ 8 │ 1,0 │ 63 │ 500 │ 2,850 │
├─────────┴──────────┴────────┴───────┴──────┴────────┴───────┴───────────┤
│ <*> Масштаб записи пика хроматографа. │
└─────────────────────────────────────────────────────────────────────────┘
Концентрацию опорных веществ в камере стенда C, мг/м3, вычисляют по формуле

, (А.6)
где K - калибровочный коэффициент по соответствующему веществу;
V - объем пробы, мл;
Эффективность очистки воздуха по суммарным углеводородам Э', %, вычисляют по формуле

, (А.7)
где

- исходная концентрация опорного вещества в стенде, мг/м3;

- концентрация вещества при соответствующем времени работы воздухоочистителя, мг/м3.
Время работы воздухоочистителя в условиях кухни

, с, исходя из постоянства кратности циркуляции воздуха в стенде и на кухне, вычисляют по формуле

, (А.8)
где

- объем кухни, м3;

- объем стенда, м3;

- время работы воздухоочистителя в стенде, с.
Для стенда объемом 0,45 м3 и кухни объемом 14 м3 при кратности циркуляции воздуха, равной 10, время работы должно соответствовать приведенному в таблице А.4.
Таблица А.4
┌────────────────────────────────────────────────────────────────┐
│ Время работы воздухоочистителя │
├────────────────────────────────┬───────────────────────────────┤
│ В стенде, с │ В кухне, мин │
├────────────────────────────────┼───────────────────────────────┤
│ 30 │ 15 │
│ 60 │ 30 │
│ 90 │ 45 │
│ 120 │ 60 │
└────────────────────────────────┴───────────────────────────────┘
Температура в испытательном стенде не должна быть ниже 18 °C.
Общую эффективность очистки воздуха по суммарным углеводородам принимают равной наименьшей из полученных значений эффективности очистки по выбранным методам.
А.2.2. Определение эффективности очистки воздуха по окислам азота
А.2.2.1. Применяемые реактивы и приборы
- кислота азотная концентрированная;
- индикаторные трубки на окислы азота;
- электротепловентилятор бытовой;
- вакуумный насос водоструйный стеклянный;
- шприцы медицинские вместимостью 2, 5, 10, 20 мл;
- реометр лабораторный РКС;
- барометр-анероид типа БР-52;
- термометр;
- секундомер;
- сосуды Дьюара вместимостью 0,5 л;
- кран четырехходовой;
- аппарат Киппа.
А.2.2.2. Принцип измерения
Для определения концентрации окислов азота

используют линейно-колористический метод, в котором применяют соответствующие индикаторные трубки. Трубки представляют собой запаянные с двух сторон стеклянные ампулы, заполненные соответствующим индикаторным порошком. На поверхности трубок маркировочными кольцами обозначают концентрацию вещества в объемных процентах. При аспирации модельной смеси через трубку на индикаторном порошке образуется окрашенный слой, длина которого пропорциональна концентрации данного компонента в воздухе.
Чувствительность метода определения окислов азота - 0,08 мг/м3.
Условия анализа газов на уровне ПДК приведены в таблице А.5.
Таблица А.5
┌───────────┬──────────┬─────────────┬────────────┬─────────┬─────────────┐
│Исследуемый│ПДК, мг/м3│ Цвет │ Объем │Скорость │ Время │
│ газ │ │ окрашенного │пропущенного│ отбора, │анализа, мин │
│ │ │ слоя │ воздуха, л │ л/мин │ │
├───────────┼──────────┼─────────────┼────────────┼─────────┼─────────────┤
│ NO │ 0,085 │ Фиолетовый │ 5,0 │ 0,5 │ 10,0 │
│ x │ │ │ │ │ │
└───────────┴──────────┴─────────────┴────────────┴─────────┴─────────────┘
А.2.2.3. Устройство испытательного стенда
Схема испытательного стенда представлена на
рисунке А.10. Испытательный стенд состоит из герметичной камеры объемом 1,1 м3, в которую помещают воздухоочиститель, электротепловентилятор для перемешивания газовоздушной смеси и терморегулирующее устройство для создания заданного теплового режима.
1 - герметичная камера; 2 - воздухоочиститель;
3 - электротепловентилятор; 4 - терморегулирующее
устройство; 5 - трехходовой кран; 6 - пенный измеритель
расхода газа; 7 - четырехходовой кран; 8 - реометр;
9 - регулировочный кран; 10 - ловушка с адсорбентом;
11 - индикаторная трубка; 12 - сосуд Дьюара;
13 - пробоотборники; 14 - вакуумный насос
Рисунок А.10. Схема стенда для определения
концентрации окислов азота
Аналитическая система стенда включает линию дозировки анализируемого воздуха. Линия состоит из четырехходового крана, служащего для направления потока анализируемой смеси через индикаторную трубку, помещенную в сосуд Дьюара; защитной ловушки с адсорбентом с целью предохранения системы от влаги и токсичных компонентов; реометра с калибровочным капилляром и регулировочного крана для точного дозирования пропускаемого воздуха. Трехходовой кран и пенный измеритель расхода газа служат для регулирования скорости воздушной смеси. Поток анализируемой смеси через аналитическую систему создают с помощью вакуумного насоса.
А.2.2.4. Приготовление модельной смеси
Для приготовления модельной смеси необходимы чистые газы. Окислы азота

получают при взаимодействии металлической меди с концентрированной азотной кислотой по реакции

. (А.9)
Модельную смесь в испытательном стенде создают путем дозирования чистого газа окислов азота

(получаемого указанным способом) с помощью шприца вместимостью 20 мл, вводимого через пробоотборник, вмонтированный в камеру. Начальная концентрация отдельного компонента при нормальных условиях должна составлять для окислов азота - 4 мг/м3.
Объем дозированного чистого газа окислов азота

V, мл, вычисляют по формуле

, (А.10)
где K - отношение объема грамм-молекулы газа при нормальных условиях к его молекулярному весу;

;

- геометрический объем стенда, м3;

- барометрическое давление в стенде, мм рт. ст.;

- барометрическое давление в лаборатории, мм рт. ст.;

- температура воздуха в лаборатории, °C;

- температура воздуха в стенде, °C.
А.2.2.5. Проведение испытания
Измерение степени очистки воздуха от окислов азота проводят в следующем порядке:
- воздухоочиститель устанавливают в герметичной камере;
- в камере создают исходную смесь заданной концентрации;
- к четырехходовому крану присоединяют индикаторную трубку (конец трубки предварительно отламывают) для анализа окислов азота и помещают в сосуд Дьюара с температурой 40 °C, кран ставят в положение, отключающее трубку от основной линии;
- трехходовым краном подключают пенный измеритель расхода газа к линии анализа окислов азота и с помощью вакуумного насоса через регулировочный кран по реометру создают расход 0,5 л/мин;
- проводят измерение степени очистки воздуха от окислов азота, определенная концентрация которых была создана в стенде. Для этого включают воздухоочиститель и через каждые 30 с работы, считая с момента его включения, проводят отбор проб газовой смеси окислов азота на анализ;
- трехходовым краном стенд подключают к линии анализа окислов азота. Пенный измеритель отключают. Проводят продувку линии анализируемой смесью в течение 1,0 - 1,5 мин. Включают секундомер и четырехходовым краном вводят индикаторную трубку в поток анализируемой смеси. Объем пропускаемой смеси должен быть равен 1 л, время пропускания - 2 мин;
- четырехходовым краном индикаторную трубку отключают от линии, вынимают из сосуда Дьюара и по величине окрашенного слоя определяют концентрацию окислов азота в объемных процентах. Пересчет концентрации в другие размерности проводят по таблице А.6.
Таблица А.6
┌───────────────────┬───────────────┬───────────────┬─────────────────────┐
│Показания на калиб-│ Концентрация │ Концентрация │Концентрация окислов │
│рованной трубке │окислов азота, │окислов азота, │ азота, мг/м3, │
│C , % в 1000 мл │ мл/1000 мл │ мл/м3 │ в пересчете на NO │
│ NO │ │ │ 2 │
│ 2 │ │ │ │
├───────────────────┼───────────────┼───────────────┼─────────────────────┤
│ 0,00010 │ 0,0010 │ 1,0 │ 2,05 │
│ 0,00020 │ 0,0020 │ 2,0 │ 4,10 │
│ 0,00035 │ 0,0035 │ 3,5 │ 7,15 │
│ 0,00050 │ 0,0050 │ 5,0 │ 10,25 │
│ 0,00075 │ 0,0075 │ 7,5 │ 15,35 │
│ 0,00100 │ 0,0100 │ 10,0 │ 20,50 │
│ 0,00150 │ 0,0150 │ 15,0 │ 30,75 │
│ 0,00200 │ 0,0200 │ 20,0 │ 41,00 │
│ 0,00300 │ 0,0300 │ 30,0 │ 62,50 │
│ 0,00400 │ 0,0400 │ 40,0 │ 82,00 │
│ 0,00500 │ 0,0500 │ 50,0 │ 102,50 │
└───────────────────┴───────────────┴───────────────┴─────────────────────┘
При анализе объемов пропущенного воздуха более 1 л пересчет концентрации C, мг/м3, проводят по формуле

, (А.11)
где

- концентрация компонента, рассчитанная на 1 л пропускаемой смеси, мг/м3;

- приведенный объем, то есть отношение объема фактически пропущенного воздуха к объему, равному 1 л.
За меру эффективности очистки воздуха от окислов азота принимают относительное снижение концентрации токсичного компонента в стенде за 2 мин непрерывной работы воздухоочистителя, что соответствует 1 ч его эксплуатации в бытовом помещении.
Эффективность рассчитывают, как указано в
А.2.1.5.
Пересчет времени работы воздухоочистителя в условиях стенда на соответствующее время в условиях кухни - по
А.2.1.5.
| | Применение на добровольной основе приложения Б обеспечивает соблюдение требований Федерального закона от 22.07.2008 N 123-ФЗ "Технический регламент о требованиях пожарной безопасности" (Приказ Ростехрегулирования от 30.04.2009 N 1573). | |
(обязательное)
| | Применение на добровольной основе Приложения Б обеспечивает соблюдение требований Федерального закона от 22.07.2008 N 123-ФЗ "Технический регламент о требованиях пожарной безопасности" (Приказ Росстандарта от 16.04.2014 N 474). | |
МЕТОД ОПРЕДЕЛЕНИЯ ВЕРОЯТНОСТИ ВОЗНИКНОВЕНИЯ
ПОЖАРА ОТ ВОЗДУХООЧИСТИТЕЛЯ
Б.1. Условия испытаний
Испытания воздухоочистителей проводят в помещении с нормальными климатическими условиями:
- температура окружающего воздуха - плюс (25 +/- 10) °C,
- относительная влажность воздуха - 45 - 80%,
- атмосферное давление - 84,0 - 106,7 кПа [(630 - 800) мм рт. ст.].
Испытания воздухоочистителей проводят при напряжении питающей сети (242 +/- 5) В.
Б.2. Средства испытаний
Б.2.1. Испытания проводят на стенде, который представляет собой испытательный угол в виде трех граней куба с длиной ребра (1300 +/- 10) мм. Стенд позволяет регистрировать электрические и тепловые параметры воздухоочистителя в каждом характерном пожароопасном режиме работы. Электрическая схема испытательного стенда приведена на рисунке Б.1. Стенд для испытания воздухоочистителей на пожарную опасность располагают в помещении с негорючими стенами и оборудуют системой вентиляции для удаления продуктов горения.
ИО - испытуемый образец воздухоочистителя;
П - потенциометр автоматический типа КСП-4; Т1, Т2,
Т3 - термопреобразователи; Тр - регулятор напряжения типа
РНО-250; А - амперметр; V - вольтметр; В - высоковольтный
испытательный прибор
Рисунок Б.1. Электрическая схема испытательного стенда
Температуру измеряют термопреобразователями ТХА с диаметром спая 0,2 - 0,5 мм.
Перечень приборов, используемых при испытаниях, должен соответствовать приведенному в таблице Б.1.
Таблица Б.1
┌─────────────────────────────────┬──────────────────┬────────────────────┐
│ Наименование приборов │ Класс точности │ Предел измерения │
│ и оборудования │ │ и регулирования │
├─────────────────────────────────┼──────────────────┼────────────────────┤
│Высоковольтный испытательный │ - │ 0,1 - 2,5 кВ │
│прибор типа ВИП-3 │ │ │
│Измерительный комплект типа К-505│ 0,5 │0 - 600 В, 0 - 10 А │
│Регулятор напряжения типа РНО │ - │ 0 - 250 В │
│Потенциометр автоматический типа │ 0,5 │ 0 - 400 °C │
│КСП-4 │ │ │
│Термопреобразователь типа ТХА │ - │ 0 - 400 °C │
│Спиртовой термометр │ 2 │ 0 - 100 °C │
├─────────────────────────────────┴──────────────────┴────────────────────┤
│ Примечание. В испытаниях могут быть использованы приборы│
│с метрологическими характеристиками не хуже приведенных в таблице. │
└─────────────────────────────────────────────────────────────────────────┘
Б.3. Проведение испытаний
Испытания воздухоочистителей проводят в характерных пожароопасных режимах. Характерными пожароопасными режимами работы воздухоочистителя являются:
- заторможенный ротор электродвигателя вентилятора;
- короткое замыкание в обмотке электродвигателя вентилятора;
- короткое замыкание (пробой) в конденсаторе регулятора скорости вращения электродвигателя вентилятора.
При наличии в воздухоочистителе, кроме электродвигателя и блока регулирования частоты его вращения, других пожароопасных узлов перечень характерных пожароопасных режимов должен быть приведен в технических условиях для конкретных схемно-конструктивных исполнений воздухоочистителей.
В каждом пожароопасном режиме проводят по десять испытаний. Причем, испытания проводят от наиболее легкого режима к наиболее тяжелому. Допускается проведение повторных испытаний на образцах, вышедших из строя, при условии замены отказавших комплектующих. Перед проведением повторных испытаний образцы, восстановленные заменой комплектующих, подлежат кондиционированию при нормальных климатических условиях в течение 24 ч.
Испытания в аварийных режимах прекращают при установившихся значениях температур на конструкционных материалах, при достижении критических температур, а также при воспламенении образца.
Перед испытаниями воздухоочиститель располагают в испытательном углу стенда в рабочем положении, обеспечивающем возможность визуального наблюдения за поведением конструкции.
Перед проведением испытаний осуществляют подготовку образцов для создания аварийных режимов:
- тормозят электродвигатель вентилятора;
- закорачивают выводы обмотки электродвигателя вентилятора;
- пробивают повышенным напряжением конденсатор регулятора скорости вращения электродвигателя вентилятора;
- имитируют другие пожароопасные режимы, обусловленные особенностями конструкции воздухоочистителя.
Термопреобразователи располагают на изоляционных материалах в местах наибольшего нагрева элементов конструкции:
- на поверхности обмотки электродвигателя вентилятора;
- на конденсаторе регулятора скорости вращения электродвигателя вентилятора;
- у контактов клеммной панели.
Крепление термопреобразователей следует осуществлять механически или с помощью клея.
В процессе испытаний, в каждом из режимов, измеренное значение сравнивают с критическим значением температуры для изоляционных материалов, используемых в конструкции воздухоочистителя.
Критическую температуру принимают равной 175 °C.
Продолжительность испытания в каждом из режимов - до достижения элементами воздухоочистителя установившейся температуры с последующей выдержкой при этой температуре в течение 30 мин.
Температуру считают установившейся, если она изменяется в течение одного часа не более чем на +/- 5 °C. При быстротечных испытаниях, сопровождаемых выходом из строя узлов воздухоочистителей, за измеренное значение принимают максимальное значение температуры, достигнутой в эксперименте.
Испытания могут быть прекращены при достижении элементами воздухоочистителя критических температур или при выходе его из строя.
В процессе испытаний воздухоочистителей в единичных пожароопасных режимах по ГОСТ 12.1.004
(формула 156) определяют

- вероятность достижения горючими материалами критических температур по формуле

, (Б.1)
где

- безразмерный параметр, значение которого выбирают по
таблице Б.2 в зависимости от безразмерного параметра

в распределении Стьюдента, рассчитываемого по формуле

, (Б.2)
где

- критическая температура нагрева горючего материала;

- среднее арифметическое значений температур, полученных при испытаниях в наиболее нагретом месте воздухоочистителя;

- среднее квадратическое отклонение.
┌───────────┬────────────┬───────────┬────────────┬───────────┬───────────┐
│ альфа │ Тэта │ альфа │ Тэта │ альфа │ Тэта │
├───────────┼────────────┼───────────┼────────────┼───────────┼───────────┤
│ 0,0 │ 0,000 │ 1,2 │ 0,736 │ 2,8 │ 0,975 │
│ 0,1 │ 0,078 │ 1,3 │ 0,770 │ 3,0 │ 0,984 │
│ 0,2 │ 0,154 │ 1,4 │ 0,800 │ 3,2 │ 0,983 │
│ 0,3 │ 0,228 │ 1,5 │ 0,826 │ 3,4 │ 0,990 │
│ 0,4 │ 0,300 │ 1,6 │ 0,852 │ 3,6 │ 0,992 │
│ 0,5 │ 0,370 │ 1,7 │ 0,872 │ 3,8 │ 0,994 │
│ 0,6 │ 0,434 │ 1,8 │ 0,890 │ 4,0 │ 0,996 │
│ 0,7 │ 0,496 │ 1,9 │ 0,906 │ 4,2 │ 0,996 │
│ 0,8 │ 0,554 │ 2,0 │ 0,920 │ 4,4 │ 0,998 │
│ 0,9 │ 0,606 │ 2,2 │ 0,940 │ 4,6 │ 0,998 │
│ 1,0 │ 0,654 │ 2,4 │ 0,956 │ 4,8 │ 0,998 │
│ 1,1 │ 0,696 │ 2,6 │ 0,968 │ 5,0 │ 1,000 │
└───────────┴────────────┴───────────┴────────────┴───────────┴───────────┘
Среднее арифметическое значений температур при испытаниях

определяют по формуле

. (Б.3)
Среднее квадратическое отклонение

определяют по формуле

, (Б.4)
где

- измеренная температура при j-ом измерении.
Б.4. Испытание с заторможенным ротором электродвигателя вентилятора
Перед испытаниями воздухоочистителя ротор электродвигателя вентилятора затормаживают любым устройством, обеспечивающим его неподвижное состояние.
На поверхности обмотки электродвигателя вентилятора закрепляют термопреобразователь.
Устанавливают воздухоочиститель в испытательном углу.
Подают на воздухоочиститель напряжение питания.
Регистрируют измеренные значения температур.
Б.5. Испытания при коротком замыкании (КЗ) в обмотке электродвигателя вентилятора
Перед испытаниями воздухоочистителя создают КЗ обмотки электродвигателя вентилятора. КЗ создают закорачиванием проводников обмотки электродвигателя вентилятора. Загрубляют защиту от КЗ (плавкую вставку заменяют медным проводником диаметром 0,5 мм).
На поверхности электродвигателя вентилятора закрепляют термопреобразователь.
Устанавливают воздухоочиститель в испытательном углу.
Подают на воздухоочиститель напряжение питания.
Регистрируют измеренные значения температур.
Б.6. Испытания при коротком замыкании (пробое) конденсатора
Перед испытанием воздухоочистителя пробивают высоковольтным напряжением конденсатор регулятора скорости вращения электродвигателя вентилятора. Прикладываемое к конденсатору напряжение изменяют от 0,1 кВ до напряжения пробоя. Загрубляют защиту от КЗ в блоке регулирования скорости вращения электродвигателя вентилятора.
На поверхности конденсатора закрепляют термопреобразователь.
Устанавливают воздухоочиститель в испытательном углу.
Подают на воздухоочиститель напряжение питания.
Регистрируют измеренные значения температур.
Вероятность

для каждого пожароопасного режима вычисляют по
формулам Б.1 -
Б.4.
Б.7. Расчет вероятности возникновения пожара
Вероятность возникновения пожара от воздухоочистителя

вычисляют по формуле
ГОСТ 12.1.004, приведенной ниже

, (Б.5)
где

- вероятность возникновения характерного пожароопасного режима в составной части изделия, 1/год;

- вероятность того, что значение характерного электротехнического параметра лежит в диапазоне пожароопасных значений;

- вероятность несрабатывания аппарата защиты;

- вероятность достижения горючим материалом критической температуры или его воспламенения.
С учетом особенности эксплуатации и конструкции воздухоочистителей
формула Б.5 принимает вид:

, (Б.6)

, (Б.7)
где

- вероятность воспламенения шнура питания воздухоочистителя;

- вероятность отказа электрической защиты сети от КЗ;

- вероятность заклинивания электродвигателя вентилятора (заторможенного ротора);

- вероятность отказа тепловой защиты;

- вероятность воспламенения или превышения критической температуры в режиме заторможенного ротора электродвигателя вентилятора;

- вероятность возникновения КЗ обмотки электродвигателя вентилятора;

- вероятность отказа электрической защиты от КЗ в обмотке электродвигателя вентилятора;

- вероятность воспламенения или превышения критической температуры в режиме КЗ обмотки электродвигателя вентилятора;

- вероятность возникновения короткого замыкания (пробоя) в конденсаторе регулятора скорости вращения электродвигателя вентилятора;

- вероятность отказа электрической защиты от КЗ (пробоя) в конденсаторе регулятора скорости вращения электродвигателя вентилятора;

- вероятность воспламенения или превышения критической температуры в режиме КЗ (пробоя) в конденсаторе регулятора скорости вращения электродвигателя вентилятора.
Для воздухоочистителей значения

в
формуле (Б.5) приняты равными единице.
Вероятность возникновения пожароопасных аварийных режимов

,

,

определены на основании данных надежности элементов воздухоочистителей и приведены в
таблице Б.2. Расчет показателей безотказности осуществлен в соответствии со следующими выражениями

; (Б.8)

; (Б.9)

; (Б.10)
где

,

,

- интенсивности отказов (заклинивания ротора; короткого замыкания обмотки, короткого замыкания конденсатора);

- время работы воздухоочистителя в течение года;

.
Вероятности отказа защит

,

,

от пожароопасных аварийных режимов приведены в
таблице Б.2.
При отсутствии защиты от аварийного пожароопасного режима вероятность для этого режима принимают равной 1 (единице).
Значения вероятностей для расчета приведены в таблице Б.3.
Таблица Б.3
┌──────────────────────────┬──────────────────────────┬───────────────────┐
│ Обозначение вероятностей │ Значение │ Примечание │
├──────────────────────────┼──────────────────────────┼───────────────────┤
│ │ -3 │ │
│Q │1,79 x 10 │ │
│ п.р.з │ │ │
│ │ -3 │ │
│Q │5,38 x 10 │ │
│ п.р.к.з │ │ │
│ │ -5 │ │
│Q │2,017 x 10 │ │
│ п.р.к.з.с │ │ │
│ │ -5 │ │
│Q │8,926 x 10 │ │
│ н.з.т │ │ │
│ │ -4 │ │
│Q │3,2 x 10 │ │
│ н.з.к.з │ │ │
│ │ -3 │ │
│Q │3,5 x 10 │ │
│ н.з.п.в │ │ │
│ │ -4 │ │
│Q │3,2 x 10 │ │
│ н.з.к.з.с │ │ │
│ │ -6 │ │
│ ш │ │ │
└──────────────────────────┴──────────────────────────┴───────────────────┘
Вероятность воспламенения шнура питания

в зависимости от его длины, сечения и температуры окружающего воздуха приведена в таблице Б.4.
┌──────────┬────────┬─────────────────────────────────────────────────────┐
│ │ │ -6 │
│ Сечение │ Длина │ Q x 10 │
│шнура, мм2│шнура, м│ ш │
│ │ ├─────────────────────────────────────────────────────┤
│ │ │ Температура, °C │
│ │ ├────────┬────────┬────────┬────────┬────────┬────────┤
│ │ │ 40 │ 50 │ 60 │ 70 │ 80 │ 90 │
├──────────┼────────┼────────┼────────┼────────┼────────┼────────┼────────┤
│0,5 - 1,0 │ 0,5 │ 0,018 │ 0,037 │ 0,074 │ 0,141 │ 0,295 │ 1,177 │
│ │ 1,0 │ 0,037 │ 0,074 │ 0,148 │ 0,282 │ 0,590 │ 2,355 │
│ │ 1,5 │ 0,055 │ 0,111 │ 0,222 │ 0,423 │ 0,885 │ 3,532 │
│ │ 2,0 │ 0,074 │ 0,148 │ 0,296 │ 0,564 │ 1,180 │ 4,740 │
│ │ 2,5 │ 0,092 │ 0,185 │ 0,370 │ 0,705 │ 1,475 │ 5,877 │
│ │ 3,0 │ 0,111 │ 0,222 │ 0,444 │ 0,846 │ 1,770 │ 7,065 │
│ │ 3,5 │ 0,129 │ 0,259 │ 0,518 │ 0,987 │ 2,065 │ 8,242 │
│ │ 4,0 │ 0,150 │ 0,296 │ 0,593 │ 1,130 │ 2,360 │ 9,420 │
├──────────┼────────┼────────┼────────┼────────┼────────┼────────┼────────┤
│1,5 - 2,5 │ 0,5 │ 0,065 │ 0,102 │ 0,204 │ 0,409 │ 0,821 │ 3,362 │
│ │ 1,0 │ 0,112 │ 0,205 │ 0,409 │ 0,818 │ 1,643 │ 6,725 │
│ │ 1,5 │ 0,168 │ 0,307 │ 0,613 │ 1,227 │ 2,464 │ 10,080 │
│ │ 2,0 │ 0,224 │ 0,410 │ 0,818 │ 1,636 │ 3,286 │ 13,450 │
│ │ 2,5 │ 0,280 │ 0,512 │ 1,022 │ 2,045 │ 4,107 │ 16,810 │
│ │ 3,0 │ 0,336 │ 0,615 │ 1,227 │ 2,454 │ 4,929 │ 20,170 │
│ │ 3,5 │ 0,392 │ 0,717 │ 1,431 │ 2,863 │ 5,750 │ 23,530 │
│ │ 4,0 │ 0,450 │ 0,819 │ 1,638 │ 3,274 │ 6,547 │ 26,190 │
└──────────┴────────┴────────┴────────┴────────┴────────┴────────┴────────┘
Б.8. Требования безопасности и охраны окружающей среды
Помещение, в котором проводят испытания, должно иметь негорючие стены и систему вентиляции. Должны быть средства пожаротушения и средства для оказания первой медицинской помощи.
Перед началом и по окончании испытаний помещение должно быть проветрено.
Работу с образцами после окончания испытания допускается проводить при полном прекращении горения, снятии напряжения и удалении продуктов горения.
Должна быть предусмотрена безопасность персонала от отравления токсичными продуктами, дымом, а также от попадания нагретых и раскаленных частиц на персонал.
Образцы, вышедшие из строя в результате испытаний на вероятность возникновения пожара, удаляют в отведенное для этого место или утилизируют.
Оборудование должно соответствовать "
Правилам устройства электроустановок", персонал должен иметь документ, подтверждающий знание "Правил технической эксплуатации электроустановок потребителей" и "Правила техники безопасности при эксплуатации электроустановок".