Главная // Актуальные документы // ГОСТ (Государственный стандарт)СПРАВКА
Источник публикации
М.: ИПК Издательство стандартов, 1997
Примечание к документу
Отдельные положения данного документа включены в
Перечень международных и региональных (межгосударственных) стандартов, а в случае их отсутствия - национальных (государственных) стандартов, в результате применения которых на добровольной основе обеспечивается соблюдение требований технического
регламента Таможенного союза "О безопасности низковольтного оборудования" (ТР ТС 004/2011) и в
Перечень международных и региональных (межгосударственных) стандартов, а в случае их отсутствия - национальных (государственных) стандартов, содержащих правила и методы исследований (испытаний) и измерений, в том числе правила отбора образцов, необходимые для применения и исполнения требований технического
регламента Таможенного союза "О безопасности низковольтного оборудования" (ТР ТС 004/2011) и осуществления оценки соответствия объектов технического регулирования (
Решение Коллегии Евразийской экономической комиссии от 11.05.2023 N 55).
Отдельные положения данного документа включены в
Перечень стандартов, в результате применения которых на добровольной основе обеспечивается соблюдение требований технического
регламента Таможенного союза "О безопасности низковольтного оборудования" (ТР ТС 004/2011) и в
Перечень стандартов, содержащих правила и методы исследований (испытаний) и измерений, в том числе правила отбора образцов, необходимые для применения и исполнения требований технического
регламента Таможенного союза "О безопасности низковольтного оборудования" (ТР ТС 004/2011) и осуществления оценки соответствия объектов технического регулирования (
Решение Комиссии Таможенного союза от 16.08.2011 N 768).
Документ включен в
Перечень документов в области стандартизации, содержащих правила и методы исследований (испытаний) и измерений, в том числе правила отбора образцов, необходимых для применения и исполнения Федерального
закона от 27.12.2009 N 347-ФЗ и осуществления оценки соответствия (
Распоряжение Правительства РФ от 29.07.2010 N 1284-р).
С 1 июля 2003 года до вступления в силу технических регламентов акты федеральных органов исполнительной власти в сфере технического регулирования носят рекомендательный характер и подлежат обязательному исполнению только в части, соответствующей целям, указанным в
пункте 1 статьи 46 Федерального закона от 27.12.2002 N 184-ФЗ.
Текст документа приведен с учетом
поправки, опубликованной в "ИУС", N 5, 1998.
Введен в действие с 1 января 1998 года.
Взамен ГОСТ 28244-89.
Название документа
"ГОСТ 28244-96. Провода и шнуры армированные. Технические условия"
(введен в действие Постановлением Госстандарта РФ от 12.03.1997 N 96)
"ГОСТ 28244-96. Провода и шнуры армированные. Технические условия"
(введен в действие Постановлением Госстандарта РФ от 12.03.1997 N 96)
Постановлением Госстандарта РФ
от 12 марта 1997 г. N 96
МЕЖГОСУДАРСТВЕННЫЙ СТАНДАРТ
ПРОВОДА И ШНУРЫ АРМИРОВАННЫЕ
ТЕХНИЧЕСКИЕ УСЛОВИЯ
Reinforced wires and cords. Specifications
ГОСТ 28244-96
Дата введения
1 января 1998 года
1. Разработан научно-исследовательским, проектно-конструкторским и технологическим кабельным институтом (НИКИ, г. Томск).
Внесен Техническим секретариатом Межгосударственного совета по стандартизации, метрологии и сертификации.
2. Принят Межгосударственным советом по стандартизации, метрологии и сертификации (Протокол N 10 от 4 октября 1996 г.).
За принятие проголосовали:
Наименование государства | Наименование национального органа стандартизации |
Республика Армения Республика Белоруссия Республика Казахстан Киргизская Республика Республика Молдова Российская Федерация Республика Таджикистан | Армгосстандарт Госстандарт Белоруссии Госстандарт Республики Казахстан Киргизстандарт Молдовастандарт Госстандарт России Таджикгосстандарт |
3. Стандарт соответствует международным стандартам МЭК 83-75 "Соединители электрические штепсельные бытового и аналогичного назначения. Основные размеры", МЭК 320-94 "Соединители бытового и аналогичного назначения. Технические требования и методы испытаний", МЭК 884-87 "Соединители электрические штепсельные бытового и аналогичного назначения. Частные требования к вилкам с предохранителями".
4. Постановлением Государственного комитета Российской Федерации по стандартизации, метрологии и сертификации от 12 марта 1997 г. N 96 межгосударственный стандарт ГОСТ 28244-96 введен в действие непосредственно в качестве государственного стандарта Российской Федерации с 1 января 1998 г.
5. Взамен ГОСТ 28244-89.
Настоящий стандарт распространяется на провода и шнуры, армированные неразборными двухполюсными вилками (далее - армированные шнуры), и провода и шнуры, армированные неразборными двухполюсными вилками и приборными розетками (разборными и неразборными) (далее - шнуры-соединители), предназначенные для присоединения электрических машин и приборов бытового и аналогичного назначения к электрической сети переменного тока до 16 А и номинального напряжения до 250 В.
В настоящем стандарте использованы ссылки на следующие стандарты:
ГОСТ 9.302-88. Покрытия металлические и неметаллические неорганические. Методы контроля
ГОСТ 9.303-84. Покрытия металлические и неметаллические неорганические. Общие требования
ГОСТ 12.2.007.0-75. Система стандартов безопасности труда. Изделия электротехнические. Общие требования безопасности
ГОСТ 20.57.406-81. Комплексная система контроля качества. Изделия электронной техники, квантовой электроники и электротехнические. Методы испытаний
ГОСТ 427-75. Линейки измерительные металлические. Технические условия
ГОСТ 2991-85. Ящики дощатые неразборные для грузов массой до 500 кг. Общие технические условия
ГОСТ 3345-76. Кабели, провода и шнуры. Метод определения электрического сопротивления изоляции
| | ИС МЕГАНОРМ: примечание. ГОСТ 7396.0-89 утратил силу на территории Российской Федерации с 1 января 2001 года. Постановлением Госстандарта России от 29.12.1999 N 876-ст введен в действие ГОСТ Р 51322.1-99 (ИУС, N 4, 2000). | |
ГОСТ 7396.0-89. Соединители электрические штепсельные бытового и аналогичного назначения. Общие технические условия
ГОСТ 7396.1-89. Соединители штепсельные бытового и аналогичного назначения. Основные размеры
ГОСТ 7399-80. Провода и шнуры на напряжение до 450/750 В. Технические условия
ГОСТ 10131-93. Ящики из листовых древесных материалов для продукции пищевых отраслей промышленности и спичек. Технические условия
ГОСТ 12177-79. Кабели, провода, шнуры. Методы проверки конструкции
ГОСТ 13514-93. Ящики из гофрированного картона для продукции легкой промышленности. Технические условия
ГОСТ 15150-69. Машины, приборы другие технические изделия. Исполнения для различных климатических районов. Категории, условия эксплуатации, хранения и транспортирования в части воздействия климатических факторов внешней среды
ГОСТ 18690-82. Кабели, провода, шнуры и кабельная арматура. Маркировка, упаковка, транспортирование и хранение
| | ИС МЕГАНОРМ: примечание. ГОСТ 28190-89 утратил силу на территории Российской Федерации с 1 января 2001 года в связи с введением в действие ГОСТ Р 51325.1-99 (Постановление Госстандарта России от 29.12.1999 N 803-ст). | |
ГОСТ 28190-89. Соединители бытового и аналогичного назначения. Технические требования и методы испытаний.
| | Применение на добровольной основе раздела 3 обеспечивает соблюдение требований технического регламента Таможенного союза "О безопасности низковольтного оборудования" (ТР ТС 004/2011) (Решение Комиссии Таможенного союза от 16.08.2011 N 768). | |
3. ОСНОВНЫЕ ПАРАМЕТРЫ И РАЗМЕРЫ
| | Применение на добровольной основе пунктов 3.1 - 3.3 обеспечивает соблюдение требований Федерального закона от 27.12.2009 N 347-ФЗ "Технический регламент о безопасности низковольтного оборудования (Приказ Росстандарта от 14.09.2010 N 3546). | |
3.1. Для армирования должны применяться двух- и трехжильные (с заземляющей жилой) провода и шнуры по
ГОСТ 7399.
3.2. Марки армированных шнуров, число и номинальное сечение жил провода или шнура, предназначенного для армирования, номинальное напряжение, класс защиты электроприбора, номинальная токовая нагрузка, номер рисунка вилки двухполюсной должны соответствовать указанным в таблице 1.
Таблица 1
┌─────────────┬──────────────────┬────────┬────────┬───────────┬──────────┐
│ Марка │ Число │Номи- │Класс │Номинальная│Номер │
│армированного│ и номинальное │нальное │защиты │ токовая │рисунка │
│ шнура │ сечение жил, мм2 │напря- │электро-│нагрузка, А│двухполюс-│
│ │ │жение, В│прибора │ │ной вилки │
│ │ │ │
<**> │ │по Прило- │
├─────────────┼──────────────────┼────────┼────────┼───────────┼──────────┤
│ШОГ-ВП, │Две жилы из │ 250 │ II │ 0,2 │
5 │
│ШОГ-С-ВП │мишурных нитей │ │ │ │ │
├─────────────┼──────────────────┤ ├────────┼───────────┼──────────┤
│ШВП-ВП │2 x 0,50 │ │ 0 │ 2,5 │
1 │
│ ├──────────────────┤ │ ├───────────┤ │
│ │2 x 0,75 │ │ │ 6 │ │
├─────────────┼──────────────────┤ ├────────┼───────────┼──────────┤
│ШВП-2-ВП
<*> │2 x 0,50 │ │ 0 │ 2,5 │
1 │
│ ├──────────────────┤ │ ├───────────┤ │
│ │2 x 0,75 │ │ │ 6 │ │
├─────────────┼──────────────────┤ ├────────┼───────────┼──────────┤
│ШВВП-ВП │2 x 0,50, 2 x 0,75│ │ II │ 2,5 │
5 │
│ ├──────────────────┤ │ ├───────────┼──────────┤
│ │2 x 0,75 │ │ │ 6 │
6 │
│ ├──────────────────┤ ├────────┼───────────┼──────────┤
│ │3 x 0,50 │ │ I │ 2,5 │
2 -
4 │
│ ├──────────────────┤ │ ├───────────┤ │
│ │3 x 0,75 │ │ │ 6 │ │
│ ├──────────────────┼────────┼────────┼───────────┼──────────┤
│ │2 x 0,50 │ 42 │ III │ 2,5 │
8 <*> │
│ ├──────────────────┤ │ ├───────────┤ │
│ │2 x 0,75 │ │ │ 6 │ │
│ ├──────────────────┼────────┼────────┼───────────┼──────────┤
│ │2 x 0,50 │ 125 │ - │ 2,5 │
7 │
│ ├──────────────────┤ │ ├───────────┤ │
│ │2 x 0,75 │ │ │ 6 │ │
├─────────────┼──────────────────┼────────┼────────┼───────────┼──────────┤
│ШВЛ-ВП │2 x 0,50 │ 42 │ III │ 2,5 │
8 <*> │
│ ├──────────────────┤ │ ├───────────┤ │
│ │2 x 0,75 │ │ │ 6 │ │
│ ├──────────────────┼────────┼────────┼───────────┼──────────┤
│ │2 x 0,50 │ 125 │ │ 2,5 │
7 │
│ ├──────────────────┤ │ ├───────────┤ │
│ │2 x 0,75 │ │ │ 6 │ │
│ ├──────────────────┼────────┼────────┼───────────┼──────────┤
│ │2 x 0,50, 2 x 0,75│ 250 │ II │ 2,5 │
5 │
│ ├──────────────────┤ │ ├───────────┼──────────┤
│ │2 x 0,75 │ │ │ 6 │
6 │
│ ├──────────────────┤ ├────────┼───────────┼──────────┤
│ │3 x 0,50 │ │ I │ 2,5 │
2 -
4 │
│ ├──────────────────┤ │ ├───────────┤ │
│ │3 x 0,75 │ │ │ 6 │ │
├─────────────┼──────────────────┤ ├────────┼───────────┼──────────┤
│ШРО-ВП │2 x 0,50 │ │ 0
<*4> │ 2,5 │
1 │
│ ├──────────────────┤ │ ├───────────┤ │
│ │2 x 0,75 │ │ │ 6 │ │
│ ├──────────────────┤ │ ├───────────┤ │
│ │2 x 1,00 │ │ │ 10 │ │
│ ├──────────────────┤ │ ├───────────┤ │
│ │2 x 1,50 │ │ │ 16 │ │
│ ├──────────────────┤ ├────────┼───────────┼──────────┤
│ │2 x 0,50, 2 x 0,75│ │ II │ 2,5 │
5 │
│ ├──────────────────┤ │ ├───────────┼──────────┤
│ │2 x 0,75, 2 x 1,00│ │ │6
<***>, 10│
6 │
│ ├──────────────────┤ │ ├───────────┤ │
│ │2 x 1,50 │ │ │ 16 │ │
│ ├──────────────────┼────────┼────────┼───────────┼──────────┤
│ │2 x 0,50 │ 125 │ - │ 2,5 │
7 │
│ ├──────────────────┤ │ ├───────────┤ │
│ │2 x 0,75 │ │ │ 6 │ │
│ ├──────────────────┤ │ ├───────────┤ │
│ │2 x 1,00 │ │ │ 10 │ │
│ ├──────────────────┼────────┼────────┼───────────┼──────────┤
│ │3 x 0,50 │ 250 │ I │ 2,5 │
2 -
4 │
│ ├──────────────────┤ │ ├───────────┤ │
│ │3 x 0,75 │ │ │ 10 │ │
│ ├──────────────────┤ │ ├───────────┤ │
│ │3 x 1,00, 3 x 1,50│ │ │ 16 │ │
├─────────────┼──────────────────┤ ├────────┼───────────┼──────────┤
│ШР-ВП
<*> │2 x 0,75 │ │ 0
<*4> │ 6 │
1 │
│ ├──────────────────┤ │ ├───────────┤ │
│ │2 x 1,00 │ │ │ 10 │ │
│ ├──────────────────┤ │ ├───────────┤ │
│ │2 x 1,50 │ │ │ 16 │ │
│ ├──────────────────┤ ├────────┼───────────┼──────────┤
│ │2 x 0,50, 2 x 0,75│ │ II │ 2,5 │
5 │
│ ├──────────────────┤ │ ├───────────┼──────────┤
│ │2 x 0,75, 2 x 1,00│ │ │6
<***>, 10│
6 │
│ ├──────────────────┤ │ ├───────────┤ │
│ │2 x 1,50 │ │ │ 16 │ │
├─────────────┼──────────────────┤ ├────────┼───────────┼──────────┤
│ПВСП-ВП │2 x 0,75 │ │ II │ 6 │
6 │
│ │ ├────────┼────────┤ ├──────────┤
│ │ ├────────┼────────┤ ├──────────┤
│ │ │ 42 │ III │ │
8 <*> │
├─────────────┼──────────────────┼────────┼────────┼───────────┼──────────┤
│ПВС-ВП │2 x 0,75, 2 x 1,00│ 250 │ II │6
<***>, 10│
6 │
│ ├──────────────────┤ │ ├───────────┤ │
│ │2 x 1,50 │ │ │ 16 │ │
│ ├──────────────────┼────────┼────────┼───────────┼──────────┤
│ │2 x 0,75 │ 125 │ - │ 6 │
7 │
│ ├──────────────────┼────────┼────────┼───────────┼──────────┤
│ │2 x 0,75 │ 42 │ III │ 6 │
8 <*> │
│ ├──────────────────┤ │ ├───────────┤ │
│ │2 x 1,00 │ │ │ 10 │ │
│ ├──────────────────┼────────┼────────┼───────────┼──────────┤
│ │3 x 0,75 │ 250 │ I │ 10 │
2 -
4 │
│ ├──────────────────┤ │ ├───────────┤ │
│ │3 x 1,00, 3 x 1,50│ │ │ 16 │ │
├─────────────┼──────────────────┼────────┼────────┼───────────┼──────────┤
│ПРС-ВП │2 x 0,75, 2 x 1,00│ 250 │ II │6
<***>, 10│
6 │
│ ├──────────────────┤ │ ├───────────┤ │
│ │2 x 1,50 │ │ │ 16 │ │
│ ├──────────────────┤ ├────────┼───────────┼──────────┤
│ │3 x 0,75 │ │ I │ 10 │
2 -
4 │
│ ├──────────────────┤ │ ├───────────┤ │
│ │3 x 1,00, 3 x 1,50│ │ │ 16 │ │
├─────────────┴──────────────────┴────────┴────────┴───────────┴──────────┤
│ <*> Для реализации на внутреннем рынке. │
│ <**> Класс защиты электроприборов - по соответствующим│
│государственным стандартам по безопасности на машины и приборы конкретных│
│видов. │
│ <***> Для вилок со штырями диаметром 4,0 мм. │
│ <*4> Допускается до 2000 г. │
└─────────────────────────────────────────────────────────────────────────┘
Марки шнуров-соединителей, число и номинальное сечение жил провода или шнура, предназначенного для армирования, класс защиты электроприбора, номинальная токовая нагрузка, максимально допустимая температура нагрева гильз розетки, номер рисунка приборной розетки, номер рисунка двухполюсной вилки должны соответствовать указанным в таблице 2.
Таблица 2
┌──────────────┬───────────────┬──────────┬─────┬────────┬────────────────┐
│ Марка шнура- │ Число │Класс │Номи-│Макси- │ Номер рисунка │
│ соединителя │ и номинальное │защиты │наль-│мально │по
Приложению Б │
│ │ сечение жил, │электро- │ная │допусти-├────────┬───────┤
│ │ мм2 │прибора │токо-│мая тем-│прибор- │двух- │
│ │ │по ГОСТ │вая │пература│ной │полюс- │
│ │ │ │груз-│гильз │ │вилки │
│ │ │ │ка, А│розетки,│ │ │
│ │ │ │ │°C │ │ │
├──────────────┼───────────────┼──────────┼─────┼────────┼────────┼───────┤
│ШОГ-АП, │Две жилы из │ II │ 0,2 │ 65 │ 9 │
5,
7 │
│ШОГ-С-АП │мишурных нитей │ │ │ │ │ │
├──────────────┼───────────────┼──────────┼─────┼────────┼────────┼───────┤
│ШВЛ-АП │3 x 0,75 │ I │ 2,5 │ 65 │ 10 │
2 -
4 │
├──────────────┼───────────────┼──────────┼─────┼────────┼────────┼───────┤
│ШВВП-АП, │2 x 0,50
<*>, │ II │ 2,5 │ 65 │ 11 │
5,
7 │
│ШВЛ-АП │2 x 0,75 │ │ │ │ │ │
├──────────────┼───────────────┼──────────┼─────┼────────┼────────┼───────┤
│ШВВП-АП, │2 x 0,75 │ II │ 6 │ 65 │ 12 │
6,
7 │
│ШВЛ-АП │ │ │ │ │ │ │
├──────────────┼───────────────┼──────────┼─────┼────────┼────────┼───────┤
│ПВС-АП, ПВС-А,│3 x 0,75, │ I │ 10 │ 65 │ 13 │
2 -
4 │
│ПРС-АП, ПРС-А │3 x 1,00 │ │ │ │ │ │
├──────────────┼───────────────┼──────────┼─────┼────────┼────────┼───────┤
│ПРС-АП, ПРС-А,│3 x 0,75, │ I │ 10 │ 120 │ 14 │
2 -
4 │
│ШРО-АП, ШРО-А │3 x 1,00 │ │ │ │ │ │
├──────────────┼───────────────┼──────────┼─────┼────────┼────────┼───────┤
│ПВС-АП, ПРС-АП│2 x 0,75, │ II │ 10 │ 65 │ 15 │
6,
7 │
│ │2 x 1,00 │ │ │ │ │ │
├──────────────┼───────────────┼──────────┼─────┼────────┼────────┼───────┤
│ШРО-АП, ШРО-А,│2 x 0,75 │ 0
<***> │ 6 │ 120 │ 16 │
1 │
│ПРС-АП, ПРС-А │ │ │ │ │ │ │
├──────────────┼───────────────┤ │ │ │ │ │
│ШР-АП, ШР-А │2 x 1,00 │ │ │ │ │ │
├──────────────┼───────────────┼──────────┼─────┼────────┼────────┼───────┤
│ПРС-АП, ПРС-А,│3 x 0,75, │ I │ 10 │ 155 │17
<**> │
2 -
4 │
│ШРО-АП, ШРО-А │3 x 1,00 │ │ │ │ │ │
├──────────────┼───────────────┼──────────┼─────┼────────┼────────┼───────┤
│ПВС-АП, ПВС-А,│3 x 1,00, │ I │ 16 │ 65 │ 18 │
2 -
4 │
│ПРС-АП, ПРС-А │3 x 1,50 │ │ │ │ │ │
├──────────────┼───────────────┼──────────┼─────┼────────┼────────┼───────┤
│ПРС-АП, ПРС-А,│3 x 1,00, │ I │ 16 │ 155 │ 19 │
2 -
4 │
│ШРО-АП, ШРО-А │3 x 1,50 │ │ │ │ │ │
├──────────────┼───────────────┼──────────┼─────┼────────┼────────┼───────┤
│ПВС-АП, ПРС-АП│2 x 1,00, │ II │ 16 │ 65 │ 20 │
6,
7 │
│ │2 x 1,50 │ │ │ │ │ │
├──────────────┴───────────────┴──────────┴─────┴────────┴────────┴───────┤
│ <*> Для шнуров-соединителей длиной до 2,0 м. │
│ <**> Для реализации на внутреннем рынке. │
│ <***> Допускается до 2000 г. │
└─────────────────────────────────────────────────────────────────────────┘
Номинальное напряжение шнуров-соединителей с двухполюсными вилками (далее - вилками) по
рисункам 1 -
6 Приложения Б - 250 В, с вилкой по
рисунку 7 Приложения Б - 125 В.
По максимально допустимой температуре нагрева гильз приборных розеток (далее - розеток) шнуры-соединители могут быть:
1) для "холодных" условий (температура нагрева гильз розеток должна быть не выше 65 °C);
2) для "горячих" условий (температура нагрева гильз розеток должна быть не выше 120 °C);
3) для "очень горячих" условий (температура нагрева гильз розеток должна быть не выше 155 °C).
Расчетная масса армированного шнура должна соответствовать сумме масс провода или шнура и вилки, расчетная масса шнура-соединителя - сумме масс провода или шнура, вилки и розетки.
3.3. Основные размеры присоединительных частей вилок армированных шнуров и шнуров-соединителей должны соответствовать указанным на
рисунках 1 -
8, розеток шнуров-соединителей - указанным на
рисунках 9 -
20 Приложения Б.
3.4. Мерная длина армированного шнура должна выбираться из ряда: 0,5; 1,2; 1,7; 2,2; 3,2; 3,7; 5,2; 10,2 <*>; 16,2 <*>; 25 <*>; 30 <*> м.
--------------------------------
<*> Только для армированных шнуров марок ПВСП-ВП, ПВС-ВП и ПРС-ВП.
Мерная длина армированного шнура с жилами сечением до 0,5 мм2 включ. должна быть не более 2,2 м.
Рабочая длина шнура-соединителя должна выбираться из ряда: 1,0; 1,5; 2,0; 3,0; 3,5 и 5,0 м.
Предельные отклонения от мерных и рабочих длин - +/- 3%.
По согласованию между потребителем и изготовителем шнуры армированные и шнуры-соединители могут изготовляться длиной, отличной от соответствующего ряда длин.
3.5. Условное обозначение армированного шнура включает в себя:
- марку армированного шнура, образованную из марки провода или шнура по ГОСТ 7399 с добавлением через тире букв "ВП", обозначающих, что провод (шнур) армирован неразборной вилкой;
- число и номинальное сечение жил;
- номинальное напряжение;
- тип (фирменный стиль) <*> вилки;
- номинальную токовую нагрузку;
- мерную длину;
- обозначение настоящего стандарта.
--------------------------------
<*> Тип (фирменный стиль) определяют по каталогу предприятия-изготовителя.
Условное обозначение шнура-соединителя включает в себя:
- марку шнура-соединителя, образованную из марки провода или шнура по ГОСТ 7399 с добавлением через тире букв "АП", обозначающих, что провод (шнур) армирован неразборной вилкой и розеткой, или буквы "А", обозначающей, что провод (шнур) армирован неразборной вилкой и разборной розеткой;
- число и номинальное сечение жил;
- номинальное напряжение;
- тип (фирменный стиль) <*> соединителя (вилки-розетки);
- номинальную токовую нагрузку;
- рабочую длину;
- обозначение настоящего стандарта.
--------------------------------
<*> Тип (фирменный стиль) определяют по каталогу предприятия-изготовителя.
Примеры условных обозначений:
- армированного шнура марки ШВВП-ВП с двумя жилами номинальным сечением 0,75 мм2, напряжением 250 В, с вилкой типа 18, на номинальную силу тока 6 А, мерной длиной 2,2 м:
ШВВП-ВП-2 x 0,75-250-18-6-2,2 ГОСТ 28244-96
то же, исполнения Т:
ШВВП-ВП-Т-2 x 0,75-250-18-6-2,2 ГОСТ 28244-96
- шнура-соединителя марки ШВВП-АП с двумя жилами номинальным сечением 0,75 мм2, на напряжение 250 В, армированного соединителем типа 1618, на номинальную силу тока 6 А, рабочей длиной 2,0 м:
ШВВП-АП-2 x 0,75-250-1618-6-2,0 ГОСТ 28244-96
- шнура-соединителя марки ПВС-А с тремя жилами номинальным сечением 0,75 мм2 на напряжение 250 В, армированного соединителем типа 2078, на номинальную силу тока 10 А, рабочей длиной 2,0 м:
ПВС-А-3 x 0,75-250-2078-10-2,0 ГОСТ 28244-96
| | Применение на добровольной основе раздела 4 обеспечивает соблюдение требований технического регламента Таможенного союза "О безопасности низковольтного оборудования" (ТР ТС 004/2011) (Решение Комиссии Таможенного союза от 16.08.2011 N 768). | |
4. ТЕХНИЧЕСКИЕ ТРЕБОВАНИЯ
| | ИС МЕГАНОРМ: примечание. ГОСТ 7396.0-89 утратил силу на территории Российской Федерации с 1 января 2001 года. Постановлением Госстандарта России от 29.12.1999 N 876-ст введен в действие ГОСТ Р 51322.1-99 (ИУС, N 4, 2000). | |
| | ИС МЕГАНОРМ: примечание. ГОСТ 28190-89 утратил силу на территории Российской Федерации с 1 января 2001 года в связи с введением в действие ГОСТ Р 51325.1-99 (Постановление Госстандарта России от 29.12.1999 N 803-ст). | |
Армированные шнуры и шнуры-соединители должны соответствовать требованиям настоящего стандарта, ГОСТ 7396.0,
ГОСТ 7396.1, ГОСТ 28190 и изготавливаться в климатическом исполнении УХЛ4 или Т4 по
ГОСТ 15150 по конструкторской и технологической документации и образцам-эталонам, утвержденным в установленном порядке.
| | Применение на добровольной основе пунктов 4.1.1 - 4.1.4 обеспечивает соблюдение требований Федерального закона от 27.12.2009 N 347-ФЗ "Технический регламент о безопасности низковольтного оборудования (Приказ Росстандарта от 14.09.2010 N 3546). | |
4.1.1. Требования к конструкции
4.1.1.1. Металлические детали вилок и розеток должны иметь защитные покрытия в соответствии с условиями эксплуатации по
ГОСТ 15150.
Защитные покрытия должны соответствовать
ГОСТ 9.303 и указываться в конструкторской документации на изделие.
4.1.1.2. Превышение температуры на гильзовом контакте заземления и штырях вилок над температурой окружающей среды не должно быть более 45 °C при прохождении через них переменного тока, указанного в таблице 3.
┌─────────────┬──────────────────────────────────────────────────┐
│ Номинальная │ Вилки двухполюсные │
│ токовая ├─────────────────┬────────────────────────────────┤
│ нагрузка, А │ Номинальное │ Испытательная сила тока, А │
│ │сечение жил, мм2 ├───────────────┬────────────────┤
├─────────────┼─────────────────┼───────────────┼────────────────┤
│ 2,5 │ Мишурная жила │ 1 │ 1 │
│ │ 0,50 │ 2,5 │ 2,5 │
│ │ 0,75 │ 4 │ 2,5 │
├─────────────┼─────────────────┼───────────────┼────────────────┤
│ 6 │ 0,50 │ 4 │ 2,5 │
│ │ 0,75 │ 9 │ 6 │
│ │ 1,00 │ 9 │ 6 │
├─────────────┼─────────────────┼───────────────┼────────────────┤
│ 10 │ 0,50 │ 2,5 │ 2,5 │
│ │ 0,75 │ 10 │ 10 │
│ │ 1,00 │ 12 │ 10 │
├─────────────┼─────────────────┼───────────────┼────────────────┤
│ 16 │ 1,00 │ 12 │ 12 │
│ │ 1,50 │ 16 │ 16 │
└─────────────┴─────────────────┴───────────────┴────────────────┘
4.1.1.3. Превышение температуры на гильзах розеток над температурой окружающей среды не должно быть более 45 °C при прохождении через них переменного тока, равного 1,25 номинального.
4.1.1.4. Заземляющий гильзовый контакт вилки должен быть упругим в пределах 4,3 - 5,1 мм и обеспечивать соответствующее контактное нажатие на заземляющий штырь двухполюсной розетки.
4.1.1.5. Гильзовые контакты розеток должны сами выравниваться по отношению к штырям приборных вилок, обеспечивая соответствующее контактное давление.
Самовыравнивание гильз, кроме розеток на 0,2 А, не должно зависеть от эластичности изоляции.
4.1.1.6. Штыри, заземляющие контакты вилок и гильзы розеток должны быть соединены с жилами проводов или шнуров методом обжатия или пайки, или сварки.
Лужение жил перед обжатием не допускается.
4.1.1.7. Свободный конец армированного шнура может быть разделанным или неразделанным - по согласованию с потребителем.
4.1.1.8. Корпус вилки и неразборной розетки должен быть выполнен из резины или поливинилхлоридного пластиката.
Корпус разборной розетки должен быть выполнен из термореактивных или термопластичных пластмасс.
Допускается наличие грата, утяжек, следов от литников, не выводящих размеры за предельно допустимые, следы течения материала и холодные стыки.
4.1.1.9. Корпус вилки и розетки должен быть того же цвета, что и провод или шнур.
Цвет вилок армированных шнуров марки ШРО-ВП, вилок и розеток шнуров-соединителей марок ШРО-АП, ШРО-А должен соответствовать одному из цветов нити оплетки шнура.
Допускается сочетать различные тона одного цвета.
По согласованию с заказчиком допускается изготовление корпусов вилок и розеток цвета, отличающегося от цвета шнура.
4.1.1.10. Конструкция вилок должна исключать возможность однополюсного включения вилки в двухполюсную розетку.
4.1.1.11. Вилки и розетки с заземляющими контактами должны иметь такую конструкцию, чтобы в момент включения заземление включалось до того, как токопроводящие контакты окажутся под напряжением. В момент выключения токопроводящие контакты должны размыкаться до отключения заземляющего контакта.
4.1.1.12. Токопроводящие части вилок не должны быть доступны прикасанию, когда вилка частично или полностью введена в двухполюсную розетку и эти части находятся под напряжением.
4.1.1.13. Конструкция розеток должна обеспечивать недоступность для прикасания к частям, находящимся под напряжением, и заземляющим гильзам.
4.1.1.14. В армированных шнурах и шнурах-соединителях не должно быть обрыва токопроводящих жил и должна обеспечиваться правильность монтажа.
| | ИС МЕГАНОРМ: примечание. ГОСТ 28190-89 утратил силу на территории Российской Федерации с 1 января 2001 года в связи с введением в действие ГОСТ Р 51325.1-99 (Постановление Госстандарта России от 29.12.1999 N 803-ст). | |
4.1.1.15. Разборные розетки должны иметь контактные зажимы, в которых присоединение выполняется при помощи винтов, гаек или других аналогично эффективных приспособлений в соответствии с требованиями ГОСТ 28190.
4.1.1.16. Контактные зажимы разборных розеток должны быть расположены и защищены таким образом, чтобы:
- при выпадании проволоки многопроволочного провода из зажима отсутствовала возможность случайного соприкосновения между частями, находящимися под напряжением, и частями заземления или доступными металлическими частями;
- отсутствовал контакт между токопроводящими деталями различной полярности.
4.1.1.17. Корпус разборной розетки должен полностью закрывать гильзы, контактные зажимы и разделанные концы провода или шнура.
4.1.1.18. Детали корпуса разборных розеток должны надежно крепиться друг к другу и не допускать разборки без инструмента.
Крепление и положение одной детали корпуса по отношению к другой должно обеспечиваться двумя независимыми друг от друга средствами.
Сборка корпуса не должна влиять на пружинящие свойства гильз.
Частичное ослабление винтов или другого элемента крепления не должно допускать разделение частей, обеспечивающих защиту от соприкасания с токопроводящими частями.
4.1.1.19. Заземляющий контакт в разборных розетках должен быть прикреплен к корпусу.
Если заземляющий контакт выполнен не как одно целое, то его части должны быть надежно соединены между собой клепкой, пайкой или другим способом, обеспечивающим аналогичную безопасность.
| | ИС МЕГАНОРМ: примечание. ГОСТ 7396.0-89 утратил силу на территории Российской Федерации с 1 января 2001 года. Постановлением Госстандарта России от 29.12.1999 N 876-ст введен в действие ГОСТ Р 51322.1-99 (ИУС, N 4, 2000). | |
| | ИС МЕГАНОРМ: примечание. ГОСТ 28190-89 утратил силу на территории Российской Федерации с 1 января 2001 года в связи с введением в действие ГОСТ Р 51325.1-99 (Постановление Госстандарта России от 29.12.1999 N 803-ст). | |
4.1.1.20. Значения путей утечки тока, воздушных зазоров и расстояний по изоляционному материалу не должны быть менее указанных по ГОСТ 7396.0 для вилок и по ГОСТ 28190 - для розеток.
4.1.1.21. Материалы и комплектующие изделия, применяемые для изготовления армированных шнуров и шнуров-соединителей, должны обеспечивать требуемый настоящим стандартом уровень выходных показателей и соответствовать указанным в конструкторской документации.
4.1.2. Требования к электрическим параметрам
4.1.2.1. Электрическое сопротивление изоляции вилок и розеток после пребывания в камере влажности не менее 48 ч с относительной влажностью (93 +/- 2)% при температуре воздуха (25 +/- 5) °C должно быть не менее 5 МОм.
4.1.2.2. Изоляция вилок армированных шнуров, вилок и розеток шнуров-соединителей должна выдерживать испытательное переменное напряжение частотой 50 Гц в течение (1 +/- 0,1) мин:
(1250 +/- 50) В - на напряжение до 125 В;
(2000 +/- 60) В - на напряжение 250 В в нормальных климатических условиях по
ГОСТ 15150 и после пребывания в камере влажности в соответствии с
п. 4.1.2.1.
4.1.3. Требования к механическим параметрам
4.1.3.1. Вилки армированных шнуров и шнуров-соединителей и розетки шнуров-соединителей должны обладать механической прочностью при 1000 падений вилок и 500 падений розеток с высоты (500 +/- 10) мм.
4.1.3.2. Розетки шнуров-соединителей должны быть механически прочными при боковом натяжении в двух противоположных направлениях.
4.1.3.3. Вилки армированных шнуров и шнуров-соединителей должны выдерживать силу сжатия (300 +/- 5) Н.
4.1.3.4. Полые трубчатые штыри вилок должны выдерживать силу сжатия (100 +/- 3) Н.
4.1.3.5. Армированные шнуры и шнуры-соединители в месте ввода провода или шнура в вилку и розетку должны выдерживать стократное натяжение с усилием:
(5 +/- 0,5) Н - на силу тока 0,2 А;
(50 +/- 2) Н - на силу тока св. 0,2 до 2,5 А включ.;
(60 +/- 2) Н - на силу тока св. 2,5 до 16 А включ.
4.1.3.6. Армированные шнуры и шнуры-соединители (кроме шнуров с мишурной жилой) в месте ввода провода или шнура в вилку и розетку должны выдерживать крутящий момент:
(0,1 +/- 0,01) Н x м - для двухжильных проводов и шнуров с жилами сечением до 0,5 мм2 включ.;
(0,15 +/- 0,01) Н x м - для двухжильных проводов и шнуров с жилами сечением до 0,75 мм2 и трехжильных сечением 0,5 мм2;
(0,25 +/- 0,01) Н x м - для всех остальных проводов и шнуров.
4.1.3.7. Штыри вилок и гильзы розеток не должны проворачиваться.
4.1.3.8. Армированные шнуры и шнуры-соединители должны быть стойкими к изгибам и выдерживать 10000 изгибов в месте ввода провода или шнура в вилку и разборную розетку и 20000 изгибов в месте ввода провода или шнура в неразборную розетку амплитудой 90° (45° с каждой стороны оси качания) при номинальных значениях напряжения, номинальных токовых нагрузках и воздействии растягивающего усилия, равного (5 +/- 0,5) Н - для шнура с мишурными жилами, (10 +/- 1) Н - для провода или шнура с жилами сечением 0,5 и 0,75 мм2, (20 +/- 2) Н - для провода или шнура с жилами сечением 1,0 и 1,5 мм2.
Защитный хвостовик разборных розеток перед испытанием на изгиб подвергают испытанию на ускоренное старение согласно
6.4.4.
4.1.3.9. Изоляция частично изолированных штырей вилок должна быть стойкой к износу (истиранию).
4.1.3.10. Усилия, необходимые для расчленения розеток шнуров-соединителей с приборными вилками:
10 Н - минимальное;
50 Н - максимальное.
4.1.3.11. Штыри вилок не должны смещаться при извлечении вилок их двухполюсных розеток при температуре (70 +/- 2) °C и усилии 40 Н - для вилок на ток до 10 А включ. и 50 Н - для вилок на ток св. 10 до 16 А включ.
4.1.3.12. Вилки из поливинилхлоридного пластиката должны выдерживать силу сжатия (20 +/- 1) Н при температуре (80 +/- 2) °C.
4.1.3.13. Розетки из поливинилхлоридного пластиката должны выдерживать силу сжатия (20 +/- 1) Н при температуре (100 +/- 2) °C.
4.1.3.14. Вилки должны выдерживать удар при температуре минус (15 +/- 2) °C.
4.1.4. Требования к внешним воздействующим факторам
4.1.4.1. Частично изолированные штыри вилок должны быть устойчивы к давлению при температуре (200 +/- 5) °C в течение 2 ч <*>.
4.1.4.2. Частично изолированные штыри вилок должны быть устойчивы к нагреву горячим паром <*>.
--------------------------------
<*> С 01.01.1999.
4.1.4.3. Частично изолированные штыри вилок должны быть устойчивы к воздействию температуры минус (15 +/- 2) °C.
4.1.4.4. Частично изолированные штыри вилок должны быть устойчивы к удару при температуре минус (15 +/- 2) °C.
4.1.4.5. Розетки шнуров-соединителей для "горячих" и "очень горячих" условий должны быть стойкими к нагреванию в течение 96 ч. Температура для "горячих" условий - (120 +/- 2) °C, для "очень горячих" условий - (155 +/- 2) °C.
Конструкция розеток должна исключать чрезмерное нагревание жил проводов и шнуров.
4.1.4.6. Вилки армированных шнуров, вилки и розетки шнуров-соединителей должны быть устойчивыми к воздействию температуры (100 +/- 2) °C в течение 1 ч.
4.1.4.7. Вилки армированных шнуров, вилки и розетки шнуров-соединителей должны быть устойчивыми к ускоренному старению при температуре (70 +/- 2) °C для изделий из резины, (80 +/- 2) °C - для изделий из поливинилхлоридного пластиката.
4.1.4.8. Изолирующие части розеток для горячих и очень горячих условий, содержащие детали, находящиеся под напряжением и соприкасающиеся с ними, должны выполняться из материала, устойчивого к токам поверхностного разряда.
4.1.4.9. Корпус разборной розетки должен обладать теплостойкостью при температурах:
(155 +/- 2) °C - для очень горячих условий;
(125 +/- 2) °C - для горячих условий;
| | ИС МЕГАНОРМ: примечание. ГОСТ 28190-89 утратил силу на территории Российской Федерации с 1 января 2001 года в связи с введением в действие ГОСТ Р 51325.1-99 (Постановление Госстандарта России от 29.12.1999 N 803-ст). | |
(75 +/- 2) °C - для холодных условий в соответствии с требованиями ГОСТ 28190.
| | ИС МЕГАНОРМ: примечание. ГОСТ 7396.0-89 утратил силу на территории Российской Федерации с 1 января 2001 года. Постановлением Госстандарта России от 29.12.1999 N 876-ст введен в действие ГОСТ Р 51322.1-99 (ИУС, N 4, 2000). | |
4.1.4.10. Вилки должны быть стойкими к испытанию раскаленной проволокой в соответствии с ГОСТ 7396.0.
4.1.4.11. Розетки должны быть стойкими к испытанию электрически нагретой до температуры (300 +/- 10) °C конической оправкой.
4.1.4.12. Армированные шнуры и шнуры-соединители в тропическом исполнении должны быть стойкими к поражению плесневыми грибами.
4.1.5. Требования по надежности
| | Применение на добровольной основе пунктов 4.1.5.1 - 4.1.5.4 обеспечивает соблюдение требований Федерального закона от 27.12.2009 N 347-ФЗ "Технический регламент о безопасности низковольтного оборудования (Приказ Росстандарта от 14.09.2010 N 3546). | |
4.1.5.1. Вилки с гильзовым контактом заземления и вилки с полыми трубчатыми штырями должны быть работоспособными в течение не менее 5000 включений и отключений при номинальных значениях напряжения, коэффициенте мощности 0,60 +/- 0,05 и значениях силы тока, указанных в
таблице 3.
4.1.5.2. Вилки с полыми трубчатыми штырями должны быть устойчивы к коммутационным нагрузкам при испытательном напряжении, равном 1,1 номинального напряжения, испытательной силе тока, равной 1,25 номинального значения, и коэффициенте мощности 0,60 +/- 0,05.
4.1.5.3. Розетки шнуров-соединителей без чрезмерного истирания и других повреждений должны выдерживать механические, электрические и термические нагрузки, появляющиеся при нормальной эксплуатации, работоспособность розеток шнуров-соединителей на ток 0,2 А должна соответствовать 2000 включений - отключений (ВО) без токовой нагрузки, остальных шнуров-соединителей - 4000 ВО (из которых 1000 ВО с токовой нагрузкой, 3000 ВО - без нагрузки) при параметрах, указанных в таблице 4.
Таблица 4
Испытательное переменное напряжение частотой 50 Гц, В | Номинальная (испытатель- ная) сила тока, А | Коэффициент мощности | Число включений - отключений | Число включений - отключений в 1 мин |
с токовой нагрузкой | без токовой нагрузки |
250 | 2,5; 6 | 0,60 +/- 0,05 | 1000 | 3000 | 30 +/- 1 |
10; 16 | Не менее 0,95 |
Нижнее предельное отклонение испытательного напряжения - 5%.
4.1.5.4. Шнуры-соединители, кроме шнуров-соединителей на ток 0,2 А, должны быть устойчивыми к коммутационным нагрузкам при включении - отключении розеток при параметрах, указанных в таблице 5.
Таблица 5
┌─────────────┬───────────┬─────────┬─────────────┬───────────┬───────────┐
│Испытательное│Номинальная│Испыта- │ Коэффициент │ Число │ Число │
│ переменное │ сила тока │тельная │ мощности │включений -│включений -│
│ напряжение │ I , А │сила │ │отключений │отключений │
│ частотой │ ном │тока, А │ │ │ в 1 мин │
│ 50 Гц, В │ │ │ │ │ │
├─────────────┼───────────┼─────────┼─────────────┼───────────┼───────────┤
│ 275 │ 2,5; 6 │1,25 I │0,60 +/- 0,05│ 50 │ 30 +/- 1 │
│ ├───────────┤ ном├─────────────┤ │ │
│ │ 10; 16 │ │Не менее 0,95│ │ │
└─────────────┴───────────┴─────────┴─────────────┴───────────┴───────────┘
Нижнее предельное отклонение испытательного напряжения - 5%.
4.1.5.5. Срок службы армированных шнуров и шнуров-соединителей должен соответствовать указанному в ГОСТ 7399 для соответствующих марок проводов и шнуров.
4.2. Требования к маркировке
4.2.1. Маркировка армированных шнуров и шнуров-соединителей должна соответствовать требованиям
ГОСТ 18690 со следующими дополнениями.
4.2.2. Провода и шнуры, изготовляемые на предприятиях-изготовителях армированных шнуров и шнуров-соединителей, могут быть немаркированными.
| | Применение на добровольной основе пунктов 4.2.3 - 4.2.6 обеспечивает соблюдение требований Федерального закона от 27.12.2009 N 347-ФЗ "Технический регламент о безопасности низковольтного оборудования (Приказ Росстандарта от 14.09.2010 N 3546). | |
4.2.3. На вилке армированного шнура, вилке и розетке шнура-соединителя должны быть нанесены следующие обозначения:
- товарный знак предприятия-изготовителя;
- номинальная сила тока в амперах;
- напряжение в вольтах;
- символ переменного тока (~);
- тип вилки (для армированного шнура) или соединителя (для шнура-соединителя);
- государственный сертификационный знак.
Допускается на розетку шнура-соединителя наносить только номинальную силу тока и тип розетки.
Номинальная токовая нагрузка шнура-соединителя должна соответствовать маркировочному значению, указанному на розетке.
Примечание. На розетках по
рисунку Б.9 Приложения Б номинальную силу тока не указывают.
4.2.4. Маркировка на вилках и розетках должна быть четкой, легко читаемой и выполнена литьевым способом.
Маркировка символа рода тока должна следовать за обозначением номинального тока и напряжения.
Значения силы тока (x), напряжения (y) и символ рода тока должны обозначаться одним из вариантов: xAyB~ или x/y~, или

, или

.
4.2.5. Маркировка армированных шнуров и шнуров-соединителей должна проводиться на видимой при эксплуатации поверхности вилки и розетки.
"При эксплуатации" не означает, что вилка или розетка находится во включенном состоянии.
4.2.6. На этикетке, прикрепленной к пачке, коробке или ящику, а также индивидуальном пакете, коробке или этикетке, вложенной в пакет или коробку, должны быть нанесены:
- наименование предприятия-изготовителя или его товарный знак;
- адрес предприятия-изготовителя <*>;
- условное обозначение;
- число армированных шнуров или шнуров-соединителей;
- масса брутто для ящиков и коробок в килограммах;
- дата изготовления (год, месяц);
- штамп технического контроля.
--------------------------------
<*> При групповом упаковывании может не указываться.
4.2.7. Маркировка транспортной тары должна соответствовать требованиям
ГОСТ 14192.
4.3. Требования к упаковке
4.3.1. Упаковка армированных шнуров и шнуров-соединителей должна соответствовать требованиям
ГОСТ 18690 со следующими дополнениями.
4.3.2. Армированные шнуры и шнуры-соединители, предназначенные для поставки по комплектации, должны быть рассортированы по маркам, сечению жил, длине шнура, типу вилок и розеток и упакованы в пачки или бухты, или коробки.
Каждый армированный шнур и шнур-соединитель, предназначенные для розничной торговли, должны быть упакованы в индивидуальный пакет из полиэтиленовой пленки по
ГОСТ 10354 или иметь упаковку, согласованную с потребителем.
При групповой упаковке армированные шнуры и шнуры-соединители в пачках или бухтах, или индивидуальных пакетах, или коробках должны быть уложены в ящики из гофрированного картона по
ГОСТ 13514 или дощатые ящики по
ГОСТ 2991, выложенные внутри упаковочной бумагой, или фанерные ящики по
ГОСТ 10131.
Допускаются другие виды упаковки, обеспечивающие сохранность армированных шнуров и шнуров-соединителей при хранении и транспортировании.
Масса грузового места, предназначенного для розничной торговли, не должна превышать 30 кг.
Масса грузового места, предназначенного для поставки по комплектации, не должна превышать 50 кг.
| | Раздел 5 содержит правила и методы исследований (испытаний) и измерений, в том числе правила отбора образцов, необходимые для применения и исполнения требований технического регламента Таможенного союза "О безопасности низковольтного оборудования" (ТР ТС 004/2011) и осуществления оценки соответствия объектов технического регулирования (Решение Комиссии Таможенного союза от 16.08.2011 N 768). | |
5.1. Правила приемки должны соответствовать требованиям настоящего стандарта.
5.2. Для проверки соответствия изделий (армированных шнуров и шнуров-соединителей) требованиям настоящего стандарта устанавливают следующие виды контрольных испытаний: приемосдаточные, периодические и типовые.
5.3. Приемосдаточные испытания
5.3.1. Изделия предъявляют к приемке партиями.
За партию принимают изделия одного маркоразмера с однотипными вилками и розетками, изготовленные из одного материала, на одном технологическом оборудовании, одновременно предъявляемые к приемке. Объем партии - не менее 10 и не более 10000 шт.
5.3.2. Состав испытаний, деление его на группы должны соответствовать указанным в таблице 6.
┌───────┬──────────────────┬─────────────────────────────┬────────┬───────┐
│Группа │ Вид испытания │ Пункт │Объем │При- │
│испыта-│ и проверки ├──────────────┬──────────────┤выборки │емочное│
│ний │ │ технических │ методов │от пар- │число C│
│ │ │ требований │ контроля │тии, % │ │
├───────┼──────────────────┼──────────────┼──────────────┼────────┼───────┤
│ │ │ │ │3 шт. │ │
│ ├──────────────────┼──────────────┼──────────────┤ ├───────┤
├───────┼──────────────────┼──────────────┼──────────────┤ ├───────┤
│ │тивных размеров │ │ │ │ │
├───────┼──────────────────┼──────────────┼──────────────┼────────┼───────┤
│ │ствия обрыва жил │ │ │ │ │
│ │нием при нормаль- │ │ │не менее│ │
│ │ных климатических │ │ │3 шт. │ │
│ │условиях │ │ │ │ │
└───────┴──────────────────┴──────────────┴──────────────┴────────┴───────┘
5.3.3. Для проведения испытаний по группам применяют сплошной или выборочный одноступенчатый контроль по планам, установленным в
таблице 6.
Выборку составляют случайным отбором.
5.3.4. Проверку на соответствие требованиям
3.1,
3.2,
4.1.1.6,
4.1.1.14 (в части правильности монтажа) осуществляют в процессе производства методами контроля по
6.1.1,
6.1.10,
6.1.16 соответственно.
5.4. Периодические испытания
5.4.1. Состав испытаний должен соответствовать указанному в таблице 7.
Таблица 7
┌───────┬───────────────────────────────────────┬─────────────────────────┐
│Группа │ Вид испытания и проверки │ Пункт │
│испыта-│ ├───────────┬─────────────┤
│ний │ │технических│ методов │
│ │ │требований │ контроля │
├───────┼───────────────────────────────────────┼───────────┼─────────────┤
│ │гильзовом контакте заземления гильз │
4.1.1.3 │ │
│ │и штырях вилок, гильз розеток над │ │ │
│ │температурой окружающей среды │ │ │
├───────┼───────────────────────────────────────┼───────────┼─────────────┤
│ П-2 │Проверка покрытия металлических деталей│
4.1.1.1 │
6.1.5 │
│ │гильзового контакта вилки │ │ │
│ │расчленения розеткой с приборной вилкой│ │ │
├───────┼───────────────────────────────────────┼───────────┼─────────────┤
│ │сопротивления изоляции │ │ │
│ │Проверка электрической прочности изоля-│
4.1.2.2 │
6.2.2 │
│ │ции после пребывания в камере влажности│ │ │
└───────┴───────────────────────────────────────┴───────────┴─────────────┘
5.4.2. Испытания проводят один раз в 12 мес.
5.4.3. Испытания по группам проводят на отдельных выборках на образцах, отобранных от партий, выдержавших приемосдаточные испытания.
5.4.4. Испытания по группе П-1 проводят по плану выборочного одноступенчатого контроля при приемочном числе C = 0 и объеме выборки, равном не менее 3 образцов.
5.4.5. Испытания по группам П-2, П-3 проводят по плану выборочного двухступенчатого контроля на выборках

образцов с приемочным числом

, браковочным числом

для первой выборки и приемочным числом

для суммарной (

и

) выборки. В выборки включают случайным отбором образцы от партий текущего выпуска.
5.4.6. Армированные шнуры и шнуры-соединители, прошедшие испытания по группам П-1, П-2, отгрузке не подлежат.
5.5.1. Испытания по
разделу 4 (в части соответствия конструкторской документации),
4.1.1.5,
4.1.1.10 -
4.1.1.13,
4.1.1.15 -
4.1.1.20,
4.1.3.1 -
4.1.3.7,
4.1.3.9,
4.1.3.11 -
4.1.3.14,
4.1.4.1 -
4.1.4.12 проводят при необходимости в составе типовых методами контроля по
6.1.2,
6.1.3,
6.1.9,
6.1.12 -
6.1.15,
6.1.17 -
6.1.19,
6.3.1 -
6.3.7,
6.3.9 -
6.3.11,
6.4.1 -
6.4.8 соответственно.
5.5.2. Типовые испытания проводит предприятие-изготовитель с целью проверки соответствия изделий требованиям настоящего стандарта при изменении конструкции, технологии, применяемых материалов, если эти изменения могут оказать влияние на качество изделий.
Типовые испытания проводят по программе, утвержденной в установленном порядке. Результаты испытаний оформляют протоколом, в котором должны быть даны заключения о результатах испытаний и рекомендация о возможности и целесообразности внесения изменений в техническую документацию.
Протокол испытаний предъявляют потребителю по его требованию.
5.6. При проведении потребителем входного контроля качества армированных шнуров и шнуров-соединителей проверка должна проводиться в объеме приемосдаточных испытаний, указанных в настоящем стандарте, на 3% изделий, но не менее чем на трех от партии, поступившей по одному сопроводительному документу.
| | Раздел 6 содержит правила и методы исследований (испытаний) и измерений, в том числе правила отбора образцов, необходимые для применения и исполнения требований технического регламента Таможенного союза "О безопасности низковольтного оборудования" (ТР ТС 004/2011) и осуществления оценки соответствия объектов технического регулирования (Решение Комиссии Таможенного союза от 16.08.2011 N 768). | |
Все испытания, если в их изложении нет особых указаний, должны быть проведены в нормальных климатических условиях по
ГОСТ 15150.
Вилки и розетки испытывают раздельно.
Если перед проведением испытаний образцы находились в условиях, не соответствующих нормальным климатическим условиям, то до начала испытаний они должны быть выдержаны не менее 12 ч в помещении с нормальными климатическими условиями.
| | ИС МЕГАНОРМ: примечание. ГОСТ 28190-89 утратил силу на территории Российской Федерации с 1 января 2001 года в связи с введением в действие ГОСТ Р 51325.1-99 (Постановление Госстандарта России от 29.12.1999 N 803-ст). | |
Розетки испытывают при помощи соответствующих приборных вилок, "проходных" и "непроходных" калибров по ГОСТ 28190 и приборных вилок по
рисункам Б.25 -
Б.27 Приложения Б.
6.1. Проверка конструкции
6.1.1. Проверку на соответствие требованиям
3.1,
3.2 проводят внешним осмотром без применения увеличительных приборов.
6.1.2. Размеры вилок (
раздел 4 в части соответствия конструкторской документации,
3.3) проверяют при помощи штангенциркуля по
ГОСТ 166 или другого измерительного инструмента, обеспечивающего точность измерения в соответствии с допусками, указанными на
рисунках Б.1 -
Б.8 Приложения Б, или калибрами.
| | ИС МЕГАНОРМ: примечание. ГОСТ 7396.0-89 утратил силу на территории Российской Федерации с 1 января 2001 года. Постановлением Госстандарта России от 29.12.1999 N 876-ст введен в действие ГОСТ Р 51322.1-99 (ИУС, N 4, 2000). | |
Расстояние между штырями вилок диаметром 4,8 мм (кроме вилок по
рисункам Б.5,
Б.7,
Б.8 Приложения Б) проверяют калибром (чертеж 7 ГОСТ 7396.0) по методике, изложенной в 8.1.2 ГОСТ 7396.0.
Размеры вилок с заземляющими контактами проверяют калибрами (
рисунки Б.21 -
Б.23 Приложения Б).
Диаметры штырей вилок проверяют калибрами по чертежу 7а ГОСТ 7396.0 <*>.
--------------------------------
<*> Допускается применение другого измерительного инструмента, обеспечивающего точность измерения в соответствии с допусками, указанными на рисунках и чертежах.
Сочленяемость вилок, указанных на
рисунке 5 Приложения Б, с двухполюсными розетками проверяют калибром для контроля взаимозаменяемости по
чертежу 1 ГОСТ 7396.1.
| | ИС МЕГАНОРМ: примечание. ГОСТ 28190-89 утратил силу на территории Российской Федерации с 1 января 2001 года в связи с введением в действие ГОСТ Р 51325.1-99 (Постановление Госстандарта России от 29.12.1999 N 803-ст). | |
6.1.3. Размеры розеток (
раздел 4 в части соответствия конструкторской документации,
3.3) проверяют при помощи штангенциркуля по
ГОСТ 166 или другого измерительного инструмента, обеспечивающего точность измерения в соответствии с допусками, указанными на
рисунках Б.9 -
Б.20 Приложения Б, проходными и непроходными калибрами, калибром-контакт, калибром-неконтакт по чертежу 2 - 9Т ГОСТ 28190, а также калибром по
рисунку Б.24 Приложения Б.
6.1.4. Длину армированного шнура и шнура-соединителя
(3.4) проверяют по
ГОСТ 12177.
6.1.5. Покрытия металлических деталей вилок и розеток
(4.1.1.1) проверяют по
ГОСТ 9.302, розеток - на предварительно разделанных образцах.
| | ИС МЕГАНОРМ: примечание. ГОСТ 7396.0-89 утратил силу на территории Российской Федерации с 1 января 2001 года. Постановлением Госстандарта России от 29.12.1999 N 876-ст введен в действие ГОСТ Р 51322.1-99 (ИУС, N 4, 2000). | |
6.1.6. Превышение температуры на гильзовом контакте заземления и штырях вилок над температурой окружающей среды
(4.1.1.2) проверяют по ГОСТ 7396.0 (раздел 18).
| | ИС МЕГАНОРМ: примечание. ГОСТ 28190-89 утратил силу на территории Российской Федерации с 1 января 2001 года в связи с введением в действие ГОСТ Р 51325.1-99 (Постановление Госстандарта России от 29.12.1999 N 803-ст). | |
6.1.7. Превышение температуры на гильзах розеток над температурой окружающей среды
(4.1.1.3) проверяют по ГОСТ 28190 (раздел 20).
6.1.8. Упругость заземляющего гильзового контакта вилки
(4.1.1.4) проверяют косвенным методом - испытаниями на соответствие требованиям
4.1.1.2,
4.1.5.1.
6.1.9. Самовыравнивание гильзовых контактов розеток относительно штырей приборных вилок с обеспечением соответствующего контактного давления
(4.1.1.5) проверяют косвенным методом - испытаниями на соответствие требованиям
4.1.1.3,
4.1.3.10,
4.1.5.3,
4.1.5.4.
6.1.10. Соединение жил со штырями, заземляющими контактами вилок и гильзами розеток
(4.1.1.6) проверяют внешним осмотром без применения увеличительных приборов.
6.1.11. Разделку свободного конца армированного шнура
(4.1.1.7), качество поверхности вилок и розеток
(4.1.1.8) проверяют внешним осмотром без применения увеличительных приборов и с помощью штангенциркуля по
ГОСТ 166 или другого измерительного инструмента, обеспечивающего точность измерения в соответствии с допусками, указанными на
рисунках Б.1 -
Б.20 Приложения Б.
Цвет армированных шнуров и шнуров-соединителей
(4.1.1.9) проверяют внешним осмотром без применения увеличительных приборов.
6.1.12. Невозможность однополюсного включения вилок в двухполюсную розетку
(4.1.1.10) проверяют калибром по
ГОСТ 7396.1.
Для вилок по
рисунку Б.6 с диаметром штырей 4,0 мм размер a должен соответствовать (16,4 +/- 0,05) мм, а размер b - (13,8 +/- 0,1) мм.
| | ИС МЕГАНОРМ: примечание. ГОСТ 7396.0-89 утратил силу на территории Российской Федерации с 1 января 2001 года. Постановлением Госстандарта России от 29.12.1999 N 876-ст введен в действие ГОСТ Р 51322.1-99 (ИУС, N 4, 2000). | |
| | ИС МЕГАНОРМ: примечание. ГОСТ 28190-89 утратил силу на территории Российской Федерации с 1 января 2001 года в связи с введением в действие ГОСТ Р 51325.1-99 (Постановление Госстандарта России от 29.12.1999 N 803-ст). | |
6.1.13. Проверку на опережающее включение заземляющего контакта вилок
(4.1.1.11) проводят по 10.1 ГОСТ 7396.0, заземляющего контакта розеток - по 10.2 ГОСТ 28190.
6.1.14. Недоступность токопроводящих частей вилок для прикасания
(4.1.1.12) проверяют по 9.1 ГОСТ 7396.0.
6.1.15. Недоступность токопроводящих частей розеток для прикасания
(4.1.1.13) проверяют по 9.1 ГОСТ 28190.
6.1.16. Целостность жил и правильность монтажа
(4.1.1.14) проверяют при помощи звонка или телефона, или сигнальной лампы, или индикатора.
Монтаж проведен правильно, если заземляющая жила соединена с заземляющим контактом вилки или заземляющим контактом розетки.
6.1.17. Проверку на соответствие требованию
4.1.1.15 проводят по ГОСТ 28190 (раздел 11), на соответствие требованию
4.1.1.16 - по 12.10 ГОСТ 28190.
6.1.18. Соответствие требованиям
4.1.1.17 -
4.1.1.19 проверяют осмотром и испытанием вручную.
6.1.19. Пути утечки тока
(4.1.1.20) вилок определяют по ГОСТ 7396.0 (раздел 26), розеток - по ГОСТ 28190 (раздел 25).
6.2. Проверка электрических параметров
6.2.1. Электрическое сопротивление изоляции вилок
(4.1.2.1) определяют по
ГОСТ 3345, ГОСТ 7396.0 (15.3, 16.1, 16.1.2), розеток - по
ГОСТ 3345, ГОСТ 28190 (раздел 13, 14.2).
6.2.2. Электрическую прочность изоляции
(4.1.2.2) вилок проверяют по 16.2 ГОСТ 7396.0, розеток - по 14.3 ГОСТ 28190.
6.3. Проверка механических параметров
6.3.1. Механическую прочность
(4.1.3.1) вилок определяют по 23.2 ГОСТ 7396.0, розеток - по 22.2 ГОСТ 28190.
6.3.2. Механическую прочность розеток при боковом натяжении
(4.1.3.2) определяют по 22.3 ГОСТ 28190.
6.3.3. Стойкость вилок к сжатию
(4.1.3.3) определяют по 23.5 ГОСТ 7396.0.
6.3.4. Механическую прочность полых трубчатых штырей вилок (
4.1,
3.4) определяют по 13.2 ГОСТ 7396.0 после испытаний по
4.1.5.2.
6.3.5. Стойкость вилок к натяжению, скручиванию и изгибам (
4.1.3.5,
4.1.3.6,
4.1.3.8) определяют по 22.2, 22.4 ГОСТ 7396.0, приборных розеток - по 21.2 - 21.4 ГОСТ 28190.
6.3.6. Непроворачивание штырей вилок вокруг своей оси
(4.1.3.7) проверяют после испытания по
4.1.3.1 путем приложения крутящего момента (0,4 +/- 0,01) Н x м сначала в одном, а затем в противоположном направлении в течение не менее 1 мин в каждом направлении.
Вилку считают выдержавшей испытание, если ни один из штырей не проворачивается. При испытании вилка должна быть неподвижно закреплена.
Непроворачиваемость гильз розеток проверяют внешним осмотром без применения увеличительных приборов.
6.3.7. Стойкость частично изолированных штырей вилок к износу (истиранию)
(4.1.3.9) определяют по 23.7 ГОСТ 7396.0.
| | ИС МЕГАНОРМ: примечание. ГОСТ 28190-89 утратил силу на территории Российской Федерации с 1 января 2001 года в связи с введением в действие ГОСТ Р 51325.1-99 (Постановление Госстандарта России от 29.12.1999 N 803-ст). | |
6.3.8. Усилия расчленения гильз розеток со штырями приборных вилок
(4.1.3.10) проверяют по ГОСТ 28190 (раздел 15).
6.3.9. Проверку штырей вилок на соответствие требованиям
4.1.3.11 проводят по 23.10 ГОСТ 7396.0.
6.3.10. Стойкость к сжатию при повышенной температуре вилок
(4.1.3.12) определяют по 2.4.4 ГОСТ 7396.0, розеток
(4.1.3.13) - по 23.1.3 ГОСТ 28190.
6.3.11. Стойкость на удар при низкой температуре
(4.1.3.14) определяют по 23.4 ГОСТ 7396.0.
6.4. Проверка стойкости к внешним воздействующим факторам
6.4.1. Стойкость частично изолированных штырей вилок к давлению при температуре
(4.1.4.1), нагреву горячим паром
(4.1.4.2), воздействию низкой температуры
(4.1.4.3), удару при температуре
(4.1.4.4) определяют по ГОСТ 7396.0 (раздел 29).
6.4.2. Нагревостойкость приборных розеток для "горячих" и "очень горячих" условий
(4.1.4.5) определяют по 17.2 ГОСТ 28190.
6.4.3. Стойкость к повышенной температуре вилок
(4.1.4.6) определяют по 24.1 ГОСТ 7396.0, розеток - по 23.1.1 ГОСТ 28190.
6.4.4. Стойкость к ускоренному старению
(4.1.4.7) вилок определяют по 15.1 ГОСТ 7396.0, розеток - по 23.2.1 - 23.2.3 ГОСТ 28190.
6.4.5. Стойкость к токам поверхностного разряда розеток
(4.1.4.8) определяют по 26.2 ГОСТ 28190.
6.4.6. Теплостойкость разборных розеток
(4.1.4.9), огнестойкость розеток
(4.1.4.11) определяют по 23.1.2, 26.1 ГОСТ 28190.
6.4.7. Стойкость вилок к испытанию раскаленной проволокой
(4.1.4.10) определяют по 27.1.1 ГОСТ 7396.0.
6.4.8. Стойкость к поражению плесневыми грибами
(4.1.4.12) проверяют согласно
ГОСТ 20.57.406 (метод 214-2) по второй группе испытаний. Армированные шнуры и шнуры-соединители считают выдержавшими испытание, если степень биологического обрастания не более 3 баллов.
6.5.1. Работоспособность вилок
(4.1.5.1) определяют по ГОСТ 7396.0 (раздел 20).
6.5.2. Устойчивость вилок к коммутационным нагрузкам
(4.1.5.2) проверяют по ГОСТ 7396.0 (раздел 19).
6.5.3. Работоспособность розеток
(4.1.5.3) и стойкость к коммутационным нагрузкам
(4.1.5.4) определяют по ГОСТ 28190 (разделы 18, 19).
6.6. Проверка маркировки и упаковки
6.6.1. Проверку маркировки (
4.2.1 -
4.2.7) проводят внешним осмотром без применения увеличительных приборов.
6.6.2. Проверку на соответствие требованиям упаковки (
4.3.1,
4.3.2) проводят внешним осмотром без применения увеличительных приборов и взвешиванием на весах с погрешностью не более 5%.
| | Применение на добровольной основе раздела 7 - 9 обеспечивает соблюдение требований технического регламента Таможенного союза "О безопасности низковольтного оборудования" (ТР ТС 004/2011) (Решение Комиссии Таможенного союза от 16.08.2011 N 768). | |
7. ТРАНСПОРТИРОВАНИЕ И ХРАНЕНИЕ
7.1. Транспортирование и хранение армированных шнуров и шнуров-соединителей должны соответствовать
ГОСТ 18690 со следующими дополнениями.
7.2. Условия транспортирования армированных шнуров и шнуров-соединителей в части воздействия климатических факторов должны соответствовать: исполнения УХЛ4 - условиям хранения 5, исполнения Т4 - условиям хранения 6 по
ГОСТ 15150.
7.3. Условия хранения армированных шнуров и шнуров-соединителей в части воздействия климатических факторов должны соответствовать: исполнения УХЛ4 - условиям хранения 2, исполнения Т4 - условиям хранения 3 по
ГОСТ 15150.
7.4. Условия транспортирования, в случае промышленной поставки, должны быть согласованы между изготовителем и потребителем.
8. УКАЗАНИЯ ПО ЭКСПЛУАТАЦИИ
8.1. Армированные шнуры и шнуры-соединители предназначены для эксплуатации при температуре от минус 15 до 40 °C.
8.2. Конструкцией устройства ввода армированного шнура электробытовых машин и приборов должна быть обеспечена стойкость к изгибам, деформациям, натяжению и скручиванию провода или шнура в месте его ввода.
9.1. Изготовитель гарантирует соответствие армированных шнуров, шнуров-соединителей требованиям настоящего стандарта при соблюдении условий эксплуатации, правил хранения и транспортирования.
9.2. Гарантийный срок эксплуатации - 2,5 года со дня ввода в эксплуатацию.
(обязательное)
Таблица А.1
Коды ОКП и контрольные числа (КЧ) армированных шнуров
Марка, число и номинальное сечение жил, мм2, номер рисунка вилки | Код ОКП | КЧ |
ШВП-ВП ШВП-2-ВП ШВВП-ВП ШВЛ-ВП ШРО-ВП ШР-ВП ПВСП-ВП ПВС-ВП ПРС-ВП ШВП-ВП-Т ШВП-2-ВП-Т ШВВП-ВП-Т ШВЛ-ВП-Т ШРО-ВП-Т ПВСП-ВП-Т ПВС-ВП-Т ПРС-ВП-Т ШР-ВП-Т | 34 6886 0480 34 6886 0490 34 6886 0380 34 6886 0381 34 6886 0382 34 6886 0400 34 6886 0401 34 6886 0404 34 6886 0403 34 6886 3102 34 6886 0405 34 6886 1210 34 6886 1213 34 6886 1216 34 6886 1211 34 6886 3103 34 6886 1214 34 6886 1217 34 6886 1221 34 6886 1218 34 6886 1222 34 6886 1219 34 6886 1223 34 6886 1212 34 6886 1215 34 6886 1240 34 6886 1243 34 6886 1246 34 6886 1242 34 6886 1245 34 6886 1241 34 6886 3104 34 6886 1244 34 6886 1247 34 6886 1251 34 6886 1248 34 6886 1252 34 6886 1249 34 6886 1253 34 6886 1270 34 6886 1271 34 6886 1274 34 6886 1277 34 6886 1281 34 6886 1272 34 6886 3105 34 6886 1275 34 6886 1278 34 6886 1282 34 6886 1273 34 6886 1276 34 6886 1279 34 6886 1283 34 6886 1286 34 6886 1289 34 6886 1293 34 6886 1284 34 6886 1287 34 6886 1291 34 6886 1294 34 6886 1285 34 6886 1288 34 6886 1292 34 6886 1295 34 6886 0440 34 6886 0442 34 6886 0444 34 6886 0446 34 6886 0441 34 6886 3106 34 6886 0443 34 6886 0445 34 6886 0447 34 6886 1310 34 6886 1312 34 6886 1313 34 6886 1314 34 6886 1330 34 6886 1332 34 6886 1336 34 6886 1339 34 6886 1333 34 6886 1334 34 6886 1337 34 6886 1341 34 6886 1344 34 6886 1347 34 6886 1342 34 6886 1345 34 6886 1348 34 6886 1343 34 6886 1346 34 6886 1349 34 6886 1360 34 6886 1361 34 6886 1363 34 6886 1365 34 6886 1362 34 6886 1364 34 6886 1366 34 6886 1367 34 6886 1371 34 6886 1374 34 6886 1368 34 6886 1372 34 6886 1375 34 6886 1369 34 6886 1373 34 6886 1376 34 6886 0580 34 6886 0570 34 6886 0500 34 6886 0501 34 6886 0502 34 6886 0510 34 6886 0511 34 6886 3108 34 6886 0512 34 6886 1410 34 6886 1411 34 6886 3109 34 6886 1414 34 6886 1417 34 6886 1421 34 6886 1418 34 6886 1422 34 6886 1419 34 6886 1423 34 6886 1412 34 6886 1415 34 6886 1440 34 6886 1442 34 6886 1444 34 6886 3111 34 6886 3112 34 6886 1443 34 6886 1445 34 6886 1448 34 6886 1446 34 6886 1451 34 6886 1447 34 6886 1452 34 6886 1470 34 6886 1472 34 6886 3113 34 6886 1475 34 6886 1478 34 6886 1482 34 6886 1473 34 6886 1476 34 6886 1479 34 6886 1483 34 6886 1486 34 6886 1489 34 6886 1493 34 6886 1484 34 6886 1487 34 6886 1491 34 6886 1494 34 6886 1485 34 6886 1488 34 6886 1492 34 6886 1495 34 6886 1320 34 6886 1322 34 6886 1323 34 6886 1510 34 6886 1512 34 6886 1516 34 6886 1519 34 6886 1513 34 6886 1521 34 6886 1524 34 6886 1527 34 6886 1522 34 6886 1525 34 6886 1528 34 6886 1523 34 6886 1526 34 6886 1529 34 6886 1530 34 6886 1532 34 6886 1534 34 6886 1536 34 6886 1537 34 6886 1538 34 6886 1539 34 6886 1541 34 6886 1542 34 6886 1543 34 6886 1544 34 6886 1545 34 6886 1545 34 6886 3114 34 6886 1472 34 6886 3115 34 6886 1475 34 6886 1478 34 6886 1482 | 10 08 02 01 00 04 03 00 01 10 10 04 01 09 03 09 00 08 01 07 02 06 03 02 10 09 06 03 07 04 08 08 05 02 06 01 05 00 04 03 02 10 07 00 01 07 09 06 10 00 08 05 09 06 03 07 08 05 09 06 07 04 08 05 07 05 03 01 06 06 04 02 00 01 10 09 08 08 06 02 10 05 04 01 05 02 10 04 01 09 03 00 08 02 01 10 08 00 09 07 06 10 07 05 09 06 04 08 05 07 09 01 00 10 10 09 04 08 09 08 03 05 02 06 01 05 00 04 07 04 03 01 10 09 08 00 09 06 08 00 07 10 08 06 07 03 00 04 05 02 10 03 00 08 01 02 10 03 00 01 09 02 10 10 08 07 06 04 00 08 03 03 00 08 02 10 07 01 09 06 02 00 09 07 06 05 04 10 09 08 07 06 05 06 06 05 03 00 04 |
Таблица А.2
Коды ОКП и контрольные числа (КЧ) шнуров-соединителей
Марка, число и номинальное сечение жил, мм2, номер рисунка розетки | Код ОКП | КЧ |
ШВЛ-АП ШВВП-АП ШВЛ-АП ШВВП-АП ШВЛ-АП ПВС-АП ПРС-АП ПВС-А ПРС-А ПРС-АП ПРС-А ШРО-АП ШРО-А ПВС-АП ПРС-АП ШРО-АП ШРО-А ПРС-АП ПРС-А ШР-АП ШР-А ШВЛ-АП-Т ШВВП-АП-Т ШВЛ-АП-Т ШВВП-АП-Т ШВЛ-АП-Т ПВС-АП-Т ПРС-АП-Т ШР-АП-Т ПРС-АП-Т ПРС-А-Т ШРО-АП-Т ШРО-А-Т ПВС-АП-Т ПРС-АП-Т | 34 6886 0170 34 6886 0180 34 6886 0200 34 6886 0204 34 6886 0190 34 6886 0191 34 6886 0192 34 6886 0200 34 6886 0201 34 6886 0202 34 6886 0190 34 6886 0193 34 6886 0200 34 6886 0203 34 6886 0220 34 6886 0221 34 6886 0222 34 6886 0230 34 6886 0233 34 6886 0235 34 6886 3120 34 6886 3121 34 6886 3122 34 6886 3125 34 6886 3126 34 6886 3127 34 6886 0230 34 6886 3131 34 6886 3132 34 6886 1850 34 6886 1853 34 6886 1854 34 6886 0240 34 6886 0243 34 6886 0244 34 6886 1870 34 6886 1873 34 6886 1874 34 6886 0220 34 6886 0223 34 6886 0224 34 6886 0230 34 6886 0238 34 6886 0239 34 6886 0240 34 6886 0241 34 6886 0242 34 6886 1870 34 6886 1871 34 6886 1872 34 6886 0230 34 6886 0231 34 6886 0232 34 6886 1850 34 6886 1851 34 6886 1852 34 6886 0250 34 6886 0251 34 6886 0252 34 6886 3135 34 6886 3136 34 6886 3137 34 6886 0260 34 6886 0270 34 6886 0290 34 6886 0294 34 6886 0271 34 6886 0281 34 6886 0282 34 6886 0290 34 6886 0291 34 6886 0292 34 6886 0280 34 6886 0283 34 6886 0290 34 6886 0293 34 6886 0310 34 6886 0311 34 6886 0312 34 6886 0320 34 6886 0323 34 6886 0325 34 6886 0250 34 6886 0251 34 6886 0320 34 6886 0324 34 6886 0326 34 6886 1890 34 6886 1891 34 6886 1892 34 6886 0330 34 6886 0331 34 6886 0332 34 6886 1900 34 6886 1903 34 6886 1904 34 6886 0310 34 6886 0313 34 6886 0314 34 6886 0320 34 6886 0321 34 6886 0322 | 10 08 10 08 06 05 04 19 09 08 06 03 10 07 06 05 04 04 01 10 08 07 06 03 02 01 04 05 04 00 08 07 02 10 09 07 04 03 06 03 02 04 07 06 02 01 00 07 06 05 04 03 02 00 10 03 00 10 09 01 00 10 09 07 03 10 05 04 03 03 02 01 05 02 03 00 05 04 03 03 00 09 00 10 03 10 08 03 02 01 01 00 10 07 04 03 05 02 01 03 02 01 |
(обязательное)
--------------------------------
<1> Размер является максимальным в пределах 15 мм от рабочей поверхности вилки.
<2> Размер проверяют соответствующими калибрами.
<3> Допускается для нужд экономики страны изготовлять вилки до 6 А со штырями диаметром (4,0 +/- 0,06) мм.
Форма и длина вилки должны обеспечивать ее свободное отключение рукой от соответствующей розетки.
Концы штырей выполняют сферическими или коническими в соответствии с указанными на рисунке.
Рисунок предназначен для регламентации только указанных на нем размеров.
1 - рабочая поверхность
Рисунок Б.1. Вилка двухполюсная на 10/16 А, 250 В
без заземляющего контакта
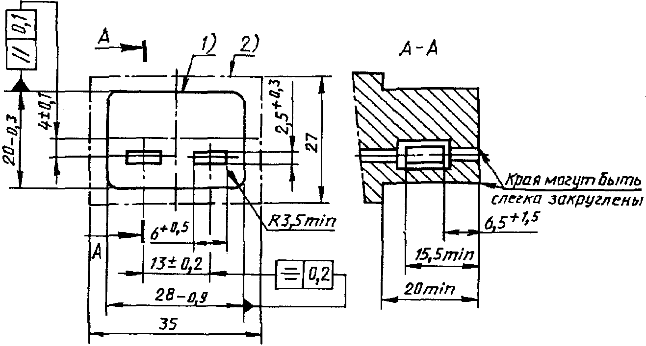
--------------------------------
<1> Размер является максимальным в пределах 18 мм от рабочей поверхности вилки.
<2> Размер проверяют соответствующими калибрами.
Форма и длина вилок должны обеспечивать ее свободное отключение рукой от соответствующей розетки.
Концы штырей выполняют сферическими или коническими в соответствии с указанными на рисунке.
Рисунок предназначен для регламентации только указанных на нем размеров.
1 - рабочая поверхность
Рисунок Б.2. Вилка двухполюсная на 10/16 А, 250 В
с боковым заземляющим контактом
--------------------------------
<1> Размер является максимальным в пределах 15 мм от рабочей поверхности вилки.
<2> Размер проверяют соответствующими калибрами.
Контактная гильза может иметь форму, отличную от трубчатой.
Форма и длина вилок должны обеспечивать их свободное отключение рукой от соответствующей розетки.
Штыри вилок выполняют сферическими или коническими в соответствии с указанными на рисунке.
Рисунок предназначен для регламентации только указанных на нем размеров.
1 - рабочая поверхность; 2 - контактная гильза
Рисунок Б.3. Вилка двухполюсная на 10/16 А, 250 В
с гильзовым заземляющим контактом
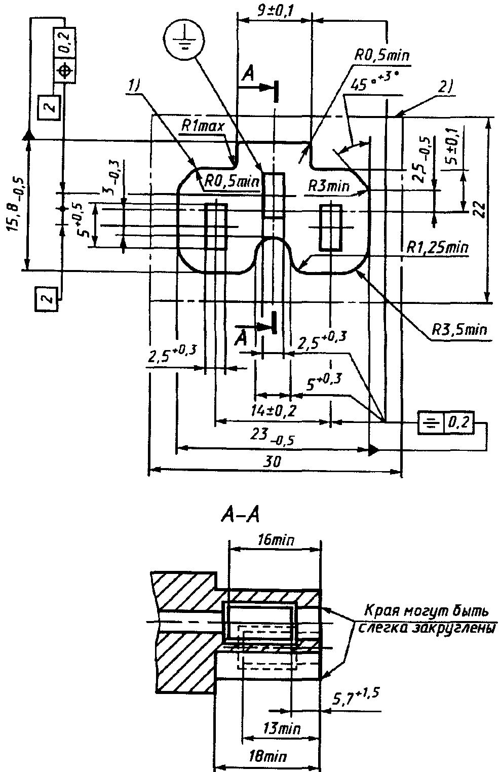
--------------------------------
<1> Размер является максимальным в пределах 18 мм от рабочей поверхности вилки.
<2> Размер проверяют соответствующими калибрами.
Контактная гильза может иметь форму, отличную от трубчатой.
Форма и длина вилок должны обеспечивать их свободное отключение рукой от соответствующей розетки.
Концы штырей вилок выполняют сферическими или коническими в соответствии с указанными на рисунке.
Рисунок предназначен для регламентации только указанных на нем размеров.
1 - рабочая поверхность; 2 - контактная гильза
Рисунок Б.4. Вилка двухполюсная на 10/16 А, 250 В
с двойным заземляющим контактом
--------------------------------
<1> Размер является максимальным в пределах 18 мм от рабочей поверхности вилки.
<2> Размер a = 18 - 19,2 мм в плоскости рабочей поверхности,
a = 17 - 18 мм на концах штырей.
Допускается для нужд экономики страны для круглых вилок размера a = 19 +/- 0,5 по всей длине штырей.
<3> Размер может быть увеличен до 4 мм на расстоянии 4 мм от рабочей поверхности вилки. Частично изолированные штыри должны быть сплошными. Концы штырей выполняют сферическими или коническими в соответствии с указанными на рисунке. Форма и длина вилок должна обеспечивать их свободное отключение рукой от соответствующих розеток.
Рисунок предназначен для регламентации только указанных на нем размеров.
1 - рабочая поверхность; 2 - изолированная часть штыря
(только для плоских вилок); 3 - металлический штырь
Рисунок Б.5. Вилка двухполюсная на 2,5 А, 250 В
для приборов класса II
--------------------------------
<1> Размер является максимальным в пределах 18 мм от рабочей поверхности вилки.
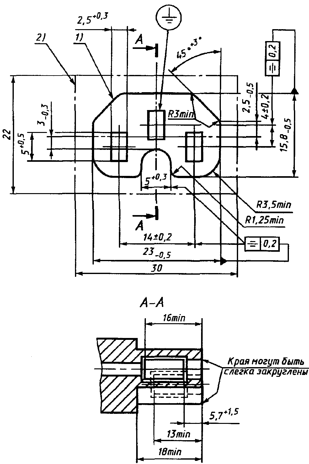
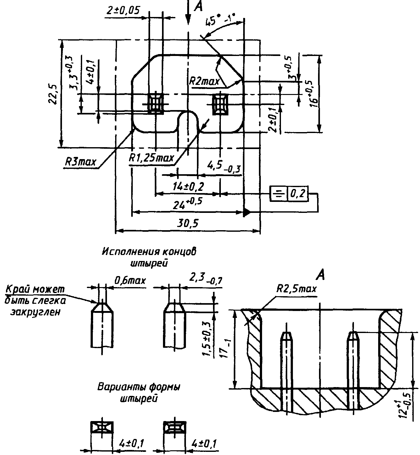
<2> Размер проверяют соответствующими калибрами. Частично изолированные штыри должны быть сплошными, а их концы выполняют сферическими или коническими в соответствии с указанными на рисунке. Допускается для нужд экономики страны изготовлять вилки до 6 А со штырями диаметром (4,0 +/- 0,06) мм с частичной изоляцией и без изоляции. Форма и длина вилок должны обеспечивать их свободное отключение рукой от соответствующих розеток.
<*> Если контур рабочей поверхности находится в пределах допустимых отклонений, указанных для максимального контура, штыри могут не иметь частичной изоляции, но в этом случае их диаметр должен составлять (4,8 +/- 0,06) мм по всей длине.
Рисунок предназначен для регламентации только указанных на нем размеров.
1 - рабочая поверхность; 2 - факультативно, минимальный
контур; 3 - максимальный контур; 4 - изолированная часть
штыря; 5 - металлический штырь
Рисунок Б.6. Вилка двухполюсная на 10/16 А, 250 В
для приборов класса II
Если для одного и того же размера указаны два значения, то большее из них является максимальным, а меньшее - минимальным.
Для всех других размеров предельное отклонение составляет +/- 0,127 мм.
1 - рабочая поверхность
Рисунок Б.7. Вилка двухполюсная на 15 А, 125 В
1 - рабочая поверхность
Рисунок Б.8. Вилка двухполюсная на 10 А, 42 В
Межосевое расстояние, конфигурации гнезд, размеры и форма передней части должны быть такими, чтобы розетка могла входить в "проходной" калибр и не могла входить в "непроходной" калибр, толщина изоляции вокруг гнезд должна быть не менее 1,5 мм.
--------------------------------
<1> Контур передней части не должен быть увеличен или уменьшен в любой точке, расположенной на расстоянии менее 10,5 мм от поверхности введения.
<2> Контур задней части не должен быть превышен ни в одном сечении, перпендикулярном к оси розетки, кроме розеток с боковым вводом провода или шнура.
Рисунок Б.9. Розетки на 0,2 А, 250 В для приборов
класса защиты II для холодных условий
Межосевое расстояние, конфигурация гнезд, размеры и форма передней части должны быть такими, чтобы розетка могла входить в "проходной" калибр и не могла входить в "непроходной" калибр, а толщина изоляции вокруг гнезд должна быть не менее 1,5 мм.
--------------------------------
<1> Контур передней части не должен быть увеличен или уменьшен в любой точке, расположенной на расстоянии менее 12,5 мм от поверхности введения.
<2> Контур задней части не должен быть превышен ни в одном сечении, перпендикулярном к оси розетки, кроме розеток с боковым вводом провода или шнура.
Рисунок Б.10. Розетка на 2,5 А, 250 В для приборов
класса защиты I для холодных условий
Межосевое расстояние, конфигурации гнезд, размеры и форма передней части должны быть такими, чтобы розетка могла входить в "проходной" калибр и не могла входить в "непроходной" калибр, а толщина изоляции вокруг гнезд должна быть не менее 1,5 мм.
--------------------------------
<1> Контур передней части не должен быть увеличен или уменьшен в любой точке, расположенной на расстоянии менее 10,5 мм или 16 мм от поверхности введения.
<2> Контур задней части не должен быть превышен ни в одном сечении, перпендикулярном к оси розетки, кроме розеток с боковым вводом провода или шнура.
Рисунок Б.11. Розетка на 2,5 А, 250 В для приборов
класса защиты II для холодных условий
Межосевое расстояние, конфигурация гнезд, размеры и форма передней части должны быть такими, чтобы розетка могла входить в соответствующую приборную вилку с минимальными внутренними размерами, а толщина изоляции вокруг гнезда должна быть не менее 1,5 мм.
--------------------------------
<1> Контур передней части не должен быть увеличен или уменьшен в любой точке, расположенной на расстоянии менее 15 мм от поверхности введения.
<2> Контур задней части не должен быть увеличен ни в одном сечении, перпендикулярном к оси розетки, кроме розеток с боковым вводом провода или шнура.
Рисунок Б.12. Розетка на 6 А, 250 В для приборов
класса защиты II для холодных условий
--------------------------------
<1> Контур передней части не должен быть увеличен или уменьшен в любой точке, расположенной на расстоянии менее 18 мм от поверхности введения.
<2> Контур задней части не должен быть увеличен ни в одном сечении, перпендикулярном к оси розетки, кроме розеток с боковым вводом провода или шнура.
Рисунок Б.13. Розетка на 10 А, 250 В для приборов
класса защиты I для холодных условий
--------------------------------
<1> Контур передней части не должен быть увеличен или уменьшен в любой точке, расположенной на расстоянии менее 18 мм от поверхности введения.
<2> Контур задней части не должен быть увеличен ни в одном сечении, перпендикулярном к оси розетки, кроме розеток с боковым вводом провода или шнура.
Рисунок Б.14. Розетка на 10 А, 250 В для приборов
класса защиты I для горячих условий
--------------------------------
<1> Контур передней части не должен быть увеличен или уменьшен в любой точке, расположенной на расстоянии менее 18 мм от поверхности введения.
<2> Контур задней части не должен быть увеличен ни в одном сечении, перпендикулярном к оси розетки, кроме розеток с боковым вводом провода или шнура.
Рисунок Б.15. Розетка на 10 А, 250 В для приборов
класса защиты II для холодных условий
--------------------------------
<1> Контур передней части не должен быть увеличен или уменьшен в любой точке, расположенной на расстоянии менее 18 мм от поверхности введения.
<2> Контур задней части не должен быть увеличен ни в одном сечении, перпендикулярном к оси розетки, кроме розеток с боковым вводом провода или шнура.
Рисунок Б.16. Розетка на 6 А, 250 В для приборов
класса защиты 0 для горячих условий
--------------------------------
<1> Контур передней части не должен быть увеличен или уменьшен в любой точке, расположенной на расстоянии менее 18 мм от поверхности введения.
<2> Контур задней части не должен быть превышен ни в одном сечении, перпендикулярном к оси розетки, кроме розеток с боковым вводом провода или шнура.
Рисунок Б.17. Розетка на 10 А, 250 В для приборов
класса защиты I для очень горячих условий
--------------------------------
<1> Контур передней части не должен быть увеличен или уменьшен в любой точке, расположенной на расстоянии менее 20 мм от поверхности введения.
<2> Контур задней части не должен быть превышен ни в одном сечении, перпендикулярном к оси розетки, кроме розеток с боковым вводом провода или шнура.
Рисунок Б.18. Розетка на 16 А, 250 В для приборов
класса защиты I для холодных условий
--------------------------------
<1> Контур передней части не должен быть увеличен или уменьшен в любой точке, расположенной на расстоянии менее 20 мм от поверхности введения.
<2> Контур задней части не должен быть превышен ни в одном сечении, перпендикулярном к оси розетки, кроме розеток с боковым вводом провода или шнура.
Рисунок Б.19. Розетка на 16 А, 250 В для приборов
класса защиты I для очень горячих условий
--------------------------------
<1> Контур передней части не должен быть увеличен или уменьшен в любой точке, расположенной на расстоянии менее 20 мм от поверхности введения.
<2> Контур задней части не должен быть превышен ни в одном сечении, перпендикулярном к оси розетки, кроме розеток с боковым вводом провода или шнура.
Рисунок Б.20. Розетка на 16 А, 250 В для приборов
класса защиты II для холодных условий
Рисунок Б.21. Калибр для проверки размеров вилок
с боковым заземляющим контактом
Рисунок Б.22. Калибр для проверки размеров вилок
с заземляющим гильзовым контактом
Рисунок Б.23. Калибр для проверки размеров вилок
с двойным заземляющим контактом и вилок для приборов
класса защиты II
| | ИС МЕГАНОРМ: примечание. В официальном тексте документа, видимо, допущена опечатка: имеется в виду рисунок Б.16, а не рисунок 16. | |
Рисунок Б.27. Приборная вилка для розетки по
рисунку 16
(справочное)
СХЕМАТИЧЕСКОЕ ИЗОБРАЖЕНИЕ МЕРНОЙ И РАБОЧЕЙ ДЛИН
Армированный шнур
L - мерная длина
Шнур-соединитель

- рабочая длина