Главная // Актуальные документы // ГОСТ (Государственный стандарт)СПРАВКА
Источник публикации
М.: Стандартинформ, 2016
Примечание к документу
Документ
введен в действие с 1 января 2017 года.
Название документа
"ГОСТ ISO 3506-3-2014. Межгосударственный стандарт. Механические свойства крепежных изделий из коррозионно-стойкой нержавеющей стали. Часть 3. Установочные винты и аналогичные крепежные изделия, не подвергаемые растягивающему напряжению"
(введен в действие Приказом Росстандарта от 10.06.2015 N 608-ст)
"ГОСТ ISO 3506-3-2014. Межгосударственный стандарт. Механические свойства крепежных изделий из коррозионно-стойкой нержавеющей стали. Часть 3. Установочные винты и аналогичные крепежные изделия, не подвергаемые растягивающему напряжению"
(введен в действие Приказом Росстандарта от 10.06.2015 N 608-ст)
агентства по техническому
регулированию и метрологии
от 10 июня 2015 г. N 608-ст
МЕЖГОСУДАРСТВЕННЫЙ СТАНДАРТ
МЕХАНИЧЕСКИЕ СВОЙСТВА КРЕПЕЖНЫХ ИЗДЕЛИЙ
ИЗ КОРРОЗИОННО-СТОЙКОЙ НЕРЖАВЕЮЩЕЙ СТАЛИ
ЧАСТЬ 3
УСТАНОВОЧНЫЕ ВИНТЫ И АНАЛОГИЧНЫЕ КРЕПЕЖНЫЕ ИЗДЕЛИЯ,
НЕ ПОДВЕРГАЕМЫЕ РАСТЯГИВАЮЩЕМУ НАПРЯЖЕНИЮ
Mechanical properties of corrosion-resistant stainless
steel fasteners. Part 3. Set screws and similar
fasteners not under tensile stress
(ISO 3506-3:2009, IDT)
ГОСТ ISO 3506-3-2014
Дата введения
1 января 2017 года
Цели, основные принципы и основной порядок проведения работ по межгосударственной стандартизации установлены
ГОСТ 1.0-92 "Межгосударственная система стандартизации. Основные положения" и
ГОСТ 1.2-2009 "Межгосударственная система стандартизации. Стандарты межгосударственные, правила и рекомендации по межгосударственной стандартизации. Правила разработки, принятия, применения, обновления и отмены"
1 ПОДГОТОВЛЕН Федеральным государственным унитарным предприятием "Всероссийский научно-исследовательский институт стандартизации и сертификации в машиностроении" (ВНИИНМАШ) на основе собственного аутентичного перевода на русский язык англоязычной версии стандарта, указанного в
пункте 5
2 ВНЕСЕН Техническим комитетом по стандартизации ТК 229 "Крепежные изделия"
3 ПРИНЯТ Межгосударственным советом по стандартизации, метрологии и сертификации (протокол от 20 октября 2014 г. N 71-П)
За принятие проголосовали:
Краткое наименование страны по МК (ИСО 3166) 004-97 | Код страны по МК (ИСО 3166) 004-97 | Сокращенное наименование национального органа по стандартизации |
Азербайджан | AZ | Азстандарт |
Армения | AM | Минэкономики Республики Армения |
Беларусь | BY | Госстандарт Республики Беларусь |
Грузия | GE | Грузстандарт |
Казахстан | KZ | Госстандарт Республики Казахстан |
Киргизия | KG | Кыргызстандарт |
Молдова | MD | Молдова-Стандарт |
Россия | RU | Росстандарт |
Таджикистан | TJ | Таджикстандарт |
Туркменистан | TM | Главгосслужба "Туркменстандартлары" |
Узбекистан | UZ | Узстандарт |
Украина | UA | Минэкономразвития Украины |
4
Приказом Федерального агентства по техническому регулированию и метрологии от 10 июня 2015 г. N 608-ст межгосударственный стандарт ГОСТ ISO 3506-3-2014 введен в действие в качестве национального стандарта Российской Федерации с 1 января 2017 г.
5 Настоящий стандарт идентичен международному стандарту ISO 3506-3:2009 Mechanical properties of corrosion-resistant stainless steel fasteners - Part 3: Set screws and similar fasteners not under tensile stress (Механические свойства крепежных изделий из коррозионно-стойкой нержавеющей стали - Часть 3. Установочные винты и аналогичные крепежные изделия, не подвергаемые растягивающему растяжению).
Международный стандарт разработан подкомитетом ISO/TC 2/SC 1 "Механические свойства крепежных изделий" технического комитета по стандартизации ISO/TC 2 "Крепежные изделия" Международной организации по стандартизации (ISO).
Перевод с английского языка (en).
В настоящем стандарте приведено дополнительное
приложение ДА "Химический состав коррозионно-стойких сталей".
Сведения о соответствии межгосударственных стандартов ссылочным международным стандартам приведены в дополнительном
приложении ДБ.
Степень соответствия - идентичная (IDT)
6 ВВЕДЕН ВПЕРВЫЕ
Информация об изменениях к настоящему стандарту публикуется в ежегодном информационном указателе "Национальные стандарты", а текст изменений и поправок - в ежемесячном информационном указателе "Национальные стандарты". В случае пересмотра (замены) или отмены настоящего стандарта соответствующее уведомление будет опубликовано в ежемесячном информационном указателе "Национальные стандарты". Соответствующая информация, уведомление и тексты размещаются также в информационной системе общего пользования - на официальном сайте Федерального агентства по техническому регулированию и метрологии в сети Интернет
Настоящий стандарт устанавливает механические свойства установочных винтов и аналогичных крепежных изделий, не подвергаемых растягивающему напряжению, при испытании в условиях с температурой окружающей среды от 10 °C до 35 °C. Механические свойства изменяются при повышении или понижении температуры.
Настоящий стандарт распространяется на установочные винты и аналогичные крепежные изделия:
- с номинальным диаметром резьбы 1,6 мм <= d <= 24 мм;
- с треугольной метрической резьбой, с диаметром и шагом по ISO 68-1, ISO 261 и ISO 262;
- любой формы.
Настоящий стандарт не распространяется на винты со специальными свойствами, такие как свариваемость.
Примечание - Система обозначения настоящего стандарта может быть использована для размеров, выходящих за предел, представленный в настоящем разделе (например, d > 24 мм), при условии, что все соответствующие механические и физические требования к классам твердости выполняются.
Настоящий стандарт не устанавливает требования к коррозионной стойкости к окислению в особых условиях окружающей среды.
Настоящий стандарт устанавливает классификацию крепежных изделий из коррозионно-стойкой нержавеющей стали по классам твердости.
Коррозионная стойкость, окисляемость и механические свойства при повышенных и пониженных температурах могут быть согласованы между изготовителем и потребителем в каждом конкретном случае. Изменение риска межкристаллитной коррозии при повышении температуры в зависимости от содержания углерода показано в
приложении D.
Все крепежные изделия из аустенитных нержавеющих сталей при нормальных условиях - немагнитные; после холодного деформирования могут проявиться магнитные свойства (см.
приложение E).
Для применения настоящего стандарта необходимы следующие ссылочные документы. Для датированных ссылок применяют только указанное издание ссылочного документа.
ISO 68-1:1998 ISO general purpose screw threads - Basic profile - Part 1: Metric screw threads (Резьбы ISO винтовые общего назначения. Основной профиль. Часть 1. Метрические винтовые резьбы)
ISO 261:1998 ISO general purpose metric screw threads - General plan (Резьбы метрические ISO общего назначения. Общий вид)
ISO 262:1998 ISO general purpose metric screw threads - Selected sizes for screws, bolts and nuts (Резьбы ISO метрические общего назначения. Выбранные размеры для винтов, болтов и гаек)
ISO 898-5:2012 Mechanical properties of fasteners made of carbon steel and alloy steel - Part 5: Set screws and similar threaded fasteners with specified hardness classes - Coarse thread and fine pitch thread (Механические свойства крепежных изделий из углеродистых и легированных сталей. Часть 5. Установочные винты и аналогичные резьбовые крепежные изделия установленных классов твердости с крупным и мелким шагом резьбы)
ISO 3651-1:1998 Determination of resistance to intergranular corrosion stainless steels - Part 1: Austenitic and ferritic-austenitic (duplex) stainless steels - Corrosion test in nitric acid medium by measurement of loss in mass (Huey test) (Стали нержавеющие. Определение стойкости к межкристаллитной коррозии. Часть 1. Аустенитные и ферритно-аустенитные (дуплекс) нержавеющие стали. Коррозионное испытание в азотной кислоте посредством измерения потери массы (метод Хью))
ISO 3651-2:1998 Determination of resistance to intergranular corrosion steels - Part 2: Ferritic, austenitic and ferritic-austenitic (duplex) stainless steels - Corrosion test in media containing sulfuric acid (Стали нержавеющие. Определение стойкости к межкристаллитной коррозии. Часть 2. Ферритные, аустенитные и ферритно-аустенитные (дуплекс) нержавеющие стали. Коррозионное испытание в среде, содержащей серную кислоту)
ISO 6506-1:2005 Metallic materials - Brinell hardness test - Part 1: Test method (Материалы металлические. Определение твердости по Бринеллю. Часть 1. Метод испытания)
ISO 6507-1:2005 Metallic materials - Vickers hardness test - Part 1: Test method (Материалы металлические. Определение твердости по Виккерсу. Часть 1. Метод испытания)
ISO 6508-1:2005 Metallic materials - Rockwell hardness test - Part 1: Test method (scales A, B, C, D, E, F, G, H, K, N, T (Материалы металлические. Определение твердости по Роквеллу. Часть 1. Метод испытания (шкалы A, B, C, D, E, F, G, H, K, N, T))
ISO 16048:2003 Passivation of corrosion-resistant stainless-steel fasteners (Пассивация крепежных изделий из коррозионно-стойкой нержавеющей стали)
ISO 16426:2002 Fasteners - Quality assurance system (Изделия крепежные. Система обеспечения качества)
3. Обозначения, маркировка и отделка
Система обозначений марок нержавеющей стали и классов твердости установочных винтов и аналогичных крепежных изделий приведена на
рисунке 1. Обозначение материала состоит из двух частей, разделенных дефисом. Первая часть - условное обозначение марки стали и вторая часть - класс твердости.
Пример обозначения аустенитной мягкой стали
с минимальной твердостью 125 HV: A1-12H
--------------------------------
<a> Классы стали и марки стали, классифицированные по рисунку 1, описаны в
приложении A и определены химическим составом представленным в
таблице 2.
<b> Аустенитные нержавеющие стали с содержанием углерода не более 0,03% могут быть дополнительно промаркированы буквой "L".
Пример - A4L-21H
<c> Пассивация установочных винтов и аналогичных крепежных изделий в соответствии с ISO 16048 возможна дополнительная маркировка с "P".
Пример - A4-21HP
Рисунок 1 - Система обозначений марок нержавеющей стали
и классов твердости установочных винтов и аналогичных
крепежных изделий
Условное обозначение марки стали (первая часть) состоит из буквы, A - аустенитная сталь, которая обозначает класс стали, и цифры, которая обозначает диапазон предельных значений химического состава этого класса стали (см.
таблицу 2).
Обозначение класса твердости (вторая часть) состоит из двух цифр, которые обозначают 0,1 от минимальной твердости стали по Виккерсу, и буквы H, обозначающей твердость (см. таблицу 1).
Таблица 1
Обозначение класса твердости в зависимости
от твердости по Виккерсу
Класс твердости | 12H | 21H |
Твердость по Виккерсу HV, не менее | 125 | 210 |
3.2.1 Общие положения
Маркировка установочных винтов и аналогичных крепежных изделий необязательна.
Если установочные винты и аналогичные крепежные изделия, изготовленные в соответствии с требованиями настоящего стандарта, обозначены и маркированы, они должны быть обозначены в соответствии с системой обозначений, описанной в
3.1 и маркированы в соответствии с
3.2.2 и
3.2.3. Однако, система обозначений, описанная в
3.1 и условия для маркировки соответствующие
3.2.3 должны использоваться только тогда, когда все соответствующие требования настоящего стандарта выполнены.
3.2.2 Товарный знак изготовителя
Товарный знак изготовителя должен быть включен во время производственного процесса на все установочные винты или аналогичные крепежные изделия, маркированные символом класса твердости, при условии, что это возможно по техническим причинам. Товарным знаком изготовителя рекомендуется маркировать также установочные винты и аналогичные крепежные изделия, которые не маркированы символом класса твердости.
3.2.3 Установочные винты и аналогичные крепежные изделия
Если установочные винты и аналогичные крепежные изделия маркированы, они должны иметь четкую маркировку в соответствии с
3.1. Маркировка должна включать в себя марку стали и класс твердости.
3.2.4 Упаковка
Все упаковки для всех видов установочных винтов и аналогичных крепежных изделий всех размеров должны быть маркированы (например, с помощью ярлыка/этикетки). Маркировка или ярлык должны включать идентификатор изготовителя и/или продавца и маркировочный символ марки стали и класса твердости в соответствии с
рисунком 1 и номер производственной партии, как определено в ISO 16426.
Если не указано иное, установочные винты и аналогичные крепежные изделия в соответствии с настоящим стандартом поставляют без дополнительной обработки. Для достижения максимальной коррозионной стойкости рекомендуется пассивация. Если необходима пассивация, то она должна быть выполнена в соответствии с ISO 16048. Установочные винты и аналогичные крепежные изделия, прошедшие пассивацию, могут быть дополнительно маркированы символом "P" после символа марки стали и класса твердости (см.
сноску "c", рисунок 1).
Для установочных винтов и аналогичных крепежных изделий, изготовленных по специальному заказу, дополнительно следует наносить одинаковую маркировку на крепежное изделие и на ярлык. Для установочных винтов и аналогичных крепежных изделий, доставленных со склада, дополнительная маркировка должна быть нанесена на ярлыке.
Химический состав нержавеющих сталей для установочных винтов и аналогичных крепежных изделий согласно настоящему стандарту приведен в таблице 2.
Примечание - Химический состав, приведенный в таблице 2, соответствует химическому составу, приведенному в ISO 3506-1:2009,
таблица 1, для соответствующих марок стали.
Таблица 2
Марки нержавеющей стали. Химический состав
Класс стали | Марка стали | массовая доля, % | Сноска |
C | Si | Mn | P | S | Cr | Mo | Ni | Cu |
Аустенитные | A1 | 0,12 | 1 | 6,5 | 0,2 | 0,15 - 0,35 | 16 - 19 | 0,7 | 5 - 10 | 1,75 - 2,25 | |
A2 | 0,10 | 1 | 2 | 0,05 | 0,03 | 15 - 20 | | 8 - 19 | 4 | |
A3 | 0,08 | 1 | 2 | 0,045 | 0,03 | 17 - 19 | | 9 - 12 | 1 | |
A4 | 0,08 | 1 | 2 | 0,045 | 0,03 | 16 - 18,5 | 2 - 3 | 10 - 15 | 4 | |
A5 | 0,08 | 1 | 2 | 0,045 | 0,03 | 16 - 18,5 | 2 - 3 | 10,5 - 14 | 1 | |
<a> Приведены максимальные значения, если не указано иное. <b> Сера может быть заменена селеном. <c> Если содержание никеля менее 8%, то содержание марганца должно быть не менее 5%. <d> При содержании никеля более 8% нижний предел содержания меди не применяется. <e> Молибден может присутствовать по решению изготовителя стали. В случае если содержание молибдена влияет на условия применения стали, его содержание должно быть согласовано между изготовителем и потребителем стали. <f> Если содержание хрома менее 17%, содержание никеля должно быть не менее 12%. <g> Для аустенитных сталей с минимальным содержанием углерода 0,03% содержание азота не должно превышать 0,22%. <h> Для стабилизации содержание титана должно быть не менее 5 x %C, но не более 0,8% или содержание ниобия (columbium) и/или тантала должно быть не менее 10 x %C, но не более 1,0%, маркировано соответственно, как установлено в этой таблице. <i> По решению изготовителя стали содержание углерода может быть выше в целях достижения особых механических свойств, но не должно превышать 0,12%. |
Примечания 1 Описание указанных марок нержавеющих сталей с учетом их свойств и области применения приведены в приложении A. 2 Примеры нержавеющих сталей, стандартизованные по ISO 683-13, ISO 4954 и ГОСТ 5632, приведены в приложениях B, C и ДА соответственно. |
Выбор химического состава в установленных для марки стали пределах - на усмотрение изготовителя, если химический состав не согласован между изготовителем и потребителем.
В случаях возникновения риска межкристаллитной коррозии рекомендуется проведение испытаний по ISO 3651-1 или ISO 3651-2. В таких случаях рекомендуется применять стабилизированные нержавеющие марки стали A3 и A5 или нержавеющие марки стали A2 и A4 с содержанием углерода не более 0,03%.
Механические свойства установочных винтов и аналогичных крепежных изделий должны соответствовать указанным значениям в
таблицах 3 и
4.
Указанные в разделах 5.2 и
5.3 требования по механическим свойствам следует выполнять при испытаниях в соответствии с
6.1 и
6.2 соответственно.
5.2. Разрушающий крутящий момент для установочных винтов с шестигранным углублением
Разрушающий крутящий момент для установочных винтов с шестигранным углублением должен соответствовать указанному в таблице 3.
Таблица 3
Разрушающий крутящий момент
Номинальный диаметр резьбы d | Минимальная длина <a> испытуемых установочных винтов, мм | Класс твердости |
12H | 21H |
Плоский конец | Конический конец | Цилиндрический конец | Конец с лункой | Разрушающий крутящий момент, не менее, Н·м |
1,6 | 2,5 | 3 | 3 | 2,5 | 0,03 | 0,05 |
2 | 4 | 4 | 4 | 3 | 0,06 | 0,1 |
2,5 | 4 | 4 | 5 | 4 | 0,18 | 0,3 |
3 | 4 | 5 | 6 | 5 | 0,25 | 0,42 |
4 | 5 | 6 | 8 | 6 | 0,8 | 1,4 |
5 | 6 | 8 | 8 | 6 | 1,7 | 2,8 |
6 | 8 | 8 | 10 | 8 | 3 | 5 |
8 | 10 | 10 | 12 | 10 | 7 | 12 |
10 | 12 | 12 | 16 | 12 | 14 | 24 |
12 | 16 | 16 | 20 | 16 | 25 | 42 |
16 | 20 | 20 | 25 | 20 | 63 | 105 |
20 | 25 | 25 | 30 | 25 | 126 | 210 |
24 | 30 | 30 | 35 | 30 | 200 | 332 |
<a> Минимальные испытуемые длины, это длины, указанные в стандартах на изделие ниже пунктирной линии, т.е. длины, имеющие нормальную глубину шестигранного углубления. |
Твердость поверхности установочных винтов должна соответствовать указанной в таблице 4.
Таблица 4
Метод испытания | Класс твердости |
12H | 21H |
Твердость |
По Виккерсу HV | От 125 до 209 | Не менее 210 |
По Бринеллю HB | От 123 до 213 | Не менее 214 |
По Роквеллу HRB | От 70 до 95 | Не менее 96 |
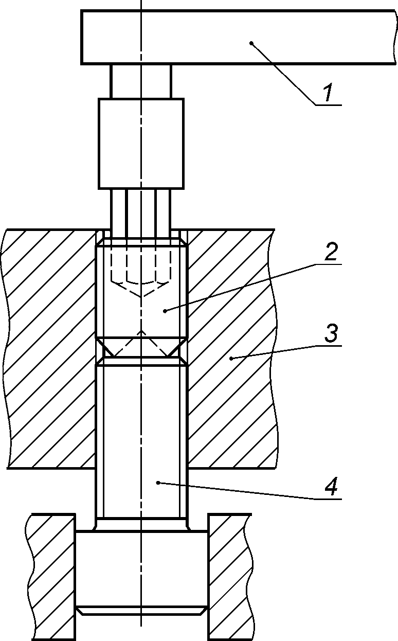
6.1. Испытание разрушающего крутящего момента установочных винтов с шестигранным углублением
Установочный винт должен быть помещен в испытательный блок (см.
рисунок 2) так, чтобы верхняя поверхность винта совпадала с поверхностью блока, а конец винта упирался в твердую поверхность, например в опорный винт, установленный с противоположной стороны блока.
1 - гаечный ключ с ограничением по крутящему моменту;
2 - испытуемый установочный винт; 3 - испытательный блок
твердостью не менее 50 HRC с допуском 5H (по ISO 965-3)
для внутренней резьбы; 4 - опорный винт
твердостью от 450 до 570 HV
Рисунок 2 - Схема оборудования для испытания
на крутящий момент
Установочный винт должен выдерживать указанный в
таблице 3 крутящий момент без трещин, изломов или смятия резьбы, при использовании шестигранного испытательного ключа с допуском размера под ключ h9, минимальным диаметром описанной окружности, равным 1,13
Smin и имеющего твердость от 50 до 55 HRC, вставленного на полную глубину в шестигранное углубление.
При измерении крутящего момента во время испытаний должен быть использован откалиброванный измерительный инструмент.
Визуальные следы на установочном винте после проведения испытания не являются причиной отбраковки.
6.2. Испытание установочных винтов на твердость HB, HRC или HV
Испытание на твердость проводят по ISO 6506-1 (HB), ISO 6508-1 (HRC) или ISO 6507-1 (HV). В спорных случаях решающим условием для приемки является испытание на твердость по Виккерсу (HV) (см.
таблицу 4).
Методы испытаний - по ISO 898-5.
(обязательное)
ОПИСАНИЕ КЛАССОВ И МАРОК НЕРЖАВЕЮЩИХ СТАЛЕЙ
A.1 Общие положения
Во всех частях ISO 3506 описаны стали марок от A1 до A5, от C1 до C4 и F1, входящие в состав следующих классов сталей:
- аустенитная сталь от A1 до A5;
- мартенситная сталь от C1 до C4;
- ферритная сталь F1.
Характеристики перечисленных классов и марок сталей описаны в данном приложении.
Также в данном приложении приведена информация о нестандартизованном классе сталей FA, имеющем ферритно-аустенитную структуру.
A.2 Стали класса A (аустенитная структура)
A.2.1 Общие положения
Во всех частях ISO 3506 описаны пять основных марок аустенитных сталей - от A1 до A5. Стали этих марок не могут подвергаться закалке, и они обычно немагнитные. Для повышения износостойкости в стали марок от A1 до A5 может быть добавлена медь, как указано в
таблице 2.
Для нестабилизированных сталей марок A2 и A4 применимо следующее:
- так как оксид хрома повышает коррозионную стойкость стали, для нестабилизированных сталей имеет большое значение низкое содержание углерода. Из-за высокого сродства хрома и углерода вместо оксида хрома получается карбид хрома, особенно при повышенных температурах (см.
приложение D).
Для стабилизированных сталей марок A3 и A5 применимо следующее:
- элементы Ti, Nb или Ta воздействуют на углерод и позволяют оксиду хрома проявить свои свойства в полной мере.
Для применения в открытом море или похожих условиях требуются стали с содержанием примерно 20% хрома и никеля и от 4,5% до 6,5% - молибдена.
В случае высокой вероятности коррозии должны быть проведены консультации с экспертами.
A.2.2 Стали марки A1
Стали марки A1 разработаны специально для применения в машиностроении. Из-за высокого содержания серы стали этой марки менее коррозионно-стойкие, чем другие марки сталей этой группы.
A.2.3 Стали марки A2
Стали марки A2 являются наиболее часто применяемыми нержавеющими сталями. Они применяются для кухонного оборудования и аппаратов для химической промышленности. Стали этой марки неприменимы при использовании неокисляющей кислоты и хлоросодержащих соединений, как например в морской воде и плавательных бассейнах.
A.2.4 Стали марки A3
Стали марки A3 являются стабилизированными нержавеющими сталями со свойствами сталей марки A2.
A.2.5 Стали марки A4
Стали марки A4 кислотоустойчивые, легированы молибденом и более коррозионно-стойкие. Стали марки A4 наиболее востребованы в бумажной промышленности, так как эта марка разработана для работы с серной кислотой (отсюда и название "кислотоустойчивые"), а также в некоторой степени подходят для работы в хлоросодержащей среде. Стали марки A4 также часто применяют в пищевой и кораблестроительной промышленности.
A.2.6 Стали марки A5
Стали марки A5 являются стабилизированными, кислотоустойчивыми сталями со свойствами сталей марки A4.
A.3 Стали класса F (ферритная структура)
A.3.1 Общие положения
Во всех частях ISO 3506 описана одна марка ферритных сталей F1. Стали этого класса обычно не допускается подвергать закалке и не следует подвергать закалке в тех случаях, когда она возможна. Стали марки F1 - магнитные.
A.3.2 Стали марки F1
Стали марки F1 обычно используют для несложного оборудования, за исключением суперферритов, имеющих очень низкое содержание углерода и азота. Такие стали могут заменять стали марок A2 и A3 и использоваться в среде с высоким содержанием хлора.
A.4 Стали класса C (мартенситная структура)
A.4.1 Общие положения
Во всех частях ISO 3506 описаны мартенситные стали марок C1, C3 и C4. Стали этого класса могут закаливаться до очень высокой прочности. Стали этого класса - магнитные.
A.4.2 Стали марки C1
Стали марки C1 имеют ограниченную коррозионную стойкость. Они применяются в турбинах, насосах и для ножей.
A.4.3 Стали марки C3
Стали марки C3 имеют ограниченную коррозионную стойкость, хотя и лучшую, чем стали марки C1. Они применяются в насосах и клапанах.
A.4.4 Стали марки C4
Стали марки C4 имеют ограниченную коррозионную стойкость. Они применяются в машиностроении, в остальном они схожи со сталями марки C1.
A.5 Стали класса FA (ферритно-аустенитная структура)
Стали класса FA не описаны во всех частях ISO 3506, но, вероятно, будут описаны в будущей версии.
Стали этого класса называют дуплексными сталями. Первые разработанные стали FA имели некоторые недоработки, которые были устранены в сталях, разработанных позже. Стали класса FA лучше, чем стали марок A4 и A5 особенно по прочностным характеристикам. Стали класса FA также имеют повышенное сопротивление точечной коррозии и коррозионному растрескиванию.
Примеры химического состава сталей этого класса приведены в таблице A.1.
Таблица A.1
Примеры состава сталей с ферритно-аустенитной структурой
Класс стали | Химический состав, массовая доля, % |
C, не более | Si | Mn | Cr | Ni | Mo | N |
Ферритно-аустенитные | 0,03 | 1,7 | 1,5 | 18,5 | 5 | 2,7 | 0,07 |
0,03 | < 1 | < 2 | 22 | 5,5 | 3 | 0,14 |
(справочное)
ХИМИЧЕСКИЙ СОСТАВ АУСТЕНИТНЫХ НЕРЖАВЕЮЩИХ СТАЛЕЙ
(Выдержки из ISO 683-13:1986 <1>
[1])
--------------------------------
<1> Международный стандарт отменен.
Таблица B.1
Химический состав аустенитных нержавеющих сталей
| массовая доля, % | Обозначение сорта стали <d> |
C | Si | Mn | P | S | N | Al | Cr | Mo | | Ni | Se, не менее | Ti | Cu |
не более |
10 | 0,03 | 1,0 | 2,0 | 0,045 | <= 0,03 | - | - | 17,0 - 19,0 | - | - | 9,0 - 12,0 | - | - | - | |
11 | 0,07 | 1,0 | 2,0 | 0,045 | <= 0,03 | - | - | 17,0 - 19,0 | - | - | 8,0 - 11,0 | - | - | - | A2 |
15 | 0,08 | 1,0 | 2,0 | 0,045 | <= 0,03 | - | - | 17,0 - 19,0 | - | - | 9,0 - 12,0 | - | 5 x %C <= 0,8 | - | |
16 | 0,08 | 1,0 | 2,0 | 0,045 | <= 0,03 | - | - | 17,0 - 19,0 | - | 10 x %С <= 1,0 | 9,0 - 12,0 | - | - | - | |
17 | 0,12 | 1,0 | 2,0 | 0,060 | 0,15 - 0,35 | - | - | 17,0 - 19,0 | | - | | - | - | - | A1 |
13 | 0,10 | 1,0 | 2,0 | 0,045 | <= 0,03 | - | - | 17,0 - 19,0 | - | - | 11,0-13,0 | - | - | - | A2 |
19 | 0,03 | 1,0 | 2,0 | 0,045 | <= 0,03 | - | - | 16,5 - 18,5 | 2,0 - 2,5 | - | 11,0 - 14,0 | - | - | - | A4 |
20 | 0,07 | 1,0 | 2,0 | 0,045 | <= 0,03 | - | - | 16,5 - 18,5 | 2,0 - 2,5 | - | 10,5 - 13,5 | - | - | - | A4 |
21 | 0,08 | 1,0 | 2,0 | 0,045 | <= 0,03 | - | - | 16,5 - 18,5 | 2,0 - 2,5 | - | 11,0 - 14,0 | - | 5 x %C <= 0,8 | - | |
23 | 0,08 | 1,0 | 2,0 | 0,045 | <= 0,03 | - | - | 16,5 - 18,5 | 2,0 - 2,5 | 10 x %C <= 1,0 | 11,0 - 14,0 | - | - | - | |
19a | 0,03 | 1,0 | 2,0 | 0,045 | <= 0,03 | - | - | 16,5 - 18,5 | 2,5 - 3,0 | - | 11,5 - 14,5 | - | - | - | A4 |
20a | 0,07 | 1,0 | 2,0 | 0,045 | <= 0,03 | - | - | 16,5 - 18,5 | 2,5 - 3,0 | - | 11,0 - 14,0 | - | - | - | A4 |
10N | 0,03 | 1,0 | 2,0 | 0,045 | <= 0,03 | 0,12 - 0,22 | - | 17,0 - 19,0 | - | - | 8,5 - 11,5 | - | - | - | A2 |
19N | 0,03 | 1,0 | 2,0 | 0,045 | <= 0,03 | 0,12 - 0,22 | - | 16,5 - 18,5 | 2,0 - 2,5 | - | 10,5 - 13,5 | - | - | - | |
19aN | 0,03 | 1,0 | 2,0 | 0,045 | <= 0,03 | 0,12 - 0,22 | - | 16,5 - 18,5 | 2,5 - 3,0 | - | 11,5 - 14,5 | - | - | - | |
<a> Номера типов временные и подлежат изменению при пересмотре прежнего соответствующего стандарта. <b> Неуказанные элементы не должны добавляться в сталь без соглашения между изготовителем и потребителем стали, за исключением элементов, предназначенных для завершения плавления. Должны быть приняты все необходимые меры предосторожности, чтобы предотвратить попадание в сталь, из отходов и материалов, используемых при производстве, элементов, которые могут повлиять на прочность, механические свойства и применяемость стали. <c> Тантал обозначен как ниобий. <e> Высокая стойкость к межкристаллитной коррозии. <f> Стабилизированные стали. <g> Изготовитель может добавить массовую долю Mo менее 0,70%. <h> Максимальная массовая доля Ni для холодной обработки давлением заготовок в бесшовных матрицах может быть увеличена на 0,5%. |
(справочное)
АУСТЕНИТНЫЕ НЕРЖАВЕЮЩИЕ СТАЛИ ДЛЯ ХОЛОДНОЙ
ВЫСАДКИ И ШТАМПОВКИ
(Выдержки из ISO 4954:1993)
Таблица C.1
Аустенитные нержавеющие стали для холодной
высадки и штамповки
| массовая доля, % | Обозначение марки стали <c> |
Номер | Наименование | По ISO 4954:1979 | C | Si | Mn | P | S | Cr | Mo | Ni | Прочие |
не более |
78 | X 2 CrNi 18 10 E | D 20 | <= 0,03 | 1,00 | 2,00 | 0,045 | 0,030 | 17,0 - 19,0 | | 9,0 - 12,0 | | |
79 | X 5 CrNi 18 9 E | D 21 | <= 0,07 | 1,00 | 2,00 | 0,045 | 0,030 | 17,0 - 19,0 | | 8,0 - 11,0 | | A2 |
80 | X 10 CrNi 18 9 E | D 22 | <= 0,12 | 1,00 | 2,00 | 0,045 | 0,030 | 17,0 - 19,0 | | 8,0 - 10,0 | | A2 |
81 | X 5 CrNi 18 12 E | D 23 | <= 0,07 | 1,00 | 2,00 | 0,045 | 0,030 | 17,0 - 19,0 | | 11,0 - 13,0 | | A2 |
82 | X 6 CrNi 18 16 E | D 25 | <= 0,08 | 1,00 | 2,00 | 0,045 | 0,030 | 15,0 - 17,0 | | 17,0 - 19,0 | | A2 |
83 | X 6 CrNiTi 18 10 E | D 26 | <= 0,08 | 1,00 | 2,00 | 0,045 | 0,030 | 17,0 - 19,0 | | 9,0 - 12,0 | Ti: | 5 x %C, <= 0,8 | |
84 | X 5 CrNiMo 17 12 2 E | D 29 | <= 0,07 | 1,00 | 2,00 | 0,045 | 0,030 | 16,5 - 18,5 | 2,0 - 2,5 | 10,5 - 13,5 | | A4 |
85 | X 6 CrNiMoTi 17 12 2 E | D 30 | <= 0,08 | 1,00 | 2,00 | 0,045 | 0,030 | 16,5 - 18,5 | 2,0 - 2,5 | 11,0 - 14,0 | Ti: | 5 x %C, <= 0,8 | |
86 | X 2 CrNiMo 17 13 3 E | - | <= 0,03 | 1,00 | 2,00 | 0,045 | 0,030 | 16,5 - 18,5 | 2,5 - 3,0 | 11,5 - 14,5 | | |
87 | X 2 CrNiMoN 17 13 3 E | - | <= 0,03 | 1,00 | 2,00 | 0,045 | 0,030 | 16,5 - 18,5 | 2,5 - 3,0 | 11,5 - 14,5 | N: | 0,12 - 0,22 | |
88 | X 3 CrNiCu 18 9 3 E | D 32 | <= 0,04 | 1,00 | 2,00 | 0,045 | 0,030 | 17,0 - 19,0 | | 8,5 - 10,5 | Cu: | 3,00 - 4,00 | A2 |
<a> В первой графе приведены последовательные номера. Во второй графе приведены обозначения в соответствии с системой, предложенной Международным техническим комитетом ИСО/ТК 17/ПК 2. В третьей графе приведены устаревшие номера по ISO 4954:1979 (пересмотрен - ISO 4954:1993). <b> Элементы, не указанные в данной таблице, не должны добавляться в сталь без соглашения между изготовителем и потребителем стали, за исключением элементов, предназначенных для завершения плавления. Должны быть приняты все необходимые меры предосторожности, чтобы предотвратить попадание в сталь, из отходов и материалов, используемых при производстве, элементов, которые могут повлиять на механические свойства и применяемость стали. <d> Очень высокое сопротивление межкристаллитной коррозии. <e> Стабилизированные стали. |
(справочное)
ТЕМПЕРАТУРНО-ВРЕМЕННАЯ ДИАГРАММА МЕЖКРИСТАЛЛИТНОЙ КОРРОЗИИ
В АУСТЕНИТНОЙ НЕРЖАВЕЮЩЕЙ СТАЛИ МАРКИ A2 (18/8 СТАЛИ)
На
рисунке D.1 показано приблизительное время появления риска межкристаллитной коррозии для аустенитной нержавеющей стали марки A2 (стали 18/8) с различным содержанием углерода при температуре от 550 °C до 925 °C.
Примечание - С уменьшением содержания углерода устойчивость к межкристаллитной коррозии улучшается.
X - время, выраженное в минутах;
Y - температура, выраженная в градусах Цельсия
Рисунок D.1 - Температурно-временная диаграмма
межкристаллитной коррозии в аустенитной нержавеющей
стали марки A2
(справочное)
МАГНИТНЫЕ СВОЙСТВА АУСТЕНИТНЫХ НЕРЖАВЕЮЩИХ СТАЛЕЙ
Там, где требуются особенные магнитные свойства необходимо консультироваться у опытного металлурга.
Все крепежные изделия из аустенитных нержавеющих сталей при нормальных условиях - немагнитные, но после холодного деформирования возможно появление некоторых магнитных свойств.
Каждый материал характеризуется способностью намагничиваться, это применимо и к нержавеющим сталям. Только вакуум может быть полностью немагнитным. Магнитную проницаемость материала обозначают коэффициентом

, показывающим отношение магнитной проницаемости материала к магнитной проницаемости вакуума. Материал имеет низкую магнитную проницаемость, если его коэффициент

близок к 1.
Пример 1:
A2:

.
Пример 2:
A4:

.
Пример 3:
A4L:

.
Пример 4:
F1:

.
(справочное)
ХИМИЧЕСКИЙ СОСТАВ КОРРОЗИОННО-СТОЙКИХ СТАЛЕЙ
Таблица ДА.1
Химический состав коррозионно-стойких сталей
Марка стали | Химический состав, % | Обозначение марки крепежных изделий <1> |
N марки | Наименование класса, марка стали | C | Si max | Mn max | P max | S max | Cr | Mo | Ni | Ti |
6-4 | 03Х17Н14М3 | 0,03 max | 0,4 | 1 - 2 | 0,030 | 0,020 | 16,8 - 18,3 | 2,2 - 2,8 | 13,5 - 15 | - | A4 |
6-20 | 08Х17Н13М2Т | 0,08 max | 0,8 | 2 | 0,035 | 0,020 | 16 - 18 | 2 - 3 | 12 - 14 | 5 x C - 0,7 | A5 |
6-35 | 10Х17Н13М2Т | 0,10 max | 0,8 | 2,0 | 0,035 | 0,020 | 16 - 18 | 2 - 3 | 12 - 14 | 5 x C - 0,7 | A5 |
6-36 | 10Х17Н13М3Т | 0,10 max | 0,8 | 2,0 | 0,035 | 0,020 | 16 - 18 | 3 - 4 | 12 - 14 | 5 x C - 0,7 | A5 |
6-40 | 12Х18Н9 | 0,12 max | 0,8 | 2,0 | 0,035 | 0,020 | 17 - 19 | - | 8 - 10 | - | A1 |
6-41 | 12Х18Н9Т | 0,12 max | 0,8 | 2,0 | 0,035 | 0,020 | 17 - 19 | - | 8 - 10 | 5 x C - 0,8 | A3 |
6-11 | 04Х18Н10 | 0,04 max | 0,8 | 2,0 | 0,030 | 0,020 | 17 - 19 | - | 9 - 11 | - | A2 |
6-22 | 08Х18Н10 | 0,08 max | 0,8 | 2,0 | 0,035 | 0,020 | 17 - 19 | - | 9 - 11 | - | A2 |
6-23 | 08Х18Н10Т | 0,08 max | 0,8 | 2,0 | 0,035 | 0,020 | 17 - 19 | - | 9 - 11 | 5 x C - 0,7 | A3 |
6-42 | 12Х18Н10Т | 0,12 max | 0,8 | 2,0 | 0,035 | 0,020 | 17 - 19 | - | 9 - 11 | 5 x C - 0,8 | A3 |
6-6 | 03Х18Н11 | 0,03 max | 0,8 | 2,0 | 0,030 | 0,020 | 17 - 19 | - | 10,5 - 12,5 | - | A2 |
6-14 | | 0,06 max | 0,8 | 2,0 | 0,035 | 0,020 | 17 - 19 | - | 10 - 12 | - | A2 |
6-7 | | 0,03 max | 0,4 | 0,4 | 0,030 | 0,020 | 17 - 19 | - | 11,5 - 13,0 | 0,005 max | A2 |
6-24 | 08Х18Н12Т | 0,08 max | 0,8 | 2,0 | 0,035 | 0,020 | 17 - 19 | - | 11 - 13 | 5 x C - 0,6 | A3 |
<2> Не допускаются к применению во вновь создаваемой и модернизируемой технике. |
(справочное)
СВЕДЕНИЯ О СООТВЕТСТВИИ МЕЖГОСУДАРСТВЕННЫХ СТАНДАРТОВ
ССЫЛОЧНЫМ МЕЖДУНАРОДНЫМ СТАНДАРТАМ
Таблица ДБ.1
Сведения о соответствии межгосударственных стандартов
ссылочным международным стандартам
Обозначение ссылочного международного стандарта | Степень соответствия | Обозначение и наименование межгосударственного стандарта |
ISO 68-1:1998 Резьбы ISO винтовые общего назначения. Основной профиль. Часть 1. Метрические винтовые резьбы | MOD | ГОСТ 9150-2002 (ISO 68-1:1998) <*> Основные нормы взаимозаменяемости. Резьба метрическая. Профиль |
ISO 261:1998 Резьбы метрические ISO общего назначения. Общий вид | MOD | ГОСТ 8724-2002 (ISO 261:1998) <*> Основные нормы взаимозаменяемости. Резьба метрическая. Диаметры и шаги |
ISO 262:1998 Резьбы ISO метрические общего назначения. Выбранные размеры для винтов, болтов и гаек | - | |
ISO 898-5:2012 Механические свойства крепежных изделий из углеродистых и легированных сталей. Часть 5. Установочные винты и аналогичные резьбовые крепежные изделия установленных классов твердости с крупным и мелким шагом резьбы | IDT | ГОСТ ISO 898-5-2014 Механические свойства крепежных изделий из углеродистых и легированных сталей. Часть 5. Установочные винты и аналогичные резьбовые крепежные изделия установленных классов твердости с крупным и мелким шагом резьбы |
ISO 3651-1:1998 Стали нержавеющие. Определение стойкости к межкристаллитной коррозии. Часть 1. Аустенитные и ферритно-аустенитные (дуплекс) нержавеющие стали. Коррозионное испытание в азотной кислоте посредством измерения потери массы (метод Хью) | MOD | ГОСТ 6032-2003 (ISO 3651-1:1998, ISO 3651-2:1998) <*> Стали и сплавы коррозионно-стойкие. Методы испытаний на стойкость к межкристаллитной коррозии |
ISO 3651-2:1998 Стали нержавеющие. Определение стойкости к межкристаллитной коррозии. Часть 2. Ферритные, аустенитные и ферритно-аустенитные (дуплекс) нержавеющие стали. Коррозионное испытание в среде, содержащей серную кислоту | MOD | ГОСТ 6032-2003 (ISO 3651-1:1998, ISO 3651-2:1998) <*> Стали и сплавы коррозионно-стойкие. Методы испытаний на стойкость к межкристаллитной коррозии |
ISO 6506-1:2005 Материалы металлические. Определение твердости по Бринеллю. Часть 1. Метод испытания | NEQ | |
ISO 6507-1:2005 Материалы металлические. Определение твердости по Виккерсу. Часть 1. Метод испытания | NEQ | |
ISO 6508-1:2005 Материалы металлические. Определение твердости по Роквеллу. Часть 1: Метод испытания | NEQ | |
--------------------------------
Окончание таблицы ДБ.1
Обозначение ссылочного международного стандарта | Степень соответствия | Обозначение и наименование межгосударственного стандарта |
ISO 16048:2003 Пассивация крепежных изделий из коррозионно-стойкой нержавеющей стали | IDT | |
ISO 16426:2002 Изделия крепежные. Система обеспечения качества | IDT | ГОСТ ISO 16426... <1> Изделия крепежные. Система обеспечения качества |
<*> Внесенные технические отклонения обеспечивают выполнение требований настоящего стандарта. <**> Соответствующий межгосударственный стандарт отсутствует. До его утверждения рекомендуется использовать перевод на русский язык данного международного стандарта. Перевод данного международного стандарта находится в Федеральном информационном фонде технических регламентов и стандартов. |
Примечание - В настоящей таблице использованы следующие условные обозначения степени соответствия стандартов: - IDT - идентичные стандарты; - MOD - модифицированные стандарты; - NEQ - неэквивалентные стандарты. |
--------------------------------
<1> Стандарт находится в процессе разработки. На территории России действует ГОСТ Р ИСО 16426-2009 (ISO 16426:2002, IDT).
| ISO 683-13:1986 <1>, Heat-treated steels, alloy steels and free cutting steels - Part 13: Wrought stainless steels |
[2] | ISO 965-3, ISO general purpose metric screw threads - Tolerances - Part 3: Deviations for constructional screw threads |
[3] | ISO 4954:1993, Steels for cold heading and cold extruding |
[4] | ГОСТ 5632-2014 Легированные нержавеющие стали и сплавы коррозионно-стойкие, жаростойкие и жаропрочные. Марки |
--------------------------------
<1> Международный стандарт отменен.