Главная // Актуальные документы // ГОСТ (Государственный стандарт)
СПРАВКА
Источник публикации
М.: Стандартинформ, 2016
Примечание к документу
Документ введен в действие с 1 апреля 2017 года.
Название документа
"ГОСТ EN 12758-2015. Межгосударственный стандарт. Стекло и изделия из него. Показатели звукоизоляции"
(введен в действие Приказом Росстандарта от 03.03.2016 N 108-ст)

"ГОСТ EN 12758-2015. Межгосударственный стандарт. Стекло и изделия из него. Показатели звукоизоляции"
(введен в действие Приказом Росстандарта от 03.03.2016 N 108-ст)


Содержание


Введен в действие
Приказом Федерального
агентства по техническому
регулированию и метрологии
от 3 марта 2016 г. N 108-ст
МЕЖГОСУДАРСТВЕННЫЙ СТАНДАРТ
СТЕКЛО И ИЗДЕЛИЯ ИЗ НЕГО
ПОКАЗАТЕЛИ ЗВУКОИЗОЛЯЦИИ
Glass and glass products. Sound insulation values
(EN 12758:2011,
Glass in building - Glazing and airborne sound insulation
- Product descriptions and determination of properties,
IDT)
ГОСТ EN 12758-2015
МКС 81.040.01
Дата введения
1 апреля 2017 года
Предисловие
Цели, основные принципы и основной порядок проведения работ по межгосударственной стандартизации установлены ГОСТ 1.0-92 "Межгосударственная система стандартизации. Основные положения" и ГОСТ 1.2-2009 "Межгосударственная система стандартизации. Стандарты межгосударственные, правила и рекомендации по межгосударственной стандартизации. Правила разработки, принятия, применения, обновления и отмены"
Сведения о стандарте
1 ПОДГОТОВЛЕН Открытым акционерным обществом "Институт стекла" (ТК 41 "Стекло") на основе собственного перевода на русский язык англоязычной версии стандарта, указанного в пункте 5
2 ВНЕСЕН Федеральным агентством по техническому регулированию и метрологии (Росстандарт)
3 ПРИНЯТ Межгосударственным советом по стандартизации, метрологии и сертификации (протокол от 27 октября 2015 г. N 81-П)
За принятие проголосовали:
Краткое наименование страны по МК (ИСО 3166) 004-97
Код страны по МК (ИСО 3166) 004-97
Сокращенное наименование национального органа по стандартизации
Армения
AM
Минэкономики Республики Армения
Беларусь
BY
Госстандарт Республики Беларусь
Киргизия
KG
Кыргызстандарт
Россия
RU
Росстандарт
Таджикистан
TJ
Таджикстандарт
4 Приказом Федерального агентства по техническому регулированию и метрологии от 3 марта 2016 г. N 108-ст межгосударственный стандарт ГОСТ EN 12758-2015 введен в действие в качестве национального стандарта Российской Федерации с 1 апреля 2017 г.
5 Настоящий стандарт идентичен европейскому региональному стандарту EN 12758:2011 Glass in building - Glazing and airborne sound insulation - Product descriptions and determination of properties (Стекло в строительстве. Остекление и изоляция воздушного шума. Описание продукции и определение свойств).
Европейский стандарт разработан техническим комитетом CEN/TC 129 "Стекло в строительстве" Европейского комитета по стандартизации (CEN).
Наименование настоящего стандарта изменено относительно наименования указанного европейского стандарта для приведения в соответствие с ГОСТ 1.5 (подраздел 3.6).
При применении настоящего стандарта рекомендуется использовать вместо ссылочных европейских и международных стандартов соответствующие им межгосударственные стандарты, сведения о которых приведены в дополнительном приложении ДА.
В стандарт включены дополнительные приложения ДБ и ДВ, в которых приведены рекомендации по применению стандарта и термины и определения основных понятий в области звукоизоляции
6 ВВЕДЕН ВПЕРВЫЕ
7 Некоторые положения европейского стандарта, указанного в пункте 5, могут являться объектом патентных прав. Европейский комитет по стандартизации (CEN) не несет ответственности за идентификацию подобных патентных прав
Информация об изменениях к настоящему стандарту публикуется в ежегодном информационном указателе "Национальные стандарты", а текст изменений и поправок - в ежемесячном информационном указателе "Национальные стандарты". В случае пересмотра (замены) или отмены настоящего стандарта соответствующее уведомление будет опубликовано в ежемесячном информационном указателе "Национальные стандарты". Соответствующая информация, уведомление и тексты размещаются также в информационной системе общего пользования - на официальном сайте Федерального агентства по техническому регулированию и метрологии в сети Интернет
1. Область применения
Настоящий стандарт устанавливает показатели звукоизоляции изделий из стекла (в том числе прозрачного, просвечивающего, глушеного), предназначенных для использования в остеклении зданий и сооружений.
В настоящем стандарте приведена методика оценки звукоизоляции изделий из стекла, позволяющая оценить их соответствие требованиям шумозащиты зданий.
Данная методика позволяет оценить звукоизоляцию изделий из стекла с достаточной степенью достоверности.
Применение принципов настоящего стандарта упрощает формулирование требований к звукоизоляции изделий из стекла в нормативных документах в области строительства с учетом особенностей остекления.
Условия измерения звукоизоляции, приведенные в EN ISO 10140, относятся только к листам стекла и их комбинациям. Те же условия следует соблюдать для конструкций из стеклянных блоков, плит, профильного стекла, структурного остекления, сборных конструкций, однако вследствие их конструктивных особенностей неизбежно возникает необходимость в некоторых компромиссах. Рекомендации об изменении условий измерения для этих конструкций приведены в разделе 5.
Положения настоящего стандарта относятся только к листам стекла/изделиям из стекла. Встраивание их в окна может вызвать изменение показателей звукоизоляции в результате влияния, например, конструкции и материала рамы, материала/метода остекления, способа крепления, воздухонепроницаемости и т.д. С целью учета такого влияния возможно проведение измерений звукоизоляции окон в сборе (стекло и рама).
2. Нормативные ссылки
Для применения настоящего стандарта необходимы следующие ссылочные документы. Для датированных ссылок применяют только указанное издание ссылочного документа. Для недатированных ссылок применяют последнее издание ссылочного документа (включая все его изменения).
EN 572-1 Glass in building - Basic soda lime silicate glass products - Part 1: Definitions and general physical and mechanical properties (Стекло в строительстве. Базовые изделия из натрий-кальций-силикатного стекла. Часть 1. Определения и основные физические и механические свойства)
EN 572-2 Glass in Building - Basic soda lime silicate glass products - Part 2: Float glass (Стекло в строительстве. Базовые изделия из натрий-кальций-силикатного стекла. Часть 2. Флоат-стекло)
EN 572-3 Glass in Building - Basic soda lime silicate glass products - Part 3: Polished wired glass (Стекло в строительстве. Базовые изделия из натрий-кальций-силикатного стекла. Часть 3. Полированное армированное стекло)
EN 572-4 Glass in building - Basic soda lime silicate glass products - Part 4: Drawn sheet glass (Стекло в строительстве. Базовые изделия из натрий-кальций-силикатного стекла. Часть 4. Тянутое листовое стекло)
EN 572-5 Glass in Building - Basic soda lime silicate glass products - Part 5: Patterned glass (Стекло в строительстве. Базовые изделия из натрий-кальций-силикатного стекла. Часть 5. Узорчатое стекло)
EN 572-6 Glass in building - Basic soda lime silicate glass products - Part 6: Wired patterned glass (Стекло в строительстве. Базовые изделия из натрий-кальций-силикатного стекла. Часть 6. Армированное узорчатое стекло)
EN 572-7 Glass in Building - Basic soda lime silicate glass products - Part 7: Wired or unwired channel shaped glass (Стекло в строительстве. Базовые изделия из натрий-кальций-силикатного стекла. Часть 7. Армированное или неармированное профильное стекло)
EN 1051-1 Glass in building - Glass blocks and glass pavers - Part 1: Definitions and description (Стекло в строительстве. Стеклянные блоки и стеклянные плиты. Часть 1. Определения и описание)
EN 1096-1 Glass in building - Coated glass - Part 1: Definitions and classification (Стекло в строительстве. Стекло с покрытием. Часть 1. Определения и классификация)
EN 1279-1 Glass in building - Insulating glass units - Part 1: Generalities, dimensional tolerances and rules for the system description (Стекло в строительстве. Стеклопакеты. Часть 1. Основные положения, отклонения размеров и правила описания системы)
EN 1748-1-1 Glass in building - Special basic products - Borosilicate glasses - Part 1-1: Definition and general physical and mechanical properties (Стекло в строительстве. Специальные базовые изделия. Боросиликатные стекла. Часть 1-1. Определения и основные физические и механические свойства)
EN 1748-2-1 Glass in building - Special basic products - Glass ceramics - Part 2-1: Definitions and general physical and mechanical properties (Стекло в строительстве. Специальные базовые изделия. Стеклокерамика. Часть 2-1. Определения и основные физические и механические свойства)
EN 1863-1 Glass in building - Heat strengthened soda lime silicate glass - Part 1: Definition and description (Стекло в строительстве. Термоупрочненное натрий-кальций-силикатное стекло. Часть 1. Определение и описание)
EN 12150-1 Glass in building - Thermally toughened soda lime silicate safety glass - Part 1: Definition and description (Стекло в строительстве. Закаленное натрий-кальций-силикатное безопасное стекло. Часть 1. Определение и описание)
EN 12337-1 Glass in building - Chemically strengthened soda lime silicate glass - Part 1: Definition and description (Стекло в строительстве. Химически упрочненное натрий-кальций-силикатное стекло. Часть 1. Определение и описание)
EN 13024-1 Glass in building - Thermally toughened borosilicate safety glass - Part 1: Definition and description (Стекло в строительстве. Закаленное боросиликатное безопасное стекло. Часть 1. Определение и описание)
EN 14178-1 Glass in building - Basic alkaline earth silicate glass products - Part 1: Float glass (Стекло в строительстве. Базовые изделия из щелочноземельного силикатного стекла. Часть 1. Флоат-стекло)
EN 14179-1 Glass in building - Heat soaked thermally toughened soda lime silicate safety glass - Part 1: Definition and description (Стекло в строительстве. Термовыдержанное закаленное натрий-кальций-силикатное безопасное стекло. Часть 1. Определение и описание)
EN 14321-1 Glass in building - Thermally toughened alkaline earth silicate safety glass - Part 1: Definition and description (Стекло в строительстве. Закаленное щелочноземельное силикатное безопасное стекло. Часть 1. Определение и описание)
prEN 15681-1 Glass in building - Basic alumino silicate glass products - Part 1: Definitions and general physical and mechanical properties (Стекло в строительстве. Базовые изделия из алюмосиликатного стекла. Часть 1. Определения и основные физические и механические свойства)
prEN 15682-1 Glass in building - Heat soaked thermally toughened alkaline earth silicate safety glass - Part 1: Definition and description (Стекло в строительстве. Термовыдержанное закаленное щелочноземельное силикатное безопасное стекло. Часть 1. Определение и описание)
prEN 15683-1 Glass in building - Thermally toughened soda lime silicate channel shaped safety glass - Part 1: Definition and description (Стекло в строительстве. Закаленное натрий-кальций-силикатное профильное безопасное стекло. Часть 1. Определение и описание)
EN ISO 10140:2010 (all parts) Acoustics - Laboratory measurement of sound insulation of building elements (Акустика. Лабораторные измерения звукоизоляции элементов зданий (все части))
EN ISO 717-1:1996 Acoustics - Rating of sound insulation in buildings and of building elements - Part 1: Airborne sound insulation (ISO 717-1:1996) (Акустика. Оценка звукоизоляции зданий и элементов зданий. Часть 1. Изоляция воздушного шума)
EN ISO 12543-1 Glass in building - Laminated glass and laminated safety glass - Part 1: Definitions and description of component parts (ISO 12543-1:1998) (Стекло в строительстве. Многослойное и многослойное безопасное стекло. Часть 1. Определения и описание компонентов)
EN ISO 12543-2 Glass in building - Laminated glass and laminated safety glass - Part 2: Laminated safety glass (ISO 12543-2:1998) (Стекло в строительстве. Многослойное и многослойное безопасное стекло. Часть 2. Многослойное безопасное стекло)
EN ISO 12543-3 Glass in building - Laminated glass and laminated safety glass - Part 3: Laminated glass (ISO 12543-3:1998) (Стекло в строительстве. Многослойное и многослойное безопасное стекло. Часть 3. Многослойное стекло)
ISO 140-2:1991 Acoustics - Measurement of sound insulation in buildings and of building elements - Part 2: Determination, verification and application of precision data (Акустика. Измерение звукоизоляции зданий и элементов зданий. Часть 2. Определение, проверка и применение точных данных)
ISO 16940 Glass in building - Glazing and airborne sound insulation - Measurement of the mechanical impedance of laminated glass (Стекло в строительстве. Остекление и изоляция воздушного шума. Измерение механического сопротивления многослойного стекла)
3. Термины, определения и обозначения
3.1 Термины и определения
В настоящем стандарте применены термины по EN ISO 10140, ISO 140-2, EN ISO 717-1, а также следующие термины с соответствующими определениями:
3.1.1 изделие из стекла (glass product): Изделие, изготовленное из стекла, например базовое стекло, специальное базовое стекло, обработанное стекло, для использования в зданиях/сооружениях.
Примечание - См. раздел 4.
3.1.2 остекленная конструкция (glazed assembly): Комбинация рамы/опоры и изделия из стекла, используемая для измерения звукоизоляции.
Примечание 1 - Примеры таких конструкций:
1) стены из стеклянных блоков;
2) панели из стеклянных плит;
3) панели из профильного стекла (одинарное или двойное остекление);
4) структурное остекление;
5) сборные конструкции.
Примечание 2 - Размеры стеклянных блоков, плит и профильного стекла не позволяют проводить испытания этих изделий в стандартных условиях.
Примечание 3 - Структурное остекление - это система безрамного остекления, в которой для крепления изделия из стекла используется структурный герметик. Способ крепления влияет на показатели звукоизоляции изделия из стекла.
Примечание 4 - Сборные конструкции состоят из изделий из стекла, соединенных друг с другом и несущими конструкциями с помощью металлических болтовых соединений, например спайдеров и т.д.
3.1.3 однослойное остекление (single glazing): Один лист стекла (в т.ч. отожженного, закаленного, термоупрочненного, химически упрочненного, многослойного, многослойного безопасного, с покрытием), установленный в проем.
3.1.4 многослойное остекление (multiple glazing): Два или более листа стекла, разделенные герметичными или негерметичными промежутками.
Примечание 1 - Многослойное остекление с герметичными промежутками, например двухслойное остекление, трехслойное остекление и т.д., - это стеклопакеты.
Примечание 2 - Многослойное остекление с негерметичными промежутками, установленное в оконный проем, - это спаренное остекление, окна со спаренными или двойными створками, если в индивидуальной раме - дополнительная створка.
Примечание 3 - Если профильные стекла установлены в два ряда - это двойное остекление.
3.1.5 стеклопакет (insulating glass unit; IGU): Изделие, состоящее из двух или более листов стекла, разделенных одной или более дистанционными рамками, загерметизированное по контуру.
Примечание 1 - См. EN 1279-1.
Примечание 2 - Существуют конструкции, в которых дистанционная рамка и герметик объединены в единую систему краевой герметизации.
Примечание 3 - Камеры стеклопакетов могут быть заполнены осушенным воздухом или другим газом, например аргоном, ксеноном, криптоном и т.д.
3.1.6 многослойное/многослойное безопасное стекло (laminated/laminated safety glass): Изделие, состоящее из одного листа стекла и одного или более листов стекла и/или полимерного листового материала, соединенных между собой одним или более промежуточными слоями.
Примечание - См. EN ISO 12543-1.
3.1.7 промежуточный слой (interlayer): Материал, склеивающий и отделяющий друг от друга листы стекла и/или полимерного листового материала в многослойном стекле.
Примечание 1 - Промежуточный слой может придавать изделию дополнительные свойства, например ударостойкость, огнестойкость, защита от солнечного излучения, шумозащита.
Примечание 2 - Существует множество видов промежуточных слоев. Наиболее часто используют органические промежуточные слои. Однако для изделий с огнестойкими свойствами используют неорганические промежуточные слои.
3.1.8 звукопоглощающий промежуточный слой (acoustic interlayer): Промежуточный слой, повышающий звукоизолирующие свойства многослойного стекла.
Примечание - Промежуточный слой можно оценить по ISO 16940.
3.1.9 звукопоглощающий промежуточный слой эталонного стеклопакета (acoustic interlayer for reference glazing): Звукопоглощающий промежуточный слой с коэффициентом затухания звуковых колебаний 1-й моды, измеренным в соответствии с ISO 16940, равным или более 0,25.
3.2 Обозначения
R - звукоизоляция.
RW - индекс изоляции воздушного шума.
Rtr - индекс изоляции транспортного шума.
C - коэффициент согласования спектра.
Ctr - коэффициент согласования спектра транспортного шума.
4. Изделия из стекла
4.1 Базовые стекла
К базовым стеклам относят следующие изделия, изготовленные из натрий-кальций-силикатного стекла по EN 572-1:
- флоат-стекло .......................................... EN 572-2;
- полированное армированное стекло ...................... EN 572-3;
- тянутое листовое стекло ............................... EN 572-4;
- узорчатое стекло ...................................... EN 572-5;
- армированное узорчатое стекло ......................... EN 572-6;
- армированное и неармированное профильное стекло ....... EN 572-7;
- стеклянные блоки и плиты .............................. EN 1051-1.
4.2 Специальные базовые стекла
К специальным базовым стеклам относят следующие изделия, изготовленные из стекла разных химических составов:
- боросиликатное стекло ................................. EN 1748-1-1;
- стеклокерамика ........................................ EN 1748-2-1;
- щелочноземельное силикатное стекло .................... EN 14178-1;
- алюмосиликатное стекло ................................ prEN 15681-1.
4.3 Обработанные стекла
4.3.1 Упрочненные стекла
К упрочненным стеклам относят следующие изделия из натрий-кальций-силикатного стекла, полученные путем термического или химического упрочнения:
- термоупрочненное стекло ............................... EN 1863-1;
- химически упрочненное стекло .......................... EN 12337-1.
4.3.2 Закаленные безопасные стекла
К закаленным безопасным стеклам относят следующие изделия, полученные путем термической обработки:
- закаленное натрий-кальций-силикатное безопасное
стекло ................................................ EN 12150-1;
- закаленное боросиликатное безопасное стекло ........... EN 13024-1;
- термовыдержанное закаленное натрий-кальций-силикатное
безопасное стекло ..................................... EN 14179-1;
- закаленное щелочноземельное силикатное безопасное
стекло ................................................ EN 14321-1;
- термовыдержанное закаленное щелочноземельное силикатное
безопасное стекло ..................................... prEN 15682-1;
- закаленное натрий-кальций-силикатное профильное
безопасное стекло ..................................... prEN 15683-1.
4.3.3 Многослойные стекла
К многослойным стеклам относят следующие изделия, соответствующие EN ISO 12543-1:
- многослойное стекло ................................. EN ISO 12543-3;
- многослойное безопасное стекло ...................... EN ISO 12543-2.
4.3.4 Стекла с покрытием
К стеклам с покрытием относят листы стекла, на которые нанесено покрытие по EN 1096-1.
Примечание - Стекла с покрытием могут быть изготовлены из стекол, указанных в 4.1, 4.2, 4.3.1, 4.3.2, 4.3.3.
4.3.5 Стеклопакеты
К стеклопакетам относят герметичные изделия, заполненные воздухом или другим газом, соответствующие EN 1279-1.
Примечание - Стеклопакет может быть изготовлен из одного или разных видов листовых стекол, указанных в 4.1, 4.2, 4.3.1, 4.3.2, 4.3.3.
5. Методы испытаний
5.1 Общие требования
Измерение звукоизоляции проводят по EN ISO 10140 и EN ISO 717-1. Так как звукоизоляция многослойных стекол зависит от температуры, температура образца многослойного стекла должна составлять (21 +/- 2) °C.
Примечание 1 - Для лучшей воспроизводимости результатов рекомендуется использовать испытательный проем для листов стекла, указанный в EN ISO 10140.
Для учета конструктивных особенностей остекленных конструкций (стеклянных блоков, плит, профильного стекла, структурного остекления, сборных конструкций) при их испытаниях может потребоваться изменение размеров образца конструкции и т.д. по сравнению с указанными в EN ISO 10140. Измерение звукоизоляции следует проводить на смонтированных конструкциях, а не на их отдельных элементах. Факторами, влияющими на результаты измерений, являются размеры, способы крепления и т.д.
Примечание 2 - Если конструкция состоит из большого количества разнородных элементов, для выбора метода определения звукоизоляции рекомендуется проконсультироваться со специалистом.
По результатам измерений звукоизоляции, выполненных в стандартных условиях или близких к ним (при испытании нестандартных изделий из стекла или конструкций, как указано выше), оформляют протокол испытаний в соответствии с EN ISO 10140. При описании объекта испытаний в протоколе указывают следующие данные (при необходимости с пояснениями):
a) вид изделия из стекла;
b) толщина изделия из стекла;
c) ширина воздушного(ых) промежутка/ов;
d) вид и объем заполнения межстекольного пространства газом - для стеклопакетов;
e) вид, толщина и количество стекол, полимерных листовых материалов и промежуточных слоев - для многослойного стекла;
f) температура образца - для многослойного стекла;
g) описание особых условий монтажа конструкций из стеклянных блоков, плит, профильного стекла, структурного остекления, сборных конструкций, вызванных необходимостью изменения условий, указанных в EN ISO 10140.
5.2 Контрольные измерения
5.2.1 Общие требования
Контрольные измерения звукоизоляции проводят на двух эталонных стеклопакетах, указанных в 5.2.2 и 5.2.3. Контрольные измерения проводят при наладке испытательного оборудования и в дальнейшем при его проверке не реже одного раза в год или перед каждым испытанием остекления.
В случае возникновения сомнений относительно результатов измерений, проведенных на эталонных стеклопакетах, для проверки повторяемости результатов проводят измерение на образце флоат-стекла по EN 572-1, EN 572-2 толщиной 10 мм.
5.2.2 Эталонный стеклопакет 6-16-6
Звукоизоляция эталонного стеклопакета 6-16-6 (см. приложение A, рисунок A.1) находится в интервале значений, указанных в таблице 1.
Таблица 1
Звукоизоляция эталонного стеклопакета 6-16-6
Частота, Гц
Минимальное значение, дБ
Максимальное значение, дБ
100
20,0
25,3
125
15,9
21,5
160
17,9
21,1
200
17,3
19,7
250
19,7
22,9
315
23,5
26,4
400
27,2
29,3
500
30,4
32,7
630
33,5
35,6
800
36,9
38,6
1000
38,4
39,9
1250
37,8
39,7
1600
36,6
38,4
2000
31,7
33,7
2500
31,5
33,0
3150
34,9
37,4
Сумма абсолютных отклонений измеренных значений от значений, указанных в таблице 1, не должна превышать 4,0 дБ. Все вычисления выполняют с точностью до 0,1.
5.2.3 Эталонный стеклопакет 10-16-44.2, содержащий многослойное стекло с звукопоглощающим промежуточным слоем S
Звукоизоляция эталонного стеклопакета 10-16-44.2 находится в интервале значений, указанных в таблице 2.
Таблица 2
Звукоизоляция эталонного стеклопакета 10-16-44.2,
содержащего многослойное стекло
с звукопоглощающим промежуточным слоем S
Частота, Гц
Минимальное значение, дБ
Максимальное значение, дБ
100
25,4
31,5
125
21,2
27,9
160
25,7
29,4
200
27,5
30,4
250
32,4
36,4
315
32,6
35,8
400
37,3
40,4
500
39,7
42,8
630
42,3
45,0
800
43,9
46,4
1000
43,6
45,8
1250
43,3
46,2
1600
45,7
48,1
2000
47,9
51,0
2500
48,9
51,9
3150
49,4
52,0
Многослойное стекло изготавливают с звукопоглощающим промежуточным слоем S. Конструкция стеклопакета приведена в приложении A, рисунок A.2.
Примечание 1 - Обозначение 44.2 означает, что многослойное стекло состоит из двух листов стекла толщиной по 4 мм и промежуточного слоя толщиной 0,76 мм.
Сумма абсолютных отклонений измеренных значений от значений, указанных в таблице 2, не должна превышать 4,0 дБ. Все вычисления выполняют с точностью до 0,1.
При выполнении указанных выше правил воспроизводимость результатов измерений RW, RW + C и RW + Ctr составляет +/- 1 дБ.
Примечание 2 - Эти данные получены по результатам межлабораторных сравнительных испытаний, проведенных в 22 лабораториях. Значения были получены путем вычисления среднего значения +/- одно стандартное отклонение.
5.2.4 Максимальное стандартное отклонение повторяемости
Максимальное стандартное отклонение повторяемости должно соответствовать требованиям ISO 140-2, приведенным в таблице 3.
Таблица 3
Максимальное стандартное отклонение повторяемости
Частота
100
1,61
125
1,43
160
1,25
200
1,25
250
0,89
315
0,89
400
0,71
500
0,71
630
0,54
800
0,54
1000
0,54
1250
0,54
1600
0,54
2000
0,54
2500
0,54
3150
0,54
5.3 Правила распространения результатов
5.3.1 Общие положения
Если исходить из предположения, что звукоизоляция изделия из стекла не меняется при некоторых изменениях его конструкции, дальнейшие/дополнительные измерения в соответствии с EN ISO 10140 можно не проводить при соблюдении приведенных ниже правил.
Примечание - Выполнение этих правил гарантирует, что полученные данные никогда не будут завышенными. Если требуются более точные данные, необходимо провести измерение звукоизоляции конкретного изделия из стекла.
5.3.2 Базовые и специальные базовые стекла:
- в отношении звукоизоляции нет разницы между натрий-кальций-силикатным стеклом и стеклами других химических составов;
- в отношении звукоизоляции нет разницы между бесцветными, глушеными или окрашенными в массе стеклами;
- обработка (термоупрочнение, химическое упрочнение, закалка) стекла не влияет на его звукоизоляцию;
- обработка поверхности (пескоструйная обработка, травление) не влияет на звукоизоляцию стекла, если его толщина остается в пределах допускаемых отклонений;
- для узорчатого/прокатного стекла можно использовать данные одинарного стекла ближайшей меньшей толщины, например для узорчатого стекла толщиной 6 мм используют показатели звукоизоляции одинарного стекла толщиной 5 мм;
- армированное стекло (полированное или узорчатое) относят к одинарному стеклу.
Примечание - Проволочная сетка в армированном стекле не оказывает влияния на его звукоизоляцию.
5.3.3 Многослойное/многослойное безопасное стекло:
- для многослойного стекла с неорганическим промежуточным слоем можно использовать показатели звукоизоляции одинарного стекла, имеющего толщину, равную общей толщине многослойного стекла.
Примечание 1 - Если данные для одинарного стекла такой толщины не известны, используют известные данные для стекла ближайшей меньшей толщины;
- данные для многослойного стекла с одним звукопоглощающим промежуточным слоем можно использовать для многослойного стекла с другим звукопоглощающим промежуточным слоем, если измеренный в соответствии с ISO 16940 коэффициент затухания звуковых колебаний 1-й моды обоих промежуточных слоев равен или более 0,20;
- данные для многослойного стекла с одним промежуточным слоем можно использовать для многослойного стекла с другим промежуточным слоем, если измеренный в соответствии с ISO 16940 коэффициент затухания звуковых колебаний 1-й моды второго промежуточного слоя равен или более коэффициента затухания звуковых колебаний первого промежуточного слоя;
- толщину многослойного/многослойного безопасного стекла определяют по EN ISO 12543-5.
Примечание 2 - Конструкция многослойного стекла должна быть известна.
5.3.4 Стекла с покрытием:
- нанесение покрытия в соответствии с EN 1096-1 или тонкой пленки не влияет на звукоизоляцию базового стекла, из которого изготовлено стекло с покрытием;
- лакокрасочное, серебряное (зеркала) или эмалевое покрытие можно рассматривать как любое другое покрытие.
5.3.5 Стеклопакеты:
- при одинаковой комбинации стекол данные для стеклопакетов, заполненных воздухом, можно использовать для стеклопакетов, заполненных аргоном, и наоборот;
- данные для стеклопакетов с одними органическими герметиками можно использовать для стеклопакетов с любыми другими органическими герметиками;
- аналогичное правило применяют для дистанционных рамок одинаковой ширины.
6. Оценка звукоизоляции и классификация
6.1 Оценка звукоизоляции
Значения в октавных полосах частот могут быть рассчитаны по значениям в третьоктавных полосах частот.
Методы определения значений R, RW, C и Ctr приведены в EN ISO 717-1 и EN ISO 10140.
Достоверность оценки данных параметров зависит от соответствующих базовых показателей звукоизоляции, полученных в результате измерений в соответствии с EN ISO 10140.
6.2 Обозначение показателей звукоизоляции стекла
Индекс RW и соответствующие коэффициенты согласования спектра C и Ctr записывают в соответствии с EN ISO 717-1. Коэффициенты согласования спектра указывают в скобках после индекса RW и разделяют точкой с запятой:
RW(C; Ctr).
Пример записи показателей звукоизоляции одинарного стекла толщиной 12 мм, приведенных в таблице 4:
34(0; -2).
Таблица 4
Стандартные показатели звукоизоляции
Вид стекла и толщина, мм
Звукоизоляция R, дБ, в октавных полосах частот, Гц
Индекс и коэффициенты
125
250
500
1000
2000
4000
RW
C
Ctr
Одинарное стекло
3
14
19
25
29
33
25
28
-1
-4
4
17
20
26
32
33
26
29
-2
-3
5
19
22
29
33
29
31
30
-1
-2
6
18
23
30
35
27
32
31
-2
-3
8
20
24
29
34
29
37
32
-2
-3
10
23
26
32
31
32
39
33
-2
-3
12
27
29
31
32
38
47
34
0
-2
Многослойное стекло <a>
6
20
23
29
34
32
38
32
-1
-3
8
20
25
32
35
34
42
33
-1
-3
10
24
26
33
33
35
44
34
-1
-3
12
24
27
33
32
37
46
35
-1
-3
16
26
31
30
35
43
51
36
-1
-3
20
30
32
31
35
46
56
37
-1
-3
24
31
31
31
38
49
56
38
-1
-3
Стеклопакеты <b>
4-(6-16)-4
21
17
25
35
37
31
29
-1
-4
6-(6-16)-4
21
20
26
38
37
39
32
-2
-4
6-(6-16)-6
20
18
28
38
34
38
31
-1
-4
8-(6-16)-4
22
21
28
38
40
47
33
-1
-4
8-(6-16)-6
20
21
33
40
36
48
35
-2
-6
10-(6-16)-4
24
21
32
37
42
43
35
-2
-5
10-(6-16)-6
24
24
32
37
37
44
35
-1
-3
6-(6-16)-6 многослойное
20
19
30
39
37
46
33
-2
-5
6-(6-16)-10 многослойное
24
25
33
39
40
49
37
-1
-5
<a> Данные для многослойных стекол с одним органическим незвукопоглощающим промежуточным слоем.
<b> Обозначение конструкции стеклопакетов: толщина стекла - (ширина межстекольного пространства) - толщина стекла и вид, где требуется.
6.3 Указание требований к остеклению
Требования могут быть указаны либо индексом RW, либо суммой RW и соответствующего коэффициента согласования спектра для конкретного применения:
- для городского транспортного шума RA,tr = RW + Ctr.
Например, RA,tr для одинарного стекла толщиной 12 мм, определенный по данным таблицы 4, равен:
34 + (-2) = 32.
7. Стандартные показатели
При отсутствии данных измерений, необходимых для расчета RW, C и Ctr, используют стандартные показатели.
В таблице 4 приведены стандартные значения RW, C и Ctr для ряда изделий из стекла.
Значения, приведенные в таблице 4, представляют собой усредненные данные типовых измерений за вычетом стандартных отклонений. Таким образом, эти значения являются заниженными и могут применяться при отсутствии данных измерений в соответствии с разделом 5.
При использовании этой таблицы необходимо учитывать следующее:
a) приведенные данные относятся к флоат-стеклу или изделиям, изготовленным из флоат-стекла;
b) данные по стеклопакетам могут быть использованы для стеклопакетов, заполненных воздухом или аргоном;
c) при ширине межстекольного пространства стеклопакетов от 6 до 16 мм соответствующие показатели звукоизоляции для данной комбинации стекол считаются постоянными;
d) для узорчатых стекол, имеющих переменную толщину, используют показатели звукоизоляции одинарного стекла меньшей толщины, ближайшей к номинальной толщине узорчатого стекла, например для узорчатого стекла толщиной 6 мм используют показатели звукоизоляции одинарного стекла толщиной 5 мм;
e) для многослойного стекла с неорганическим промежуточным слоем используют показатели звукоизоляции одинарного стекла, имеющего толщину, равную общей толщине многослойного стекла. Если такого изделия не существует, используют показатели одинарного стекла ближайшей меньшей толщины;
f) значения в октавных полосах частот рассчитаны по значениям в третьоктавных полосах частот;
g) данные по многослойному стеклу относятся только к многослойным стеклам с органическим промежуточным слоем.
Для изделий, не указанных в таблице 4, необходимо проводить испытания, по результатам которых можно определить соответствующие значения RW, C и Ctr.
Приложение A
(обязательное)
КОНСТРУКЦИИ ЭТАЛОННЫХ СТЕКЛОПАКЕТОВ
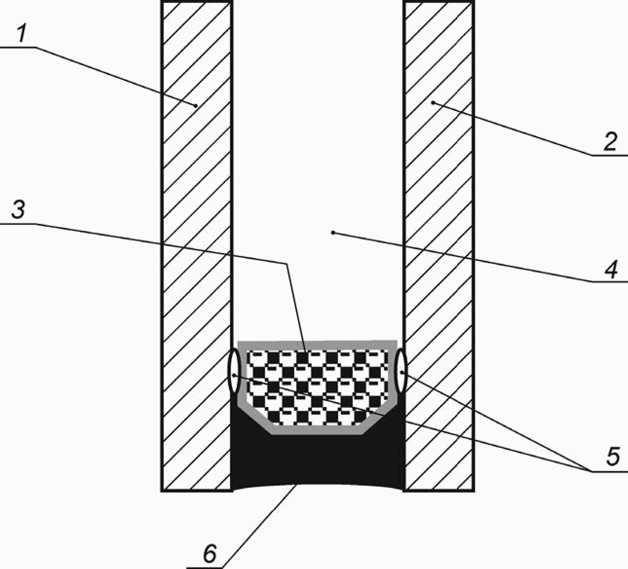
Тип 6-16-6, заполнение воздухом
1 - лист флоат-стекла номинальной толщиной 6 мм;
2 - лист флоат-стекла номинальной толщиной 6 мм;
3 - алюминиевая дистанционная рамка номинальной
шириной 16 мм; 4 - камера, заполненная воздухом,
номинальной шириной 16 мм; 5 - внутренний герметик
бутил; 6 - наружный герметик полисульфид
Рисунок A.1 - Конструкция эталонного стеклопакета 6-16-6
Тип 10-16-8 с многослойным стеклом с звукопоглощающим
промежуточным слоем S, заполнение воздухом
1 - лист флоат-стекла номинальной толщиной 10 мм;
2 - лист многослойного стекла, состоящий из двух
листов флоат-стекла номинальной толщиной по 4 мм
с звукопоглощающим промежуточным слоем S номинальной
толщиной 0,76 мм; 3 - алюминиевая дистанционная рамка
номинальной шириной 16 мм; 4 - камера, заполненная
воздухом, номинальной шириной 16 мм; 5 - внутренний
герметик бутил; 6 - наружный герметик полисульфид
Рисунок A.2 - Конструкция эталонного стеклопакета
10-16-44.2, содержащего многослойное стекло
с звукопоглощающим промежуточным слоем S
Приложение B
(справочное)
РЕКОМЕНДАЦИИ ПО УСТАНОВКЕ СТЕКЛОПАКЕТОВ
Для обеспечения максимальной защиты от шума стеклопакет обычно устанавливают таким образом, чтобы многослойное стекло, входящее в состав стеклопакета, было обращено к теплой стороне, т.е. внутрь здания.
При монтаже стеклопакетов, состоящих из одинарных стекол разной толщины, нет предпочтительной ориентации, т.е. их звукоизолирующие свойства не зависят от того, какое стекло наружное.
Приложение ДА
(справочное)
СВЕДЕНИЯ О СООТВЕТСТВИИ ССЫЛОЧНЫХ ЕВРОПЕЙСКИХ
И МЕЖДУНАРОДНЫХ СТАНДАРТОВ ССЫЛОЧНЫМ
МЕЖГОСУДАРСТВЕННЫМ СТАНДАРТАМ
Таблица ДА.1
Обозначение ссылочного европейского/международного стандарта
Степень соответствия
Обозначение и наименование соответствующего межгосударственного стандарта
EN 572-1
-
EN 572-2
-
EN 572-3
NEQ
ГОСТ 7481-2013 "Стекло армированное. Технические условия"
EN 572-4
-
EN 572-5
NEQ
ГОСТ 5533-2013 "Стекло узорчатое. Технические условия"
EN 572-6
NEQ
ГОСТ 7481-2013 "Стекло армированное. Технические условия"
EN 572-7
-
EN 1051-1
-
EN 1096-1:2012
MOD
ГОСТ 32562.1-2013 (EN 1096-1:2012) "Стекло с покрытием. Классификация"
EN 1279-1
NEQ
ГОСТ 24866-2014 "Стеклопакеты клееные. Технические условия"
EN 1748-1-1
-
EN 1748-2-1
-
EN 1863-1
NEQ
ГОСТ 33087-2014 "Стекло термоупрочненное. Технические условия"
EN 12150-1
NEQ
ГОСТ 30698-2014 "Стекло закаленное. Технические условия"
EN 12337-1
-
EN 13024-1
-
EN 14178-1
-
EN 14179-1
-
EN 14321-1
-
prEN 15681-1
-
prEN 15682-1
-
prEN 15683-1
-
EN ISO 10140:2010 (all parts) <**>
-
EN ISO 717-1:1996
-
EN ISO 12543-1
-
EN ISO 12543-2
-
EN ISO 12543-3
-
ISO 140-2:1991
-
ISO 16940
MOD
ГОСТ 33090-2014 (ISO 16940:2008) "Стекло и изделия из него. Метод определения звукоизолирующей способности"
<*> Соответствующий межгосударственный стандарт отсутствует. До его принятия рекомендуется использовать перевод на русский язык данного европейского или международного стандарта EN 12758.
<**> В Российской Федерации действует ГОСТ Р ИСО 10140-2012 (все части, IDT).
Примечание - В настоящей таблице использованы следующие условные обозначения степени соответствия стандартов:
- MOD - модифицированные стандарты;
- NEQ - неэквивалентные стандарты.
Приложение ДБ
(рекомендуемое)
РЕКОМЕНДАЦИИ ПО ПРИМЕНЕНИЮ СТАНДАРТА
ДБ.1 Положения настоящего стандарта можно применять ко всем изделиям из стекла, указанным в разделе 4 и подразделе 5.3, независимо от того, по каким нормативным документам они изготовлены. В частности, стандарт распространяется на следующие изделия:
- стекло листовое бесцветное по ГОСТ 111;
- стекло листовое, окрашенное в массе, по ГОСТ 32997;
- стекло узорчатое по ГОСТ 5533;
- стекло армированное по ГОСТ 7481;
- стекло профильное по ГОСТ 21992;
- блоки стеклянные пустотелые по ГОСТ 9272;
- стекло термоупрочненное по ГОСТ 33087;
- стекло закаленное по ГОСТ 30698;
- стекло закаленное термовыдержанное по ГОСТ EN 14179-1;
- стекло закаленное щелочноземельное силикатное по ГОСТ EN 14321-1;
- стекло многослойное по ГОСТ 30826;
- стекло с полимерными пленками по ГОСТ 32563;
- стекло с низкоэмиссионным твердым покрытием по ГОСТ 30733;
- стекло с низкоэмиссионным мягким покрытием по ГОСТ 31364;
- стекло с солнцезащитным или декоративным твердым покрытием по ГОСТ 33017;
- стекло с солнцезащитным или декоративным мягким покрытием по ГОСТ 33086;
- стекло с самоочищающимся покрытием по ГОСТ 33575;
- стекло с покрытием по ГОСТ 32562.1 (EN 1096-1);
- стекло с лакокрасочным покрытием по ГОСТ 32559;
- зеркала по ГОСТ 17716;
- стекло матированное по ГОСТ 32360;
- стеклопакеты клееные по ГОСТ 24866.
ДБ.2 Если изготовитель или потребитель продукции проводит измерение звукоизоляции для внутренних целей (при производственном и входном контроле, приемо-сдаточных, периодических, типовых, квалификационных и других категориях испытаний), допускается оформлять результаты измерений в порядке, принятом у изготовителя или потребителя, без оформления протокола.
Приложение ДВ
(справочное)
ТЕРМИНЫ И ОПРЕДЕЛЕНИЯ ОСНОВНЫХ ПОНЯТИЙ
В ОБЛАСТИ ЗВУКОИЗОЛЯЦИИ
В настоящем приложении для справки приведены дополнительные термины и определения основных понятий в области звукоизоляции стекла, изделий из стекла, ограждающих конструкций, установленные другими нормативными документами. Обозначение нормативного документа, устанавливающего термин и определение, приведено в квадратных скобках после соответствующей терминологической статьи.
ДВ.1 шумозащита (звукоизоляция) (sound insulation): Способность стекла снижать уровень проходящего сквозь него воздушного шума.
[ГОСТ 33004-2014]
ДВ.2 изоляция воздушного шума (звукоизоляция) R, дБ: Способность ограждающей конструкции уменьшать проходящий через нее звук. В общем виде представляет собой десятикратный десятичный логарифм отношения падающей на ограждение звуковой энергии к энергии, прошедшей через ограждение.
[СП 51.13330.2011 (Актуализированная редакция СНиП 23-03-2003)]
ДВ.3 частотная характеристика изоляции воздушного шума: Величина изоляции воздушного шума R, дБ, в третьоктавных полосах частот в диапазоне 100-3150 Гц (в графической или табличной форме).
[СП 51.13330.2011 (Актуализированная редакция СНиП 23-03-2003)]
ДВ.4 индекс изоляции воздушного шума RW, дБ: Величина, служащая для оценки одним числом изоляции воздушного шума ограждающей конструкцией. Определяется путем сопоставления частотной характеристики изоляции воздушного шума со специальным нормативным спектром.
[СП 51.13330.2011 (Актуализированная редакция СНиП 23-03-2003)]
ДВ.5 звукоизоляция окна RAтран, дБА: Величина, служащая для оценки одним числом изоляции внешнего шума, создаваемого городским транспортом, при передаче его внутрь помещения через окно.
[СП 51.13330.2011 (Актуализированная редакция СНиП 23-03-2003)]
ДВ.6 коэффициент согласования спектра (spectrum adaptation term): Величина, дБ, прибавляемая к величине, служащей для оценки изоляции шума одним числом (например, к RW), для учета особенностей конкретных частотных характеристик.
[ISO 717-1:2013]
ДВ.7 шумозащитное стекло (sound insulating glass): Изделие из стекла, обладающее повышенными звукоизолирующими свойствами.
[ГОСТ 32539-2013]
ДВ.8 многослойное шумозащитное стекло: Стекло, в состав которого входит специальный звукопоглощающий слой, обеспечивающий повышенные (по сравнению с прочими видами многослойного стекла) звукоизолирующие свойства.
[ГОСТ 30826-2014]
БИБЛИОГРАФИЯ
[1]
EN ISO 12543-5
Glass in building - Laminated glass and laminated safety glass - Part 5: Dimensions and edge finishing (ISO 12543-5:1998)