Главная // Актуальные документы // ГОСТ (Государственный стандарт)СПРАВКА
Источник публикации
М.: Стандартинформ, 2016
Примечание к документу
Текст данного документа приведен с учетом
поправки, опубликованной в "ИУС", N 1, 2020.
Документ
введен в действие с 1 января 2017 года.
Взамен ГОСТ 5341-98.
Название документа
"ГОСТ 5341-2016. Межгосударственный стандарт. Изделия огнеупорные для футеровки сталеразливочных ковшей. Технические условия"
(введен в действие Приказом Росстандарта от 10.06.2016 N 609-ст)
"ГОСТ 5341-2016. Межгосударственный стандарт. Изделия огнеупорные для футеровки сталеразливочных ковшей. Технические условия"
(введен в действие Приказом Росстандарта от 10.06.2016 N 609-ст)
агентства по техническому
регулированию и метрологии
от 10 июня 2016 г. N 609-ст
МЕЖГОСУДАРСТВЕННЫЙ СТАНДАРТ
ИЗДЕЛИЯ ОГНЕУПОРНЫЕ ДЛЯ ФУТЕРОВКИ СТАЛЕРАЗЛИВОЧНЫХ КОВШЕЙ
ТЕХНИЧЕСКИЕ УСЛОВИЯ
Refractories for linings of steel-teeming ladles.
Specifications
ГОСТ 5341-2016
Дата введения
1 января 2017 года
Цели, основные принципы и основной порядок проведения работ по межгосударственной стандартизации установлены
ГОСТ 1.0-92 "Межгосударственная система стандартизации. Основные положения" и
ГОСТ 1.2-2009 "Межгосударственная система стандартизации. Стандарты межгосударственные, правила и рекомендации по межгосударственной стандартизации. Правила разработки, принятия, применения, обновления и отмены"
1 РАЗРАБОТАН Обществом с ограниченной ответственностью "Научно-технический центр "Огнеупоры" (ООО "НТЦ "Огнеупоры")
2 ВНЕСЕН Федеральным агентством по техническому регулированию и метрологии (Росстандарт)
3 ПРИНЯТ Межгосударственным советом по стандартизации, метрологии и сертификации (протокол от 29 февраля 2016 г. N 85-П)
За принятие проголосовали:
Краткое наименование страны по МК (ИСО 3166) 004-97 | Код страны по МК (ИСО 3166) 004-97 | Сокращенное наименование национального органа по стандартизации |
Армения | AM | Минэкономики Республики Армения |
Беларусь | BY | Госстандарт Республики Беларусь |
Казахстан | KZ | Госстандарт Республики Казахстан |
Киргизия | KG | Кыргызстандарт |
Россия | RU | Росстандарт |
Узбекистан | UZ | Узстандарт |
4
Приказом Федерального агентства по техническому регулированию и метрологии от 10 июня 2016 г. N 609-ст межгосударственный стандарт ГОСТ 5341-2016 введен в действие в качестве национального стандарта Российской Федерации с 1 января 2017 г.
5 ВЗАМЕН ГОСТ 5341-98
Информация об изменениях к настоящему стандарту публикуется в ежегодном информационном указателе "Национальные стандарты", а текст изменений и поправок - в ежемесячном информационном указателе "Национальные стандарты". В случае пересмотра (замены) или отмены настоящего стандарта соответствующее уведомление будет опубликовано в ежемесячном информационном указателе "Национальные стандарты". Соответствующая информация, уведомление и тексты размещаются также в информационной системе общего пользования - на официальном сайте Федерального агентства по техническому регулированию и метрологии в сети Интернет (www.gost.ru)
Настоящий стандарт распространяется на огнеупорные изделия (кремнеземистые, алюмосиликатные и оксидоуглеродистые), предназначенные для футеровки сталеразливочных ковшей (далее - изделия).
В настоящем стандарте использованы нормативные ссылки на следующие межгосударственные стандарты:
ГОСТ 12.1.005-88 Система стандартов безопасности труда. Общие санитарно-гигиенические требования к воздуху рабочей зоны
ГОСТ 12.1.007-76 Система стандартов безопасности труда. Вредные вещества. Классификация и общие требования безопасности
ГОСТ 12.3.009-76 Система стандартов безопасности труда. Работы погрузочно-разгрузочные. Общие требования безопасности
ГОСТ 12.4.010-75 Система стандартов безопасности труда. Средства индивидуальной защиты. Рукавицы специальные. Технические условия
ГОСТ 12.4.253-2013 (EN 166:2002) Система стандартов безопасности труда. Средства индивидуальной защиты глаз. Общие технические требования
ГОСТ 17.0.0.01-76 Система стандартов в области охраны природы и улучшения использования природных ресурсов. Основные положения
ГОСТ 17.2.3.02-2014 Правила установления допустимых выбросов загрязняющих веществ промышленными предприятиями
ГОСТ 2409-2014 Огнеупоры. Метод определения кажущейся плотности, открытой и общей пористости, водопоглощения
ГОСТ 2642.0-2014 Огнеупоры и огнеупорное сырье. Общие требования к методам анализа
ГОСТ 2642.3-2014 Огнеупоры и огнеупорное сырье. Методы определения оксида кремния (IV)
| | ИС МЕГАНОРМ: примечание. В официальном тексте документа, видимо, допущена опечатка: стандарт имеет номер ГОСТ 2642.4-2016, а не ГОСТ 2642.4-2014. | |
ГОСТ 2642.4-2014 Огнеупоры и огнеупорное сырье. Методы определения оксида алюминия
ГОСТ 2642.5-2016 Огнеупоры и огнеупорное сырье. Методы определения оксида железа (III)
ГОСТ 2642.8-97 Огнеупоры и огнеупорное сырье. Методы определения оксида магния
ГОСТ 2642.11-97 Огнеупоры и огнеупорное сырье. Метод определения оксидов калия и натрия
ГОСТ 2642.15-97 Огнеупоры и огнеупорное сырье. Метод определения общего углерода
ГОСТ 3560-73 Лента стальная упаковочная. Технические условия
ГОСТ 4069-69 Огнеупоры и огнеупорное сырье. Методы определения огнеупорности
ГОСТ 4070-2014 Изделия огнеупорные. Метод определения температуры деформации под нагрузкой
ГОСТ 4071.1-94 (ИСО 10059-1-92) Изделия огнеупорные с общей пористостью менее 45%. Метод определения предела прочности при сжатии при комнатной температуре
ГОСТ 5402.1-2000 (ИСО 2478-87) Изделия огнеупорные с общей пористостью менее 45%. Метод определения остаточных изменений размеров при нагреве
ГОСТ 7875.0-94 Изделия огнеупорные. Общие требования к методам определения термической стойкости
ГОСТ 7875.1-94 Изделия огнеупорные. Метод определения термической стойкости на кирпичах
ГОСТ 7933-89 Картон для потребительской тары. Общие технические условия
ГОСТ 8179-98 (ИСО 5022-79) Изделия огнеупорные. Отбор образцов и приемочные испытания
ГОСТ 9142-2014 Ящики из гофрированного картона. Общие технические условия
ГОСТ 24717-2004 Огнеупоры и огнеупорное сырье. Маркировка, упаковка, транспортирование и хранение
ГОСТ 25951-83 Пленка полиэтиленовая термоусадочная. Технические условия
ГОСТ 26381-84 Поддоны плоские одноразового использования. Общие технические условия
ГОСТ 30762-2001 Изделия огнеупорные. Методы измерений геометрических размеров, дефектов формы и поверхностей
ГОСТ 30771-2001 Изделия огнеупорные углеродосодержащие. Методы контроля
Примечание - При пользовании настоящим стандартом целесообразно проверить действие ссылочных стандартов в информационной системе общего пользования - на официальном сайте Федерального агентства по техническому регулированию и метрологии в сети Интернет или по ежегодному информационному указателю "Национальные стандарты", который опубликован по состоянию на 1 января текущего года, и по выпускам ежемесячного информационного указателя "Национальные стандарты" за текущий год. Если ссылочный стандарт заменен (изменен), то при пользовании настоящим стандартом следует руководствоваться заменяющим (измененным) стандартом. Если ссылочный стандарт отменен без замены, то положение, в котором дана ссылка на него, применяется в части, не затрагивающей эту ссылку.
В настоящем стандарте применены термины по
ГОСТ 28833,
ГОСТ 28874, ГОСТ 30771, а также следующие термины с соответствующими определениями:
3.1 рабочая поверхность изделия: Поверхность изделия, обращенная к рабочему пространству ковша.
3.2 шовная поверхность изделия: Поверхность, по которой огнеупорные изделия соединяются между собой в кладке.
3.3 поверхность изделия, обращенная к кожуху: Поверхность изделия, противоположная рабочей поверхности.
3.4 кварцитовые огнеупоры: Кремнеземистые огнеупоры с массовой долей SiO2 свыше 93%, изготовляемые из кварцитов.
4.1 Изделия подразделяют на марки, указанные в таблицах 1 -
3.
Таблица 1
Характеристика марок кремнеземистых
и алюмосиликатных изделий
Марка изделия | Характеристика |
КВКБ-95 | Кварцитовые ковшевые безобжиговые изделия с массовой долей SiO2 не менее 95% |
ШКУ-32 | Шамотные ковшевые уплотненные изделия с массовой долей Al2O3 не менее 32% |
ШКС-32 | Шамотные ковшевые среднеплотные изделия с массовой долей Al2O3 не менее 32% |
ШКУ-37 | Шамотные ковшевые уплотненные изделия с массовой долей Al2O3 не менее 37% |
ШКП-37 | Шамотные ковшевые плотные изделия с массовой долей Al2O3 не менее 37% |
ШКУ-39 | Шамотные ковшевые уплотненные изделия с массовой долей Al2O3 не менее 39% |
ШКП-39 | Шамотные ковшевые плотные изделия с массовой долей Al2O3 не менее 39% |
ШКУ-42 | Шамотные ковшевые уплотненные изделия с массовой долей Al2O3 не менее 42% |
МКРКУ-45 | Муллитокремнеземистые ковшевые уплотненные изделия с массовой долей Al2O3 свыше 45% |
МКРКП-45 | Муллитокремнеземистые ковшевые плотные изделия с массовой долей Al2O3 свыше 45% |
МЛКУ-62 | Муллитовые ковшевые уплотненные изделия с массовой долей Al2O3 свыше 62% |
МЛКС-62 | Муллитовые ковшевые среднеплотные изделия с массовой долей Al2O3 свыше 62% |
МЛКУ-69 | Муллитовые ковшевые уплотненные изделия с массовой долей Al2O3 не менее 69% |
МККС-72 | Муллитокорундовые ковшевые среднеплотные изделия с массовой долей Al2O3 свыше 72% |
МККС-75 | Муллитокорундовые ковшевые среднеплотные изделия с массовой долей Al2O3 не менее 75% |
МККУ-85 | Муллитокорундовые ковшевые уплотненные изделия с массовой долей Al2O3 не менее 85% |
МККС-90 | Муллитокорундовые ковшевые среднеплотные изделия с массовой долей Al2O3 не менее 90% |
Таблица 2
кремнеземоуглеродистых, алюмопериклазоуглеродистых
и периклазошпинельноуглеродистых изделий
Марка изделия | Характеристика |
КРУК-96 | Кремнеземоуглеродистые ковшевые изделия с массовой долей SiO2 не менее 96% |
АПУК-60 | Алюмопериклазоуглеродистые ковшевые изделия с массовой долей Al2O3 свыше 60% |
АПУК-65 | Алюмопериклазоуглеродистые ковшевые изделия с массовой долей Al2O3 не менее 65% |
АПУК-68 | Алюмопериклазоуглеродистые ковшевые изделия с массовой долей Al2O3 не менее 68% |
АПУК-70 | Алюмопериклазоуглеродистые ковшевые изделия с массовой долей Al2O3 не менее 70% |
АПУК-75-8 | Алюмопериклазоуглеродистые ковшевые изделия с массовой долей Al2O3 не менее 75% и открытой пористостью не более 8% |
АПУК-75-9 | Алюмопериклазоуглеродистые ковшевые изделия с массовой долей Al2O3 не менее 75% и открытой пористостью не более 9% |
АПУК-80 | Алюмопериклазоуглеродистые ковшевые изделия с массовой долей Al2O3 не менее 80% |
ПШПУК-45 | Периклазошпинельноуглеродистые ковшевые изделия с массовой долей MgO не менее 45% |
ПШПУК-50 | Периклазошпинельноуглеродистые ковшевые изделия с массовой долей MgO не менее 50% |
Таблица 3
Характеристика марок периклазоуглеродистых изделий
Марка изделия | Характеристика |
Периклазоуглеродистые изделия на основе спеченного периклаза |
ПУСК-60 | Периклазоуглеродистые на основе спеченного периклаза ковшевые изделия с массовой долей MgO не менее 60% |
ПУСК-89 | Периклазоуглеродистые на основе спеченного периклаза ковшевые изделия с массовой долей MgO не менее 89% |
ПУСК-91-7 | Периклазоуглеродистые на основе спеченного периклаза ковшевые изделия с массовой долей MgO не менее 91% и массовой долей C не менее 7% |
ПУСК-91-9 | Периклазоуглеродистые на основе спеченного периклаза ковшевые изделия с массовой долей MgO не менее 91% и массовой долей C не менее 9% |
ПУСК-93 | Периклазоуглеродистые на основе спеченного периклаза ковшевые изделия с массовой долей MgO не менее 93% |
ПУСПК-91 | Периклазоуглеродистые на основе спеченного и плавленого периклаза ковшевые изделия с массовой долей MgO не менее 91% |
Периклазоуглеродистые изделия на основе плавленого периклаза |
ПУПК-90-2 | Периклазоуглеродистые на основе плавленого периклаза ковшевые изделия с массовой долей MgO не менее 90% и массовой долей C не менее 2% |
ПУПК-90-7 | Периклазоуглеродистые на основе плавленого периклаза ковшевые изделия с массовой долей MgO не менее 90% и массовой долей C не менее 7% |
ПУПК-90-9 | Периклазоуглеродистые на основе плавленого периклаза ковшевые изделия с массовой долей MgO не менее 90% и массовой долей C не менее 9% |
ПУПК-90-13 | Периклазоуглеродистые на основе плавленого периклаза ковшевые изделия с массовой долей MgO не менее 90% и массовой долей C не менее 13% |
ПУПК-92 | Периклазоуглеродистые на основе плавленого периклаза ковшевые изделия с массовой долей MgO не менее 92% |
ПУПК-93 | Периклазоуглеродистые на основе плавленого периклаза ковшевые изделия с массовой долей MgO не менее 93% |
ПУПК-95 | Периклазоуглеродистые на основе плавленого периклаза ковшевые изделия с массовой долей MgO не менее 95% |
4.1.1 Марки оксидоуглеродистых изделий (см.
таблицы 2 и
3):
- с впрессованными металлическими пластинами - дополняют индексом "м", например, ПШПУКм-45;
- содержащих антиоксидант - дополняют индексом "а", например, ПУПКа-92.
5.1.1 Допускается по согласованию сторон изготовлять:
- изделия, соответствующие по форме и размерам другим нормативным документам;
- изделия по чертежам заказчика, с указанием пределов допускаемых отклонений размеров и рабочей поверхности изделий;
- оксидоуглеродистые изделия с впрессованными в шовные поверхности (с двух сторон) металлическими пластинами, с указанием на чертеже размеров пластин и их расположения на поверхностях изделия. Наименование материала пластины указывают в договоре на поставку.
5.1.2 Рабочей поверхностью изделий являются:
- поверхность, ограниченная размерами
L и
S1 (см.
рисунок 1);
- поверхность, ограниченная размерами
H и
S1 (см.
рисунки 2,
3,
6);
- поверхность, ограниченная размерами
H1,
S1 (см.
рисунок 4);
- поверхность, ограниченная размерами
L и
S (см.
рисунок 5), если нет других указаний;
- поверхность, ограниченная размерами
L,
S1,
S2 (см.
рисунок 7);
- поверхность сектора, ограниченная радиусом
R185 (см.
рисунок 8).
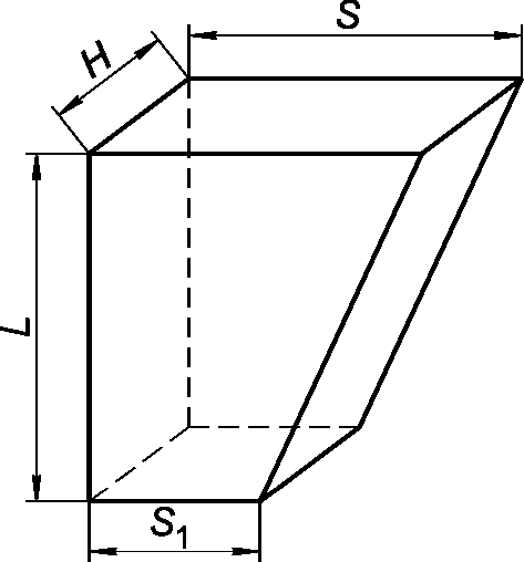
Рисунок 1 - Ребровый двусторонний клин
В миллиметрах
Номер изделия | L | H | S | S1 | Назначение изделия |
1 | 250 | 65 | 140 | 120 | Рабочая футеровка стен ковшей малого тоннажа и верхнего пояса стен ковшей среднего тоннажа |
2 | 250 | 80 | 140 | 125 | Рабочая футеровка стен ковшей малого тоннажа и верхнего пояса стен ковшей среднего и большого тоннажа |
2а | 300 | 120 | 80 | 68 | Рабочая футеровка стен ковшей (в месте сопряжения днища и стен) |
2б | 160 |
Примечание - Для изделий номеров 1 и 2 допускается уменьшение размера S на 2 - 3 мм с увеличением до прямых обоих острых углов  параллельными плоскостями, проходящими по ребру L, шириной до 10 мм. |
Рисунок 2 - Трапецеидальный двусторонний клин номеров 3, 4
Таблица 5
В миллиметрах
Номер изделия | L | H | S | S1 | Назначение изделия |
| | | | | Компенсация скоса по высоте ковша и увеличение радиуса кладки в сочетании с изделиями номеров: |
3 | 250 | 65 | 140 | 135 | 1 |
4 | 80 | 2 |
Рисунок 3 - Трапецеидальный двусторонний клин номеров 6 - 21
Таблица 6
В миллиметрах
Номер изделия | L | S | S1 | H | Внутренний радиус кладки стен ковша при использовании изделий |
одного номера | двух номеров |
6 | 80 | 250 | 239 | 80 | 1480 - 2150 | 580 - 1480 |
7 | 100 | 210 | 181 | 80 | 590 - 680 | 680 - 910 |
8 | 230 | 209 | 910 - 1120 | 1120 - 1480 |
9 | 250 | 236 | 1480 - 1990 | - |
10 | 120 | 210 | 176 | 80 | 590 - 670 | 670 - 690 |
11 | 230 | 206 | 960 - 1140 | 1140 - 1280 |
12 | 230 | 212 | 1280 - 1610 | - |
13 | 250 | 235 | 1670 - 2200 | - |
14 | 150 | 210 | 178 | 80 | 790 - 910 | 910 - 1140 |
14а | 225 | 205 | 1130 - 1300 | - |
15 | 230 | 205 | 1140 - 1360 | 1360 - 1750 |
15а | 245 | 210 | 1210 - 1600 | - |
16 | 250 | 232 | 1750 - 2200 | - |
16а | 250 | 228 | 1340 - 1730 | - |
18 | 200 | 220 | 192 | 80 | 1290 - 1500 | 1500 - 1670 |
19 | 240 | 216 | 1670 - 1990 | - |
20 | 250 | 230 | 200 | 80 | 1570 - 1810 | - |
21 | 250 | 221 | 1790 - 2070 | - |
а - изделие с соотношением H/H1 >= 1;
б - изделие с соотношением H/H1 <= 1
Рисунок 4 - Фасонное изделие номеров 21 - 36
Таблица 7
В миллиметрах
Номер изделия | L | S | S1 | H | H1 |
при H/H1 >= 1 |
21а | 200 | 240 | 213 | 80 | 60 |
при H/H1 <= 1 |
22 | | | | 40 | 40 |
23 | | | | 40 | 50 |
23 | 150 | 230 | 205 | 50 | 60 |
25 | | | | 60 | 70 |
26 | | | | 70 | 80 |
27 | | | | 40 | 40 |
28 | | | | 40 | 50 |
29 | 200 | 220 | 192 | 50 | 60 |
30 | | | | 60 | 70 |
31 | | | | 70 | 80 |
32 | | | | 40 | 40 |
33 | | | | 40 | 50 |
34 | 250 | 250 | 221 | 50 | 60 |
35 | | | | 60 | 70 |
36 | | | | 70 | 80 |
Рисунок 5 - Прямоугольное изделие
Таблица 8
В миллиметрах
Номер изделия | L | H | S | Назначение изделия |
| | | | Для футеровки днища ковшей и в сочетании с изделиями номеров: |
37 | 250 | 100 | | 7 - 9 |
38 | 300 | 120 | 80 | 10 - 13 |
39 | 300 | 150 | | 14 - 16 |
Рисунок 6 - Трапецеидальный односторонний клин
Таблица 9
В миллиметрах
Номер изделия | L | H | S | S1 |
40 | 150 | 80 | 280 | 240 |
Рисунок 7 - Фасонное изделие номер 41
В миллиметрах
Номер изделия | L | H | H1 | S | S1 | S2 | S3 |
41 | 250 | 187 | 155 | 106 | 96 | 94 | 106 |
Рисунок 8 - Фасонное изделие номер 42
(для футеровки крышек сталеразливочных ковшей)
5.2 Разность отклонений одноименных размеров противоположных поверхностей изделий не должна превышать 1 мм.
5.3 Пределы допускаемых отклонений размеров не должны превышать указанных в:
-
таблице 13 - для высокоглиноземистых (муллитокремнеземистых, муллитовых и муллитокорундовых) изделий;
Для фасонного изделия номер 42 пределы допускаемых отклонений размеров - +/- 1 мм.
Таблица 11
Пределы допускаемых отклонений размеров
кварцитовых изделий
В миллиметрах
Размеры изделия | Предел допускаемых отклонений размеров |
До 100 включ. | +2; -1 |
Св. 100 до 300 " | +3; -2 |
" 300 | +/- 3 |
Таблица 12
Пределы допускаемых отклонений размеров
шамотных изделий
В миллиметрах
Номер изделия | Размеры изделия | Предел допускаемых отклонений размеров |
1 - 4 | S и S1 | +/- 3 |
H | +2; -1 |
L | +/- 2 |
2а, 2б | S и S1 | +2; -1 |
H | +/- 3 |
L | +/- 2 |
6 - 36, 40, 41 | S, S1 и L | +/- 3 |
H и H1 | +2; -1 |
37 - 39 | L и H | +3; -2 |
S | +2; -1 |
Таблица 13
Пределы допускаемых отклонений размеров
высокоглиноземистых (муллитокремнеземистых,
муллитовых и муллитокорундовых) изделий
В миллиметрах
Размеры изделия | Предел допускаемых отклонений размеров |
До 100 включ. | +/- 1 |
Св. 100 до 300 " | +/- 2 |
" 300 | +/- 3 |
Таблица 14
Пределы допускаемых отклонений размеров
оксидоуглеродистых изделий
В миллиметрах
Вид изделия | Предел допускаемых отклонений размеров |
L | S, S1, S2 | H, H1 |
Прямоугольный кирпич | +/- 1,0 | +/- 1,0 | +/- 1,0 |
Ребровый клин | +/- 0,5 | +/- 1,0 | +/- 1,0 |
Фасонные изделия, торцовый и трапецеидальный клин | +/- 1,0 | +/- 1,0 | +/- 0,5 |
Примечание - Для одного из размеров прямоугольного кирпича по согласованию сторон допускается устанавливать пределы допускаемых отклонений +/- 0,5 мм. |
5.4 Пределы допускаемых отклонений размеров изделий, изготовляемых по другим нормативным документам и чертежам заказчика, устанавливают по согласованию сторон.
При отсутствии иных указаний пределы допускаемых отклонений размеров изделий, изготовляемых по другим нормативным документам и чертежам заказчика, не должны превышать указанных в таблице 15.
Таблица 15
Пределы допускаемых отклонений размеров изделий,
изготовляемых по другим нормативным документам
и чертежам заказчика
В миллиметрах
Размеры изделий | Предельное отклонение размеров |
До 100 включ. | +/- 2 |
Св. 100 до 300 " | +/- 2 |
" 300 | +/- 3 |
5.5 Расчетный объем и ориентировочная кажущаяся плотность изделий приведены в
приложениях А и
Б для расчета массы изделий и не являются браковочным признаком.
6. Технические требования
6.1 Изделия по физико-химическим показателям должны соответствовать требованиям, указанным в
таблицах 16 -
21.
6.1.1 Открытую пористость и предел прочности при сжатии после коксования оксидоуглеродистых изделий определяют факультативно для набора статистических данных (
таблицы 18 -
21). Значения показателей будут установлены через два года после введения стандарта в действие.
Таблица 16
Физико-химические показатели кварцитовых
и шамотных изделий
Наименование показателя | Значение показателя для марки |
КВКБ-95 | ШКУ-32 | ШКС-32 | ШКУ-37 | ШКП-37 | ШКУ-39 | ШКП-39 | ШКУ-42 |
1 Массовая доля, %: | | | | | | | | |
Al2O3, не менее | - | 32 | 32 | 37 | 37 | 39 | 39 | 42 |
Fe2O3 не более | - | 3,5 |
SiO2, не менее | 95 | - |
Na2O + K2O, не более | 1,2 | - |
2 Огнеупорность, °C, не ниже | 1690 | 1690 | 1690 | 1730 (1710) | 1730 | 1750 (1730) | 1750 | 1750 |
3 Открытая пористость, %, не более | 19 | 19 | 21 | 18 (19) | 16 | (17) 18 | 16 | 18 |
4 Предел прочности при сжатии, Н/мм2, не менее | 12 | 27 | 24 | 30 (27) | 40 | 30 | 40 | 40 |
5 Массовая доля влаги, %, не более | 0,8 | - |
6 Кажущаяся плотность, г/см3, не менее | 2,14 | - |
7 Температура начала размягчения, °C, не ниже | - | 1370 | 1310 | (1370) 1400 | 1410 | (1410) 1430 | 1450 | 1400 |
8 Остаточные изменения размеров при температуре испытания 1400 °C, %, не более | - | 0,3 | 0,3 | 0,3 | 0,2 | 0,3 | 0,2 | 0,3 |
9 Термическая стойкость, число теплосмен, не менее | - | 4 | 2 | 4 (3) | 3 | 4 (3) | 3 | 4 |
Примечания 1 Огнеупорность и термическую стойкость определяют по согласованию сторон. 2 Значения массовой доли Al2O3, Fe2O3, SiO2 и (Na2O + K2O) указаны на прокаленное вещество. 3 В скобках указаны значения показателей для марок изделий, изготовленных из глин Аркалыкского и Берлинского месторождений. |
Таблица 17
Физико-химические показатели
высокоглиноземистых изделий
Наименование показателя | Значение показателя для марки |
МКРКУ-45 | МКРКП-45 | МЛКУ-62 | МЛКС-62 | МЛКУ-69 | МККС-72 | МККС-75 | МККУ-85 | МККС-90 |
1 Массовая доля, %: | | | | | | | | | |
Al2O3 | Св. 45 | Св. 45 | Св. 62 | Св. 62 | Не менее 69 | Св. 72 | Не менее 75 | Не менее 85 | Не менее 90 |
Fe2O3, не более | 3,5 | 3,5 | 1,1 | 1,4 | 1,0 | 1,5 | 2,2 | 1,5 | 0,8 |
2 Огнеупорность, °C, не ниже | 1730 | 1730 | - | - | - | - | - | 1730 | - |
3 Открытая пористость, %, не более | 18 | 16 | 17 | 22 | 19 | 24 | 23 | 20 | 24 |
4 Предел прочности при сжатии, Н/мм2, не менее | 35 | 40 | 50 | 30 | 50 | 30 | 40 | 60 | 50 |
5 Температура начала размягчения, °C, не ниже | 1400 | 1400 | 1600 | 1450 | 1650 | 1500 | 1420 | - | 1660 |
6 Остаточные изменения размеров, %, не более | 0,4 | 0,2 | - | 0,4 | - | 1,0 | 2,5 | 1,5 | - |
при температуре испытания, °C | 1400 | 1400 | - | 1500 | - | 1600 | 1600 | 1600 | - |
7 Термическая стойкость, число теплосмен, не менее | 3 | 4 | 15 | - | 15 | - | 3 | 12 | - |
Примечания 1 Огнеупорность и термическую стойкость определяют по согласованию сторон. 2 Значения массовой доли Al2O3, Fe2O3 указаны на прокаленное вещество. |
Таблица 18
Физико-химические показатели кремнеземоуглеродистых
и алюмопериклазоуглеродистых изделий
Наименование показателя | Значение показателя для марки |
КРУК-96 | АПУК-60 | АПУК-65 | АПУК-68 | АПУК-70 | АПУК-75-8 | АПУК-75-9 | АПУК-80 |
1 Массовая доля, %: | | | | | | | | |
SiO2, не менее | 96 | - | - | - | - | - | - | - |
Al2O3, не менее | - | Св. 60 | 65 | 68 | 70 | 75 | 75 | 80 |
MgO, в пределах | - | 15 - 25 | - | - | 5 - 11 | 8 - 10 | - | 5 - 11 |
MgO, не менее | - | - | 15 | 10 | - | - | 10 | - |
C, в пределах | 9 - 15 | - | - | - | - | 6 - 8 | - | 5 - 11 |
C, не менее | - | 6 | 7 | 5 | 5 | - | 5 | - |
2 Открытая пористость, %, не более: | | | | | | | | |
до коксования | 14 | 9 | 9 | 9 | 9 | 8 | 9 | 9 |
после коксования | Факультативно |
3 Предел прочности при сжатии, Н/мм2, не менее: | | | | | | | | |
до коксования | 20 | 40 | 40 | 40 | 40 | 50 | 45 | 35 |
после коксования | Факультативно |
Примечания 1 Значения массовой доли SiO2, Al2O3, MgO указаны на прокаленное вещество. 2 Допускается по согласованию сторон устанавливать другие значения массовой доли углерода. |
Таблица 19
Физико-химические показатели периклазоуглеродистых
изделий на основе спеченного периклаза
Наименование показателя | Значение показателя для марки |
ПУСК-60 | ПУСК-89 | ПУСК-91-7 | ПУСК-91-9 | ПУСК-93 | ПУСПК-91 |
1 Массовая доля, %: | | | | | | |
MgO, не менее | 60 | 89 | 91 | 91 | 93 | 91 |
Al2O3, в пределах | 14 - 16 | - | - | - | - | - |
SiO2, не более | - | 2,0 | - | - | 1,6 | - |
C, в пределах | 6 - 8 | - | 7 - 10 | 9 - 11 | - | 7 - 10 |
C, не менее | - | 8 | - | - | 7 | - |
2 Открытая пористость, %, не более: | | | | | | |
до коксования | 8 | 8 | 8 | 6 | 7 | 8 |
после коксования | Факультативно |
3 Предел прочности при сжатии, Н/мм2, не менее: | | | | | | |
до коксования | 40 | 40 | 30 | 35 | 35 | 30 |
после коксования | Факультативно |
Примечания 1 Значения массовой доли SiO2, Al2O3, MgO указаны на прокаленное вещество. 2 Допускается по соглашению сторон устанавливать другие значения массовой доли углерода. |
Таблица 20
Физико-химические показатели периклазоуглеродистых
изделий на основе плавленого периклаза
Наименование показателя | Значение показателя для марки |
ПУПК-90-2 | ПУПК-90-7 | ПУПК-90-9 | ПУПК-90-13 | ПУПК-92 | ПУПК-93 | ПУПК-95 |
1 Массовая доля, %: | | | | | | | |
MgO, не менее | 90 | 90 | 90 | 90 | 92 | 93 | 95 |
SiO2, не более | - | - | - | - | 1,9 | 1,6 | - |
C, в пределах | 2 - 5 | 7 - 10 | 9 - 14 | 13 - 17 | 7 - 12 | Не менее 8 | 5 - 13 |
2 Открытая пористость, %, не более: | | | | | | | |
до коксования | 6 | 8 | 6 | 8 | 6 | 5 | 8 |
после коксования | Факультативно |
3 Предел прочности при сжатии, Н/мм2, не менее: | | | | | | | |
до коксования | 35 | 35 | 30 | 30 | 35 | 35 | 40 |
после коксования | Факультативно |
Примечания 1 Допускается изготовлять изделия марок: - ПУПК-92 с массовой долей C от 9 до 12% включ. и открытой пористостью до коксования не более 8%; - ПУПК-95 с массовой долей C свыше 9% и пределом прочности при сжатии до коксования не менее 35 Н/мм2. 2 Значения массовой доли SiO2, MgO указаны на прокаленное вещество. 3 Допускается по согласованию сторон устанавливать другие значения массовой доли углерода. |
Таблица 21
Физико-химические показатели
периклазошпинельноуглеродистых изделий
Наименование показателя | Значение показателя для марки |
ПШПУК-45 | ПШПУК-50 |
1 Массовая доля, %: | | |
MgO, не менее | 45 | 50 |
Al2O3, не менее | 20 | 20 |
C, не менее | 8 | 8 |
2 Открытая пористость, %, не более: | | |
до коксования | 9 | 8 |
после коксования | Факультативно |
3 Предел прочности при сжатии, Н/мм2, не менее: | | |
до коксования | 30 | 40 |
после коксования | Факультативно |
Примечания 1 Для оксидоуглеродистых изделий марок ПШПУКм-45 и ПШПУКм-50 с впрессованными в шовные поверхности (с двух сторон) металлическими пластинами значения открытой пористости и предела прочности при сжатии устанавливают по соглашению сторон. 2 Значения массовой доли Al2O3, MgO указаны на прокаленное вещество. 3 Допускается по соглашению сторон устанавливать другие значения массовой доли углерода. |
6.2 Изделия по показателям внешнего вида должны соответствовать требованиям, указанным в таблицах 22 и
23.
Таблица 22
Показатели внешнего вида кварцитовых, шамотных
и высокоглиноземистых изделий
В миллиметрах
Наименование показателя | Значение показателя |
1 Кривизна шовной поверхности, не более, изделий размером: | |
до 250 включ. | 1,0 |
св. 250 | 1,5 |
2 Отбитость углов и ребер глубиной, не более: | |
на рабочей и шовной поверхности | 4 |
на поверхности, обращенной к кожуху | 10 |
3 Выплавки диаметром, не более | 5 |
4 Посечки на рабочей поверхности, не образующие сетку и не пересекающие ребро, длиной, не более | 30 |
5 Трещины длиной, не более: | |
на рабочей поверхности | Не допускаются |
на шовной и обращенной к кожуху поверхности шириной: | |
св. 0,5 до 1,0 включ. | 40 |
св. 1,0 | Не допускаются |
Таблица 23
Показатели внешнего вида оксидоуглеродистых изделий
В миллиметрах
Наименование показателя | Значение показателя |
1 Кривизна шовной поверхности, не более | 0,5 |
2 Отбитость углов и ребер глубиной, не более: | |
на рабочей и шовной поверхности | 4 |
на поверхности, обращенной к кожуху | 8 |
3 Посечки, не образующие сетки и не пересекающие ребро, длиной, не более, шириной: | |
до 0,3 включ.: | |
на рабочей поверхности | 10 |
св. 0,3 до 0,5 включ.: | |
на рабочей поверхности | Не допускаются |
на шовной поверхности и поверхности, обращенной к кожуху | 30 |
4 Выплавки диаметром, не более | 5 |
5 Трещины | Не допускаются |
Примечание - Для оксидоуглеродистых изделий марок ПШПУКм-45 и ПШПУКм-50 с впрессованными в шовные поверхности (с двух сторон) металлическими пластинами длину посечек на шовной поверхности не определяют. |
6.3 Изделия в изломе (разрезе) должны иметь однородное строение. Не допускаются трещины, пустоты, слоистая структура, выкрашивание зерен.
Для шамотных и высокоглиноземистых изделий допускаются отдельные посечки длиной до 15 мм включительно.
6.4 Маркировка изделий - по ГОСТ 24717
(раздел 3) с дополнениями по 6.4.1 - 6.4.2.
6.4.1 Допускается наносить маркировку на рабочую поверхность каждого изделия водостойкой краской, отличающейся по цвету от поверхности изделия.
6.4.2 При необходимости маркировки упакованных изделий на ярлык или упаковку наносят:
- наименование предприятия-изготовителя и/или товарный знак;
- полное наименование изделия в соответствии с настоящим стандартом;
- типоразмер изделия (номер изделия по нормативному документу или чертежу заказчика);
- номер партии;
- количество изделий в упаковке;
- вес нетто, брутто.
6.5 Упаковка изделий - по ГОСТ 24717
(раздел 4) с дополнениями по 6.5.1 -
6.5.4.
6.5.1 Изделия укладывают на плоские деревянные поддоны по
ГОСТ 9078,
ГОСТ 26381 и другим нормативным документам и формируют в пакеты.
6.5.2 Кремнеземистые и алюмосиликатные изделия укладывают на деревянный поддон, покрытый коробочным картоном по
ГОСТ 7933 или гофрированным картоном типа Т по нормативным документам, действующим на территории государства, применяющего стандарт <1>.
Сформированный пакет покрывают коробочным картоном по
ГОСТ 7933 или ящиком без дна по
ГОСТ 9142 или гофрированным картоном типа Т по нормативным документам, действующим на территории государства, применяющего стандарт <1>.
--------------------------------
<1> На территории Российской Федерации действует
ГОСТ Р 52901-2007 "Картон гофрированный для упаковки продукции. Технические условия".
Для скрепления изделий в пакетах используют полипропиленовую или полиэстеровую ленту по технической документации или стальную ленту по
ГОСТ 3560.
Допускается использовать термоусадочную пленку толщиной не менее 0,2 мм по
ГОСТ 25951 или стреч-пленку по технической документации.
6.5.3 Оксидоуглеродистые изделия укладывают на поддон на водонепроницаемый материал, например полиэтиленовую пленку или пергамин, перестилая листами коробочного картона по
ГОСТ 7933 или гофрированным картоном типа Т по нормативным документам, действующим на территории государства, применяющего стандарт
<1>, каждый ряд или каждый второй ряд или каждый ряд и каждое изделие в ряду.
Сформированный пакет покрывают листами коробочного картона по
ГОСТ 7933 или слоем гофрированного картона по нормативным документам, действующим на территории государства, применяющего стандарт <1>, или обвязывают полипропиленовой лентой по технической документации или стальной лентой по
ГОСТ 3560, или другой лентой, обеспечивающей целостность пакета, затем покрывают термоусадочной полиэтиленовой пленкой толщиной не менее 0,2 мм по
ГОСТ 25951.
--------------------------------
<1> На территории Российской Федерации действует
ГОСТ Р 52901-2007 "Картон гофрированный для упаковки продукции. Технические условия".
Допускается по согласованию сторон не применять термоусадочную пленку для упаковывания.
6.5.4 Для защиты изделий, формирующих углы и ребра пакета, под ленту укладывают уголки из гофрированного картона, металла или других материалов, обеспечивающих сохранность изделий в пакете.
6.6 По согласованию сторон допускается использовать другие материалы и способы упаковывания, обеспечивающие сохранность изделий при транспортировании и хранении.
7. Требования безопасности
7.1 Изделия являются пожаро- и взрывобезопасными.
7.2 Изделия не являются радиоактивными. Максимальное значение эффективной удельной активности природных радионуклидов в изделиях не превышает 740 Бк/кг по документам, действующим на территории государства, применяющего стандарт
<2>.
7.3 При транспортировании и хранении изделия не выделяют вредных и токсичных веществ.
7.4 По степени воздействия на организм человека пыль алюмосиликатных (ПДК - 6 г/м
3) и оксидоуглеродистых (ПДК - 6/2 мг/м
3) изделий относится к 4-му, а кремнеземистых изделий (ПДК - 3/1 мг/м
3) - к 3-му классу опасности по
ГОСТ 12.1.005,
ГОСТ 12.1.007 и по документам, действующим на территории государства, принявшего стандарт <2>.
--------------------------------
<2> На территории Российской Федерации действует
СанПиН 2.6.1.2800-2010 "Гигиенические требования по ограничению облучения населения за счет природных источников ионизирующего излучения".
7.5 При подготовке ковшей и применении:
- кремнеземистых и алюмосиликатных изделий - вредные и токсичные вещества не выделяются;
- оксидоуглеродистых изделий - возможно выделение летучих продуктов фенолформальдегидных смол, относящихся ко 2-му классу опасности (ПДК по фенолу - 0,1 мг/м3; ПДК по формальдегиду - 0,05 мг/м3) по документам, действующим на территории государства, принявшего стандарт <3>.
--------------------------------
<3> На территории Российской Федерации действует
ГН 2.2.5.1313-2003 "Гигиенические нормативы. ПДК вредных веществ в воздухе рабочей зоны".
7.6 Помещения для футеровки и подготовки сталеразливочных ковшей должны быть оснащены приточно-вытяжной вентиляцией, обеспечивающей содержание паров фенола и формальдегида в воздухе рабочей зоны, не превышающее ПДК.
7.7 При футеровке сталеплавильного ковша огнеупорными изделиями рабочий персонал должен быть обеспечен спецодеждой, спецобувью, защитными очками по
ГОСТ 12.4.253 и средствами защиты рук по
ГОСТ 12.4.010.
При погрузочно-разгрузочных работах следует соблюдать общие требования безопасности по
ГОСТ 12.3.009.
8.1 Правила приемки - по
ГОСТ 8179 (план контроля 3 и 3а) с дополнениями по 8.1.1 -
8.1.3.
8.1.1 Изделия принимают партиями. Допускается по согласованию сторон комплектовать изделия в партии по номерам.
Каждая партия изделий должна сопровождаться документом о качестве, содержащим:
- дату выдачи документа о качестве;
- номер транспортного средства;
- наименование предприятия-изготовителя;
- наименование организации-грузополучателя;
- марку и полное наименование изделия в соответствии с настоящим стандартом;
- типоразмер изделия (номер изделия по нормативному документу или чертежу заказчика);
- номер партии;
- обозначение настоящего стандарта (номер договора на поставку);
- дату изготовления изделий;
- массу поставки (брутто, нетто);
- результаты лабораторных испытаний.
К документу о качестве прикладывают протокол результатов проверки размеров, строения, показателей внешнего вида изделий.
8.1.2 Масса партии изделий не должна превышать:
- кремнеземистых и алюмосиликатных - 225 т;
- оксидоуглеродистых - 100 т.
8.1.3 При проверке соответствия качества изделий требованиям настоящего стандарта категория и периодичность проведения приемо-сдаточных испытаний изделий должны соответствовать требованиям таблицы 24.
Таблица 24
Категория и периодичность проведения испытаний
Наименование показателя | Категория испытания | Периодичность проведения испытания |
1 Показатели внешнего вида и размеры | Приемо-сдаточные | От каждой партии |
2 Строение в изломе | От каждой партии |
3 Массовая доля: | |
SiO2, Na2O, K2O в кремнеземистых изделиях | От каждой четвертой партии |
Al2O3, Fe2O3 в алюмосиликатных изделиях | От каждой третьей партии |
SiO2, C, Al2O3, MgO в оксидоуглеродистых изделиях | От каждой партии |
4 Массовая доля влаги | От каждой партии |
5 Открытая пористость | От каждой партии |
6 Предел прочности при сжатии | От каждой партии |
7 Открытая пористость оксидоуглеродных изделий: | |
до коксования | От каждой партии |
после коксования | |
8 Предел прочности при сжатии оксидоуглеродных изделий: | |
до коксования | От каждой партии |
после коксования | |
9 Кажущаяся плотность | От каждой партии |
10 Остаточные изменения размеров при нагреве | От каждой четвертой партии |
11 Термическая стойкость для изделий: | |
марок МЛКУ-62, МЛКУ-69, ММКУ-85 | От каждой партии |
остальных марок | От каждой четвертой партии |
12 Огнеупорность | От каждой пятой партии |
13 Температура начала размягчения | Периодические | |
Примечания 1 Периодичность проведения испытаний по показателям "Открытая пористость после коксования" и "Предел прочности при сжатии после коксования" на период набора статистических данных устанавливает предприятие-изготовитель. 2 Периодические испытания проводят при изменении технологии и применяемого сырья, но не реже одного раза в полугодие. 3 Очередным периодическим испытаниям подвергают партию, прошедшую приемо-сдаточные испытания. При этом образцы для проведения периодических и приемо-сдаточных испытаний берут из одной выборки. 4 При несоответствии партии по результатам периодических испытаний последующие партии подвергают контролю по всем показателям качества. После получения положительных результатов на трех последовательно принятых партиях периодические испытания проводят в установленном порядке. |
9.1 Массовую долю SiO
2, Al
2O
3, Fe
2O
3, MgO, K
2O, Na
2O, C определяют по
ГОСТ 2642.0,
ГОСТ 2642.3,
ГОСТ 2642.4,
ГОСТ 2642.5,
ГОСТ 2642.8,
ГОСТ 2642.11,
ГОСТ 2642.15, ГОСТ 30771.
Допускается применение других аттестованных методов анализа, обеспечивающих требуемую точность определения.
9.2 Огнеупорность изделий определяют по
ГОСТ 4069 или по нормативным документам, действующим на территории государства, принявшего стандарт <1>. При возникновении разногласий арбитражным является метод по
ГОСТ 4069.
--------------------------------
<1> На территории Российской Федерации действует
ГОСТ Р 53788-2010 "Огнеупоры и огнеупорное сырье. Методы определения огнеупорности".
9.3 Открытую пористость и кажущуюся плотность изделий определяют по
ГОСТ 2409 с дополнениями по 9.3.1 - 9.3.2.
9.3.1 Образцы оксидоуглеродистых изделий с металлическими пластинами, впрессованными в шовные поверхности, вырезают из центральной части изделия; наличие в образце фрагментов металлических пластин не допускается.
9.3.2 Для оксидоуглеродистых изделий в качестве насыщающей жидкости следует применять жидкость, не взаимодействующую с материалом изделия.
9.4 Предел прочности при сжатии изделий определяют по
ГОСТ 4071.1 или по нормативным документам, действующим на территории государства, принявшего стандарт <2>.
--------------------------------
<2> На территории Российской Федерации действует
ГОСТ Р 53065.2-2008 "Изделия огнеупорные общей пористостью менее 45%. Метод определения предела прочности при сжатии при комнатной температуре. Часть 2. Испытание с применением прокладок".
При возникновении разногласий арбитражным является метод по
ГОСТ 4071.1.
Образцы оксидоуглеродистых изделий с металлическими пластинами, впрессованными в шовные поверхности, вырезаются из центральной части изделия; наличие в образце фрагментов металлических пластин не допускается.
9.5 Коксование образцов для определения показателей открытой пористости и предела прочности при сжатии оксидоуглеродистых изделий проводят по ГОСТ 30771.
9.6 Температуру начала размягчения изделий определяют по
ГОСТ 4070.
9.7 Остаточные изменения размеров изделий при нагреве определяют по
ГОСТ 5402.1 или по нормативным документам, действующим на территории государства, принявшего стандарт <3>. При возникновении разногласий арбитражным является метод по
ГОСТ 5402.1.
--------------------------------
<3> На территории Российской Федерации действует
ГОСТ Р 54528-2011 "Изделия огнеупорные с общей пористостью менее 45%. Метод определения остаточных изменений размеров при нагреве".
9.8.1 Термическую стойкость клиновых изделий с размером L менее 230 мм и изделий по чертежам заказчика, из которых невозможно изготовить образцы, не определяют.
9.9 Размеры изделий, кривизну, длину и ширину посечки (трещины), диаметр выплавки, глубину отбитости углов и ребер измеряют по ГОСТ 30762 с дополнениями по 9.9.1 -
9.9.3.
9.9.1 Геометрические размеры прямоугольных и клиновых изделий измеряют два раза: по одному измерению на двух противоположных поверхностях ориентировочно посередине каждой поверхности с отклонением +/- 10 мм от продольной или поперечной осевой линии или ориентировочно на расстоянии 10 мм от соответствующих ребер.
Измерение геометрического размера, совпадающего с направлением прессования, рекомендуется выполнять более двух раз. За результат принимают среднее арифметическое значение.
9.9.2 Диаметр выплавки измеряют металлической линейкой или приспособлением для контроля диаметров поверхностных дефектов по ГОСТ 30762 в месте его максимального размера.
9.9.3 Кривизну изделий измеряют с использованием клина (при норме по кривизне от 1,0 мм и выше), щупа (при норме по кривизне менее 1,0 мм). Кривизну изделий (при норме менее 0,5 мм) измеряют щупом толщиной 0,55 мм.
Допускается использовать калиброванный щуп-шаблон шириной 10 мм и толщиной, превышающей норму по кривизне на 0,10 мм.
Изделие посередине слегка прижимают к поверочной металлической плите и клин или щуп (щуп-шаблон) вводят без усилия в зазор между плитой и изделием путем скольжения по плите вдоль всей длины изделия. Выполняют одно измерение на контролируемой поверхности.
При использовании поверочной стальной линейки ее устанавливают на измеряемую поверхность изделия ребром по диагонали измеряемой поверхности, слегка прижимают посередине и клин или щуп (щуп-шаблон) вводят без усилия в зазор между изделием и линейкой путем скольжения по изделию вдоль всей длины линейки. Длина поверочной стальной линейки должна превышать длину диагонали изделия. Выполняют не менее двух измерений при различных положениях линейки на поверхности изделия, в том числе по диагоналям изделия.
Размер максимального зазора между изделием и плитой или поверочной стальной линейкой измеряют по показанию клина относительно грани изделия, перпендикулярной к плите или вертикальной грани линейки. Если используют щуп (щуп-шаблон), то он не должен входить в зазор.
9.10 Строение в изломе (разрезе), маркировку и упаковку изделий оценивают визуально.
Поверхность излома (разреза) получают приложением ударной нагрузки или резкой.
10. Транспортирование и хранение
10.1 Транспортирование и хранение изделий проводят по
ГОСТ 24717 с дополнением по 10.1.1 - 10.1.3.
10.1.1 Срок хранения кремнеземистых и алюмосиликатных изделий - без ограничения.
10.1.2 Хранение оксидоуглеродистых изделий осуществляют в закрытых вентилируемых складских помещениях. Не допускается хранение изделий без упаковки.
10.1.3 Срок хранения оксидоуглеродистых изделий - не более 9 месяцев от даты изготовления при соблюдении правил транспортирования и хранения.
По согласованию сторон по истечении срока хранения партия изделий может быть принята как новая.
11. Гарантии изготовителя
11.1 Готовые изделия должны быть приняты отделом технического контроля предприятия-изготовителя.
11.2 Изготовитель гарантирует соответствие выпускаемых изделий требованиям настоящего стандарта при соблюдении правил транспортирования и хранения.
(справочное)
А.1 Расчетный объем изделий приведен в таблице А.1.
Таблица А.1
Номер изделия | Расчетный объем, см3 | Номер изделия | Расчетный объем, см3 |
1 | 2110 | 21 | 4710 |
2 | 2650 | 21а | 3180 |
2а | 2670 | 22 | 1300 |
2б | 3650 | 23 | 1470 |
3 | 2230 | 24 | 1790 |
4 | 2740 | 25 | 2120 |
6 | 1560 | 26 | 2450 |
7 | 1560 | 27 | 1650 |
8 | 1760 | 28 | 1850 |
9 | 1910 | 29 | 2270 |
10 | 1850 | 30 | 2680 |
11 | 2100 | 31 | 3090 |
12 | 2120 | 32 | 2360 |
13 | 2330 | 33 | 2650 |
14 | 2330 | 34 | 3240 |
14а | 2580 | 35 | 3830 |
15 | 2610 | 36 | 4420 |
15а | 2730 | 37 | 2000 |
16 | 2890 | 38 | 2880 |
16а | 2870 | 39 | 3600 |
18 | 3290 | 40 | 2160 |
19 | 3650 | 41 | 2720 |
20 | 4300 | 42 | 5850 |
(справочное)
ОРИЕНТИРОВОЧНАЯ СРЕДНЯЯ КАЖУЩАЯСЯ ПЛОТНОСТЬ ИЗДЕЛИЙ
Б.1 Ориентировочная средняя кажущаяся плотность для расчета массы изделий приведена в таблице Б.1.
Таблица Б.1
Марка изделия | Ориентировочная кажущаяся плотность, г/см3 |
КВКБ-95 | 2,20 |
ШКУ-32, ШКС-32 | 2,00 - 2,22 |
ШКУ-37, ШКУ-39 | 2,08 - 2,26 |
ШКП-37, ШКП-39 | 2,12 |
ШКУ-42 | 2,30 |
МКРКУ-45 | 2,20 |
МКРКП-45 | 2,26 - 2,30 |
МЛКС-62, МЛКУ-62 | 2,45 - 2,60 |
МЛКУ-69 | 2,40 - 2,70 |
МККС-72 | 2,50 - 2,70 |
МККС-75 | 2,50 - 2,68 |
МККУ-85, МККС-90 | 2,60 - 3,22 |
КРУК-96 | 2,26 |
АПУК-60 | 3,00 - 3,05 |
АПУК-65 | 3,05 |
АПУК-68 | 2,95 |
АПУК-70 | 2,85 - 2,95 |
АПУК-75-8, АПУК-75-9 | 3,10 |
АПУК-80 | 3,10 - 3,20 |
ПШПУК-45 | 2,90 - 2,95 |
ПШПУК-50 | 3,00 - 3,05 |
ПУСК-60, ПУСК-89 | 2,80 |
ПУСК-91-7, ПУСК-91-9 | 2,95 |
ПУСК-93 | 2,90 |
ПУСПК-91 | 2,95 |
ПУПК-90-2, ПУПК-90-7, ПУПК-90-9 | 3,00 |
ПУПК-90-13 | 2,95 |
ПУПК-92 | 2,92 - 3,05 |
ПУПК-93 | 2,94 |
ПУПК-95 | 3,00 - 3,05 |