Главная // Актуальные документы // ГОСТ (Государственный стандарт)СПРАВКА
Источник публикации
М.: Стандартинформ, 2016
Примечание к документу
Документ
введен в действие с 01.12.2016.
Название документа
"ГОСТ 12.4.301-2015. Межгосударственный стандарт. Система стандартов безопасности труда. Одежда специальная для защиты от диоксида серы. Метод определения защитных свойств материалов"
(введен в действие Приказом Росстандарта от 11.09.2015 N 1335-ст)
"ГОСТ 12.4.301-2015. Межгосударственный стандарт. Система стандартов безопасности труда. Одежда специальная для защиты от диоксида серы. Метод определения защитных свойств материалов"
(введен в действие Приказом Росстандарта от 11.09.2015 N 1335-ст)
Введен в действие
по техническому регулированию
и метрологии
от 11 сентября 2015 г. N 1335-ст
МЕЖГОСУДАРСТВЕННЫЙ СТАНДАРТ
СИСТЕМА СТАНДАРТОВ БЕЗОПАСНОСТИ ТРУДА
ОДЕЖДА СПЕЦИАЛЬНАЯ ДЛЯ ЗАЩИТЫ ОТ ДИОКСИДА СЕРЫ
МЕТОД ОПРЕДЕЛЕНИЯ ЗАЩИТНЫХ СВОЙСТВ МАТЕРИАЛОВ
Occupational safety standards system. Special clothing
for protection from sulphur dioxide. Method for determining
the protective properties of materials
ГОСТ 12.4.301-2015
Дата введения
1 декабря 2016 года
Цели, основные принципы и основной порядок проведения работ по межгосударственной стандартизации установлены в
ГОСТ 1.0-92 "Межгосударственная система стандартизации. Основные положения" и
ГОСТ 1.2-2009 "Межгосударственная система стандартизации. Стандарты межгосударственные, правила и рекомендации по межгосударственной стандартизации. Правила разработки, принятия, применения, обновления и отмены"
1 РАЗРАБОТАН Открытым акционерным обществом "Казанский химический научно-исследовательский институт" (ОАО "КазХимНИИ")
2 ВНЕСЕН Техническим комитетом по стандартизации средств индивидуальной защиты ТК 320 "СИЗ"
3 ПРИНЯТ Межгосударственным советом по стандартизации, метрологии и сертификации (протокол от 27 августа 2015 г. N 79-П)
За принятие проголосовали:
Краткое наименование страны по МК (ИСО 3166) 004-97 | Код страны по МК (ИСО 3166) 004-97 | Сокращенное наименование национального органа по стандартизации |
Армения | AM | Минэкономики Республики Армения |
Беларусь | BY | Госстандарт Республики Беларусь |
Казахстан | KZ | Госстандарт Республики Казахстан |
Киргизия | KG | Кыргызстандарт |
Россия | RU | Росстандарт |
Таджикистан | TJ | Таджикстандарт |
4
Приказом Федерального агентства по техническому регулированию и метрологии от 11 сентября 2015 г. N 1335-ст межгосударственный стандарт ГОСТ 12.4.301-2015 введен в действие в качестве национального стандарта Российской Федерации с 01.12.2016 г.
5 ВВЕДЕН ВПЕРВЫЕ
Информация об изменениях к настоящему стандарту публикуется в ежегодном информационном указателе "Национальные стандарты", а текст изменений и поправок - в ежемесячном информационном указателе "Национальные стандарты". В случае пересмотра (замены) или отмены настоящего стандарта соответствующее уведомление будет опубликовано в ежемесячном информационном указателе "Национальные стандарты". Соответствующая информация, уведомление и тексты размещаются также в информационной системе общего пользования - на официальном сайте Федерального агентства по техническому регулированию и метрологии в сети Интернет (www.gost.ru)
Настоящий стандарт распространяется на специальную одежду, изготовленную из резинотканевых защитных материалов; из защитных материалов с различными полимерными покрытиями; из защитных пленочных материалов; из химзащитных фильтрующе-сорбирующих материалов и устанавливает метод определения защитных свойств материалов (пакетов материалов) при воздействии диоксида серы.
Настоящий стандарт не распространяется на следующие специальные виды одежды:
- военные;
- пожарные;
- медицинские;
- для работ с ионизирующим излучением.
В настоящем стандарте использованы нормативные ссылки на следующие межгосударственные стандарты:
ГОСТ 12.1.004-91 Система стандартов безопасности труда. Пожарная безопасность. Общие требования
ГОСТ 12.1.005-88 Система стандартов безопасности труда. Общие санитарно-гигиенические требования к воздуху рабочей зоны
ГОСТ 12.1.007-76 Система стандартов безопасности труда. Вредные вещества. Классификация и общие требования безопасности
ГОСТ 12.1.030-81 Система стандартов безопасности труда. Электробезопасность. Защитное заземление, зануление
ГОСТ 195-77 Реактивы. Натрий сернистокислый. Технические условия
ГОСТ 1770-74 (ИСО 1042-83, ИСО 4788-80) Посуда мерная лабораторная, стеклянная. Цилиндры, мензурки, колбы, пробирки. Технические условия
ГОСТ 4202-75 Реактивы. Калий йодноватокислый. Технические условия
ГОСТ 7995-80 Краны соединительные стеклянные. Технические условия
ГОСТ 25336-82 Посуда и оборудование лабораторные стеклянные. Типы, основные параметры и размеры
ГОСТ 29228-91 Посуда лабораторная стеклянная. Пипетки градуированные. Часть 2. Пипетки градуированные без установленного времени ожидания
Примечание - При пользовании настоящим стандартом целесообразно проверить действие ссылочных стандартов в информационной системе общего пользования - на официальном сайте Федерального агентства по техническому регулированию и метрологии в сети Интернет или по ежегодному информационному указателю "Национальные стандарты", который опубликован по состоянию на 1 января текущего года, и по выпускам ежемесячного информационного указателя "Национальные стандарты" за текущий год. Если ссылочный стандарт заменен (изменен), то при пользовании настоящим стандартом следует руководствоваться заменяющим (измененным) стандартом. Если ссылочный стандарт отменен без замены, то положение, в котором дана ссылка на него, применяется в части, не затрагивающей эту ссылку.
В настоящем стандарте применены следующие термины с соответствующими определениями:
3.1 проницаемость образца материала: Масса диоксида серы, проникшего за время испытания через 1 см2 площади образца.
3.2 время защитного действия материала: Время от начала испытания до момента проникновения через квадратный сантиметр площади образца материала (пакета материалов) предельно допустимого уровня, установленного в нормативных документах (НД).
3.3 предельно допустимый уровень, ПДУ: Количество вредного вещества на коже, которое при ежедневной (кроме выходных дней) работе в течение 8 ч и не более 40 ч в неделю в течение всего рабочего стажа не должно вызывать заболеваний или отклонений в состоянии здоровья, обнаруживаемых современными методами исследований, в процессе работы или в определенные сроки жизни настоящего и последующих поколений. Воздействие вредного вещества на уровне ПДУ не исключает нарушение состояния здоровья у лиц с повышенной чувствительностью.
3.4 пакет материалов: Набор защитных материалов, расположенных в последовательности, определяемой нормативным документом на конкретную специальную защитную одежду.
4 Сущность метода определения защитных свойств материалов от диоксида серы
Сущность метода определения защитных свойств материалов при воздействии паров диоксида серы заключается в определении времени защитного действия. Время защитного действия находят из графика зависимости проницаемости диоксида серы, прошедшего через образец материала в поглотительный раствор, от начала испытаний до момента превышения предельно допустимого уровня диоксида серы, установленного в нормативной документации (НД).
Количественное определение диоксида серы в поглотительном растворе основано на его взаимодействии с йодид-йодатной смесью, приготовленной по
7.2, с последующим фотометрическим измерением оптической плотности окрашенных растворов при длине волны 400 нм. Нижний предел обнаружения диоксида серы 5 мкг в анализируемом объеме пробы.
Для определения начала времени проникания диоксида серы через испытуемый образец материала используют индикаторные трубки на диоксид серы. Предел обнаружения диоксида серы индикаторной трубкой составляет 0,005 мг/дм3.
5 Требования к условиям проведения испытания
Определение защитных свойств образцов защитных материалов, используемых для изготовления специальной защитной одежды, при воздействии диоксида серы, проводится в климатических условиях лабораторного помещения при температуре воздуха (20 +/- 5) °C и относительной влажности от 30% до 80%.
6 Испытательное оборудование, средства измерений и реактивы
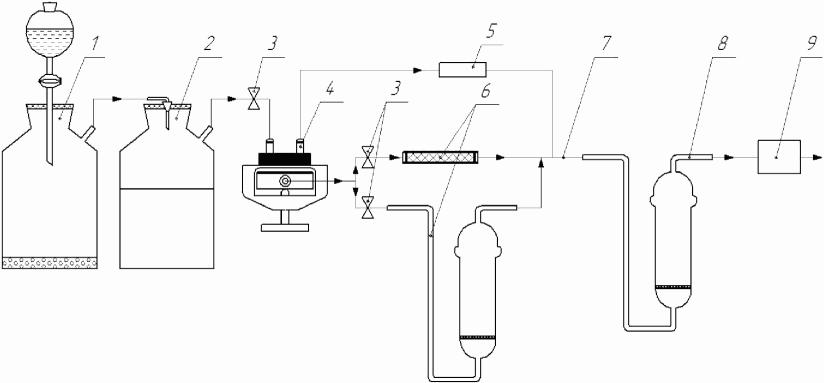
6.1 Испытательная установка (см.
рисунок 1) состоит из:
- стеклянного оборудования для получения газовоздушной смеси
1, состоящего из колбы 1-500 по
ГОСТ 25336 и делительной воронки ВД-1-100 ХС по
ГОСТ 25336, соединенных через уплотнители (резиновая пробка) по НД;
- склянки с тубусом 1-20 по
ГОСТ 25336, предназначенной для накопления газовоздушной смеси в буферной емкости
2 с уплотнителем по НД;
- прибора для испытания образцов защитных материалов
4 (рисунок 2);
- ротаметра 5 по НД с ценой деления расхода воздуха от 0,005 до 0,1 дм3/мин;
- индикаторной трубки 6 по НД для качественного обнаружения диоксида серы, фиксирующей момент появления диоксида серы за защитным материалом от 0,005 до 0,13 мг/дм3 в воздушной смеси, или поглотителя Рихтера (Зайцева) 6 по НД с поглотительным раствором для количественного определения диоксида серы фотометрическим методом от 0,05 до 10 мг/дм3 в поглотительном растворе;
- полихлорвиниловой трубки 7 по НД, соединяющей элементы схемы испытательной установки;
- склянки СПЖ-250 по
ГОСТ 25336 с поглотительным раствором
8, не допускающей попадания химического вещества в окружающую среду;
- воздухозаборного устройства
9 (аспиратора по НД с ценой деления 0,1 дм
3/мин для склянок с поглотительным раствором и расходом воздуха от 0,1 до 20,0 дм
3/мин или водоструйного насоса по
ГОСТ 25336 с ротаметром по НД с ценой деления расхода воздуха от 0,005 до 0,1 дм
3/мин при использовании индикаторных трубок).
1 - стеклянное оборудование для получения газовоздушной
смеси; 2 - буферная емкость; 3 - краны; 4 - прибор
для испытания образцов защитных материалов; 5 - ротаметр;
6 - индикаторная трубка или поглотитель Рихтера (Зайцева)
с поглотительным раствором для определения двуокиси серы;
7 - трубка полихлорвиниловая; 8 - склянка с поглотительным
раствором для очистки воздушной смеси; 9 - воздухозаборное
устройство (аспиратор или водоструйный насос)
Рисунок 1 - Схема испытательной установки
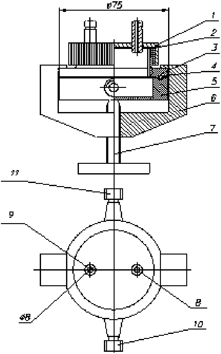
1 - крышка; 2 - прокладка; 3 - диафрагма; 4 - образец
материала; 5 - поддон; 6 - струбцина; 7 - винт;
8, 9 - штуцера крышки; 10, 11 - штуцера поддона
Рисунок 2 - Прибор для испытания образцов
защитных материалов
6.2 Фотометр фотоэлектрический - по НД.
6.5 Стаканы В-1-50 ТС, В-1-150 ТС, В-1-2000 - по
ГОСТ 25336.
6.10 Кислота серная, 0,1 н, раствор - по НД.
6.11 Натрий сернистокислый - по
ГОСТ 195.
7 Порядок подготовки к проведению испытаний
7.1 Порядок подготовки образцов материала для испытания
7.1.1 Для испытания образцов защитных материалов (пакетов материалов) вырезают на расстоянии не менее 50 мм от кромки три образца материала диаметром (75 +/- 1) мм и выдерживают в климатических условиях лабораторного помещения в течение не менее 1 ч.
7.1.2 Испытуемый образец защитных материалов (пакет материалов) помещают в прибор (см.
рисунок 2) между крышкой
1 и поддоном
5 и фиксируют струбциной
6. При этом испытуемая площадь материала составляет 20 см
2.
7.2 Порядок подготовки к проведению испытаний при воздействии диоксида серы
7.2.1 Приготовление градуировочного раствора
Градуировочный раствор диоксида серы с концентрацией 100 мкг/см3 готовят в мерной колбе на 100 см3 разбавлением 3,12 см3 0,1 н серной кислоты, отмеренной пипеткой на 5 см3, поглотительным раствором. Раствор устойчив в течение недели.
7.2.2 Приготовление поглотительного раствора
Поглотительный раствор готовят путем смешивания 1,0%-ного раствора калия йодноватокислого с дистиллированной водой в соотношении 1:1,5. Раствор устойчив в течение недели.
7.2.3 Приготовление индикаторного раствора
Индикаторный раствор с 3%-ной концентрацией готовят растворением 3 г калия йодистого в колбе на 100 см3 дистиллированной водой.
7.2.4 Построение градуировочного графика
Для построения градуировочного графика готовят шкалу градуировочных растворов в пробирках вместимостью 10 см
3 согласно
таблице 1, отбирая пипеткой на 1 см
3 градуировочный раствор по
7.2.1 и пипеткой на 5 см
3 на поглотительный раствор по
7.2.2.
Номер градуировочного раствора | Объем градуировочного раствора, эквивалентного 100 мкг/см3 диоксида серы, см3 | Объем поглотительного раствора, см3 | Содержание диоксида серы, мкг |
1 (холостая проба) | 0 | 5,00 | 0 |
2 | 0,05 | 4,95 | 5 |
3 | 0,1 | 4,90 | 10 |
4 | 0,2 | 4,80 | 20 |
5 | 0,3 | 4,70 | 30 |
6 | 0,4 | 4,60 | 40 |
7 | 0,5 | 4,50 | 50 |
Во все пробирки с градуировочными растворами приливают пипеткой на 5 см
3 по 0,5 см
3 свежеприготовленного 3%-го раствора калия йодистого, получая йодид-йодатную смесь. Подготовленные растворы перемешивают, через 10 мин измеряют их оптическую плотность на фотоэлектрическом фотометре при длине волны

, равной 400 нм, в кювете с толщиной слоя в 5 мм по сравнению с холостой пробой.
По результатам фотометрирования строят градуировочный график зависимости оптической плотности от массы диоксида серы. Шкалу градуировочных растворов готовят по шести пробам каждого градуировочного раствора, вычисляя их среднее значение.
7.2.5 Получение газообразного диоксида серы
Для получения газообразного диоксида серы используют стеклянное оборудование
1, показанное на
рисунке 1. В колбу емкостью 500 см
3 засыпают натрий сернистокислый в количестве от 10 до 15 г, в делительную воронку с краном заливают концентрированную серную кислоту в количестве от 50 до 70 см
3. Кислоту приливают в колбу со скоростью от 20 до 25 капель в минуту. Полученную в ходе реакции струю газовоздушной смеси диоксида серы подают в буферную емкость. Концентрацию диоксида серы в буферной емкости, заданной по НД, определяют по
7.2.6.
7.2.6 Определение концентрации в буферной емкости
7.2.6.1 Газовоздушную смесь из буферной емкости просасывают через поглотитель Рихтера (Зайцева) с 10,0 см3 поглотительного раствора воздухозаборным устройством со скоростью 0,1 дм3/мин в течение 1 мин.
7.2.6.2 Из поглотителя Рихтера (Зайцева) в пробирку на 10 см
3 отбирают 5,0 см
3 поглотительного раствора пипеткой на 5 см
3, добавляют 0,5 см
3 3,0%-ный раствор калия йодистого пипеткой на 5 см
3. Содержимое пробирки переносят в кювету фотоэлектрического фотометра с толщиной слоя 5 мм и фотометрируют при длине волны

, равной 400 нм, по сравнению с холостой пробой. По градуировочному графику определяют массу диоксида серы
M в поглотительном растворе по
7.2.4.
7.2.6.3 Вычисляют концентрацию диоксида серы в буферной емкости согласно
9.1.
7.2.6.4 Контроль концентрации проводят постоянно с применением поглотителя Рихтера (Зайцева) с поглотительным раствором. В случае уменьшения концентрации диоксида серы в буферной емкости, для получения заданного значения, дополнительно подается газовоздушная смесь из стеклянного оборудования 1.
8.1 На испытуемый образец защитного материала (пакет материалов), помещенного в прибор (см.
рисунок 2), подают созданную в буферной емкости газовоздушную смесь диоксида серы заданной концентрации в штуцер крышки
8 прибора открытием крана
3 (см.
рисунок 1), а из штуцера крышки
9 прибора эту смесь отсасывают водоструйным насосом
9 (см.
рисунок 1) через ротаметр
5 (см.
рисунок 1) со скоростью 0,01 - 0,02 дм
3/мин. Одновременно включают секундомер, отмечая начало испытаний.
8.2 Для определения времени момента появления диоксида серы за защитным материалом проводят анализ по качественному обнаружению диоксида серы при помощи индикаторной трубки. Для этого из штуцера поддона
11 прибора (см.
рисунок 2) отсасывается воздух чистый от химических веществ, подаваемый в штуцер поддона
10 прибора (см.
рисунок 2), водоструйным насосом
9 (см.
рисунок 1), который просасывается через индикаторную трубку. При срабатывании (изменении цвета) индикаторной трубки записывают время начала пропускания диоксида серы испытуемым образцом материала.
8.3 Для проведения анализа по количественному обнаружению диоксида серы из штуцера поддона
11 прибора (см.
рисунок 2) отсасывается воздух чистый от химических веществ, подаваемый в штуцер поддона
10 прибора (см.
рисунок 2), аспиратором
9 (см.
рисунок 1) с объемным расходом 0,1 дм
3/мин, который проходит через поглотитель Рихтера (Зайцева) с поглотительным раствором объемом 10 см
3. По времени начала пропускания диоксида серы, определенному по
8.2, в схеме испытательной установки меняют поглотитель Рихтера (Зайцева) на другой с новым поглотительным раствором.
8.4 Со снятым из схемы испытательной установки поглотительным раствором проводят операции в соответствии с
7.2.6.2. По градуировочному графику определяют массу диоксида серы
M1 в поглотительном растворе по
7.2.4.
8.5 Далее, поглотители Рихтера (Зайцева) с поглотительным раствором меняют в схеме испытательной установки через каждые 10 мин. Для каждого интервала времени (10 мин) определяют массу диоксида серы
M2,3,n, суммируя предыдущие определенные массы по
8.4 и
9.2.
Последовательно проводят не менее трех испытаний. Погрешность метода составляет до 20% при доверительной вероятности 0,95.
9.1 Концентрацию диоксида серы
C в воздушной смеси, мг/дм
3, вычисляют по формуле

, (1)
где M - масса диоксида серы в анализируемом объеме поглотительного раствора, определенная по градуировочному графику, мкг;
V1 - общий объем пробы, дм3;
V - объем пробы, взятый для анализа, дм3;
1000 - коэффициент пересчета;
V20 - объем воздуха, взятый для анализа и приведенный к нормальным условиям, дм3, вычисляют по формуле

, (2)
где P - атмосферное давление при отборе пробы воздуха, мм рт. ст.;
V - объем пробы воздуха, измеренный при отборе, дм3;
t - температура воздуха при входе в ротаметр, °C;
K - коэффициент пересчета 0,358.
9.2 Общую массу диоксида серы, определяемую каждые 10 мин в поглотительных растворах во время испытаний образцов материала,
Mобщ., мг, вычисляют по формуле
Mобщ = M1 + M2 + ,..., + Mn, (3)
где M1,2, n - масса диоксида серы в каждом предыдущем поглотительном растворе, мг.
9.3 Проницаемость за время испытания образца материала П, мг/см2, вычисляют по формуле

, (4)
где S - площадь испытуемого образца материала в приборе, равного 20 см2;
n - число отобранных поглотителей;
Mобщ - общая масса диоксида серы.
За проницаемость образца материала за время испытания принимают среднеарифметическое значение трех испытаний.
9.4 Время защитного действия защитного материала специальной одежды определяется из графика зависимости проницаемости диоксида серы, прошедшего через образец материала в поглотительный раствор, от начала испытаний до момента превышения предельно допустимого уровня диоксида серы, равного 0,3 мг/см2, или установленного в НД.
10 Требования к квалификации персонала
К проведению испытаний допускаются специалисты, имеющие высшее образование соответствующей специальности и стаж работы в химической лаборатории не менее года.
11 Требования безопасности
При проведении испытаний следует выполнять требования безопасности работы с вредными веществами
ГОСТ 12.1.007, санитарно-гигиенические требования к воздуху рабочей зоны
ГОСТ 12.1.005, требования пожарной безопасности
ГОСТ 12.1.004 и электробезопасности
ГОСТ 12.1.030.
УДК 614.89:006.354 | |
Ключевые слова: защитные материалы и изделия из них, диоксид серы, поглотительного раствора |