Главная // Актуальные документы // ГОСТ (Государственный стандарт)СПРАВКА
Источник публикации
М.: Стандартинформ, 2017
Примечание к документу
Документ
введен в действие с 1 июля 2018 года.
Название документа
"ГОСТ 34148-2017. Межгосударственный стандарт. Консервы фруктовые. Определение наличия синтетических красителей эритрозина и флоксина B методом тонкослойной хроматографии"
(введен в действие Приказом Росстандарта от 08.08.2017 N 834-ст)
"ГОСТ 34148-2017. Межгосударственный стандарт. Консервы фруктовые. Определение наличия синтетических красителей эритрозина и флоксина B методом тонкослойной хроматографии"
(введен в действие Приказом Росстандарта от 08.08.2017 N 834-ст)
агентства по техническому
регулированию и метрологии
от 8 августа 2017 г. N 834-ст
МЕЖГОСУДАРСТВЕННЫЙ СТАНДАРТ
КОНСЕРВЫ ФРУКТОВЫЕ
ОПРЕДЕЛЕНИЕ НАЛИЧИЯ СИНТЕТИЧЕСКИХ КРАСИТЕЛЕЙ ЭРИТРОЗИНА
И ФЛОКСИНА B МЕТОДОМ ТОНКОСЛОЙНОЙ ХРОМАТОГРАФИИ
Canned fruits. Determination of synthetic colours
erythrosine and phloxine B presence by thin-layer
chromatography method
ГОСТ 34148-2017
Дата введения
1 июля 2018 года
Цели, основные принципы и основной порядок проведения работ по межгосударственной стандартизации установлены в
ГОСТ 1.0-2015 "Межгосударственная система стандартизации. Основные положения" и
ГОСТ 1.2-2015 "Межгосударственная система стандартизации. Стандарты межгосударственные, правила и рекомендации по межгосударственной стандартизации. Правила разработки, принятия, обновления и отмены"
1 РАЗРАБОТАН Федеральным государственным бюджетным научным учреждением "Всероссийский научно-исследовательский институт пищевых добавок" (ФГБНУ ВНИИПД)
2 ВНЕСЕН Федеральным агентством по техническому регулированию и метрологии
3 ПРИНЯТ Межгосударственным советом по стандартизации, метрологии и сертификации (протокол от 1 июня 2017 г. N 51-2017)
За принятие проголосовали:
Краткое наименование страны по МК (ИСО 3166) 004-97 | Код страны по МК (ИСО 3166) 004-97 | Сокращенное наименование национального органа по стандартизации |
Армения | AM | Минэкономики Республики Армения |
Беларусь | BY | Госстандарт Республики Беларусь |
Казахстан | KZ | Госстандарт Республики Казахстан |
Киргизия | KG | Кыргызстандарт |
Россия | RU | Росстандарт |
Таджикистан | TJ | Таджикстандарт |
Узбекистан | UZ | Узстандарт |
Украина | UA | Минэкономразвития Украины |
4
Приказом Федерального агентства по техническому регулированию и метрологии от 8 августа 2017 г. N 834-ст межгосударственный стандарт ГОСТ 34148-2017 введен в действие в качестве национального стандарта Российской Федерации с 1 июля 2018 г.
--------------------------------
<*>
Приказом Федерального агентства по техническому регулированию и метрологии от 8 августа 2017 г. N 834-ст
ГОСТ Р 54068-2010 отменен с 1 июля 2018 г.
6 ВВЕДЕН ВПЕРВЫЕ
Информация об изменениях к настоящему стандарту публикуется в ежегодном информационном указателе "Национальные стандарты", а текст изменений и поправок - в ежемесячном информационном указателе "Национальные стандарты". В случае пересмотра (замены) или отмены настоящего стандарта соответствующее уведомление будет опубликовано в ежемесячном информационном указателе "Национальные стандарты". Соответствующая информация, уведомление и тексты размещаются также в информационной системе общего пользования - на официальном сайте Федерального агентства по техническому регулированию и метрологии в сети Интернет (www.gost.ru)
Настоящий стандарт распространяется на фруктовые консервы - компоты из фруктов и ягод (далее - консервы) и устанавливает хроматографический метод определения наличия синтетических красителей эритрозина и флоксина B (далее - красителей) в тонком слое сорбента.
В настоящем стандарте использованы нормативные ссылки на следующие межгосударственные стандарты:
ГОСТ 12.0.004-2015 Система стандартов безопасности труда. Организация обучения безопасности труда. Общие положения
ГОСТ 12.1.004-91 Система стандартов безопасности труда. Пожарная безопасность. Общие требования
ГОСТ 12.1.005-88 Система стандартов безопасности труда. Общие санитарно-гигиенические требования к воздуху рабочей зоны
ГОСТ 12.1.007-76 Система стандартов безопасности труда. Вредные вещества. Классификация и общие требования безопасности
ГОСТ 12.1.019-79 Система стандартов безопасности труда. Электробезопасность. Общие требования и номенклатура видов защиты
ГОСТ 12.2.007.0-75 Система стандартов безопасности труда. Изделия электротехнические. Общие требования безопасности
ГОСТ 12.4.009-83 Система стандартов безопасности труда. Пожарная техника для защиты объектов. Основные виды. Размещение и обслуживание
ГОСТ 12.4.021-75 Система стандартов безопасности труда. Системы вентиляционные. Общие требования
ГОСТ 12.4.103-83 Система стандартов безопасности труда. Одежда специальная защитная, средства индивидуальной защиты ног и рук. Классификация
ГОСТ 61-75 Реактивы. Кислота уксусная. Технические условия
ГОСТ OIML R 76-1-2011 Государственная система обеспечения единства измерений. Весы неавтоматического действия. Часть 1. Метрологические и технические требования. Испытания
ГОСТ 427-75 Линейки измерительные металлические. Технические условия
ГОСТ 1770-74 (ИСО 1042-83, ИСО 4788-80) Посуда мерная лабораторная стеклянная. Цилиндры, мензурки, колбы, пробирки. Общие технические условия
ГОСТ ISO 7886-1-2011 Шприцы инъекционные однократного применения стерильные. Часть 1. Шприцы для ручного использования
ГОСТ 8756.0-70 Продукты пищевые консервированные. Отбор проб и подготовка их к испытанию
ГОСТ 14919-83 Электроплиты, электроплитки и жарочные электрошкафы бытовые. Общие технические условия
ГОСТ 18300-87 Спирт этиловый ректификованный технический. Технические условия <*>
--------------------------------
<*> В Российской Федерации действует
ГОСТ Р 55878-2013 "Спирт этиловый технический гидролизный ректификованный. Технические условия".
ГОСТ 21241-89 Пинцеты медицинские. Общие технические требования и методы испытаний
ГОСТ 25336-82 Посуда и оборудование лабораторные стеклянные. Типы, основные параметры и размеры
ГОСТ 26671-2014 Продукты переработки фруктов и овощей, консервы мясные и мясорастительные. Подготовка проб для лабораторных анализов
ГОСТ 28498-90 Термометры жидкостные стеклянные. Общие технические требования. Методы испытаний
ГОСТ 29169-91 (ИСО 648-77) Посуда лабораторная стеклянная. Пипетки с одной отметкой
ГОСТ 29227-91 (ИСО 835-1-81) Посуда лабораторная стеклянная. Пипетки градуированные. Часть 1. Общие требования
Примечание - При пользовании настоящим стандартом целесообразно проверить действие ссылочных стандартов в информационной системе общего пользования - на официальном сайте Федерального агентства по техническому регулированию и метрологии в сети Интернет или ежегодному информационному указателю "Национальные стандарты", который опубликован по состоянию на 1 января текущего года, и по выпускам ежемесячного информационного указателя "Национальные стандарты" за текущий год. Если ссылочный стандарт заменен (изменен), то при пользовании настоящим стандартом следует руководствоваться заменяющим (измененным) стандартом. Если ссылочный стандарт отменен без замены, то положение, в котором дана ссылка на него, применяется в части, не затрагивающей эту ссылку.
Хроматографический метод определения наличия красителей основан на их водно-спиртовой экстракции из измельченной твердой части анализируемых консервов и сорбции красителей из полученного экстракта и жидкой части консервов твердыми сорбентами, десорбции аммиаком и удалении последнего выпариванием и хроматографировании в тонком слое сорбента (ТСХ).
Идентификацию красителей проводят методом сравнения значений Rf (отношение расстояния от центра пятна обнаруженного красителя до линии старта к расстоянию от линии миграции элюента до линии старта) каждого обнаруженного красителя со значениями Rf (отношение расстояния от центра пятна контрольного образца красителя до линии старта к расстоянию от линии миграции элюента до линии старта) контрольных образцов красителей (КО).
4. Требования безопасности
4.1 При выполнении анализов необходимо соблюдать требования техники безопасности при работе с химическими реактивами по ГОСТ
12.1.007 и
ГОСТ 12.4.103.
4.2 Помещение, в котором проводят анализы, должно быть оборудовано общей приточно-вытяжной вентиляцией по ГОСТ
12.4.021.
4.4 Организация обучения работающих безопасности труда - по
ГОСТ 12.0.004.
4.5 Помещение лаборатории должно соответствовать требованиям пожарной безопасности по
ГОСТ 12.1.004 и иметь средства пожаротушения по
ГОСТ 12.4.009.
4.6 Содержание вредных веществ в воздухе рабочей зоны не должно превышать норм, установленных
ГОСТ 12.1.005.
5. Средства измерений, вспомогательные оборудование
и устройства, посуда, материалы и реактивы
5.1 Весы утвержденного типа, поверенные в установленном порядке, с пределами допускаемой абсолютной погрешности не более +/- 0,2 мг.
5.2 Весы неавтоматического действия по
ГОСТ OIML R 76-1 высокого (II) класса точности (
e = 0,1 г) и с пределами допускаемой абсолютной погрешности в эксплуатации +/- 0,1 г.
5.3 Термометр жидкостный стеклянный диапазоном измерения температуры от 0 °C до 100 °C, с ценой деления 1 °C по
ГОСТ 28498.
5.4 Линейка 150 (300) с одной шкалой по
ГОСТ 427.
5.5 Секундомер.
5.6 pH-метр со стеклянным электродом диапазоном измерения от 1 до 14 ед. pH с абсолютной допускаемой погрешностью измерений +/- 0,05 ед. pH.
5.7 Камера хроматографическая с размерами сторон 12 x 12 x 5 см.
5.8 Мешалка магнитная с максимальной скоростью вращения магнитного ротора 1400 об/мин.
5.9 Термостат или баня водяная.
5.11 Пластина высокоэффективная для тонкослойной хроматографии (ТСХ) с силикагелем зернением от 8 до 12 мкм и толщиной слоя от 80 до 100 мкм на полимерной (полиэтилентерефталат) подложке.
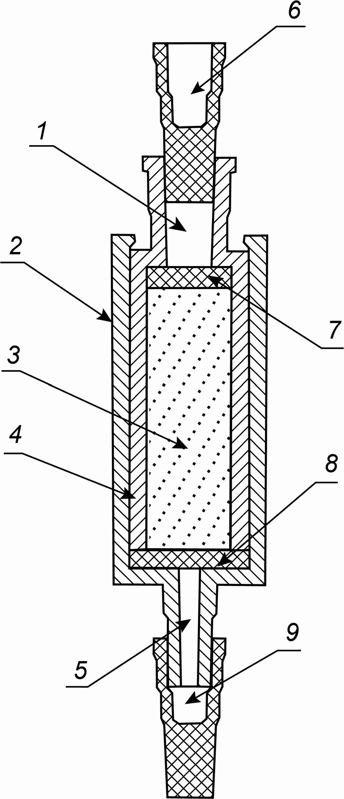
5.12 Патрон из полипропилена в виде разъемных капсул объемом 1 см
3 (см.
рисунок А.1, приложение А).
5.14 Колбы 2-25-1, 2-50-1, 2-100-1, 2-250-1, 2-500-1 по
ГОСТ 1770.
5.15 Пробки стеклянные с конусом 29/32 по
ГОСТ 1770.
5.16 Цилиндры 1-100-1 с ценой наименьшего деления 1 см
3 по
ГОСТ 1770.
5.19 Пипетки 1-1-1-1, 1-1-1-5, 1-1-1-10 по
ГОСТ 29227.
5.21 Шприцы медицинские инъекционные вместимостью от 10 до 20 см
3 по
ГОСТ ISO 7886-1.
5.22 Микрошприц вместимостью 1,0 мм
3 (1 мкл) с ценой деления не более 0,02 мм
3 (0,02 мкл).
5.24 Палочки стеклянные с оплавленным концом.
5.25 Фильтры бумажные обеззоленные "красная лента".
5.26 Воронки фильтрующие ВФ-1-32-ПОР 160 ХС по
ГОСТ 25336.
5.27 Алюминия оксид активированный кислый, (4,5 +/- 0,5) ед. pH, зернением от 0,05 до 0,15 мм, удельной поверхностью 155 м
2/г для колоночной хроматографии.
5.28 Метилэтилкетон (2-бутанон) для хроматографии.
5.29 Красители синтетические эритрозин и флоксин B с массовой долей красящих веществ не менее 85%.
5.30 Кислота уксусная по
ГОСТ 61, х.ч., ледяная.
5.31 Спирт этиловый ректификованный технический высшего сорта по
ГОСТ 18300.
5.32 Аммиак водный по
ГОСТ 3760, ч.д.а., раствор массовой концентрацией 250 г/дм
3.
Допускается применение других средств измерений, вспомогательных оборудования и устройств, посуды и материалов, не уступающих вышеуказанным по метрологическим и техническим характеристикам и обеспечивающих необходимую точность измерения, а также реактивы по качеству не ниже вышеуказанных.
6. Подготовка к проведению анализа
6.1 Отбор проб
6.2 Условия проведения анализа
При подготовке и проведении анализа должны быть соблюдены следующие условия:
- температура окружающего воздуха .................. от 20 °C до 25 °C;
- относительная влажность воздуха ...................... от 40% до 90%;
- напряжение в электросети ..................................

;
- частота тока в электросети .......................... от 49 до 51 Гц.
Все операции с реактивами следует проводить в вытяжном шкафу.
6.3 Требования к квалификации оператора
К выполнению и обработке результатов анализа допускают специалиста, имеющего высшее или среднее специальное химическое образование и опыт работы в химической лаборатории, владеющего техникой выполнения анализов с применением тонкослойной хроматографии, освоившего настоящую методику, прошедшего обучение работе с приборами и инструктаж по технике безопасности.
6.4 Приготовление раствора уксусной кислоты
5 см
3 ледяной уксусной кислоты
(5.30) вносят в мерную колбу вместимостью 500 см
3 (5.14) и доводят дистиллированной водой до метки.
Срок хранения раствора уксусной кислоты в условиях по
6.2 - не более 24 ч.
6.5 Приготовление элюента
В мерную колбу (с пришлифованной пробкой) вместимостью 50 см
3 вносят пипетками
(5.19), индивидуальными для каждого реактива, 6 см
3 ацетона
(5.33), 14 см
3 метилэтилкетона
(5.28), 0,1 см
3 водного аммиака
(5.32) и 6 см
3 дистиллированной воды
(5.34). Колбу закрывают пробкой и тщательно перемешивают содержимое.
Элюент готовят за 1 ч до начала анализа. Не допускается повторное использование элюента.
6.6 Приготовление экстрагента
В мерную колбу (с пришлифованной пробкой) вместимостью 250 см
3 вносят пипеткой
(5.19) 0,1 см
3 водного аммиака
(5.32) и отмеряют цилиндром 50 см
3 этилового спирта
(5.31) и 50 см
3 дистиллированной воды. Закрывают колбу пробкой и тщательно перемешивают содержимое.
Раствор готовят непосредственно перед анализом.
6.7 Приготовление водно-спиртового раствора
В мерную колбу вместимостью 250 см
3 отмеряют цилиндром 50 см
3 этилового спирта
(5.31) и 50 см
3 дистиллированной воды. Закрывают колбу пробкой и тщательно перемешивают содержимое.
Раствор готовят непосредственно перед анализом.
6.8 Приготовление растворов КО
6.8.1 В необходимое число стаканов вместимостью 50 см
3 каждый на весах по
5.1 взвешивают по 0,050 г контрольных образцов красителей по
5.29, характеристики которых приведены в таблице 1.
Таблица 1
Значения
Rf контрольных образцов красителей
Наименование красителя | Номер красителя <*> | Индекс пищевой добавки <**> | Значения Rf <***> |
Эритрозин | 45430 | E127 | 0,83; 0,69 |
Флоксин B | 45410 | - | 0,77; 0,71 |
<*> Номер красителя в соответствии с международной классификацией красителей Colour Index. <**> Индекс пищевой добавки в соответствии с европейской кодификацией пищевых добавок. <***> Значения Rf получены при проведении по 6.14 анализа контрольных образцов красителей по 5.29, с использованием средств измерений, вспомогательных оборудования и устройств, посуды, материалов и реактивов, указанных в разделе 5. |
6.8.2 В каждый стакан с контрольным образцом красителя, подготовленным по
6.8.1, прибавляют пипеткой (см.
5.18) 5 см
3 водно-спиртового раствора по
6.7 и перемешивают стеклянной палочкой до полного растворения. Для интенсификации растворения допускается нагревание раствора в стакане на водяной бане до температуры не более 70 °C. Затем раствор охлаждают до температуры окружающего воздуха (см.
6.2) и переносят количественно в мерную колбу вместимостью 25 см
3, доводят объем раствора в колбе до метки водно-спиртовым раствором по
6.7, закрывают колбу пробкой и тщательно перемешивают содержимое.
Срок хранения растворов КО в склянках из темного стекла с завинчивающейся пробкой при комнатной температуре от 20 °C до 25 °C - не более 6 мес.
Подготовка проб - по
ГОСТ 26671 с дополнением. При подготовке проб жидкую и измельченную твердую части не объединяют и анализируют отдельно.
6.10 Извлечение красителей из анализируемых проб консервов методом твердофазной экстракции
6.10.1 Приготовление экстракта твердой части анализируемой пробы консервов
В стакане вместимостью 50 см
3 на весах по
5.2 взвешивают от 5 до 10 г измельченной твердой части анализируемой пробы, полученной по
6.9. Мерным цилиндром отмеряют экстрагент, полученный по
6.6, из расчета не менее 8 см
3 на 1 г измельченной твердой части анализируемой пробы и добавляют в стакан с анализируемой пробой. Содержимое стакана перемешивают на магнитной мешалке со скоростью вращения магнитного ротора от 100 до 400 об/мин
(5.8) в течение 10 мин.
Полученную суспензию фильтруют через воронку
(5.26) или бумажный фильтр (5.25), твердую часть промывают экстрагентом по
6.6 из расчета не менее 10 см
3 на 1 г измельченной твердой части анализируемой пробы консервов.
6.10.2 Подготовка патрона для твердофазной экстракции красителей
Медицинским шприцем
(5.21) набирают от 10 до 20 см
3 раствора уксусной кислоты по
6.4, соединяют шприц с патроном для твердофазной экстракции, заполненным оксидом алюминия
(5.27). Патрон промывают раствором уксусной кислоты по
6.4 со скоростью от 10 до 20 капель в минуту. Патрон отсоединяют от шприца.
На промывку патрона должно быть израсходовано не менее 25 см
3 раствора уксусной кислоты по
6.4. Поэтому в зависимости от вместимости шприца, промывку повторяют в несколько приемов.
6.10.3 Сорбция красителей из экстракта
Измеряют при температуре окружающего воздуха
(6.2) на pH-метре
(5.6) со стеклянным электродом значение pH экстракта, полученного по
6.10.1. При отклонении измеренного значения кислотности от заданного интервала (от 2,5 до 3,5 ед. pH) pH доводят до нормы добавлением ледяной уксусной кислоты
(5.30).
Медицинским шприцем набирают по 20 см
3 экстракта и соединяют шприц с патроном, подготовленным по
6.10.2. Медленно, по одной капле (из расчета 10 - 20 капель в минуту), пропускают анализируемый экстракт через патрон. По достижении окрашенным слоем основания патрона шприц отсоединяют от первого патрона, подсоединяют ко второму патрону и пропускают анализируемый экстракт через второй патрон. Объем пропускаемого через патрон экстракта должен быть не менее 40 см
3. При необходимости применяют от одного до трех патронов, подготовленных по
6.10.2. После этого медленно, по одной капле (из расчета 10 - 20 капель в минуту), промывают каждый патрон с сорбированным красителем 25 см
3 раствора уксусной кислоты по
6.4.
6.10.4 Десорбция красителей из патронов водным аммиаком
Медицинским шприцем набирают 10 см
3 водного аммиака
(5.32) и соединяют шприц с патроном, содержащим сорбированный из экстракта краситель по
6.10.3. Медленно, по одной капле (из расчета 10 - 20 капель в минуту), пропускают водный аммиак через патрон. При необходимости промывание патрона водным аммиаком повторяют до полного обесцвечивания сорбента (оксида алюминия) в патроне. Элюат (раствор водного аммиака с красителем, извлеченным из патрона) собирают в выпарную чашку
(5.17) и выпаривают досуха на водяной бане температурой от 80 °C до 90 °C. Сразу после испарения раствора аммиака чашку с сухим остатком (красителем) снимают с водяной бани и охлаждают в условиях по
6.2.
Краситель растворяют в чашке, добавляя пипеткой
(5.19) от 0,5 до 1,0 см
3 водно-спиртового раствора, приготовленного по
6.7.
6.10.5 Сорбция красителей из жидкой части анализируемой пробы консервов
Измеряют при температуре окружающего воздуха
(6.2) на pH-метре со стеклянным электродом значение pH жидкой части анализируемой пробы, полученной по
6.9. При отклонении измеренного значения кислотности от заданного интервала (от 2,5 до 3,5 ед. pH) pH доводят до нормы добавлением ледяной уксусной кислоты
(5.30).
Медицинским шприцем набирают от 5 до 10 см
3 анализируемой жидкой части пробы консервов и соединяют шприц с патроном, подготовленным по
6.10.2. Медленно, по одной капле (из расчета 10 - 20 капель в минуту), пропускают анализируемую жидкую часть пробы через патрон. По достижении окрашенным слоем основания патрона шприц отсоединяют от первого патрона, подсоединяют ко второму патрону и пропускают анализируемую жидкую часть пробы через второй патрон. При необходимости используют от одного до двух патронов, подготовленных по
6.10.2. После этого медленно, по одной капле (из расчета 10 - 20 капель в минуту), промывают каждый патрон с сорбированным красителем 25 см
3 раствора уксусной кислоты по
6.4.
6.10.6 Десорбция красителей из патронов водным аммиаком
Медицинским шприцем набирают 10 см
3 водного аммиака
(5.32) и соединяют шприц с патроном, содержащим сорбированный из жидкой части анализируемой пробы краситель по
6.10.5. Десорбцию красителей из патронов проводят водным аммиаком по
6.10.4.
Краситель растворяют в чашке, добавляя пипеткой
(5.19) от 0,5 до 1,0 см
3 водно-спиртового раствора, приготовленного по
6.7.
6.11 Подготовка хроматографической камеры
В хроматографическую камеру вносят элюент по
6.5 в количестве, необходимом для погружения хроматографической пластины на глубину не более 0,5 см от нижнего края пластины. Камеру плотно закрывают и выдерживают в течение 1 ч.
6.12 Подготовка пластин для ТСХ анализа
На хроматографическую пластину
(5.11) карандашом наносят линию старта на расстоянии 1 см от края пластины и линию границы элюента - на расстоянии 7 см от линии старта (параллельно рискам на обратной стороне пластины). На линию старта карандашом наносят точки с интервалом не менее 1 см.
7. Проведение анализа и обработка результатов
7.1 Обнаружение и идентификация красителей
На хроматографическую пластину, подготовленную по
6.12, микрошприцем
(5.22) наносят на линию старта в несколько приемов с промежуточным подсушиванием на воздухе от 0,3 до 1,0 мм
3 растворов КО, приготовленных по
6.8, и от 0,5 до 3,0 мм
3 анализируемых растворов красителей по
6.10.4 и
6.10.6. После нанесения растворов пластину подсушивают в течение 3 - 4 мин и затем с помощью пинцета помещают в хроматографическую камеру, подготовленную по
6.11, под углом примерно 45°. Камеру плотно закрывают. Элюирование заканчивают при достижении элюентом линии границы элюента - 7,0 см от линии старта. По окончании элюирования хроматографическую пластину вынимают пинцетом и подсушивают.
7.2 Обработка хроматографических карт красителей
Если на полученных хроматограммах нанесенного на пластину раствора анализируемой пробы присутствуют окрашенные пятна или хотя бы одно окрашенное пятно выше стартовой линии, делают заключение о наличии красителя в анализируемых консервах.
Линейкой измеряют расстояние от центра каждого пятна красителей (КО и идентифицируемого красителя) и линии границы элюента до линии старта.
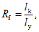
Значение Rf контрольного образца красителя вычисляют по формуле

(1)
где lk - расстояние до линии старта от центра пятна контрольного образца красителя, см;
ly - расстояние до линии старта от линии границы элюента, см.
Значение Rf обнаруженного красителя вычисляют по формуле

(2)
где

- расстояние до линии старта от центра пятна обнаруженного красителя, см;
ly - расстояние до линии старта от линии границы элюента, см.
На хроматографической карте, полученной по
7.1, визуально сравнивают цвет и оттенок пятен обнаруженного красителя и пятен КО, а также положение пятен обнаруженного красителя с положением пятен КО, т.е. значений
Rf для обнаруженного красителя, рассчитанных по
формуле (2), со значениями
Rf КО, рассчитанными по
формуле (1), и
таблицы 1. Если рассчитанные значения
Rf обнаруженного красителя вызывают затруднение в его идентификации, то анализ повторяют. При совпадении в совокупности цвета, оттенка и положения пятен обнаруженных красителей с пятнами КО идентифицируют обнаруженный краситель, а при несовпадении - делают заключение о его отсутствии в анализируемых консервах.
(обязательное)
ПАТРОН ДЛЯ ТВЕРДОФАЗНОЙ ЭКСТРАКЦИИ
1 - входной патрубок; 2 - наружный корпус; 3 - сорбент;
4 - внутренний корпус; 5 - выходной патрубок;
6 и 9 - заглушки; 7 и 8 - фильтры
Рисунок А.1 - Устройство патрона