Главная // Актуальные документы // ГОСТ (Государственный стандарт)СПРАВКА
Источник публикации
М.: Стандартинформ, 2013
Примечание к документу
Текст данного документа приведен с учетом поправок, опубликованных в "ИУС",
N 3, 2016;
N 5, 2016.
Документ
введен в действие с 1 января 2013 года.
Название документа
"ГОСТ ISO 7886-1-2011. Межгосударственный стандарт. Шприцы инъекционные однократного применения стерильные. Часть 1. Шприцы для ручного использования"
(введен в действие Приказом Росстандарта от 13.12.2011 N 1268-ст)
"ГОСТ ISO 7886-1-2011. Межгосударственный стандарт. Шприцы инъекционные однократного применения стерильные. Часть 1. Шприцы для ручного использования"
(введен в действие Приказом Росстандарта от 13.12.2011 N 1268-ст)
агентства по техническому
регулированию и метрологии
от 13 декабря 2011 г. N 1268-ст
МЕЖГОСУДАРСТВЕННЫЙ СТАНДАРТ
ШПРИЦЫ ИНЪЕКЦИОННЫЕ ОДНОКРАТНОГО ПРИМЕНЕНИЯ СТЕРИЛЬНЫЕ
ЧАСТЬ 1
ШПРИЦЫ ДЛЯ РУЧНОГО ИСПОЛЬЗОВАНИЯ
Sterile hypodermic syringes for single use.
Part 1. Syringes for manual use
(ISO 7886-1:1993, IDT)
ГОСТ ISO 7886-1-2011
Дата введения
1 января 2013 года
Цели, основные принципы и порядок проведения работ по межгосударственной стандартизации установлены
ГОСТ 1.0-92 "Межгосударственная система стандартизации. Основные положения" и
ГОСТ 1.2-2009 "Межгосударственная система стандартизации. Стандарты межгосударственные, правила и рекомендации по межгосударственной стандартизации. Правила разработки, принятия, применения, обновления и отмены".
1. Подготовлен Федеральным государственным унитарным предприятием "Всероссийский научно-исследовательский институт стандартизации и сертификации в машиностроении" (ВНИИНМАШ).
2. Внесен Федеральным агентством по техническому регулированию и метрологии (Росстандарт.)
3. Принят Межгосударственным советом по стандартизации, метрологии и сертификации (протокол N 40-2011 от 29 ноября 2011 г.).
За принятие стандарта проголосовали:
Краткое наименование страны по МК (ИСО 3166) 004-97 | Код страны по МК (ИСО 3166) 004-97 | Сокращенное наименование национального органа по стандартизации |
Беларусь | BY | Госстандарт Республики Беларусь |
Казахстан | KZ | Госстандарт Республики Казахстан |
Кыргызстан | KG | Кыргызстандарт |
Российская Федерация | RU | Росстандарт |
4.
Приказом Федерального агентства по техническому регулированию и метрологии от 13 декабря 2011 г. N 1268-ст межгосударственный стандарт ГОСТ ISO 7886-1-2011 введен в действие в качестве национального стандарта Российской Федерации с 1 января 2013 г.
5. Настоящий стандарт идентичен международному стандарту ISO 7886-1:1993 Sterile hypodermic syringes for single use - Part 1: Syringes for manual use (Шприцы инъекционные однократного применения стерильные. Часть 1. Шприцы для ручного использования).
Сведения о соответствии межгосударственных стандартов ссылочным международным стандартам приведены в дополнительном
Приложении ДА.
Степень соответствия - идентичная (IDT).
6. Введен впервые.
Информация о введении в действие (прекращении действия) настоящего стандарта публикуется в указателе "Национальные стандарты".
Информация об изменениях к настоящему стандарту публикуется в указателе "Национальные стандарты", а текст изменений - в информационных указателях "Национальные стандарты". В случае пересмотра или отмены настоящего стандарта соответствующая информация будет опубликована в информационном указателе "Национальные стандарты".
Настоящий стандарт ISO 7886 не устанавливает требования или методы испытаний по обеспечению биологической безопасности. Руководящие указания по биологическим испытаниям шприцев инъекционных однократного применения приведены в ISO 10993-1 и учитываются изготовителем при оценке изделий. Такая оценка должна учитывать влияние способа стерилизации шприцев. Однако в некоторых странах национальные регламенты могут иметь приоритет над требованиями стандарта ISO 10993-1.
Используемые в конструкциях шприцев материалы не устанавливаются, так как их выбор зависит от конструкции шприцев, технологии их изготовления и способа стерилизации. Руководящие указания по некоторым аспектам выбора материалов содержатся в
Приложении E.
Материалы шприцев должны быть совместимы с жидкостями для инъекций. Если это не выполняется полностью, следует обратить внимание пользователя на исключения, указанные в маркировке на потребительской упаковке шприца. Устанавливать универсальный метод испытаний на совместимость нецелесообразно. Однако в
Приложении F приведены рекомендуемые методы. Эти методы испытаний можно рассматривать только как средства, позволяющие указать возможную совместимость. Окончательный вывод может быть сделан только на основе испытаний отдельной жидкости для инъекций в определенном шприце.
Изготовители фармацевтических препаратов для инъекций используют при их изготовлении растворители. Эти растворители должны быть испытаны изготовителем инъекционных препаратов на возможную несовместимость с материалами, используемыми при производстве шприцев. Материалы, используемые для изготовления шприцев, приведены в
Приложении E. В случае несовместимости с некоторыми материалами инъекционная жидкость должна быть соответствующим образом маркирована. Известно, что проведение испытаний на совместимость всех жидкостей для инъекций со всеми шприцами практически невозможно, в связи с чем руководящим органам и торговым организациям настоятельно рекомендуется обратить внимание на эту проблему и принять необходимые меры по оказанию помощи изготовителям.
Инъекционные шприцы однократного применения, рассматриваемые в настоящем стандарте, предназначены для применения с инъекционными иглами однократного применения.
В настоящем стандарте не рассматриваются шприцы для инсулина.
В некоторых странах национальные стандарты и правительственные регламенты могут иметь приоритет над рекомендациями настоящего стандарта.
Настоящий стандарт устанавливает требования к стерильным инъекционным шприцам однократного применения, изготовленным из полимерных материалов, и предназначенным для использования сразу же после заполнения.
Стандарт не распространяется на инсулиновые шприцы, шприцы из стекла, шприцы со встроенными иглами, шприцы для использования с механическим нагнетателем и шприцы, предварительно заполненные инъекционным раствором.
Примечание. Вторая часть ISO 7886, находящаяся в процессе подготовки, будет включать требования к шприцам с механическим нагнетателем.
В настоящем стандарте использованы нормативные ссылки на следующие стандарты:
ISO 594-1:1986 Conical fittings with a 6% (Luer) taper for syringes, needles and certain other medical equipment - Part 1: General requirements (Детали соединительные с конусностью 6% (Луера) для шприцев, игл и другого медицинского оборудования. Часть 1. Общие требования)
ISO 594-2:1991 Conical fittings with a 6% (Luer) taper for syringes, needles and certain other medical equipment - Part 2: lock fittings (Детали соединительные с конусностью 6% (Луера) для шприцев, игл и другого оборудования. Часть 2. Луеровские наконечники)
ISO 3696:1987 Water for analytical laboratory use. Specification and test methods (Вода для лабораторного анализа. Технические условия и методы испытаний)
ISO 8601:1988 Data elements and interchange formats. Information interchange. Representation of dates and times (Элементы данных и форматы для обмена информацией. Обмен информацией. Представление дат и времени).
В настоящем стандарте применены следующие термины с соответствующими определениями:
3.1. номинальная вместимость (nominal capacity): Вместимость шприца, обозначенная изготовителем.
Примечание. Например, вместимость 1 мл, 5 мл, 50 мл.
3.2. градуированная вместимость (graduated capacity): Объем воды при температуре (20 +/- 5) °C [или, в тропических странах, (27 +/- 5) °C], вытесненный из шприца при пересечении линией отсчета на поршне определенного интервала или интервалов шкалы.
3.3. полная градуированная вместимость (total graduated capacity):
Вместимость шприца, соответствующая линии градуировки, наиболее удаленной от нулевой линии градуировки.
Примечание. Полная градуированная вместимость может быть равна номинальной вместимости или превышать ее.
3.4. максимальная вместимость (maximum usable capacity): Вместимость шприца, соответствующая наиболее удаленному положению поршня при оттягивании назад.
3.5. линия отсчета (fiducial line): Линия, определяющая конец поршня и предназначенная для определения вместимости, соответствующей какому-либо показанию шкалы шприца.
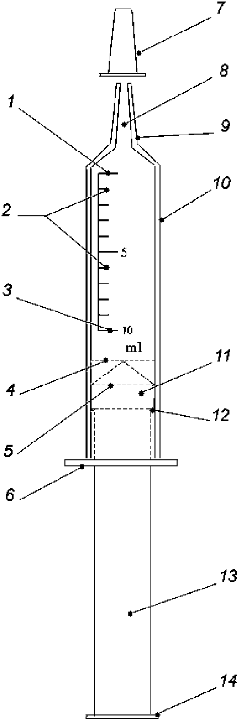
Наименования, используемые для обозначения составных частей инъекционных шприцев однократного применения, приведены на рисунке 1.
1 - нулевая линия градуировки; 2 - линии градуировки;
3 - линия градуировки номинальной вместимости; 4 - линия
полной градуированной вместимости; 5 - линия отсчета;
6 - упоры для пальцев; 7 - колпачок наконечника;
8 - отверстие наконечника; 9 - наконечник шприца;
10 - цилиндр; 11 - поршень; 12 - уплотнитель;
13 - шток; 14 - упор штока
Примечание. Данный рисунок является иллюстрацией элементов шприца в сборе. Шток-поршень может представлять собой одно целое, либо состоять из отдельных деталей, а также может иметь более одного уплотнителя.
Рисунок 1. Схематическое изображение шприца инъекционного
однократного применения
Поверхность шприца, контактирующая с инъекционной жидкостью, при нормальном применении должна быть чистой и не должна иметь посторонних частиц при визуальном осмотре нормальным или скорректированным до нормального зрением, без использования увеличения и при освещенности от 300 до 700 лк.
6. Пределы кислотности или щелочности
Уровень pH экстракта, приготовленного в соответствии с
Приложением A, должен соответствовать pH контрольной жидкости в пределах одной единицы при измерении лабораторным pH-метром со стандартным электродом.
7. Предельное содержание экстрагируемых металлов
Экстракт шприца, приготовленный в соответствии с
Приложением A, должен содержать не более 5 мг/л суммарного количества свинца, олова, цинка и железа при испытании общепринятым микроаналитическим методом, например, методом атомной абсорбции. Содержание кадмия в экстракте должно быть не более 0,1 мг/л.
Если на внутренней поверхности цилиндра шприца, включая поршень, нанесена смазка, она не должна быть заметна в виде капель при наблюдении нормальным или скорректированным до нормального зрением.
Приемлемой смазкой для трехдетальных шприцев является полидиметилсилоксан, соответствующий национальной или европейской фармакопее. Количество смазки не должно превышать 0,25 мг на квадратный сантиметр внутренней поверхности цилиндра шприца.
Приемлемой смазкой для двухдетальных шприцев являются амидные добавки (амиды жирных кислот, например эруковой или олеиновой). Количество смазки не должно превышать 0,6% массы цилиндра. Допускаются и более низкие концентрации.
9. Допуски на градуировку вместимости
Допуски на градуировку вместимости должны соответствовать значениям, указанным в таблице 1.
Допуски на вместимость, значение "мертвого" пространства,
размеры шкалы и значение усилия при испытаниях
Номинальная вместимость шприца V, мл | Допуски на градуированную вместимость | Максимальное "мертвое" пространство, мл | Общая длина шкалы до отметки номинальной вместимости, не менее, мм | Деление шкалы, мл | Вместимость между линиями градуировки с числами, мл | |
Меньше половины номинальной вместимости | Равно или больше половины номинальной вместимости | Боковое усилие (+/- 5%), Н | Аксиальное давление (+/- 5%), кПа |
V < 2 | +/- (1,5% от V + 2% слитого объема) | +/- (5% слитого объема) | 0,07 | 57 | 0,05 | 0,1 | 0,25 | 300 |
2 <= V < 5 | +/- (1,5% от V + 2% слитого объема) | +/- (5% слитого объема) | 0,07 | 27 (26) | 0,2 | 0,5 или 1 | 1,0 | 300 |
5 <= V < 10 | +/- (1,5% от V + 1% слитого объема)) | +/- (4% слитого объема) | 0,075 | 36 | 0,5 | 1 | 2,0 | 300 |
10 <= V < 20 | +/- (1,5% от V + 1% слитого объема) | +/- (4% слитого объема) | 0,10 | 44 | 1,0 | 5 | 3,0 | 300 |
20 <= V < 30 | +/- (1,5% от V + 1% слитого объема) | +/- (4% слитого объема) | 0,15 | 52 | 2,0 | 10 | 3,0 | 200 |
30 <= V < 50 | +/- (1,5% от V + 1% слитого объема) | +/- (4% слитого объема) | 0,17 | 67 | 2,0 | 10 | 3,0 | 200 |
50 <= V | +/- (1,5% от V + 1% слитого объема) | +/- (4% слитого объема) | 0,20 | 75 | 5,0 | 10 | 3,0 | 200 |
10.1. Шкала
10.1.1. Шкала шприца должна быть градуирована делениями в соответствии с
таблицей 1. Двойная шкала не допускается. Единица вместимости должна быть указана на цилиндре шприца.
Примечание. Допускается дополнительная градуировка внутри шкалы или на ее продолжении.
10.1.2. Если шкала продолжена за пределы номинальной вместимости, то ее градуировка должна отличаться от основной шкалы шприца.
Существуют следующие способы отличия:
a) обведение кружком цифры на шкале у линии номинальной вместимости;
b) применение меньших по размеру цифр у дополнительных линий градуировки;
c) применение более коротких дополнительных градуировочных линий;
d) применение пунктирных вертикальных линий на дополнительном участке шкалы.
10.1.3. Линии градуировки должны иметь одинаковую толщину. Они должны находиться в плоскостях, расположенных перпендикулярно к оси цилиндра.
10.1.4. Линии градуировки должны быть равноудалены друг от друга вдоль продольной оси между нулевой отметкой и отметкой, соответствующей полной градуированной вместимости.
10.1.5. При вертикальном положении шприца концы линий градуировки равной длины должны быть строго вертикальны один под другим.
10.1.6. Длина коротких линий градуировки любой шкалы должна быть равна половине длины длинных линий.
Примеры градуировки шкалы шприцев показаны на рисунке 2.
Примечание. Вертикальная линия шкалы может отсутствовать.
Рисунок 2. Примеры градуировки шкалы
10.2. Цифровые обозначения шкалы
10.2.1. Линии градуировки должны иметь цифровые обозначения, соответствующие значениям вместимостей, указанным в
таблице 1. Кроме того, линия, соответствующая номинальной вместимости, или линии, соответствующие номинальной вместимости и полной градуированной вместимости, если они различаются, должны быть также обозначены цифрами.
Примеры цифрового обозначения шкалы приведены на
рисунке 2.
10.2.2. При вертикальном положении шприца, когда конический наконечник направлен вверх, а шкала находится на уровне глаз, цифры на шкале должны располагаться вертикально и таким образом, чтобы пересекаться с продолжением линий, к которым они относятся. Цифры должны находиться рядом с линиями градуировки, к которым они относятся, но не должны касаться их.
10.3. Общая длина шкалы
Общая длина шкалы должна быть равна значениям, указанным в
таблице 1.
10.4. Расположение шкалы
При нахождении штока в крайнем положении, когда он до упора смещен к отверстию наконечника цилиндра, нулевая линия градуировки шкалы должна совпадать с линией отсчета поршня в пределах четверти длины наименьшего деления шкалы.
11.1. Размеры
Длина цилиндра должна быть такой, чтобы общая вместимость шприца была больше номинальной вместимости не менее чем на 10%.
11.2. Упоры для пальцев
Открытый конец цилиндра должен иметь упоры для пальцев, обеспечивающие шприцу устойчивость и удерживающие его от скатывания и оборота вокруг собственной оси больше чем на 180° при размещении его шкалой вверх на плоской поверхности, расположенной под углом 10° к горизонтали.
Упоры для пальцев должны иметь соответствующие размеры, форму и прочность, отвечающие их назначению и обеспечивающие надежное удерживание шприца при его применении. Упоры для пальцев не должны иметь заусенцев и острых краев.
12.1. Конструкция
Конструкция штока и упора штока шприца должна быть такой, чтобы при удерживании шприца одной рукой шток мог быть утоплен большим пальцем этой же руки. Поршень не должен отделяться от штока при всасывании во время испытания, указанного в
Приложении B.
Длина штока должна быть достаточной для передвижения поршня по всей длине цилиндра, однако возможность полного выпадения штока из цилиндра не допускается.
Длина выступания штока и конфигурация упора для его передвижения должны позволять приводить его в действие без затруднений. Когда линия отсчета поршня совпадает с нулевой линией градуировки цилиндра, предпочтительны следующие минимальные значения длины выступания штока из цилиндра, от поверхности упора для пальцев до верха стержня штока:
a) 8 мм - для шприцев номинальным объемом до 2 мл (шприц 2 мл в данную позицию не входит);
b) 9 мм - для шприцев номинальным объемом от 2 до 5 мл (шприц 5 мл в данную позицию не входит);
c) 12,5 мм - для шприцев номинальным объемом 5 мл и больше.
12.2. Посадка поршня в цилиндре
При заполнении шприца водой и удерживании его в вертикальном положении сначала одним, а затем другим концом вверх, поршень не должен двигаться под действием своей собственной массы и массы воды.
Примечание. Предлагаемый метод испытаний и регистрации значения усилий, требуемых для передвижения штока, рассмотрены в
Приложении G.
Рекомендуется применять эти испытания для накопления данных, позволяющих принять решение о том, необходимо ли сделать эти испытания обязательными при будущем пересмотре настоящего стандарта.
12.3. Линия отсчета
Поршень должен иметь хорошо видимую и четкую кромку, выполняющую роль линии отсчета у торца поршня. Линия отсчета должна тесно соприкасаться с внутренней поверхностью цилиндра.
13.1. Коническое соединение
Конический наконечник шприца должен соответствовать ISO 594-1.
Если шприц имеет замковое соединение, наконечник должен соответствовать ISO 594-2.
13.2. Положение наконечника на конце цилиндра
13.2.1. Для шприцев, имеющих номинальную вместимость до 5 мл, исключая вместимость 5 мл, наконечник шприца должен быть расположен по центру, т.е. соосно с цилиндром.
13.2.2. Для шприцев, имеющих номинальную вместимость 5 мл и более, наконечник шприца может быть расположен как по центру, так и эксцентрично.
13.2.3. Если наконечник шприца эксцентричен, он должен располагаться под осью цилиндра, когда шприц лежит на плоской поверхности шкалой вверх; расстояние между осью наконечника и ближайшей точкой внутренней поверхности цилиндра не должно превышать 4,5 мм.
13.3. Отверстие наконечника
Диаметр центрального отверстия наконечника должен быть не менее 1,2 мм.
14. Рабочие характеристики
14.1. "Мертвое" пространство
Объем жидкости, содержащейся в цилиндре и наконечнике при утопленном до упора поршне при испытании согласно
Приложению C, должен быть в соответствии с
таблицей 1.
14.2. Испытание на водо- и воздухонепроницаемость поршня
При испытании согласно
Приложению D не должно быть утечки воды через поршневое уплотнение (поршневые уплотнения).
При испытании согласно
Приложению B не должно быть утечки воздуха через поршневое уплотнение (поршневые уплотнения), и не должно наблюдаться падение показания манометра.
15.1. Потребительская упаковка
Каждый шприц должен быть герметично упакован в потребительскую упаковку.
Материалы упаковки не должны вызывать ухудшение характеристик содержимого. Материал и конструкция упаковки должны гарантировать:
a) поддержание стерильности содержимого при хранении в условиях сухих, чистых и хорошо проветриваемых помещений;
b) минимальный риск загрязнения содержимого во время вскрытия и извлечения из упаковки;
c) надежную защиту содержимого при обычных условиях транспортирования и хранения;
d) невозможность повторного запечатывания вскрытой упаковки: факт вскрытия упаковки должен быть очевиден.
15.2. Групповая упаковка
Шприцы в потребительской упаковке допускается укладывать в групповую упаковку.
Групповая упаковка должна обладать достаточной жесткостью для предохранения содержимого при погрузке/разгрузке, транспортировании и хранении.
15.3. Транспортная упаковка
Шприцы в групповой упаковке (при ее наличии) могут быть уложены в транспортную упаковку для хранения и транспортирования.
16.1. Потребительская упаковка
Маркировка потребительской упаковки должна содержать, по крайней мере, следующую информацию:
a) описание содержимого, включая номинальную вместимость шприцев и тип наконечника;
b) слово "СТЕРИЛЬНО" или соответствующий символ;
c) слова "ДЛЯ ОДНОКРАТНОГО ПРИМЕНЕНИЯ" или эквивалентные (кроме надписи "выбрасывать после применения"), или соответствующий символ;
d) если необходимо, предупреждение о несовместимости с растворителем, например "Не использовать с паральдегидом" (см. замечание о совместимости во введении);
e) код партии, с указанием слова "ПАРТИЯ" или соответствующий символ;
f) предупреждение о необходимости проверки целостности потребительской упаковки перед употреблением или соответствующий символ;
g) торговую марку, торговое наименование или логотип изготовителя или поставщика;
i) слова "годен до..." (месяц и две последние цифры года) или соответствующий символ.
16.2. Групповая упаковка
Маркировка групповой упаковки (при наличии) должна содержать, по крайней мере, следующую информацию:
a) описание содержимого, включая номинальную вместимость, тип наконечника и число шприцев;
b) слово "СТЕРИЛЬНО" или соответствующий символ;
c) слова "ДЛЯ ОДНОКРАТНОГО ПРИМЕНЕНИЯ" или эквивалентные (кроме надписи "выбрасывать после применения"); может быть также указан символ, приведенный в
Приложении H;
d) предупреждение о необходимости проверки целостности каждой потребительской упаковки перед употреблением или соответствующий символ;
e) код партии, с указанием слова "ПАРТИЯ" или соответствующий символ;
f) дату [год и месяц стерилизации (дата стерилизации может быть включена в код партии в виде нескольких первых цифр)];
g) слова "годен до..." (месяц и две последние цифры года) или соответствующий символ;
h) наименование и адрес изготовителя или поставщика;
i) информацию о погрузке/разгрузке, хранении и транспортировании.
16.3. Транспортная упаковка
Транспортная упаковка (при наличии) должна иметь маркировку, содержащую, по крайней мере, следующую информацию:
b) код партии, с предшествующим словом "ПАРТИЯ" или соответствующий символ;
c) слово "СТЕРИЛЬНО" или соответствующий символ;
e) наименование и адрес изготовителя или поставщика;
f) информацию о погрузке/разгрузке, хранении и транспортировании.
16.4. Оберточный материал для транспортировки
Если транспортная упаковка не используется, то шприцы в групповой упаковке оборачивают оберточным материалом, и информация согласно
16.3 должна быть указана на оберточном материале либо видна через него.
(обязательное)
МЕТОД ПРИГОТОВЛЕНИЯ ЭКСТРАКТОВ
A.1. Методика приготовления
Шприц заполняют водой для экстрагирования растворимых компонентов.
A.2. Оборудование и реактивы
A.2.1. Свежая дистиллированная или деионизированная вода, имеющая чистоту степени 3 согласно ISO 3696.
A.2.2. Набор лабораторной посуды из боросиликатного стекла.
A.3. Методика
A.3.1. Три шприца заполняют водой
(A.2.1) до номинальной вместимости, вытесняют пузырьки воздуха и выдерживают шприцы при температуре

в течение

.
Выливают содержимое шприцев в сосуд из боросиликатного стекла
(A.2.2).
A.3.2. Подготавливают порцию контрольной жидкости из неиспользованной воды
(A.2.1).
(обязательное)
ИСПЫТАНИЕ ВОЗДУХОНЕПРОНИЦАЕМОСТИ ПОРШНЯ И НАКОНЕЧНИКА ШПРИЦА
ПРИ ВСАСЫВАНИИ И ОТДЕЛЕНИЕ ПОРШНЯ ОТ ШТОКА
B.1. Методика испытаний
Наконечник шприца соединяют с контрольной конической втулкой и частично заполняют шприц водой. Через наконечник прилагают вакуумметрическое давление и проверяют шприц на утечку в поршне и уплотнении (уплотнениях), а также определяют, отделяется поршень от штока или нет.
B.2. Оборудование и реактивы
B.2.1. Контрольная стальная коническая втулка, соответствующая ISO 594-1.
B.2.2. Опора и устройство, зажимающее шток шприца в фиксированном положении.
B.2.3. Оборудование для образования, контроля и измерения вакуума, показанное на
рисунке B.1, состоящее из вакуумного насоса с устройством для регулирования утечки воздуха, манометра и вакуумного клапана.
B.2.4. Свежая кипяченая вода, охлажденная до температуры (20 +/- 5) °C.
B.3. Испытание
B.3.1. Набирают в шприц объем воды
(B.2.4) не менее чем 25% его номинальной вместимости.
B.3.2. Располагая шприц наконечником вверх, вытягивают шток в осевом направлении, пока линия отсчета не дойдет до линии номинальной вместимости, после чего зажимают
(B.2.2) шток в этом положении, как показано на
рисунке B.1.
B.3.3. Соединяют наконечник шприца с контрольной стальной втулкой
(B.2.1).
B.3.4. Располагают испытательное оборудование
(B.2.3) как показано на
рисунке B.1. Включают вакуумный насос при открытом регуляторе малого истечения.
B.3.5. Проводят регулировку утечки воздуха таким образом, чтобы получить постепенное увеличение разряжения, доводя показания манометра до 88 кПа <*>.
--------------------------------
<*> 1 кПа = 7,5 мм рт. ст.
B.3.6. Проверяют шприц на воздухонепроницаемость уплотнения (уплотнений) поршня.
B.3.7. Изолируют участок "шприц - манометр" с помощью вакуумного клапана.
B.3.8. Наблюдают показания манометра в течение

и регистрируют уменьшение показаний.
B.3.9. Проверяют шприц для определения, отделился или нет поршень от штока.
B.4. Протокол испытаний
Протокол испытаний должен содержать, по крайней мере, следующую информацию:
a) обозначение и номинальную вместимость шприца;
b) наблюдалась или нет утечка на поршне или уплотнении (уплотнениях);
c) изменение, если оно было, показаний манометра;
d) имело ли место отделение поршня от штока или нет;
e) дату проведения испытаний.
1 - вакуумный насос; 2 - бутылка-ловушка; 3 - регулятор
малого истечения; 4 - линия градуировки номинальной
вместимости; 5 - зажим; 6 - вакуумный клапан; 7 -
контрольный конический наконечник, соответствующий
ISO 594-1; 8 - вода до уровня менее 25% номинальной
вместимости; 9 - шприц; 10 - манометр
Рисунок B.1. Аппаратура для испытаний при всасывании
(обязательное)
МЕТОД ОПРЕДЕЛЕНИЯ "МЕРТВОГО" ПРОСТРАНСТВА
C.1. Методика испытания
Взвешивают шприц до заполнения водой и после заполнения и последующего слива воды. "Мертвое" пространство определяют по массе оставшейся в шприце воды.
C.2. Аппаратура и реактивы
C.2.1. Весы, пригодные для определения разницы массы в 0,2 г или менее с точностью до 7 мг.
C.2.2. Дистиллированная или деионизированная вода, чистоты степени 3 согласно ISO 3696.
C.3. Методика
C.3.1. Взвешивают на весах
(C.2.1) пустой шприц.
C.3.2. Заполняют шприц водой
(C.2.2) до номинальной вместимости, тщательно удаляя все пузырьки воздуха и обеспечивая совпадение уровня мениска воды с концом отверстия наконечника.
C.3.3. Вытесняют воду, вдвигая полностью шток, и вытирают насухо наружную поверхность шприца.
C.3.4. Повторно взвешивают шприц.
C.4. Расчет результатов
Определяют массу воды, оставшуюся в шприце, в граммах, вычитанием массы пустого шприца из массы шприца после слива воды. Регистрируют значение "мертвого" пространства, в мл, принимая плотность воды, равной 1000 кг/м3.
C.5. Протокол испытаний
Протокол испытаний должен содержать, по крайней мере, следующую информацию:
a) обозначение и номинальную вместимость шприца;
b) "мертвое" пространство, выраженное в миллилитрах;
c) дату испытаний.
(обязательное)
ИСПЫТАНИЕ ПОРШНЯ ШПРИЦА НА ГЕРМЕТИЧНОСТЬ ПОД ДАВЛЕНИЕМ
D.1. Методика испытаний
Заполняют шприц водой, закрывают наконечник шприца, прикладывают боковое усилие на упор штока, пытаясь вызвать утечку на уплотнении (уплотнениях) поршня.
D.2. Аппаратура и реактивы
D.2.1. Устройство для закрытия или закупоривания наконечника шприца.
Примечание. Такое устройство может представлять собой стальную коническую втулку, соответствующую ISO 594-1, с подходящим уплотнением или пробкой.
D.2.2. Устройство для приложения бокового усилия к штоку шприца в диапазоне от 0,25 до 3 Н.
D.2.3. Устройство для приложения аксиального усилия к штоку шприца, позволяющее создавать давление в диапазоне от 200 до 300 кПа.
D.3. Методика
D.3.1. Набирают в шприц объем воды
(D.2.4), превышающий номинальную вместимость шприца.
D.3.2. Удаляют пузырьки воздуха и регулируют объем воды в шприце до номинального значения.
D.3.3. Закупоривают
(D.2.1) наконечник шприца.
D.3.4. Прикладывают боковое усилие
(D.2.2) на упор штока, направленное под прямым углом к нему, и раскачивают шток в радиальном направлении вокруг уплотнения (уплотнений) поршня с усилием, указанным в
таблице 1.
Максимально отклоняют шток от его осевого положения.
D.3.5. К шприцу прикладывают такое осевое усилие
(D.2.3), чтобы при взаимодействии поршня и цилиндра создавалось давление, указанное в
таблице 1.
Выдерживают это давление в течение

.
D.3.6. Проверяют шприц на утечку воды за уплотнением (уплотнениями) поршня.
D.4. Протокол испытаний
Протокол испытаний должен содержать, по крайней мере, следующую информацию:
a) обозначение и номинальную вместимость шприца;
b) наблюдалась ли утечка за поршнем или уплотнением (уплотнениями);
c) дату проведения испытаний.
(рекомендуемое)
РУКОВОДЯЩИЕ УКАЗАНИЯ ПО МАТЕРИАЛАМ
Материалы, используемые для изготовления шприцев, должны быть стойкими к применяемым методам стерилизации. Следует обратить внимание на выполняемые в настоящее время работы по стерилизации медицинских устройств, описанные в ISO/TC 198.
Материалы, используемые при изготовлении шприцев, не должны ухудшать физические или химические характеристики инъекционных препаратов при нормальном применении.
Некоторые виды полипропилена, полистирола и сополимеров стирола и акрилонитрила широко применяются для изготовления цилиндров шприцев инъекционных. Смеси на основе высококачественной натуральной или синтетической резины часто применяются в поршнях трехдетальных шприцев, с нанесением смазки из полидиметилсилоксана. Полиэтилен высокой плотности используется для изготовления штока-поршня в двухдетальных шприцах в комбинации с полипропиленовым цилиндром, содержащим амидную добавку для улучшения скольжения.
Материалы, применяемые для изготовления цилиндров шприцев, должны быть достаточно прозрачны, чтобы обеспечивать безошибочное определение дозировки.
(рекомендуемое)
ПРИМЕРЫ МЕТОДОВ ИСПЫТАНИЙ НА СОВМЕСТИМОСТЬ ШПРИЦЕВ
И ЖИДКОСТЕЙ ДЛЯ ИНЪЕКЦИЙ
F.1. Общие положения
F.1.1. Настоящее Приложение содержит набор методов испытаний, рекомендуемых для применения при исследовании совместимости шприцев и жидкостей для инъекций. Разработка этих испытаний еще не завершена к настоящему времени, аппаратура и методология не доведены до окончательного вида, что относится также к критериям соответствия. В связи с этим настоящее Приложение следует рассматривать как имеющее предварительный характер. Тем не менее изготовителям рекомендуется выполнять эти испытания с целью обоснования методологии и накопления данных, которые могут быть в дальнейшем использованы для разработки критериев принятия/отбраковки изделий. Эти испытания предназначены для общей предварительной оценки, тогда как заключительные испытания следует проводить с конкретными препаратами для инъекций и шприцами определенных типов и марок.
F.1.2. Предлагаются три типа испытаний, а именно следующие:
a) визуальная/органолептическая (по запаху) оценка;
b) химический/физический анализ экстрактов шприца (восстанавливающие вещества, спектры поглощения, сопротивление);
c) оценка плавности движения плунжера.
F.2. Матрица испытаний
Матрица, показывающая, какие испытания следует проводить с каждой контрольной жидкостью, приведена в таблице F.1.
Таблица F.1
Матрица испытаний на совместимость
Испытания | Контрольная жидкость |
A (вода) | B (водный раствор этилового спирта) | C (водный раствор бензилового спирта) | D (водный раствор хлористого калия) |
Визуальные (прозрачность, наличие частиц) (F.6.1) | x | x | - | - |
| x | x | - | - |
| x | - | - | - |
Спектр поглощения ультрафиолетового излучения (F.6.4) | x | x | - | - |
Спектр поглощения видимого света (F.6.4) | x | x | - | - |
| - | - | - | x |
| x | - | x | - |
Примечание - x - испытания, подлежащие проведению. |
F.3. Контрольные жидкости
F.3.1. Контрольная жидкость A, представляющая собой очищенную воду.
F.3.2. Контрольная жидкость B, представляющая собой раствор этилового спирта (реактив аналитической чистоты) в очищенной воде,

.
F.3.3. Контрольная жидкость C, представляющая собой раствор бензилового спирта (реактив аналитической чистоты) в очищенной воде,

.
F.3.4. Контрольная жидкость D, представляющая собой очищенную воду, сопротивление которой регулируется до известного значения в диапазоне от 350000 до 450000 Ом·см добавлением хлористого калия.
F.4. Аппаратура и реактивы
F.4.1. Аппаратура для волюметрического титрования, класса точности B по ISO 384.
F.4.2. Спектрофотометр и кварцевые ячейки.
F.4.3. Измеритель сопротивления, имеющий платиновые электроды, позволяющие работать на переменном токе для исключения влияния поляризации на электроды.
F.4.4. Аппаратура для нажатия на шток шприца с известным регулируемым усилием.
F.4.6. Набор боросиликатной лабораторной посуды.
F.4.7. Серная кислота, раствор в очищенной воде,

F.4.8. Перманганат калия, раствор в очищенной воде,

.
F.4.9. Тиосульфат натрия, раствор в очищенной воде,

.
F.4.10. Раствор-индикатор крахмала.
F.4.11. Мембранный фильтр, с размерами пор не менее 5 мкм и не более 25 мкм, и держатель фильтра.
F.4.12. Весы, пригодные для взвешивания от 1 до 160 г с точностью 0,1 г.
F.4.14. Йодистый калий, твердый.
F.4.15. Прибор для закрепления шприца.
Примечание. Все реактивы имеют аналитическую чистоту.
F.5. Процедура приготовления экстрактов
F.5.1. Заполняют необходимое число стерильных шприцев до номинальной вместимости выбранной испытательной жидкостью. Делят заполненные шприцы на четыре равные группы и выдерживают шприцы и их содержимое при следующих условиях:
группа 1: (20 +/- 1) °C в течение (60 +/- 3) мин;
группа 2: (20 +/- 1) °C в течение (24 +/-1) ч;
группа 3: (37 +/- 1) °C в течение (60 +/- 3) мин;
группа 4: (37 +/- 1) °C в течение (24 +/- 1) ч.
F.5.2. Выливают содержимое шприцев каждой группы в сосуд из боросиликатного стекла. Герметично закрывают сосуд и хранят его при комнатной температуре до испытаний. Интервал времени до начала испытаний должен быть не более 1 ч.
F.6. Процедура испытаний
Примечание. Если не указано иначе, все процедуры должны выполняться при температуре (20 +/- 5) °C.
F.6.1. Визуальный контроль
F.6.1.1.1. Фильтруют необходимое количество контрольной жидкости A
(F.3.1) через мембранный фильтр
(F.4.11) и доводят фильтрат до температуры (37 +/- 2) °C.
F.6.1.1.2. Набирают в шприц объем профильтрованной контрольной жидкости, равный половине номинальной вместимости шприца, и затем выдвигают шток до совпадения линии отсчета поршня с линией номинальной вместимости.
F.6.1.1.3. Энергично встряхивают шприц рукой в течение (30 +/- 2) с. Выливают содержимое в сосуд из боросиликатного стекла
(F.4.6) и проверяют жидкость при нормальном или скорректированном до нормального зрении на наличие посторонних частиц, окрашивания и помутнения. Регистрируют результаты наблюдений.
F.6.1.2. Предлагаемый критерий соответствия
Предлагаемый критерий соответствия заключается в том, что в выливаемой из шприца жидкости не должно быть заметно посторонних частиц, окрашивания или помутнения.
F.6.2. Органолептический контроль (по запаху)
F.6.2.1. Испытания
Проводят испытания согласно
F.6.1.1. Сравнивают запах содержимого шприцев (см.
F.6.1.1.3 и
F.6.1.1.5) с запахом контрольных жидкостей A и B, регистрируя результаты наблюдений.
F.6.2.2. Предлагаемый критерий соответствия
Предлагаемый критерий соответствия заключается в отсутствии различия между запахом жидкости, вылитой из шприца, и запахом соответствующей контрольной жидкости.
F.6.3. Восстанавливающие вещества
F.6.3.1. Процедура
F.6.3.1.1. Приготавливают экстракты для группы шприцев, использующих контрольную жидкость A
(F.3.1), согласно описанию в
F.5.
F.6.3.1.2. Добавляют в колбу для титрования с помощью титровального аппарата
(F.4.1) 20 мл экстракта, 2 мл серной кислоты
(F.4.7) и 20 мл раствора перманганата калия
(F.4.8). Доводят смесь до точки кипения
(F.4.13) и поддерживают при этой температуре в течение (180 +/- 2) с. Быстро охлаждают смесь до комнатной температуры.
F.6.3.1.3. Добавляют 1 г кристаллов йодистого калия
(F.4.14) и 0,25 мл раствора индикатора крахмала
(F.4.10). Титруют раствором тиосульфата натрия
(F.4.9) и регистрируют объем добавленного раствора тиосульфата натрия.
F.6.3.1.4. Повторяют испытания
F.6.3.1.2 и
F.6.3.1.3, используя контрольную жидкость A вместо экстракта из шприца. Рассчитывают и регистрируют разницу титров между испытательной жидкостью и экстрактом из шприца.
F.6.3.2. Предлагаемый критерий соответствия
Предлагаемый критерий соответствия заключается в том, что разница титров между результатами для любых из четырех различных условий экстрагирования не должна превышать 0,5 мл.
F.6.4.1. Испытания
F.6.4.1.1. Приготавливают экстракты для групп шприцев, в которых используется контрольная жидкость A
(F.3.1) и контрольная жидкость B
(F.3.2), согласно
F.5.
F.6.4.1.2. Регистрируют спектр поглощения экстракта в диапазоне длин волн от 200 до 450 нм с помощью спектрофотометра
(F.4.2), используя кремниевые ячейки с длиной луча 1 см.
F.6.4.1.3. Повторяют испытания
F.6.4.1.2, используя контрольную жидкость A и контрольную жидкость B вместо экстракта из шприца.
F.6.4.1.4. Проверяют контрольный и испытательный спектры для каждого из восьми различных вариантов условий экстрагирования и регистрируют отличия.
F.6.4.2. Предлагаемый критерий соответствия
Предлагаемый критерий соответствия заключается в том, что разница оптической плотности спектров экстракта из шприца и соответствующей контрольной жидкости не должна превышать значение 0,3.
F.6.5.1. Испытания
F.6.5.1.1. Подготавливают экстракты для групп шприцев, для которых используется контрольная жидкость B
(F.3.4), согласно описанию
F.5.
F.6.5.1.2. Измеряют и регистрируют сопротивление экстракта с помощью измерителя сопротивления
(F.4.3).
F.6.5.1.3. Повторяют операции
F.6.5.1.2, используя контрольную жидкость B вместо экстракта из шприца.
F.6.5.2. Предлагаемый критерий соответствия
Предлагаемый критерий соответствия заключается в том, что сопротивление экстракта из шприца должно составлять, по крайней мере, 60% сопротивления контрольной жидкости B.
F.6.6. Плавность движения штока
F.6.6.1. Испытание
F.6.6.1.1. Заполняют необходимое число шприцев контрольной жидкостью A
(F.3.1) до номинальной вместимости. Перемещают каждый шток вперед и назад на небольшие расстояния, чтобы убедиться, что он плавно передвигается. Повторно заполняют каждый шприц до номинальной вместимости.
F.6.6.1.2. Зажимают
(F.4.15) каждый шприц в вертикальном положении с обращенным вниз наконечником. Через (300 +/- 15) с после первого заполнения шприца прилагают к штоку усилие
(F.4.4), достаточное для вытеснения содержимого шприца. Методом подбора определяют усилие, необходимое для вытеснения содержимого из шприца в течение (5 +/- 2) с.
F.6.6.1.3. Повторяют испытания
F.6.6.1.1 и
F.6.6.1.2 на общем числе шприцев, равном 10, и рассчитывают среднее усилие.
F.6.6.1.4. Повторяют испытания
F.6.6.1.1 на необходимом числе шприцев, используя контрольную жидкость C
(F.3.3) вместо контрольной жидкости A.
F.6.6.1.5. Закрепляют каждый шприц согласно описанию в
F.6.6.1.2 и через (300 +/- 15) с после первого заполнения шприца прилагают к штоку усилие, равное среднему усилию, определенному в
F.6.6.1.3. Измеряют
(F.4.5) время, необходимое для вытеснения содержимого из шприца.
F.6.6.1.6. Повторяют испытания
F.6.6.1.5 на общем числе шприцев, равном 10, и рассчитывают среднее время.
F.6.6.1.7. Повторяют испытания
F.6.6.1.4 -
F.6.6.1.6 на шприцах, заполненных контрольной жидкостью C, в течение периода (60 +/- 3) мин.
F.6.6.2. Предлагаемый критерий соответствия
Предлагаемый критерий соответствия заключается в том, что среднее время, требуемое для вытеснения контрольной жидкости A с помощью усилия, определенного согласно
F.6.6.1.3, должно быть равно, по крайней мере, 50% усилия, требуемого для вытеснения контрольной жидкости C.
F.7. Протокол испытаний
Протокол включает следующее:
a) обозначение шприца с указанием его номинальной вместимости;
b) дату проведения испытаний;
c) результаты каждого выполненного испытания.
(рекомендуемое)
МЕТОД ОПРЕДЕЛЕНИЯ УСИЛИЯ,
ТРЕБУЕМОГО ДЛЯ ДВИЖЕНИЯ ШТОКА-ПОРШНЯ
G.1. Методика
Машина для механических испытаний, например, показанная на
рисунке G.1, используется для передвижения штока-поршня, сопровождаемого всасыванием и вытеснением воды, с регистрацией применяемых усилий.
G.2. Аппаратура и реактивы
G.2.1. Машина для механических испытаний, способная проводить измерение и непрерывную регистрацию усилий и перемещений с точностью 1% полной шкалы измерений, и имеющая устройства для закрепления испытуемого шприца.
G.2.2. Открытый резервуар с трубками внутренним диаметром (2,7 +/- 0,1) мм для соединения с испытуемым шприцем.
G.3. Испытание
G.3.1. Вынимают шприц из упаковки и устанавливают его на испытательной машине
(G.2.1), как показано на рисунке G.1. Перемещают шток-поршень шприца до положения, при котором линия отсчета достигает линии номинальной вместимости, и затем возвращают его в положение, при котором линия отсчета совпадает с нулевой линией.
1 - захват механической испытательной машины
(G.2.1);
2 - уровень воды на приблизительно средней точке шприца;
3 - испытуемый шприц; 4 - резервуар
(G.2.2); 5 - вода
опоры для установки различных значений
номинальной вместимости
Рисунок G.1. Аппаратура для определения усилия,
требуемого для приведения шприца в действие
G.3.2. Соединяют наконечник шприца с трубкой резервуара
(G.2.2). Добавляют в резервуар воды
(G.2.3) при температуре (23 +/- 2) °C и удаляют весь воздух из трубок. Поддерживают температуру воды и шприца, указанную выше. Регулируют относительное положение шприца и резервуара таким образом, чтобы уровень воды в резервуаре приблизительно совпадал со средней точкой цилиндра шприца (см. рисунок G.1).
G.3.3. Устанавливают на ноль регистрирующее устройство и налаживают машину для испытаний
(G.2.1) таким образом, чтобы она могла создавать сжимающие и растягивающие усилия без переналадки.
G.3.4. Запускают машину для испытаний таким образом, чтобы она вытягивала шток-поршень шприца со скоростью (100 +/- 5) мм/мин до линии номинальной вместимости, всасывая при этом в шприц воду из резервуара.
Примечание. Присутствие воздуха в наконечнике шприца не оказывает влияния на результаты испытаний.
G.3.5. Вытягивание штока-поршня шприца проводят до совпадения линии отсчета с линией номинальной вместимости. В момент совпадения останавливают ход штока-поршня и переустанавливают регистрирующее устройство на ноль. Выжидают 30 с. Запускают испытательную машину в обратном направлении и возвращают шток-поршень в первоначальное положение, вытесняя при этом воду из шприца в резервуар.
G.4. Расчет результатов
G.4.1. Исходя из данных регистрации хода шток-поршня и прилагаемого усилия (см.
рис. G.2), определяют следующее:
a) усилие

, требуемое для приведения шток-поршня в движение, т.е. пиковое усилие, регистрируемое в начале движения шток-поршня при его вытягивании машиной (см.
G.3.4);
b) среднее усилие

обратного движения шток-поршня [т.е. рассчитанное среднее значение усилия обратного движения шток-поршня испытательной машины (см.
G.3.5)];
c) максимальное усилие

обратного движения шток-поршня (см.
G.3.5);
d) минимальное усилие

обратного движения шток-поршня (см.
G.3.5).
G.4.2. Предлагаемые значения усилий, требуемых для приведения шток-поршня в движение, даны в
таблице G.1.
1 - ход шток-поршня; 2 - усилие при вытягивании
шток-поршня, Н; 3 - усилие при обратном ходе шток-поршня, Н
Рисунок G.2. Примеры графика усилий, требуемых
для приведения штока-поршня в действие
G.5. Протокол испытаний
Протокол испытаний должен содержать, по крайней мере, следующую информацию:
a) обозначение и номинальную вместимость шприца;
b) усилие

, требуемое для приведения шток-поршня в движение, Н;
c) среднее усилие

обратного движения шток-поршня, Н;
d) максимальное усилие

обратного движения шток-поршня, Н;
e) минимальное усилие

обратного движения шток-поршня, Н;
f) дату проведения испытаний.
Таблица G.1
Предлагаемые значения усилий, требуемых
для приведения шток-поршня в действие
Номинальная вместимость шприца, V, мл | Начальное усилие,  Н | Среднее усилие,  , Н | Максимальное усилие,  , Н | Минимальное усилие,  , Н |
V < 2 | 10 | 5 | не более (2,0 x измеренное  ) или (измеренное  ), смотря что больше | не менее (2,0 x измеренное  ) или (измеренное  ), смотря что меньше |
2 <= V < 50 | 25 | 10 | не более (2,0 x измеренное  ) или (измеренное  ), смотря что больше | не менее (2,0 x измеренное  ) или (измеренное  ), смотря что меньше |
50 <= V | 30 | 15 | не более (2,0 x измеренное  ) или (измеренное  ), смотря что больше | не менее (2,0 x измеренное  ) или (измеренное  ), смотря что меньше |
(рекомендуемое)
СИМВОЛ "ПОВТОРНО НЕ ИСПОЛЬЗОВАТЬ"
H.1. Общее
Символ ISO для обозначения изделия, предназначенного для однократного применения, соответствует номеру символа ISO 7000/1051, указанному в ISO 7000.
Примечание. Дальнейшая информация по разработке, размерам и применению символов ISO дана в ISO 3461.
H.2. Исходный вариант
Толщина линий равна 2 мм. Размер a является номинальным размером проекта оригинала всех символов ISO и обычно равен 50 мм. Во многих случаях, фактический размер слегка отличается, и наружный диаметр круга (размер h) проекта оригинала равен 1,16 a, т.е. 58 мм. Цвет символа в настоящем стандарте не установлен.
H.3. Уменьшение и увеличение исходного варианта
При применении символа допускается уменьшать или увеличивать размер оригинала до значения, приемлемого для фактического использования. Номинальный размер a используется при этом в качестве масштаба. Практика показывает, что размер a может быть уменьшен до 3 мм без потери четкости символа. Однако при уменьшении размера следует проверять четкость символа.
h = 1,16a
Примечание. Визуальные центровые линии не являются частью символа.
Рисунок H.1. Символ ISO "Повторно не использовать",
[4]
[1] | ISO 384:1978 | Laboratory glassware - Principles of design and construction of volumetric glass Ware (Посуда лабораторная стеклянная. Принципы устройства и конструирования мерной посуды) |
[2] | ISO 3461-1:1988 | General principles for the creation of graphical symbols - Part 1: Graphical symbols for use on equipment (Общие принципы построения графических условных обозначений. Часть 1. Графические условные обозначения, наносимые на оборудование) |
[3] | ISO 3461-2:1987 | General principles for the creation of graphical symbols - Part 2: Graphical symbols for use in technical product documentation (Общие принципы построения графических условных обозначений. Часть 2. Графические условные обозначения для технической документации на продукцию) |
| ISO 7000:1989 | Graphical symbols for use on equipment - Index and Synopsis (Обозначения условные графические, наносимые на оборудование. Перечень и сводная таблица) |
[5] | ISO 7864:1993 | Sterile hypodermic needles for single use (Иглы стерильные для подкожных инъекций одноразового применения) |
[6] | ISO 8537:1991 | Sterile single-use syringes, with or without needle, for insulin (Шприцы стерильные одноразового применения с иглой или без иглы для инсулина) |
[7] | ISO 10993-1:1992 | Biological evaluation of medical devices - Part 1: Guidance on selection of tests (Оценка биологическая медицинских устройств. Часть 1. Оценка и испытания) |
(справочное)
СВЕДЕНИЯ О СООТВЕТСТВИИ МЕЖГОСУДАРСТВЕННЫХ СТАНДАРТОВ
ССЫЛОЧНЫМ МЕЖДУНАРОДНЫМ СТАНДАРТАМ
Таблица ДА.1
Обозначение и наименование международного стандарта | Степень соответствия | Обозначение и наименование межгосударственного стандарта |
ISO 594-1:1986 Детали соединительные с конусностью 6% (Луера) для шприцев, игл и другого медицинского оборудования. Часть 1. Общие требования | - | |
ISO 594-2:1991 Детали соединительные с конусностью 6% (Луера) для шприцев, игл и другого оборудования. Часть 2. Луеровские наконечники | - | |
ISO 3696:1987 Вода для лабораторного анализа. Технические условия и методы испытаний | - | |
ISO 8601:1988 Элементы данных и форматы для обмена информацией. Обмен информацией. Представление дат и времени | IDT | ГОСТ ИСО 8601-2001 Система стандартов по информации, библиотечному и издательскому делу. Представление дат и времени. Общие требования |
<*> Соответствующий межгосударственный стандарт отсутствует. До его утверждения рекомендуется использовать перевод на русский язык данного международного стандарта. Перевод данного международного стандарта находится в Федеральном информационном фонде технических регламентов и стандартов. |
Примечание - В настоящем стандарте использовано следующее условное обозначение степени соответствия стандарта: |
- IDT - идентичные стандарты. |