Главная // Актуальные документы // ГОСТ (Государственный стандарт)СПРАВКА
Источник публикации
М.: Стандартинформ, 2017
Примечание к документу
Документ
введен в действие с 1 сентября 2017 года.
Название документа
"ГОСТ 33885-2016. Межгосударственный стандарт. Вагоны пассажирские локомотивной тяги. Методы испытаний по санитарно-гигиеническим и экологическим показателям"
(введен в действие Приказом Росстандарта от 01.12.2016 N 1910-ст)
"ГОСТ 33885-2016. Межгосударственный стандарт. Вагоны пассажирские локомотивной тяги. Методы испытаний по санитарно-гигиеническим и экологическим показателям"
(введен в действие Приказом Росстандарта от 01.12.2016 N 1910-ст)
агентства по техническому
регулированию и метрологии
от 1 декабря 2016 г. N 1910-ст
МЕЖГОСУДАРСТВЕННЫЙ СТАНДАРТ
ВАГОНЫ ПАССАЖИРСКИЕ ЛОКОМОТИВНОЙ ТЯГИ
МЕТОДЫ ИСПЫТАНИЙ ПО САНИТАРНО-ГИГИЕНИЧЕСКИМ
И ЭКОЛОГИЧЕСКИМ ПОКАЗАТЕЛЯМ
Passanger cars on lokomotive traction.
Test methods of sanitary-hygienic and ecological issues
ГОСТ 33885-2016
Дата введения
1 сентября 2017 года
Цели, основные принципы и основной порядок проведения работ по межгосударственной стандартизации установлены в
ГОСТ 1.0-2015 "Межгосударственная система стандартизации. Основные положения" и
ГОСТ 1.2-2015 "Межгосударственная система стандартизации. Стандарты межгосударственные, правила и рекомендации по межгосударственной стандартизации. Правила разработки, принятия, обновления и отмены"
1 ПОДГОТОВЛЕН Федеральным государственным унитарным предприятием "Всероссийский научно-исследовательский институт стандартизации и сертификации в машиностроении" (ВНИИНМАШ) и Федеральным государственным унитарным предприятием "Всероссийский научно-исследовательский институт железнодорожной гигиены" Федеральной службы по надзору в сфере защиты прав потребителей и благополучия человека (ФГУП "ВНИИЖГ" Роспотребнадзора)
2 ВНЕСЕН Межгосударственным техническим комитетом по стандартизации МТК 524 "Железнодорожный транспорт"
3 ПРИНЯТ Межгосударственным советом по стандартизации, метрологии и сертификации (протокол от 25 октября 2016 г. N 92-П)
За принятие проголосовали:
Краткое наименование страны по МК (ИСО 3166) 004-97 | Код страны по МК (ИСО 3166) 004-97 | Сокращенное наименование национального органа по стандартизации |
Армения | AM | Минэкономики Республики Армения |
Казахстан | KZ | Госстандарт Республики Казахстан |
Киргизия | KG | Кыргызстандарт |
Россия | RU | Росстандарт |
4
Приказом Федерального агентства по техническому регулированию и метрологии от 1 декабря 2016 г. N 1910-ст межгосударственный стандарт ГОСТ 33885-2016 введен в действие в качестве национального стандарта Российской Федерации с 1 сентября 2017 г.
6 ВВЕДЕН ВПЕРВЫЕ
Информация об изменениях к настоящему стандарту публикуется в ежегодном (по состоянию на 1 января текущего года) информационном указателе "Национальные стандарты", а текст изменений и поправок - в ежемесячном информационном указателе "Национальные стандарты". В случае пересмотра (замены) или отмены настоящего стандарта соответствующее уведомление будет опубликовано в ежемесячном информационном указателе "Национальные стандарты". Соответствующая информация, уведомление и тексты размещаются также в информационной системе общего пользования - на официальном сайте Федерального агентства по техническому регулированию и метрологии в сети Интернет (www.gost.ru)
1.1 Настоящий стандарт предназначен для применения при проведении испытаний по санитарно-гигиеническим и экологическим показателям вновь разрабатываемых (модернизируемых), изготавливаемых пассажирских вагонов локомотивной тяги, выпускаемых в обращение для использования на железнодорожных путях общего и необщего пользования шириной колеи 1520 мм со скоростями движения до 200 км/ч включительно, а также вагонов габарита "РИЦ" следующих со сменой колеи 1435 мм/1520 мм и двухэтажных вагонов (далее - вагонов).
1.2 Настоящий стандарт также включает метод испытаний по определению эргономических показателей, несоответствие которых нормативным требованиям может быть причиной травматизма и нарушения здоровья пассажиров и обслуживающего персонала.
1.3 Настоящий стандарт предназначен для оценки пассажирских вагонов локомотивной тяги при проведении испытаний с целью подтверждения безопасных условий проезда пассажиров, обслуживающего персонала и безопасности окружающей среды.
В настоящем стандарте использованы нормативные ссылки на следующие стандарты:
ГОСТ 12.0.004-90 Система стандартов безопасности труда. Организация обучения безопасности труда. Общие положения
ГОСТ 12.1.004-91 Система стандартов безопасности труда. Пожарная безопасность. Общие требования
| | ИС МЕГАНОРМ: примечание. В официальном тексте документа, видимо, допущена опечатка: стандарт имеет номер ГОСТ Р 12.1.019-2009, а не ГОСТ 12.1.019-2009. | |
ГОСТ 12.1.019-2009 Система стандартов безопасности труда. Электробезопасность. Общие требования и номенклатура видов защиты
ГОСТ 12.2.007.0-75 Система стандартов безопасности труда. Изделия электротехнические. Общие требования безопасности
ГОСТ 12.2.091-2012 Безопасность электрического оборудования для измерения, управления и лабораторного применения. Часть 1. Общие требования
ГОСТ 12.3.002-75 Система стандартов безопасности труда. Процессы производственные. Общие требования безопасности
ГОСТ 12.3.018-79 Система стандартов безопасности труда. Системы вентиляционные. Методы аэродинамических испытаний
ГОСТ 12.4.009-83 Система стандартов безопасности труда. Пожарная техника для защиты объектов. Основные виды. Размещение и обслуживание
ГОСТ 12.4.021-75 Система стандартов безопасности труда. Системы вентиляционные. Общие требования
ГОСТ 112-78 Термометры метеорологические стеклянные. Технические условия
ГОСТ 166-89 (ИСО 3599-76) Штангенциркули. Технические условия
ГОСТ 427-75 Линейки измерительные металлические. Технические условия
ГОСТ 2405-88 Манометры, вакуумметры, мановакуумметры, напоромеры, тягомеры и тягонапоромеры. Общие технические условия
ГОСТ 6376-74 Анемометры ручные со счетным механизмом. Технические условия
ГОСТ 7502-98 Рулетки измерительные металлические. Технические условия
ГОСТ 9871-75 Термометры стеклянные ртутные электроконтактные и терморегуляторы. Технические условия
ГОСТ 15150-69 Машины, приборы и другие технические изделия. Испытания для различных климатических районов. Категории, условия эксплуатации, хранения и транспортирования в части воздействия климатических факторов внешней среды
ГОСТ 17187-2010 (IEC 61672-1:2002) Шумомеры. Часть 1. Технические требования
ГОСТ 18140-84 Манометры дифференциальные ГСП. Общие технические условия
ГОСТ 26918-86 Шум. Методы измерения шума железнодорожного подвижного состава
ГОСТ 30494-2011 Здания жилые и общественные. Параметры микроклимата в помещениях
ГОСТ 31248-2004 Вибрация. Измерение и анализ общей вибрации, воздействующей на пассажиров и бригаду рельсового транспортного средства
ГОСТ 31952-2012 Устройства водоочистные. Общие требования к эффективности и методы ее определения
ГОСТ 32203-2013 (ISO 3095:2005) Железнодорожный подвижной состав. Акустика. Измерение внешнего шума
Примечание - При пользовании настоящим стандартом целесообразно проверить действие ссылочных стандартов в информационной системе общего пользования - на официальном сайте Федерального агентства по техническому регулированию и метрологии в сети Интернет или по ежегодному информационному указателю "Национальные стандарты", который опубликован по состоянию на 1 января текущего года, и по выпускам ежемесячного информационного указателя "Национальные стандарты" за текущий год. Если ссылочный стандарт заменен (изменен), то при пользовании настоящим стандартом следует руководствоваться заменяющим (измененным) стандартом. Если ссылочный стандарт отменен без замены, то положение, в котором дана ссылка на него, применяется в части, не затрагивающей эту ссылку.
В настоящем стандарте применены следующие термины с соответствующими определениями.
3.1 вагоны пассажирские: Вагоны, предназначенные для перевозки пассажиров и (или) багажа, почтовых отправлений, такие, как почтовые, багажные, вагоны-рестораны, служебно-технические, служебные, клубы, санитарные, испытательные и измерительные лаборатории, специальные вагоны пассажирского типа.
3.2 вагон багажный: Вагон, оборудованный багажным отсеком; в зависимости от назначения, вагон может быть оборудован: служебным отделением, купе для отдыха обслуживающего персонала, туалетным помещением с душем.
3.3 вагон купейного исполнения первого класса с креслами (местами) для сидения: Вагон, оборудованный двухместными и четырехместными купе повышенной комфортности, служебным отделением, купе для отдыха проводника (при необходимости), двумя туалетными помещениями общего пользования.
3.4 вагон купейного исполнения второго класса с креслами (местами) для сидения: Вагон, оборудованный трех-, шестиместными купе, служебным отделением, купе для отдыха проводника (при необходимости), двумя туалетными помещениями общего пользования.
3.5 вагон открытого типа третьего класса: Вагон, оборудованный спальными местами, расположенными в открытых пассажирских отсеках, служебным отделением, купе для отдыха проводника, двумя туалетными помещениями общего пользования. В каждом отсеке устанавливают три спальных дивана и три спальных полки.
3.6 вагон повышенной комфортности: Вагон, оборудованный: одно-, двухместными купе, душевым модулем, туалетной кабиной, залом-гостиной с буфетной стойкой, системой трансляции аудио- и видеопрограмм. Остальные помещения такие же, как в купейном вагоне класса "люкс".
3.7 вагон почтовый: Вагон, предназначенный для перевозки почтовых отправлений и оборудованный помещениями для перевозки почты и посылок, помещением для сортировки почтовой корреспонденции, служебным отделением, купе для отдыха обслуживающего персонала, туалетным помещением с душем.
3.8 вагон салонного исполнения первого или второго классов с креслами (местами) для сидения: Вагон, оборудованный одним или несколькими пассажирскими салонами с креслами (местами) для сидения соответствующего класса и проходом, служебным отделением, купе для отдыха проводника (при необходимости), двумя туалетными помещениями общего пользования.
3.9 вагон с кафе-буфетом: Вагон, оборудованный служебным отделением, купе для отдыха проводника (при необходимости), пассажирскими купе со специальными местами или салоном с местами для сидения, раковиной для мытья рук пассажиров, туалетным помещением для обслуживающего персонала вагона, буфетной стойкой, залом для приема пищи (при необходимости), холодным шкафом, кухонным отделением с оборудованием для быстрого разогрева полуфабрикатов и быстрозамороженных кулинарных изделий высокой степени готовности, моечной столовой посуды, оборудованной одногнездной моечной раковиной, кладовой для хранения продуктов, мусоросборником для пищевых отходов с крышкой и полиэтиленовыми пакетами, может быть оборудован местами для сидения около буфетной стойки.
3.10 вагон с трансформируемым купе: Вагон, оборудованный пассажирскими купе, которые при необходимости (изменении пассажиропотока) силами поездной бригады могут быть трансформированы в двух- или четырехместные спальные купе или в шестиместные купе с местами для сидения. Остальные помещения как в купейном вагоне второго класса.
3.11 вагон туристический: Вагон, предназначенный для перевозки туристов, организации досуга туристов в туристических поездках и оборудованный местами для отдыха пассажиров, служебным отделением, купе для отдыха проводника, туалетным помещением с душем.
3.12 вагон-клуб: Вагон, предназначенный для демонстрации кинофильмов и показа театрализованных представлений и оборудованный зрительным залом со сценой, теле- и киноэкраном и соответствующими воспроизводящими видеосистемами, помещением для библиотеки и артистической уборной, служебными помещениями, купе для отдыха проводников и обслуживающего персонала, туалетной кабиной, душевым модулем, установкой энергоснабжения, двумя тамбурами.
3.13 вагон-магазин: Вагон, предназначенный для организации торгового обслуживания населенных пунктов при отсутствии в населенных пунктах стационарных торговых точек и оборудованный торговым залом, помещением для хранения нескоропортящихся продуктов и промышленных товаров, холодильными шкафами, служебным отделением, купе для отдыха проводника, туалетным помещением, душевой установкой.
3.14 вагон-передвижная камера хранения: Вагон, предназначенный для перевозки багажа пассажиров в составах пассажирских поездов и оборудованный служебным отделением, купе для отдыха проводника, багажным отсеком и помещением с камерами хранения, туалетным помещением с душем.
3.15 вагон-поликлиника: Вагон, предназначенный для проведения медицинских профилактических осмотров и диагностики заболеваний и оборудованный купе - врачебными кабинетами, помещениями для отбора лабораторных анализов, кабинетами рентгеновской и ультразвуковой диагностики, служебным отделением, купе для отдыха проводника и обслуживающего персонала, туалетным помещением с душем.
3.16 вагон-ресторан: Вагон, предназначенный для организации питания пассажиров в пути следования и оборудованный: одним или несколькими обеденными залами со столами и креслами (диванами), барной стойкой с посадочными местами около стойки, кухней, отсеком или помещением для мытья столовой посуды, холодильными шкафами, кладовой для хранения продуктов, раковиной для мытья рук пассажиров, туалетным помещением с душем для персонала вагона-ресторана.
3.17 вагон-салон: Вагон, предназначенный для обеспечения комфортных условий проезда и выполнения служебных обязанностей в полевых условиях и оборудованный служебным отделением, купе для отдыха проводника, бытовыми и рабочими помещениями, салоном, душем, туалетными помещениями.
3.18 вагон-электростанция: Вагон, предназначенный для электроснабжения пассажирских вагонов с централизованной системой энергоснабжения и оборудованный машинным отделением с дизель-генераторами или преобразователями, служебным отделением, мастерской.
3.19 вагон-храм: Вагон, предназначенный для проведения религиозных служб и обрядов, должен быть оборудован необходимыми помещениями для проведения религиозных служб и обрядов, служебным отделением, купе для отдыха проводника (при необходимости), туалетным помещением с душем.
3.20 вредное вещество: Вещество, которое при контакте с организмом человека в случае нарушения требований безопасности может вызывать отравления, заболевания или отклонения в состоянии здоровья настоящего и последующих поколений, обнаруживаемые современными методами.
3.21 гигиенический норматив: Установленное исследованиями допустимое максимальное или минимальное количественное и (или) качественное значение показателя, характеризующее тот или иной фактор среды обитания человека с позиций его гигиенической безопасности и (или) безвредности для человека.
3.22 искусственная освещенность: Освещение, выполненное искусственными источниками света.
3.23 испытания санитарно-гигиенические: Испытания по установлению соответствия (несоответствия) характеристик пассажирских вагонов, или отдельных его систем требованиям технических регламентов, государственных санитарно-эпидемиологических правил и нормативов организациями, аккредитованными в установленном порядке.
3.24 купе пассажирское: Часть пассажирского вагона, предназначенная для размещения пассажиров, ограниченная по ширине поперечными перегородками, по длине: с одной стороны боковиной вагона и с другой стороны продольной перегородкой с дверью.
3.25 купе служебное: Часть пассажирского вагона, предназначенная для работников поездной бригады и обслуживающего персонала, ограниченная по ширине поперечными перегородками, по длине: с одной стороны боковиной вагона и с другой стороны продольной перегородкой с дверью, в которой расположены органы управления оборудованием вагона или группы вагонов и не допускается нахождение пассажиров.
3.26 купейный вагон класса "люкс": Вагон, оборудованный одноместными купе с одним спальным диваном, туалетным помещением для индивидуального пользования, умывальником и душевой, служебным отделением, купе для отдыха проводника, туалетом общего пользования.
3.27 купейный вагон первого класса: Вагон, оборудованный двухместными купе, служебным отделением, купе для отдыха проводника и не менее чем двумя туалетными помещениями общего пользования.
3.28 купейный вагон второго класса: Вагон, оборудованный четырехместными купе с четырьмя спальными местами (двумя диванами и двумя спальными полками), служебным отделением, купе для отдыха проводника (при необходимости), двумя туалетными помещениями общего пользования.
3.29 купейный вагон второго класса - штабной: Вагон, оборудованный:
- купе с радиооборудованием;
- купе для проезда инвалида, использующего кресло-коляску, и сопровождающего его лица (при необходимости);
- бытовым помещением с душем для проводников (поездной бригады);
- пассажирскими купе;
- служебным отделением;
- купе для отдыха проводника (при необходимости);
- двумя туалетами общего пользования, один из которых доступен для инвалидов, использующих кресло-коляску (при необходимости);
- тамбурами.
3.30 метод испытания: Правила применения определенных принципов и средств испытаний.
3.31 освещенность: Отношение светового потока, падающего на элемент поверхности, содержащий данную точку, к площади этого элемента.
3.32 параметры микроклимата: Комплекс физических факторов, оказывающих влияние на теплообмен организма человека с окружающей средой и его тепловое состояние, включающий температуру, влажность, скорость движения воздуха и тепловое излучение.
3.33 перепад температур по вертикали: Величина изменения температуры воздуха по вертикали.
3.34 перепад температур по горизонтали: Величина изменения температуры воздуха по горизонтали.
3.35 подпор воздуха: Избыточное давление, поддерживаемое в вагоне относительно внешней среды при работе системы вентиляции вагона.
3.36 полка спальная: Место для сидения или лежания пассажиров и поездного персонала, ограниченное по длине и ширине краями спальной полки.
3.37 результирующая температура: Интегральный показатель, в который входят: температура воздуха, относительная влажность воздуха, скорость движения воздуха, средняя радиационная температура.
3.38 салон: Помещение вагона без перегородок или с единичными перегородками.
3.39 сечение поперечное: Сечение, плоскость которого перпендикулярна продольной оси вагона или длинной стороне объекта измерения.
3.40 сечение продольное: Сечение, плоскость которого параллельна длинной стороне объекта измерения.
3.41 специальные вагоны пассажирского типа (специальные вагоны): Вагоны, обеспечивающие предоставление комплекса дополнительных услуг пассажирам (вагон с кафе-буфетом, вагон-ресторан, багажный вагон, почтовый вагон, вагон-электростанция, вагон повышенной комфортности, вагон-салон, туристический вагон, вагон-гараж, вагон-передвижная камера хранения, вагон с трансформируемыми купе) и вагоны, предназначенные для организации обслуживания населения (вагон-магазин, вагон-клуб, вагон-поликлиника, вагон-храм и другие).
3.42 средняя радиационная температура: Алгебраическая разность между температурой воздуха в помещении и средней температурой ограждающих поверхностей.
3.43 теплый период года: Период года, характеризуемый среднесуточной температурой наружного воздуха выше +10 °C.
3.44 химическое загрязнение воздушной среды: Изменение химического состава воздушной среды помещений пассажирских вагонов в процессе деструкции полимерсодержащих конструкционных и отделочных материалов, вызывающее опасность для здоровья пассажиров и поездных бригад.
3.45 холодный период года: Период года, характеризуемый среднесуточной температурой наружного воздуха +10 °C и ниже.
4.1 Все работы по подготовке и проведению испытаний проводят под непосредственным руководством и контролем руководителя испытаний.
4.2 Все окна и двери должны быть закрыты.
4.3 Не допускается проведение испытаний при неблагоприятных атмосферных условиях (дождь, град, ураган, ливень, метель, снегопад, гроза).
4.4 Все средства измерения, используемые при проведении испытаний, должны быть утверждены и иметь действующие свидетельства о поверке.
4.5 Для регистрации времени измерений используют секундомер (часы-секундомер, хронограф), обеспечивающие измерение времени в течение не менее 24 ч с погрешностью +/- 1 с.
4.6 Результаты испытаний оформляют протоколом. Рекомендуемая форма протокола испытаний представлена в
приложении А.
4.7 В двухэтажных вагонах измерения показателей проводят на каждом этаже.
5. Метод испытания по определению эргономических показателей
5.1 Испытания проводят в вагоне при нормальных климатических условиях по
ГОСТ 15150.
Уровни освещенности на измеряемых поверхностях должны быть не менее 200 лк.
5.2 Средства измерений
При выполнении измерений применяют следующие средства измерений:
- рулетка металлическая с ценой деления 1 мм по
ГОСТ 7502;
- штангенциркуль класса точности 1 по
ГОСТ 166;
- дальномер лазерный.
5.3 Предел допускаемой погрешности измерения размеров:
+/- 1 мм - линейкой, рулеткой;
+/- 1,5 мм - дальномером лазерным.
5.4 Метод измерений
5.4.1 Измерения линейных размеров включают: измерения длины, ширины, высоты, глубины. Измерения проводят однократно.
5.4.2 Номенклатура показателей измерений линейных размеров и эргономических показателей пассажирских вагонов и элементов внутреннего оборудования указаны в таблице 1 по схемам, представленным на
рисунках 1 -
19.
Таблица 1
Эргономические показатели пассажирских вагонов
и элементов внутреннего оборудования
В миллиметрах
Наименование показателя | Схема проведения измерений |
Высота купе пассажирского | |
Длина купе пассажирского | |
Ширина купе пассажирского | |
Длина спальной полки | |
Ширина спальной полки | |
Расстояние от пола до нижней спальной полки | |
Расстояние по высоте между нижней и верхней спальными полками | |
Расстояние по высоте между верхней спальной полкой и потолком | |
Высота нижней кромки остекления окна от пола | |
Высота верхней кромки остекления окна от пола | |
Высота коридора (прохода) | |
Ширина коридора в купейном вагоне: - на высоте 1,2 м от пола | |
- по полу | |
Ширина прохода в вагоне открытого типа: - между поручнями, на высоте 1,2 м от пола | |
- между боковыми стенками рундуков на высоте 0,15 м от пола | |
Ширина прохода в вагоне с креслами для сидения | |
Шаг установки кресел при многорядной посадке | |
Расстояние между сиденьями при расположении кресел друг против друга | |
Ширина прохода между рядами столов в обеденном зале вагона-ресторана | |
Расстояние в горизонтальной проекции между краем стола и передним краем сиденья в обеденном зале | |
Высота бортиков, расположенных по периметру кухонной плиты | |
Высота унитаза над полом | |
Длина унитаза | |
Ширина унитаза | |
Высота установки умывальника в туалете | |
Длина тамбура | |
Ширина тамбура | |
Глубина ступеньки на подножках | |
Ширина ступеньки на подножках | |
Расстояние между ступеньками по вертикали | |
Ширина дверного проема в свету | |
Высота дверного проема в свету | |
Высота бортиков обеденного стола | |

Рисунок 1 - Поперечное сечение купейного вагона
Рисунок 2 - Продольное сечение вагона.
Купе пассажирское (вид в плане)
Рисунок 3 - Спальная полка
Рисунок 4 - Расположение окна в пассажирском вагоне
Рисунок 5 - Поперечное сечение вагона открытого типа
Рисунок 6 - Поперечное сечение купейного вагона
Рисунок 7 - Поперечное сечение вагона с креслами для сидения
Рисунок 8 - Шаг установки кресел при многорядной посадке
Рисунок 9 - Расстояние между сиденьями при расположении
кресел друг против друга
Рисунок 10 - Поперечное сечение вагона-ресторана
Рисунок 11 - Продольное сечение вагона-ресторана
Рисунок 12 - Плита кухонная в вагоне-ресторане
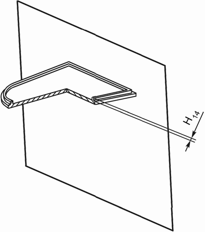
Рисунок 14 - Верхняя часть унитаза
Рисунок 15 - Умывальник в туалете
Рисунок 17 - Ступеньки при входе в вагон
Рисунок 18 - Продольное сечение двери
Рисунок 19 - Обеденный стол
5.4.3 Ширину туалетного помещения измеряют в горизонтальной плоскости между противоположными стенками в поперечном сечении, без учета выступающих и заглубленных поверхностей.
5.4.4 Длину туалетного помещения измеряют в горизонтальной плоскости между противоположными стенками в продольном сечении, без учета выступающих и заглубленных поверхностей.
5.4.5 Ширину и длину служебного купе измеряют так же, как купе пассажирского
(рисунок 2), с последующим расчетом площади помещения, вычисленной как произведение ширины и длины.
5.4.6 Длину и ширину спальной полки измеряют по нижней части основания полки от края до края.
6. Метод испытания по определению параметров микроклимата
6.1 Определяемые параметры
6.1.1 Для определения параметров микроклимата в холодный и теплый периоды года проводят прямые измерения три раза, через два часа с последующим вычислением среднеарифметических значений:
- температуры воздуха, tc, °C;
- относительной влажности воздуха,

, %;
- скорости движения воздуха, V, м/с;
- температуры ограждающих поверхностей, tогр, °C.
6.1.2 При оценке параметров микроклимата необходимо учитывать следующие расчетные показатели:
- среднее арифметическое значение температуры воздуха для каждого помещения, tCср °C;
- средняя температура ограждающих поверхностей, tогр, °C;
- результирующая температура, РТ, °РТ;
- алгебраическая разность между средней радиационной температурой (температурой ограждающих поверхностей) и температурой воздуха,

, °C.
6.1.3 Для определения средней радиационной температуры вычисляют площади ограждающих поверхностей, м
2, указанных в приложении Б (
таблицы Б.2 -
Б.7).
6.2 Метод испытаний
6.2.1 Места и точки измерений температуры, влажности и скорости движения воздуха, температуры ограждающих поверхностей в спальных вагонах, в вагонах с креслами для сидений и в вагоне-ресторане должны соответствовать
приложению Б. Дополнительные измерения проводятся в точках, указанных на
рисунках Б.1 и
Б.2.
6.2.2 Параллельно измеряют температуру наружного воздуха у датчика наружной температуры системы управления микроклиматом вагона или на наружной заборной решетке приточного воздуха.
6.3 Средства измерений
6.3.1 При выполнении измерений температуры воздуха и ограждающих поверхностей применяют термометры.
Погрешность измерений термометра не должна превышать +/- 0,2 °C при измерении температуры воздуха и +/- 0,5 °C при измерении температуры ограждающих поверхностей.
Допускается использовать другие измерительные приборы, обеспечивающие необходимую точность измерений, в том числе инфракрасные лазерные пирометры по
ГОСТ 28243.
6.3.2 При выполнении измерений относительной влажности применяют гигрометры с предельным отклонением не более 5,0% по
ГОСТ 30494.
6.3.3 При выполнении измерений скорости движения воздуха применяют анемометры с погрешностью не более 0,05 м/с.
6.3.4 При выполнении измерений линейных размеров применяют следующие средства измерений, имеющие предел допускаемой погрешности измерения размеров +/- 1 мм:
- рулетка металлическая с ценой деления 1 мм по
ГОСТ 7502.
6.4 Порядок подготовки к испытаниям
6.4.1 Заданные значения температуры воздуха при работе климатической системы (системы кондиционирования воздуха) должны составлять:
- для теплого периода года 24 °C;
- для холодного периода года 22 °C.
6.4.2 В вагонах с индивидуальным регулированием температуры воздуха в купе, регуляторы температуры в каждом купе переключают на уровни средних значений.
6.5 Условия проведения испытаний
6.5.1 Измерения проводят при движении вагона с эксплуатационной скоростью или в климатической камере.
6.5.2 Измерения проводят при температуре наружного воздуха минус 10 °C и ниже и при температуре наружного воздуха плюс 28 °C и выше, при относительной влажности воздуха не выше 80% и атмосферном давлении, кПа, от 84,0 до 106,7.
6.5.3 Жалюзи (шторы) на всех окнах должны быть открыты.
6.5.4 Измерения проводят при работе систем отопления, вентиляции и кондиционирования воздуха в автоматическом режиме.
6.5.5 В теплый период года во время испытаний в стационарных условиях для оценки работы кондиционера должна дополнительно учитываться нагрузка от отсутствующих пассажиров из расчета 0,1 кВт на одного человека, с учетом населенности вагона.
6.5.6 При проведении испытаний в климатической камере необходимо обеспечить имитацию влияния солнечной радиации на вагон. Для имитации солнечной радиации следует установить в вагоне дополнительные источники тепла, из расчета 0,8 кВт/м2 площади остекления служебных и пассажирских помещений вагона со стороны, подвергаемой инсоляции.
6.5.7 При расчетах мощности имитационных источников тепла следует также учитывать коэффициент теплопропускания солнцезащитных устройств, установленных в вагоне и коэффициент поглощения солнечной радиации стеклом.
6.6 Правила обработки и вычислений результатов испытаний
6.6.1 Среднюю температуру
tс, °C, и скорость движения воздуха
V, м/с, в служебных и пассажирских помещениях вагона определяют как среднюю арифметическую величину измеренных значений на уровнях 0,1 м; 1,2 м; 1,7 м от пола, а в туалетных кабинах как среднюю арифметическую величину измеренных значений на уровнях 0,1 и 1,2 м.
6.6.2 Среднюю температуру ограждающих поверхностей tогр определяют по формуле
| | ИС МЕГАНОРМ: примечание. Формула дана в соответствии с официальным текстом документа. | |

(1)
где tпов - температура каждой из ограждающих поверхностей, °C;
F1, F2, ..., Fn - площади ограждающих поверхностей, м2.
6.6.3 Алгебраическую разницу между средней температурой ограждающих поверхностей и средней температурой воздуха в помещении

, °C определяют для каждого помещения по формуле

(2)
где tс - средняя температура воздуха в помещении;
tогр - средняя температура ограждающих поверхностей.
6.6.4 Перепад температур воздуха по вертикали определяют как разность значений температур воздуха, измеренных на высоте 0,1 м и 1,7 м для спальных вагонов или 0,1 м и 1,2 м для вагонов с креслами для сидения.
6.6.5 Перепад температур воздуха по горизонтали (длине) вагона определяют как разность средних температур воздуха в крайних точках вагона (первое - последнее пассажирское купе, начало - конец коридора).
6.6.6 Расчет интегрального показателя результирующей температуры,
PT, °РТ, проводят в соответствии с
приложением В.
7. Метод испытания по определению точности
поддержания температуры воздуха
7.1 Предметом измерений является температура воздуха во внутренних помещениях вагона.
7.2 Метод испытания
7.2.1 Температуру воздуха измеряют после выхода системы терморегулирования на установленный режим в течение 3 ч с равными интервалами 5 мин на высоте 1,2 м от пола в центре следующих помещений вагона:
- купе отдыха проводников;
- купе служебное;
- пассажирские купе в купейном вагоне и вагоне открытого типа (первое, среднее, последнее);
- в специальных вагонах пассажирского типа (специальных вагонах) в середине помещений, предназначенных для нахождения в них обслуживающего персонала или иных категорий работающих.
В салоне измерения температуры воздуха проводят в начале, середине и конце.
7.2.2 Испытания проводят при заданных значениях температуры воздуха по
6.4.1, а также отличающихся от исходных на плюс 2 °C и на минус 2 °C как для теплого, так и для холодного периодов года.
7.4 Порядок подготовки к испытаниям - по
6.4.
7.5 Условия проведения испытаний - по
6.5.
7.6 Правила обработки и вычислений результатов испытаний
7.6.1 Точность поддержания температуры воздуха в помещении оценивают на основе измеренных значений температуры воздуха в помещениях на высоте 1,2 м от пола по
7.2.1.
7.6.2 Точность поддержания значения температуры воздуха в помещении определяют:
а) как точность поддержания средней температуры воздуха (диапазон колебаний температуры воздуха в помещении относительно среднего по времени значения) в каждой точке измерения по формулам (3), (4), а для помещения в целом - по
формулам (5) и
(6):

(3)

(4)
где tcp - среднее по времени значение температуры воздуха в j-й точке за период измерения (3 ч);

(5)

(6)
где

- среднее значение температуры воздуха в помещении на высоте 1,2 м за период измерения (3 ч);
n - количество измерений температуры воздуха по времени,
б) как точность поддержания заданного значения температуры воздуха в помещении по формуле

(7)
где
tзадан - заданное значение температуры воздуха для автоматического поддержания в помещении при работе систем обеспечения микроклимата по
7.2.2.
7.6.3 Точность поддержания значения температуры воздуха для каждой точки измерения и для всего помещения необходимо сравнивать с нормативными значениями для соответствующего периода года.
8. Метод испытания по определению подпора воздуха
8.1 Определение подпора воздуха осуществляют методом прямого измерения избыточного давления.
8.2 Средства измерений
8.2.1 При выполнении измерений применяют манометр дифференциальный по
ГОСТ 18140. Предел основной допускаемой абсолютной погрешности измерений не должен превышать 2 Па.
8.2.2 Разрешается использовать средства измерения избыточного давления, обеспечивающие класс точности измерений не ниже 1,0 по
ГОСТ 2405.
8.2.3 Для измерения скорости движения наружного воздуха используют анемометры по
6.3.3.
8.3 Условия проведения испытаний
8.3.1 Испытания проводят внутри вагона в стационарных условиях.
8.3.2 Скорость движения наружного воздуха не должна превышать 5 м/с.
8.4 Метод испытаний
8.4.1 Средства измерений размещают в помещении вагона.
8.4.2 Место размещения приборов в помещениях вагона произвольное на горизонтальной поверхности.
8.4.3 На внешнюю сторону кузова вагона выводят приемник воздушного давления, который присоединяют к дифференциальному манометру трубопроводом. Трубопровод выводят через любое конструкционное отверстие кузова вагона (без нарушения герметичности), без перегибов, изломов и повреждений. Приемник должен быть защищен экраном от воздействия осадков и тканевым чехлом от влияния потоков ветра площадью 0,01 - 0,02 м2. Обеспечить неподвижное положение прибора и трубок в период измерений.
8.4.4 В вагонах купейных, открытого типа, с креслами для сидения и специальных вагонах пассажирского типа (специальных вагонах) измерения подпора воздуха проводят в пассажирских помещениях. Двери, отделяющие пассажирские помещения от иных помещений вагона, должны быть закрыты. Двери всех пассажирских купе должны быть открыты. В вагонах-ресторанах измерения проводят в обеденном зале и на кухне. Двери (окна) между обеденным залом и кухней должны быть при этом открыты. В багажных и почтовых вагонах измерения проводят в служебных помещениях и помещениях для отдыха. Все двери между этими помещениями должны быть открыты. Переходные двери в иные помещения вагона должны быть закрыты.
8.4.5 Измерения начинают не ранее, чем через 15 мин после выхода системы вентиляции вагона на штатный режим.
8.4.6 В каждой точке дискретно проводят серию измерений. Общее время измерений должно составлять 5 мин.
8.5 Правила обработки результатов испытаний
8.5.1 Условия и результаты испытаний регистрируют в журнале испытаний.
8.5.2 Значения подпора воздуха определяют как среднеарифметическое значение полученных при измерениях результатов в каждой точке измерения.
9. Метод испытания по определению количества
наружного воздуха, подаваемого в вагон
9.1 Метод испытания
9.1.1 Проведение измерений осуществляют в соответствии с методикой, изложенной в
ГОСТ 12.3.018.
9.1.2 При отсутствии прямолинейных участков воздуховода для подачи наружного воздуха в вагон следует использовать накладной раструб на воздухозаборные решетки, обеспечивающий расположение мерного сечения в месте, делящем выбранный для измерения участок в отношении 3:1 в направлении движения воздуха. Раструб должен полностью накрывать воздухозаборную решетку, плотно соприкасаться с поверхностью кузова вагона для исключения утечек воздуха и погрешности измерений.
9.2 Средства измерений
9.2.1 Для измерений скорости движения воздуха, подаваемого в вагон, используют анемометры по
ГОСТ 6376 и термоанемометры. Погрешность измерений не должна превышать 5%.
9.2.2 Допускается использовать другие средства измерений, обеспечивающие проведение измерений объема подаваемого воздуха. Они должны иметь чувствительность и размеры, достаточные для усреднения скорости движения воздуха по всему диапазону вариаций (5 - 3000 м
3/ч).
9.2.3 Измерения температур наружного воздуха проводят термометрами по
ГОСТ 112 и
ГОСТ 9871 или термоэлектрическими преобразователями (в комплекте с термопарами с номинальными статистическими характеристиками по национальным стандартам и нормативным документам, действующим на территории государства, принявшего стандарт <1>), имеющими диапазон измерений от минус 40 °C до плюс 60 °C.
--------------------------------
<1> В Российской Федерации действует
ГОСТ Р 8.585-2001 "Государственная система обеспечения единства измерений. Термопары. Номинальные статические характеристики преобразования".
Погрешность измерений термометра не должна превышать +/- 0,2 °C.
9.2.4 При выполнении измерений относительной влажности воздуха применяют гигрометры с предельным отклонением не более 5,0% по
ГОСТ 30494.
9.2.5 Для измерения линейных размеров элементов воздуховодов применяют рулетку металлическую с ценой деления 1 мм по
ГОСТ 7502.
9.3 Условия проведения испытаний
9.3.1 Испытания проводят в стационарных условиях. Вагон размещают в производственном помещении или в климатической камере. Допускается проведение испытаний на открытой территории при скорости ветра менее 1 м/с.
9.3.2 Питание системы вентиляции вагона должно осуществляться от внешнего источника энергоснабжения. Система вентиляции и кондиционирования воздуха вагона должна работать в автоматическом режиме.
9.3.3 Перед началом и по окончании испытаний измеряют температуру и относительную влажность наружного воздуха.
9.3.4 Испытания проводят при:
- температуре окружающей среды от 10 °C до 40 °C;
- относительной влажности окружающего воздуха 10% - 85%.
9.4 Проведение испытаний
9.4.1 Испытания проводят с точностью:
- скоростей движения воздуха, м/с - до одного десятичного знака;
- линейных размеров воздуховодов, м - до третьего десятичного знака.
9.4.2 При выполнении испытаний выполняют измерения скоростей движения воздуха от каждой воздухозаборной решетки три раза по 30 с при каждом измерении.
9.4.3 При использовании средств измерений по
9.2.2 измерения выполняют в соответствии с инструкцией к ним.
9.5 Обработка результатов испытаний
9.5.1 Условия и результаты испытаний регистрируют в журнале испытаний.
9.5.2 Среднюю скорость движения воздуха определяют по ГОСТ 12.3.018
(пункт 5.7).
9.5.3 Количество наружного воздуха, подаваемого в вагон через одну воздухозаборную решетку,
Vi, м
3/ч, определяют по ГОСТ 12.3.018
(пункт 5.8).
9.5.4 Общее количество наружного воздуха, V0, м3/ч, подаваемого в вагон через все воздухозаборные решетки (объемный расход), определяют как сумму значений, вычисленных по 9.5.3.
9.5.5 Определение количества наружного воздуха, приходящегося на одного человека в час, рассчитывают отношением общего количества наружного воздуха, подаваемого в вагон через все воздухозаборные решетки, к количеству мест, указанных в конструкторской документации на вагон.
10. Метод испытания по определению уровней
искусственной освещенности
10.1 Метод испытания
Измерение уровней искусственной освещенности осуществляют методом прямого однократного измерения в точках, указанных в
таблице 2.
10.2 Средства измерений
При выполнении испытаний применяют люксметры, требования к которым приведены в нормативных документах, действующих на территории государства, принявшего стандарт <1>.
--------------------------------
<1> В Российской Федерации действует ГОСТ Р 54944-2012 "Здания и сооружения. Методы измерения освещенности"
(подраздел 4.1).
10.3 Перед проведением испытаний проверяют состояние светильников (загрязнение, укомплектованность отражателями, решетками, рассеивателями), определяют число негорящих ламп и проводят их замену.
10.4 Условия проведения испытаний
10.4.1 Измерения освещенности при рабочем и аварийном освещениях в вагоне, проводят в темное время суток, когда отношение естественной освещенности к искусственной составляет не более 0,1. Шторы на окнах во всех помещениях вагона должны быть закрыты.
10.4.2 При работе с люксметром необходимо соблюдать следующие требования:
- приемная пластина фотоэлемента должна размещаться в точках измерения в горизонтальной или вертикальной плоскости;
- на фотоэлемент не должны падать тени от оператора, проводящего измерения.
10.4.3 Испытания в помещениях вагона проводят при температуре воздуха от 10 °C до 40 °C в точках, указанных в таблице 2.
Таблица 2
Контрольные точки для измерений искусственной освещенности
в вагонах при рабочем и аварийном освещении
Вагоны | Точки измерений |
1.1 Пассажирские вагоны |
на горизонтальной плоскости на высоте 0,8 м от пола и расстоянии 0,6 м от спинки дивана | измерение проводят в одной точке, на расстоянии 0,5 м от окна |
на поверхности столика | измерение проводят в одной точке, в центре стола |
на горизонтальной плоскости от светильника местного освещения, на высоте 0,5 м от поверхности дивана и на расстоянии 0,6 м от светильника | измерение проводят в одной точке |
1.2 Вагоны с креслами для сидения |
на горизонтальной плоскости на высоте 0,8 м от пола и расстоянии 0,6 м от спинки кресла | измерение проводят в одной точке на первом, среднем и последнем креслах, расположенных в левом и правом рядах |
на поверхности столика | измерение проводят в одной точке, в центре стола |
на полу | измерения проводят в точках: в центрах проекции расстояния между светильниками, в проходе напротив первого, среднего и последнего кресел |
1.3 Вагон-ресторан |
Обеденный зал |
на столах | измерения проводят в точках: в центре первых, средних и последних столов в левом и правом рядах |
Кухня |
раздаточное окно рабочие поверхности плиты, мойки на производственных столах | измерение проводят в одной точке, в центрах указанных поверхностей |
посудомоечное отделение | на поверхности моечной раковины |
Бар, бистро |
на столах посетителей и стойке раздачи на производственных столах, мойке | измерение проводят в одной точке, в центре указанных поверхностей |
1.4 Багажный вагон |
Отделение для багажных раздатчиков |
на горизонтальной плоскости, на высоте 0,8 м от пола | измерение проводят в одной точке, в центре помещения |
Кладовая |
на полу | измерение проводят в одной точке, в центре помещения |
1.5 Почтовый вагон |
Зал сортировки корреспонденции |
на горизонтальной плоскости, на высоте 0,8 м от пола | измерение проводят в одной точке, в центре рабочей поверхности |
на вертикальной плоскости, на клетках сортировочных шкафов, по всей высоте шкафа | измерения проводят в центре указанных поверхностей |
Трактовая и транзитная кладовые |
на полу | измерение проводят в одной точке, в центре помещения |
Купе для служебной корреспонденции |
на вертикальной плоскости, на высоте 0,8 м от пола | измерение проводят в одной точке, в центре плоскости |
Рабочий стол начальника и заместителя начальника почтового вагона |
на столе | измерение проводят в одной точке, в центре стола |
1.6 Вагон-магазин, вагон-клуб, вагон-храм и вагон-поликлиника |
на горизонтальной плоскости, на высоте 0,8 м от пола | измерение проводят в одной точке, в центре помещения |
1.7 Общие помещения вагонов |
Туалет |
на вертикальной плоскости, на высоте 1,5 м от пола и на расстоянии 0,3 м от зеркала, со стороны зеркала | измерение проводят в одной точке |
на полу | измерение проводят в одной точке, в центре помещения |
Коридоры, освещенность на полу |
большой коридор | измерения проводят в точках: в центрах проекции расстояния под светильниками и между ними, в начале, середине и конце коридора |
малый коридор | измерение проводят в одной точке, в центре коридора |
Служебное купе |
на рабочем столе | измерение проводят в одной точке, в центре стола |
на вертикальной плоскости, на электрощите | измерения проводят в центре поверхности шкал приборов |
Тамбуры |
на полу | измерение проводят в одной точке, в центре помещения |
Ступени при входе в вагон (кроме почтового) |
на нижней ступени | измерение проводят в одной точке, в центре ступени |
Котельное отделение |
на вертикальной плоскости, на контрольных приборах | измерения проводят в центре поверхности шкал приборов |
1.8 Аварийное освещение |
на полу основных проходов вагона | измерения проводят в точках, на удалении 1 м друг от друга |
10.5 Правила обработки результатов испытаний
Условия и результаты испытаний регистрируют в журнале испытаний.
При измерении уровней освещенности в нескольких точках одного объекта измерений за результат принимают среднее арифметическое значение.
11. Метод испытания по определению содержания вредных
химических веществ в воздушной среде помещений вагона
11.1 В качестве показателей, характеризующих химическое загрязнение воздушной среды пассажирского вагона, принимают содержание вредных химических веществ, определяемых в воздушной среде помещений вагона по гигиеническим нормативам для атмосферного воздуха населенных мест, действующих на территории государства, принявшего стандарт <1>.
--------------------------------
<1> В Российской Федерации действуют гигиенические нормативы
ГН 2.1.6.1338-03 "Предельно допустимые концентрации (ПДК) загрязняющих веществ в атмосферном воздухе населенных мест", утвержденные Главным государственным санитарным врачом Российской Федерации, Первым заместителем Министра здравоохранения Российской Федерации 21 мая 2003 г.
11.2 Средства испытаний
11.2.1 Отбор проб проводят с помощью аспирационного устройства.
Процедуры пробоподготовки и методы анализа выбирают в зависимости от вида контролируемых химических веществ. Средства измерения, вспомогательное оборудование, химические реактивы, лабораторную посуду применяют в соответствии с аттестованными методиками анализа вредных летучих химических веществ для атмосферного воздуха населенных мест. Для испытаний применяют газоанализаторы, газовые и жидкостные хроматографы, хромато-масс-спектрометры, имеющие поверку.
11.2.2 Показатель точности (границы относительной погрешности измерений),

, при
P = 0,95 не выше 25%. Показатель повторяемости (относительное среднеквадратическое отклонение повторяемости измерений)

, не более 7%. Показатель воспроизводимости (относительное среднеквадратическое отклонение воспроизводимости измерений),

, не более 11%.
11.2.3 Испытания необходимо проводить при температуре воздуха в помещениях вагона 25 °C - 28 °C, относительной влажности воздуха от 15% до 75%.
11.2.4 При проведении испытаний вентиляция должна быть отключена, окна и двери закрыты.
11.2.5 Температура воздуха не ниже 25 °C должна удерживаться в помещениях вагона не менее 24 ч до момента отбора проб воздушной среды.
11.2.6 Перед отбором проб воздуха в помещениях вагона, необходимо произвести отбор фоновых проб атмосферного или окружающего воздуха (в цехе депо) на расстоянии 1000 мм от вагона на уровне 1200 - 1500 мм от пола или земли на те же химические вещества, на которые производят отбор проб в вагоне.
11.3 Порядок проведения испытаний
11.3.1 Отбор проб воздушной среды проводят в соответствии с аттестованными методиками выполнения химического анализа на каждое определяемое химическое вещество.
Отбор осуществляют в следующих помещениях: в спальном вагоне - в первом, среднем и последнем купе, а также в коридоре напротив среднего купе; в вагоне открытого типа - в первом, среднем и последнем пассажирских отсеках; в вагоне с креслами для сидений - в центре салона; в служебном купе - в центре; в вагоне-ресторане - в центре обеденного зала и в кухне.
В вагоне-магазине, вагоне-клубе, вагоне-храме и вагоне-поликлинике измерения проводят в начале и в конце вагона на высоте 1500 мм от пола в центре помещений.
В купе устройства для отбора проб воздуха устанавливают на уровне 1500 мм от пола в центре помещения.
В коридоре, салоне и на кухне отбор проб воздуха производят на уровне 1500 мм от пола в центре помещения.
Отбор проб воздушной среды на каждое химическое вещество проводят каждые 4 часа в течение суток для оценки по среднесуточным предельно допустимым концентрациям (ПДК) в атмосферном воздухе населенных мест.
При отборе проб воздушной среды регистрируют в помещениях вагона температуру воздуха термометрами по
6.3.1, относительную влажность воздуха гигрометрами по
6.3.2.
После окончания отбора проб воздуха должны быть соблюдены условия их хранения в соответствии с утвержденными методиками выполнения химического анализа на каждое определяемое химическое вещество.
11.4 Правила обработки результатов испытаний
11.4.1 Концентрации химических веществ в воздушной среде помещений вагона не должны превышать среднесуточных (ПДК) или ориентировочно безопасных уровней воздействия (ОБУВ), установленных для атмосферного воздуха населенных мест государства, принявшего стандарт <1>.
--------------------------------
<1> В Российской Федерации действуют гигиенические нормативы
ГН 2.1.6.1338-03 "Предельно допустимые концентрации (ПДК) загрязняющих веществ в атмосферном воздухе населенных мест", утвержденные Главным государственным санитарным врачом Российской Федерации - Первым заместителем Министра здравоохранения Российской Федерации 21 мая 2003 г.
11.4.2 При обнаружении в воздушной среде помещений вагона нескольких химических веществ, обладающих доказанным суммационным эффектом действия, каждое из которых находится на уровне или ниже соответствующих ПДК, суммарный показатель содержания их в долях от ПДК не должен превышать единицы, что определяется по формуле
C1/ПДК1 + C2/ПДК2 + ... + Cn/ПДКn <= 1, (8)
где C1, C2, ..., Cn - фактические концентрации обнаруженных химических веществ в атмосферном воздухе;
ПДК1, ПДК2, ..., ПДКn - предельно допустимые концентрации обнаруженных химических веществ.
11.4.3 За результат измерений в каждой точке отбора (помещения вагона, фоновые показатели воздушной среды) принимают сумму средней концентрации (по каждому химическому веществу) и предела случайной погрешности измерений

при уровне доверительной вероятности 0,95.
Расчет осуществляется по формуле

(9)
где Ci - концентрация вещества на высоте 1500 мм от пола, мг/м3.
Уровень химического загрязнения воздушной среды помещений вагонов по каждому химическому веществу рассчитывают по формуле
Cр = Cк.в - Cф.к, (10)
где Cр - расчетная концентрация химического вещества, мг/м3;
Cк.в - концентрация химического вещества в помещениях вагона, мг/м3;
Cф.к - фоновая концентрация химического вещества, мг/м3.
12. Метод испытания по определению уровней электрического
и магнитного полей промышленной частоты (50 Гц)
в помещениях вагона
12.1 Данным методом определяют уровни электромагнитных полей промышленной частоты (ЭМП) в вагоне, создаваемые воздушными линиями электропередачи электрифицированных участков железных дорог (ВЛ), и установленными в вагоне источниками:
- электротехникой (электрические машины переменного тока, силовые щиты управления, трансформаторы, преобразователи, статические выпрямители);
- электронным оборудованием;
- радио- и телекоммуникационными системами;
- аудио- и видеотехникой, компьютерным оборудованием;
- специальным оборудованием;
- СВЧ-печами, холодильниками.
12.2 Метод испытания
Контроль уровней ЭМП промышленной частоты 50 Гц осуществляют раздельно для электрического поля (ЭП), и магнитного поля (МП).
В однофазных источниках ЭМП контролируются действующие (эффективные) значения ЭП и МП:
Em - амплитудные значения изменения во времени ЭП;
Hm - амплитудные значения изменения во времени МП.
В электроустановках с двух- и более фазными источниками ЭМП контролируются действующие (эффективные) значения ЭП и МП:
Emax - напряженность по большей полуоси эллипса или эллипсоида ЭП;
Hmax - напряженность по большей полуоси эллипса или эллипсоида МП.
12.3 Средства измерений
12.3.1 Общие требования - в соответствии с
разделом 4.
12.3.2 При выполнении измерений применяют следующие средства измерений.
12.3.2.1 Средства измерений электромагнитных излучений промышленной частоты (ПЧ) должны обеспечивать измерение ЭП и МП на частоте 50 Гц в полосе +/- 1 Гц, у которых пределы основной погрешности измерения не превышают +/- 20%.
12.3.2.2 Используемые средства измерений ЭМП между антенной и блоком индикации должны иметь электрическую развязку в целях исключения возможности воздействия электрических разрядов на персонал, проводящий измерения.
12.3.2.3 Линейка металлическая по
ГОСТ 427, рулетка металлическая с ценой деления 1 мм по
ГОСТ 7502.
12.3.2.4 Термометры по
6.3.1, гигрометры по
6.3.2.
12.4 Порядок подготовки к испытаниям
Определяют точки измерения в служебных и пассажирских помещениях вагона. На схематическом эскизе отмечают основные источники ЭМП, расположение кабельных линий. Фиксируют основные характеристики оборудования: тип, фактические напряжение и сила тока, фазность источников ЭМП промышленной частоты 50 Гц.
12.5 Условия проведения испытаний
12.5.1 При оценке уровней ЭМП от ВЛ вагон должен быть установлен на электрифицированном пути. Все электрооборудование вагона должно быть отключено.
12.5.2 При оценке уровней ЭМП от внутривагонных источников полей вагон устанавливают на неэлектрифицированном пути. Аккумуляторные батареи вагона должны быть полностью заряжены.
12.5.3 Испытатель, проводящий измерения, должен быть одет в антистатическую одежду. Предельно допустимое расстояние от испытателя, проводящего измерения, и измерительного прибора до токоведущих частей, находящихся под напряжением не должно быть менее 0,5 м.
12.5.4 Измерения в каждой контролируемой точке проводят на высоте 0,5; 1,5 и 1,8 м от поверхности пола и на расстоянии 0,2 м от стен и окон вагона.
12.5.5 При проведении испытаний следует исключить источники дополнительной погрешности:
- отклонения в выборе точек измерения путем точного расположения антенн средств измерений по 12.5.4;
- колебания датчика в пространстве при измерении путем удержания в вышеуказанных точках;
- расположение направленной (дипольной) антенны не по эллипсоиду;
- недостаточное время (менее 30 с) для установления показаний средств измерений;
- наличие металлических предметов в зоне измерения между датчиком СИ и объектом;
- неверный учет режима работы оборудования (удостовериться в наибольшем рабочем напряжении электроустановки);
- наличие иных источников ЭМП, влияющих на регистрируемые показатели;
- сокращение предельно допустимого расстояния по
12.5.3 от испытателя, проводящего измерения, и измерительного прибора до токоведущих частей, находящихся под напряжением.
12.5.6 Испытания проводят при относительной влажности воздуха не выше 80% и температуре воздуха в вагоне от 5 °C до 30 °C.
Испытания не проводятся при грозе, тумане и атмосферных осадках.
| | ИС МЕГАНОРМ: примечание. В официальном тексте документа, видимо, допущена опечатка: стандарт имеет номер ГОСТ Р 12.1.019-2009, а не ГОСТ 12.1.019-2009. | |
12.5.7 При проведении измерений уровней ЭМП промышленной частоты 50 Гц необходимо соблюдать условия, установленные требованиями безопасности по ГОСТ 12.1.019
(подпункт 4.1.4) и
ГОСТ 12.2.091.
12.6 Проведение испытаний
12.6.1 Измерения уровней ЭМП, создаваемых воздушными линиями электропередачи электрифицированных участков железных дорог, проводят при полностью отключенных изделиях бытовой техники вагона.
Контролируются действующие (эффективные) значения напряженностей по большей полуоси эллипса или эллипсоида электрического поля (ЭП), Emax и магнитного поля (МП), Hmax.
12.6.2 Измерения уровней ЭМП, создаваемых установленными в вагоне источниками
12.6.2.1 Измерения уровней ЭП, создаваемых установленными в вагоне источниками, проводят при полностью выключенном общем освещении.
12.6.2.2 Измерения уровней МП, создаваемых установленными в вагоне источниками, проводят при полностью включенном общем освещении.
12.6.2.3 Испытываемые источники ЭМП должны быть включены на максимальную мощность.
12.6.2.4 Измеряют уровни ЭМП в каждой точке не менее трех раз. Регистрируют значения силы тока и напряжения в сети вагона в начале и конце измерений уровней ЭМП промышленной частоты 50 Гц.
12.7 Правила обработки результатов испытаний
12.7.1 В электроустановках с однофазными источниками ЭМП вычисляют действующие (эффективные) значения ЭП (E) по формуле

(11)
где Em - амплитудное значение изменения во времени напряженности ЭП.
12.7.2 В электроустановках с однофазными источниками ЭМП вычисляют действующие (эффективные) значения МП (H) по формуле

(12)
где Hm - амплитудное значение изменения во времени напряженности МП.
12.7.3 Вычисляют средние значения ЭП и МП для каждой высоты измерений. В качестве результата, определяющего уровни ЭМП в контролируемой зоне, выбирают максимум из средних действующих (эффективных) значений ЭП и МП.
12.7.4 В электроустановках с двух- и трехфазными источниками ЭМП в качестве результата, определяющего уровни ЭМП в контролируемой зоне, выбирают максимум действующих (эффективных) значений напряженностей ЭП и МП по большей полуоси эллипса или эллипсоида, Emax и Hmax.
12.7.5 Результаты измерений ЭП и МП умножают на корректирующий коэффициент Kкорр, определяемый по формуле

(13)
где

, % - паспортная относительная погрешность используемого средства измерений.
13. Метод гигиенической оценки системы водоснабжения
13.1 Метод устанавливает требования к проведению испытаний по микробиологическим и санитарно-химическим показателям качества воды из системы водоснабжения вагона.
13.2 Метод испытаний
13.2.1 В испытываемом вагоне из системы водоснабжения отбирают пробы воды для микробиологических и санитарно-химических исследований.
13.2.2 Пробы воды из системы водоснабжения отбирают таким образом, чтобы оценить все участки системы с учетом тупиковых точек и изгибов, образующих застойные зоны.
13.3 Средства измерений
Средства измерений в соответствии с национальными стандартами и нормативными документами, действующими на территории государства, принявшего стандарт <1>.
--------------------------------
<1> В Российской Федерации действует
ГОСТ Р 51232-98 "Вода питьевая. Общие требования к организации и методам контроля качества".
13.4 Условия проведения испытаний
13.4.1 Перед заполнением системы водоснабжения водой проводят дезинфекцию системы насыщенным водяным паром при температуре 100 °C в течение 30 мин или дезинфицирующим средством, разрешенным для обработки систем питьевого водоснабжения и трубопроводов в пищевой промышленности согласно режимам, указанным в инструкции по применению с последующей промывкой питьевой водой.
Для проведения микробиологических и санитарно-химических испытаний подготовленная система водоснабжения вагона полностью заправляется питьевой водой, но не более чем за 8 ч до начала отбора проб.
Санитарно-химические исследования в лабораторных помещениях проводят в следующих условиях:
- температура окружающей среды 18 °C - 25 °C;
- атмосферное давление от 84 до 106 кПа (840 - 1060 мбар);
- относительная влажность окружающего воздуха 15% - 75%;
- уровни освещенности на рабочих поверхностях - не менее 300 лк.
Подаваемая к средствам измерений частота переменного тока 50 +/- 1 Гц, при напряжении в сети (220 +/- 10) В.
При условии заполнения систем водоснабжения вагонов водой, прошедших систему доочистки воды, необходимо убедиться в отсутствии вторичного микробного загрязнения воды, которое возникает в связи с загрязнением установок водоподготовки (доочистки).
13.5 Общие требования к отбору проб
Отбор проб для микробиологических исследований проводят в соответствии с ГОСТ 31862
(пункт 5.3), для санитарно-химических - ГОСТ 31862
(пункт 5.1), условия транспортирования и хранения проб должны быть в соответствии с ГОСТ 31862
(раздел 6). В каждой точке отбирают по одной пробе воды для санитарно-химических и микробиологических исследований.
13.6 Порядок проведения испытаний
13.6.1 Оценку устройств для водоочистки, водоподготовки и обеззараживания воды, используемых для установки в пассажирских вагонах, проводят по
ГОСТ 31952.
13.6.2 Оценку материалов, используемых в системе водоснабжения, проводят по нормативным документам государства, принявшего стандарт
<1>.
13.6.3 Отобранные из системы водоснабжения вагона пробы воды подвергают исследованиям в соответствии с требованиями национальных стандартов и нормативных документов, действующих на территории государства, принявшего стандарт
<2>.
13.6.4 Определение санитарно-химических показателей качества воды проводят по национальным стандартам и нормативным документам, действующим на территории государства, принявшего стандарт
<1>. В каждой доставленной пробе содержание органических и неорганических веществ определяют не менее трех раз.
13.6.5 Исследования проб воды по микробиологическим показателям проводят по нормативным документам государства, принявшего стандарт
<4>.
13.7 Правила обработки результатов испытаний
13.7.1 Обработку и вычисление результатов измерений по санитарно-химическим показателям проводят по национальным стандартам и нормативным документам, действующим на территории государства, принявшего стандарт
<3>.
13.7.2 Обработку и вычисление результатов измерений по микробиологическим показателям проводят по нормативным документам государства, принявшего стандарт
<5>.
13.7.3 Оценку результатов исследований проб воды проводят по нормативным документам государства, принявшего стандарт
<5>.
--------------------------------
<1> В Российской Федерации действуют методические указания
МУ 2.1.4.2898-11 "Санитарно-эпидемиологические исследования (испытания) материалов, реагентов и оборудования, используемых для водоочистки и водоподготовки", утвержденные Федеральной службой по надзору в сфере защиты прав потребителей и благополучия человека 12 июля 2011 г.
<2> В Российской Федерации действует
ГОСТ Р 55182-2012 "Вагоны пассажирские локомотивной тяги. Общие технические требования".
<3> В Российской Федерации действует ГОСТ Р 51232-98 "Вода питьевая. Общие требования к организации и методам контроля качества" (
пункт 5,
приложение Б).
<4> В Российской Федерации действуют методические указания
МУК 4.2.1018-01 "Санитарно-микробиологический анализ питьевой воды", утвержденные Главным государственным санитарным врачом Российской Федерации - Первым заместителем министра здравоохранения Российской Федерации 9 февраля 2001 г.
<5> В Российской Федерации действуют методические указания
МУ 2.1.4.1057-01 "Организация внутреннего контроля качества санитарно-микробиологических исследований воды", утвержденные Главным государственным санитарным врачом Российской Федерации - Первым заместителем министра здравоохранения Российской Федерации 6 июля 2001 г.
14. Метод испытания по определению напряженности
электростатических полей в помещениях вагона
14.1 Данным методом определяют уровни напряженности электростатических полей (ЭСП) в вагонах, эксплуатируемых на электрифицированных участках железных дорог с воздушными линиями (ВЛ) электропередачи высокого напряжения постоянного тока, а также создаваемые при эксплуатации электроустановок высокого напряжения постоянного тока и электризации диэлектрических материалов.
14.2 Метод испытания
Контроль уровней напряженности ЭСП в пространстве осуществляют путем покомпонентного измерения полного вектора напряженности (E) или измерения модуля этого вектора.
14.3 Средства измерений
14.3.1 Общие требования - в соответствии с
разделом 4.
14.3.2 При выполнении измерений применяют измерители напряженности электростатического поля, позволяющие определять величину в свободном пространстве с допустимой относительной погрешностью не более +/- 10%.
14.4 Порядок подготовки к измерениям
Определяют точки измерения в вагоне. На схематическом эскизе отмечают основные источники ЭСП.
14.5 Условия проведения испытаний
14.5.1 Оператор, проводящий испытания, должен быть одет в антистатическую одежду.
14.5.2 Проверяют комплектность и исправность электрооборудования, наличие заземления всех предметов, конструкций, частей оборудования, машин и механизмов.
14.5.3 При оценке уровней ЭСП от ВЛ вагон устанавливают на электрифицированном пути с ВЛ электропередачи высокого напряжения постоянного тока. Все электрооборудование вагона должно быть отключено.
14.5.4 При измерении уровней ЭСП от внутривагонных источников вагон устанавливают на неэлектрифицированном пути. Аккумуляторные батареи вагона должны быть полностью заряжены. Измерения уровней ЭСП от внутривагонных источников начинают через 5 минут после выхода системы вентиляции вагона на максимальную производительность.
14.5.5 В тамбурах, коридорах и служебном отделении вагона измерения уровней ЭСП проводят на высоте 0,5; 1,0 и 1,7 м.
14.5.6 В купе отдыха проводника и пассажирских помещениях вагона измерения уровней ЭСП проводят на высоте 0,5; 0,8 и 1,4 м.
14.5.7 Измерения напряженности ЭСП в каждой точке проводят не менее трех раз.
14.6 Проведение испытаний
14.6.1 Измеряют уровни ЭСП от ВЛ в тамбурах, коридорах и служебном отделении вагона.
14.6.2 Измеряют уровни ЭСП от внутривагонных источников в купе отдыха проводника и пассажирских помещениях вагона.
14.7 Правила обработки результатов испытаний
Итоговым значением измеренной напряженности ЭСП для каждой точки является максимальная величина.
15. Метод испытания по определению уровней инфразвука
15.1 Данный метод применяют для определения уровней звукового давления в октавных полосах частот со среднегеометрическими частотами 2, 4, 8 и 16 Гц, Li, дБ и общего уровня звука, дБ Лин.
15.2 Метод испытания
15.2.1 Измерения уровней звукового давления в октавных полосах частот со среднегеометрическими частотами 2, 4, 8 и 16 Гц, Li, дБ проводят методом прямых измерений шумомерами с временем экспоненциального усреднения "медленно" (S) по шкале "линейная".
15.2.2 Инфразвук в вагонах открытого типа и в вагонах с креслами для сидения измеряют в трех точках. Два микрофона должны находиться над поворотными шкворнями, а один располагаться по вертикальной прямой, проходящей через геометрический центр вагона.
В вагонах следующих типов испытания проводят в помещениях:
- купейный, вагон повышенной комфортности, туристический вагон, вагон с трансформируемыми купе: в служебном купе, купе отдыха проводника, в двух пассажирских купе, одно из которых расположено в центре вагона, а другое - над тележкой;
- вагон-ресторан: в обеденном зале и на кухне;
- вагон-салон: в служебном купе, купе отдыха проводника, салоне;
- багажный, почтовый, почтово-багажный, специального назначения: в купе отдыха проводника и служебных помещениях;
- вагоне-магазине, вагоне-клубе, вагоне-храме и вагоне-поликлинике: в служебном купе, купе отдыха проводника, в помещении, расположенном в середине вагона и над тележкой.
15.3.1 При выполнении измерений применяют шумомеры класса 1 по
ГОСТ 17187, максимальная допустимая погрешность которых на опорной частоте не должна превышать +/- 0,5 дБ.
Дополнительная погрешность, обусловленная подключением внешних фильтров или дополнительных приборов не должна превышать +/- 0,2 дБ.
15.3.2 Непосредственно до и сразу после измерений в вагоне, контролируют калибровку измерительной системы с помощью калибратора звука класса 1 по
[1].
15.3.3 Если результаты калибровки отличаются между собой, то измерения следует повторить.
15.3.4 Рулетка металлическая с ценой деления 1 мм по
ГОСТ 7502.
15.4 Условия проведения испытаний
15.4.1 Температура воздуха в вагоне должна быть в диапазоне от 5 до 35 °C. Относительная влажность воздуха должна быть в интервале значений от 25% до 90%. В вагонах-ресторанах должны функционировать холодильные шкафы.
15.4.2 Испытания проводят на стоянке и при движении вагона в составе поезда со скоростью, составляющей 2/3 от конструкционной, +/- 5 км/ч.
15.4.3 На стоянке измеряют параметры инфразвука при работающей системе вентиляции и кондиционирования вагона, при этом все оборудование, которое может эксплуатироваться во время стоянки вагона, должно работать. Вспомогательное оборудование должно работать при его максимальной нагрузке.
15.4.4 Для испытаний во время движения выбирают такой участок железнодорожного пути, акустическая окружающая среда (например, здания, стены и подобные сооружения) которого не влияет на уровни внутреннего шума. Путь не должен иметь стрелочных переводов, подъемов или уклонов больше

и проходить по мостам, в тоннелях.
Допускается проводить измерения на кривых, радиус которых позволяет движение со скоростью (110 +/- 10) км/ч.
15.4.5 Вагон должен быть включен в состав поезда таким образом, чтобы внешний шум тяговой единицы подвижного состава не оказывал влияния на результаты измерений в испытуемом вагоне. Для этого между локомотивом и испытываемым вагоном должен быть, как минимум, один вагон.
15.4.6 Система вентиляции и кондиционирования воздуха вагона во время измерений должна работать в автоматическом режиме.
15.4.7 Устройства, являющиеся источниками регулируемого внутреннего шума вагона (телевизоры, радиоприемники, радиостанции, телефонные аппараты сотовой связи), должны быть отключены.
15.4.8 Если расположение мебели в пассажирских помещениях вагона может быть изменено (трансформируемое спальное место, кресло, стол), измерения следует провести при всех вариантах размещения.
15.4.9 Определяют точки измерения и отмечают их на схематическом эскизе вагона.
15.4.10 Микрофоны устанавливают на высоте (1,2 +/- 0,1) м от уровня пола. Микрофоны не должны иметь жесткой связи с элементами конструкции вагона, а главная ось должна быть направлена вниз.
На стоянке измерительная поверхность микрофона (мембрана и решетка) дополнительно может быть направлена в сторону вероятного источника инфразвука (воздуховод; пневматическое оборудование туалетной системы замкнутого типа).
Между микрофоном и источником шума не должны находиться люди или предметы, искажающие звуковое поле. Расстояние от микрофона до стенок помещений вагона и лиц, проводящих измерения, должно быть не менее 0,5 м.
15.4.11 Не допускается проведение испытаний при наличии шумовых помех: от прохождения по соседнему пути подвижного состава, шумопоглощающих и шумоотражающих объектов, расположенных ближе 50 м от места стоянки или прохождения вагона, перемещениях людей через испытываемый вагон, открывании и закрывании дверей.
15.5 Проведение испытаний
15.5.1 Испытания начинают при соблюдении условий
15.3 и
15.4.
15.5.2 В каждой точке измерения проводят минимально три измерения как на стоянке, так и в движении.
Минимальное время на одно измерение - 180 с, рекомендуемое - 300 с.
Допускается разбивать указанное время на отрезки, продолжительность которых должна составлять не менее 30 с. Дискретные измерения производят не менее 10 раз для обеспечения требуемой точности результатов.
15.5.3 Все полученные результаты измерений автоматически записывают файлами в память шумомера для дальнейшей обработки.
15.5.4 В журнале регистрации производят записи о времени, маршруте, скоростях движения вагона, месте стоянки, местах и точках измерений, направлении измерительной поверхности микрофона, соответствующие номера файлов прибора.
15.6 Правила обработки результатов испытаний
15.6.1 Средний октавный уровень звукового давления
Lср, дБ, вычисляют по формуле
| | ИС МЕГАНОРМ: примечание. Формула дана в соответствии с официальным текстом документа. | |

(14)
где Li - измеренные октавные уровни звукового давления (логарифмические уровни инфразвука в i-й промежуток времени), дБ;
i = 1, 2, 3 ... n, где n - количество измерений в точке;

- суммарный октавный уровень звукового давления, дБ.
15.6.2 Средний уровень звука LЛин ср, дБ Лин вычисляют по формуле

(15)
где LЛин ср - измеренные уровни звука в i-й промежуток времени, дБ Лин;
i = 1, 2, 3 ... n, где n - количество измерений в точке;

- суммарный уровень звука, дБ Лин.
15.6.3 Если разность между максимальным и минимальным измеренными уровнями не превышает 3 дБ, среднее значение измеренных уровней Lср, LЛин ср равно их среднеарифметическому значению.
15.6.4 Логарифмическое суммирование различных по величине уровней звукового давления или звука следует проводить следующим образом.
Последовательно суммируют попарно уровни, начиная с максимального и ближайшего к нему. Для этого определяют разность между двумя слагаемыми уровнями и по установленной разности по таблице 3 находят добавку, которую прибавляют к большему уровню. Полученный результат суммируют таким же образом со следующим, третьим по величине уровнем и т.д., что в итоге дает искомый суммарный уровень.
Таблица 3
Добавка к большему уровню, дБ или дБ Лин
Разность двух слагаемых уровней | 0 | 1 | 2 | 3 | 4 | 5 |
Добавка к большему уровню | 3,0 | 2,5 | 2,0 | 1,8 | 1,5 | 1,2 |
15.6.5 Величины средних и суммарных уровней рассчитывают с точностью до одного десятичного знака с последующим округлением до целого числа.
15.6.6 Уровень звукового давления (при одночисловой оценке), измеренный по шкале шумомера "линейная", дБ Лин, оценивается при условии, если разность между уровнями, измеренными по шкалам "линейная" и "А" составляет более 10 дБ.
15.6.7 Обработанные результаты измерений оформляются в виде таблиц и сравниваются с предельно допустимыми уровнями инфразвука.
16. Метод испытания по определению внутреннего шума
16.1 Испытания по определению внутреннего шума проводят на стоянке и при движении вагона в составе поезда со скоростью, составляющей 2/3 от конструкционной, +/- 5 км/ч. Измерения параметров внутреннего шума в служебных и пассажирских помещениях вагона проводят по
ГОСТ 26918.
| | ИС МЕГАНОРМ: примечание. В официальном тексте документа, видимо, допущена опечатка: пункт 16.6.4 отсутствует. | |
Дополнительные испытания вагонов, оснащенных туалетной системой замкнутого типа, проводят в соответствии с 16.2 - 16.6.4.
16.2 В вагонах, оснащенных туалетной системой замкнутого типа, измеряют уровни шума в помещениях, соседних с туалетной кабиной.
16.2.1 Контролируемыми параметрами являются:
- уровни звукового давления в октавных полосах частот со среднегеометрическими частотами 31,5; 63; 125; 250; 500; 1000; 2000; 4000 и 8000 Гц;
- уровни звука и эквивалентные уровни звука A, (LA), в дБА при временной характеристике "медленно" (S).
16.3 Средства измерений - по
15.3.
16.4 Условия проведения испытаний
16.4.1 При проведении испытаний на стоянке вагон размещают в производственном помещении. Разрешается размещение на путях станции при отсутствии шумовых помех. Шум внешних звуковых помех, либо различных информационных (полезных) сигналов в вагоне должен быть не менее чем на 10 дБА ниже измеряемых уровней.
Испытания при движении вагона проводят в составе поезда со скоростью, составляющей 2/3 от конструкционной, +/- 5 км/ч.
16.4.2 Аккумуляторные батареи вагона до начала испытаний должны быть полностью заряжены. Энергоснабжение вагона может осуществляться от постороннего источника (от внешней трехфазной сети напряжением 380 В).
16.4.3 Туалетные модули систем замкнутого сбора канализационных стоков должны быть полностью экипированы в соответствии с технической документацией на туалетные модули. Крышка унитаза должна быть закрыта, сливное отверстие умывальника должно быть закрыто пробкой. Баки с холодной водой для слива унитазов должны быть заполнены не менее 50% емкости для каждой туалетной кабины.
16.4.4 Система замкнутого сбора канализационных стоков с вакуумным туалетом должна работать в нормальном режиме обслуживания. Под нормальным режимом подразумевается такая работа вакуумного туалета, когда цикл опорожнения (спуск) осуществляется после нажатия кнопки "Спуск".
16.4.5 Систему вентиляции (систему кондиционирования, климатическую установку) вагона включают в нормальном (автоматическом) режиме эксплуатации. Температура воздуха в вагоне должна быть в диапазоне от 5 °C до 35 °C. Относительная влажность воздуха в помещениях вагона должна быть в интервале значений от 15% до 90%.
16.4.6 Ассистент оператора располагается в помещении туалетной кабины.
16.4.7 В вагоне, кроме оператора и его ассистента, допускается присутствие не более двух человек из числа персонала, обслуживающего туалетную систему замкнутого типа вагона.
16.4.8 Не допускается проведение испытаний при:
- заполнении баков с холодной водой для слива унитазов менее 50% емкости;
- наличии посторонних источников шума, включая шум от иных видов транспорта, помех, в том числе от радиопереговоров и сигналов.
16.5 Проведение испытаний
16.5.1 Испытания начинают при соблюдении условий
15.3 и
16.4.
16.5.2 Шумомерами проводят прямые измерения с временем экспоненциального усреднения медленно (S) по шкале "А".
16.5.3 Главная ось измерительной поверхности микрофона (мембрана и решетка) должна быть направлена в сторону туалетной кабины и располагаться в центре помещения, на высоте 1,2 м от пола.
16.5.4 Для оценки влияния фонового шума в течение 180 с проводят измерения без включений слива воды туалетной системой замкнутого типа. Допускается разбивать указанное время на отрезки, продолжительность которых должна составлять 45 с. При дальнейшем увеличении продолжительности измерения эквивалентный уровень звука не должен изменяться более чем на 1,0 дБА.
16.5.5 Количество циклов слива N, необходимых для измерений по каждому помещению туалетной кабины, определяют по формуле

(16)
где 180 - время, необходимое для оценки уровней звука, с;
t - средняя продолжительность цикла слива, с.
16.5.6 Начало измерений в каждом из циклов слива определяется по условному сигналу, подаваемому оператором из служебного (пассажирского) помещения ассистенту в помещение туалетной кабины.
16.5.7 Если между результатами измерений, выполненных при одинаковых условиях, имеется отклонение более 3 дБ, то измерения повторяют.
16.5.8 Все полученные результаты измерений записывают файлами в память шумомера для дальнейшей обработки.
16.5.9 В журнале регистрации производят записи о времени, местах и точках измерений, соответствующие номера файлов прибора.
16.6 Правила обработки результатов измерений
16.6.1 Обработку результатов испытаний измеренных уровней звука проводят способом переноса файлов с результатами из шумомера на компьютер и последующим формированием табличных данных.
16.6.2 Средние эквивалентные уровни звука, LAeq, дБА, рассчитывают по формуле

(17)
где

- измеренные уровни звука, дБА;
N - число измерений уровней звука в данном помещении.
16.6.3 Средние октавные уровни звукового давления по каждой частоте,
Lср, дБ, рассчитывают по
формуле (14), аналогично
15.6.1.
17. Метод испытания по определению внешнего шума
17.1 Измерения параметров внешнего шума вагона в составе поезда проводят по
ГОСТ 32203.
18. Метод испытания по определению общей вибрации
18.1 Измеряемой величиной является поступательное ускорение a, м/с2, на полу вагона и на поверхности контакта человека с сиденьем, а именно - среднеквадратические значения виброускорений по осям ортогональной системы координат X0, Y0 и Z0, в третьоктавных полосах со среднегеометрическими частотами: 1; 1,25; 1,6; 2; 2,5; 3,15; 4; 5; 6,3; 8; 10; 12,5; 16; 20; 25; 31,5; 40; 50; 63 и 80 Гц.
18.1.1 Точки измерений
Ускорение на полу вагона следует измерять в центре проекции тележки и центре вагона.
Ускорение на поверхностях мест для сидения следует измерять по обоим концам вагона и в центре вагона.
При оценке виброизолирующих свойств сидений ускорение следует измерять на полу, как можно ближе к вертикальной проекции центра подушки сиденья.
18.2 Метод испытания
Вагоны, оснащенные дизель-генераторами для обеспечения автономного энергоснабжения, должны быть испытаны на стоянке и в движении. Испытания и оценку вибрации вагонов в движении следует проводить в составе поезда при скоростях движения от половины конструкционной скорости вагона с увеличением их до конструкционной, с интервалами (20 +/- 5) км/ч.
Измерения среднеквадратических значений виброускорений в третьоктавных полосах частот проводят по ГОСТ 31248
(раздел 5). Длительность измерений в каждой точке должна быть не менее 180 с. Допускается разбивать указанное время на отрезки.
18.3 Условия проведения испытаний
18.3.1 При проведении испытаний вагонов, оснащенных дизель-генераторами, измерения ускорений следует проводить при работающих дизель-генераторах.
18.3.2 Испытания в движении проводят на прямых участках бесстыкового пути с железобетонными шпалами и щебеночным балластным слоем.
18.3.3 Масса испытателя, занимающего позицию на сиденье, должна составлять 80 кг +/- 10%. Испытатель должен не менять положение тела на сиденье в течение всего времени измерения на поверхности данного сиденья.
18.3.4 В вагоне, кроме двух испытателей, допускается присутствие не более двух человек из числа бригады проводников. В период измерений перемещения по вагону недопустимы.
18.3.5 Вагон должен быть экипирован штатно. Все нештатные покрытия и приспособления с поверхностей сидений, подлокотников и пола должны быть удалены. В журнале регистрации следует указать наличие покрытий на полу и сведения о сиденьях:
- вид (отдельное, многоместное и т.д.);
- покрытие (ткань, искусственная кожа и т.д.);
- особенности (подлокотники, подголовники, подставка для ног, столик раскладывающийся, с наклоном спинки сиденья и т.д.);
- расположение (в ряд, лицом к лицу), положение и ориентация внутри вагона (вращающееся).
18.3.6 В протокол вносят особенности конструкции вагона (тип подвески, тип тележки, наличие дизель-генератора).
18.3.7 До начала измерений установить на виброметры батареи питания или подключить приборы к электрической сети вагона

. Виброметры в помещениях вагона размещают с учетом исключения влияний на приборы электромагнитных помех.
18.3.8 Непосредственно до и сразу после измерений проводят калибровку виброизмерительного тракта на одной частоте с помощью виброкалибратора 1-го класса точности. Если результаты калибровок отличны, полученные результаты измерений не учитывают и измерения проводят повторно.
18.3.9 Для определения скорости движения поезда используются скоростемер, навигационный прибор, использующий сигналы со спутников системы GPS.
18.4 Правила обработки результатов измерений
18.4.1 Рассчитывают среднеквадратические значения виброускорений в третьоктавных полосах частот для пола и сидений раздельно по 3 осям во всех точках измерений за периоды измерений на каждом режиме.
18.4.2 При числе дискретных измерений
n усредненное значение виброускорений

, м/с
2, в
i-й третьоктавной полосе частот, Гц, за общее время измерений
T, с, определяют по формуле

(18)
где aij - среднеквадратическое значение виброускорения, м/с2, измеренное в i-й третьоктавной полосе частот за время tj, с;
tj - продолжительность измерения, с, среднеквадратического значения виброускорения aij, м/с2;

- общее время измерения, с.
19. Требования техники безопасности и охраны
окружающей среды
При проведении испытаний соблюдают следующие требования.
19.1 Участники испытаний проходят первичный и целевой инструктажи в соответствии с требованиями ГОСТ 12.0.004 (
пункты 7.5;
7.6).
19.2 Общие требования безопасности при проведении испытаний - по
ГОСТ 12.3.002.
19.3 При нахождении на железнодорожных путях участники испытаний должны соблюдать следующие требования:
- к вагону проходить только по специально установленным маршрутам, обозначенным указателями "Служебный проход";
- при проходе вдоль путей на станции идти по широкому междупутью, по обочине земляного полотна или в стороне от железнодорожного пути не ближе 2,5 м от крайнего рельса, внимательно наблюдая за передвижениями подвижного состава на смежных путях;
- переходить пути только под прямым углом, предварительно убедившись, что в этом месте нет приближающегося подвижного состава;
- переходить путь, занятый подвижным составом, пользуясь только тамбурами вагонов или переходными площадками вагонов с исправными подножками и поручнями;
- при сходе с вагона держаться за поручни и располагаться лицом к вагону, предварительно осмотрев место схода и убедившись в отсутствии приближающегося подвижного состава на соседнем пути;
- обходить группы вагонов или локомотивов, стоящие на пути, на расстоянии не менее 5 м от автосцепки;
- проходить между расцепленными вагонами, если расстояние между автосцепками этих вагонов не менее 10 м.
19.4 Запрещается использовать средства измерений со снятыми лицевыми панелями и защитными кожухами. Применяемые электрические изделия (средства измерений и вспомогательное оборудование) должны соответствовать требованиям безопасности ГОСТ 12.2.007.0
(раздел 3) и
ГОСТ 12.2.091.
19.5 Газоанализатор не должен быть источником загрязнения воздуха вагонов. Следует исключить попадание жидкостей в газовый канал, а при использовании технологических приемов (продувка газового канала и входных коммуникаций, сброс отходящих газов) применяют сорбционный фильтр с активированным углем для улавливания вредных веществ.
| | ИС МЕГАНОРМ: примечание. В официальном тексте документа, видимо, допущена опечатка: стандарт имеет номер ГОСТ Р 12.1.019-2009, а не ГОСТ 12.1.019-2009. | |
19.6 При выполнении исследований питьевой воды необходимо соблюдать требования техники безопасности при работе с бактериологическими средствами и химическими реактивами по
ГОСТ 12.4.021, электробезопасности при работе с электроустановками - по
ГОСТ 12.1.019. Помещение лаборатории, где проводятся испытания, должно соответствовать требованиям пожарной безопасности по
ГОСТ 12.1.004 и быть обеспечено средствами пожаротушения по
ГОСТ 12.4.009.
(рекомендуемое)
РЕКОМЕНДУЕМАЯ ФОРМА ПРОТОКОЛА ИСПЫТАНИЙ
Наименование Системы, в которой аккредитована испытательная лаборатория
(испытательный центр).
Реквизиты испытательной лаборатории, испытательного центра (ИЛ, ИЦ),
аттестат аккредитации N __, срок его действия
Протокол N __(*)
___________________________________________________________________________
(*) Идентификационный номер протокола должен быть уникальным для данного
объекта испытаний. Система кодирования протоколов определяется ИЛ, ИЦ.
Дата составления протокола ________________________________________________
Наименование объекта испытаний ____________________________________________
Изготовитель ______________________________________________________________
Цель испытаний ____________________________________________________________
Дата и время испытаний ____________________________________________________
Дата и время доставки пробы (образца) _____________________________________
Место проведения испытаний ________________________________________________
Условия испытаний (режим работы объекта, требования к испытуемым помещениям
и установке измерительной аппаратуры) _____________________________________
Метод испытаний(оценивания) _______________________________________________
Наименование нормативных документов, на основании которых проводятся
измерения и оценки ________________________________________________________
Наименование измеряемых параметров ________________________________________
Сведения о применяемых средствах измерений (наименование прибора,
инструмента, заводской номер, основные характеристики, срок действия и
номер свидетельства о поверке) ____________________________________________
Нормативное и фактическое значение уровня измеряемых параметров ___________
Результаты испытаний ______________________________________________________
Приложения (рисунки, таблицы, статистический анализ, дополнительные
сведения и расчеты).
Протокол подписывается специалистами, проводившими измерения и расчеты, а
также руководителем ИЛ (ИЦ) и заверяется печатью.
(обязательное)
МЕСТА И ТОЧКИ ИЗМЕРЕНИЙ ПАРАМЕТРОВ МИКРОКЛИМАТА
Таблица Б.1
Места и точки измерений параметров микроклимата в вагонах
купейных, открытого типа, с креслами для сидения
и специальных вагонах пассажирского типа
(специальных вагонах)
Места измерений | Точки измерений на высоте от пола |
Температура воздуха, °C | Относительная влажность, % | Скорость движения воздуха, м/с |
0,1 м | 1,2 м | 1,7 м | 1,2 м | 0,1 м | 1,2 м | 1,7 м |
Вагоны купейные, открытого типа, специальные вагоны |
Купе первое, среднее, последнее (в центре) | + | + | + | + | + | + | + |
Вагоны с креслами для сидения (купейное исполнение) |
Купе первое, среднее, последнее (в центре) | + | + | + | - | + | + | - |
Вагоны с креслами для сидения (салонное исполнение) |
Салон: | | | | | | | |
- в начале | + | + | - | + | + | + | - |
- в середине | + | + | - | + | + | + | - |
- в конце | + | + | - | + | + | + | - |
Вагон-ресторан |
Обеденный зал: | | | | | | | |
- в начале | + | + | - | + | + | + | - |
- в середине | + | + | - | + | + | + | - |
- в конце | + | + | - | + | + | + | - |
Кухня: | | | | | | | |
- в начале | + | + | + | + | + | + | + |
- в середине | + | + | + | + | + | + | + |
- в конце | + | + | + | + | + | + | + |
Вагон-магазин, вагон-клуб, вагон-храм |
В начале, середине и конце вагона | + | + | + | + | + | + | + |
Вагон-поликлиника |
В центре кабинетов | + | + | + | + | + | + | + |
Купе отдыха проводников |
В центре | + | + | + | + | + | + | + |
Туалет |
В центре | + | + | - | - | - | - | - |
Душевой модуль |
В центре | + | + | + | - | - | - | - |
Служебное отделение, коридор малый |
В центре | + | + | + | + | + | + | + |
Коридор большой |
в начале | + | + | + | + | + | + | + |
в середине | + | + | + | + | + | + | + |
в конце | + | + | + | + | + | + | + |
Примечание - В помещениях багажного вагона, почтового вагона, вагона-электростанции, вагона-гаража, вагона-передвижной камеры хранения и других вагонов специального назначения параметры микроклимата измеряют только в служебном купе, купе отдыха проводника, туалетах и коридорах (при наличии). |

о - точка измерения
Рисунок Б.1 - Дополнительные точки измерения в вагоне
со спальными и плацкартными местами
о - точка измерения
Рисунок Б.2 - Точки измерения в вагоне с креслами
для сидения
Таблица Б.2
Места и точки измерений температуры ограждающих
поверхностей в вагонах купейных и специальных вагонах
пассажирского типа (специальных вагонах)
Места измерений | Точки измерений |
| | Межкупейная перегородка справа (в середине) | Дверь (в середине) | Пол (в середине) | Потолок (около решетки) в середине | Окно (в середине) | Ограждение батареи (в середине) | В коридоре напротив купе |
диван | полка | диван | полка | Окно (в середине) | От окна | Защитный кожух отопительных приборов (в середине) | Пол (в середине) |
слева | справа | слева | справа | слева | справа | слева | справа | слева (в середине) | справа (в середине) |
Первое купе | + | + | + | + | + | + | + | + | + | + | + | + | + | + | + | + | + | + | + |
Среднее купе | + | + | + | + | + | + | + | + | + | + | + | + | + | + | + | + | + | + | + |
Последнее купе | + | + | + | + | + | + | + | + | + | + | + | + | + | + | + | + | + | + | + |
Купе отдыха проводников | - | + | - | + | - | + | - | + | + | + | + | + | + | + | + | + | + | + | + |
Примечание - Температуру ограждающих поверхностей в вагоне-магазине, вагоне-клубе, вагоне-храме и вагоне-поликлинике измеряют в середине боковых и торцевых ограждающих конструкций, дверей, окон, пола, потолка и ограждения батареи. -------------------------------- <*> Измерения проводят на высоте 0,4 м от дивана (полки). |
Таблица Б.3
Места и точки измерений температуры ограждающих
поверхностей в пассажирских вагонах с креслами для сидения
(купейного исполнения)
Точки измерений | Места измерений |
Первое купе | Среднее купе | Последнее купе |
Боковая ограждающая поверхность со стороны окна <*> |
слева | + | + | + |
справа | + | + | + |
Боковая ограждающая поверхность перегородки со стороны двери <**> |
слева | + | + | + |
справа | + | + | + |
Межкупейная перегородка справа |
в середине | + | + | + |
Дверь |
в середине | + | + | + |
Пол |
в середине | + | + | + |
Потолок (около решетки) |
в середине | + | + | + |
Окно |
в середине | + | + | + |
Защитный кожух отопительных приборов |
в середине | + | + | + |
В коридоре напротив купе |
в середине окна | + | + | + |
в середине слева от окна | + | + | + |
в середине справа от окна | + | + | + |
в середине защитного кожуха отопительных приборов | + | + | + |
в середине пола | + | + | + |
<*> В середине между краем окна и межкупейной перегородкой. <**> В середине между краем двери и межкупейной перегородкой. |
Таблица Б.4
Места и точки измерений температуры ограждающих
поверхностей в вагонах открытого типа
Места измерений | Точки измерений |
У изголовья поперечных <*> (в середине) | Межкупейная перегородка справа (в середине) | Пол (в середине) | Потолок (около решетки) в середине | Окно (в середине) | Защитный кожух отопительных приборов (в середине) | Продольные <*> (в середине) | Окно (в середине) |
диван | полка | диван |
слева | справа | слева | справа | слева | справа |
Первое купе | + | + | + | + | + | + | + | + | + | + | + | + |
Среднее купе | + | + | + | + | + | + | + | + | + | + | + | + |
Последнее купе | + | + | + | + | + | + | + | + | + | + | + | + |
<*> Измерения проводят на высоте 0,4 м от дивана (полки). |
Таблица Б.5
Места и точки измерений температуры ограждающих
поверхностей в салоне вагона с креслами для сидения
(салонного типа) и обеденном зале вагона-ресторана
Точки измерений | Места измерений |
В начале | В середине | В конце |
По левой стороне |
в середине окна | + | + | + |
в середине слева от окна | + | + | + |
в середине справа от окна | + | + | + |
в середине защитного кожуха отопительных приборов | + | + | + |
По правой стороне |
в середине окна | + | + | + |
в середине слева от окна | + | + | + |
в середине справа от окна | + | + | + |
в середине защитного кожуха отопительных приборов | + | + | + |
Поперечная перегородка |
в середине | + | - | - |
Дверь |
в середине | - | - | + |
Пол |
в середине | + | + | + |
Потолок |
в середине | + | + | + |
Таблица Б.6
Места и точки измерений температуры ограждающих
поверхностей в служебном купе
Места измерений | Точки измерений |
Боковая ограждающая поверхность со стороны окна <*> |
слева | + |
справа | + |
Боковая ограждающая поверхность перегородки со стороны двери <**> |
слева | + |
справа | + |
Межкупейная перегородка справа |
в середине | + |
Дверь |
в середине | + |
Пол |
в середине | + |
Потолок (около решетки) |
в середине | + |
Окно |
в середине | + |
Защитный кожух отопительных приборов |
в середине | + |
<*> В середине между краем окна и межкупейной перегородкой. <**> В середине между краем двери и межкупейной перегородкой. |
Таблица Б.7
Места и точки измерений температуры ограждающих
поверхностей в кухне
Места измерений | Точки измерений |
Окно |
в середине | + |
Дверь холодильника |
в середине | + |
Стена |
над варочной плитой | + |
Панель духового шкафа варочной плиты |
в середине | + |
Дверь |
в середине | + |
Пол |
в середине | + |
Потолок |
в середине | + |
(обязательное)
СПОСОБ РАСЧЕТА РЕЗУЛЬТИРУЮЩЕЙ ТЕМПЕРАТУРЫ
Фактическое значение результирующей температуры определяется по номограмме, представленной на
рисунке В.1.
На шкале IV номограммы наносят точку, соответствующую значению °
t по
6.6.3, и соединяют ее прямой линией с точкой, соответствующей среднему значению скорости движения воздуха
V по
6.6.1 на шкале I и в точке пересечения на шкале II номограммы получают значение поправки на тепловую радиацию (
Qt).
Затем определяют значение промежуточной величины температуры (N) по формуле: (N = tc +/- Qt). Поправка на тепловую радиацию (Qt) добавляется к измеренной температуре воздуха в вагоне (tc), когда температура ограждений выше температуры воздуха и вычитается в случаях, когда температура ограждений ниже температуры воздуха в помещениях вагона.
На шкале II номограммы наносят точку, соответствующую полученному значению промежуточной величины температуры (N), затем на шкале V номограммы определяют точку пересечения кривой измеренной относительной влажности воздуха с прямой температуры (tc), соответствующей значению (N) на шкале II номограммы и полученную точку на шкале V номограммы соединяют с точкой значения (N) на шкале II номограммы прямой линией, которая на пересечении с линией результирующей температуры (°РТ) на шкале III номограммы, соответствующей средней измеренной скорости движения воздуха, определяет значение результирующей температуры (°РТ) для измеренных значений параметров микроклимата.
Полученное значение результирующей температуры (°РТ) сравнивают с нормативным значением.
Примечание - При работе с номограммой, в случаях отсутствия требуемых линий и точек, следует прибегать к интерполированию.
Рисунок В.1 - Номограмма для определения результирующей
температуры (°РТ) по установленным параметрам микроклимата
в помещениях вагона
| Международный стандарт (IEC 60942 (2003)) | Электроакустика. Калибраторы звука (Electroacoustics - Sound calibrators) |
--------------------------------
<1> В Российской Федерации действует
ГОСТ Р МЭК 60942-2009 "Калибраторы акустические. Технические требования и требования к испытаниям".