Главная // Актуальные документы // ГОСТ (Государственный стандарт)СПРАВКА
Источник публикации
М.: Стандартинформ, 2018
Примечание к документу
Документ включен в
Перечень международных и региональных (межгосударственных) стандартов, а в случае их отсутствия - национальных (государственных) стандартов, содержащих правила и методы исследований (испытаний) и измерений, в том числе правила отбора образцов, необходимые для применения и исполнения требований технического
регламента Таможенного союза "О безопасности средств индивидуальной защиты" (ТР ТС 019/2011) и осуществления оценки соответствия объектов технического регулирования (
Решение Коллегии Евразийской экономической комиссии от 03.03.2020 N 30).
Документ
введен в действие с 01.09.2018.
Название документа
"ГОСТ 12.4.311-2017. Межгосударственный стандарт. Система стандартов безопасности труда. Костюмы изолирующие многофункциональные. Методы испытаний"
(введен в действие Приказом Росстандарта от 26.12.2017 N 2102-ст)
"ГОСТ 12.4.311-2017. Межгосударственный стандарт. Система стандартов безопасности труда. Костюмы изолирующие многофункциональные. Методы испытаний"
(введен в действие Приказом Росстандарта от 26.12.2017 N 2102-ст)
Приказом Федерального агентства
по техническому регулированию
и метрологии
от 26 декабря 2017 г. N 2102-ст
МЕЖГОСУДАРСТВЕННЫЙ СТАНДАРТ
СИСТЕМА СТАНДАРТОВ БЕЗОПАСНОСТИ ТРУДА
КОСТЮМЫ ИЗОЛИРУЮЩИЕ МНОГОФУНКЦИОНАЛЬНЫЕ
МЕТОДЫ ИСПЫТАНИЙ
Occupational safety standards system. Insulating suits
multi. Test methods
ГОСТ 12.4.311-2017
Дата введения
1 сентября 2018 года
Цели, основные принципы и основной порядок проведения работ по межгосударственной стандартизации установлены в
ГОСТ 1.0-2015 "Межгосударственная система стандартизации. Основные положения" и
ГОСТ 1.2-2015 "Межгосударственная система стандартизации. Стандарты межгосударственные, правила и рекомендации по межгосударственной стандартизации. Правила разработки, принятия, обновления и отмены"
1 РАЗРАБОТАН Акционерным обществом "Казанский химический научно-исследовательский институт" (АО "КазХимНИИ")
2 ВНЕСЕН Федеральным агентством по техническому регулированию и метрологии
3 ПРИНЯТ Межгосударственным советом по стандартизации, метрологии и сертификации по результатам голосования в АИС МГС (протокол от 12 декабря 2017 г. N 104-П)
За принятие проголосовали:
Краткое наименование страны по МК (ИСО 3166) 004-97 | Код страны по МК (ИСО 3166) 004-97 | Сокращенное наименование национального органа по стандартизации |
Армения | AM | Минэкономики Республики Армения |
Беларусь | BY | Госстандарт Республики Беларусь |
Казахстан | KZ | Госстандарт Республики Казахстан |
Киргизия | KG | Кыргызстандарт |
Россия | RU | Росстандарт |
Таджикистан | TJ | Таджикстандарт |
Узбекистан | UZ | Узстандарт |
4 Приказом Федерального агентства по техническому регулированию и метрологии от 26 декабря 2017 г. N 2102-ст межгосударственный стандарт ГОСТ 12.4.311-2017 введен в действие в качестве национального стандарта Российской Федерации с 1 сентября 2018 г.
5 ВВЕДЕН ВПЕРВЫЕ
Информация об изменениях к настоящему стандарту публикуется в ежегодном информационном указателе "Национальные стандарты", а текст изменений и поправок - в ежемесячном информационном указателе "Национальные стандарты". В случае пересмотра (замены) или отмены настоящего стандарта соответствующее уведомление будет опубликовано в ежемесячном информационном указателе "Национальные стандарты". Соответствующая информация, уведомление и тексты размещаются также в информационной системе общего пользования - на официальном сайте Федерального агентства по техническому регулированию и метрологии в сети Интернет (www.gost.ru)
Настоящий стандарт устанавливает методы испытаний костюмов изолирующих многофункциональных (КИМ), изготовленных из многослойных изолирующих материалов на основе различных каучуков и полимерных материалов, предназначенных для аварийно-спасательных формирований химических и нефтехимических предприятий, для аварийных бригад, для персонала по обслуживанию процессов на вредных производствах для многоразового применения.
Настоящий стандарт не распространяется на следующие специальные виды изолирующих костюмов:
- военные;
- для подводных работ;
- медицинские;
- авиационные;
- пожарные.
В настоящем стандарте использованы нормативные ссылки на следующие межгосударственные стандарты:
ГОСТ 12.1.004-91 Система стандартов безопасности труда. Пожарная безопасность. Общие требования
ГОСТ 12.1.005-88 Система стандартов безопасности труда. Общие санитарно-гигиенические требования к воздуху рабочей зоны
ГОСТ 12.1.007-76 Система стандартов безопасности труда. Вредные вещества. Классификация и общие требования безопасности
ГОСТ 12.1.030-81 Система стандартов безопасности труда. Электробезопасность. Защитное заземление, зануление
ГОСТ 12.4.064-84 Система стандартов безопасности труда. Костюмы изолирующие. Общие технические требования и методы испытаний
ГОСТ 12.4.167-85 Система стандартов безопасности труда. Материалы пленочные полимерные для средств защиты рук. Метод определения устойчивости к истиранию
ГОСТ 12.4.240-2013 Система стандартов безопасности труда. Костюмы изолирующие. Общие технические требования и методы испытаний
ГОСТ 12.4.242-2013 Система стандартов безопасности труда. Обувь специальная дополнительная для работ с радиоактивными и химически токсичными веществами. Общие технические требования и методы испытаний
ГОСТ 12.4.268-2014 (ISO 6529:2001, ISO 6530:2005) Система стандартов безопасности труда. Одежда специальная для защиты от воздействия токсичных химических веществ. Методы определения сопротивления проницаемости материалов жидкостями и газами
ГОСТ 12.4.278-2014 Система стандартов безопасности труда. Средства индивидуальной защиты рук. Перчатки, защищающие от химикатов и микроорганизмов. Общие технические требования. Методы испытаний
ГОСТ 12.4.284.2-2014 (EN 943-2:2002) Система стандартов безопасности труда. Одежда специальная для защиты от токсичных химических веществ в виде газа и паров. Технические требования и методы испытаний
ГОСТ 61-75 Реактивы. Кислота уксусная. Технические условия
ГОСТ 1770-74 Посуда мерная лабораторная стеклянная. Цилиндры, мензурки, колбы, пробирки. Общие технические условия
ГОСТ 2567-89 Кислота фтористоводородная техническая. Технические условия
ГОСТ 4197-74 Реактивы. Натрий азотистокислый. Технические условия
ГОСТ 4201-79 Реактивы. Натрий углекислый кислый. Технические условия
ГОСТ 4328-77 Реактивы. Натрия гидроокись. Технические условия
ГОСТ 5821-78 Реактивы. Кислота сульфаниловая. Технические условия
ГОСТ 5962-2013 Спирт этиловый ректификационный из пищевого сырья. Технические условия
ГОСТ 15162-82 Кожа искусственная и синтетическая и пленочные материалы. Методы определения морозостойкости в статических условиях
ГОСТ 19503-88 Гидразин-гидрат технический. Технические условия
ГОСТ 23519-93 Фенол синтетический технический. Технические условия
ГОСТ 25336-82 Посуда и оборудование лабораторные стеклянные. Типы, основные параметры и размеры
ГОСТ 29228-91 Посуда лабораторная стеклянная. Пипетки градуированные. Часть 2. Пипетки градуированные без установленного времени ожидания
ГОСТ 29252-91 Посуда лабораторная стеклянная. Бюретки. Часть 2. Бюретки без установленного времени ожидания
ГОСТ 30303-95 Ткани с резиновым или пластмассовым покрытием. Определение разрывной нагрузки и удлинения при разрыве
ГОСТ 30304-95 Ткани с резиновым или пластмассовым покрытием. Определение сопротивления раздиру
ГОСТ ISO 15025-2012 Система стандартов безопасности труда. Одежда специальная для защиты от тепла и пламени. Метод испытаний на ограниченное распространение пламени
Примечание - При пользовании настоящим стандартом целесообразно проверить действие ссылочных стандартов на территории государства по соответствующему указателю стандартов, составленному по состоянию на 1 января текущего года, и по соответствующим информационным указателям, опубликованным в текущем году. Если ссылочный стандарт заменен (изменен), то при пользовании настоящим стандартом, следует руководствоваться заменяющим (измененным) стандартом. Если ссылочный стандарт отменен без замены, то положение, в котором дана ссылка на него, применяется в части, не затрагивающей эту ссылку.
В настоящем стандарте применены следующие термины с соответствующими определениями:
3.1 костюм изолирующий многофункциональный; КИМ: Костюм, изготовленный на основе многослойных изолирующих материалов, обеспечивающих защиту от широкого спектра опасных факторов - от газов, паровой и жидкой фазы агрессивных, токсичных, химических веществ, нефти, нефтепродуктов, открытого пламени и в ряде случаев тепловых потоков.
3.2 многослойный материал: Материал, состоящий из текстильной основы, покрытой с лицевой или лицевой и изнаночной сторон резиновыми смесями на основе полярных и неполярных каучуков и полимерными материалами (пленками), и имеющий в структуре не менее четырех слоев.
4.1 Методы испытаний КИМ
4.1.1 Определение коэффициента защиты КИМ проводят по
ГОСТ 12.4.064. Значение коэффициента защиты должно соответствовать нормативному документу (НД) на конкретное изделие.
4.1.2 Определение количества воздуха, подаваемого в зону дыхания шлангового КИМ, следует производить по
ГОСТ 12.4.064.
4.1.3 Герметичность КИМ определяют в соответствии с
ГОСТ 12.4.240. Падение давления в костюме должно соответствовать НД на КИМ.
4.1.4 Определение уровня шума, связанного с подачей воздуха в КИМ, следует проводить согласно
ГОСТ 12.4.240.
4.2 Методы испытаний материалов КИМ
4.2.1 Испытания материалов на стойкость к истиранию проводят по ГОСТ 12.4.167.
4.2.2 Испытания материалов на прочность на разрыв проводят по ГОСТ 30303.
4.2.3 Испытания материалов на сопротивление раздиру проводят по ГОСТ 30304.
4.2.4 Испытания материалов на морозостойкость проводят по ГОСТ 15162.
4.2.5 Испытания материалов на огнестойкость проводят по
ГОСТ ISO 15025.
4.2.6 Испытания материалов на стойкость к тепловому потоку проводятся в соответствии с
[1].
4.2.7 Время до достижения суммарной накопленной массы проникновения химических веществ в 150 мкг/см
2 через материал КИМ определяют по ГОСТ 12.4.268. Материалы и швы КИМ должны быть стойкими к химическим веществам с доказанной высокой токсичностью для кожи (вещества кожно-резорбтивного действия I - II классов опасности по
ГОСТ 12.1.005), при этом определяют более низкие накопленные массы проникновения. Необходимый минимальный перечень химических веществ для испытаний по стойкости к прониканию приведен в
таблице 1.
Таблица 1
Минимальный перечень химических веществ для испытаний
на проникание
Наименование вещества | Физическое состояние | Время воздействия, мин, не менее | Суммарное проникновение, мкг/см2 |
1 Гидразин | Жидкость | 240 | 100 |
2 Несимметричный диметилгидразин | Жидкость | 240 | 90 |
3 Анилин | Жидкость | 240 | 120 |
4 Тетраоксид азота | Жидкость | 240 | 120 |
5 Фтористоводородная кислота, концентрация 40% (70%) | Жидкость | 240 | 100 |
4.2.8 Материалы КИМ, швы, защитная обувь, перчатки и смотровое стекло (при наличии) должны соответствовать требованиям ГОСТ 12.4.284.2
(подраздел 5.2) в части сопротивления прониканию набору тестовых жидких и газообразных химических веществ, указанных в
таблице 2.
Таблица 2
Максимальный перечень химических веществ для испытаний
на проникание
Наименование вещества | Физическое состояние | Класс вещества |
1 Дихлорметан | Жидкость | Хлорированные углеводороды |
2 Метанол | Жидкость | Первичные спирты |
3 n-Гептан | Жидкость | Насыщенные углеводороды |
4 Толуол | Жидкость | Ароматические углеводороды |
5 Диэтиламин | Жидкость | Амины |
6 40%-ный гидроксид натрия | Жидкость | Щелочи |
7 93%-ная серная кислота | Жидкость | Неорганические кислоты |
8 Аммиак | Газ | Основные газы |
9 Хлор | Газ | Газообразные галогены |
10 Хлористый водород | Газ | |
11 Ацетон | Жидкость | Кетоны |
12 Ацетонитрил | Жидкость | Нитрильные соединения |
13 Этилацетат | Жидкость | Сложные эфиры |
14 Сероуглерод | Жидкость | Серосодержащие органические соединения |
15 Тетрагидрофуран | Жидкость | Гетероциклические и эфирные соединения |
Указанные выше тестовые химические вещества отобраны таким образом, чтобы гарантировать, что КИМ обеспечит защиту от широкого диапазона химических веществ.
4.2.9 Испытания защитных перчаток проводят по
ГОСТ 12.4.278, класс защиты не менее 3. Защитные перчатки должны быть стойкими к тем же химическим веществам, что и материал КИМ.
4.2.10 Испытания защитных сапог проводят по
ГОСТ 12.4.242, защитные сапоги должны быть стойкими к тем же химическим веществам, что и материал КИМ (класс защиты не менее 4).
4.3 Методы испытаний изолирующих материалов на проницаемость при воздействии жидкой фазы агрессивных веществ
4.3.1 Сущность методов испытаний
Сущность методов испытаний изолирующих материалов заключается в фотометрическом и титриметрическом определении массы агрессивного вещества, прошедшего через 1 см2 площади образца материала за определенный промежуток времени.
Гидразин определяют титриметрически раствором йода.
Несимметричный диметилгидразин образует окрашенные соединения с фосфорномолибденовой кислотой в присутствии уксусной кислоты.
Анилин после окисления хлором и воздействия продукта окисления с фенолом образует окрашенное соединение с индофенолом.
Тетраоксид азота с нафтиламином и сульфаниловой кислотой дает окрашенное соединение.
Фтористоводородную кислоту определяют титриметрически.
4.3.2 Требования к условиям проведения испытаний
Определение защитных свойств материалов, используемых для изготовления специальной одежды, проводят в климатических условиях лабораторного помещения:
- температуре воздуха (20 +/- 5) °C;
- относительной влажности (60 +/- 5)%.
4.3.3 Испытательное оборудование, средства измерений и реактивы
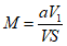
4.3.3.1 Прибор для испытаний защитных материалов показан на
рисунке 1.
1 - крышка; 2 - прокладка; 3 - образец защитного материала;
4 - поддон; 5 - струбцина; 6 - винт; 7 - штуцер поддона
для отсоса газовоздушной смеси
Рисунок 1 - Прибор для испытаний защитных материалов
4.3.3.2 Поглотительный прибор с пористой пластиной по НД.
4.3.3.3 Прибор поглотительный по НД.
4.3.3.4 Воздухозаборное устройство по НД.
4.3.3.5 Секундомер механический 2-го класса по НД.
4.3.3.9 Колбы мерные 2-100-2, 2-2000-2, по
ГОСТ 1770.
4.3.3.10 Колориметрические пробирки по
ГОСТ 25336.
4.3.3.12 Пробирки стеклянные типа ПЧ-25-14/23 по
ГОСТ 25336.
4.3.3.13 Баня водяная по НД.
4.3.3.14 Фотоколориметр по НД.
4.3.3.15 Стакан стеклянный В-1-250, В-1-500 по
ГОСТ 25336.
4.3.3.16 Весы лабораторные 2-го и 4-го классов точности по НД.
4.3.3.17 Посуда из фторопласта (тигли, чашки, стаканы) по НД.
4.3.3.18 Темные склянки с притертыми пробками по НД.
4.3.3.19 Посуда из полиэтилена (стаканы, пипетки не калиброванные) по НД.
4.3.3.20 Гидразин-гидрат по ГОСТ 19503.
4.3.3.23 Натрий углекислый кислый по
ГОСТ 4201.
4.3.3.26 Несимметричный диметилгидразин (НДМГ) по НД.
4.3.3.27 Фосфорномолибденовая кислота по НД.
4.3.3.28 Уксусная кислота по
ГОСТ 61.
4.3.3.31 Фенол по ГОСТ 23519.
4.3.3.33 Едкий натр по НД.
4.3.3.34 Хлорамин Т по НД.
4.3.3.35 Азотный тетраоксид по НД.
4.3.3.37

по НД.
4.3.3.39 Фтористоводородная кислота по ГОСТ 2567.
4.3.3.42 Фенолфталеин по НД.
4.3.3.43 Спирт этиловый, ректификационный по
ГОСТ 5962.
4.3.4 Порядок подготовки к проведению испытаний
4.3.4.1 Порядок подготовки образцов материала для испытания
4.3.4.1.1 От отобранного для испытания изолирующего материала на расстоянии не менее 50 мм от кромки вырезают три образца диаметром (75 +/- 1) мм на каждое агрессивное вещество.
4.3.4.1.2 Перед испытанием образцы материала кондиционируют. Для этого образцы защитного материала выдерживают в лабораторной комнате не менее 4 ч.
4.3.4.2 Порядок подготовки оборудования к проведению испытаний
4.3.4.2.1 Поглотительные приборы с пористой пластиной, заполненные поглотительными растворами по определению агрессивного химического вещества, присоединяют к одному из штуцеров прибора
(рисунок 1).
4.3.4.2.2 Испытуемый образец защитного материала помещают в прибор для испытания
(рисунок 1) между крышкой и поддоном и фиксируют струбциной.
4.3.4.3 Проведение испытаний
4.3.4.3.1 На лицевую поверхность образца защитного материала, помещенного в прибор для испытания
(рисунок 1), наносят слой агрессивного химического вещества толщиной 2 - 3 мм, закрывают крышкой.
4.3.4.3.2 Воздухозаборным устройством, подключенным к одному из штуцеров, просасывают воздух из-под образца через поглотительный прибор с поглотительным раствором со скоростью 0,1 м3/мин с одновременным подключением секундомера.
4.3.4.3.3 Через 6 ч (или иное время, указанное в технической документации) прососа определяют количество проникшего через образец защитного материала агрессивного вещества, согласно методике по его количественному определению.
4.3.4.3.4 Если количество проникшего агрессивного вещества превышает величину суммарной накопленной массы, время прососа уменьшают на следующем образце.
4.3.4.4 Порядок подготовки к проведению испытаний при воздействии гидразина
4.3.4.4.1 Метод определения гидразина в воздухе основан на титровании отобранной пробы раствором пробы раствором йода в присутствии раствора соляной кислоты и углекислого кислого натрия.
4.3.4.4.2 Отбор проб воздуха производится со скоростью 0,1 дм3/мин аспирацией через поглотительный прибор с пористой пластиной, заполненный 10 см3 дистиллированной водой.
4.3.4.4.3 Из поглотительного прибора с пористой пластиной пипеткой отбирают 5 см3 поглотительного раствора, переносят его в коническую колбу емкостью 250 см3, приливают пипеткой 5 см3 0,5 Н раствор соляной кислоты, 1 г углекислого кислого натрия, 20 см3 дистиллированной воды и титруют при помощи бюретки 0,1 Н раствором йода в 4% растворе йодистого калия до появления желтой окраски, не исчезающей в течение 2 - 3 мин.
4.3.4.4.4 Массовую долю гидразина M, мг/см2, вычисляют по формуле

, (1)
где V - объем раствора йода, израсходованного на титрование, см3;
8,012 - эквивалент гидразина, мг/см3;
V1 - общий объем пробы, см3;
V2 - объем пробы, взятый для анализа, см3;
S - площадь испытуемого образца защитного материала, см2.
4.3.4.5 Порядок подготовки к проведению испытаний при воздействии несимметричного диметилгидразина (НДМГ).
4.3.4.5.1 Метод основан на определении оптической плотности продукта взаимодействия НДМГ с фосфорномолибденовой кислотой в присутствии уксусной кислоты относительно дистиллированной воды. Минимально определяемое количество НДМГ в анализируемом объеме пробы 0,5 мкг.
4.3.4.5.2 Отбор проб воздуха производится со скоростью 0,1 дм3/мин аспирацией через поглотительный прибор с пористой пластиной, заполненный 10 см3 1% раствора фосфорномолибденовой кислоты в 5% растворе уксусной кислоты из штуцера прибора для испытаний.
4.3.4.5.3 Для построения калибровочного графика готовят стандартные растворы. В мерную колбу вместимостью 50 см3 приливают 20 см3 5% раствора уксусной кислоты, взвешивают мерную колбу с содержимым, добавляют пипеткой 1 - 2 капли НДМГ и вновь взвешивают. По разности масс определяют массу НДМГ в мг. Содержимое колбы доводят до метки 5% раствором уксусной кислоты. Концентрацию НДМГ C, мг/см3, вычисляют по формуле

, (2)
где m - масса НДМГ, мг;
50 - объем основного раствора, см3.
Разбавлением основного раствора 5% раствором уксусной кислоты готовят стандартные растворы концентрацией 0,0005; 0,001; 0,005; 0,01 мг/см
3. В колориметрические пробирки с воздушным холодильником
(рисунок 2) приливают 0,5 см
3 1% раствора фосфорномолибденовой кислоты в 5% растворе уксусной кислоты и по 1 см
3 стандартных растворов соответствующих концентраций. Каждую пробирку закрывают воздушным холодильником и нагревают на кипящей водяной бане в течение 10 мин. После охлаждения до комнатной температуры объем пробы доводят до 5 см
3 5% раствором уксусной кислоты.
Рисунок 2 - Холодильник воздушный
Определяют оптическую плотность калибровочных растворов относительно дистиллированной воды на фотоколориметре в кювете с толщиной слоя в 10 мм при длине волны

. Строят калибровочный график по полученным результатам, откладывают на оси абсцисс концентрацию НДМГ, на оси ординат оптическую плотность.
Из поглотительного прибора отбирают 5 см
3 пробы, переносят в колориметрические пробирки с воздушным холодильником
(рисунок 2), приливают 0,5 см
3 1% раствора фосфорномолибденовой кислоты в 5% растворе уксусной кислоты и по 1 см
3 стандартных растворов соответствующих концентраций. Каждую пробирку закрывают воздушным холодильником и нагревают на кипящей водяной бане в течение 10 мин. После охлаждения до комнатной температуры объем пробы доводят до 5 см
3 5% раствором уксусной кислоты. Определяют оптическую плотность калибровочных растворов относительно дистиллированной воды на фотоколориметре в кювете с толщиной слоя в 10 мм при длине волны

. По графику определяют содержание НДМГ в пробе.
Массовую долю НДМГ M, мг/см2, определяют по формуле

, (3)
где a - количество НДМГ, найденное в анализируемом объеме поглотительного раствора по градуировочному графику, мг;
V1 - общий объем пробы, см3;
V - объем пробы, взятый для анализа, см3;
S - площадь испытуемого образца защитного материала, см2.
4.3.4.6 Порядок подготовки к проведению испытаний при воздействии анилина
4.3.4.6.1 Метод определения концентрации анилина в воздухе основан на окислении анилина хлором в присутствии фенола до индофенола. Предел обнаружения 1 мкг анилина в анализируемом объеме раствора.
4.3.4.6.2 Отбор пробы воздуха происходит со скоростью 0,1 дм3/мин воздухозаборным устройством через поглотительный прибор с пористой пластиной, наполненный 10 мл 0,01 Н раствора серной кислоты.
4.3.4.6.3 Из поглотительного прибора 5 см3 пробы вносят в колориметрическую пробирку, добавляют 0,5 см3 0,1 Н раствора едкого натра, перемешивают, прибавляют 1 см3 4% раствора хлорамина Т, 1 см3 8% раствора фенола и 0,5 см3 2% раствора едкого натра, перемешивая после каждого реактива.
4.3.4.6.4 Стандартный раствор для шкалы стандартов с содержанием 100 мкг/см3 анилина готовят в день анализа. Для этого в мерную колбу на 50 см3 с притертой пробкой вносят пипеткой от 10 до 15 см3 0,01 Н раствора серной кислоты и взвешивают на аналитических весах. Затем прибавляют 2 - 3 капли анилина и вновь взвешивают. По разности в массе определяют взятое количество анилина. Объем раствора доводят до метки колбы 0,01 Н раствором серной кислоты, закрывают пробкой и перемешивают. Рассчитывают количество анилина в 1 см3 раствора. Соответствующим разбавлением 0,01 Н раствором серной кислоты готовят стандартный раствор.
4.3.4.6.5 Для построения градуировочного графика готовят шкалу градуировочных растворов в пробирках вместимостью 10 см
3 согласно
таблице 3 и фотометрируют их. Пробирки шкалы обрабатывают идентично пробе и через 20 мин измеряют оптическую плотность при длине волны

.
N стандарта | Объем стандартного раствора, см3 | Объем поглотительного раствора, см3 | Содержание анилина, мг |
1 | 0 | 5,0 | 0 |
2 | 0,1 | 4,9 | 0,001 |
3 | 0,3 | 4,7 | 0,003 |
4 | 0,5 | 4,5 | 0,005 |
5 | 0,7 | 4,3 | 0,007 |
6 | 0,9 | 4,1 | 0,009 |
7 | 1,0 | 4,0 | 0,010 |
По результатам фотометрирования строят градуировочный график зависимости оптической плотности от концентрации. Шкалу градуировочных растворов готовят по шести пробам каждого градуировочного раствора, вычисляя их среднее значение.
Из градуировочных графиков определяют массовую долю анилина в пробе M, мг/см2, вычисляют по формуле

, (4)
где a - количество анилина, найденное в анализируемом объеме поглотительного раствора по градуировочному графику, мг;
V1 - общий объем пробы, см3;
V - объем пробы, взятый для анализа, см3;
S - площадь испытуемого образца защитного материала, см2.
4.3.4.7 Порядок подготовки к проведению испытаний при воздействии азотного тетраоксида
4.3.4.7.1 Определение массовой доли тетраоксида азота в пробе основано на его реакции с реактивом Грисса - Илосвая и последующим фотометрированием. Минимально определяемое количество тетраоксида азота в пробе составляет 0,000055 мг/см3.
4.3.4.7.2 Отбор пробы воздуха происходит со скоростью 0,1 дм3/мин воздухозаборным устройством через поглотительный прибор с пористой пластиной, наполненный 10 см3 дистиллированной воды 0,01 н из штуцера прибора для испытаний.
4.3.4.7.3 Для приготовления индикаторного раствора Грисса - Илосвая взвешивают 2,5 г сульфаниловой кислоты, растворяют ее в 750 см
3 30% уксусной кислоты. Растворяют 0,5 г

в 100 см
3 при кипячении в стакане в течение 2 - 3 мин. Раствор сливают от осадка в колбу, доводят его объем до 750 см
3 5% раствором уксусной кислоты. Растворы хранят отдельно в темных склянках с притертыми пробками. Непосредственно перед применением смешивают в соотношении 1:1.
4.3.4.7.4 Для приготовления стандартного раствора N 1 0,15 г азотистокислого натрия переносят в мерную колбу на 100 см3, растворяют в небольшом количестве дистиллированной воды и доводят объем раствор до метки дистиллированной водой. 1 см3 стандартного раствора N 1 содержит 0,1 нитрит-иона.
4.3.4.7.5 Для приготовления стандартного раствора N 2 отбирают 10 см3 стандартного раствора N 1, помещают его в мерную колбу вместимостью 1000 см3 и доводят до метки дистиллированной водой. 1 см3 стандартного раствора N 2 содержит 0,001 мг нитрит-иона.
4.3.4.7.6 Для приготовления стандартного раствора N 3 отбирают 10 см3 стандартного раствора N 1, помещают его в мерную колбу вместимостью на 100 см3 и доводят до метки дистиллированной водой. 1 см3 стандартного раствора N 3 содержит 0,01 мг нитрит-иона.
4.3.4.7.7 Для построения градуировочного графика готовят шкалу градуировочных растворов в пробирках вместимостью 10 см
3 согласно
таблице 4 и фотометрируют их. Пробирки шкалы встряхивают и через 10 - 15 мин измеряют на фотоколориметре оптическую плотность в кюветах с толщиной слоя 20 мм при длине волны

.
N калибровочного раствора | Количество, см3 | Концентрация нитрит-иона в калибровочных растворах, мг/см3 |
Стандартного раствора N 1 | Стандартного раствора N 2 | Индикаторного раствора Грисса - Илосвая |
1 | | 0,0 | 5,0 | 0 |
2 | | 0,1 | 4,9 | 0,001 |
3 | | 0,3 | 4,7 | 0,003 |
4 | | 0,5 | 4,5 | 0,005 |
5 | | 0,7 | 4,3 | 0,007 |
6 | | 0,9 | 4,1 | 0,009 |
7 | | 1,0 | 4,0 | 0,010 |
По результатам фотометрирования строят градуировочный график зависимости оптической плотности от концентрации. Шкалу градуировочных растворов готовят по шести пробам каждого градуировочного раствора, вычисляя их среднее значение.
4.3.4.7.8 Из поглотительного прибора отбирают 5 см3 пробы, приливают 5 см3 раствора Грисса - Илосвая и через 15 - 20 мин определяют оптическую плотность аналогично калибровочным растворам. Определяют по калибровочной кривой содержание нитрит-иона. Массовую долю азотного тетраоксида, M, мг/см2, вычисляют по формуле

, (5)
где a - количество анилина, найденное в анализируемом объеме поглотительного раствора по градуировочному графику, мг;
2 - коэффициент, учитывающий, что в реакцию с реактивом Грисса - Илосвая вступает половина из всех образованных тетраоксидом азота ионов при взаимодействии с водой;
V1 - общий объем пробы, см3;
V - объем пробы, взятый для анализа, см3;
S - площадь испытуемого образца защитного материала, см2.
4.3.4.8 Порядок подготовки к проведению испытаний при воздействии кислоты фтористоводородной
4.3.4.8.1 Определение массовой доли фтористоводородной кислоты в пробе основано на титровании гидроокисью натрия в присутствии хлористого калия и индикатора фенолфталеина.
4.3.4.8.2 Отбор пробы воздуха производят со скоростью 0,1 л/мин аспирацией через поглотительный прибор с пористой пластиной, наполненный 10 мл дистиллированной воды.
4.3.4.8.3 Из поглотительного прибора 5 мл пробы вносят в полиэтиленовый стаканчик, добавляют 2,5 г хлористого калия, перемешивают, прибавляют 3 - 4 капли 1% спиртового раствора фенолфталеина и титруют при помощи бюретки 0,5 Н раствором гидроксида натрия до появления розовой окраски, не исчезающей в течение 30 с.
4.3.4.8.4 Массовую долю фтористоводородной кислоты в пробе M, мг/см2, вычисляют по формуле

, (6)
где V - объем раствора гидроокиси натрия, израсходованный на титрование, см3;
0,01 - масса фтористоводородной кислоты, соответствующая 1 см3 раствора гидроокиси натрия концентрацией 0,5 Н, мг/см3;
V1 - общий объем пробы, см3;
V2 - объем воздуха, взятый для анализа и приведенный к нормальным показателям, см3;
S - площадь испытуемого образца, см2.
5 Требования к квалификации персонала
К испытаниям допускают специалистов с высшим химическим образованием и стажем работы в химической лаборатории не менее года.
6 Требования безопасности
При проведении испытаний следует выполнять требования безопасности работы с вредными веществами
ГОСТ 12.1.007, санитарно-гигиенические требования к воздуху рабочей зоны
ГОСТ 12.1.005, требования пожарной безопасности
ГОСТ 12.1.004 и электробезопасности
ГОСТ 12.1.030.
7 Метрологическое обслуживание
Метрологическое обслуживание используемого оборудования осуществляют в соответствии с требованиями НД.
[1] ISO 9151:1995 Protective clothing against heat and flame - Determination of heat transmission on exposure to flame
УДК 614.89: 006.354 | |
Ключевые слова: защитные материалы и изделия из них, костюм изолирующий многофункциональный, многослойный материал |