Главная // Актуальные документы // ГОСТ (Государственный стандарт)СПРАВКА
Источник публикации
М.: Стандартинформ, 2020
Примечание к документу
Документ
введен в действие с 01.01.2021.
Название документа
"ГОСТ 34657-2020. Межгосударственный стандарт. Центры колесные литые и катаные для железнодорожного подвижного состава. Методы неразрушающего контроля"
(введен в действие Приказом Росстандарта от 30.06.2020 N 338-ст)
"ГОСТ 34657-2020. Межгосударственный стандарт. Центры колесные литые и катаные для железнодорожного подвижного состава. Методы неразрушающего контроля"
(введен в действие Приказом Росстандарта от 30.06.2020 N 338-ст)
агентства по техническому
регулированию и метрологии
от 30 июня 2020 г. N 338-ст
МЕЖГОСУДАРСТВЕННЫЙ СТАНДАРТ
ЦЕНТРЫ КОЛЕСНЫЕ ЛИТЫЕ И КАТАНЫЕ
ДЛЯ ЖЕЛЕЗНОДОРОЖНОГО ПОДВИЖНОГО СОСТАВА
МЕТОДЫ НЕРАЗРУШАЮЩЕГО КОНТРОЛЯ
Cast and rolled wheel centers for the railway rolling stock.
Nondestructive inspection methods
ГОСТ 34657-2020
Дата введения
1 января 2021 года
Цели, основные принципы и общие правила проведения работ по межгосударственной стандартизации установлены
ГОСТ 1.0 "Межгосударственная система стандартизации. Основные положения" и
ГОСТ 1.2 "Межгосударственная система стандартизации. Стандарты межгосударственные, правила и рекомендации по межгосударственной стандартизации. Правила разработки, принятия, обновления и отмены"
1 РАЗРАБОТАН Акционерным обществом "Научно-исследовательский институт мостов и дефектоскопии" (АО "НИИ мостов") при участии Некоммерческого партнерства "Объединение производителей железнодорожной техники" (НП "ОПЖТ")
2 ВНЕСЕН Межгосударственным техническим комитетом по стандартизации МТК 524 "Железнодорожный транспорт"
3 ПРИНЯТ Межгосударственным советом по стандартизации, метрологии и сертификации (протокол от 29 мая 2020 г. N 130-П)
За принятие проголосовали:
Краткое наименование страны по МК (ИСО 3166) 004-97 | Код страны по МК (ИСО 3166) 004-97 | Сокращенное наименование национального органа по стандартизации |
Армения | AM | Минэкономики Республики Армения |
Беларусь | BY | Госстандарт Республики Беларусь |
Киргизия | KG | Кыргызстандарт |
Россия | RU | Госстандарт |
Таджикистан | TJ | Таджикстандарт |
Узбекистан | UZ | Узстандарт |
4
Приказом Федерального агентства по техническому регулированию и метрологии от 30 июня 2020 г. N 338-ст межгосударственный стандарт ГОСТ 34657-2020 введен в действие в качестве национального стандарта Российской Федерации с 1 января 2021 г.
5 ВВЕДЕН ВПЕРВЫЕ
Информация о введении в действие (прекращении действия) настоящего стандарта и изменений к нему на территории указанных выше государств публикуется в указателях национальных стандартов, издаваемых в этих государствах, а также в сети Интернет на сайтах соответствующих национальных органов по стандартизации.
В случае пересмотра, изменения или отмены настоящего стандарта соответствующая информация будет опубликована на официальном интернет-сайте Межгосударственного совета по стандартизации, метрологии и сертификации в каталоге "Межгосударственные стандарты"
Настоящий стандарт устанавливает требования к методам, средствам и порядку проведения неразрушающего контроля при контрольных испытаниях литых и катаных колесных центров для железнодорожного подвижного состава.
В настоящем стандарте использованы нормативные ссылки на следующие межгосударственные стандарты:
ГОСТ 3.1105 Единая система технологической документации. Формы и правила оформления документов общего назначения
ГОСТ 12.0.004 Система стандартов безопасности труда. Организация обучения безопасности труда. Общие положения
ГОСТ 12.1.001 Система стандартов безопасности труда. Ультразвук. Общие требования безопасности
ГОСТ 12.1.003 Система стандартов безопасности труда. Шум. Общие требования безопасности
ГОСТ 12.1.004 Система стандартов безопасности труда. Пожарная безопасность. Общие требования
ГОСТ 12.1.019 Система стандартов безопасности труда. Электробезопасность. Общие требования и номенклатура видов защиты
ГОСТ 12.2.003 Система стандартов безопасности труда. Оборудование производственное. Общие требования безопасности
ГОСТ 12.2.007.0 Система стандартов безопасности труда. Изделия электротехнические. Общие требования безопасности
ГОСТ 4491-2016 Центры колесные литые железнодорожного подвижного состава. Общие технические условия
ГОСТ 10791 Колеса цельнокатаные. Технические условия
ГОСТ 14782 <1> Контроль неразрушающий. Соединения сварные. Методы ультразвуковые
--------------------------------
<1> В Российской Федерации действует
ГОСТ Р 55724-2013 "Контроль неразрушающий. Соединения сварные. Методы ультразвуковые".
ГОСТ 16504 Система государственных испытаний продукции. Испытания и контроль качества продукции. Основные термины и определения
ГОСТ 18576 Контроль неразрушающий. Рельсы железнодорожные. Методы ультразвуковые
ГОСТ 21014 Прокат черных металлов. Термины и определения дефектов поверхности
ГОСТ 23479 <2> Контроль неразрушающий. Методы оптического вида. Общие требования
ГОСТ 23829 Контроль неразрушающий акустический. Термины и определения
ГОСТ 24297 Верификация закупленной продукции. Организация проведения и методы контроля
ГОСТ 24450 <3> Контроль неразрушающий магнитный. Термины и определения
ГОСТ 26266 <4> Контроль неразрушающий. Преобразователи ультразвуковые. Общие технические требования
--------------------------------
<1> В Российской Федерации действует
ГОСТ Р 56512-2015 "Контроль неразрушающий. Магнитопорошковый метод. Типовые технологические процессы".
<2> В Российской Федерации действует
ГОСТ Р 58399-2019 "Контроль неразрушающий. Методы оптические. Общие требования".
<3> В Российской Федерации действует
ГОСТ Р 55612-2013 "Контроль неразрушающий магнитный. Термины и определения".
<4> В Российской Федерации действует
ГОСТ Р 55725-2013 "Контроль неразрушающий. Преобразователи ультразвуковые пьезоэлектрические. Общие технические требования".
ГОСТ 30893.1 Основные нормы взаимозаменяемости. Общие допуски. Предельные отклонения линейных и угловых размеров с неуказанными допусками
ГОСТ 33514 Продукция железнодорожного назначения. Правила верификации методик неразрушающего контроля
ГОСТ 34513 Система неразрушающего контроля продукции железнодорожного назначения. Основные положения
Примечание - При пользовании настоящим стандартом целесообразно проверить действие ссылочных стандартов и классификаторов на официальном интернет-сайте Межгосударственного совета по стандартизации, метрологии и сертификации (www.easc.by) или по указателям национальных стандартов, издаваемым в государствах, указанных в предисловии, или на официальных сайтах соответствующих национальных органов по стандартизации. Если на документ дана недатированная ссылка, то следует использовать документ, действующий на текущий момент, с учетом всех внесенных в него изменений. Если заменен ссылочный документ, на который дана датированная ссылка, то следует использовать указанную версию этого документа. Если после принятия настоящего стандарта в ссылочный документ, на который дана датированная ссылка, внесено изменение, затрагивающее положение, на которое дана ссылка, то это положение применяется без учета данного изменения. Если ссылочный документ отменен без замены, то положение, в котором дана ссылка на него, применяется в части, не затрагивающей эту ссылку.
3 Термины, определения и сокращения
3.1 В настоящем стандарте применены термины по
ГОСТ 16504,
ГОСТ 21014, ГОСТ 23829,
ГОСТ 24450, а также следующие термины с соответствующими определениями:
3.1.1
заказчик: Предприятие, организация или объединение, по заявке и договору с которым осуществляются разработка, производство и/или поставка колесных центров. |
3.1.2 изготовитель: Предприятие, организация или иное юридическое лицо, непосредственно изготавливающее колесные центры и несущее ответственность за соответствие их заданным требованиям.
3.1.3 катаный колесный центр с предварительной механической обработкой: Колесный центр, полученный из цельной заготовки методом деформирования в нагретом состоянии (горячего деформирования), состоящий из обода, диска и ступицы, подвергнутый термической обработке и прошедший предварительную механическую обработку по всем поверхностям.
3.1.4
литой колесный центр: Деталь составного колеса с ободом, дисковой, коробчатой (двухдисковой) или спицевой частью и ступицей, изготовленная методом литья в соответствии с требованиями
ГОСТ 4491.
3.1.5
методика неразрушающего контроля: Совокупность конкретно описанных операций, выполнение которых обеспечивает получение результатов неразрушающего контроля объекта (группы объектов) конкретного типа. Примечание - Методика неразрушающего контроля может быть изложена в виде самостоятельного документа или являться основой технологической инструкции по ГОСТ 3.1105. Технологическая инструкция может включать одну или несколько методик неразрушающего контроля. [ГОСТ 33514-2015, пункт 3.1.13] |
3.1.6 мера неразрушающего контроля; мера НК: Образец в виде твердого тела с моделями дефектов, являющийся средством измерения и предназначенный для воспроизведения и передачи значений физических величин, подлежащих измерениям при выполнении неразрушающего контроля с особенностями реализуемых им методов.
3.1.7 настроечный образец: Образец, изготовленный из объекта контроля (или его части) с естественными или искусственными дефектами, используемый для настройки и оценки параметров аппаратуры и дефектоскопических материалов при заданной технологии контроля.
3.1.8 нормальная составляющая напряженности магнитного поля: Составляющая напряженности магнитного поля, направленная перпендикулярно к поверхности объекта в зоне контроля.
3.1.9 область эффективной намагниченности: Область на поверхности намагниченного объекта, в которой тангенциальная составляющая напряженности магнитного поля достаточна для проведения магнитопорошкового контроля, а отношение нормальной и тангенциальной составляющих напряженностей магнитного поля менее или равно трем.
3.1.10 потребитель: Предприятие, организация или иное юридическое лицо, приобретающее и (или) использующее колесный центр по назначению.
3.1.11 пороговый уровень амплитуды: Значение по оси ординат развертки типа А, задаваемое с целью настройки чувствительности ультразвукового дефектоскопа и (или) оценки амплитуды сигналов.
3.1.12 предельная чувствительность контроля эхо-методом SП, мм2: Чувствительность, выражаемая площадью минимального выявляемого плоскодонного искусственного отражателя, ориентированного перпендикулярно к акустической оси пьезоэлектрического преобразователя и расположенного на заданном расстоянии от поверхности ввода, амплитуда эхо-сигнала от которого достигает заданного порогового уровня амплитуды.
3.1.13 тангенциальная составляющая напряженности магнитного поля: Составляющая напряженности магнитного поля, направленная параллельно поверхности объекта в зоне контроля.
3.1.14 условная чувствительность контроля зеркально-теневым методом Ку ЗТМ, дБ: Чувствительность, выражаемая разностью между значением усиления при данной настройке дефектоскопа и значением усиления, при котором амплитуда эхо-сигнала от противоположной (донной) поверхности на бездефектном участке контролируемого элемента или меры неразрушающего контроля, или настроечного образца достигает заданного порогового уровня амплитуды.
3.1.15
условная чувствительность контроля эхо-методом Ку ЭМ, дБ: Чувствительность, выражаемая разностью между значением усиления при данной настройке дефектоскопа и значением усиления, при котором амплитуда эхо-сигнала от отражателя в мере неразрушающего контроля СО-2 по
ГОСТ 14782 или СО-3Р по
ГОСТ 18576 достигает заданного порогового уровня амплитуды.
3.1.16 условное расстояние между отражателями: Минимальное расстояние между положениями пьезоэлектрического преобразователя, при которых амплитуды эхо-сигналов от отражателей равны заданному пороговому уровню амплитуды.
3.1.17 чистовой катаный колесный центр: Колесный центр, прошедший окончательную (чистовую) механическую обработку, необходимую для комплектации колесной пары.
3.2 В настоящем стандарте применены следующие сокращения:
ЗТМ - зеркально-теневой метод;
МПК - магнитопорошковый контроль;
НК - неразрушающий контроль;
ПЭП - пьезоэлектрический преобразователь по
ГОСТ 26266;
УЗК - ультразвуковой контроль;
УФ - ультрафиолетовый.
4.1 НК колесных центров для железнодорожного подвижного состава литых по
ГОСТ 4491 и катаных по нормативным документам
<1> государств, принявших настоящий стандарт, проводят при приемочных, приемо-сдаточных, сертификационных и других видах контрольных испытаний колесных центров на основании требований конструкторской документации.
4.2 НК колесных центров проводят с целью выявления неоднородностей структуры металла, а также внутренних и поверхностных дефектов, недопустимых по требованиям
ГОСТ 4491 или нормативных документов
<1> государств, принявших настоящий стандарт, и конструкторской документации.
4.3 Для НК колесных центров применяют акустический (ультразвуковой), оптический и магнитный виды НК.
Допускается, по согласованию производителя и потребителя (заказчика), применение вихретокового и других видов и методов НК колесных центров, не регламентированных настоящим стандартом, если соответствующие методики НК верифицированы по ГОСТ 33514.
4.4 Оценку соответствия колесных центров требованиям
ГОСТ 4491 или нормативных документов
<1> государств, принявших настоящий стандарт, проводят с учетом результатов НК всеми примененными видами, методами, методиками НК.
--------------------------------
<1> В Российской Федерации действует
ГОСТ Р 55498-2013 "Центры колесные катаные для железнодорожного подвижного состава. Технические условия".
4.5 Средства НК, технологическая документация по НК, персонал по НК, а также лаборатории (подразделения) НК, выполняющие НК колесных центров, должны соответствовать требованиям
ГОСТ 34513.
4.6 При инспекционном контроле по
ГОСТ 16504 или верификации закупленной продукции по
ГОСТ 24297 НК следует проводить по той же технологической документации и в таком же состоянии колесных центров, как и НК, ранее выполненный при приемо-сдаточных испытаниях.
5 Требования к методам неразрушающего контроля литых колесных центров
5.1 Методы неразрушающего контроля литых колесных центров
5.1.1 НК литых колесных центров проводят следующими методами:
- ультразвуковым ЗТМ с целью оценки однородности структуры металла;
- ультразвуковыми ЗТМ и эхо-методом с целью выявления внутренних дефектов;
- визуальным и магнитопорошковым методами с целью выявления поверхностных дефектов.
Магнитопорошковый метод применяют в порядке, установленном ГОСТ 4491-2016
(пункт 4.5.6).
5.1.2 УЗК литых колесных центров проводят после механической обработки. МПК проводят на обработанных и необработанных поверхностях колесных центров. Параметры шероховатости литых колесных центров в зонах НК должны соответствовать
ГОСТ 4491 и конструкторской документации.
5.2 Ультразвуковой контроль структуры металла литых колесных центров
5.2.1 При УЗК структуры металла литых колесных центров ЗТМ выявлению подлежит неоднородность структуры металла согласно требованиям ГОСТ 4491-2016
(пункт 4.5.5).
5.2.2 УЗК структуры металла литых колесных центров ЗТМ проводят в соответствии с требованиями
ГОСТ 4491, оценивая ослабление ультразвуковых волн в ободе и ступице с использованием следующих схем контроля:
- DT - контроль обода с боковой поверхности продольными волнами в осевом направлении [
рисунок А.1, а)];
- HT - контроль ступицы с боковой поверхности продольными волнами в осевом направлении [
рисунок А.1, б)].
Номинальные значения основных параметров контроля приведены в таблице 5.1.
Таблица 5.1
Значения основных параметров ЗТМ УЗК структуры металла
литых колесных центров
Основной параметр контроля | Номинальное значение |
Частота ультразвуковых колебаний, МГц | 2,5 |
Диаметр пьезоэлемента ПЭП, мм | 12 |
Угол ввода | 0° |
Ку ЗТМ, дБ: | |
для схемы контроля DT | 12 |
для схемы контроля HT | 16 или 20 (для удлиненной ступицы) |
Настройку К
у ЗТМ проводят по противоположной (донной) поверхности в мере НК СО-2 по
ГОСТ 14782 или СО-3Р по
ГОСТ 18576 при пороговом уровне амплитуды, заданном в технологической инструкции.
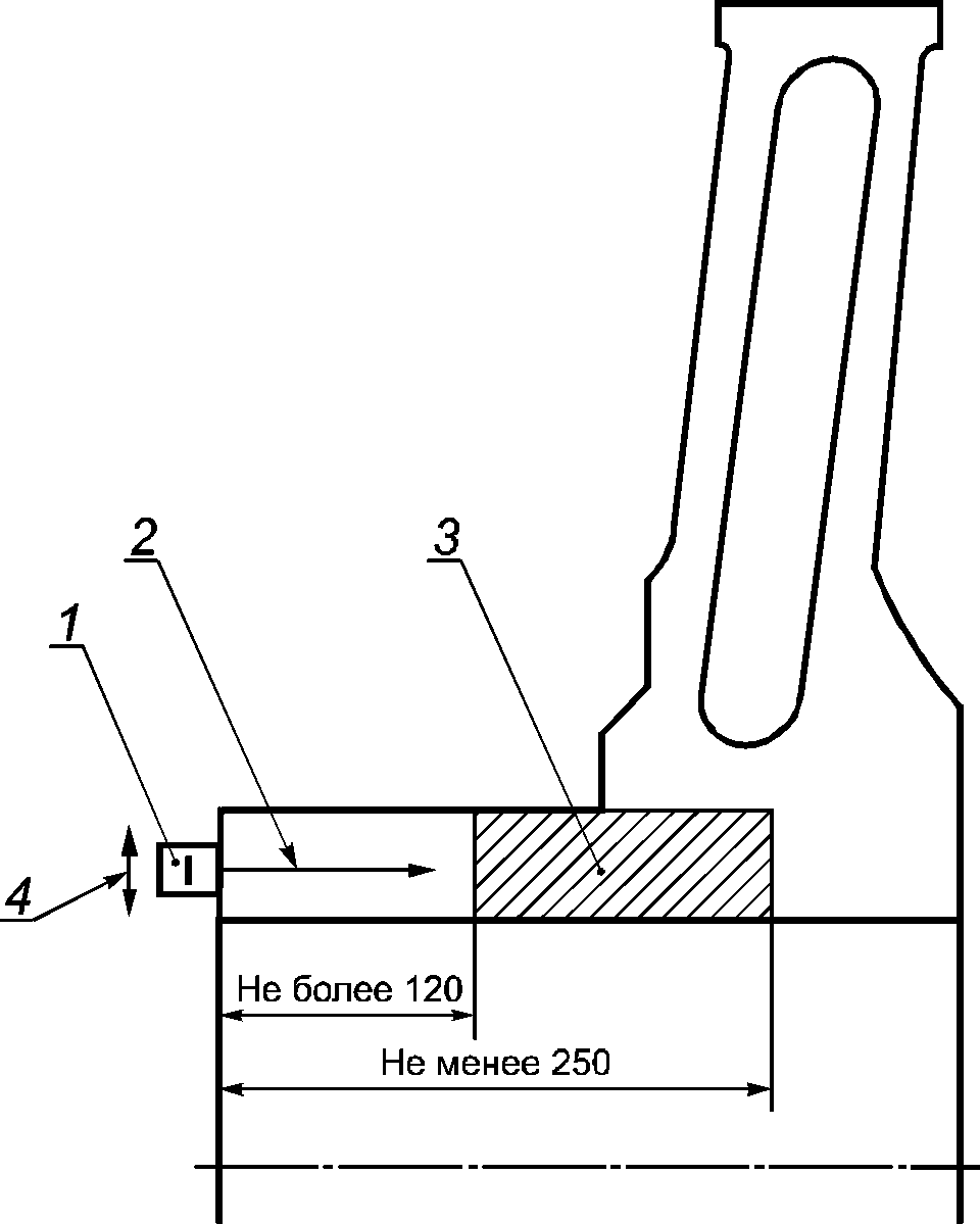
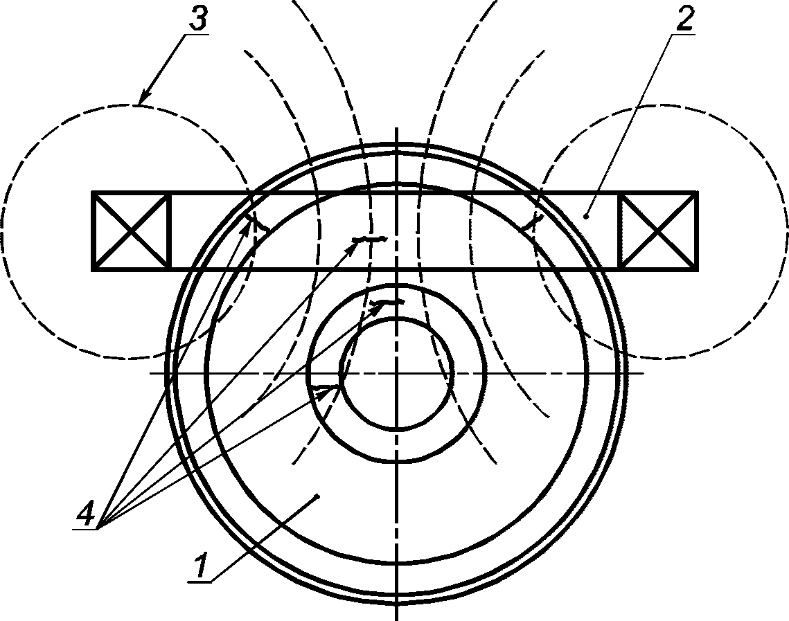
УЗК дисковых литых колесных центров по схеме DT проводят, устанавливая ПЭП не менее чем в 12 точках [
рисунок А.1, в)], равномерно распределенных по периметру обода на круговой траектории, расположенной на расстоянии от 8 до 25 мм от внешнего радиуса обода, и оценивая амплитуду эхо-сигнала от противоположной боковой поверхности обода (донного эхо-сигнала).
УЗК дисковых литых колесных центров по схеме HT проводят, устанавливая ПЭП не менее чем в шести точках [
рисунок А.1, в)], равномерно распределенных по периметру ступицы на круговой траектории, расположенной на расстоянии от 25 до 35 мм от внутреннего радиуса ступицы, и оценивая амплитуду эхо-сигнала от противоположной боковой поверхности ступицы (донного эхо-сигнала).
УЗК спицевых и коробчатых (двухдисковых) литых колесных центров по схеме DT проводят, устанавливая ПЭП в точки [
рисунок А.1, г), д)] между спицами на круговой траектории, расположенной на расстоянии от 8 до 25 мм от внешнего радиуса обода, и оценивая амплитуду эхо-сигнала от противоположной боковой поверхности обода (донного эхо-сигнала).
УЗК спицевых и коробчатых (двухдисковых) литых колесных центров по схеме HT проводят, устанавливая ПЭП в точки [
рисунок А.1, г), д)] между спицами на круговой траектории, расположенной на расстоянии от 25 до 35 мм от внутреннего радиуса ступицы, и оценивая амплитуду эхо-сигнала от противоположной боковой поверхности ступицы (донного эхо-сигнала).
5.2.3 Решение об обнаружении неоднородности структуры металла в ободе или ступице литого колесного центра принимают в соответствии с требованиями
ГОСТ 4491, если ослабление ультразвуковых волн таково, что амплитуда донного эхо-сигнала хотя бы в одной точке меньше заданного порогового уровня амплитуды.
5.3 Ультразвуковой контроль литых колесных центров на выявление внутренних дефектов
5.3.1 При УЗК ЗТМ и эхо-методом выявлению подлежат внутренние дефекты согласно требованиям ГОСТ 4491-2016
(пункт 4.5.5).
Типы и реальные размеры внутренних дефектов не определяют.
5.3.2 УЗК литых колесных центров ЗТМ проводят в соответствии с требованиями
ГОСТ 4491 с использованием следующих схем контроля:
- D2b - контроль обода с боковой поверхности продольными волнами в осевом направлении [
рисунок А.2, а)];
- H2b - контроль ступицы с боковой поверхности продольными волнами в осевом направлении [
рисунок А.2, б)].
Номинальные значения основных параметров контроля приведены в таблице 5.2.
Таблица 5.2
Значения основных параметров ЗТМ УЗК литых колесных центров
на выявление внутренних дефектов
Основной параметр контроля | Номинальное значение |
Частота ультразвуковых колебаний, МГц | От 2,0 до 2,5 |
Диаметр пьезоэлемента ПЭП, мм | 12 |
Угол ввода | 0° |
Ку ЗТМ, дБ: | |
для схемы контроля D2b | 14 |
для схемы контроля H2b | 14 |
Настройку Ку ЗТМ проводят по противоположной (донной) поверхности обода (ступицы) на бездефектном участке контролируемого колесного центра по методике и при пороговом уровне амплитуды, заданных в технологической инструкции.
УЗК литых колесных центров ЗТМ проводят, выполняя сканирование ПЭП по траектории, обеспечивающей выявление дефектов в заданной зоне контроля, и оценку амплитуд принятых донных эхо-сигналов. Траектория сканирования должна быть задана в технологической инструкции.
5.3.3 УЗК литых колесных центров эхо-методом проводят с использованием схемы контроля H2a - контроль участка перехода удлиненной ступицы к дисковой, коробчатой (двухдисковой) или спицевой части литого колесного центра с внутренней боковой поверхности ступицы продольными волнами в осевом направлении
(рисунок А.3).
Номинальные значения основных параметров контроля приведены в таблице 5.3.
Таблица 5.3
Значения основных параметров эхо-метода УЗК литых колесных
центров на выявление внутренних дефектов
Основной параметр контроля | Номинальное значение |
Частота ультразвуковых колебаний, МГц | От 2,0 до 2,5 |
Диаметр пьезоэлемента ПЭП, мм | 12 |
Угол ввода | 0° |
Ку ЭМ, дБ | 36 |
Настройку К
у ЭМ проводят по боковому цилиндрическому отражателю диаметром 6 мм на глубине 44 мм в мере НК СО-2 по
ГОСТ 14782 или СО-3Р по
ГОСТ 18576 по методике и при пороговом уровне амплитуды, заданных в технологической инструкции.
УЗК литых колесных центров эхо-методом проводят, выполняя сканирование ПЭП по траектории, обеспечивающей выявление дефектов в заданной зоне контроля, и оценку амплитуд принятых эхо-сигналов.
Траектория сканирования должна быть задана в технологической инструкции.
5.3.4 Решение об обнаружении внутреннего дефекта в литом колесном центре принимают в соответствии с требованиями ГОСТ 4491-2016
(пункт 4.5.5), если:
- при УЗК ЗТМ амплитуда донного эхо-сигнала хотя бы в одной точке меньше заданного порогового уровня амплитуды
и/или
- при УЗК эхо-методом обнаружены эхо-сигналы от отражателей, расположенных в зонах контроля, и амплитуда эхо-сигналов равна или превышает заданный пороговый уровень амплитуды.
5.4 Неразрушающий контроль литых колесных центров на выявление поверхностных дефектов
5.4.1 При НК литых колесных центров визуальным методом и магнитопорошковым методом выявлению подлежат поверхностные дефекты согласно требованиям
ГОСТ 4491.
5.4.2 Визуальный НК поверхностей литого колесного центра проводят в соответствии с требованиями
ГОСТ 4491,
ГОСТ 23479 и нормативных документов <1> государств, принявших настоящий стандарт.
--------------------------------
5.4.2.1 Требования к условиям проведения визуального НК колесных центров приведены в таблице 5.4.
Таблица 5.4
Требования к визуальному НК колесных центров
Характеристика | Значение |
Освещенность поверхности, лк, не менее | 500 |
Расстояние от глаз до поверхности, мм, не более | 600 |
Угол зрения, не менее | 30° |
5.4.2.2 При визуальном НК колесных центров могут быть применены технические средства (зеркала, волоконно-оптические устройства, эндоскопы).
5.4.2.3 Решение об обнаружении поверхностного дефекта при визуальном НК принимают в соответствии с
ГОСТ 4491.
5.4.3 Требования к выполнению МПК колесных центров:
5.4.3.1 МПК колесных центров проводят способом приложенного поля по
ГОСТ 21105.
Длину дефекта принимают равной протяженности индикаторного рисунка.
5.4.3.2 МПК колесных центров проводят при помощи соленоида или электромагнита полюсным намагничиванием по
ГОСТ 21105.
5.4.3.3 Тангенциальная составляющая вектора напряженности магнитного поля на контролируемой поверхности колесного центра должна быть не менее 2000 А/м.
Проверку намагничивания проводят измерителем напряженности магнитного поля.
5.4.3.4 Проверку качества магнитных индикаторов проводят с использованием мер НК или настроечных образцов с искусственными дефектами шириной раскрытия от 10 до 28 мкм.
Допускается проверку качества магнитных индикаторов выполнять по образцу типа 1
(рисунок Б.2), соответствующему нормативным документам <2> государств, принявших настоящий стандарт.
--------------------------------
<2> В Российской Федерации действует
ГОСТ Р ИСО 9934-2-2011 "Контроль неразрушающий. Магнитопорошковый метод. Часть 2. Дефектоскопические материалы".
Конкретный тип меры НК или настроечного образца указывают в технологической инструкции.
5.4.3.5 При повторном использовании магнитной суспензии проверяют концентрацию магнитной суспензии по методике, указанной в технологической инструкции.
5.4.3.6 Проверку работоспособности дефектоскопа или намагничивающего устройства проводят совместно с проверкой качества магнитных индикаторов по
5.4.3.4 с использованием мер НК или настроечных образцов с искусственными дефектами.
Допускается проверку работоспособности дефектоскопа или намагничивающего устройства проводить путем измерения тангенциальной составляющей вектора напряженности магнитного поля на поверхности детали в области эффективной намагниченности по
5.4.3.3.
5.4.3.7 Полюсное намагничивание колесного центра при помощи соленоида проводят по схеме, приведенной на
рисунке В.1, при дискретном или непрерывном вращении колесного центра.
Полюсное намагничивание колесного центра при помощи электромагнита проводят по участкам контролируемых поверхностей с шагом, не превышающим размер области эффективной намагниченности.
5.4.3.8 Освещенность контролируемой поверхности при осмотре деталей при использовании магнитных индикаторов на основе магнитных порошков естественной окраски или цветных магнитных порошков должно быть не менее 1000 лк. Для местного освещения применяют переносные светильники с непрозрачным отражателем, обеспечивающим рассеяние света и защиту глаз от слепящего воздействия источника света.
5.4.3.9 При применении люминесцентных магнитных суспензий используют источники УФ-облучения в диапазоне длин волн от 315 до 400 нм с максимальной интенсивностью излучения на длине волны 365 нм. Интенсивность УФ-облученности контролируемой поверхности должна быть не менее 2000 мкВт/см2, а освещенность видимым светом должна быть не более 20 лк.
Допускается проводить осмотр контролируемой поверхности при условии соблюдения соотношения между освещенностью видимым светом и интенсивностью УФ-облученности контролируемой поверхности, приведенного в таблице 5.5.
Таблица 5.5
Соотношение освещенности видимым светом и интенсивности
УФ-облученности контролируемой поверхности
Освещенность видимым светом, лк | Интенсивность УФ-облученности, мкВт/см2, не менее |
От 20 до 100 включ. | 2500 |
Св. 100 до 200 включ. | 3000 |
5.4.3.10 Допускается при применении люминесцентных магнитных индикаторов использовать источники синего света с максимальной интенсивностью излучения на длине волны от 450 до 455 нм.
При использовании источников синего света осмотр контролируемой поверхности проводят в очках, увеличивающих контраст. При этом освещенность контролируемой поверхности должна быть не более 300 лк.
5.4.3.11 Решение об обнаружении поверхностного дефекта при МПК принимают в соответствии с требованиями
ГОСТ 4491, если на контролируемой поверхности литого колесного центра выявлены скопления магнитного порошка в виде линейного индикаторного рисунка, воспроизводящегося после повторного нанесения магнитного индикатора.
6 Требования к методам неразрушающего контроля катаных колесных центров
6.1 Методы неразрушающего контроля катаных колесных центров
6.1.1 НК катаных колесных центров с предварительной механической обработкой проводят следующими методами:
- ультразвуковым эхо-методом с целью выявления внутренних дефектов;
- визуальным и магнитопорошковым методами с целью выявления поверхностных дефектов.
6.1.2 НК чистовых катаных колесных центров проводят с целью выявления поверхностных дефектов визуальным и магнитопорошковым методами.
6.1.3 Допускается применение вихретокового метода НК катаных колесных центров с предварительной механической обработкой и чистовых катаных колесных центров в качестве альтернативного магнитопорошковому методу НК, если вихретоковый метод НК обеспечивает выявление поверхностных дефектов, недопустимых по нормативным документам
<1> государств, принявших настоящий стандарт.
В качестве арбитражного следует использовать магнитопорошковый метод НК.
6.1.4 Параметры шероховатости катаных колесных центров с предварительной механической обработкой и чистовых катаных колесных центров должны соответствовать нормативным документам
<1> государств, принявших настоящий стандарт, и конструкторской документации.
6.2 Ультразвуковой контроль катаных колесных центров с предварительной механической обработкой на отсутствие внутренних дефектов
6.2.1 При УЗК эхо-методом выявлению подлежат внутренние дефекты согласно требованиям нормативных документов
<1> государств, принявших настоящий стандарт.
--------------------------------
<1> В Российской Федерации действует
ГОСТ Р 55498-2013 "Центры колесные катаные для железнодорожного подвижного состава. Технические условия".
6.2.2 УЗК катаных колесных центров с предварительной механической обработкой эхо-методом проводят в соответствии с требованиями нормативных документов
<1> государств, принявших настоящий стандарт, с использованием следующих схем контроля:
- D2a - контроль обода с внутренней или наружной боковой поверхности продольными волнами в осевом направлении
(рисунок А.4);
- H2a - контроль ступицы с внутренней или наружной боковой поверхности продольными волнами в осевом направлении [
рисунок А.5, а)];
- W - контроль диска с внутренней или наружной боковой поверхности продольными волнами в осевом направлении [
рисунок А.5, б]
<1>.
--------------------------------
<1> Для катаных колесных центров с криволинейной формой диска - по согласованию с потребителем.
| | ИС МЕГАНОРМ: примечание. Текст дан в соответствии с официальным текстом документа. | |
Номинальные значения основных параметров контроля, установленные в соответствии с требованиями нормативных документов <1> государств, принявших настоящий стандарт, приведены в
таблице 6.1.
--------------------------------
<1> В Российской Федерации действует
ГОСТ Р 55498-2013 "Центры колесные катаные для железнодорожного подвижного состава. Технические условия".
Таблица 6.1
Значения основных параметров эхо-метода УЗК катаных колесных
центров с предварительной механической обработкой
на выявление внутренних дефектов
Основной параметр контроля | Номинальное значение |
Схема контроля D2a | Схема контроля H2a | Схема контроля W |
Частота ультразвуковых колебаний, МГц | От 2,0 до 5,0 | От 2,0 до 2,5 | От 2,0 до 5,0 |
Угол ввода | 0° |
SП, мм2 | 3,2 | 19,6 |
7,1 <*> |
<*> Применяют для оценки количества выявленных отражателей или условного расстояния между отражателями. |
6.2.3 Настройку
SП проводят с использованием мер НК или настроечных образцов с плоскодонными эталонными отражателями
(рисунок Б.1), залегающими на минимальной, средней и близкой к максимальной глубинам для зоны контроля при данном варианте метода УЗК.
Допускается проводить настройку по настроечному образцу одним из следующих способов:
- с альтернативными эталонными отражателями (например, в виде цилиндрических боковых искусственных отражателей), глубины залегания которых равны глубинам залегания отражателей в мерах;
- с одним альтернативным эталонным отражателем с использованием АРД-диаграмм, построенных по экспериментальным данным, полученным с помощью ПЭП, используемых при УЗК, если методика построения установлена в технологической инструкции.
6.2.4 При УЗК по схемам контроля H2a и W настройку
SП выполняют в соответствии с требованиями нормативных документов
<2> государств, принявших настоящий стандарт, с использованием двух пороговых уровней амплитуды:
- "уровень оценки" - для оценки по амплитуде эхо-сигнала от дефекта (при SП = 19,6 мм2);
- "уровень фиксации" - для оценки по условному расстоянию между отражателями или по количеству выявленных отражателей (при SП = 7,1 мм2).
6.2.5 УЗК колесных центров с предварительной механической обработкой эхо-методом проводят, выполняя сканирование ПЭП по траектории, обеспечивающей выявление дефектов в заданной зоне контроля, и оценивая характеристики принятых эхо-сигналов, заданные в технологической инструкции.
6.2.6 Решение об обнаружении внутренних дефектов в катаном колесном центре с предварительной механической обработкой принимают в соответствии с требованиями нормативных документов
<2> государств, принявших настоящий стандарт, если при УЗК эхо-методом:
а) в ободе выявлены эхо-сигналы от отражателей, расположенных в зонах контроля, и амплитуда эхо-сигналов равна или превышает заданный пороговый уровень амплитуды;
б) в диске выявлены эхо-сигналы от отражателей, расположенных в зонах контроля, и амплитуда эхо-сигналов равна или превышает "уровень оценки", или
1) минимальное условное расстояние между отражателями, измеренное на "уровне фиксации", менее 50 мм, или
2) в одном колесном центре обнаружено 10 и более отражателей, амплитуды эхо-сигналов от которых равны или превышают "уровень фиксации";
в) в ступице выявлены эхо-сигналы от отражателей, расположенных в зонах контроля, и амплитуда эхо-сигналов равна или превышает "уровень оценки", или
1) минимальное условное расстояние между отражателями, измеренное на "уровне фиксации", менее 50 мм, или
2) в одном колесном центре обнаружено четыре и более отражателя, амплитуды эхо-сигналов от которых равны или превышают "уровень фиксации".
--------------------------------
<2> В Российской Федерации действует
ГОСТ Р 55498-2013 "Центры колесные катаные для железнодорожного подвижного состава. Технические условия".
6.3 Неразрушающий контроль катаных колесных центров с предварительной механической обработкой на отсутствие поверхностных дефектов
6.3.1 При НК визуальным методом и магнитопорошковым методом выявлению подлежат поверхностные дефекты согласно требованиям нормативных документов
<1> государств, принявших настоящий стандарт.
6.3.2 Визуальный НК всех поверхностей катаного колесного центра с предварительной механической обработкой проводят в соответствии с
5.4.2.1, требованиями
ГОСТ 23479 и нормативных документов
<2> государств, принявших настоящий стандарт.
6.3.3 Решение об обнаружении поверхностного дефекта при визуальном НК принимают в соответствии с нормативными документами
<1> государств, принявших настоящий стандарт.
6.3.4 МПК катаного колесного центра с предварительной механической обработкой проводят в зоне диска, включая переходы диска в обод и ступицу, в соответствии с
5.4.3.1 -
5.4.3.10.
6.3.5 Решение об обнаружении поверхностного дефекта в соответствии с требованиями нормативных документов
<1> государств, принявших настоящий стандарт, принимают, если при МПК катаного колесного центра с предварительной механической обработкой на поверхностях диска или переходов диска в обод и ступицу выявлены линейные индикаторные рисунки длиной 6 мм и более, воспроизводящиеся после повторного нанесения магнитного индикатора.
6.4 Неразрушающий контроль чистовых катаных колесных центров
6.4.1 При НК визуальным методом и магнитопорошковым методом выявлению подлежат поверхностные дефекты согласно требованиям нормативных документов
<1> государств, принявших настоящий стандарт.
6.4.2 Визуальный НК всех поверхностей чистового катаного колесного центра проводят в соответствии с требованиями
5.4.2.1,
ГОСТ 23479 и нормативных документов
<2> государств, принявших настоящий стандарт.
6.4.3 Решение об обнаружении поверхностного дефекта при визуальном НК принимают в соответствии с нормативными документами
<1> государств, принявших настоящий стандарт.
--------------------------------
<1> В Российской Федерации действует
ГОСТ Р 55498-2013 "Центры колесные катаные для железнодорожного подвижного состава. Технические условия".
6.4.4 МПК всех поверхностей чистового катаного колесного центра проводят в соответствии с
5.4.3.1,
5.4.3.3 -
5.4.3.10.
6.4.5 Полюсное намагничивание всех поверхностей (за исключением внутреннего отверстия ступицы) чистового катаного колесного центра проводят при помощи соленоида или электромагнита.
Циркулярное (или комбинированное) намагничивание зоны внутреннего отверстия ступицы, указанной в конструкторской и технологической документации, проводят пропусканием тока по проводнику, помещенному в сквозное отверстие в объекте и/или путем индуцирования тока в объекте.
Циркулярное намагничивание чистового катаного колесного центра путем индуцирования тока в объекте проводят по схеме, приведенной на
рисунке В.2 (приложение В).
Циркулярное намагничивание чистового катаного колесного центра пропусканием тока по проводнику, помещенному в сквозное отверстие в объекте, проводят по схеме, приведенной на
рисунке В.3 (приложение В).
Комбинированное намагничивание чистового катаного колесного центра пропусканием тока по проводнику, помещенному в сквозное отверстие в объекте, и путем индуцирования тока в объекте выполняют по схемам, приведенным на
рисунках В.2 и
В.3 (приложение В).
При осмотре зоны внутреннего отверстия ступицы могут быть применены технические средства (зеркала, волоконно-оптические устройства, эндоскопы).
6.4.6 Решение об обнаружении поверхностного дефекта в соответствии с требованиями нормативных документов <1> государств, принявших настоящий стандарт, принимают, если при МПК чистового катаного колесного центра на контролируемых поверхностях выявлены линейные индикаторные рисунки длиной 6 мм и более, воспроизводящиеся после повторного нанесения магнитного индикатора.
--------------------------------
<1> В Российской Федерации действует
ГОСТ Р 55498-2013 "Центры колесные катаные для железнодорожного подвижного состава. Технические условия".
7 Требования охраны труда и безопасности
7.2 Конструкция дефектоскопов и технологического оборудования должна соответствовать общим требованиям безопасности по
ГОСТ 12.2.003 и
ГОСТ 12.1.019.
7.3 Уровень шума на рабочих местах не должен превышать норм, установленных
ГОСТ 12.1.003 и нормативными документами государств, принявших настоящий стандарт.
7.4 Дополнительные требования по охране труда и пожарной безопасности устанавливают в технологической инструкции.
(обязательное)
СХЕМЫ УЛЬТРАЗВУКОВОГО КОНТРОЛЯ КОЛЕСНЫХ ЦЕНТРОВ
1 - прямой ПЭП; 2 - направление прозвучивания; 3 - зона
прозвучивания колесного центра
Рисунок А.1, лист 1 - Схемы УЗК структуры металла обода
и ступицы колесного центра

- точки установки ПЭП
Рисунок А.1, лист 2
1 - прямой ПЭП; 2 - направление прозвучивания; 3 - зона
контроля колесного центра;
4 - направление смещения ПЭП при сканировании
Рисунок А.2 - Схемы УЗК обода и ступицы колесного центра ЗТМ
на отсутствие внутренних дефектов
1 - прямой ПЭП; 2 - направление прозвучивания; 3 - зона
контроля колесного центра;
4 - направление смещения ПЭП при сканировании
Рисунок А.3 - Схема УЗК удлиненной ступицы литого колесного
центра эхо-методом на отсутствие внутренних дефектов, схема
контроля H2a
1 - прямой ПЭП; 2 - направление прозвучивания; 3 - зона
контроля колесного центра;
4 - направление смещения ПЭП при сканировании
Рисунок А.4 - Схема УЗК обода катаного колесного центра
с предварительной механической обработкой эхо-методом
на отсутствие внутренних дефектов, схема контроля D2a
1 - прямой ПЭП; 2 - направление прозвучивания; 3 - зона
контроля колесного центра;
4 - направление смещения ПЭП при сканировании
Рисунок А.5 - Схемы УЗК ступицы и диска катаного колесного
центра с предварительной механической обработкой эхо-методом
на отсутствие внутренних дефектов
(справочное)
СРЕДСТВА МЕТРОЛОГИЧЕСКОГО ОБЕСПЕЧЕНИЯ НЕРАЗРУШАЮЩЕГО
КОНТРОЛЯ КОЛЕСНЫХ ЦЕНТРОВ
Б.1 Характеристики образцов для настройки
SП УЗК катаных колесных центров с предварительной механической обработкой приведены на рисунке Б.1 и в
таблице Б.1.
H - расстояние до плоскодонного отражателя по
6.2.3;
h - глубина плоскодонного отражателя от 4 до 10 мм
Рисунок Б.1 - Образцы для настройки
SП УЗК катаных колесных
центров с предварительной механической обработкой
Таблица Б.1
Плоскодонные искусственные отражатели в образцах
для настройки SП УЗК катаных колесных центров
с предварительной механической обработкой
Схема контроля | Диаметр плоскодонного отражателя  , мм |
D2a | 2 |
H2a и W | 3 |
5 |
Примечания
1 Материал - сталь марки М или марки С или колесная сталь по
ГОСТ 10791.
3 Технические характеристики настроечных образцов подлежат подтверждению после изготовления и в процессе эксплуатации.
4 Меры НК должны пройти процедуру утверждения типа средства измерения и быть поверены (калиброваны) в соответствии с требованиями нормативных документов государств, принявших настоящий стандарт.
Б.2 Характеристики образца типа 1 для проверки качества магнитных индикаторов приведены на рисунке Б.2.
1 - трещины от шлифовки шириной раскрытия от 2 до 10 мкм;
2 - трещины от коррозии под напряжением шириной раскрытия
от 2 до 10 мкм
Рисунок Б.2 - Образец типа 1
Примечание - Технические характеристики образцов типа 1 подлежат подтверждению после изготовления и в процессе эксплуатации.
(рекомендуемое)
СХЕМЫ НАМАГНИЧИВАНИЯ КОЛЕСНЫХ ЦЕНТРОВ
1 - колесный центр; 2 - соленоид; 3 - силовые линии
магнитного потока; 4 - дефекты
Рисунок В.1 - Схема полюсного
намагничивания соленоидом колесного центра
1 - колесный центр; 2 - электромагнит; 3 - проводник; 4
и Ф - силовые линии магнитного потока; 5 - дефект;
I - индуцированный ток
Рисунок В.2 - Схема циркулярного намагничивания колесного
центра путем индуцирования тока в объекте
1 - колесный центр; 2 - проводник; 3 - силовые линии
магнитного потока; 4 - дефект; I - ток
Рисунок В.3 - Схема циркулярного намагничивания колесного
центра пропусканием тока по центральному проводнику
УДК 620.179.1:006.354 | | |
Ключевые слова: центры колесные катаные и литые, неразрушающий контроль, требования |