Главная // Актуальные документы // ГОСТ (Государственный стандарт)СПРАВКА
Источник публикации
М.: ИПК Издательство стандартов, 2001
Примечание к документу
С 1 июля 2003 года до вступления в силу технических регламентов акты федеральных органов исполнительной власти в сфере технического регулирования носят рекомендательный характер и подлежат обязательному исполнению только в части, соответствующей целям, указанным в
пункте 1 статьи 46 Федерального закона от 27.12.2002 N 184-ФЗ.
Документ
введен в действие с 01.01.2002.
Взамен ГОСТ 18576-85.
Название документа
"ГОСТ 18576-96. Межгосударственный стандарт. Контроль неразрушающий. Рельсы железнодорожные. Методы ультразвуковые"
(введен в действие Постановлением Госстандарта России от 04.07.2001 N 257-ст)
"ГОСТ 18576-96. Межгосударственный стандарт. Контроль неразрушающий. Рельсы железнодорожные. Методы ультразвуковые"
(введен в действие Постановлением Госстандарта России от 04.07.2001 N 257-ст)
комитета Российской Федерации
по стандартизации и метрологии
от 4 июля 2001 г. N 257-ст
МЕЖГОСУДАРСТВЕННЫЙ СТАНДАРТ
КОНТРОЛЬ НЕРАЗРУШАЮЩИЙ
РЕЛЬСЫ ЖЕЛЕЗНОДОРОЖНЫЕ
МЕТОДЫ УЛЬТРАЗВУКОВЫЕ
Nondestructive testing. Railway rails.
Ultrasonic testing methods
ГОСТ 18576-96
Предисловие
1 РАЗРАБОТАН Научно-исследовательским институтом мостов Петербургского государственного университета путей сообщения (НИИ мостов ПГУ ПС)
ВНЕСЕН Госстандартом России
2 ПРИНЯТ Межгосударственным Советом по стандартизации, метрологии и сертификации (Протокол N 10 от 4 октября 1996 г.)
За принятие проголосовали:
Наименование государства | Наименование национального органа по стандартизации |
Азербайджанская Республика | Азгосстандарт |
Республика Армения | Армгосстандарт |
Республика Беларусь | Госстандарт Республики Беларусь |
Республика Грузия | Грузстандарт |
Республика Казахстан | Госстандарт Республики Казахстан |
Кыргызская Республика | Кыргызстандарт |
Республика Молдова | Молдовастандарт |
Российская Федерация | Госстандарт России |
Республика Таджикистан | Таджикстандарт |
Туркменистан | Главгосслужба "Туркменстандартлары" |
Республика Узбекистан | Узгосстандарт |
Украина | Госстандарт Украины |
3
Постановлением Государственного комитета Российской Федерации по стандартизации и метрологии от 4 июля 2001 г. N 257-ст межгосударственный стандарт ГОСТ 18576-96 введен в действие непосредственно в качестве государственного стандарта Российской Федерации с 1 января 2002 г.
4 ВЗАМЕН ГОСТ 18576-85
Настоящий стандарт распространяется на рельсы типа Р50 по ГОСТ 7174, Р65 по ГОСТ 8161 и Р75 по ГОСТ 16210 при их изготовлении, эксплуатации и ремонте (восстановлении) и устанавливает методы при ручном и механизированном ультразвуковом контроле для выявления в головке, шейке и зоне продолжения шейки в подошву рельсов внутренних дефектов (расслоений, флокенов, раковин, неметаллических и инородных включений, трещин, дефектов электроконтактной сварки) в пределах чувствительности контроля, а также зон аномальных механических напряжений в рельсах. Тип и реальные размеры дефектов не определяются.
Допускается распространять положения настоящего стандарта на контроль рельсов других типов.
Стандарт не устанавливает методы ультразвукового контроля наплавки.
Необходимость проведения ультразвукового контроля, объем контроля, тип и размеры недопустимых дефектов устанавливают в стандартах или технических условиях на рельсы.
Определения терминов, использованных в настоящем стандарте, приведены в
приложении А.
В настоящем стандарте использованы ссылки на следующие стандарты:
ГОСТ 12.1.001-89 Система стандартов безопасности труда. Ультразвук. Общие требования безопасности
ГОСТ 12.1.003-83 Система стандартов безопасности труда. Шум. Общие требования безопасности
ГОСТ 12.2.003-91 Система стандартов безопасности труда. Оборудование производственное. Общие требования безопасности
ГОСТ 12.3.002-75 Система стандартов безопасности труда. Процессы производственные. Общие требования безопасности
ГОСТ 7174-75
<*> Рельсы железнодорожные типа Р50. Конструкция и размеры
ГОСТ 8161-75
<*> Рельсы железнодорожные типа Р65. Конструкция и размеры
ГОСТ 14637-89 Прокат толстолистовой из углеродистой стали обыкновенного качества. Технические условия
ГОСТ 14782-86 Контроль неразрушающий. Соединения сварные. Методы ультразвуковые
ГОСТ 16210-77
<*> Рельсы железнодорожные типа Р75. Конструкция и размеры
ГОСТ 17622-72 Стекло органическое техническое. Технические условия
ГОСТ 26266-90 Контроль неразрушающий. Преобразователи ультразвуковые. Общие технические требования.
--------------------------------
В настоящем стандарте применяют следующие обозначения и сокращения:

- чувствительность условная, мм;

- чувствительность условная, дБ;

- чувствительность эквивалентная, дБ;

- угол ввода ультразвуковых колебаний в металл (угол ввода луча), ... °;

- угол призмы ПЭП, ... °;

- стрела наклонного ПЭП, мм;

- мертвая зона, мм;

- ширина основного лепестка диаграммы направленности в плоскости падения волны, ... °;

- длительность импульса, излучаемого ПЭП, мкс;

- показание аттенюатора, соответствующее ослаблению эхо-сигнала от отверстия диаметром 6 мм на глубине 44 мм в СО-2 (СО-2Р, СО-3Р) до уровня, при котором оценивают условную чувствительность, дБ;

- интервал времени между зондирующим импульсом и эхо-сигналом от вогнутой цилиндрической поверхности в СО-3Р при установке наклонного ПЭП в положение, соответствующее максимальной амплитуде эхо-сигнала, мкс;

- среднее время распространения ультразвуковых колебаний в призме наклонного ПЭП, мкс;

- угол между двумя отражателями в СО-4, ... °;

- угол разворота ПЭП относительно продольной оси рельса, ... °;

- условная ширина выявленного дефекта, мм;

- условная высота выявленного дефекта, мм или мкс;
ПЭП - пьезоэлектрический преобразователь;

- условная протяженность, мм.
Термины и соответствующие им определения приведены в
приложении А.
4 Средства контроля и вспомогательные устройства
4.1 При контроле должны быть использованы:
- ультразвуковой импульсный дефектоскоп (далее - дефектоскоп) по нормативным документам (НД) с электроакустическими (пьезоэлектрическими или электромагнитоакустическими) преобразователями;
- стандартные образцы для определения основных параметров контроля;
- вспомогательные приспособления и устройства для соблюдения параметров сканирования и измерения характеристик выявленных дефектов.
Допускается применять дефектоскопы с непрерывным излучением ультразвуковых колебаний, метрологические характеристики и параметры которых устанавливают в стандартах и (или) технических условиях на дефектоскопы конкретного типа.
Дефектоскопы, преобразователи и стандартные образцы, используемые для контроля, должны быть аттестованы в установленном порядке.
4.2 Для контроля следует использовать дефектоскопы, работающие по эхо-методу, зеркальному методу, дельта-методу, теневому методу, зеркально-теневому методу, на частоте от 0,1 до 4,0 МГц.
4.2.1 Дефектоскопы, работающие по эхо-, зеркальному и дельта-методам, должны иметь аттенюатор. Значение ступени ослабления аттенюатора должно быть не более 2,0 дБ.
При контроле эхо-методом допускается применять дефектоскопы без аттенюатора с проверкой условной чувствительности по стандартным образцам СО-1Р или СО-1 по
ГОСТ 14782 или дефектоскопы без аттенюатора с системой автоматической настройки и поддержания чувствительности.
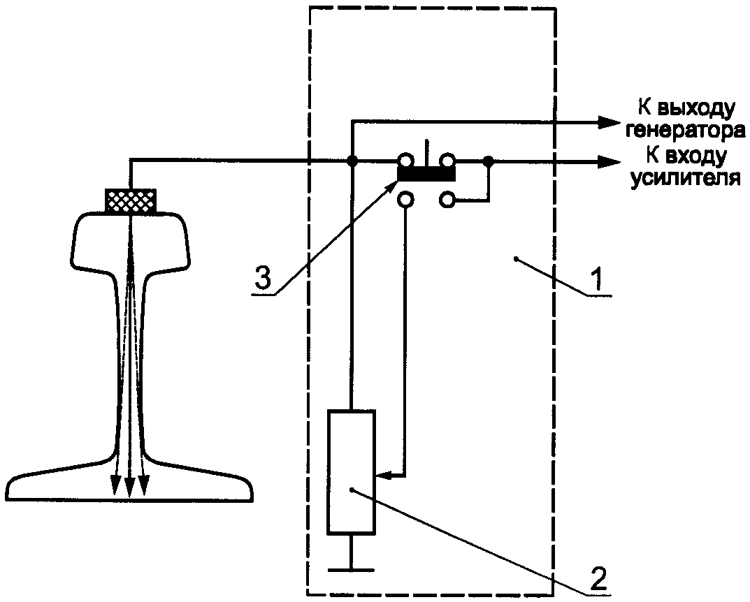
4.2.2 Дефектоскопы, работающие по теневому или зеркально-теневому методам, должны иметь устройство для измерения условной чувствительности, выполненное по схеме имитатора дефектов, состоящего из аттенюатора и элементов коммутации (рисунок 1).
1 - имитатор дефектов, 2 - аттенюатор; 3 - переключатель
Рисунок 1 - Схема устройства для измерения
условной чувствительности
Аттенюатор имитатора дефектов должен быть проградуирован в относительных единицах от 0,1 до 0,6 или в децибелах. Значение ступени ослабления аттенюатора должно быть не более 0,1 или 2,0 дБ соответственно.
4.3 Пьезоэлектрические преобразователи на частоту более 0,16 МГц - по
ГОСТ 26266.
Допускается применять специализированные преобразователи, изготовленные по техническим условиям (ТУ) и рабочим чертежам, утвержденным в установленном порядке.
4.4 Стандартные образцы СО-1Р, СО-2Р и СО-3Р (
рисунки 2 -
4) или стандартные образцы СО-1, СО-2 и СО-3 по
ГОСТ 14782 следует применять для измерения и проверки основных параметров аппаратуры и контроля при совмещенной и раздельной схемах включения пьезоэлектрических преобразователей на частоту более 1,5 МГц.
Рисунок 2 - Стандартный образец СО-1Р
Рисунок 3 - Стандартный образец СО-2Р
Рисунок 4 - Стандартный образец СО-3Р
В остальных случаях для проверки основных параметров аппаратуры и контроля должны использоваться отраслевые стандартные образцы или стандартные образцы предприятия, аттестованные в установленном порядке.
4.4.1 Стандартный образец СО-1Р (
рисунок 2) применяют для определения условной чувствительности при контроле эхо-методом.
Образец СО-1Р должен быть изготовлен из органического стекла марки ТОСП по
ГОСТ 17622. Скорость распространения продольной ультразвуковой волны на частоте (2,5

0,2) МГц при температуре (20

5) °С должна быть (2670

133) м/с. Амплитуда первого донного импульса по толщине образца на частоте (2,5

0,2) МГц и при температуре (20

5) °С не должна отличаться более чем на

2 дБ от амплитуды первого донного импульса в образце-свидетеле, аттестованном органами государственной метрологической службы.
Примечание - Цифры у отверстий диаметром 10Н14 на образце СО-1Р относительно поверхности ввода ультразвуковых колебаний указывают глубину расположения центра соответствующих отверстий диаметром 2Н14 в стандартном образце СО-1 по
ГОСТ 14782.
4.4.2 Стандартный образец СО-2Р (
рисунок 3) применяют для определения:
- условной чувствительности при контроле эхо- и зеркальным методами;
- мертвой зоны;
- погрешности глубиномера и погрешности измерения координат отражателя;
- стрелы преобразователя;
- угла ввода ультразвуковых колебаний;
- ширины основного лепестка диаграммы направленности наклонного ПЭП.
Образец СО-2Р должен быть изготовлен из стали марки 20 по
ГОСТ 14637. Скорость распространения продольной волны в материале образца при температуре (20

5) °С должна быть (5900

118) м/с.
На боковые поверхности образца должны быть нанесены шкала значений

в миллиметрах и шкала значений угла

ввода ультразвуковых колебаний от 10° до 70° с интервалом 1° в соответствии с уравнением

.
Нулевые деления шкал должны совпадать с осью, проходящей через центры отверстий диаметром 6Н14 перпендикулярно к рабочим поверхностям образца.
Примечание - Стрелу преобразователя определяют по соотношению

.
Значение угла

ввода ультразвуковых колебаний рассчитывают по выражению

,
где

,

- расстояния от проекции центра отверстия диаметром 6Н14 на рабочую поверхность образца до передней грани преобразователя в положениях, соответствующих максимальной амплитуде эхо-сигнала от отверстия на глубине 44 и 15 мм соответственно.
4.4.3 Стандартный образец СО-3Р (
рисунок 4) применяют для определения:
- условной чувствительности при контроле эхо- и дельта-методами;
- мертвой зоны;
- погрешности глубиномера и погрешности измерения координат отражателя;
- стрелы преобразователя;
- угла ввода ультразвуковых колебаний;
- ширины основного лепестка диаграммы направленности наклонного ПЭП;
- импульсного коэффициента преобразования при контроле рельсового или близкого к нему по акустическим свойствам металла.
Образец СО-3Р должен быть изготовлен из стали марки 20 по
ГОСТ 14637. Скорость распространения продольной волны в материале образца при температуре (20

5) °С должна быть (5900

118) м/с.
На боковых и рабочих поверхностях образца должны быть выгравированы риски, проходящие через центр полуокружности и по оси рабочей поверхности. На боковую поверхность образца наносят шкалу значений угла

ввода ультразвуковых колебаний от нуля до 40° с интервалом 2° и от 40° до 70° - с интервалом 1° в соответствии с уравнением

.
Нуль шкалы должен совпадать с осью, проходящей через центр отверстия диаметром 6Н14 перпендикулярно к рабочей поверхности образца.
Значение 65° на шкале углов

ввода ультразвуковых колебаний должно совпадать с риской, проходящей через центр полуокружности.
4.5 Ультразвуковой специализированный дефектоскоп для выявления зон экстремальных механических напряжений в рельсах должен обеспечивать измерение амплитуды сигнала с погрешностью не более 1 дБ и интервала времени между сигналами - с относительной погрешностью не более 0,0001.
4.6 Систематическую проверку параметров, определяющих работоспособность дефектоскопов при сплошном контроле рельсов, допускается проводить с использованием электроакустических устройств.
Перечень параметров и порядок их проверки должны быть указаны в технической документации на контроль.
5.1 Поверхность рельса, с которой ведется контроль, должна быть очищена от:
- отслоившейся окалины, грязи, льда и покрыта слоем контактирующей жидкости при использовании пьезоэлектрического преобразователя;
- отслоившейся окалины и грязи при использовании электромагнитоакустического преобразователя.
В качестве контактирующей жидкости используют воду, минеральные смазочные материалы, раствор спирта в воде и спирт.
Чистота поверхности и состав контактирующей жидкости должны быть указаны в технической документации на контроль.
5.2 Подготовку аппаратуры к контролю следует выполнять в соответствии с технической документацией на аппаратуру и контроль.
5.3 Основные параметры контроля:
- частота возбуждаемых ультразвуковых колебаний;
- чувствительность (условная, эквивалентная);
- стрела преобразователя и положение плоскости падения волны относительно оси рельса;
- угол ввода ультразвуковых колебаний в металл;
- погрешность глубиномера (погрешность измерения интервала времени между сигналами);
- мертвая зона;
- минимальный условный размер дефекта, фиксируемого при заданной скорости контроля;
- длительность зондирующего импульса.
Перечень параметров, подлежащих проверке, их числовые значения и периодичность проверки должны устанавливаться в каждом конкретном случае в технической документации на контроль.
5.4 Частоту ультразвуковых колебаний измеряют по длительности периода колебаний в эхо-импульсе высокочастотным осциллографом.
Допускается измерять частоту ультразвуковых колебаний в диапазоне 1,5 - 4,0 МГц, излучаемых наклонным преобразователем, по образцу, приведенному в
приложении В.
5.5 Условную чувствительность контроля эхо-, зеркальным и дельта-методами при частоте ультразвуковых колебаний более 1,5 МГц следует измерять по образцу СО-2Р (СО-2) или СО-3Р (рисунок 5).
Г - вывод к генератору дефектоскопа;
П - вывод к приемнику дефектоскопа
Рисунок 5 - Схема расположения преобразователей
на стандартном образце СО-2Р (СО-3Р)
при измерении (настройке)
условной чувствительности при контроле:
а - эхо-методом, б - зеркальным методом,
в - дельта-методом
Условную чувствительность при контроле эхо-методом допускается измерять по стандартному образцу СО-1Р или СО-1 при температуре, указанной в аттестат-графике.
Условную чувствительность при контроле эхо-, зеркальным и дельта-методами допускается измерять по отраслевым стандартным образцам или стандартным образцам предприятия.
Условную чувствительность при контроле зеркально-теневым методом измеряют с помощью имитатора дефектов или аттенюатора (
рисунок 1) на бездефектном участке рельса или на образце, параметры которых указаны в технической документации на контроль.
При частоте ультразвуковых колебаний менее 1,5 МГц эквивалентную чувствительность следует измерять по образцам, указанным в технической документации на контроль.
5.6 Стрелу преобразователя следует определять по образцам СО-3Р (или СО-3 по
ГОСТ 14782) или СО-2Р, а положение плоскости падения волны - по образцам СО-3Р или СО-3 (по
ГОСТ 14782).
5.7 Угол ввода ультразвуковых колебаний следует измерять по образцам СО-3Р или СО-2Р, или СО-2.
5.8 Погрешность глубиномера следует проверять по образцам СО-3Р или СО-2Р, или СО-2.
5.9 Мертвую зону при контроле эхо-методом на частоте более 1,5 МГц следует проверять по образцам СО-3Р или СО-2Р, а при контроле на частоте менее 1,5 МГц - по образцам, указанным в технической документации на контроль.
5.10 Минимальный условный размер дефекта, подлежащий фиксации при заданной скорости контроля, следует проверять на образце в соответствии с технической документацией на контроль. Допускается при проверке применять радиотехническую аппаратуру, имитирующую сигналы от дефектов заданного условного размера.
5.11 Длительность зондирующего импульса следует определять с помощью высокочастотного осциллографа измерением длительности эхо-сигнала на уровне 0,1.
Допускается определять длительность эхо-импульса на образце в соответствии с
приложением В.
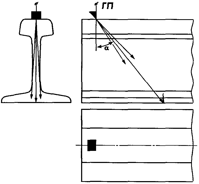
6.1 Контроль рельсов проводят эхо- или зеркальным, или дельта-, или зеркально-теневым методами, или комбинацией методов продольными

и поперечными

волнами.
Схемы включения и расположения преобразователей приведены в таблицах 1 (
схемы 1 -
14), 2 (
схемы 1 -
8) и 3 (
схемы 1 -
4), где Г - вывод к генератору; П - вывод к приемнику.
При применении наклонного преобразователя, работающего по совмещенной схеме, прозвучивание осуществляют последовательно в двух взаимно противоположных направлениях.
Допускается применять наклонные преобразователи, с помощью которых осуществляют прозвучивание в одном направлении.
6.2 Контроль головки рельса (таблица 1) осуществляют эхо- (
схемы 1,
4,
13) и зеркальным (
схема 2) методами с помощью наклонных преобразователей.
Таблица 1
Контроль головки рельса
Схема прозвучивания | Временные диаграммы | Метод контроля | Информативный сигнал | Схема включения ПЭП | Параметры схемы прозвучивания | Примечание |
| | Эхо-метод | Эхо-сигнал | Совмещенная | | Контроль прямым, однократно, двукратно и т.д. отраженным лучом |
| | Зеркальный | Зеркальный | Раздельная | B | Схема некритична к перемене местами преобразователей |
3 | | Сочетание эхо- и зеркального методов | Эхо-сигнал | Совмещенная | B | Возможно включение обоих преобразователей в совмещенном режиме |
Зеркальный | Раздельная |
| | Эхо-метод | Эхо-сигнал | Раздельная | B X | Схема некритична к перемене местами преобразователей. Возможно включение ПЭП по раздельносовмещенной и совмещенной схемам |
5 | | Зеркальнотеневой | Донный | Раздельная | B | Возможно сочетание с эхо-методом для одного или обоих ПЭП. В этом случае соответствующие ПЭП включают по совмещенной схеме |
6 | | Эхо-метод | Эхо-сигнал | Раздельная | B X | Схема некритична к перемене местами преобразователей |
7 | | Зеркально-теневой | Прошедший | Раздельная | B | - |
8 | | Зеркально-теневой | Прошедший | Раздельная | B | - |
9 | | Эхо-метод в сочетании с зеркально-теневым | Эхо- и донный сигналы | Совмещенная | X | Возможно применение РС-ПЭП. В этом случае схема включения ПЭП раздельная |
10 | | Эхо-метод в сочетании с зеркально-теневым | Эхо- и первый донный сигналы | Раздельная | B X | - |
11 | | Теневой | Прошедший | Раздельная | X | - |
12 | | Зеркальный | Зеркально-отраженный | Раздельная | B X | Схема некритична к перемене местами преобразователей |
| | Эхо-метод | Эхо-сигнал | Раздельная | - | При возбуждении ультразвуковых колебаний частотой 1,5 МГц |
| | Дельта-метод | Дифрагированные сигналы для двух положений искательной системы | Раздельная | | Для определения размеров и типа дефекта |
При частоте ультразвуковых колебаний более 1,5 МГц преобразователь включают по совмещенной или раздельной, или раздельно-совмещенной схемам и ориентируют вдоль оси или относительно продольной оси рельса в стороны его боковых граней на угол

. Номинальные значения угла ввода

и угла

должны указываться в технической документации на контроль.
При частоте ультразвуковых колебаний менее 1,5 МГц преобразователи включают по раздельной схеме и располагают на поверхности катания головки или на боковых поверхностях головки рельса в последовательности, указанной на
схеме 13 в таблице 1.
Допускается применять для контроля головки рельса эхо-метод в сочетании с зеркально-теневым методом или зеркально-теневой, или теневой методы.
6.3 Контроль шейки рельса и подошвы в зоне проекции шейки (таблица 2) осуществляют эхо-методом (
схемы 1,
2) и, вне зоны сварного стыка, - зеркально-теневым методом (
схемы 2,
3,
4) по первому или второму донным сигналам, или по отношению амплитуд донных сигналов с помощью прямого или наклонных преобразователей, включенных по совмещенной или раздельной схемам, или теневым методом (
схема 7).
Таблица 2
Контроль шейки рельса и ее продолжения в головку и подошву
Схема прозвучивания | Временные диаграммы | Метод контроля | Информативный сигнал | Схема включения ПЭП | Параметры схемы прозвучивания | Примечание |
| | Эхо-метод | Эхо-сигнал | Совмещенная | | - |
| | Зеркально-теневой | I, II и т.д. донный либо отношение донных | Раздельная | | Возможно применение РС-ПЭП. В этом случае схема включения преобразователей раздельная |
Эхо-метод | Эхо-сигнал | Совмещенная |
| | Зеркально-теневой | Донный | Раздельная | B | Возможно использование волн l- и t-типа |
| | Зеркально-теневой | Донные, обусловленные волнами: - продольной; - поперечной | Раздельная | B1 B2 | - |
5 | | Зеркально-теневой в сочетании с эхо-методом | Донный | Раздельная | B | - |
Эхо-сигнал | Совмещенная |
6 | | Зеркально-теневой в сочетании с эхо-методом | Донный | Раздельно-совмещенная | B | - |
Эхо-сигнал |
| | Теневой | Прошедший | Раздельная | | |
| | Дельта-метод | Дифрагированные сигналы: - от дефекта; - от дефекта с переотражением от подошвы | Раздельная | | Для определения типа дефекта |
Протяженность зоны сварного стыка, не контролируемой зеркально-теневым или теневым методами, должна быть указана в технической документации на контроль.
Допускается контроль эхо- или (и) зеркально-теневым методами при расположении преобразователей на боковых поверхностях шейки.
Шейку рельса на отсутствие трещин, развивающихся от болтовых отверстий (таблица 3), контролируют эхо-методом (
схемы 2,
3,
4) или (и) зеркально-теневым методом (
схема 1) с помощью одного или двух преобразователей, работающих по схеме ультразвукового калибра.
Таблица 3
Контроль шейки рельса на отсутствие трещин,
развивающихся от болтовых отверстий
Схема прозвучивания | Временные диаграммы | Метод контроля | Информативный сигнал | Схема включения ПЭП | Параметры схемы прозвучивания | Примечание |
| | Зеркально-теневой ("УЗ калибр") | Донный | Совмещенная | B | Признаком обнаружения дефекта является одновременное пропадание донных сигналов обоих ПЭП |
| | Эхо-метод | Эхо-сигнал | Совмещенная | B | Признаком обнаружения дефекта является прием эхо-сигналов соответственно от стенки болтового отверстия и углового отражателя, образованного трещиной |
| | Эхо-метод | Эхо-сигнал | Совмещенная | | Признаком обнаружения дефекта является прием двух эхо-сигналов (от стенки болтового отверстия и углового отражателя, образованного трещиной) с временным сдвигом сигналов относительно друг друга |
| | Эхо-метод | Эхо-сигнал | Совмещенная |  ,  ;  ,  , |
6.4 Подошвы рельса в зоне проекции шейки на отсутствие поперечных трещин контролируют эхо-методом с помощью наклонного преобразователя, включенного по совмещенной схеме (
схема 1 таблицы 2), с поверхности катания головки рельса. Угол ввода ультразвукового луча в металл должен быть 45°

2°.
Контроль отдельных участков подошвы рельсов допускается проводить с поверхности пера или подошвы снизу эхо-методом под другими углами ввода ультразвукового луча.
6.5 Контроль рельсов в области сварных стыков проводят после их полной механической и термической обработки эхо-методом с помощью наклонного преобразователя, включенного по совмещенной схеме, в соответствии с
ГОСТ 14782.
Угол ввода ультразвукового луча в металл должен быть 50° - 70°. Номинальное значение угла ввода указывают в технической документации на контроль.
Контроль рельсов в области головки, шейки и подошвы сварного стыка допускается проводить по схемам, отличающимся от указанных в
6.3,
6.4 и
6.5.
6.6 Метод, схема включения преобразователей, основные параметры, способ возбуждения ультразвуковых колебаний, схема сканирования, рекомендации по разделению ложных сигналов и сигналов от дефектов, а также контролируемые зоны в сечении рельса и неконтролируемые участки рельсов должны быть указаны в технической документации на контроль.
7 Обработка и оформление результатов контроля
7.1 Оценку сплошности металла рельсов проводят по результатам анализа информации, получаемой при контроле одним или комплексом применяемых методов.
7.2 Измеряемыми характеристиками для выявленных дефектов являются:
при эхо-зеркальном и дельта-методах:
а) коэффициент выявляемости дефекта (относительная максимальная амплитуда эхо-сигнала от дефекта) или минимальная условная чувствительность, при которой обнаруживают дефект;
б) координаты дефекта по длине и сечению рельса;
в) условный размер дефекта по длине рельса при заданной чувствительности контроля;
при зеркально-теневом и теневом методах:
г) коэффициент выявляемости дефекта или минимальная условная чувствительность, при которой обнаруживают дефект;
д) условный размер дефекта по длине рельса при заданной чувствительности;
е) координата дефектного сечения по длине рельса.
7.3 Дополнительной информацией о выявленном дефекте при контроле наклонными преобразователями эхо-методом является отношение условной ширины

к условной высоте

дефекта, а зеркально-теневым - глубина расположения дефекта и соотношение значений

и

условной ширины выявленного дефекта.
Условную ширину и условную высоту дефекта измеряют при тех же крайних положениях преобразователя в соответствии с
приложением Б.
Необходимость и методика измерения характеристик дефекта должны устанавливаться в технической документации на контроль.
7.4 Результаты контроля фиксируют в журнале или протоколе, или другом документе, в котором должны быть указаны:
- техническая документация, в соответствии с которой проводился контроль;
- тип дефектоскопа и его номер по системе нумерации предприятия-изготовителя;
- характеристики контролируемого объекта и участки, не подвергавшиеся контролю;
- результаты контроля;
- дата контроля;
- фамилия лица, проводившего контроль или расшифровку результатов контроля.
Форма представления результатов контроля оговаривается в технической документации на контроль.
7.5 Рельс, в котором обнаружен дефект, маркируют в соответствии с технической документацией на контроль.
8 Требования безопасности
8.1 При проведении работ по ультразвуковому контролю рельсов дефектоскопист должен руководствоваться
ГОСТ 12.1.001,
ГОСТ 12.1.003,
ГОСТ 12.2.003,
ГОСТ 12.3.002, Правилами технической эксплуатации электроустановок потребителей и Правилами технической безопасности при эксплуатации электроустановок потребителей, утвержденными Госэнергонадзором, и Правилами техники безопасности и производственной санитарии при производстве работ в путевом хозяйстве, утвержденными МПС.
8.2 Дополнительные требования по технике безопасности и пожарной безопасности устанавливают в технической документации на контроль.
(справочное)
Таблица А.1
Определения терминов, использованных в настоящем стандарте
Термин | Определение |
Условная чувствительность контроля эхо-методом | Чувствительность, характеризуемая размерами и глубиной залегания выявляемых искусственных отражателей, выполненных в стандартном образце из материала с определенными акустическими свойствами. При ультразвуковом контроле рельсов условную чувствительность определяют по стандартному образцу СО-1Р (или СО-1) или по стандартному образцу СО-3Р, или СО-2, или СО-2Р. Условную чувствительность по стандартному образцу СО-1Р (СО-1) выражают наибольшей глубиной расположения цилиндрического отражателя в миллиметрах, фиксируемого индикаторами дефектоскопа. Условную чувствительность по стандартному образцу СО-3Р или СО-2, или СО-2Р выражают разностью в децибелах между показанием аттенюатора при данной настройке дефектоскопа и показанием, соответствующим максимальному ослаблению, при котором цилиндрическое отверстие диаметром 6Н14 еще фиксируют индикаторы дефектоскопа. |
Условная чувствительность контроля зеркально-теневым методом | Чувствительность, характеризуемая максимальным значением ослабления донного сигнала на входе приемного тракта, которое еще четко фиксируют индикаторы дефектоскопа. |
Эквивалентная чувствительность контроля | Чувствительность, характеризуемая размерами и глубиной расположения естественных отражателей (торец рельса; угловой отражатель, образованный торцом рельса; болтовое или другое отверстие в рельсе) или искусственных отражателей, выполненных в образце рельса. |
Коэффициент выявляемости дефекта при зеркально-теневом методе | Коэффициент, соответствующий максимальному ослаблению амплитуды первого донного сигнала, вызываемому дефектом. |
Коэффициент выявляемости дефекта при эхо-методе | Коэффициент, соответствующий отношению максимальной амплитуды эхо-сигнала от дефекта к максимальной амплитуде эхо-сигнала от цилиндрического отверстия диаметром 6 мм на глубине 44 мм в стандартном образце СО-2 (СО-2Р) или СО-3Р. |
Условный размер дефекта по длине рельса | Размер в миллиметрах, соответствующий длине зоны перемещения преобразователя вдоль рельса, в пределах которой фиксируют сигнал от дефекта при заданной условной чувствительности дефектоскопа. |
Условная ширина дефекта | Размер в миллиметрах, соответствующий длине зоны между крайними положениями наклонного преобразователя, перемещаемого в плоскости падения ультразвуковой волны, в пределах которой фиксируют сигнал от дефекта при заданной условной чувствительности дефектоскопа. |
Условная высота дефекта | Размер, соответствующий разности значений глубины расположения дефекта, измеренных в крайних положениях наклонного преобразователя, перемещаемого в плоскости падения ультразвуковой волны, в пределах которого фиксируют сигнал от дефекта при заданной условной чувствительности дефектоскопа. |
Условная протяженность дефекта | Размер в миллиметрах, соответствующий длине зоны между крайними положениями наклонного преобразователя, перемещаемого вдоль плоскости, ориентированной перпендикулярно к плоскости падения ультразвуковой волны, в пределах которой фиксируют сигнал от дефекта при заданной условной чувствительности дефектоскопа. |
Стрела пьезоэлектрического преобразователя | Расстояние от точки выхода ультразвукового луча наклонного преобразователя до его передней грани. |
(обязательное)
ОБЩИЙ ВИД АТТЕСТАТ-ГРАФИКА
К СТАНДАРТНОМУ ОБРАЗЦУ ИЗ ОРГАНИЧЕСКОГО СТЕКЛА
Аттестат-график устанавливает связь условной чувствительности

в миллиметрах по исходному стандартному образцу СО-1 с условной чувствительностью

в децибелах по стандартному образцу СО-2 (или СО-2Р, или СО-3Р) и номером отражателя диаметром 10Н14 в аттестуемом образце СО-1Р при частоте ультразвуковых колебаний (2,5

0,2) МГц, температуре (20

5) °С и углах призмы

= 40°

1° для преобразователей конкретного типа.
На
рисунке Б.1 точками обозначен график для исходного образца СО-1Р. Для построения соответствующего графика к конкретному аттестуемому образцу СО-1Р, не соответствующему требованиям
4.4.1 настоящего стандарта, при указанных выше условиях определяют в децибелах разности

амплитуд

от отражателей N 20 и N 50 диаметром 10Н14 в аттестуемом образце и амплитуды

от отражателя диаметром 6Н14 на глубине 44 мм в образце СО-2 (или СО-2Р, или СО-3Р) по формулам:

,
где

- показание аттенюатора, соответствующее ослаблению эхо-сигнала от отверстия диаметром 6Н14 в образце СО-2 (СО-2Р или СО-3Р) до уровня, при котором оценивают условную чувствительность, дБ.

- показание аттенюатора, при котором амплитуда эхо-сигнала от исследуемого отверстия с номером
i в аттестуемом образце достигает уровня, при котором оценивают условную чувствительность, дБ.
Вычисленные значения

отмечают точками на поле графика и соединяют прямой линией (пример построения графика см. на рисунке Б.1).
Примеры применения аттестат-графика
Контроль проводят дефектоскопом с преобразователем частотой 2,5 МГц с углом призмы

= 40°, радиусом пьезоэлектрической пластины

= 6 мм, изготовленным в соответствии с техническими условиями.
Дефектоскоп укомплектован образцом СО-1Р, заводской номер, с аттестат-графиком (см. рисунок Б.1).
Примеры
1 - Технической документацией на контроль задана условная чувствительность 40 мм.
Указанная чувствительность будет воспроизведена, если настроить дефектоскоп по отверстию N 45 в образце СО-1Р, заводской номер.
2 - Технической документацией на контроль задана условная чувствительность 14 дБ. Указанная чувствительность будет воспроизведена, если настроить дефектоскоп по отверстию N 35 в образце СО-1Р, заводской номер.
(справочное)
ОБРАЗЕЦ ДЛЯ ИЗМЕРЕНИЯ ЧАСТОТЫ УЛЬТРАЗВУКОВЫХ КОЛЕБАНИЙ
И ДЛИТЕЛЬНОСТИ ИМПУЛЬСА НАКЛОННОГО ПРЕОБРАЗОВАТЕЛЯ
(С УГЛОМ ПРИЗМЫ БОЛЬШЕ ПЕРВОГО
И МЕНЬШЕ ВТОРОГО КРИТИЧЕСКОГО)
--------------------------------
<*> Размеры для справок.
Рисунок В.1
Примечания
1 Угол

определяют угломером или рассчитывают по значениям

и

, измеренным с точностью не менее 0,1 мм;

; значение

маркируют на образце.
2 Миллиметровую шкалу гравируют или наклеивают. Нуль миллиметровой шкалы должен совпадать с плоскостью углового отражателя с погрешностью не более

0,1 мм.
3 Линию, проходящую через проекцию точки пересечения угловых отражателей перпендикулярно к поверхности Б, гравируют; отклонение линии гравировки от заданного положения - не более

0,1 мм.
Значения частоты упругих колебаний

, Гц, длины волны

, мм, и длительности импульса

, с, вычисляют по формулам:

,

,

,
где

- измеренное значение скорости распространения сдвиговой волны в материале образца, мм/с; при невозможности измерить значение

его принимают равным

мм/с;

- истинное значение угла

... °;

- максимальное расстояние от линии, проходящей через проекцию точки пересечения угловых отражателей, до линии, проходящей перпендикулярно к поверхности Б через середину (точку ввода луча) преобразователя, установленного в положение, при котором задний фронт первого эхо-сигнала еще пересекается с передним фронтом второго эхо-сигнала от угловых отражателей на уровне линии развертки, мм;

- среднее значение расстояний между соседними положениями преобразователя, при которых провал между двумя эхо-сигналами, наблюдаемыми на экране электронно-лучевой трубки, максимален, мм;

- расстояние от проекции углового отражателя на рабочую поверхность образца до точки выхода при установке преобразователя в положение, при котором амплитуда эхо-сигнала от отражателя максимальна.