Главная // Актуальные документы // ГОСТ (Государственный стандарт)
СПРАВКА
Источник публикации
М.: ФГБУ "РСТ", 2022
Примечание к документу
Отдельные положения данного документа включены в Перечень международных и региональных (межгосударственных) стандартов, а в случае их отсутствия - национальных (государственных) стандартов, в результате применения которых на добровольной основе обеспечивается соблюдение требований технического регламента Таможенного союза "О безопасности продукции, предназначенной для детей и подростков" (ТР ТС 007/2011), и отдельные положения данного документа включены в Перечень международных и региональных (межгосударственных) стандартов (п. п. 77, 84, 86), а в случае их отсутствия - национальных (государственных) стандартов, содержащих правила и методы исследований (испытаний) и измерений, в том числе правила отбора образцов, необходимые для применения и исполнения требований технического регламента Таможенного союза "О безопасности продукции, предназначенной для детей и подростков" (ТР ТС 007/2011) и осуществления оценки соответствия объектов технического регулирования (Решение Коллегии Евразийской экономической комиссии от 14.03.2023 N 31).

Текст данного документа приведен с учетом поправки, опубликованной в "ИУС", N 2, 2024.

Документ введен в действие с 01.01.2023.
Название документа
"ГОСТ 34870-2022. Межгосударственный стандарт. Соски детские. Технические условия"
(введен в действие Приказом Росстандарта от 19.10.2022 N 1155-ст)

"ГОСТ 34870-2022. Межгосударственный стандарт. Соски детские. Технические условия"
(введен в действие Приказом Росстандарта от 19.10.2022 N 1155-ст)


Содержание


Введен в действие
Приказом Федерального
агентства по техническому
регулированию и метрологии
от 19 октября 2022 г. N 1155-ст
МЕЖГОСУДАРСТВЕННЫЙ СТАНДАРТ
СОСКИ ДЕТСКИЕ
ТЕХНИЧЕСКИЕ УСЛОВИЯ
Baby pacifiers. Specifications
ГОСТ 34870-2022
МКС 83.140
Дата введения
1 января 2023 года
Предисловие
Цели, основные принципы и общие правила проведения работ по межгосударственной стандартизации установлены ГОСТ 1.0 "Межгосударственная система стандартизации. Основные положения" и ГОСТ 1.2 "Межгосударственная система стандартизации. Стандарты межгосударственные, правила и рекомендации по межгосударственной стандартизации. Правила разработки, принятия, обновления и отмены"
Сведения о стандарте
1 РАЗРАБОТАН Ассоциацией предприятий индустрии детских товаров "АИДТ" (Ассоциация "АИДТ")
2 ВНЕСЕН Межгосударственным техническим комитетом по стандартизации МТК 181 "Игрушки и товары для детства"
3 ПРИНЯТ Межгосударственным советом по стандартизации, метрологии и сертификации (протокол от 31 августа 2022 г. N 153-П)
За принятие проголосовали:
Краткое наименование страны по МК (ИСО 3166) 004-97
Код страны по МК (ИСО 3166) 004-97
Сокращенное наименование национального органа по стандартизации
Армения
AM
ЗАО "Национальный орган по стандартизации и метрологии" Республики Армения
Беларусь
BY
Госстандарт Республики Беларусь
Казахстан
KZ
Госстандарт Республики Казахстан
Киргизия
KG
Кыргызстандарт
Россия
RU
Росстандарт
Таджикистан
TJ
Таджикстандарт
Узбекистан
UZ
Узстандарт
4 Приказом Федерального агентства по техническому регулированию и метрологии от 19 октября 2022 г. N 1155-ст межгосударственный стандарт ГОСТ 34870-2022 введен в действие в качестве национального стандарта Российской Федерации с 1 января 2023 г.
5 ВВЕДЕН ВПЕРВЫЕ
Информация о введении в действие (прекращении действия) настоящего стандарта и изменений к нему на территории указанных выше государств публикуется в указателях национальных стандартов, издаваемых в этих государствах, а также в сети Интернет на сайтах соответствующих национальных органов по стандартизации.
В случае пересмотра, изменения или отмены настоящего стандарта соответствующая информация будет опубликована на официальном интернет-сайте Межгосударственного совета по стандартизации, метрологии и сертификации в каталоге "Межгосударственные стандарты"
1 Область применения
Настоящий стандарт распространяется на детские соски (далее - соски) из латекса, резины, термоэластопластов, силиконовых эластомеров: соски-пустышки и молочные соски (соски для кормления).
Молочные соски предназначены для кормления детей из бутылки, соски-пустышки - для удовлетворения сосательного рефлекса (сосательной потребности) у детей.
Настоящий стандарт не распространяется на соски, используемые в качестве медицинских изделий, предназначенных для недоношенных детей и детей с синдромом Пьера Робина.
2 Нормативные ссылки
В настоящем стандарте использованы нормативные ссылки на следующие межгосударственные стандарты:
ГОСТ 427 Линейки измерительные металлические. Технические условия
ГОСТ 6709 <1> Вода дистиллированная. Технические условия
--------------------------------
<1> В Российской Федерации действует ГОСТ Р 58144-2018.
ГОСТ 10350 Ящики деревянные для продукции легкой промышленности. Технические условия
ГОСТ 12580 Пленки латексные. Метод определения упругопрочностных свойств при растяжении
ГОСТ 14192 Маркировка грузов
ГОСТ 15150 Машины, приборы и другие технические изделия. Исполнения для различных климатических районов. Категории, условия эксплуатации, хранения и транспортирования в части воздействия климатических факторов внешней среды
ГОСТ 15846 Продукция, отправляемая в районы Крайнего Севера и приравненные к ним местности. Упаковка, маркировка, транспортирование и хранение
ГОСТ 18321 Статический контроль качества. Методы случайного отбора выборок штучной продукции <2>
--------------------------------
<2> В Российской Федерации действует ГОСТ Р 50779.12-2021 "Статистические методы. Статистический контроль качества. Методы случайного отбора выборок штучной продукции".
ГОСТ 18573 Ящики деревянные для продукции химической промышленности. Технические условия
ГОСТ 32506.1-2013 (EN 14350-1:2004) Предметы ухода за детьми. Соски детские молочные. Часть 1. Общие требования и методы испытаний
ГОСТ 34857 Соски детские. Определение агидола-2, цимата методом высокоэффективной жидкостной хроматографии
ГОСТ ISO 2859-1 <1> Статистические методы. Процедуры выборочного контроля по альтернативному признаку. Часть 1. Планы выборочного контроля последовательных партий на основе приемлемого уровня качества
--------------------------------
<1> В Российской Федерации действует ГОСТ Р ИСО 2859-1-2007.
ГОСТ EN 1400-2-2013 Предметы ухода за детьми. Соски детские. Часть 2. Физико-механические требования и методы испытаний
ГОСТ EN 1400-3-2013 Предметы ухода за детьми. Соски детские. Часть 3. Санитарно-химические требования и методы определений
ГОСТ EN 12868 Предметы ухода за детьми. Соски детские. Методы определения нитрозаминов и нитрозобразующих веществ
Примечание - При пользовании настоящим стандартом целесообразно проверить действие ссылочных стандартов и классификаторов на официальном интернет-сайте Межгосударственного совета по стандартизации, метрологии и сертификации (www.easc.by) или по указателям национальных стандартов, издаваемых в государствах, указанных в предисловии, или на официальных сайтах соответствующих национальных органов по стандартизации. Если на документ дана недатированная ссылка, то следует использовать документ, действующий на текущий момент, с учетом всех внесенных в него изменений. Если заменен ссылочный документ, на который дана датированная ссылка, то следует использовать указанную версию этого документа. Если после принятия настоящего стандарта в ссылочный документ, на который дана датированная ссылка, внесено изменение, затрагивающее положение, на которое дана ссылка, то это положение применяется без учета данного изменения. Если ссылочный документ отменен без замены, то положение, в котором дана ссылка на него, применяется в части, не затрагивающей эту ссылку.
3 Термины и определения
В настоящем стандарте применены следующие термины с соответствующими определениями:
3.1 соска для кормления (молочная соска): Изделие, заменяющее сосок груди матери, прикрепленное к бутылочке и предназначенное для кормления ребенка.
Примечание - Молочные соски подразделяют на фланцевые соски с прижимной фиксацией к горловине бутылки под кольцом и молочные соски с венчиком, фиксируемые за счет охвата горловины.
3.2 соска-пустышка: Изделие, предназначенное для удовлетворения сосательной потребности ребенка.
3.3 баллончик: Деталь соски-пустышки, закрепленная в нагубнике и предназначенная для размещения во рту ребенка.
3.4 эластичный баллончик: Часть соски, предназначенная для размещения во рту.
3.5 защитный диск (нагубник): Деталь, расположенная у венчика баллончика для предотвращения полного заглатывания соски в рот ребенка.
3.6 защитный колпачок: Деталь, закрывающая соску целиком во избежание негативного воздействия на нее.
3.7 шайба: Кольцевая деталь крепежа, подкладываемая между баллончиком и кольцом.
3.8 кольцо (головка): Деталь соски-пустышки, соединенная с нагубником пробкой или крышкой и предназначенная для облегчения удержания и использования соски-пустышки.
Примечание - Кольцо (головка) не является обязательной деталью соски-пустышки. Кольцо, головка или крышка могут быть одним целым с защитным диском или пробкой или могут быть отдельными компонентами, прикрепленными к защитному диску или пробке.
3.9 пробка: Деталь соски-пустышки, обеспечивающая крепление баллончика в центральном отверстии нагубника и кольца.
3.10 крышка: Деталь соски-пустышки, предотвращающая открытый доступ к пробке.
Примечание - Крышка не является обязательной деталью соски-пустышки. Кольцо, головка или крышка могут быть одним целым с защитным диском или пробкой или могут быть отдельными компонентами, прикрепленными к защитному диску или пробке.
3.11 вентиляционное отверстие: Отверстие в нагубнике соски-пустышки для обеспечения циркуляции воздуха вокруг рта ребенка и защиты кожи от мацераций.
3.12 венчик: Часть в основании соски в виде кольцевидного утолщения стенки соски, предназначенная для крепления к горловине бутылочки путем охватывания или фиксации баллончика в центральном отверстии нагубника.
3.13 фланец: Плоская часть стенки круглой формы в основании молочной соски, предназначенная для крепления соски к горловине бутылочки путем прижатия фланца резьбовой крышкой.
4 Конструкция сосок
4.1 Конструкции и примеры конструктивных особенностей сосок для кормления приведены на рисунках 1 - 4.
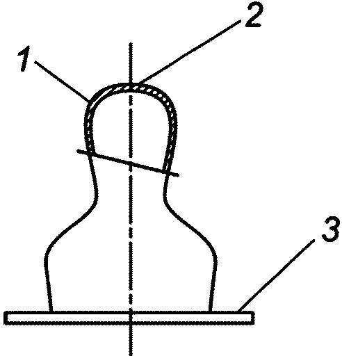
1 - баллончик; 2 - отверстие; 3 - фланец
Рисунок 1 - Фланцевая молочная соска
1 - баллончик; 2 - отверстие; 3 - венчик
Рисунок 2 - Молочная соска с венчиком
Рисунок 3 - Примеры конструктивных
особенностей молочных сосок
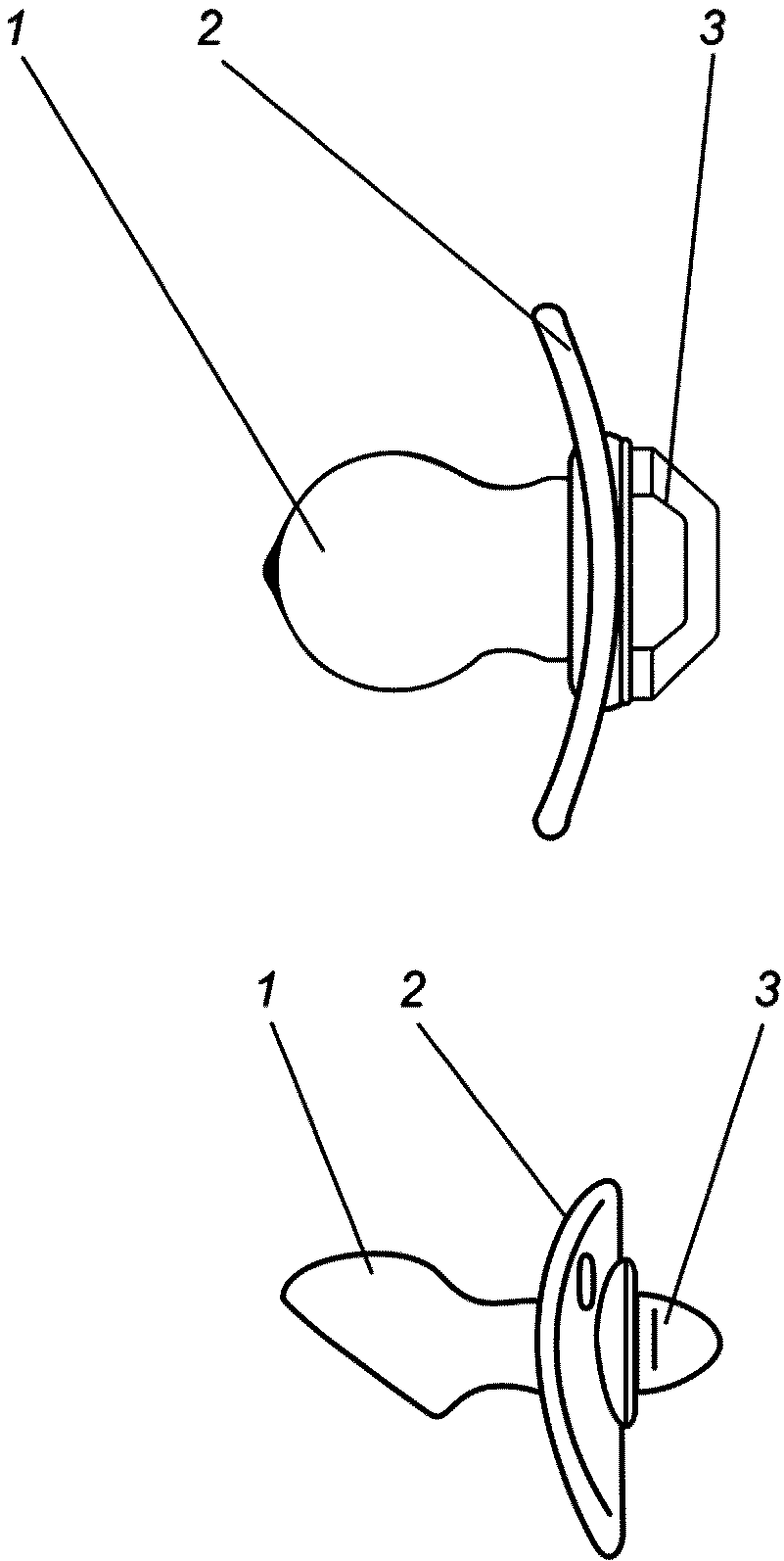
1 - молочная соска; 2 - защитный колпачок
Рисунок 4 - Соска с защитным колпачком
4.2 Конструкции и примеры конструктивных особенностей сосок-пустышек приведены на рисунках 5 - 11.
1 - баллончик; 2 - шайба; 3 - кольцо
Рисунок 5 - Соска-пустышка
1 - венчик; 2 - баллончик
Рисунок 6 - Баллончик соски-пустышки
1 - соска-пустышка; 2 - защитный колпачок
Рисунок 7 - Соска-пустышка с защитными колпачками
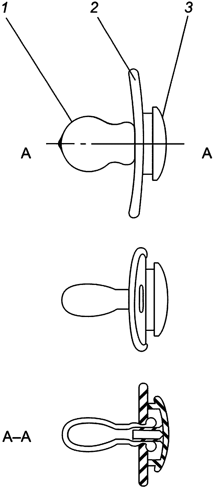
1 - баллончик; 2 - защитный диск; 3 - кольцо;
4 - пробка/крышка; 5 - поверхность защитного диска,
обращенная ко рту ребенка
Рисунок 8 - Соска-пустышка с кольцом
1 - баллончик; 2 - защитный диск (нагубник);
3 - пробка/головка
Рисунок 9 - Соска-пустышка с головкой
1 - баллончик; 2 - защитный диск; 3 - пробка; 4 - крышка;
5 - поверхность защитного диска, обращенная ко рту ребенка
Рисунок 10 - Соска-пустышка с комбинированной пробкой,
крышкой и головкой
1 - баллончик; 2 - защитный диск; 3 - пробка/крышка/головка
Рисунок 11 - Соска-пустышка с комбинированной пробкой,
крышкой и головкой
Соска-пустышка должна быть с нагубником, в центральном отверстии которого с помощью пробки закреплен баллончик. К пробке или крышке, закрывающей пробку, может крепиться кольцо.
Примечание - Некоторые или все части сосок-пустышек могут быть изготовлены из одного и того же материала и поэтому могут быть нераздельными и неразличимыми. Кольцо, головка или крышка могут быть одним целым с защитным диском или пробкой или могут быть отдельными компонентами, прикрепленными к защитному диску или пробке.
5 Технические требования
5.1 Основные характеристики
5.1.1 Соски должны быть изготовлены в соответствии с требованиями настоящего стандарта, конструкторской и технологической документации по техническим описаниям и образцам-эталонам, утвержденным в установленном порядке.
5.1.2 Соски и баллончики сосок-пустышек изготовляют из латекса, резины, силикона и эластопластов.
5.1.3 Соски и баллончики сосок-пустышек должны иметь гладкую без швов наружную и внутреннюю поверхности с отсутствием трещин, включений и открытых пузырей.
Допускается наличие закрытых пузырей диаметром более 1 мм, но не более толщины стенки соски, в количестве не более 3 шт.
5.1.4 Внутренняя поверхность сосок не должна слипаться.
5.1.5 Соски должны быть устойчивы к пятикратной дезинфекции в кипящей дистиллированной воде. После пятикратной дезинфекции в кипящей дистиллированной воде соски должны соответствовать требованиям 5.1.3 и 5.1.4.
При этом изменение наружного полупериметра сосок по венчику после пятикратной дезинфекции в кипящей дистиллированной воде должно быть не более 1,0 мм.
5.1.6 Стенки сосок молочных и баллончиков сосок-пустышек должны быть устойчивы к проколу и трехкратному растяжению до разрыва.
5.1.7 По показателям безопасности соски должны соответствовать требованиям [1].
Наличие привкуса водной вытяжки не допускается.
5.1.8 Соски должны выдерживать температуру воздуха от минус 10 °C до плюс 40 °C и относительную влажность воздуха до 100% при 25 °C.
5.1.9 Прочность соединения кольца с баллончиком в соске-пустышке должна быть не менее 40 Н.
5.1.10 Средний срок службы сосок - не более месяца при числе циклов дезинфекции в кипящей дистиллированной воде не менее 60.
5.1.11 Соски изготовляют в климатическом исполнении О категории 2 по ГОСТ 15150.
5.2 Маркировка
5.2.1 Маркировка должна соответствовать требованиям [1] и настоящего стандарта.
5.2.2 Маркировку наносят на индивидуальную упаковку, содержащую:
- наименование страны, где изготовлена продукция;
- наименование и местонахождение изготовителя (уполномоченного изготовителем лица), импортера, дистрибьютора;
- наименование изделия;
- дату изготовления (месяц, год);
- единый знак обращения на рынке;
- гарантийный срок службы;
- товарный знак (при наличии);
- инструкцию по использованию, хранению, гигиеническому уходу за изделием.
Если изделие изготовлено из натурального латекса, на упаковке должна быть указана следующая фраза: "Изделие изготовлено из натурального латекса, который может вызвать аллергическую реакцию".
5.3 Упаковка
5.3.1 На каждую транспортную упаковку наклеивают ярлык, на котором должны быть указаны:
- наименование изготовителя и (или) его товарный знак;
- наименование изделия;
- количество сосок в коробке;
- дата выпуска (месяц, год);
- номер партии;
- единый знак обращения на рынке.
5.3.2 Транспортную упаковку маркируют по ГОСТ 14192 и дополнительно указывают наименование изделия и количество сосок.
5.3.3 При междугородных перевозках картонные коробки с сосками должны быть уложены в деревянные ящики по ГОСТ 18573, ГОСТ 10350.
Соски, упакованные в коробки, допускается транспортировать без упаковывания в деревянные ящики.
Транспортирование сосок в железнодорожных контейнерах и при внутригородских перевозках допускается в картонных коробках.
6 Правила приемки
6.1 Соски принимают партиями. Партией считают количество сосок одного типа, изготовленное за сутки, но не более 500 000 шт., сопровождаемое одним документом о качестве.
6.2 Для проверки соответствия качества сосок требованиям настоящего стандарта проводят приемо-сдаточные и периодические испытания.
Приемо-сдаточные испытания проводят в соответствии с ГОСТ ISO 2859-1 по двухступенчатым планам нормального контроля (см. таблицу 1).
Таблица 1
Наименование проверяемого показателя
Номер пункта технических требований
Уровень контроля
Приемочный уровень качества AQL, %
Прочность соединения кольца с баллончиком в соске-пустышке
S-3
1,5
Внешний вид
II
1,5
ИС МЕГАНОРМ: примечание.
В официальном тексте документа, видимо, допущена опечатка: таблица 2 отсутствует. Возможно, имеется в виду таблица 1.
Объем выборки сосок от партии, приемочное число Ac и браковочное число определяют по ГОСТ ISO 2859-1 в зависимости от объема предъявляемой на контроль партии, исходя из приведенных в таблице 2 уровня контроля и приемочного уровня качества AQL.
Правила отбора единиц продукции в выборку - по ГОСТ 18321. После проведения первой ступени плана контроля партию сосок считают соответствующей требованиям, если число дефектных сосок в выборке менее или равно приемочному числу для первой ступени контроля, и не соответствующей требованиям, если число дефектных сосок более браковочного числа или равно ему для первой ступени контроля (в этом случае партия бракуется).
К контролю на второй ступени переходят, если число дефектных сосок в выборке для первой ступени контроля более Ac и менее Re.
После проведения второй ступени контроля партию считают соответствующей требованиям, если общее число дефектных сосок менее или равно Ac для второй ступени плана контроля, и не соответствующей требованиям, если общее число дефектных сосок равно или более Re для второй ступени плана контроля (в этом случае партия бракуется).
6.3 Периодическим испытаниям подвергают партии сосок, прошедшие приемо-сдаточные испытания.
Показатели по 5.1.4, 5.1.6, 5.2, 5.3 проверяют один раз в месяц на 0,01% сосок от партии, но не менее чем на 25 шт., а по 5.1.8 - при изменении рецептуры и технологии изготовления.
При получении неудовлетворительных результатов испытаний хотя бы по одному из перечисленных пунктов по нему проводят повторные испытания на удвоенном количестве сосок.
Результаты повторных испытаний распространяют на всю партию.
При неудовлетворительных результатах повторных периодических испытаний их переводят в категорию приемо-сдаточных до получения положительных результатов не менее чем для трех партий подряд, после чего этот вид испытания снова переводят в периодические.
6.4 Изготовитель оставляет на хранение в течение гарантийного срока хранения по 40 шт. сосок и по 10 шт. образцов от каждой партии и представляет их для испытаний при возникновении спора между изготовителем и потребителем.
7 Методы контроля
7.1 Внешний вид (в части гладкости поверхности, отсутствия трещин, открытых пузырей), маркировку и упаковку сосок проверяют визуально. Диаметр закрытых пузырей измеряют измерительной линейкой по ГОСТ 427 с ценой деления 1 мм и пределами измерения 0 - 300 мм.
7.2 Для определения отсутствия слипаемости внутренней поверхности сосок перед пятикратной дезинфекцией в кипящей дистиллированной воде у молочной соски или соски-пустышки отрезают венчик и кладут на соску груз массой (1,0 +/- 0,1) кг на (5,0 +/- 0,5) мин. После снятия груза через 1,0+0,2 мин стенки соски не должны слипаться.
7.3 Устойчивость сосок к пятикратной дезинфекции в кипящей дистиллированной воде определяют опусканием их в кипящую дистиллированную воду по ГОСТ 6709 и кипячением в течение 30 мин. Испытания проводят пять раз с перерывом между кипячением в течение 10 мин. Затем соски высушивают при 70 °C в течение 120 мин и выдерживают в обычных погодных условиях по ГОСТ 15150 не менее 6 ч. После пятикратной дезинфекции сосок в кипящей дистиллированной воде их внешний вид определяют по 7.1, отсутствие слипаемости внутренней поверхности сосок по 7.2.
Условную прочность при растяжении, остаточное удлинение при разрыве и относительное остаточное удлинение после разрыва определяют по ГОСТ 12580.
7.4 Устойчивость сосок к воздействию климатических факторов (5.1.8) определяют путем последовательного выдерживания упакованных сосок в испытательной камере при следующих условиях:
- температуре воздуха минус 10 °C в течение 4 ч с последующей выдержкой в нормальных климатических условиях по ГОСТ 15150 в течение 4 ч;
- температуре воздуха плюс 40 °C в течение 4 ч с последующей выдержкой в нормальных климатических условиях по ГОСТ 15150 в течение 4 ч;
- относительной влажности воздуха (98 +/- 2)% при температуре воздуха 25 °C в течение 48 ч с последующей выдержкой в нормальных климатических условиях по ГОСТ 15150 в течение 24 ч.
После испытания соски должны соответствовать требованиям 5.1.
7.5 Для определения прочности соединения кольца с баллончиком в соске-пустышке (5.1.9) ее вставляют в зажимы разрывной машины (баллончик - в верхний зажим, кольцо - в нижний), обеспечивающей измерение усилия при растяжении с погрешностью не более 1,0% измеряемой величины. Проверяют нулевую установку приборов и устанавливают скорость раздвижения зажимов 50 - 100 мм/мин.
В момент разрушения соски-пустышки (отделения баллончика от кольца) фиксируют усилие разрушения. Соска-пустышка считается выдержавшей испытания, если усилие разрушения будет не менее 40 Н (4 кгс).
7.6 Устойчивость к проколу определяют по ГОСТ 32506.1-2013 (подраздел 6.2), к трехкратному растяжению до разрыва - по ГОСТ 32506.1-2013 (подраздел 6.3).
7.7 Испытания на крепление головки, пробки, крышки проводят по ГОСТ EN 1400-2-2013 (пункт 6.2.4).
7.8 Определение меркаптобензотиазала (MBT) и антиоксидантов проводят по ГОСТ EN 1400-3-2013 (подраздел 5.4).
7.9 Определение содержания летучих веществ проводят в соответствии с ГОСТ EN 1400-3-2013 (подраздел 5.5).
7.10 Определение вредных для здоровья химических веществ, установленных в [1], проводят в соответствии с нормативными документами, включенными в [2], действующими на территории государства, принявшего стандарт.
7.10.1 Определение миграции N-нитрозаминов и N-нитрозобразующих проводят в соответствии с ГОСТ EN 12868.
7.10.2 Определения агидола-2, цимата проводят в соответствии с ГОСТ 34857 или нормативными документами, включенными в [2], действующими на территории государства, принявшего стандарт.
8 Транспортирование и хранение
8.1 Соски транспортируют всеми видами транспорта в крытых транспортных средствах в соответствии с правилами перевозки грузов, действующими на данном виде транспорта.
8.2 Транспортирование в районы Крайнего Севера и приравненные к ним местности - по ГОСТ 15846.
8.3 Соски хранят в упакованном виде в закрытом складском помещении при температуре от 0 °C до 25 °C и относительной влажности не более 80% на расстоянии не менее 1 м от нагревательных приборов. Соски должны быть защищены от действия прямых солнечных лучей.
8.4 Хранение сосок рядом с маслами, кислотами, щелочами и другими веществами, разрушающими резину, не допускается.
9 Инструкция по использованию, хранению, гигиеническому уходу за изделием
9.1 Инструкция по использованию, хранению, гигиеническому уходу за изделием должна содержать информацию:
- о безопасном использовании;
- не менее одном способе обработки;
- недопустимых методах обработки, хранения и использования, которые могут повредить соску.
9.2 Информацию о безопасном использовании представляют в следующем виде:
Для безопасности Вашего ребенка
ПРЕДУПРЕЖДЕНИЕ!
"Не используйте молочную соску (для кормления) вместо соски-пустышки"
Примечание - Рекомендуется приводить информацию об аллергических реакциях (см. 5.2.2).
9.3 Дополнительно в инструкции по использованию, хранению, гигиеническому уходу за изделием может быть указано следующее:
- "Перед использованием тщательно осмотрите соску. Растяните соску в разные стороны. Не используйте соску, если обнаружили какое-либо повреждение";
- "Не оставляйте соску под воздействием прямых солнечных лучей или нагревательных приборов, или в дезинфицирующем растворе больше установленного времени, так как это приведет к преждевременному разрушению соски";
- "Перед использованием опустите в кипящую воду на 5 мин".
Примечание - Указанные предупреждения применяют при необходимости. Допускается другое изложение предупреждений.
9.4 В инструкции по использованию, хранению, гигиеническому уходу за изделием также может быть представлена следующая информация:
- "Перед первым использованием соску следует прокипятить в течение 5 мин, затем ее охладить и удалить попавшую в нее воду. Это необходимо для соблюдения гигиены";
- "Перед каждым использованием соску следует мыть";
- "Не следует смачивать соску в сладкой жидкости или в лекарственных препаратах, это может привести к разрушению зубов у ребенка";
- "В целях безопасности и соблюдения правил гигиены соску следует менять один раз в месяц".
БИБЛИОГРАФИЯ
[1]
Технический регламент Таможенного союза
О безопасности продукции, предназначенной для детей и подростков
[2]
Перечень документов в области стандартизации, содержащих правила и методы исследований (испытаний) и измерений, в том числе правила отбора образцов, необходимые для применения и исполнения технического регламента Таможенного союза "О безопасности продукции, предназначенной для детей и подростков" (ТР ТС 007/2011) и осуществления оценки соответствия объектов технического регулирования, утвержденный Решением Комиссии Таможенного союза от 23 сентября 2011 г. N 797
УДК 615.477.84:006.354
МКС 83.140
Ключевые слова: детские соски, технические условия, соска-пустышка, молочная соска, соска для кормления, технические требования, маркировка, упаковка, методы испытаний, транспортирование, хранение