Главная // Актуальные документы // ГОСТ (Государственный стандарт)
СПРАВКА
Источник публикации
М.: Стандартинформ, 2016
Примечание к документу
Документ утратил силу с 01.10.2024 в связи с изданием Приказа Росстандарта от 29.09.2023 N 1021-ст. Взамен введен в действие ГОСТ 34992-2023.

Отдельные положения данного документа включены в Перечень международных и региональных (межгосударственных) стандартов, а в случае их отсутствия - национальных (государственных) стандартов, в результате применения которых на добровольной основе обеспечивается соблюдение требований технического регламента Таможенного союза "О безопасности продукции, предназначенной для детей и подростков" (ТР ТС 007/2011), и отдельные положения данного документа включены в Перечень международных и региональных (межгосударственных) стандартов, а в случае их отсутствия - национальных (государственных) стандартов, содержащих правила и методы исследований (испытаний) и измерений, в том числе правила отбора образцов, необходимые для применения и исполнения требований технического регламента Таможенного союза "О безопасности продукции, предназначенной для детей и подростков" (ТР ТС 007/2011) и осуществления оценки соответствия объектов технического регулирования (Решение Коллегии Евразийской экономической комиссии от 14.03.2023 N 31).

Документ введен в действие с 01.01.2015.
Название документа
"ГОСТ 32506.1-2013 (EN 14350-1:2004). Межгосударственный стандарт. Предметы ухода за детьми. Соски детские молочные. Часть 1. Общие требования и методы испытаний"
(введен в действие Приказом Росстандарта от 22.11.2013 N 1854-ст)

"ГОСТ 32506.1-2013 (EN 14350-1:2004). Межгосударственный стандарт. Предметы ухода за детьми. Соски детские молочные. Часть 1. Общие требования и методы испытаний"
(введен в действие Приказом Росстандарта от 22.11.2013 N 1854-ст)


Содержание


Введен в действие
Приказом Федерального агентства
по техническому регулированию
и метрологии
от 22 ноября 2013 г. N 1854-ст
МЕЖГОСУДАРСТВЕННЫЙ СТАНДАРТ
ПРЕДМЕТЫ УХОДА ЗА ДЕТЬМИ. СОСКИ ДЕТСКИЕ МОЛОЧНЫЕ
ЧАСТЬ 1
ОБЩИЕ ТРЕБОВАНИЯ И МЕТОДЫ ИСПЫТАНИЙ
Child use and care articles. Feeding teats for babies
and young children. Part 1. General requirements
and test methods
(EN 14350-1:2004, MOD)
ГОСТ 32506.1-2013
(EN 14350-1:2004)
МКС 83.140
Дата введения
1 января 2015 года
Предисловие
Цели, основные принципы и порядок проведения работ по межгосударственной стандартизации установлены ГОСТ 1.0-92 "Межгосударственная система стандартизации. Основные положения" и ГОСТ 1.2-2009 "Межгосударственная система стандартизации. Стандарты межгосударственные, правила и рекомендации по межгосударственной стандартизации. Правила разработки, принятия, применения, обновления и отмены"
Сведения о стандарте
1 ПОДГОТОВЛЕН Обществом с ограниченной ответственностью Научно-испытательный центр "Резина и полимерные изделия" (ООО НИЦ "Резина и полимерные изделия"), Техническим комитетом по стандартизации ТК 160 "Продукция нефтехимического комплекса" на основе собственного аутентичного перевода на русский язык стандарта, указанного в п. 4
2 ВНЕСЕН Федеральным агентством по техническому регулированию и метрологии
3 ПРИНЯТ Межгосударственным советом по стандартизации, метрологии и сертификации (протокол от 14 ноября 2013 г. N 44)
За принятие проголосовали:
Краткое наименование страны по МК (ИСО 3166) 004-97
Код страны по МК (ИСО 3166) 004-97
Сокращенное наименование национального органа по стандартизации
Армения
AM
Минэкономики Республики Армения
Беларусь
BY
Госстандарт Республики Беларусь
Киргизия
KG
Кыргызстандарт
Россия
RU
Росстандарт
4 Настоящий стандарт является модифицированным по отношению к европейскому региональному стандарту EN 14350-1:2004 Child use and care articles - Drinking equipment - General and mechanical requirements and tests (Предметы ухода за детьми. Приспособления для питья. Часть 1. Общие и механические требования и испытания). Дополнительные фразы, слова, внесенные в текст стандарта, выделены курсивом.
В стандарт внесены требования только к молочным соскам.
В стандарт не включены требования к бутылкам и другим приспособлениям для питья.
EN 14350-1:2004 разработан Техническим комитетом CEN/TC 252 "Предметы ухода за детьми", секретариат которого ведет AFNOR.
Перевод с немецкого языка (de).
Наименование настоящего стандарта изменено относительно наименования указанного стандарта для приведения в соответствие с ГОСТ 1.5-2001 (подраздел 3.6).
Официальные экземпляры европейского регионального стандарта, на основе которого подготовлен настоящий межгосударственный стандарт, и европейских региональных стандартов, на которые даны ссылки, имеются в национальном информационном фонде технических регламентов и стандартов.
Степень соответствия - модифицированная (MOD)
5 Приказом Федерального агентства по техническому регулированию и метрологии от 22 ноября 2013 г. N 1854-ст межгосударственный стандарт ГОСТ 32506.1-2013 введен в действие в качестве национального стандарта Российской Федерации с 1 января 2015 г.
6 ВВЕДЕН ВПЕРВЫЕ
7 ПЕРЕИЗДАНИЕ. Май 2016 г.
Информация об изменениях к настоящему стандарту публикуется в ежегодном информационном указателе "Национальные стандарты", а текст изменений и поправок - в ежемесячном информационном указателе "Национальные стандарты". В случае пересмотра (замены) или отмены настоящего стандарта соответствующее уведомление будет опубликовано в ежемесячном информационном указателе "Национальные стандарты". Соответствующая информация, уведомление и тексты размещаются также в информационной системе общего пользования - на официальном сайте Федерального агентства по техническому регулированию и метрологии в сети Интернет
1 Область применения
Настоящий стандарт устанавливает общие требования и методы испытаний детских молочных сосок (далее - сосок) из латекса, резины, термоэластопластов и силиконовых эластомеров.
Настоящий стандарт не распространяется на соски, используемые как изделия медицинского назначения.
Настоящий стандарт не распространяется на соски-пустышки, требования безопасности и методы испытаний которых приведены в ГОСТ EN 1400-1, ГОСТ EN 1400-2, ГОСТ EN 1400-3.
2 Нормативные ссылки
В настоящем стандарте использованы нормативные ссылки на следующие межгосударственные стандарты:
ГОСТ 427-75 Линейки измерительные металлические. Технические условия
ГОСТ 6709-72 Вода дистиллированная. Технические условия
ГОСТ ISO 188-2013 Резина и термоэластопласты. Испытания на ускоренное старение и теплостойкость
ГОСТ EN 1400-1-2013 Предметы ухода за детьми. Соски детские. Часть 1. Основные требования безопасности и информация об изделии
ГОСТ EN 1400-2-2013 Предметы ухода за детьми. Соски детские. Часть 2. Физико-механические требования и методы испытаний
ГОСТ EN 1400-3-2013 Предметы ухода за детьми. Соски детские. Часть 3. Санитарно-химические требования и методы определения
ГОСТ 32506.2-2013 (EN 14350-2:2004) Предметы ухода за детьми. Соски детские молочные. Часть 2. Санитарно-химические требования и методы испытаний
Примечание - При пользовании настоящим стандартом целесообразно проверить действие ссылочных стандартов в информационной системе общего пользования - на официальном сайте Федерального агентства по техническому регулированию и метрологии в сети Интернет или по ежегодному информационному указателю "Национальные стандарты", который опубликован по состоянию на 1 января текущего года, и по выпускам ежемесячного информационного указателя "Национальные стандарты" за текущий год. Если ссылочный стандарт заменен (изменен), то при пользовании настоящим стандартом следует руководствоваться заменяющим (измененным) стандартом. Если ссылочный стандарт отменен без замены, то положение, в котором дана ссылка на него, применяется в части, не затрагивающей эту ссылку.
3 Термины и определения
В настоящем стандарте использован следующий термин с соответствующим определением:
3.1 соска (feeding teat): Изделие, заменяющее сосок груди матери, прикрепленное к бутылочке и предназначенное для кормления ребенка.
4 Описание
Конструкция и примеры конструктивных особенностей сосок приведены на рисунках 1 и 2.
1 - баллончик; 2 - отверстие
Рисунок 1 - Конструкция соски
Рисунок 2 - Примеры конструктивных особенностей сосок
5 Требования
5.1 Соски должны соответствовать требованиям 5.2 - 5.11.
5.2 Соски должны иметь гладкую без швов наружную и внутреннюю поверхности и не должны иметь трещин, включений и открытых пузырей.
Допускаются на соске закрытые пузыри диаметром более 1 мм в количестве не более 3 шт.
5.3 Внутренняя поверхность сосок не должна слипаться.
5.4 Соски должны быть устойчивы к кипячению в дистиллированной воде. После пятикратного кипячения в дистиллированной воде соски должны соответствовать требованиям 5.2, 5.3.
5.5 При испытании на сопротивление проколу в соответствии с 6.2 нагрузка для прокола одной стенки соски должна быть не менее 30 Н.
5.6 При испытании на растяжение в соответствии с 6.3 соска не должна разорваться.
5.7 Санитарно-химические показатели соски должны соответствовать требованиям ГОСТ 32506.2, 5.8 - 5.11.
Не допускается наличие привкуса водной вытяжки.
5.8 Изменение pH водной вытяжки должно быть не более +/- 1,0.
5.9 Соски из силиконовых эластомеров не должны содержать свинец, мышьяк.
Допускается содержание цинка - не более 1,0 мг/дм3, агидола-2 - не более 2,0 мг/дм3.
Допускается для силиконовых сосок не определять выделение N-нитрозаминов и N-нитрозобразующих веществ.
5.10 Соски из резины и латекса не должны содержать свинец, мышьяк.
Допускается содержание агидола-2 - не более 2,0 мг/дм3, N-нитрозамина (извлечение хлористым метиленом) - не более 10,0 мкг/кг, N-нитрозобразующих (извлечение искусственной слюной) - не более 200,0 мкг/кг.
5.11 Индекс токсичности, определяемый в водной среде (дистиллированная вода), должен быть в пределах от 70% до 120% включительно или должно отсутствовать местное раздражающее действие на кожные покровы и слизистые
6 Методы испытаний
6.1 Подготовка образцов для проведения испытаний
6.1.1 При подготовке образцов из резины и термопластичных эластомеров (кроме силикона), отобранных у изготовителя до размещения их на рынке, их искусственно старят в термостате с воздухообменом при температуре (70 +/- 2) °C (см. ГОСТ ISO 188) в течение 7 суток.
Образцы помещают в кипящую воду 3 класса по [1] на 10 мин, затем кондиционируют в соответствии с 6.1.2.
Примечание - Эта процедура необходима для удаления с поверхности сосок покрытия, используемого при изготовлении.
6.1.2 Перед испытанием образцы кондиционируют не менее 40 ч при температуре (23 +/- 2) °C и относительной влажности (50 +/- 5)%. Образцы до проведения испытания хранят при таких же условиях. Испытания проводят при такой же температуре и влажности. Допускается проводить испытания не в кондиционируемом помещении.
Если нет других указаний, для каждого испытания используют новый образец предпочтительной из одной и той же партии.
6.2 Испытание на сопротивление проколу
Отрезают венчик (при наличии) и размещают соску на пластину толщиной не менее 10 мм твердостью (70 +/- 5) по Шору Д (см. рисунок 3).
Рисунок 3 - Положение соски при испытании
на сопротивление проколу
Примечание - Значение твердости по Шору Д, равное (70 +/- 5), эквивалентно 97 единицам твердости IRHD.
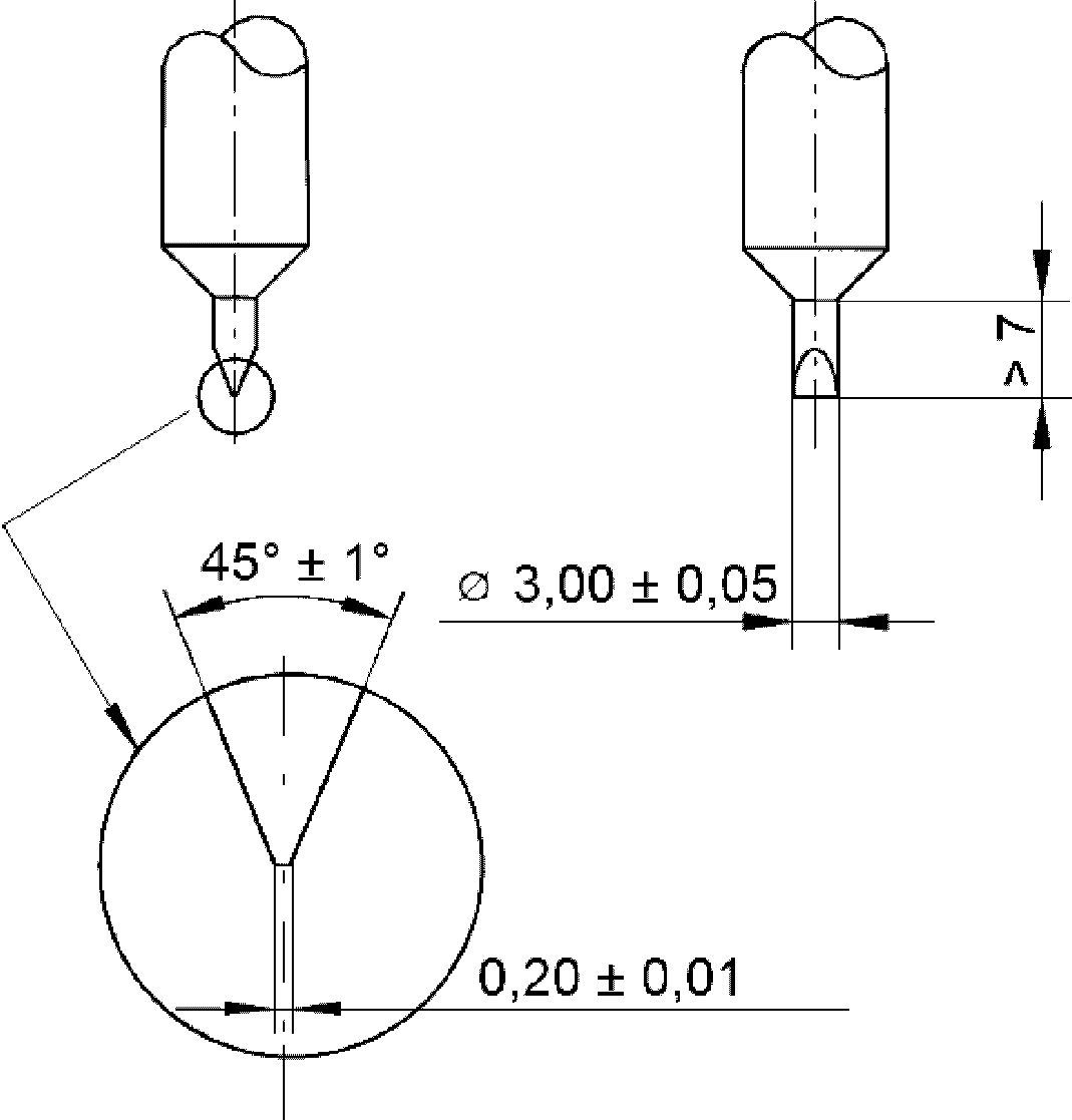
Индентор формой и размерами, соответствующими приведенным на рисунке 4, с наконечником диаметром 3 мм, размещают перпендикулярно основной оси соски на расстоянии (15,0 +/- 20,0) мм от края или отрезанного венчика соски (при наличии).
Примечания
1 Размеры с предельными отклонениями должны соответствовать требованиям стандарта [2].
2 Индентор изготовляют из хромистой инструментальной стали твердостью 45 - 50 HR.
Рисунок 4 - Индентор для испытания на сопротивление проколу
Опускают индентор вертикально с усилием (200 + 10) Н и скоростью (10 +/- 1) мм/мин в течение (1,0 + 0,5) с. Если индентор пробивает поверхность соски, проводят испытания по 6.3.
Примечание - Перед использованием проверяют наконечник индентора на наличие повреждений, например, сколов. При обнаружении повреждения индентор не используют.
6.3 Испытание на растяжение
Закрепляют соску за противоположные концы в зажимах разрывной машины и выравнивают вдоль основной оси, применяя усилие (5 +/- 2) Н. Затем растягивают соску со скоростью (200 +/- 5) мм/мин, повышая нагрузку до (90 +/- 5) Н в течение (10 +/- 5) с. Зажимы должны прочно удерживать образец при испытании без повреждения, влияющего на результат испытания. При повреждении образца результат не учитывают.
6.4 Внешний вид и отсутствие дефектов проверяют визуально. Диаметр закрытых пузырей измеряют измерительной линейкой по ГОСТ 427 с ценой деления 1 мм и пределами измерения 0 - 300 мм.
6.5 Устойчивость сосок к пятикратному кипячению в дистиллированной воде проверяют опусканием их в кипящую дистиллированную воду по ГОСТ 6709 и кипячением в течение 30 мин. Испытания проводят пять раз с перерывом между кипячением в течение 10 мин. Затем их сушат при температуре 70 °C в течение 120 мин и выдерживают в нормальных лабораторных условиях не менее 6 ч.
После пятикратного кипячения в дистиллированной воде внешний вид сосок должен соответствовать 5.2.
6.6 Для определения отсутствия слипаемости внутренней поверхности сосок после пятикратного кипячения в дистиллированной воде, отрезают у соски венчик (при наличии) и кладут на соску груз массой (1,0 +/- 0,1) кг на (5,0 +/- 0,5) мин. После снятия груза через (1,0 +/- 0,2) мин стенки соски не должны слипаться.
ИС МЕГАНОРМ: примечание.
Нумерация пунктов дана в соответствии с официальным текстом документа.
6.6 Санитарно-химические показатели сосок определяют по ГОСТ 32506.2, [3], [4].
7 Потребительская упаковка
Соски следует продавать в закрытых упаковках в чистых помещениях.
Упаковка, полученная потребителем, должна содержать четкие инструкции по применению и гигиеническому уходу за соской.
В инструкции должна быть информация, приведенная в разделе 8. Инструкция может быть вложена в упаковку отдельной листовкой.
Примечание - Упаковка не должна загрязнять изделие.
8 Информация об изделии
8.1 Общие требования
Информация об изделии должна быть напечатана на одном из официальных языков страны розничной торговли. Информацию на другом языке предоставляют отдельно.
Текст должен быть четким. Предложения должны быть короткими и простыми. Используемые слова должны быть несложными и повседневно используемыми.
Примечание - Рекомендуется указывать на упаковке номер партии.
8.2 Потребительская информация
На внешней стороне упаковки, поставляемой в розничную торговлю, указывают:
- наименование, торговую марку или другую информацию об идентификации, а также адрес изготовителя, дистрибьютера или продавца. Эта информация может быть представлена в виде аббревиатуры в случае, если при ее помощи можно идентифицировать изготовителя, дистрибьютора или продавца и оперативно с ним связаться;
- обозначение настоящего стандарта;
- инструкцию по использованию в соответствии с 8.3 или указание о том, что она вложена в упаковку;
- если изделие изготовлено из натурального латекса, на упаковке должна быть нанесена следующая запись: "Изделие изготовлено из натурального латекса, который может вызвать аллергическую реакцию".
8.3 Инструкция по использованию
Инструкция по использованию должна содержать:
- информацию о безопасном использовании;
- не менее одного способа обработки;
- недопустимые методы обработки, хранения и использования, которые могут повредить соску.
Предупреждения могут быть представлены в следующем виде:
Для безопасности Вашего ребенка
ПРЕДУПРЕЖДЕНИЕ!
Не используйте соску вместо пустышки.
Для изделий из натурального латекса: "Изделие изготовлено из натурального латекса, который может вызвать аллергическую реакцию".
Примечание - Рекомендуется приводить информацию об аллергических реакциях.
Дополнительно может быть указано следующее.
Перед использованием тщательно осмотрите соску. Растяните соску в разные стороны. Не используйте соску, если обнаружили какое-либо повреждение.
Не оставляйте соску под воздействием прямых солнечных лучей или нагревательных приборов или в дезинфицирующем растворе больше установленного времени, так как это приведет к преждевременному разрушению соски.
Перед использованием опустите в кипящую воду на 5 минут.
Указанные предупреждения применяют при необходимости. Допускается другое изложение предупреждений.
В инструкции также может быть представлена следующая информация:
- перед первым использованием соску следует прокипятить в течение 5 мин, затем соску охлаждают и удаляют попавшую в нее воду. Это необходимо для соблюдения гигиены;
- перед каждым использованием соску следует мыть;
- не следует смачивать соску в сладкой жидкости или в лекарственных препаратах, это может привести к разрушению зубов у ребенка;
- в целях безопасности и соблюдения правил гигиены соску следует менять 1 раз в месяц или 1 раз в два месяца.
9 Маркировка
Дополнительно к 8.2 на упаковке указывают:
- наименование страны-изготовителя;
- наименование изделия;
- номер партии;
- дату изготовления;
- единый знак обращения на рынке;
- гарантийный срок хранения;
- гарантийный срок эксплуатации.
Библиография
[1]
ISO 3696:1987
Water for analytical laboratory use - Specification and test methods
(Вода для лабораторного анализа. Спецификация и методы испытаний)
[2]
ISO 1302:2002
Geometrical product specifications (GPS) - Indication of surface texture in technical product documentation
(Геометрические характеристики изделий (GPS). Обозначение текстуры поверхности в технической документации на продукцию)
[3]
Методические указания по санитарно-химическому исследованию детских латексных сосок и баллончиков сосок-пустышек, М., 1990
[4]
Биотестирование продукции из полимерных и других материалов