Главная // Актуальные документы // ГОСТ (Государственный стандарт)
СПРАВКА
Источник публикации
М.: Стандартинформ, 2016
Примечание к документу
Документ утратил силу с 01.10.2024 в связи с изданием Приказа Росстандарта от 29.09.2023 N 1021-ст. Взамен введен в действие ГОСТ 34992-2023.

Документ введен в действие с 01.01.2015.
Название документа
"ГОСТ EN 1400-1-2013. Межгосударственный стандарт. Предметы ухода за детьми. Соски детские. Часть 1. Основные требования безопасности и информация об изделии"
(введен в действие Приказом Росстандарта от 28.08.2013 N 766-ст)

"ГОСТ EN 1400-1-2013. Межгосударственный стандарт. Предметы ухода за детьми. Соски детские. Часть 1. Основные требования безопасности и информация об изделии"
(введен в действие Приказом Росстандарта от 28.08.2013 N 766-ст)


Содержание


Введен в действие
Приказом Федерального агентства
по техническому регулированию
и метрологии
от 28 августа 2013 г. N 766-ст
МЕЖГОСУДАРСТВЕННЫЙ СТАНДАРТ
ПРЕДМЕТЫ УХОДА ЗА ДЕТЬМИ. СОСКИ ДЕТСКИЕ
ЧАСТЬ 1
ОСНОВНЫЕ ТРЕБОВАНИЯ БЕЗОПАСНОСТИ И ИНФОРМАЦИЯ ОБ ИЗДЕЛИИ
Child use and care articles. Soothers for babies
and young children. Part 1. Basic safety requirements
and product information
(EN 1400-1:2002, IDT)
ГОСТ EN 1400-1-2013
МКС 83.140
Дата введения
1 января 2015 года
Предисловие
Цели, основные принципы и порядок проведения работ по межгосударственной стандартизации установлены ГОСТ 1.0-92 "Межгосударственная система стандартизации. Основные положения" и ГОСТ 1.2-2009 "Межгосударственная система стандартизации. Стандарты межгосударственные, правила и рекомендации по межгосударственной стандартизации. Правила разработки, принятия, применения, обновления и отмены"
Сведения о стандарте
1 ПОДГОТОВЛЕН Обществом с ограниченной ответственностью Научно-испытательный центр "Резина и полимерные изделия" (ООО НИЦ "Резина и полимерные изделия"), Техническим комитетом по стандартизации ТК 160 "Продукция нефтехимического комплекса" на основе собственного аутентичного перевода на русский язык стандарта, указанного в пункте 5
2 ВНЕСЕН Федеральным агентством по техническому регулированию и метрологии
3 ПРИНЯТ Межгосударственным советом по стандартизации, метрологии и сертификации по переписке (протокол от 28 августа 2013 г. N 58-П)
За принятие проголосовали:
Краткое наименование страны по МК (ИСО 3166) 004-97
Код страны по МК (ИСО 3166) 004-97
Сокращенное наименование национального органа по стандартизации
Армения
AM
Минэкономики Республики Армения
Беларусь
BY
Госстандарт Республики Беларусь
Киргизия
KG
Кыргызстандарт
Россия
RU
Росстандарт
Таджикистан
TJ
Таджикстандарт
Узбекистан
UZ
Узстандарт
4 Приказом Федерального агентства по техническому регулированию и метрологии от 28 августа 2013 г. N 766-ст межгосударственный стандарт ГОСТ EN 1400-1-2013 введен в действие в качестве национального стандарта Российской Федерации с 1 января 2015 г.
5 Настоящий стандарт идентичен европейскому региональному стандарту EN 1400-1:2002 Child use and care articles - Soothers for babies and young children - Part 1: General safety requirements and product information (Предметы ухода за детьми. Соски для младенцев и маленьких детей. Часть 1. Общие требования безопасности и информация об изделии).
EN 1400-1:2002 разработан Техническим комитетом CEN/TC 252 "Предметы ухода за детьми", секретариат которого ведет AFNOR.
Перевод с английского языка (en).
Наименование настоящего стандарта изменено относительно наименования указанного стандарта для приведения в соответствие с ГОСТ 1.5-2001 (подраздел 3.6).
Официальные экземпляры европейского регионального стандарта, на основе которого подготовлен настоящий межгосударственный стандарт, европейские региональные стандарты, на которые даны ссылки, имеются в Федеральном информационном фонде технических регламентов и стандартов.
Сведения о соответствии межгосударственных стандартов ссылочным европейским региональным стандартам приведены в дополнительном приложении Д.А.
Степень соответствия - идентичная (IDT)
6 ВВЕДЕН ВПЕРВЫЕ
7 ПЕРЕИЗДАНИЕ. Октябрь 2016 г.
Информация об изменениях к настоящему стандарту публикуется в ежегодно издаваемом информационном указателе "Национальные стандарты", а текст изменений и поправок - в ежемесячно издаваемом информационном указателе "Национальные стандарты". В случае пересмотра (замены) или отмены настоящего стандарта соответствующее уведомление будет опубликовано в ежемесячно издаваемом информационном указателе "Национальные стандарты". Соответствующая информация, уведомление и тексты размещаются также в информационной системе общего пользования - на официальном сайте Федерального агентства по техническому регулированию и метрологии в сети Интернет
Введение
Соски широко используют в Европе для удовлетворения сосательной потребности и успокоения детей.
Они предназначены для нахождения во рту младенца и маленького ребенка в течение длительного времени. За последнее время при использовании сосок произошло немало несчастных случаев, некоторые из которых со смертельным исходом.
Цель настоящего стандарта - сократить число несчастных случаев. Следует отметить, что настоящий стандарт не может предотвратить все возможные риски при сосании сосок младенцами и маленькими детьми, поэтому особо важную роль имеет контроль со стороны родителей и нянечек. Важно, чтобы все инструкции и предостережения, приведенные в настоящем стандарте, позволяли потребителям использовать соску правильно и безопасно.
Серия стандартов EN 1400 на соски для младенцев и маленьких детей состоит из следующих частей:
- Часть 1: Основные требования безопасности и информация об изделии;
- Часть 2: Механические требования и методы испытаний;
- Часть 3: Химические требования и методы испытаний.
Впервые стандарт полностью гармонизирован с требованиями безопасности и методами испытаний сосок. Большинство положений взяты из других национальных и европейских региональных стандартов, эти положения техническим комитетом заново не подтверждались.
Не допускается ссылка на соответствие отдельным частям серии стандартов EN 1400. Любая ссылка должна относиться ко всем опубликованным частям.
Рекомендуется, чтобы производители и поставщики сосок имели сертифицированную систему менеджмента качества на соответствие серии стандартов EN ISO 9000.
Некоторые организации требуют проведения контрольных испытаний.
Соответствующий план контроля и приемлемый уровень качества для вновь изготовленных сосок представлен в части 2, приложение B. Настоящая процедура может быть использована как добровольное подтверждение соответствия.
Пластмассовые детали контролируются Директивой Комиссии 90/128/ЕЕС, распространяющейся на пластмассовые материалы и изделия, контактирующие с пищевыми продуктами.
Примечание - Следует отметить, что выделение N-нитрозаминов и N-нитрозобразующих из эластомерных и резиновых сосок находится под контролем Директивы Комиссии 93/11 ЕЕС.
1. Область применения
Настоящий стандарт устанавливает основные требования безопасности материалов, конструкции, упаковки и маркировки сосок, а также требования к инструкции по использованию.
Настоящий стандарт распространяется на изделия, похожие на соски или выполняющие функции сосок, которые не заявлены как изделия медицинского назначения.
Настоящий стандарт не распространяется на соски, используемые как изделия медицинского назначения, предназначенные для недоношенных детей и детей с синдромом Пьера Робина. Информация о таких сосках приведена в приложении A.
Примечание - Соски, не входящие в область распространения настоящего стандарта, должны соответствовать приложению A.
Настоящий стандарт не распространяется на соски, используемые для кормления <1>.
--------------------------------
<1> В настоящее время разрабатывается стандарт на бутылки для кормления.
2. Нормативные ссылки
Для применения настоящего стандарта необходимы следующие ссылочные документы. Для недатированных ссылок применяют последнее издание ссылочного документа (включая все его изменения):
EN 1400-2 Child use and care articles - Soothers for babies and children - Part 2: Mechanical requirements and tests (Предметы ухода за детьми. Соски для младенцев и маленьких детей. Часть 2. Требования к механическим свойствам и испытания)
EN 1400-3 Child use and care articles - Soothers for babies and children - Part 3: Chemical requirements and tests (Предметы ухода за детьми. Соски для младенцев и маленьких детей. Часть 3. Требования к химическим свойствам и испытания)
3. Термины и определения
В настоящем стандарте применены следующие термины с соответствующими определениями:
3.1 соска (soother): Изделие, предназначенное для удовлетворения сосательной потребности ребенка.
3.2 баллончик (teat): Эластичный баллончик - часть соски, предназначенная для размещения во рту.
3.3 защитный диск (shield): Деталь, расположенная у основания (венчика) баллончика для предотвращения полного заглатывания соски в рот ребенка.
3.4 кольцо или головка (ring or knob): Приспособление, расположенное на защитном диске для облегчения удерживания соски.
3.5 пробка (plug): Приспособление, расположенное в основании баллончика, для крепления баллончика к защитному диску.
3.6 крышка (cover): Приспособление, предотвращающее открытый доступ к пробке.
3.7 вентиляционные отверстия (ventilation holes): Отверстия в защитном диске, обеспечивающие прохождение воздуха при дыхании ребенка в случае, если соска полностью попала в рот, а также для предотвращения попадания соски в глотку при глотании.
4. Описание соски
Соска должна состоять из следующих деталей (рисунки 1 - 4):
a) баллончика 1;
b) защитного диска 2;
c) кольца 3;
d) пробки 4;
e) крышки 5;
f) головки 6.
1 - баллончик; 2 - защитный диск; 3 - кольцо; 4 - пробка;
5 - крышка; 7 - поверхность защитного диска,
обращенная ко рту ребенка
Рисунок 1 - Соска с кольцом
1 - баллончик; 2 - защитный диск; 4 - пробка; 6 - головка
Рисунок 2 - Соска с головкой
1 - баллончик; 2 - защитный диск; 4 - пробка; 5 - крышка;
7 - поверхность защитного диска, обращенная ко рту ребенка
Рисунок 3 - Соска с пробкой и крышкой
1 - баллончик; 2 - защитный диск; 4 - пробка;
5 - крышка; 6 - головка
Рисунок 4 - Соска с комбинированной пробкой,
крышкой и головкой
5. Требования и методы испытаний
5.1 Материалы
Для изготовления деталей соски используют материалы, соответствующие требованиям EN 1400-2 и EN 1400-3.
Штампованные или формованные украшения наносят только на ту часть защитного экрана, которая не соприкасается со ртом ребенка. Не допускается использование клеящихся этикеток и украшений.
Если соска имеет дополнительную функцию погремушки, шарики должны быть гладкими. Шарики не должны быть внутри баллончика.
5.2 Конструкция
5.2.1 Общие требования
Сосательная поверхность соски должна быть гладкой, на соске не должно быть острых краев и разъемных деталей.
Примечание - Соску дают ребенку в рот, поэтому конструкция любой соски должна предусматривать быстрое извлечение ее изо рта ребенка.
5.2.2 Баллончик
Рекомендуемая длина баллончика соски, определяемая приспособлением, приведенным на рисунке 5 <1>, должна быть не более 35 мм. Соску вертикально помещают в центр приспособления кончиком баллончика вниз. Зажимы приспособления устанавливают таким образом, чтобы они касались баллончика соски у венчика. Соску вращают для того, чтобы она вошла глубже в приспособление под действием собственной массы. Кончик баллончика не должен касаться эталонной плитки (рисунок 6).
--------------------------------
<1> По вопросу приспособления необходимо обращаться в национальный орган по стандартизации.
Примечание - Для соски, не имеющей круглого поперечного сечения, слегка регулируют зажимы.
На баллончике соски не должно быть отверстия перед защитным диском.
В полой части баллончика не должно быть твердых, жидких или газообразных веществ (кроме воздуха), а также каких-либо вставок, за исключением пробки.
A - эталонная плитка A; B - эталонная плитка B;
C - эталонная плитка C
Рисунок 5 - Пример приспособления
для определения длины баллончика
A - эталонная плитка A; 1 - неподвижный зажим;
2 - подвижный зажим; 3 - диск диаметром 25 мм
Рисунок 6 - Эталонная плитка
для определения длины баллончика
A - размер A; x - расстояние между нижней поверхностью
кольца и верхней поверхностью эталонной плитки
Рисунок 7 - Эталонная плитка для определения высоты кольца
B - эталонная плитка B; C - эталонная плитка C
Рисунок 8 - Эталонная плитка для определения длины головки
A - эталонная плитка A; C - эталонная плитка C;
1 - баллончик соски; 2 - эластичное кольцо или головка
Рисунок 9 - Эталонная плитка для определения
длины эластичного кольца или головки
5.2.3 Защитный диск
5.2.3.1 Общие требования
Соска должна иметь защитный диск, который испытывают в соответствии с 5.2.3.2 на соответствие шаблону. Не допускают деформирования защитного диска в любом направлении по основной оси соски по отношению к шаблону.
Если кольцо размещают на защитном диске, на нем должны быть два вентиляционные отверстия площадью 20 мм2, диаметром 4 мм.
Центры вентиляционных отверстий должны быть расположены на расстоянии не менее 15 мм друг от друга, края - на расстоянии не менее 5 мм от края защитного диска.
Два вентиляционные отверстия должны быть симметричны малой оси защитного диска круглой формы (рисунок 10).
A - малая ось; B - основная ось;
C - заштрихованная область - допускаемые отверстия
Рисунок 10 - Примеры размещения допускаемых отверстий
(5.2.3.1)
Несмотря на то, что настоящий стандарт предусматривает наличие только двух вентиляционных отверстий, допускаются отверстия меньшего размера с другим расположением.
Примечания
1 Некоторые формы вентиляционных отверстий могут привести к повреждению пальцев, например с острыми V-образными углами (5.2.6).
2 Форма края защитного диска, его размер, форма и расположение вентиляционных отверстий помогают извлечь соску изо рта ребенка при ее заглатывании.
5.2.3.2 Испытание защитного диска
Для испытания защитного диска используют шаблон из политетрафторэтилена, форма и размеры которого приведены на рисунке 12. Шаблон должен быть жестко закреплен и во время испытания сохранять горизонтальное положение.
Соску погружают в водный раствор мыльного вещества не менее чем на 10 с. Рекомендуют использовать 2%-ный раствор (по объему) полиоксиэтилена (20) сорбитана моноолеата.
Влажную соску со стороны сосательной поверхности защитного диска помещают на вогнутую часть горизонтального шаблона так, чтобы основная ось соски проходила через пересечение осей, помеченных на шаблоне. Постепенно прилагают усилие, равное (10,0 +/- 0,5) Н к баллончику соски вдоль основной оси. Выдерживают полную нагрузку в течение (10,0 +/- 0,5) с (рисунок 11). Отрезают баллончик и повторяют испытание, перевернув шаблон. Усилие прикладывают с помощью стержня к отверстию слева от баллончика вдоль основной оси. Диаметр стержня должен быть немного больше размера вентиляционного отверстия.
Рисунок 11 - Испытание защитного диска (5.2.3.2)
1 - большая часть секции A-A; 2 - постоянные отметки малой
и основной осей; 3 - внутренний радиус R1 (4 угла)
Рисунок 12 - Шаблон для испытания защитного диска
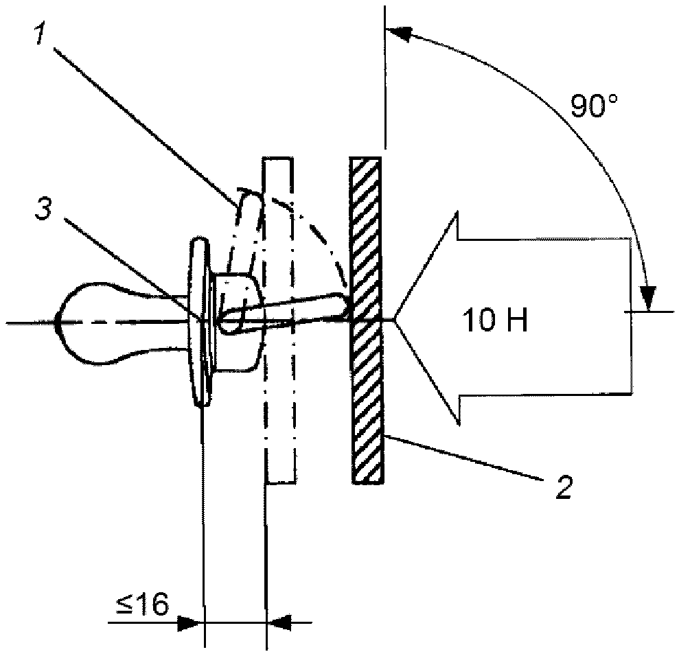
5.2.4 Кольцо
Кольцо из эластичного материала испытывают так, как и эластичную головку в соответствии с 5.2.5.2. Кольца из неэластичного материала испытывают следующим образом.
Размер A должен быть менее или равен 1,4 x B (рисунок 13).
A - размер A; B - размер B;
1 - поперечное сечение стержня диаметром 14 мм
Рисунок 13 - Размеры кольца
Измеряют расстояние A приспособлением для измерения длины баллончика (рисунок 7). Помещают соску в приспособление для измерения длины баллончика и измеряют расстояние x между нижней поверхностью кольца и верхней поверхностью эталонной плитки.
A = 45 - x.
Форма кольца должна позволять свободно проходить стержню диаметром 14 мм. Кольцо, соответствующее требованиям настоящего стандарта, должно свободно вращаться или должно быть из эластичного материала. Для определения эластичности кольца прикладывают нагрузку (10,0 +/- 0,5) Н вдоль основной оси кольца, при этом кольцо должно согнуться не более чем на 16 мм по отношению к защитному диску. При необходимости перед приложением нагрузки кольцо можно немного сместить относительно оси и тогда измерение проводят по задней линии защитного диска вдоль основной оси (рисунок 14).
1 - положение кольца с приложенным к нему усилием,
равным 10 Н; 2 - ровная плита; 3 - задняя часть
защитного диска вдоль основной оси
Рисунок 14 - Определение эластичности кольца
Соски с кольцами, не соответствующими вышеприведенным требованиям, рассматривают как соски с головкой (5.2.5).
Примечание - Кольцо должно быть удобным для извлечения изо рта ребенка при полном заглатывании соски. Это обеспечивается размером кольца, формой, местом крепления на защитном диске.
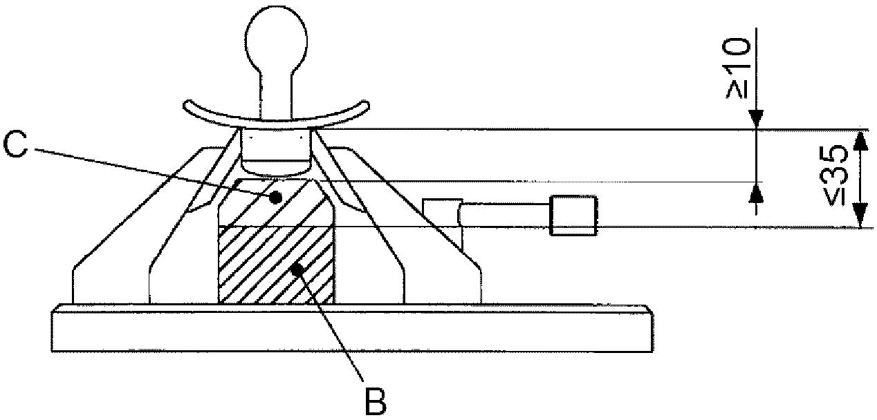
5.2.5 Головка, пробка и/или крышка
5.2.5.1 Общее требование
Пробка не должна выступать более чем на 3 мм относительно сосательной поверхности защитного диска (рисунок 15).
Рисунок 15 - Измерение расположения головки, пробки, крышки
У соски без кольца твердая головка, пробка или крышка должны выступать относительно задней линии защитного диска не менее чем на 10 мм и не более чем на 16 мм.
Это можно проверить приспособлением, указанным на рисунке 8, используя эталонные плитки B и C.
5.2.5.2 Эластичная головка, пробка и/или крышка
Головка, пробка и/или крышка из эластичного материала должны иметь высоту не менее 10 и не более 35 мм. Это можно проверить на приспособлении, показанном на рисунке 9, используя эталонные плитки A и C.
5.2.6 Вентиляционные отверстия
Для предотвращения застревания пальцев в любой детали соски диаметр вентиляционного отверстия должен быть не более 5,5 мм, если высота головки менее 10 мм, или диаметр должен быть более 14 мм. Это требование относится только к фурнитуре, изготовленной из материала твердостью более 60 единиц по Шору А.
6. Потребительская упаковка
Соски продают в чистых помещениях в закрытых упаковках.
На упаковке, полученной потребителем, должна быть четкая инструкция по применению и гигиеническому уходу за соской.
Инструкция должна содержать информацию, указанную в разделе 7, она может быть вложена отдельной листовкой в упаковку.
Если в упаковку входит колпачок для защиты баллончика, это должно быть указано, как в 7.3.
Примечание - Упаковка не должна загрязнять изделие.
7. Информация об изделии
7.1 Общее требование
Информацию об изделии приводят на национальном языке или на одном из официальных языков страны розничной торговли. Информация на другом языке должна легко отличаться, т.е. должна быть представлена отдельно.
Текст должен быть четким. Предложения короткими и простыми. Используемые слова должны быть несложными и ежедневно используемыми.
Примечание - Рекомендуется на упаковке указывать номер партии.
7.2 Потребительская информация
На внешней стороне упаковки, поставляемой в розничную торговлю, должна быть нанесена следующая информация:
- наименование, торговая марка или другой способ идентификации, а также адрес изготовителя, дистрибьютера или продавца. Эта информация может быть представлена в виде аббревиатуры в том случае, если с ее помощью можно идентифицировать изготовителя, дистрибьютера или продавца и быстро с ним связаться;
- обозначение настоящего стандарта;
- инструкция по применению в соответствии с 7.3 или указание о том, что она вложена в упаковку;
- если изделие изготовлено из натурального латекса, должно быть указано: "Изделие изготовлено из натурального латекса".
Примечание - Рекомендуется указывать подробную информацию о возможности возникновения аллергических реакций.
Должно быть указано, что изделие соответствует всем изданным частям серии стандартов EN 1400. Не допускается указание о соответствии соски отдельным частям серии стандартов EN 1400.
7.3 Инструкция по применению
Инструкция по применению должна содержать:
- информацию о безопасном использовании изделия;
- способ обработки (один и более);
- методы обработки, хранения и использования, которые могут повредить соску.
В инструкции по применению может быть представлено следующее предупреждение:
Для безопасности Вашего ребенка:
Предупреждение - Не вдевайте ленточки и шнурки в соску. Это может привести к несчастному случаю. Перед тем как использовать соску, тщательно ее осмотрите, особенно если у ребенка уже появились зубы. Растяните соску в разные стороны. Не используйте соску, если обнаружили какое-либо повреждение.
Указанное предупреждение применяют при необходимости. Допускается излагать предупреждение по-другому.
Не подвергайте соску воздействию прямых солнечных лучей или обогревательных приборов, не держите соску в дезинфицирующем растворе больше установленного времени, так как это приведет к преждевременному разрушению баллончика соски.
Не оставляйте защитный колпачок баллончика у ребенка, так как он может им подавиться.
В инструкции также должна быть представлена следующая информация:
- перед первым использованием соску следует прокипятить в течение 5 мин, затем охладить и удалить попавшую в нее воду;
- перед каждым использованием соску следует мыть;
- не следует смачивать соску в сладкой жидкости или лекарственных препаратах, это может привести к разрушению зубов у ребенка;
- в целях безопасности и гигиены соску следует менять через каждые 1 или 2 месяца;
- если соска застряла во рту у ребенка, НЕ ПАНИКУЙТЕ, конструкция соски не позволит ее проглотить. Соску аккуратно извлеките изо рта ребенка.
Приложение A
(справочное)
ИНФОРМАЦИЯ
ОБ ИЗДЕЛИЯХ МЕДИЦИНСКОГО НАЗНАЧЕНИЯ
В настоящем стандарте, ГОСТ EN 1400-2 и ГОСТ EN 1400-3 соска определена как изделие, предназначенное для удовлетворения сосательной потребности ребенка. Однако существует много изделий, которые похожи на соску или функционируют как соска и в то же время могут выполнять другую или другие функции. Существуют соски специальной конструкции, которые предназначены для недоношенных детей. Существуют также некоторые изделия, похожие на соску, но не являющиеся предметом настоящего стандарта и подпадающие под действие Директивы медицинского назначения. Такие изделия можно характеризовать следующим образом:
1) похожа на соску, но выполняет другую функцию;
2) похожа на соску, но выполняет другую второстепенную функцию;
3) похожа на соску, но выполняет другую главную функцию;
4) специального назначения;
5) изделие медицинского назначения.
A.1 Похожа на соску, но выполняет другую функцию
Изделие похожее на соску, но предназначенное для другой цели, например, как украшение. На таком изделии рекомендуют указывать, что это изделие не является соской и его следует держать вдали от детей.
A.2 Похожа на соску, но выполняет другую второстепенную функцию
Примером такого изделия является соска с мягкими краями защитного диска с функцией прорезывателя для зубов.
Рекомендуется, чтобы такие изделия соответствовали требованиям настоящего стандарта.
A.3 Похожа на соску, но выполняет другую главную функцию
К этой категории изделий относят, например, зубные кольца, имеющие форму и внешний вид соски. Также некоторые градусники имеют наконечник, позволяющий измерять температуру во рту.
В этом случае, если изделие не подпадает под действие Медицинской директивы или другого стандарта (например, стандарта на игрушки), рекомендуют, чтобы оно соответствовало требованиям настоящего стандарта.
A.4 Специального назначения
Это изделия специального медицинского назначения, которые могут быть использованы только под контролем квалифицированного медицинского персонала. Примером таких сосок являются соски для детей с синдромом Пьера Робина и для недоношенных детей. Известно, что такие изделия не буду соответствовать всем требованиям настоящего стандарта (например, по размеру защитного диска), поэтому они не входят в область его распространения. Также рекомендуется, чтобы по возможности они максимально отвечали требованиям настоящего стандарта. На таких изделиях должно быть указано, что они не предназначены для розничной торговли.
A.5 Изделия медицинского назначения
Некоторые изделия, похожие на соску, обозначены как изделия медицинского назначения. К этой категории относят соски для измерения температуры и соски для лекарственных препаратов. Возможно, что скоро на рынке появятся новые изделия.
Если такие изделия не отвечают требованиям настоящего стандарта, изготовитель может сослаться на Директивы для изделий медицинского назначения.
При оценке риска рекомендуется принимать во внимание все требования настоящего стандарта. Необходимо указать, что соску используют только для медицинских целей.
Приложение ДА
(справочное)
СВЕДЕНИЯ О СООТВЕТСТВИИ МЕЖГОСУДАРСТВЕННЫХ СТАНДАРТОВ
ССЫЛОЧНЫМ ЕВРОПЕЙСКИМ РЕГИОНАЛЬНЫМ СТАНДАРТАМ
Таблица Д.А.1
Обозначение и наименование ссылочного европейского регионального стандарта
Степень соответствия
Обозначение и наименование соответствующего межгосударственного стандарта
EN 1400-2:2002 Предметы ухода за детьми. Соски для младенцев и маленьких детей. Часть 2. Требования к механическим свойствам и испытания
IDT
Предметы ухода за детьми. Соски детские. Часть 2. Физико-механические свойства и методы испытаний
EN 1400-3:2002 Предметы ухода за детьми. Соски для младенцев и маленьких детей. Часть 3. Требования к химическим свойствам и испытания
IDT
Предметы ухода за детьми. Соски детские. Часть 3. Санитарно-химические требования и методы определения
Примечание - В настоящей таблице использовано следующее условное обозначение степени соответствия стандартов:
- IDT - идентичные стандарты.
Библиография
[1] Directive 90/128/EEC Commission Directive of 23 February 1990 relating to plastic materials and articles intended to come into contact with foodstuffs (Директива Комиссии 90/128/EEC от 23 февраля 1990 г. о пластмассовых материалах и изделиях, контактирующих с пищевыми продуктами)
[2] Directive 92/59/EEC Council Directive 92/59/EEC of 29 June 1992 on general product safety amended by Directive 2001/95/EC of the European Parliament and Council of 03 December 2001 relating to the general safety of products (Директива Совета 92/59/EEC от 29 июня 1992 г. по общей безопасности изделий, с поправками, внесенными Директивой 2001/95/EC Европейского Парламента и Совета от 3 декабря 2001 г. по общей безопасности изделий)
[3] Directive 93/11/EEC Commission Directive of 15 March 1993 relaring release of N-Nitrosoamines and N-nitrosatable substances from elastomers or rubber teats and soothers (Директива Комиссии 93/11/EEC от 15 марта 1993 г. о содержании N-нитрозаминов и N-нитрозобразующих в эластомерах или резиновых сосках или пустышках)
ИС МЕГАНОРМ: примечание.
В официальном тексте документа, видимо, допущена опечатка: Директива имеет название "Council Directive No. 93/42/EEC concerning medical devices" (Директива N 93/42/ЕЭС Совета Европейских сообществ "О медицинском оборудовании").
[4] Directive 93/42/EEC Commission Directive of 14 June 1993 concerning the release of N-Nitrosoamines and N-nitrosatable substances from elastomers or rubber teats and soothers (Директива Комиссии 93/42/EEC от 14 июня 1993 г. о содержании N-нитрозаминов и N-нитрозобразующих в эластомерах или резиновых сосках или пустышках)