Главная // Актуальные документы // ГОСТ (Государственный стандарт)СПРАВКА
Источник публикации
М.: ФГБУ "Институт стандартизации", 2023
Примечание к документу
Текст данного документа приведен с учетом
поправки, опубликованной в "ИУС", N 4, 2024.
Документ
введен в действие с 01.10.2024 с правом досрочного применения.
Название документа
"ГОСТ 34992-2023. Межгосударственный стандарт. Предметы ухода за детьми. Соски детские. Требования безопасности и методы испытаний"
(введен в действие Приказом Росстандарта от 29.09.2023 N 1021-ст)
"ГОСТ 34992-2023. Межгосударственный стандарт. Предметы ухода за детьми. Соски детские. Требования безопасности и методы испытаний"
(введен в действие Приказом Росстандарта от 29.09.2023 N 1021-ст)
по техническому регулированию
и метрологии
от 29 сентября 2023 г. N 1021-ст
МЕЖГОСУДАРСТВЕННЫЙ СТАНДАРТ
ПРЕДМЕТЫ УХОДА ЗА ДЕТЬМИ
СОСКИ ДЕТСКИЕ
ТРЕБОВАНИЯ БЕЗОПАСНОСТИ И МЕТОДЫ ИСПЫТАНИЙ
Child use and care articles. Soothers for babies
and young children. Safety requirements and test methods
ГОСТ 34992-2023
Дата введения
1 октября 2024 года
с правом досрочного применения
Цели, основные принципы и общие правила проведения работ по межгосударственной стандартизации установлены
ГОСТ 1.0 "Межгосударственная система стандартизации. Основные положения" и
ГОСТ 1.2 "Межгосударственная система стандартизации. Стандарты межгосударственные, правила и рекомендации по межгосударственной стандартизации. Правила разработки, принятия, обновления и отмены"
1 РАЗРАБОТАН Ассоциацией предприятий индустрии детских товаров "АИДТ" (Ассоциация "АИДТ")
2 ВНЕСЕН Межгосударственным техническим комитетом по стандартизации МТК 181 "Игрушки и товары для детства"
3 ПРИНЯТ Межгосударственным советом по стандартизации, метрологии и сертификации (протокол от 31 августа 2023 г. N 164-П)
За принятие проголосовали:
Краткое наименование страны по МК (ИСО 3166) 004-97 | Код страны по МК (ИСО 3166) 004-97 | Сокращенное наименование национального органа по стандартизации |
Армения | AM | ЗАО "Национальный орган по стандартизации и метрологии" Республики Армения |
Беларусь | BY | Госстандарт Республики Беларусь |
Казахстан | KZ | Госстандарт Республики Казахстан |
Киргизия | KG | Кыргызстандарт |
Россия | RU | Росстандарт |
Таджикистан | TJ | Таджикстандарт |
Узбекистан | UZ | Узстандарт |
4
Приказом Федерального агентства по техническому регулированию и метрологии от 29 сентября 2023 г. N 1021-ст межгосударственный стандарт ГОСТ 34992-2023 введен в действие в качестве национального стандарта Российской Федерации с 1 октября 2024 г. с правом досрочного применения
5 Настоящий стандарт разработан с учетом основных нормативных положений стандарта DIN EN 1400:2018 "Предметы для использования и ухода за детьми. Соски для младенцев и маленьких детей. Требования безопасности и методы испытаний" ("Child use and care articles - Soothers for babies and young children - Safety requirements and test methods", NEQ)
Информация о введении в действие (прекращении действия) настоящего стандарта и изменений к нему на территории указанных выше государств публикуется в указателях национальных стандартов, издаваемых в этих государствах, а также в сети Интернет на сайтах соответствующих национальных органов по стандартизации.
В случае пересмотра, изменения или отмены настоящего стандарта соответствующая информация будет опубликована на официальном интернет-сайте Межгосударственного совета по стандартизации, метрологии и сертификации в каталоге "Межгосударственные стандарты"
Соски широко используют для удовлетворения сосательной потребности и успокоения детей.
Они предназначены для нахождения во рту ребенка в течение длительного времени. За последнее время при использовании сосок произошло немало несчастных случаев, в том числе со смертельным исходом.
Цель настоящего стандарта - сократить число несчастных случаев. Следует отметить, что применение настоящего стандарта не может предотвратить все возможные риски при сосании сосок ребенком, поэтому особо важную роль имеет контроль со стороны родителей и лиц, осуществляющих уход и присмотр. Важно, чтобы все инструкции и предостережения, приведенные в настоящем стандарте, позволяли потребителям использовать соски правильно и безопасно.
Настоящий стандарт содержит требования к безопасности и методы испытаний сосок.
Настоящий стандарт устанавливает требования безопасности в отношении материалов, конструкции, эксплуатационных характеристик, упаковки, маркировки, требования к инструкции по использованию сосок-пустышек и молочных сосок (соски для кормления), санитарно-химические требования к веществам, выделяемым из материала, из которого изготовлены соски, а также методы их определения.
Молочные соски предназначены для кормления детей из бутылки, соски-пустышки - для удовлетворения сосательного рефлекса (сосательной потребности) у детей.
Настоящий стандарт не распространяется на соски, используемые в качестве медицинских изделий, предназначенных для недоношенных детей и детей с синдромом Пьера Робина (см.
приложение А). Некоторые соски-пустышки могут продаваться с дополнительными функциями.
В настоящем стандарте использованы нормативные ссылки на следующие межгосударственные стандарты:
ГОСТ 8.417 Государственная система обеспечения единства измерений. Единицы величин
ГОСТ 166 Штангенциркули. Технические условия
ГОСТ 427 Линейки измерительные металлические. Технические условия
ГОСТ 7502 Рулетки измерительные металлические. Технические условия
ГОСТ 13837 Динамометры общего назначения. Технические условия
ГОСТ 23350 Часы наручные карманные и электронные. Общие технические условия
ГОСТ EN 71-1-2014 Игрушки. Требования безопасности. Часть 1. Механические и физические свойства
ГОСТ EN 12868 Предметы ухода за детьми. Соски детские. Методы определения нитрозаминов и нитрозобразующих веществ
ГОСТ ISO 188-2013 Резина и термоэластопласты. Испытания на ускоренное старение и теплостойкость
ГОСТ ISO 3696 <1> Вода для лабораторного анализа. Технические требования и методы контроля
--------------------------------
<1> В Российской Федерации действует
ГОСТ Р 52501-2005 (ИСО 3696:1987) "Вода для лабораторного анализа. Технические условия".
ГОСТ OIML R 76-1 Государственная система обеспечения единства измерений (ГСИ). Весы неавтоматического действия. Часть 1. Метрологические и технические требования. Испытания
Примечание - При пользовании настоящим стандартом целесообразно проверить действие ссылочных стандартов и классификаторов на официальном интернет-сайте Межгосударственного совета по стандартизации, метрологии и сертификации (www.easc.by) или по указателям национальных стандартов, издаваемым в государствах, указанных в
предисловии, или на официальных сайтах соответствующих национальных органов по стандартизации. Если на документ дана недатированная ссылка, то следует использовать документ, действующий на текущий момент, с учетом всех внесенных в него изменений. Если заменен ссылочный документ, на который дана датированная ссылка, то следует использовать указанную версию этого документа. Если после принятия настоящего стандарта в ссылочный документ, на который дана датированная ссылка, внесено изменение, затрагивающее положение, на которое дана ссылка, то это положение применяется без учета данного изменения. Если ссылочный документ отменен без замены, то положение, в котором дана ссылка на него, применяется в части, не затрагивающей эту ссылку.
В настоящем стандарте применены термины по
ГОСТ 34870, а также следующие термины с соответствующими определениями:
3.1 основная ось соски: Ось, проходящая под прямым углом к защитному диску через центр изделия, где баллончик входит в защитный диск.
3.2 главная ось защитного диска: Ось, параллельная наибольшему размеру защитного диска, проходящая через середину основания баллончика.
3.3 сосковая часть: Верхняя часть молочной соски, предназначенная для кормления ребенка.
3.4 контейнер: Емкость, предназначенная для лабораторных испытаний.
5 Испытательное оборудование
5.1 Средства измерения
Динамометр с погрешностью измерения нагрузки +/- 5% по
ГОСТ 13837.
Линейка измерительная металлическая с ценой деления 1 мм по
ГОСТ 427, предельная погрешность измерения размеров не более 0,5 мм.
Рулетка измерительная металлическая с ценой деления 1 мм по
ГОСТ 7502.
Секундомер механический или электронный с ценой деления не более 0,2 с и погрешностью синхронизации не более +/- 1 с по
ГОСТ 23350.
5.2 Шаблон для испытания защитного диска
Шаблон для испытания защитного диска должен быть изготовлен из полиоксиметилена (ПОМ) стандартного типа (натурального, непигментированного, незаполненного) с модулем E от 3000 до 3300 МПа, твердостью по Шору D от 80 до 90 и шероховатостью поверхности менее 2,2 Ra.
Примечание - Экструдированные пластины из ПОМ обычно соответствуют требованиям к шероховатости поверхности.
Размеры должны соответствовать размерам, показанным на
рисунке 1.
1 - большая часть сечения А-А; 2 - постоянные отметки
малой и основной осей; R1 - внутренний радиус (четыре угла)
Рисунок 1 - Шаблон для испытания защитного диска
5.3 Испытательные сферические шаблоны
Испытательные сферические шаблоны А, Б, В и Г должны быть изготовлены из нержавеющей стали и иметь линейные размеры, указанные в
таблице 1.
Таблица 1
Диаметры испытательных сферических шаблонов
Сферический шаблон | Диаметр, мм |
| 4,0 +/- 0,1 |
| 5,5 +/- 0,1 |
| 12,0 +/- 0,1 |
| 14,0 +/- 0,1 |
5.4 Инструмент для прокола баллончика (испытательный зуб)
Инструмент для прокола изготавливают из инструментальной стали с высоким содержанием хрома H13 или аналогичной стали, подвергают закалке минимум до 50 HRC и обрабатывают до шероховатости Ra 0,4. Инструмент для прокола должен иметь размеры, приведенные на
рисунке 2.
--------------------------------
<а> Плоская поверхность размером 3,0 x 0,20 мм.
Рисунок 2 - Инструмент для прокола (испытательный зуб)
Упорную доску изготавливают из полимерного материала с твердостью по Шору D (70 +/- 5) с упором, изготовленным из любого подходящего материала, с размерами в миллиметрах, указанными на
рисунке 3. Если не указано иное, все размеры должны иметь предельные отклонения +/- 2 мм. Место прокола на поверхности обозначают линиями, как показано на
рисунке 3.
1 - упор для режущей кромки баллончика соски; 2 - место
расположения баллончика; 3 - место прокола
Рисунок 3 - Упорная доска
5.6 Зажимы определения прочности к укусу
Зажимы изготавливают из инструментальной стали с высоким содержанием хрома H13 или аналогичной, закаленной до значений 45 - 50 HRC и с размерами в миллиметрах, приведенными на
рисунке 4.
Механическую обработку зажимов проводят в соответствии с приведенными на
рисунке 4 размерами изделия. Размеры идентичны для верхнего и нижнего зажима.
Рисунок 4 - Верхний и нижний зажимы определения прочности
5.7 Испытательный груз для испытания на ударопрочность
Плоский груз из нержавеющей стали с радиусом закругления (2 +/- 0,5) мм и массой (1 +/- 0,02) кг, диаметр груза составляет (80 +/- 2) мм (см.
рисунок 5).
а - радиус (2 +/- 0,5) мм
Рисунок 5 - Испытательный груз для испытания
на ударопрочность
5.8 Испытательные шаблоны 1, 2 и 3
Испытательные шаблоны 1, 2 и 3 должны иметь размеры, приведенные на
рисунках 6,
7 и
8.
Рисунок 6 - Испытательный шаблон 1
Рисунок 7 - Испытательный шаблон 2
Рисунок 8 - Испытательный шаблон 3
6.1 Предельные отклонения
Если не указано иное, действуют следующие предельные отклонения:
- сила: +/- 5% от номинальной силы;
- масса: +/- 0,5% от номинальной массы;
- размеры: +/- 1,0 мм от номинального размера;
- угол: +/- 2° от номинального угла;
- продолжительность приложения силы во время испытания на долговечность: +/- 1 с;
- продолжительность приложения силы для статической нагрузки испытания на статическую нагрузку: +/- 2 с.
Испытания описаны с точки зрения приложения сил. Допускается использовать меры массы. (Например: 1 кг массы может использоваться для силы в 10 Н). Если не указано иное, испытательные усилия могут быть приложены с помощью любого подходящего устройства, которое не будет отрицательно сказываться на результатах.
6.2 Последовательность испытаний
Испытания проводят в порядке, указанном в
таблице 2.
Таблица 2
Последовательность испытаний
Последовательность испытаний | Структурный элемент | Образцы, взятые непосредственно у изготовителя перед выпуском на рынок | Все остальные образцы |
| | Предварительная обработка | Без предварительной обработки |
| | Обработка в кипящей воде |
| | Кондиционирование |
| | Образец, использованный на одном из приведенных ниже испытаниях, больше не должен использоваться при дальнейших испытаниях |
1 | | Конструктивные характеристики и испытания |
2 | | Ударопрочность, испытание на прочность растяжением вдоль основной оси (см. приложение В, рисунок В.1) |
3 | | Испытание на устойчивость к проколу баллончика изделия |
4 | | Испытание прочности на разрыв баллончика, испытание на прочность растяжением под прямым углом к главной оси (см. приложение В, рисунок В.2) |
5 | | Прочность на удержание кольца или головки, крышки и/или заглушки |
6 | | Испытание на прочность к укусу эластомерных компонентов, испытание на прочность растяжением под прямым углом к главной оси (см. приложение В, рисунок В.2) |
7 | | Испытания на растяжение отдельных компонентов и пар компонентов |
Дополнительные требования к соскам-пустышкам с головкой из гибких материалов |
9 | | Испытание на устойчивость к проколу кольца или головки из гибких материалов |
10 | | Испытание прочности кольца или головки из гибких материалов, испытание на прочность растяжением под прямым углом к главной оси (см. приложение В, рисунок В.2) |
11 | | Испытание на прочность к укусу эластомерных компонентов, испытание на прочность растяжением под прямым углом к главной оси (см. приложение В, рисунок В.2) |
Дополнительные испытания сосок-пустышек, в которых деталь вращается внутри баллончика (см. 9.6) |
12 | | Испытание прочности при вращении, испытание на прочность растяжением вдоль главной оси (см. приложение В, рисунок В.1) |
6.3 Подготовка образцов
6.3.1 Предварительная обработка
Образцы, взятые непосредственно у изготовителя перед продажей (см. приложение Б,
Б.4.1), искусственно старят в термостате с воздухообменом при температуре (70 +/- 2) °C в течение семи дней +/- 2 ч (см. ГОСТ ISO 188-2013,
метод B). Затем образцы кондиционируют, как описано в
6.3.3.
6.3.2 Обработка в кипящей воде
Все образцы погружают в кипящую воду третьей степени чистоты в соответствии с требованиями ГОСТ ISO 3696 <1> на (10 +/- 1) мин для удаления поверхностного покрытия, образующегося в результате производственных процессов (см. приложение Б,
Б.4.2), так, чтобы они не касались стенок контейнера. После этого образцы охлаждают до комнатной температуры.
--------------------------------
<1> В Российской Федерации действует
ГОСТ Р 52501-2005 (ИСО 3696:1987) "Вода для лабораторного анализа. Технические условия".
Все образцы подвергают кондиционированию перед испытаниями. Кондиционирование образцов должно составлять не менее 40 ч при температуре (23 +/- 2) °C и относительной влажности воздуха (50 +/- 5)%. Образцы перед испытаниями должны оставаться в тех же условиях, что и при кондиционировании. Испытания разрешается проводить в помещении без определенных условий кондиционирования.
Для каждого испытания необходимо использовать новые образцы, желательно из той же партии (т.е. образец, использованный в одном из испытаний, не должен участвовать в другом испытании) или для каждой группы испытаний, если не указано иное.
6.4 Подготовка образцов для химических испытаний
Подготовка образцов для химических испытаний - по
11.1.
На поверхности защитного диска, обращенной к лицу ребенка, не должно быть отпечатков, рисунков, тиснений или т.п.
Наклейки и самоклеящиеся этикетки не должны быть прикреплены ни к одной части соски.
На деталях соски-пустышки (наружная поверхность защитного диска, пробки, крышки, колпачка, наружной упаковки) могут быть элементы декора, выполненные литьем, печатью, гравировкой. Процессы печати могут включать такие методы, как тиснение, тампопечать и лазерная маркировка.
Во время обработки кипятком (см.
6.3.2) элементы декора не должны отслаиваться.
8 Конструктивные характеристики и испытания
На соске-пустышке не должно быть острых концов или краев (кромок), а также заусенцев (соответствие проверяется согласно ГОСТ EN 71-1-2014,
подразделы 8.11,
8.12).
Соска-пустышка не должна иметь съемных частей, за исключением защитного колпачка для баллончика (см.
раздел 12).
Проектировать все части сосок следует таким образом, чтобы ее можно было легко захватить для извлечения изо рта ребенка.
Кроме того, при разработке соски-пустышки необходимо позаботиться о том, чтобы ее можно было чистить легко и эффективно (см. приложение Б,
Б.3).
8.2 Баллончик (см. приложение Б, Б.5)
8.2.1 Требования
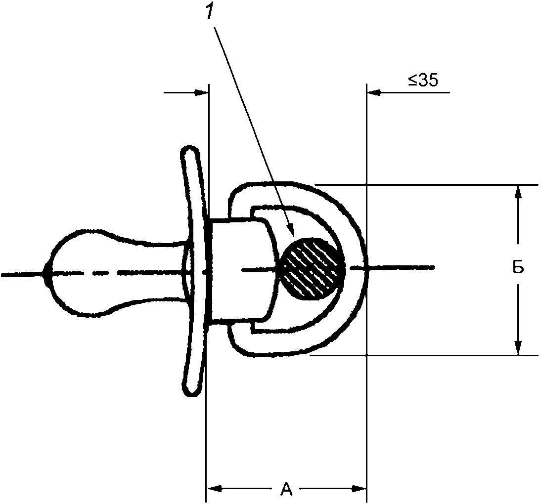
При испытании в соответствии с
8.2.2 эффективная глубина проникновения баллончика - не более 35 мм.
Баллончик не должен иметь отверстий перед обращенной к ней стороной защитного диска.
Внутренняя полость баллончика не должна содержать твердых, жидких (кроме воды, которая может попадать во внутреннюю полость баллончика при кипячении и легко удаляется путем выдавливания) или газообразных веществ (кроме воздуха) и никаких включений, кроме хвостовика пробки, обеспечивающей крепление баллончика в защитном диске.
8.2.2 Процедура испытаний эффективной глубины проникновения
Эффективная глубина проникновения - это расстояние, измеренное вдоль главной оси от верхней части баллончика до места, где баллончик входит в защитный диск (см.
рисунок 9). Данное расстояние можно измерить с помощью универсального средства измерений, предельная погрешность которого при измерении линейных размеров - не более 0,1 мм.
Рисунок 9 - Измерение глубины проникновения баллончика
8.3 Защитный диск (см. приложение Б, Б.6)
8.3.1 Требования
Соска-пустышка должна содержать защитный диск.
При проверке в соответствии с
8.3.2 защитный диск не должен проходить через шаблон для испытаний защитного диска.
8.3.2 Процедура испытаний
Шаблон для испытания защитного диска (см.
5.2) располагают так, чтобы он оставался в горизонтальном положении на протяжении всего испытания, нижняя поверхность шаблона не соприкасалась с поверхностью стола, шаблон не смещался в сторону.
Примечание - Для проведения испытаний необходимо нанести на защитный диск разметку главной и вспомогательной оси как на стороне, обращенной к баллончику, так и с обратной стороны. Затем следует совместить эти оси с маркерами на контрольном шаблоне защитного диска (см.
рисунок 1).
Соску погружают в водный раствор смачивающего агента не менее чем на 10 с.
Для этого подходит раствор моноолеата полиоксиэтилена (20) сорбитана с 2%-ной объемной долей.
Соску располагают баллончиком вниз таким образом, чтобы основная ось соски проходила через пересечение осей шаблона перпендикулярно плоскости шаблона. (см.
рисунок 10). Соску выравнивают так, чтобы главная ось защитного диска соски (см.
рисунок 11) была параллельна главной оси испытательного шаблона. К баллончику прикладывается усилие (10,0 +/- 0,5) Н (или подвешивается груз массой 1 кг) в направлении сверху вниз.
а - главная ось соски-пустышки; б - пересечение главной
и вспомогательной осей шаблона испытаний защитного диска;
в - шаблон испытания защитного диска (вид сбоку);
г - шаблон испытаний щита (вид сверху)
Рисунок 10 - Основная ось соски-пустышки относительно точки
пересечения осей, обозначенных на шаблоне для испытания
защитного диска
А - половина ширины защитного диска; а-а - главная ось
защитного диска
Рисунок 11 - Пример главной оси защитного диска
При этом осуществляют маятникообразное перемещение соски по поверхности шаблона так, чтобы основная ось защитного диска была параллельна основной оси шаблона в течение 10 с [см.
рисунок 12а)].
Соску переворачивают, размещают на шаблоне баллончиком вверх, выравнивают и повторяют испытание, прикладывая к кольцу или пробке усилие (10,0 +/- 0,5) Н (или подвешивая груз массой 1 кг) [см.
рисунок 12б)].
После этого у соски отрезают баллончик и размещают на шаблоне пробкой вниз, усилие, равное (10,0 +/- 0,5) Н, прикладывают вертикально в направлении сверху вниз, перпендикулярно плоскости шаблона через стержень, вставленный в отверстие, образовавшееся после отрезания баллончика [см.
рисунок 12в)].
При испытании сосок, полностью изготовленных из эластомерных материалов (резина, силикон), усилие прикладывают вертикально в направлении сверху вниз перпендикулярно плоскости шаблона с усилием (10,0 +/- 0,5) Н через трубку внутренним диаметром 15 мм, при этом баллончик отрезают так, чтобы нижний конец трубы упирался в защитный диск у основания баллончика [см.
рисунок 12г)].
Испытание считается пройденным, если ни при одном из вариантов размещения соски-пустышки на шаблоне не произошло проваливание соски-пустышки через вырез шаблона для испытаний защитного диска.
а) сила, приложенная к баллончику;
б) сила, приложенная к кольцу или головке;
в) сила, приложенная сверху через стержень, вставленный по центру в отверстие, оставшееся после обрезки баллончика;
г) сила, приложенная сверху над трубкой
Рисунок 12 - Примеры расположения соски-пустышки
на шаблоне (испытания защитного диска)
8.4 Вентиляция защитного диска (см. приложение Б, Б.7)
Защитный диск должен иметь как минимум два вентиляционных отверстия округлой формы (см.
рисунок 14), диаметром не менее 4 мм или площадью 13 мм
2 (размеры для каждого отверстия) или несколько отверстий меньшего диаметра, расположенных симметрично по отношению к малой оси защитного диска, при этом их суммарная площадь не должна составлять 25 мм
2 (размеры для каждой из сторон защитного диска по отношению к малой оси).
При испытании в соответствии с
8.4.2.1 в случае наличия у защитного диска только двух круглых отверстий каждое вентиляционное отверстие должно обеспечивать беспрепятственный проход
сферического шаблона А (см. 5.3). Если
сферический шаблон А касается защитного диска, это означает, что сферический шаблон проходит через отверстие под своим собственным весом, даже если она касается краев отверстия или других частей соски-пустышки, таких как кольцо или пробка.
При наличии только двух отверстий некруглой формы или нескольких отверстий, диаметр которых меньше 4 мм, их площадь измеряют с помощью миллиметровой бумаги или иным способом.
Если все части соски-пустышки находятся в любом положении на расстоянии 1,3 мм или более от отверстия, то отверстие следует считать свободно проходимым и измерение площади проводят по всему отверстию [см.
рисунки 13а) и
13б)].
Заблокированным отверстием считается отверстие, когда любая часть соски-пустышки, например кольцо или пробка, закрывает часть отверстия, по крайней мере в одном положении, и когда самая близкая часть блокирующей детали находится на расстоянии менее 1,3 мм от входа в отверстие [см.
рисунки 13в) и
13г)].
А - блокирующая часть; Б - защитный диск соски-пустышки;
В - вентиляционное отверстие; Г - вид сбоку; Д - вид
сверху, показывающий примеры допустимых измерительных
поверхностей (заштрихованная поверхность)
Рисунок 13 - Примеры заблокированных и свободно
проходимых отверстий в защитном диске
Если кольцо или другая часть соски-пустышки блокирует вентиляционное отверстие, свободная часть заблокированного вентиляционного отверстия должна соответствовать вышеизложенным требованиям, т.е. либо свободно пропускать
сферический шаблон А, либо иметь суммарную площадь 30 мм
2. Все вентиляционные отверстия на защитном диске должны соответствовать требованиям
8.9.
Центральные точки двух симметричных вентиляционных отверстий должны находиться на расстоянии не менее 15 мм друг от друга и располагаться по обе стороны от малой оси защитного диска (см.
рисунок 14).
А - вспомогательная ось; Б - главная ось; В - заштрихованная
поверхность - нет обязательных отверстий
Рисунок 14 - Примеры допустимых положений
обязательных вентиляционных отверстий
Края вентиляционных отверстий - на расстоянии не менее 5 мм от края защитного диска.
Рекомендуется выполнять вентиляционные отверстия как можно большего размера и в количестве более двух в соответствии с требованием к отверстиям (см.
8.9).
Определенные типы вентиляционных отверстий приводили к травмам пальцев. Для некруглых отверстий следует избегать заостренных V-образных углов или плохо закругленных углов, направленных внутрь, так как оба типа могут привести к защемлению и травмам пальцев (см.
8.9).
Примечание - Форма края защитного диска и размер, форма и расположение вентиляционных отверстий влияют на то, насколько легко соска-пустышка осязаема, если она застряла во рту ребенка.
8.4.2 Процедуры испытаний
8.4.2.1 Минимальный диаметр
Проверяемое вентиляционное отверстие должно быть выровнено так, чтобы вход в отверстие был горизонтальным. Любая часть соски-пустышки, независимо от того, блокирует она отверстие или нет (см.
8.4.1), должна находиться в самом неблагоприятном положении.
Сферический шаблон А (см. 5.3) следует разместить на отверстии так, чтобы соска-пустышка могла пройти сквозь него под действием собственного веса.
Необходимо проверить, полностью ли сферический шаблон проходит через отверстие.
8.4.2.2 Минимальная площадь
Площади отверстий могут быть измерены с помощью миллиметровой бумаги, применения теневой техники и т.д.
Любая часть соски-пустышки должна находиться в самом неблагоприятном положении, независимо от того, блокирует она отверстие или нет (см.
8.4.1).
Если отверстие имеет свободный доступ (каждая часть соски находится на расстоянии не менее 1,3 мм от любого отверстия), необходимо измерить площадь всего отверстия [см.
рисунки 13а) и
13б)].
Если отверстие свободно проходимое (каждая часть соски находится в любом месте на расстоянии не менее 1,3 мм от отверстия), необходимо измерить площадь всего отверстия [см.
рисунки 13а) и
13б)].
8.5 Кольцо или головка (см. приложение Б, Б.8)
Требования к кольцу или головке указаны в
таблице 3.
Таблица 3
Требования к кольцу или головке
Кольца, изготовленные из негибких материалов | Кольца, изготовленные из гибких материалов |
8.5.1 | |
Если кольцо из негибких материалов не соответствует каким-либо требованиям, его следует рассматривать как головку из гибких материалов (см. 8.7.1) | |
Кольцо из гибких материалов - в соответствии с требованием
8.8.1.
Кольца из негибких материалов должны соответствовать следующим требованиям:
- при испытании в соответствии с
8.5.2 эффективная глубина проникновения (размер А), которая является расстоянием между верхней частью кольца и задней частью защитного диска, - не более 35 мм (см.
рисунок 15);
- размер А - не больше 1,4 размера Б, наибольшей ширины кольца (см.
рисунок 15 и
8.5.2.2, а также приложение Б,
Б.8);
- при испытании в соответствии с
8.5.2.4 кольцо должно складываться до высоты 16 мм или менее над защитным диском (см. приложение Б,
Б.9).
А - эффективная глубина проникновения головки = размер "А";
Б - наибольшая ширина кольца = размер "Б";
1 - сферический шаблон Г
Рисунок 15 - Обозначение размеров кольца
Соски-пустышки, оснащенные кольцами, не отвечающими всем вышеперечисленным требованиям, необходимо рассматривать как изделия с головками из негибких материалов (см.
8.7).
8.5.2 Проведение испытаний
8.5.2.1 Эффективная глубина проникновения кольца
Размер А от кончика кольца до задней поверхности защитного диска (см.
рисунок 15) вдоль большой оси измеряют с помощью универсального средства измерений, предельная погрешность которого при измерении линейных размеров - не более 0,1 мм.
Размер Б, наибольшую ширину кольца (см.
рисунок 15), измеряют с помощью универсального средства измерений, предельная погрешность которого при измерении линейных размеров не более 0,1 мм.
8.5.2.3 Размер отверстия в кольце
8.5.2.4 Складывание кольца
Соску-пустышку поддерживают таким образом, чтобы движение кольца не ограничивалось.
Прикладывают силу, равную (10 +/- 0,5) Н, вдоль главной оси кольца через испытательную пластину, как показано на
рисунке 16. Измеряют расстояние между задней поверхностью защитного диска и поверхностью испытательной пластины до главной оси, как показано на
рисунке 16, с помощью универсального средства измерений, предельная погрешность которого при измерении линейных размеров - не более 0,1 мм.
1 - расположение кольца после приложения силы 10 Н;
2 - испытательная пластина; 3 - задняя часть защитного
диска вдоль основной оси
Рисунок 16 - Определение складывания кольца (эластичность)
При необходимости кольцо должно быть немного смещено от положения 90° перед приложением усилия, чтобы убедиться, что оно не блокируется в положении 90°.
8.6 Крышка и/или заглушка (см. приложение Б, Б.10)
8.6.1 Требование
Крышка и/или заглушка не должна выступать более чем на 3 мм над поверхностью защитного диска, обращенной к баллончику (см.
рисунок 17).
а - лицевая поверхность защитного диска на стороне рта;
б - выступающая часть
Рисунок 17 - Разрез через соску-пустышку, представляющую
измерение превышения крышки (заглушки)
8.6.2 Процедура испытаний
Аккуратно отрезают баллончик. Если крышка и/или заглушка выступает за баллончик защитного диска, то измеряют расстояние от конца крышки и/или заглушки к баллончику защитного диска с помощью универсального средства измерений, предельная погрешность которого при измерении линейных размеров - не более 0,1 мм.
8.7 Кольцо и/или головка, крышка и/или заглушка из негибких материалов (см. приложение Б, Б.11)
Элемент изделия, такой как: крышка и/или заглушка из негибких материалов, в зависимости от того, какая часть больше всего выступает над наружной поверхностью защитного диска, должен быть не менее 10 и не более 16 мм (см.
рисунок 18), за исключением случаев, когда соска-пустышка снабжена кольцом, которое соответствует требованиям
8.5.1.
Требование 8.7.1 также относится к кольцу, изготовленному из материалов, устойчивых к изгибу, которое не соответствует требованиям
8.5.1.
8.7.2 Процедура испытаний
Расстояние между самой высокой точкой головки, пробки и/или крышки и шаблоном для испытания защитного диска (см.
5.2) необходимо измерить в направлении центральной оси с помощью универсального средства измерений, предельная погрешность которого при измерении линейных размеров - не более 0,1 мм (см.
рисунок 18).
а - головка, пробка; б - крышка; в - шаблон испытания
защитного диска; г - размер, который необходимо определить;
д - эффективная глубина проникновения; е - толщина шаблона
испытаний защитного диска; А - главная ось соски-пустышки
Рисунок 18 - Измерение эффективной глубины проникновения
головки, пробки и/или крышки из негибких материалов
с помощью шаблона для испытаний защитного диска
Толщина испытательного шаблона защитного диска должна быть добавлена к измеренной длине для получения эффективного выступа.
Головка, пробка и/или крышка должны быть выровнены по главной оси соски-пустышки относительно пересечения главной и вспомогательной осей шаблона защитного диска.
8.8 Кольца и/или головки, крышки и/или заглушки из гибких материалов (см. приложение Б, Б.12)
Если кольцо и/или головка, крышка и/или заглушка изготовлены из гибких материалов, то их эффективное проникновение должно быть не менее 10 не более 35 мм при испытании в соответствии с
8.8.2.
8.8.2 Процедура испытаний
Расстояние от самой высокой точки кольца и/или головки, крышки и/или заглушки до шаблона для испытания защитного диска (см.
5.2) по основной оси (см.
рисунок 19) измеряют с помощью универсального средства измерений, предельная погрешность которого при измерении линейных размеров - не более 0,1 мм.
а - кольцо (или головка); б - заглушка; в - крышка;
г - шаблон для испытания защитного диска;
д - размер, который необходимо определить; е - эффективная
глубина проникновения; ж - толщина шаблона для испытания
защитного диска; А - основная ось соски-пустышки
Рисунок 19 - Измерение эффективной глубины проникновения
кольца и/или головки, крышки и/или заглушки из гибких
материалов с помощью шаблона для испытания защитного диска
Толщину испытательного шаблона защитного диска добавляют к измеренной длине, чтобы получить общую эффективную глубину проникновения. Кольцо и/или головку, крышку и/или заглушку испытывают во всех положениях относительно основной оси соски-пустышки, относительно пересечения большой и малой осей испытательного шаблона защитного диска.
8.9 Отверстия защитного диска (см. приложение Б, Б.13)
8.9.1 Требование
На защитном диске соски-пустышки, изготовленном из материалов с твердостью выше 60 по Шору A не должно быть отверстий с диаметром от 5,5 до 12 мм.
В случае круглых отверстий, которые не соответствуют этому требованию, существует риск нарушения кровообращения. Следует избегать некруглых отверстий с заостренными V-образными углами или плохо закругленными углами, обращенными внутрь.
8.9.2 Процедуры испытаний
Проверяемое отверстие необходимо выровнять таким образом, чтобы проникновение в отверстие было горизонтальным.
Сферический шаблон В (см. 5.3) следует разместить на отверстии так, чтобы она могла пройти сквозь него под действием собственного веса.
Это испытание нужно повторить с другой стороны отверстия.
9.1.1 Требования
При испытании в соответствии с
9.1.2 никакая часть соски-пустышки не должна ломаться, рваться или отделяться. После испытания на прочность при растяжении согласно
9.7.2.2 никакая часть той же соски-пустышки не должна ломаться, рваться или отделяться.
9.1.2 Процедуры испытания
Испытываемую соску-пустышку помещают без опоры на плоскую горизонтальную стальную поверхность в неблагоприятном положении, как показано на
рисунке 20. Сбрасывают испытательный груз с высоты (100 +/- 2) мм на самую высокую точку соски-пустышки так, чтобы центр испытательного груза попал на эту точку. Испытание проводят пять раз на одном и том же образце, причем, насколько это возможно, каждое воздействие происходит в другом стабильном положении (см.
рисунок 20).
Примечание - При проведении этого испытания целесообразно воспользоваться установкой и испытательным грузом согласно ГОСТ EN 71-1-2014,
подраздел 8.7 "Испытание ударом".
А - центр груза; Б - стальная поверхность
Рисунок 20 - Примеры расположения соски-пустышки
для испытания на ударопрочность
Последующее испытание на прочность при растяжении в соответствии с
9.7.2.2 проводят вдоль главной оси соски-пустышки.
В соске-пустышке с кольцом силу прикладывают между кольцом и баллончиком. Для соски-пустышки с головкой, за которую можно ухватиться, прикладывают усилие между головкой и баллончиком.
Если соска-пустышка с крышкой и/или заглушкой, которые зажать невозможно, силу прикладывают между защитным диском и баллончиком.
9.2 Устойчивость к проколу (см. приложение Б, Б.14)
9.2.1 Требования
9.2.1.1 Устойчивость к проколу баллончика
При испытании в соответствии с
9.2.2.1 для полного прокола одной стенки полого баллончика или прокола стенки баллончика из цельного материала прикладывают силу больше 30 Н к инструменту для прокола (см.
5.4).
9.2.1.2 Устойчивость к проколу головки из гибких материалов
При испытании в соответствии с
9.2.2.2 соски-пустышки, имеющей головку из гибких материалов, прикладывают усилие более 30 Н для полного прокола одной стенки баллончика.
9.2.2 Процедура испытаний
9.2.2.1 Устойчивость к проколу баллончика
Перед использованием наконечник инструмента для прокола (см.
5.4) должен быть подвергнут визуальному осмотру на предмет повреждений, таких как заусенцы или осколки. Разрешается использовать только неповрежденные инструменты для прокола, так как в противном случае это повлияет на результаты испытания.
Не натягивая, отрезают баллончик под прямым углом к основной оси от баллончика как можно ближе к защитному диску и помещают на упорную доску (см.
5.5 и
рисунок 21).
а - инструмент для прокола (см.
5.4);
б - баллончик;
в - упорная доска (см.
5.5);
г - упор для режущей
кромки баллончика
Рисунок 21 - Позиционирование инструмента
прокола на баллончике
Инструмент для прокола в соответствии с
5.4 располагают под прямым углом 3 мм к основной оси баллончика по центру с краем (5 +/- 0,5) мм от обрезанного конца баллончика, по меткам на упорной доске (см.
5.5).
Для баллончика, который не имеет круглого сечения, инструмент для прокола следует расположить над самой плоской поверхностью горловины баллончика.
При скорости подачи (10 +/- 1) мм/мин прилагают нагрузку до тех пор, пока инструмент для прокола полностью не прорежет верхнюю стенку полого баллончика или всю стенку цельного баллончика. При этом фиксируют усилие, при котором произошел полный прокол стенки. Усилие должно составлять не менее 30 Н.
Сила должна быть приложена под прямым углом к упорной доске с помощью машины для испытания на растяжение.
У сплошных баллончиков есть только одна стенка, и под нее следует подложить кусок материала, аналогичный этому баллончику.
Усилие прикладывают под прямым углом к упорной доске с помощью машины для испытания на растяжение.
9.2.2.2 Испытание на устойчивость к проколу кольца или головки из гибких материалов
Если соска-пустышка оснащена кольцом или головкой из гибких материалов, повторяют испытание кольца или головки на устойчивость к проколам способом, аналогичным описанному в
9.2.2.1.
Для сплошных колец или головок из гибких материалов имеется только одна стенка, и под нее следует подложить кусок материала, аналогичный этой головке или кольцу.
9.3 Прочность на разрыв (см. приложение Б, Б.15)
9.3.1 Требования
9.3.1.1 Прочность на разрыв баллончика
При испытании в соответствии с
9.3.2.1 баллончик не должен разорваться (разделиться на отдельные части) по месту нанесенного прокола при последующем испытании на прочность при растяжении в соответствии с
9.7.2.2.
9.3.1.2 Прочность на разрыв кольца или головки из гибких материалов
Если соска-пустышка оснащена кольцом или головкой из гибких материалов, то при испытании в соответствии с
9.3.2.2 во время последующего испытания на прочность при растяжении в соответствии с
9.7.2.2 кольцо или головка не должны ломаться или отделяться.
9.3.2 Процедура испытаний
9.3.2.1 Испытание прочности на разрыв баллончика
Прочность на разрыв баллончика проводят на совершенно новых образцах сосок-пустышек, для этого инструмент для прокола (см.
5.4) располагают под прямым углом к основной оси баллончика по центру с краем 3 мм и (7,5 +/- 0,5) мм от того места, где баллончик входит в защитный диск со стороны рта. Прикладывают нагрузку таким образом, чтобы инструмент для прокола полностью проник через баллончик изделия и примерно на 1 мм вошел в неповрежденный участок упорной доски (см.
5.5). Если при испытании баллончика из цельного материала инструмент для прокола не прорезал его с силой 300 Н и более, то испытание прекращают и проводят испытание на прочность растяжением в соответствии с
9.7.2.2.
Последующее испытание на прочность растяжением согласно
9.7.2.2, при этом баллончик под прямым углом к основной оси соски-пустышки зажимают на расстоянии (12 +/- 2) мм от защитного диска, сам защитный диск фиксируют подходящим приспособлением (схемы примерных зажимов см. в
приложении В).
Зажим, удерживающий баллончик, не должен закрывать или соприкасаться с отверстиями, нанесенными при проколе стенок баллончика.
9.3.2.2 Прочность на разрыв кольца или головки из гибких материалов
Если соска-пустышка имеет кольцо или головку из гибкого материала, то испытание проводят согласно
9.3.2.1.
9.4 Прочность на удержание кольца или головки, крышки и/или заглушки (см. приложение Б, Б.16)
9.4.1 Требование
При испытании в соответствии с
9.4.2 ни одна часть соски-пустышки не должна сломаться или отсоединиться при визуальном осмотре.
9.4.2 Процедура испытаний
Задняя поверхность защитного диска должна поддерживаться согласно
рисунку 22. Опора должна находиться близко к кольцу или головке, заглушке и/или крышке, но не касаться этих деталей. Некоторые соски-пустышки, оснащенные кольцами, требуют прорезей в опорных устройствах, чтобы обеспечить хорошую посадку на задней поверхности защитного диска (см.
рисунок 22). Кончик баллончика отрезают на расстоянии 5 - 10 мм от места его соединения с защитным диском. Вставляют стержень диаметром 5 мм с плоским концом в баллончик до тех пор, пока он не упрется в заглушку или комбинированную заглушку и крышку. Прикладывают силу (90 +/- 5) Н со скоростью траверсы (10 +/- 1) мм/мин и удерживают в течение (10 +/- 0,5) с. Если соска-пустышка оснащена отдельной заглушкой и головкой или крышкой, то испытанию подлежат все детали. Прикладывают силу к нижней стороне головки или крышки, например просверлив отверстие в центре заглушки, чтобы обеспечить доступ к испытательному стержню, или другими способами, которые может позволить конструкция соски-пустышки.

А - стержень; Б - баллончик; В - заглушка; Г - крышка;
Д - держатель для соски-пустышки
Рисунок 22 - Расположение соски-пустышки
для испытания крепления крышки и/или заглушки
В тех случаях, когда стержень диаметром 5 мм не подходит, следует использовать альтернативный стержень, имеющий круглое или плоское поперечное сечение подходящего размера.
Если стержень диаметром 5 мм не может быть применен, допускается использование стержня с круглым сечением подходящего диаметра.
9.5 Испытание на прочность к укусу эластомерных компонентов (см. приложение Б, Б.17)
9.5.1 Требование
При испытании в соответствии с
9.5.2 ни один эластомерный компонент соски-пустышки не должен разрушаться, разрываться или отделяться при визуальном осмотре. При последующем испытании в соответствии с
9.7.2.2 ни один эластомерный компонент соски-пустышки не должен разрушаться, разрываться или отделяться.
9.5.2 Процедуры испытаний
Для каждого компонента эластомера и для каждого испытания необходимо взять новые образцы, желательно из одной и той же партии.
Эластомерный компонент соски-пустышки помещают между зажимами (см.
5.6 и
рисунок 23) для испытания на прочность к укусу следующим образом:
баллончик - так, чтобы сила прикладывалась кусающими кромками под прямым углом к основной оси баллончика по центру и (7,5 +/- 0,5) мм от того места, где баллончик входит в защитный диск со стороны рта;
эластомерное кольцо и/или головку - так, чтобы через края укуса прилагалась полная сила под прямым углом к основной оси соски-пустышки по центру и на равном расстоянии между верхними и нижними концами кольца или головки, там, где она входит в крышку и/или заглушку; или - если кольцо или головка прикреплены непосредственно к защитному диску - на равном расстоянии от диска, между верхними и нижними концами кольца или головки, там, где они входит в крышку и/или заглушку; или - если кольцо или головка прикреплены непосредственно к защитному диску - на равном расстоянии между верхними и нижними концами кольца или головки, там, где они прикреплены к задней части защитного диска;
эластомерную крышку и/или заглушку - так, чтобы через края укуса полная сила была под прямым углом к основной оси соски-пустышки по центру и на равном расстоянии от конца кольца или головки и там, где головка или кольцо на задней части защитного диска ведет в защитный диск;
эластомерный защитный диск - так, чтобы через края укуса полная сила была перпендикулярна главной оси защитного диска по центру (см.
рисунок 11) и на равном расстоянии от внешнего края защитного диска и там, где крышка и/или заглушка на задней части защитного диска входит в защитный диск.
Рисунок 23 - Позиционирование эластомерных компонентов
соски-пустышки: баллончика, кольца или головки, крышки
и/или заглушки и защитного диска для испытания
на прочность к укусу
Если во время испытания верхний зажим касается защитного диска для испытания на прочность к укусу, разрешается повернуть этот зажим на 180°.
Прилагают максимальную нагрузку (400 +/- 10) Н и минимальную нагрузку (200 +/- 10) Н. Испытание проводят 50 раз путем поднятия и опускания зажимов на укус со скоростью траверсы (10 +/- 1) мм/мин.
После этой обработки соска-пустышка должна пройти испытание на прочность при растяжении в соответствии с
9.7.2.2, при этом защитный диск крепится в соответствующем удерживающем устройстве, а сила действует на проверяемые компоненты эластомера под прямым углом к основной оси соски-пустышки.
Примечание - Важно, чтобы режущие кромки не смещались за линию во время испытаний на прочность к укусу. Для этого могут быть предусмотрены направляющие стержни. Далее проводят испытание согласно
таблице 2.
9.6 Прочность при вращении (см. приложение Б, Б.18)
9.6.1 Требование
Если любая деталь внутри баллончика соски-пустышки вращается (на 360°), то при приложении крутящего момента (1 +/- 0,2) Нм баллончик не должен разрываться или отсоединяться при испытаниях в соответствии с
9.6.2, а затем в соответствии с
9.7.2.2.
9.6.2 Процедура испытаний
Защитный диск надежно зажимают и вращают кольцо и/или головку, крышку и/или заглушку со скоростью (50 +/- 5) об/мин на 250 оборотов по часовой стрелке, затем на 250 оборотов против часовой стрелки.
После этого испытания соска-пустышка должна пройти испытание на прочность при растяжении в соответствии с
9.7.2.2, приложив усилие вдоль главной оси соски-пустышки между защитным диском и баллончиком.
9.7 Прочность соски-пустышки (см. приложение Б, Б.19)
9.7.1 Требования
После испытаний в соответствии с
9.7.2.2 и
9.7.2.3 никакая часть соски-пустышки не должна быть определена путем визуального осмотра как сломанная, разорванная или оторванная.
Необходимо провести дополнительные испытания, чтобы обеспечить надежность крепления всех деталей, еще не изученных в соответствии с
9.1 -
9.6.
9.7.2 Процедуры испытаний
9.7.2.1 Общие инструкции на испытания прочности растяжением
Зажмите баллончик на расстоянии (12 +/- 2) мм от защитного диска.
Кольцо и/или головку удерживают зажимом, стержнем или крючком. Используют два стержня или крючка, если форма кольца или головки не позволяет надежно их удерживать в требуемом положении. Каждый стержень или крючок должен иметь крутое поперечное сечение диаметром не менее 5 мм.
Все остальные компоненты удерживают удерживающим устройством, зажимом или другими приспособлениями.
Примеры некоторых подходящих устройств приведены в
приложении В.
Удерживающее устройство, зажим или другие устройства должны надежно удерживать компоненты во время испытания, не вызывая повреждений, которые могут повлиять на результат испытания и исказить его. Любые результаты, при которых происходит такое отклонение, необходимо принимать во внимание.
Если после нескольких попыток испытание не может быть проведено без повреждения баллончика, поскольку материал данной составляющей изделия непрочен, это должно быть зарегистрировано как несоответствие. Это также относится к любому другому испытанию, в котором баллончик зажимается.
9.7.2.2 Испытание на прочность при растяжении
Соску-пустышку закрепляют в удерживающем устройстве испытательной машины при помощи специального приспособления. Одну часть соски-пустышки закрепляют в неподвижном удерживающем устройстве, а вторую - в активном, через которую прикладывают испытательную нагрузку.
Вначале прикладывают предварительную нагрузку (5 +/- 2) Н для центрирования образца, затем нагрузку увеличивают до (90 +/- 5) Н при скорости перемещения активного удерживающего устройства (200 +/- 5) мм/мин и поддерживают ее при этом значении в течение (10 +/- 0,5) с.
| | ИС МЕГАНОРМ: примечание. В официальном тексте документа, видимо, допущена опечатка: приложение C отсутствует. | |
Примечание - Приложенная сила неприменима к методике эталонного испытания, указанной в приложении C.
В некоторых случаях конструкция соски-пустышки делает невозможным приложение силы точно под прямым углом к ее главной оси, например, когда сторона баллончика соприкасается с краем защитного диска. В таких случаях сила должна прикладываться как можно ближе к прямому углу, обеспечивая при этом, чтобы любой остаточный контакт между двумя частями не уменьшал значительно силу, фактически приложенную к их соединению. Когда сила прикладывается под прямым углом к оси компонента, который не имеет круглого сечения относительно главной оси соски-пустышки, тогда испытание проводится на двух образцах. Сила прикладывается один раз к каждому образцу под углом 90° друг к другу и, насколько это возможно, на одной линии с крайними точками сечения.
9.7.2.3 Испытания на прочность при растяжении отдельных компонентов и пар компонентов
Силы растяжения, указанные в
9.7.2.2, должны прилагаться вдоль главной оси и под прямым углом к основной оси соски-пустышки, как описано ниже, к соске-пустышке и ее компонентам.
Необходимо проверить все отдельные компоненты, а также любую возможную комбинацию пар компонентов, если это еще не было сделано в других испытаниях. Поскольку целью этой серии испытаний на растяжение является снижение риска, что соска-пустышка распадется на компоненты, силы должны быть приложены в наиболее неблагоприятных положениях (комбинациях) изделия. Ниже приведены дополнительные примеры вероятных подходящих комбинаций, которые необходимо испытать в зависимости от конструкции соски-пустышки:
а) кольцо/кольцо;
б) кольцо/защитный диск;
в) головка/крышка/заглушка - защитный диск;
г) защитный диск/защитный диск (двухкомпонентный защитный диск, например, погремушка);
д) головка/крышка/заглушка - головка/крышка/заглушка (двухкомпонентный).
Это неполная серия дополнительных испытаний. В других конструкциях или в других исполнениях, возможно, потребуются испытания других пар компонентов (составляющих частей). Некоторые примеры подходящих испытаний показаны на
рисунке 24.
1 - основная ось; 2 - удерживающее устройство;
А - кольцо/кольцо; Б - кольцо - защитный диск;
В - головка/крышка/заглушка - защитный диск;
Г - защитный диск/защитный диск (погремушка)
Примечание - Заштрихованные поверхности показывают часть соски, которая удерживается или зажимается.
Рисунок 24 - Примеры дополнительных испытаний
компонентов соски
9.8 Испытание на предел прочности при растяжении для молочных сосок
9.8.1 Краткое описание
Это испытание проводят для определения прочности методом растяжения молочных сосок после прокола.
Испытание состоит из двух частей:
- прокол (см.
9.8.3): если сосковую часть и/или баллончик нельзя проколоть, то они соответствуют требованиям
9.8.2, и последующее испытание на прочность растяжением не требуется;
- испытание на прочность растяжением проколотого образца (см.
9.8.4).
Молочную соску, которую можно проколоть, сломать, оторвать или отслоить. Согласно
9.8.3, нельзя использовать в испытании.
Подвижную часть "зуба" располагают перпендикулярно кончиком вниз.
Для проведения испытания необходима универсальная испытательная машина и упорная доска толщиной не менее 10 мм и твердостью по Шору D (70 +/- 5). Молочную соску кладут на упорную доску, а высоту "зуба" регулируют так, чтобы он слегка касался молочной соски, но при этом оставалась возможность для выравнивания изделия.
Выравнивание производят так, чтобы прокол был близок к "зубу", но таким образом, чтобы проколотая часть для последующего испытания на растяжение все еще была надежно зажата зажимами, которые не касаются прокола.
Рисунок 25 - Выравнивание молочной соски для прокола
Молочная соска должна быть выровнена так, чтобы "зуб" (см.
рисунок 25) располагался по центру и под прямым углом к главной оси соски или горловины испытуемой соски, т.е. на расстоянии 15 - 20 мм от кончика. Основная ось соски должна быть выровнена перпендикулярно режущей кромке испытательного "зуба".
Силу (200 +/- 10) Н прикладывают в течение (1 +/- 0,5) с при скорости (10 +/- 5) мм/мин. Если испытательный "зуб" прокалывает компоненты изделия, то испытание проводят в соответствии с
9.8.4.
Перед использованием режущая кромка испытательного "зуба" должна пройти визуальный осмотр на предмет повреждений. Можно использовать только неповрежденные испытательные "зубы", в противном случае это отрицательно сказывается на результатах испытаний.
9.8.4 Испытание на прочность растяжением проколотого образца
Для закрепления противоположных концов молочной соски необходимо использовать соответствующие крепежные детали.
Надежно удерживают изделие с двух сторон от прокола по основной оси.
Для выравнивания испытуемого образца вдоль основной оси прикладывают силу (5 +/- 2) Н, затем усилие увеличивают до (90 +/- 5) Н при скорости (200 +/- 10) мм/мин. Эта сила сохраняется в течение (10 +/- 0,5) с.
10 Требования к содержанию химических веществ
10.1 Общие требования
Перечень определяемых при испытаниях сосок химических веществ, нормативы миграции данных веществ установлены
[1].
Выделение вредных для здоровья химических веществ не должно превышать норм, установленных
[1].
Образцы для испытания готовят в соответствии с
11.1 из материала, из которого изготовлена соска, и испытывают в соответствии с
таблицей 4.
Таблица 4
Материал | Определение |
| Миграции отдельных элементов | Миграция N-нитрозаминов и N-нитрозобразующих | Миграция цимата (диметилдитиокарбамата цинка) | Миграция антиоксидантов | Содержание вредных летучих веществ (соединений) |
Вулканизованная резина | x | x | x | x | - |
Силиконовые полимеры | x | - | - | x | x |
Термопластики | x | x | x | x | - |
Термопластичные эластомеры (ТПЭ) | x | x | x | x | - |
10.2 Санитарно-химические свойства
Приведенные ниже вулканизующие вещества и антиоксиданты не охватывают полный перечень. Допускается использовать другие вещества, не указанные в настоящем стандарте, при условии, что они не оказывают токсического воздействия, а также существуют аналитические методы их определения.
10.3 Требования к материалам
Материалы, используемые для изготовления сосок, испытывают в соответствии с
таблицей 4 с пометкой "x".
10.4 Миграция отдельных элементов (см. приложение Б, Б.20)
При испытании сосок в соответствии с
11.2 значения показателей отдельных элементов, мигрирующих из материала сосок, не должны превышать значений, указанных в
таблице 5.
Таблица 5
Миграция отдельных элементов из материала сосок
Наименование вещества | Значение, мг/кг, не более | Значение, мг/дм3, не более |
Мышьяк, As | не допускается | не допускается |
Свинец, Pb | не допускается | не допускается |
Цинк, Zn | - | 1,0 |
Сурьма, Sb | 15 | 0,05 |
Барий, Ba | 100 | 0,1 |
Кадмий, Cd | 20 | 0,001 |
Хром, Cr | 10 | 0,1 |
Ртуть, Hg | 10 | 0,0005 |
Селен, Se | 100 | 0,001 |
10.5 Миграция N-нитрозаминов и N-нитрозобразующих веществ (см. приложение Б, Б.20)
При испытании в соответствии с
11.3 общая миграция N-нитрозаминов и N-нитрозобразующих из эластомеров или резины не должна превышать значений, указанных в
таблице 6.
Таблица 6
Миграция N-нитрозаминов и N-нитрозобразующих
Наименование | Значение, мкг/кг, не более | Погрешность измерения, мкг/кг |
N-нитрозамины | 10,0 | 0,01 |
N-нитрозобразующие | 200,0 | 0,1 |
Примечание - Допускается в сосках из силиконовых полимеров не определять N-нитрозамины и N-нитрозобразующие вещества. |
10.6 Миграция цимата (диметилдитиокарбамата цинка)
При испытании эластомерных деталей сосок не допускается миграция цимата (диметилдитиокарбамата цинка CAS N 137-30-4).
10.7 Миграция антиоксидантов и каптакса (2-меркаптобензотиазол) (MBT)
При испытании эластомерных деталей сосок в соответствии с
11.4 миграция каптакса (2-меркаптобензотиазола) (MBT) или 2(3H)-бензотиазолэтиона (CAS N 149-30-4; IUPAC 1,3-бензотиазол-2-тиола) не должна превышать 8 мг/кг.
При испытании эластомерных деталей сосок в соответствии с
11.4 миграция указанных ниже веществ не должна превышать 2,0 мг/дм
3:
- 2,6-бис (1,1-диметилэтил)-4-метилфенол (BHT) (CAS N 128-37-0; IUPAC 2,6-ди-трет-бутил-p-крезола);
- 2,2'-метилен-бис[6-(1,1-диметилэтил)-4-метилфенол)] (антиоксидант 2246), (CAS N 119-47-1; IUPAC-6,6'-ди-трет-бутил-2,2'-метилен-ди-p-крезола) или антиоксидант (агидол-2).
10.8 Миграция вредных летучих веществ (соединений)
При испытании силиконовых деталей сосок в соответствии с
таблицей 4 не допускается миграция следующих вредных летучих веществ (соединений):
- фенола;
- формальдегида;
- спирта метилового;
- спирта бутилового.
10.9 Миграция фталевого ангидрида
При испытании латексных, резиновых сосок молочных и сосок-пустышек содержание фталевого ангидрида должно быть не более 0,2 мг/дм3.
11.1 Подготовка образцов для испытания
Приведенная ниже подготовка образцов для испытания применима для всех испытаний, кроме испытания по
11.3.
11.1.1 Образцы погружают на (10 +/- 1) мин в кипящую воду, соответствующую требованиям класса 3 по ГОСТ ISO 3696, так, чтобы они не касались стенок контейнеров.
Примечание - Удаляют с поверхности изделия покрытие, нанесенное при изготовлении. Материалы должны быть устойчивыми к кипящей воде.
11.1.2 Перед испытанием образцы кондиционируют не менее 40 ч при температуре (23 +/- 2) °C и относительной влажности (50 +/- 5)%.
До испытания образцы выдерживают в условиях кондиционирования. Испытания допускается проводить в некондиционированном помещении.
11.1.3 Для каждого испытания необходимо использовать новые образцы, предпочтительно из той же партии, т.е. образцы, использованные в одном испытании, не должны использоваться в другом испытании, если не указано иное.
11.1.4 Образцы и пробы для испытаний готовят в перчатках (следует избегать любого загрязнения во время подготовки пробы, в том числе использования резиновых перчаток) и хранят только в надежно закрытых, не допускающих миграции емкостях и в защищенном от света месте.
11.2 Определение миграции отдельных элементов
11.2.1 Принцип
Из деталей сосок, контактирующих с ребенком, выделяют растворимые вещества (сурьму, мышьяк, барий, кадмий, хром, свинец, ртуть, цинк и селен). Моделируют условия контакта с желудочным соком. Концентрацию веществ, мигрирующих из сосок, выражают количественно.
11.2.2 Оборудование
11.2.2.1 Водяная баня, обеспечивающая температуру (37 +/- 2) °C, с мешалкой для перемешивания испытуемой смеси.
11.2.2.2 pH-метр с точностью +/- 0,2 единицы pH.
11.2.2.3 Мембранный фильтр с размером ячейки 0,45 мкм.
11.2.2.4 Центрифуга, обеспечивающая скорость (5000 +/- 500) об/мин.
11.2.3 Реактивы
11.2.3.1 Раствор соляной кислоты (0,070 +/- 0,005) моль/дм
3.
11.2.3.2 Раствор соляной кислоты (2,0 +/- 0,2) моль/дм
3.
11.2.3.3 Дистиллированная вода (ГОСТ ISO 3696).
11.2.4 Отбор проб для испытания
Пробу для испытания отбирают от каждой детали соски, контактирующей с ребенком. Соединенные детали разъединяют и испытывают по отдельности.
11.2.5 Подготовка испытуемой пробы
Готовят не менее 100 мл раствора и не менее 1 г испытуемой пробы каждой детали соски. Необходимо избегать нагрева материала при разделении деталей соски и при разрезании.
Баллончик соски разрезают вдоль один раз. Другие детали соски разрезают на кусочки длиной 4 - 6 мм и шириной не более 6 мм.
11.2.6 Методика проведения испытания
В контейнере при температуре (37 +/- 2) °C перемешивают 1 г приготовленной испытуемой пробы (см.
11.2.5) с 50 мл водного раствора соляной кислоты (см.
11.2.3.1). Перемешивают на водяной бане в течение (60 +/- 5) с, измеряют кислотность раствора pH-метром (см.
11.2.2.2). Если pH больше 1,5, продолжая перемешивать, добавляют по каплям водный раствор соляной кислоты (см.
11.2.3.2) до значения pH, равного 1,0 - 1,5. Защищенный от света раствор постоянно перемешивают еще в течение (60 +/- 5) с, затем выдерживают (60 +/- 5) мин при той же температуре.
После выдерживания раствора разделяют вещества, используя мембранный фильтр (см.
11.2.2.3) или, при необходимости, центрифугу (см.
11.2.2.4) со скоростью 5000 об/мин в течение не более 10 мин. Об использовании центрифуги указывают в протоколе.
Если раствор выдерживают до проведения анализа более одного рабочего дня, его стабилизируют, добавив соляную кислоту так, чтобы концентрация хранящегося раствора была 1 моль/дм3.
11.2.7 Определение количества выделенных отдельных элементов
Для определения количества выделенных отдельных элементов используют методы с пределом обнаружения не менее 0,1 раза от их значения.
Примечание - Предел обнаружения метода должен быть в три раза точнее стандартного отклонения холостого значения, измеренного лабораторией, проводящей испытания.
Содержание выделенных отдельных элементов выражают в мг/кг или мг/дм3.
11.3 Определение миграции N-нитрозаминов и N-нитрозобразующих
N-нитрозамины и N-нитрозобразующие определяют в соответствии с
ГОСТ EN 12868.
11.4 Определение меркаптобензотиазола (MBT) и антиоксидантов
11.4.1 Принцип
MBT и соли металлов определяют количественно, экстрагируя в водный выделяемый раствор. MBT идентифицируют и определяют его количество высокоэффективной жидкостной хроматографией (ВЭЖХ) с УФ-детектированием при определенной длине волны прямым впрыскиванием водного выделяемого раствора или в концентрированном растворе. Обнаружение подтверждают сравнением УФ-спектра пика образца, произведенного детектором диодной матрицы, со спектром пика образца MBT.
Метод также используют для качественного и количественного определений антиоксидантов 2,6-бис(1,1-диметилэтил)4-метилфенола (BHT) и 2,2'-метилен-бис(6-(1,1-диметилэтил-4-метилфенола) (антиоксиданта 2246). Их также определяют высокоэффективной жидкостной хроматографией и УФ-детектированием при определенной длине волны. Обнаружение подтверждается сравнением УФ-спектра пика образца, произведенного диодно-матричным детектором, со спектром пика подлинного вещества. Для неизвестных образцов рекомендуют в качестве следующего шага идентификации использовать тонкослойную хроматографию или газожидкостную хроматографию.
11.4.2 Оборудование
11.4.2.1 Высокоэффективный жидкостный хроматограф с петлей инжектора объемом 20 мкл и диодно-матричным детектором, соединенный с интегратором или компьютером с хроматографической программой.
11.4.2.2 Хроматографические колонки, способные отделить MBT от антиоксидантов и полностью разделить антиоксиданты так, чтобы более 1% пиков не пересекались между собой и с другими ингредиентами, выделяемыми из образца.
11.4.3 Реактивы (вещества аналитической чистоты, если нет других указаний)
11.4.3.1 Вода (качества для ВЭЖХ).
11.4.3.2 Ацетонитрил (качества для ВЭЖХ).
11.4.3.3 Дистиллированная вода.
11.4.3.4 Дихлорметан (очищенный, аналитической чистоты).
11.4.3.5 Безводный сульфат натрия.
11.4.3.6 Уксусная кислота, 100%-ная.
11.4.3.7 Уксусная кислота, 3%-ная.
11.4.4 Реактивы (вещества чистотой не менее 98%)
11.4.4.1 2-меркаптобензотиазол (MBT).
11.4.4.2 2,6-бис(1,1-диметилэтил)4-метилфенол (антиоксидант BHT).
11.4.4.3 2,2'-метилен-бис(6-(1,1-диметилэтил-4-метилфенол) (антиоксидант 2246).
11.4.5 Реактивы - стандартные растворы
11.4.5.1 Стандартный раствор MBT
| | ИС МЕГАНОРМ: примечание. В официальном тексте документа, видимо, допущена опечатка: имеется в виду п. 11.4.4.1, а не 5.4.4.1. | |
Готовят шесть стандартных растворов, содержащих, например, 1,0 или 2,0, 5,0 или 10,0, 15,0 или 20,0 мг MBT (см.
5.4.4.1) в 1 дм
3 ацетонитрила (см.
11.4.3.2).
11.4.5.2 Стандартный раствор антиоксиданта
Готовят растворы двух антиоксидантов, содержащих 30 мкг антиоксиданта BHT (см.
11.4.4.2) и 15 мкг антиоксиданта 2246 (см.
11.4.4.3) в 5 см
3 ацетонитрила (см.
11.4.3.2).
11.4.6 Методика проведения испытания
Взвешивают 1 дм2 или, если образца такой площади нет, предварительно обработанный образец максимальной площади и измельчают на несколько частей. Размер образца обусловлен размером горловины колбы вместимостью 250 см3. Площадь образца состоит из суммы площадей наружной и внутренней поверхностей образца.
Примечания
1 Для баллончика соски достаточно двух разрезанных вдоль половинок.
2 Для расчета площади поверхности кусочки эластомерных частей сосок выкладывают на миллиметровую бумагу и отмечают границы. Общая площадь частей, отмеченных на бумаге, составит площадь образца.
Образец хранят при температуре 40 °C в термостате в течение 24 ч в моделирующей жидкости (воде - замене молока и 3%-ном растворе уксусной кислоты - замене фруктового сока) из расчета 1 см2 образца на 1 см3 жидкости.
После удаления твердых частиц:
1) встряхивают моделирующую жидкость с 50 см
3 дихлорметана (см.
11.4.3.4). Объединенные органические фазы сушат над безводным сульфатом натрия (см.
11.4.3.5) и осторожно выпаривают до остатка. Остаток вновь растворяют в 5 см
3 ацетонитрила (см.
11.4.3.2).
Примечание - Используют концентрированные колонки для исключения встряхивания с дихлорметаном;
или
2) добавляют 2,0 см
3 уксусной кислоты (см.
11.4.3.6) в моделирующую жидкость и выдерживают при температуре 4 °C до проведения анализа прямым введением в хроматограф.
11.4.7 Вычисления
11.4.7.1 MBT
Каждый стандартный раствор (см.
11.4.5.1) вводят три раза в хроматограф (см.
11.4.2.1) с хроматографическими колонками (см.
11.4.2.2). Строят калибровочную кривую мг·MBT/кг материала по 18 значениям.
Вводят таким же образом испытуемый раствор в хроматограф. Для определения содержания MBT в образце строят калибровочную кривую, откладывая по оси ординат величину аналитического сигнала, а по оси абсцисс - концентрацию MBT в мкг/см3 вручную или используя компьютер. Предел обнаружения образца в растворе мкг·MBT/см3 должен быть меньше или равен 0,1.
Примечания
1 В
приложении А приведены требования к соответствующей хроматографической колонке, метод и данные воспроизводимости.
2 Нецелесообразно проводить всю процедуру калибровки для каждой серии определений. Достаточно одноступенчатой калибровки, затем калибровки с использованием компьютера.
11.4.7.2 Антиоксиданты
Вводят стандартный раствор антиоксиданта (см.
11.4.5.2) в хроматограф (см.
11.4.2.1) с хроматографическими колонками (см.
11.4.2.2). Вводят в хроматограф таким же образом испытуемый раствор. Определяют количество выделенных антиоксидантов (мкг антиоксиданта/кг образца вытяжки) по формуле

, мкг/кг, (1)
где Cст - массовая концентрация стандартного раствора антиоксиданта, мкг/см3;
Sст - площадь пика раствора стандартного образца;
Sпр - площадь пика раствора образца;
V - объем растворителя, взятый для экстрагирования образца, см3;
m - масса 1 дм2 образца, кг.
Если пики антиоксидантов испытуемого образца выше пиков стандартного образца, готовят дополнительные хроматограммы стандартного раствора для построения соответствующей калибровочной кривой.
11.5 Определение содержания вредных летучих веществ (соединений)
Определение содержания вредных летучих веществ (соединений) - в соответствии с условиями моделирования и методами испытаний, установленными
[2].
11.6 Определение миграции фталевого ангидрида
Определение миграции фталевого ангидрида в соответствии с условиями моделирования и методами испытаний, установленными
[2].
12 Защитный колпачок для баллончика
12.1 Общие сведения (см. приложение Б, Б.21)
Некоторые производители выпускают защитные колпачки для баллончика, когда ребенок не использует соску-пустышку. Если такие элементы имеются, необходимо применять следующие требования и испытания.
12.2 Визуальный контроль
Защитные колпачки должны быть без каких-либо острых концов или краев (кромок), а также без выступов и заусенцев
12.3 Размер
12.3.1 Требование
При испытании в соответствии с
12.3.2 защитный колпачок не должен полностью проходить через испытательный шаблон 3 (см.
рисунок 8).
12.3.2 Процедуры испытания
Располагают и закрепляют испытательный шаблон 3 таким образом, чтобы отверстие было горизонтально расположено и не было закрыто. Располагают защитный колпачок в таком положении, которое позволит ввести его через отверстие в испытательном шаблоне 3. Помещают защитный колпачок в отверстие без усилий так, чтобы на его перемещение действовала только его собственная масса. Необходимо следить за тем, полностью ли защитный колпачок проходит через отверстие испытательного шаблона 3.
При испытании защитный колпачок не должен проходить через отверстие шаблона.
Если защитный колпачок прошел испытания в соответствии с процедурой, описанной в 12.3.2, выполняется испытание, чтобы пройти через шаблон для испытания защитного диска (испытательный шаблон 1, см.
рисунок 10), 8.3.2 [см.
рисунок 12а)].
12.4 Вентиляционные отверстия
12.4.1 Требования
Вентиляционные отверстия должны соответствовать следующим требованиям:
- если защитный колпачок без внешнего усилия проходит через испытательный шаблон 1 (см.
рисунок 6) с использованием метода испытаний, описанного в
12.3.2, то защитный колпачок должен иметь по меньшей мере два вентиляционных отверстия, каждое из которых должно иметь круглую форму диаметром не менее 4 мм и минимальной площадью 13 мм
2, при испытании в соответствии с
12.4.2;
- если комбинированное изделие (соска-пустышка плюс защитный колпачок) проходит через испытательный шаблон 1, то оно должно иметь по меньшей мере два вентиляционных отверстия округлой формы, диаметром не менее 4 мм или площадью 13 мм
2 (размеры для каждого отверстия) или несколько отверстий меньшего диаметра, расположенных симметрично по отношению к малой оси защитного диска, при этом их суммарная площадь не должна быть менее 25 мм
2 (размеры для каждой из сторон защитного диска по отношению к малой оси), при испытании в соответствии с
12.4.3.
12.4.2 Метод испытания вентиляционных отверстий в защитных колпачках баллончика
Вентиляционное отверстие, подлежащее испытанию, должно быть расположено таким образом, чтобы вход в отверстие был горизонтальным. Помещают испытательный
сферический шаблон А (см. 5.3) на отверстие так, чтобы на его перемещение действовала только его собственная масса. Проверяют, полностью ли сферический шаблон проходит через отверстие. Измерение площади отверстия может быть произведено любым подходящим методом, включая графическую бумагу и т.д.
12.4.3 Метод испытания вентиляционных отверстий в комбинированном изделии (соска-пустышка с защитным колпачком баллончика)
Прикрепляют защитный колпачок на баллончик. Вентиляционное отверстие, подлежащее испытанию, должно быть расположено таким образом, чтобы вход в отверстие был горизонтальным. Помещают испытательный
сферический шаблон А (см. 5.3) на отверстие так, чтобы на его перемещение действовала только его собственная масса. Проверяют, полностью ли сферический шаблон проходит через отверстие в защитном колпачке и соответствующее отверстие в защитном диске соски-пустышки. Чтобы облегчить проход через вентиляционное отверстие, комбинированное изделие (соска-пустышка с защитным колпачком баллончика) может быть наклонено от горизонтали. Измерение площади отверстия может быть произведено любым подходящим методом, включая графическую бумагу и т.д.
12.5 Отверстия
При испытании в соответствии с
8.9.2 в защитном колпачке баллончика не должно быть отверстий, позволяющих испытательному
сферическому шаблону Б (см. 5.3) проникать более чем на 5,5 мм, если только испытательный
сферический шаблон В (см. 5.3) не проходит через него. Это требование распространяется только на компоненты, изготовленные из материалов с твердостью по Шору A более 60.
Круглые отверстия, не соответствующие этому требованию, создают риск нарушения кровообращения. Следует избегать незакругленных отверстий с острыми V-образными углами или углами, обращенными внутрь.
12.6 Защитные колпачки баллончика в форме чаши
Чашеобразные защитные колпачки, имеющие почти круглые, овальные или эллиптические отверстия с малым и большим наружными диаметрами от 64 до 102 мм, объемом менее 177 мл и глубиной более 13 мм, должны соответствовать требованиям к полусферическим игрушкам (см. ГОСТ EN 71-1-2014,
подраздел 5.12).
12.7 Ударопрочность
12.7.1 Требования
Защитные колпачки должны быть испытаны на ударопрочность в соответствии с
12.7.2, при этом ни одна деталь не должна ломаться, разрываться или отделяться во время данного испытания.
12.7.2 Процедуры испытания
Проверяемый защитный колпачок всасывающей детали помещают на ровную горизонтальную стальную поверхность без дополнительной поддержки. Испытательный груз для испытания на ударопрочность согласно
5.7 сбрасывают с высоты (100 +/- 2) мм так, чтобы центр испытательной массы попал на самую высокую точку соски. Испытания проводят на одном и том же образце пять раз, при каждом ударе образец должен быть в разных положениях (см.
рисунок 20).
Примечание - При проведении этого испытания целесообразно воспользоваться установкой и испытательным грузом согласно ГОСТ EN 71-1-2014,
подраздел 8.7.
Детские соски должны продаваться в чистом состоянии в закрытых упаковках. Упаковка, полученная потребителем, должна содержать четкие, разборчивые инструкции по использованию и гигиеническому уходу за соской. Эти инструкции должны быть даны в соответствии с описанием
14.3 и могут быть включены в отдельную брошюру, помещенную внутри упаковки.
Рекомендуется, чтобы упаковка никоим образом не загрязняла соску. Производители при разработке розничной упаковки должны учитывать экологические аспекты, такие как инструкции по утилизации и переработке.
14 Информация о детских сосках
14.1 Общие сведения
Маркировка - в соответствии с требованиями
[1] и настоящего стандарта.
Текст маркировки печатают на официальном языке или, по крайней мере, на одном из официальных языков страны розничной продажи. Если включены другие языки, их должно быть легко отличить, например по отдельному представлению. Текст - четкий, разборчивый. Предложения - короткие, имеющие простую конструкцию. Описание - научно-популярное (доступное конечному потребителю). Рекомендуется, чтобы продукты или упаковка имели серийную маркировку.
Маркировку наносят на розничную упаковку, содержащую:
- наименование страны, где изготовлена продукция;
- наименование и местонахождение изготовителя (уполномоченного изготовителем лица), импортера, дистрибьютора;
- наименование изделия;
- дату изготовления (месяц, год);
- единый знак обращения на рынке;
- гарантийный срок службы;
- товарный знак (при наличии);
- инструкцию по использованию, хранению, гигиеническому уходу за изделием.
Если изделие изготовлено из натурального латекса, на упаковке размещают следующую фразу: "Изделие изготовлено из натурального латекса, который может вызвать аллергическую реакцию".
14.2 Информация о продажах
14.2.1 Информация в месте розничной продажи
Следующая информация должна быть видна в месте розничной продажи на внешней стороне упаковки:
- наименование, товарный знак или другие средства идентификации и адрес производителя, дистрибьютора или розничного продавца, включая, где применимо, адрес веб-сайта. Сведения могут быть сокращены при условии, что аббревиатура позволяет идентифицировать производителя, дистрибьютора или розничного торговца и легко связаться с ними;
- номер настоящего стандарта;
- для продуктов, содержащих натуральный каучуковый латекс, должна быть указана следующая информация: "Произведено из натурального каучукового латекса". Рекомендуется предоставить больше информации, касающейся возможных аллергических реакций".
14.2.2 Информация о месте продажи через Интернет или заказа по почте
Рекомендуется, чтобы информация о продажах (см.
14.2.1) была видна в месте продажи через Интернет или заказа по почте.
14.3 Инструкция по применению
На упаковке или в брошюре необходимо размещать следующую информацию:
- информацию о безопасном использовании продукта;
- по крайней мере один способ очистки изделия;
- неподходящие общепринятые методы очистки, хранения и использования, которые могут повредить соску.
14.3.2 Предупреждения в установленной форме и порядке
Следующие предупреждения должны быть предоставлены в указанных форме и порядке:
"Для безопасности вашего ребенка, ПРЕДУПРЕЖДЕНИЕ!
Тщательно проверяйте соску-пустышку перед каждым использованием. Потяните соску-пустышку во всех направлениях. Не используйте ее при первых признаках повреждения или слабости.
Используйте только специальные держатели для сосок-пустышек. Никогда не прикрепляйте к соске-пустышке другие ленты или шнуры, они могут вызвать риск удушья ребенка".
14.3.3 Предупреждения в неустановленной форме
Необходимо указать следующие предупреждения, где допускается альтернативная формулировка:
"Не подвергайте соску воздействию прямых солнечных лучей и не размещайте вблизи источника тепла, и никогда не помещайте в дезинфицирующие растворы ("стерилизующий раствор") дольше, чем рекомендуется, так как это может повредить соску".
14.3.4 Предупреждения, которые могут быть указаны при необходимости
| | ИС МЕГАНОРМ: примечание. Здесь и далее в официальном тексте документа, видимо, допущена опечатка: п. 3.8 отсутствует. | |
Если изделие имеет защитный колпачок (см. 3.8), то должно быть дано следующее предупреждение:
"Храните съемный защитный колпачок для баллончика соски-пустышки в недоступном для детей месте, чтобы избежать риск удушья ребенка".
14.3.5 Дополнительные инструкции по использованию
Дополнительная инструкции по использованию должна содержать следующую информацию, где допускается альтернативная формулировка:
"Перед первым использованием соску помещают в кипящую воду на 5 мин, дают остыть и убирают из изделия всю попавшую воду путем встряхивания. Это делается для обеспечения гигиены.
Очищают перед каждым использованием.
Никогда не обмакивают баллончик в сладкие вещества или лекарства, у ребенка может развиться кариес. Меняют соску через один-два месяца использования в целях безопасности и гигиены.
В случае, если соска застряла во рту, НЕ ПАНИКУЙТЕ; она не может быть проглочена. Извлекайте изо рта осторожно, как можно мягче".
14.4 Информация о цепочке поставок для продуктов, содержащих резину
14.4.1 Требования
На любой внешней упаковке (см. 3.8), используемой для хранения продуктов, содержащих резину, указывают следующую информацию (данное требование не распространяется на потребительскую упаковку).
Эта информация в виде текста, указанного в
14.4.2, на национальном языке и/или символа согласно
14.4.3, рисунок 26, должна быть размещена на внешней стороне упаковки и быть видимой.
Текст и символы должны быть легко читаемыми.
Допускается альтернативная формулировка: "Хранить вдали от солнечного света и нагревания".
14.4.3 Символ
Рисунок 26 - Манипуляционный знак
"Беречь от солнечных лучей"
Сведения, представленные в протоколах испытаний, правила их оформления, в том числе с применением информационных технологий, состав реквизитов бланков, правила создания документов, - в соответствии с требованиями технических регламентов, документов по стандартизации или условиям договоров.
Общие требования к протоколу испытаний для целей подтверждения соответствия:
1 Протокол испытаний для целей подтверждения соответствия оформляют в соответствии с требованиями ГОСТ ISO/IEC 17025-2019,
подраздел 7.8.
При оформлении протокола испытаний для целей подтверждения соответствия продукции требованиям технического регламента Евразийского экономического союза (Таможенного союза) протокол испытаний оформляют также с учетом требований к содержанию, изложенных в соответствующих технических регламентах.
2 Изменения и дополнения к протоколу испытаний для целей подтверждения соответствия оформляют в соответствии с требованиями
ГОСТ ISO/IEC 17025.
3 Результаты измерений в протоколе испытаний должны быть выражены в единицах величин, допущенных к применению в Государственной системе обеспечения единства измерений по
ГОСТ 8.417.
(справочное)
ИНФОРМАЦИЯ О МЕДИЦИНСКИХ ИЗДЕЛИЯХ
В настоящем стандарте соска определена как изделие, предназначенное для удовлетворения сосательной потребности ребенка. Однако существует много изделий, которые похожи на соску или функционируют как соска и в то же время могут выполнять другую или другие функции. Существуют соски специальной конструкции, которые предназначены для недоношенных детей. Существуют также некоторые изделия, похожие на соску, которые не относятся к области распространения настоящего стандарта и которые могут попадать под действие требований, установленных для медицинских изделий. Такие изделия можно характеризовать следующим образом:
А.1 Похожа на соску, но выполняет другую функцию
К этой категории изделий относят, например, зубные кольца, имеющие форму и внешний вид соски. Также некоторые градусники имеют наконечник, позволяющий измерять температуру во рту.
В этом случае, если изделие не подпадает под действие другого стандарта (например, стандарта на игрушки), рекомендуют, чтобы оно соответствовало требованиям настоящего стандарта.
А.2 Специального назначения
Это изделия специального медицинского назначения, которые могут быть использованы только под контролем квалифицированного медицинского персонала. Примером таких сосок являются соски для детей с синдромом Пьера Робина и для недоношенных детей. Известно, что такие изделия не будут соответствовать всем требованиям настоящего стандарта (например, требованиям к размеру защитного диска), поэтому они не входят в область его распространения. Также рекомендуется, чтобы по возможности они максимально отвечали требованиям настоящего стандарта. На таких изделиях должно быть указано, что они не предназначены для розничной торговли.
Некоторые изделия, похожие на соску, классифицируются как изделия медицинского назначения. К этой категории относят соски для измерения температуры и соски для лекарственных препаратов. Возможно, что скоро на рынке появятся новые изделия.
Если такие изделия не отвечают требованиям настоящего стандарта, изготовитель может сослаться на директивы для изделий медицинского назначения.
При оценке риска рекомендуется принимать во внимание все требования настоящего стандарта. Необходимо указать, что соску используют только для медицинских целей.
(справочное)
ОБОСНОВАНИЯ РАЗДЕЛОВ
Б.1 Введение
Целью обоснования является изложение основных принципов для описания требований и испытаний, чтобы облегчить применение стандарта к конкретному предмету. Оно также служит для предоставления дополнительной информации, которая помогает определить причины, по которым предъявляются определенные требования, а также ограничения или меры предосторожности, которые необходимо соблюдать при применении стандарта к определенным продуктам.
Б.2 Общие сведения
Соски-пустышки используются детьми в широким возрастном диапазоне - новорожденные, младенцы (0 - 4 недели жизни), грудной возраст (от 4 недель до 1 года), дети ползающего возраста и маленькие дети в течение длительного времени. Несчастные случаи, происшедшие в прошлом, некоторые из которых привели к летальному исходу, легли в основу цели настоящего стандарта: снижения риска несчастных случаев в будущем. Подчеркивается, что стандарт не может устранить все возможные риски для младенцев и маленьких детей, использующих данную продукцию, и что контроль родителей или опекунов имеет первостепенное значение.
Важно, чтобы все предупреждения и инструкции, указанные в настоящем стандарте, были четко даны производителем, чтобы лицо, осуществляющее уход, могло убедиться, что соска-пустышка используется правильно и безопасно.
Следует обратить внимание на конструкцию соски-пустышки, чтобы обеспечить ее легкую и эффективную очистку. Не существует испытаний для сравнения одной модели соски-пустышки с другой с точки зрения того, можно ли одну из них легче чистить, чем другую. Таким образом, настоящий стандарт может на данном этапе просто обозначить проблему и гарантировать, что производители включают в описание изделий достаточные предупреждения и инструкции по очистке (см.
14.3.1).
Б.4 Подготовка образцов
Б.4.1 Предварительная обработка (см. 6.3.1)
Образцы, взятые непосредственно у производителя перед реализацией на рынке, искусственно выдерживаются в течение семи дней, чтобы имитировать старение между процессом производства и розничной продажей.
Б.4.2 Кипячение в воде (см. 6.3.2)
Образцы кипятят в воде перед испытаниями для удаления поверхностного покрытия, образующегося в результате производственных процессов. Погружение соски в кипящую воду также указывает на устойчивость материалов к процессам очистки, которые могут подорвать целостность изделия (см.
9.7), которая проверяется в физико-механической части данного стандарта.
Испытание на эффективное проникновение баллончика устанавливается для обеспечения того, чтобы данная часть изделия не вызывала удушья или рвотного рефлекса. Установлено, что максимальная длина 35 мм, согласно настоящему стандарту, является приемлемой. Отверстие в баллончике перед защитным диском, которое допускает попадание воздуха или жидкости в полую часть баллончика, считается потенциальным источником биологической опасности.
Требование к отсутствию твердых, жидких или газообразных веществ (кроме воздуха), содержащихся в полости баллончика соски-пустышки, заключается в том, чтобы избежать попадания этих веществ в случае, если баллончик разорвется или сломается. Однако этот стандарт распространяется только на подавляющее большинство баллончиков, используемых в настоящее время на рынке, изготовленных из резины, силиконовых полимеров и термопластичных эластомеров. Если используются другие материалы, то производитель должен показать с соответствующей оценкой риска, что они безопасны.
Б.6 Защитный диск (см. 8.3)
Минимальный размер защитного диска соски-пустышки указан для снижения риска попадания изделия целиком в рот ребенка. Этот минимальный размер соответствует данному стандарту и правилам, которые доказали, что данная опасность значительно уменьшилась за счет соблюдения расстояния между губами и носовой перегородкой ребенка. Учитывая эти физические ограничения лица ребенка, невозможно полностью избежать риска попадания соски-пустышки в рот. При проведении испытания (см.
8.3.2) для имитации защитного диска, покрытого "слюной", используется смазочное средство.
Б.7 Вентиляция защитного диска (см. 8.4)
| | ИС МЕГАНОРМ: примечание. В официальном тексте документа, видимо, допущена опечатка: п. 3.9 отсутствует. | |
Настоящий стандарт содержит как определение вентиляционных отверстий (см. 3.9), так и конкретные требования к количеству и размеру отверстий (см.
8.4.1). Медицинская литература предполагает, что одно отверстие диаметром от 3 до 3,5 мм будет поддерживать жизнь, если рот или горло маленького ребенка заблокированы. Это отверстие также обеспечивает помощь при извлечении объекта с помощью хирургического инструмента и предотвращает накопление отрицательного давления.
Однако в случае засорения одного отверстия требуются два вентиляционных отверстия, каждое из которых имеет минимальный диаметр 4 мм и минимальную площадь 13 мм2. Эти минимальные размеры соответствуют ранее опубликованным требованиям, которые, как было показано, значительно снижают эту опасность. Кроме того, размещение вентиляционных отверстий в защитном диске тщательно контролируется, чтобы снизить риск засорения. Внимание было уделено тем соскам-пустышкам, которые могут иметь часть, например кольцо, которая частично перекрывает одно или несколько вентиляционных отверстий.
Основное требование, указанное в
пункте 8.4.1, гласит, что защитный диск должен иметь как минимум два вентиляционных отверстия округлой формы (см.
рисунок 14), диаметром не менее 4 мм или площадью 13 мм
2. Наименьшая окружность отверстия площадью 13 мм
2 составляет 12,8 мм. Учитывая эти измерения, минимальное расстояние препятствия может быть рассчитано как 1,3 мм над отверстием (12,8·1,3 = 16,64 мм
2). Следовательно, если какая-либо часть соски-пустышки в любом положении находится более чем на 1,3 мм от входа в отверстие, то отверстие считается свободным и измерение площади должно проводиться по всему отверстию. Однако во всех случаях применяется требование о минимальной круглой площади диаметром 4 мм.
Б.8 Кольцо или головка (см. 8.5)
Эффективное проникновение, равное 35 мм, соответствует эффективной глубине проникновения баллончика и относительная форма любого кольца или головки указана для уменьшения риска застревания соски-пустышки во рту ребенка, для уменьшения риска возникновения рвотных позывов, если соска-пустышка перевернется (когда соску-пустышку вставляют в рот "вверх ногами"), для обеспечения потока воздуха и для облегчения извлечения соски-пустышки изо рта ребенка.
В настоящем стандарте указано максимальное эффективное проникновение кольца или головка, требование о длине, которое должно составлять не более 1,4 его ширины, чтобы избежать длинной тонкой "стержнеобразной" кольцевой формы, которая может представлять опасность рвотного позыва.
Б.9 Складывание колец или головок из негибкого материала (см. 8.5.1)
Требование о складывании колец или головок из негибкого материала было выдвинуто для уменьшения вероятности повреждения кольцом или головкой в случае, если ребенок упадет с соской-пустышкой во рту.
Б.10 Крышка и/или заглушка (см. 8.6)
Требование к максимальному размеру крышки и/или заглушки, выступающей над поверхностью защитного диска со стороны рта, было установлено для уменьшения любого повреждения, которое крышка и/или заглушка может нанести баллончику при укусе.
Б.11 Кольцо и/или головка, крышка и/или заглушка из негибких материалов (см. 8.7)
Минимальный выступ кольца и/или головки, крышки и/или заглушки из негибких материалов в зависимости от того, что выступает дальше всего за заднюю поверхность защитного диска, был установлен для облегчения обращения с соской-пустышкой и ее извлечения изо рта ребенка. Требование к максимальному размеру выступающей части соответствует высоте сжатого кольца (см.
8.5.1) и должно снизить вероятность травмирования лица, рта или носа ребенка, если ребенок упадет с соской-пустышкой во рту.
Б.12 Кольца и/или головки, крышки и/или заглушки из гибких материалов (см. 8.8)
Установление минимальной глубины проникновения кольца и/или головки, крышки и/или заглушки из гибких материалов предназначено для облегчения обращения с соской-пустышкой и ее извлечения изо рта ребенка.
Минимальное проникновение кольца и/или головки, крышки и/или заглушки из гибких материалов предназначено для облегчения обращения с пустышкой и ее извлечения изо рта ребенка. Максимальное проникновение кольца и/или головки крышки и/или заглушки из гибких материалов в 35 мм соответствует максимальной длине баллончика (см.
Б.5), чтобы учесть вероятность того, что ребенок может сосать головку.
Размер отверстий и глубина проникновения указаны для снижения риска застревания пальца ребенка в отверстии и уменьшения притока крови к пальцу. Имеются свидетельства того, что круглые отверстия, не соответствующие требованиям, создают риск нарушения кровообращения.
Б.14 Устойчивость к проколу (см. 9.2)
Требование устойчивости к проколам устанавливает соответствующий уровень долговечности баллончика, кольца или головки, изготовленной из гибких материалов. Испытание на устойчивость к проколам было изучено с помощью серии циклических испытаний; и было обнаружено, что использование упорной доски (см.
5.5) уменьшает межлабораторные различия.
Б.15 Прочность на разрыв (см. 9.3)
Прочность на разрыв баллончика, кольца или головки, изготовленных из гибких материалов, оценивается для снижения риска того, что ребенок порвет баллончик, кольцо или головку после прокола. Разрыв может привести к отслоению части баллончика, кольца или головки, что может способствовать удушью.
Б.16 Прочность на удержание кольца или головки, крышки и/или заглушки (см. 9.4)
Удержание кольца или головки, крышки и/или заглушки оценивается для снижения риска отсоединения одной из этих частей, что в дальнейшем может привести к удушью.
Б.17 Испытание на прочность к укусу эластомерных компонентов (см. 9.5)
Требования, испытательное оборудование и метод испытаний на устойчивость к укусам были установлены для оценки способности баллончика и других частей соски-пустышки выдерживать укусы ребенка до и после прорезывания зубов.
Б.18 Прочность при вращении (см. 9.6)
Когда любой компонент (например, заглушка) может поворачиваться на 360° внутри баллончика, оценивается выдержка вращения, чтобы снизить риск повреждения составной части во время вращения, что приведет к отсоединению и возможной опасности удушья ребенка.
Б.19 Прочность соски-пустышки (см. 9.7)
Соску-пустышку испытывают на прочность, чтобы снизить риск отсоединения части изделия, когда ребенок одновременно кусает и тянет соску-пустышку, что может привести к удушью.
Сила для определения прочности растяжением (90 Н), указанная в данном стандарте, была основана на других стандартах, таких как
ГОСТ EN 71-1, и эти силы были приняты как подходящие для обеспечения достаточной целостности (прочности) соски-пустышки.
Если во время какого-либо испытания соска-пустышка или какая-либо часть изделия ломается, разрывается или отделяется, то считается, что она не прошла испытания. Поэтому нет необходимости испытывать какую-либо отсоединенную деталь с помощью цилиндра для мелких деталей.
Б.20 Химические требования и процедуры испытаний (см. раздел 10)
Б.20.1 Общие сведения
Химические вещества, отличные от химических веществ, указанных в настоящем стандарте, могут использоваться при условии, что как в отношении исходного химического вещества, так и всех его продуктов реакции имеются токсикологические доказательства, показывающие, что при их использовании в сосках-пустышках они не подвергаются повышенному риску благодаря тем же принципам и процедурам, что и в этом стандарте. Также должны быть предоставлены надлежащие процедуры аналитических испытаний для определения значений миграции.
Б.21 Защитный колпачок для баллончика (см. раздел 12)
Некоторые производители выпускают защитные колпачки, чтобы защитить баллончик, пока ребенок не использует соску-пустышку.
Вероятность, что защитный колпачок, независимо от того, прикреплен он к соске-пустышке или нет, может быть использован ребенком во рту, очень большая. Соответственно, были установлены требования к размерам, вентиляционных отверстий и ударопрочности с учетом требований к колпачкам для защиты чашеобразной формы (см.
12.6), колпачкам определенной формы (например, в форме чашки, чаши или половинки яйца), которые можно поместить на нос и рот маленького ребенка, образуя герметичное уплотнение.
Кроме того, было выдвинуто требование о добавлении предупреждения в инструкции по применению.
(справочное)
ПРИМЕРЫ ПОДХОДЯЩИХ УДЕРЖИВАЮЩИХ УСТРОЙСТВ
А - вид спереди; Б - вид сбоку
Рисунок В.1 - Примеры подходящих удерживающих устройств
для испытаний на прочность растяжением вдоль основной оси
А - вид спереди; Б - вид сбоку
Рисунок В.2 - Пример подходящего удерживающего устройства
для испытаний на прочность растяжением
под прямым углом к главной оси
1, 6 - движение по оси Y в отрицательном направлении;
2, 7 - движение по оси Y в положительном направлении;
3 - панели смещения; 4, 8 - движение по оси X
в отрицательном направлении; 5, 9 - движение по оси X
в положительном направлении; 10 - тяговое усилие
(вид спереди); 11 - тяговое усилие (вид сбоку)
Рисунок В.3 - Пример осевой самоцентрирующейся системы
для поддержки ориентации баллончика соски-пустышки
при испытании на прочность на растяжение
под прямым углом к главной оси
(справочное)
ОБОРУДОВАНИЕ ДЛЯ ВЫСОКОЭФФЕКТИВНОЙ ЖИДКОСТНОЙ
ХРОМАТОГРАФИИ (ВЭЖХ), МЕТОД И ТОЧНОСТЬ ОПРЕДЕЛЕНИЯ КАПТАКСА
(2-МЕРКАПТОБЕНЗОТИАЗОЛ) (MBT) И АНТИОКСИДАНТОВ
Колонка: обращенная фаза, например Сферисорб C8, диаметр - 5 мкм, длина - 25 см.
Рабочие условия колонки: подвижная фаза (элюент А) - вода, содержащая 1% ацетонитрила, и подвижная фаза (элюент Б) - ацетонитрил. При необходимости подвижную фазу дегазируют.
Таблица Г.1
Время, мин | Элюент А, % | Элюент Б, % |
От 0 до 2 включ. | 70 | 30 |
От 2 до 17 линейно | 10 | 90 |
От 17 до 22 включ. | 10 | 90 |
От 22 до 25 линейно | 70 | 70 |
От 25 до 28 <*> включ. | 70 | 30 |
<*> Или дольше, если необходимо дальнейшее сохранение равновесия. |
Устанавливают градиент элюента
(таблица Г.1), если используют колонку, отличающуюся от приведенной выше. Скорость потока - 1 см
3/мин.
Определение:
а) MBT: УФ - 320 нм, диапазон длины волн - от 240 до 360 нм, детектор программирования - от 5 до 12 мин;
б) антиоксидантов: УФ - 280 нм, диапазон длины волн - от 240 до 360 нм, детектор программирования - от 12 до 25 мин.
Время отклика:
а) MBT: приблизительно 10 мин (макс. 320 нм);
б) антиоксидант BHT: приблизительно 19 мин (макс. 278 нм); антиоксидант 2246: приблизительно 20 мин (макс. 282 нм).
Объем инжектора - 20 мкдм3.
Рабочие условия устанавливают в зависимости от типа используемого оборудования.
На
рисунке Г.1 приведена типовая хроматограмма для MBT, антиоксидантов BHT и 2246.
Рисунок Г.1 - Хроматограммы для MBT и антиоксидантов
Статистический анализ исследований, проведенных в семи лабораториях, показал следующую повторяемость и воспроизводимость метода определения MBT:
- средняя повторяемость r = 3,0%; средняя воспроизводимость R = 7,4%;
- коэффициент изменения повторяемости и воспроизводимости:
средний коэффициент изменения повторяемости CVr = 10,4%;
средний коэффициент изменения воспроизводимости CVR = 23,4%.
| | О безопасности продукции, предназначенной для детей и подростков |
| Перечень документов в области стандартизации, содержащих правила и методы исследований (испытаний) и измерений, в том числе правила отбора образцов, необходимые для применения и исполнения технического регламента Таможенного союза ТР ТС 007/2011 "О безопасности продукции, предназначенной для детей и подростков" и осуществления оценки (подтверждения) соответствия продукции |
УДК 615.477.84:006.354 | | NEQ |
Ключевые слова: детские соски, технические условия, соска-пустышка, молочная соска, соска для кормления, технические требования, маркировка, упаковка, методы испытаний, транспортирование, хранение |