Главная // Актуальные документы // ГОСТ (Государственный стандарт)СПРАВКА
Источник публикации
М.: Стандартинформ, 2017
Примечание к документу
Текст данного документа приведен с учетом
поправки, опубликованной в "ИУС", N 12, 2021;
поправки, введенной в действие с 09.11.2022, опубликованной в "ИУС", N 2, 2023.
Документ
введен в действие с 01.07.2018.
Название документа
"ГОСТ 6286-2017. Межгосударственный стандарт. Рукава резиновые высокого давления с металлическими оплетками без концевой арматуры. Технические условия"
(введен в действие Приказом Росстандарта от 15.06.2017 N 545-ст)
"ГОСТ 6286-2017. Межгосударственный стандарт. Рукава резиновые высокого давления с металлическими оплетками без концевой арматуры. Технические условия"
(введен в действие Приказом Росстандарта от 15.06.2017 N 545-ст)
агентства по техническому
регулированию и метрологии
от 15 июня 2017 г. N 545-ст
МЕЖГОСУДАРСТВЕННЫЙ СТАНДАРТ
РУКАВА РЕЗИНОВЫЕ ВЫСОКОГО ДАВЛЕНИЯ
С МЕТАЛЛИЧЕСКИМИ ОПЛЕТКАМИ БЕЗ КОНЦЕВОЙ АРМАТУРЫ
ТЕХНИЧЕСКИЕ УСЛОВИЯ
High-pressure rubber hoses with metal braids
without end fittings. Specifications
ГОСТ 6286-2017
Дата введения
1 июля 2018 года
Цели, основные принципы и основной порядок проведения работ по межгосударственной стандартизации установлены в
ГОСТ 1.0-2015 "Межгосударственная система стандартизации. Основные положения" и
ГОСТ 1.2-2015 "Межгосударственная система стандартизации. Стандарты межгосударственные, правила и рекомендации по межгосударственной стандартизации. Правила разработки, принятия, обновления и отмены"
1 РАЗРАБОТАН Техническим комитетом по стандартизации ТК 160 "Продукция нефтехимического комплекса", Обществом с ограниченной ответственностью "Научно-исследовательский институт эластомерных материалов и изделий" (ООО "НИИЭМИ")
2 ВНЕСЕН Федеральным агентством по техническому регулированию и метрологии
3 ПРИНЯТ Межгосударственным советом по стандартизации, метрологии и сертификации (протокол от 30 января 2017 г. N 95-П)
За принятие проголосовали:
Краткое наименование страны по МК (ИСО 3166) 004-97 | Код страны по МК (ИСО 3166) 004-97 | Сокращенное наименование национального органа по стандартизации |
Армения | AM | Минэкономики Республики Армения |
Беларусь | BY | Госстандарт Республики Беларусь |
Киргизия | KG | Кыргызстандарт |
Россия | RU | Росстандарт |
Таджикистан | TJ | Таджикстандарт |
Туркмения | TM | Главгосслужба "Туркменстандартлары" |
4
Приказом Федерального агентства по техническому регулированию и метрологии от 15 июня 2017 г. N 545-ст межгосударственный стандарт ГОСТ 6286-2017 введен в действие в качестве национального стандарта Российской Федерации с 1 июля 2018 г.
Информация об изменениях к настоящему стандарту публикуется в ежегодном информационном указателе "Национальные стандарты", а текст изменений и поправок - в ежемесячном информационном указателе "Национальные стандарты". В случае пересмотра (замены) или отмены настоящего стандарта соответствующее уведомление будет опубликовано в ежемесячном информационном указателе "Национальные стандарты". Соответствующая информация, уведомление и тексты размещаются также в информационной системе общего пользования - на официальном сайте Федерального агентства по техническому регулированию и метрологии в сети Интернет (www.gost.ru)
Настоящий стандарт распространяется на резиновые рукава <1> высокого давления оплеточной конструкции с металлическими оплетками без концевой арматуры (далее - рукава), применяемые в качестве гибких трубопроводов для подачи под высоким давлением жидкостей и работоспособные в районах с умеренным и тропическим климатом при температуре окружающего воздуха от минус 50 °C до плюс 70 °C, а также в районах с холодным климатом при температуре от минус 60 °C до плюс 70 °C.
--------------------------------
<1> Здесь и в пунктах, где не оговорены требования для рукавов, условно обозначенных буквой Z, следует читать: в том числе рукава группы Z.
При применении рукавов в других условиях эксплуатации потребитель оформляет протокол разрешения применения по
ГОСТ 2.124.
В настоящем стандарте использованы нормативные ссылки на следующие межгосударственные стандарты:
ГОСТ 2.124-2014 Единая система конструкторской документации. Порядок применения покупных изделий
ГОСТ 9.030-74 Единая система защиты от коррозии и старения. Резины. Методы испытаний на стойкость в ненапряженном состоянии к воздействию жидких агрессивных сред
ГОСТ 12.1.007-76 Система стандартов безопасности труда. Вредные вещества. Классификация и общие требования безопасности
ГОСТ 15.309-98 Система разработки и постановки продукции на производство. Испытания и приемка выпускаемой продукции. Основные положения
ГОСТ 166-89 (ИСО 3599-76) Штангенциркули. Технические условия
ГОСТ 427-75 Линейки измерительные металлические. Технические условия
ГОСТ ISO 1436-2013 Рукава резиновые и рукава в сборе. Рукава гидравлические с металлическими оплетками для жидкостей на нефтяной или водной основе. Технические требования
ГОСТ 2405-88 Манометры, вакуумметры, мановакуумметры, напоромеры, тягомеры и тягонапоромеры. Общие технические условия
ГОСТ 2991-85 Ящики дощатые неразборные для грузов массой до 500 кг. Общие технические условия
ГОСТ 5959-80 Ящики из листовых древесных материалов неразборные для грузов массой до 200 кг. Общие технические условия
ГОСТ ISO 6803-2013 Рукава резиновые или пластиковые и рукава в сборе. Импульсные гидравлические испытания под давлением без изгиба
ГОСТ 7502-98 Рулетки измерительные металлические. Технические условия
ГОСТ 8074-82 Микроскопы инструментальные. Типы, основные параметры и размеры. Технические требования
ГОСТ 9570-84 Поддоны ящичные и стоечные. Общие технические условия
ГОСТ 11358-89 Толщиномеры и стенкомеры индикаторные с ценой деления 0,01 и 0,1 мм. Технические условия
ГОСТ 15102-75 Контейнер универсальный металлический закрытый номинальной массой брутто 5,0 т. Технические условия
ГОСТ 15150-69 Машины, приборы и другие технические изделия. Исполнения для различных климатических районов. Категории, условия эксплуатации, хранения и транспортирования в части воздействия климатических факторов внешней среды
ГОСТ 15152-69 Единая система защиты от коррозии и старения. Изделия резиновые технические для районов с тропическим климатом. Общие требования
ГОСТ 15846-2002 Продукция, отправляемая в районы Крайнего Севера и приравненные к ним местности. Упаковка, маркировка, транспортирование и хранение
ГОСТ 20435-75 Контейнер универсальный металлический закрытый номинальной массой брутто 3,0 т. Технические условия
ГОСТ 24297-2013 Верификация закупленной продукции. Организация проведения и методы контроля
Примечание - При пользовании настоящим стандартом целесообразно проверить действие ссылочных стандартов в информационной системе общего пользования - на официальном сайте Федерального агентства по техническому регулированию и метрологии в сети Интернет или по ежегодному информационному указателю "Национальные стандарты", который опубликован по состоянию на 1 января текущего года, и по выпускам ежемесячного информационного указателя "Национальные стандарты" за текущий год. Если ссылочный стандарт заменен (изменен), то при пользовании настоящим стандартом следует руководствоваться заменяющим (измененным) стандартом. Если ссылочный стандарт отменен без замены, то положение, в котором дана ссылка на него, применяется в части, не затрагивающей эту ссылку.
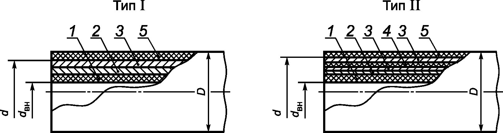
3 Классификация, основные параметры и размеры
3.1 В зависимости от разрывного усилия применяемой проволоки рукава изготовляют трех групп:
- группа А - с применением проволоки с разрывным усилием не менее 147,1 Н (15,0 кгс);
- группа Б - с применением проволоки с разрывным усилием не менее 171,6 Н (17,5 кгс);
- группа В - с применением проволоки с разрывным усилием не менее 196,1 Н (20,0 кгс).
Рукава группы Z изготовляют из проволоки с латунированной поверхностью и разрывным усилием не менее 196,1 Н (20 кгс).
3.2 Рукава каждой группы в зависимости от конструкции должны изготовляться следующих типов:
- I - с одной металлической оплеткой;
- II - с двумя металлическими оплетками.
3.3 Основные размеры, радиус изгиба и масса рукавов групп А, Б, В приведены в
таблице 1, рукавов группы Z - в
таблице 2. Схема рукавов приведена на
рисунке 1.
3.4 Рукава поставляют длинами, указанными в
таблице 3.
Рукава внутренним диаметром 16,0 мм и более выпускают длиной до 10 м. При длине рукава свыше 5 м предельное отклонение составляет +/- 1%.
Допускается поставлять рукава общей погонной длиной.
Примечание - По согласованию между изготовителем и потребителем допускается поставлять рукава другими рабочими длинами или длиной, кратной рабочей длине.
3.5 Значения рабочего давления рукавов групп А, Б, В и Z приведены в
таблицах 4 и
5.
Таблица 1
Основные размеры, масса и радиус изгиба рукавов
групп А, Б, В
Внутренний диаметр рукава dвн, мм | Наружный диаметр рукава D, мм | Наружный диаметр по верхней металлической оплетке d, мм | Минимальный радиус изгиба R, мм | Масса 1 м, кг (справочная) |
Номин. | Пред. откл. | Тип I | Тип II | Тип I | Тип II | Тип I | Тип II | Тип I | Тип II |
Номин. | Пред. откл. | Номин. | Пред. откл. | Номин. | Пред. откл. | Номин. | Пред. откл. |
4,0 | +/-0,3 | 14,5 | +/- 1,0 | 17,0 | +/- 1,0 | 11,20 | +/- 0,60 | 12,80 | +/- 0,60 | 50,0 | 60,0 | 0,40 | 0,50 |
6,0 | 16,5 | 19,0 | 12,80 | 14,00 | 60,0 | 70,0 | 0,45 | 0,60 |
8,0 | +0,5 -03 | 18,0 | 21,0 | 14,00 | 16,60 | 80,0 | 90,0 | 0,50 | 0,70 |
10,0 | 20,5 | 23,0 | 16,00 | 18,60 | 80,0 | 110,0 | 0,55 | 0,80 |
12,0 | 22,5 | 25,0 | 18,00 | +/- 0,70 | 20,60 | +/- 0,70 | 100,0 | 130,0 | 0,65 | 0,90 |
16,0 | +/- 0,5 | 27,5 | +1,5 -1,0 | 29,0 | 22,00 | 24,60 | 120,0 | 170,0 | 0,85 | 1,10 |
20,0 | 32,0 | 34,0 | +1,5 -1,0 | 26,00 | 29,00 | 150,0 | 200,0 | 1,05 | 1,35 |
25,0 | 37,0 | 39,0 | 31,00 | +/- 0,80 | 34,00 | +/- 0,80 | 170,0 | 240,0 | 1,20 | 1,50 |
32,0 | 44,0 | +2,0 | 46,0 | +/- 2,0 | 38,00 | 41,00 | 200,0 | 280,0 | 1,50 | 2,20 |
38,0 | 50,0 | 52,0 | 44,00 | 47,00 | 250,0 | 320,0 | 1,80 | 2,50 |
50,0 | +/- 0,8 | 62,0 | 64,0 | 56,00 | +/- 1,25 | 59,00 | +/- 1,25 | 300,0 | 370,0 | 2,00 | 3,10 |
Таблица 2
Основные размеры, радиус изгиба и масса рукавов группы Z
Внутренний диаметр рукава dвн, мм | Наружный диаметр рукава D, мм | Наружный диаметр по верхней металлической оплетке d, мм | Минимальный радиус изгиба R, мм | Масса 1 м, кг (справочная) |
Номин. | Пред. откл. | Тип I | Тип II | Тип I | Тип II | Тип I | Тип II | Тип I | Тип II |
Номин. | Пред. откл. | Номин. | Пред. откл. | Номин. | Пред. откл. | Номин. | Пред. откл. |
5,0 | +/- 0,3 | 12,70 | +/- 1,00 | 15,90 | +/- 1,00 | 9,50 | +/- 0,60 | 11,10 | +/- 0,60 | 90 | 90 | 0,24 | 0,34 |
6,0 | 15,90 | 17,50 | 11,20 | 12,70 | 100 | 100 | 0,29 | 0,40 |
6,3 | 15,90 | 17,50 | 11,20 | 12,70 | 100 | 100 | 0,29 | 0,40 |
8,0 | +0,5 -0,3 | 17,50 | 19,10 | 12,70 | 14,30 | 115 | 115 | 0,32 | 0,42 |
10,0 | 19,85 | 21,40 | 15,10 | 16,70 | 130 | 130 | 0,38 | 0,53 |
12,0 | 23,00 | 24,60 | 18,30 | +/- 0,70 | 19,90 | +/- 0,70 | 180 | 180 | 0,50 | 0,65 |
12,5 | 23,00 | 25,00 | 18,30 | 19,90 | 180 | 180 | 0,50 | 0,65 |
16,0 | +/- 0,5 | 26,20 | +1,50 -1,00 | 27,80 | 21,40 | 23,00 | 205 | 205 | 0,62 | 0,82 |
19,0 | 30,20 | 31,80 | +1,50 -1,00 | 25,40 | 27,00 | 240 | 240 | 0,88 | 1,44 |
20,0 | 31,20 | 32,80 | 26,40 | 28,00 | 240 | 240 | 1,02 | 1,48 |
22,0 | 33,30 | 34,90 | 28,60 | +/- 0,80 | 30,20 | +/- 0,80 | 280 | 280 | 1,18 | 2,19 |
25,0 | 38,10 | 39,70 | 32,90 | 34,50 | 300 | 300 | 1,50 | 2,19 |
31,5 | 46,00 | +/- 2,00 | 50,50 | +/- 2,00 | 40,10 | 41,70 | 420 | 420 | 1,84 | 2,82 |
32,0 | 46,00 | 50,50 | 40,10 | 41,70 | 420 | 420 | 1,84 | 2,82 |
38,0 | 52,60 | 57,15 | 46,00 | 47,60 | 500 | 500 | 2,28 | 3,51 |
40,0 | 54,60 | 59,15 | 48,00 | 49,60 | 500 | 500 | 2,28 | 3,64 |
50,0 | +/- 0,8 | 65,70 | 68,85 | 59,00 | +/- 1,25 | 60,60 | +/- 1,25 | 630 | 630 | 2,65 | 3,63 |
51,0 | 66,70 | 69,85 | 60,00 | 61,60 | 630 | 630 | 2,78 | 4,53 |

1 - внутренний резиновый слой; 2 - текстильный защитный
слой <2>; 3 - металлическая оплетка; 4 - промежуточный
резиновый слой; 5 - наружный резиновый слой
Рисунок 1 - Конструкция рукавов
--------------------------------
<2> Необходимость нанесения текстильного защитного слоя устанавливает изготовитель в технологической документации.
Таблица 3
В миллиметрах
Длина рукавов |
Номин. | Пред. откл. |
До 375 включ. | +10 |
От 400 до 1000 включ. | +/- 10 |
" 1200 " 2200 " | +/- 20 |
" 2500 " 4200 " | +/- 25 |
" 4500 " 5000 " | +/- 30 |
Таблица 4
Рабочее давление рукавов групп А, Б, В
Внутренний диаметр рукава dвн, мм | Рабочее давление P, МПа (кгс/см2) |
Группа А | Группа Б | Группа В |
Тип I | Тип II | Тип I | Тип II | Тип I | Тип II |
4,0 | 20,0 (200) | 30,0 (300) | 25,0 (250) | 35,0 (350) | 30,0 (300) | 41,0 (410) |
6,0 | 19,0 (190) | 28,0 (280) | 23,0 (230) | 33,0 (330) | 27,0 (270) | 37,0 (370) |
8,0 | 16,5 (165) | 25,0 (250) | 21,0 (210) | 32,0 (320) | 24,0 (240) | 35,0 (350) |
10,0 | 15,0 (150) | 21,5 (215) | 18,0 (180) | 27,0 (270) | 22,0 (220) | 31,0 (310) |
12,0 | 13,5 (135) | 21,0 (210) | 16,0 (160) | 25,0 (250) | 20,0 (200) | 30,0 (300) |
16,0 | 10,0 (100) | 16,5 (165) | 13,0 (130) | 20,0 (200) | 15,0 (150) | 24,0 (240) |
20,0 | 9,0 (90) | 15,0 (150) | 12,0 (120) | 18,0 (180) | 14,0 (140) | 22,0 (220) |
25,0 | 8,0 (80) | 12,5 (125) | 10,0 (100) | 16,0 (160) | 12,0 (120) | 20,0 (200) |
32,0 | 6,5 (65) | 10,0 (100) | 7,5 (75) | 13,0 (130) | 9,0 (90) | 14,0 (140) |
38,0 | 4,0 (40) | 8,0 (80) | 5,0 (50) | 9,0 (90) | 6,0 (60) | 10,0 (100) |
50,0 | 3,0 (30) | 4,0 (40) | 3,5 (35) | 5,0 (50) | 4,0 (40) | 6,0 (60) |
Таблица 5
Рабочее давление рукавов группы Z
Внутренний диаметр рукава dвн, мм | Рабочее давление P, МПа (кгс/см2) |
Тип I | Тип II |
5,0 | 21,0 (210) | 35,0 (350) |
6,0 | 20,0 (200) |
6,3 |
8,0 | 17,5 (175) | 30,0 (300) |
10,0 | 16,0 (160) | 28,0 (280) |
12,0 | 14,0 (140) | 25,0 (250) |
12,5 |
16,0 | 10,5 (105) | 20,0 (200) |
19,0 | 9,0 (90) | 16,0 (160) |
20,0 |
22,0 | 8,0 (80) | 14,0 (140) |
25,0 | 7,0 (70) |
31,5 | 4,4 (44) | 11,0 (110) |
32,0 |
38,0 | 3,5 (35) | 9,0 (90) |
40,0 | 3,0 (30) | 8,0 (80) |
50,0 | 2,6 (26) |
51,0 |
Примеры условных обозначений:
Рукав группы Z, типа I, внутренним диаметром 12,5 мм, на рабочее давление 14,0 МПа, работоспособный в районах с умеренным и тропическим климатом:
Рукав Z-1-12,5-14 ГОСТ 6286-2017
То же, работоспособный в районах с холодным климатом:
Рукав Z-1-12,5-14-ХЛ ГОСТ 6286-2017
Рукав групп А, Б или В, типа I, с оплетками из латунированной проволоки, внутренним диаметром 12,0 мм, на рабочее давление 13,5 МПа, работоспособный в районах с умеренным климатом (У):
Рукав IЛ-12-13,5-У ГОСТ 6286-2017
То же, работоспособный в районах с тропическим климатом (Т):
Рукав IЛ-12-13,5-Т ГОСТ 6286-2017
То же, работоспособный в районах с холодным климатом (ХЛ):
Рукав IЛ-12-13,5-ХЛ ГОСТ 6286-2017
Рукав групп А, Б или В, типа I, со смешанной оплеткой, внутренним диаметром 12,0 мм, на рабочее давление 13,5 МПа, работоспособный в районах с холодным климатом (ХЛ):
Рукав I-12-13,5-ХЛ ГОСТ 6286-2017
4.1 Основные показатели и характеристики (свойства)
4.1.1 Рукава должны соответствовать требованиям настоящего стандарта и изготовляться по технологической документации, утвержденной в установленном порядке.
4.1.2 Рукава должны иметь внутренний, промежуточные и наружный резиновые слои, а также металлические оплетки из латунированной проволоки. Для рукавов групп А, Б и В допускаются оплетки из светлой и латунированной проволоки одновременно (смешанная оплетка).
Наличие и количество текстильных защитных слоев (нитяной оплетки или тканевой прокладки) устанавливают в технологической документации. Схема конструкции рукавов указана на
рисунке 1.
4.1.3 Внутренняя поверхность рукавов должна быть без складок, пористости, пузырей и трещин.
Допускаются отпечатки, а также включения размером не более 0,3 мм.
4.1.4 Наружная поверхность рукавов должна быть без пузырей, отслоений и оголений. Допускаются отпечатки и ворс от бинтовочной ткани.
4.1.5 В металлических оплетках не допускаются обрывы, петли, следы коррозии.
4.1.6 Для уточнения показателей внешнего вида, указанных в
4.1.3 - 4.1.5, допускается применять контрольные образцы, утвержденные в установленном порядке.
4.1.7 Разнотолщинность стенок рукавов типа I должна быть не более 1,0 мм, типа II - не более 1,5 мм.
Разнотолщинность стенок рукавов группы Z внутренним диаметром до 6,3 мм включительно должна быть не более 0,8 мм, рукавов внутренним диаметром от 8,0 до 22,0 мм включительно - не более 1,0 мм, свыше 22,0 мм - не более 1,3 мм (по ГОСТ ISO 1436).
4.1.8 Минимальная толщина внутреннего резинового слоя рукавов внутренним диаметром до 16,0 мм включительно должна быть не менее 1,5 мм, свыше 16,0 до 20,0 мм включительно - не менее 2,0 мм, свыше 20,0 мм - не менее 2,2 мм.
4.1.9 Разнотолщинность внутреннего резинового слоя рукавов внутренним диаметром до 16,0 мм включительно должна быть не более 0,3 мм, свыше 16,0 мм - не более 0,5 мм.
4.1.10 Минимальную толщину и разнотолщинность внутреннего резинового слоя рукавов группы Z устанавливают в технологической документации, утвержденной в установленном порядке.
4.1.11 Рукава должны быть работоспособны в рабочих средах и при температурах, указанных в таблицах 6 и
7.
Таблица 6
Температуры рабочих сред для рукавов групп А, Б, В
Рабочая среда для рукавов групп А, Б, В | Температура рабочей среды, °C |
Бензин | От -50 до +25 |
Керосин, дизельное топливо, масла на нефтяной основе | От -50 до +100 |
Вода | От +5 до +100 |
Примечание - Применение новых сред, а также введение в среды, указанные в таблице 6, легирующих присадок должно быть согласовано с изготовителем рукавов. |
Таблица 7
Температуры рабочих сред для рукавов группы Z
Рабочая среда для рукавов группы Z | Температура рабочей среды, °C |
Гидравлические жидкости | От -40 до +100 |
Минеральные масла |
Растворимые масла |
Эмульсионные масла |
Масляные и водные эмульсии |
Водный раствор гликоля |
Вода | От +5 до +100 |
4.1.12 Наружный резиновый слой рукавов, предназначенных для стран с тропическим климатом, должен соответствовать группам I, II, III по ГОСТ 15152 и категориям размещения 1, 2, 3, 4 и 5 по
ГОСТ 15150.
Внутренний резиновый слой рукавов, предназначенных для стран с тропическим климатом, должен соответствовать группам I, II, III по ГОСТ 15152 и категориям размещения 3, 4, 5 по
ГОСТ 15150.
4.1.13 Рукава должны быть морозостойкими при температуре:
- минус 60 °C - в районах с холодным климатом;
- минус 50 °C - в районах с умеренным климатом.
Рукава должны сохранять герметичность после воздействия указанной температуры.
4.1.14 Рукава должны быть герметичны при испытании статическим гидравлическим давлением 2
P (где
P - рабочее давление, указанное в
таблицах 4 и
5).
4.1.15 Рукава должны иметь не менее чем трехкратный запас прочности (3
P), а рукава группы Z - не менее чем четырехкратный запас прочности (4
P) при испытании статическим гидравлическим давлением.
4.1.16 Отклонение от перпендикулярности торца к оси рукава не должно превышать 5°.
4.1.17 Прочность связи между верхней металлической оплеткой и слоями, находящимися над ней, должна быть не менее:
- 30 Н/см (3 кгс/см) - для рукавов с латунированной проволокой, для рукавов группы Z (в соответствии с ГОСТ ISO 1436);
- 20 Н/см (2 кгс/см) - для рукавов со смешанной оплеткой.
Для рукавов внутренним диаметром до 12,0 мм включительно показатель прочности связи наружного резинового слоя с верхней металлической оплеткой не определяют.
4.1.18 Увеличение диаметра верхней металлической оплетки (распушивание) для рукавов групп А, Б и В с оплетками, изготовленными с применением одновременно латунированной и нелатунированной проволоки, должно не превышать наружного диаметра рукава с учетом предельных отклонений в соответствии с
таблицей 1.
Для рукавов групп А, Б и В с оплетками из латунированной проволоки и рукавов группы Z распушивание не должно превышать значения (d + 3,0 мм), где d - номинальный диаметр верхней металлической оплетки, мм.
4.1.19 Изменение длины при рабочем давлении должно быть:
- минус 6% - для рукавов внутренним диаметром до 6,3 мм включительно;
- минус 4%, плюс 2% - для рукавов внутренним диаметром свыше 6,3 мм.
4.1.20 Рукава должны быть маслобензостойкими. Изменение массы резины наружного и внутреннего слоев рукавов групп А, Б, В после воздействия стандартного растворителя - жидкости Б при температуре 23 °C в течение 24 ч должно быть от 0% до плюс 45%, а изменение массы резины внутреннего слоя рукавов группы Z после воздействия стандартного масла СЖР-3 по
ГОСТ 9.030 при температуре 100 °C в течение 72 ч должно быть от минус 10% до плюс 75%.
4.1.21 Рукава должны выдерживать динамические испытания, указанные в таблице 8.
Таблица 8
Условия проведения динамических испытаний
Группа рукавов | Тип рукавов | Внутренний диаметр dвн, мм | Количество пульсаций давления, циклы/мин | Давление испытания | Количество импульсных циклов, не менее |
А, Б, В | I, II | До 20,0 включ. | От 30 до 75 | 1P | 100000 |
Z | I | До 25,0 включ. | 1,25P | 150000 |
Св. 25,0 | 1P |
II | Все размеры | 1,33P, но не более 35 МПа (350 кгс/см2) | 200000 |
4.2 Требования к материалам, покупным изделиям
4.2.1 Проволока, применяемая для изготовления рукавов, должна соответствовать требованиям документа по стандартизации изготовителя.
4.2.2 Резины, применяемые для изготовления рукавов, должны соответствовать значениям физико-механических показателей, указанных в технологической документации.
4.3.1 На каждом рукаве всех групп по всей длине вдоль оси должна быть нанесена четкая маркировка, содержащая:
- наименование или товарный знак предприятия-изготовителя;
- условное обозначение рукава без слова "рукав";
- дату изготовления (месяц или квартал и год);
- штамп технического контроля.
Допускается включать в маркировку дополнительные обозначения.
Маркировку на рукавах наносят тиснением или несмываемой краской белого или любого светлого цвета (кроме зеленого).
Допускается наносить маркировку на рукав с интервалом не более 1 м.
4.3.2 Маркировка рукавов, предназначенных для поставок на эксплуатацию в районы с тропическим климатом, - по ГОСТ 15152.
4.3.3 Маркировка рукавов, предназначенных для поставок на эксплуатацию в районы Крайнего Севера, - по
ГОСТ 15846.
4.3.4 Транспортная маркировка - по
ГОСТ 14192 с нанесением манипуляционных знаков N 2, N 3, N 8.
4.4.1 Рукава связывают в пачки или бухты с радиусом изгиба не менее минимального по
3.3 и упаковывают в ящики по
ГОСТ 2991,
ГОСТ 5959, контейнеры УКК-5,0 по
ГОСТ 15102, УКК-2,5 по
ГОСТ 20435 и другие контейнеры, обеспечивающие сохранность рукавов, ящичные и стоечные поддоны по
ГОСТ 9570.
Допускается упаковывать в одну упаковочную единицу рукава нескольких партий при отгрузке и в адрес одного потребителя.
По согласованию с потребителем допускается применять другие виды упаковки, обеспечивающие сохранность рукавов.
4.4.2 Упаковка рукавов, предназначенных для поставок на эксплуатацию в районы с тропическим климатом, - по ГОСТ 15152.
4.4.3 Упаковка рукавов, предназначенных для поставок на эксплуатацию в районы Крайнего Севера, - по
ГОСТ 15846.
4.4.4 Каждая упаковочная единица должна сопровождаться упаковочным ярлыком с указанием:
- наименования или товарного знака предприятия-изготовителя;
- условного обозначения рукава;
- номера партии;
- даты изготовления (месяц, год);
- количества рукавов, шт., или общей длины, м;
- штампа технического контроля;
- клейма военного представительства (ВП) (в случае приемки рукавов ВП).
4.4.5 Каждую партию рукавов сопровождают документом о качестве - паспортом по форме, установленной изготовителем, который упаковывают в полиэтиленовый пакет по
ГОСТ 10354 или другой водонепроницаемый пакет и вкладывают в одну из упаковочных единиц. В этом случае к маркировке упаковочной единицы добавляют надпись "Паспорт здесь".
По согласованию с потребителем допускается документ о качестве - паспорт направлять с товаросопроводительной документацией без упаковки в полиэтиленовый пакет.
В паспорте на партию рукавов должны быть указаны:
- наименование и товарный знак предприятия-изготовителя;
- условное обозначение рукавов;
- общая длина рукавов;
- номер партии;
- количество мест в партии;
- месяц и год изготовления;
- результаты проведенных испытаний или подтверждение о соответствии рукавов требованиям настоящего стандарта;
- штамп технического контроля предприятия-изготовителя;
- клеймо ВП (в случае приемки рукавов ВП);
- полоса или штамп "Тропики" желтого цвета (при самостоятельной поставке рукавов на эксплуатацию в районы с тропическим климатом).
5 Требования безопасности
5.1 Рукава не взрывоопасны, самопроизвольно не воспламеняются, горят только при внесении в открытый источник огня.
5.2 При сгорании рукавов в воздух выделяются продукты деструкции резины, содержащие предельные и непредельные углеводороды, оксид и диоксид углерода, технический углерод. Класс опасности 4 по
ГОСТ 12.1.007.
5.3 При возникновении пожара применяют следующие средства: пенные и углекислотные огнетушители, асбестовое полотно, песок, воду, воздушно-механическую пену.
5.4 Рукава хранят в складских помещениях, имеющих категорию пожарной безопасности B по
нормам [1], класс A по
правилам [2], на расстоянии не менее 1,0 м от светильников и нагревательных приборов. Склад должен быть оборудован средствами пожаротушения.
5.5 Работа с рукавами не требует особых мер предосторожности.
6 Требования охраны окружающей среды
6.1 Рукава при эксплуатации и хранении не выделяют в окружающую среду токсичных веществ и не оказывают вредного воздействия на организм человека при непосредственном контакте.
6.2 Рукава, утратившие потребительские свойства, по степени воздействия на окружающую среду согласно
каталогу [3] относятся к 5-му классу опасности (практически неопасные) и подлежат утилизации на полигоне промышленных отходов.
7.1 Рукава предъявляют к приемке партиями. Партией считают рукава одной группы, одного типа, одного типоразмера длиной не более 2000 м, сопровождаемые одним документом о качестве, - паспортом по форме, установленной на предприятии-изготовителе.
Рукава, изготовляемые с приемкой ВП, предъявляют к приемке партиями длиной не более 1000 м.
По согласованию изготовителя, ВП при нем и потребителя допускается другой объем партии.
7.2 Изготовитель рукавов проводит верификацию материалов и покупных изделий по
ГОСТ 24297.
7.3 Для проверки соответствия качества партии рукавов требованиям настоящего стандарта их подвергают приемо-сдаточным, периодическим и типовым испытаниям в соответствии с
ГОСТ 15.309.
Объем выборки и периодичность испытаний рукавов - в соответствии с таблицей 9.
Таблица 9
Объем выборки и периодичность испытаний рукавов
Наименование показателя | Объем выборки и периодичность испытаний | Вид испытаний |
Приемо-сдаточные | Периодические | Типовые |
1 Внешний вид, маркировка, упаковка | 100% | + | - | + |
2 Размеры (внутренний и наружный диаметры, длина) | 100% | + | - | + |
3 Наружный диаметр верхней металлической оплетки | Два рукава от партии | + | - | + |
4 Герметичность | 2% от партии, но не менее двух рукавов | + | - | + |
5 Запас прочности | Два рукава от партии | + | - | + |
6 Увеличение диаметра верхней металлической оплетки (распушивание) при снятии наружного резинового слоя | Два рукава от партии | + | - | + |
7 Прочность связи между элементами рукава | По три образца от двух рукавов от партии | + | - | + |
8 Состояние внутренней поверхности | По одному образцу от пяти рукавов от партии | + | - | + |
9 Стойкость к воздействию агрессивных сред | Не менее одного раза в полгода по два образца от двух рукавов от текущей партии | - | + | + |
10 Морозостойкость | Не менее одного раза в полгода на четырех рукавах от каждой группы и типа | - | + | + |
11 Динамические испытания | Не менее одного раза в год по два рукава с концевой арматурой каждого типоразмера | - | + | + |
12 Отклонение от перпендикулярности торца к оси рукава | Не менее одного раза в полгода на двух рукавах от текущей партии | - | + | + |
13 Изменение длины рукава при рабочем давлении | Не менее одного раза в квартал на двух рукавах каждой группы и типа | - | + | + |
Примечания 1 Знак "+" означает проведение испытаний, знак "-" - отсутствие испытаний. 2 Разнотолщинность внутреннего резинового слоя и состояние металлических оплеток проверяют в процессе изготовления рукавов. 3 Динамические испытания рукавов групп А, Б, В изготовитель не проводит. |
7.4 В случае приемки рукавов ВП изготовитель перед предъявлением партии рукавов на испытания и приемку ВП проводит предъявительские испытания в объеме, указанном в
таблице 9, для приемо-сдаточных испытаний.
Рукава после приемки техническим контролем изготовителя предъявляют ВП на приемо-сдаточные испытания с документами в соответствии с установленными требованиями.
7.4.1 До предъявления рукавов на предъявительские испытания они должны пройти с положительными результатами производственный контроль, предусмотренный технологической документацией.
7.4.2 При приемке партии рукавов по согласованию с ВП допускается совмещать предъявительские и приемо-сдаточные испытания.
7.5 При получении неудовлетворительных результатов приемо-сдаточных испытаний по одному из
показателей 3 -
8 таблицы 9 проводят повторные испытания по этому показателю на удвоенном объеме выборки, взятой от той же партии.
Результаты повторных испытаний, кроме испытания на герметичность, распространяют на всю партию.
При неудовлетворительных результатах повторных испытаний на герметичность проверке подвергают каждый рукав партии.
7.6 При получении неудовлетворительных результатов периодических испытаний по
показателям 9 -
13 таблицы 9 проводят повторные испытания по этому показателю на удвоенном объеме выборки, взятой от той же партии.
При получении неудовлетворительных результатов повторных периодических испытаний хотя бы по одному показателю данная партия бракуется, а показатель переводится в приемо-сдаточный до получения удовлетворительных результатов испытания не менее чем на трех партиях подряд.
7.7 Типовые испытания рукавов проводят с целью оценки эффективности и целесообразности вносимых изменений в конструкцию, рецептуру или технологию изготовления, которые могут повлиять на технические, эксплуатационные и потребительские характеристики рукавов. Порядок проведения типовых испытаний - по
ГОСТ 15.309, при приемке рукавов с ВП - в соответствии с установленными требованиями.
7.8 Типовые формы документов, оформляемых в процессе испытаний и приемки рукавов - по
ГОСТ 15.309, при приемке рукавов с ВП - в соответствии с установленными требованиями.
8.1 Испытания рукавов проводят не менее чем через 16 ч после вулканизации при температуре испытаний (23 +/- 5) °C. При арбитражных испытаниях выдержку после вулканизации и испытания проводят при температуре (23 +/- 2) °C.
8.2 Состояние наружной поверхности рукавов проверяют визуально или сравнением с контрольным образцом.
Конструкцию рукава проверяют визуально в торце рукава.
8.3 Маркировку и упаковку, включая наличие и правильность оформления сопроводительной документации (документа о качестве - паспорта) проверяют визуально.
8.4 Размеры рукавов проверяют измерительными приборами, обеспечивающими заданную точность измерений: штангенциркулем по
ГОСТ 166, толщиномером по
ГОСТ 11358, измерительной линейкой по
ГОСТ 427, индикаторным стенкомером по
ГОСТ 11358, рулеткой по
ГОСТ 7502, микроскопом по
ГОСТ 8074, счетчиком метража с дискретностью отсчета 0,1 м.
8.4.1 Внутренний диаметр рукава измеряют цилиндрическими калибрами, при этом проходная сторона калибра должна проходить в рукав на расстояние 50 мм от конца рукава, или штангенциркулем на конце рукава.
8.4.2 Для измерения наружного диаметра верхней металлической оплетки на расстоянии не менее 2,5dвн от конца рукава по окружности срезают слои, находящиеся над оплеткой, в виде кольца шириной (9 +/- 1) мм и измеряют штангенциркулем. Допускается измерять показатель в процессе изготовления рукавов.
8.4.3 Длину рукава определяют измерительной линейкой или рулеткой, или счетчиком метража.
8.5 Для проведения испытаний гидравлическим давлением применяют:
- источник давления с манометром класса точности до 2,5 по
ГОСТ 2405, обеспечивающим проведение испытаний в рабочей зоне шкалы манометра. Манометр подбирают таким образом, чтобы измеряемое значение находилось от 1/3 до 4/5 предела измерения;
- секундомер 2-го класса точности;
- часы типа ВЧС-1-М2ПВ;
- металлическую измерительную линейку по
ГОСТ 427.
8.5.1 Для испытания на герметичность один конец рукава присоединяют к источнику давления. Способ присоединения рукава - в соответствии с инструкцией на испытательное оборудование. Наполняют рукав рабочей жидкостью до полного удаления воздуха. Затем другой свободный конец рукава заглушают и в течение 1 - 2 мин повышают давление до 2
P + 5%. После этого источник давления отключают и выдерживают рукав под установленным давлением (2 +/- 1) мин. Допускается в течение первой минуты дополнительно подключать источник давления.
Допускается вместо определения времени повышения давления определять скорость повышения давления.
Рукав считают выдержавшим испытание, если по истечении указанного времени на его поверхности не будут обнаружены разрывы и капли рабочей жидкости.
8.5.2 При испытании на запас прочности рукава длиной (800 +/- 200) мм или образцы, отрезанные от отобранных рукавов, испытывают по методу, указанному в
8.5.1, и при отсутствии дефектов на его поверхности в течение 0,5 - 1,0 мин повышают давление до 3
P (4
P - для рукавов группы Z) или до разрыва рукава.
Рукав считают выдержавшим испытание, если разрушающее давление - не менее 3P (4P - для рукавов группы Z).
Рукава, испытанные на запас прочности, в партию не включают.
8.5.3 Если рукав не выдержал испытания по
4.1.14 или
4.1.15 из-за течи или дефектов на расстоянии не более 25 мм от места закрепления, испытание повторяют после повторного закрепления того же образца или на другом образце.
8.6 Для определения увеличения диаметра верхней металлической оплетки (распушивания) с конца рукава на длине 2,5dвн для рукавов диаметром до 10,0 мм включительно, 1,5dвн - для рукавов диаметром от 10,0 до 25,0 мм включительно и 1dвн - для рукавов диаметром свыше 25,0 мм снимают слои, находящиеся над оплеткой, методом шерохования или зачистки без повреждения латунного покрытия проволоки металлической оплетки.
Затем не позднее чем через 15 мин штангенциркулем, расположенным параллельно торцу рукава, на расстоянии не менее 5 мм от торца измеряют диаметр в трех плоскостях.
За значение показателя распушивания принимают среднеарифметическое значение результатов измерений.
8.7 Прочность связи верхней металлической оплетки со слоями, находящимися над ней, определяют следующим образом: от рукава отрезают три образца в виде колец шириной (35 +/- 5) мм. По краям образца срезают слои до металлической оплетки таким образом, чтобы ширина расслаиваемого (рабочего) участка составляла 10 - 25 мм.
На рабочем участке резины делают надрез по всей ширине кольца до металлической оплетки и по линии надреза с одной стороны резину отслаивают вручную на длину, достаточную для закрепления ее в зажиме динамометра.
Кольцо надевают на стержень таким диаметром, чтобы оно могло свободно вращаться вокруг своей оси.
Отслоенный участок закрепляют в верхнем зажиме динамометра, а стержень с кольцом - в нижнем. Затем отслаивают при скорости движения нижнего зажима (100 +/- 10) мм/мин.
Испытания проводят на динамометре, номинальное значение шкалы которого не должно превышать более чем в пять раз измеряемую нагрузку при отслаивании.
При испытании каждого образца записывают не менее трех пар (минимальных и максимальных) показаний прибора для рукавов внутренним диаметром до 10,0 мм включительно и не менее пяти пар - для рукавов диаметром свыше 10,0 мм.
За значение показателя прочности связи принимают среднеарифметическое значение результатов испытания, отнесенное к 1 см ширины образца.
За результат испытания принимают среднеарифметическое значение результатов испытания шести образцов.
При невозможности отслоения наружного резинового слоя от металлической оплетки (когезионный отрыв) образец считают выдержавшим испытание в соответствии с
4.1.17.
8.8 Для определения состояния внутренней поверхности от рукава отрезают образец длиной не менее 300 мм, разрезают его вдоль оси или направляют его на источник света и поворачивают вокруг оси.
Определение проводят визуально или сравнением с контрольным образцом.
8.9 Изменение массы внутреннего резинового слоя в соответствии с
4.1.20 определяют по
ГОСТ 9.030 на образцах резины внутреннего слоя, отслоенных от рукава и тщательно зачищенных от клея и нитей.
Допускается определять изменение массы на образцах, отобранных от вулканизованной трубки из резины внутреннего слоя, применяемой для изготовления данной партии рукавов.
8.10 Для определения морозостойкости рукав выдерживают при температуре не выше указанной в
4.1.13, в течение не менее 4 ч.
Затем при заданной температуре и не более чем через 15 с после воздействия заданной температуры в течение (10 +/- 2) с рукава внутренним диаметром до 22,0 мм включительно изгибают на 180°, а рукава внутренним диаметром свыше 22,0 мм - на 90° вокруг оправки диаметром 2R, где R - минимальный радиус изгиба.
После испытания температуру рукава доводят до (23 +/- 5) °C.
На наружной поверхности рукава не должно быть трещин и при испытании гидравлическим давлением, указанным в
4.1.14, рукав должен быть герметичным.
8.11 Для проведения динамических испытаний в соответствии с требованиями, указанными в
таблице 8, рукава с концевой арматурой присоединяют к источнику, обеспечивающему изменение давления с частотой от 30 до 75 циклов/мин, при этом каждый цикл должен отвечать требованиям импульсного цикла, указанным на
рисунке 2.
Температура испытательной жидкости должна быть (93 +/- 5) °C.
Рукава диаметром до 22 мм включительно должны иметь свободную длину, в 3,5 раза превышающую минимальный радиус изгиба с допуском +/- 1%, и должны быть присоединены таким образом, чтобы рукав был изогнут на 180°, т.е. чтобы арматура на концах рукава располагалась параллельно и расстояние между концами было в 2 раза больше минимального радиуса изгиба, как показано на
рисунке 3.
Рукава внутренним диаметром свыше 22 мм должны иметь свободную длину не менее 0,4 м и должны быть присоединены в прямом положении. Допускается по требованию потребителей испытывать рукава диаметром свыше 22 мм в изогнутом состоянии.
Для испытания применяют любую рабочую жидкость.
После испытания на рукаве, находящемся под давлением, не должно быть разрывов, дефектов и течи.
Если рукав выдержал испытания в соответствии с требованиями
4.1.21, но при этом обнаружена течь и дефекты на расстоянии не более 25 мм от места закрепления, рукав считают выдержавшим испытания.
Рисунок 2 - Импульсный цикл динамического испытания рукавов
R - минимальный радиус изгиба
Рисунок 3 - Схема изгиба рукавов
при динамических испытаниях
| | ИС МЕГАНОРМ: примечание. В официальном тексте документа, видимо, допущена опечатка: рисунок 4 отсутствует. | |
Если рукав не выдержал испытания по
4.1.21 из-за течи или дефектов на расстоянии не более 25 мм от места закрепления и при этом течь или дефекты искажают формы импульсного цикла, указанного на рисунке 4, то испытание считают недействительным и его повторяют на другом образце рукава.
Для рукавов группы Z допускается проведение динамических испытаний по ГОСТ ISO 6803.
8.12 Отклонение от перпендикулярности торца к оси рукава определяют транспортиром или угломером УМ по
ГОСТ 5378. При этом рукав располагают в горизонтальной плоскости. Допускается применять угломер типа УН по
ГОСТ 5378. Основание угломера должно быть расположено вдоль оси рукава с центром в торце рукава.
8.13 Для определения изменения длины при рабочем давлении рукав длиной (800 +/- 200) мм или образцы, отрезанные от отобранных рукавов, присоединяют к источнику давления, указанному в
8.5, повышают давление до 10% рабочего, указанного в
таблицах 4 и
5 для данного внутреннего диаметра, и отмечают линейкой в середине рукава участок
l1 длиной не менее 250 мм.
Затем в течение 0,5 - 1,0 мин повышают давление до рабочего P и снова измеряют длину отмеченного участка.
Изменение длины рукава при рабочем давлении X, %, вычисляют по формуле

(1)
где l - длина участка рукава, измеренного при рабочем давлении, мм;
l1 - длина участка рукава до испытания, мм.
8.14 При проведении испытаний допускается применять другие средства измерения и контроля, обеспечивающие точность измерения в соответствии с требованиями настоящего стандарта.
9 Транспортирование и хранение
9.1 Рукава транспортируют транспортом всех видов в крытых транспортных средствах в соответствии с правилами перевозки грузов, действующими на транспорте данного вида.
9.2 Рукава должны храниться в расправленном виде в помещении при температуре от 0 °C до 25 °C, при этом допускается хранение рукавов в упаковке предприятия-изготовителя в течение не более 3 мес.
Допускается кратковременное (не более 3 мес) хранение рукавов при температуре от 25 °C до 40 °C.
Допускается кратковременное (не более 1 мес) хранение рукавов при температуре от 0 °C до минус 20 °C.
Рукава должны храниться на расстоянии не менее 1 м от теплоизлучающих приборов.
Не допускается хранить рукава совместно с жидкостями, не предусмотренными в
4.1.11, под давлением, вблизи работающего радиоэлектронного и другого оборудования, способного выделять озон, а также искусственных источников света, выделяющих ультрафиолетовое излучение.
10 Указания по эксплуатации
10.1 При эксплуатации рукавов необходимо соблюдать требования, установленные настоящим стандартом.
При эксплуатации не допускается применять рукава для перекачивания продуктов, не предусмотренных настоящим стандартом.
После хранения при отрицательных температурах рукава перед монтажом должны быть выдержаны при температуре (20 +/- 5) °C не менее 24 ч.
10.2 При монтаже рукавов не допускается:
- скручивание рукавов относительно оси;
- установка рукава с изгибом меньше минимального радиуса изгиба;
- контакт резиновых слоев рукава с горячими изделиями и поверхностями температурой выше 70 °C.
10.3 Детали концевой арматуры в местах контакта с резиной не должны иметь задиров, заусенцев и острых граней.
11.1 Изготовитель гарантирует соответствие качества рукавов требованиям настоящего стандарта при соблюдении потребителем условий транспортирования, хранения и эксплуатации.
11.2 Гарантийный срок хранения рукавов - один год со дня изготовления.
11.3 Гарантийный срок эксплуатации рукавов - два года со дня ввода в эксплуатацию.
Гарантийная наработка рукавов, применяемых в тракторах, - 8000 моточасов при условии установления такой же гарантии на концевую арматуру.
Гарантийная наработка рукавов групп А, Б и В внутренним диаметром до 20 мм - 100000 импульсных циклов при рабочем давлении и количестве пульсаций от 30 до 75 циклов/мин.
| Нормы государственной противопожарной службы МВД России НПБ 105-03 | Определение категорий помещений и зданий по взрывопожарной и пожарной опасности |
| Правила противопожарного режима в Российской Федерации, утвержденные постановлением Правительства РФ от 25 апреля 2012 г. N 390 с изменениями |
| Федеральный классификационный каталог отходов, утвержденный приказом Федеральной службы по надзору в сфере природопользования от 18 июля 2014 г. N 445 |