Главная // Актуальные документы // ГОСТ (Государственный стандарт)СПРАВКА
Источник публикации
М.: Стандартинформ, 2019
Примечание к документу
Документ
введен в действие с 01.06.2020.
Название документа
"ГОСТ 34525-2019. Межгосударственный стандарт. Мойки из нержавеющей стали. Технические условия"
(введен в действие Приказом Росстандарта от 19.11.2019 N 1194-ст)
"ГОСТ 34525-2019. Межгосударственный стандарт. Мойки из нержавеющей стали. Технические условия"
(введен в действие Приказом Росстандарта от 19.11.2019 N 1194-ст)
агентства по техническому
регулированию и метрологии
от 19 ноября 2019 г. N 1194-ст
МЕЖГОСУДАРСТВЕННЫЙ СТАНДАРТ
МОЙКИ ИЗ НЕРЖАВЕЮЩЕЙ СТАЛИ
ТЕХНИЧЕСКИЕ УСЛОВИЯ
Stainless steel sinks. Specifications
ГОСТ 34525-2019
Дата введения
1 июня 2020 года
Цели, основные принципы и общие правила проведения работ по межгосударственной стандартизации установлены
ГОСТ 1.0 "Межгосударственная система стандартизации. Основные положения" и
ГОСТ 1.2 "Межгосударственная система стандартизации. Стандарты межгосударственные, правила и рекомендации по межгосударственной стандартизации. Правила разработки, принятия, обновления и отмены"
1 РАЗРАБОТАН Акционерным обществом "Центр методологии нормирования и стандартизации в строительстве" (АО "ЦНС")
2 ВНЕСЕН Федеральным агентством по техническому регулированию и метрологии
3 ПРИНЯТ Межгосударственной научно-технической комиссией по стандартизации, техническому нормированию и сертификации в строительстве (протокол от 29 марта 2019 г. N 117-П)
За принятие проголосовали:
Краткое наименование страны по МК (ИСО 3166) 004-97 | Код страны по МК (ИСО 3166) 004-97 | Сокращенное наименование национального органа по стандартизации |
Беларусь | BY | Госстандарт Республики Беларусь |
Киргизия | KG | Кыргызстандарт |
Россия | RU | Росстандарт |
Таджикистан | TJ | Таджикстандарт |
Узбекистан | UZ | Узстандарт |
4
Приказом Федерального агентства по техническому регулированию и метрологии от 19 ноября 2019 г. N 1194-ст межгосударственный стандарт ГОСТ 34525-2019 введен в действие в качестве национального стандарта Российской Федерации с 1 июня 2020 г.
5 ВВЕДЕН ВПЕРВЫЕ
Информация о введении в действие (прекращении действия) настоящего стандарта и изменений к нему на территории указанных выше государств публикуется в указателях национальных стандартов, издаваемых в этих государствах, а также в сети Интернет на сайтах соответствующих национальных органов по стандартизации.
В случае пересмотра, изменения или отмены настоящего стандарта соответствующая информация будет опубликована на официальном интернет-сайте Межгосударственного совета по стандартизации, метрологии и сертификации в каталоге "Межгосударственные стандарты"
Настоящий стандарт распространяется на мойки из нержавеющей стали, устанавливаемые в кухнях и бытовых помещениях зданий различного назначения.
В настоящем стандарте использованы нормативные ссылки на следующие межгосударственные стандарты:
ГОСТ 2.601 Единая система конструкторской документации. Эксплуатационные документы
ГОСТ 5582 Прокат тонколистовой коррозионно-стойкий, жаростойкий и жаропрочный. Технические условия
ГОСТ 8026 Линейки поверочные. Технические условия
ГОСТ 9378 (ИСО 2632-1-85, ИСО 2632-2-85) Образцы шероховатости поверхности (сравнения). Общие технические условия
ГОСТ 10905 Плиты поверочные и разметочные. Технические условия
ГОСТ 15846 Продукция, отправляемая в районы Крайнего Севера и приравненные к ним местности. Упаковка, маркировка, транспортирование и хранение
ГОСТ 19300 Средства измерений шероховатости поверхности профильным методом. Профилографы-профилометры контактные. Типы и основные параметры
ГОСТ 26663 Пакеты транспортные. Формирование с применением средств пакетирования. Общие технические требования
ГОСТ 33756 Упаковка потребительская полимерная. Общие технические условия
ГОСТ 33781 Упаковка потребительская из картона, бумаги и комбинированных материалов. Общие технические условия
Примечание - При пользовании настоящим стандартом целесообразно проверить действие ссылочных стандартов и классификаторов на официальном интернет-сайте Межгосударственного совета по стандартизации, метрологии и сертификации (www.easc.by) или по указателям национальных стандартов, издаваемым в государствах, указанных в предисловии, или на официальных сайтах соответствующих национальных органов по стандартизации. Если на документ дана недатированная ссылка, то следует использовать документ, действующий на текущий момент, с учетом всех внесенных в него изменений. Если заменен ссылочный документ, на который дана датированная ссылка, то следует использовать указанную версию этого документа. Если после принятия настоящего стандарта в ссылочный документ, на который дана датированная ссылка, внесено изменение, затрагивающее положение, на которое дана ссылка, то это положение применяется без учета данного изменения. Если ссылочный документ отменен без замены, то положение, в котором дана ссылка на него, применяется в части, не затрагивающей эту ссылку.
В настоящем стандарте применен следующий термин с соответствующим определением:
3.1 мойка: Санитарный прибор в виде одной или двух чаш с пристроенной сливной полкой или без нее, принимающий воду от смесителя или крана для осуществления мытья посуды и продуктов питания.
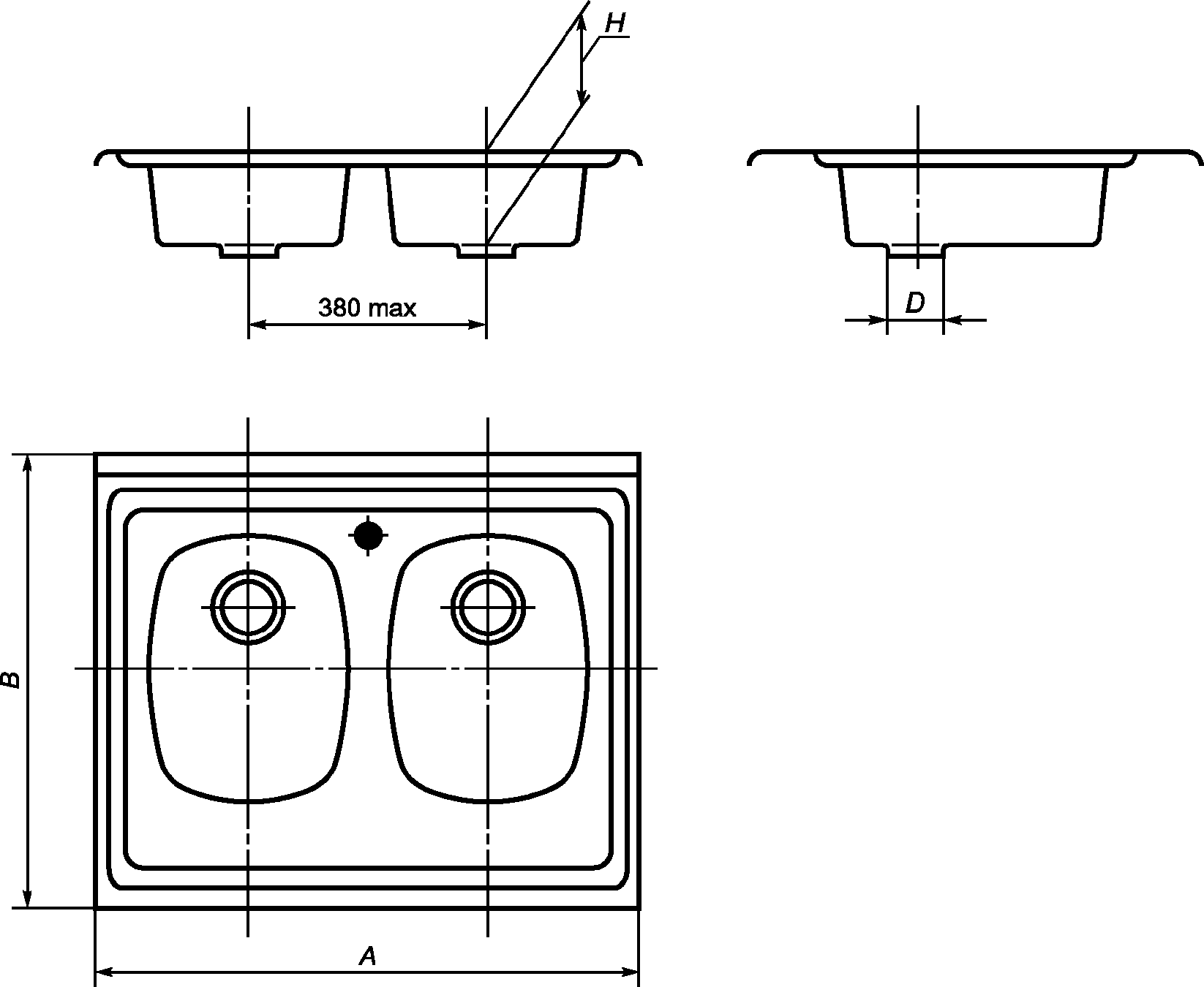
4 Классификация и основные размеры
Рисунок 1 - Мойка из нержавеющей стали
с одной чашей накладная (тип МН)
Рисунок 2 - Мойка из нержавеющей стали с одной чашей,
сливной полкой, накладная (тип МНП)
Рисунок 3 - Мойка из нержавеющей стали с двумя чашами,
накладная (тип МН2)
Рисунок 4 - Мойка из нержавеющей стали с двумя чашами,
сливной полкой, накладная (тип МНП2)
Рисунок 5 - Мойка из нержавеющей стали с одной чашей,
встраиваемая (тип МНВ)
Рисунок 6 - Мойка из нержавеющей стали с одной чашей,
сливной полкой, встраиваемая (тип МНВП)
Рисунок 7 - Мойка из нержавеющей стали с двумя чашами,
встраиваемая (тип МНВ2)
Рисунок 8 - Мойка из нержавеющей стали с двумя чашами,
сливной полкой, встраиваемая (тип МНВП2)
В миллиметрах
Тип мойки | Длина A +/- 3 | Ширина B +/- 3 | Глубина чаши H, не менее |
Накладные |
| 500 | 600 | 1500 |
| 800 |
| 800 |
| 1200 |
Встраиваемые |
| 450 | От 500 до 520 | 1500 |
| От 750 до 780 |
| От 750 до 780 |
| 1150 |
4.2 Конструкция мойки должна предусматривать наличие отверстий для установки выпуска и водоразборной арматуры.
4.3 Диаметры и расположение отверстий в мойках для установки водоразборной арматуры должны соответствовать указанным на
рисунке 9 с отклонениями +/- 1,0 мм.
--------------------------------
<*> Для моек типов МН, МНП, МН2, МНП2.
<**> Для моек типов МНВ, МНВП, МНВ2, МНВП2.
а - для центрального смесителя; б - для смесителя
с раздельными подводками; в - для смесителя с моечной щеткой
или душем на гибком шланге
Рисунок 9 - Расположение и размеры отверстий на мойках
для водоразборной арматуры
По требованию потребителя мойки допускается изготавливать без отверстий для водоразборной арматуры.
Диаметр отверстия для установки выпуска должен быть

. По согласованию с потребителем допускается предусматривать выпускное отверстие диаметром 60 мм с теми же отклонениями.
4.4 Конструкция и конфигурация моек, расположение отверстия под выпуск, а также расположение отверстия под дополнительный смеситель настоящим стандартом не регламентируются, а определяются рабочими чертежами, утвержденными в установленном порядке.
4.5 Условное обозначение моек в технической документации и при заказе должно состоять из слова "Мойка", обозначения ее типа и обозначения настоящего стандарта.
Для моек после обозначения типа указывают буквы:
Ц - для моек с отверстиями для установки центрального смесителя;
Щ - для моек с отверстиями для установки смесителя со щеткой или душем на гибком шланге;
Р - для моек с отверстиями для установки смесителя с раздельными подводками;
Л - для моек типов МНП, МНВП, изготовленных в левом исполнении (чаша расположена слева при взгляде на мойку спереди);
О - для моек с отверстием для установки дополнительного смесителя очистки воды.
Примеры условных обозначений:
мойка из нержавеющей стали накладная, с одной чашей, с отверстием для установки центрального смесителя
Мойка МНЦ ГОСТ 34525-2019
мойка из нержавеющей стали накладная, с двумя чашами, со сливной полкой, в левом исполнении, с отверстиями для установки смесителя со щеткой на гибком шланге
Мойка МНП2ЩЛ ГОСТ 34525-2019
5.1 Мойки следует изготавливать в соответствии с требованиями настоящего стандарта, конструкторской и технологической документации. При разработке конструкторской и технологической документации на изделия конкретных видов необходимо применять следующие показатели качества:
- механическая прочность прибора;
- присоединительные размеры;
- габаритные размеры, отклонение от них;
- отклонение от плоскостности и коробление;
- показатели внешнего вида.
5.2 Характеристики
5.2.1 При горизонтальном положении бортов мойки дно ее чаши должно иметь уклон к выпускному отверстию, обеспечивающий полный слив воды через выпуск, а сливная полка - в сторону чаши.
5.2.2 Допуски плоскостности и формы заданной поверхности моек не должны превышать значений, указанных ниже:
- 2,0 мм - допуск плоскостности продольных и поперечных бортов;
- 0,5 мм - допуск формы заданной поверхности бортов;
- 0,1 мм - то же, боковых стенок, днища и радиусов перехода борта к стенкам.
5.2.3 Мойки должны иметь на невидимой поверхности чаши шумопоглощающее покрытие.
5.2.4 Мойки должны выдерживать механическую нагрузку.
5.2.5 Видимая поверхность моек должна быть полированной и ее шероховатость должна быть не более 0,32 мкм. Не допускается наличие пятен различных оттенков, волнистости и царапин.
5.2.6 Сварные швы на видимой поверхности моек должны быть тщательно зачищены и отполированы.
5.3 Требования к сырью, материалам и комплектующим изделиям
5.3.1 Мойки изготавливают из тонколистовой нержавеющей коррозионно-стойкой стали улучшенной плоскостности, пригодной для штамповки и полировки, травленой или после светлого отжига с чистотой поверхности М2а и по
ГОСТ 5582 марок 08Х18Н10, 08Х18Н10Т, 12Х18Н10Т, 08Х18Тч (Ди77), 10Х13Г18Д (Ди61).
5.3.2 Детали крепления моек, выполненные на сварке, следует изготавливать из стали той же марки, что и мойки.
5.4.1 Мойки должны поставляться предприятием-изготовителем комплектно. В состав комплекта моек входят: мойка, водосливная арматура (сифон, выпуск, перелив), водоразборная арматура, детали крепления мойки к подстолью и детали для обеспечения водонепроницаемости мест соединения мойки с подстольем.
По согласованию потребителя и изготовителя мойки допускается поставлять частично или полностью без комплектующих изделий, за исключением деталей, обеспечивающих водонепроницаемость.
5.4.2 Мойки, отгружаемые потребителю в одной транспортной единице по одному сопроводительному документу, должны сопровождаться эксплуатационной документацией по
ГОСТ 2.601.
5.4.3 В паспорте должны быть указаны:
- наименование мойки;
- наименование предприятия-изготовителя, его товарный знак и адрес;
- наименование страны-изготовителя;
- условное обозначение мойки;
- комплектность;
- срок службы и гарантия предприятия-изготовителя;
- дата выпуска или отгрузки;
- обозначение настоящего стандарта;
- штриховой код изготовленной мойки.
5.4.4 При поставке в торговую сеть паспорт следует прикладывать к каждой мойке, а в состав комплекта должна входить также инструкция по монтажу и эксплуатации.
5.4.5 Допускается совмещать паспорт с инструкцией по монтажу и эксплуатации.
5.5.1 Мойки подлежат маркировке.
5.5.2 На наружной поверхности мойки должны быть указаны:
- наименование предприятия-изготовителя или его товарный знак;
- наименование страны-изготовителя;
- дата изготовления.
5.5.3 Место и способ нанесения маркировки определяет предприятие-изготовитель.
5.5.4 Маркировка должна быть прочной, сохраняться в течение всего срока службы мойки.
5.5.5 Упакованные изделия должны иметь транспортную маркировку в соответствии с
ГОСТ 14192.
5.6.1 Мойки должны быть упакованы в соответствии с технической документацией предприятия-изготовителя.
5.6.2 При поставке моек в торговую сеть каждую мойку упаковывают отдельно в картонную коробку или в деревянную обрешетку.
5.6.3 Упаковку моек осуществляют в деревянные поддоны любых видов, деревянные ящики или обрешетки, полимерную упаковку по
ГОСТ 33756 или картонную упаковку по
ГОСТ 33781, прокладывая между мойками бумагу.
При этом тара может быть сформирована в транспортные пакеты по
ГОСТ 26663 с указанием массы и размеров пакетов по согласованию с транспортными организациями.
5.6.4 Упаковка должна обеспечивать сохранность моек и их рукояток от механических повреждений при погрузочно-разгрузочных и транспортных операциях.
5.6.5 Масса брутто ящика не должна превышать 50 кг.
6.1 Мойки принимают партиями. В состав партии входят мойки одного типа. Объем партии устанавливает предприятие-изготовитель, но не более сменной выработки.
6.2 Для проверки соответствия моек требованиям настоящего стандарта следует проводить приемо-сдаточные, периодические и типовые испытания.
6.3 Приемо-сдаточные испытания
6.3.1 При приемо-сдаточных испытаниях каждую мойку проверяют на соответствие требованиям
4.2,
5.2.2,
5.2.3,
5.2.5,
5.4,
5.5.
6.3.2 Проверке на соответствие требованиям
4.1,
4.3,
5.2.1,
5.2.4,
5.4.1 подвергают 1% моек от партии, но не менее 3 шт.
6.3.3 Проверке на соответствие требованиям
5.3.1 подвергают каждую партию металла, поступившую на предприятие-изготовитель.
6.3.4 Проверке на соответствие требованиям
5.6 подвергают партию моек, подготовленную к отправке и поставляемую по одному сопроводительному документу. Проверку проводят не реже одного раза в квартал.
6.3.5 При получении неудовлетворительных результатов проверки хотя бы по одному показателю при выборочном контроле, проводят повторный контроль по этому показателю удвоенного количества моек, отобранных от той же партии.
В случае неудовлетворительных результатов повторного контроля партию моек бракуют. Допускается поштучная приемка моек.
6.4 Периодические испытания проводят на соответствие всем требованиям настоящего стандарта.
Проверке подвергают не менее трех моек, прошедших приемо-сдаточные испытания, не реже одного раза в год.
6.5 Типовые испытания проводят с целью определения эффективности и целесообразности предполагаемых изменений конструкций и технологии изготовления, которые могут повлиять на технические характеристики продукции.
Типовые испытания проводят на образцах моек, в конструкцию которых на основании временных документов внесены изменения. Виды и объем испытаний определяет организация-разработчик.
7.1 Внешний вид и качество поверхностей моек (
4.2,
5.2.6) проверяют визуально <1>, сравнивая с образцом, без применения увеличительных приборов при естественном или искусственном освещении на расстоянии 0,7 м и освещенности не менее 200 лк.
--------------------------------
<1> В Российской Федерации визуальный контроль выполняют по
ГОСТ Р ЕН 13018-2014 "Контроль визуальный. Общие положения".
7.2 Размеры моек и допуски (
4.1,
4.3) определяют универсальными или специальными средствами измерений, обеспечивающими необходимую точность измерений (металлической линейкой, штангенциркулем, высотомером), или шаблонами.
7.3 Определение допуска плоскостности и формы заданной поверхности (5.2.2)
7.3.1 Средства контроля и вспомогательные материалы
Набор щупов.
Индикатор рычажно-механического типа.
7.3.2 Порядок проведения контроля
На поверочной плите измеряют наибольший зазор между плитой и проверяемой поверхностью набором щупов.
Отклонение формы заданной поверхности (гофры) определяют с помощью индикатора.
Допускается проводить проверку плоскостности при помощи поверочной линейки и набора щупов.
Допускаются другие методы контроля, обеспечивающие заданную точность.
7.3.3 Контроль уклона дна к отверстию для выпуска и уклона сливной полки в сторону чаши
(5.2.1) определяют частичным заполнением мойки водой.
После слива в мойке не должна оставаться вода.
7.4 Контроль применяемых материалов осуществляют по сопроводительной документации на материалы при входном контроле или путем лабораторных анализов.
7.5 Контроль шероховатости поверхности
(5.2.5) проводят профилометром-профилографом или другим прибором, указанным в
ГОСТ 19300, или сравнением с образцами шероховатости по
ГОСТ 9378.
7.6 Проверку наличия шумопоглощающего материала
(5.2.3), комплектности
(5.4), маркировки
(5.5) осуществляют визуально.
7.7 Определение механической прочности мойки (5.2.4)
7.7.1 Средства контроля и вспомогательные материалы
Деревянная доска 200 x 300 мм толщиной 40 мм.
Резина листовая 250 x 400 мм толщиной 15 мм.
Набор грузов массой 50 кг.
7.7.2 Порядок проведения контроля
Прочность моек проверяют постепенным нагружением деревянной доски, уложенной через резиновую прокладку на дно чаши, грузом 50 кг в течение 10 мин.
7.7.3 Правила определения результатов испытаний
Мойки считают выдержавшими испытание, если:
- после проверки габаритных и присоединительных размеров не обнаружено отклонений, выходящих за пределы допусков;
- при осмотре с помощью лупы четырехкратного увеличения не обнаружено деформации поверхностей, деформации крепежных деталей, срыва резьбы, выдавливания прокладок.
8 Транспортирование и хранение
8.1 Мойки следует перевозить крытым транспортом любого вида согласно правилам перевозки грузов, действующим на данном виде транспорта.
8.2 При транспортировании моек в районы Крайнего Севера и приравненные к ним местности тара и упаковка должны соответствовать
ГОСТ 15846.
8.3 Мойки следует хранить в закрытом помещении или под навесом, исключающим возможность попадания на них атмосферных осадков.
9 Указания по монтажу и эксплуатации
9.1 Сведения по монтажу и эксплуатации должны быть изложены в эксплуатационной документации в соответствии с
ГОСТ 2.601.
9.2 Мойки должны иметь горизонтальное положение бортов, отклонение не должно превышать 2 мм по длине мойки.
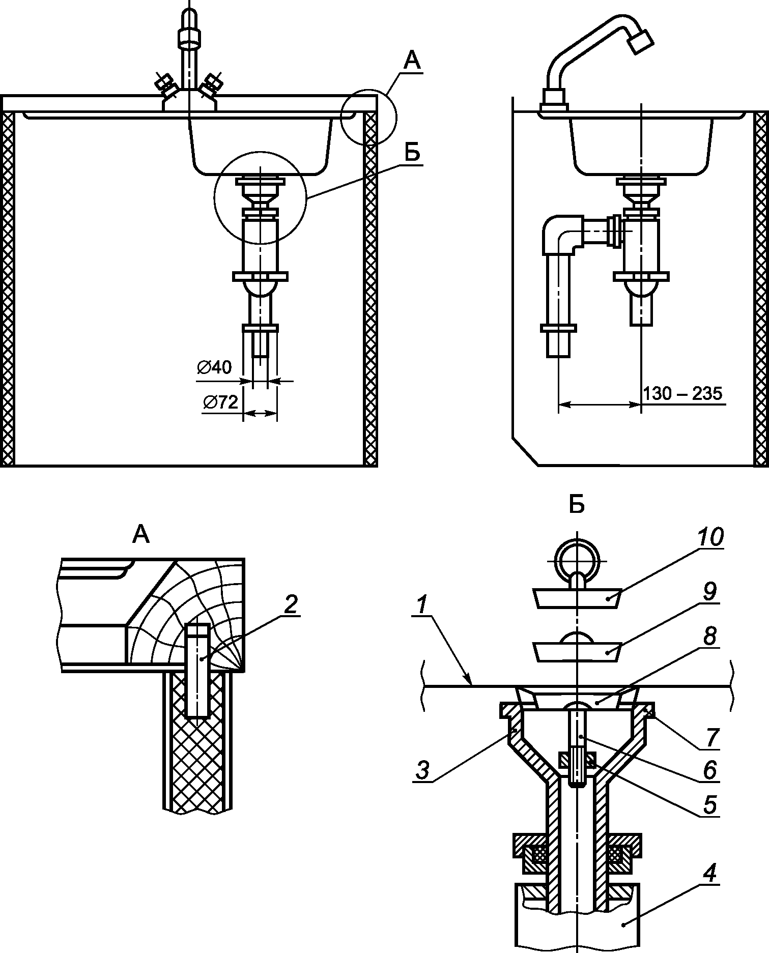
9.3 Мойки должны быть прочно закреплены на подстолье. Рекомендуемые монтажные схемы установки моек на подстолье приведены в
приложении А.
9.4 При чистке моек не допускается применение моющих средств, содержащих абразивные материалы.
10.1 Предприятие-изготовитель должно гарантировать соответствие моек требованиям настоящего стандарта при соблюдении условий транспортирования и хранения, установленных настоящим стандартом.
10.2 Гарантийный срок эксплуатации моек - два года со дня сдачи объекта в эксплуатацию или продажи (при реализации приборов через торговую сеть), но не более двух с половиной лет со дня их отгрузки предприятием-изготовителем.
10.3 Гарантийный срок эксплуатации комплектующих изделий моек рекомендуется устанавливать равным гарантийному сроку на мойки.
(рекомендуемое)
МОНТАЖНЫЕ СХЕМЫ УСТАНОВКИ МОЕК
1 - мойка; 2 - нагель; 3 - выпуск; 4 - сифон; 5 - гайка;
6 - винт; 7 - резиновая прокладка; 8 - воронка; 9 - сетка;
10 - пробка
Рисунок А.1 - Монтажная схема установления мойки
типа МНП на подстолье
1 - прокладка; 2 - зажим
Рисунок А.2 - Монтажная схема установления мойки
типа МНВП на подстолье
УДК 69.001.2:006.354 | |
Ключевые слова: мойки, нержавеющая сталь, технические условия |