Главная // Актуальные документы // ГОСТ (Государственный стандарт)СПРАВКА
Источник публикации
М.: Стандартинформ, 2019
Примечание к документу
Документ
введен в действие с 01.06.2020.
Название документа
"ГОСТ 27180-2019. Межгосударственный стандарт. Плитки керамические. Методы испытаний"
(утв. и введен в действие Приказом Росстандарта от 17.10.2019 N 1018-ст)
"ГОСТ 27180-2019. Межгосударственный стандарт. Плитки керамические. Методы испытаний"
(утв. и введен в действие Приказом Росстандарта от 17.10.2019 N 1018-ст)
Утвержден и введен в действие
агентства по техническому
регулированию и метрологии
от 17 октября 2019 г. N 1018-ст
МЕЖГОСУДАРСТВЕННЫЙ СТАНДАРТ
ПЛИТКИ КЕРАМИЧЕСКИЕ
МЕТОДЫ ИСПЫТАНИЙ
Ceramic tiles. Test methods
(ISO 10545-1:2014, NEQ)
(ISO 10545-2:2018, NEQ)
(ISO 10545-3:2018, NEQ)
(ISO 10545-4:2014, NEQ)
(ISO 10545-5:1996, NEQ)
(ISO 10545-6:2010, NEQ)
(ISO 10545-7:1996, NEQ)
(ISO 10545-8:2014, NEQ)
(ISO 10545-9:2013, NEQ)
(ISO 10545-11:1994, NEQ)
(ISO 10545-13:2016, NEQ)
(ISO 10545-14:2015, NEQ)
(ISO 10545-15:1995, NEQ)
(ISO 10545-16:2010, NEQ)
ГОСТ 27180-2019
Дата введения
1 июня 2020 года
Цели, основные принципы и общие правила проведения работ по межгосударственной стандартизации установлены
ГОСТ 1.0 "Межгосударственная система стандартизации. Основные положения" и
ГОСТ 1.2 "Межгосударственная система стандартизации. Стандарты межгосударственные, правила и рекомендации по межгосударственной стандартизации. Правила разработки, принятия, обновления и отмены"
1 РАЗРАБОТАН Ассоциацией производителей керамических материалов (АПКМ), Обществом с ограниченной ответственностью "ВНИИСТРОМ "Научный центр керамики" (ООО "ВНИИСТРОМ "НЦК")
2 ВНЕСЕН Техническим комитетом по стандартизации ТК 144 "Строительные материалы и изделия"
3 ПРИНЯТ Межгосударственным советом по стандартизации, метрологии и сертификации (протокол от 28 июня 2019 г. N 55)
За принятие проголосовали:
Краткое наименование страны по МК (ИСО 3166) 004-97 | Код страны по МК (ИСО 3166) 004-97 | Сокращенное наименование национального органа по стандартизации |
Армения | AM | Минэкономики Республики Армения |
Беларусь | BY | Госстандарт Республики Беларусь |
Киргизия | KG | Кыргызстандарт |
Россия | RU | Росстандарт |
Таджикистан | TJ | Таджикстандарт |
Узбекистан | UZ | Узстандарт |
4
Приказом Федерального агентства по техническому регулированию и метрологии от 17 октября 2019 г. N 1018-ст межгосударственный стандарт ГОСТ 27180-2019 введен в действие в качестве национального стандарта Российской Федерации с 1 июня 2020 г.
5 В настоящем стандарте учтены основные нормативные положения следующих международных стандартов:
- ISO 10545-1:2014 "Плитки керамические. Часть 1. Отбор образцов и условия приемки" ("Ceramic tiles - Part 1: Sampling and basis for acceptance", NEQ);
- ISO 10545-2:2018 "Плитки керамические. Часть 2. Определение размеров и качества поверхности" ("Ceramic tiles - Part 2: Determination of dimensions and surface quality", NEQ);
- ISO 10545-3:2018 "Плитки керамические. Часть 3. Определение водопоглощения, кажущейся пористости, кажущейся относительной плотности и объемной плотности" ("Ceramic tiles - Part 3: Determination of water absorption, apparent porosity, apparent relative density and bulk density", NEQ);
- ISO 10545-4:2014 "Плитки керамические. Часть 4. Определение предела прочности при изгибе и прочности на разрыв" ("Ceramic tiles - Part 4: Determination of modulus of rupture and breaking strength", NEQ);
- ISO 10545-5:1996 "Плитки керамические. Часть 5. Определение сопротивления удару по измерению коэффициента восстановления" ("Ceramic tiles - Part 5: Determination of impact resistance by measurement of coefficient of restitution", NEQ);
- ISO 10545-6:2010 "Плитки керамические. Часть 6. Определение стойкости к глубокому абразивному истиранию неглазурованных плиток" ("Ceramic tiles - Part 6: Determination of resistance to deep abrasion for unglazed tiles", NEQ);
- ISO 10545-7:1996 "Плитки керамические. Часть 7. Определение стойкости к поверхностному абразивному истиранию глазурованных плиток" ("Ceramic tiles - Part 7: Determination of resistance to surface abrasion for glazed tiles", NEQ);
- ISO 10545-8:2014 "Плитки керамические. Часть 8. Определение линейного теплового расширения" ("Ceramic tiles - Part 8: Determination of linear thermal expansion", NEQ);
- ISO 10545-9:2013 "Плитки керамические. Часть 9. Определение стойкости к тепловому удару" ("Ceramic tiles - Part 9: Determination of resistance to thermal shock", NEQ);
- ISO 10545-11:1994 "Плитки керамические. Часть 11. Определение стойкости к образованию цеков на глазурованных плитках" ("Ceramic tiles - Part 11: Determination of crazing resistance for glazed tiles, NEQ);
- ISO 10545-13:2016 "Плитки керамические. Часть 13. Определение химической стойкости" ("Ceramic tiles - Part 13: Determination of chemical resistance", NEQ);
- ISO 10545-14:2015 "Плитки керамические. Часть 14. Определение стойкости к образованию пятен" ("Ceramic tiles - Part 14: Determination of resistance to stains", NEQ);
- ISO 10545-15:1995 "Плитки керамические. Часть 15. Определение содержания свинца и кадмия, выделяемых глазурованными плитками" ("Ceramic tiles - Part 15: Determination of lead and cadmium given off by glazed tiles", NEQ);
- ISO 10545-16:2010 "Плитки керамические. Часть 16. Определение небольших цветовых различий" ("Ceramic tiles - Part 16: Determination of small colour differences", NEQ)
Информация о введении в действие (прекращении действия) настоящего стандарта и изменений к нему на территории указанных выше государств публикуется в указателях национальных стандартов, издаваемых в этих государствах, а также в сети Интернет на сайтах соответствующих национальных органов по стандартизации.
В случае пересмотра, изменения или отмены настоящего стандарта соответствующая информация будет опубликована на официальном интернет-сайте Межгосударственного совета по стандартизации, метрологии и сертификации в каталоге "Межгосударственные стандарты"
Настоящий стандарт распространяется на керамические плитки, фасонные изделия и детали к ним (доборные элементы) и ковры из них, изготовленные методом экструзии и полусухого прессования и предназначенные для отделки внутренних и наружных стен и полов согласно группе по водопоглощению.
Настоящий стандарт не распространяется на кислотоупорные и термокислотоупорные керамические плитки.
В настоящем стандарте использованы нормативные ссылки на следующие межгосударственные стандарты:
ГОСТ 61 Реактивы. Кислота уксусная. Технические условия
ГОСТ 166 (ИСО 3599-76) Штангенциркули. Технические условия
ГОСТ 427 Линейки измерительные металлические. Технические условия
ГОСТ 490 Кислота молочная пищевая. Технические условия
ГОСТ 908 Кислота лимонная моногидрат пищевая. Технические условия
ГОСТ 1129 Масло подсолнечное. Технические условия
ГОСТ 2222 Метанол технический. Технические условия
ГОСТ 2768 Ацетон технический. Технические условия
ГОСТ 2912 Хрома окись техническая. Технические условия
ГОСТ 3118 Реактивы. Кислота соляная. Технические условия
ГОСТ 3647 <*> Материалы шлифовальные. Классификация. Зернистость и зерновой состав. Методы контроля
--------------------------------
<*> В Российской Федерации действует
ГОСТ Р 52381-2005 (ИСО 8486-1:1996, ИСО 6344-2:1998, ИСО 9138:1993, ИСО 9284:1992) "Материалы абразивные. Зернистость и зерновой состав шлифовальных порошков. Контроль зернового состава".
ГОСТ 3749 Угольники поверочные 90°. Технические условия
ГОСТ 3773 Реактивы. Аммоний хлористый. Технические условия
ГОСТ 6823 Глицерин натуральный сырой. Общие технические условия
ГОСТ 7502 Рулетки измерительные металлические. Технические условия
ГОСТ 8026 Линейки поверочные. Технические условия
ГОСТ 9285 (ИСО 992-75, ИСО 995-75, ИСО 2466-73) Калия гидрат окиси технический. Технические условия
ГОСТ 9416 Уровни строительные. Технические условия
ГОСТ 13996 Плитки керамические. Общие технические условия
ГОСТ 14791 Мастика герметизирующая нетвердеющая строительная. Технические условия
ГОСТ 17299 Спирт этиловый технический. Технические условия
ГОСТ 18300 <*> Спирт этиловый ректификованный технический. Технические условия
--------------------------------
<*> В Российской Федерации действует
ГОСТ Р 55878-2013 "Спирт этиловый гидролизный ректификованный. Технические условия".
ГОСТ 20403 Резина. Метод определения твердости в международных единицах (от 30 до 100 IRHD)
ГОСТ 20490 Реактивы. Калий марганцовокислый. Технические условия
ГОСТ 23932 Посуда и оборудования лабораторные стеклянные. Общие технические условия
ГОСТ 24104 <**> Весы лабораторные. Общие технические требования
--------------------------------
<**> В Российской Федерации действует
ГОСТ Р 53228-2008 "Весы неавтоматического действия. Часть 1. Метрологические и технические требования. Испытания".
ГОСТ 24363 Реактивы. Калия гидроокись. Технические условия
ГОСТ 27110 Резина. Метод определения эластичности по отскоку на приборе типа Шоба
ГОСТ 28117 Трубы из непластифицированного поливинилхлорида. Типы и сортамент
Примечание - При пользовании настоящим стандартом целесообразно проверить действие ссылочных стандартов и классификаторов на официальном интернет-сайте Межгосударственного совета по стандартизации, метрологии и сертификации (www.easc.by) или по указателям национальных стандартов, издаваемым в государствах, указанных в предисловии, или на официальных сайтах соответствующих национальных органов по стандартизации. Если на документ дана недатированная ссылка, то следует использовать документ, действующий на текущий момент, с учетом всех внесенных в него изменений. Если заменен ссылочный документ, на который дана датированная ссылка, то следует использовать указанную версию этого документа. Если после принятия настоящего стандарта в ссылочный документ, на который дана датированная ссылка, внесено изменение, затрагивающее положение, на которое дана ссылка, то это положение применяется без учета данного изменения. Если документ отменен без замены, то положение, в котором дана ссылка на него, применяется в части, не затрагивающей эту ссылку.
В настоящем стандарте применены термины по
ГОСТ 13996, а также следующие термины с соответствующими определениями:
3.1 разрушающее усилие, Н: Сила, определяемая по шкале прибора, при которой испытуемый образец разрушается.
3.2 разрушающая нагрузка, Н: Нагрузка, получаемая умножением разрушающего усилия на расстояние между опорными стержнями, деленное на ширину испытуемого образца.
3.3 предел прочности при изгибе, Н/мм2 (МПа): Предел прочности, получаемый делением рассчитанной разрушающей нагрузки на возведенную в квадрат наименьшую толщину испытуемого образца по линии разрушения.
3.4 коэффициент отскока e: Отношение скорости отскока к скорости удара между двумя ударяющимися телами.
3.5 цветность: Признак, определяемый как отклонение от серого цвета при одинаковой яркости.
Примечание - Цветность возрастает с увеличением отклонения от серого цвета.
3.6 светлота: Параметр, представляющий взаимосвязь между цветом и серой шкалой, от белого до черного цвета.
3.7 координаты цвета в системе CIE (1976 L*a*b*, CIELAB): Значения, рассчитанные на основании спектральной кривой коэффициентов отражения.
Примечание - Коэффициенты отражения измеряют в соответствии с Публикацией CIE N 15.2.
3.8
цветовое различие CMC
: Система уравнений со значениями CIELAB

, получаемыми при сравнении испытуемого образца с образцом-эталоном, для определения длины полуоси эллипсоида, содержащего все визуально воспринимаемые цвета при сравнении с образцом-эталоном.
3.9
коммерческий фактор cf: Допуск, согласованный между всеми сторонами, или обычно применяемый в промышленности по производству керамических плиток для определения приемлемости цветовых различий

.
Примечание - Для глазурованных керамических плиток обычно применяют значение cf, равное 0,75.
3.10 трещины глазури: Трещины в виде тонких волосяных линий, ограничивающихся глазурованной поверхностью керамической плитки.
4.1 Испытания проводят в помещении с температурой воздуха (20 +/- 5) °C и влажностью от 30% до 70%.
4.2 Для проведения испытаний следует использовать водопроводную воду.
4.3 Отбор образцов проводят согласно таблице 1.
Таблица 1
Число изделий, отбираемых для испытаний
Характеристика | Объем выборки | Оценка по качественному признаку | Метод испытания по настоящему стандарту |
первая | вторая | Первая выборка | Первая и вторая выборки |
Приемочное число Ac1 | Браковочное число Re1 | Приемочное число Ac2 | Браковочное число Re2 |
Керамические плитки |
Размеры, правильность форм <1> | 10 | 10 | 0 | 2 | 1 | 2 | |
| 30 | 30 | 1 | 3 | 3 | 4 | |
40 | 40 | 1 | 4 | 4 | 5 |
50 | 50 | 2 | 5 | 5 | 6 |
60 | 60 | 2 | 5 | 6 | 7 |
70 | 70 | 2 | 6 | 7 | 8 |
80 | 80 | 3 | 7 | 8 | 9 |
90 | 90 | 4 | 8 | 9 | 10 |
100 | 100 | 4 | 9 | 10 | 11 |
1 м2 | 1 м2 | 4% | 9% | 5% | > 5% |
| 3 | 3 | 0 | 2 | 1 | 2 | |
5 | 5 | 0 | 2 | 1 | 2 |
10 | 10 | 0 | 2 | 1 | 2 |
Предел прочности при изгибе <4> | 3 | 3 | | | |
7 | 7 |
| 3 | 3 | | | |
7 | 7 |
Износостойкость неглазурованной плитки | 5 | 5 | 0 | | | | |
Устойчивость к растрескиванию глазури | 5 | 5 | 0 | 2 | 1 | 2 | |
| 5 | 5 | 0 | 2 | 1 | 2 | |
Устойчивость к образованию пятен <7> | 5 | 5 | 0 | 2 | 1 | 2 | |
| | - | 0 | 1 | - | - | |
Термическая стойкость плитки | 5 | 5 | 0 | 2 | 1 | 2 | |
Термическая стойкость глазури | 5 | 5 | 0 | 2 | 1 | 2 | |
Износостойкость глазурованной плитки <8> | | - | - | - | |
Сопротивление скольжению | | - | - | - | |
Цветовые отклонения | 5 | - | - | - | |
Ударная прочность | 5 | - | - | - | |
Выделение свинца и кадмия | 5 | - | - | - | |
Ковры из керамической плитки |
Размеры, косоугольность, ширина шва | 5 | - | - | - | |
Плотность укладки плиток "брекчия" в коврах | 5 | - | - | - | |
Прочность наклейки плиток на основу | 5 | - | - | - | |
| | ИС МЕГАНОРМ: примечание. В официальном тексте документа, видимо, допущена опечатка: раздел 6.7 отсутствует. | |
|
<1> Только для плиток с поверхностью 0,0004 м 2 и более. <2> Не менее 1 м 2, но не менее чем 30 плиток. Независимо от числа плиток в 1 м 2 число изделий в выборке округляют до следующего десятка плиток и плит. <3> Объем выборки определяется размерами плиток; см. таблицу 2. <4> Объем выборки определяется размерами плиток; см. таблицу 5. <5> Правила учета результатов для данных характеристик приведены в разделе 6.7. <7> Для каждого испытательного раствора. <8> Для данных характеристик не применяют вторую выборку. <9> Только для плиток с лицевой поверхностью 0,04 м 2 и более. <10> Для плиток с площадью менее 0,16 м 2 для контроля результатов испытаний дополнительно берут еще восемь плиток. <11> Объем выборки зависит от метода испытаний. |
4.4 Для проведения приемо-сдаточных и периодических испытаний выборку образцов осуществляют методом случайного отбора единиц продукции из разных мест партии.
4.5 Приемо-сдаточные испытания плиток проводят по двухступенчатому плану контроля, при этом объем выборки, приемочные и браковочные числа должны соответствовать указанным в
таблице 1.
Партию принимают, если число дефектных плиток в выборке для первой ступени менее или равно приемочному числу Ac1 для первой ступени контроля.
Партию не принимают, если число дефектных плиток более или равно браковочному числу Re1 для первой ступени контроля.
Если число дефектных плиток в выборке для первой ступени контроля более приемочного числа Ac1, но менее браковочного числа Re1, переходят к контролю на второй ступени, для чего отбирают выборку такого же объема, как на первой ступени контроля.
Партию плиток принимают, если общее число дефектных плиток в выборках первой и второй ступеней менее или равно приемочному числу Ac2. Партию не принимают, если общее число дефектных плиток в выборках первой и второй ступеней равно или более браковочного числа Re2 для второй ступени контроля.
5 Определение размеров, правильности форм и качества поверхности
5.1 Область применения
Настоящий раздел устанавливает методы определения формы и размеров плиток и ковров (длины, ширины, толщины, прямолинейности граней, косоугольности, кривизны лицевой поверхности плитки), глубины (высоты) рифлений, а также качества поверхности керамических плиток и ковров.
Для керамических плиток площадью менее 4 см2 определение длины, ширины, прямолинейности граней, косоугольности, кривизны лицевой поверхности плитки не проводят.
При измерении длины, ширины, прямолинейности граней, косоугольности не учитывают имеющиеся выступающие кромки, капли глазури и другие неровности, которые после заделки швов уложенных керамических плиток остаются невидимыми.
5.2 Измерение длины и ширины плитки, ширины шва в ковре
5.2.1 Измерительные устройства
5.2.2 Измеряемые образцы
Для измерения используют 10 целых керамических плиток; пять ковров.
5.2.3 Проведение измерения
Длину и ширину квадратной (прямоугольной) плитки измеряют штангенциркулем (или другим аналогичным средством измерения) с точностью до 0,1 мм вдоль соответствующей грани плитки со стороны лицевой поверхности в местах, удаленных на расстояние не более 5 мм от углов.
Измерение длины и ширины многогранных и фигурных плиток проводят по нормативным документам и технической документации на конкретные изделия.
Длину и ширину ковра измеряют с точностью до 1,0 мм вдоль соответствующей стороны ковра на расстоянии 50 - 60 мм от углов и посередине ковра; место измерения может быть смещено от середины соответствующей стороны ковра не более чем на 30 мм.
Ширину шва в ковре измеряют с точностью до 1,0 мм в пяти произвольно выбранных местах.
5.2.4 Обработка результатов
5.2.4.1 Средней длиной стороны квадратной керамической плитки является среднеарифметическое значение результатов четырех измерений. Средней длиной стороны образцов керамических плиток является среднеарифметическое значение результатов 40 измерений.
Соответствующую среднюю длину или ширину прямоугольной керамической плитки определяют по каждой паре параллельных граней и считают равной среднеарифметическому значению результатов двух измерений. Средней длиной и шириной образцов является среднеарифметическое значение результатов 20 измерений.
5.2.4.2 Результатом определений являются установленное отклонение средней длины стороны каждой керамической плитки от рабочего размера (две или четыре стороны) и, дополнительно, отклонение средней длины стороны каждой керамической плитки пластического формования (две или четыре стороны) от средней длины стороны 10 образцов (20 или 40 сторон), выраженные в процентах.
5.2.4.3 За длину и ширину ковра принимают среднеарифметическое результатов трех измерений, при этом результат каждого измерения должен соответствовать требованиям, установленным нормативными документами и технической документацией на конкретное изделие.
5.2.4.4 Плотность укладки плиток "брекчия" в коврах измеряют как отношение суммы длины или суммы ширины плиток, располагающихся по линии, параллельной продольной или поперечной стороне ковра, к длине или ширине ковра.
5.3 Измерение толщины плитки и величины рифления (глубины пазов или высоты рифления)
5.3.1 Измерительный прибор
Штангенциркуль или другой измерительный прибор, метрологические характеристики которого позволяют определять толщину и высоту (глубину) рифлений с требуемой точностью.
5.3.2 Измеряемые образцы
Для измерения используют 10 целых керамических плиток.
5.3.3 Проведение измерений
Толщину плитки измеряют посередине каждой стороны плитки на расстоянии не более 15 мм от граней. Место измерения может быть смещено от середины стороны плитки не более чем на 30 мм. В толщину плитки следует включать величину рельефа лицевой поверхности и рифления на монтажной поверхности.
Измерение рифления на монтажной поверхности плитки проводят штангенциркулем с глубиномером в пяти произвольно выбранных точках с точностью до 0,1 мм.
Толщину керамической плитки измеряют в четырех местах с точностью до 0,1 мм.
5.3.4 Обработка результатов
Для всех керамических плиток средней толщиной каждой отдельной керамической плитки является среднеарифметическое значение результатов четырех измерений. Средней толщиной образцов является среднеарифметическое значение результатов 40 измерений.
Результатом определения является отклонение средней толщины каждой керамической плитки от рабочего размера в процентах или миллиметрах.
5.4 Измерение прямолинейности граней
5.4.1 Сущность метода
Прямолинейность граней - отклонение от прямой в плоскости керамической плитки в середине ее грани.
Измерение отклонения грани от прямой в плоскости керамической плитки проводят только по прямым граням плиток в соответствии с
рисунком 1, при этом показатель, характеризующий прямолинейность граней, %, вычисляют по формуле

(1)
где c - отклонение от прямолинейности в середине измеренной грани, мм;
L - длина измеренной грани, мм.
Рисунок 1 - Прямолинейность граней
5.4.2 Оборудование
5.4.2.1 Устройство измерительное в соответствии с
рисунком 2 или другие аналогичные средства измерения.
SA, SB, SC - установочные штифты; IA, IB, IC - юстировочные
штифты; DA, DB, DC, DD, DE, DF - индикаторы перемещения
для измерения отклонений: DA, DB - косоугольности,
DC - коробления лицевой плоскости,
DD - выпуклости/вогнутости лицевой грани по центру,
DE - выпуклости/вогнутости граней,
DF - прямолинейности граней; 1 - керамическая плитка
Рисунок 2 - Схема прибора для измерения отклонения
от прямолинейности граней, косоугольности
и кривизны поверхности
Для измерения прямолинейности граней используют индикаторы перемещения часового типа или другие аналогичные средства измерения.
Допускается прямолинейность граней плитки измерять с помощью измерительных щупов, используя в качестве прямолинейной базы ребро поверочной линейки по
ГОСТ 8026 или рабочую плоскость строительного уровня по
ГОСТ 9416, длина которой должна быть не менее длины диагонали измеряемой плитки.
5.4.2.2 Плита калибровочная с точными размерами и прямыми ровными сторонами, метрологические характеристики которой позволяют провести измерения (прямыми измерениями или с помощью выбранного метода) с неопределенностью (погрешностью) результатов измерений 0,1 мм.
5.4.3 Измеряемые образцы
Для измерения используют 10 целых керамических плиток.
5.4.4 Проведение измерения
Измерительное устройство
(5.4.2.1) с необходимыми размерами используют таким образом, чтобы при укладке керамической плитки на установочные штифты
SA, SB, SC измерительного прибора юстировочные штифты
IA, IB, IC находились на расстоянии 5 мм от каждого угла измеряемой грани (см.
рисунок 2).
Калибровочную плиту
(5.4.2.2) точно располагают в измерительном устройстве, а показания индикатора перемещения устанавливают на начало отсчета.
После удаления калибровочной плиты керамическую плитку лицевой поверхностью укладывают на установочные штифты измерительного прибора и в середине грани снимают показания индикатора перемещения. Квадратную керамическую плитку поворачивают таким образом, чтобы получить четыре измерения. Данный процесс повторяют с каждой измеряемой керамической плиткой. Для измерения прямоугольных керамических плиток применяют либо то же самое устройство, либо отдельные измерительные устройства соответствующих размеров. Измерения проводят с точностью до 0,1 мм.
При использовании поверочной линейки (строительного уровня) и измерительных щупов измерения проводят следующим образом.
Если грань вогнутая, прикладывают линейку (строительный уровень) к грани плитки и щупом измеряют максимальный зазор между плиткой и линейкой.
Если грань выпуклая, прикладывают линейку (строительный уровень) к грани плитки и подкладывают с одной стороны грани щуп толщиной, равной допустимой величине отклонения. Щуп прижимают к грани линейкой (строительным уровнем) и измеряют зазор между линейкой (строительным уровнем) и другой стороной грани. Величину отклонения о прямолинейности граней вычисляют как среднеарифметическое значение толщины щупа и измеренного значения зазора. Измерения проводят с точностью до 0,1 мм.
Результатом определения является максимальное отклонение от прямолинейности относительно рабочего размера, в процентах и миллиметрах.
5.5 Измерение косоугольности
5.5.1 Сущность метода
Косоугольность плитки - отклонение формы плитки от прямоугольной по сравнению с эталоном (калибровочной плитой).
Косоугольность ковра - разность длин диагоналей ковра.
Измерение косоугольности плитки проводят, совмещая угол керамической плитки с углом калибровочной плиты (см.
рисунок 3). Косоугольность, %, вычисляют по формуле

(2)
где

- расстояние между внешним углом и внутренней стороной калибровочной плиты, мм;
L - длина прилегающей грани, мм.
Рисунок 3 - Косоугольность
5.5.2 Оборудование
5.5.2.1 Устройство измерительное в соответствии с
рисунком 2 или другое аналогичное средство измерения.
Для измерения косоугольности используют индикатор перемещения DA.
Допускается для измерения косоугольности использовать измерительные щупы, а в качестве прямоугольной базы - угольник по
ГОСТ 3749 с длиной сторон не менее длины грани измеряемой плитки.
5.5.2.2 Плита калибровочная с точными размерами и прямыми ровными сторонами, метрологические характеристики которой позволяют провести измерения (прямыми измерениями или с помощью выбранного метода) с неопределенностью (погрешностью) результатов измерений 0,1 мм.
5.5.3 Измеряемые образцы
Для измерения используют 10 целых керамических плиток и пять ковров.
5.5.4 Проведение измерения
Измерительное устройство
(5.5.2.1) с необходимыми размерами используют таким образом, чтобы при укладке керамической плитки на установочные штифты
SA, SB, SC измерительного прибора юстировочные штифты
IA, IB, IC находились на расстоянии 5 мм от каждого угла измеряемой грани (см.
рисунок 2).
Калибровочную плиту
(5.5.2.2) точно располагают в измерительном устройстве, а показания индикатора перемещения устанавливают на начало отсчета.
После удаления калибровочной плиты керамическую плитку лицевой поверхностью укладывают на установочные штифты измерительного прибора и на удалении 5 мм от угла снимают показания индикатора. Квадратную керамическую плитку поворачивают таким образом, чтобы получить четыре измерения. Данные измерения проводят на всех испытуемых квадратных керамических плитках.
Для измерения косоугольности продольных и поперечных граней прямоугольных керамических плиток применяют либо то же самое устройство, либо отдельные измерительные устройства соответствующих размеров.
Измерения проводят с точностью до 0,1 мм.
Измерение косоугольности керамических плиток с помощью угольника и измерительных щупов проводят, в зависимости от типа угольника, следующим образом:
а) угольник последовательно прикладывают ко всем углам плитки так, чтобы одна его сторона плотно прилегала к грани плитки, и измеряют наибольший зазор между другой стороной угольника и гранью плитки с точностью до 0,1 мм;
б) угольник располагают в положении, удобном для работы, а плитку последовательно всеми углами располагают так, чтобы грань плитки плотно прилегала к одной стороне угольника, и измеряют наибольший зазор между другой стороной угольника и гранью плитки с точностью до 0,1 мм.
Результатом определения является максимальное отклонение от прямоугольности относительно рабочего размера, в процентах и миллиметрах.
Для определения косоугольности ковра используют рулетку по
ГОСТ 7502. Измеряют длину каждой его диагонали один раз с точностью до 1 мм. Косоугольность ковра вычисляют по разности длин измеренных диагоналей.
5.6 Измерение кривизны лицевой поверхности плиток (выпуклость/вогнутость и коробление)
5.6.1 Сущность метода
Кривизну лицевой поверхности определяют измерениями в трех точках поверхности плитки. Для плиток с рельефной лицевой поверхностью допускается проводить измерения со стороны монтажной поверхности.
К параметрам, характеризующим кривизну лицевой поверхности плиток, относят:
- выпуклость/вогнутость по центру - расстояние между центром керамической плитки и плоскостью, в которой находятся три из четырех углов (рисунок 4). Выпуклость/вогнутость по центру =

;
Рисунок 4 - Выпуклость/вогнутость по центру
- выпуклость/вогнутость граней - расстояние между серединой грани керамической плитки и плоскостью, в которой находятся три из четырех углов (рисунок 5). Выпуклость/вогнутость граней =

;
Рисунок 5 - Выпуклость/вогнутость граней
- коробление - расстояние между четвертым углом керамической плитки и плоскостью, в которой расположены все остальные углы (рисунок 6). Коробление =
.
Рисунок 6 - Коробление
5.6.2 Оборудование
5.6.2.1 Измерение керамических плиток размером более 40 x 40 мм
а) Измерительное устройство в соответствии с
рисунком 2 или другие аналогичные средства измерения.
Допускается кривизну лицевой поверхности плитки измерять с помощью измерительных щупов, используя в качестве прямолинейной базы ребро поверочной линейки по
ГОСТ 8026 или рабочую плоскость строительного уровня по
ГОСТ 9416, длина которых должна быть не менее длины диагонали измеряемой плитки. В качестве эталонной плоскости используют калибровочную плиту по
5.6.2.1 б).
Для измерения керамических плиток с гладкой лицевой поверхностью применяют установочные штифты SA, SB, SC диаметром 5 мм. Для получения правильных результатов на других поверхностях керамических плиток необходимо использовать соответствующие установочные штифты.
б) Плита калибровочная ровная из металла или стекла для измерительного прибора, указанного в
5.4.2.1, толщиной не менее 10 мм.
5.6.2.2 Измерение керамических плиток размером не более 40 x 40 мм
5.6.3 Измеряемые образцы
В обоих случаях для измерения используют 10 целых керамических плиток.
5.6.4 Проведение измерения
5.6.4.1 Керамические плитки размером более 40 x 40 мм
Используют измерительный прибор необходимого размера
(5.4.2.1) и соответствующую калибровочную плиту
(5.4.2.2), которую точно располагают на трех установочных штифтах
SA, SB, SC. Середина каждого установочного штифта должна находиться на расстоянии 10 мм от грани керамической плитки, а два внешних индикатора перемещения
DE, DC должны быть на расстоянии 10 мм от граней керамической плитки. Три индикатора перемещения
DD, DE, DC устанавливают на начало отсчета (см.
рисунок 2).
После удаления калибровочной плиты керамическую плитку с гладкой лицевой поверхностью устанавливают в измерительное устройство лицевой поверхностью вниз, с рельефной лицевой поверхностью - лицевой поверхностью вверх и снимают показания трех индикаторов. Квадратные керамические плитки поворачивают таким образом, чтобы по каждой характеристике получить четыре измерения. Данные измерения повторяют с каждой испытуемой керамической плиткой. Для измерения прямоугольных керамических плиток применяют либо то же самое устройство, либо отдельные измерительные устройства соответствующих размеров.
При использовании поверочной линейки (строительного уровня) и измерительных щупов измерения проводят следующим образом.
При контроле плитки с вогнутой лицевой поверхностью линейку (строительный уровень) прикладывают ребром к лицевой поверхности вдоль каждой грани и диагонали и измеряют наибольший зазор между лицевой поверхностью плитки и ребром линейки (строительного уровня).
При контроле плитки с выпуклой лицевой поверхностью линейку (строительный уровень) располагают вдоль каждой грани и диагонали, при этом ребро линейки (строительного уровня) одним концом должно опираться на щуп толщиной, равной допустимой величине искривления. На другом конце грани и диагонали измеряют зазор между ребром линейки (строительного уровня) и лицевой поверхностью плитки.
Для измерения коробления с помощью щупов и калибровочной плиты измерение проводят следующим образом. Плитку укладывают на калибровочную плиту размером не менее размера керамической плитки лицевой или монтажной стороной в зависимости от того, в какую сторону выгнут угол, таким образом, чтобы три из четырех углов измеряемой плитки плотно прижимались к калибровочной плите, и щупом измеряют зазор между плоскостью калибровочной плиты и четвертым углом плитки. Данную процедуру повторяют со всеми углами плитки.
По каждой керамической плитке устанавливают максимальную выпуклость/вогнутость по центру DD, выпуклость/вогнутость граней DE и коробление DC. Измерения проводят с точностью до 0,1 мм.
5.6.4.2 Керамические плитки размером не более 40 x 40 мм
Выпуклость/вогнутость граней, выпуклость/вогнутость по центру измеряют по граням (диагоналям) керамических плиток с помощью поверочной линейки
[5.6.2.2 а)] и измерительных щупов
[5.6.2.2 б)] аналогично процедуре по
5.6.4.1.
Коробление керамических плиток не измеряют.
5.6.5 Обработка результатов
За отклонение лицевой поверхности плитки от плоскостности при вогнутой лицевой поверхности принимают наибольшее из измеренных значений, при выпуклой лицевой поверхности - половину суммы наибольшего значения зазора и толщины щупа.
Выпуклость/вогнутость по центру указывают в миллиметрах и/или процентах относительно длины диагоналей.
Выпуклость/вогнутость граней указывают в процентах и/или миллиметрах:
- относительно длины и ширины граней для прямоугольных керамических плиток;
- относительно длины грани для квадратных керамических плиток.
Коробление указывают в процентах и/или миллиметрах относительно длины диагоналей. Измеряемые значения для керамических плиток с выступающими кромками указывают в миллиметрах.
Результатом измерений являются:
- максимальная выпуклость/вогнутость по центру относительно рассчитанной по рабочему размеру диагонали в процентах и/или миллиметрах;
- максимальная выпуклость/вогнутость граней относительно соответствующего рабочего размера в процентах и/или миллиметрах;
- максимальное коробление относительно рассчитанной по рабочему размеру диагонали в процентах и/или миллиметрах.
5.7 Качество лицевой поверхности
5.7.1 Для отличия специально создаваемых эффектов на поверхности от дефектов необходимо руководствоваться соответствующими стандартами на изделия. Трещины черепка, цек, отбитые грани и углы не могут быть отнесены к специально создаваемым эффектам.
Примечание - Термины дефектов лицевой поверхности керамических плиток приведены в
ГОСТ 13996.
5.7.2 Приборы
5.7.2.1 Лампа флуоресцентная с диапазоном цветовой температуры от 6000 до 6500 К.
5.7.2.2 Линейка 1-метровая или другое соответствующее устройство для измерения расстояния.
5.7.2.3 Прибор измерения освещения.
5.7.3 Испытуемые образцы
Испытанию подвергают не менее 1 м2 поверхности, но не менее 30 керамических плиток.
5.7.4 Проведение испытания
Керамические плитки контролируют визуально, располагая их лицевыми поверхностями перпендикулярно к направлению взгляда (плитки для полов - под углом 45°) на расстоянии 1 м от глаза наблюдателя. Керамические плитки равномерно освещают светом с освещенностью не менее 300 лк. Освещенность измеряют в центре и в каждом углу испытуемой поверхности. Визуальный контроль керамических плиток осуществляют невооруженным глазом или в очках.
Для контроля цвета, рисунка и рельефа поверхности плитки укладывают вперемешку с образцами-эталонами. Осмотр проводят с расстояния 1 м.
Наличие цека определяют визуально. При возникновении разногласий на глазурованную поверхность плитки наносят органический краситель, протирают мягкой тканью и проводят осмотр.
Цек и трещины не допускаются.
Специально создаваемые эффекты на поверхности не должны рассматриваться как дефекты.
5.7.5 Обработка результатов
Качество лицевой поверхности выражают долей керамических плиток без дефектов в процентах.
6 Определение водопоглощения
6.1 Область применения
Настоящий раздел устанавливает методы испытаний керамических плиток по определению водопоглощения.
Для насыщения образцов водой применяют два метода: кипячение и водонасыщение в вакууме. Метод кипячения применяют для определения показателя водопоглощения, используемого для классификации керамических плиток, а также для спецификации изделий. Водонасыщение в вакууме применяют в качестве экспресс-метода определения водопоглощения.
В случае арбитражных споров насыщение водой следует проводить методом кипячения.
6.2 Сущность методов
Сухие керамические плитки взвешивают, а затем насыщают водой одним из указанных методов. Образцы, насыщенные водой, взвешивают. Водопоглощение вычисляют исходя из результатов взвешивания керамических плиток в сухом и насыщенном водой состоянии.
6.3 Приборы и оборудование
6.3.1 Шкаф сушильный, позволяющий автоматически поддерживать температуру в сушильной камере (110 +/- 5) °C.
Допускается применение микроволновых, инфракрасных или других сушильных систем при условии получения воспроизводимых результатов.
6.3.2 Весы, обеспечивающие точность измерения до 0,01%, по
ГОСТ 24104.
6.3.3 Кассеты для установки образцов в вертикальном положении таким образом, чтобы они не соприкасались друг с другом при опускании в воду и при установке в сушильный шкаф.
6.3.4 Ткань мягкая или губка.
6.3.5 Эксикатор или другое аналогичное устройство, обеспечивающее необходимые условия.
6.3.6 Емкость для кипячения, в которой осуществляется насыщение водой при кипячении.
6.3.7 Источник тепла.
6.3.8 Камера вакуумная и вакуум-система соответствующих размеров для размещения необходимого числа испытуемых образцов, а также создания и поддержания вакуума (10 +/- 1) кПа в течение 30 мин.
6.4 Испытуемые образцы
6.4.1 Число плиток, необходимых для испытания, принимают согласно
таблице 1. Испытания проводят на целых плитках или на частях одной плитки любой формы массой не менее 50 г, считающихся одним образцом, при этом число частей плитки должно быть не менее трех.
6.4.2 Если масса керамической плитки менее 50 г, то за испытуемый образец принимают группу плиток общей массой от 50 до 100 г.
6.4.3 Рекомендуемые схемы выборки образцов, число образцов для определения водопоглощения, полученных из целых плиток, приведены на
рисунках 7 -
12 и в
таблице 2. Допускаются другие схемы выборки, соответствующие
6.4.1.
a, b - длина и ширина плитки;
x - размер выпиливаемого образца
Рисунок 7 - Схема выборки образцов из плитки
с площадью лицевой поверхности не более 400 см2
a = 20 - 40 см; b = 20 - 40 см; x = 20 см
Рисунок 8 - Схема выборки образцов из плитки
с площадью лицевой поверхности 400 - 1600 см2
a < 100 см; b <= 20 см; x = 20 см
Рисунок 9 - Схема выборки образцов из прямоугольной плитки
с площадью лицевой поверхности 400 - 3600 см2
a >= 100 см; b <= 20 см; x = 20 см
Рисунок 10 - Схема выборки образцов из прямоугольной плитки
с площадью лицевой поверхности >= 400 см2
a >= 40 см; b >= 40 см; x = 20 см
Рисунок 11 - Схема выборки образцов из плитки
с площадью лицевой поверхности более 1600 см2
a >= 40 см; 20 <= b <= 40 см; x = 20 см
Рисунок 12 - Схема выборки образцов из плитки
с площадью лицевой поверхности более 1600 см2
Таблица 2
Число образцов для определения водопоглощения
Площадь плитки S, см2 | Обозначение рисунка | Число плиток | Число образцов из одной плитки | Общее число образцов |
S <= 400 | | 10 | 1 | 10 |
400 < S <= 1600 (a и b > 20 см) | | 5 | 1 | 5 |
400 < S <= 3600 (а < 100 см, b <= 20 см) | | 5 | 1 | 5 |
400 < S <= 3600 (a >= 100 см, b <= 20 см) | | 5 | 2 | 10 |
S > 3600 (a >= 100 см, b <= 20 см) | | 3 | 2 | 6 |
S > 1600 (a >= 40 см, b >= 40 см) | | 3 | 4 | 12 |
S > 1600 (a >= 40 см, 20 <= b <= 40 см) | | 3 | 4 | 12 |
6.5 Порядок проведения испытаний
В сушильном шкафу или другом аналогичном устройстве
(6.3.1) испытуемые образцы просушивают при температуре (110 +/- 5) °C до постоянной массы.
Массу считают постоянной, если расхождение между результатами двух последовательных взвешиваний не превышает 0,1% результата предпоследнего взвешивания.
Время сушки между двумя последовательными взвешиваниями должно быть не менее 20 мин.
Затем в эксикаторе
(6.3.5) образцам дают остыть до комнатной температуры, применяя в качестве осушителя силикагель или другой соответствующий агент, но не кислоту.
Каждый образец взвешивают с точностью, указанной в
таблице 3, результаты регистрируют.
В случае отбора образцов непосредственно с производственной линии (если при этом их не подвергают выпиливанию) допустимо проведение испытаний без предварительной сушки.
6.5.1 Насыщение водой
6.5.1.1 Метод кипячения
Образцы устанавливают вертикально в воде, налитой в емкость для кипячения
(6.3.6), таким образом, чтобы они не соприкасались друг с другом и чтобы над плитками и под ними находился слой воды около 5 см. Слой воды около 5 см поддерживают над образцами в течение всего процесса испытаний. Воду доводят до кипения и выдерживают образцы в кипящей воде в течение 1 ч. Затем нагрев прекращают. Полностью погруженные в воду образцы в течение 4 ч +/- 15 мин охлаждают до комнатной температуры. Для охлаждения образцов допускается использовать воду комнатной температуры или охлаждающий змеевик. Допускается охлаждать образцы под проточной водой температурой 15 °C - 20 °C не менее 40 мин. Мягкую ткань смачивают и вручную отжимают, укладывают на ровную поверхность и подсушивают ею поверхность образцов. Профильные поверхности тампонируют мягкой тканью.
Сразу после такой обработки каждый образец взвешивают аналогично определению массы в сухом состоянии с точностью, указанной в таблице 3.
Таблица 3
Точность взвешивания керамических плиток или плит
Масса керамической плитки или плиты, г | Точность взвешивания, г |
От 50 до 100 включ. | 0,02 |
Св. 100 до 500 включ. | 0,05 |
Св. 500 до 1000 включ. | 0,25 |
Св. 1000 до 3000 включ. | 0,50 |
Св. 3000 | 1,00 |
6.5.1.2 Вакуумный метод
Образцы размещают в вакуумной камере, исключая соприкосновение их друг с другом. Затем давление в камере понижают, создавая разряжение (10 +/- 1) кПа, которое поддерживают в течение 30 мин. После этого, при созданном разряжении, вакуумную камеру начинают заполнять водой до момента, пока образцы не покроются слоем воды не менее 5 см. Затем камеру сообщают с атмосферой, а образцы в течение последующих 15 мин выдерживают под водой. Мягкую ткань смачивают водой и вручную отжимают. Затем мягкую ткань укладывают на ровную поверхность и подсушивают ею каждую поверхность керамической плитки. Профильные поверхности тампонируют мягкой тканью.
Сразу после такой обработки каждый образец взвешивают аналогично определению массы в сухом состоянии с точностью, указанной в
таблице 3.
6.6 Обработка результатов
В приведенных расчетах масса 1 см3 воды принята равной 1 г. Настоящая методика проведения испытаний обеспечивает получение результатов с точностью до 0,3% (при комнатной температуре).
Водопоглощение керамической плитки E(b,v), %, относительно массы в сухом состоянии вычисляют по формуле

(3)
где m1 - масса сухого образца, г;
m2v - масса образца, насыщенного водой вакуумным методом, г;
m2b - масса образца, насыщенного водой методом кипячения, г.
За водопоглощение плиток данной партии принимают среднеарифметическое значение результатов испытаний всех образцов.
7 Определение предела прочности при изгибе и разрушающей нагрузке
7.1 Область применения
В настоящем разделе установлен метод определения предела прочности при изгибе и разрушающей нагрузке для керамических плиток.
7.2 Сущность метода
Определение разрушающего усилия, разрушающей нагрузки и предела прочности при изгибе керамической плитки посредством приложения с определенной скоростью усилия на середину плитки, при этом точка приложения усилия должна находиться в контакте с лицевой поверхностью керамической плитки.
7.3 Приборы
7.3.1 Шкаф сушильный, способный поддерживать температуру (110 +/- 5) °C.
Допускается применение микроволновых, инфракрасных или других сушильных систем с условием получения одинаковых результатов.
7.3.2 Устройство измерения усилия сжатия с погрешностью не более 2%.
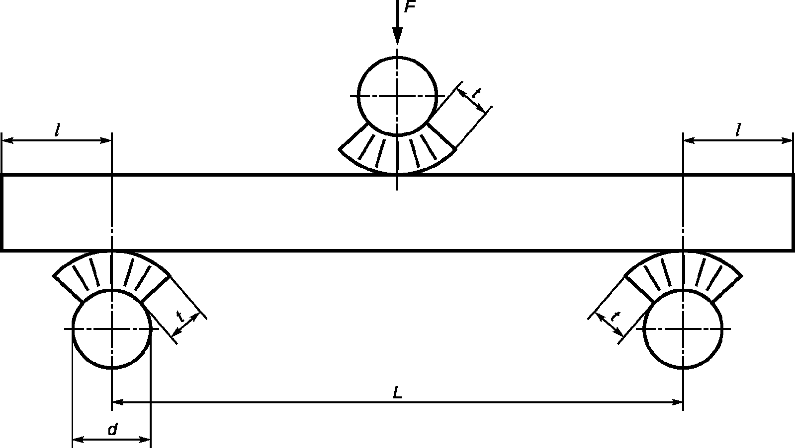
7.3.3 Два цилиндрических опорных стержня (опоры) из металла, которые в области контакта опоры с образцом покрыты резиной с твердостью (50 +/- 5) IRHD
<*> по
ГОСТ 20403. Один стержень должен быть слегка качающимся, а второй - поворачивающимся вокруг собственной оси (см.
рисунок 13). Соответствующие размеры приведены в
таблице 4.
--------------------------------
<*> IRHD - International rubber hardness degree - степень твердости резины по международной шкале.
Рисунок 13 - Общая схема позиционирования плитки
для определения разрушающего усилия при изгибе
Таблица 4
Диаметр опорных стержней, толщина резины и расстояние
от опорного стержня до края плитки (см.
рисунок 14)
Размер плитки L, мм | Диаметр опорных стержней d, мм | Толщина резины t, мм | Расстояние от опорного стержня до края плитки l, мм |
L >= 95 | (5 - 20) +/- 1 | 5 +/- 1 | 10 |
48 <= L < 95 | 2,5 +/- 0,5 | 5 |
18 <= L < 48 | 1 +/- 0,2 | 2 |
Рисунок 14 - Схема позиционирования плитки
для определения разрушающего усилия при изгибе
с указанием усилий и размеров (вид сбоку)
7.3.4 Стержень цилиндрический, передающий усилие
F, имеющий такой же диаметр и покрытый такой же резиной, как и цилиндрические опоры. Цилиндрический стержень должен быть также слегка качающимся (см.
рисунок 14). Соответствующие размеры приведены в
таблице 4.
7.4 Испытуемые образцы
Испытуемые образцы отбирают из испытуемой партии методом случайной выборки. По возможности испытанию подвергают целые плитки. Плитки непрямоугольной формы нарезают, чтобы их можно было разместить в испытательное устройство. В этом случае вырезают прямоугольные испытуемые образцы максимально большого размера, при этом их центры должны соответствовать центрам плиток. В случае разногласий определяющими являются результаты испытаний целых плиток.
Схемы выборки образцов из целой плитки для испытания на изгиб в зависимости от размеров плитки приведены на
рисунках 15 и
16. Вырезают образцы прямоугольной формы; размеры (
x,
y) вырезаемых образцов принимают, исходя из технических характеристик испытательного устройства. Минимальное число образцов для испытания приведено в
таблице 5.
a, b - длина и ширина плитки;
x, y - длина и ширина вырезаемого образца
Рисунок 15 - Схема выборки образцов для испытания на изгиб
из целой плитки с площадью поверхности от 400 до 3600 см2
a, b - длина и ширина плитки;
x, y - длина и ширина вырезаемого образца
Рисунок 16 - Схема выборки образцов для испытания на изгиб
из целой плитки с площадью поверхности более 3600 см2
Таблица 5
Минимальное число испытуемых образцов
Площадь плитки S, см2 | Число целых плиток | Число образцов, вырезанных из одной плитки | Общее число образцов для испытаний |
Для плиток с рабочей толщиной, равной или более 7,5 мм |
S <= 400 | 7 | 1 | 7 |
400 < S <= 3600 | 7 | 1 | 7 |
S > 3600 | 3 | 1 | 3 |
Для плиток с рабочей толщиной менее 7,5 мм |
S <= 400 | 7 | 1 | 7 |
400 < S <= 3600 | 7 | 1 | 7 |
S > 3600 | 3 | 3 | 9 |
7.5 Порядок проведения испытаний
7.5.1 Испытуемые образцы очищают с обратной стороны жесткой щеткой от прилипших частиц. Каждый образец просушивают в сушильном шкафу при температуре (110 +/- 5) °C до постоянной массы. Массу считают постоянной, если расхождение между результатами двух последовательных взвешиваний не превышает 0,1% результата предпоследнего взвешивания. Время сушки между двумя последовательными взвешиваниями должно быть не менее 20 мин.
Охлаждение испытуемых образцов до комнатной температуры допускается проводить в закрытом сушильном шкафу или в эксикаторе с применением силикагеля или другого подходящего вещества, ускоряющего сушку, за исключением кислоты.
Испытание образцов следует проводить не позднее чем через 3 ч после их охлаждения до комнатной температуры.
7.5.2 Испытуемый образец укладывают на опорные стержни глазурованной или лицевой поверхностью вверх таким образом, чтобы он выходил за каждую опору на длину, соответствующую указанной в
таблице 4 (см.
рисунок 14).
7.5.3 При испытании плиток с одинаковым исполнением лицевой и изнаночной сторон, например неглазурованных керамических мозаичных плиток, не имеет значения, какая сторона находится вверху. Экструзионные плитки укладывают таким образом, чтобы выступающие ребра находились под прямым углом к опорам.
Все другие прямоугольные плитки располагают продольной гранью под прямым углом к опорам.
7.5.4 При испытании плиток с рельефной поверхностью между цилиндрическим стержнем и рельефной поверхностью укладывают второй слой резины соответствующей толщины.
7.5.5 Цилиндрический стержень, передающий усилие, должен находиться на одинаковом расстоянии от опор. Скорость приложения усилия должна быть равномерной и составлять (1,0 +/- 0,2) Н/(мм
2·с). Для вычисления фактического увеличения усилия в секунду используют
формулу (5). Разрушающее усилие
F регистрируют.
7.6 Обработка результатов
Для расчета среднего значения разрушающей нагрузки и среднего предела прочности при изгибе допускается использовать результаты испытания только тех образцов, которые были разрушены в центральной продольной зоне, соответствующей 1/3 расстояния между опорами. Для расчета среднего значения требуется не менее пяти учитываемых результатов для плиток площадью не более 3600 см2, не менее семи учитываемых результатов для плиток площадью более 3600 см2 с рабочей толщиной менее 7,5 мм и три учитываемых результата для плиток площадью более 3600 см2 толщиной не менее 7,5 мм.
При несоблюдении требований, касающихся необходимого числа учитываемых результатов, проводят испытания второй выборки с удвоенным числом плиток. В этом случае для расчета среднего значения требуется:
- не менее 10 учитываемых результатов для плиток площадью не более 3600 см2;
- не менее 14 учитываемых результатов для плиток площадью более 3600 см2 с рабочей толщиной менее 7,5 мм;
- не менее пяти учитываемых результатов для плиток площадью более 3600 см2 с рабочей толщиной не менее 7,5 мм.
Разрушающую нагрузку S, Н, вычисляют по формуле

(4)
где F - разрушающее усилие, Н;
L - расстояние между опорными стержнями (см.
рисунок 14), мм;
b - ширина испытуемых образцов, мм.
Предел прочности при изгибе R, МПа (Н/мм2), вычисляют по формуле

(5)
где F - разрушающее усилие, Н;
L - расстояние между опорными стержнями (см.
рисунок 14), мм;
b - ширина испытуемых образцов, мм;
h - наименьшая толщина испытуемых образцов вдоль линии разрушения, мм.
Все результаты записывают.
Среднее значение разрушающей нагрузки и среднее значение предела прочности при изгибе образцов рассчитывают по полученным результатам.
8 Определение износостойкости неглазурованных плиток
8.1 Область применения
Настоящий раздел устанавливает методы испытаний по определению износостойкости неглазурованных плиток, применяемых в качестве напольных покрытий.
8.2 Метод истирания поверхности
8.2.1 Сущность метода
Определение износостойкости неглазурованных керамических плиток путем измерения потери массы от шлифовки лицевой поверхности вращающимся диском при установленных условиях с применением абразивного материала.
8.2.2 Приборы и оборудование
8.2.2.1 Шкаф сушильный, позволяющий автоматически поддерживать температуру (110 +/- 5) °C.
8.2.2.2 Весы технические, обеспечивающие точность измерения не менее 0,1%.
8.2.2.4 Шлифзерно 16 по
ГОСТ 3647 с насыпной плотностью (1,72 +/- 0,05) г/см
3 марок 24А, 25А (электрокорунд белый).
8.2.2.5 Круг истирания типа ЛКИ-3 или установка для определения износостойкости неглазурованных плиток, схема которой приведена на
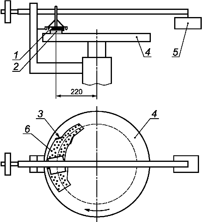
рисунке 17. Установка состоит из горизонтального шлифовального металлического диска, укрепленного на вертикальном приводном валу, держателя испытуемого образца и нагрузочного устройства, обеспечивающего равномерное давление на образец, равное 0,06 МПа. Держателем образца является квадратная, открытая с одной стороны рамка, нижняя грань которой находится на (3 +/- 1) мм выше металлического диска. За держателем образца расположены два резиновых скребка, которые направляют абразивный материал так, чтобы он попал на центр набегающей грани образца. Скорость вращения диска на среднем радиусе должна составлять (30 +/- 1) м/мин.
1 - держатель; 2 - образец материала; 3 - резиновый
скребок; 4 - шлифовальный диск; 5 - нагрузочное
устройство; 6 - частицы абразива
Рисунок 17 - Схема установки для испытаний
на износостойкость неглазурованных плиток
8.2.3 Подготовка образцов
Для испытания используют пять плиток.
Из каждой плитки, отобранной для контроля, выпиливают по одному квадратному образцу с размерами сторон (70 +/- 1) мм или (50 +/- 1) мм. Если плитка имеет указанные размеры, то ее испытывают целиком.
Испытуемые образцы очищают с обратной стороны жесткой щеткой от прилипших частиц. Каждый образец просушивают в сушильном шкафу при температуре (110 +/- 5) °C до постоянной массы. Массу считают постоянной, если расхождение между результатами двух последовательных взвешиваний не превышает 0,1% результата предпоследнего взвешивания. Время сушки между двумя последовательными взвешиваниями должно быть не менее 20 мин.
Охлаждение испытуемых образцов до комнатной температуры проводят в закрытом сушильном шкафу или в эксикаторе с применением силикагеля или другого подходящего вещества, ускоряющего сушку, за исключением кислоты.
Образцы взвешивают, измеряют их длину и ширину и вычисляют площадь. Результат вычислений округляют до 0,1 см2.
8.2.4 Порядок проведения испытаний
Образец(ы) помещают в держатель лицевой поверхностью к шлифовальному диску и нагружают его(их) так, чтобы было обеспечено давление 0,06 МПа.
На шлифовальную дорожку равномерно насыпают слой абразивного материала в количестве 0,4 г на 1 см2 поверхности образца и включают привод шлифовального диска. После 30 м пути шлифовальный диск останавливают, образец извлекают, тщательно очищают и взвешивают. Шлифовальный диск очищают от отработанного абразивного материала.
Затем испытуемый образец поворачивают на 90° и продолжают испытания с новой порцией абразивного материала. Этот процесс повторяют на одном образце четыре раза, каждый раз поворачивая его на 90° в одном направлении.
Если расхождение между наименьшей и наибольшей потерями массы после отдельных циклов составляет менее 3% общей потери массы после четырех циклов, испытания считают завершенными.
Если это расхождение больше, то испытание продолжают тем же способом и проводят 12 циклов шлифования.
8.2.5 Обработка результатов
Износостойкость Q, г/см3, вычисляют по формулам

(6)

(7)
где m4 - суммарная потеря массы после четырех циклов, г;
m12 - суммарная потеря массы после 12 циклов, г;
S - площадь образца, см2;
3 - коэффициент приведения к 12 циклам испытания.
Результаты вычисления округляют до 0,01 г/см2.
За износостойкость плиток данной партии принимают среднеарифметическое значение результатов испытаний всех образцов.
8.3 Стойкость к глубокому истиранию
8.3.1 Сущность метода
Определение износостойкости неглазурованных керамических плиток путем установления объема следа от шлифовального круга, который он оставляет, вращаясь на лицевой поверхности плиток при установленных условиях с применением абразивного материала.
8.3.2 Приборы и материалы
8.3.2.1 Устройство (см.
рисунок 18), состоящее из вращающегося диска, емкости для абразивного материала с регулируемым выпуском, держателя образца и гири.
1 - керамическая плитка; 2 - абразивный материал;
3 - стальной диск
Рисунок 18 - Схема прибора для испытания
на стойкость к глубокому истиранию
Диск диаметром (200,0 +/- 0,2) мм и толщиной (10,0 +/- 0,1) мм по внешней кромке. Скорость вращения 75 об/мин.
Давление регулируют таким образом, чтобы через 150 оборотов на пластине из прозрачного кварцевого стекла с корундом (8.3.2.3) был получен след (24,0 +/- 0,5) мм. При износе диска на 0,5% первоначального диаметра его заменяют.
8.3.2.3 Корунд: шлифзерно 16 по
ГОСТ 3647 с насыпной плотностью (1,72 +/- 0,05) г/см
3 марок 24А, 25А (электрокорунд белый).
8.3.3 Подготовка образцов
Испытания проводят на целых керамических плитках или образцах необходимых размеров. Перед испытаниями небольшие испытуемые образцы приклеивают к основанию большего размера, избегая образования швов.
Для испытаний применяют чистые и сухие образцы. Сушку и очистку образцов проводят по
8.2.3.
8.3.4 Порядок проведения испытания
8.3.4.1 Образец помещают в прибор таким образом, чтобы он касательно прилегал к вращающемуся диску. Подача порошка должна составлять (100 +/- 10) г на 100 оборотов.
8.3.4.2 После 150 оборотов образец вынимают и переставляют таким образом, чтобы получить второй след, перпендикулярный первому.
8.3.5 Обработка результатов
Износостойкость, характеризуемую объемом снятого шлифованием материала
V, мм
3, вычисляют, исходя из длины хорды шлифовального следа
L (см.
рисунок 19), по формуле

(8)
где

- центральный угол, ограниченный хордой шлифовального следа, град., определяемый по формуле

(9)
h - толщина вращающегося диска, мм;
d - диаметр вращающегося диска, мм;
L - длина хорды шлифовального следа, мм.
Рисунок 19 - Схема для расчета объема удаленного материала
Измеряют длины хорд L каждого следа с точностью до 0,5 мм. Взаимосвязанные значения L и V указаны в таблице 6.
Таблица 6
Взаимосвязанные значения L и V
L, мм | V, мм3 | L, мм | V, мм3 | L, мм | V, мм3 | L, мм | V, мм3 | L, мм | V, мм3 |
20,0 | 67 | 30,0 | 227 | 40,0 | 540 | 50,0 | 1062 | 60,0 | 1851 |
20,5 | 72 | 30,5 | 238 | 40,5 | 561 | 50,5 | 1094 | 60,5 | 1899 |
21,0 | 77 | 31,0 | 250 | 41,0 | 582 | 51,0 | 1128 | 61,0 | 1947 |
21,5 | 83 | 31,5 | 262 | 41,5 | 603 | 51,5 | 1162 | 61,5 | 1996 |
22,0 | 89 | 32,0 | 275 | 42,0 | 626 | 52,0 | 1196 | 62,0 | 2046 |
22,5 | 95 | 32,5 | 288 | 42,5 | 649 | 52,5 | 1232 | 62,5 | 2097 |
23,0 | 102 | 33,0 | 302 | 43,0 | 672 | 53,0 | 1268 | 63,0 | 2149 |
23,5 | 109 | 33,5 | 316 | 43,5 | 696 | 53,5 | 1305 | 63,5 | 2202 |
24,0 | 116 | 34,0 | 330 | 44,0 | 720 | 54,0 | 1342 | 64,0 | 2256 |
24,5 | 123 | 34,5 | 345 | 44,5 | 746 | 54,5 | 1380 | 64,5 | 2310 |
25,0 | 131 | 35,0 | 361 | 45,0 | 771 | 55,0 | 1419 | 65,0 | 2365 |
25,5 | 139 | 35,5 | 376 | 45,5 | 798 | 55,5 | 1459 | 65,5 | 2422 |
26,0 | 147 | 36,0 | 393 | 46,0 | 824 | 56,0 | 1499 | 66,0 | 2479 |
26,5 | 156 | 36,5 | 409 | 46,5 | 852 | 56,5 | 1541 | 66,5 | 2596 |
27,0 | 165 | 37,0 | 427 | 47,0 | 880 | 57,0 | 1583 | 67,0 | 2656 |
27,5 | 174 | 37,5 | 444 | 47,5 | 909 | 57,5 | 1625 | 67,5 | 2717 |
28,0 | 184 | 38,0 | 462 | 48,0 | 938 | 58,0 | 1689 | 68,0 | 2717 |
28,5 | 194 | 38,5 | 481 | 48,5 | 968 | 58,5 | 1713 | 68,5 | 2779 |
29,0 | 205 | 39,0 | 500 | 49,0 | 999 | 59,0 | 1758 | 69,0 | 2842 |
29,5 | 215 | 39,5 | 520 | 49,5 | 1030 | 59,5 | 1804 | 69,5 | 2906 |
За конечный результат принимают среднеарифметическое всех определенных объемов.
9 Определение износостойкости глазурованных плиток
9.1 Область применения
Настоящий раздел устанавливает метод испытаний по определению износостойкости глазурованных керамических плиток, применяемых в качестве напольных покрытий.
9.2 Сущность метода
Износостойкость глазури керамических плиток определяют путем визуального сравнения и оценки глазурованной поверхности образцов, подвергавшихся и не подвергавшихся воздействию шлифовальной смеси.
9.3 Испытательное оборудование и материалы
9.3.1 Шкаф сушильный, позволяющий автоматически поддерживать температуру (110 +/- 5) °C.
9.3.2 Весы технические, обеспечивающие точность измерения не менее 0,1% (весы технические с погрешностью не более 0,01 г).
9.3.3 Цилиндр мерный с ценой деления не более 1 см3.
9.3.4 Сита с отверстиями 0,63 и 0,70 мм.
9.3.5 Шлифзерно 16 по
ГОСТ 3647 с насыпной плотностью (1,72 +/- 0,05) г/см
3 марок 24А, 25А (электрокорунд белый).
9.3.6 Шарики стальные диаметром 1, 2, 3, 5 мм.
9.3.7 Установка для определения износостойкости глазурованных плиток или плит, схема которой приведена на
рисунке 20. Установка состоит из основной несущей плиты, приводимой в движение валом, который обеспечивает вращение плиты со скоростью (300 +/- 1) об/мин с эксцентриситетом 22,5 мм, и металлических накладок с резиновыми шайбами, прижимающими испытуемые образцы к несущей плите. Резиновые шайбы ограничивают площадь поверхности образца, равную 54 см
2, и предназначены для заполнения шлифовальной смесью. Число одновременно испытуемых образцов может быть различным в зависимости от конструкции установки.
1 - несущая плита; 2 - эксцентриковый вал;
3 - образец материала; 4 - резиновые шайбы; 5 - накладки
Рисунок 20 - Схема установки для испытания
на износостойкость глазурованных плиток
Допускается применение устройства другой конструкции при условии получения сопоставимых результатов.
Допускается использовать готовые комплекты шариков и корунда.
9.4 Испытуемые образцы
Для определения износостойкости используют 11 плиток, из них восемь подвергают испытанию, а три других используют для проверки полученного результата степени износа с видимыми изменениями. Дополнительно восемь образцов являются контрольными для визуального сравнения.
Для плиток с площадью лицевой поверхности более 1600 см2 выпиливают от каждого изделия, отобранного для испытания, по два образца, один из которых подвергают испытанию, а другой является контрольным.
Из каждой плитки, отобранной для испытания, выпиливают по одному квадратному образцу с размером сторон (100 +/- 1) мм. Если плитка имеет указанный размер, то ее испытывают целиком. Испытуемые образцы меньших размеров, плотно соединяя боковыми поверхностями друг с другом, закрепляют на соответствующем основании. Эффекты, возникающие в месте примыкания образцов, не учитывают.
Глазурованные поверхности испытуемых образцов должны быть чистыми и сухими. Сушку и очистку образцов проводят по
8.2.3.
9.5 Порядок проведения испытания
Восемь образцов укрепляют на несущей плите установки. В шайбы помещают подготовленную шлифовальную смесь следующего состава:
- смесь стальных шариков массой 175 г, в том числе:
- диаметром 1 мм - 8,7 г (5%);
- диаметром 2 мм - 43,8 г (25%);
- диаметром 3 мм - 52,5 г (30%);
- диаметром 5 мм - 70,0 г (40%);
- шлифзерно 16 (белый электрокорунд марки 24А или 25А) - 3,0 г;
- вода - 20 см3.
Несущую плиту установки приводят во вращение, а затем последовательно после 150, 600, 750, 1500, 1800, 2100, 6000 и 12 000 оборотов плиты извлекают по одному образцу.
Образцы промывают в проточной воде и помещают в сушильный шкаф, нагретый до температуры (110 +/- 5) °C, приблизительно на 30 мин для подсушки лицевой поверхности, затем последовательно после каждого цикла помещают по одному образцу в середину квадрата, составленного из восьми контрольных образцов. Получившийся квадрат из девяти образцов рассматривают с расстояния 2 м с высоты человеческого роста при освещенности не менее 300 лк в закрытом помещении.
После цикла испытаний (числа оборотов в соответствии с таблицей 7), на котором обнаружено первое видимое повреждение или изменение лицевой поверхности образца, испытание прекращают.
Степень износа (число оборотов, после которых обнаружены видимые изменения) | Класс |
150 | 1 |
600 | 2 |
750; 1500; 1800 | 3 |
2100; 6000; 12 000 | 4 |
Св. 12 000 <1> | 5 |
<1> Должны пройти испытания на устойчивость к образованию пятен по разделу 15. |
На трех оставшихся образцах проводят повторное испытание, извлекая из установки по одному образцу после цикла, на котором обнаружено первое видимое повреждение или изменение лицевой поверхности образца при исходном испытании, а также после предшествующего и последующего циклов.
9.6 Обработка результатов
Классификацию испытуемых плиток осуществляют в соответствии с
таблицей 7. При разных результатах повторного испытания принимают более низкую из двух степеней износа.
10 Определение термической стойкости
10.1 Определение термической стойкости плитки
10.1.1 Область применения
Настоящий раздел устанавливает метод испытаний по определению термической стойкости керамических плиток при попеременном воздействии температур.
10.1.2 Сущность метода
Определение стойкости целой керамической плитки к попеременному воздействию температур 15 °C и 150 °C.
10.1.3 Оборудование и материалы
10.1.3.1 Шкаф сушильный с перфорированными полками, позволяющий автоматически поддерживать температуру 150 °C с погрешностью +/- 5 °C.
10.1.3.2 Емкость для охлаждения образцов проточной водой с температурой (15 +/- 5) °C.
10.1.3.3 Подставка (кассета) для установки образцов таким образом, чтобы они не соприкасались друг с другом.
10.1.3.4 Ткань мягкая.
10.1.3.5 Раствор органического красителя (чернила).
10.1.4 Испытуемые образцы
Для определения термостойкости используют пять плиток.
Для определения термической стойкости используют целые плитки. Для керамических плиток с длиной стороны более 200 мм допускается проводить испытание на образцах размером 100 x 100 мм, выпиленных из изделия. От каждого изделия, отобранного для контроля, выпиливают по одному образцу. Образцы, подвергающиеся испытаниям, должны быть без дефектов.
10.1.5 Порядок проведения испытаний
Сначала керамические плитки обследуют на наличие дефектов. Обследование проводят визуально (невооруженным глазом или в очках при их постоянном ношении) на расстоянии от 25 до 30 см при интенсивности освещения порядка 300 лк. На момент испытаний все испытуемые образцы должны быть без дефектов. Для предварительного обнаружения дефектов допускается применять раствор органического красителя (например, чернила).
Подготовленные образцы ставят в кассету и вместе с ней помещают в нагретый до заданной температуры сушильный шкаф. Допускается укладывать образцы в сушильный шкаф на перфорированные полки, не допуская их контакта друг с другом.
Образцы плиток выдерживают в сушильном шкафу при температуре (150 +/- 5) °C в течение 30 мин. Затем плитки извлекают из сушильного шкафа и сразу помещают в емкость для охлаждения проточной водой с температурой (15 +/- 5) °C так, чтобы плитки были полностью покрыты водой. Данный цикл повторяют 10 раз.
После прохождения 10 циклов испытания плитки извлекают из воды, на поверхность наносят несколько капель органического красителя, а затем протирают плитки мягкой тканью и осматривают.
10.1.6 Обработка результатов
Плитки считают термически стойкими, если после испытания не будет обнаружено дефектов.
Партию плиток считают термически стойкой, если все образцы выдержали испытания.
10.2 Определение термической стойкости глазури
10.2.1 Область применения
Настоящий раздел устанавливает метод испытаний по определению термической стойкости глазури при попеременном воздействии температур.
10.2.2 Сущность метода
Определение стойкости целой глазурованной керамической плитки к попеременному воздействию температур 15 °C и 125 °C (или 150 °C).
10.2.3 Оборудование и материалы
10.2.3.1 Шкаф сушильный с перфорированными полками, позволяющий автоматически поддерживать температуру (125 +/- 5) °C и (150 +/- 5) °C.
10.2.3.2 Емкость для охлаждения образцов проточной водой с температурой (15 +/- 5) °C.
10.2.3.3 Подставка (кассета) для установки образцов таким образом, чтобы они не соприкасались друг с другом.
10.2.3.4 Ткань мягкая.
10.2.3.5 Раствор органического красителя (чернила).
10.2.4 Испытуемые образцы
Для определения термической стойкости глазури используют целые плитки. Допускается проводить испытание на образцах размером 100 x 100 мм, выпиленных из изделия. От каждого изделия, отобранного для контроля, выпиливают по одному образцу. Образцы, подвергающиеся испытаниям, должны быть без дефектов.
10.2.5 Порядок проведения испытаний
Сначала керамические плитки обследуют на наличие дефектов. Обследование проводят визуально (невооруженным глазом или в очках при их постоянном ношении) на расстоянии от 25 до 30 см при интенсивности освещения порядка 300 лк. На момент испытаний все испытуемые образцы должны быть без дефектов. Для предварительного обнаружения дефектов допускается применять раствор органического красителя (например, чернила).
Подготовленные образцы ставят в кассету и вместе с ней помещают в нагретый до заданной температуры сушильный шкаф. Допускается укладывать образцы в сушильный шкаф на перфорированные полки, не допуская их контакта друг с другом.
Образцы всех плиток, кроме плиток, покрытых белой глазурью, выдерживают в сушильном шкафу при температуре (125 +/- 5) °C в течение 30 мин. При испытании плиток, покрытых белой глазурью, температура в сушильном шкафу должна быть (150 +/- 5) °C. Затем плитки извлекают из сушильного шкафа и сразу помещают в емкость для охлаждения проточной водой с температурой (15 +/- 5) °C так, чтобы плитки были полностью покрыты водой.
После охлаждения плитки извлекают из воды, на их глазурованную поверхность наносят несколько капель органического красителя, а затем протирают мягкой тканью и осматривают.
10.2.6 Обработка результатов
Глазурь плитки считают термически стойкой, если после испытания не будет обнаружено повреждение глазурованной поверхности плитки.
Глазурь плиток в партии считают термически стойкой, если все образцы выдержали испытания.
11 Определение морозостойкости
11.1 Область применения
Настоящий раздел устанавливает метод испытаний по определению морозостойкости керамических плиток, контактирующих с водой при отрицательных температурах.
11.2 Сущность метода
Керамические плитки после насыщения водой подвергают попеременному воздействию температур 15 °C - 20 °C и минус 15 °C - минус 20 °C. Керамические плитки подвергают полному замораживанию в течение установленного в соответствующих нормативных документах на конкретный вид продукции числа циклов замораживания-оттаивания.
11.3 Приборы и вспомогательные средства
11.3.1 Камера морозильная для замораживания необходимого числа образцов, обеспечивающая поддержание температуры воздуха в камере от минус 15 °C до минус 20 °C.
11.3.2 Емкость для насыщения плитки водой.
11.3.3 Термостат или другой прибор, обеспечивающий поддержание температуры воды от плюс 15 °C до плюс 20 °C.
11.3.4 Контейнер для образцов.
11.4 Испытуемые образцы
Для испытаний применяют плитки, не имеющие дефектов. Дефектом считают трещины черепка, трещины глазури, отверстия, отбитые грани и углы.
При необходимости испытаний поврежденных керамических плиток, повреждения перед испытаниями маркируют и после испытаний проверяют.
11.5 Проведение испытаний
Перед проведением испытания образцы насыщают водой, помещая их в емкость с водой на 48 ч.
Насыщенные водой образцы помещают в контейнер так, чтобы они не соприкасались друг с другом. При размещении образцов в несколько рядов по высоте отдельные ряды плиток разделяют прокладками толщиной не менее 20 мм. Общий объем контейнера с образцами не должен превышать 50% объема морозильной камеры.
Проводят попеременное замораживание и оттаивание образцов по следующей схеме:
- замораживание в течение (2,0 +/- 0,2) ч при температуре воздуха в морозильной камере от минус 15 °C до минус 20 °C;
- оттаивание в течение (1,0 +/- 0,1) ч в воде с температурой от 15 °C до 20 °C.
Цикл испытания - совокупность одного периода замораживания и оттаивания образцов.
Число циклов устанавливают в стандартах или технических условиях на конкретные изделия. Началом замораживания образцов считают время достижения температуры в морозильной камере минус 15 °C.
В случае временного прекращения испытания образцы после оттаивания должны храниться в воде.
Образцы осматривают после каждого цикла испытаний независимо от общего числа циклов испытаний. Выявление повреждений образцов (разрушение, образование сколов, трещин, расслоение и т.п.) проводят после оттаивания.
12 Определение химической стойкости
12.1 Область применения
Настоящий раздел устанавливает метод испытаний по определению химической стойкости керамических плиток при комнатной температуре. Данный метод распространяется на все виды керамических плиток.
12.2 Сущность метода
Образцы подвергают воздействию испытательных растворов и через установленный период времени визуально определяют разрушение.
12.3 Испытательные растворы
Для испытаний керамической плитки на химическую стойкость используют следующие растворы:
- N 1 - раствор аммония хлористого 100 г/дм
3, приготовленный растворением 100 г аммония хлористого квалификации х. ч. по
ГОСТ 3773 в 1 дм
3 дистиллированной воды;
- соли для ванн;
N 2 - раствор гипохлорита натрия, 20 мг/дм3, приготовленный растворением 0,25 см3 жидкого чистящего средства "Белизна" в 1 дм3 дистиллированной воды или из технически чистого гипохлорита натрия растворением его в дистиллированной воде до содержания активного хлора 13%;
- растворы кислот и щелочей:
а) низкоконцентрированные (L):
N 3 - раствор соляной кислоты 3% (по объему), приготовленный из 30 см
3 HCl по
ГОСТ 3118 плотностью 1,19 г/см
3 и 970 см
3 дистиллированной воды;
N 4 - раствор лимонной кислоты 100 г/дм
3, приготовленный растворением 100 г пищевой лимонной кислоты моногидрата по
ГОСТ 908 в 1 дм
3 дистиллированной воды;
N 5 - раствор гидроксида калия (едкого кали) 30 г/дм
3, приготовленный растворением 30 г КОН квалификации х. ч. по
ГОСТ 9285 в 1 дм
3 дистиллированной воды;
б) высококонцентрированные (H):
N 6 - раствор соляной кислоты 18% (по объему), приготовленный из 180 см
3 HCl по
ГОСТ 3118 плотностью 1,19 г/см
3 и 820 см
3 дистиллированной воды;
N 7 - раствор молочной кислоты 5% (по объему), приготовленный из 5 см
3 пищевой молочной кислоты по
ГОСТ 490 и 995 см
3 дистиллированной воды;
N 8 - раствор гидроксида калия (едкого кали) 100 г/дм
3, приготовленный растворением 100 г КОН квалификации х. ч. по
ГОСТ 9285 в 1 дм
3 дистиллированной воды.
12.4 Приборы и оборудование
12.4.1 Шкаф сушильный с перфорированными полками, позволяющий автоматически поддерживать температуру (110 +/- 5) °C.
12.4.2 Сосуд из химически стойкого стекла или другого пригодного материала с крышкой (для неглазурованных плиток).
12.4.3 Трубки цилиндрические из химически стойкого стекла диаметром от 30 до 50 мм и высотой не менее 50 мм (для глазурованных плиток). Допускается применять трубки аналогичных размеров, изготовленные из труб НПВХ по
ГОСТ 28117, или трубки, изготовленные из других материалов, стойких к воздействию испытательных растворов.
12.4.4 Мастика уплотняющая по
ГОСТ 14791. Допускается использовать пластилин.
12.4.6 Посуда лабораторная стеклянная по
ГОСТ 23932.
12.4.7 Ткань мягкая (из хлопка или льна).
12.4.8 Карандаш простой марки НВ.
12.4.9 Лампа электрическая.
12.5 Испытуемые образцы
12.5.1 Число испытуемых образцов
Для каждого испытательного раствора применяют пять испытуемых образцов. Испытуемые образцы должны быть характерными для всей выборки. При испытаниях керамических плиток с различной окраской или различным декором необходимо следить за тем, чтобы испытаниям подвергались все части образцов.
12.5.2 Размер испытуемых образцов
Для проведения испытаний используют целые плитки или из каждой плитки, отобранной для испытаний, вырезают образцы следующим образом:
- для неглазурованных плиток - квадратный образец размером 50 x 50 мм таким образом, чтобы одна из сторон образца была боковой гранью плитки;
- для глазурованных плиток - выпиливают по одному образцу размером 100 x 100 мм.
12.5.3 Подготовка испытуемых образцов
Лицевую поверхность образца тщательно очищают органическим растворителем. Испытуемые образцы не должны иметь дефектов на лицевой поверхности.
12.6 Порядок проведения испытаний
12.6.1 Метод частичного погружения
Используют испытательные растворы N 1 - 8. Для испытаний используют свежеприготовленные растворы. Допускается применение одного из низкоконцентрированных и высококонцентрированных растворов кислот и щелочей.
Подготовленные образцы помещают в сосуд с испытательным раствором вертикально, погружая их на глубину 25 мм таким образом, чтобы сторона образца, являющаяся гранью плитки, была полностью погружена в раствор. Сосуд накрывают крышкой и оставляют на время, необходимое для испытания.
Образцы, испытываемые растворами N 1, 2, 4, выдерживают в течение 24 ч.
Образцы, испытываемые растворами N 3, 5 - 8, выдерживают в течение (96 +/- 1) ч.
По истечении необходимого времени испытания образцы извлекают из раствора, промывают водой в течение 10 мин. При необходимости поверхность образцов очищают мягкой щетиной для удаления растворов. Далее образцы извлекают из воды, промокают влажной тканью, просушивают в сушильном шкафу при температуре (110 +/- 5) °C около 30 мин, затем извлекают из сушильного шкафа и охлаждают до комнатной температуры.
12.6.2 Метод контактного пятна
Стеклянные цилиндрические трубки
(12.4.3) приклеивают уплотняющей мастикой к глазурованной поверхности образца и наполняют каждую одним из растворов N 1 - 8 на высоту (20 +/- 1) мм. В процессе проведения испытания необходимо поддерживать уровень используемого раствора. Допускается применение одного из низкоконцентрированных и высококонцентрированных растворов кислот и щелочей.
Для испытаний используют свежеприготовленные растворы.
Образцы, испытываемые растворами N 1, 2, 4, выдерживают в течение 24 ч.
Образцы, испытываемые растворами N 3, 5 - 8, выдерживают в течение (96 +/- 1) ч, один раз в сутки легко постукивают. Через (48 +/- 1) ч после начала испытаний растворы обновляют; затем испытание продолжают еще (48 +/- 1) ч.
По истечении указанного времени растворы сливают, стеклянные цилиндры снимают, глазурованную поверхность плитки промывают водой и тщательно очищают органическим растворителем. Плитку помещают в сушильный шкаф при температуре (110 +/- 5) °C для подсушивания лицевой поверхности приблизительно на 30 мин, затем извлекают из сушильного шкафа и охлаждают до комнатной температуры.
12.7 Визуальная оценка
12.7.1 Неглазурованные керамические плитки
Испытуемые образцы исследуют на наличие изменений на лицевой поверхности, срезе и грани, подвергавшихся воздействию одного из растворов. Исследования проводят визуально (невооруженным глазом или в очках при их постоянном ношении) на расстоянии от 25 до 30 см при дневном свете. Прямого солнечного света следует избегать.
Исходя из данных исследования определяют класс химической стойкости (таблица 8).
Таблица 8
Номер раствора | Отсутствие видимых изменений | Видимые изменения среза | Видимые изменения лицевой поверхности, среза и грани |
1, 2 | Класс UA | Класс UB | Класс UC |
3 - 5 | Класс ULA | Класс ULB | Класс ULC |
6 - 8 | Класс UHA | Класс UHB | Класс UHC |
12.7.2 Глазурованные керамические плитки
12.7.2.1 На необработанную поверхность образцов наносят линии простым карандашом и стирают влажной тканью. Если линии не исчезают, то указывают следующее: "типовой классификации не подлежит". Для таких плиток применяют альтернативную классификацию.
12.7.2.2 Испытуемые образцы исследуют на наличие изменений глазурованной поверхности. Исследования проводят визуально на расстоянии от 25 до 30 см при дневном или искусственном освещении (примерно 300 лк). Прямого солнечного света следует избегать. При отсутствии видимых изменений проводят проверку карандашом, при наличии изменений проводят проверку глянца.
12.7.2.3 При проверке карандашом на обработанную поверхность образцов наносят линии простым карандашом и стирают влажной тканью. Если линии исчезают, то плитку относят к классу A, если не исчезают, то к классу B.
12.7.2.4 Для проверки глянца керамическую плитку удерживают таким образом, чтобы в необработанной поверхности отражалось изображение лампы. Электрическую лампу располагают над плиткой таким образом, чтобы угол падения света составлял 45°, а расстояние между плиткой и источником света составляло (350 +/- 100) мм. Плитку относят к классу B при четком зеркальном изображении лампы, к классу С - при нечетком. Метод не применим для матовых глазурей.
Классификация глазурованной плитки приведена в таблице 9.
Таблица 9
Номер раствора | Отсутствие видимых изменений, карандаш удален | Отсутствие видимых изменений, карандаш не удален; видимые изменения лицевой поверхности, четкое изображение | Видимые изменения лицевой поверхности, нечеткое изображение |
1, 2 | Класс GA | Класс GB | Класс GC |
3 - 5 | Класс GLA | Класс GLB | Класс GLC |
6 - 8 | Класс GHA | Класс GHB | Класс GHC |
Альтернативную классификацию проводят по результатам визуального осмотра образцов в соответствии с таблицей 10.
Таблица 10
Номер раствора | Отсутствие видимых изменений | Значительные видимые изменения внешнего вида | Полная или частичная потеря первоначальной поверхности |
1, 2 | Класс GA(V) | Класс GB(V) | Класс GC(V) |
3 - 5 | Класс GLA(V) | Класс GLB(V) | Класс GLC(V) |
6 - 8 | Класс GHA(V) | Класс GHB(V) | Класс GHC(V) |
13 Определение ударной прочности методом отскока
13.1 Область применения
В настоящем разделе установлен метод испытаний по определению ударной прочности керамических плиток посредством измерения коэффициента отскока.
13.2 Сущность метода
Коэффициент отскока определяют путем измерения высоты отскока стального шара, падающего с установленной высоты на зафиксированный испытуемый образец.
13.3 Приборы
Шар из хромистой стали диаметром (19,00 +/- 0,05) мм.
Прибор с падающим шаром
(рисунок 21), состоящий из тяжелой стальной плиты-основания на нивелировочных винтах с вертикальной стальной стойкой, на которой закреплен электромагнит, а также направляющие трубы и устройство крепежа испытуемого блока.
1 - устройство для измерения времени; 2 - электромагнит;
3 - стальной шар; 4 - направляющая труба; 5 - датчик;
6 - нивелировочный винт; 7 - керамическая плитка; 8 - клей
на основе эпоксидной смолы; 9 - бетонный блок
Рисунок 21 - Прибор с падающим шаром
Испытуемый блок закрепляют таким образом, чтобы падающий стальной шар попадал в середину горизонтальной поверхности керамической плитки или плиты. На
рисунке 21 представлено зажимное приспособление, при этом также допускается применять любое другое пригодное устройство.
Электронное устройство измерения времени (на выбор), позволяющее посредством микрофона измерять время между первым и вторым ударом в момент падения шара на испытуемый образец.
13.4 Подготовка к испытанию
13.4.1 Подготовка испытуемых образцов
Из пяти керамических плиток вырезают не менее пяти образцов размерами 70 x 70 мм. Допускается также применение керамических плиток размерами менее 70 мм.
13.4.2 Изготовление бетонных блоков
Бетонные блоки должны иметь размеры 70 x 70 x 50 мм и отливаться в формах или вырезаться из бетонных плит.
В приведенном ниже методе описано изготовление бетонных блоков с заполнителем из гравия/песка. Допускается применение других заполнителей, но в этом случае метод определения поверхностного водопоглощения может оказаться неприменимым.
Смесь для изготовления бетонных блоков или плиты состоит из одной массовой доли портландцемента и до 4,5 - 5,5 массовых долей заполнителя. Заполнитель должен представлять собой смесь гравий/песок с размером зерен от 0 до 8 мм, имеющую непрерывную кривую гранулометрического состава, лежащую между кривыми A и B согласно
рисунку 22. Общая доля в бетонной смеси частиц размером менее 0,125 мм, включая портландцемент, должна составлять около 500 кг/м
3.

- кривая A;

- кривая B
Рисунок 22 - Кривая гранулометрического анализа
заполнителя с размером зерна от 0 до 8 мм
Водоцементное отношение должно составлять 0,5. Все компоненты тщательно перемешивают в механическом смесителе и кельмой заполняют формы необходимого размера. В течение 90 с бетон уплотняют на встряхивающем устройстве с частотой вибрации 50 Гц.
До распалубки бетонные плиты и блоки выдерживают 48 ч при температуре (23 +/- 2) °C и относительной влажности воздуха (50 +/- 5)%. Плиты на 6 сут погружают в воду при (20 +/- 2) °C и затем 21 сут выдерживают на воздухе при температуре (23 +/- 2) °C и относительной влажности воздуха (50 +/- 5)%. Водопоглощение полезной поверхности бетона должно составлять от 0,5 до 1,5 см
3 через 4 ч при испытании трех образцов по
13.8.
Если в дальнейшем из бетонных плит нарезают блоки мокрым способом, то до использования при испытаниях их просушивают не менее 24 ч при температуре (23 +/- 2) °C и относительной влажности воздуха (50 +/- 5)%.
13.4.3 Приготовление клея на основе эпоксидной смолы
В клее не должно содержаться пластификаторов, повышающих упругость.
Клей должен состоять из двух массовых долей эпоксидной смолы и одной массовой доли отвердителя. Кварцевую муку со средним размером зерен 5,5 мкм (измерение выполняют с использованием прибора ПСХ или другим аналогичным способом) добавляют к другим компонентам клея в таком количестве, чтобы смесь не растекалась. При этом смесь тщательно перемешивают.
13.4.4 Изготовление испытуемых блоков
Испытуемые блоки представляют собой испытуемые образцы, наклеенные на бетонные блоки с использованием клея на основе эпоксидной смолы.
На верхнюю поверхность бетонного блока, изготовленного по
13.4.2, равномерно наносят слой клея
(13.4.3) на основе эпоксидной смолы толщиной 2 мм. С трех сторон в центральную часть бетонного блока заделывают три дистанцирующих штифта, изготовленных из стали или пластмассы диаметром 1,5 мм таким образом, чтобы они выступали над поверхностью блока и позже могли быть удалены. Затем на клей накладывают и прижимают испытуемый образец лицевой стороной вверх, соскребают излишки клея по сторонам и удаляют три дистанционных штифта. Изготовленные для испытаний блоки в течение 3 сут выдерживают при температуре (23 +/- 2) °C и относительной влажности воздуха (50 +/- 5)%.
При испытании керамических плиток размерами менее 70 x 70 мм плитку располагают таким образом, чтобы ее центр совпадал с центром поверхности бетонного блока. Недостающую до 70 x 70 мм площадь дополняют нарезанными кусками плиток.
13.5 Проведение испытаний
Прибор с падающим шаром
(рисунок 21) посредством нивелировочных винтов регулируют до вертикального положения стальной направляющей трубы. Испытуемый блок располагают под электромагнитом таким образом, чтобы стальной шар после освобождения от электромагнита падал в середину закрепленного испытуемого блока.
Испытуемый блок помещают горизонтально на опору, лицевой поверхностью испытуемого образца вверх. Стальной шар с высоты 1 м падает на испытуемую поверхность. Соответствующим прибором измеряют высоту отскока с точностью +/- 1 мм и рассчитывают коэффициент отскока e.
Альтернативно данному методу измерения высоты отскока допускается использовать прибор, измеряющий время между двумя ударами шара с точностью до миллисекунды, и по полученным результатам рассчитывать высоту и коэффициент отскока.
Для определения высоты отскока и временного интервала между двумя ударами шара допускается применять любое пригодное измерительное устройство.
После испытания поверхность керамической плитки исследуют на наличие вмятин и трещин. Трещины, не обнаруживаемые визуально, не учитывают. Разрушение граней плиток с профилированными поверхностями отмечают, но при оценке не учитывают.
Аналогичную процедуру испытания повторяют с другими испытуемыми блоками.
13.6 Обработка результатов испытаний
Коэффициент отскока e шара, падающего на горизонтальную статическую поверхность, вычисляют по формуле

(10)
где v - скорость отскока, м/с, вычисляемая по формуле

(11)
где g - ускорение свободного падения, равное 9,81 м/с2;
h2 - высота отскока, м;
u - скорость удара, м/с, вычисляемая по формуле

(12)
где h1 - высота падения, м.
Следовательно,

(13)
При определении высоты отскока при двойном ударе шара и измерении временного интервала между обоими ударами применяют уравнение движения:

(14)
где u0 - скорость в наивысшей точке траектории отскакивающего шара (u0 = 0);
t - время, вычисляемое по формуле
t = T/2, (15)
где T - временной интервал между двумя ударами шара, с.
Отсюда следует, что
h2 = 122,6·T2. (16)
13.7 Калибровка
Изготавливают пять испытуемых блоков из неглазурованных керамических плиток толщиной (8,0 +/- 0,5) мм, относящихся к группе BIa по
ГОСТ 13996 (водопоглощение менее 0,5%), с ровными поверхностями. Испытания проводят в соответствии с
13.5. Средняя высота отскока
h2 должна составлять (72,5 +/- 1,5) см, чтобы коэффициент отскока составлял 0,85 +/- 0,01.
13.8 Определение водопоглощения на поверхности бетонных блоков или плит
(справочное)
Мерный цилиндр
(рисунок 23) из стекла закрепляют на поверхности бетона, используя минимальное количество уплотнительной массы, распределенной по всему периметру основания мерного цилиндра, и дают уплотнительной массе затвердеть.
Рисунок 23 - Устройство для измерения водопоглощения
на поверхности блоков или плит
Мерный цилиндр заполняют до нулевой отметки деминерализованной или дистиллированной водой.
Через 1, 2, 3 и 4 ч замеряют уровень воды и получают кривую водопоглощения по времени.
Среднее значение поверхностного водопоглощения через 4 ч получают по результатам испытаний трех образцов.
14 Определение сопротивления скольжению поверхности керамических плиток
14.1 Область применения
В настоящем разделе установлены методы испытания по определению сопротивления скольжению лицевой поверхности керамических плиток.
14.2 Метод с использованием маятникового определителя трения
14.2.1 Сущность метода
Измерение сопротивления скольжению на образце проводят с помощью маятникового определителя трения. Одним из основных узлов маятникового определителя трения является подпружиненный ползун из стандартной резины, прикрепленной к концу маятника. При колебании маятника проводят измерение силы трения между ползуном и проверяемой поверхностью образца по сокращению длины колебания с использованием калибровочной шкалы, предназначенной для оценки характеристики трения образца.
14.2.2 Оборудование и материалы
14.2.2.1 Определитель трения маятниковый
Конструкция маятникового определителя трения должна соответствовать конструкции, показанной на
рисунке 24. По возможности все несущие и рабочие части должны быть закрыты, а все материалы должны пройти соответствующую обработку, чтобы исключить трение в условиях повышенной влажности.
1 - С-образная шкала; 2 - стрелка; 3 - маятник;
4 - резиновый ползун; 5 - регулировочный винт;
6 - держатель образца; 7 - спиртовой уровень;
8 - вертикальный регулировочный винт;
9 - образец для испытания 136 x 86 мм
Рисунок 24 - Маятниковый определитель трения
Одним из основных узлов маятникового определителя трения является подпружиненный ползун из стандартной резины, прикрепленный к концу маятника. При колебании маятника проводят измерение силы трения между ползуном и проверяемой поверхностью образца по сокращению длины колебания с использованием калибровочной шкалы, предназначенной для оценки характеристик трения образца.
Маятниковый определитель трения должен быть оснащен следующими устройствами и приспособлениями:
- подпружиненный обрезиненный ползун. Он должен крепиться на конце рычага маятника так, чтобы скользящая кромка находилась на расстоянии (510 +/- 1) мм от оси подвески;
- средства настройки опорной колонны;
- основание достаточной массы, обеспечивающее надежную устойчивость испытательного оборудования во время испытаний;
- средства подъема и опускания оси подвески рычага маятника с тем, чтобы ползун мог:
- качаться, не задевая поверхности образца; и
- настраиваться для пересечения поверхности на заданную длину (126 +/- 1) мм.
Для этого требуется измеритель длины скольжения, показанный на
рисунке 25;
- средства удержания и отпускания рычага маятника, позволяющие ему свободно падать из горизонтального положения;
- стрелка номинальной длины 300 мм, балансирующая вокруг оси подвески и показывающая положение рычага маятника во время его качения вперед и прохождения круговой шкалы. Масса стрелки не должна превышать 85 г. Трение в механизме стрелки должно быть регулируемым так, чтобы во время свободного качания рычага маятника из горизонтального положения наружный конец стрелки можно было вывести в состояние покоя во время качания рычага вперед в точке (10 +/- 1) мм ниже горизонтали, что соответствует нулевым показаниям;
- круговая шкала, откалиброванная на длину скольжения 126 мм по плоской поверхности с разметкой от 0 до 100 с ценой деления пять единиц.
1 - измеритель; 2 - ползун; 3 - базовая грань;
4 - измеренная длина скольжения;
5 - действительная длина скольжения
Рисунок 25 - Измеритель длины скольжения
Масса рычага маятника, включая ползун, должна составлять (1,50 +/- 0,3) кг. При этом центр тяжести должен находиться на оси рычага на расстоянии (410 +/- 5) мм от оси подвески.
14.2.2.2 Ползун должен включать резиновую подушку шириной (76,2 +/- 0,5) мм, длиной (25,4 +/- 1,0) мм (в направлении качения) и толщиной (6,4 +/- 0,5) мм. При этом масса ползуна и основания должна составлять (32 +/- 5) г.
Ползун должен удерживаться на жестком основании с центральной поворотной осью, которую следует устанавливать на конце рычага маятника таким образом, чтобы во время нахождения рычага в самой низкой точке качания, когда задний край ползуна соприкасается с поверхностью образца, плоскость ползуна находилась под углом 26° +/- 3° к горизонтали. В такой конфигурации ползун может свободно поворачиваться вокруг своей оси, соблюдая неровности поверхности испытуемого образца по мере раскачивания маятника.
Ползун должен иметь подпружиненный контакт с поверхностью образца. При этом статическое усилие на ползун, настроенное во время калибровки, должно составлять (22,2 +/- 0,5) Н в своем среднем значении. Изменение статического усилия на ползун не должно превышать 0,2 Н на миллиметр отклонения ползуна.
Примечание - Калибровка имеет очень важное значение для определения данного метода испытаний. В настоящее время не существует общеевропейского метода калибровки, выбранного для маятникового определителя трения.
Начальные значения упругости и твердости ползуна должны соответствовать таблице 11. Ползун должен иметь сертификат соответствия с указанием изготовителя и даты изготовления. Ползун отбраковывают не позднее чем через три года после изготовления.
Таблица 11
Характеристики резинового ползуна
Свойство | Температура, °C |
0 | 10 | 20 | 30 | 40 |
| От 43 до 49 | От 58 до 65 | От 66 до 73 | От 71 до 77 | От 74 до 79 |
| От 53 до 65 |
<1> Испытания Люпке на эластичность по откосу согласно ГОСТ 27110. <2> Международная шкала твердости резины согласно ГОСТ 20403. |
Края ползуна должны быть квадратными с ровным срезом. При этом резина должна быть свободной от таких загрязнений, как, например, абразивные вещества или масло. Ползун хранят в темном месте при температуре от 5 °C до 20 °C.
Перед использованием нового ползуна его необходимо обработать так, чтобы получить минимальную ширину ударной части 1 мм, как показано на
рисунке 26. Для этого следует настроить испытательное оборудование и выполнить пять колебаний по сухой поверхности с величиной трения 49 по C-шкале, а затем выполнить еще 20 колебаний на той же поверхности после увлажнения.
1 - резиновый ползун; 2 - алюминиевая подложка;
3 - ударная кромка; 4 - ширина износа
Рисунок 26 - Ползун, демонстрирующий
максимальный износ на ударной кромке
Ползун подлежит отбраковке, если ширина ударной кромки превышает 3 мм, как показано на
рисунке 26, или на ней появляется слишком много царапин или заусенцев. Ползун допускается реверсировать для использования новой кромки, которая требует обработки.
14.2.2.3 Питьевая вода при температуре (20 +/- 2) °C в контейнере для смачивания поверхностей образцов и ползуна.
14.2.3 Проведение испытаний
Непосредственно перед испытаниями испытательное оборудование и ползун следует содержать в помещении при температуре (20 +/- 2) °C на протяжении не менее 30 мин. Перед испытанием с использованием маятникового определителя трения пробу необходимо погрузить в воду температурой (20 +/- 2) °C не менее чем на 2 ч.
Ползун шириной 76 мм следует использовать на длине трения 126 мм; показания снимают по C-шкале.
Устанавливают маятниковый определитель трения на прочное горизонтальное основание и с помощью регулировочных винтов выводят опорную стойку маятника в вертикальное положение. Затем поднимают оси подвески маятника так, чтобы обеспечить свободное колебание рычага. Регулируют трение в механизме стрелки так, чтобы во время отпускания рычага маятника и стрелки из правостороннего горизонтального положения, стрелка останавливалась в нулевой точке шкалы.
Жестко закрепляют образец в держателе так, чтобы его длинная сторона лежала на дорожке маятника, а сам образец находился в центральном положении относительно резинового ползуна и оси подвески маятника. Следует убедиться, что дорожка ползуна проходит параллельно длинной оси образца на участке скольжения.
Регулируют высоту рычага маятника так, чтобы при пересечении образца резиновый ползун полностью контактировал с ним на заданном участке трения. Обильно смачивают водой поверхности образца и резинового ползуна так, чтобы не сместить ползун с его настроенного положения. Отпускают маятник и стрелку из горизонтального положения, а затем берутся за рычаг маятника во время его обратного качения. Регистрируют положение стрелки по шкале. Повторяют данную операцию пять раз, каждый раз смачивая образец и регистрируя показания. Если разброс пяти показаний превышает три деления шкалы, процедуру испытания повторяют до тех пор, пока не получат трех последовательных показаний, отличающихся не более чем на три деления шкалы. Данные значения регистрируют. Поворотом на 180° перемещают образец и повторяют процедуру испытаний.
14.2.4 Расчет сопротивления скольжению в нешлифованном состоянии
Проводят расчет средних значений результатов двух определений по пять качений (или результатов последующих трех качений, если применимо), выполненных на каждом образце.
14.3 Метод наклонной плоскости
14.3.1 Сущность метода
Измерение сопротивления скольжению проводят на специальном стенде, представляющем собой платформу с изменяемым с заданной скоростью углом наклона, на которой выкладывают образцы испытуемой плитки. По платформе передвигается испытатель. В зависимости от области применения плитки, испытатель перемещается по платформе в обуви со стандартной подошвой или босиком. Испытуемые образцы перед испытанием покрывают моторным смазочным маслом или водой.
В процессе перемещения испытателя по платформе с уложенными и подготовленными образцами плитки изменяют угол наклона платформы. Угол меняют до тех пор, пока испытатель не начинает проявлять неуверенность при ходьбе (т.е. начинает скользить). Значение полученного угла наклона (допустимый угол) является оценкой степени сопротивления скольжению.
Испытание повторяют с одним и тем же испытателем при одних и тех же условиях три раза.
14.3.2 Оборудование и материалы
14.3.2.1 Стенд испытательный - наклонная платформа длиной 2000 мм и шириной 600 мм, с максимальным углом наклона 45° к горизонтали, оборудованная угловым датчиком и приводом, позволяющим изменять угол наклона платформы на 1°/c (см.
рисунок 27).
1 - устройство для регулировки высоты; 2 - угловой датчик;
3 - привод; 4 - наклонная платформа
Рисунок 27 - Испытательный стенд
14.3.2.2 Масло машинное с вязкостью от SAE 10 W-30 до SAE J 300.
14.3.2.3 Вода водопроводная.
14.3.2.4 Обувь рабочая со стандартной подошвой.
14.3.3 Калибровка (выбор и обучение испытателей)
Для процедуры калибровки используют три стандартных напольных покрытия:
E, P и
R, чьи допустимые углы

определены в ходе многочисленных исследований и приняты как стандартные допустимые углы:

,

и

(см.
таблицу 12).
Таблица 12
Стандартные допустимые углы
и предельно допустимые отклонения
Тип стандартного напольного покрытия | | CrD95 |
E | 10,7° | 3,7° |
P | 18,2° | 2,7° |
R | 26,8° | 2,3° |
Перед проведением основного испытания испытатель трижды испытывает каждое из трех стандартных напольных покрытий в соответствии с
14.3.4. При этом устанавливают допустимые углы калибровки и рассчитывают их средние значения:

;

и

. По полученным средним значениям и стандартным допустимым углам рассчитывают индивидуальные значения поправок:

;

и

.
Критическая разность CrD обозначает диапазон, в пределах которого отклонения измеряемых значений случайны при измерениях на одном и том же покрытии на разных испытательных площадках (предел сравнения) или при повторных измерениях в одной и той же испытательной установке (предел повторения).
Для трех стандартных напольных покрытий были определены критические разности (предельно допустимые отклонения) для уровня доверительной вероятности 95%,
CrD95, приведенные в
таблице 12.
Испытания проводят два испытателя. Допустимые углы, полученные испытателями на разных стандартных напольных покрытиях, обозначают соответственно

,

,

и

,

,

. Индивидуальные значения поправок обозначают соответственно

,

,

и

,

,

.
Если индивидуальные значения поправок находятся в пределах критической разности, то результаты, полученные испытателями, учитывают при расчетах. Если индивидуальное значение поправки превышает критическую разность (предельно допустимое отклонение), то результаты соответствующего испытателя исключают и заменяют его другим испытателем.
14.3.4 Проведение испытаний
14.3.4.1 Температура в помещении, где проводят испытание, температура обуви, смазки и наклонной плоскости должны быть (23 +/- 5) °C.
14.3.4.2 Из подлежащих испытанию изделий выкладывают фрагмент напольного покрытия размером приблизительно 100 x 50 см.
Напольное покрытие, подлежащее испытанию, должно быть либо самонесущим, либо изготавливаться как самонесущая, без деформаций панель с плоской нижней стороной, либо укладываться на плоские панели из материала, не подверженного деформации.
Проверяемая поверхность должна быть четко идентифицирована или ее маркируют как таковую.
Изделия с направленным профилированием или шероховатостью следует испытывать таким образом, чтобы направление наименьшего сопротивления скольжению соответствовало направлению движения, что должно быть определено предварительными испытаниями. Напольные покрытия из отдельных прямоугольных форматов без направленного профилирования или шероховатости располагают длинной стороной в направлении движения.
Перед испытанием поверхность изделий должна быть очищена от загрязнений.
Образец напольного покрытия из испытуемых изделий выкладывают тем же способом, который применяют для укладки пола из данного вида изделий в реальных условиях.
14.3.4.3 Перед началом испытаний на поверхность испытуемых изделий наносят (200 +/- 1) см3 смазки на квадратный метр, равномерно распределяя смазку по поверхности с помощью щетки. Подошву обуви с помощью щетки покрывают смазкой.
14.3.4.4 В исходном положении площадку устанавливают горизонтально (угол наклона 0°). Испытатель, находясь в вертикальном положении, с увеличением угла наклона площадки шагает в направлении вниз по площадке с шагом в половину длины обуви вперед и назад. Угол наклона площадки увеличивают со скоростью около 1° в секунду.
Угол, при котором испытатель достигает безопасного предела ходьбы (допустимый угол), определяют путем многократного перемещения вверх и вниз около критической области. Допустимый угол испытуемого покрытия определяют три раза. Каждый раз перед вторым и третьим испытаниями смазку снова распределяют по поверхности с помощью щетки.
Испытание проводят два испытателя.
Для безопасности испытателя продольные стороны испытательного устройства оборудуют перилами. Испытатель дополнительно должен быть защищен от падения с помощью подходящего страховочного устройства, которое также предохраняет испытателя от падения в случае случайного перемещения.
Изменение угла наклона платформы проводят либо непрерывно, либо ступенчато с шагом 0,5°. Датчик углового перемещения, прикрепленный к испытательному устройству, должен указывать угол наклона платформы относительно горизонтали с точностью +/- 0,2°.
14.3.5 Обработка результатов
Для каждого испытателя рассчитывают среднее значение допустимого угла по результатам трех проведенных испытаний (

- средний допустимый угол для первого испытателя и

- средний допустимый угол для второго испытателя).
Для каждого испытателя рассчитывают, в зависимости от значений

и

, среднее значение поправки (
D1 и
D2 соответственно) согласно формулам, приведенным в
таблице 13. Затем для каждого испытателя рассчитывают скорректированный допустимый угол

и

путем прибавления поправки
D1 и
D2 к полученным ранее в результате испытаний средним допустимым углам

и

соответственно.
Таблица 13
Формулы для вычисления поправок
в зависимости от среднего допустимого угла
Условия | Формула для вычисления поправки P1 |
| | (17) |
| | (18) |
| | (19) |
| | (20) |
В
таблице 13 приведен расчет поправок для первого испытателя. Для второго испытателя расчет поправок выполняют аналогичным образом.
Рассчитывают среднеарифметическое значение

скорректированных допустимых углов

и

. По полученному значению

присваивают класс сопротивления скольжению согласно таблицам 14 и
15.
Таблица 14
Класс сопротивления скольжению
(полы промышленных и гражданских зданий)
Угол наклона  , град | Группа классификации |
| Вне классификации |
| R9 |
| R10 |
| R11 |
| R12 |
| R13 |
Таблица 15
Класс сопротивления скольжению (влажная поверхность)
Угол наклона  , град | Группа классификации |
| A |
| B |
| C |
14.4 Определение динамического коэффициента трения на увлажненной поверхности
Сопротивление скольжению плитки характеризуют значением динамического коэффициента трения, который измеряют датчиком трения, встроенным в измерительный прибор.
14.4.2 Приборы и материалы
14.4.2.1 Устройство испытательное автоматическое ВОТ 3000 (см.
рисунок 28) или аналогичное, способное измерять статический и динамический коэффициент трения при перемещении на стандартное расстояние 254 мм. Если размер плитки составляет менее 254 x 254 мм или более 101,6 x 101,6 мм, испытание проводят на максимально большом расстоянии, которое доступно для плитки. Для мозаичной плитки необходимо изготовить образец размером 254 x 254 мм или более, выложив плитку на твердую ровную поверхность впритык друг к другу, и выполнить испытание при перемещении на 254 мм. Тензодатчик поверяют ежедневно, используя поверочный груз, предоставленный производителем. Верхний предел измерения для ВОТ 3000 равен 1,00. Если во время испытания ВОТ 3000 показывает значение 1,00, то принимают значение, равное или более 1,00.
Рисунок 28 - Измерительное устройство ВОТ 3000
14.4.2.2 Приспособление для шлифования, механическое с внутренним радиусом 68 мм как показано на
рисунках 29 и
30 или любое другое. Шлифовальное устройство должно быть оборудовано стальной пружиной длиной 55,6 мм с внешним диаметром 19,1 мм и диаметром проволоки 1,57 мм [с постоянной пружины
k = (1,31 +/- 0,09) Н/мм].
Рисунок 29 - Схема приспособления для шлифования
Рисунок 30 - Шлифовальное приспособление
с наклеенной шлифовальной шкуркой
14.4.2.3 SBR-датчики
(рисунок 31) с новой поверхностью из резины толщиной (4,0 +/- 0,2) мм и твердостью по Шору А 95 +/- 3. Использовать датчик с толщиной резины менее 2,5 мм не допускается.
Рисунок 31 - Внешний вид SBR датчика
14.4.2.4 Плитки стандартные ВОТ 3000 или аналогичные, три вида.
14.4.2.5 Натрия лаурилсульфат (SLS), 0,05%-ный раствор. Поступающий в продажу лаурилсульфат натрия имеет более высокие концентрации, чем необходимо для этого испытания. Перед применением купленный раствор разбавляют дистиллированной или деионизированной водой до получения раствора с концентрацией SLS 0,05%.
14.4.2.6 Очиститель для полного удаления поверхностных загрязнений или любое бытовое слабощелочное моющее средство.
14.4.2.7 Полотенце или бумажная салфетка, которые после использования не оставляют волокон.
14.4.2.8 Щетка из мягкой щетины.
14.4.2.9 Шкурка шлифовальная на основе карбида кремния, водостойкая, 400 зернистости (30 мкм), супертонкая.
14.4.2.10 Спрей-клей, многоцелевой спрей-клей.
14.4.2.11 Кисть для краски.
14.4.3 Проведение испытания
14.4.3.1 Процедура шлифовки (подготовки) датчика
а) Разрезают шлифовальную шкурку на полоски размером 38,1 x 228,6 мм. Используя многоцелевой спрей-клей, слегка распыляют его на оборотную часть наждачной бумаги. Необходимо убедиться, что клей не загрязняет лицевую поверхность наждачной бумаги.
б) Прикрепляют бумагу к шлифовальному устройству
(14.4.2.2) краем бумаги заподлицо с задней стороной шлифовального устройства. Дают высохнуть клею в соответствии с инструкцией производителя или до тех пор, пока бумага не будет надежно закреплена на месте (см.
рисунок 30).
в) Вставляют датчик в держатель шлифовального устройства. При необходимости смачивают наждачную бумагу, чтобы уменьшить ее износ. Нажимая на датчик (удерживая края датчика), поворачивают держатель датчика до тех пор, пока обрезиненная поверхность SBR полностью не ляжет на наждачную бумагу. Датчик должен плотно прижиматься к наждачной бумаге.
г) Перемещают датчик, водя его назад и вперед по наждачной бумаге. Периодически вынимают датчик для осмотра поверхности резины. Очищают наждачную бумагу и обрезиненную поверхность датчика щеткой для удаления лишнего материала.
д) Когда датчик не будет иметь линию износа по центру, его считают готовым к использованию (
рисунки 32 и
33).
Рисунок 32 - Внешний вид датчика SBR с линией износа
Рисунок 33 - Внешний вид датчика SBR без линии износа
<*>
--------------------------------
<*> После шлифования могут быть следы от шлифовальной шкурки.
14.4.3.2 Проверка датчика
а) Перед испытанием стандартная плитка должна быть очищена моющим средством до полного удаления поверхностных загрязнений. Теплой водопроводной водой очищают плитку и удаляют с помощью мягкой щетки пыль и мусор, скопившиеся на поверхности. Тщательно промывают плитку, чтобы удалить все моющие средства.
б) Сушку плитки проводят на воздухе в естественных условиях, или промокая сухой тканью либо бумагой, не оставляющих следов, или феном для волос.
в) Выкладывают три стандартных плитки на жесткую поверхность в ряд с краями, скрепленными вместе. Смачивают поверхность плитки, по которой будет перемещаться датчик, 0,05%-ным раствором SLS
(14.4.2.5).
г) Проводят одно динамическое измерение на центральной плитке. Если значение находится между 0,28 и 0,31, датчик считают готовым к испытаниям. Если полученное значение выходит за пределы указанного диапазона, повторяют процедуры по
14.4.3.1, перечисления в) -
д). Если после нескольких попыток повторного шлифования датчика среднее значение не попадает в указанный диапазон, следует использовать новый датчик, или стандартная плитка должна быть повторно очищена или заменена.
14.4.3.3 Определение динамического коэффициента трения на поверхности, смоченной 0,05%-ным раствором SLS
а) Перед испытанием все образцы должны быть очищены моющим средством до полного удаления поверхностных загрязнений. Теплой водопроводной водой очищают плитку и удаляют с помощью мягкой щетки пыль и мусор, скопившиеся на поверхности. Тщательно промывают плитку, чтобы удалить все моющие средства.
б) Сушку проводят на воздухе в естественных условиях, или сухой тканью либо бумагой, не оставляющих следов, или феном для волос.
в) Выкладывают три образца на жесткую поверхность в ряд. Смачивают поверхность плитки, по которой будет перемещаться датчик, 0,05%-ным раствором SLS таким образом, чтобы по смоченной поверхности перемещался только датчик, а колеса катились по сухой поверхности.
г) Выполняют четыре измерения на центральной плитке. После первого измерения поворачивают ВОТ 3000 на 180° и выполняют второе измерение. Затем поворачивают плитку на 90° и выполняют последние два измерения таким же образом, как указано выше. Если происходит проскальзывание колес, результаты считают недействительными. В этом случае колеса должны быть очищены и тщательно высушены, после чего проводят дополнительные измерения.
д) Записывают результаты всех четырех измерений, затем вычисляют среднее значение.
е) Повторяют требования
перечислений а) -
д) на двух оставшихся плитках. Перед измерениями выполняют действия по подготовке датчика к работе согласно
14.4.3.1, перечисления в) -
д). Для текстурированной плитки три подвергаемые испытаниям образца плитки должны быть представлены различными вариациями текстуры. Если известно, что плитка имеет более трех вариантов текстуры, необходимо испытать образцы плиток с каждой текстурой.
ж) После испытания всех плиток выравнивают поверхность датчика SBR согласно
14.4.3.1, затем проводят проверку датчика согласно
14.4.3.2 и записывают результат. Если полученное значение выходит за пределы диапазона от 0,27 до 0,32, определяют источник ошибки, выполняют корректирующие действия и повторяют всю процедуру поверки.
14.4.4 Определение динамического коэффициента трения сухой поверхности (при необходимости)
Для определения динамического коэффициента трения сухой поверхности справедливы все требования по
14.4.1 -
14.4.3, за исключением шлифовки датчика. Повторяют указанные процедуры, опуская процедуру шлифовки датчика, и выполняют поверку датчика в сухом состоянии. В качестве диапазона поверки датчика используют значения от 0,67 до 0,73.
15 Определение устойчивости к образованию пятен
15.1 Область применения
Настоящий раздел устанавливает методы испытаний по определению устойчивости лицевых поверхностей керамических плиток к образованию пятен.
15.2 Сущность метода
Устойчивость керамических плиток к образованию пятен определяют путем воздействия испытательных растворов и материалов на лицевую поверхность керамических плиток в течение соответствующего периода времени. После этого поверхность керамических плиток очищают установленным способом и обследуют на видимые изменения.
15.3 Пятнообразователи
15.3.1 Следообразующие пятнообразователи (пасты)
15.3.1.1 Зеленые пятнообразователи в жидкотекучем масле - в соответствии с требованиями
приложения А или техническая окись хрома по
ГОСТ 2912 в глицерине по
ГОСТ 6823.
15.3.1.2 Красные пятнообразователи в жидкотекучем масле (только для керамических плиток, окрашенных в зеленый цвет) - в соответствии с требованиями
приложения Б, или техническая окись железа по действующему нормативному документу <*> в глицерине по
ГОСТ 6823.
--------------------------------
<*> В Российской Федерации действуют ТУ 6-09-4816-80 "Железа (III) окись (железа окись, железа трехокись) для ферритов ММ-2 квалификации чистый".
15.3.2 Пятнообразователи химического/окислительного действия
15.3.2.1 Йод по
ГОСТ 4159, спиртовой раствор 13 г/дм
3.
15.3.2.2 Метиленовый синий по действующему в стране нормативному документу <**>, 10%-ный раствор, или перманганат калия по
ГОСТ 20490, 10%-ный раствор.
--------------------------------
<**> В Российской Федерации действуют ТУ 6-09-1671-77 "Эозин метиленовый синий по МАЙ-грюнвальду (сухой) квалификации чистый".
15.3.3 Пленкообразующие пятнообразователи
15.4 Средства и способы очистки образцов
15.4.1 Очистительные средства
15.4.1.1 Горячая вода температурой (55 +/- 5) °C.
15.4.1.2 Слабые очистительные средства без абразивного материала, со значением pH от 6,5 до 7,5.
15.4.1.3 Сильные очистительные средства с абразивными материалами, со значением pH от 9 до 10.
Применяемые очистительные средства не должны содержать плавиковую кислоту или ее соединения.
15.4.2 Применяемые растворители
15.4.2.1 Раствор соляной кислоты с объемной долей 3%, приготовленный из трех объемных частей концентрированной соляной кислоты по
ГОСТ 3118 
и 97 объемных частей дистиллированной воды.
15.4.2.2 Гидроокись калия по
ГОСТ 24363, раствор 200 г/дм
3.
Другие применяемые специальные растворители указывают в протоколе испытаний.
15.4.3 Способы очистки и применяемые приспособления
Испытуемые образцы в течение 5 мин очищают под проточной горячей водой, после чего их поверхность протирают влажной салфеткой.
Испытуемые образцы вручную очищают слабым очистительным средством с применением нецарапающих натуральных губок или салфеток. После этого их поверхность промывают под проточной водой и протирают влажной салфеткой.
Очистку испытуемых образцов проводят механически с применением сильных очистительных средств.
Возможные механические приспособления:
- вращающаяся щетка диаметром 8 см с жесткой щетиной и скоростью вращения 500 мин-1;
- емкость для очистительного средства с соответствующей подачей, соединенная с щеткой.
Очистку проводят 2 мин, после этого поверхность промывают проточной водой и протирают влажной салфеткой.
Испытуемые образцы на 24 ч погружают в соответствующий растворитель, после чего поверхность тщательно промывают под проточной водой и протирают влажной салфеткой.
Очистку считают законченной после удаления пятна одним из растворителей.
15.5 Вспомогательные средства
Шкаф сушильный с температурой (110 +/- 5) °C.
Допускается применение микроволновых, инфракрасных или других сушильных систем с условием получения сопоставимых результатов.
15.6 Испытуемые образцы
Применяют пять неповрежденных испытуемых образцов, состоящих из целых керамических плиток или их частей. Для исключения слияния пятнообразователей требуется достаточно большая поверхность. Если керамические плитки имеют небольшие размеры, допускается использовать дополнительные керамические плитки. Испытуемые образцы тщательно очищают водой и подсушивают в сушильном шкафу при температуре (110 +/- 5) °C до постоянной массы, т.е. пока разница между последовательными взвешиваниями будет составлять не более 0,1 г. После этого испытуемые образцы в эксикаторе охлаждают до комнатной температуры.
15.7 Порядок проведения испытаний
15.7.1 Нанесение пятнообразователя
По поверхности распределяют три-пять капель пятнообразователя (см.
15.3.1.1 и
15.3.1.2) и на отдельные зоны поверхности добавляют три-четыре капли каждой жидкости (см.
15.3.2.1 и
15.3.3). Для придания нанесенным каплям округлой формы на них накладывают выпуклое стекло для часов диаметром 30 мм. Пятнообразователи оставляют под часовым стеклом приблизительно на 24 ч.
15.7.2 Этапы удаления пятен
Испытуемые образцы, подготовленные в соответствии с
15.7.1, подвергают очистке одним из способов, указанных в 15.4.3 (
способы A,
B,
C,
D).
После каждой очистки испытуемые образцы просушивают в сушильном шкафу при температуре (110 +/- 5) °C и исследуют их поверхность. Исследование поверхности проводят визуально на расстоянии от 25 до 30 см при дневном или искусственном освещении (примерно 300 лк); прямого солнечного освещения следует избегать.
Образование пятен при применении приведенных в
15.3.1 пятнообразователей указывают только при наличии следа красящего вещества. При отсутствии видимого воздействия, т.е. если пятно удалено, класс очистки определяют по
рисунку 34. При неудаленном пятне применяют следующий способ очистки согласно схеме (см.
рисунок 34).
1 - 5 - классы очистки
Рисунок 34 - Схема классификации результатов испытаний
с применением пятнообразователей
15.8 Классификация по результатам испытаний
По результатам испытаний, полученным согласно
15.7.1 и
15.7.2, поверхности испытуемых образцов подразделяют на пять классов, указанных на
рисунке 34.
Результаты испытаний по каждому образцу с применением каждого из установленных пятнообразователей (с испытанием неглазурованных керамических плиток на износ или без данного испытания) регистрируют.
Класс 5 соответствует самой легкой ступени очистки пятна; класс 1 означает, что пятно не поддается очистке ни одним из указанных способов и/или свидетельствует о наличии необратимого повреждения лицевой поверхности.
16 Определение выделяющихся свинца и кадмия
16.1 Область применения
Настоящий раздел устанавливает метод испытаний по определению выделяющегося свинца и кадмия из глазурованных плиток.
16.2 Сущность метода
Глазурованную поверхность керамической плитки подвергают воздействию раствора уксусной кислоты и соответствующим методом определяют количество свинца и кадмия, переходящего в раствор.
16.3 Реактивы
16.3.1 Если не установлено другое, то для анализа применяют реактивы квалификации не ниже ч. д. а. и дистиллированную воду.
16.3.2 Испытательный раствор - 4%-ный (по объему) раствор уксусной кислоты: 40 см
3 уксусной кислоты по
ГОСТ 61 добавляют к 960 см
3 дистиллированной воды.
16.4 Приборы и вспомогательные средства
16.4.1 Спектрометр абсорбционный или другой прибор, пригодный для анализа растворов на содержание свинца и кадмия.
16.4.2 Масса уплотнительная силиконовая в тюбике, из которого можно выдавить полоску силикона (нейтрально твердеющего) диаметром около 6 мм.
16.4.3 Крышка герметичная из стекла или пластика.
16.4.4 Средство очистительное.
16.4.5 Салфетка белая хлопчатобумажная или льняная.
16.4.6 Цилиндр мерный.
16.5 Испытуемые образцы
Испытывают не менее пяти целых керамических плиток.
Поверхность испытуемой керамической плитки должна быть чистой, без наличия жира или других веществ, которые могли бы повлиять на результаты испытаний. Для очистки керамическую плитку тщательно промывают водопроводной водой с небольшим количеством очистительного средства, ополаскивают дистиллированной водой и затем просушивают, давая воде стечь, или используют мягкую чистую салфетку. После очистки не допускается дотрагиваться до глазурованной поверхности.
На глазурованную поверхность керамической плитки по всему периметру наносят полоску силикона шириной 6 мм. Полоска силикона должна быть сплошной и полностью прилегать к глазури плитки. Высота полоски силикона над глазурованной поверхностью должна составлять не менее 4 мм, чтобы вместить достаточное количество испытательного раствора. Уложенный силикон оставляют сохнуть в течение ночи.
Испытуемую поверхность A измеряют и рассчитывают ее площадь в квадратных дециметрах.
16.6 Порядок проведения испытаний
16.6.1 Экстрагирование уксусной кислотой
В помещении с температурой (20 +/- 2) °C керамическую плитку укладывают на ровную горизонтальную поверхность. Образованное полоской силикона пространство заполняют испытательным раствором, имеющим температуру помещения. Объем раствора V измеряют мерным цилиндром.
С целью сведения к минимуму загрязнения и испарения над керамической плиткой устанавливают крышку. Типовая компоновка испытательного устройства представлена на
рисунке 35. Во время испытаний температура окружающего воздуха должна составлять (20 +/- 2) °C, все устройство должно быть защищено от солнечного света и других источников тепла.
1 - крышка; 2 - силиконовая уплотнительная масса;
3 - керамическая плитка или плита; 4 - испытательный раствор
Рисунок 35 - Способ накрытия
керамической плитки во время испытаний
Через 24 ч крышку снимают и для обеспечения однородности раствор тщательно перемешивают. Для анализа отбирают необходимое количество раствора.
16.6.2 Определение выделяющихся свинца и кадмия
Количество выделившихся свинца и кадмия определяют соответствующим методом, например методом атомно-абсорбционной спектрометрии. При этом необходимо учитывать содержание малых долей свинца и кадмия в применяемом испытательном растворе и воде, например посредством контрольной пробы.
16.7 Обработка результатов
Удельную массу свинца Pb и кадмия Cd, выделившихся из испытуемой поверхности

, мг/дм
2, вычисляют по формуле

(21)
где М - выделившийся металл (Pb или Cd);

- концентрация металла М в экстрагированном растворе, определяемая согласно
16.6.2, мг/дм
3;
V - объем уксусной кислоты, см3;
A - площадь испытуемой поверхности, дм2.
17 Определение незначительных цветовых отклонений
17.1 Область применения
Настоящий раздел устанавливает метод определения количественных отклонений цвета керамических плиток от эталона посредством приборного измерения данных отклонений.
Настоящий стандарт не распространяется на метод испытаний по определению оттенков окраски, создаваемых для художественного оформления.
17.2 Сущность метода
Цветовые различия определяют путем непосредственных замеров.
Измеренное цветовое различие испытуемого образца

сравнивают с нормируемым значением, применяя предварительно согласованный коммерческий фактор
cf либо коммерческий фактор
cf, применяемый в промышленности по производству керамических плиток.
Примечание - Результатом колориметрии является показатель отклонения цвета, а не рисунка в целом. Расчеты действительны, если эталон и образец имеют одинаковый глянец и одинаковую структуру поверхности.
17.3 Испытательное оборудование
Для колориметрии применяют отражательный спектрофотометр или трехдиапазонный колориметр с тремя источниками цвета. Геометрия прибора должна соответствовать одному из четырех условий освещения и рассматривания, установленных Международной комиссией по освещению CIE. Геометрию прибора идентифицируют по условию: геометрия освещения/геометрия рассматривания. Четырьмя утвержденными геометриями приборов с их сокращениями являются: 45/нормальная (45/0), нормальная/45, диффузная/нормальная (d/0) и нормальная/диффузная (0/d). Угол между нормалью образца и лучом освещения при геометрии 0/d и угол между нормалью образца и направлением рассматривания в геометрии d/0 не должен превышать 10°.
17.4 Порядок проведения измерений
17.4.1 Испытуемые образцы
17.4.1.1 Образец-эталон
Для достоверности результатов измерения цветовых отклонений применяют одну или несколько керамических плиток с такими же цветовыми пигментами или их сочетаниями, как и в испытуемых образцах. Как правило, применяют не менее пяти характерных керамических плиток. При очень ограниченном числе керамических плиток применяют самую(ые) характерную(ые) плитку(и).
17.4.1.2 Испытуемый образец
Для определения числа случайно отобранных керамических плиток из характерных плиток применяют статистические методы. Во всех случаях их число должно быть не менее пяти.
17.4.1.3 Подготовка образцов
Поверхность, предназначенную для измерения, очищают мягкой тканью от пыли и грязи.
17.4.2 Проведение измерений
Включают прибор.
Калибруют прибор с помощью калибровочной панели.
Проверяют настройки цветового пространства, источника, зеркальной составляющей и т.п., при необходимости корректируют.
Включают режим сравнения.
Измеряют цвет эталона.
Измеряют величины цветовых отклонений по каждой плитке в центре и по краям.
17.4.3 Обработка результатов в системе CIELAB
Рассчитывают отклонение цвета плиток от эталона как среднеарифметическое всех измерений.
18 Определение устойчивости к растрескиванию глазури
18.1 Область применения
В настоящем разделе установлен метод испытания по определению устойчивости к растрескиванию глазури керамических плиток, за исключением случаев, когда трещины глазури являются характерной особенностью изделия.
18.2 Сущность метода
Для определения устойчивости к растрескиванию глазури все плитки подвергают в автоклаве воздействию пара под высоким давлением. Затем плитки, после нанесения на глазурованные поверхности красителя, исследуют на наличие трещин глазури.
18.3 Оборудование и материалы
18.3.1 Автоклав достаточного размера для размещения пяти плиток во время испытания на определенном расстоянии друг от друга. Как правило, в автоклав в течение 2 ч от внешнего источника подают пар давлением (500 +/- 20) кПа и температурой (159 +/- 1) °C. Допускается применение автоклава прямого нагрева.
18.3.2 Метиленовый синий по
15.3.2.2, 1%-ный водный раствор.
18.4 Испытуемые образцы
18.4.1 Испытанию подвергают не менее пяти целых плиток.
18.4.2 Плитки больших размеров допускается нарезать на части, которые возможно разместить в автоклаве, при этом должны испытываться все нарезанные части. Нарезаемые части должны быть насколько возможно большими.
18.5 Порядок проведения испытания
18.5.1 Сначала плитки исследуют визуально на наличие дефектов на удалении 25 - 30 см при освещенности не менее 300 лк. К началу испытания на образцах не должно быть трещин. Перед испытанием для обнаружения трещин в глазури допускается использовать раствор метилена синего по
18.3.2. За исключением случая свежеобожженных керамических плиток, подлежащих испытанию в рамках стандартной программы обеспечения качества на предприятии, плитки должны быть подготовлены путем повторного нагрева до температуры (500 +/- 15) °C со скоростью не более 150 °C/ч и выдержки в печи при данной температуре в течение не менее 2 ч.
18.5.2 Испытуемые образцы помещают в автоклав
(18.3.1) на некотором расстоянии друг от друга. В течение 1 ч в автоклаве постепенно повышают давление пара до (500 +/- 20) кПа, создавая температуру (159 +/- 1) °C, и выдерживают при данных параметрах в течение 2 ч. Затем подачу пара (или нагрев в автоклавах с прямым нагревом) приостанавливают, давление быстро понижают до атмосферного, испытуемые образцы оставляют в автоклаве охлаждаться. Окончательное охлаждение испытуемых образцов проводят в лабораторных условиях, раскладывая их на ровной основе на 0,5 ч.
18.5.3 Затем на глазурованные поверхности испытуемых образцов наносят соответствующий краситель, например раствор метиленового синего по
18.3.2 с небольшим добавлением смачивающего агента. Через минуту краситель удаляют влажной салфеткой.
18.5.4 Испытуемые образцы исследуют на наличие трещин в глазури, не принимая во внимание наличие царапин. Трещины черепка плитки также не принимают во внимание. Примеры трещин глазури даны на
рисунке 36.
а) Плитки с гладкой поверхностью
б) Декоративные плитки
в) Плитки с рельефной поверхностью
Рисунок 36 - Примеры трещин глазури <*>
--------------------------------
<*> Любое сходство с существующими плитками является случайным.
19 Определение прочности наклеивания плиток на основу (для ковров)
19.1 Область применения
В настоящем разделе установлен метод испытания по определению прочности наклеивания керамических плиток на основу при изготовлении ковров.
19.2 Испытуемые образцы
Испытанию подвергаются пять ковров.
19.3 Порядок проведения испытаний
19.3.1 Прочность наклеивания плиток площадью не более 25 см2 на основу в коврах определяют плотным свертыванием ковра в рулон основой внутрь и его последующим развертыванием. В начале свертывания ковра два смежных крайних ряда плиток должны соприкасаться поверхностями, наклеенными на основу.
После трехкратного свертывания и развертывания ни одна плитка не должна оторваться от основы.
В случае, если для ковров из плиток указанного размера невозможно применить данный метод (например, ковры "брекчия" и др.), прочность наклеивания плиток для таких ковров определяют по 19.3.2.
19.3.2 Прочность наклеивания плиток площадью свыше 25 см2 на основу в коврах определяют, подвесив ковер в вертикальном положении не менее чем на 1 мин. При этом ни одна плитка не должна оторваться от основы.
(обязательное)
ТРЕБОВАНИЯ К ЗЕЛЕНЫМ ПЯТНООБРАЗОВАТЕЛЯМ
В ЖИДКОТЕКУЧЕМ МАСЛЕ
А.1 Зеленые пятнообразователи (хромовая зелень)
Формула - Cr2O3.
Примерный гранулометрический состав приведен в таблице А.1.
Таблица А.1
Размер частиц, мкм | Массовая доля частиц, % не более |
0,5 | 10,0 |
1,0 | 29,2 |
2,0 | 43,7 |
3,0 | 50,0 |
5,0 | 66,3 |
10,0 | 78,8 |
20,0 | 89,6 |
32,0 | 93,0 |
64,0 | 97,4 |
96,0 | 100,0 |
А.2 Жидкотекучее масло
Масло, состоящее из сложного эфира глицерола и органической кислоты (кислот). Относительная молекулярная масса сложного эфира находится в диапазоне от 300 до 500.
А.3 Испытательная паста
Испытательная паста представляет собой смесь окиси хрома по
ГОСТ 2912 с жидкотекучим маслом или глицерином по
ГОСТ 6823. Пасту перемешивают до полного диспергирования. Содержание Cr
2O
3 в пасте - 40% по массе.
(обязательное)
ТРЕБОВАНИЯ К КРАСНЫМ ПЯТНООБРАЗОВАТЕЛЯМ
В ЖИДКОТЕКУЧЕМ СОСТОЯНИИ
Б.1 Красные пятнообразователи
Формула - Fe2O3.
Примерный гранулометрический состав приведен в таблице Б.1.
Таблица Б.1
Размер частиц, мкм | Массовая доля частиц, % не более |
1,0 | 51,3 |
2,0 | 53,9 |
5,0 | 71,0 |
10,0 | 82,2 |
15,0 | 88,3 |
20,0 | 88,8 |
25,0 | 96,5 |
41,0 | 96,5 |
64,0 | 100,0 |
Б.2 Жидкотекучее масло
Масло, состоящее из сложного эфира глицерола и органической кислоты (кислот). Относительная молекулярная масса сложного эфира находится в диапазоне от 300 до 500.
Б.3 Испытательная паста
Испытательная паста представляет собой смесь окиси железа по
15.3.1.2 с жидкотекучим маслом или глицерином по
ГОСТ 6823. Пасту перемешивают до полного диспергирования. Содержание Fe
2O
3 в пасте - 40% по массе.
УДК 691.43-431.001.4:006.354 | |
Ключевые слова: плитка керамическая, внутренняя облицовка стен, покрытие полов, отделка фасадов, методы испытаний |