Главная // Актуальные документы // ГОСТ (Государственный стандарт)СПРАВКА
Источник публикации
М.: ФГБУ "РСТ", 2022
Примечание к документу
Текст данного документа приведен с учетом
поправки, опубликованной в "ИУС", N 9, 2023.
Документ
введен в действие с 01.06.2022.
Название документа
"ГОСТ 34823-2022. Межгосударственный стандарт. Магистральный трубопроводный транспорт нефти и нефтепродуктов. Организация и производство строительно-монтажных работ на территории распространения многолетнемерзлых грунтов"
(введен в действие Приказом Росстандарта от 15.02.2022 N 67-ст)
"ГОСТ 34823-2022. Межгосударственный стандарт. Магистральный трубопроводный транспорт нефти и нефтепродуктов. Организация и производство строительно-монтажных работ на территории распространения многолетнемерзлых грунтов"
(введен в действие Приказом Росстандарта от 15.02.2022 N 67-ст)
агентства по техническому
регулированию и метрологии
от 15 февраля 2022 г. N 67-ст
МЕЖГОСУДАРСТВЕННЫЙ СТАНДАРТ
МАГИСТРАЛЬНЫЙ ТРУБОПРОВОДНЫЙ ТРАНСПОРТ
НЕФТИ И НЕФТЕПРОДУКТОВ
ОРГАНИЗАЦИЯ И ПРОИЗВОДСТВО СТРОИТЕЛЬНО-МОНТАЖНЫХ РАБОТ
НА ТЕРРИТОРИИ РАСПРОСТРАНЕНИЯ МНОГОЛЕТНЕМЕРЗЛЫХ ГРУНТОВ
Trunk pipeline transport of oil and oil products.
Organization and production of construction and installation
works in permafrost distribution area
ГОСТ 34823-2022
Дата введения
1 июня 2022 года
Цели, основные принципы и общие правила проведения работ по межгосударственной стандартизации установлены
ГОСТ 1.0 "Межгосударственная система стандартизации. Основные положения" и
ГОСТ 1.2 "Межгосударственная система стандартизации. Стандарты межгосударственные, правила и рекомендации по межгосударственной стандартизации. Правила разработки, принятия, обновления и отмены"
1 РАЗРАБОТАН Обществом с ограниченной ответственностью "Научно-исследовательский институт трубопроводного транспорта" (ООО "НИИ Транснефть")
2 ВНЕСЕН Межгосударственным техническим комитетом по стандартизации МТК 523 "Техника и технологии добычи и переработки нефти и газа"
3 ПРИНЯТ Межгосударственным советом по стандартизации, метрологии и сертификации (протокол от 31 января 2022 г. N 147-П)
За принятие проголосовали:
Краткое наименование страны по МК (ИСО 3166) 004-97 | Код страны по МК (ИСО 3166) 004-97 | Сокращенное наименование национального органа по стандартизации |
Азербайджан | AZ | Азстандарт |
Армения | AM | ЗАО "Национальный орган по стандартизации и метрологии" Республики Армения |
Беларусь | BY | Госстандарт Республики Беларусь |
Казахстан | KZ | Госстандарт Республики Казахстан |
Киргизия | KG | Кыргызстандарт |
Россия | RU | Росстандарт |
Таджикистан | TJ | Таджикстандарт |
Узбекистан | UZ | Узстандарт |
4
Приказом Федерального агентства по техническому регулированию и метрологии от 15 февраля 2022 г. N 67-ст межгосударственный стандарт ГОСТ 34823-2022 введен в действие в качестве национального стандарта Российской Федерации с 1 июня 2022 г.
5 ВВЕДЕН ВПЕРВЫЕ
Информация о введении в действие (прекращении действия) настоящего стандарта и изменений к нему на территории указанных выше государств публикуется в указателях национальных стандартов, издаваемых в этих государствах, а также в сети Интернет на сайтах соответствующих национальных органов по стандартизации.
В случае пересмотра, изменения или отмены настоящего стандарта соответствующая информация будет опубликована на официальном интернет-сайте Межгосударственного совета по стандартизации, метрологии и сертификации в каталоге "Межгосударственные стандарты"
1.1 Настоящий стандарт устанавливает основные положения по строительству объектов магистрального трубопровода для транспортировки нефти и нефтепродуктов, расположенных на территории распространения многолетнемерзлых грунтов.
Примечание - В настоящем стандарте понятие "строительство" включает в себя строительство, реконструкцию, капитальный ремонт и техническое перевооружение объектов магистрального трубопровода для транспортировки нефти и нефтепродуктов.
1.2 Настоящий стандарт распространяется на линейную часть магистрального трубопровода для транспортировки нефти и нефтепродуктов, в том числе на ответвления от нее, номинальным диаметром до DN 1200 включительно с избыточным давлением не выше 10 МПа включительно, и площадочные объекты магистрального трубопровода для транспортировки нефти и нефтепродуктов.
Примечание - Под площадочным объектом понимают объект магистрального трубопровода для транспортировки нефти и нефтепродуктов, предназначенный для выполнения одной или нескольких технологических операций по приему, накоплению, учету, поддержанию необходимого режима перекачки, перевалке нефти и нефтепродуктов, подогреву, смешению нефти. В состав площадочного объекта входят здания, сооружения, строительные конструкции, технологические трубопроводы, сети инженерно-технического обеспечения и системы инженерно-технического обеспечения, механо-технологическое оборудование, технические устройства, обеспечивающие соответствие объекта магистрального трубопровода требованиям безопасности.
1.3 Настоящий стандарт не распространяется на строительство:
- объектов магистрального трубопровода, предназначенных для транспортировки других сред, кроме нефти и нефтепродуктов;
- объектов промысловых и межпромысловых трубопроводов;
- объектов магистрального трубопровода, расположенных в зонах морских акваторий;
- объектов магистрального трубопровода, расположенных в зонах активных тектонических разломов, подземных горных разработок, площадках с сейсмичностью более 9 баллов по шкале MSK-64
[1].
1.4 В настоящем стандарте приведены основные положения, которые обусловлены особенностями выполнения строительно-монтажных работ при строительстве объектов магистрального трубопровода, расположенных на территории распространения многолетнемерзлых грунтов, и связаны с сезонностью выполнения работ, необходимостью применения мероприятий по недопущению развития негативных процессов и явлений, мониторингу состояния конструкций и природной среды и другими факторами.
1.5 Настоящий стандарт предназначен для применения организациями, осуществляющими проектирование, строительство, техническое перевооружение, реконструкцию, капитальный ремонт, а также строительный контроль объектов магистрального трубопровода для транспортировки нефти и нефтепродуктов.
В настоящем стандарте использованы нормативные ссылки на следующие межгосударственные стандарты:
ГОСТ 12.1.004 Система стандартов безопасности труда. Пожарная безопасность. Общие требования
ГОСТ 12.1.005 Система стандартов безопасности труда. Общие санитарно-гигиенические требования к воздуху рабочей зоны
ГОСТ 12.1.007 Система стандартов безопасности труда. Вредные вещества. Классификация и общие требования безопасности
ГОСТ 3242 Соединения сварные. Методы контроля качества
ГОСТ 5686 Грунты. Методы полевых испытаний сваями
ГОСТ 10178 Портландцемент и шлакопортландцемент. Технические условия
ГОСТ 15150 Машины, приборы и другие технические изделия. Исполнения для различных климатических районов. Категории, условия эксплуатации, хранения и транспортирования в части воздействия климатических факторов внешней среды
ГОСТ 23278 Грунты. Методы полевых испытаний проницаемости
ГОСТ 24297 Верификация закупленной продукции. Организация проведения и методы контроля
ГОСТ 24846 Грунты. Методы измерения деформаций оснований зданий и сооружений
ГОСТ 25358 Грунты. Метод полевого определения температуры
ГОСТ 25880 Материалы и изделия строительные теплоизоляционные. Упаковка, маркировка, транспортирование и хранение
ГОСТ 31108 Цементы общестроительные. Технические условия
ГОСТ 31385 Резервуары вертикальные цилиндрические стальные для нефти и нефтепродуктов. Общие технические условия
ГОСТ 31448 Трубы стальные с защитными наружными покрытиями для магистральных газонефтепроводов. Технические условия
ГОСТ 34366 Магистральный трубопроводный транспорт нефти и нефтепродуктов. Контроль качества строительно-монтажных работ. Основные положения
ГОСТ 34826 Магистральный трубопроводный транспорт нефти и нефтепродуктов. Линейная часть. Организация и производство строительно-монтажных работ
Примечание - При пользовании настоящим стандартом целесообразно проверить действие ссылочных стандартов и классификаторов на официальном интернет-сайте Межгосударственного совета по стандартизации, метрологии и сертификации (www.easc.by) или по указателям национальных стандартов, издаваемым в государствах, указанных в предисловии, или на официальных сайтах соответствующих национальных органов по стандартизации. Если на документ дана недатированная ссылка, то следует использовать документ, действующий на текущий момент, с учетом всех внесенных в него изменений. Если заменен ссылочный документ, на который дана датированная ссылка, то следует использовать указанную версию этого документа. Если после принятия настоящего стандарта в ссылочный документ, на который дана датированная ссылка, внесено изменение, затрагивающее положение, на которое дана ссылка, то это положение применяется без учета данного изменения. Если ссылочный документ отменен без замены, то положение, в котором дана ссылка на него, применяется в части, не затрагивающей эту ссылку.
В настоящем стандарте применены термины по
ГОСТ 34826, а также следующие термины с соответствующими определениями:
3.1 бурозабивная свая: Сплошная или полая свая, погружаемая в грунт путем забивки в предварительно пробуренную скважину-лидер, диаметром менее наименьшего размера стороны или диаметра сваи.
3.2 буронабивная свая: Свая сплошного сечения с армирующим каркасом, бетонируемая в пробуренной в грунте скважине.
3.3 бурообсадная свая: Полая свая или свая-оболочка, погружаемая в грунт путем его разбуривания в забое через полость сваи с периодическим осаживанием погружаемой сваи.
3.4 буроопускная свая: Сплошная или полая свая, свободно погружаемая в скважину, диаметр которой превышает размер ее наибольшего поперечного сечения, с заполнением свободного пространства цементно-песчаным, глинисто-песчаным, известково-песчаным раствором или другого состава.
3.5 вылет компенсатора: Наименьшее межосевое расстояние между спинкой П-образного компенсатора и трубопроводом надземной прокладки.
3.6
зимняя автомобильная дорога (автозимник): Сезонная автомобильная дорога, состоящая из конструктивных элементов, предназначенных для движения транспортных средств, с покрытием проезжей части изо льда, уплотненного снега и льда или проложенная по замерзшему льду рек и озер. |
3.7 индивидуальный сезоннодействующий термостабилизатор грунта: Герметичное теплообменное устройство парожидкостного типа, предназначенное для охлаждения и замораживания грунта за счет естественной сезонной разности температуры грунта и окружающего воздуха.
3.8 кровля многолетнемерзлого грунта: Верхняя граница многолетнемерзлого грунта.
3.9
ледовая переправа: Искусственное дорожное сооружение, устраиваемое на автомобильной дороге общего пользования круглогодичного действия или сухопутном автозимнике, обеспечивающее переправу по ледяному покрову водных препятствий. |
3.10
мерзлый грунт: Грунт, имеющий отрицательную или нулевую температуру, содержащий видимые ледяные включения и/или лед-цемент, за счет которых образованы криогенные структурные связи. |
3.11
микрорельеф: Мелкие элементы рельефа, занимающие незначительные площади (от нескольких квадратных дециметров до нескольких сотен квадратных метров) с колебаниями относительных высот не более 1 м (кочки, холмики роющих животных, мелкие западины, бугорки и неровности от обработки почвы). |
3.12
многолетнемерзлый грунт: Грунт, находящийся в мерзлом состоянии постоянно в течение 3 лет и более. |
3.13
морозный грунт: Скальный грунт, имеющий отрицательную температуру, в котором лед отсутствует или его содержание незначительно. |
3.14 неподвижная опора трубопровода: Опора, фиксирующая отдельные точки трубопровода и воспринимающая усилия, возникающие в нем вследствие температурных деформаций и внутреннего давления.
3.15 опускная свая: Сплошная или полая свая, погружаемая в предварительно оттаянный грунт с диаметром зоны оттаивания не более двух диаметров сваи.
Примечание - За диаметр принимают наибольшую сторону поперечного сечения сваи.
3.16
пластично-мерзлый грунт: Дисперсный грунт, сцементированный льдом, но обладающий вязкими свойствами и сжимаемостью под внешней нагрузкой. |
3.17 подошва многолетнемерзлого грунта: Нижняя граница многолетнемерзлого грунта.
3.18 продольно-подвижная опора трубопровода: Опора, обеспечивающая свободное перемещение трубопровода в горизонтальной плоскости только в продольном направлении.
3.19
промороженный грунт: Грунт, замороженный искусственно. |
3.20
пучинистый грунт: Дисперсный грунт, который при промерзании увеличивается в объеме вследствие кристаллизации поровой и мигрирующей воды и имеет относительную деформацию морозного пучения  . |
3.21
свая винтовая: Свая, состоящая из трубчатого металлического ствола и лопасти(ей) или многовитковой(ых) спирали(ей), размещенных на наконечнике и/или по длине ствола, погружаемая в грунт способом завинчивания в сочетании с вдавливанием. |
3.22 свободно-подвижная опора трубопровода: Опора, обеспечивающая свободное перемещение трубопровода в горизонтальной плоскости как в продольном, так и в поперечном направлениях.
3.23 слой сезонного оттаивания: Поверхностный слой грунта, оттаивающий летом.
3.24 солифлюкция: Смещение оттаивающего переувлажненного тонкодисперсного грунта на склонах в теплое время года, обусловленное сезонным промерзанием и оттаиванием.
Примечание - Под смещением грунта понимают его течение, оползание, соскальзывание, сплывы, оплывины.
3.25
сыпучемерзлый грунт: Крупнообломочный и песчаный грунт, имеющий отрицательную температуру, но не сцементированный льдом вследствие малой влажности. |
3.26
твердомерзлый грунт: Дисперсный грунт, прочно сцементированный льдом, характеризуемый относительно хрупким разрушением и практически несжимаемый под внешней нагрузкой. |
3.27 температура замыкания: Минимально допустимая температура металла труб, при которой допускается выполнять сварку последнего замыкающего стыка между неподвижными опорами трубопровода надземной прокладки.
3.28
температура начала замерзания: Температура, при которой начинается кристаллизация воды в порах грунта. |
3.29 термокарст: Образование просадочных и провальных форм рельефа и подземных пустот вследствие вытаивания подземного льда или оттаивания мерзлого грунта.
3.30 термостабилизация грунта: Мероприятие или комплекс мероприятий, направленные на обеспечение требуемого температурного режима грунта в течение срока эксплуатации инженерного сооружения.
3.31 термоэрозия: Разрушение и вынос оттаивающих и мерзлых дисперсных грунтов и льдов в результате теплового и механического воздействия водных потоков.
В настоящем стандарте применены следующие сокращения:
АКП - антикоррозионное покрытие;
ГПМ - грузоподъемный механизм;
ГРО - геодезическая разбивочная основа;
ГС - гидрогеологическая наблюдательная скважина;
ДМ - геодезическая (нивелирная) деформационная марка;
ЛЧ - линейная часть;
ММГ - многолетнемерзлый грунт;
МТ - магистральный трубопровод для транспортировки нефти и нефтепродуктов;
МТО - механо-технологическое оборудование;
НД - нормативный документ, действующий на территории государств - членов Содружества Независимых Государств и Евразийского экономического союза;
ПАВ - поверхностно-активное вещество;
ПД - проектная документация;
ППМТ - подводный переход магистрального трубопровода;
ППР - проект производства работ;
ППС - экструдированный пенополистирол;
ППУ - пенополиуретан;
РВС - вертикальный цилиндрический стальной резервуар;
РД - рабочая документация;
СДТ - соединительная деталь трубопровода;
СМР - строительно-монтажные работы;
ТС - термометрическая наблюдательная скважина;
ТСГ - индивидуальный сезоннодействующий термостабилизатор грунта;
ТУ - технические условия;
ЭХЗ - электрохимическая защита.
5.1 При выполнении СМР на ЛЧ МТ совместно с настоящим стандартом следует применять положения
ГОСТ 34826.
5.2 СМР должны выполнять строительно-монтажные организации, имеющие допуск к выполнению СМР соответствующего вида согласно НД
<1>.
--------------------------------
<1> В России действует Градостроительный
кодекс России (введен в действие Федеральным законом от 29 декабря 2004 г. N 190-ФЗ).
5.3 СМР осуществляют в соответствии с утвержденной заказчиком ПД (РД)
<2>, разработанной в целях реализации в процессе строительства архитектурных, технических и технологических решений, содержащихся в ПД (РД).
--------------------------------
<2> Здесь и далее по тексту запись "ПД (РД)" означает, что речь идет о ПД или РД в зависимости от количества стадий при проектировании.
5.4 На основании исходных данных, предоставляемых заказчиком (в том числе ПД и РД), подрядчик разрабатывает и согласовывает с заинтересованными организациями ППР. При разработке ППР подрядчик учитывает, что основной объем земляных работ на ММГ выполняют в зимний период для максимального использования естественного холода с целью температурной стабилизации грунта основания, снижения техногенного воздействия на ММГ.
5.5 В ППР уточняют и дополняют проектные решения с учетом технологических возможностей подрядчика, привязки к условиям СМР без изменения проектных решений. Корректировку ППР выполняют по согласованию с заказчиком.
5.6 При выполнении СМР на площадочных объектах МТ следует дополнительно руководствоваться положениями НД
<1>.
--------------------------------
<1> На территории России действуют:
-
СП 45.13330.2017 "СНиП 3.02.01-87 Земляные сооружения, основания и фундаменты";
-
СП 72.13330.2016 "СНиП 3.04.03-85 Защита строительных конструкций и сооружений от коррозии";
-
СП 104.13330.2016 "СНиП 2.06.15-85 Инженерная защита территории от затопления и подтопления";
- другие НД в области строительного производства.
5.7 В зависимости от глубины залегания кровли ММГ и наличия слоя талого грунта в течение года ММГ подразделяются:
- на ММГ сливающегося типа, для которых в течение года не характерно наличие талого грунта между слоем сезонного оттаивания грунта и кровлей ММГ;
- ММГ несливающегося типа, для которых в течение года характерно постоянное наличие талого грунта между слоем сезонного оттаивания грунта и кровлей ММГ.
5.8 Классификация местности по группам при строительстве объектов МТ на территории распространения ММГ по инженерно-геокриологическим и геоморфологическим признакам приведена в
таблице 1.
Таблица 1
Классификация местности при строительстве объектов МТ
Тип участка по сложности строительства | Характеристика местности | Величина относительной осадки ММГ при оттаивании | Группа местности |
Нормальный | Тщательно дренированные участки террас и гряды, сложенные малольдистыми супесями и песками, ММГ несливающегося типа | 0,00 - 0,01 | IV |
Различного вида болота с кровлей мерзлых пород глубже 10 м | 0,00 - 0,01 | III |
Сложный | Тундра и лесотундра, местность плохо дренирована, сложена льдистыми суглинками и супесями, ММГ сливающегося типа | 0,01 - 0,10 | II |
Особо сложный | Бугристые и плоские торфяники и солифлюкционные склоны, ММГ сильнольдистые, сливающегося типа | Более 0,10 | I |
Примечания 1 Строительство ЛЧ МТ, а также оснований и фундаментов сооружений на площадочных объектах МТ на участках местности I и II групп выполняют только в зимний период. При необходимости в летний период выполняют внетрассовые подготовительные работы. 2 Относительную осадку грунта при оттаивании определяют как отношение величины осадки к общей мощности оттаивающего слоя грунта. |
5.9 Строительство объектов МТ, как правило, осуществляют следующими способами:
а) на участках местности IV и III групп:
1) трубопроводы, расположенные на ЛЧ МТ, - подземной прокладкой с закреплением трубопровода в траншее при помощи балластирующих или анкерных устройств по НД
<2> или без них и устройством теплоизоляции,
2) площадочные объекты МТ - с использованием свайных фундаментов или фундаментов мелкого заложения, конструктивные особенности которых обеспечивают их устойчивость при оттаивании ММГ;
--------------------------------
<2> На территории РФ действуют:
- другие НД в области строительного производства.
б) на участках местности II группы:
1) трубопроводы, расположенные на ЛЧ МТ, - подземной прокладкой с закреплением трубопровода в траншее при помощи балластирующих или анкерных устройств по НД
<1> или без них и устройством теплоизоляции, а также надземно на опорах,
2) площадочные объекты МТ - с использованием свайных фундаментов и устройством проветриваемого (продуваемого) подполья и других мероприятий по термостабилизации грунта основания;
в) на участках местности I группы:
1) трубопроводы, расположенные на ЛЧ МТ, - надземной прокладкой на опорах,
2) площадочные объекты МТ - с использованием свайных фундаментов с устройством проветриваемого (продуваемого) подполья и других мероприятий по термостабилизации грунта основания;
г) на пересечениях с автомобильными и железными дорогами трубопроводы ЛЧ МТ - надземной прокладкой на опорах.
--------------------------------
<1> На территории РФ действуют:
- другие НД в области строительного производства.
5.10 При технически и экономически обоснованной необходимости и наличии указаний в ПД (РД) трубопроводы ЛЧ МТ на ММГ прокладывают способами, отличными от указанных в
5.9, например: подземной прокладкой на опорах, подземной прокладкой в комбинации с теплоизоляцией и ТСГ, надземной прокладкой с качающимися опорами.
5.11 При строительстве на территории распространения ММГ применяют один из принципов использования ММГ в качестве основания сооружений:
- принцип I - ММГ основания применяют в мерзлом состоянии, сохраняемом в процессе строительства и в течение всего периода эксплуатации сооружения, или с допущением их промораживания в период строительства;
- принцип II - ММГ применяют в оттаянном или оттаивающем состоянии (с их предварительным оттаиванием на расчетную глубину до начала возведения сооружения или с допущением их оттаивания в процессе строительства и/или эксплуатации сооружения).
Примечание - В настоящем стандарте понятие "сооружение" включает в себя любые сооружения, относящиеся к объектам МТ.
5.12 При строительстве объектов МТ на территории распространения ММГ предпочтительным является применение принципа I использования ММГ в качестве основания сооружений.
5.13 При использовании ММГ по принципу I смещение сроков выполнения СМР (в том числе подготовительных работ), установленных в ПД (РД), допускается только на основании внесения изменений в ПД (РД).
5.14 В пределах застраиваемой территории (участок МТ в пределах одной группы местности, площадка нефтеперекачивающей/нефтепродуктоперекачивающей станции и резервуарного парка) осуществляют один принцип использования ММГ в качестве основания сооружений. Это правило следует учитывать, в том числе при строительстве сооружений на застроенной территории, размещении мобильных, временных сооружений и прокладке инженерно-технических сетей.
5.15 При подземной и надземной прокладке трубопровода не используют в качестве оснований трубопроводов (опор трубопроводов) участки ММГ с подземными льдами, буграми пучения, проявлениями термокарста, термоэрозии, солифлюкции.
5.16 При обнаружении в ходе выполнения СМР участков, перечисленных в
5.15, подрядчик должен приостановить СМР на участке и поставить об этом в известность заказчика. Заказчик принимает решение о необходимости внесения изменений в ПД (РД). На основании изменений, внесенных в ПД (РД), подрядчик вносит изменения в ППР.
5.17 К выполнению СМР приступают только при наличии всей разрешительной документации в соответствии с требованиями законодательства и НД.
5.18 Контроль качества СМР при строительстве объектов МТ на ММГ обеспечивают в соответствии с
ГОСТ 34366.
5.19 Приемку построенного объекта проводят после завершения всех СМР, пусконаладочных работ и комплексного опробования в соответствии с НД.
5.20 Приемку осуществляет приемочная комиссия, создаваемая застройщиком или заказчиком.
5.21 Выдачу разрешения на ввод объекта МТ в эксплуатацию осуществляют в соответствии с НД.
5.22 Разрешение на ввод объекта МТ в эксплуатацию является основанием для постановки на государственный учет построенного объекта, внесения изменений в документы государственного учета реконструированного объекта. В разрешении на ввод объекта МТ в эксплуатацию должны быть приведены сведения об объекте МТ в объеме, необходимом для осуществления его государственного кадастрового учета.
6 Подготовительные работы
6.1 При планировании подготовки строительства необходимо учитывать сезонность доставки строительных материалов и оборудования по временным дорогам, а также ледовым переправам, их весогабаритные характеристики и необходимость усиления временных дорог и переездов.
6.2 Для соблюдения сроков строительства подрядчик при разработке ППР учитывает мощность, характер и время образования снежного покрова, продолжительность летнего и зимнего периодов. Дополнительно при разработке ППР учитывают мероприятия по минимизации риска выхода из строя оборудования, несвоевременной доставке материалов, возможной эвакуации персонала при возникновении неблагоприятных погодных условий и/или изменений условий строительства.
6.3 Оформление карьеров и разрешительной документации на право пользования недрами и проведение СМР, связанных с нарушением почвенного покрова, выполняют в соответствии с НД
<1>.
--------------------------------
-
Закон РФ от 21 февраля 1992 г. N 2395-1 "О недрах";
- Земельный
кодекс РФ (введен в действие Федеральным законом от 25 октября 2001 г. N 136-ФЗ).
6.4 Мероприятия по инженерной защите территории строительства от опасных геокриологических (мерзлотных) процессов выполняют в соответствии с ПД (РД) и НД
<2>. При использовании ММГ по принципу I в ППР на основании данных ПД (РД) предусматривают мероприятия по сохранению мерзлого состояния грунтов в период СМР, к которым относят:
- предпостроечное промораживание грунтов;
- планировку территории, устройство дренажей и стоков поверхностных вод;
- применение теплоизоляции, в том числе теплоизолирующих подсыпок;
- промораживание грунтов или понижение температуры ММГ в основании строящихся сооружений и окружающей застройки при помощи охлаждающих установок (ТСГ и пр.);
- другие мероприятия.
--------------------------------
<2> В России действует
СП 116.13330.2012 "СНиП 22-02-2003 Инженерная защита территорий, зданий и сооружений от опасных геологических процессов. Основные положения".
6.5 При использовании ММГ по принципу I строительство надземных частей сооружений, установку оборудования внутри сооружений, гидравлические испытания РВС, монтаж трубопроводов надземной прокладки на опоры выполняют после достижения требуемой температуры ММГ в рабочей зоне свай. Требуемую температуру ММГ приводят в ППР на основании данных ПД (РД).
Примечание - Порядок определения температуры ММГ в скважинах (среднее, пиковое и другие значения) приводят в ППР на основании данных ПД (РД).
6.6 До начала выполнения СМР проводят проверку характеристик местных грунтовых материалов на соответствие ПД (РД), применяемых для сооружения дорог, планировочных насыпей, подсыпки и присыпки трубопровода.
6.7 При проведении геодезических разбивочных работ в качестве основания под временные пункты ГРО не допускается использовать легко демонтируемые устройства (бетонные тумбы, деревянные рамы, треноги и другие конструкции).
6.8 Необходимость и методы строительства временных дорог, а также маршруты движения транспорта приводят в ППР при разработке транспортных схем в соответствии с ПД (РД) и НД
<3>.
--------------------------------
<3> В России действует
СП 410.1325800.2018 "Трубопроводы магистральные и промысловые для нефти и газа. Строительство в условиях вечной мерзлоты и контроль выполнения работ".
На обводненных, заболоченных, слабонесущих грунтах и болотах временные дороги сооружают с устройством:
- лежневых дорог;
- дорог из грунтовых модулей,
и другими способами.
Устройство временных дорог на ММГ выполняют без снятия мохорастительного покрова. Устройства верхних слоев насыпей, подверженных сезонному промерзанию и оттаиванию, рекомендуется выполнять из непучинистых грунтов (песков и крупнообломочных грунтов).
6.9 Для транспортировки грузов по льду рек, ручьев и озер сооружают ледовые переправы. Допустимую расчетную толщину льда при отсутствии в нем трещин определяют в ППР в соответствии с ПД (РД).
При строительстве и эксплуатации ледовых переправ, проложенных по рекам, ручьям и озерам, проводят работы по поддержанию ледового покрова в рабочем состоянии. Усиление ледовых переправ осуществляют при естественном промерзании и за счет дополнительного намораживания льда. При необходимости проезжую часть усиливают хворостяной выстилкой, деревянным настилом, композитными материалами, а также мобильными дорожными покрытиями.
6.10 Ледовые переправы устанавливают в каждом направлении отдельно. Расстояние между осями полос ледовых переправ - не менее 100 м. Ширина полосы ледовой переправы - на 5 м более ширины наиболее габаритного груза, но не менее 20 м.
6.11 Автозимники в зависимости от их расположения на местности и значений объема снегопереноса сооружают в нулевых отметках или насыпях.
6.12 При строительстве автозимников в нулевых отметках рекомендуется ограничиваться промораживанием поверхности грунта с последующим уплотнением снежного покрова. Убираемый с поверхности дорог при промораживании снег необходимо разравнивать. Снежные отвалы высотой более 1 м рекомендуется выполнять с откосами крутизной не более 1:6.
6.13 Автозимники в насыпи из снега сооружают в условиях повышенного снегопереноса при невозможности обеспечить необходимую расчистку проезда дорожной техникой. Крутизна откосов - не более 1:6.
6.14 Параметры и методы строительства автозимников и ледовых переправ устанавливают в ППР при разработке транспортных схем в соответствии с ПД (РД) и НД
<1>.
--------------------------------
<1> В России действует
ГОСТ Р 58948-2020 "Дороги автомобильные общего пользования. Дороги автомобильные зимние и ледовые переправы. Технические правила устройства и содержания".
6.15 Временные дороги, как правило, сооружают с использованием лесопорубочных остатков в качестве основания для увеличения срока их службы и несущей способности. Конструкцию временной дороги устанавливают в ППР в соответствии с ПД (РД). Допускается сооружать временные дороги с применением геомодулей, мобильных дорожных покрытий и т.п.
6.16 В ППР на основании данных ПД (РД) указывают участки дорог, требующие особого внимания по инженерно-геологическим, метеорологическим или иным условиям, спуски и подъемы, места возможной остановки/стоянки транспортных средств.
6.17 В местах пересечения временными дорогами малых водотоков, оврагов, балок сооружают мосты или насыпи с водопропускными трубами. При применении водопропускных труб на постоянных водотоках предусматривают противоналедные мероприятия.
6.18 Для централизованного управления СМР и передачи оперативной информации, в том числе при транспортировании грузов на объекты строительства и при мониторинге состояния ММГ, в ППР необходимо разработать мероприятия по организации системы связи в соответствии с действующими НД. Применяемые средства связи должны обеспечивать работоспособность в условиях низких температур.
6.19 Сроки выполнения работ по расчистке трассы трубопровода назначают в ППР в соответствии с ПД (РД) в зависимости от типа местности и принятого принципа использования ММГ.
6.20 Расчистку трассы трубопровода при использовании ММГ по принципу I выполняют с учетом следующих положений:
- корчевку пней, деревьев и кустарников, срезку бугров пучения проводят только в зимний период, при этом рекомендуется сохранять снежные отложения толщиной не более 20 см;
- работы по устройству просеки выполняют с заделом не более 30 календарных дней к следующему этапу работ по строительству трубопровода надземной прокладки (монтаж свайных фундаментов и опор, укладка трубопровода и пр.);
- работы проводят с полным сохранением мохорастительного покрова в пределах полосы расчистки трассы трубопровода;
- проезд дорожных машин и строительной техники по просеке осуществляют только в зимний период после промерзания грунта на глубину не менее 20 см.
6.21 Корчевку пней, деревьев и кустарников на ММГ проводят только на полосе будущей траншеи трубопровода, кабелей связи, местах установки фундаментов опор вдольтрассовой линии электропередач, антенно-мачтовых сооружений, блок-контейнеров. На остальной части полосы отвода деревья спиливают на уровне поверхности земли.
6.22 Защиту от снежных заносов, расчистку или задержание снега осуществляют в соответствии с ППР на основании данных о розе ветров и объемах снегопереноса.
6.23 Вертикальную планировку строительной полосы на ММГ выполняют подсыпкой из талого или сыпучемерзлого минерального грунта. При необходимости срезки грунта вскрытые льдистые ММГ защищают от протаивания присыпками.
6.24 Срезку микрорельефа на ММГ для планировки трассы трубопровода выполняют только по полосе будущей траншеи.
6.25 Ширину, протяженность и глубину планируемой строительной полосы определяют в ППР на основании данных ПД (РД), при этом каждую снеголедовую дорогу оборудуют разъездами.
6.26 Сооружения временного назначения, используемые в период СМР (жилые городки, склады материалов, места стоянки и ремонта техники и т.п.), располагают за пределами зон обводнения и заболоченности (на возвышенных участка рельефа) или на предварительно отсыпанных и утрамбованных площадках при условии свободного стока поверхностных вод.
6.27 Для выполнения земляных работ кроме машин обычных модификаций рекомендуется применять механизмы в климатическом исполнении ХЛ по
ГОСТ 15150 с рабочими органами и ходовой частью повышенной хладостойкости, а также машины повышенной проходимости.
7 Погрузочно-разгрузочные работы, транспортировка, складирование и хранение труб и соединительных деталей трубопровода в тепловой изоляции
7.1 Погрузочно-разгрузочные работы
7.1.1 Погрузочно-разгрузочные работы необходимо осуществлять в соответствии с НД, обеспечивая сохранность тепловой изоляции труб и СДТ. Для обеспечения сохранности кромок и фасок труб, а также для защиты внутренней полости труб от попадания воды, грязи и посторонних предметов на торцах труб и СДТ при погрузочно-разгрузочных работах, транспортировании и хранении устанавливают инвентарные заглушки.
7.1.2 При проведении погрузочно-разгрузочных работ применяют приспособления, исключающие повреждения труб и СДТ, - траверсы со стальными тросами, траверсы с мягкими полотенцами, мягкие полотенца, клещевые и торцевые захваты, кольцевые стропы.
Стальной трос и стропы должны иметь мягкую (эластичную) оплетку из резинотканевого шланга или аналогичного материала. Торцевые и клещевые захваты траверс должны быть снабжены мягкими вкладышами из капролона или иных материалов, позволяющих избежать повреждения кромок труб.
Если применяют траверсу с грузозахватным приспособлением, длина такой траверсы должна быть меньше длины захватываемой детали для исключения возможности соскальзывания захватов.
7.1.3 При погрузке и разгрузке скорлуп для тепловой изоляции сварных стыков не допускаются сбрасывание, соударение, строповка скорлуп стальными тросами и канатами.
7.1.4 Погрузку и разгрузку труб и СДТ осуществляют поштучно.
7.1.5 При погрузке и разгрузке труб и СДТ не допускаются сбрасывание, скатывание, соударение и волочение труб и СДТ по земле. Не допускается использование цепей, канатов и других грузозахватных устройств, вызывающих повреждение тепловой изоляции.
7.1.6 При погрузочно-разгрузочных работах запрещается сбрасывать трубы, СДТ, комплекты для тепловой изоляции сварных стыков с транспортных средств.
7.1.7 При обнаружении повреждений тепловой изоляции труб, СДТ, комплектов для тепловой изоляции сварных стыков во время проведения погрузочно-разгрузочных работ незамедлительно принимают меры для устранения причин повреждений.
7.1.8 Тепловая изоляция заводского изготовления подлежит ремонту в трассовых условиях, если повреждение, возникшее в процессе транспортировки и/или монтажа трубопровода, не превышает размеров, установленных в НД
<1>.
--------------------------------
<1> В России действует
ГОСТ Р 57385-2017 "Магистральный трубопроводный транспорт нефти и нефтепродуктов. Строительство магистральных нефтепроводов и нефтепродуктопроводов. Тепловая изоляция труб и соединительных деталей трубопроводов".
7.2 Транспортировка труб и соединительных деталей трубопроводов
7.2.1 Трубы и СДТ транспортируют железнодорожным, водным, автомобильным транспортом в соответствии с правилами перевозки грузов, установленных в НД для данного вида транспорта. Способы транспортировки должны обеспечивать сохранность теплоизоляции, исключать возникновение продольного изгиба изделия, овальности труб.
7.2.2 Перевозку труб автомобильным транспортом осуществляют автомобильными полуприцепами или трубовозами-плетевозами, оснащенными съемными пеналами.
7.2.3 Платформы полуприцепов, как правило, оснащают ложементами с вырезами дугообразной или другой формы. Внутренние части ложементов и бортовых стоек платформы облицовывают резиной или другим материалом, предохраняющим повреждение теплоизоляции. Для исключения продольных перемещений при перевозке устанавливают щит из досок или другого материала, в который при погрузке упирается труба; трубы в передней и задней частях закрепляют стопорными цепями или другими устройствами.
7.2.4 Съемные пеналы для трубовоза-плетевоза, как правило, изготавливают из стальной трубы. При перевозке двух труб на трубовозе-плетевозе укладывают два пенала. Внутри пенала выкладывают прокладки, изготовленные из резины или другого материала, распределенные равномерно по длине трубы.
7.2.5 Транспортировку СДТ осуществляют в заводской упаковке или на платформах полуприцепов, оборудованных ложементами.
7.2.6 Транспортировка и хранение комплектов для теплоизоляции сварных стыков и трассовой теплоизоляции трубопровода - по
ГОСТ 25880.
7.2.7 Транспортировка комплектов для тепловой изоляции сварных стыков осуществляют в заводской упаковке в соответствии с правилами перевозки грузов на данном виде транспорта. Транспортировка скорлуп из ППУ, пеностекла, пенополистирола и других материалов осуществляют при соблюдении правил транспортировки хрупких изделий.
7.3 Складирование и хранение
7.3.1 Складирование и хранение труб и СДТ осуществляют на прирельсовых, базисных и притрассовых площадках. Размеры площадки выбирают такими, чтобы обеспечить размещение необходимого количества труб и СДТ, беспрепятственный проезд транспортных средств и подъемных сооружений, проход обслуживающего персонала. Не допускается складирование и хранение продукции в местах, подверженных затоплению водой.
7.3.2 Складирование труб осуществляют штабелями, а именно:
- диаметром 720 мм и более - не более чем в два ряда;
- диаметром от 530 до 630 мм включительно - не более чем в три ряда;
- диаметром до 426 мм включительно - не более 2 м.
В штабель укладывают трубы одного типоразмера.
7.3.3 При складировании нижний ряд труб укладывают на подкладки. Каждый последующий ярус укладывают в седло нижнего яруса на прокладки. Для предотвращения раскатывания труб устанавливают упоры. Конструкции подкладок, прокладок и упоров должны обеспечивать сохранность теплоизоляции.
7.3.4 Складирование СДТ в заводской упаковке осуществляют:
- для СДТ диаметром свыше 820 мм - в один ярус;
- СДТ диаметром до 820 мм включительно - не более чем в два яруса.
Нижний ярус устанавливают на деревянных подкладках.
7.3.5 Хранение комплектов теплоизоляции сварных стыков и материалов для тепловой изоляции трубопровода в трассовых условиях осуществляют в заводской упаковке на крытых складах или под навесом на поддонах в штабелях высотой не более 2,5 м. При отсутствии поддонов хранение скорлуп осуществляют на деревянных подкладках высотой не менее 0,1 м.
7.3.6 При применении арматуры общепромышленного назначения и крепежа, изготовленного из углеродистой стали, должны быть соблюдены мероприятия, исключающие возможность снижения температуры стали ниже минус 30 °C при транспортировке, хранении, монтаже и эксплуатации.
8.1 Строительство объектов МТ на территории распространения ММГ осуществляют преимущественно в зимний период с обеспечением сохранности покровного растительного слоя грунта вне зоны траншеи независимо от принципа использования ММГ в качестве основания.
8.2 При необходимости выполняют предварительное рыхление ММГ механизированным способом; в зоне нахождения коммуникации рыхление проводят вручную.
8.3 При прокладке трубопровода в твердомерзлых и морозных скальных грунтах допускается применение буровзрывного способа рыхления ММГ.
Применение взрывов на выброс не допускается. Рыхление ММГ буровзрывным способом осуществляют таким образом, чтобы весь взорванный грунт был разработан в течение одной смены. Параметры взрыва для рыхления ММГ для каждых конкретных грунтовых условий определяют пробным взрыванием.
Буровзрывные работы выполняют до прокладки кабелей и других сопутствующих коммуникаций для трубопровода подземной прокладки.
Указания о производстве работ по предварительному рыхлению ММГ буровзрывным способом, в том числе необходимость проведения пробного взрывания, приводят в ППР.
8.4 Разработку траншей после предварительного рыхления ММГ проводят одноковшовыми экскаваторами на всю глубину траншеи за один проход или несколько проходов с выдержкой по времени для промораживания вскрытых грунтов. При естественном промораживании откосов допускается разрабатывать траншею с откосами 1:1, исключая образование карнизов и "балконов". Применение роторных машин для разработки траншей после взрыва не допускается.
8.5 Мерзлые комья разрушают механическим способом или взрывным способом. Технологию разрушения устанавливают в ППР.
8.6 Для исключения заноса траншеи снегом и смерзания отвала грунта при работе в зимний период темп разработки траншей приводят в соответствие с темпом изоляционных и укладочных работ при минимальном технологическом заделе траншеи.
8.7 Гребни смерзшегося грунта на дне траншеи удаляют навесным оборудованием экскаваторов (фрезами, однозубыми рыхлителями или гидромолотами). Крупные твердые включения, снег и лед также удаляют со дна траншеи до устройства подсыпки.
8.8 В местах переборов грунта (вследствие проведения буровзрывных работ) выполняют их засыпку грунтом из отвала с последующим уплотнением грунта в соответствии с ПД (РД). Не допускается засыпка снегом, кусками льда, льдистым грунтом (даже если это "начальный" грунт, вынутый из траншеи). При необходимости в ППР предусматривают замену льдистого грунта.
8.9 До укладки трубопровода должна быть выполнена подсыпка дна траншеи мягким грунтом с уплотнением для исключения пустот и пазух в засыпке. Толщина подсыпки:
- не менее 0,2 м для трубопроводов с теплоизоляцией;
- не менее 0,1 м для трубопроводов без теплоизоляции.
8.10 Укладку и засыпку трубопровода выполняют вслед за рытьем траншеи с учетом времени, необходимого на проведение контроля качества СМР, подготовку траншеи и минерального грунта.
8.11 После укладки должна быть выполнена присыпка трубопровода мягким грунтом толщиной не менее 0,2 м над верхней образующей с уплотнением каждого слоя толщиной не более 0,2 м и подбивкой грунта под трубопровод. При необходимости в качестве подсыпки и присыпки используют грунт отвала после его дробления или просеивания. В соответствии с ПД (РД) допускается применять другие способы защиты трубопровода от механических повреждений, например: трубы с защитным бетонным или композитным покрытием, маты, скальные листы, защитные обертки из полимерных материалов (в том числе с демпфирующими слоями), не подверженными гниению.
8.12 Степень уплотнения мягкого грунта подсыпки и присыпки при укладке трубопровода в траншею устанавливают в ПД (РД).
8.13 Засыпку трубопровода, предварительно присыпанного мягким грунтом, как правило, выполняют в два этапа:
- первый этап - засыпка поверх присыпки одноковшовым экскаватором слоя толщиной не менее 0,5 м над трубопроводом с уплотнением слоя ковшом экскаватора для исключения пустот и пазух в засыпке;
- второй этап - перемещение оставшегося в отвале грунта в валик над трубопроводом бульдозером косопоперечными проходами.
8.14 Для учета осадки грунта в период эксплуатации трубопровода засыпку траншеи в зимний период выполняют с валиком над поверхностью строительной полосы высотой 30% от глубины траншеи, но не более 1,0 м. Засыпка траншеи трубопровода и последующее формирование валика над трубопроводом должны исключать нарушение естественных условий поверхностного дренажа, обводнение или заболачивание. Необходимость установки водопропускных труб через валик для исключения подтопления и заболачивания приводят в ПД (РД).
8.15 На участках с подземными опорами обратную засыпку трубопровода, как правило, осуществляют без устройства валика.
8.16 При строительстве сооружений на площадочных объектах МТ вертикальную планировку строительной площадки, как правило, выполняют подсыпкой, которую осуществляют сплошной по всей застраиваемой территории или под отдельные сооружения или их группы при условии обеспечения свободного стока поверхностных вод.
8.17 При использовании ММГ по принципу I подсыпки выполняют в зимний период после предварительной очистки поверхности грунта от снега и промерзания грунта на 0,2 м и более. В зимний период устройство подсыпок осуществляют, как правило, круглосуточно, для исключения замерзания неуплотненного массива. Подсыпки уплотняют небольшими слоями толщиной от 0,2 до 0,3 м. В качестве грунта подсыпки преимущественно применяют пески и крупнообломочные грунты.
Крутизна откосов подсыпки из крупнообломочных материалов - не более 1:1,5. При высоте подсыпки более 6,0 м откосам придают ломаный профиль с уклонами:
- не менее 1:1,5 в верхней части подсыпки;
- от 1:1,75 до 1:20 в нижней части подсыпки.
Откосы подсыпок, как правило, укрепляют дерном, георешетками, геосетками, геоматами, биоматами, плитами бетонными гибкими или другими способами для их защиты от разрушения при вымывании мелкой фракции дождевыми водами и при таянии снега, а также от случайных механических повреждений. Применяемый способ крепления откосов не должен препятствовать дренированию влаги, которая может оказаться в массиве подсыпки.
8.18 Котлован под фундамент при использовании ММГ по принципу I разрабатывают с наступлением холодного периода (при устойчивой среднесуточной температуре воздуха 0 °C и ниже в течение не менее 3 сут).
Котлованы глубиной не более 2,0 м разрабатывают без крепления стенок, используя естественное промораживание грунтов. При глубине котлована более 2,0 м крепление стенок осуществляют в соответствии с ППР на основании данных ПД (РД).
Технологический процесс разработки котлованов включает рыхление грунтов с помощью механических рыхлителей или вручную, удаление разрыхленных грунтов и подготовку основания.
К устройству фундаментов приступают только после технического освидетельствования и приемки котлована. Засыпку пазух между стенками котлована и боковыми поверхностями фундамента выполняют талым (непучинистым при промерзании) грунтом с трамбованием каждого слоя. При отрицательной температуре воздуха пазухи котлована допускается засыпать смесью талого и мерзлого грунта.
8.19 При использовании ММГ по принципу II вертикальную планировку строительной площадки осуществляют подсыпками и выемками грунта. Подсыпки устраивают по оттаянному грунту слоя сезонного оттаивания.
При необходимости выполняют предпостроечное уплотнение талых грунтов до устройства подсыпок. На основании данных ПД (РД) в ППР предусматривают способы предпостроечного уплотнения талых грунтов, а также контроль параметров уплотнения.
При необходимости ограничения развития зоны оттаивания ММГ под сооружением используют подсыпки с промежуточным теплоизоляционным слоем. Толщину, тип и другие необходимые параметры теплоизоляционного слоя устанавливают в ПД (РД).
При устройстве выемок грунта откосы сооружают пологими или покрывают слоем теплоизоляции на время выполнения земляных работ для исключения их сползания.
8.20 Независимо от принципа использования ММГ качество работ по разработке котлованов под фундаменты сооружений на площадочных объектах МТ определяют на основании контроля следующих параметров:
- отклонение отметок дна котлована от проектных в местах устройства фундаментов;
- расстояние между поверхностью откоса и боковой поверхностью возводимого в котловане сооружения;
- наибольшая крутизна откосов, устраиваемых без крепления;
- наибольшая высота вертикальных стенок выемок в мерзлых грунтах;
- вид и характеристики вскрытого грунта основания;
- состояние откосов и дна котлована.
8.21 Качества работ по устройству всех типов насыпей и обратных засыпок определяют на основании контроля следующих параметров:
- геометрические параметры насыпей, в т.ч. крутизна откосов;
- гранулометрический состав грунта, предназначенного для устройства насыпей;
- размер твердых включений, в том числе мерзлых комьев, в насыпях;
- наличие снега и льда в насыпном грунте;
- температура грунта, отсыпаемого и уплотняемого при отрицательной температуре воздуха;
- средняя по проверяемому участку плотность сухого грунта;
- относительная влажность грунта в теле насыпи;
- отклонение геометрических размеров насыпи (отметок поверхности, крутизны откосов).
8.22 Рекомендуемый состав контролируемых показателей, объемы и методы контроля при устройстве насыпей и обратных засыпок котлованов приведены в
приложении А.
9 Выполнение сварочных работ в условиях низких температур
9.1 Подготовку к выполнению сварочных работ на ЛЧ МТ проводят в соответствии с
ГОСТ 34826. Производство сварочных работ на площадочных объектах МТ осуществляют в соответствии с НД
<1>.
--------------------------------
-
СП 406.1325800.2018 "Трубопроводы магистральные и промысловые стальные для нефти и газа. Монтажные работы. Сварка и контроль ее выполнения";
-
СП 365.1325800.2017 "Резервуары вертикальные цилиндрические стальные для хранения нефтепродуктов. Правила производства и приемки работ при монтаже".
9.2 Сварочное и вспомогательное оборудование, машины и механизмы должны быть подготовлены для работы в условиях низких температур.
Для выполнения сварочных работ преимущественно используют сварочные палатки с откидным полом и устройством подогрева рабочего пространства.
9.3 Все подготовительные и сборочно-сварочные работы выполняют после подтверждения правильности сборки и отсутствия дефектов на свариваемых поверхностях в соответствии с технологическими картами.
9.4 Сварные соединения трубопроводов контролируют с применением методов неразрушающего контроля в соответствии с требованиями заказчика и
ГОСТ 3242.
Объемы и нормы оценки дефектов сварных соединений устанавливают в НД по сварке и неразрушающему контролю сварных соединений МТ, ПД (РД).
9.5 Прочностные и пластические свойства металла сварного соединения должны быть не ниже, чем у основного металла.
9.6 При строительстве ЛЧ МТ применяют следующие способы сварки и их комбинации:
- автоматическая сварка (дуговая, лазерная и др.);
- механизированная сварка (плавящимся и неплавящимся электродами в среде защитных газов и без них);
- ручная сварка (плавящимся и неплавящимся электродами).
При выборе способа сварки (при наличии технической возможности) рекомендуется применять сварку поворотных стыков труб на трубосварочных базах.
9.7 При выполнении сварочных работ на ЛЧ МТ, в том числе ремонтных работ, рекомендуется выполнять предварительный подогрев торцов труб, СДТ и МТО с помощью установок индукционного нагрева или газопламенных нагревательных устройств, обеспечивающих равномерный прогрев по толщине стенки и периметру свариваемых элементов.
Ширину прогрева определяют в технологической карте.
В процессе сварки рекомендуется выполнять сопутствующий (межслойный) подогрев свариваемых соединений.
Значение температуры подогрева непосредственно перед сваркой корневого и других слоев шва должно соответствовать данным, приведенным в технологической карте в зависимости от класса (категории) прочности, эквивалента углерода и толщины стенки свариваемых элементов, а также от температуры окружающего воздуха.
Подогрев не должен нарушать целостность АКП и теплоизоляционного покрытия труб, СДТ и МТО.
9.8 Сборку и сварку стыковых соединений на ЛЧ МТ выполняют при температуре окружающего воздуха не ниже минус 50 °C. Освещенность площадки при производстве работ должна обеспечивать безопасное выполнение работ, видимость всех грузоподъемных и грузозахватных механизмов, задействованных при подготовке, сборке и сварке стыков.
9.9 При необходимости сварку стыков трубопровода надземной прокладки на высоте выполняют внутри инвентарных укрытий, предназначенных для защиты стыков от ветра и атмосферных осадков.
9.10 Для предотвращения быстрого остывания стыков после сварки применяют теплоизолирующие пояса.
9.11 При сварке труб и СДТ с теплоизоляционной конструкцией торцы ППУ необходимо закрывать защитными экранами.
9.12 Ремонт сварных соединений с трещинами и ремонт сваркой металла труб не допускаются.
10 Нанесение и ремонт антикоррозионных и теплоизоляционных покрытий
10.1 Линейная часть магистрального трубопровода
10.1.1 Независимо от коррозионной активности окружающей среды на все трубопроводы подземной и надземной прокладок, СДТ и МТО наносят АКП.
10.1.2 В качестве АКП труб, СДТ и МТО применяют наносимые в заводских условиях эпоксидные, полиуретановые, эпоксидно-полиуретановые или полиэтиленовые покрытия по НД.
10.1.3 В качестве АКП сварных стыков труб, СДТ и МТО применяют термоусаживающиеся манжеты либо жидкие эпоксидные и полиуретановые материалы. Характеристики АКП - по
ГОСТ 31448 и НД.
10.1.4 Нанесение АКП на зону сварных стыков трубопровода и ремонт покрытия трубопровода осуществляют как в стационарных условиях (на трубосварочных базах), так и в трассовых условиях после сварки секций или отдельных труб в плеть и после контроля сварных соединений.
10.1.5 Покрытия, применяемые для защиты от коррозии участков трубопровода надземной прокладки, должны обеспечивать защиту в промышленной атмосфере холодного макроклиматического района по
ГОСТ 15150 в условиях коррозионной активности окружающей среды.
10.1.6 При монтаже трубопроводов подземной и надземной прокладки применяют трубы и СДТ с АКП и в заводской теплоизоляции на основе заливочного ППУ в защитной оболочке согласно НД.
10.1.7 В трассовых условиях выполняют следующие работы:
- теплоизоляция стыков и установка противопожарных вставок;
- ремонт теплоизоляции, находящейся в эксплуатации;
- теплоизоляция действующего или законсервированного трубопровода, ранее построенного без теплоизоляции.
10.1.8 В качестве теплоизоляционного покрытия сварных стыков труб, СДТ и МТО применяют скорлупы из ППУ либо заливочный ППУ с защитной оболочкой согласно НД.
10.1.9 Технологические карты на тепловую изоляцию сварных стыков при монтаже труб, СДТ и МТО разрабатывают с учетом рекомендаций изготовителя теплоизоляционных материалов.
10.1.10 Во время выпадения осадков (дождь, снег) все работы по защите сварного стыка выполняют под навесами или в палатках.
10.1.11 Работы по теплоизоляции стыков труб с помощью заливочного ППУ выполняют при температуре окружающего воздуха не ниже плюс 5 °C. При производстве работ соблюдают требования изготовителя теплоизоляционных материалов к температурным и временным режимам заливки и отверждения ППУ. При температуре окружающего воздуха ниже, чем указано изготовителем, работы следует проводить в обогреваемых палатках с использованием нагретых компонентов ППУ. При выпадении осадков при положительной температуре работы должны быть осуществлены в палатках или под навесами без дополнительного обогрева. При невозможности соблюдения требуемых температурных и временных режимов заливки и отверждения ППУ теплоизоляцию необходимо выполнять с помощью скорлуп.
10.1.12 Нанесение теплоизоляционных конструкций на МТО выполняют в трассовых условиях, при этом применяют теплоизоляционные конструкции, изготовленные в заводских условиях для каждого типа МТО.
10.1.13 Конструкции теплоизоляции труб, сварных стыков труб, СДТ и МТО определяют в ПД (РД).
10.1.14 Способ монтажа теплоизоляционных конструкций МТО надземной и подземной установок должен обеспечивать доступ к узлам МТО, подлежащим обслуживанию, без полного демонтажа теплоизоляционных конструкций. Съемные элементы должны обеспечивать доступ к спускным пробкам, сальниковым уплотнителям и разъемным соединениям для контроля их герметичности, а также к дренажным трубопроводам для промывки внутренней полости корпуса МТО.
10.1.15 Монтаж теплоизоляционных конструкций в трассовых условиях выполняют в соответствии с технологическими картами и инструкциями по монтажу изготовителя теплоизоляционной конструкции.
10.1.16 Для предотвращения распространения горения в конструкции трубопровода надземной прокладки с теплоизоляцией из горючих материалов применяют противопожарные вставки из негорючих материалов. Расстояние между противопожарными вставками - не более 100 м. Длину противопожарной вставки устанавливают в ПД (РД).
10.1.17 Проведение контроля состояния АКП ЛЧ МТ методом катодной поляризации в зимний период выполняют, если глубина промерзания грунта не превышает 0,5 м, а расстояние между кровлей ММГ и нижней образующей трубопровода составляет не менее 0,3 м.
10.1.18 Проверку состояния АКП участка ППМТ методом катодной поляризации выполняют в любое время года независимо от глубины промерзания грунта и протяженности участка при наличии электропроводной среды в затрубном пространстве при условии, что имеется возможность создать испытательное заземление или использовать имеющееся (например, анодное) заземление установки катодной защиты.
10.1.19 Рекомендуемые типы АКП и теплоизоляционных покрытий для труб, СДТ и МТО приведены в
приложении Б.
10.2 Площадочные объекты магистрального трубопровода
10.2.1 Нанесение АКП выполняют для всех металлических поверхностей подземных конструкций (в том числе свай) в слое сезонного оттаивания грунта и за его пределами на величину не менее 1 м. АКП наносят в заводских условиях или в условиях отапливаемых ангаров на приобъектных площадках. Технологические карты на нанесение АКП разрабатывают с учетом рекомендаций изготовителя материалов.
10.2.2 В качестве АКП металлических конструкций сооружений применяют эпоксидные, полиуретановые, эпоксидно-полиуретановые покрытия, соответствующие НД
<1>.
--------------------------------
<1> В России действует
СП 28.13330.2017 "СНиП 2.03.11-85 Защита строительных конструкций от коррозии".
10.2.3 В качестве АКП наружной и внутренней поверхностей РВС применяют материалы, соответствующие
ГОСТ 31385 и НД
<2>. Нанесение АКП на поверхности РВС, как правило, включает следующие технологические операции:
- подготовка РВС к проведению работ по нанесению АКП;
- подготовка металлической поверхности РВС перед окрашиванием;
- нанесение материалов;
- отверждение АКП;
- контроль качества АКП;
- устранение дефектов АКП.
--------------------------------
<2> В России действует
ГОСТ Р 58617-2019 "Магистральный трубопроводный транспорт нефти и нефтепродуктов. Емкости и резервуары горизонтальные стальные. Общие технические условия".
На всех стадиях технологического процесса осуществляют пооперационный контроль.
Нанесение АКП на поверхности трубопроводов и оборудования в пределах каре РВС осуществляют по той же технологии, что и на наружную поверхность РВС.
10.2.4 При нанесении АКП на РВС разрабатывают ППР, регламентирующий технологию нанесения АКП с применением защитного укрытия при низких температурах окружающей среды (ниже 5 °C), а также при возможности выпадения осадков, конденсата или попадания частиц пыли, песка и других посторонних частиц на окрашенную поверхность. ППР разрабатывает подрядчик.
В ППР предусматривают мероприятия по нанесению АКП на металлические конструкции резервуара при температуре окружающего воздуха ниже 5 °C и относительной влажности воздуха более 80% с предварительным устройством защитного укрытия из непромокаемых материалов и с применением установок для подогрева и осушки воздуха между материалом укрытия и наружной поверхностью резервуара на время подготовки поверхности, нанесения и полного отверждения АКП. Укрытие должно обеспечивать защиту резервуара от воздействия природных условий для проведения работ по нанесению АКП.
10.2.5 При нанесении АКП на РВС необходимо соблюдать требования к условиям окружающей среды (температура окружающего воздуха, относительная влажность воздуха, точка росы). Системы АКП на основе однокомпонентных полиуретановых материалов, отверждаемых влагой воздуха, допускается наносить при относительной влажности воздуха не более 98%.
10.2.6 Нанесение АКП на труднодоступные места РВС (под просечно-вытяжными листами, ступнями и др.) осуществляют до монтажа деталей, ограничивающих доступ для нанесения АКП. Монтаж деталей на РВС выполняют с помощью болтовых соединений. На кронштейны АКП наносят до монтажа трубопровода.
10.2.7 Для РВС, располагаемых надземно, а также горизонтальных резервуаров и других емкостей, располагаемых надземно или подземно, предусматривают теплоизоляцию поверхности стенки, крыши и днища для минимизации воздействия низких температур окружающей среды, для предотвращения охлаждения продукта и растепления грунта.
10.2.8 При применении теплоизоляционных плит перед их монтажом на стенку РВС устанавливают элементы крепления теплоизоляции. Элементы крепления фиксируют теплоизоляционный и покрывной слои в теплоизоляционной конструкции относительно друг друга и стенки (крыши) РВС. В зоне уторного шва РВС, как правило, предусматривают быстросъемные элементы теплоизоляционной конструкции для проведения контроля состояния АКП и технического диагностирования.
10.2.9 Расстояния между элементами крепления теплоизоляционной конструкции на РВС должны соответствовать геометрическим размерам теплоизоляционных изделий. Способы крепления блоков из теплоизоляционных материалов определяют с учетом конкретного типа материала и указывают в ПД (РД).
10.2.10 Стыки между соседними блоками из жестких теплоизоляционных материалов заполняют герметиком или другим материалом, обеспечивающим эластичность теплоизоляционной конструкции. Герметик наносят по периметру блоков. Стыки блоков с конструктивными элементами РВС, в том числе места сопряжения блоков с опорными поясами РВС, также заполняют герметиком.
10.2.11 В теплоизоляционной конструкции стенки РВС из жестких материалов предусматривают вертикальные и горизонтальные деформационные швы. Деформационные швы заполняют герметиком или другим материалом, обеспечивающим эластичность теплоизоляционной конструкции. Горизонтальные деформационные швы проходят непрерывно по окружности РВС; вертикальные деформационные швы - непрерывно между опорными поясами. Для обеспечения непрерывности вертикального деформационного шва проводят подрезку блоков по месту.
10.2.12 При монтаже теплоизоляционной конструкции стенки РВС блоки из теплоизоляционного материала устанавливают поярусно снизу вверх начиная от нижнего опорного пояса и вразбежку с перекрытием швов. При монтаже теплоизоляционной конструкции допускается подрезка блоков по месту.
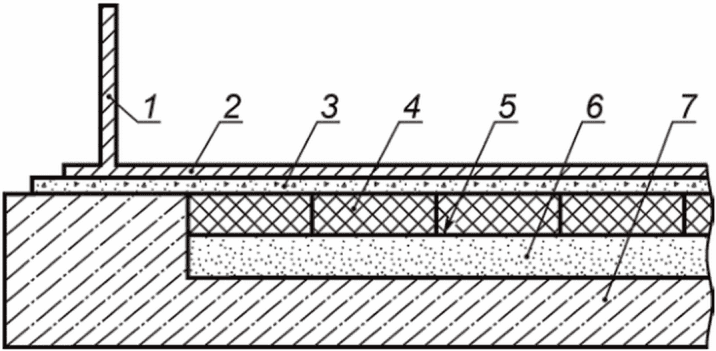
10.2.13 Схема теплоизоляционной конструкции стенки РВС с деформационными швами приведена на
рисунке 1.
1 - вертикальный деформационный шов; 2 - цельный блок;
3 - опорный пояс; 4 - горизонтальный деформационный шов;
5 - разрезной блок
Рисунок 1 - Схема теплоизоляционной конструкции стенки РВС
с деформационными швами
10.2.14 После окончания монтажа теплоизоляционных конструкций крыши РВС должен быть обеспечен доступ к оборудованию, находящемуся на крыше РВС, для его обслуживания.
10.2.15 Теплоизоляционную конструкцию днища РВС устанавливают на фундаментный ростверк РВС, которая, как правило, состоит из следующих элементов:
- выравнивающий слой;
- теплоизоляционный слой;
- гидроизоляционный слой.
Схема теплоизоляционной конструкции днища РВС приведена на
рисунке 2.
1 - стенка РВС; 2 - днище РВС; 3 - гидроизоляционный слой;
4 - теплоизоляционный материал; 5 - битумная мастика;
6 - выравнивающий слой; 7 - железобетонный ростверк
Рисунок 2 - Схема теплоизоляционной конструкции днища РВС
10.2.16 Контроль качества и ремонт АКП и теплоизоляционных покрытий осуществляют обученные специалисты в соответствии с ППР и технологическими картами. Критерии отбраковки АКП и теплоизоляционных покрытий - в соответствии
ГОСТ 31448 и НД.
10.2.17 При операционном контроле процесса монтажа теплоизоляционной конструкции в трассовых условиях контролируют:
- целостность и взаимное расположение скорлуп и листов теплоизоляционных материалов;
- полноту стяжки бандажных стяжных лент (при наличии);
- параметры нанесения защитной оболочки (покрытия);
- сплошность заполнения швов теплоизоляционной конструкции герметизирующими материалами;
- геометрические параметры оболочки (лент, кожухов) теплоизоляционной конструкции в процессе ее установки.
10.2.18 Контроль качества готовой теплоизоляционной конструкции выполняют на основании проверки следующих параметров (не ограничиваясь):
- наличия отступлений от ПД (РД) в части использованных материалов, конструкций и способа монтажа теплоизоляционной конструкции, не согласованных с проектной организацией и заказчиком;
- внешнего вида и сплошности защитной оболочки;
- наличия повреждений, возникших при монтаже.
10.2.19 Применение материалов для изготовления теплоизоляционных конструкций по истечении гарантийного срока хранения разрешено при условии проведения повторных приемо-сдаточных испытаний.
10.2.20 Рекомендуемые типы АКП и теплоизоляционных покрытий для сооружений, расположенных на площадочных объектах МТ, приведены в
приложении Б.
11 Подземная прокладка трубопровода
11.1 Правила подготовки и укладки трубопровода - согласно
ГОСТ 34826.
11.2 При подземной прокладке трубопровода рекомендуется следующая последовательность выполнения СМР:
- расчистка строительной полосы от снега;
- разработка траншеи с предварительным рыхлением ММГ механическим или другим способом (при необходимости);
- расчистка траншеи от снега, крупных твердых включений и льда;
- удаление гребней смерзшегося грунта на дне траншеи (при необходимости);
- подсыпка и выравнивание дна траншеи мягким грунтом;
- раскладка труб/секций трубопровода по трассе трубопровода;
- сварка труб/секций трубопровода в плети;
- нанесение АКП и теплоизоляционного покрытия на стыки;
- монтаж защитной обертки трубопровода при ее наличии в ПД (РД);
- укладка трубопровода в соответствии с ПД (РД);
- балластировка трубопровода;
- устройство элементов геотехнического мониторинга, включая устройства контроля планового и высотного положений трубопровода [при наличии в ПД (РД)];
- устройство ТСГ [при наличии в ПД (РД)];
- присыпка мягким грунтом трубопровода при отсутствии иной защиты трубопровода в ПД (РД);
- засыпка трубопровода с формированием валика.
11.3 СМР по балластировке трубопровода в траншее выполняют в соответствии с ПД (РД). Выполнение балластировки трубопровода - в соответствии с
ГОСТ 34826.
Участки трубопровода, предназначенные для установки чугунных и/или железобетонных балластирующих устройств, защищают футеровкой. При применении тканевых балластирующих устройств футеровку допускается не устанавливать.
11.4 При укладке трубопровода в траншею контролируют:
- соответствие кранов-трубоукладчиков и грузозахватной оснастки ППР;
- соблюдение правильности расстановки и высот подъема трубопровода, установленных в ППР;
- сохранность АКП и теплоизоляционного покрытия трубопровода;
- полное прилегание трубопровода ко дну траншеи по всей его длине;
- положение трубопровода в траншее, установленное в ПД (РД).
11.5 При устройстве кривых поворота трубопровода, монтируемых из отводов, рекомендуется применять отводы с АКП и теплоизоляционными покрытиями, нанесенными в заводских условиях.
11.6 До полного завершения сварки стыка не допускают перемещение или любые механические внешние воздействия на стыки захлестов, сварные соединения "труба - соединительная деталь трубопровода", "труба - запорная арматура", а также ремонтируемые стыки.
11.7 Независимо от коррозионной активности окружающей среды все трубопроводы подземной прокладки защищают от коррозии средствами ЭХЗ. Требования к организации ЭХЗ - по
ГОСТ 34826.
11.8 Металлическое защитное покрытие трубопроводов на участках перехода трубопроводов из подземного положения в надземное следует разъединять посредством электроизолирующей вставки или другого способа.
11.9 При необходимости предусматривают мероприятия по электрической изоляции защитной оболочки трубопровода подземной прокладки.
11.10 После монтажа трубопровода осуществляют контроль проектного положения трубопровода в траншее. Контроль качества изоляционных работ и приемка выполненных работ - в соответствии с НД.
11.11 Контроль качества СМР по укладке и засыпке трубопровода - в соответствии с
ГОСТ 34366. Рекомендуемый состав контролируемых показателей, объемы и методы контроля при укладке и засыпке трубопровода в траншее приведены в
приложении В.
12 Надземная прокладка трубопровода
12.1 СМР по монтажу и укладке трубопровода надземной прокладки из теплоизолированных труб, СДТ, включая технологическое оборудование ЛЧ МТ, выполняют после монтажа фундаментов и элементов конструкций опор трубопровода: кольцевых упоров, ригелей, ложементов, хомутов и других элементов конструкции опор согласно ПД (РД).
12.2 Подвижные и неподвижные опоры трубопровода, а также опоры под технологическое оборудование изготавливают в заводских условиях, включая нанесение АКП и теплоизоляционного покрытия. АКП и теплоизоляционное покрытие на сварные стыки трубопровода наносят в трассовых условиях в соответствии с ППР и технологическими картами. В зоне контакта с трубой опоры оборудуют электроизолирующими ложементами в соответствии с ПД (РД).
12.3 Нагружение опор трубопровода надземной прокладки выполняют только после окончания нулевого цикла измерений в рамках геотехнического мониторинга и подтверждения соответствия контролируемых параметров ПД (РД) (в том числе по температуре ММГ).
12.4 Монтаж трубопровода начинают от неподвижных опор в сторону компенсаторов. Последовательность и технологию выполнения СМР устанавливают в технологических картах с учетом высот опор.
12.5 В зависимости от диаметра, типа изоляции, высот опор, расстояний между компенсаторами, общей и локальной протяженности монтаж участков трубопровода надземной прокладки выполняют следующими способами:
- надвижкой заранее заготовленной конструкции на опоры;
- подъемом с поверхности строительной полосы на опоры отдельных труб или заранее заготовленных элементов конструкции с последующей сваркой их между собой.
12.6 Монтаж заранее заготовленных элементов конструкций трубопровода (плетей, компенсаторов) на опоры выполняют после полного завершения сварки стыков таких конструкций.
12.7 Рекомендуется следующая последовательность СМР при устройстве опор трубопровода надземной прокладки:
- устройство фундаментов опор;
- раскладка элементов опор, ростверков и труб на участке строительства;
- монтаж опорных колец и ростверков опор;
- нанесение АКП и теплоизоляционного покрытия на стыки;
- устройство элементов геотехнического мониторинга [при наличии в ПД (РД)].
12.8 При монтаже трубопровода надземной прокладки на опоры рекомендуется следующая последовательность СМР:
- сварка труб/секций трубопровода в плети;
- сварка и укладка плетей между двумя неподвижными опорами;
- перемещение до места расположения первой неподвижной опоры первой сваренной плети;
- сборка монтажной площадки с укрытием (при необходимости);
- укладка плети на подвижные опоры;
- приварка трубы к патрубку неподвижной опоры;
- приварка плети к трубе неподвижной опоры;
- перемещение второй плети к первой для сборки кольцевого стыка;
- сборка стыка между первой и второй плетью, последующая сборка плетей;
- сварка последнего замыкающего стыка между неподвижными опорами;
- нанесение АКП и теплоизоляционного покрытия на стыки;
- устройство элементов геотехнического мониторинга [при наличии в ПД (РД)];
- устройство ТСГ [при наличии в ПД (РД)].
При необходимости укладку и сварку плетей выполняют от двух соседних неподвижных опор навстречу друг к другу.
12.9 При необходимости устройство ТСГ в грунт и во внутреннюю полость свай выполняют до монтажа трубопровода на опоры с целью предварительного промораживания грунта и/или понижения температуры существующих ММГ. В дальнейшем ТСГ рекомендуется демонтировать на время монтажа трубопровода на опоры для удобства выполнения работ и исключения повреждений ТСГ.
12.10 Количество трубоукладчиков при укладке плети на опоры определяют в ППР.
12.11 При установке П-образного компенсатора для трубопровода надземной прокладки рекомендуется следующая последовательность СМР:
- перемещение сваренного компенсатора с помощью трубоукладчиков в зону установки на трубопровод;
- сборка монтажной площадки с укрытием (при необходимости);
- укладка компенсатора на опоры;
- центровка, сборка и сварка стыка "труба-компенсатор";
- центровка, сборка и сварка стыка "плеть-труба";
- центровка, сборка и сварка стыка "компенсатор-плеть".
12.12 При установке Z-образного компенсатора для трубопровода надземной прокладки рекомендуется следующая последовательность СМР:
- перемещение сваренного компенсатора с помощью трубоукладчиков в зону установки на трубопровод;
- сборка монтажной площадки с укрытием (при необходимости);
- укладка компенсатора на опоры;
- центровка, сборка и сварка стыка "плеть-компенсатор";
- центровка, сборка и сварка стыка "компенсатор-плеть".
12.13 Для обеспечения работоспособного состояния компенсаторов в ППР на основании данных ПД (РД) приводят минимально допустимую температуру металла труб при сварке последнего замыкающего стыка на участке трубопровода между неподвижными опорами. При более низких температурах сварку последнего замыкающего стыка не выполняют без согласования с заказчиком и проектной организацией.
12.14 Сборочно-сварочные работы на высоте выполняют на монтажной площадке.
12.15 Сварку выполняют в инвентарных укрытиях (палатках) после сборки стыка.
12.16 Не допускается размещение кольцевого стыка трубопровода на опоре. При попадании стыка на опору стык вырезают и сваривают в новом месте. Размещение кольцевого стыка относительно опоры не должно создавать помех при установке теплоизоляции и защитной оболочки на стыке.
12.17 При надземной прокладке трубопровода контролируют следующие показатели:
- точность положения осей опор и трубопровода при выносе на местность вдоль и поперек его оси;
- смещение фундамента/свай относительно разбивочных осей;
- планово-высотное положение голов свай, центра опоры и отметок верха опорной части;
- отклонение оси трубопровода от центра опоры;
- вылет компенсатора;
- отклонение трубопровода от геометрической оси на прямолинейных участках;
- расстояние от сварного стыка до опоры;
- качество сварных соединений;
- наличие АКП сварных стыков;
- наличие теплоизоляционного покрытия сварных стыков;
- электроизоляция трубопровода от опоры;
- температура замыкания последнего сварного стыка между неподвижными опорами.
12.18 Строительство перехода трубопровода из подземной в надземную прокладку осуществляют после укладки надземного участка на опоры, включая приварку участка трубопровода к ближайшей неподвижной опоре.
12.19 При выполнении СМР необходимо контролировать угол наклона трубопровода к горизонтали на участке перехода ЛЧ МТ из подземной в надземную прокладку. Контролируемые параметры приводят в ПД (РД) и ППР.
12.20 При необходимости предусматривают мероприятия по электрической изоляции в местах закрепления трубопровода к неподвижным опорам согласно ПД (РД).
12.21 После монтажа трубопровода осуществляют контроль проектного положения трубопровода на опорах.
12.22 После монтажа трубопровода осуществляют контроль проектного положения трубопровода на опорах. Контроль качества изоляционных работ и приемка выполненных работ - в соответствии с НД.
12.23 Контроль качества СМР по монтажу и укладке трубопровода надземной прокладки на ММГ обеспечивают в соответствии с
ГОСТ 34366. Рекомендуемый состав контролируемых показателей, объемы и методы контроля приведены в
приложении Г.
13 Гидравлические испытания в условиях низких температур
13.1 Последовательность этапов гидравлических испытаний приводят в ППР и специальной инструкции по испытаниям трубопровода, разработанной подрядчиком.
13.2 При строительстве и гидравлических испытаниях участков трубопровода и ППМТ в инструкции приводят мероприятия, обеспечивающие безопасность работ, разработанные на основании теплотехнического расчета параметров гидравлического испытания, выполненного на этапе разработки ПД (РД).
13.3 В составе специальной инструкции предусматривают:
- теплотехнический расчет параметров гидравлических испытаний;
- мероприятия по предохранению трубопровода надземной прокладки, линейной арматуры и приборов от замораживания, по утеплению и укрытию узлов подключения наполнительных и опрессовочных агрегатов, камер пуска-приема средств очистки и диагностики, сливных патрубков, обвязочных трубопроводов с арматурой, других открытых частей испытуемого трубопровода;
- установку датчиков измерения температуры воды;
- мероприятия по защите от замерзания измерительных приборов, самописцев и узлов присоединений их к трубопроводу;
- меры по экстренному опорожнению трубопровода при угрозе замерзания испытательной жидкости.
13.4 При температуре окружающей среды трубопровода ниже 0 °C гидравлические испытания участков ППМТ допускается выполнять подогретой водой (при наличии теплотехнического расчета, выполненного проектной организацией).
13.5 С целью повышения надежности производства испытаний в зимних условиях не допускается заполнение трубопровода до проведения:
- засыпки трубопровода подземной прокладки на всем его протяжении;
- нанесения теплоизоляции на трубопровод надземной прокладки и дополнительного утепления мест укладки трубопровода на опоры;
- работ по присоединению узлов подключения к источнику газа или воздуха, используемому для удаления воды из трубопровода.
13.6 Гидравлические испытания участков ППМТ выполняют в три этапа:
- первый этап - гидравлические испытания дюкера или его участков на монтажной площадке до его укладки;
- второй этап - гидравлические испытания трубопровода после его укладки в траншею и соединения с пойменными участками;
- третий этап - гидравлические испытания трубопровода совместно с прилегающими участками.
13.7 При производстве работ в условиях низких температур поршни-разделители заранее запасовывают в узлы пуска и приема средств очистки и диагностирования для обеспечения возможности незамедлительного пуска поршней-разделителей без вскрытия трубопровода.
13.8 Пропуск поршней по трубопроводам надземной прокладки осуществляют под давлением воздуха со скоростью не более 10 км/ч. При этом, как правило, применяют поршни облегченной конструкции, масса и скорость перемещения которых не вызовут недопустимых деформаций трубопровода или опор.
13.9 Контроль за движением поршня осуществляют по показаниям сигнализаторов, манометров, измеряющих давление в узлах пуска и приема поршней, по сообщениям обходчиков и другими методами.
13.10 Гидравлические испытания РВС - в соответствии с
ГОСТ 31385.
13.11 Гидравлические испытания РВС проводят по программе испытаний, являющейся составной частью ППР. В программу испытаний включают:
- этапы испытаний с указанием уровня налива/слива воды и времени выдержки;
- значения избыточного давления и относительного разрежения, времени выдержки;
- схему проведения визуального осмотра и указания по измерению необходимых геометрических параметров элементов конструкций РВС и фундамента;
- обработку результатов испытаний, проведение поверочных расчетов (при необходимости), выдачу заключения о пригодности и режиме эксплуатации РВС.
13.12 Гидравлические испытания РВС, как правило, выполняют при температуре окружающего воздуха не ниже 5 °C. При температуре ниже 5 °C допускается проведение гидравлических испытаний РВС при наличии программы испытаний, предусматривающей мероприятия по предотвращению замерзания воды в трубах, задвижках, а также обмерзания стенки РВС.
После гидравлических испытаний РВС допускается проведение работ по нанесению АКП, устройству теплоизоляции и установке оборудования, предусмотренных ПД (РД), приварка к РВС любых деталей и элементов конструкций не допускается.
13.13 При строительстве технологических трубопроводов подземной прокладки и сети производственно-дождевой канализации на площадочных объектах МТ предусматривают мероприятия по минимизации воздействий на ММГ основания. К таким мероприятиям относят: применение сплошной теплоизоляции для всех трубопроводов и подземных (заглубленных) емкостей, ограничение мощности системы электрообогрева трубопроводов и емкостей, другие мероприятия, предусмотренные ПД (РД).
13.14 В процессе СМР обеспечивают проектный уклон для всех трубопроводов подземной прокладки. Не допускают наличие застойных зон, в том числе в местах подключения трубопроводов к подземным (заглубленным) емкостям.
13.15 Для технологических трубопроводов и напорных трубопроводов сети производственно-дождевой канализации при устойчивой отрицательной температуре окружающего воздуха допускается производить замену гидравлических испытаний пневматическими.
13.16 Отвод использованной жидкости выполняют в специально подготовленные водоемы (амбары, отстойники, сооружаемые в виде траншеи или путем обвалования). Отвод организуют таким образом, чтобы предотвратить растепление ММГ в зоне строительства трубопровода.
13.17 Применение незамерзающих жидкостей и соляных растворов, способных нанести экологический ущерб, допускается только при обеспечении их полной утилизации без выброса в окружающую среду.
14 Изготовление и погружение свай в многолетнемерзлый грунт
14.1 При устройстве свайных фундаментов на ММГ, как правило, используют стальные трубчатые сваи, винтовые сваи, а также сваи других конструкций, несущая способность которых обусловлена как сопротивлением грунта под нижним концом сваи, лопасти, так и боковой поверхностью за счет смерзания с грунтом.
14.2 Стальные сваи изготавливают согласно НД
<1>. Параметры свай определяют в ПД (РД).
--------------------------------
-
ГОСТ Р 57991-2017 "Магистральный трубопроводный транспорт нефти и нефтепродуктов. Сваи стальные из труб, применяемые для устройства фундаментов под опоры трубопроводов надземной прокладки. Общие технические условия";
-
СП 25.13330.2020 "СНиП 2.02.04-88* Основания и фундаменты на вечномерзлых грунтах".
14.3 По условиям применимости и способам погружения в ММГ стальные трубчатые сваи подразделяют на буроопускные, опускные, бурозабивные (забивные), винтовые.
14.4 При определении длины бурозабивных и забивных свай сваи учитывают припуск на удлинение верхнего конца сваи, повреждаемого при забивке.
14.5 Скважины, перед погружением в них буроопускных свай, должны быть очищены от воды, льда, снега и шлама. Очистку от шлама выполняют путем повторного погружения шнека в скважину до забоя с последующим извлечением без вращения либо с помощью специальных приспособлений: "желонок", "ложковых" буров.
При наличии поверхностных, межмерзлотных подземных вод, неустойчивых грунтов для защиты скважины от затопления и обрушения стенок применяют обсадные извлекаемые и неизвлекаемые стальные трубы диаметром, равным диаметру скважины. Извлекаемые обсадные трубы демонтируют после заливки раствора в скважину и установки сваи в скважину.
Раствор для заполнения пазух скважины заливают непосредственно перед погружением сваи. Объем раствора назначают из расчета полного заполнения пазух между сваей и стенками скважины, за исключением слоя сезонного оттаивания грунта. По согласованию с заказчиком раствор в пазухи доливают после погружения сваи.
Температура раствора, заливаемого в скважину:
- не ниже 20 °C при выполнении работ в зимний период;
- не ниже 10 °C при выполнении работ в летний период.
Перед погружением поверхность сваи очищают от намерзших комьев грунта, льда, снега, масляных пятен.
Цикл операций по устройству буроопускных свай осуществляют таким образом, чтобы заливка раствора в скважину не проводилась до выполнения следующих подготовительных операций:
- транспортировки и раскладки свай по трассе/площадочном объекте;
- проверки исправности вибропогружателя и другой техники;
- обеспечения наличия достаточного объема заполнителя для внутренней полости свай;
- подготовки грузозахватных приспособлений для подъема и перемещения сваи и раствора.
Сваи погружают непосредственно после окончания бурения скважины. В летний период промежуток времени между подготовкой скважины и установкой сваи - не более 4 ч. В зимний период заблаговременную проходку скважин выполняют при условии применения мероприятий по предотвращению попадания в скважины снега или воды, образования инея и наледей на стенках скважины, а также мероприятий по технике безопасности (устройство ограждения, предупреждающих знаков).
При использовании ММГ по принципу I не допускают применения химических добавок для ускорения твердения раствора, уложенного в распор с грунтом.
14.6 Опускные сваи погружают в предварительно оттаянный грунт при наличии твердомерзлых глинистых и песчаных грунтов, содержащих не более 15% крупнообломочных включений при средней температуре грунта в зоне заделки сваи минус 1,5 °C и ниже.
Оттаивание ММГ выполняют с использованием открытых или закрытых нагревателей с помощью пара, воды или электрического тока. К закрытым нагревателям относят водяные и паровые иглы, из которых вода или пар не поступает в грунт, а циркулирует в замкнутой системе.
Глубина оттаянной скважины в глинистых грунтах - не более проектной глубины погружения сваи. В грунтах, содержащих крупнообломочный материал, и песчаных грунтах при необходимости оттаивают скважину на глубину, превышающую проектную глубину погружения сваи до 1 м.
Сваю в оттаянную зону грунта погружают непосредственно после окончания оттаивания. В зимний период погружение выполняют не позднее чем через сутки после окончания оттаивания. При необходимости при погружении предусматривают мероприятия по предотвращению выпучивания свай в процессе промерзания слоя сезонного оттаивания грунта.
14.7 Бурозабивные сваи рекомендуется применять в пластично-мерзлых грунтах с содержанием крупнообломочных включений не более 20% и температурой ММГ не ниже:
- минус 0,3 °C - для пылеватых песков;
- минус 0,8 °C - для супесей;
- минус 1,0 °C - для суглинков;
- минус 1,2 °C - для глин.
Скважины перед погружением бурозабивных свай тщательно очищают от попавших в них ранее воды, грязи, льда и снега. Образование под торцом сваи гидравлической или грунтовой пробки препятствует погружению сваи до проектной отметки.
Соотношение наибольшего поперечного сечения сваи и диаметра скважины, а также условия применения бурозабивного способа погружения свай проверяют и уточняют на каждой строительной площадке по результатам пробной забивки с измерением температуры ММГ на всю глубину погружения свай.
В пластично-мерзлых глинистых грунтах при температуре ММГ от минус 1 °C и выше по результатам пробной забивки используют забивной способ погружения свай без бурения лидерных скважин.
14.8 Бурообсадные сваи применяют при устройстве свайных фундаментов в сложных инженерно-геокриологических условиях и при наличии межмерзлотных подземных вод.
14.9 Полые сваи и сваи-оболочки в ММГ заполняют бетоном, сухой цементно-песчаной смесью или иным материалом/способом в соответствии с
ГОСТ 34826. Материал и способ заполнения свай указывают в ПД (РД).
Работы по заполнению внутренней полости свай выполняют непосредственно после окончания их погружения. При технологическом разрыве, например при необходимости погружении внутрь свай ТСГ, применяют мероприятия по предотвращению попадания во внутреннюю полость свай снега или воды (например, выполняют приварку временной заглушки), в зимний период надземную часть свай утепляют.
При производстве работ по заполнению внутренней полости свай бетоном допускается применять противоморозные добавки, не вызывающие коррозию металла и не являющиеся коррозионно-активным компонентом бетона. Дозировку противоморозной добавки, время выдержки и расчетную температуру твердения бетона принимают в соответствии с инструкцией по применению противоморозной добавки. При проведении бетонирования в условиях температур окружающего воздуха ниже допустимой температуры применения противоморозной добавки используют электропрогрев, конвективный прогрев при помощи тепляков и другие способы.
14.10 Для забивки свай применяют сваебойные машины ударного, виброударного и другого действия, в том числе вибропогружатели с ударной приставкой.
Погружение буроопускных свай проводят с применением вибропогружателя путем вытеснения предварительно залитого в скважину раствора и других машин, обеспечивающих бездефектное погружение свай.
На полые буроопускные сваи непосредственно после их погружения передают вертикальную вдавливающую нагрузку для обеспечения отсутствия всплытия сваи после монтажа. Время пригрузки сваи определяют в ППР.
14.11 На участках с ММГ для проходки скважин под сваи применяют сухое вращательное бурение шнековыми станками с применением скальных шнеков, забурников, лопастных долотьев и других устройств, предназначенных для бурения скважин в ММГ и скальных грунтах.
Способ проходки скважин под сваи приводят в ППР и выбирают с учетом условий строительной площадки и технических возможностей машин и механизмов подрядчика. При экономической целесообразности проходку скважин осуществляют иными способами, например ударно-вращательным, термохимическим, паровым вибролидером. При растеплении ММГ (в том числе предварительном) способ проходки скважин под сваи согласовывают с проектной организацией.
При наличии поверхностных или межмерзлотных подземных вод (смешанные грунты) для защиты скважин от затопления и обрушения стенок применяют обсадные извлекаемые стальные трубы диаметром, равным диаметру скважины.
14.12 Контроль качества СМР при производстве работ по устройству свайных фундаментов - в соответствии с
ГОСТ 34366.
14.13 При операционном контроле качества СМР по устройству свайных фундаментов контролируют:
- внешний вид АКП свай, наличие пропусков, дефектов, пузырей, ухудшающих качество покрытия;
- соблюдение требований к параметрам лидерной скважины;
- отсутствие мерзлых комьев, воды, снега и льда внутри скважин перед погружением свай;
- время пригруза буроопускных полых свай;
- отклонения осей фундаментов относительно разбивочных осей;
- отклонения в отметках вертикальных верхних опорных поверхностей фундаментов;
- соблюдение требований к материалам фундаментов, в том числе материалам по заполнению внутренней полости свай.
14.14 Приемку СМР по устройству свайных фундаментов проводят на основании данных, приведенных в следующих документах:
- в ПД (РД) и ППР;
- технологических картах на производство работ;
- паспортах изготовителей на погружаемые сваи и цементно-песчаный (или бетонный) раствор заполнения;
- журналах учета входного контроля качества материалов и конструкций в соответствии с
ГОСТ 24297;
- общем журнале работ в соответствии с НД
<1>;
- исполнительных схемах на погружение свай с указанием их отклонений;
- журналах погружения свай;
- актах на геодезическую разбивку осей сооружения и закрепление строительных осей; сводных ведомостях погруженных свай;
- документах по результатам опытных работ, включая результаты испытаний свай в соответствии с
ГОСТ 5686.
--------------------------------
<1> В России действует
РД 11-05-2007 "Порядок ведения общего и (или) специального журнала учета выполнения работ при строительстве, реконструкции, капитальном ремонте объектов капитального строительства".
14.15 При строительстве свайных фундаментов выполняют полевые контрольные испытания ММГ сваями в целях проверки соответствия несущей способности свай расчетным нагрузкам, установленным в ПД (РД).
14.16 Испытания свай проводят по программе, утвержденной заказчиком, как правило, до начала массового погружения свай на каждом участке, характеризующемся схожими инженерно-геокриологическими условиями. Методы испытаний ММГ - по
ГОСТ 5686. При испытаниях ММГ винтовыми сваями дополнительно проводят контроль целостности лопасти сваи.
15 Бетонные работы в условиях низких температур
15.1 Специальные меры при выполнении бетонных работ принимают при среднесуточной температуре наружного воздуха ниже 5 °C и минимальной суточной температуре наружного воздуха ниже 0 °C.
15.2 Бетонирование конструкций при отрицательных температурах проводят по технологии, обеспечивающей надлежащие условия набора прочности бетона, по разработанным технологическим картам в составе ППР, в которых приводят:
- особенности технологии приготовления бетонной смеси, обеспечивающие получение заданной температуры смеси при выгрузке из бетоносмесителя;
- особенности транспортировки бетонной смеси к месту укладки в конструкцию, предотвращающие ее замерзание;
- метод бетонирования;
- способы и температурно-влажностные режимы выдерживания бетона;
- схему размещения скважин и наименования устройств для измерения температуры бетона;
- нормированные величины прочности бетона;
- требуемую прочность бетона к концу выдерживания и моменту распалубливания;
- данные о материале опалубки с указанием теплоизоляционных показателей, о пароизоляционных и теплоизоляционных материалах для укрытия неопалубленных поверхностей бетона и при необходимости опалубки;
- потребность в энергии, воде, паре, оборудовании и специальных материалах;
- сроки и порядок снятия опалубки и нагружения конструкций.
15.3 Выбор метода бетонирования при отрицательных температурах выполняет производитель работ на основе теплотехнических расчетов, выполненных на этапе ПД, экономической эффективности метода применительно к местным условиям согласно НД.
15.4 При отрицательных температурах применяют следующие методы бетонирования и их комбинации:
- метод "термоса";
- сквозной и периферийный электродный прогрев;
- предварительный форсированный электроразогрев;
- кондуктивный обогрев (греющая опалубка);
- электропрогрев греющими проводами;
- обогрев инфракрасными излучателями;
- индукционный прогрев;
- конвективный прогрев (электрокалориферы, тепляки и т.п.);
- без обогрева с применением противоморозных добавок;
- паропрогрев.
15.5 При разработке технологических карт подрядная организация выполняет:
- выбор типа опалубки и степень ее утепления;
- определение температуры бетонной смеси по выходе из бетоносмесителя и температуры подогрева составляющих материалов в зависимости от принятого метода бетонирования, транспортировки и укладки;
- определение температуры бетонной смеси в процессе ухода и тепловой обработки;
- определение продолжительности тепловой обработки.
15.6 При применении электротермообработки бетона в технологических картах дополнительно приводят:
- схемы размещения и подключения электродов или электронагревателей;
- требуемую электрическую мощность, напряжение, силу тока;
- тип понижающего трансформатора, сечение и длину проводов.
15.7 При выдерживании бетона по методу "термоса" и периферийном электродном прогреве конструкций толщиной не более 20 см применяют утепленную опалубку, защищая открытые поверхности бетона от охлаждения и испарения воды. Утепление опалубки выполняют без зазоров и щелей, в том числе в местах стыкования теплоизоляции.
15.8 Бетонные смеси при отрицательных температурах наружного воздуха приготавливают на утепленных бетоносмесительных установках. Утеплению подлежат емкости для воды, водо- и паропроводная сети, пневмоаппараты, краны, насосы, контрольные приборы и установки для приготовления растворов солей и ПАВ и пр. Для подогрева материалов отапливают галереи с транспортерами для их подачи, а также бункерное, дозировочное и смесительное отделения.
15.9 Для приготовления бетонной смеси при отрицательных температурах следует применять подогретые воду или цемент, оттаянные или подогретые заполнители, обеспечивающие получение температуры бетонной смеси, определенной в ППР.
15.10 Для приготовления бетонной смеси при применении цемента по
ГОСТ 10178 и
ГОСТ 31108 используют воду с температурой:
- не выше 70 °C в случае нормальнотвердеющего цемента;
- не выше 60 °C в случае быстротвердеющего цемента.
15.11 При необходимости применяют неотогретые сухие заполнители, не содержащие наледи на зернах и смерзшиеся комья.
15.12 Температура бетонной смеси на выходе из бетоносмесителя при применении цемента по
ГОСТ 10178 и
ГОСТ 31108:
- не выше 35 °C в случае нормальнотвердеющего цемента;
- не выше 25 °C в случае быстротвердеющего цемента.
15.13 При транспортировке бетонной смеси от смесительных узлов при температуре наружного воздуха ниже минус 15 °C барабаны автобетоносмесителей утепляют или оборудуют устройствами для обогрева.
15.14 При отрицательных температурах наружного воздуха стационарные бетононасосы рекомендуется устанавливать в отапливаемых помещениях, а передвижные - оборудовать утепленными кожухами с местным обогревом для обеспечения работы их основных узлов, водяной и масляной систем.
15.15 Средняя температура бетонной смеси в процессе транспортировки по трубопроводу, включая периоды остановки бетононасоса, не должна опускаться ниже величин, обеспечивающих температуру уложенного в конструкцию бетона перед началом выдерживания или прогрева:
- при выдерживании бетона по методу "термоса" - не ниже 10 °C;
- перед началом предварительного электроразогрева бетонной смеси в бадье или кузове автобетоносмесителя - не ниже 0 °C в наиболее охлажденных зонах;
- при применении других способов электротермообработки - не ниже 2 °C;
- при использовании бетона с противоморозными добавками - не менее чем на 5 °C выше температуры замерзания раствора затворения.
15.16 Непосредственно перед началом транспортировки бетонной смеси трубопровод прогревают пропуском через него горячей воды, пара, воздуха или другим способом.
15.17 При укладке бетонных смесей при отрицательных температурах без противоморозных добавок обеспечивают температуру основания не ниже 5 °C.
15.18 Опалубку и арматуру перед бетонированием очищают от снега, наледи, цементной пленки и грязи струей горячего воздуха или другим способом. Не рекомендуется снимать наледь паром или горячей водой.
15.19 При выдерживании бетона по методу "термоса" при температуре наружного воздуха ниже минус 10 °C арматуру диаметром более 25 мм, а также арматуру из жестких прокатных профилей и крупные закладные металлические детали отогревают до положительной температуры. Отогрев осуществляют струей горячего воздуха, индукционным методом или другим методом.
15.20 Выпуски арматуры забетонированных конструкций укрывают или утепляют на высоту (длину) не менее чем 0,5 м.
15.21 Температура бетонной смеси в процессе выдерживания и тепловой обработки - не выше 80 °C.
15.22 При температуре бетона 0 °C и ниже происходит замерзание бетона, а процесс набора прочности практически отсутствует. Замерзание уложенного бетона раньше набора им критической прочности не допускается. Критическая прочность бетона приведена в
таблице 2.
Таблица 2
Критическая прочность бетона
Вид бетона | Тип конструкции | Класс бетона | Критическая прочность бетона, % от проектной прочности |
Без противоморозных добавок | Фундамент под оборудование, эксплуатируемое внутри здания, не подвергающийся динамическим воздействиям | До B10 | 50 |
От B15 до B25 | 40 |
B30 и выше | 30 |
Конструкция, подвергающаяся по окончании выдерживания переменному замораживанию и оттаиванию в водонасыщенном состоянии или расположенная в зоне сезонного оттаивания грунта при условии введения в бетон воздухововлекающих или газообразующих ПАВ | Любой | 80 |
Пролетная конструкция с шириной пролета, м | До 6 | Любой | 70 |
Св. 6 | 80 |
Преднапряженная конструкция | 80 |
С противоморозными добавками | Любой | До B10 | |
До B25 | |
B30 и выше | |
<*> К моменту охлаждения бетона ниже температуры, на которую рассчитано количество добавок. |
15.23 Бетонирование фундаментов и других конструкций при температуре воздуха ниже минус 40 °C, как правило, не выполняют.
15.24 При среднесуточной температуре наружного воздуха ниже 5 °C ведут журнал контроля температуры бетона. Измерения температуры бетона выполняют в наиболее и наименее прогреваемых частях конструкции. Количество точек измерения температуры определяют в зависимости от размеров и конфигурации конструкции и указывают в технологических картах, входящих в состав ППР.
15.25 Снятие теплоизоляции и опалубки с конструкций выполняют:
- при выдерживании бетона по методу "термоса" - не ранее остывания бетона в наружных слоях до расчетной конечной температуры, не допуская примерзания к бетону;
- электротермообработке бетона - не ранее остывания до температуры, предусмотренной ППР;
- применении бетонов с противоморозными добавками - по достижении критической прочности в соответствии с
таблицей 2.
15.26 Не допускается снятие теплоизоляции, если температура в центре конструкции продолжает повышаться.
15.27 Независимо от метода бетонирования для снятия теплоизоляции и опалубки с конструкций разность температуры поверхностного слоя бетона и наружного воздуха - не более 20 °C. При большей разности указанных температур конструкции после снятия опалубки дополнительно теплоизолируют.
15.28 При проверке качества бетона определяют прочность:
- бетона по данным измерений температуры, используя график набора прочности при заданной температуре;
- по результатам испытания контрольных образцов бетона, изготовленных до бетонирования и твердеющих в идентичных температурных условиях или полученных выбуриванием кернов соответствующего диаметра при сроках твердения 28 и 90 сут.
При приемке бетонных свай дополнительно определяют несущую способность свай по грунту статическими испытаниями отдельных свай осевыми нагрузками [при наличии указаний в ПД (РД)].
15.29 При устройстве бетонных свай подбор состава бетона, твердеющего в контакте с ММГ, выполняют любым проверенным на практике методом, обеспечивающим соблюдение требований, предъявляемых к бетонной смеси при минимальных для данных заполнителей расходов цемента и воды.
Достижение бетоном заданной прочности и сроки нагружения бетонных свай определяют на основании прогнозирования теплового взаимодействия твердеющего бетона с окружающим мерзлым грунтом.
16 Термостабилизация грунта
16.1 Термостабилизацию грунта применяют с целью обеспечения требуемого температурного режима ММГ при проведении СМР и в период эксплуатации сооружений.
16.2 К мероприятиям по термостабилизации грунта относят:
- устройство вентилируемых подполий сооружений (открытых или закрытых, с естественной или принудительной вентиляцией), оказывающих тепловое воздействие на грунт основания;
- применение устройств охлаждения грунта (ТСГ, охлаждающих установок сезоннодействующих и круглогодичного действия, пр.), их комбинаций с фундаментами опор трубопровода и других сооружений (термоопоры);
- устройство фундаментов сооружений на подсыпках с использованием теплоизоляции;
- устройство пространственных вентилируемых фундаментов;
- другие мероприятия по устранению или уменьшению теплового воздействия сооружения на мерзлые грунты основания.
16.3 До начала выполнения СМР проверяют комплектность устройств для охлаждения грунта, наличие сопроводительных документов, соответствие ПД (РД), отсутствие повреждений конструкции и АКП. При обнаружении механических повреждений (вмятин, трещин, смятий, перегибов и др.), превышающих допустимые значения согласно НД, изделия бракуют.
16.4 Применение ТСГ относят к основным мероприятиям по сохранению мерзлого состояния грунта основания опор трубопровода надземной прокладки, свайных фундаментов сооружений на площадочных объектах МТ.
16.5 Монтаж охлаждающих установок выполняют в соответствии с инструкцией по монтажу или руководством по эксплуатации изготовителя. Последовательность и технологию выполнения монтажа, необходимые меры безопасности и охраны окружающей среды приводят в технологических картах.
16.6 Монтаж охлаждающих установок рекомендуется выполнять до начала зимнего периода с целью максимального использования естественного холода для промораживания грунта, исключения деформаций морозного пучения свайных фундаментов за счет анкеровки свай в промороженный грунт.
16.7 При вертикальном и слабонаклонном положениях ТСГ применяют буроопускной способ их погружения. Погружение ТСГ выполняют после заполнения скважины расчетным количеством бурового или другого раствора, например водно-песчаной пульпой в объемном соотношении 1:1. Не допускают заполнение пазух буровым шламом, смерзшимся грунтом, комьями грунта, несыпучим грунтом (глиной, суглинком и пр.).
16.8 Монтаж ТСГ в гильзы выполняют непосредственно после установки гильз, не допуская попадания снега и воды во внутреннюю полость гильз. Монтаж гильз в грунт осуществляют буроопускным способом путем вытеснения предварительно залитого в скважину раствора, обеспечивая бездефектное погружение гильз.
16.9 Монтаж ТСГ в грунт выполняют буроопускным способом непосредственно после бурения скважин путем вытеснения предварительно залитого в скважину раствора, обеспечивая бездефектное погружение ТСГ.
16.10 Монтаж элементов охлаждающих установок в котлованах (горизонтальных охлаждающих труб и пр.) рекомендуется выполнять в зимний период с целью сохранения мерзлого состояния грунта. В летний период при необходимости работы в котловане проводят по осушенному и уплотненному основанию.
16.11 Укладку горизонтальных охлаждающих труб выполняют по выравнивающему слою из талого непучинистого грунта без крупных включений. Присыпку охлаждающих труб выполняют ручным способом из талого непучинистого грунта без крупных включений. Наличие снега и льда в теле подсыпки и присыпки, а также на поверхности укладки охлаждающих труб не допускается.
16.12 После окончания монтажа все охлаждающие установки до заправки их хладагентом испытывают на прочность и герметичность (в том числе резервный контур охлаждения), за исключением установок, заправленных хладагентом в заводских условиях.
16.13 После заправки охлаждающих установок хладагентом не допускается выполнять любые механизированные и ручные земляные, снегоуборочные, буровые и другие работы на данном участке без согласования с организацией, выполнившей монтаж охлаждающих установок.
16.14 В процессе СМР не допускают механические воздействия на охлаждающие устройства, не предусмотренные в технической документации изготовителя.
16.15 Выполнение работ, связанных с изменением конструкции охлаждающих установок, без согласования с изготовителем запрещено.
16.16 Техническое обслуживание, ремонт и периодические проверки работоспособности устройств для охлаждения грунта выполняют в соответствии с руководством по эксплуатации изготовителя.
16.17 Устройство фундаментов сооружений на подсыпках с использованием теплоизоляции относят к основным мероприятиям по сохранению мерзлого состояния грунта основания при строительстве сооружений временного назначения.
16.18 При операционном контроле качества работ по монтажу устройств для охлаждения грунта контролируют:
- наличие механических повреждений (вмятин, трещин, перегибов) элементов охлаждающих устройств;
- наличие повреждений АКП элементов охлаждающих устройств;
- наличие АКП сварных стыков труб охлаждающих устройств;
- глубину скважин под ТСГ, гильзы ТСГ;
- объем заливаемого в скважину бурового, водно-песчаного или другого раствора (при установке ТСГ в грунт) и объем заливаемой в гильзу незамерзающей жидкости (при установке ТСГ в гильзы);
- отсутствие во внутренней полости гильз под ТСГ снега, льда и воды;
- точность местоположения ТСГ относительно погруженных свай;
- отклонения ТСГ от вертикали;
- верхнюю отметку ТСГ после его установки;
- герметичность ТСГ и других охлаждающих устройств по результатам испытаний на прочность и герметичность;
- наличие хладагента в контуре охлаждающих устройств.
16.19 При операционном контроле качества СМР по устройству фундаментов сооружений на подсыпках с использованием теплоизоляции контролируют:
- температуры грунтов в основании подсыпки;
- суммарную толщину подсыпки и ее отдельных слоев (выравнивающего, защитного, промежуточного);
- крутизну откосов подсыпки, наличие укрепления откосов подсыпки в соответствии с ПД (РД).
16.20 Работоспособность ТСГ и других охлаждающих установок определяют в зимний период при температуре наружного воздуха минус 10 °C и ниже по результатам измерений температуры оребрения надземной части охлаждающих установок. Измерения температуры выполняют при помощи переносного тепловизора, накладных датчиков или другим способом.
Признаком работы охлаждающих установок является разность температуры наружного воздуха и оребрения не менее 3 °C, а также отсутствие инея на оребрении при визуальном осмотре.
16.21 С целью проверки работоспособности ТСГ и других охлаждающих установок (при наличии указаний в ППР по геотехническому мониторингу) выполняют дополнительные измерения, в том числе измерения внутреннего давления и уровня хладагента, скорости ветра, температуры атмосферного воздуха и пр.
17 Дополнительные положения по строительству сооружений в условиях низких температур
17.1 СМР по строительству сооружений проводят с обязательным выполнением всех мероприятий, обеспечивающих соблюдение выбранного принципа использования ММГ.
17.2 СМР выполняют с использованием материалов и изделий, соответствующих северной строительно-климатической зоне.
17.3 Не допускают использование восстановленных стальных труб и других бывших в употреблении видов металлической конструкции в качестве элементов конструкций ЛЧ МТ и сооружений на площадочных объектах МТ.
17.4 При использовании ММГ по принципу I при устройстве фундаментов на подсыпках не допускают оттаивания грунтов в основании подсыпки в период проведения СМР, что достигают путем выполнения СМР только в зимний период после промерзания слоя сезонного оттаивания грунта. Не допускают попадания в тело подсыпки снега и льда. Для ускорения промерзания грунтов в пределах контура подсыпки регулярно расчищают снег.
В качестве материала подсыпок применяют гравий, щебень, песок, смеси гравия и щебня с песком. Для устройства подсыпок не применяют грунты, обладающие пучинистыми свойствами (содержащие глинистые примеси более 10% по весу), а также размокающие в воде.
Плотность укладки грунта в подсыпку проверяют, определяя плотность скелета грунта каждого слоя, которая составляет не менее 1900 кг/м3 для гравийно-щебеночных и гравийных грунтов и 1600 кг/м3 для песчаных грунтов.
17.5 СМР по устройству фундаментов на подсыпках подлежат приемке заказчиком на всех стадиях их выполнения с составлением актов скрытых работ:
- на устройство системы водоотлива и осушения, а также другие подготовительные работы;
- устройство инженерных сетей, предусмотренных в ПД (РД);
- результаты осмотра естественных покровных грунтов, на которых будет устраиваться надземная подсыпка и их сопоставление с данными изысканий;
- устройство рабочего слоя;
- устройство теплоизоляции;
- устройство фундаментов;
- устройство защитного слоя, бетонной или асфальтовой стяжки и крепление откосов подсыпки.
17.6 При использовании ММГ по принципу I применяют свайные, столбчатые и другие типы фундаментов, в том числе фундаменты на искусственных (насыпных и намывных) основаниях.
При использовании в качестве фундаментов свай, в работе которых учтены силы смерзания бетона с грунтом по боковым поверхностям (висячие сваи), в ППР предусматривают мероприятия по обеспечению восстановления расчетного состояния ММГ в заданные сроки.
17.7 При бетонировании буронабивных свай с использованием ММГ по принципу I выполняют мероприятия по предупреждению протаивания грунта под пятой столба: бурение скважины ниже проектной отметки на величину протаивания с засыпкой щебнем или другим непросадочным материалом на глубину, равную прослойке протаивания, и другие мероприятия.
17.8 При использовании ММГ по принципу II укладку бетона в скважину при устройстве свай проводят в распор с мерзлым грунтом без обсадных труб в устойчивых грунтах и с обсадными трубами, извлекаемыми в процессе бетонирования, в неустойчивых грунтах.
Твердение бетона при бетонировании буронабивных свай-стоек обеспечивают всеми методами, приведенными в
15.4, электропрогрев бетона применяют при необходимости получения требуемой прочности в короткие сроки. Метод выдерживания бетона свай устанавливают в ППР исходя из условий теплообмена бетона с ММГ основания.
Выдерживание бетона по методу "термоса" ниже слоя сезонного оттаивания грунта применяют для свай диаметром 800 мм и более при температуре ММГ минус 3 °C и выше; для свай диаметром 1200 мм и более - при температуре ММГ выше минус 5 °C.
В слое сезонного оттаивания грунта для буронабивных свай применяют электропрогрев бетона или модификацию его состава при помощи добавок.
17.9 При использовании ММГ по принципу II фундаменты возводят после завершения предварительного оттаивания и уплотнения ММГ в основании. Производство работ по оттаиванию ММГ и устройству фундаментов допускается проводить отдельными участками.
С целью поддержания ММГ основания в оттаявшем состоянии и защиты грунта на уровне подошвы фундаментов от сезонного промерзания, как правило, применяют устройство полов по грунту.
17.10 При устройстве сборных ленточных фундаментов применяют железобетонные элементы прямоугольного или трапецеидального сечения, подбор элементов осуществляют по каталогам строительных изделий (в зависимости от нагрузки по подошве фундамента).
17.11 Для сооружений с проветриваемыми подпольями в период выполнения СМР обеспечивают постоянное вентилирование подполий, при котором подполье оставляют в открытом состоянии. Для этого в период выполнения СМР предусматривают мероприятия по регулярной расчистке снежных заносов по контуру сооружений и внутри подполий.
При устройстве подполий с использованием систем побудительной (механической) вентиляции приточные воздуховоды располагают выше максимальной отметки снежных отложений у стен сооружения. Вытяжные воздуховоды, как правило, выводят выше конька крыши и оборудуют дефлекторами или иным устройством в соответствии с ПД (РД).
17.12 Вытяжные воздуховоды устанавливают таким образом, чтобы осуществлялось равномерное вентилирование подполья.
18 Геотехнический мониторинг
18.1 Геотехнический мониторинг осуществляют согласно ПД (РД). При разработке ПД (РД) определяют состав, периодичность, сроки и методы работ, которые назначают применительно к рассматриваемому объекту строительства, а также предельные значения контролируемых параметров при геотехническом мониторинге. Количество элементов геотехнического мониторинга и требования к их размещению устанавливают согласно НД.
18.2 На основании разделов ПД (РД) подрядчик разрабатывает ППР по геотехническому мониторингу. Помимо сведений, указанных в ПД (РД), ППР по геотехническому мониторингу включает в себя (не ограничиваясь):
- схемы установки ДМ, ТС, ГС, глубинных реперов и пр.;
- конструкции и характеристики оборудования для проведения наблюдений;
- методику измерений, оценку точности измерений и др.;
- требования к визуально-инструментальному обследованию сооружений окружающей застройки;
- требования к обустройству элементов геотехнического мониторинга;
- указания по организации и выполнению измерений;
- указания по оформлению результатов измерений.
18.3 Геотехнический мониторинг включает в себя режимные наблюдения, выполняемые с целью оценки возможности развития негативных процессов и явлений, связанных с деградацией ММГ, нарушением стока поверхностных и подземных вод, почвенно-растительного слоя и пр. В рамках режимных наблюдений контролируют (не ограничиваясь):
- температуру грунтов в ТС;
- температуру воздуха в проветриваемом (вентилируемом) подполье;
- уровни подземных вод в ГС;
- высотные отметки ДМ;
- высотные отметки глубинных реперов;
- высотные отметки подкрановых путей внутри сооружений;
- высотные отметки водоотводных лотков в технических этажах и подпольях сооружений, а также тротуаров у сооружений;
- работоспособность искусственной вентиляции;
- работоспособность устройств охлаждения грунта.
18.4 При прокладке трубопровода подземной прокладки на опорах в ПД (РД) дополнительно предусматривают мероприятия по обеспечению и контролю проектного положения трубопровода, к которым относят в том числе:
- установку системы контроля и/или сигнализации нагрузки на подземные опоры трубопровода при выполнении СМР;
- устройство элементов геотехнического мониторинга по определению высотного положения трубопровода в траншее;
- мероприятия по инженерной защите грунтов обратной засыпки трубопровода от размыва и оголений;
- мероприятия по предотвращению всплытия трубопровода при растеплении ММГ;
- испытания ММГ сваями для каждого характерного участка по инженерно-геокриологическим условиям;
- мероприятия по контролю уплотнения грунтов обратной засыпки, в том числе под трубопроводом.
18.5 Методы определения деформаций (осадок, наклонов, сдвигов и т.п.) оснований, фундаментов и других конструкций строящихся сооружений - по
ГОСТ 24846.
18.6 Методы полевого определения температуры грунтов, в том числе ММГ, - по
ГОСТ 25358.
18.7 Применяемые в процессе геотехнического мониторинга средства измерений должны быть утвержденных типов, признанными пригодными к применению по назначению по результатам поверки/калибровки согласно НД
<1>.
--------------------------------
<1> В России действует Федеральный
закон от 26 июня 2008 г. N 102-ФЗ "Об обеспечении единства измерений".
18.8 Рекомендуется следующая периодичность измерений и обследований при геотехническом мониторинге на этапе СМР:
а) измерение температуры грунта - ежемесячно;
б) измерение температуры воздуха в проветриваемом (вентилируемом) подполье - 1 раз в месяц в течение зимнего периода;
в) проверка работоспособности искусственной вентиляции - 1 раз в месяц в течение зимнего периода;
г) измерение уровня подземных вод - в зависимости от принципа использования ММГ в качестве основания сооружения:
1) I принцип - 1 раз в конце летнего периода,
2) II принцип - ежемесячно в случае предварительного искусственного оттаивания грунтов и 1 раз в конце летнего периода в случае допущения оттаивания грунтов в период эксплуатации сооружения;
д) нивелирование ДМ - ежемесячно;
е) нивелирование отметок глубинных реперов - 2 раза в год (1 раз в летний период и 1 раз после промерзания слоя сезонного оттаивания грунта);
ж) контроль целостности и сохранности элементов геотехнического мониторинга - ежемесячно;
и) проверка работоспособности охлаждающих установок - 3 раза в холодный период:
1) первый раз - в начале холодного периода после понижения температуры воздуха до минус 10 °C,
2) второй раз - в середине холодного периода,
3) третий раз - в конце холодного периода при повышении температуры воздуха до минус 10 °C.
18.9 Показания термометрических кос, погруженных в ТС, периодически проверяют путем погружения в каждую ТС контрольных термометрических кос.
18.10 При геотехническом мониторинге на этапе СМР выполняют дополнительные виды измерений, предусмотренные ПД (РД), например измерения осадки фундаментов сооружений окружающей застройки.
18.11 В процессе геотехнического мониторинга подрядчик обеспечивает своевременность информирования заинтересованных сторон о выявленных отклонениях контролируемых параметров, в том числе тенденции их изменений, превышающие ожидаемые, от проектных значений и результатов прогнозных расчетов.
18.12 При выявлении в процессе геотехнического мониторинга показаний, свидетельствующих о возможности реализации аварийной или предаварийной ситуации, подрядчик незамедлительно информирует представителей авторского надзора, технического надзора и заказчика о выявленных отклонениях и необходимости принятия решения о приостановке работ.
18.13 При сдаче законченного строительством сооружения эксплуатирующая организация должна выполнить нулевой цикл измерений, включающий в себя привязку всех элементов геотехнического мониторинга и определение их первоначальных параметров. При соответствующем обосновании в качестве нулевого цикла измерений допускается принимать данные, полученные на этапе геотехнического мониторинга в процессе СМР.
18.14 ТС оборудуют в соответствии с
ГОСТ 25358, ГС - согласно
ГОСТ 23278 и НД
<1>, устройство ДМ проводят в соответствии с
ГОСТ 24846. Глубину скважин для обустройства ТС и ГС принимают по ПД (РД), но не менее значений, указанных в НД.
--------------------------------
<1> В России действует
СП 446.1325800.2019 "Инженерно-геологические изыскания для строительства. Общие правила производства работ".
18.15 Обустройство ТС и ГС рекомендуется выполнять непосредственно после окончания бурения скважин с целью недопущения заплывания стенок скважин.
18.16 При устройстве ТС выполняют бурение скважины с последующим погружением в нее стальной или пластмассовой трубы. Диаметр инженерно-геологических скважин при их использовании для обустройства ТС - не более 160 мм.
Бурение скважин выполняют колонковым способом без промывки, или шнековым на малых оборотах бурового инструмента, или ручным буровым комплектом, не приводящих к искусственному растеплению грунта.
Скважину в пределах слоя сезонного оттаивания грунта защищают обсадной трубой-кондуктором. Сверху на трубу-кондуктор устанавливают крышку. Конструкция крышки обеспечивает отсутствие попадания атмосферных осадков внутрь скважины.
При устройстве ТС с обсадными трубами, как правило, применяют буроопускной способ их погружения. Погружение обсадных труб при этом проводят после заполнения скважин раствором.
18.17 С целью обеспечения регистрации фоновых значений температуры на ЛЧ МТ в соответствии с указаниями ПД (РД) рекомендуется устанавливать дополнительные ТС вблизи трубопровода надземной или подземной прокладки - как правило, вне зоны антропогенного вмешательства (нарушение растительных покровов, условий снегонакопления) и техногенного влияния (в том числе от тепловыделяющих сооружений).
18.18 Для бурения скважин, предназначенных для обустройства ГС, применяют колонковый способ с продувкой сжатым воздухом и другие способы, предусмотренные ППР.
18.19 Пазухи скважин для обустройства ТС и ГС заполняют буровым раствором, водно-песчаной пульпой в соотношении 1:1 или сухим просеянным песком. Не рекомендуется заполнение пазух скважин буровым шламом, смерзшимся грунтом, комьями грунта, несыпучим грунтом (глиной, суглинком и пр.).
18.20 На каждую ДМ наносят порядковый номер.
18.21 Глубинный репер представляет собой реперную трубку с приваренной к ее верхнему концу нивелирной маркой в виде полусферической головки или другой конструкции.
Погружение реперных трубок в скважины выполняют буроопускным или другим способом с предварительным заполнением скважин заданным объемом раствора (грунтового или цементно-песчаного). По всей глубине слоя сезонного оттаивания грунтов репер защищают от сил морозного пучения трубой-кондуктором. Сверху на трубу-кондуктор устанавливают крышку.
Нижнюю часть реперной трубки изготавливают в виде винтового или бетонного якоря. Пазухи скважины после погружения реперной трубки засыпают талым непучинистым грунтом.
Способ монтажа репера должен обеспечивать его герметичность, отсутствие попадания атмосферных осадков внутрь скважины, отсутствие вертикальных перемещений при процессах пучения.
Реперные трубки и якоря реперов, устанавливаемых на ММГ, изготавливают в заводских условиях, не допускается изготовление бетонного якоря в скважине, пробуренной для установки глубинного репера.
18.22 Не допускается погружение глубинных реперов, стальных и пластиковых труб для обустройства ТС и ГС вдавливанием ковша. Диаметр скважин, пробуренных для обустройства глубинных реперов, ТС и ГС, должен обеспечивать бездефектное обустройство глубинных реперов, ТС и ГС.
18.23 Если обустройство элементов геотехнического мониторинга выполняют в несколько этапов, то входные отверстия скважин/труб, предназначенных для обустройства глубинных реперов, ТС или ГС, надежно закрывают пробкой, предупреждающей возможность попадания во внутреннюю полость скважин или труб атмосферных осадков и образование в ней конденсата или снежной шубы. Надземную часть ТС и ГС после их обустройства утепляют.
18.24 Устройство элементов определения высотного положения трубопровода подземной прокладки выполняют после укладки трубопровода в траншею.
18.25 Контроль качества СМР по обустройству элементов геотехнического мониторинга - по
ГОСТ 34366.
18.26 При операционном контроле качества СМР по обустройству элементов геотехнического мониторинга на ММГ контролируют:
- точность и неподвижность положения элементов;
- глубины скважин для обустройства ТС, ГС и глубинных реперов;
- отсутствие в скважинах для обустройства ТС, ГС и глубинных реперов выбуренного шлама, снега и льда;
- целостность конструкции ТС и отсутствие в ней воды;
- точность установки термокосы в ТС;
- время выстойки ТС после погружения термокосы.
19.1 ППР на отдельные виды СМР, связанных со специфическими способами строительства (предварительное промораживание или оттаивание ММГ, монтаж и наладка охлаждающих установок, испытание ММГ сваями, геотехнический мониторинг), допускается разрабатывать субподрядным организациям, выполняющим эти работы и имеющим необходимые допуски для их выполнения.
19.2 ППР на отдельные виды СМР в виде дополнения включают в состав основного ППР. По согласованию с заказчиком допускаются разработка и утверждение отдельного ППР на подготовительные работы.
19.3 При использовании ММГ по принципу I при разработке ППР не допускается отступление от сроков СМР, указанных в ПД (РД).
19.4 На основании данных ПД (РД) в ППР приводят температуру замыкания последнего стыка между неподвижными опорами при надземной прокладке трубопровода ЛЧ МТ. При необходимости в ППР приводят следующую информацию:
- размеры смещений ложементов относительно оси каждой скользящей опоры в зависимости от температуры замыкания;
- размеры поперечных смещений от оси опоры при закреплении вылета компенсатора.
19.5 Проведение СМР осуществляют на основании соответствующей разрешительной документации.
19.6 Перечень разрешительной документации формирует заказчик до начала проведения СМР и передает подрядчику.
19.7 Разрешительная документация входит в состав приемо-сдаточной документации, находится на объекте СМР до окончания работ и сдается заказчику вместе с исполнительной документацией.
19.8 Исполнительную документацию оформляют в процессе СМР участники СМР и заинтересованные организации в целях юридического подтверждения факта выполнения конкретных работ, требуемого уровня их качества, соответствия ПД (РД) и НД, участия конкретных исполнителей и возможности производства последующих работ в соответствии с НД
<1>.
--------------------------------
-
РД 11-02-2006 "Требования к составу и порядку ведения исполнительной документации при строительстве, реконструкции, капитальном ремонте объектов капитального строительства и требования, предъявляемые к актам освидетельствования работ, конструкций, участков сетей инженерно-технического обеспечения";
19.9 С целью хранения и структурирования данных ведение специальных журналов, как правило, организуют в электронном виде (например, в виде информационной базы данных), в том числе документирование результатов геотехнического мониторинга в период СМР.
20 Требования безопасности
20.1 Общие положения
20.1.1 К выполнению СМР допускаются лица не моложе 18 лет, прошедшие предварительный, при поступлении на работу и периодический медицинский осмотры, годные по состоянию здоровья к выполнению работ по соответствующей профессии, прошедшие обучение по профессии, видам выполняемых работ и имеющие соответствующие квалификационные удостоверения, а также вводный инструктаж и инструктажи на рабочем месте, практическое обучение (стажировку), проверку знаний по охране труда, промышленной, пожарной безопасности и получившие удостоверение на допуск к самостоятельной работе.
20.1.2 Лица, выполняющие работы на высоте более 3 м, должны пользоваться испытанными предохранительными поясами. Инструмент и крепежные элементы должны быть размещены в закрытых ящиках.
20.1.3 Места работ, транспортные и строительные машины должны быть обеспечены аптечками с комплектом кровоостанавливающих, перевязочных и других средств, необходимых для оказания первой помощи. Работающие должны быть ознакомлены с правилами оказания первой доврачебной помощи, в том числе правилами оказания первой помощи при обмораживании.
20.1.4 В зимний период особое внимание следует обратить на проведение мероприятий по предотвращению обмораживаний, в том числе созданию пунктов обогрева.
20.1.5 Работники для защиты от опасных и вредных производственных факторов, факторов окружающей среды в соответствии с выполняемыми функциями должны быть обеспечены сертифицированной специальной одеждой, специальной обувью и другими средствами индивидуальной защиты.
20.1.6 Концентрация вредных веществ в воздухе рабочей зоны не должна превышать предельно допустимых значений. Контроль за содержанием вредных веществ в воздухе рабочей зоны - в соответствии с
ГОСТ 12.1.005.
20.1.7 Воздушную среду следует контролировать непосредственно перед началом работ, после каждого перерыва в работе и в течение всего времени выполнения работ с периодичностью, указанной в наряде-допуске, но не реже чем через 1 ч работы, а также по требованию участвующих в производстве работ.
20.2 Сварочные работы и работы с применением газопламенных подогревателей
20.2.1 До начала электросварочных работ необходимо принять меры для исключения ожогов работников от разогретых кромок свариваемых труб, температура разогрева которых может достигать выше 120 °C.
20.2.2 Во время выпадения осадков (снега или дождя) и при ветреной погоде (ветер со скоростью свыше 10 м/с) сварочные работы следует проводить с применением навеса (палатки) над местом производства работ.
20.2.3 При установке палатки в ней обеспечивают освещенность не менее 200 лк. Для изготовления навеса (палатки) следует применять негорючий материал или материал, обработанный огнезащитным составом.
20.2.4 При работе в палатке загрязненный воздух следует удалять при помощи вентиляционной установки из верхней зоны в объеме не менее однократного воздухообмена в 1 ч.
20.2.5 В целях недопущения образования трещин и травмирования персонала от резкого изменения положения свариваемых труб не допускается освобождения жимки центратора до выполнения 60% сварки корневого слоя стыка.
20.2.6 Запрещается вести подогрев трубопровода или плетей, когда внутри трубопровода ведутся сварочные работы или находятся люди.
20.2.7 Баллоны с кислородом, горючими газами, а также компрессоры и сварочную аппаратуру следует располагать не ближе 10 м от действующих трубопроводов и не ближе 20 м от резервуаров, находящихся в эксплуатации.
20.2.8 Расстояние от сварочных кабелей до баллонов с горючими газами - не менее 1 м.
20.2.9 Запрещается отогревать баллоны. Редукторы допускается обрабатывать горячей водой.
20.2.10 При проведении сварочных работ внутри резервуара каждый сварщик должен использовать каску-маску, диэлектрический коврик и закрытый электрододержатель, исключающий его закорачивание на металлические конструкции. Запрещается применять электрододержатели с оголенными токоведущими частями.
20.2.11 Особое внимание при сварке порошковой проволокой и сварке в углекислом газе следует уделять защите от пылегазовыделения из зоны дуги. Необходимо следить за тем, чтобы поток дыма, насыщенный аэрозолями, не попадал под щиток сварщику. При сварке закрытых отсеков резервуарных конструкций следует помнить о том, что углекислый газ является более тяжелым, чем воздух, и скапливается в нижних частях, поэтому следует организовать вытяжную вентиляцию не только для удаления аэрозолей, поднимающихся вверх, но и для газов, скапливающихся ниже зоны сварки.
20.2.12 При выполнении сварки внутри отсеков коробов понтонов должна быть организована принудительная вентиляция. Сварщик при этом должен быть застрахован канатом, свободный конец которого размещен вне смотрового люка, а работу внутри отсека должен контролировать дежурный работник. В замкнутых отсеках запрещается применять механизированную сварку самозащитной порошковой проволокой.
20.3 Работы с использованием площадки обслуживания
20.3.1 До начала производства работ в месте установки рабочей площадки поверхность земли должна быть спланирована. После установки площадки следует проверить правильность заземления.
20.3.2 Перемещение площадки к месту производства работ осуществляют с использованием автотракторной техники по оборудованным проездам.
20.3.3 До начала работ ответственный за производство работ лично проверяет целостность всех конструкций площадки (крепление лестницы, перил ограждений, закрепление съемной палатки, надежность фиксирования болтов в телескопических стойках, а также исправность освещения, нагревательных и вентиляционных установок в палатке). Данные операции выполняют после каждого передвижения площадки на новое место производства работ и после изменения ее высоты с использованием ГПМ и в начале рабочей смены.
20.3.4 Подъем работников на площадку производства работ осуществляют по инвентарной лестнице, закрепленной на площадке. Место перехода с лестницы на рабочую площадку оборудуют съемным ограждением.
20.3.5 Подъем на площадку инструмента и оборудования массой свыше 15 кг проводят с использованием ГПМ, исправными грузозахватными приспособлениями в специально предназначенной для этого таре, исключающей его падение.
20.3.6 В осеннее-зимний период возникающее на передвижной площадке обледенение следует своевременно удалять. Не допускают нахождения на площадке персонала во время тумана, исключающего видимость в пределах фронта работ, и ветра со скоростью 15 м/с и более, а также в момент ее перемещения.
20.3.7 Опасную зону места производства работ в радиусе 3,5 м обозначают сигнальной лентой. Высота расположения сигнальных ограждений (сигнальной ленты) - 0,8 м от уровня земли или снежного покрова.
20.3.8 Не допускают нахождение персонала под площадкой в период производства СМР на площадке, а также в период передвижения и подъема площадки.
20.4 Работы по стыковке труб с использованием кранов-трубоукладчиков
20.4.1 Фиксацию стыкуемых элементов на монтажной высоте выполняют с помощью кранов-трубоукладчиков и центраторов.
20.4.2 Для строповки труб следует использовать только инвентарные исправные испытанные грузозахватные приспособления, исключающие падение поднимаемых изделий. На съемном грузозахватном приспособлении должны быть клеймо или прикрепленная металлическая бирка с указанием инвентарного номера, грузоподъемности и даты испытания. Каждое съемное грузозахватное приспособление должно быть снабжено паспортом.
20.4.3 До начала работ следует проверить состояние канатов, блоков и тормозных устройств кранов-трубоукладчиков, троллейных подвесок, которые должны соответствовать действующим требованиям.
20.4.4 При центровке труб не допускаются:
- нахождение персонала в световом пространстве между торцами труб, а также под поднятыми трубами;
- размещение руки в световом пространстве между торцами труб при их стыковке;
- удары по стропам и крюку ГПМ во время подъема труб;
- нахождение персонала между ГПМ, строительными конструкциями и поднимаемым грузом;
- нахождение персонала в зонах движения рабочих органов ГПМ;
- удерживание руками поднятых труб. Для сопровождения труб во время их перемещения следует использовать оттяжки или багры.
20.4.5 Наружные центраторы следует устанавливать на тело трубы только после окончания всех операций по перемещению трубы и после занятия ею устойчивого неподвижного положения.
20.4.6 Кран-трубоукладчик должен обеспечивать устойчивое положение стыкуемых труб при выполнении сварочно-монтажных работ. Не допускается перемещение свариваемой плети до окончания сварки.
20.5 Нанесение антикоррозионных и теплоизоляционных покрытий
20.5.1 Отвержденное АКП и теплоизоляционное покрытие не должны оказывать вредного воздействия на организм человека и окружающую среду и являться токсичными.
20.5.2 В технической документации на материалы, применяемые для антикоррозионной и теплоизоляционной защиты, должны быть указаны следующие показатели пожарной опасности:
- группа горючести;
- температура вспышки;
- температура воспламенения;
- температура самовоспламенения;
- температурные пределы распространения пламени.
20.5.3 Все работы по антикоррозионной и теплоизоляционной защите выполняют специализированные бригады, имеющие допуск на проведение работ на промышленно опасных объектах. В технической документации на АКП приводят меры безопасности при проведении работ с покрытием и необходимые средства индивидуальной защиты.
20.5.4 По окончании работ или при длительном перерыве в работе оборудование для нанесения АКП следует промыть и очистить специальным растворителем, указанным в технической документации производителя.
20.5.5 При случайном разливе применяемых материалов этот участок необходимо немедленно засыпать сорбентом или песком, предварительно защитив органы дыхания.
20.5.6 Загрязненные растворители, опилки, песок, тряпки следует собирать в ведра и удалять в специально отведенные места в плотно закрытой таре.
20.5.7 При выполнении обезжиривания и окрасочных работ не допускается:
- выполнять огневые работы, а также работы и действия, которые могут вызвать образование искр и воспламенение паров растворителей;
- использовать электроприборы в обычном исполнении;
- применять щетки, скребки и кисти из синтетических материалов.
20.5.8 Не допускается проводить обезжиривание и окрасочные работы на объекте во время грозы.
20.5.9 Работы внутри укрытия, резервуара следует проводить при работающей приточно-вытяжной вентиляции. Работу, связанную с подготовкой и окраской поверхности внутри укрытия и резервуара, должна выполнять бригада, состоящая не менее чем из трех человек. Один - исполнитель работ, двое - страхующие, которые находятся снаружи укрытия резервуара и постоянно наблюдают за исполнителем работ. Между работающими внутри укрытия резервуара и дежурным необходимо обеспечить поддержание постоянной связи (звуковой, световой, при помощи сигнального каната и т.п.).
20.5.10 Концентрация пожаровзрывоопасных летучих веществ не должна превышать значений предельно допустимых концентраций вредных веществ по
ГОСТ 12.1.004 и должна быть обеспечена приточно-вытяжной вентиляцией.
20.5.11 При нарушениях технологического процесса, отключении вентиляции или изменении самочувствия работающих работы следует немедленно прекратить, а работающих удалить из рабочей зоны.
21 Охрана окружающей среды
21.1 Проведение производственного экологического контроля необходимо осуществлять на всех этапах СМР.
21.2 При выполнении СМР следует соблюдать:
- требования законодательства и НД, включающие в себя положения в области охраны окружающей среды;
- меры по сохранению или компенсации объектов растительного и животного мира, занесенные в Красную книгу с учетом региональных требований;
- меры по охране поверхностных и подземных вод, которые направлены на рациональное использование и охрану вод и водных биоресурсов на пересекаемых и используемых в качестве источника водоснабжения водных объектах.
21.3 Производство работ по вырубке древесно-кустарниковой растительности должно быть согласовано в установленном порядке с учетом региональных требований. Необходимые компенсационные мероприятия следует предусматривать в ППР на основании данных ПД (РД).
21.4 Техническая рекультивация территории проведения СМР включает следующие мероприятия:
- снятие и складирование мохово-растительного слоя на участках строительства, где это допускается ПД (РД);
- заготовку торфа в специальных торфяных карьерах, а также плодородного грунта и транспортировки к месту укладки;
- планировку территорий, засыпку эрозионных форм и термокарстовых просадок грунтом с аналогичными физико-химическими и механическими свойствами;
- уборку строительного мусора, неизрасходованных материалов, оставшихся при демонтаже временных сооружений после окончания СМР на трассе трубопровода и в местах перехода через водные объекты;
- восстановление системы естественного или организованного водоотвода, берегоукрепительные работы;
- формирование откосов, насыпей и карьеров;
- восстановление плодородного слоя почвы (при ее наличии) в соответствии с ПД (РД).
21.5 Мероприятия по биологической рекультивации в зоне ММГ следует выполнять в соответствии с действующими НД на основании ТУ собственника (арендатора) земель.
21.6 Контроль за соблюдением предельно допустимых выбросов в атмосферу при нанесении АКП в трассовых условиях и на площадочных объектах МТ, при производстве работ по устройству свай, охлаждающих установок и теплоизоляции - в соответствии с НД
<1>.
--------------------------------
<1> В России действует
ГОСТ Р 58577-2019 "Правила установления нормативов допустимых выбросов загрязняющих веществ проектируемыми и действующими хозяйствующими субъектами и методы определения этих нормативов".
21.7 При необходимости проводят специальные мероприятия для предупреждения вреда окружающей среде и здоровью человека при испытании, хранении и транспортировке труб, СДТ, оборудования, комплектов теплоизоляции, свай и охлаждающих установок.
21.8 Охлаждающие установки должны быть герметичны по отношению к внешней среде. Нарушение герметичности конструкции в процессе производства СМР и эксплуатации не допускается.
21.9 Материалы и вещества, применяемые для упаковки и консервации, должны быть безопасными для людей и окружающей среды.
21.10 ТСГ и другие охлаждающие установки, вышедшие из строя или отработавшие назначенный срок службы, подлежат утилизации в соответствии с указаниями руководства по эксплуатации изготовителя.
21.11 Материалы, используемые при нанесении АКП и теплоизоляционного покрытия, должны иметь сертификаты соответствия (при необходимости их обязательной сертификации), санитарно-эпидемиологические заключения, иные документы, предусмотренные НД, удостоверяющие их гигиеническую и экологическую безопасность. Не допускается применение материалов, содержащих вредные вещества выше класса опасности 3 по
ГОСТ 12.1.007.
21.12 Обращение с отходами, образующимися при устройстве свайных фундаментов, теплоизоляции сварных стыков, теплоизоляции фундаментов и других частей сооружений, а также при устройстве охлаждающих установок осуществляют в соответствии с нормативами образования отходов и лимитов на их размещение согласно НД. Запрещается несанкционированное захоронение или сжигание всех видов отходов, в том числе неработающих машин и механизмов.
21.13 Лом и отходы, содержащие незагрязненные черные металлы в виде несортированных изделий и кусков, складируют на площадке с твердым (асфальтовым, бетонным) покрытием.
21.14 Отходы, образующиеся при устройстве свайных фундаментов, теплоизоляции сварных стыков, фундаментов и других частей сооружений, а также при монтаже охлаждающих установок, передают подрядчику, имеющему при необходимости лицензию на осуществление деятельности по сбору, транспортировке, обработке, утилизации, обезвреживанию, размещению отходов соответствующих классов опасности согласно НД
<1>.
--------------------------------
<1> В России действует
Приказ Министерства природных ресурсов и экологии РФ от 4 декабря 2014 г. N 536 "Об утверждении Критериев отнесения отходов к I - V классам опасности по степени негативного воздействия на окружающую среду".
(рекомендуемое)
СОСТАВ КОНТРОЛИРУЕМЫХ ПОКАЗАТЕЛЕЙ, ОБЪЕМ И МЕТОДЫ КОНТРОЛЯ
ПРИ УСТРОЙСТВЕ НАСЫПЕЙ И ОБРАТНЫХ ЗАСЫПОК КОТЛОВАНОВ
Таблица А.1
Контролируемый показатель | Предельное отклонение | Метод контроля, объем выборки |
Гранулометрический состав грунта, предназначенного для устройства насыпей, обратных засыпок, грунтовых подушек | Не допускается без наличия специальных указаний в ПД (РД) | Измерительный и регистрационный |
Влажность грунта, предназначенного для устройства насыпей, обратных засыпок, грунтовых подушек | Не допускается без наличия специальных указаний в ПД (РД) | Измерительный и регистрационный |
Содержание в насыпном грунте древесины, волокнистых материалов, гниющего или легкосжимаемого строительного мусора | Не допускается | Ежесменный, визуальный |
Содержание мерзлых комьев от общего объема грунта | для насыпей и обратных засыпок, уплотняемых укаткой | Не более 20% | Визуальный, периодический (устанавливают в ППР) |
для наружных пазух сооружений и верхних зон траншей с уложенными коммуникациями | Не более 20% |
для пазух и подсыпок внутри сооружений | Не допускается |
для грунтовых подушек | Не допускается |
Размер твердых включений, в том числе мерзлых комьев | для всех типов насыпей и обратных засыпок | Не более 30 см | Визуальный, периодический (устанавливают в ППР) |
для грунтовых подушек | Не более 15 см |
Средняя по принимаемому участку плотность сухого уплотненного грунта | для планировочных и других уплотняемых насыпей, для которых эта величина не задана ПД (РД) | Не ниже плотности сухого грунта, соответствующей контрольным значениям коэффициента уплотнения | Измерительный, периодический (объем измерений устанавливает проверяющая организация) |
для обратных засыпок | Не ниже проектного значения. Снижение плотности сухого грунта ниже проектных значений - до 0,06 т/м3 в отдельных определениях, но не более чем в 20% определений |
для дорожных насыпей | Не ниже проектного значения. Снижение плотности сухого грунта ниже проектных - не более чем в 10% определений при отсыпке в летний период и в 20% при отсыпке в зимний период | Измерительный, периодический. Не менее одного измерительного пункта на каждые 300 м2 насыпи |
для насыпных грунтовых оснований под полы | Не ниже проектного значения. Снижение плотности сухого грунта ниже проектных значений - не более чем в 20% определений | Измерительный, периодический. Не менее одного измерительного пункта на 200 м2 основания при толщине подсыпки не более 1 м или на 300 м2 при толщине подсыпки 1 м и более |
для грунтовых подушек | Не ниже проектного значения. Снижение плотности сухого грунта ниже проектных значений - до 0,05 т/м3 или коэффициента уплотнения до 0,02 не более чем в 10% определений | Измерительный, периодический. Не менее одного измерительного пункта на каждые 300 м2 площади подушки, число проб в каждой пункте не менее двух (по глубине слоя) |
Наличие снега и льда в теле насыпей, обратных засыпок и грунтовых подушек | Не допускается | Визуальный, периодический |
Температура грунта, отсыпаемого и уплотняемого при отрицательной температуре воздуха | Обеспечение сохранения пластичного состояния грунта до конца его уплотнения | Измерительный, периодический |
Толщина теплоизолирующих слоев, отсыпаемых на всех конструктивных элементах | Не ниже проектного значения | Измерительный, периодический |
(рекомендуемое)
ТИПЫ АНТИКОРРОЗИОННЫХ И ТЕПЛОИЗОЛЯЦИОННЫХ ПОКРЫТИЙ
ДЛЯ ОБЪЕКТОВ МАГИСТРАЛЬНОГО ТРУБОПРОВОДА
Таблица Б.1
Объект | Антикоррозионное покрытие | Теплоизоляционное покрытие |
Тип покрытия | Нанесение | Тип покрытия | Нанесение |
Магистральный трубопровод подземной прокладки |
Трубопровод (ЛЧ МТ) | Монослойное полиэтиленовое, трехслойное полиэтиленовое двухслойное порошковое эпоксидное, композитное (от механических повреждений) | В заводских условиях по НД <*> | Заливочный ППУ в защитной оболочке | В заводских условиях по НД <**> |
СДТ | На основе термореактивных смол (полиуретан, полимочевина и другие материалы), на основе напыляемого порошкового полиэтилена | В заводских условиях по НД <*> | Заливочный ППУ в защитной оболочке | В заводских условиях по НД <**> |
Сварной стык | На основе термоусаживающихся манжет, на основе многокомпонентной композиции из полиэтилена, армированного стеклонитями и полиуретановым заполнителем | В трассовых условиях по технологии организации, наносящей покрытие | ППУ скорлупы или заливочный ППУ в защитной оболочке | В трассовых условиях по технологии организации, наносящей покрытие |
МТО | На основе термореактивных смол (полиуретан, полимочевина и другие материалы) | В заводских или трассовых условиях по НД <*> | Съемные конструкции на основе негорючих или слабогорючих материалов | В заводских условиях по НД |
Магистральный трубопровод надземной прокладки |
Трубопровод (ЛЧ МТ) | Атмосферостойкое на основе эпоксидных и полиуретановых красок | В заводских условиях по НД <*> | Заливочный ППУ в защитной оболочке | В заводских условиях по НД <**> |
СДТ | Атмосферостойкое на основе эпоксидных и полиуретановых красок, на основе напыляемого порошкового полиэтилена | В заводских условиях по НД <*> | Заливочный ППУ в защитной оболочке | В заводских условиях по НД <**> |
Сварной стык | Атмосферостойкое на основе эпоксидных и полиуретановых красок | В трассовых условиях по технологии организации, наносящей покрытие | ППУ скорлупы/заливочный ППУ в защитной оболочке | В трассовых условиях по технологии организации, наносящей покрытие |
МТО | Атмосферостойкое на основе эпоксидных и полиуретановых красок | В заводских или трассовых условиях | Съемные конструкции на основе негорючих или слабогорючих материалов | В заводских условиях по НД |
Опора трубопровода | Атмосферостойкое на основе эпоксидных и полиуретановых красок | В заводских или трассовых условиях | - | - |
Свая из стальной трубы | Двухслойное порошковое эпоксидное | В заводских или трассовых условиях | - | - |
Сооружения на площадочных объектах МТ |
Сварной стык | Атмосферостойкое на основе эпоксидных и полиуретановых красок | В трассовых условиях по технологии организации, наносящей покрытие | ППУ скорлупы/заливочный ППУ в защитной оболочке | В трассовых условиях по технологии организации, наносящей покрытие |
МТО | Атмосферостойкое на основе эпоксидных и полиуретановых красок | В заводских или трассовых условиях | Съемные конструкции на основе негорючих или слабогорючих материалов | В заводских условиях по НД |
Опора трубопровода | Атмосферостойкое на основе эпоксидных и полиуретановых красок | В заводских или трассовых условиях | - | - |
Свая из стальной трубы | Двухслойное порошковое эпоксидное | В заводских или трассовых условиях | - | - |
Технологический трубопровод подземной прокладки | Атмосферостойкое на основе эпоксидных и полиуретановых красок | В заводских условиях по НД <*> | Заливочный ППУ в защитной оболочке | В заводских условиях по НД <**> |
Конструкция на основе ППС с защитной оболочкой из полимерной ленты | В трассовых условиях |
Технологический трубопровод надземной прокладки | Атмосферостойкое на основе эпоксидных и полиуретановых красок | В заводских условиях по НД | Заливочный ППУ в защитной оболочке | В заводских условиях по НД |
Конструкция на основе ППС с защитной оболочкой из оцинкованной стали. Пенокаучук с защитной оболочкой из оцинкованной стали | В трассовых условиях |
РВС, горизонтальный резервуар, другие емкости, располагаемые надземно | Наружное покрытие - атмосферостойкое на основе эпоксидных и полиуретановых красок. Внутреннее покрытие - химстойкое на основе эпоксидных красок | В трассовых условиях | Конструкции на основе негорючих материалов | В трассовых условиях |
Примечания 1 При технически обоснованной необходимости в трассовых условиях применяют теплоизоляционные конструкции на основе скорлуп из ППУ, пенополистирола, пеностекла или рулонов из пенокаучука с защитной оболочкой. 2 При необходимости в качестве АКП применяют другие материалы. Технические показатели АКП на основе материалов, отличных от указанных в настоящей таблице, определяют по согласованию с заказчиком. |
(рекомендуемое)
СОСТАВ КОНТРОЛИРУЕМЫХ ПОКАЗАТЕЛЕЙ, ОБЪЕМ И МЕТОДЫ КОНТРОЛЯ
ПРИ УКЛАДКЕ И ЗАСЫПКЕ ТРУБОПРОВОДА В ТРАНШЕЕ
Таблица В.1
Контролируемый показатель | Предельное отклонение | Метод контроля, объем выборки |
Гранулометрический состав грунта, предназначенного для обратных засыпок [при наличии специальных указаний в ПД (РД)] | Не допускается без наличия специальных указаний в ПД (РД) | Измерительный и регистрационный по указаниям ПД (РД) |
Содержание в грунте древесины, волокнистых материалов, гниющего или легкосжимаемого строительного мусора | Не допускается | Визуальный, ежесменный |
Содержание мерзлых комьев от общего объема грунта | для пазух траншей с уложенными трубопроводами | Не более 20% | Визуальный, периодический |
для насыпей, уплотняемых трамбованием (на переходах дорог) | Не более 30% |
Наличие снега и льда в обратных засыпках | Не допускается | Визуальный, периодический |
Температура грунта, отсыпаемого и уплотняемого при отрицательной температуре воздуха | Талое или пластично-мерзлое состояния грунта до конца его уплотнения | Измерительный, периодический |
Половина ширины траншеи по дну по отношению к разбивочной оси | (+20/-5) см | Измерительный, периодический |
Отклонение отметок при планировке полосы для работы экскаваторов | -5 см | Измерительный, периодический |
Отклонение отметок дна траншеи от значений, установленных в ПД (РД), при разработке грунта | землеройными машинами | -10 см | Измерительный, периодический |
буровзрывным способом | -20 см | Измерительный, периодический |
Толщина слоя постели подсыпки из мягкого грунта на дне траншеи | +10 см | Измерительный, периодический |
Отклонение отметок дна траншеи от значений, установленных в ПД (РД) с учетом подсыпки | (+5/-10) см | Измерительный, периодический |
Толщина слоя присыпки из мягкого грунта над трубой (при последующей засыпке скальным или мерзлым грунтом) | +10 см | Измерительный, периодический |
Общая толщина слоя засыпки грунта над трубопроводом | +20 см | Измерительный, периодический |
Высота насыпи над трубопроводом (в плотном состоянии) | (+20/-5) см | Измерительный, периодический |
(рекомендуемое)
СОСТАВ КОНТРОЛИРУЕМЫХ ПОКАЗАТЕЛЕЙ, ОБЪЕМ И МЕТОДЫ КОНТРОЛЯ
ПРИ МОНТАЖЕ И УКЛАДКЕ НАДЗЕМНОГО ТРУБОПРОВОДА
Таблица Г.1
Контролируемый показатель | Предельное отклонение | Метод контроля, объем выборки |
Устройство свайных фундаментов опор трубопровода надземной прокладки |
Положение в плане голов свай | +/- 5 см | Измерительный, каждая свая |
Отметки голов свай | +/- 5 см | Измерительный, каждая свая |
Вертикальность оси свай | 2:100 | Измерительный, 20% свай, выбранных случайным образом |
Монтаж опор трубопровода надземной прокладки |
Положение центра опоры | вдоль оси трубопровода | +/- 10 см | Измерительный, каждая опора |
поперек оси трубопровода | +/- 5 см | Измерительный, каждая опора |
Верхняя отметка опорной части (опорной муфты) | +/- 2 см | Измерительный, каждая опора |
Положение опорного стола (ростверка) опоры относительно горизонтальной плоскости | 0,5:100 | Измерительный, каждая опора |
Положение оси трубопровода относительно центра опоры | на продольно-подвижных опорах | +/- 10 см | Измерительный, каждая опора |
на свободноподвижных опорах с учетом температурного графика по ПД (РД) | +/- 20 см | Измерительный, каждая опора |
Вылет компенсатора | (+100/-50) см | Измерительный, каждый компенсатор |
| MSK-64 Шкала сейсмической интенсивности MSK-1964 |
УДК 624.139:006.354 | | |
Ключевые слова: магистральный трубопровод для транспортировки нефти и нефтепродуктов, объект магистрального трубопровода, строительство, строительно-монтажные работы, многолетнемерзлый грунт |