Главная // Актуальные документы // ГОСТ (Государственный стандарт)СПРАВКА
Источник публикации
М.: ФГБУ "РСТ", 2022
Примечание к документу
Отдельные положения данного документа включены в
п. п. 42,
132 Перечня международных и региональных (межгосударственных) стандартов, а в случае их отсутствия - национальных (государственных) стандартов, в результате применения которых на добровольной основе обеспечивается соблюдение требований технического
регламента Евразийского экономического союза "О требованиях к средствам обеспечения пожарной безопасности и пожаротушения" (ТР ЕАЭС 043/2017), и в
п. п. 44,
144 Перечня международных и региональных (межгосударственных) стандартов, а в случае их отсутствия - национальных (государственных) стандартов, содержащих правила и методы исследований (испытаний) и измерений, в том числе правила отбора образцов, необходимые для применения и исполнения требований технического
регламента Евразийского экономического союза "О требованиях к средствам обеспечения пожарной безопасности и пожаротушения" (ТР ЕАЭС 043/2017) и осуществления оценки соответствия объектов технического регулирования (
Решение Коллегии Евразийской экономической комиссии от 19.11.2019 N 200).
Текст данного документа приведен с учетом
поправки, опубликованной в "ИУС", N 8, 2023.
Документ
введен в действие с 01.07.2023.
Название документа
"ГОСТ 34635-2020. Межгосударственный стандарт. Техника пожарная. Генераторы огнетушащего аэрозоля. Общие технические требования. Методы испытаний"
(введен в действие Приказом Росстандарта от 29.04.2022 N 256-ст)
"ГОСТ 34635-2020. Межгосударственный стандарт. Техника пожарная. Генераторы огнетушащего аэрозоля. Общие технические требования. Методы испытаний"
(введен в действие Приказом Росстандарта от 29.04.2022 N 256-ст)
агентства по техническому
регулированию и метрологии
от 29 апреля 2022 г. N 256-ст
МЕЖГОСУДАРСТВЕННЫЙ СТАНДАРТ
ТЕХНИКА ПОЖАРНАЯ
ГЕНЕРАТОРЫ ОГНЕТУШАЩЕГО АЭРОЗОЛЯ
ОБЩИЕ ТЕХНИЧЕСКИЕ ТРЕБОВАНИЯ. МЕТОДЫ ИСПЫТАНИЙ
Fire equipment. Generators of extinguishing aerosol.
General technical requirements. Test methods
ГОСТ 34635-2020
Дата введения
1 июля 2023 года
Цели, основные принципы и общие правила проведения работ по межгосударственной стандартизации установлены
ГОСТ 1.0 "Межгосударственная система стандартизации. Основные положения" и
ГОСТ 1.2 "Межгосударственная система стандартизации. Стандарты межгосударственные, правила и рекомендации по межгосударственной стандартизации. Правила разработки, принятия, обновления и отмены"
1 РАЗРАБОТАН Республиканским государственным предприятием на праве хозяйственного ведения "Казахстанский институт стандартизации и сертификации" Комитета технического регулирования и метрологии Министерства торговли и интеграции Республики Казахстан и Федеральным государственным бюджетным учреждением "Всероссийский ордена "Знак Почета" научно-исследовательский институт противопожарной обороны" МЧС России (ФГБУ ВНИИПО МЧС России)
2 ВНЕСЕН Комитетом технического регулирования и метрологии Министерства торговли и интеграции Республики Казахстан
3 ПРИНЯТ Межгосударственным советом по стандартизации, метрологии и сертификации по результатам голосования в АИС МГС (протокол от 30 января 2020 г. N 126-П)
За принятие проголосовали:
Краткое наименование страны по МК (ИСО 3166) 004-97 | Код страны по МК (ИСО 3166) 004-97 | Сокращенное наименование национального органа по стандартизации |
Азербайджан | AZ | Азстандарт |
Армения | AM | ЗАО "Национальный орган по стандартизации и метрологии" Республики Армения |
Беларусь | BY | Госстандарт Республики Беларусь |
Казахстан | KZ | Госстандарт Республики Казахстан |
Киргизия | KG | Кыргызстандарт |
Россия | RU | Росстандарт |
Узбекистан | UZ | Узстандарт |
4
Приказом Федерального агентства по техническому регулированию и метрологии от 29 апреля 2022 г. N 256-ст межгосударственный стандарт ГОСТ 34635-2020 введен в действие в качестве национального стандарта Российской Федерации с 1 июля 2023 г.
5 ВВЕДЕН ВПЕРВЫЕ
6 Стандарт подготовлен на основе применения СТ РК 1489-2006 "Техника пожарная. Генераторы огнетушащего аэрозоля. Общие технические требования. Методы испытаний" и
ГОСТ Р 53284-2009 "Техника пожарная. Генераторы огнетушащего аэрозоля. Общие технические требования. Методы испытаний"
Информация о введении в действие (прекращении действия) настоящего стандарта и изменений к нему на территории указанных выше государств публикуется в указателях национальных стандартов, издаваемых в этих государствах, а также в сети Интернет на сайтах соответствующих национальных органов по стандартизации.
В случае пересмотра, изменения или отмены настоящего стандарта соответствующая информация будет опубликована на официальном интернет-сайте Межгосударственного совета по стандартизации, метрологии и сертификации в каталоге "Межгосударственные стандарты"
Настоящий стандарт распространяется на все типы и разновидности генераторов огнетушащего аэрозоля, размещаемые на стационарных объектах, снаряжаемых пиротехническими или твердотопливными аэрозолеобразующими огнетушащими составами и предназначенные для получения огнетушащего аэрозоля и подачи его в защищаемые помещения при локализации и тушении пожаров.
Настоящий стандарт не распространяется на переносные генераторы огнетушащего аэрозоля, генераторы огнетушащего аэрозоля, предназначенные для защиты транспортных средств и других объектов, проектируемых и эксплуатируемых по нормативным документам для объектов защиты специального назначения.
Положения стандарта применяются при разработке и постановке продукции на производство, модернизации и реализации продукции.
В настоящем стандарте использованы нормативные ссылки на следующие межгосударственные стандарты:
ГОСТ 9.032-74 Единая система защиты от коррозии и старения. Покрытия лакокрасочные. Группы, технические требования и обозначения
ГОСТ 9.302-88 Единая система защиты от коррозии и старения. Покрытия металлические и неметаллические неорганические. Методы контроля
ГОСТ 9.303-84 Единая система защиты от коррозии и старения. Покрытия металлические и неметаллические неорганические. Общие требования к выбору
ГОСТ 12.1.004-91 Система стандартов безопасности труда. Пожарная безопасность. Общие требования
ГОСТ 12.1.033-81 Система стандартов безопасности труда. Пожарная безопасность. Термины и определения
ГОСТ 12.2.047-86 Система стандартов безопасности труда. Техника пожарная. Термины и определения
ГОСТ 12.4.009-83 Система стандартов безопасности труда. Пожарная техника для защиты объектов. Основные виды. Размещение и обслуживание
ГОСТ 12.4.026-2015 Система стандартов безопасности труда. Цвета сигнальные, знаки безопасности и разметка сигнальная. Назначение и правила применения. Общие технические требования и характеристики. Методы испытаний
ГОСТ 15.001-88 Система разработки и постановки продукции на производство. Продукция производственно-технического назначения
ГОСТ 27.003-2016 Надежность в технике. Состав и общие правила задания требований по надежности
ГОСТ 27.410-87 Надежность в технике. Методы контроля показателей надежности и планы контрольных испытаний на надежность
ГОСТ 427-75 Линейки измерительные металлические. Технические условия
ГОСТ 5632-2014 Легированные нержавеющие стали и сплавы коррозионно-стойкие, жаростойкие и жаропрочные. Марки
ГОСТ 5679-91 Вата хлопчатобумажная одежная и мебельная. Технические условия
ГОСТ 6616-94 Преобразователи термоэлектрические. Общие технические условия
ГОСТ 7502-98 Рулетки измерительные металлические. Технические условия
ГОСТ 8486-86 Пиломатериалы хвойных пород. Технические условия
ГОСТ 15150-69 Машины, приборы и другие технические изделия. Исполнения для различных климатических районов. Категории, условия эксплуатации, хранения и транспортирования в части воздействия климатических факторов внешней среды
ГОСТ 16504-81 Система государственных испытаний продукции. Испытания и контроль качества продукции. Основные термины и определения
ГОСТ 16588-91 Пилопродукция и деревянные детали. Методы определения влажности
ГОСТ 18321-73 Статистический контроль качества. Методы случайного отбора выборок штучной продукции
ГОСТ 19433.1-2010 Грузы опасные. Классификация
ГОСТ 19433.3-2010 Грузы опасные. Маркировка
ГОСТ 20448-90 Газы углеводородные сжиженные топливные для коммунально-бытового потребления. Технические условия
ГОСТ 30333-2007 Паспорт безопасности химической продукции. Общие требования
ГОСТ 32513-2013 Топлива моторные. Бензин неэтилированный. Технические условия
Примечание - При пользовании настоящим стандартом целесообразно проверить действие ссылочных стандартов и классификаторов на официальном интернет-сайте Межгосударственного совета по стандартизации, метрологии и сертификации (www.easc.by) или по указателям национальных стандартов, издаваемым в государствах, указанных в предисловии, или на официальных сайтах соответствующих национальных органов по стандартизации. Если на документ дана недатированная ссылка, то следует использовать документ, действующий на текущий момент, с учетом всех внесенных в него изменений. Если заменен ссылочный документ, на который дана датированная ссылка, то следует использовать указанную версию этого документа. Если после принятия настоящего стандарта в ссылочный документ, на который дана датированная ссылка, внесено изменение, затрагивающее положение, на которое дана ссылка, то это положение применяется без учета данного изменения. Если ссылочный документ отменен без замены, то положение, в котором дана ссылка на него, применяется в части, не затрагивающей эту ссылку.
3 Термины, определения, обозначения и сокращения
3.1 Термины и определения
В настоящем стандарте применены термины по
ГОСТ 12.1.033 и
ГОСТ 12.2.047, а также следующие термины с соответствующими определениями:
3.1.1 аэрозольное пожаротушение: Совокупность действий и процессов, обеспечивающих тушение пожара, при которых в качестве огнетушащих веществ используют аэрозоли.
3.1.2 установка аэрозольного пожаротушения: Установка пожаротушения, в которой в качестве огнетушащего вещества используют аэрозоль, получаемый при работе генераторов огнетушащего аэрозоля.
3.1.3 установка аэрозольного пожаротушения автоматическая: Установка пожаротушения, обеспечивающая подачу аэрозолеобразующих огнетушащих составов и автоматически срабатывающая при превышении контролируемым фактором (факторами) пожара установленных пороговых значений в защищаемой зоне.
3.1.4 генератор огнетушащего аэрозоля переносной: Переносное устройство для ликвидации пламенного горения и локализации пожара в замкнутых помещениях объемным способом за счет воздействия на очаг горения огнетушащего аэрозоля, получаемого из заряда аэрозолеобразующего огнетушащего состава.
3.1.5 выпускное отверстие генератора: Отверстие генератора, после выхода из которого продукты горения аэрозолеобразующего огнетушащего состава начинают смешиваться с окружающим воздухом.
3.1.6 дистанционная подача аэрозоля: Подача на заданное расстояние аэрозоля непосредственно от устройства его получения (генератора) в защищаемые помещения посредством подводящих и распределительных трубопроводов.
3.1.7 заряд аэрозолеобразующего огнетушащего состава: Сформованный элемент аэрозолеобразующего огнетушащего состава определенной массы и формы, размещаемый в корпусе генератора.
3.1.8 охлаждающий элемент: Композиция или конструкции специального состава, размещаемые в генераторе, которые при теплохимическом взаимодействии с продуктами горения аэрозолеобразующего огнетушащего состава обеспечивают снижение их температуры.
3.1.9 снаряженный генератор: Генератор аэрозоля с присоединенным устройством пуска и предназначенный для тушения.
3.1.10 зона опасности зажигания горючих веществ и материалов от работающего генератора (зона пожароопасности генератора): Значение максимального расстояния по длине струи аэрозоля и/или от корпуса работающего генератора, при котором за счет воздействия высокотемпературных продуктов горения заряда аэрозолеобразующего огнетушащего состава (включая раскаленные твердые и жидкие частицы) и нагретых конструктивных элементов генератора происходит зажигание горючих жидкостей, газов, твердых веществ и материалов.
3.1.11 показатели опасности токсического воздействия аэрозоля: Показатели, характеризующие опасность воздействия вредных веществ, содержащихся в составе аэрозоля.
3.1.12 параметр негерметичности защищаемого помещения: Величина, численно характеризующая негерметичность защищаемого помещения и равная отношению суммарной площади всех постоянно открытых проемов к объему защищаемого помещения.
3.1.13 условно герметичное помещение: Помещение, параметр негерметичности которого не превышает 0,001 м-1.
3.1.14 огнетушащая способность генератора: Отношение разности масс снаряженного генератора до и после подачи аэрозоля к максимальному объему условно герметичного помещения, в котором генератор обеспечивает тушение определенных модельных очагов пожара.
3.1.15 время [продолжительность] подачи аэрозоля [работы генератора]: Промежуток времени от момента начала до момента окончания истечения струи аэрозоля из выпускного отверстия генератора.
3.1.16 устройство пуска генератора: Устройство, обеспечивающее выделение тепловой энергии, необходимой для воспламенения заряда аэрозолеобразующего огнетушащего состава и получения аэрозоля.
3.1.17 огнетушащая интенсивность подачи аэрозоля из генератора: Отношение огнетушащей способности генератора в максимальном объеме условно герметичного помещения, в котором генератор обеспечивает тушение модельных очагов пожара, к времени его работы (подачи аэрозоля).
3.2 Сокращения и обозначения
УАП - установка аэрозольного пожаротушения.
ГОА - генератор огнетушащего аэрозоля.
АОС - аэрозолеобразующий огнетушащий состав.
ОА - огнетушащий аэрозоль.
ОхЭ - охлаждающий элемент.
СУиИ - система управления и измерения параметров пожаротушения.

- огнетушащая способность ГОА, кг/м
3.
tГОА - время (продолжительность) подачи ОА (работы ГОА), с.

- огнетушащая интенсивность подачи ОА из генератора, кг/(м
3·с).
4 Классификация генераторов огнетушащего аэрозоля
4.1 По способу приведения в действие ГОА подразделяют на генераторы:
- с электрическим пуском;
- с тепловым пуском;
- с механическим пуском;
- с комбинированным пуском.
4.2 По способу подачи ОА генераторы подразделяют на ГОА:
- непосредственной подачи ОА в защищаемый объем;
- дистанционной подачи ОА в защищаемый объем.
4.3 По температуре продуктов, образующихся на срезе выпускного отверстия, ГОА подразделяют на 3 типа:
- I - ГОА, при работе которых температура превышает 500 °C;
- II - ГОА, при работе которых температура составляет от 130 °C до 500 °C;
- III - ГОА, при работе которых температура меньше 130 °C.
4.4 ГОА имеют следующую структуру обозначения:
ГОА - X - XXX - XXX - XXX - XXX
─────────────────────────────────,
1 2 3 4 5 6
где 1 - наименование изделия: генератор огнетушащего аэрозоля;
2 - тип ГОА в соответствии с
4.3;
3 - масса АОС в снаряженном ГОА, кг;
4 - огнетушащая способность ОА, получаемого при работе ГОА, при тушении модельных очагов класса B, г/м3;
5 - время подачи ОА, с;
6 - обозначение нормативной и/или технической документации, в соответствии с которой изготовлен ГОА.
4.5 Пример условного обозначения ГОА, применяемого в стационарных системах объемного аэрозольного пожаротушения, второго типа (образующего при работе ОА с температурой от 130 °C до 500 °C), с массой заряда АОС в снаряженном ГОА 2,0 кг, огнетушащей способностью ОА, получаемого при работе ГОА, при тушении модельных очагов класса B, равной 47 г/м3, временем подачи ОА 30 с, изготовленного в соответствии с нормативной документацией (например, ТУ...):
ГОА-II-2,00-047-030-ТУ ...
5.1 Основные показатели и характеристики
5.1.1 ГОА должны изготавливаться в соответствии с требованиями настоящего стандарта, нормативной и/или технической документации на ГОА, утвержденной в установленном порядке.
| | Применение на добровольной основе п. п. 5.1.2 - 5.1.7 обеспечивает соблюдение требований технического регламента Евразийского экономического союза "О требованиях к средствам обеспечения пожарной безопасности и пожаротушения" (ТР ЕАЭС 043/2017) (Решение Коллегии Евразийской экономической комиссии от 19.11.2019 N 200). | |
5.1.2 Основные характеристики ГОА должны соответствовать значениям, указанным в таблице 1.
Таблица 1
Основные характеристики ГОА
Характеристика | Значение |
1. Огнетушащая способность ГОА в условно герметичном объеме, кг/м3, не более | 0,7 |
2. Время подачи ОА (работы ГОА), с, не более | По нормативной и/или технической документации изготовителя |
3. Инерционность (время срабатывания) ГОА, с, не более | 5 |
5.1.3 Характеристиками ГОА, которые должны соответствовать значениям, установленным изготовителем, являются:
- масса снаряженного ГОА, кг;
- масса АОС и ОхЭ в снаряженном ГОА, кг;
- максимальный объем условно герметичного помещения, в котором ГОА обеспечивает тушение модельных очагов пожара классов, на которые он рассчитан, м3;
- огнетушащая интенсивность подачи ОА из ГОА в максимальном объеме условно герметичного помещения, в котором ГОА обеспечивает тушение модельных очагов пожара, кг/(м3·с);
- габаритные размеры ГОА;
- размеры зон с температурой более 75 °C, 150 °C и 300 °C, образующихся при работе ГОА;
- максимальная температура корпуса ГОА, °C;
- размеры зон пожароопасности ГОА, мм.
При этом устанавливаемые изготовителем и указываемые в нормативной и/или технической документации отклонения от номинальных значений не должны превышать:
- для массы снаряженного ГОА, массы АОС и охладителя в снаряженном ГОА +/- 10%;
- для времени подачи ОА (при заданной температуре) +/- 10%;
- для инерционности +/- 0,5 с.
5.1.4 Электрический пуск ГОА должен происходить от сигнала с параметрами согласно
5.3.2.10 и не должен происходить от сигнала с заданными в нормативной и/или технической документации параметрами, необходимыми для контроля состояния цепи узла пуска при эксплуатации ГОА в составе УАП согласно
5.3.2.11.
5.1.5 По окончании работы ГОА не допускается наличие сквозных трещин, прогаров и пламенного горения наружной поверхности корпуса. Допускается обугливание лакокрасочного покрытия.
5.1.6 Конструкция ГОА должна предусматривать возможность пломбирования разъемных соединений (за исключением крепежных) с целью контроля его целостности.
5.1.7 ГОА должен сохранять работоспособность:
- после вибрационных воздействий, имитирующих условия эксплуатации, пределы изменения которых установлены изготовителем и указаны в нормативной и (или) технической документации на ГОА;
- в интервале температур эксплуатации и хранения, который установлен изготовителем и указан в нормативной и/или технической документации на ГОА.
5.1.8 Срок службы ГОА должен составлять не менее 10 лет. После окончания срока службы дальнейшая эксплуатация ГОА допускается только после технического освидетельствования, проводимого в соответствии с нормативной и/или технической документацией на него.
5.1.9 Вероятность безотказной работы ГОА должна быть не менее 0,95.
| | Применение на добровольной основе п. 5.1.10 обеспечивает соблюдение требований технического регламента Евразийского экономического союза "О требованиях к средствам обеспечения пожарной безопасности и пожаротушения" (ТР ЕАЭС 043/2017) (Решение Коллегии Евразийской экономической комиссии от 19.11.2019 N 200). | |
5.1.10 Кронштейны или другие элементы крепления должны выдерживать без изменения формы и геометрических размеров статическую нагрузку, в 3 раза превышающую полную массу ГОА.
5.1.11 Металлические поверхности ГОА защищают от коррозии нанесением лакокрасочных, металлических или неметаллических неорганических покрытий или их сочетаниями в соответствии с
ГОСТ 9.032 и
ГОСТ 9.303.
5.1.12 Лакокрасочные покрытия, нанесенные на ГОА, должны соответствовать требованиям
ГОСТ 12.4.026.
5.2 Требования к материалам и покупным изделиям
Детали, комплектующие изделия и материалы, используемые при изготовлении ГОА, должны соответствовать нормативной и/или технической документации на них.
| | Применение на добровольной основе п. 5.3.1 обеспечивает соблюдение требований технического регламента Евразийского экономического союза "О требованиях к средствам обеспечения пожарной безопасности и пожаротушения" (ТР ЕАЭС 043/2017) (Решение Коллегии Евразийской экономической комиссии от 19.11.2019 N 200). | |
5.3.1 В комплект поставки ГОА должны входить:
- техническая документация (паспорт, техническое описание и инструкция по эксплуатации);
- комплект запасных частей и принадлежностей (при необходимости);
- кронштейн и/или крепеж (по условиям поставки);
- устройство пуска.
5.3.2 В нормативной и/или технической документации, прилагаемой к ГОА, должны быть указаны следующие характеристики, определяющие его назначение, безопасность и охрану окружающей среды:
5.3.2.1 Масса снаряженного ГОА, кг.
5.3.2.2 Масса АОС и ОхЭ в снаряженном ГОА, кг.
5.3.2.3 Интервал температур эксплуатации, °C.
5.3.2.4 Огнетушащая способность ГОА при тушении модельных очагов пожара, кг/м3.
5.3.2.5 Время работы ГОА (подачи ОА), с, и диапазон его изменения в интервале температур эксплуатации.
5.3.2.6 Максимальный объем условно герметичного помещения, в котором ГОА обеспечивает тушение модельных очагов пожара класса B, м3.
5.3.2.7 Огнетушащая интенсивность подачи ОА из ГОА в максимальном объеме условно герметичного помещения, в котором ГОА обеспечивает тушение модельных очагов пожара, кг/(м3·с).
5.3.2.8 Инерционность (время срабатывания), с, и диапазон ее изменения в интервале температур эксплуатации.
5.3.2.9 Огнетушащая способность ГОА по отношению к горючим веществам и материалам, для тушения которых рекомендуется данный ГОА, кг/м3.
5.3.2.10 Параметры электрического сигнала (величина напряжения, сила тока, его вид и длительность пропускания), необходимые для пуска ГОА, В, А, с.
5.3.2.11 Параметры электрического сигнала (величина напряжения, сила тока, его вид и длительность пропускания), необходимые для контроля состояния цепи электрического пуска при эксплуатации ГОА в составе УАП, В, А, с.
5.3.2.12 Габаритные размеры ГОА.
5.3.2.13 Данные о показателях надежности работы ГОА в соответствии с требованиями
ГОСТ 27.003.
5.3.2.14 Параметры в соответствии с требованиями ГОСТ 12.4.009
(пункт 1.3), определяющие область применения ГОА на объектах и стойкость его к внешним воздействиям.
5.3.2.15 Условия транспортирования и хранения.
5.3.2.16 Размеры зон с температурой более 75 °C, 150 °C и 300 °C, образующихся при работе ГОА.
5.3.2.17 Количество тепла, выделяющегося при работе ГОА, Дж.
5.3.2.18 Количество и состав продуктов, образующихся при работе ГОА.
5.3.2.19 Максимальная высота, после падения с которой происходит несамопроизвольный пуск ГОА, сохраняется целостность и работоспособность, м.
5.3.2.20 Класс опасности ГОА в соответствии с ГОСТ 19433.1.
5.3.2.21 Максимальная температура корпуса ГОА во время и по окончании его работы, °C.
5.3.2.22 Уровень взрывозащиты ГОА (при применении ГОА во взрывоопасных зонах).
5.3.2.23 Озоноразрушающий потенциал для ОА, получаемого при работе ГОА.
5.3.2.24 Размеры зон пожароопасности ГОА, мм.
5.3.2.25 Степень опасности токсического воздействия ОА в количестве, обеспечивающем огнетушащую способность ГОА.
5.3.2.26 Допустимое напряжение в электроустановках, при котором допускается применение ГОА, В.
5.3.2.27 Классы пожара по
ГОСТ 27331, для тушения или локализации которых предназначен конкретный ГОА.
5.3.2.28 Срок службы ГОА.
5.3.2.29 Параметры, характеризующие зажигающую способность ГОА по отношению к различной пожарной нагрузке.
5.3.2.30 Рекомендации по защитным экранам ограждения.
5.3.2.31 Рекомендации по установке ГОА относительно технологического оборудования.
| | Применение на добровольной основе п. 5.4.1 обеспечивает соблюдение требований технического регламента Евразийского экономического союза "О требованиях к средствам обеспечения пожарной безопасности и пожаротушения" (ТР ЕАЭС 043/2017) (Решение Коллегии Евразийской экономической комиссии от 19.11.2019 N 200). | |
5.4.1 На корпусе каждого ГОА должна быть нанесена маркировка, содержащая:
- наименование, адрес и товарный знак изготовителя;
- условное обозначение ГОА, установленное изготовителем в соответствии с
4.4;
- пиктограммы, обозначающие классы пожара (по
ГОСТ 27331), для тушения которых может быть использован данный ГОА;
- диапазон температур эксплуатации, например, "Может применяться при температуре от ... до ... °C";
- месяц и год изготовления;
- отметку (штамп) службы технического контроля изготовителя;
- заводской идентификационный номер;
- единый знак обращения продукции на рынке.
Допускается нанесение предостерегающих надписей:
- об электрической опасности, например, "ГОА пригоден для тушения пожаров электрооборудования под напряжением не более .... В" (с указанием допустимого напряжения);
- о токсичности, например, "ВНИМАНИЕ: Выделяющиеся при тушении огнетушащие аэрозоли вызывают раздражение органов дыхания и зрения";
- указание: "Предохранять от ударов и воздействия осадков, прямых солнечных лучей и нагревательных приборов".
Маркировку наносят с использованием способов, обеспечивающих ее сохранность в течение всего срока службы ГОА.
Не допускается применять бумажные этикетки маркировки без защиты от возможного воздействия факторов окружающей среды.
| | Применение на добровольной основе п. 5.4.2 обеспечивает соблюдение требований технического регламента Евразийского экономического союза "О требованиях к средствам обеспечения пожарной безопасности и пожаротушения" (ТР ЕАЭС 043/2017) (Решение Коллегии Евразийской экономической комиссии от 19.11.2019 N 200). | |
5.4.2 Запрещается наносить какие-либо пометки, выполненные нетипографским способом, на этикетку маркировки ГОА (кроме даты выпуска и массы снаряженного ГОА).
5.4.3 Транспортная маркировка должна соответствовать требованиям ГОСТ 19433.3. Манипуляционные знаки, основные, дополнительные и информационные надписи и способ выполнения маркировки должны быть указаны в нормативной и/или технической документации на ГОА.
Упаковка для ГОА должна соответствовать требованиям
ГОСТ 26319, а также нормативной и/или технической документации на ГОА.
6 Требования безопасности и охраны окружающей среды
6.1 Значение озоноразрушающего потенциала для ОА, получаемого при работе ГОА, не должно превышать 0,01.
6.2 Опасность ГОА в соответствии с классификацией опасных грузов по ГОСТ 19433.1 не должна быть выше подкласса 4.1.
| | Применение на добровольной основе п. 6.3 обеспечивает соблюдение требований технического регламента Евразийского экономического союза "О требованиях к средствам обеспечения пожарной безопасности и пожаротушения" (ТР ЕАЭС 043/2017) (Решение Коллегии Евразийской экономической комиссии от 19.11.2019 N 200). | |
6.3 Электрическое сопротивление между корпусом ГОА и клеммами, служащими для подачи электрического сигнала, запускающего ГОА, при нормальных климатических условиях по
ГОСТ 15150 должно составлять не менее 1 МОм.
| | Применение на добровольной основе п. 6.4 обеспечивает соблюдение требований технического регламента Евразийского экономического союза "О требованиях к средствам обеспечения пожарной безопасности и пожаротушения" (ТР ЕАЭС 043/2017) (Решение Коллегии Евразийской экономической комиссии от 19.11.2019 N 200). | |
6.4 Напряжение электрического сигнала для приведения ГОА с электрическим пуском в действие не должно превышать 36 В.
6.5 Изготовитель (поставщик) ГОА должен установить условия и характеристики применения ГОА в составе установок пожаротушения, при которых они не будут являться источником острого токсического воздействия на людей и зажигания горючих материалов, находящихся в защищаемом помещении.
6.6 При проведении испытаний необходимо соблюдать требования безопасности, которые должны быть изложены в нормативной и/или технической документации на ГОА.
7.1 Для контроля соответствия характеристик ГОА требованиям настоящего стандарта, нормативной и/или технической документации проводят предварительные, приемо-сдаточные, приемочные, квалификационные, периодические и типовые испытания, а также испытания на надежность. Допускается совмещать отдельные виды испытаний.
7.2 Предварительные испытания проводит изготовитель на опытных образцах или на образцах опытной партии ГОА с целью определения возможности их предъявления на приемочные испытания.
7.3 Приемочные испытания при постановке ГОА на производство проводят в соответствии с требованиями
ГОСТ 15.001. Объем испытаний определяется типовой программой или программой, составленной разработчиком (изготовителем) и согласованной в установленном порядке.
Результаты проверки характеристик ГОА, которые требуют проведения длительных испытаний или испытаний с использованием оборудования сторонних организаций, могут быть представлены протоколами предварительных испытаний.
7.4 Квалификационные испытания проводят на образцах установочной серии или первой промышленной партии с целью определения готовности предприятия к выпуску продукции.
7.5 Приемо-сдаточные испытания проводит служба технического контроля изготовителя в объеме, определенном нормативной и/или технической документацией на ГОА, с целью принятия решения о пригодности ГОА к поставке заказчику.
Примечание - За партию ГОА принимают любое число изделий, при изготовлении которых использовалась одна партия АОС, сопровождаемых одним документом.
7.6 Периодические испытания проводят не реже одного раза в три года на образцах, прошедших приемо-сдаточные испытания, с целью контроля стабильности технологического процесса, качества продукции и возможности продолжения выпуска изделия.
7.7 Типовые испытания проводят при внесении конструктивных или иных изменений (технологии изготовления, материала и т.п.), способных повлиять на основные характеристики и работоспособность ГОА. Программу испытаний планируют в зависимости от характера изменений и согласовывают с разработчиком конструкторской документации.
7.8 Испытания ГОА на надежность проводят не реже одного раза в пять лет или в том случае, если при изготовлении ГОА вносятся конструктивные или иные изменения, существенным образом влияющие на основные характеристики ГОА. Программу испытаний на надежность разрабатывает изготовитель в зависимости от характера вносимых изменений.
7.9 Сертификационным испытаниям ГОА подвергают с целью подтверждения их соответствия требованиям
[1] и настоящего стандарта.
7.10 Другие виды контрольных испытаний ГОА по
ГОСТ 16504 изготовитель проводит по программе, разработанной изготовителем и разработчиком.
7.11 Объем проведения квалификационных и периодических испытаний ГОА принимают в соответствии с
таблицей А.1 приложения А
7.12 Считается, что ГОА выдержал испытания, если ни по одной из характеристик, указанных для данного вида испытаний, не было получено отрицательного результата.
7.13 В случае получения отрицательных результатов по какому-либо виду испытаний (кроме испытаний на прочность, разрушение и надежность, для которых полученные положительные или отрицательные результаты испытаний являются окончательными) количество испытуемых образцов удваивают и испытания повторяют в полном объеме. При повторном получении отрицательных результатов по любому из показателей дальнейшее проведение испытаний прекращают до выявления и устранения причин обнаруженных дефектов, после чего испытания проводят сначала в полном объеме.
7.14 Отбор образцов для всех видов испытаний проводят по
ГОСТ 18321.
Для определения одного показателя отбирают не менее трех ГОА одного типоразмера (возможно совмещение определения нескольких показателей при испытаниях, если иное не оговорено в методе испытаний), изготовленных в одну смену, прошедших приемо-сдаточные испытания и оформленных одним документом
7.15 ГОА, представляемый на испытания, должен иметь нормативную и/или техническую документацию (паспорт и руководство по эксплуатации) и заключения специализированных организаций, аккредитованных в установленном порядке, о значениях следующих показателей, характеризующих его область применения, безопасность, охрану здоровья и природы:
- заключение о классе опасности ГОА в соответствии с ГОСТ 19433.1;
- заключение об уровне взрывозащиты ГОА в случае применения его во взрывоопасных зонах;
- заключение о допустимом напряжении применения ГОА в случае применения его в электроустановках;
- заключение об озоноразрушающем потенциале для ОА, получаемого при работе ГОА.
На АОС и ОхЭ должен быть оформлен паспорт безопасности по
ГОСТ 30333.
| | П. п. 8.1 - 8.15 содержат правила и методы исследований (испытаний) и измерений, в том числе правила отбора образцов, необходимые для применения и исполнения требований технического регламента Евразийского экономического союза "О требованиях к средствам обеспечения пожарной безопасности и пожаротушения" (ТР ЕАЭС 043/2017) и осуществления оценки соответствия объектов технического регулирования (Решение Коллегии Евразийской экономической комиссии от 19.11.2019 N 200). | |
8.1 Габаритные размеры ГОА определяют стандартным измерительным инструментом с погрешностью измерения не более 2%. Проводят три параллельных измерения каждого размера для одного ГОА. За результат измерений принимают среднее арифметическое значение.
8.2 Массу снаряженного ГОА и ГОА после испытаний по определению огнетушащей способности определяют взвешиванием на весах с погрешностью измерения не более 2%.
За результат определения принимают среднее арифметическое значение трех параллельных взвешиваний для одного ГОА.
8.3 Огнетушащую способность ГОА по отношению к модельным очагам пожара класса B, максимальный объем условно герметичного помещения, в котором ГОА обеспечивает тушение модельных очагов пожара класса B, а также огнетушащую интенсивность подачи ОА из ГОА, обеспечивающую тушение при этом модельных очагов, определяют следующим образом.
8.3.1 Для испытаний применяют:
- огневую камеру (испытательное помещение) - условно герметичное испытательное помещение из негорючего материала, объем которого должен быть равен сумме значений максимальных объемов защищаемых условно герметичных помещений для всех одновременно испытуемых ГОА одного типоразмера, при этом отношение длины к ширине и длины к высоте должно находиться в пределах от 1:1 до 2:1. Помещение должно иметь проемы для притока воздуха и удаления продуктов горения. Отклонение фактического значения объема испытательного помещения от требуемого должно составлять не более 5%. Пример испытательного помещения приведен на
рисунке 1;
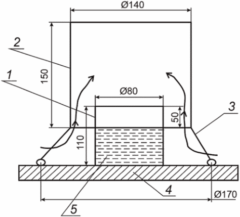
- модельные очаги пожара класса B - не менее четырех цилиндрических горелок из нержавеющей стали или стали по
ГОСТ 5632 толщиной (5 +/- 1) мм с внутренним диаметром (80 +/- 5) мм и высотой (110 +/- 2) мм, которые имеют специальный экран для защиты их от прямого динамического воздействия струи ОА (см.
рисунок 2); горючая жидкость в горелках - н-гептан по
ГОСТ 25828 или бензин АИ-93 (класс 2) по
ГОСТ 2084;
1 - экспериментальная камера; 2 - смотровое окно;
3 - дверные проемы; 4 - система управления и измерения
параметров пожаротушения (СУиИ); О1 - О4 - модельные очаги
пожаров класса B; Т1 - Т3, То1 - То3 - термопары
для регистрации температуры в объеме камеры
и модельных очагах соответственно
Примечание - Термопары для регистрации температуры ОА устанавливают непосредственно в его струе.
Рисунок 1 - Огневая камера для определения
показателей огнетушащей эффективности ГОА
- термоэлектрические преобразователи типа ТХА по
ГОСТ 6616 с диаметром проволоки не более 0,1 мм (класс 2). На каждый модельный очаг пожара устанавливают по два термоэлектрических преобразователя. Один из термоэлектрических преобразователей закрепляют над модельным очагом (по центру) на расстоянии (10 +/- 2) мм от верхнего его края, второй - в стороне от модельного очага на расстоянии (100 +/- 20) мм на уровне верхнего его края;
- устройство для измерения и регистрации изменения температуры класса точности не ниже 0,5 с диапазоном изменения температуры, соответствующим типу термоэлектрического преобразователя, и погрешностью измерения времени не более 1 с;
- секундомер с пределом измерения не менее 30 мин и ценой деления не более 0,2 с.
1 - горелка; 2 - защитный экран; 3 - опорные
стержни экрана; 4 - опора; 5 - горючая жидкость
Примечание - Стрелками показано направление движения воздуха.
Рисунок 2 - Модельный очаг пожара класса B
8.3.2 Подготовка к проведению испытаний
Испытания проводят при следующих условиях:
- температура окружающей среды - от 15 °C до 25 °C;
- атмосферное давление - от 84 до 106,7 кПа;
- относительная влажность воздуха - от 40% до 80%.
В огневой камере размещают один или несколько испытуемых ГОА. Количество испытуемых ГОА должно соответствовать объему огневой камеры (испытательного помещения).
Размещают в огневой камере модельные очаги (горелки) с термоэлектрическими преобразователями: две горелки относительно пола на уровне 10% и по одной горелке на уровнях 50% и 90% от высоты камеры, таким образом, чтобы струи ОА из ГОА не оказывали на них прямого воздействия. Каждую горелку размещают на расстоянии (50 +/- 5) мм от стены огневой камеры.
Заливают в горелки горючую жидкость так, чтобы ее уровень был на 50 мм ниже верхнего среза горелки.
8.3.3 Проведение испытаний
Поджигают горючее, включают устройства для измерения и регистрации показаний термоэлектрических преобразователей и дают выдержку 30 с, обеспечивая доступ воздуха в камеру.
По истечении 30 с свободного горения очагов помещение закрывают и производят пуск испытуемых ГОА. С момента наблюдаемого начала истечения струи ОА из ГОА начинают отсчет времени, равного времени подачи ОА (работы ГОА) по
8.4. Момент окончания данного времени принимают за окончание подачи ОА. Результат испытаний в каждом эксперименте считают положительным, если пламя во всех горелках гаснет в течение 60 с после окончания подачи ОА. Время тушения модельных очагов определяют по показаниям термоэлектрических преобразователей для последнего потушенного очага. Повторные загорания не должны возникать в течение 10 мин.
Результаты испытаний ГОА считают положительными, если в двух экспериментах из трех определений получены положительные результаты. При положительном результате в первых двух испытаниях третье испытание не проводят.
Критерием тушения считают достижение момента, когда величина температуры над очагом превышает не более чем на 20% величину температуры рядом с этим же модельным очагом.
Огнетушащую способность ГОА

, кг/м
3, вычисляют по формуле

, (1)
где MГОА1 - масса снаряженного ГОА до испытаний, кг;
MГОА2 - масса ГОА после испытаний, кг;
n - количество испытуемых в одном эксперименте ГОА одного типоразмера;
V - объем условно герметичного помещения, в котором испытуемые ГОА обеспечили тушение модельных очагов, м3.
Огнетушащую интенсивность подачи ОА из ГОА

, кг/(м
3·с), вычисляют по формуле

. (2)
8.4 Время подачи ОА (работы ГОА) определяют следующим образом.
8.4.1 Для испытаний применяют:
- стапель - устройство для крепления ГОА на необходимой высоте;
- телевизионную камеру или кинокамеру;
- секундомер с пределом измерения не менее 30 мин и ценой деления не более 0,2 с.
8.4.2 Подготовка к проведению испытаний
ГОА, снаряженный устройством пуска, закрепляют на стапеле (на высоте не менее 1 м в произвольном положении), расположенном на открытом пространстве в защищенном от ветра месте.
8.4.3 Проведение испытаний
Включают телекамеру (кинокамеру) и подают сигнал на пуск ГОА.
Проводят испытания трех ГОА по определению времени подачи ОА. После окончания испытаний обрабатывают кадры видеосъемки и определяют время подачи ОА в каждом опыте.
За время подачи ОА принимают среднее арифметическое значение промежутка времени между наблюдаемым началом и окончанием истечения струи ОА из ГОА.
8.5 Инерционность (время срабатывания) ГОА определяют следующим образом.
8.5.1 Для испытаний применяют:
- стапель - устройство для крепления ГОА на необходимой высоте;
- датчик температуры - термоэлектрический преобразователь типа ТВР, ТХА или ТХК по
ГОСТ 6616 с диаметром проволоки не более 0,1 мм (класс 2);
- устройство регистрации момента подачи сигнала на пуск ГОА, измерения и регистрации температуры во времени с диапазоном измерения температуры, соответствующим температурному диапазону термоэлектрического преобразователя, и погрешностью измерения времени не более 0,02 с.
8.5.2 Подготовка к проведению испытаний
ГОА, снаряженный устройством пуска, закрепляют на высоте от 1 до 2 м на стапеле, расположенном в испытательном боксе или на открытом пространстве в защищенном от ветра месте. Устанавливают датчик температуры на оси выпускного отверстия ГОА на расстоянии не более 20 мм от его среза и подсоединяют его к устройству для измерения и регистрации температуры.
8.5.3 Проведение испытаний
Включают регистрирующее и измерительное устройство, после чего подают сигнал на пуск ГОА.
После окончания работы ГОА обрабатывают результаты регистрации. Определяют промежуток времени между моментом подачи сигнала на пуск ГОА и началом повышения температуры, регистрируемой датчиком. Началом повышения температуры считают точку сопряжения прямолинейного участка графической зависимости показаний датчика температуры от температуры с криволинейным участком данной зависимости.
Примечание - В качестве критерия оценки инерционности ГОА допускается использовать промежуток времени между моментом подачи сигнала на пуск ГОА и визуально наблюдаемым моментом начала истечения струи ОА, оцениваемый с применением теле- или видеокамеры.
Проводят испытания трех ГОА.
За инерционность ГОА принимают среднее арифметическое значение результатов измерений.
8.6 Размеры зон с температурой 75 °C, 150 °C и 300 °C, образующихся при работе ГОА, определяют следующим образом.
8.6.1 Для проведения испытаний применяют устройства для измерения и регистрации изменения термоэлектродвижущей силы.
Примечание - Данное испытание допускается проводить с применением тепловизора, обеспечивающего необходимую точность измерения температуры.
8.6.2 Подготовка к проведению испытаний
В помещении, линейные размеры которого не менее чем вдвое превышают указанные в нормативной и/или технической документации на испытуемый ГОА размеры зон с температурой более 75 °C, на стапеле устанавливают ГОА таким образом, чтобы обеспечить свободное истечение струи ОА.
На соответствующих расстояниях от ГОА, указанных в нормативной и/или технической документации, устанавливают термоэлектрические преобразователи, подключенные к регистрирующему устройству.
8.6.3 Проведение испытаний
Запускают ГОА в соответствии с инструкцией по эксплуатации. Регистрируют максимальные показания температуры каждого термоэлектрического преобразователя за все время работы ГОА.
Измерения выполняют последовательно для трех образцов ГОА.
Результатом испытания считают максимальное показание температуры для каждого преобразователя, которое не должно превышать значений, указанных в нормативной и/или технической документации для каждой зоны значений.
8.7 Испытания на срабатывание ГОА от электрического сигнала, обеспечивающего пуск ГОА, проводят следующим образом.
8.7.1 Для испытаний применяют:
- стапель - устройство для крепления ГОА на необходимой высоте;
- электрический источник питания, обеспечивающий пропускание через устройство пуска ГОА электрического тока с параметрами и допусками, заданными в нормативной и/или технической документации на ГОА;
- устройство для измерения и регистрации величины и времени прохождения электрического тока через устройство пуска ГОА с погрешностью измерения электрического тока 10% и погрешностью измерения времени не более 0,02 с.
8.7.2 Подготовка к проведению испытаний
ГОА монтируют на стапеле на открытой площадке в произвольном положении. Подключают ГОА к электрическому источнику, обеспечивающему пропускание через устройство пуска ГОА заданного в нормативной и/или технической документации вида тока с минимальной величиной.
8.7.3 Проведение испытаний
Включают устройство для измерения и регистрации величины электрического тока и времени его прохождения через устройство пуска ГОА. Подают сигнал на пуск ГОА.
Опыт повторяют на другом образце ГОА при условии пропускания через устройство пуска ГОА заданного в нормативной и/или технической документации вида тока с максимальной величиной.
Проводят по одному испытанию для каждой величины тока (минимальной и максимальной).
Регистрируют результаты опыта (срабатывание или несрабатывание ГОА, величину тока и время его прохождения через устройство пуска ГОА).
8.8 Испытание на отсутствие срабатывания ГОА от электрического сигнала с параметрами, обеспечивающими контроль цепи электрического пуска, проводят следующим образом.
8.8.1 Для испытания применяют:
- стапель - устройство для крепления ГОА на необходимой высоте;
- электрический источник питания, обеспечивающий пропускание через устройство пуска ГОА электрического тока необходимых вида и величины;
- устройство для измерения электрического тока с погрешностью, не большей 10%;
- секундомер с пределом измерения не менее 30 мин и ценой деления не более 0,2 с.
8.8.2 Подготовка к проведению испытаний
ГОА монтируют аналогично
8.3.2 и подключают к электрическому источнику, обеспечивающему пропускание через устройство пуска ГОА тока, превышающего на 10% максимальный ток контроля.
8.8.3 Проведение испытаний
Включают подачу электрического сигнала на устройство пуска в течение времени, заданного в нормативной и/или технической документации на ГОА.
Во время опыта регистрируют величину тока, проходящего через устройство пуска ГОА. По истечении заданного времени отключают источник тока и регистрируют результат опыта.
Во время испытаний не должно происходить срабатывание устройства пуска ГОА и пуска ГОА.
8.9 Работоспособность ГОА в интервале температур эксплуатации определяют следующим образом.
Сущность метода заключается в определении соответствия времени подачи ОА и инерционности ГОА при предельной положительной и отрицательной температурах эксплуатации техническим характеристикам ГОА.
8.9.1 Для испытаний применяют камеру холода (тепла), позволяющую термостатировать ГОА при предельной отрицательной (положительной) температуре эксплуатации с точностью +/- 2 °C.
8.9.2 Проведение испытаний
В камере холода (тепла) устанавливают предельную отрицательную (положительную) температуру эксплуатации ГОА. ГОА в количестве, необходимом для определения времени подачи ОА по
8.4 и инерционности по
8.5, помещают в камеру холода (тепла) и выдерживают в ней при предельной отрицательной (положительной) температуре эксплуатации в течение времени, необходимого для охлаждения (нагрева) ГОА до данной температуры.
Время достижения предельной температуры испытаний каждым ГОА определяют опытным путем. Извлекают испытуемый ГОА из камеры и определяют время подачи ОА и инерционность ГОА по
8.4 и
8.5.
Время от момента извлечения ГОА из камеры холода (тепла) до начала испытаний не должно превышать 1,5% времени термостатирования ГОА в камере холода (тепла).
ГОА считается прошедшим испытания, если время подачи ОА и инерционность ГОА при предельных отрицательной и положительной температурах эксплуатации соответствуют значениям, установленным изготовителем в нормативной и/или технической документации на ГОА.
8.10 Проверку устойчивости ГОА к внешним вибрационным воздействиям проводят следующим образом.
8.10.1 Для испытаний применяют:
- вибростенд, обеспечивающий параметры допустимых вибрационных воздействий, указанные в нормативной и (или) технической документации на испытуемый ГОА;
- аппаратуру и оборудование, применяемые при определении времени подачи ОА по
8.4 и размеров зон с температурой 75 °C, 150 °C и 300 °C, образующихся при работе ГОА, по
8.6.
8.10.2 Подготовка к проведению испытаний
ГОА, снаряженные устройством пуска, с помощью штатного кронштейна и крепежа, крепят на подвижной платформе вибростенда.
8.10.3 Проведение испытаний
Вибрационным воздействиям подвергают 6 ГОА по каждой из трех осей координат ГОА (для трех ГОА по одной из осей) при предельно допустимых значениях частоты, амплитуды и времени воздействия, установленных изготовителем в нормативной и/или технической документации на ГОА.
Определяют время подачи ОА по
8.4 и размеры зон с температурой 75 °C, 150 °C и 300 °C, образующихся при работе ГОА, по
8.6 для ГОА после вибрационных воздействий по каждой из осей.
Значения данных характеристик ГОА после вибрационных воздействий не должны превышать соответствующие значения, приведенные в нормативной и/или технической документации на ГОА.
8.11 Состояние корпуса ГОА после окончания его работы оценивают путем анализа кадров видео- или киносъемки, полученных при проведении испытаний трех ГОА по
8.4 и осмотра корпусов сработавших ГОА.
ГОА считается прошедшим испытание, если ни в одном из трех опытов не происходило самостоятельное горение наружной поверхности корпуса после окончания работы ГОА, а в корпусе сработавшего ГОА не образовалось трещин, прогаров и других не установленных конструкторской документацией сквозных отверстий.
8.12 Максимальную температуру корпуса ГОА во время и по окончании его работы определяют следующим образом.
8.12.1 Для испытаний применяют:
- датчики температуры - термоэлектрические преобразователи ТХА и ТХК по
ГОСТ 6616 с диаметром проволоки не более 0,1 мм;
- устройство измерения и регистрации температуры во времени с диапазоном измерения температуры, соответствующим температурному диапазону термоэлектрического преобразователя, и погрешностью измерения времени не более 1 с.
Примечание - Данное испытание допускается проводить с применением тепловизора, обеспечивающего необходимую точность измерения температуры.
8.12.2 Подготовка к проведению испытаний
ГОА, снаряженный устройством пуска, закрепляют на высоте от 1 до 2 м на стапеле, расположенном в испытательном боксе или на открытом пространстве в защищенном от ветра месте. Закрепляют датчики температуры на внешней поверхности ГОА:
- один - в середине донной части (в середине поверхности ГОА, расположенной со стороны, противоположной выпускному отверстию);
- два - в середине боковой поверхности ГОА на противоположных ее частях.
Подключают датчики температуры к устройству для измерения и регистрации температуры.
8.12.3 Проведение испытаний
Включают регистрирующее и измерительное устройство. Подают сигнал на пуск ГОА. После окончания работы ГОА обрабатывают результаты регистрации. Определяют наибольшие значения показаний каждой термопары.
Испытаниям подвергают три ГОА. За результат испытаний принимают максимальное значение из показаний термопар, зарегистрированных в трех опытах.
8.13 Огнетушащую способность ГОА по отношению к горючим веществам и материалам, для тушения которых рекомендуется данный ГОА, определяют следующим образом.
8.13.1 Определение огнетушащей способности и огнетушащей интенсивности подачи аэрозоля ГОА по отношению к твердым веществам, горение которых происходит без тления (подкласс пожара A2 по
ГОСТ 27331).
8.13.1.1 Для испытаний применяют:
- огневую камеру (испытательное помещение), термоэлектрические преобразователи и устройство для измерения и регистрации изменения температуры во времени (см.
8.3);
- модельные очаги пожара подкласса A2 - не менее трех образцов из соответствующих твердых веществ и материалов размерами 200 x 100 x 10 мм (см. рисунок 3).
1 - полимерные пластины; 2 - направляющие стержни
для пластин очага; 3 - защитный экран; 4 - противень
для зажигания полимерных пластин очага; 5 - опорные стержни
защитного экрана в количестве 3 шт.; 6 - опора
Примечание - Стрелками показано направление движения воздуха.
Рисунок 3 - Модельный очаг пожара подкласса A2
8.13.1.2 Проведение испытаний
В огневой камере (испытательном помещении) размещают один или несколько испытуемых ГОА одного типоразмера и модельные очаги с термоэлектрическими преобразователями. Модельные очаги устанавливают вертикально таким образом, чтобы нижние их торцы находились на расстоянии от пола, равном 10%, 50% и 90% высоты. На модельные очаги не должна быть направлена струя ОА, выходящего из ГОА. Зажигают все модельные очаги в нижней части образца. По истечении времени свободного горения модельных очагов, равного (60 +/- 5) с, включают устройство для измерения и регистрации показаний термоэлектрических преобразователей и запускают испытуемые ГОА.
Обработку и оценку результатов проводят в соответствии с
8.3.
8.13.2 Определение огнетушащей способности ГОА по отношению к твердым веществам и материалам, горение которых сопровождается тлением (подкласс пожара A1 по
ГОСТ 27331).
8.13.2.1 Для испытаний применяют:
- огневую камеру (испытательное помещение), термоэлектрические преобразователи и устройство для измерения и регистрации изменения температуры во времени (см.
8.3);
8.13.2.2 Проведение испытаний
В огневой камере (испытательном помещении) размещают один или несколько испытуемых ГОА и модельный очаг пожара 0,1A, в центре которого устанавливают термоэлектрический преобразователь. Модельный очаг размещают на полу таким образом, чтобы на него не была направлена струя ОА, выходящего из ГОА. В открытом испытательном помещении зажигают модельный очаг и по истечении времени свободного горения модельного очага, которое должно составлять (7 +/- 1) мин, закрывают испытательное помещение, включают устройство для измерения и регистрации показаний термоэлектрических преобразователей и запускают испытуемые ГОА.
По истечении (10 +/- 1) мин после окончания работы ГОА открывают испытательное помещение и отключают устройство для измерения и регистрации показаний термоэлектрических преобразователей. После открытия испытательного помещения визуально определяют наличие или отсутствие пламенного горения или очагов тления в модельном очаге.
Обрабатывают результаты регистрации показаний термоэлектрического преобразователя, установленного в центре модельного очага пожара 0,11A.
Результаты испытаний считают положительными, если после окончания работы ГОА зарегистрировано уменьшение температуры в модельном очаге пожара и после открытия проемов помещения не обнаружено пламенного горения в модельном очаге пожара и очагов тления.
Огнетушащую способность ГОА и интенсивность подачи ОА вычисляют по
формулам (1) и
(2).
8.14 Электрическое сопротивление между корпусом и клеммами, служащими для подачи электрического сигнала на пуск ГОА, определяют омметром класса точности 1,0.
Электрическое сопротивление определяют между закороченными клеммами и корпусом ГОА.
8.15 Соответствие комплектности, маркировки и упаковки требованиям настоящего стандарта, а также наличие устройства для опломбирования ГОА устанавливают внешним осмотром.
8.16 Размеры зон пожароопасности ГОА определяют следующим образом.
8.16.1 Для испытаний применяют:
- испытательный стенд, располагаемый в помещении, объем которого не менее указанного в нормативной и/или технической документации максимального объема условно герметичного помещения, защищаемого одним испытуемым ГОА, или в ограниченной зоне открытого пространства, защищенной от воздействия ветра и осадков, которые обеспечивают свободное распространение струи ОА по всей ее длине;
- стапель - устройство для крепления ГОА на необходимой высоте для свободной подачи ОА из ГОА;
- противни из стали произвольной марки диаметром не менее 0,05 м, высотой не более 0,03 м и толщиной от 0,5 до 1,0 мм;
- атмосферную газовую горелку (пропанобутановую, бытовую) эжекционного типа диаметром до 9 мм;
- хлопчатобумажную вату по
ГОСТ 5679 влажностью не более 20%;
- кино- или видеокамеру (допускается над модельными очагами устанавливать термоэлектрические преобразователи, аналогично указанным ранее в
8.3).
8.16.2 Испытания с горючей жидкостью проводят следующим образом.
В стапеле закрепляют ГОА в положении, обеспечивающем свободное истечение струи ОА из ГОА. Устанавливают 2 противня: один - у корпуса в зоне максимальной температуры и на соответствующем расстоянии от него, указанных в нормативной и/или технической документации на испытуемый ГОА, второй - на уровне нижнего среза выпускного отверстия ГОА и соответствующем расстоянии вдоль оси струи ОА, указанном в нормативной и/или технической документации на данный ГОА. Заливают до края противня соответствующее количество горючего.
При предварительно включенной кино- или видеокамере приводят в соответствии с инструкцией по эксплуатации в действие ГОА и регистрируют результат испытаний по зажигающей способности корпуса и ОА. При воспламенении модельных очагов методом последовательного приближения с шагом 50 мм находят расстояние, на котором они не воспламеняются. Если воспламенение не произошло, методом последовательного приближения с шагом 50 мм находят расстояние, на котором очаги воспламеняются.
За результат определения характеристик зажигающей способности пожароопасных зон отдельно корпуса и ОА ГОА принимают максимальное значение расстояний, при которых происходит и не происходит зажигание модельных очагов. Испытания, при которых фиксируют воспламенение и его отсутствие, проводят не менее трех раз.
8.16.3 Испытания с горючим твердым материалом проводят следующим образом.
В стапеле закрепляют ГОА в положении, обеспечивающем свободное истечение струи ОА из ГОА в горизонтальном направлении. Устанавливают и закрепляют два модельных очага в виде неспрессованных комков ваты массой каждый не более 10 г: один - у корпуса в зоне максимальной температуры и на соответствующем расстоянии от него, указанном в нормативной и/или технической документации на испытуемый ГОА, второй - на уровне нижнего среза выпускного отверстия ГОА и соответствующем расстоянии вдоль оси струи ОА, указанном в нормативной и/или технической документации на данный ГОА.
При предварительно включенной кино- или видеокамере приводят в соответствии с инструкцией по эксплуатации в действие ГОА и регистрируют результат испытаний по зажигающей способности корпуса и ОА. При воспламенении модельных очагов методом последовательного приближения с шагом 50 мм находят расстояние, на котором они не воспламеняются. Если воспламенение не произошло, методом последовательного приближения с шагом 50 мм находят расстояние, на котором очаги воспламеняются.
За результат определения характеристик зажигающей способности пожароопасных зон отдельно корпуса и ОА ГОА принимают максимальное значение расстояний, при которых происходит и не происходит зажигание модельных очагов. Испытания, при которых фиксируют воспламенение и его отсутствие, проводят не менее трех раз.
8.16.4 Испытания с горючей газовоздушной смесью проводят следующим образом.
В стапеле закрепляют ГОА в положении, обеспечивающем свободное истечение струи ОА из ГОА в горизонтальном направлении. Устанавливают и закрепляют 2 модельных очага в виде атмосферных газовых горелок (пропанобутановых, бытовых) эжекционного типа диаметром до 9 мм с расходом горючего газа до 2 дм3/мин, соединенных с пропанобутановыми бытовыми баллонами: один очаг - у корпуса в зоне максимальной температуры и на соответствующем расстоянии от него, указанном в нормативной и/или технической документации на испытуемый ГОА, второй - на уровне 50 мм от нижнего среза выпускного отверстия ГОА и соответствующем расстоянии вдоль оси струи ОА, указанном в нормативной и/или технической документации на данный ГОА.
При предварительно включенных кино- или видеокамере и газовых горелках приводят в соответствии с инструкцией по эксплуатации в действие ГОА и регистрируют результат испытаний по зажигающей способности корпуса и ОА. При воспламенении модельных очагов методом последовательного приближения с шагом 50 мм находят расстояние, на котором они не воспламеняются. Если воспламенение не произошло, методом последовательного приближения с шагом 50 мм находят расстояние, на котором модельные очаги воспламеняются.
За результат определения характеристик зажигающей способности - пожароопасных зон отдельно корпуса ГОА и ОА - принимают максимальные значения расстояний, при которых происходит и не происходит зажигание модельных очагов. Испытания, при которых фиксируют воспламенение и его отсутствие, повторяют не менее трех раз.
Результаты данных испытаний считаются положительными, если во всех опытах по определению характеристик зажигающей способности корпуса и струи ОА - зон пожароопасности ГОА, полученные максимальные значения расстояний, при которых происходит и не происходит зажигание модельных очагов, не ниже значений, указанных в нормативной и/или технической документации на испытуемый ГОА.
8.17 Испытания на надежность
Порядок проверки соответствия показателей надежности работы ГОА данным, приведенным в нормативной и/или технической документации на ГОА, должен соответствовать требованиям
ГОСТ 27.410.
Отказом в работе ГОА считается:
- несрабатывание ГОА;
- несоответствие полученного при испытании ГОА времени подачи ОА и инерционности ГОА требованиям
5.3.2.5;
- несоответствие результатов испытаний требованиям
5.1.5.
| | П. 8.18 содержит правила и методы исследований (испытаний) и измерений, в том числе правила отбора образцов, необходимые для применения и исполнения требований технического регламента Евразийского экономического союза "О требованиях к средствам обеспечения пожарной безопасности и пожаротушения" (ТР ЕАЭС 043/2017) и осуществления оценки соответствия объектов технического регулирования (Решение Коллегии Евразийской экономической комиссии от 19.11.2019 N 200). | |
8.18 Способность кронштейна или других элементов крепления выдерживать статическую нагрузку проверяют приложением к ним статической нагрузки, в 3 раза превышающей полную массу ГОА.
Кронштейн в течение 5 мин должен выдержать приложенную статическую нагрузку без визуально наблюдаемого смещения или деформации.
| | П. 8.19 содержит правила и методы исследований (испытаний) и измерений, в том числе правила отбора образцов, необходимые для применения и исполнения требований технического регламента Евразийского экономического союза "О требованиях к средствам обеспечения пожарной безопасности и пожаротушения" (ТР ЕАЭС 043/2017) и осуществления оценки соответствия объектов технического регулирования (Решение Коллегии Евразийской экономической комиссии от 19.11.2019 N 200). | |
8.19 Проверку качества защитных и защитно-декоративных лакокрасочных покрытий деталей ГОА проводят в соответствии с
ГОСТ 9.032 и
ГОСТ 9.302.
9 Транспортирование и хранение
9.1 ГОА должны обеспечивать устойчивость к механическим воздействиям при транспортировании.
9.2 Условия транспортирования и хранения ГОА должны соответствовать условиям их эксплуатации и требованиям
ГОСТ 15150.
9.3 При транспортировании и хранении ГОА должны быть обеспечены условия, предохраняющие их от механических повреждений, нагрева, воздействия влаги и агрессивных сред, попадания на них прямых солнечных лучей и атмосферных осадков.
9.4 Совместное транспортирование и хранение ГОА с другими веществами и материалами должно производиться в соответствии с требованиями
ГОСТ 12.1.004.
10 Указания по эксплуатации
Эксплуатацию ГОА осуществляют в строгом соответствии с требованиями руководства по эксплуатации.
11.1 Изготовитель гарантирует соответствие ГОА требованиям настоящего стандарта при соблюдении условий транспортирования, хранения и эксплуатации.
11.2 Гарантийные обязательства, сроки и правила их исчисления устанавливают в нормативной и/или технической документации на ГОА.
(обязательное)
ОБЪЕМ ПРОВЕДЕНИЯ КВАЛИФИКАЦИОННЫХ
И ПЕРИОДИЧЕСКИХ ИСПЫТАНИЙ ГОА
Показатель | Номер пункта настоящего стандарта | Вид испытания |
Технических требований | Методов испытаний | Квалификационные | Периодические |
Габаритные размеры ГОА | | | + | + |
Масса снаряженного ГОА и ГОА после испытания | | + | + |
Огнетушащая способность ГОА по отношению к модельным очагам пожара класса B | | | + | + |
Максимальный объем условно герметичного помещения, в котором ГОА обеспечивает тушение модельных очагов пожара класса B | | + | + |
Огнетушащая интенсивность подачи ОА из ГОА | + | + |
Время подачи ОА (работы ГОА) | | | + | + |
Инерционность (время срабатывания) ГОА | | + | + |
Размеры зон с температурой 75 °C, 150 °C и 300 °C, образующихся при работе ГОА | | | + | + |
Срабатывание ГОА от электрического сигнала, обеспечивающего пуск ГОА | | | + | + |
Отсутствие срабатывания ГОА от электрического сигнала с параметрами, обеспечивающими контроль цепи электрического пуска | | + | + |
Работоспособность ГОА в интервале температур эксплуатации | | | + | + |
Устойчивость ГОА к внешним вибрационным воздействиям | | + | + |
Состояние корпуса ГОА после окончания его работы | | | + | + |
Максимальная температура корпуса ГОА во время и по окончании его работы | | | + | + |
Огнетушащая способность ГОА по отношению к горючим веществам и материалам, для тушения которых рекомендуется данный ГОА | | | + | + |
Электрическое сопротивление между корпусом и клеммами, служащими для подачи электрического сигнала на пуск ГОА | | | + | + |
Комплектность, маркировка и упаковка ГОА, наличие устройства для опломбирования ГОА | | | + | + |
Размеры зон пожароопасности ГОА | | | + | + |
Надежность | | | + | + |
Способность кронштейна или других элементов крепления выдерживать статическую нагрузку | | | + | + |
Качество защитных и защитно-декоративных лакокрасочных покрытий деталей ГОА | | | + | + |
Примечание - Знак "+" означает, что испытание проводят. |
(обязательное)
УСТРОЙСТВО И ПАРАМЕТРЫ МОДЕЛЬНОГО ОЧАГА ПОЖАРА КЛАССА A
Модельный очаг пожара представляет собой деревянный штабель в виде куба (см. рисунок Б.1). Штабель размещают на твердой опоре таким образом, чтобы расстояние от основания штабеля до опорной поверхности (пол или земля) составляло (400 +/- 10) мм. Размеры опоры определяют в соответствии с размерами модельного очага пожара, но не менее длины бруска, указанной в
таблице Б.1.
1 - деревянные бруски; 2 - стальной уголок;
3 - бетонный (металлический) блок
Рисунок Б.1 - Устройство деревянного штабеля
(модельного очага пожара класса A)
для проведения огневых испытаний
В качестве горючего материала используют бруски хвойных пород дерева не ниже третьего сорта по
ГОСТ 8486, сечением (40 +/- 1) мм и длиной, указанной в
таблице Б.1. Влажность пиломатериала, определенная в соответствии с
ГОСТ 16588, должна составлять от 10% до 20%.
Бруски, образующие наружные грани штабеля, допускается скреплять для прочности скобами или гвоздями. Штабель выкладывается таким образом, чтобы бруски каждого последующего слоя были перпендикулярны брускам нижележащего слоя. При этом по всему объему должны образовываться каналы прямоугольного сечения.
Параметры металлического поддона для горючей жидкости, который помещают под штабель, должны соответствовать
таблице Б.2.
Таблица Б.1
Параметры модельных очагов пожара класса A
Обозначение модельного очага пожара | Количество деревянных брусков в штабеле, шт. | Длина бруска +/- 10 мм | Число брусков в слое, шт. | Число слоев | Площадь свободной поверхности модельного очага, м2 |
0,1A | 18 | 200 | 3 | 6 | 0,48 |
Таблица Б.2
Параметры поддона для разжигания модельного очага
Обозначение модельного очага пожара | Размеры поддона L x B x H, мм | Минимальный объем воды, дм3 | Количество бензина, дм3 |
0,1A | 100 x 100 x 100 | 0,3 | 0,1 |
| Технический регламент Евразийского экономического союза | О требованиях к средствам обеспечения пожарной безопасности и пожаротушения (принят Решением Совета Евразийской экономической комиссии от 23 июня 2017 г. N 40) |
УДК 614.845.2.001.4:006.354(083.74)(476) | |
Ключевые слова: техника пожарная, генераторы огнетушащего аэрозоля, тушение пожаров, технические требования, методы испытаний |