Главная // Актуальные документы // ГОСТ (Государственный стандарт)СПРАВКА
Источник публикации
М.: Стандартинформ, 2020
Примечание к документу
Документ включен в
Перечень международных и региональных (межгосударственных) стандартов, а в случае их отсутствия - национальных (государственных) стандартов, в результате применения которых на добровольной основе обеспечивается соблюдение требований технического
регламента Таможенного союза "О безопасности низковольтного оборудования" (ТР ТС 004/2011) и в
Перечень международных и региональных (межгосударственных) стандартов, а в случае их отсутствия - национальных (государственных) стандартов, содержащих правила и методы исследований (испытаний) и измерений, в том числе правила отбора образцов, необходимые для применения и исполнения требований технического
регламента Таможенного союза "О безопасности низковольтного оборудования" (ТР ТС 004/2011) и осуществления оценки соответствия объектов технического регулирования (
Решение Коллегии Евразийской экономической комиссии от 11.05.2023 N 55).
Отдельные положения данного документа включены в
Перечень документов в области стандартизации, в результате применения которых на добровольной основе обеспечивается соблюдение требований Федерального
закона от 22.07.2008 N 123-ФЗ "Технический регламент о требованиях пожарной безопасности" (
Приказ Росстандарта от 13.02.2023 N 318).
Отдельные положения данного документа включены в
Перечень документов в области стандартизации, в результате применения которых на добровольной основе обеспечивается соблюдение требований Федерального
закона от 22.07.2008 N 123-ФЗ "Технический регламент о требованиях пожарной безопасности" (
Приказ Росстандарта от 14.07.2020 N 1190).
Текст данного документа приведен с учетом
поправки, опубликованной в "ИУС", N 3, 2023;
поправки, опубликованной в "ИУС", N 7, 2023.
Документ
введен в действие с 01.03.2021.
Название документа
"ГОСТ 30988.1-2020 (IEC 60884-1:2013). Межгосударственный стандарт. Соединители электрические штепсельные бытового и аналогичного назначения. Часть 1. Общие требования и методы испытаний"
(введен в действие Приказом Росстандарта от 04.08.2020 N 443-ст)
"ГОСТ 30988.1-2020 (IEC 60884-1:2013). Межгосударственный стандарт. Соединители электрические штепсельные бытового и аналогичного назначения. Часть 1. Общие требования и методы испытаний"
(введен в действие Приказом Росстандарта от 04.08.2020 N 443-ст)
Приказом Федерального
агентства по техническому
регулированию и метрологии
от 4 августа 2020 г. N 443-ст
МЕЖГОСУДАРСТВЕННЫЙ СТАНДАРТ
СОЕДИНИТЕЛИ ЭЛЕКТРИЧЕСКИЕ ШТЕПСЕЛЬНЫЕ БЫТОВОГО
И АНАЛОГИЧНОГО НАЗНАЧЕНИЯ
ЧАСТЬ 1
ОБЩИЕ ТРЕБОВАНИЯ И МЕТОДЫ ИСПЫТАНИЙ
Plugs and socket-outlets for household and similar purposes.
Part 1. General requirements and test methods
(IEC 60884-1:2013, Plugs and socket-outlets for household
and similar purposes - Part 1: General requirements, MOD)
ГОСТ 30988.1-2020
(IEC 60884-1:2013)
Дата введения
1 марта 2021 года
Цели, основные принципы и общие правила проведения работ по межгосударственной стандартизации установлены
ГОСТ 1.0 "Межгосударственная система стандартизации. Основные положения" и
ГОСТ 1.2 "Межгосударственная система стандартизации. Стандарты межгосударственные, правила и рекомендации по межгосударственной стандартизации. Правила разработки, принятия, обновления и отмены"
1 ПОДГОТОВЛЕН Акционерным обществом "Диэлектрические кабельные системы" (АО "ДКС") на основе собственного перевода на русский язык англоязычной версии стандарта, указанного в
пункте 5
2 ВНЕСЕН Федеральным агентством по техническому регулированию и метрологии
3 ПРИНЯТ Межгосударственным советом по стандартизации, метрологии и сертификации (протокол от 30 июня 2020 г. N 131-П)
За принятие проголосовали:
Краткое наименование страны по МК (ИСО 3166) 004-97 | Код страны по МК (ИСО 3166) 004-97 | Сокращенное наименование национального органа по стандартизации |
Азербайджан | AZ | Азстандарт |
Армения | AM | Минэкономики Республики Армения |
Беларусь | BY | Госстандарт Республики Беларусь |
Казахстан | KZ | Госстандарт Республики Казахстан |
Киргизия | KG | Кыргызстандарт |
Россия | RU | Росстандарт |
Таджикистан | TJ | Таджикстандарт |
Узбекистан | UZ | Узстандарт |
4 Приказом Федерального агентства по техническому регулированию и метрологии от 4 августа 2020 г. N 443-ст межгосударственный стандарт ГОСТ 30988.1-2020 (IEC 60884-1:2013) введен в действие в качестве национального стандарта Российской Федерации с 1 марта 2021 г.
5 Настоящий стандарт модифицирован по отношению к международному стандарту IEC 60884-1:2013 "Соединители электрические штепсельные бытового и аналогичного назначения. Часть 1. Общие требования" ("Plugs and socket-outlets for household and similar purposes - Part 1: General requirements", MOD) путем внесения дополнительных требований, объяснение которых приведено во введении к настоящему стандарту.
Наименование настоящего стандарта изменено относительно наименования указанного международного стандарта для приведения в соответствие с ГОСТ 1.5
(подраздел 3.6).
Международный стандарт разработан Подкомитетом SC 23B "Штепсели, розетки и выключатели" Технического комитета TC 23 "Электрическое вспомогательное оборудование" Международной электротехнической комиссии (IEC).
Сведения о соответствии ссылочных межгосударственных стандартов международным стандартам, использованным в качестве ссылочных в примененном международном стандарте, приведены в дополнительном
приложении ДБ
Информация о введении в действие (прекращении действия) настоящего стандарта и изменений к нему на территории указанных выше государств публикуется в указателях национальных стандартов, издаваемых в этих государствах, а также в сети Интернет на сайтах соответствующих национальных органов по стандартизации.
В случае пересмотра, изменения или отмены настоящего стандарта соответствующая информация будет опубликована на официальном интернет-сайте Межгосударственного совета по стандартизации, метрологии и сертификации в каталоге "Межгосударственные стандарты"
Настоящий стандарт входит в комплекс стандартов "Соединители электрические штепсельные бытового и аналогичного назначения", гармонизированных с международными стандартами серии IEC 60884, и включает в себя:
- часть 1. Общие требования и методы испытаний;
- часть 2-1. Дополнительные требования к вилкам с плавкими предохранителями;
- часть 2-2. Дополнительные требования к штепсельным розеткам для бытовых приборов;
- часть 2-3. Дополнительные требования к штепсельным розеткам с выключателями без блокировки для стационарных электроустановок;
- часть 2-4. Дополнительные требования к вилкам и розеткам для системы БСНН и методы испытаний;
- часть 2-5. Дополнительные требования к переходникам (адаптерам) и методы испытаний;
- часть 2-6. Дополнительные требования к розеткам с выключателями с блокировкой для стационарных установок и методы испытаний;
- часть 2-7. Дополнительные требования к комплектам удлинительных шнуров.
В настоящем стандарте методы испытаний выделены курсивом.
| | ИС МЕГАНОРМ: примечание. Ссылки, выделенные подчеркиванием сплошной горизонтальной линией в официальном тексте документа, в электронной версии документа отмечены знаком "#". | |
В настоящем стандарте
раздел "Нормативные ссылки" изложен в соответствии с
ГОСТ 1.5, а в тексте добавлены абзацы для учета потребности национальных экономик стран, указанных в предисловии, которые выделены вертикальной линией, расположенной слева от приведенного текста. В тексте стандарта соответствующие ссылки выделены подчеркиванием сплошной горизонтальной линией.
В настоящий стандарт введено дополнительное
приложение ДА, устанавливающее требования и методы испытаний к винтовым зажимам стационарных розеток, предназначенных для подсоединения неподготовленных алюминиевых проводов, в т.ч. из сплавов серии 8000 и с алюминиевыми винтовыми выводами для медных или алюминиевых проводников.
Настоящий стандарт распространяется на соединители электрические штепсельные, состоящие из двух или более частей (вилки, розетки), образующих соединения бытового и аналогичного назначения стационарные, переносные, с контактами для заземления или без них, предназначенные для присоединения электрических приемников с номинальным напряжением свыше 50 В, но не более 440 В, и номинальными токами не более 32 А к электрической сети переменного тока скрытого и открытого типа в помещениях жилых и производственных зданий.
Номинальный ток для стационарных розеток с безвинтовыми контактными зажимами ограничен максимально до 16 А.
Настоящий стандарт не распространяется на требования к монтажным коробкам скрытого типа и охватывает только те требования к монтажным коробкам открытого типа, которые необходимы для испытаний со смонтированной розеткой.
Примечание - Настоящий стандарт устанавливает только общие требования к монтажным коробкам по #
ГОСТ IEC 60670# для установки розеток, которые необходимы для их испытания.
Настоящий стандарт распространяется также на вилки, которые являются частью шнура-соединителя, вилки и переносные розетки, которые являются частью удлинителя, а также вилки и розетки, которые являются частью приборов, если нет иных указаний в стандартах на соответствующие приборы.
Настоящий стандарт распространяется также на стационарные розетки с винтовыми зажимами, предназначенные для подсоединения неподготовленных алюминиевых проводов, в т.ч. из сплавов серии 8000 и с алюминиевыми винтовыми выводами для медных или алюминиевых проводников. |
Настоящий стандарт не распространяется:
- на соединители промышленного назначения;
- соединители приборные;
- соединители для сверхнизких напряжений.
Примечание - Применение защитной меры посредством использования сверхнизких напряжений - по #ГОСТ 30331.3# <1>;
--------------------------------
<1> В Российской Федерации действует
ГОСТ Р 50571.3-2009 (МЭК 60364-4-41:2005) "Электроустановки низковольтные. Часть 4-41. Требования для обеспечения безопасности. Защита от поражения электрическим током".
- стационарные розетки с плавкими предохранителями, автоматическими выключателями и т.д.
Примечание - Розетки со световой индикацией рассматриваются в настоящем стандарте при условии, что световые индикаторы удовлетворяют требованиям соответствующих стандартов.
Вилки, стационарные и переносные розетки, соответствующие настоящему стандарту, предназначены для работы при температуре окружающей среды, не превышающей 40 °C, но среднее значение за период 24 ч не должно превышать 35 °C с нижним пределом окружающего воздуха минус 5 °C.
Примечания
1 Розетки, соответствующие настоящему стандарту, предназначены для встраивания в оборудование, где температура окружающей среды не превышает 35 °C.
2 В Китае требуется, чтобы вилки и розетки были пригодны для использования при температуре окружающей среды, обычно не превышающей 35 °C, но иногда достигающей 40 °C.
Настоящий стандарт не распространяется на вилки и розетки, предназначенные для использования в местах с особыми условиями среды, например на средствах водного и наземного транспорта, а также во взрывоопасных средах.
В настоящем стандарте использованы нормативные ссылки на следующие межгосударственные стандарты:
ГОСТ 14254 (IEC 60529:2013) Степени защиты, обеспечиваемые оболочками (Код IP)
ГОСТ 27473 (МЭК 112-79) Материалы электроизоляционные твердые. Метод определения сравнительного и контрольного индексов трекингостойкости во влажной среде
ГОСТ 28216 (МЭК 68-2-30-87) <1> Основные методы испытаний на воздействие внешних факторов. Часть 2. Испытания. Испытание Db и руководство: Влажное тепло, циклическое (12 + 12-часовой цикл)
--------------------------------
<1> В Российской Федерации также действует ГОСТ Р МЭК 60068-2-30-2009 "Испытания на воздействия внешних факторов. Часть 2-30. Испытания. Испытание Db: Влажное тепло, циклическое (12 ч + 12-часовой цикл)".
ГОСТ 28217 (МЭК 68-2-31-69) Основные методы испытаний на воздействие внешних факторов. Часть 2. Испытания. Испытание Ec: Падение и опрокидывание, предназначенное в основном для аппаратуры
ГОСТ 30331.3 (МЭК 364-4-41-92)/ГОСТ Р 50571.3-94 (МЭК 364-4-41-92) <2> Электроустановки зданий. Часть 4. Требования по обеспечению безопасности. Защита от поражения электрическим током
--------------------------------
<2> В Российской Федерации действует
ГОСТ Р 50571.3-2009 (МЭК 60364-4-41:2005) "Электроустановки низковольтные. Часть 4-41. Требования для обеспечения безопасности. Защита от поражения электрическим током".
ГОСТ 30630.1.10 (IEC 60068-2-75:1997) Методы испытаний на стойкость к механическим внешним воздействующим факторам машин, приборов и других технических изделий. Удары по оболочке изделия
ГОСТ 30851 (IEC 60320) (все части) Соединители электрические бытового и аналогичного назначения
ГОСТ 30988.2.6 (IEC 60884-2-6:1997) Соединители электрические штепсельные бытового и аналогичного назначения. Часть 2-6. Дополнительные требования к розеткам с выключателями с блокировкой для стационарных установок и методы испытаний
ГОСТ 31602.1 (IEC 60999-1:1999) Соединительные устройства. Требования безопасности к контактным зажимам. Часть 1. Требования к винтовым и безвинтовым контактным зажимам для соединения медных проводников с номинальным сечением от 0,2 до 35 кв. мм
ГОСТ 7396.1-89 (МЭК 83-75) Соединители электрические штепсельные бытового и аналогичного назначения. Основные размеры
ГОСТ 31603 (IEC 61540:1997) Устройства защитного отключения переносные бытового и аналогичного назначения, управляемые дифференциальным током, без встроенной защиты от сверхтоков (УЗО-ДП). Общие требования и методы испытаний
ГОСТ МЭК 61032 <3> Защита людей и оборудования, обеспечиваемая оболочками. Щупы испытательные
--------------------------------
<3> В Российской Федерации действует ГОСТ Р МЭК 61032-2000 "Защита людей и оборудования, обеспечиваемая оболочками. Щупы испытательные".
ГОСТ IEC 60050-151 Международный электротехнический словарь. Часть 151. Электрические и магнитные устройства
ГОСТ IEC 60050-442 Международный электротехнический словарь. Часть 442. Электрические аксессуары
ГОСТ IEC 60227 (все части) Кабели с поливинилхлоридной изоляцией на номинальное напряжение до 450/750 В включительно
ГОСТ IEC 60245 (все части) Кабели с резиновой изоляцией на номинальное напряжение до 450/750 В включительно
ГОСТ IEC 60669 (все части) Выключатели для бытовых и аналогичных стационарных электрических установок
ГОСТ IEC 60670 (все части) Кожухи и оболочки для принадлежностей бытовых и аналогичных стационарных электрических установок
ГОСТ IEC 60695-2-10 <1> Испытания на пожароопасность. Часть 2-10. Методы испытаний раскаленной проволокой. Оборудование для испытания раскаленной проволокой и общий порядок проведения испытаний
--------------------------------
<1> В Российской Федерации действует
ГОСТ Р МЭК 60695-2-10-2011 "Испытания на пожароопасность. Часть 2-10. Основные методы испытаний раскаленной проволокой. Установка испытания раскаленной проволокой и общие процедуры испытаний".
ГОСТ IEC 60695-2-11 Испытания на пожароопасность. Часть 2-11. Основные методы испытаний раскаленной проволокой. Испытание раскаленной проволокой на воспламеняемость конечной продукции
ГОСТ IEC 61058 (все части) Выключатели для электроприборов
ГОСТ IEC 61058-1 Выключатели для электроприборов. Часть 1. Общие требования
ГОСТ IEC 61140 <2> Защита от поражения электрическим током. Общие положения безопасности установок и оборудования
--------------------------------
<2> В Российской Федерации действует
ГОСТ Р 58698-2019 (МЭК 61140:2016) "Защита от поражения электрическим током. Общие положения для электроустановок и электрооборудования".
ГОСТ ISO 2081 Металлические и другие неорганические покрытия. Электролитические покрытия цинком с дополнительной обработкой по чугуну и стали
Примечание - При пользовании настоящим стандартом целесообразно проверить действие ссылочных стандартов и классификаторов на официальном интернет-сайте Межгосударственного совета по стандартизации, метрологии и сертификации (www.easc.by) или по указателям национальных стандартов, издаваемым в государствах, указанных в предисловии, или на официальных сайтах соответствующих национальных органов по стандартизации. Если на документ дана недатированная ссылка, то следует использовать документ, действующий на текущий момент, с учетом всех внесенных в него изменений. Если заменен ссылочный документ, на который дана датированная ссылка, то следует использовать указанную версию этого документа. Если после принятия настоящего стандарта в ссылочный документ, на который дана датированная ссылка, внесено изменение, затрагивающее положение, на которое дана ссылка, то это положение применяется без учета данного изменения. Если ссылочный документ отменен без замены, то положение, в котором дана ссылка на него, применяется в части, не затрагивающей эту ссылку.
В настоящем стандарте применены термины по #
ГОСТ IEC 60050-151#, а также следующие термины с соответствующими определениями.
Примечания
1 При отсутствии других указаний под понятиями "напряжение" и "ток" подразумевают среднеквадратические значения этих величин.
2 Термин "заземление" означает "защитное заземление".
3 Термин "соединитель" используют как общий термин для вилок и розеток; термин "переносной соединитель" распространяют на вилки и переносные розетки. Пример использования соединителей приведен на
рисунке 1 a).
4 Термин "розетка" охватывает стационарные и переносные розетки за исключением случаев, когда имеются специальные указания.
1 - розетка стационарная; 2 - вилка опрессованная;
3 - удлинитель одноместный; 4 - соединитель штепсельный;
5 - розетка переносная опрессованная; 6 - вилка
опрессованная; 7 - соединитель штепсельный; 8 - розетка
приборная опрессованная; 9 - удлинитель с приборной
розеткой; 10 - вилка приборная; 11 - прибор;
12 - соединитель приборный
a) Схема, показывающая варианты соединителей
и их использование
b) Многоместная переносная розетка (настольного типа)
Рисунок 1 - Пример соединителей
3.1 вилка (plug): Соединитель, имеющий штыри для осуществления контакта с розеткой и средство для электрического соединения и закрепления гибкого кабеля, предназначенный для частого использования неквалифицированным персоналом.
Примечание - Для специальных цепей, таких как цепи освещения (см. также #
ГОСТ IEC 60598-2-20#), внутри штекера могут быть подключены два или три одножильных кабеля.
3.2 розетка (socket-outlet): Соединитель, имеющий контакты для электрического соединения со штырями вилки и контактные зажимы для присоединения кабеля, шнура или провода, предназначенный для частого использования неквалифицированным персоналом.
3.3 стационарная розетка (fixed socket-outlet): Розетка, предназначенная для соединения со стационарной проводкой.
3.4 переносная розетка (portable socked-outlet): Розетка, предназначенная для соединения с гибким кабелем или шнуром или являющаяся частью гибкого кабеля или шнура, присоединив которую к сети можно легко перемещать ее с одного места на другое.
3.5
многоместная розетка (multiple socket-outlet): Комбинация двух или большего числа розеток [см.
рисунок 1 b)].
3.6 розетка для приборов (socket-outlet for appliances): Розетка для встраивания или крепления к приборам.
3.7 разборные вилки и разборные переносные розетки (rewirable plug or rewirable portable socket-outlet): Вилки и розетки, конструкция которых допускает замену гибкого кабеля или шнура.
3.8
неразборная вилка и неразборная переносная розетка (non-rewirable plug or non-rewirable portable socket-outlet): Неразборные вилки и розетки, сконструированные так, что они являются одним целым с гибким кабелем или шнуром после соединения, произведенного изготовителем (см.
14.1).
3.9 опрессованный соединитель (moulded-onaccessory): Неразборный переносной соединитель, изготовление которого завершается заливкой изоляционным материалом вокруг предварительно собранных компонентов и контактных соединений гибкого кабеля.
3.10 монтажная коробка (mounting box): Коробка в стене, на стене, на или в полу, на или в потолке для скрытого или открытого типа, предназначенная для установки в ней стационарной розетки.
3.11 шнур-соединитель (cordset): Комплект, состоящий из одного гибкого кабеля с одной вилкой и с одним соединителем, предназначенный для присоединения прибора к электрической сети.
3.12 удлинитель, удлиненный шнур (cord extension set): Комплект, состоящий из одного гибкого кабеля с одной вилкой и с одной одноместной или многоместной переносной розеткой.
3.13 контактный зажим (terminal): Изолированное или неизолированное соединительное устройство, предназначенное для многократного электрического соединения внешних проводников.
3.14 контактное соединение (termination): Изолированное или неизолированное соединительное устройство, предназначенное для однократного электрического соединения внешних проводников.
3.15 зажимной узел контактного зажима (clamping unit): Часть контактного зажима, необходимая для механического зажима и электрического соединения проводника(ов).
3.16 контактный зажим винтового типа (screw-type terminal): Контактный зажим для присоединения и последующего отсоединения одного, двух и более проводов.
Примечание - Соединение может быть произведено путем прижатия проводника или кабельного наконечника, закрепленного на проводнике, к рабочей контактной поверхности вывода винтом или гайкой.
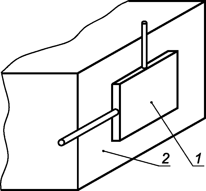
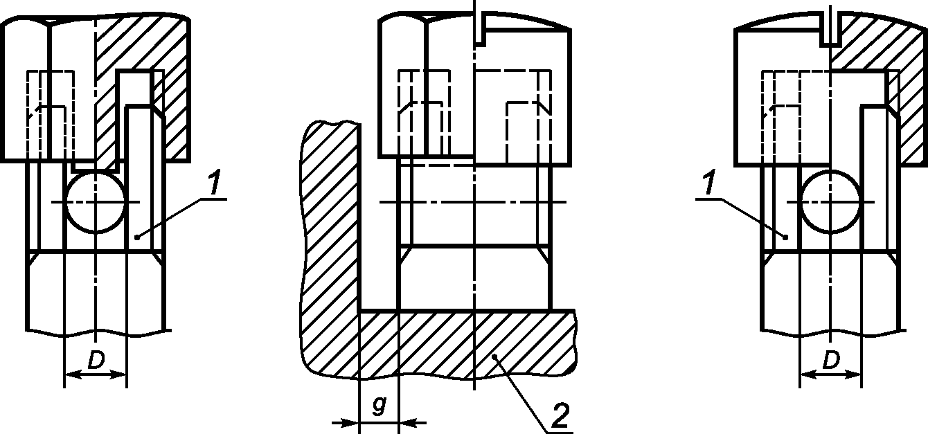
3.17 торцевой контактный зажим (pillar terminal): Контактный зажим винтового типа, в котором проводник вставляется в отверстие или паз и прижимается торцом винта или винтов.
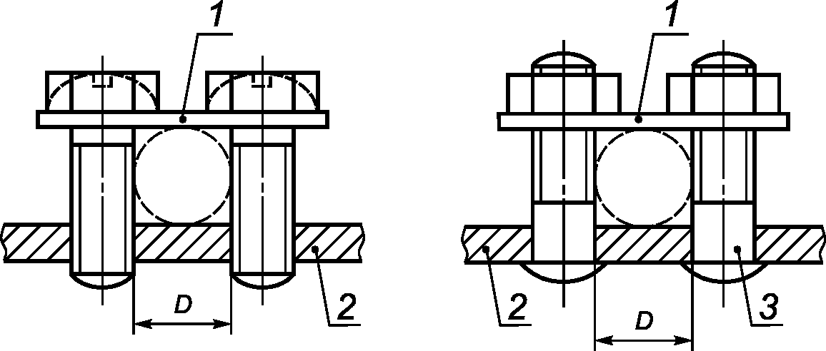
Примечание - Усилие зажима может осуществляться самим винтом или с помощью промежуточного зажимного устройства, к которому прилагается усилие винта (см.
рисунок 2).
Сечение проводника в зажиме, мм2 | Минимальный диаметр D или минимальные размеры места расположения проводника, мм | Минимальные расстояния g между зажимным винтом и концом проводника, полностью вставленного в зажим, мм | Крутящий момент, Н·м |
| | |
Один винт | Два винта | Один винт | Два винта | Один винт | Два винта | Один винт | Два винта |
1,5 | 2,5 | 1,5 | 1,5 | 0,20 | 0,2 | 0,4 | 0,4 | 0,4 | 0,4 |
2,5 (цилиндрическое отверстие) | 3,0 | 0,25 | 0,5 | 0,5 |
2,5 (эллиптическое отверстие) | 2,5 x 4,5 |
4,0 | 3,6 | 1,8 | 0,4 | 0,8 | 0,8 |
6,0 | 4,0 | 0,25 | 0,5 | 0,5 |
10,0 | 4,5 | 2,0 | 0,7 | 1,2 | 1,2 |
<1> Относится к винтам, указанным в соответствующих графах таблицы 6. |
Часть зажима, имеющая отверстие с резьбой, и часть зажима, в которой зажимается проводник, могут представлять собой две самостоятельные детали, как, например, в случае зажима, снабженного хомутом.
Форма места расположения проводника может быть иной при условии, что в нее можно будет вписать окружность диаметром, равным минимальной величине, указанной для D, или минимальные размеры, указанные для проводника сечением 2,5 мм2.
Рисунок 2 - Торцевые зажимы
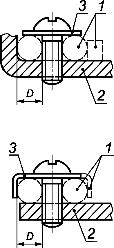
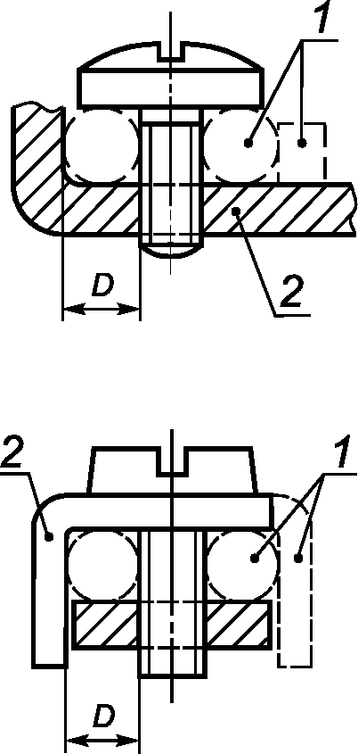
3.18 зажим с крепежной головкой (screw terminal): Контактный зажим винтового типа, в котором проводник прижимается головкой винта.
Примечание - Усилие прижима может обеспечиваться непосредственно головкой винта или промежуточной частью, например шайбой, прижимной пластиной (см.
рисунок 3).
| |
Зажимы с крепежной гайкой |
| |
a) Зажимы, не требующие применения прокладки, прижимной пластины или специальной прижимной детали | b) Зажимы, требующие применения прокладки, прижимной пластины или специальной прижимной детали |
1 - возможный вариант; 2 - неподвижная деталь; 3 - прокладка
или прижимная пластина; 4 - специальная прижимная деталь;
5 - винт; 6 - гайка; D - место расположения проводника
Сечение проводника в зажиме, мм2 | Минимальный диаметр D места расположения проводника, мм | Крутящий момент, Н·м |
|
Один винт | Два винта |
1,5 | 1,7 | 0,5 | 0,5 |
2,5 | 2,0 | 0,8 |
4,0 | 2,7 | 1,2 |
6,0 | 3,6 | 2,0 | 1,2 |
10,0 | 4,3 |
<a> Относится к винтам, указанным в соответствующих графах таблицы 6. |
Деталь, удерживающая проводник в определенном положении, может быть изготовлена из изоляционного материала при условии, что давление, необходимое для зажатия проводника, не будет передаваться через изоляционный материал.
Второе возможное место расположения проводника для зажима размера 2 мм2 может быть использовано для присоединения второго проводника при необходимости подключения двух проводников сечением 2,5 мм2.
Рисунок 3 - Зажимы с крепежной головкой и гайкой
3.19 зажим с крепежной гайкой (stud terminal): Контактный зажим винтового типа, в котором проводник прижимается гайкой.
Примечание - Сила прижима может обеспечиваться непосредственно фигурной гайкой или промежуточной частью, например шайбой, прижимной пластиной (см.
рисунок 3).
3.20
контактный зажим с прижимной планкой (saddle terminal): Контактный зажим, в котором проводник зажимается планкой с помощью двух или более винтов (см.
рисунок 4).
1 - прижимная пластина; 2 - неподвижная деталь; 3 - шпилька;
D - место расположения проводника
Сечение проводника в зажиме, мм2 | Минимальный диаметр D места расположения проводника, мм | Крутящий момент, Н·м |
4 | 3,0 | 0,5 |
6 | 4,0 | 0,8 |
10 | 4,5 | 1,2 |
Расположение проводника может быть иным по сравнению с указанным на рисунке при условии, что в него можно будет вписать окружность диаметром, равным минимальной величине, указанной для D.
Форма верхней и нижней сторон прижимной планки может быть неодинаковой, что обусловлено различными размерами сечения проводника, и поэтому при зажатии проводника ее можно переворачивать.
Рисунок 4 - Зажим с прижимной планкой
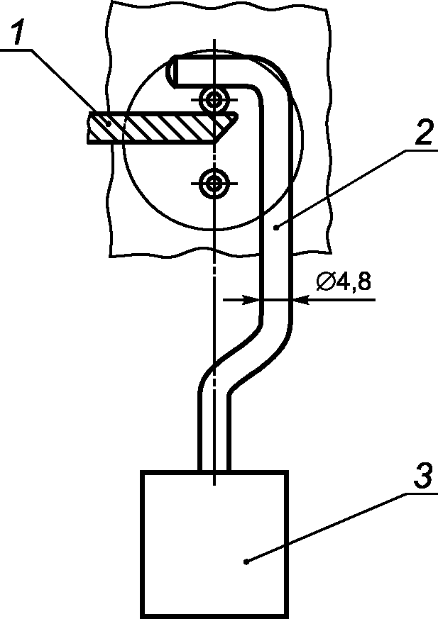
3.21 колпачковый зажим (mantle terminal): Контактный зажим винтового типа, в котором проводник прижимается к вырезу в резьбовом болте с помощью гайки.
Примечание - Жила прижимается к вырезу шайбой особой формы с помощью гайки с центральным штифтом, если гайка является колпачковой, или другим эквивалентным эффективным средством для передачи давления от гайки на жилу в пределах паза (см.
рисунок 5).
1 - неподвижная деталь; 2 - деталь соединителя с отверстием
для контактного зажима; D - место расположения проводника
Сечение проводника в зажиме, мм2 | Минимальный диаметр D места расположения проводника, мм <a> | Минимальное расстояние g между неподвижной деталью и концом проводника, полностью вставленного в зажим, мм |
1,5 | 1,7 | 1,5 |
2,5 | 2,0 |
4,0 | 2,7 | 1,8 |
6,0 | 3,6 |
10,0 | 4,3 | 2,0 |
<a> Нижняя часть места расположения проводника должна быть слегка закруглена для обеспечения надежного соединения с проводником. |
| | ИС МЕГАНОРМ: примечание. В официальном тексте документа, видимо, допущена опечатка: значение момента в данной таблице отсутствует. Возможно, имеются в виду графы 2 и 3 таблицы 6. | |
Примечание - Значение прилагаемого момента указано соответственно в
графах 2 и
3.
Рисунок 5 - Колпачковый зажим
3.22 безвинтовой контактный зажим (screwless terminal): Контактный зажим для присоединения и отсоединения проводника или разъемного соединения двух или более жил непосредственно или с помощью пружин, клиньев, эксцентриков, конусов и аналогичных элементов без специальной подготовки провода, не считая снятия изоляции.
3.23 самонарезающий формующий винт (thread-forming screw): Самонарезающий винт с непрерывной резьбой, не предназначенной для удаления материала нарезки из отверстия (см. рисунок 6).
Рисунок 6 - Самонарезающий формующий винт
3.24 самонарезающий режущий винт (thread-cutting screw): Самонарезающий винт с прерывистой резьбой, предназначенный для удаления материала нарезки из отверстия (см. рисунок 7).
Рисунок 7 - Самонарезающий режущий винт
3.25 номинальное напряжение (rated voltage): Напряжение, установленное изготовителем соединителей, которое указывается в стандартах или технических условиях.
3.26 номинальный ток (rated current): Ток, установленный изготовителем соединителей, который указан в стандартах или технических условиях.
3.27 шторки (shutter): Подвижная часть, встроенная в розетку, автоматически закрывающая гнездовые контакты, находящиеся под напряжением, когда вилка вынута из розетки.
3.28 типовые испытания (type test): Испытания на одном или более соединителе, проведенные для определенной конструкции, чтобы показать, что конструкция удовлетворяет определенным характеристикам.
3.29 приемо-сдаточные испытания (routine test): Испытания, которым подвергают отдельное устройство в течение и/или после изготовления с целью установления соответствия устройства определенному критерию.
3.30 основание розетки (base): Часть розетки, служащая для крепления гнездовых контактов.
3.31 токоведущая часть (live part): Проводник или проводящая часть, предназначенная быть под напряжением при нормальном использовании, включая нейтральный проводник, но, как правило, не PEN-проводник.
3.32 крепление кабеля (cable anchorage): Способ крепления кабеля при помощи частей соединителя, предотвращающий смещение установленного гибкого кабеля при приложении усилий выдергивания, вытягивания или скручивания.
3.33 главная часть (main part): Часть розетки (основание), на которой установлены гнездовые контакты.
Примечание - Эта сборка не предназначена для демонтажа в любое время после изготовления.
3.34 кренгельс (grommet): Компонент, используемый для поддержки и защиты кабеля или кабелепровода в точке входа.
Примечания
1 Это также может предотвратить попадание влаги или загрязнений.
2 Примеры мембран и прокладок показаны на
рисунке 45.
3.35 входная мембрана (entry membrane): Компонент или неотъемлемая часть аксессуара, используемого для защиты кабеля, который может использоваться для поддержки кабеля или кабелепровода в точке входа.
Примечания
1 Входная мембрана также может предотвращать попадание влаги или загрязнений и может быть частью прокладки.
2 Примеры мембран и прокладок показаны на
рисунке 45.
3.36 защитная мембрана (protecting membrane): Компонент или неотъемлемая часть аксессуара, который не предназначен для проникновения при нормальном использовании и предназначен для обеспечения защиты от проникновения воды или твердых предметов и/или для обеспечения возможности работы аксессуара.
Примечание - Примеры мембран и прокладок показаны на
рисунке 45.
Вилки и розетки, выступающие монтажные коробки (наружного типа) должны быть сконструированы так, чтобы они сохраняли надежность при нормальной эксплуатации и обеспечивали безопасность для людей и окружающей среды за счет снижения риска до допустимого уровня (см. #
[1]# <1>).
--------------------------------
<1> В Российской Федерации действует
ГОСТ Р 57149-2016/ISO/IEC Guide 51:2014 "Аспекты безопасности. Руководящие указания по включению их в стандарты".
Соответствие требованиям настоящего стандарта проверяют проведением испытаний, установленных в настоящем стандарте.
5 Общие требования к испытаниям
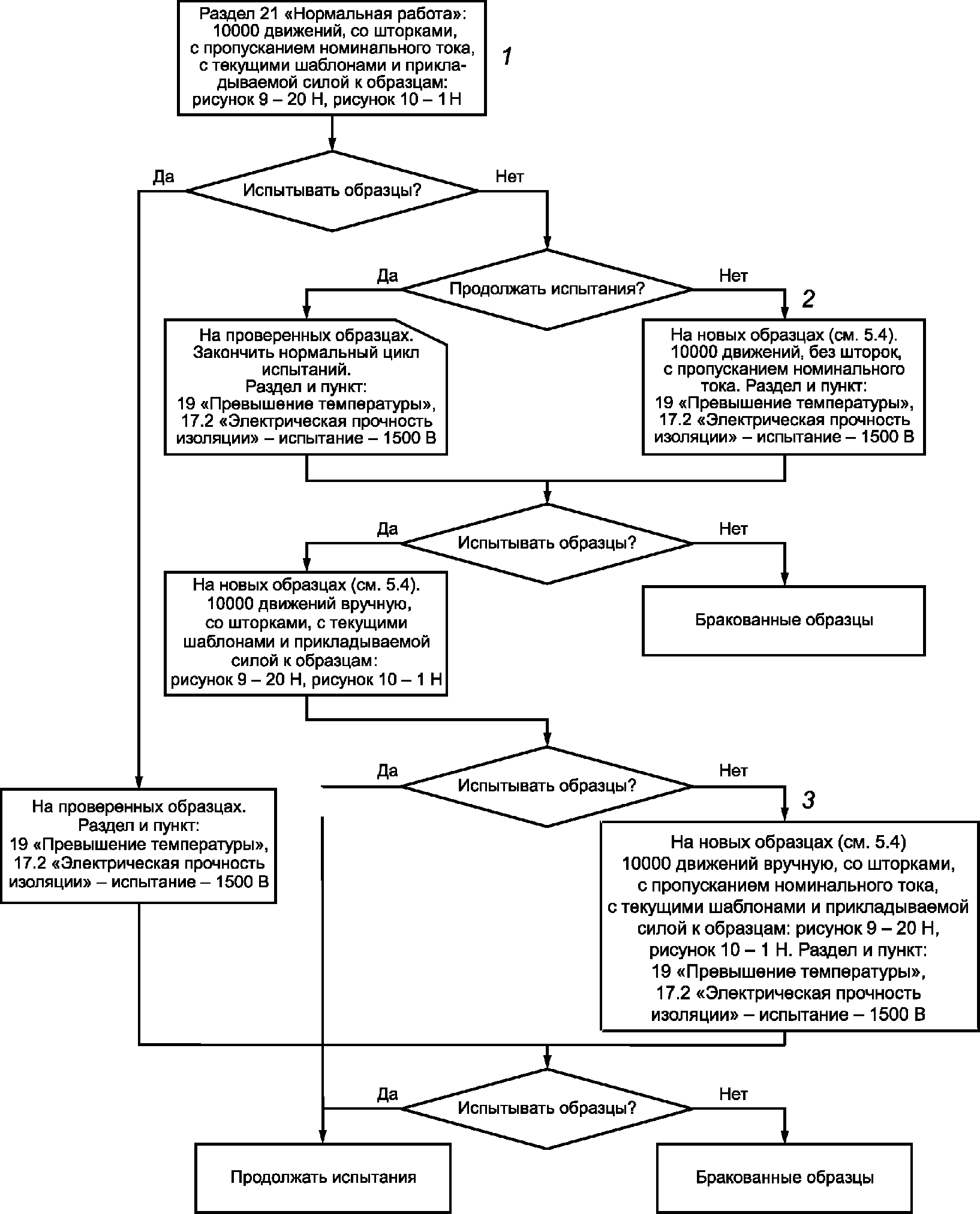
5.1 Для определения соответствия соединителей требованиям настоящего стандарта проводят следующие испытания:
- типовые испытания - на каждом типопредставителе соединителя;
- приемо-сдаточные испытания - на каждом выпускаемом соединителе с целью обнаружения дефектов в материалах и технологии изготовления.
Подпункты 5.2 - 5.5 применяют для проведения типовых испытаний соединителя, 5.6 - для приемо-сдаточных испытаний.
5.2 Если не указано иное, образцы проходят испытания в состоянии поставки и при нормальных условиях эксплуатации.
Неразборные соединители испытывают с тем кабелем или шнуром, с которым они поставляются комплектно, не поставляемые комплектно с гибким шнуром или кабелем и не являющиеся частью прибора испытывают с кабелем или шнуром длиной не менее 1 м.
Неразборные переносные многоместные розетки испытывают с гибким кабелем или шнуром, поставляемым в комплекте.
Розетки, не удовлетворяющие этим требованиям стандартов, испытывают вместе с соответствующей монтажной коробкой.
Розетки, которые не соответствуют ни одному принятому стандартному листу, испытывают вместе с соответствующими коробками по ГОСТ 7396.1-89.
Крепежные винты контактных зажимов и крышек должны быть затянуты с моментом затяжки, равным 2/3 значений, указанных в таблице 6, если не указано иное.
Примечание - для Республики Беларусь применяется группа C по ГОСТ 7396.1-89.
5.3 Испытания проводят в порядке следования пунктов стандарта при температуре окружающей среды от 15 °C до 35 °C, если нет других указаний.
Если есть сомнения, испытания проводят при температуре окружающей среды (20 +/- 5) °C.
Вилки и розетки испытывают раздельно.
Нейтральный контакт, если таковой имеется, испытывают как фазный.
5.4
Испытания проводят на трех образцах.
Для испытаний по 10.6 требуются три дополнительных образца.
Для испытания по 12.3.11 дополнительно требуются образцы розеток, имеющих по крайней мере пять безвинтовых контактных зажимов.
Для испытаний по 12.3.12 дополнительно требуются три образца розеток; в каждом образце испытывают одно зажимное устройство.
Для каждого испытания по 13.22 и 13.23 дополнительно требуются три образца диафрагм или соединителей с диафрагмами.
Для испытаний по 23.2 и 23.4 дополнительно требуются шесть образцов опрессованных соединителей.
Для испытания по 24.10 дополнительно требуются три дополнительных образца.
| | ИС МЕГАНОРМ: примечание. Текст дан в соответствии с официальным текстом документа. | |
Для испытания по разделу 28 дополнительно могут потребоваться дополнительно три образца.
Примечание - Таблица, показывающая обозначение и число образцов, необходимых для проведения испытаний, приведена в
приложении B.
5.5
Соединители считают не соответствующими настоящему стандарту, если имеется более одного образца, не выдержавшего какое-либо испытание.
Если один из образцов не выдерживает какое-либо испытание, то данное испытание, а также все предшествующие испытания, которые могут повлиять на его результаты, должны быть повторены на новой партии образцов.
Все образцы должны выдержать повторные испытания.
Примечание - Повторные испытания проводят по тем пунктам, по которым были получены неудовлетворительные результаты. Если образец вышел из строя в одном из испытаний, предшествующие испытания повторяют.
Вместе с первой партией образцов с числом, указанным в
5.4, представляют дополнительную партию, которая может понадобиться, если один из образцов не выдерживает испытания. При отрицательных результатах повторных испытаний образцы бракуют.
При непредставлении дополнительной партии образцы бракуют в случае, если один из них не выдержал какое-либо испытание.
5.6
Приемо-сдаточные испытания проводят в соответствии с приложением A.
6.1 Соединители предпочтительно должны иметь тип, напряжение и ток, указанные в таблице 1.
Таблица 1
Предпочтительные сочетания типа и номинальных значений
Тип соединителя | Номинальное напряжение, В | Номинальный ток, А |
2P (только неразборные вилки) | 130 или 250 | 2,5 |
2P (только вилки) | 6,0 |
2P; 2P +  | 130 или 250 | 10,0; 13,0; 16,0; 32,0 |
2P +  | 440 | 10,0; |
3P +  | 13,0; |
3P + N +  | 16,0; |
32,0 |
Примечание - Значения и геометрические размеры соединителей приведены в соответствующих стандартах. В Республике Беларусь требования к основным размерам соединителей - группа C по ГОСТ 7396.1-89. |
6.2 В удлинителе значение номинального тока переносной розетки должно быть не более, а номинальное напряжение не менее аналогичных значений для вилки.
Соответствие проверяют осмотром маркировки.
7.1 Классификация соединителей
7.1.1 Соединители классифицируются в соответствии со степенью защиты против доступа к опасным токоведущим частям и против проникновения внешних твердых частиц, как описано в #
ГОСТ 14254#.
7.1.2 По степени защиты вредных воздействий, вызванных проникновением воды, - в соответствии с #
ГОСТ 14254#.
7.1.3 В зависимости от наличия заземления:
- без заземляющего контакта;
- с заземляющим контактом.
7.1.4 В зависимости от способа присоединения кабеля, провода или шнура:
- разборные;
- неразборные.
7.1.5 В зависимости от типа контактного зажима:
- с контактными зажимами винтового типа;
- с безвинтовыми контактными зажимами только для жестких проводов;
- с безвинтовыми контактными зажимами для жестких и гибких проводов.
Примечание - В Италии не допускается использование соединителей с безвинтовыми зажимами только для жестких проводников.
7.2 Классификация розеток
7.2.1 Розетки классифицируют по степени защиты от поражения электрическим током при установке для нормальной эксплуатации:
a) с нормальной защитой (см.
10.1) или
b) с усиленной защитой (см.
10.7).
Примечание - Розетки с усиленной защитой могут иметь или не иметь защитные шторки.
7.2.2 По наличию шторок:
a) без шторок;
b) со шторками (см.
10.5).
7.2.3 В зависимости от способа монтажа:
a) открытого типа;
b) скрытого типа;
c) полускрытого типа;
d) панельного типа;
e) архитравного типа;
f) переносного типа;
g) настольного типа;
h) потолочного типа;
i) розетки для приборов.
7.2.4 По способу установки в зависимости от типа:
a) стационарные, в которых крышки, или закрывающие пластины, или одна из их частей могут сниматься без отсоединения проводов (конструкция A);
b) стационарные, в которых крышки, или закрывающие пластины, или одна из их частей не могут сниматься без отсоединения проводов (конструкция B).
Примечание - Если стационарная розетка имеет основание, которое не отделяется от крышки или зарывающей пластины и нуждается в дополнительной пластине, которую можно снимать в процессе ремонта стены, не отсоединяя проводников, то для этого рекомендуется конструкция A, при условии, что дополнительная пластина отвечает требованиям к крышкам и закрывающим пластинам.
7.2.5 Классификация по использованию
Штепсельные розетки классифицируются по целевому назначению:
a) розетки для цепей, в которых одна цепь заземления обеспечивает защитное заземление как для подключенного оборудования, так и для открытых проводящих частей розетки, если таковые имеются;
b) розетки для цепей, где требуется электрическая помехозащищенность для цепи заземления подключенного оборудования. Цепь заземления оборудования электрически отделена от цепи заземления открытых проводящих частей розетки, если таковые имеются.
Цепь заземления оборудования электрически разделена от цепи заземления и открытых токопроводящих частей розетки.
7.3 Вилки классифицируют по классу защиты приборов, с которыми их используют:
- вилки для приборов класса защиты I;
- вилки для приборов класса защиты II.
Примечание - Настоящий стандарт не распространяется на вилки для оборудования класса 0.
--------------------------------
<1> В Российской Федерации действует
ГОСТ Р 58698-2019 (МЭК 61140:2016) "Защита от поражения электрическим током. Общие положения для электроустановок и электрооборудования".
8.1 На соединители наносят следующую маркировку:
- номинальный ток в амперах (А);
- номинальное напряжение в вольтах (В);
- символ вида источника питания;
- наименование, товарный или отличительный знак предприятия - изготовителя соединителей;
- обозначение типа, которое может быть, например, каталожным номером.
Примечание - Обозначение типа может быть номером серии:
- если первая характерная цифра в символе степени защиты от доступа к опасным токоведущим частям и от проникновения внешних твердых частиц выше 2, а для стационарных розеток выше 4, то вторая характерная цифра должна быть отмечена;
- если вторая характерная цифра в символе степени защиты от опасного проникновения воды выше 0, а для стационарных розеток выше 2, то первая характерная цифра должна быть отмечена.
Если система разрешает вилку определенной степени защиты IP применять с розеткой, имеющей другую степень, то следует обратить внимание на то, что результирующей степенью защиты комбинации вилка/розетка является меньшая из двух. Это должно быть отмечено в документах изготовителя для розетки.
Дополнительно на розетки с безвинтовыми контактными зажимами должна наноситься маркировка, обозначающая:
- длину изоляции, которую необходимо удалить перед закреплением провода, шнура или кабеля в безвинтовом контактном зажиме;
- возможность присоединения к розеткам только жестких проводников, если такое ограничение необходимо.
Дополнительно на стационарные розетки с винтовыми зажимами, предназначенные для подсоединения неподготовленных алюминиевых проводов, в т.ч. из сплавов серии 8000, и с алюминиевыми винтовыми выводами для медных или алюминиевых проводников, должна наноситься маркировка на поверхность с монтажной стороны соединителя по приложению ДА настоящего стандарта. |
Примечание - Дополнительную маркировку наносят на розетку, упаковку или указывают в инструкции, прилагаемой к розетке.
8.2 Должны применяться следующие символы:
- амперы: А;
- вольты: В;
- переменный ток: ~;
- нейтральный провод: N;
- заземление:

(см. #
[2]#, символ-5019);
- степень защиты (при необходимости):

;
- степень защиты принадлежностей, которые будут установлены на грубых поверхностях (см.
рисунок 15): IPXX;
- для розеток с безвинтовыми контактными зажимами могут использоваться только жесткие проводники.
Примечания
1 Обозначение символов - см. #
[2]#;
2 Буква X в обозначении степени защиты IP может заменяться соответствующей цифрой.
3 Следы, образованные инструментом, не считают частью маркировки.
Для маркировки номинального тока и номинального напряжения используют только цифры, которые следует наносить на одном уровне и разделять их косой линией (например, 16/440), или же цифра, обозначающая номинальный ток, должна находиться над цифрой номинального напряжения, в этом случае они должны разделяться горизонтальной линией (например,  ). Маркировка символа тока должна располагаться рядом с обозначением номинальных токов и напряжения. |
Примечание - Маркировка переменного тока, напряжения и символа тока может быть одной из следующих: 16 А 440 V~, или 16/440~ или

.
8.3 Для стационарных розеток на основной части соединителя должны быть нанесены: номинальный ток, номинальное напряжение и символ тока, а также наименование, товарный или отличительный знак предприятия - изготовителя соединителей, длина изоляции, которая должна быть удалена до введения проводника в безвинтовой зажим, указание на пригодность применения жестких проводников только для безвинтовых зажимов для розеток, имеющих это ограничение и обозначение типа. Обозначение типа может быть промаркировано только ссылкой на серию.
Примечание - Обозначение типа может быть номером серии.
Такие детали, как закрывающие пластины, необходимые для безопасности и предназначенные для продажи отдельно, должны иметь маркировку с указанием товарного или отличительного знака предприятия - изготовителя пластины и обозначение типа.
Символ степени защиты от проникновения воды, если это необходимо, должен наноситься на наружной части корпуса так, чтобы он был виден, когда розетка установлена для нормальной эксплуатации. |
Примечание - Обозначение типа может быть нанесено на основную или наружную, или внутреннюю часть корпуса.
Символ степени защиты IP, если применение его необходимо, должен наноситься так, чтобы он был виден, когда розетка установлена как при нормальной эксплуатации.
Стационарные розетки, классифицированные в соответствии с
перечислением b) пункта 7.2.5, должны быть обозначены треугольником, который должен быть виден после установки, если только они не имеют конфигурацию интерфейса, отличную от той, которая используется в обычных цепях.
Примечание - В США и Канаде согласно национальным требованиям требуется нанесение оранжевого треугольника.
8.4 На вилках и переносных розетках маркировка по
8.1, кроме обозначения типа, должна быть видима, когда вилка или переносная розетка присоединены к кабелю или шнуру и полностью смонтированы.
Вилки и переносные розетки для приборов класса защиты II не должны маркироваться знаком класса защиты.
Примечание - Обозначение типа разборных соединителей может наноситься внутри корпуса или крышки.
8.5 Контактные зажимы, предназначенные исключительно для нейтрального провода, должны быть маркированы буквой N.
Заземляющий контактный зажим обозначается знаком

.
Эти знаки не должны помещаться на винтах или иных легко снимаемых деталях.
Контактные зажимы, предназначенные для присоединения проводов, не относящихся к основной функции розетки, должны четко определяться, если только их назначение явно, или определяться по монтажной схеме на соединителях. |
Опознаваемость контактных зажимов соединителей достигают следующим образом:
- маркировкой графическими символами (см. #
[2]#, цветовой комбинацией и/или алфавитной и цифровой индикацией;
- физическими размерами или относительным расположением.
Подводящие провода неоновых или индикаторных ламп не относят к требованиям настоящего подпункта.
Примечания
1 "Легкоснимаемые детали" - детали, которые могут быть сняты во время установки розетки или сборки вилки.
2 Контактные соединения в неразборных соединителях не нуждаются в маркировке.
8.6 Монтажные коробки для открытого типа установки с кодом IP выше чем IP4X или выше чем IPX2, являющиеся составной частью розеток, должны быть помечены знаком степени защиты IP так, чтобы его было видно, когда коробка находится в собранном состоянии и подключена как при обычном использовании.
8.7 Посредством маркировки в каталоге изготовителя или в инструкции изготовителя необходимо отметить, в каком положении или с какими специальными приспособлениями (например, монтажная коробка или поверхность монтажа) обеспечивается степень защиты IP выше чем IPX0 для стационарных розеток скрытой или полускрытой установки.
Соответствие проверяют визуальным осмотром.
8.8 Маркировка должна быть стойкой и легко читаемой при нормальном или исправленном зрении без дополнительного увеличения.
Соответствие проверяют визуальным осмотром и следующим испытанием. Маркировку следует потереть в течение 15 с куском ткани, смоченным водой, а затем 15 с куском ткани, смоченным бензином.
Примечания
1 Маркировку, нанесенную оттиском, отливкой, вдавливанием или гравировкой испытанию не подвергают.
2 Рекомендуется, чтобы бензин был на базе гексана в качестве растворителя, с максимальным содержанием ароматического карбида 0,1% от общего объема, каури-бутанола 29%, с начальной температурой кипения около 65 °C, температурой полного испарения около 69 °C и с плотностью около 0,68 г/см3.
9.1 Соединители и монтажные коробки для скрытой установки должны соответствовать стандартным листам и соответствующим калибрам на вилки и розетки, если таковые имеются.
Установка вилок в стационарные или переносные розетки должна обеспечиваться их соответствием соответствующим стандартным листам.
Примечание - для Республики Беларусь применяется группа C по
ГОСТ 7396.1-89.
Соответствие проверяют следующими испытаниями (см. IEC 60884-1:2013).
Розетки сначала подвергают 10 операциям сочленений-расчленений с вилкой, соответствующей соответствующему стандартному листу, имеющему максимальные размеры для штырей, следующие размеры которых проверяются измерением и/или с помощью калибров.
Технологические допуски этих калибров должны быть такими, как показано в таблице 2, если не указано иное. При проектировании калибров должны использоваться наиболее неблагоприятные размеры стандартного листа.
Примечание - В некоторых случаях (например, проверка расстояния между центрами) может возникнуть необходимость проверить оба крайних размера.
Таблица 2
Отклонения калибров при проверке размеров соединителей
Проверяемый размер | Предельное отклонение, мм |
Диаметр или толщина штыря вилки | -0,01 |
Размер входного отверстия розетки, соответствующей диаметру штыря, и расстояние между гнездовыми контактами | +0,01 |
Длина и диаметр штырей вилки | -0,1 |
Расстояние между штырями вилки | -0,02 или +0,02 |
Расстояние от входной поверхности до точки первого контакта с гнездовым контактом | -0,05 или +0,05 |
Направляющий элемент вилок и розеток | +/- 0,03 |
9.2 Не должно быть возможным внутри данной системы соединение вилки с розеткой:
- имеющими более высокое номинальное напряжение или более низкий номинальный ток, чем аналогичные параметры для вилки;
- с различным числом токоведущих полюсов, за исключением розеток, специально сконструированных для применения с вилками, имеющими меньшее число полюсов при условии, что не возникает опасной ситуации, например соединение одного из полюсов с заземляющим контактом или прерывание заземляющей цепи;
- с заземляющим контактом, если вилка предназначена для приборов класса защиты 0.
Недопустимо соединение вилки, существующей в рамках национальной системы, для оборудования класса 0 или I с розетками, разработанными исключительно для присоединения вилок для оборудования класса II.
Соответствие проверяют визуальным осмотром или испытанием вручную, используя калибры, технологические допуски которых должны соответствовать указанным в таблице 2.
При сомнении невозможность ввода вилки проверяют соответствующим калибром в течение 1 мин при приложении к калибру усилия:
- 150 Н - для соединителей на номинальный ток не более 16 А;
- 250 Н - для остальных соединителей.
Испытание калибром проводят при температуре (35 +/- 2) °C как для соединителей, так и для калибра, если соединители изготовлены из эластомера или термопластика и это может повлиять на результаты испытания.
Примечание - Для соединителей из жесткого материала, например термореактивной смолы, керамики и т.п., соответствие стандартам гарантирует правильность применения общих требований.
9.3 Отклонения от размеров могут допускаться только при условии, что это обеспечивает какие-либо технические преимущества, не меняет их назначения и не снижает безопасность соединителей, особенно учитывая взаимозаменяемость и невзаимозаменяемость.
Соединители с такими отклонениями должны соответствовать требованиям настоящего стандарта, насколько это возможно.
10 Защита от поражения электрическим током
Примечание - Для соблюдения требований настоящего раздела лаковое, эмалевое или покрытие напылением не считают изолирующим материалом.
10.1 Стационарные розетки, вилки, когда они соединены, и переносные розетки должны быть разработаны и сконструированы так, что когда они установлены и/или снабжены проводами как при нормальном использовании, токоведущие части недоступны, даже после снятия частей, которые могут быть удалены без использования инструмента.
Токоведущие части вилок не должны быть доступны, когда вилка частично или полностью вставлена в розетку.
Примечание - В Дании, Канаде, США, Швейцарии и Японии это требование не применяется, если вилка частично введена в розетку.
Проверку проводят визуальным осмотром и в случае необходимости следующим испытанием.
Проверяемый соединитель устанавливают как при нормальной эксплуатации и к нему присоединяют провода наименьшего сечения, а затем испытание повторяют с проводами наибольшего сечения из величин, указанных в таблице 3.
Для проверки розеток применяют стандартный испытательный щуп B по #ГОСТ МЭК 61032# <1>,
который прикладывают во всех возможных направлениях.
При испытании вилок щуп прикладывают во всех возможных направлениях, при этом вилка должна быть частично или полностью вставлена в розетку.
Для регистрации контакта с соответствующей частью используют электрический индикатор с минимальным напряжением 40 В и максимальным напряжением 50 В.
Соединители, имеющие крышки или корпуса из эластичного или термопластичного материала, подвергают дополнительным испытаниям при температуре окружающей среды (35 +/- 2) °C. Образцы должны иметь эту же температуру.
При дополнительном испытании соединители в течение 1 мин подвергают давлению с силой 75 Н, прикладываемому через наконечник прямого неразъемного испытательного щупа, имеющего размеры, идентичные стальному испытательному щупу по #ГОСТ МЭК 61032# <1>. Щуп, соединенный с электрическим индикатором, описанным выше, прикладывают во всех точках, где прогиб изоляционного материала может вызвать нарушение безопасности соединения. При этом щуп не прикладывают к пробиваемым диафрагмам, им воздействуют на тонкостенные выталкиватели с силой 10 Н.
--------------------------------
<1> В Российской Федерации действует ГОСТ Р МЭК 61032-2000 "Защита людей и оборудования, обеспечиваемая оболочками. Щупы испытательные".
Во время испытания соединитель не должен деформироваться до такой степени, чтобы размеры, которые указаны в стандартах, изменялись и нарушалась безопасность.
Каждый образец вилки или переносной розетки зажимают между двумя пластинами с силой 150 Н на 5 мин, как приведено на рисунке 8, и спустя 15 мин после приложения силы не должно быть остаточной деформации соединителей, при которой были бы нарушены размеры, указанные в стандартах.
Размеры в миллиметрах
P - сила в 150 Н; 1 - стальная нажимная пластина; 2 - образец;
3 - стальное основание
Рисунок 8 - Установка для испытания на сжатие
10.2 Части, доступные прикосновению, когда соединитель смонтирован и подключен как для нормальной эксплуатации, за исключением винтов и т.п., изолированных от токоведущих частей и служащих для крепления оснований, крышки и закрывающей пластины розеток, должны быть выполнены из изоляционного материала. Крышки и закрывающие пластины стационарных розеток и доступные части переносных розеток допускается изготовлять из металла, если выполняются требования 10.2.1 или
10.2.2.
10.2.1 Конструкция крышек и закрывающих пластин с дополнительными защитными изоляционными прокладками или перегородками должна обеспечивать такое крепление прокладки или перегородки к крышкам или закрывающим пластинам, или основанию соединителя, чтобы прокладки или перегородки нельзя было снять, не повредив соединитель; или крышки и закрывающие пластины должны иметь такую конструкцию, чтобы прокладки или перегородки нельзя было поставить в нерабочее положение, а при их отсутствии соединитель считался бы непригодным к эксплуатации или неукомплектованным, и таким образом была бы исключена возможность случайного прикосновения токоведущих частей к металлическим крышкам, например через винты, даже в случае, если провод выпадет из контактного зажима. Следует принять меры к недопустимости уменьшения расстояния утечки тока и воздушных зазоров, которые должны быть не менее значений, указанных в
таблице 23.
В части однополюсного введения вилки в розетку следует руководствоваться требованиями
10.3.
Проверку проводят визуальным осмотром.
Указанные прокладки и перегородки должны проверяться испытаниями по
разделам 17 и
27.
10.2.2 При установке металлические крышки и закрывающие пластины должны автоматически надежно соединяться с заземлением через низкоомное сопротивление.
Расстояния утечки тока и воздушные зазоры между токоведущими штырями вилок при полном введении их в розетки и заземленными металлическими крышками розеток должны соответствовать требованиям
разделов 2 и
7 и
таблице 16.
Примечания
1 Допустимы винты или другие средства крепления.
2 В следующих странах настоящая альтернатива не разрешена: Финляндия, Дания (только оборудование IPX0), Норвегия, Финляндия, Швеция (только портативные аксессуары).
Проверку проводят визуальным осмотром и испытанием по 11.5.
10.3 Недопустимо электрическое соединение между штырем вилки и гнездовым контактом розетки в то время, как другой штырь оказывается доступным для прикосновения.
Проверку проводят вручную с помощью калибров. Допуски на размеры калибров должны соответствовать таблице 2.
Для соединителей с корпусом или основанием из термопластов испытание проводят при температуре окружающей среды (35 +/- 2) °C, причем как соединитель, так и калибр должны иметь эту же температуру.
Для розеток с корпусом или основанием из резины или поливинилхлорида калибр прикладывают с силой 75 Н в течение 1 мин.
Для розеток с металлической крышкой или закрывающей пластиной расстояние между штырем вилки и гнездовым контактом розетки должно быть не менее 2 мм, если другой штырь (или штыри) контактирует при этом с металлической крышкой или закрывающей пластиной.
Примечания
1 Однополюсное включение может быть предотвращено одним из следующих способов:
- с помощью крышки достаточно большого диаметра;
- другими способами (например, шторками).
2 В некоторых странах не разрешено применение шторок как единственного средства для предотвращения однополюсного введения вилки в розетку: Австрия, Бельгия, Канада, Чехия, Германия, Испания, Финляндия, Нидерланды, Португалия, Великобритания, США.
10.4 Наружные детали вилок и переносных розеток, за исключением монтажных винтов и т.п., токоведущих и заземляющих штырей, заземляющих частей металлических колец вокруг штырей, должны изготавливаться по
10.2.1 или
10.2.2 из изоляционного материала.
Диаметры колец, если таковые имеются, вокруг штырей не должны превышать 8 мм, учитывая штыри.
Проверку проводят осмотром и испытаниями по 10.2.1 или 10.2.2.
10.5 Розетки со шторками должны иметь такую конструкцию, чтобы токоведущие части не были доступны прикосновению наконечником прибора, приведенного на
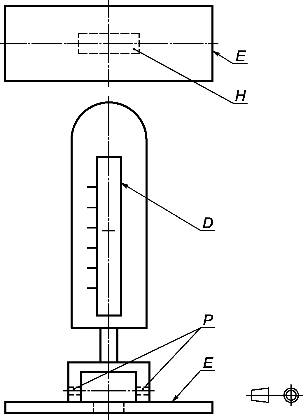
рисунках 9 и
10, без введенной вилки.
Размеры в миллиметрах
При калибровке прибора силу 20 Н прикладывают к наконечнику жесткого стального стержня вдоль его оси до совмещения плоскостей A-A' и B-B' за счет сжатия внутренней пружины.
Рисунок 9 - Измерительный прибор для проверки недоступности
токоведущих частей через шторки и токоведущих частей розеток
с усиленной защитой
Размеры в миллиметрах
При калибровке прибора силу 1 Н прикладывают к наконечнику жесткого стального стержня вдоль его оси до совмещения плоскостей A-A' и B-B' за счет сжатия внутренней пружины.
Рисунок 10 - Измерительный прибор для проверки недоступности
токоведущих частей
Может применяться шаблон для входных отверстий розетки, связанных только с токоведущими контактами, но этот шаблон не должен касаться токоведущих частей под напряжением.
Для обеспечения установленной степени защиты розетка должна иметь такую конструкцию, чтобы токоведущие контакты автоматически закрывались шторками при вынутой вилке.
Шторки должны быть сконструированы таким образом, чтобы вилка вставлялась с таким же движением в розетку со шторками, как и в розетку без шторок.
Шторки должны открываться только под воздействием двух штырей вилки, а открывание шторок не должно зависеть от случайного выпадения некоторых частей розетки.
Электрический индикатор с напряжением не менее 40 В и не более 50 В должен применяться для проверки контактирования с соответствующими частями.
Проверку розеток с полностью выведенной вилкой проводят внешним осмотром и с помощью стального наконечника измерительного прибора, приведенного на рисунке 9, прикладываемого с силой до 20 Н в течение приблизительно 5 с тремя независимыми прямолинейными движениями, направленными под наиболее неблагоприятным углом, и извлекаемого после каждого цикла.
Розетки с вилками, вставленными частично, проверяют стандартным испытательным щупом, приведенным на рисунке 10, в течение приблизительно 5 с тремя независимыми прямолинейными движениями и извлекаемым после каждого цикла.
Розетки с корпусами или основаниями, изготовленными из термопластика, испытывают при температуре окружающей среды (35 +/- 2) °C, причем розетка и калибр должны иметь ту же температуру.
10.6 Заземляющие контакты розеток, если они имеются, должны иметь такую конструкцию, чтобы эти контакты при введении вилки в розетку не повреждались до такой степени, чтобы при этом нарушалась безопасность.
Проверку проводят следующим испытанием.
Розетку устанавливают в положение, при котором ее контакты находились бы в вертикальном положении.
Испытательную вилку, соответствующую типу розетки, вводят в нее с силой 150 Н и выдерживают в течение 1 мин. После этого испытания розетка должна соответствовать требованиям раздела 9.
10.7 Розетки с крышкой или без нее, классифицированные в соответствии с
7.2.1, перечисление b), должны быть сконструированы таким образом, чтобы при монтаже и подключении как при нормальном использовании токоведущие части не были доступны с испытательным проводом диаметром 1 мм (см.
рисунок 10).
Примечание - В Дании и Швейцарии усиленная защита считается выполненной, когда крышка (подпружиненная) закрыта.
Соответствие проверяют, применяя испытательную проволоку диаметром 1,0 мм (см. рисунок 10), воздействуя силой 1 Н на все доступные поверхности в самых неблагоприятных условиях без вставленной вилки с открытой крышкой, если таковая имеется.
Для розеток с кожухами или корпусами из термопластичного материала испытание проводят при температуре окружающей среды (35 +/- 2) °C, причем розетка и измерительный прибор должны иметь такую же температуру.
Во время испытания токоведущие детали не должны быть доступны для измерительного прибора.
Следует применять электрический индикатор, приведенный в 10.1.
11.1 Соединители с заземляющим контактом должны иметь такую конструкцию, чтобы при введении вилки заземление обеспечивалось до того, как фазные штыри вилки окажутся под напряжением.
При извлечении вилки из розетки фазные штыри вилки должны разъединяться раньше отключения заземляющих контактов.
Проверку проводят путем сличения вилок и розеток с чертежами и проверкой соответствующих размеров с учетом допусков.
Примечание - Соответствие вилок и розеток размерам по стандартам обеспечивает удовлетворение этому требованию.
11.2 Заземляющие контактные зажимы разборных соединителей должны отвечать соответствующим требованиям
раздела 12.
Они должны иметь тот же размер, что и соответствующие контактные зажимы питающих проводов.
Заземляющие зажимы разборных соединителей с заземляющим контактом должны быть расположены внутри этих соединителей.
Заземляющие зажимы стационарных розеток должны крепиться к основанию или к детали, прочно прикрепленной к основанию.
Заземляющие контакты стационарных розеток должны крепиться к основанию или крышке, причем во втором случае они автоматически присоединяются к заземляющему зажиму при установке крышки на место. Контактные части должны быть посеребренными или иметь другое защитное покрытие, не менее устойчивое к коррозии и истиранию в случае разъемного соединения.
Такое разъемное соединение должно быть надежным при всех нормальных условиях эксплуатации, в том числе при ослаблении фиксирующих винтов крышки, ее неправильном монтаже и т.п.
За исключением упомянутых выше случаев, элементы заземляющей цепи должны быть выполнены как одно целое или надежно соединены между собой клепкой, сваркой и т.п.
Примечания
1 Требования, касающиеся соединения между заземляющим контактом, прикрепленным к крышке, и заземляющим зажимом, может быть удовлетворено при использовании сплошного штыря и эластичной контактной гильзы.
2 Винты не рассматриваются как части контактов.
3 При определении надежности соединения между частями заземляющей цепи необходимо учитывать возможность возникновения коррозии металлических деталей.
11.3 Доступные прикосновению металлические части стационарных розеток с заземляющим контактом, которые могут оказаться под напряжением в случае нарушения изоляции, должны быть постоянно и надежно соединены с заземляющим контактным зажимом.
Примечания
1 Это требование не распространяется на доступные металлические детали, указанные в
10.2.1.
2 С целью выполнения этого требования винты и т.п. детали, которые изолированы от токоведущих частей и предназначены для крепления основания, крышек или закрывающих пластин, не считаются доступными к прикосновению частями, которые могут оказаться под напряжением в случае нарушения изоляции.
3 В стационарных розетках с металлическим корпусом, имеющих наружный заземляющий контактный зажим, последний должен быть соединен с зажимом, прикрепленным к основанию внутри розетки.
11.4 Розетки, имеющие код IP выше чем IPX0, с корпусами из изоляционного материала, имеющие более одного кабельного ввода, должны иметь дополнительный внутренний плавающий заземляющий контактный зажим с соответствующим пространством в розетке, позволяющий выполнять соединение входящего и выходящего проводов электропроводки для непрерывности заземляющей цепи. Недопустимо, чтобы к одному заземляющему контактному зажиму розетки присоединялись входящий и выходящий провода.
Требования к плавающим заземляющим контактным зажимам не распространяются на контактные зажимы, указанные в
разделе 12.
Выполнение требований 11.2 - 11.4 проводят визуальным осмотром и испытанием по разделу 12.
Наличие пространства для плавающего заземляющего зажима проверяют пробным монтажом, используя тип зажима, определенный предприятием-изготовителем.
11.5 Соединение между заземляющим контактным зажимом и доступными прикосновению металлическими частями, которые к нему присоединяют, должны иметь малое электрическое сопротивление.
Проверку проводят следующим испытанием.
Ток от источника переменного тока с напряжением холостого хода не более 12 В, равный 1,5-кратному значению номинального тока или 25 А, что является большим значением, пропускают поочередно через заземляющий контактный зажим и каждую доступную прикосновению металлическую часть.
При этом измеряют падение напряжения между заземляющим контактным зажимом и доступной металлической частью, а сопротивление рассчитывают по величинам тока и падения напряжения.
Значение электрического сопротивления не должно быть более 0,05 Ом.
Примечание - Сопротивление между измеряемым образцом и металлическим наконечником испытательного прибора не должно влиять на результаты испытаний.
11.6 Для стационарных розеток, классифицируемых в соответствии с
7.2.5, перечисление b), при их использовании в электрических цепях с заданной помехозащищенностью для присоединяемого оборудования должен быть заземляющий контакт, изолированный от металлических частей крепления или других открытых проводящих частей, которые могут быть подключены к цепи заземления установки.
Соответствие проверяют визуальным осмотром.
12.1 Общие требования
12.1.1 Разборные стационарные розетки должны иметь винтовые или безвинтовые контактные зажимы.
Разборные вилки и разборные переносные розетки должны иметь винтовые контактные зажимы.
Если применяют предварительно пропаянный гибкий провод, то следует его присоединять к винтовым контактным зажимам так, чтобы пропаянная часть находилась вне зажимаемого участка.
Детали для крепления проводов в зажимах не должны использоваться для крепления каких-либо других частей, хотя они могут удерживать контактный зажим на месте и препятствовать проворачиванию.
12.1.2 Неразборные соединители должны иметь соединения пайкой, сваркой, обжатием или другим постоянным эффективным соединением (контактное соединение); винты или защелкивающие соединения недопустимы.
Соединения, выполненные скручиванием пропаянного гибкого провода, допустимы в случае, когда пропаянная часть находится за пределами участка скручивания.
12.1.3
Проверку проводят внешним осмотром и испытаниями по 12.2 - 12.4 соответственно типу соединения.
12.2 Винтовые контактные зажимы для наружных медных проводов
12.2.1 Соединители должны иметь контактные зажимы, позволяющие присоединять медные провода сечением, указанным в таблице 3.
Таблица 3
Соотношение между номинальными токами и сечением
присоединяемых медных проводников
Номинальный ток и тип соединителя | Жесткий одно- или многопроволочный медный провод <c> | Гибкий медный провод |
Номинальное сечение, мм2 | Наибольший диаметр провода, мм | Номинальное сечение, мм2 | Наибольший диаметр провода, мм |
6 А | - | - | От 0,75 до 1,5 включ. | 1,73 |
10 А 3P + N +  (стационарные) | От 1,00 | 2,13 | От 1,00 до 2,50 включ. | 2,21 |
10 А 3P + N +  (переносные) | - | - | От 0,75 до 2,50 включ. | 1,73 |
10 А и 13 А (стационарные) 2P и 2P +  (стационарные) | От 1,00 | 2,13 | От 1,00 | 2,21 |
10 А и 13 А 2P и 2P +  (переносные) | - | - | От 0,75 до 1,5 включ. | 1,73 |
13 А 2P и 2P +  (стационарные) (розетки с плавкими вставками) | От 1,00 От 1,50 | 2,72 | От 1,00 От 1,50 | 2,72 |
13 А 2P и 2P +  (переносные с плавкими вставками) | - | - | От 0,75 до 1,5 включ. | 1,73 |
16 А 2P и 2P +  (стационарные) | От 1,50 до 2 x 2,50 включ. | 2,13 | - | - |
16 А 2P и 2P +  (переносные) | - | - | От 0,75 до 1,50 включ. | 1,73 |
16 А, кроме 2P и 2P +  (стационарные) | От 1,5 до 4,00 включ. | 2,72 | - | - |
16 А, кроме 2P и 2P +  (переносные) | - | - | От 1,00 до 2,50 включ. | 2,21 |
25 А 2P +  (стационарные) | От 2,50 до 6,00 включ. | 3,47 | - | - |
25 А 2P +  (переносные) | - | - | От 2,50 до 6,00 включ. | 3,05 |
32 А (стационарные) | От 2,50 до 10,00 включ. | 4,32 | - | - |
32 А (переносные) | - | - | От 2,50 до 6,00 включ. | 3,87 |
<a> Контактный зажим должен позволять подключение двух проводников по 1,50 мм 2 диаметром 1,45 мм. <b> В некоторых странах требуется подключение трех проводников по 2,5 мм 2 или двух проводов по 4,00 мм 2. <c> Можно использовать гибкие провода. |
Пространство для присоединения проводов должно быть не менее, чем указано на
рисунках 2 -
5.
Проверку проводят визуальным осмотром, измерениями и присоединением проводов наименьшего и наибольшего сечений из указанных выше.
12.2.2 Винтовые зажимы должны позволять присоединение проводов без специальной подготовки.
Проверку проводят визуальным осмотром.
Примечание - Термин "специальная подготовка" означает пропаивание жилы провода, использование кабельных наконечников и т.д., но не изменение формы проводника перед введением его в контактный зажим или скручивание гибкого проводника для укрепления его концов.
12.2.3 Винты и гайки контактных зажимов должны иметь соответствующую механическую прочность и иметь метрическую резьбу по ISO.
Винты не должны изготавливаться из мягкого или легко поддающегося деформации материала, например цинка или алюминия.
Проверку проводят визуальным осмотром и испытанием по 12.2.6 и 12.2.8.
Примечание - Резьбы S1, BA и UN считают эквивалентными по шагу и механическим нагрузкам метрической резьбе по ISO.
12.2.4 Винтовые контактные зажимы должны быть устойчивы к коррозии. Контактные зажимы, выполненные из меди или медных сплавов, соответствующих
26.5, удовлетворяют настоящему требованию.
12.2.5 Винтовые контактные зажимы должны быть разработаны и сконструированы таким образом, чтобы при зажиме проводника(ов) не возникало его излишнего повреждения.
Проверку проводят следующим испытанием.
Контактный зажим размещают в испытательном устройстве, приведенном на рисунке 11. К контактному зажиму присоединяют жесткий одно- или многопроволочный провод вначале наименьшего, а затем наибольшего из указанных в таблице 3 сечений. Зажимные винты или гайки следует затянуть крутящим моментом, указанным в таблице 6.
Размеры в миллиметрах
1 - зажим; 2 - плата; 3 - втулка; 4 - груз
Примечание - Следует обратить внимание, что отверстие втулки изготавливают так, чтобы была уверенность, что усилие, прикладываемое к испытуемому кабелю, - это усилие натяжения, и передача вращающего момента на жилы кабеля отсутствует.
Рисунок 11 - Устройство для испытания прочности изоляции
проводов (повреждаемости проводов)
В случае отсутствия проводов с жесткими многопроволочными жилами испытание можно проводить с жесткими однопроволочными проводами.
Длина проводника для испытаний должна быть на 75 мм больше, чем высота H (см. рисунок 11), указанная в таблице 9.
Конец проводника проходит через соответствующую втулку в платформе, расположенной на высоте H ниже места закрепления зажима, как приведено в таблице 9. Втулка расположена в горизонтальной платформе так, что ее центр описывает окружность диаметром 75 мм относительно центра, являющегося проекцией прижимного узла на горизонтальную плоскость. Платформа должна вращаться с частотой (10 +/- 2) об/мин.
Расстояние между входом в прижимной узел и платформой должно быть равно H +/- 15 мм. Втулка должна быть смазана для предотвращения повреждения изоляции проводника.
Груз массой, указанной в таблице 9, подвешивают к концу проводника. Продолжительность испытания - 15 мин.
Во время испытаний однопроволочный провод или отдельные проволоки многопроволочного провода не должны выходить из подконтактного зажима или обламываться.
В случае наличия проводов с жесткими многопроволочными жилами испытание повторяют с жесткими однопроволочными проводами.
12.2.6 Конструкция контактных зажимов винтового типа должна обеспечивать закрепление проводника между металлическими поверхностями с достаточным контактным усилием.
Проверку проводят визуальным осмотром и следующим испытанием.
К контактным зажимам стационарных розеток присоединяют жесткие одно- или многопроволочные провода, а к вилкам и переносным розеткам - гибкие провода наименьшего и наибольшего сечений из значений, указанных в таблице 3. Винты контактных зажимов, в том числе и с шестигранной головкой, затягивают крутящим моментом, равным 2/3 от значений, указанных в таблице 6.
Если винт имеет шестигранную головку со шлицем, то прикладывают крутящий момент, равный по величине 2/3 крутящего момента, указанного в графе 2 таблицы 6.
Затем каждый провод подвергают натяжению силой, указанной в таблице 4, плавно, без рывков в течение 1 мин вдоль продольной оси провода.
Таблица 4
Значения силы для испытания на натяжение
Сечение проводников контактного зажима, мм2 | От 0,75 до 1,50 включ. | От 1,50 до 2,50 включ. | От 2,50 до 4,00 включ. | От 4,00 до 6,00 включ. | От 6,00 до 10,00 включ. |
Сила натяжения, Н | 40 | 50 | 50 | 60 | 80 |
Если контактный зажим предназначен для присоединения двух или трех проводов, то провода натягивают поочередно, каждый в отдельности.
За время испытаний жила провода не должна иметь заметных смещений в контактном зажиме.
12.2.7 Конструкция контактных зажимов винтового типа или их расположение в соединителе должны обеспечивать невозможность выхода жилы жесткого одно- и многопроволочного провода за пределы зажимов или гаек в затянутом положении.
Проверку проводят следующим испытанием.
К контактным зажимам присоединяют провода наибольшего сечения из указанных в таблице 3.
Контактные зажимы стационарных розеток проверяют как с жесткими однопроволочными, так и многопроволочными проводами.
Контактные зажимы вилок и переносных розеток проверяют с гибкими проводами.
Контактные зажимы, предназначенные для бифилярных подводов двух или трех проводов, проверяют с допустимым числом проводов.
К контактным зажимам присоединяются провода, указанные в таблице 5.
Таблица 5
Структура и размеры проводников
Сечение, мм2 | Число проволок и их номинальный диаметр, мм |
Гибкие провода | Жесткие однопроволочные провода | Жесткие многопроволочные провода |
0,75 | 24 x 0,20 | - | - |
1,00 | 32 x 0,20 | 1 x 1,13 | 7 x 0,42 |
1,50 | 30 x 0,25 | 1 x 1,38 | 7 x 0,52 |
2,50 | 50 x 0,25 | 1 x 1,78 | 7 x 0,67 |
4,00 | 56 x 0,30 | 1 x 2,25 | 7 x 0,86 |
6,00 | 84 x 0,30 | 1 x 2,76 | 7 x 1,05 |
10,00 | - | 1 x 3,57 | 7 x 1,35 |
Перед вводом в зажимное устройство контактного зажима жесткие одно- и многопроволочные провода выпрямляют. Жесткие многопроволочные провода допускается скручивать. Гибкие провода скручивают в одном направлении так, чтобы был примерно одинаковый угол скручивания проволок на длине около 20 мм.
Провод вставляют в зажимное устройство контактного зажима на минимальную из рекомендуемых глубину или, если таких рекомендаций нет, до тех пор, пока провод не упрется в стенку контактного зажима, причем его положение должно быть наиболее благоприятным для выпадения.
Затем зажимной винт затягивают крутящим моментом, равным 2/3 от указанного в таблице 6.
Таблица 6
Зависимость диаметра резьбы и крутящего момента
для винтовых зажимов
Номинальный диаметр резьбы, мм | Крутящий момент, Н·м |
| | |
До 2,8 включ. | 0,20 | 0,4 | - |
Св. 2,8 до 3,0 включ. | 0,25 | 0,5 | - |
Св. 3,0 до 3,2 включ. | 0,30 | 0,6 | - |
Св. 3,2 до 3,6 включ. | 0,40 | 0,8 | - |
Св. 3,6 до 4,1 включ. | 0,70 | 1,2 | 1,2 |
Св. 4,1 до 4,7 включ. | 0,80 | 1,8 | 1,2 |
Св. 4,7 | 0,80 | 2,0 | 1,4 |
<a> Значения графы 1 относят к винтам без головок, если винт в затянутом положении не выходит из отверстия, и к другим винтам, которые нельзя затягивать отверткой, имеющей лезвие шире диаметра винта. <b> Значения графы 2 относят к винтам других типов, которые затягивают с помощью отвертки, а также к винтам и гайкам, которые затягивают с помощью иных средств. <c> Значения графы 3 относят к гайкам колпачкового зажима, которые затягивают отверткой. |
Для гибких проводов испытание проводят также с другим проводом, который закручивают, как указано выше, но в обратном направлении.
После испытаний провод не должен выпадать из контактного зажима и нарушать требования по значениям путей токов утечки, воздушных зазоров по таблице 23.
12.2.8 Контактные зажимы должны быть установлены или размещены так, чтобы при затянутых или ослабленных винтах и гайках контактные зажимы не перемещались.
Примечания
1 Требование не исключает смещения или поворачивания контактного зажима, но всякое смещение или поворачивание должно быть ограничено, чтобы не нарушались требования настоящего стандарта.
2 Использование компаунда или смолы считают достаточным для предотвращения выпадения контактного зажима при условии, что:
- компаунд или смола не подвергаются нагрузкам при нормальной эксплуатации;
- эффективность компаунда или смолы не ослабевает при температурах нагрева контактных зажимов в наиболее неблагоприятных условиях из указанных в настоящем стандарте.
Проверку проводят внешним осмотром, измерением и следующим испытанием.
Жесткий однопроволочный медный провод наибольшего сечения из указанных в таблице 3 закрепляют в контактном зажиме.
При отсутствии указанного однопроволочного провода испытание проводят с жестким многопроволочным проводом.
Перед введением в контактный зажим жилы концов жестких однопроволочных и многопроволочных проводников выправляют, устраняя их деформацию, чтобы восстановить их приблизительно к первоначальному профилю.
Винты и гайки следует затянуть и ослабить пять раз с помощью отвертки или гаечного ключа, специально используемых при испытаниях, причем прилагаемый момент должен быть равен указанному в таблице 6 или в таблице соответствующего чертежа зажима (см. рисунки 2 - 4) в зависимости от того, где значение момента будет больше.
Провод передвигают каждый раз, когда винт или гайку ослабляют.
Во время испытания в зажимах не должен возникать люфт или какие-либо повреждения, например излом винта или повреждение головки и шлица винта, что делает невозможным применение отвертки, резьбы, шайбы или скобы, выводящие зажим из строя.
Примечания
1 В колпачковых зажимах специфический номинальный диаметр равен диаметру шпильки со шлицем.
2 Форма лезвия испытательной отвертки должна соответствовать размеру головки испытуемого винта.
3 Винты и гайки должны затягиваться плавно и без рывков.
12.2.9 Зажимные винты или гайки заземляющих винтовых контактных зажимов должны быть защищены от случайного ослабления. Следует исключить возможность самопроизвольного ослабления их без помощи инструмента.
Проверку проводят вручную.
Примечание - Конструкции контактных зажимов, приведенных на
рисунках 2 -
5, обеспечивают достаточную упругость, соответствующую настоящему требованию. Для других конструкций зажимов могут быть предусмотрены специальные меры, такие как использование достаточно упругой детали, которая гарантирует невозможность случайного ослабления винтов и гаек зажимов.
12.2.10 Заземляющие винтовые зажимы не должны подвергаться коррозии при контакте частей зажима с медным заземляющим проводом или любым другим металлом, находящимся в контакте с этими частями.
Основание заземляющего зажима должно быть изготовлено из латуни или другого не менее коррозиестойкого металла, если он не является частью металлического корпуса или крышки. Винты или гайки также должны быть выполнены из латуни или другого коррозиестойкого металла.
Если заземляющий контактный зажим является частью крышки или корпуса из сплавов алюминия, то следует принять меры защиты от коррозии при контакте меди с алюминием или его сплавами.
Проверку проводят визуальным осмотром.
Примечание - Винты или гайки, изготовленные из плакированной стали и выдержавшие испытание на коррозиестойкость, считают металлом не менее устойчивым к коррозии, чем латунь.
12.2.11 В торцевых контактных зажимах расстояние между зажимным винтом и концом жилы провода, полностью введенной в зажим, должно соответствовать
рисунку 2.
Примечание - Минимальное расстояние между зажимным винтом и концом жилы провода касается только торцевых зажимов, в которых провод не может пройти насквозь.
Для колпачковых зажимов расстояние между фиксирующей частью и концом жилы провода, полностью введенной в зажим, должно соответствовать указанному на
рисунке 5.
Проверку проводят измерением после того, как однопроволочный провод наибольшего сечения из приведенных в таблице 3 полностью введен в зажим и надежно закреплен.
12.3 Безвинтовые контактные зажимы для внешних медных проводов
12.3.1 Безвинтовые контактные зажимы могут применяться либо только с жесткими, либо с жесткими и гибкими медными проводами.
Для последнего варианта испытания следует проводить сначала с жесткими, а затем с гибкими проводами.
Примечание - Требование
12.3.1 не распространяется на розетки, имеющие:
- безвинтовые контактные зажимы, требующие специального приспособления к проводам до зажима их в безвинтовых контактных зажимах, например плоские штыревые соединители (оконцеватели);
- безвинтовые контактные зажимы, требующие скручивания проводов, например со скрученными стыками;
- безвинтовые контактные зажимы, обеспечивающие прямой контакт с жилой провода с помощью прокалывания изоляции.
12.3.2 Безвинтовые контактные зажимы должны иметь два зажимных элемента, предназначенных для соответствующего присоединения жесткого или жесткого и гибкого медных проводов, сечения которых указаны в таблице 7.
Таблица 7
Соотношение между номинальными токами и сечениями
присоединяемых медных проводников для безвинтовых зажимов
Номинальный ток, А | Провода |
Номинальное сечение, мм2 | Наибольший диаметр жесткого провода, мм | Наибольший диаметр гибкого провода, мм |
От 10 до 16 включ. | От 1,5 до 2,5 включ. | 2,13 | 2,21 |
Если безвинтовой контактный зажим предназначен для присоединения двух проводов, то каждый из них должен быть введен в отдельное независимое зажимное устройство (не обязательно должно быть для каждого провода отдельное отверстие).
Проверку проводят визуальным осмотром, а также присоединением проводов наименьшего и наибольшего сечений, указанных в таблице 7.
12.3.3 Безвинтовые контактные зажимы должны обеспечивать присоединение проводов без их специальной подготовки.
Проверку проводят визуальным осмотром.
Примечание - Термин "специальная подготовка" означает пропаивание жилы провода, использование наконечников и т.д., но не изменение формы проводника перед введением его в контактный зажим или скручивание гибкого провода для укрепления его концов.
12.3.4 Части безвинтовых контактных зажимов, через которые проходит ток, должны быть изготовлены из материалов, указанных в
26.5.
Проверку проводят визуальным осмотром и химическим анализом.
Примечание - Пружины, упругие узлы, зажимные пластины и т.п. не считают частями, через которые проходит рабочее напряжение.
12.3.5 Безвинтовые контактные зажимы должны иметь такую конструкцию, чтобы зажимать провод достаточным контактным давлением без его повреждения.
Провод должен зажиматься между металлическими поверхностями.
Примечание - Провода считают неповрежденными, если они не имеют глубоких или острых надрезов.
Проверку проводят визуальным осмотром и испытанием по 12.3.10.
12.3.6 Безвинтовой контактный зажим должен обеспечивать четкое простое присоединение и отсоединение жил проводов.
При отсоединении провода должно быть ясно, какую операцию, исключающую прямое натяжение провода вручную, следует провести с помощью инструмента или без него.
Отверстие для инструмента, применяемого для присоединения и отсоединения провода, должно четко отличаться от отверстия, предназначенного для самого провода.
Проверку проводят визуальным осмотром и испытанием по 12.3.10.
12.3.7 Безвинтовые контактные зажимы, предназначенные для соединения двух или более проводов, должны иметь такую конструкцию, чтобы:
- в процессе ввода провода действие зажимного устройства одного из них было независимо от действия другого;
- в процессе подсоединения или отсоединения провода могли подсоединяться или отсоединяться одновременно или раздельно;
- каждый провод должен вводиться в отдельное зажимное устройство (не обязательно в отдельное отверстие);
- должна быть возможна надежная фиксация любого количества проводников до максимального значения, как предусмотрено.
Проверку проводят визуальным осмотром или испытанием с соответствующими проводами (число и размер).
12.3.8 Безвинтовые контактные зажимы стационарных розеток должны иметь такую конструкцию, чтобы исключить неправильное введение провода, приводящее к снижению путей утечки и/или воздушных зазоров менее значений, приведенных в
таблице 23, или ухудшению функционирования розетки.
Проверку проводят визуальным осмотром и испытанием по 12.3.10.
12.3.9 Безвинтовые контактные зажимы должны быть надежно закреплены в розетках. Они не должны ослабевать при присоединении и отсоединении провода во время установки.
Проверку проводят визуальным осмотром и испытанием по 12.3.10.
Покрытие компаундом без других способов блокировки зажима не является достаточным. Самозатвердевающая смола может быть использована для крепления безвинтовых зажимов, которые не подвергаются механическим нагрузкам при нормальной эксплуатации.
12.3.10 Безвинтовые контактные зажимы должны выдерживать механические нагрузки, которые могут возникать при нормальной эксплуатации.
Испытание проводят с неизолированными проводами на одном из безвинтовых контактных зажимов каждого образца соединителя, используя новый образец для каждого испытания.
Испытания проводят с медными однопроволочными жесткими проводами сначала наибольшего, а затем наименьшего сечений из указанных в таблице 7.
Проводят пять циклов введения и отсоединения проводов, используя каждый раз новый провод, за исключением последнего цикла, когда после четвертого цикла провод оставляют на месте. Для каждого цикла провода или заталкивают по возможности дальше в контактный зажим, или вставляют так, чтобы произошло надежное соединение.
После каждого цикла провод натягивают с усилием, указанным в таблице 8. Натяжение провода следует проводить вручную без рывков в течение 1 мин вдоль продольной оси провода.
Таблица 8
Соотношение между токами и растягивающей силой
для безвинтовых зажимов
Номинальный ток, А | Растягивающая сила, Н |
От 10 до 16 включ. | 30 |
При приложении растягивающего усилия провод не должен выходить из контактного зажима.
Испытания повторяют с жесткими многопроволочными медными проводами наибольшего и наименьшего сечений из указанных в 12.3.2. Эти провода вставляют и отсоединяют только один раз.
Безвинтовой контактный зажим, предназначенный как для жестких, так и для гибких проводов, должен испытываться также гибкими проводами путем их пятикратного вставления и разъединения. Во время испытания провод не должен заметно выходить из контактного зажима. После испытания ни контактный зажим, ни зажимное устройство не должны ослабевать, провода не должны повредиться настолько, чтобы было невозможно их дальнейшее использование.
Для стационарных розеток с безвинтовыми контактными зажимами каждый проводник в течение 15 мин подвергают вращению с частотой (10 +/- 2) об/мин, используя, например, установку, показанную на рисунке 11. На проводник воздействуют усилием натяжения в соответствии с таблицей 9.
Таблица 9
Соотношение между сечением проводников и прилагаемыми
механическими нагрузками для безвинтовых зажимов
Номинальное сечение проводника <a>, мм 2 | Диаметр отверстия втулки <b>, мм | Высота H, мм | Масса проводника, кг |
0,50 0,75 | 6,5 | 260 | 0,3 |
0,4 |
1,00 1,50 |
2,50 4,00 | 9,5 | 280 | 0,7 |
0,9 |
6,00 10,00 | 1,4 |
2,0 |
<a> Приблизительное соотношение между размерами мм 2 и AWG приведены в #ГОСТ 31602.1#. <b> Если диаметр втулки недостаточен для проводника без обвязки, то рекомендуется использовать больший диаметр. |
В процессе испытания проводники не должны смещаться в прижимном устройстве.
После испытаний ни контактные зажимы, ни прижимные устройства не должны быть ослаблены и испытываемые проводники не должны иметь повреждений.
12.3.11 Безвинтовые контактные зажимы должны выдерживать электрические и тепловые нагрузки, возникающие при нормальной эксплуатации.
Проверку проводят испытаниями, указанными в перечислениях a) и b), на пяти безвинтовых контактных зажимах розеток, которые не подвергались ранее другим испытаниям.
Оба испытания проводят с новыми медными проводами.
a) Испытания проводят пропусканием переменного тока, указанного в таблице 10, через контактный зажим в течение 1 ч, присоединяя жесткие однопроволочные провода длиной 1 м и сечением, указанным в таблице 10. Испытания проводят на каждом зажимном устройстве.
Таблица 10
Испытательный ток для проверки электрических и тепловых
нагрузок при нормальной эксплуатации безвинтовых зажимов
Номинальный ток, А | Испытательный ток, А | Номинальное сечение проводника, мм2 |
От 10 до 13 | 17,5 | 1,5 |
16 | 22,0 | 2,5 |
Примечание - В розетках на номинальный ток менее 10 А испытательный ток устанавливают в этой же пропорции, а сечение провода выбирают равным 1,5 мм2. |
Во время испытаний ток пропускают не через всю розетку, а только через безвинтовые контактные зажимы.
Спустя 1 ч измеряют падение напряжения на каждом контактном зажиме при номинальном токе.
Падение напряжения должно быть не более 15 мВ.
Измерения должны проводиться через каждый контакт и как можно ближе к месту контактирования.
Если невозможно повторное подключение контактного зажима, образцы должны быть соответствующим образом подготовлены изготовителем.
Следует соблюдать меры предосторожности, чтобы не повлиять на работу контактного зажима. При испытании, включая измерения, провода и средства измерения не должны сдвигаться.
b) Безвинтовые контактные зажимы, уже проверенные на падение напряжения по перечислению a), испытывают следующим образом.
Пропускают через зажим испытательный ток, указанный в таблице 10.
Все испытательное оборудование, включая провода, не должно перемещаться в процессе измерения падения напряжения.
Безвинтовые контактные зажимы подвергают 192 циклам испытаний продолжительностью каждый 60 мин:
- 30 мин прохождение тока;
- 30 мин отключение тока.
Падение напряжения на каждом безвинтовом зажиме определяется в соответствии с испытанием по перечислению a) и выполняется в следующие моменты:
- после первых 24 температурных циклов и после 192-го температурного цикла;
- дополнительные измерения должны проводиться после любых трех из следующих температурных циклов: после 48-го, 72-го, 96-го, 120-го, 14-го или 168-го температурных циклов.
Падение напряжения не должно превышать наименьшего из двух значений: 22,5 мВ или двукратного значения, полученного после 24-го цикла.
После этого испытания безвинтовой зажим подвергают внешнему осмотру, при котором не должны быть выявлены изменения, препятствующие его последующим испытаниям, например трещины, деформации и т.п.
Затем зажим испытывают на механическую прочность в соответствии с 12.3.10. Все образцы должны выдержать это испытание.
12.3.12 Безвинтовые контактные зажимы должны иметь такую конструкцию, чтобы присоединенный жесткий однопроволочный проводник был обжат даже в случае, если он погнут при монтаже (в коробке) и изгибающее усилие проводника воздействует на прижимное устройство.
Проверку проводят следующим испытанием на трех образцах розеток, которые не использовались при других испытаниях.
Испытательное устройство, показанное на рисунке 12 a), должно отвечать следующим конструктивным требованиям:
- проводник, точно установленный в контактный зажим, должен иметь возможность последовательно изгибаться в любом из 12 направлений с шагом в (30 +/- 5)°;
- обеспечивать изгиб проводника от прямого положения на 10° и 20°.
Примечание - Исходное направление не указывают.
Размеры в миллиметрах
| |
a) принцип действия испытательной установки для проверки на изгиб безвинтовых контактных зажимов | b) принципиальная схема для определения падения напряжения во время испытаний на изгиб винтовых контактных зажимов |
A - амперметр; S - выключатель; mV - милливольтметр;
1 - образец; 2 - испытуемое прижимное устройство;
3 - испытуемый проводник; 4 - испытуемый проводник
с прогибом; 5 - точка приложения силы для прогиба
проводника; 6 - направление отклоняющей силы
(перпендикулярно к проводнику в исходном состоянии)
Рисунок 12 - Испытание на изгиб
Изгиб проводника при переходе от прямого положения к испытательным положениям с изгибом должен быть выполнен с помощью подходящего устройства, передающего указанное усилие проводнику на определенном расстоянии от контактного зажима.
Устройство изгиба должно отвечать следующим конструктивным требованиям:
- усилие изгиба проводника перпендикулярно проводнику в неизогнутом положении;
- в процессе изгиба проводник не должен перемещаться в зажимном устройстве;
- при воздействии усилия изгиба проводят измерение падения напряжения.
Обеспечение испытаний должно быть таким, чтобы падение напряжения на испытуемом зажимном устройстве могло быть измерено, когда проводник присоединен, как показано на рисунке 12 b).
Образец устанавливают на зафиксированной части испытательного устройства таким образом, чтобы указанный проводник, введенный в испытуемое зажимное устройство, при испытании мог быть свободно отклонен.
Примечания
1 При необходимости введенный проводник может быть изогнут вокруг препятствий, чтобы они не влияли на результаты испытаний.
2 В некоторых случаях, за исключением случаев, когда это отражено в руководстве, рекомендуется снимать части с образцов, которые не позволяют проложить провод.
Во избежание окисления изоляция провода должна быть удалена непосредственно перед началом испытания.
Зажимное устройство подготавливают как для нормальной эксплуатации жесткого однопроволочного проводника с наименьшим сечением, указанным в таблице 11, и подвергают первому испытательному циклу. То же самое устройство подвергают второму испытательному циклу, используя проводник, имеющий наибольшее сечение, если не было отказа в первом испытательном цикле.
Таблица 11
Сечение жестких медных проводников для испытания
на отклонение в безвинтовых зажимах
Номинальный ток розетки, А | Сечение испытуемого проводника, мм2 |
Первая серия испытаний | Вторая серия испытаний |
До 6 включ. | 1,0 <a> | 1,5 |
Св. 10 до 16 включ. | 1,5 | 2,5 |
<a> Только для стран, применяющих проводники сечением 1,0 мм2 для стационарных розеток. |
Сила для отклонения проводника приведена в таблице 12. Расстояние 100 мм измеряют от края зажима, включая направляющее устройство для проводника при его наличии, до точки приложения силы к проводнику.
Таблица 12
Испытание проводника на прогиб для винтовых зажимов
Сечение испытуемого проводника, мм2 | Значение силы для прогиба испытуемого проводника <a>, Н |
1,0 | 0,25 |
1,5 | 0,50 |
2,5 | 1,00 |
<a> Значение силы выбирают таким образом, чтобы оно было близко к пределу текучести материала проводника. |
Испытание проводят продолжительное время обязательно при наличии испытательного тока (т.е. ток не выключают и не включают в процессе испытаний). Необходимо использовать подходящий источник питания, и соответствующее электрическое сопротивление должно быть введено в цепь так, чтобы ток в цепи изменялся в пределах +/- 5% во время испытания.
При испытании испытательный ток, равный номинальному току розетки, пропускают через зажимное устройство. Силой, в соответствии с таблицей 12, воздействуют на испытуемый проводник, установленный в зажимное устройство, в одном из 12 направлений согласно рисунку 12 a) и измеряют падение напряжения на зажимном устройстве. Затем действие силы прекращают.
После этого силой изгиба воздействуют поочередно в каждом из оставшихся 11 направлений согласно рисунку 12 a), каждый раз измеряя падение напряжения.
Если в любом из 12 испытательных направлений падение напряжения более 25 мВ, то усилие удерживают в этом направлении до тех пор, пока падение напряжения не уменьшится до 25 мВ не более чем за 1 мин. После того как падение напряжения достигнет значения менее 25 мВ, усилие изгиба поддерживают в этом же направлении в течение 30 с. За этот период падение напряжения не должно увеличиться.
Два других образца испытывают аналогично, но при этом изменяют 12 направлений приложения усилия так, чтобы шаг составлял 10° для каждого образца.
Если один из образцов не прошел испытания в одном из направлений испытательного усилия, испытания повторяют на других образцах, причем все они должны пройти испытания.
12.4 Винтовые контактные зажимы для наружных алюминиевых проводов Стационарные розетки должны быть оснащены винтовыми контактными зажимами для внешних неподготовленных алюминиевых проводников и алюминиевыми выводами резьбового типа для медных или алюминиевых проводников согласно приложению ДА. Соответствие проверяют путем осмотра, измерениями и испытаниями по приложению ДА. |
13 Конструкция стационарных розеток
13.1 Гнездовые контакты розеток должны иметь достаточную упругость для обеспечения соответствующего контактного нажатия на штыри вилки.
Части контактных разъемов в сборе, которые будут соприкасаться с частью штыря, предназначенной для электрического контакта, когда вилка полностью вставлена в розетку, должны обеспечивать металлические противоположные контакты по крайней мере на двух сторонах каждого штыря.
Проверку проводят визуальным осмотром и испытанием по разделам 9, 21 и 22.
13.2 Гнездовые контакты и штыри розеток должны обладать устойчивостью к коррозии и истиранию.
Гнездовые контакты и контакт(ы) розеток, изготовленные из меди или медного сплава, как указано в
26.5, считаются соответствующими этому требованию.
Соответствие проверяют осмотром или химическим анализом, если необходимо.
Штифт(ы) розеток должен(ы) быть сконструирован(ы) таким образом, чтобы механическая прочность штифта(ов) не зависела от пластика.
Примечание - В некоторых конструкциях штифт(ы) соединителей полый(е) и заполнен(ы) пластиком.
Соответствие проверяют осмотром, а в случае сомнений - испытаниями по 14.2 и разделу 21 на новых образцах без пластика.
13.3 Изолирующие прокладки, перегородки и т.п. должны иметь соответствующую механическую прочность.
Проверку проводят визуальным осмотром и испытанием по разделу 24.
13.4 Конструкция розетки должна обеспечивать:
- простое введение и присоединение проводов к контактным зажимам, кроме выводных проводов сигнальных огней.
Примечание - Винтовые зажимы, показанные на
рисунках 2 -
5, считаются подходящими для надежного подключения проводов;
- удобное крепление основной части к стене или в монтажной коробке;
- правильное расположение проводов;
- наличие пространства между нижней поверхностью основания и поверхностью, на которой монтируется основание, или между боковыми поверхностями основания и корпусом (крышкой или монтажной коробкой) для того, чтобы после установки розетки изоляция провода не соприкасалась с токоведущими частями разных фаз.
Примечание - Это требование не предполагает, что металлические части контактных зажимов обязательно защищены изолирующими перегородками или буртиками для избежания соприкосновения с изоляцией провода из-за неправильного монтажа металлических частей контактного зажима.
В розетках для открытого типа, устанавливаемых без монтажной коробки, проводящий провода канал должен отвечать требованию настоящего пункта.
Для розеток открытого типа, устанавливаемых на монтажную пластину при необходимости, соответствие проверяется осмотром и установочным испытанием с проводниками самого максимального поперечного сечения, приведенного в таблице 3 или согласно приложению ДА соответственно типу соединения. |
Кроме того, для розеток, имеющих безвинтовые зажимы, розетки должны быть так сконструированы, что соединительные и/или разъединяющие средства безвинтовых зажимов не могут быть активированы проводниками во время и после установки розетки в коробке или на стене.
Примечания
1 Это требование не означает, что к соединительным и/или разъединяющим средствам нельзя прикасаться проводникам.
2 Это требование может быть выполнено путем размещения соединительных и/или разъединяющих средств и/или использования защитных барьеров или плеч, расположенных вокруг соединительных и/или разъединяющих средств.
Соответствие проверяют осмотром, а в случае сомнений - следующим испытанием.
Испытание проводят с твердым медным проводником, имеющим наименьшую площадь поперечного сечения, как указано в 12.3.2.
Проводник вдвигается как можно дальше в тестируемый терминал или вставляется так, чтобы адекватная связь была очевидна.
Испытательный щуп 1 в соответствии с #ГОСТ МЭК 61032# <1>
прижимается к соединительным или разъединяющим средствам с силой 120 Н в направлении, противоположном направлению монтажа, как показано на рисунке 46 a).
--------------------------------
<1> В Российской Федерации действует ГОСТ Р МЭК 61032-2000 "Защита людей и оборудования, обеспечиваемая оболочками. Щупы испытательные".
Во время приложения силы проводник, за исключением подводящих проводов сигнальных огней, подвергается тяге 30 Н; вытягивание выполняется одним плавным и непрерывным движением в течение 1 мин в направлении продольной оси пространства проводника.
Во время приложения тяги проводник не должен выходить из безвинтового зажима.
Сила в 120 Н должна быть приложена до того, как будет применена сила в 30 Н. Сила 30 Н поддерживается на проводнике во время полного испытания.
Следует следить за тем, чтобы измерительный щуп не касался проводника во время приложения силы.
Если ось между приложенным усилием и осью через силу, необходимую для приведения в действие соединительного/разъединяющего средства, отклоняется более чем на 20°, допускается прикладывать расчетную результирующую силу непосредственно к соединяющему/разъединяющему средству с помощью испытательного зонда; пример показан на рисунке 46 b).
Если угол больше 60°, считается, что изделие соответствует требованиям без дальнейших испытаний.
Если невозможно приложить усилие к соединительному/разъединяющему средству, считается, что изделие соответствует требованиям без дальнейших испытаний.
Кроме того, розетки, классифицируемые как конструкция A, должны позволять легко устанавливать и снимать крышку или закрывающую пластину, не смещая проводники и не активируя средства соединения и/или разъединения безвинтовых зажимов.
Примечание - Это требование не означает, что соединительные и/или разъединяющие средства не могут быть затронуты крышкой или закрывающей пластиной.
Проверку проводят визуальным осмотром и испытанием с проводами наибольшего сечения, установленного в таблице 3 для контактных зажимов определенного размера.
13.5 Розетки должны быть сконструированы таким образом, чтобы полному введению вилок в розетки не препятствовал какой-либо выступ (буртик) на рабочей поверхности розетки.
Проверку проводят определением зазора между рабочей поверхностью розетки и вилкой, который должен быть не более 1 мм, когда вилка полностью вставлена в розетку.
Наличие на рабочей поверхности розетки маркировки не считают выступами.
13.6 Если крышка розетки имеет проходные втулки вокруг вводных отверстий для штырей вилок, то должно быть невозможным их снятие снаружи, и они самопроизвольно не должны сниматься изнутри, когда крышка розетки снята.
Соответствие проверяют визуальным осмотром и испытанием.
13.7 Крышки или закрывающие пластины должны крепиться не менее чем в двух точках эффективными средствами, требующими для их снятия применения инструмента.
Крышки и закрывающие пластины могут крепиться и одним винтом при условии, что они закрепляются на месте другим способом, например буртиком, фиксирующим выступом.
Примечания
1 Средства фиксации крышек и закрывающих пластин должны обеспечивать надежность закрепления. Для обычных розеток средства фиксации крышек или закрывающих пластин не должны одновременно служить для закрепления иных частей.
2 Незакрепленные металлические детали, отделенные от токоведущих деталей таким образом, что воздушные зазоры и пути утечки тока соответствуют
таблице 23, не считаются доступными для прикосновения, если это удовлетворяет требованиям настоящего стандарта.
Если для розеток типа A средства крепления крышек или закрывающих пластин используют также для крепления основания, это крепление должно быть надежно даже после снятия крышки и закрывающей пластины.
Проверку требований к безопасности конструкции проводят в соответствии с 13.7.
1 - 13.7.3.
13.7.1 Для крышек или закрывающих пластин с фиксаторами винтового типа соответствие проверяют визуальным осмотром.
13.7.2 Для крышек или закрывающих пластин с фиксаторами безвинтового типа, смещение которых производят с применением усилия в направлении, приблизительно перпендикулярном к монтажной поверхности (см. таблицу 13):
- когда их смещение может привести к доступности для прикосновения стандартным испытательным щупом к токоведущим деталям, соответствие проверяют испытаниями по 24.14;
- когда их смещение может привести к доступности для прикосновения стандартным испытательным щупом к незаземленным металлическим деталям, отделенным от токоведущих деталей таким образом, что воздушные зазоры и пути утечки имеют значения согласно таблице 23, соответствие проверяют испытаниями по 24.15;
- когда их смещение может сделать доступными для прикосновения стандартным испытательным щупом:
- изолирующие детали, или
- заземленные металлические детали, или
- металлические детали, отделенные от токоведущих деталей так, что воздушные зазоры и пути утечки имеют значения, в два раза превышающие приведенные в таблице 23, или
- токоведущие детали системы безопасного сверхнизкого напряжения (БСНН) цепей с напряжением переменного тока не более 25 В, соответствие проверяют испытаниями по 24.16.
Таблица 13
Сила, прикладываемая к крышкам и закрывающим пластинам,
крепящимся без помощи винтов
Доступность с помощью испытательного щупа после смещения крышек, закрывающих пластин или их деталей, к: | Испытания, согласно требованиям подразделов | Прикладываемая сила, Н |
| |
не должно входить | должно входить | не должно входить | должно входить |
токоведущим деталям | | 40 | 120 | 80 | 120 |
незаземленным металлическим деталям, отделенным от токоведущих деталей воздушными зазорами и путями утечки согласно таблице 23 | | 10 | 120 | 20 | 120 |
изолирующим деталям, заземленным металлическим деталям, токоведущим деталям для цепей БСНН переменного напряжения или металлическим деталям, отделенным от токоведущих частей воздушными зазорами и путями утечки, в 2 раза превышающим приведенные в таблице 23 | | 10 | 120 | 10 | 120 |
13.7.3 Для крышек или закрывающих пластин, которые фиксируются независимо от винтов и чье отсоединение осуществляется с помощью инструмента в соответствии с информацией изготовителя, приведенной в инструкции по эксплуатации или в каталоге, соответствие проверяют испытаниями по 13.7.2, за исключением случаев, когда крышки, или закрывающие пластины, или их детали при прикладывании усилия не более 120 Н в направлениях, перпендикулярных монтажной опорной поверхности, не выходят из строя.
13.8 Закрывающие пластины, предназначенные для розеток с заземляющим контактом, не должны быть взаимозаменяемы с закрывающими пластинами для розеток без заземляющего контакта, если такая замена изменяет классификацию розетки в соответствии с
7.3.
Примечание - Требование распространяется на розетки одного изготовителя.
Соответствие проверяют визуальным осмотром и пробным монтажом.
13.9 Розетки для открытого типа обычного типа должны иметь такую конструкцию, чтобы в собранном состоянии и с подключенными как для нормальной эксплуатации проводами в корпусе не было свободных отверстий, за исключением отверстий для ввода штырей вилки или других отверстий, например боковых контактов заземления или фиксирующих устройств и т.д.
Сливными отверстиями, малыми зазорами между крышкой или коробками и подсоединенными проводами, кабелями или заземляющими контактами, если таковые имеются, или между кожухами или коробками и прокладками, мембранами и выбивками пренебрегают, если они не ставят под угрозу заявленную степень защиты IP.
Проверку проводят визуальным осмотром и пробным монтажом с проводами наименьшего сечения из указанных в таблице 14 или по приложению ДА. |
13.10 Винты или иные средства монтажа розеток на поверхности, или в монтажной коробке, или кожухе должны быть легко доступны с лицевой стороны, не должны служить одновременно для иных целей.
13.11 Многоместные розетки с общим основанием должны иметь фиксирующие звенья для параллельного соединения контактов; крепление этих звеньев должно быть независимым от присоединения питающих проводов.
13.12 Многоместные розетки на отдельных основаниях должны иметь такую конструкцию, чтобы обеспечивалось правильное положение каждого основания. Установка каждого основания должна быть независимой от установки всей розетки на монтажной поверхности.
Проверку требований 13.10 и 13.12 проводят визуальным осмотром.
13.13 Монтажная пластина розеток для открытого типа должна иметь соответствующую механическую прочность.
Проверку проводят визуальным осмотром после испытаний по 13.4 и 24.3.
13.14 Розетки должны выдерживать боковые усилия при введении в них вилок или других приборов.
Розетки, имеющие номинальные ток до 16 А и напряжение до 250 В включительно, проверяют с помощью устройства, приведенного на рисунке 13.
Размеры в миллиметрах
P - усилие
Материал: сталь.
Примечания
1 Размеры a и b выбирают по соответствующему стандарту.
2 Размеры и расположение штырей выбирают по соответствующему стандарту.
Рисунок 13 - Устройство для проверки сопротивления
стационарных розеток боковой деформации
Каждую розетку устанавливают на вертикальной поверхности так, чтобы плоскость, проходящая через гнездовые контакты, была расположена горизонтально. Устройство вставляют до упора в гнездовые контакты розетки и навешивают на него груз, обеспечивающий силу 5 Н.
Через 1 мин устройство извлекают из розетки, а розетку поворачивают на 90° на монтажной поверхности. Испытание повторяют четыре раза и каждый раз розетку поворачивают на 90°.
В процессе испытания розетка не должна выходить из строя.
После испытаний розетка не должна иметь повреждений, нарушающих требования настоящего стандарта, и она должна соответствовать требованиям раздела 22.
Примечание - Другие розетки не испытывают.
13.15 Розетки не должны встраиваться в патрон.
Проверку проводят визуальным осмотром.
13.16 Розетки, отличные по исполнению от обычных, без сочлененных с ними вилок, но имеющие ввинчиваемые изолирующие трубки, поливинилхлоридные оболочки или кабели с аналогичной изоляцией, должны быть полностью защищены.
Розетки для открытого типа, отличные от обычных, имеющие код IP выше чем IP20, снабжаются кабелями (проводами) как при нормальной эксплуатации без вставленной вилки.
Розетки открытого типа, имеющие степень защищенности от IPX4 до IPX6, должны иметь открытые сливные отверстия.
Если розетка имеет сливные отверстия, то они должны иметь диаметр не менее 5 мм или площадь 20 мм2 при ширине и длине не менее 3 мм.
Если розетка функционирует в одном монтажном положении, то сливное(ые) отверстие(я) должно(ы) быть в этом положении, сливное(ые) отверстие(я) должно(ы) функционировать по крайней мере в двух положениях розетки, когда она смонтирована на вертикальной плоскости при вводе кабеля (провода) сверху или снизу.
Пружины шторок, если таковые имеются, должны изготавливаться из коррозиестойкого металла, например бронзы или нержавеющей стали.
Проверку проводят визуальным осмотром, измерениями и испытаниями по 16.2.
Примечания
1 При невставленной вилке полная защита розетки должна обеспечиваться шторками.
2 Данное требование не подразумевает, что шторки (при наличии) или вводные отверстия для штырей вилки должны быть закрыты при извлеченной вилке при условии, что розетка выдержала соответствующие испытания по проверке проникновения в нее воды.
3 Сливное отверстие в задней стенке корпуса розетки может быть эффективным, если конструкция розетки обеспечивает зазор между стеной и этой стенкой не менее 5 мм или предусматривает сливной канал указанных размеров.
13.17 Заземляющие штыри должны иметь соответствующую механическую прочность.
Проверку проводят визуальным осмотром, а для трубчатых штырей - также испытанием по 14.2, которое проводят после испытаний по разделу 21.
13.18 Розетки открытого типа со степенью защиты для заземляющих контактов, фазовых контактов и нейтральных контактов должны быть заблокированы от вращения.
Когда изделие готово к подключению, не должно быть возможности снять заземляющие контакты, фазовые контакты и нейтральный контакт без использования инструмента.
Соответствие проверяют осмотром и испытанием.
13.19 Металлические заземляющие детали не должны иметь заусениц, которые могут повредить изоляцию питающих проводов.
Проверку проводят визуальным осмотром.
13.20 Розетки, которые устанавливаются в монтажной коробке, должны иметь такую конструкцию, чтобы концы провода можно было зачистить после того, как коробка уже смонтирована, но до того, как розетка установлена в коробку.
Проверку проводят визуальным осмотром.
13.21 Вводные отверстия розеток должны допускать такое использование изолирующих трубок или изоляции кабеля, чтобы была обеспечена механическая защита.
Обычные розетки для открытого типа должны иметь такую конструкцию, чтобы изолирующие трубки или изоляция кабеля входили в корпус не менее чем на 1 мм.
В этих розетках вводное отверстие для изолирующих трубок или два и более отверстий должны обеспечивать использование изолирующих трубок диаметрами 16, 20, 25 или 32 мм или их комбинации не менее чем из двух этих размеров (см.
[3]).
В розетках для открытого типа входные отверстия для ввода кабеля должны допускать возможность установки кабелей с размерами, указанными в таблице 14 или определяемыми изготовителем.
Таблица 14
Соотношение номинального тока, структуры
и характеристик проводников
Номинальный ток, А | Сечение проводника, мм2 | Число проводников | Пределы наружных размеров кабеля, мм |
минимум | максимум |
10 | От 1 до 2,5 включ. | 2 | 6,4 | 13,5 |
3 | 14,5 |
5 | 17,0 |
13 и 16 | От 1,5 до 2,5 включ. | 2 | 7,4 | 13,5 |
3 | 14,5 |
13 и 16 | От 1,5 до 4,0 включ. | 4 | 7,6 | 18,0 |
5 | 19,5 |
25 | От 2,5 до 6,0 включ. | 3 | 8,9 | 25,5 |
32 | От 2,5 до 10 включ. | 2 | 8,9 | 24,0 |
3 | 25,5 |
4 | 28,0 |
5 | 30,5 |
Примечание - Указанные пределы наружных размеров кабеля - в соответствии с сериями стандартов #ГОСТ IEC 60227# и #ГОСТ IEC 60245#. |
Проверку проводят визуальным осмотром и измерениями.
Примечание - Вводные отверстия соответствующего размера могут быть получены путем пробивки или использования дополнительных вводных деталей.
13.22 Диафрагмы вводных отверстий должны быть закреплены и не должны смещаться от механических или тепловых воздействий, которые могут возникнуть при нормальной эксплуатации.
Проверку проводят следующим испытанием.
Диафрагму испытывают на розетке в собранном виде. Сначала розетку, имеющую диафрагму, испытывают по 16.1.
Затем розетку помещают на 2 ч в термокамеру, как описано в 16.1, и выдерживают при температуре (40 +/- 2) °C.
Сразу после этого прилагают силу в 30 Н в течение 5 с к различным частям диафрагмы, применяя для этого испытательный щуп тех же размеров, что и стандартный испытательный щуп 11 по #ГОСТ IEC 61032# <1>.
--------------------------------
<1> В Российской Федерации действует ГОСТ Р МЭК 61032-2000 "Защита людей и оборудования, обеспечиваемая оболочками. Щупы испытательные".
В процессе испытания диафрагма не должна деформироваться до такой степени, чтобы токоведущие части оказались открытыми.
Диафрагму подвергают также осевому натяжению силой 30 Н в течение 5 с.
В процессе испытания диафрагма не должна выйти из строя.
Затем последнее испытание повторяют на диафрагмах, которые не подвергались нагреву в термокамере.
13.23 Рекомендуется такая конструкция диафрагм входных отверстий и изготовление из такого материала, чтобы ввод кабеля в розетку был возможен при низкой температуре окружающей среды.
Примечание - В некоторых странах проверку на соответствие данному требованию проводят методом установки диафрагм в холодных условиях: Австрия, Канада, Швейцария, Чехия, Дания, Финляндия, Норвегия, Швеция.
Проверку проводят следующим испытанием.
Розетку снабжают диафрагмой, которая не была подвергнута обработке на старение (т.е. нагреву в термокамере). Затем розетку выдерживают в течение 2 ч в холодильнике при температуре минус (15 +/- 2) °C.
По истечении двух часов розетки вынимают из холодильника и сразу же, пока они не нагрелись, через диафрагму вводят кабель наибольшего сечения, при этом он должен войти без приложения усилий.
После испытания по 13.22 и 13.23 диафрагмы не должны иметь деформаций, царапин и повреждений, которые могут вызвать несоответствие требованиям настоящего стандарта.
14 Конструкция вилок и переносных розеток
14.1 Неразборные переносные соединители должны соответствовать следующим требованиям:
- гибкий кабель, провод или шнур не должен отделяться от соединителя, не выводя его из строя;
- соединитель не должен открываться ни вручную, ни с помощью обычного инструмента, например отвертки.
Примечание - Соединитель считают непригодным, если для повторной его сборки потребуются новые детали или материалы.
Проверку проводят визуальным осмотром, ручным испытанием и испытанием по 24.14.3.
14.2 Штыри переносных соединителей должны обладать достаточной механической прочностью.
Проверку проводят испытаниями по разделу 24. Если штыри трубчатые, то их подвергают следующему испытанию, которое проводят после испытания по разделу 21.
Штыри укрепляют, как показано на рисунке 14. На штырь воздействуют силой 100 Н в течение 1 мин в направлении, перпендикулярном его оси, с помощью стальной штанги диаметром 4,8 мм, при этом ось штанги также перпендикулярна оси штыря.
Размеры в миллиметрах
1 - опора; 2 - стальная штанга; 3 - груз
Рисунок 14 - Установка для испытания трубчатых штырей
Диаметр штыря в точке приложения силы должен быть не менее 0,15 мм. После снятия нагрузки максимальное изменение диаметра штыря в любом направлении не должно превышать 0,06 мм.
14.3 Штыри и контакты переносных соединителей должны быть:
- зафиксированы от проворачивания;
- несъемными без разборки вилки;
- соответствующим образом надежно закреплены на корпусе, когда к ним присоединены питающие провода, как при нормальной эксплуатации.
Должна быть исключена возможность смещения заземляющего, нейтрального и фазных штырей вилки.
Не должно быть возможности расположить заземляющие или нейтральные штыри или контакты штекеров в неправильном положении.
Штырь(и) переносных соединителей должен(ы) быть сконструирован(ы) таким образом, чтобы механическая прочность штыря(ей) не зависела от пластика.
Примечание - В некоторых конструкциях штырь(и) аксессуаров полый(ые) и заполнен(ы) пластиком.
Соответствие проверяют осмотром, а в случае сомнений - испытаниями по 14.2 и разделу 21 на новом наборе образцов без пластика.
Все открытые поверхности штыревого(ых) штифта(ов) должны быть гладкими и не иметь заусенцев или острых краев, а также других неровностей, которые могут привести к повреждению или чрезмерному износу соответствующих контактов или шторок гнезда.
Проверку проводят визуальным осмотром и испытанием.
14.4 Заземляющие, фазовые и нейтральные контакты переносных розеток должны быть зафиксированы от проворачивания и сдвигаться после разборки розетки только с применением инструмента.
Примечание - В Швейцарии после демонтажа розетки с помощью инструмента можно снять только заземляющий контакт.
Проверку проводят визуальным осмотром и ручным тестированием. Кроме того, для единичных (одноместных) переносных розеток соответствие проверяется испытанием по 24.2.
14.5 Гнездовые контакты розеток должны обладать достаточной упругостью для обеспечения необходимого контактного нажатия на штыри вилки.
Части штепсельного контакта розетки в сборе, которые находятся в контакте с частью штыря вилки, должны обеспечивать электрический контакт, когда вилка полностью вставлена в штепсельную розетку в том случае, когда:
- контактное нажатие обеспечивается изолирующими частями, кроме керамического или другого материала с аналогичными характеристиками;
- гарантирует постоянный металлический контакт по крайней мере на двух противоположных сторонах каждого штыря вилки.
Контактное давление контактной трубки не должно зависеть только от паяного соединения.
Проверку проводят визуальным осмотром и испытанием по разделам 9, 21 и 22.
14.6 Штыри вилок и гнездовые контакты розеток должны быть устойчивы к коррозии и обладать износостойкостью.
Гнездовые контакты и контакт(ы) розеток, которые выполнены из меди или медного сплава, как указано в
26.5, считаются соответствующими этому требованию.
Проверку проводят визуальным осмотром или химическим анализом, если необходимо.
14.7 Крышки разборных соединителей должны по площади охватывать контактные зажимы и концы гибкого кабеля, шнура или провода.
Конструкция должна обеспечивать правильное и надежное присоединение проводов, и если провода присоединены к соединителю и готовы к нормальной эксплуатации, должно быть исключено:
- соприкосновение друг с другом жил проводов;
- касание жил проводов, присоединенных к контактным зажимам доступных металлических частей;
- касание жилы провода, присоединенного к заземляющему контактному зажиму токоведущих частей.
14.8 Разборные соединители должны иметь такую конструкцию, чтобы винты или гайки контактных зажимов не ослабевали и не выпадали из углублений.
Проверку требований 14.7 и 14.8 проводят визуальным осмотром и пробным монтажом.
14.9 Разборные соединители должны иметь такую конструкцию, чтобы обеспечивалось достаточное пространство для размещения заземляющего провода, а при ослаблении его в контактном зажиме последующее закрепление заземляющего провода можно было произвести, не нарушая присоединения фазных проводов. При непредусмотренных избыточных механических нагрузках заземляющий провод должен ломаться после фазных.
Проверку проводят следующим испытанием.
Гибкий кабель, шнур или провод присоединяют к соединителю таким образом, чтобы фазные провода подводились от возможных мест ослабления к соответствующим контактным зажимам наиболее коротким путем. После того как фазные провода подсоединены, жилу заземляющего провода подводят к своему контактному зажиму, обрезают с припуском 8 мм и присоединяют к зажиму.
В результате этого должна иметься возможность свободно вставить петлю, которая образована заземляющим проводом, имеющим избыточную длину, в пространство для проводов без чрезмерных сжатий или сдавливания жилы, когда крышка соединителя заново монтируется и правильно закрепляется.
В неразборных неопрессованных соединителях с заземляющим контактом длина проводников между контактными соединениями и местом устройства крепления шнура должна быть такой, чтобы токопроводящие проводники натягивались до заземляющего проводника в случае, если гибкий кабель скользит в устройстве крепления шнура.
Проверку проводят визуальным осмотром.
14.10 Контактные зажимы разборных переносных соединителей и контактные соединения неразборных переносных соединителей должны быть так закреплены и защищены, чтобы при освобождении жил проводников из зажима не нарушалась бы безопасность соединителей.
Неразборные опрессованные соединители должны иметь устройства для предупреждения ослабления крепления жил проводников путем уменьшения длины снятой изоляции с проводников и всех доступных для прикосновения наружных поверхностей соединителя, за исключением рабочей лицевой поверхности вилки.
Проверку проводят следующим образом:
- для разборных соединителей испытанием по 14.10.1;
- для неразборных неопрессованных соединителей испытанием по 14.10.2;
- для неразборных опрессованных соединителей испытанием по 14.10.3.
14.10.1
Гибкий многопроволочный провод минимального номинального сечения, указанного в таблице 3, освобождают от изоляции на расстоянии 6 мм от края.
Жилу многопроволочного провода вставляют в контактный зажим так, чтобы одна из проволочек жилы была выведена из контактного зажима, а остальные проволочки жилы провода полностью вводят в контактный зажим и зажимают как при нормальной эксплуатации.
Свободную проволочку из зажима изгибают во всех возможных направлениях без натяжения, надрыва изоляции и образования острых перегибов и углов.
Примечание - Недопустимость острых перегибов и углов вокруг перегородки зажима не подразумевает, что свободная проволочка должна быть прямой во время испытаний. Острые углы имеют место тогда, когда предполагают, что они могут образоваться в нормальных условиях эксплуатации вилки или переносной розетки, например, если установлена крышка.
Свободная проволочка жилы провода, присоединенного к заземляющему зажиму, не должна касаться других токоведущих частей после окончания монтажа.
При необходимости испытание повторяют со свободной проволочкой в другом положении.
14.10.2
Изоляцию проводника длиной, эквивалентной максимальной заданной изготовителем, и дополнительной длиной 2 мм снимают с конца гибкого проводника, соответствующего сечения.
Жилу многопроволочного провода вставляют в контактный зажим так, чтобы одна из проволочек жилы была выведена из контактного зажима, а остальные проволочки жилы провода полностью вводят в контактный зажим и зажимают как при нормальной эксплуатации.
Свободную проволочку жилы провода изгибают во всех возможных направлениях без натяжения, надрыва изоляции и образования острых перегибов и углов.
Примечание - Недопустимость острых перегибов и углов вокруг перегородки зажима не подразумевает прямолинейности свободного проводника во время испытаний. Острые углы имеют место тогда, когда предполагают их образование в нормальных условиях эксплуатации вилки и переносной розетки, например после установки крышки.
Свободная проволочка жилы провода, присоединенная к токоведущему контактному зажиму, не должна касаться металлических частей или снижать пути утечки и воздушные зазоры в любом конструктивном зазоре менее 1,5 мм от наружной поверхности.
Свободная проволочка жилы провода, присоединенного к заземляющему контактному зажиму, не должна касаться токоведущих частей.
14.10.3 Неразборные опрессованные формованные соединители должны пройти визуальный осмотр, чтобы удостовериться в наличии средств для обеспечения защиты от жил свободных проводников и/или токоведущих деталей, уменьшающих минимальное изоляционное расстояние до наружной доступной для прикосновения поверхности до 1,5 мм (за исключением рабочей лицевой поверхности вилок).
Примечание - Проверка наличия "средств" может требовать проверки конструкции соединителя или способа его сборки.
14.11 Для разборных переносных соединителей:
- должно быть ясно, как осуществить ослабление натяжения и избежать скручивания провода;
- устройство для зажима изоляции провода или часть его должна быть несъемной или должна быть постоянно зафиксирована к одной из частей вилки или переносной розетки; крепление шнура или по крайней мере его часть должны быть неотъемлемой частью или надежно закреплены на одной из составных частей вилки или переносной розетки;
- недопустимо, например, завязывание кабеля или шнура в узел или привязывание концов;
- устройство для зажима изоляции должно быть пригодно для различных типов гибких проводов и шнуров, которые могут использоваться, и эффективность его не должна зависеть от сборки частей корпуса; винты, если они применяются, должны применяться для обжатия гибкого кабеля, а не для других целей.
Примечание - Это не исключает крышки, служащей для фиксации гибкого кабеля в устройстве крепления шнура при условии, что кабель остается на месте в этом устройстве, когда крышка снята;
- устройство для зажима изоляции должно быть из изоляционного материала или снабжено изоляционной прокладкой, закрепленной на металлических деталях;
- металлические детали устройства для зажима изоляции, включающие зажимные винты, должны быть изолированы от заземляющей цепи.
Проверку проводят визуальным осмотром и по возможности пробным монтажом.
14.12 Для разборных переносных соединителей и неразборных неопрессованных переносных соединителей должна исключаться возможность удаления крышек, закрывающих пластины или их части, которые обеспечивают защиту от доступа к токоведущим частям, без применения инструмента.
Проверку проводят следующим образом:
- крышки, пластины или их части, крепление которых производят винтами, - визуальным осмотром;
- крышки, пластины или их части, у которых безвинтовое крепление и перемещение которых может открыть доступ к токоведущим частям, - испытанием по 24.14.
14.13 Если крышки переносных розеток снабжены проходными втулками для ввода штырей вилки, эти втулки не должны перемещаться под внешними воздействиями.
14.14 Винты, предназначенные для обеспечения доступа к внутренним частям соединителя, должны быть предохранены от самопроизвольного выпадения.
Примечание - Использование шайб из картона или аналогичного материала является достаточным условием для выполнения этого требования.
Проверку соответствия требованиям 14.13 и 14.14 проводят визуальным осмотром.
14.15 Рабочая поверхность вилки в собранном для нормальной эксплуатации состоянии не должна иметь выступов, препятствующих полному вставлению ее штырей в розетку.
Проверку проводят визуальным осмотром после присоединения указанного в таблице 3 провода наибольшего сечения.
Примечание - Заземляющий контакт не считают выступом на рабочей поверхности.
14.16 Конструкция переносных розеток должна обеспечивать отсутствие на рабочей поверхности каких-либо выступов, препятствующих полному вставлению в них соответствующей вилки.
Проверку проводят испытанием по 13.5.
14.17 Вилки и розетки с кодом выше чем IP20 должны иметь кабельный ввод с эластичным уплотнением или аналогичное устройство.
Вилки и розетки с кодом выше чем IP20 должны быть полностью уплотнены, когда к ним присоединен гибкий кабель или шнур как для нормальной эксплуатации.
Переносные розетки с кодом выше чем IP20 должны быть уплотнены даже без вставленной вилки.
Пружины крышек, при их наличии, должны быть изготовлены из коррозиестойкого материала, такого как бронза или нержавеющая сталь.
Проверку проводят визуальным осмотром и испытанием по 16.2.
Примечание - Полное уплотнение розетки без вставленной вилки обеспечивается подпружинной крышкой. Это требование не подразумевает, что подпружинная крышка, при ее наличии, или отверстия для входа штырей должны быть закрытыми, когда вилка вставлена, при условии, что выдерживаются испытания на защиту от проникновения воды.
14.18 Конструкция переносных розеток, имеющих устройство для подвески их на стене или другой монтажной поверхности, должна обеспечивать невозможность прикосновения этих устройств к токоведущим частям розетки, и отдельные неполадки с этим устройством во время испытаний не должны влиять на токоведущие части.
Не допускаются свободные отверстия между пространством, предназначенным для средств подвески, с помощью которых крепится розетка к стене, и токоведущими деталями.
Проверку проводят визуальным осмотром и испытанием по 24.11 - 24.13.
14.19 Вилки и розетки, имеющие прерыватель тока (выключателей, автоматических выключателей или другие устройства), должны соответствовать требованиям соответствующих стандартов, если таковые имеются.
Проверку проводят по соответствующим стандартам.
Примечание - Например, для комбинации вилок и розеток с переносным устройством защитного отключения бытового и аналогичного назначения см. #
ГОСТ 31603#.
14.20 Переносные соединители не должны иметь встроенных частей патронов для ламп.
Проверку проводят визуальным осмотром.
14.21 Вилки, классифицируемые исключительно как вилки для приборов класса защиты II, могут быть разборными или неразборными.
Если они являются элементом шнура-соединителя, то последний должен иметь соединитель, предназначенный для присоединения к системе питания приборов класса II.
Если вилки опрессованы с удлинительным шнуром, то последний должен использоваться с переносной розеткой класса защиты II.
Примечания
1 В Австрии, Китае, Чехии, Германии, Финляндии, Нидерландах, Норвегии, Словакии применение разборных штекеров для оборудования класса II не допускается.
2 В Чехии, Германии, Дании, Италии, Словакии, Великобритании применение наборов удлинителей для оборудования класса II не допускается.
14.22 Встроенные в соединители выключатели и предохранители должны отвечать требованиям соответствующих стандартов в той мере, в которой это применимо.
Компоненты, включенные в переносные соединители, должны быть рассчитаны или защищены таким образом, чтобы при нормальном использовании перегрузка компонента, штепсельной вилки или части розетки не возникала.
Требования к выключателям, включенным в переносные соединители, подробно описаны в
приложении D.
Для переносных розеток и сменных вилок встроенное устройство защиты от сверхтоков должно иметь номинальный ток, равный или меньший, чем номинальный ток аксессуара.
Примечание - Примерами устройств защиты от сверхтока являются: предохранители, выключатели с тепловой или токовой защитой, миниатюрные автоматические выключатели (МСВ), автоматические выключатели, управляемые дифференциальным током, со встроенной защитой от сверхтоков (АВДТ).
Любые другие компоненты, такие как переключатели или устройства управления, должны иметь номинальный ток не менее:
- номинального тока соединителя или
- номинального тока встроенного устройства защиты от сверхтоков, если таковой имеется.
Для компонентов, имеющих разные номинальные токи для резистивной и индуктивной нагрузок, номинальным током следует считать номинальный ток для резистивной нагрузки.
Для невосстанавливаемых штекеров любой(ые) другой(ие) встроенный(е) компонент(ы), такой(ие) как переключатель или устройство управления, должен(ны) иметь номинальный ток не менее:
- испытательный ток для комбинации аксессуара и кабеля, как указано в
таблице 20 для
раздела 21, или
- номинальный ток встроенного устройства защиты от сверхтоков, если таковой имеется.
Любой(ые) встроенный(е) компонент(ы) должен(ны) иметь номинальное напряжение не менее номинального напряжения аксессуара.
Проверку проводят визуальным осмотром и, если необходимо, испытаниями встроенных элементов по соответствующему стандарту.
14.23 Если вилка является составной частью прибора, то последний не должен допускать перегрев ее штырей или значительную механическую перегрузку стационарных розеток.
Примечание - Примерами таких приборов являются электрическая бритва и фонарь с автономным источником питания.
Вилки на номинальный ток выше 16 А и 250 В не должны являться составной частью приборов.
Двухполюсные вилки с заземляющим контактом или без него на номинальный ток до 16 А и напряжение 250 В включительно проверяют испытаниями по 14.23.1 и 14.23.2.
Примечание - Для вилок иных типов испытания разрабатываются.
14.23.1 Вилку, являющуюся встроенной частью прибора, вставляют в стационарную розетку, отвечающую требованиям настоящего стандарта. Розетка должна быть присоединена к сети напряжением, соответствующим наибольшему номинальному напряжению прибора.
По истечении 1 ч температура перегрева штырей вилки прибора не должна превышать 45 °C.
14.23.2 Стационарную розетку, соответствующую настоящему стандарту, с включенным в нее прибором, следует вращать вокруг горизонтальной оси, проходящей через гнездовые контакты на расстоянии 8 мм за рабочей поверхностью розетки и параллельно этой рабочей поверхности.
Дополнительный крутящий момент, который прилагают к розетке со вставленным в нее прибором для удержания ее рабочей поверхности в вертикальной плоскости, должен быть не более 0,25 Н·м.
14.24 Вилка должна иметь такую форму и быть изготовлена из такого материала, чтобы ее легко и удобно можно было извлечь рукой из соответствующей розетки.
Кроме того, поверхность захвата должна быть такой, чтобы вилку можно было извлечь из розетки, не натягивая при этом кабель или шнур.
Проверку проводят визуальным осмотром и в случае сомнения испытанием.
14.25 Для диафрагм вводных отверстий применимы требования
13.22 и
13.23.
14.26 Переносные портативные розетки, которые могут быть собраны и подключены для обычного использования после того, как их задняя часть прикреплена к поверхности, должны соответствовать как требованиям для переносных портативных розеток, так и следующим дополнительным требованиям для наружных стационарных розеток:
- терминалы и контактные зажимы:
12.2.1;
- конструкция стационарных розеток:
раздел 13;
- устойчивость к старению, защита, обеспечиваемая оболочками, и устойчивость к влаге:
16.2.1,
16.2.2;
- пути утечки, зазоры и расстояния сквозь герметик:
раздел 27;
- стойкость изоляционного материала к аномальному нагреву, огню и трекингу:
28.1.1, испытание на раскаленную проволоку.
Примечание - В США применение переносных розеток не разрешается.
15 Сблокированные розетки
Конструкция розетки, сблокированной с выключателем, должна исключать введение вилки в розетку или ее выведение из розетки в то время, когда контактные гильзы находятся под напряжением, и подачу напряжения на контактные гильзы до тех пор, пока вилка не будет полностью введена в розетку.
Проверку проводят визуальным осмотром и испытанием вручную.
Примечание - Другие требования по испытаниям по #ГОСТ 30988.2.6#.
16 Устойчивость к старению, защита от проникновения воды и влагостойкость
16.1 Устойчивость к старению
Соединители должны быть устойчивыми к старению.
Детали, предназначенные только для декоративных целей, например крышки, следует снять перед испытанием.
Проверку проводят следующим испытанием.
Соединители, смонтированные как для нормальной эксплуатации, испытывают на старение в атмосфере, имеющей такой же состав и давление, что и окружающий воздух.
Образцы свободно подвешивают в тепловой камере, вентилируемой за счет естественной циркуляции воздуха.
Соединители с кодом выше чем IPX0 испытывают после монтажа и сборки, как указано в 16.2.
Для принадлежностей, имеющих крышку, крышка должна быть закрыта во время испытания.
При испытании переносных розеток вилка той же системы, имеющая такой же номинальный ток, что и розетка, должна быть вставлена в розетку. Розетка может быть соответствующим образом модифицирована, если необходимо обеспечить возможность закрытия крышки, если таковая имеется.
Для переносных розеток обжимающее контактное давление гнездовых контактов розетки после извлечения испытательной вилки определяют по 22.2. При этом испытательная вилка-шаблон не должна выпадать из гнезд розетки в течение 30 с.
Температуру в тепловой камере доводят до (70 +/- 2) °C.
Образцы выдерживают в тепловой камере 7 сут (168 ч).
Рекомендуется использовать электрическую тепловую камеру.
Естественная циркуляция воздуха обеспечивается отверстиями в стенках камеры.
После нагрева и необходимой выдержки при этой температуре образцы извлекают из камеры и выдерживают при комнатной температуре и относительной влажности от 45% до 55% по крайней мере 4 сут (96 ч).
При проверке образцы не должны иметь трещин, видимых невооруженным глазом, при этом материал вилки не должен быть вязким или жирным, что оценивают следующим испытанием:
- указательным щупом, обмотанным куском сухой грубой ткани, надавливают на испытуемый образец силой примерно 5 Н;
- на испытуемом образце не должно оставаться следов ткани, и сама ткань не должна прилипать к нему.
После испытаний образец не должен иметь повреждений, которые могли бы вызвать несоответствие его настоящему стандарту.
Примечание - Силы примерно 5 Н достигают следующим образом:
- испытуемый образец помещают на чашу весов, а другую чашу нагружают грузом, равным весу образца плюс 500 г;
- восстанавливая равновесие чашек весов нажатием на испытуемый образец указательным щупом, обмотанным в сухую грубую ткань, получают необходимое усилие.
16.2 Защита от проникновения воды
Корпуса соединителей должны иметь защиту от проникновения внешних неблагоприятных факторов, таких как твердые частицы и вода, в соответствии с классификацией по кодам IP.
16.2.1 Защита от проникновения к токоведущим частям твердых внешних частиц
Корпуса соединителей должны иметь защиту от проникновения к токоведущим частям и против доступа внешних твердых частиц.
Розетки монтируют на испытательной вертикальной поверхности. Розетки для скрытой и полускрытой установки укрепляют в соответствующей монтажной коробке согласно инструкции изготовителя.
Розетки с резьбовыми сальниками или мембранами соединяются с кабелями, которые должны соответствовать таблице 3.
Сальники завинчивают с приложением крутящего момента, равного 2/3 от применяемого при испытаниях по 24.6.
Винты, крепящие корпус или крышку, затягивают с крутящим моментом, равным 2/3 от значений, указанных в таблице 6.
Детали, снимаемые без помощи инструмента, должны быть сняты.
Если образец с таким оснащением выдержал испытание, то такая комбинация принимается в качестве основной.
Примечание - Сальники не устанавливают с помощью герметика или ему подобного.
16.2.1.1 Защита против доступа к токоведущим частям
16.2.1.2 Защита от доступа внешних твердых частиц
Для соединителей с первой характеристической цифрой 5 как первой характеристикой, относящихся ко второй категории, пыль не должна проникать в количестве, ухудшающем работоспособность и снижающем безопасность.
Для соединителя с цифрой 6 корпуса розеток считаются относящимися к категории 1 (см. 13.6 #ГОСТ 14254#); пыль не должна проникать.
Испытательные пробники не применяют к сливным отверстиям.
16.2.2 Защита против неблагоприятного воздействия воды
Соединители и их комплектация должны быть защищены от неблагоприятного воздействия воды в соответствии с классификацией по кодам IP.
Проверку проводят испытаниями в соответствии с #ГОСТ 14254# при условиях, указанных ниже.
Розетки для скрытой и полускрытой установки укрепляют на вертикальной стене в месте их использования в соответствующей монтажной коробке согласно инструкции предприятия-изготовителя.
Если в инструкции изготовителя не указан другой тип испытательной стены, то используют стену согласно рисунку 15. Испытательная стена изготовлена из кирпичей, имеющих гладкую поверхность. Монтажную коробку, размещенную в стене, устанавливают вплотную к стене так, чтобы вода не могла просочиться между коробкой и стеной.
Примечания
1 При использовании герметика для монтажа коробки в стену необходимо обратить внимание на то, чтобы герметик не влиял на изолирующие свойства образца.
2 На
рисунке 15 показан пример того, как грани монтажной коробки установлены в соответствующей плоскости. Другие положения возможны согласно инструкции изготовителя.
Размеры в миллиметрах
1 - кирпич; 2 - строительный раствор; 3 - монтажная коробка;
4 - плоскость установки
--------------------------------
<*> Размер для справок.
Примечание - Все швы строительного раствора толщиной (10 +/- 5) мм, если не указано иное.
Рисунок 15 - Блок строительной стены для проведения
испытаний в соответствии с требованиями
16.2.1
Испытания проводят в вертикальной плоскости. Стационарные розетки открытого типа монтируют как при нормальной эксплуатации и снабжают кабелями с наибольшим и наименьшим сечением согласно таблице 3, как адекватными их номинальному значению.
Переносные розетки испытывают в горизонтальной плоскости как при нормальной эксплуатации так, чтобы не было натяжения гибкого кабеля. Розетки снабжают гибкими кабелями согласно таблице 17, имеющими проводники наименьшего и наибольшего сечения согласно таблице 3, как адекватные их номинальному значению.
Винты, крепящие корпус или крышку, затягивают с крутящим моментом, равным 2/3 от значений, указанных в таблице 6.
Уплотнительные элементы затягивают с крутящим моментом, равным 2/3 от значений, указанных в 24.6.
Примечание - Сальники не устанавливают с применением герметика или ему подобного материала.
Детали, снимаемые без помощи инструмента, должны быть сняты.
Во время испытания розетка со степенью защиты меньше чем IPX5 должна иметь такую конструкцию со сливными отверстиями, чтобы одно отверстие было открыто в самом нижнем положении при нормальном использовании. Если корпус розетки имеет степень защиты выше чем IPX5, то при конструкции со сливными отверстиями они не должны быть открыты.
Во время испытаний дренажное отверстие должно быть закрыто.
Примечание - В Австрии, Австралии, Дании стационарные розетки также тестируются с включенным разъемом.
Вилки испытывают полностью вставленными сначала в стационарные, а затем в переносные розетки такой же системы и с той же степенью защиты от воды, как они определены в системе.
Примечание - В некоторых системах вилки и розетки могут иметь разную степень защиты.
Необходимо при испытании соблюдать осторожность, чтобы не повредить соединитель (сотрясением или постукиванием), что влияет на результаты испытаний.
При наличии дренажного отверстия у соединителя, что определяется визуальным осмотром, необходимо обеспечить слив воды без нарушения работоспособности соединителя.
Образцы должны выдержать испытания на электрическую прочность изоляции согласно 17.2 спустя 5 мин после завершения испытаний по этому пункту.
Соединители должны быть устойчивы к воздействию влаги, которая может быть при их нормальной эксплуатации.
Проверку проводят непосредственно до измерения сопротивления изоляции и испытания на электрическую прочность по разделу 17.
Вводные отверстия в корпусе, если таковые имеются, оставляют открытыми.
Снимаемые без применения инструмента детали снимают и подвергают проверке вместе с основной частью. Подпружиненные крышки во время проверки должны быть открытыми.
Испытуемые образцы помещают в камеру влажности.
Проверку проводят при относительной влажности воздуха от 91% до 95%.
Температуру воздуха (t) поддерживают в пределах от 20 °C до 30 °C с точностью до +/- 1 К.
Примечание - В Китае температура в камере влажности составляет (40 +/- 2) °C.
Перед помещением в камеру влажности испытуемые образцы доводят до температуры от t до (t + 4) °C.
Образцы выдерживают в камере влажности:
- 2 сут (48 ч) для обычных вилок и розеток, имеющих код IPX0;
- 7 сут (168 ч) для вилок и розеток, отличных от обычных, имеющих код выше чем IPX0.
Примечания
1 Выдержка образцов в камере должна заканчиваться не менее чем за 4 ч до проверки влагостойкости.
2 Относительная влажность воздуха от 91% до 95% может быть получена помещением в камеру влажности насыщенного раствора сульфата натрия (Na2SO4) или нитрата калия (KNO3) в воде, имеющих достаточно большую площадь соприкосновения с воздухом.
3 Для достижения нужных условий необходимо обеспечить постоянную циркуляцию воздуха в камере и использовать камеру с термоизоляцией.
После испытания образцы должны соответствовать требованиям настоящего стандарта.
17 Сопротивление и электрическая прочность изоляции
Сопротивление изоляции и электрическая прочность изоляции соединителей должны соответствовать нормируемым значениям.
Проверку проводят следующим испытанием непосредственно после испытаний по 16.3 в камере влажности или помещении, в котором испытуемые образцы доводят до указанной температуры после установки частей, снимаемых без применения инструмента, которые снимались во время других испытаний.
17.1 Сопротивление изоляции измеряют при напряжении постоянного тока приблизительно 500 В. Показания снимают по истечении 1 мин после приложения напряжения.
Сопротивление изоляции должно быть не менее 5 МОм.
17.1.1 Сопротивление изоляции для розеток измеряется последовательно между:
a) всеми полюсами, соединенными вместе, и корпусом при вставленной вилке;
b) каждым полюсом поочередно и всеми остальными полюсами, соединенными с корпусом, при вставленной вилке;
c) металлическим корпусом и металлической фольгой, соприкасающейся с внутренней поверхностью изолирующей прокладки, если таковая имеется.
Примечание - Это испытание проводят, если прокладка необходима для обеспечения изоляции;
d) любой металлической частью узла крепления шнура, включая зажимные винты, и заземляющими контактными зажимами или заземляющим контактом при их наличии;
e) любой металлической частью узла крепления шнура переносных розеток и металлического штыря с тем же диаметром, вставленного вместо провода (см. таблицу 17).
Под термином "корпус", применяемым в перечислениях a) и b), понимают все доступные металлические части, металлическую арматуру для крепления основных розеток для скрытой установки, металлическую фольгу, соприкасающуюся с внешней стороной наружных частей из изоляционного материала, крепежные винты оснований, крышки, накладки, наружные сборочные винты и заземляющие зажимы или контакты заземления.
Примечания
1 Измерения, указанные в
перечислениях c) -
e), не проводят на опрессованных переносных розетках.
2 При установке металлической фольги на наружную поверхность или внутреннюю часть изолирующих деталей ее прижимают к отверстиям или углублениям без чрезмерного усилия с помощью прямого испытательного щупа, имеющего те же размеры, что и стандартный испытательный щуп 11 по #ГОСТ МЭК 61032# <1>.
--------------------------------
<1> В Российской Федерации действует ГОСТ Р МЭК 61032-2000 "Защита людей и оборудования, обеспечиваемая оболочками. Щупы испытательные".
17.1.2 Сопротивление изоляции вилок измеряют последовательно между:
a) всеми соединенными вместе полюсами и корпусом;
b) каждым полюсом поочередно и всеми остальными полюсами, соединенными с корпусом;
c) любой металлической частью узла крепления шнура, включая зажимные винты, и заземляющим зажимом или контактом при их наличии;
d) любой металлической частью узла крепления шнура или металлического штыря с тем же диаметром, вставленного вместо провода или шнура (см. таблицу 17).
Под термином "корпус", применяемым в перечислениях a) и b), понимают все доступные металлические части, наружные крепежные винты, заземляющие зажимы и контакты, а также металлическую фольгу, соприкасающуюся с внешней поверхностью наружных частей из изоляционного материала, за исключением рабочей поверхности.
Примечания
2 При установке металлической фольги на наружную поверхность или на внутреннюю часть изолирующих деталей ее прижимают к отверстиям или углублениям без чрезмерного усилия с помощью прямого испытательного щупа, имеющего те же размеры, что и стандартный щуп 11 по #ГОСТ МЭК 61032# <1>.
--------------------------------
<1> В Российской Федерации действует ГОСТ Р МЭК 61032-2000 "Защита людей и оборудования, обеспечиваемая оболочками. Щупы испытательные".
17.2 Напряжение синусоидальной формы частотой 50 или 60 Гц прикладывают в течение 1 мин между частями, указанными в 17.1.
Испытательное напряжение должно быть:
- 1250 В - для соединителей на номинальное напряжение до 130 В включительно;
- 2000 В - для соединителей на номинальное напряжение свыше 130 В.
Вначале прилагают менее половины указанного напряжения, а затем его резко и быстро доводят до указанного.
В процессе испытания не должно быть пробоев и коротких замыканий.
Примечания
1 Трансформатор высокого напряжения, используемый для испытания, должен иметь такую конструкцию, чтобы при коротко замкнутых выходных контактных зажимах и при установленном выходном испытательном напряжении требуемой величины выходной ток был не менее 200 мА.
2 Реле не должно срабатываться при выходном токе менее 100 мА.
3 Рабочее значение испытательного напряжения должно измеряться с точностью +/- 3%.
4 Тлеющие разряды без падения напряжения не учитывают.
18 Работа заземляющего контакта
Заземляющие контакты должны обеспечивать достаточное контактное нажатие и не должны подвергаться износу при нормальных условиях эксплуатации.
19 Превышение температуры
Соединители должны иметь такую конструкцию, которая обеспечивает нормируемое превышение температуры при испытаниях.
Розетки и вилки проверяются в соответствии с
19.1, за исключением:
- стационарных розеток с предохранителями, на которые распространяется действие
19.2;
- вилки и переносные розетки со встроенными компонентами, на которые распространяется
19.3.
Соединители с несменяемым шнуром испытывают в изготовленном состоянии.
Разборные соединители испытывают с присоединенным проводом с поливинилхлоридной изоляцией с номинальным сечением, указанным в таблице 15.
Таблица 15
Токи и сечения медных проводников при испытании
на превышение температуры
Номинальный ток соединителя, А | Номинальное сечение, мм2 |
Гибкие провода для переносных соединителей | Жесткие однопроволочные или многопроволочные провода для стационарных соединителей |
До 13 включ. | 1,0 | 1,5 |
Св. 13 до 16 включ. | 1,5 | 2,5 |
Св. 16 | 4,0 | 6,0 |
Винты и гайки контактных зажимов затягивают крутящим моментом, равным 2/3 значения, указанного в 12.2.8.
Примечание - Для обеспечения нормального охлаждения контактных зажимов провод, присоединенный к ним, должен иметь длину 1 м.
Соединители для скрытой проводки монтируют в монтажных коробках. Соединитель в коробке помещают в испытательный блок, изготовленный из массива сосны. Пространство вокруг коробки заполняют штукатуркой так, чтобы передняя часть соединения не выступала более чем на 5 мм относительно передней поверхности испытательного блока.
Примечание - Испытательный блок после его изготовления должен высушиваться в естественных условиях не менее 7 сут.
Размер соснового бруса, который может быть изготовлен из более чем одного куска, должен быть таким, чтобы вокруг штукатурки было по меньшей мере 25 мм дерева, а толщина штукатурки составляла от 10 до 15 мм вокруг максимальных размеров сторон и задней части коробки.
Примечание - Внутренние боковые полости испытательного блока могут иметь цилиндрическую форму.
Кабель, присоединенный к розетке, должен проходить через крышку коробки, причем места входа должны быть изолированы, чтобы предотвратить циркуляцию воздуха. Длина каждого проводника в пределах коробки должна быть (80 +/- 10) мм.
Розетки для открытого типа должны быть смонтированы в центре деревянного блока с размерами: 20,0 мм - ширина, 500 мм - длина, 500 мм - толщина (высота).
Розетки других типов должны устанавливаться в соответствии с инструкцией изготовителя или, при ее отсутствии, в положении как при нормальной эксплуатации, но в наиболее неблагоприятных условиях.
Испытательное устройство используют в условиях окружающей среды, без сквозняков.
Примечания
1 В случае нерегламентируемых соединителей следует проявлять осторожность, чтобы минимизировать влияние на конструкцию/дизайн/эксплуатационные характеристики соединителя при доступе к его контактам.
2 Должны быть предприняты адекватные меры, чтобы избежать поражения электрическим током во время испытания.
Для принадлежностей, имеющих три полюса или более (заземляющие контакты, независимо от их количества, считаются одним полюсом), ток во время испытания должен проходить через фазовые контакты, где это применимо. Кроме того, должны проводиться отдельные испытания, пропуская ток через нейтральный контакт, если таковой имеется, и через соседний фазовый контакт и через заземляющий контакт, если таковой имеется, и ближайший фазовый контакт. Для целей данного теста заземляющие контакты, независимо от их количества, рассматриваются как один полюс.
В случае нескольких розеток испытание проводится на одной розетке каждого типа и номинального тока, при этом испытательный ток, указанный в таблице 20, проходит через эту одну розетку.
Превышение температуры, измеряемое с помощью термопар, на контактных зажимах, контактных соединениях и выводах в соответствии с рисунком 44 не должно превышать 45 К.
Примечания
1 Для целей испытания по
25.3 также определяется превышение температуры внешних частей изоляционного материала, необязательно удерживающего токопроводящие части и части цепи заземления, даже если они находятся в контакте с ними.
2 В ЮАР, когда в состав соединителей входят такие элементы, как диммеры, предохранители, переключатели, регуляторы энергии и т.д., встроенные элементы должны быть испытаны в соответствии с номинальными характеристиками, указанными изготовителем. Для испытания любой защитный элемент (например, плавкие предохранители или термические выключатели) должен быть накоротко замкнут звеном с незначительным сопротивлением.
19.1
Розетки испытываются с использованием испытательной вилки с латунными штырями, имеющими минимальные указанные размеры.
Испытательная вилка вставляется в розетку, и переменный ток, как указано в таблице 20, пропускается в течение 60+5 мин.
В случае нескольких розеток испытание проводится на одной розетке каждого типа и номинального тока, при этом испытательный ток, указанный в таблице 20, проходит через эту одну розетку.
Для этого испытания превышение температуры измеряют на контактных зажимах и контактных соединениях.
Вилка должна быть испытана в среде без сквозняков в центре плоского деревянного листа толщиной не менее 20 мм, шириной 500 мм и высотой 500 мм.
Вилки проверяются следующим образом.
Зажимные блоки, размеры которых указаны на рисунке 44, установлены на каждом токоведущем штыре и заземляющем штыре, если таковые имеются, на вилке. Каждый зажимной блок снабжен термопарой, которая может быть установлена вместе со штырем или зафиксирована в пределах пунктирной области на рисунке 44.
Если невозможно использовать зажимной узел, показанный на рисунке 44, из-за конструкции вилки, зажимной узел может быть модифицирован для проведения испытания.
В этом случае диаметр винта, резьбовое отверстие и общий объем модифицированного зажимного узла должны быть идентичны рисунку 44.
Затем винт помещается примерно посередине голой части штыря и затягивается с моментом 0,8 Н·м.
Переменный ток, как указано в таблице 20, пропускается в течение 60+5 мин.
Вилки с боковыми заземляющими контактами и упругими заземляющими контактами проверяются с использованием стационарной розетки, соответствующей настоящему стандарту и имеющей характеристики, близкие к средним из числа отобранных, но с минимальным размером штыря заземления, если таковой имеется.
Испытательная вилка вставляется в стационарную розетку, и переменный ток, указанный в таблице 20, пропускается в течение 60+5 мин.
19.2
Для стационарных розеток розетки и системы с штепсельной вилкой переменный ток, как указано в таблице 20, пропускается в течение 60+5 мин следующим образом.
a) Для одной розетки вилка вставляется в розетку, и 70% испытательного тока проходит через вилку.
Баланс общего испытательного тока пропускается одновременно через петлевое соединение, подключенное к контактным зажимам розетки. Общая номинальная нагрузка на кабель питания пропускается за 60+5 мин.
b) Для нескольких розеток вилка вставляется в одну розетку, и пропускается 70% испытательного тока.
Вторая вилка вставляется в другую розетку, и баланс общего испытательного тока пропускается одновременно через эту вилку. Общая номинальная нагрузка на кабель питания пропускается за 60+5 мин.
Примечания
1 Значение 70% относится к характеристикам предохранителей и указано в соответствующих национальных стандартах.
2 В случае стационарных розеток с диммерами, плавкими предохранителями, переключателями, регуляторами энергии и т.д. эти элементы замыкаются накоротко для целей этого испытания.
19.3
Переносные розетки и разборные вилки со встроенными компонентами проверяются следующими двумя испытаниями:
- с током, равным испытательному току, как указано в таблице 20 для раздела 19. Для этого испытания встроенные компоненты закорочены;
- с током, равным номинальному току переносного соединителя или номинальному току компонента(ов), в зависимости от того, что меньше.
Неразборные вилки со встроенными компонентами проверяются следующими двумя испытаниями:
- с током, равным испытательному току для комбинации вилки и кабеля, как указано в таблице 20 для раздела 19. Для этого испытания встроенные компоненты закорочены;
- с током, равным испытательному току для комбинации вилки и кабеля, как указано в таблице 20 для раздела 21, или номинального тока компонента(ов), в зависимости от того, что меньше.
В дополнение к проверке превышения температуры на контактных зажимах измеряется максимальное превышение температуры доступных металлических деталей, и оно должно быть не выше 30 К, а доступных неметаллических частей - не выше 40 К.
Примечания
1 В случае нерегламентируемых соединителей следует проявлять осторожность, чтобы минимизировать влияние на структуру/дизайн/производительность продукта при доступе к терминалам продукта.
2 Примерами "встроенных компонентов" являются выключатели и предохранители.
20 Отключающая способность
Соединители должны иметь соответствующую отключающую способность.
Проверку проводят испытанием розеток и вилок с полыми трубчатыми штырями с помощью установки, показанной на рисунке 16.
Размеры в миллиметрах
1 - вилка; 2 - розетка; 3 - стальной шар
Пружины, отличные от пружины В, выбирают и регулируют таким образом, чтобы сжатые на 1/3 разницы между длиной в нерабочем положении и полной длиной сжимаемой части пружины обеспечивали силу разъема, равную 1,2-кратному от соответствующей максимальной силы удерживания, указанной в
разделе 22.
Рисунок 16 - Установка для испытания соединителей
на нормальную работу
Разборные соединители снабжают проводом, как это указано в разделе 19.
Примечание - В случае выхода из строя шторок испытания розеток со шторками продолжают вручную.
Розетки испытывают, используя испытательные вилки с латунными штырями, имеющими изолированную часть, причем штыри должны быть максимальных размеров из указанных с допуском минус 0,06 мм и номинальное межосевое расстояние с допуском плюс 0,05 мм. Размеры изолированной части штыря не должны выходить за пределы допусков соответствующих стандартов.
Примечания
1 Изолированная часть штырей не важна для этого испытания при условии, что они соответствуют определенному стандарту.
2 Материал латунных штырей испытательной вилки не должен быть гальванизирован и должен иметь тип CuZn39Pb2 или CuZn39Pb3, а их состав должен быть однородным.
Концы круглых штырей должны быть скругленными.
Вилки испытывают с помощью стационарной розетки, соответствующей требованиям настоящего стандарта и имеющей усредненные характеристики из числа отобранных.
Примечание - Штыри испытательной вилки перед началом испытаний должны быть в хорошем состоянии.
Для испытаний соединителей с номинальным напряжением до 250 В включительно и токами до 16 А включительно длина хода подвижной части установки должна быть от 50 до 60 мм.
Примечание - Длина хода для соединителей с другими характеристиками находится в стадии рассмотрения.
Вилку в розетку вставляют и вынимают из нее в течение 50 циклов (100 движений или раз) с частотой:
- 30 раз в 1 мин - для соединителей на номинальный ток до 16 А включительно и номинальное напряжение до 250 В включительно;
- 15 раз в 1 мин для соединителей, рассчитанных на другие номинальные значения тока и напряжения.
Примечание - Движением считают включение или отключение вилки.
Испытательное напряжение устанавливают 1,1 номинального значения напряжения, а испытательный ток - 1,25 номинального тока.
Время с момента вставления вилки в розетку (при прохождении испытательного тока) до ее отключения должно быть:
- для соединителей до 16 А включительно - 1,5+0,5 с;
- для соединителей свыше 16 А - 3,0+0 5 с.
Соединители испытывают переменным током в цепях с коэффициентом мощности
.
Ток не должен пропускаться через заземляющую цепь при ее наличии.
Схема соединения при испытаниях приведена на рисунке 17. Двухполюсные соединители с нейтральным контактом (2P + N и 2P + N +
) присоединяют к двум фазам и нейтрали трехфазной электрической сети.
1 - металлическая опора
Рисунок 17 - Схема соединения для испытания
на нормальную работу
Не допускается параллельное присоединение активных и индуктивных сопротивлений, за исключением случаев, когда при применении индуктивного сопротивления без стального сердечника параллельно ему присоединяют активное сопротивление, забирающее приблизительно 1% от тока, проходящего через индуктивность.
Допускается применение индуктивностей со стальным сердечником при условии, что ток имеет синусоидальную форму.
При испытании трехполюсных соединителей следует использовать индуктивности с тремя сердечниками.
В двухполюсных соединителях доступные металлические части, металлическую опору и металлическую арматуру для крепления основания розеток при скрытой установке присоединяют через селекторный выключатель C к одному из полюсов источника питания для одной половины нормируемых испытательных циклов и к другому полюсу - для другой половины циклов.
Для трехполюсных соединителей их присоединяют поочередно к каждому полюсу источника для 1/3 общего нормируемого количества циклов.
Для многоместных розеток и удлинителей испытание проводят при номинальном токе на одной розетке.
Во время испытаний не должно наблюдаться устойчивой электрической дуги.
После испытаний не должно быть повреждений образцов, препятствующих их дальнейшей работе, в частности отверстий для штырей, которые могут повлиять на их безопасность согласно требованиям настоящего стандарта.
Соединители должны выдерживать без повышенного износа или других неблагоприятных результатов механические, электрические и тепловые перегрузки, возникающие при их нормальной эксплуатации.
Проверку проводят испытанием розеток и вилок с упругим заземляющим контактом или с полыми трубчатыми штырями с помощью соответствующего испытательного устройства, например такого, как показано на рисунке 16.
Испытательные штыри (при испытаниях розеток) и стационарные розетки (при испытании вилок с полыми штырями и упругими заземляющими контактами) должны заменяться после 4500 и 9000 движений.
Изготовитель должен указать пункт 1, 2 или 3 рисунка 43, с которого должна начинаться программа испытаний. Если изготовитель указывает на пункт 2 или 3, испытания начинают с использованием новых образцов, которые ранее испытывались по программе раздела 20 в условиях, требуемых к пунктам 2 или 3.
Розетки испытывают, используя испытательные вилки с латунными штырями, имеющими изолированную часть, причем штыри должны иметь максимальные размеры из указанных с допуском минус 0,06 мм и номинальное межосевое расстояние с допуском плюс 0,05 мм. Размеры изолированной части штыря не должны выходить за пределы допусков соответствующих стандартов.
Примечания
1 Форма штырей с изолированной частью не имеет значения при испытаниях при условии, что они соответствуют определенному стандарту.
2 Материал латунных штырей испытательной вилки не должен быть гальванизирован и должен иметь тип CuZn39Pb2 или CuZn39Pb3, а их состав должен быть однородным.
Концы круглых штырей должны быть скругленными по сфере.
Вилки испытывают с помощью стационарной розетки, соответствующей требованиям настоящего стандарта и имеющей усредненные характеристики из числа отобранных образцов.
Примечание - Штыри испытательной вилки перед началом испытаний должны быть в хорошем состоянии.
Образцы испытывают переменным током, указанным в таблице 20, в цепях с коэффициентом мощности
при номинальном напряжении.
Вилку вставляют в розетку и вынимают из розетки в течение 5000 циклов (10 000 движений или раз) с частотой:
- 30 раз в 1 мин - для соединителей на номинальный ток до 16 А включительно и номинальное напряжение до 250 В включительно;
- 15 раз в 1 мин - для соединителей, рассчитанных на другие номинальные значения тока и напряжения.
Примечание - Движением считают включение и отключение вилки.
Для соединителей на номинальные токи до 16 А включительно испытательный ток пропускают при каждом включении вилки.
Во всех других случаях номинальный ток пропускают через один испытательный цикл. Вилки вставляют и извлекают без токовой нагрузки.
Время с момента вставления вилки в розетку (при прохождении испытательного тока) до ее изъятия должно быть:
- для соединителей до 16 А включительно - 1,5+0,5 с;
- для соединителей более 16 А - 3+0,5 с.
Ток не пропускают через заземляющую цепь при ее наличии.
При испытании используют схему соединения, приведенную в разделе 20. Управление селекторным выключателем C также приводится в разделе 20.
Многоместные розетки испытывают при номинальном токе на розетке каждого типа.
Во время испытаний не должно наблюдаться устойчивой электрической дуги.
В результате испытания не должно быть:
- износа соединителей, препятствующих их дальнейшей работе;
- механического истирания корпуса, изоляционных прокладок или перегородок;
- повреждения вводных отверстий розеток для штырей вилок, которые препятствовали бы их дальнейшей работе;
- ослабления механических и электрических соединений;
- утечки заливочной массы.
Для проверки розеток со шторками следует использовать измерительный прибор, приведенный на рисунке 9, наконечником которого воздействуют на входные отверстия, соответствующие токоведущим контактам, с силой 20 Н последовательно в трех направлениях, не извлекая при этом наконечник после каждого движения.
Затем воздействуют подобным прибором, показанным на рисунке 10, с измерительным наконечником другой формы в течение 5 с силой до 1 Н в трех направлениях с независимыми движениями, но уже вынимая наконечник после каждого движения.
Измерительные наконечники калибров не должны касаться токоведущих деталей в процессе испытаний.
Электрический индикатор с рабочим напряжением не менее 40 В и не более 50 В применяют для выявления контакта между наконечником прибора и деталью соединителя.
После испытаний образцы должны соответствовать требованиям раздела 19 при испытательном токе по разделу 21, и превышение температуры для образцов в любой точке должно быть не более 45 °C. Испытуемые образцы должны также выдерживать испытание на электрическую прочность изоляции по 17.2, при этом испытательное напряжение должно быть 1500 В для соединителей на номинальное напряжение 250 и 1000 В - для соединителей на номинальное напряжение 130 В.
Примечание - В этом случае образцы не обрабатывают в соответствии с
16.3 перед проверкой электрической прочности изоляции.
После испытаний по данному разделу проводят испытания по 13.2 и 14.2.
22 Усилие при разъеме штырей вилки с гнездами розетки
Конструкция соединителей должна обеспечивать легкое вставление и извлечение вилки из розетки, а также исключать ее самопроизвольное выпадение при нормальной эксплуатации.
В этом испытании упругие заземляющие контакты, независимо от количества, рассматриваются как один полюс, а неупругие заземляющие контакты, независимо от количества, не считают одним полюсом.
Примечание - Жесткий штырь, используемый в цепи заземления, не является упругим заземляющим контактом.
Соединители испытывают в разомкнутом положении.
Проверку розеток проводят с целью определения:
- максимального усилия, необходимого для разъема испытательной вилки с розеткой, которое должно быть не выше значения, указанного в таблице 16;
- минимального усилия, необходимого для разъема испытательной вилки с розеткой, которое должно быть не ниже значения, указанного в таблице 16.
Таблица 16
Максимальная и минимальная сила разъема
испытательного калибра вилки из розетки
Номинальный ток соединителей, А | Число полюсов | Усилие разъема вилки с розеткой, Н |
Многоштыревой калибр, максимальное | Одиночный калибр, минимальное | Одиночный калибр, максимальное <a> |
До 13 А включ. | 2 | 40,0 | 1,5 | 17,0 |
3 | 50,0 |
5 | 70,0 |
Св. 13 до 16 А включ. | 2 | 50,0 | 2,0 | 25,0 |
3 | 54,0 |
Св. 3 | 70,0 |
Св. 16 до 32 А включ. | 2 | 80,0 | 3,0 | 27,0 |
3 |
Св. 3 | 100,0 |
<a> Усилие разъема указано для проверки упругости заземляющих контактов розетки. |
Для вилок с упругими заземляющими контактами:
- максимального усилия, необходимого для разъема испытательной вилки с контактными гнездами цепи заземления розетки, не выше значения, указанного в таблице 16;
- минимального усилия, необходимого для разъема испытательной вилки с контактными гнездами цепи заземления розетки, не ниже значения, указанного в таблице 16.
22.1 Проверка максимального усилия разъема
22.1.1 Испытание для розеток
Розетки закрепляют в держателе монтажной плиты A установки, приведенной на рисунке 18, таким образом, чтобы оси контактных гильз находились в вертикальной плоскости, а отверстия для штырей были ориентированы вниз.
Размеры в миллиметрах
| | ИС МЕГАНОРМ: примечание. Текст дан в соответствии с официальным текстом документа. | |
1 - держатель; 2 - образец; 3 - испытуемая вилка;
5 - захват; 6 - основной груз; 7 - опора
Рисунок 18 - Установка для проверки усилия разъема штырей
вилки с гнездами розетки
Испытательные вилки должны иметь полированные штыри из закаленной стали с шероховатостью поверхности от 0,6 до 0,8 мкм на активной длине, а их межосевое расстояние должно быть с номинальным допуском +/- 0,05 мм.
Диаметр круглых штырей и расстояние между контактными поверхностями для штырей иной формы должны иметь максимальные значения с допуском минус 0,01 мм.
Примечание - Максимальным из указанных значений является номинальный размер с максимальным допуском.
Перед началом каждого испытания штыри обезжиривают, используя холодный химический обезжириватель.
Примечание - При использовании средств для обезжиривания должны быть приняты необходимые меры предосторожности, чтобы предотвратить вдыхание паров.
Испытательную вилку, имеющую максимальные размеры штырей для соответствующего номинального тока, в течение 10 циклов вставляют в розетку и вынимают из нее. Затем вилку вновь вставляют в розетку, при этом опору E для основного груза F и дополнительного груза G крепят к ней захватом D. Масса дополнительного груза должна обеспечивать силу, равную 1/10 максимальной нормируемой силы разъема, указанной в таблице 16.
Основной груз навешивают таким образом, чтобы не вызвать сотрясение вилки, а дополнительный груз с высоты 50 мм падает на основной груз.
Вилка не должна оставаться в розетке.
22.1.2 Испытание для вилок с упругими заземляющими контактами
Испытательный штырь, приведенный на рисунке 19, применяют к упругому заземляющему контакту, в то время как вилка в вертикальном положении и испытательный штырь висит вниз.
Примечания
1 Масса калибра должна быть равномерно распределена относительно осевой линии.
2 Размеры калибра выбирают по соответствующим стандартам.
Рисунок 19 - Калибр для определения минимального усилия
при разъеме штырей вилки с гнездами розетки
Штырь испытательного шаблона изготовлен из закаленной стали с шероховатостью поверхности от 0,6 до 0,8 мкм на его активной длине.
Диаметр круглого штыря калибра и расстояния между поверхностями контакта для штырей должны иметь максимальные значения с допуском минус 0,01 мм. Масса шаблона должна обеспечивать силу, равную максимальной нормируемой силе разъема, указанной в таблице 16.
Примечание - Максимальным из указанных значений является номинальный размер с максимальным допуском.
Перед началом каждого испытания штыри обезжиривают, используя холодный химический обезжириватель.
Примечание - При использовании средств для обезжиривания штырей должны быть приняты необходимые меры предосторожности от паров химического средства для обезжиривания.
Испытательный штырь, имеющий максимальные размеры, вставляют и извлекают из заземляющего контакта 10 раз. После вставляют снова, и он не должен оставаться в заземляющем контакте.
22.2 Проверка минимального усилия разъема
Испытательный штырь, приведенный на рисунке 19, применяют к каждому индивидуальному контакту с розеткой или вилкой таким образом, что испытательный штырь висит вниз.
Влияние шторок на усилие разъема, при их наличии, необходимо исключить.
Испытательный калибр вилки должен быть изготовлен из закаленной стали с шероховатостью поверхности от 0,6 до 0,8 мкм на активной длине.
Штырь вилки-калибра должен иметь минимальные размеры поперечного сечения с допуском минус 0,01 мм и длину, достаточную для обеспечения контакта с розеткой. Общая масса калибра должна создавать усилие разъема, приведенное в таблице 16.
Если в розетку вставляют вилки со штырями других размеров, то они должны быть минимальными.
В этом случае номинальное значение соединителя в таблице 16 является номинальным значением вилки с наименьшими размерами для штырей.
Примечание - Минимальным из указанных значений является номинальный размер с минимальным допуском.
Перед началом каждого испытания штыри обезжиривают с помощью холодного химического обезжиривателя.
Примечание - При использовании жидких средств для обезжиривания штырей должны быть приняты необходимые меры предосторожности, чтобы предотвратить вдыхание паров.
Испытательный калибр вилки осторожно вставляют в розетку, соблюдая осторожность, чтобы не повредить узел при проверке минимальной силы разъема калибра вилки из розетки.
Испытательный калибр вилки не должен выпадать из гнездовых контактов розетки в течение 30 с.
23 Гибкие кабели, шнуры и их присоединение
23.1 Разборные вилки и разборные переносные розетки должны иметь устройства, предназначенные для защиты присоединяемых проводов и шнуров от натяжения и скручивания в месте присоединения к контактным зажимам, а их изоляция должна быть защищена от истирания.
Оболочка гибкого кабеля, если таковая имеется, должна быть зажата внутри крепления шнура.
Соответствие проверяют визуальным осмотром и испытанием по 23.2.
Неразборные вилки и неразборные переносные розетки должны быть разработаны так, чтобы кабель удерживался на месте и контактные соединения были защищены от деформации и скручивания.
Оболочка гибкого кабеля, если таковая имеется, должна заканчиваться внутри корпуса.
Проверку проводят испытаниями по 23.2 и 23.4.
23.2 Эффективность устройства крепления провода или шнура проверяют следующим испытанием с использованием установки, приведенной на рисунке 20.
Размеры в миллиметрах
1 - эксцентрик; 2 - ручка; 3 - образец
Рисунок 20 - Установка для испытания узла крепления шнура
Неразборные соединители испытывают с тем кабелем или шнуром, который у них имеется. Испытания проводят на новых образцах.
Разборные соединители испытывают с жилами кабеля наименьшего сечения, а затем с жилами кабеля наибольшего сечения из указанных в таблице 17.
Таблица 17
Соотношение токов и внешнего размера кабелей с жилами
наименьшего и наибольшего сечений при испытании разборных
соединителей
Номинальные токи и напряжения | | Тип кабеля или шнура по #ГОСТ IEC 60227# (кодовое обозначение) | Число проводников и номинальные сечения, мм2 | Наружные диаметры кабеля или шнура, мм |
не менее | не более |
От 6 до 13 А включ., до 250 В включ. <a> | 2 | 60227 IEC 42 | 2 x 0,75 | 2,70 x 5,40 | 3,20 x 6,40 |
60227 IEC 53 | 2 x 0,75 | 3,80 x 6,00 | 5,20 x 7,60 |
От 6 до 13 А включ., до 250 В включ. | 2 | 60227 IEC 42 | 2 x 0,75 | 2,70 x 5,40 | 3,20 x 6,40 |
60227 IEC 53 | 2 x 1,00 | 6,40 | 8,00 |
3 | 60227 IEC 53 | 3 x 0,75 | - | - |
60227 IEC 53 | 3 x 1,00 | 6,40 | 8,40 |
Св. 13 до 16 А включ., до 250 В включ. | 2 | 60227 IEC 42 | 2 x 0,75 | 2,70 x 5,40 | 3,20 x 6,40 |
60227 IEC 53 | 2 x 1,50 | 7,40 | 9,00 |
3 | 60227 IEC 53 | 3 x 0,75 | - | - |
60227 IEC 53 | 3 x 1,50 | 6,40 | 9,80 |
Св. 10 до 16 А включ., св. 250 В | 3 | 60227 IEC 53 | 3 x 1,00 | 6,80 | 12,00 |
60227 IEC 53 | 3 x 2,50 | - | - |
4 | 60227 IEC 53 | 4 x 1,00 | 7,60 | 13,00 |
60227 IEC 53 | 4 x 2,50 | - | - |
5 | 60227 IEC 53 | 5 x 1,00 | - | - |
60227 IEC 53 | 5 x 2,50 | 8,30 | 14,00 |
Св. 16 А, до 440 В включ. | 2 | 60227 IEC 53 | 2 x 2,50 | 8,90 | 11,00 |
60245 IEC 66 | 2 x 6,00 | 13,50 | 18,50 |
3 | 60227 IEC 53 | 3 x 2,50 | 9,60 | 12,00 |
60245 IEC 66 | 3 x 6,00 | 14,50 | 20,00 |
4 | 60227 IEC 53 | 4 x 2,50 | 10,50 | 13,00 |
60245 IEC 66 | 4 x 6,00 | 16,50 | 22,00 |
5 | 60227 IEC 53 | 5 x 2,50 | 11,50 | 14,00 |
60245 IEC 66 | 5 x 6,00 | 18,00 | 24,50 |
<a> Исключительно для двухжильного плоского гибкого кабеля. <b> Заземляющие контакты, независимо от их числа, считают одним полюсом. |
Соединители, предназначенные для эксплуатации исключительно с плоским гибким кабелем, испытывают только с плоскими гибкими кабелями.
Жилы гибкого кабеля или шнура разборных соединителей присоединяют к контактным зажимам, винты контактных зажимов затягивают так, чтобы исключить возможность изменения положения провода.
Устройство крепления шнура используют, как обычно, его зажимные винты, если таковые имеются, затягивают крутящим моментом, равным 2/3 указанного в таблице 6.
После повторной сборки испытуемого образца его части должны быть хорошо подогнаны, и должна быть исключена возможность продвижения кабеля или шнура в образец сверх установленного предела.
Проверяемый образец устанавливают на испытательный прибор так, чтобы оси кабеля или шнура располагались вертикально в месте ввода их в образец.
Затем к кабелю или шнуру прикладывают 100 раз силу:
- 50 Н - для соединителей на номинальный ток 2,5 А;
- 60 Н - для соединителей на номинальный ток от 2,5 А до 16 А и номинальное напряжение до 250 В включительно;
- 80 Н - для соединителей на номинальный ток от 2,5 А до 16 А и номинальное напряжение свыше 250 В;
- 100 Н - для соединителей на номинальный ток свыше 16 А.
Силу прикладывают плавно, без рывков каждый раз в течение 1 с.
Сила должна прикладываться ко всем элементам (изоляция, оболочка, жила) гибкого кабеля или шнура одновременно.
Сразу же после этого гибкий кабель или шнур подвергают в течение 1 мин воздействию крутящего момента, указанного в таблице 18.
Таблица 18
Соотношение токов и прилагаемых крутящих моментов
при испытании гибких кабелей
Номинальный ток и напряжение вилок или переносных розеток | Крутящий момент, Н·м |
Число жил x сечение, мм |
2 x 0,5 | 2 x 0,75 | 3 x 0,5 | 3 x 0,75 | (2 или более) x 1 |
До 16 А и 250 В | 0,1 | 0,15 | 0,15 | 0,25 | 0,25 |
От 16 А и св. 250 В | - | - | - | - | 0,35 |
Св. 16 А | - | - | - | - | 0,425 |
Вилки со шнуром, обернутым фольгой, не подвергают испытаниям крутящим моментом.
После испытаний кабель или шнур не должен смещаться более чем на 2 мм. В разборных соединителях жилы проводов не должны заметно смещаться в контактных зажимах.
В неразборных соединителях не должно быть разрывов в местах электрических соединений. Для измерения продольного смещения перед началом испытания наносят метку на кабеле или шнуре на расстоянии примерно 20 мм от края образца или ограничителя шнура.
Если неразборные соединители не имеют четкого края образца или ограничителя шнура, то на корпусе образца делают дополнительную метку.
После испытания измеряют смещение метки на кабеле или шнуре относительно образца или ограничителя шнура, пока кабель или шнур еще находится под натяжением.
Кроме того, для разборных соединителей на номинальный ток до 16 А включительно необходимо проверить пробным монтажом пригодность присоединения к соединителям соответствующего кабеля согласно таблице 19.
Таблица 19
Соотношение между токами, числом полюсов
и структурой проводников
Номинальные параметры соединителей | | Тип кабеля или шнура по #ГОСТ IEC 60245# (кодовое обозначение) | Число проводов и номинальные сечения, мм2 | Максимальные размеры для гибкого кабеля, мм |
От 6 до 13 А включ., до 250 В включ. <a> | 2 | 60245 IEC 51 | 2 x 0,75 | 8,0 |
От 6 до 13 А включ., до 250 В включ. | 2 | 60245 IEC 53 | 2 x 1,00 | 8,8 |
3 | 60245 IEC 53 | 3 x 1,00 | 9,2 |
От 13 до 16 А включ., до 250 В включ. | 2 | 60245 IEC 53 | 2 x 1,50 | 10,5 |
3 | 60245 IEC 53 | 3 x 1,50 | 11,0 |
От 10 до 16 А включ., св. 250 В | 3 | 60245 IEC 53 | 3 x 2,50 | 13,0 |
4 | 60245 IEC 53 | 4 x 2,50 | 14,0 |
5 | 60245 IEC 53 | 5 x 2,50 | 15,5 |
<a> Исключительно для двухжильных проводов без общей оболочки. <b> Заземляющие контакты, независимо от их числа, считают одним полюсом. |
23.3 Неразборные вилки и неразборные переносные розетки должны быть оснащены гибким кабелем, соответствующим сериям стандартов #ГОСТ IEC 60227# или #ГОСТ IEC 60245#. Сечения проводов в зависимости от номинальных параметров соединителя приведены в
таблице 20.
Примечание - В
таблице 20 также указан испытательный ток для проверки превышения температуры и нормальной работы соединителей.
Таблица 20
Соотношение между токами, сечением проводников
и типами соединителей
Номинальный ток и напряжение соединителей | Разборные стационарные соединители | Разборные переносные соединители | Неразборные переносные розетки | Неразборные вилки |
Испытательный ток, А | Испытательный ток, А | Сечение, мм2 | Испытательный ток, А | Сечение, мм2 | Испытательный ток, А |
| | | | | | | |
2,5 А 130/250 В | - | - | - | - | - | - | - | Фольга | 1,00 | 1,00 |
0,50 | 2,50 | 2,50 |
0,75 | 4,00 | 2,50 |
1,00 | 4,00 | 2,50 |
6 А 130/250 В | 9,0 | 6,0 | 8,4 | 6,0 | - | - | - | Фольга | 1,00 | 1,00 |
0,50 | 2,50 | 2,50 |
0,75 | 9,00 | 6,00 |
1,00 | 9,00 | 6,00 |
10 А 130/250 В | 16,0 | 10,0 | 14,0 | 10,0 | 0,75 | 10,0 | 10,0 | 0,50 | 2,50 | 2,50 |
1,00 | 12,0 | 12,0 | 0,75 | 10,00 | 10,00 |
1,50 | 16,0 | 16,0 | 1,00 | 12,00 | 10,00 |
13 А с плавкими вставками | 20 | 13 | 17 | 13 | 0,5 | 3,5 | 3,00 | 0,5 | 3,5 | 3,00 |
0,75 | 7,00 | 6,00 | 0,75 | 7,00 | 8,00 |
1,00 | 11,00 | 10,00 | 1,00 | 11,00 | 10,00 |
1,50 | 14,00 | 13,00 | 1,50 | 14,00 | 13,00 |
13 А 250 В | 17,0 | 13,0 | 17,0 | 13,0 | | | | 0,5 | 2,50 | 2,50 |
0,75 | 10,0 | 10,0 | 0,75 | 10,00 | 10,00 |
1,00 | 12,0 | 12,0 | 1,00 | 12,00 | 12,00 |
1,50 | 13,0 | 16,0 | 1,50 | 13,00 | 16,00 |
16 А 130/250 В | 22,0 | 16,0 | 20,0 | 16,0 | | | | Фольга | 1,00 | 1,00 |
| 16,0 | 16,0 | 0,50 | 2,50 | 2,50 |
1,50 | 16,0 | 16,0 | 0,75 | 10,00 | 10,00 |
| | | 1,00 | 12,00 | 12,00 |
| 16,00 | 16,00 |
1,50 | 16,00 | 16,00 |
10 А 440 В | 16,00 | 10,00 | 14,00 | 10,00 | 1,00 | 12,0 | 10,0 | 1,00 | 12,00 | 10,00 |
1,50 | 16,0 | 10,0 |
16А 440 В | 22,00 | 16,00 | 20,00 | 16,00 | 1,50 | 16,00 | 16,00 | 1,50 | 16,00 | 16,00 |
2,50 | 22,00 | 22,00 |
25 А 250 В | 32,0 | 25,0 | 32,0 | 25,0 | - | - | - | - | - | - |
32 А 130/250/440 В | 40,00 | 32,00 | 40,00 | 32,00 | 2,50 | 25 | 25 | 2,50 | 25,00 | 25,00 |
4,00 | 31,00 | 31,00 |
6,00 | 42,00 | 32,00 |
<a> Кабели с поперечным сечением жилы 1 мм 2 должны иметь длину не более 2 м. Примечания 1 Шнуры, обернутые фольгой, и шнуры сечением 0,5 мм2 можно применять длиной не более 2 м. 2 Неразборные вилки и удлинители испытывают, как указано в соответствующих стандартах (настоящий стандарт - для вилок; серия стандартов ГОСТ 30851 - для приборных соединителей), причем каждый соединитель испытывают независимо от другого. 3 Испытательный ток для соединителей, имеющих иные номинальные токи, определяют интерполяцией между ближайшим наименьшим и наибольшим номинальными значениями, за исключением раздела 19 для испытательных токов для разборных соединителей, которые должны быть следующими: - для In <= 10 А испытательный ток = 1,4In; - для In >= 10 А испытательный ток = 1,25In. 4 В Великобритании используются кабели сечением 1,25 мм2. |
Гибкие кабели или шнуры должны иметь такое же число проводов, как и число полюсов у вилки или розетки. Заземляющие контакты, если таковые имеются, считают одним полюсом, независимо от их числа. Провод, присоединенный к заземляющему контакту, должен быть обозначен комбинацией желтого и зеленого цветов.
Проверку проводят визуальным осмотром, измерениями и испытанием гибкого кабеля или шнура в соответствии с сериями стандартов #ГОСТ IEC 60227# или #ГОСТ IEC 60245# в зависимости от обстоятельств.
23.4 Неразборные вилки и неразборные переносные розетки должны быть разработаны так, чтобы гибкий кабель был защищен от чрезмерного изгиба на вводе в соединитель.
Предназначенное для этого ограничительное устройство должно быть из изолирующего материала и надежно укрепляться.
Примечание - Спиральные металлические пружины непокрытые или с изолирующим покрытием не должны использоваться в качестве ограничительного устройства.
Проверку проводят визуальным осмотром и испытанием на изгиб с помощью прибора, приведенного на рисунке 21.
Размеры в миллиметрах
1 - устройство для закрепления образца;
2 - образец; 3 - груз
Регулировку устройств для закрепления образца для различных соединителей проводят в соответствии с
23.4.
Рисунок 21 - Установка для испытания узла крепления шнура
Испытания проводят на новых образцах.
Испытуемый образец укрепляют на приборе так, чтобы ось гибкого кабеля или шнура на вводе в образец располагалась вертикально, когда образец находится в середине амплитуды качания (на оси испытательного прибора).
Испытуемые образцы с плоским шнуром монтируют так, чтобы главная ось шнура была параллельна оси испытательного прибора.
Соединитель закрепляют в испытательном приборе следующим образом:
- вилку - на штырях;
- переносную розетку - на расстоянии от 4 до 5 мм (временные значения) от рабочей поверхности по направлению к шнуру. Испытательная вилка, имеющая максимальные размеры, должна в процессе испытания вставляться в переносную розетку.
Изменяя расстояние между неподвижной частью прибора и его осью, соединитель располагают так, чтобы кабель или шнур совершал минимальные горизонтальные движения, когда прибор качается по полной амплитуде.
Примечания
1 Для определения опытным путем монтажного положения шнура с минимальным горизонтальным движением в процессе испытания прибор выполняют таким образом, чтобы опорные части для соединителей, устанавливаемых на прибор, могли легко регулироваться.
2 Рекомендуются приспособления (например, прорезь или штыри), позволяющие наблюдать, совершает ли шнур минимальные горизонтальные движения.
К кабелю или шнуру прикладывают силу:
- 20 Н - для соединителей с кабелем или шнуром номинальным сечением более 0,75 мм2;
- 10 Н - для соединителей с кабелем или шнуром номинальным сечением 0,75 мм2 и менее.
Через провод (шнур, кабель) пропускают ток, равный номинальному току соединителя, или один из следующих минимальных:
- 16 А - для соединителей с кабелем или шнуром номинальным сечением более 0,75 мм2;
- 10 А - для соединителей со шнуром номинальным сечением 0,75 мм2;
- 2,5 А - для соединителей со шнуром номинальным сечением менее 0,75 мм2.
Напряжение между проводами должно быть равно номинальному напряжению испытуемого образца.
Качающаяся часть должна иметь угол отклонения 90° (45° в каждую сторону от вертикали), число изгибов 10 000 при скорости 60 изгибов в 1 мин.
Примечание - Изгиб - это одно движение вправо или влево.
После 5000 изгибов испытуемые образцы с кабелем или шнуром круглого сечения проворачивают на 90° в качающейся части. Образцы с плоским шнуром изгибают только в направлении, перпендикулярном оси провода.
В процессе испытания на изгиб не должны иметь место:
- прерывание тока;
- короткое замыкание между жилами проводов.
Примечание - Короткое замыкание между жилами гибкого кабеля или шнура считают тогда, когда ток возрастает более чем в два раза относительно испытательного тока соединителя.
После испытания ограничительное устройство, если таковое имеется, не должно отделяться от основания, а изоляция гибкого кабеля или шнура не должна иметь следов износа или потертостей. Сломанный провод многопроволочной жилы не должен прокалывать изоляцию, становясь тем самым доступным для прикосновения.
24 Механическая прочность
Соединители, выступающие монтажные коробки, ввинчиваемые уплотнения и кожухи должны иметь соответствующую механическую прочность для того, чтобы выдерживать нагрузки, возникающие в процессе монтажа и эксплуатации.
Проверку механической прочности проводят соответствующим испытанием по 24.1 - 24.13.
Для всех видов стационарных розеток - по 24.1.
Для стационарных розеток с основанием, предназначенным для установки непосредственно на поверхность, - по 24.3.
Для переносных одноместных розеток:
- с корпусами, крышками или основаниями не из эластомера или термопласта - по 24.2;
- с корпусами, крышками или основаниями из эластомера или термопласта - по 24.2, 24.4 и 24.5.
Для удлинителей:
- с корпусами, крышками или основаниями не из термопласта или эластомера - по 24.1 и 24.9;
- с корпусами, крышками или основаниями из эластомера или термопласта - по 24.1, 24.4 и 24.9.
Для вилок:
- с корпусами, крышками или основаниями не из эластомера или термопласта - по 24.2 и 24.10;
- с корпусами, крышками или основаниями из эластомера или термопласта - по 24.2, 24.4, 24.5 и 24.10.
Для ввинчиваемых уплотнителей соединителей, отличных от обычных, с кодом IP выше чем IP20 - по 24.6.
Для штырей вилок с частично опрессованной изоляционной частью - по 24.7.
Для розеток со шторками - по 24.8.
Для монтажных коробок открытого типа - по 24.1.
Для переносных розеток со средствами подвески на стене - по 24.11 - 24.13.
Для кожуха переносных розеток - по 24.19.
24.1
Испытуемые образцы подвергают ударам с помощью испытательной установки с маятниковым молотком с эквивалентной массой 250 г, как описано в #ГОСТ 30630.1.10# (испытание Eha).
Испытуемый образец устанавливают на квадратном листе фанеры со стороной размером 175 мм и толщиной 8 мм, который в верхнем и нижнем углах крепят к жестким кронштейнам, являющимся частями основания монтажного устройства.
Монтажное основание должно иметь массу, равную (10 +/- 1) кг, и монтироваться на жесткой раме с помощью шарниров. Раму крепят к прочной стене.
Конструкцией установки должна быть предусмотрена возможность удержания ударного элемента в горизонтальном положении в случае приложения силы от 1,9 до 2,0 Н. |
Конструкцией установки должна быть предусмотрена возможность:
- размещения проверяемого образца так, чтобы точка удара лежала в вертикальной плоскости по оси шарнира;
- движения проверяемого образца в горизонтальном направлении и вращения его вокруг оси, перпендикулярной к поверхности фанерного листа;
- вращения фанерного листа на 60° вокруг вертикальной оси в оба направления.
Розетки для открытого типа, удлинители и монтажные коробки устанавливают на листе фанеры как при нормальной эксплуатации.
Вводные отверстия соединителей под провод, которые не имеют пробиваемых диафрагм, оставляют открытыми. Если имеются пробиваемые диафрагмы, то одну из них пробивают.
Розетки для скрытой установки устанавливают в углубление бруска из граба или аналогичного материала, который крепят к листу фанеры, а не в монтажную коробку.
При использовании деревянных брусков направление волокон древесного волокна должно быть перпендикулярно к направлению удара.
Розетку для открытого типа с винтовым креплением следует крепить винтами к кронштейнам, утопленным в бруске. Аналогичные розетки с креплением с помощью распорных лапок с зубцами крепят к бруску с помощью заостренных зубцов.
Перед испытанием на удар крепежные винты затягивают крутящим моментом, равным 2/3 от соответствующего значения, указанного в таблице 6.
Испытуемые образцы устанавливают так, чтобы точка нанесения удара лежала в вертикальной плоскости, проходящей через ось шарнира.
Ударный элемент должен падать с высоты, указанной в таблице 21.
Таблица 21
Высота падения для испытания на удар
Высота падения, мм | Части оболочек (корпуса), подвергаемые удару <a> |
Обычные соединители с кодом защиты IPX0 | Остальные соединители с кодом защиты выше чем IPX0 |
80 | A и B | - |
120 | C | A и B |
160 | D | C |
200 | - | D |
<a> A - части, находящиеся на фронтальной поверхности, включая части, имеющие углубления; B - части, которые не выступают более чем на 15 мм от монтажной поверхности (расстояние от стены) после монтажа как при нормальной эксплуатации, за исключением частей A; C - части, которые выступают более чем на 15 мм, но не более 25 мм от монтажной поверхности (расстояние от стены) после монтажа как при нормальной эксплуатации, за исключением частей A; D - части, которые выступают более чем на 25 мм от монтажной поверхности (расстояние от стены) после монтажа как при нормальной эксплуатации, за исключением частей A. |
На все части испытуемого образца, за исключением частей A, воздействуют энергией удара, определяемой той частью образца, которая более всего выступает над монтажной поверхностью.
Высота падения - это расстояние по вертикали между положением контрольной точки в момент опускания маятника и положением этой точки в момент удара. Контрольную точку отмечают на поверхности бойка в том месте, где линия, проходящая через точку пересечения оси стальной трубки маятника и оси бойка, перпендикулярна плоскости, проходящей через обе оси, и пересекает поверхность бойка. Образцы подвергают ударам, которые равномерно распределяют по испытуемому образцу.
Удары не наносят по пробивным (для штырей вилок) отверстиям.
Наносят следующее число ударов:
- один удар в центре;
- по одному удару по каждой из двух самых неблагоприятных точек между центром и краями, после того как образец будет перемещен горизонтально;
- затем, после поворота образца на 90° вокруг оси, перпендикулярной листу фанеры, по одному удару по двум подобным точкам;
- для частей B (насколько это приемлемо), C и D - четыре удара:
- один удар по одной из сторон образца после поворота листа фанеры на 60° вокруг вертикальной оси [см. рисунок 26 c)];
- один удар по противоположной стороне образца после поворота листа фанеры на 60° вокруг вертикальной оси в противоположном направлении [см. рисунок 26 c)].
Затем, после поворота образца на 90° вокруг оси, перпендикулярной листу фанеры:
- один удар по одной из сторон образца после поворота листа фанеры на 60° вокруг вертикальной оси [см. рисунок 26 d)];
- один удар по противоположной стороне образца после поворота листа фанеры на 60° вокруг вертикальной оси в противоположном направлении [см. рисунок 26 d)].
1 - образец; 2 - лист фанеры; 3 - ось поворота
Таблица
Методика испытаний соединителей
Эскизы образцов | Количество ударов | Координаты ударов | Части образцов, которые будут проверены |
a) | 3 | Один в центре | A |
|
|
b) | 2 | | A |
|
c) | | B, C и D |
|
d) | | B, C и D |
|
<1> Удар наносят в самой неблагоприятной точке соединителя. |
Рисунок 26 - Эскизы, поясняющие информацию об испытаниях
механической прочности соединителей согласно
таблице 21
Если имеется вводное отверстие, то образец устанавливают таким образом, чтобы две точки нанесения ударов были как можно ближе равноудалены от этого отверстия.
В многоместных стационарных розетках испытывают все крышки и накладки, однако по каждой точке наносят только один удар.
Для розеток, отличных от обычных с кодом IP выше чем IPX0, испытание проводят с закрытыми крышками. Кроме того, соответствующее число ударов наносят по тем частям, которые обнажены при открытых крышках.
После испытаний не должно быть повреждений образцов, нарушающих требования настоящего стандарта. Не должны быть открытыми токоведущие части.
После испытания шторки могут иметь трещины и/или выпасть, но не должно быть возможностей касания токоведущих частей при испытании:
- стандартным испытательным щупом B по #ГОСТ МЭК 61032# <1> - при условиях, указанных в 10.1;
- стандартным испытательным щупом 11 по #ГОСТ МЭК 61032# <1> - при условиях, указанных в 10.1, но с силой 10 Н;
- стальным наконечником устройства, приведенного на рисунке 10, с силой 1 Н - для соединителей с усиленной защитой.
--------------------------------
<1> В Российской Федерации действует ГОСТ Р МЭК 61032-2000 "Защита людей и оборудования, обеспечиваемая оболочками. Щупы испытательные".
В случае сомнений проверяют возможность снятия и замены наружных частей, таких как коробки, корпуса, крышки и закрывающие пластины, без повреждения этих частей или их изолирующих прокладок.
Если закрывающая пластина, опирающаяся на внутреннюю крышку, будет повреждена, то повторное испытание проводят на внутренней крышке, которая после испытаний должна остаться неповрежденной.
Примечание - Не принимают во внимание повреждения поверхности, небольшие вмятины, которые не влияют на снижение величины путей утечки тока или воздушные зазоры ниже величин, указанных в
27.1, и мелкие осколки, которые не сказываются отрицательно на защите соединителя от электрического удара или на водонепроницаемости.
Не принимают во внимание:
- трещины, невидимые невооруженным глазом, и поверхностные трещины волокнистых отливок и подобных им деталей;
- трещины или отверстия на наружной поверхности какой-либо части соединителя, если соединитель соответствует требованиям настоящего стандарта даже без этой части. Если декоративную крышку устанавливают на внутреннюю крышку, то скол декоративной крышки не принимают во внимание, если внутренняя крышка выдержит испытания при снятой декоративной крышке.
24.2
Разборные переносные соединители оснащают гибким кабелем или шнуром по 23.2 номинальным сечением, указанным в таблице 3, и длиной приблизительно 100 мм от наружной стороны зажимного устройства.
Винты контактных зажимов и крепежные винты затягивают с крутящим моментом, равным 2/3 от указанного в таблице 6.
Неразборные соединители испытывают с кабелем или шнуром, с которым они опрессованы, длиной (100 +/- 10) мм.
Образцы подвергаются отдельному испытанию Ec. При свободном падении в соответствии с ГОСТ 28217 (процедура 2) число падений должно быть:
- 1000 - если масса образца без кабеля или шнура не более 100 г;
- 500 - если масса образца без гибкого кабеля превышает 100 г, но не превышает 200 г; и
- 100 - если масса образца без гибкого кабеля превышает 200 г.
Барабан вращают со скоростью 5 об/мин, что соответствует 10 падениям испытуемого образца в 1 мин.
Шторки розеток должны быть снова испытаны в соответствии с разделом 21, применяя только требования разделов 19 - 24 (испытание только шторок). |
После испытания образец не должен иметь повреждений, нарушающих требования настоящего стандарта. В особенности:
- ни одна из деталей не должна быть разъединена или иметь ослабленное крепление;
- штыри вилки не должны иметь такие деформации, чтобы вилку нельзя было вставить в розетку, отвечающую требованиям соответствующего стандарта или 9.1 и 10.3;
- штыри вилки не должны проворачиваться при приложении крутящего момента 0,4 Н·м сначала в одном направлении в течение 1 мин, затем в противоположном также в течение 1 мин.
Примечания
1 Во время проверки следует обращать внимание на присоединение гибкого кабеля или шнура.
2 Небольшие куски могут отламываться, если при этом не возникает опасности поражения электрическим током.
3 Не принимают во внимание повреждения поверхности или маленькие вмятины, которые не снижают величины путей утечки тока или воздушные зазоры ниже величин, указанных в
27.1.
24.3
Основные части розеток открытого типа сначала крепятся к цилиндру из жесткого стального листа, радиус которого в 4,5 раза превышает расстояние между крепежными отверстиями, но в любом случае не менее 200 мм. Оси отверстий должны находиться в плоскости, перпендикулярной оси цилиндра и параллельной радиусу, проходящему через центр расстояния между отверстиями для крепления.
Крепежные винты постепенно затягивают максимальным крутящим моментом, равным 0,5 Н·м для винтов с диаметром резьбы до 3 мм включительно и 1,2 Н·м для винтов с большим диаметром резьбы.
Затем розетки аналогичным образом крепят к плоскому стальному листу.
Во время и после испытаний основные части (основания) розеток не должны иметь повреждений, препятствующих их дальнейшему использованию.
24.4
Образцы подвергают испытаниям на удар с помощью прибора, указанного на рисунке 27.
Размеры в миллиметрах
1 - боек массой (1 000 +/- 2) г; 2 - образец;
3 - прижим массой 100 г; 4 - края закруглить;
5 - стальная опора (10 +/- 1) кг
Рисунок 27 - Устройство для проверки механической
прочности розеток, вилок, разветвителей и удлинителей
Прибор устанавливают на пористую резину толщиной 40 мм и помещают вместе с испытуемыми образцами в холодильник, имеющий температуру минус (15 +/- 2) °C, на время не менее 16 ч.
Спустя 16 ч каждый образец по очереди устанавливают в положение, указанное на рисунке 27, и на него сбрасывают боек массой (1000 +/- 2) г с высоты 100 мм.
После испытания образцы не должны иметь повреждений, нарушающих требования настоящего стандарта.
24.5
Образцы подвергают испытаниям на сжатие, как показано на рисунке 8, температура прижимной пластины опорной плиты и образца должна быть (23 +/- 2) °C, а прикладываемая сила - 300 Н.
Сначала образцы помещают в положение a) на рисунке 8 и подвергают давлению в течение 1 мин, затем - в положение b) и снова подвергают давлению в течение 1 мин. Через 15 мин после окончания испытания образец не должен иметь повреждений, нарушающих требования настоящего стандарта.
24.6
Ввинчивающийся уплотнитель должен соответствовать цилиндрическому металлическому стержню, имеющему диаметр, равный наименьшему внутреннему диаметру уплотнения.
Уплотнители затягивают соответствующим гаечным ключом, к которому в течение 1 мин прилагают момент, указанный в таблице 22.
Таблица 22
Соотношение между диаметром испытательного стержня
и прилагаемым крутящим моментом
Диаметр испытательного стержня, мм | Крутящий момент, Н·м |
Металлический уплотнитель | Уплотнитель из заливочного материала |
До 14 включ. | 6,25 | 3,75 |
От 14 до 20 включ. | 7,5 | 5,0 |
Св. 20 | 10,0 | 7,5 |
После испытания уплотнение не должно иметь повреждений, нарушающих требования настоящего стандарта.
24.7
Вилки с частично опрессованными штырями испытывают с помощью прибора, указанного на рисунке 28.
Размеры в миллиметрах
1 - основание; 2 - образец; 3 - зажим; 4 - груз;
5 - стержень; 6 - ось; 7 - стальная проволока;
8 - штырь вилки
На сечении A-A конфигурация стальной проволоки.
Рисунок 28 - Установка для испытания на истирание
изоляционных трубок штырей вилок
Прибор состоит из горизонтального стержня, имеющего в центре шарнир. Короткий кусок стальной проволоки диаметром 1 мм, имеющий П-образную форму, жестко крепят обоими концами к концу стержня так, чтобы прямая часть выступала под стержнем и была параллельна оси вращения стержня.
Испытуемая вилка находится в зажимном устройстве в таком положении, чтобы прямая часть (перемычка) стальной проволоки была перпендикулярна оси штырей вилки. Штыри вилки должны быть наклонены вниз под углом 10° к горизонтали.
Стержень нагружают так, чтобы перемычка создавала на штыре вилки силу, равную 4 Н.
Вилка может сдвигаться назад или вперед по горизонтали в плоскости оси стержня так, чтобы перемычка проволоки скользила вдоль штыря. Штырь вилки скользит примерно 9 мм, из них 7 мм перемычка должна скользить по опрессованной части штыря. Число циклов - 20 000 (по 10 000 в каждом направлении). Скорость движения перемычки - 30 движений в 1 мин.
Испытания проводят на одном штыре каждой вилки.
После испытания вилка не должна иметь повреждений, способных нарушить безопасность или препятствовать дальнейшей ее эксплуатации, неразборные части не должны иметь проколов или морщин.
24.8 Розетки с защитными шторками должны иметь шторки такой конструкции, чтобы они могли противостоять механическому усилию, которое может возникнуть при нормальной эксплуатации, например, когда штырь вилки окажется прижат к шторкам в отверстии розетки.
Проверку проводят на образцах, ранее подвергнутых испытаниям по разделу 21, и без предварительной обработки по 16.1.
Один штырь вилки той же системы, что и розетка, прижимают в течение 1 мин к отверстиям розетки с силой 40 Н перпендикулярно рабочей поверхности розетки.
Для шторок, которые являются единственным способом предотвращения однополюсного введения вилки в розетку, сила должна быть 75 Н вместо 40 Н.
Если конструкция розетки позволяет применять вилки различных типов, испытания проводят со штырями наибольшего размера.
Штырь вилки не должен контактировать с токоведущими деталями розетки.
Электрический индикатор с напряжением не менее 40 В и не более 50 В используют для определения контактирования с соответствующими деталями розетки.
После испытания образцы не должны иметь повреждений, нарушающих требования настоящего стандарта.
Примечание - Небольшими сколами на поверхности розетки, которые не влияют на дальнейшую эксплуатацию розетки, пренебрегают.
24.9
Разборные многоместные переносные розетки снабжают самым легким гибким кабелем или шнуром наименьшего сечения из указанных в таблице 3.
Свободный конец кабеля или шнура прикрепляют к стене на высоте 750 мм от пола, как показано на рисунке 29.
Размеры в миллиметрах
Рисунок 29 - Устройство для проверки механической прочности
переносных многоканальных розеток (удлинителей)
Образец располагают так, чтобы ось кабеля или шнура была горизонтальна, а затем сбрасывают образец на пол восемь раз. Кабель или шнур должны при этом поворачиваться на угол 45° от первоначального положения.
После испытания образец не должен иметь повреждений, нарушающих требования настоящего стандарта. Детали не должны стираться или ослабевать.
После этого разборные многоместные переносные розетки и удлинители со степенью защиты выше IPX0 (отличные от обычных), следует подвергнуть соответствующему испытанию по 16.2.
Шторки розеток должны быть снова испытаны в соответствии с разделом 21, применяя только требования разделов 19 - 24 (испытание только шторок).
Примечание - Небольшими сколами и вмятинами, которые не снижают защиту от поражения электрическим током или водонепроницаемость, пренебрегают.
24.10
Указанные испытания проводят на новых образцах.
Вилку помещают на стальную жесткую плиту, имеющую отверстия для штырей вилки, как показано на рисунке 30.
Размеры в миллиметрах
1 - стальная пластина; P - сила
Рисунок 30 - Устройство для проверки
механической прочности вилок
Расстояние между центрами отверстий (например, d1 и d2) должно быть таким же, как и расстояние между центрами окружностей, очерченных вокруг сечения каждого штыря вилки.
Каждое отверстие должно иметь диаметр, равный диаметру окружности, очерченной вокруг сечения штыря плюс (6 +/- 0,5) мм.
Вилка должна располагаться на стальной плите так, чтобы центры окружностей, очерченных вокруг штырей, совпадали с центрами отверстий.
Силу P, равную максимальной из указанных в таблице 16, прилагают плавно, без рывков в течение 1 мин к каждому штырю по очереди по направлению продольной оси штыря.
Испытание проводят в термокамере при температуре (70 +/- 2) °C спустя 1 ч пребывания в ней вилки.
После испытания вилку можно охладить до комнатной температуры, а затем убедиться, что штыри не сместились более чем на 1 мм.
24.11
Перегородки между пространством, предназначенным для средств подвески, которые крепят к стене и токоведущим частям и которые могут подвергнуться механическому воздействию, когда переносную розетку, например, подвешивают на стене, испытывают следующим образом.
Цилиндрическим стальным стержнем диаметром 3 мм с полусферическим концом, радиусом R, равным 1,5 мм, воздействуют перпендикулярно опорной поверхности розетки в самых неблагоприятных местах в течение 10 с на перегородку с силой, равной 1,5 от максимальной силы разъема вилки (как указано в 22.2 и таблице 16).
Стержень не должен повреждать перегородку.
24.12
Переносную розетку со шнуром или гибким кабелем подвешивают на стене как при нормальной эксплуатации и аналогично 24.11 воздействуют стальным стержнем на проводники под перегородкой.
Для проверки крепления гибкого шнура на него воздействуют в течение 10 с силой, указанной в 23.2, в самом неблагоприятном месте.
Во время испытания средства подвески переносной розетки на стене не должны иметь повреждений, а в случае повреждения токоведущие части не должны быть доступны для стандартного испытательного щупа.
24.13
Переносную розетку подвешивают на стене как при нормальной эксплуатации, используя при этом винт M3 с круглой головкой, и испытывают на растяжение, прилагая максимальную силу натяжения, указанную для соответствующих вилок в таблице 16. Силу прикладывают без рывков.
Силу выдергивания прилагают в течение 10 с перпендикулярно лицевой стороне розетки, направляя при этом наибольшую силу на средство подвески.
Во время испытания средства подвески переносной розетки на стене не должны иметь повреждений или в случае повреждений токоведущие части не должны быть доступными для стандартного испытательного щупа B по #ГОСТ МЭК 61032# <1>.
Примечание - Испытания согласно
24.11 -
24.13 проводят по каждому отдельному средству подвески в случае, если их более одного.
--------------------------------
<1> В Российской Федерации действует ГОСТ Р МЭК 61032-2000 "Защита людей и оборудования, обеспечиваемая оболочками. Щупы испытательные".
24.14
Если испытательную силу необходимо приложить к крышкам или закрывающим пластинам, розетки устанавливают как при нормальной эксплуатации.
Розетки для скрытой установки монтируют в соответствующие монтажные коробки, которые устанавливают как при нормальной эксплуатации так, чтобы края коробок были утоплены в стенах, и оборудуют их крышками или закрывающими пластинами.
Если крышки или закрывающие пластины снабжены фиксирующим устройством, функционирующим без применения инструмента, то коробки оставляют в свободном состоянии.
Соответствие проверяют испытаниями по 24.14.1 и 24.14.2 (см. 13.7.2).
Для вилок и переносных розеток упругую податливость проверяют по 24.14.3.
24.14.1 Проверка прочности крепления крышек или закрывающих пластин
Силу прикладывают плавно в направлении, перпендикулярном монтажной поверхности, таким образом, что результирующая сила, воздействующая на центр крышек, закрывающих пластин или их составных деталей, соответственно составляет:
- 40 Н для крышек, закрывающих пластин или их деталей, удовлетворяющих при испытаниях требованиям 24.17 или 24.18; или
- 80 Н для других крышек, закрывающих пластин и их деталей.
Силу прикладывают в течение 1 мин. Крышки или закрывающие пластины не должны отсоединяться в местах крепления согласно настоящему стандарту.
Затем испытания повторяют на новых образцах крышек или закрывающих пластин, смонтированных на стене, после того как лист твердого материала толщиной (1 +/- 0,1) мм устанавливают вокруг поддерживающей арматуры согласно рисунку 31.
Примечание - Лист твердого материала используют для имитации обоев, и он может состоять из отдельных кусков.
Размеры в миллиметрах
1 - лист жесткого материала; 2 - закрывающая пластина;
3 - опорная рама; 4 - монтажная пробка; 5 - стена
Рисунок 31 - Устройство для испытания крышек
и закрывающих пластин (накладок)
После испытаний образцы не должны иметь повреждений, которые снижали бы защиту от поражения электрическим током согласно требованиям настоящего стандарта.
24.14.2 Проверка усилия вырывания крышек и закрывающих пластин с мест крепления
Силу, не превышающую 120 Н, прикладывают постепенно в направлении, перпендикулярном к монтажно-опорной поверхности, к крышкам и закрывающим пластинам или их деталям с помощью крючка, вставляемого по очереди в каждое отверстие, паз или другую аналогичную полость с целью сдвига и вырывания с мест их крепления.
Крышки и закрывающие пластины должны быть сорваны с мест крепления.
Испытания проводят 10 раз на каждой части отделяемой детали, фиксация которой не зависит от винтового крепления (при равномерном распределении точек приложения).
Затем испытание повторяют на новых образцах. При этом крышки или закрывающие пластины устанавливают на стене, предварительно установив вокруг поддерживающей арматуры лист твердого материала толщиной (1 +/- 0,1) мм, как показано на рисунке 31.
После испытания образцы не должны иметь повреждений, которые снижали бы защиту от поражения электрическим током согласно требованиям настоящего стандарта.
24.14.3
После монтажа вилок и разборных розеток силу, достигающую 80 Н, прилагают плавно в течение 1 мин на центр крышек, закрывающих пластин или их составных деталей.
Испытания проводят в самых неблагоприятных условиях.
Во время испытания крышки, закрывающие пластины и их части должны быть закрыты.
Испытания повторяют с силой 120 Н.
В этом случае:
a) у разборных вилок и разборных розеток при воздействии силы крышки и закрывающие пластины или их части могут отрываться с их монтажных мест, но образец должен соответствовать настоящему стандарту;
b) у опрессованных вилок и переносных розеток могут отрываться прилитые крышки, закрывающие пластины или их части, что делает их непригодными к дальнейшему использованию (см. 14.1).
Соответствие проверяют визуальным осмотром. |
24.15
Испытание проводят согласно требованиям 24.14, но при этом по 24.14.1 в процессе испытаний прикладывают следующие силы:
- 10 Н для крышек и закрывающих пластин, прошедших испытания по 24.17 и 24.18;
- 20 Н для других крышек и закрывающих пластин.
24.16
Испытание проводят согласно требованиям 24.14, но при этом по 24.14.1 в процессе испытаний прикладывают силу 10 Н для всех крышек или закрывающих пластин.
24.17
Калибром, приведенным на рисунке 32, воздействуют на каждую сторону крышек или закрывающих пластин, установленных без винтового крепления на монтажной или опорной поверхности, как это показано на рисунке 33. Калибр прикладывают под прямым углом к каждой испытуемой плоскости.
Размеры в миллиметрах
Рисунок 32 - Калибр для проверки габаритов крышек или
закрывающих пластин
1 - монтажная поверхность; 2 - розетка; 3 - опорная
поверхность; 4 - расположение детали, имеющей ту же толщину,
что и опорная часть
Рисунок 33, лист 1 - Пример применения калибра на
рисунке 32
к стационарным крышкам без винтов крепления к опорной или
монтажной поверхности
Рисунок 33, лист 2
При этом плоскость B находится на монтажной или опорной поверхности, а плоскость A перпендикулярна ей. Если крышка или закрывающая пластина установлена без винтов на другой крышке, или закрывающей пластине, или монтажной коробке, имеющей те же габаритные размеры, то плоскость B калибра должна быть помещена на том же уровне, что и соединение. Габарит крышки или закрывающей пластины не должен превышать габарита опорной поверхности.
Расстояние между плоскостью C калибра и габаритом испытуемой стороны, измеренное параллельно плоскости B, не должно уменьшаться (за исключением пазов, отверстий, обратных конусов или тому подобных, размещенных на расстоянии менее 7 мм от плоскости, включающей плоскость B, и удовлетворяющих испытаниям по 24.18), когда измерения повторяют, начиная от точки X в направлении стрелки Y (см. рисунок 34).
Размеры в миллиметрах
В случаях a) и b) - несоответствие.
В случаях c) - d) - соответствие, но оно должно быть подтверждено испытаниями по
24.18 с использованием калибра, изображенного на
рисунке 35.
Рисунок 34 - Пример применения калибра (по
рисунку 32)
Размеры в миллиметрах
1 - испытательный металлический стержень;
2 - края стержня прямоугольной формы
Рисунок 35 - Калибр для проверки пазов, отверстий
и обратных конусов
24.18
Калибр в соответствии с рисунком 35, прикладываемый с силой 1 Н, не должен входить более чем на 1,0 мм от внешней детали в любые пазы, отверстия или обратные конуса или тому подобные отверстия, когда калибр прикладывают параллельно монтажной или опорной поверхности и под прямым углом к испытуемой детали, как показано на рисунке 36.
Примечание - Проверку того, как калибр в соответствии с
рисунком 35 входит более чем на 1 мм, проводят с помощью поверхности, перпендикулярной плоскости B и включающей верхнюю деталь габарита паза, отверстия, обратного конуса или тому подобного.
1 - розетка; 2 - монтажная поверхность
Рисунок 36 - Схема, показывающая направление приложения
Образцы зажимаются таким образом, что передняя поверхность губок совпадает с передней поверхностью кожуха. |
24.19
Корпуса переносных розеток подвергают испытанию на сжатие при окружающей температуре (25 +/- 5) °C в установке, показанной на рисунке 38.
Установка имеет два стальных кулачка (губки) цилиндрической формы с радиусом 25 мм, шириной 15 мм и длиной 50 мм. Длина 50 мм может быть увеличена в зависимости от размера испытуемого соединителя.
Углы кулачка закругляют радиусом 2,5 мм.
Испытуемый образец зажимают между кулачками (губками) таким образом, чтобы передняя линия кулачков (губок) совпала по возможности с передней поверхностью корпуса образца.
Сила давления кулачков (губок) равна (20 +/- 2) Н.
Через 1 мин после сжатия, когда образцы находятся еще под давлением, проводят измерения образцов с целью проверки их на соответствие стандартному листу.
Испытание повторяют с поворотом образцов на 90°.
Соединители и монтажные коробки для открытого типа должны иметь достаточную нагревостойкость.
Проверку проводят в соответствии с таблицей 24. |
Таблица 24
Нагревостойкость соединителей или их частей
Образцы | Испытание |
Обозначение | Описание образца | | | | |
A | Устанавливающая поверхность монтажной коробки, отделяемые покрытия, отделяемые пластины покрытия и отделяемые рамки, за исключением частей передней поверхностной зоны термопластической зоны материала 2 мм ширины, окружающей фазу и нейтральное вводное отверстие розетки | - | - | x | - |
B | Переносные соединители, за исключением частей, покрытых по обозначению A | x | x | x | x |
C | Переносные соединители, изготовленные из естественного или синтетического каучука, или их смеси, или поливинилхлорида | x | x | - | x |
D | Стационарные розетки, за исключением частей, покрытых по обозначению A | x | x | x | - |
E | Стационарные розетки, изготовленные из натурального или синтетического каучука или из их смеси | x | x | - | - |
"x" - испытания проводят. "-" - испытания не проводят. |
Части, предназначенные для декоративных целей, испытаниям не подлежат.
25.1
Испытуемые образцы на 1 ч помещают в термокамеру и нагревают до температуры (100 +/- 2) °C.
В процессе испытаний не должно произойти изменений, нарушающих требования настоящего стандарта, не должен плавиться компаунд, если таковой имеется, до такой степени, чтобы оголились токоведущие части.
После испытания образец охлаждают до комнатной температуры. Затем проводят испытание стандартным испытательным щупом B по #ГОСТ МЭК 61032# <1>, который прикладывают с силой 5 Н, при этом токоведущие части должны оставаться недоступными для прикосновения, когда соединитель смонтирован как для нормальной эксплуатации.
--------------------------------
<1> В Российской Федерации действует ГОСТ Р МЭК 61032-2000 "Защита людей и оборудования, обеспечиваемая оболочками. Щупы испытательные".
Маркировка после испытаний должна быть четкой и легко читаемой. Изменением цвета, возникновением пузырей или небольшим вытеканием компаунда можно пренебречь, если при этом не нарушаются требования безопасности настоящего стандарта.
25.2
Детали из изоляционного материала, поддерживающие токоведущие части и части заземляющей цепи, а также наружные части из термопластичного материала толщиной 2 мм, окружающие фазные и нейтральные вводные отверстия розеток, испытывают давлением шарика с помощью устройства, приведенного на рисунке 37, за исключением изолирующих частей, на которых закрепляют заземляющий контактный зажим и которые испытывают по 25.3.
Примечание - Если невозможно провести испытание на образце соединителя, то испытание проводят на образце материала толщиной не менее 2 мм, взятом от образца. Для достижения требуемой толщины могут быть использованы отдельные слои материала, но не более четырех. В этом случае общая толщина слоев должна быть не менее 2,5 мм.
1 - стальной шарик диаметром 5 мм; 2 - образец
Рисунок 37 - Установка для испытания прочности материалов
при нагревании
Испытуемый образец размещают на стальной пластине толщиной не менее 3 мм, и стальной шарик диаметром (5 +/- 0,1) мм вдавливают в испытуемую поверхность с силой 20 Н.
Испытательную нагрузку и опорное устройство необходимо поместить в термокамеру на время, достаточное для того, чтобы они достигли устойчивой температуры до начала испытаний.
Испытание проводят в термокамере при температуре (125 +/- 2) °C.
Через 1 ч устройство убирают с образца, затем образец погружают в воду для охлаждения до комнатной температуры.
Диаметр оттиска должен быть не более 2 мм.
25.3
Части изоляционного материала, не предназначенные для крепления на них токоведущих частей и частей заземляющей цепи, даже если они контактируют с ними, подвергают испытаниям шариком согласно 25.2, но испытание проводят при температуре (70 +/- 2) °C или (40 +/- 2) °C с учетом температуры перегрева, определяемой для соответствующих частей во время испытания по разделу 19.
25.4
Образцы испытывают сдавливанием на установке, показанной на рисунке 38. Испытание проводят в термокамере при температуре (80 +/- 2) °C.
Размеры в миллиметрах
1 - направляющие; 2 - подвижный зажим; 3 - образец;
4 - неподвижный зажим; P - направление приложения силы
Рисунок 38 - Установка для испытания на сжатие вилок
Установка имеет два стальных кулачка цилиндрической формы с радиусом 25 мм, шириной 15 мм и длиной 50 мм. Длина 50 мм может быть увеличена в зависимости от размера испытуемого соединителя.
Углы кулачка закругляют радиусом 2,5 мм.
Испытуемый образец зажимают между кулачками таким образом, чтобы они оказывали давление как при нормальной эксплуатации, центральная линия кулачков должна совпадать по возможности с центром испытуемой площади образца. Сила давления равна 20 Н.
Через 1 ч кулачки снимают с образца; образец не должен иметь повреждений, нарушающих требования настоящего стандарта.
26 Винты, токоведущие части и соединения
26.1 Электрические и механические соединения должны выдерживать механические нагрузки, возникающие при нормальной эксплуатации.
Механические соединения, используемые при монтаже вилок и розеток, могут быть изготовлены с применением самонарезающих и самонарезающих формующих винтов при условии, что винты поставляются с деталью, в которую они должны вкручиваться. Кроме этого, самонарезающие винты, используемые при монтаже, должны быть закреплены соответствующей деталью соединителя.
Винты и гайки, передающие контактное давление, должны быть металлическими и должны ввинчиваться в металлическую резьбу.
Проверку проводят визуальным осмотром. Винты и гайки, передающие контактное давление или предназначенные для подключения к соединителям питающих проводов, подвергают следующим испытаниям.
Примечание - Требования, предъявляемые к проверке контактных зажимов, приведены в
разделе 12.
Винты или гайки затягивают и отпускают:
- 10 раз - для винтов, ввинчиваемых в резьбу из изолирующего материала, и винтов из изолирующего материала;
- 5 раз - во всех остальных случаях.
Винты или гайки, ввинчиваемые в резьбу из изолирующего материала, и винты из изолирующего материала каждый раз полностью ввинчивают и вывинчивают.
Испытания проводят с помощью соответствующих испытательной отвертки или инструмента с приложением крутящего момента, указанного в таблице 6.
Во время испытания не должны возникать повреждения, препятствующие дальнейшему использованию винтовых соединений, таких как излом винтов, повреждение шлица (что делает невозможным использование подходящей отвертки), резьбы, шайбы или скобы.
Примечания
1 Винты или гайки, которые используются при монтаже соединителя, включают в себя винты для крепления крышек или накладок и т.д. Однако к ним не относятся соединительные детали для ввинчиваемых кабельных вводов и винты для крепления основной части соединителя (стационарной розетки).
2 Форма лезвия испытательной отвертки должна соответствовать шлицу испытуемого винта. Винты или гайки следует затягивать плавно, без рывков. Повреждения крышек при этом не принимают во внимание.
3 Винтовые соединения после испытания по
разделам 21 и
24 считают частично прошедшими проверку.
26.2 Для винтов, ввинчиваемых в изолирующий материал и предназначенных для крепления соединителей при монтаже, должен быть обеспечен их правильный ввод в отверстие или гайку.
Проверку проводят визуальным осмотром и испытанием вручную.
Примечание - Требование к правильному введению винта может быть соблюдено при наличии направляющего устройства на фиксируемой части, применении утопленной гаечной резьбы или винтов со снятой начальной резьбой.
26.3 Электрические соединения должны иметь такую конструкцию, чтобы контактное давление не передавалось через изолирующий материал, кроме таких как керамика, чистая слюда или другие материалы с аналогичными свойствами, за исключением случаев, когда металлические детали обладают достаточной упругостью и могут при этом компенсировать возможную усадку и сжатие изолирующего материала.
Данное требование не должно препятствовать созданию конструкций соединителей шнуром, обмотанным фольгой, где контактное давление обеспечивается изолирующими частями или частями со свойствами, обеспечивающими постоянное и надежное контактирование при нормальной эксплуатации, учитывая в особенности усадку, износ или холодное течение изолирующих материалов.
Соединения, выполненные путем прокола изоляции шнура, обмотанные фольгой, должны быть надежными.
Проверку проводят визуальным осмотром и испытанием, которое разрабатывается.
Примечание - Пригодность применяемых материалов рассматривают по отношению их устойчивости к стабильности размеров.
26.4 Винты и заклепки, служащие в качестве электрических и механических соединений, должны иметь устройство, препятствующее их ослаблению или самоотвинчиванию.
Проверку проводят визуальным осмотром и испытанием вручную.
Примечания
1 В качестве устройства, препятствующего самоотвинчиванию, может служить пружинная шайба.
2 Для заклепок и некруглых заклепок достаточными условиями от ослабления являются наличие соответствующих канавок.
3 Компаунд, который при нагревании размягчается, может служить удовлетворительным средством от самоотвинчивания для тех винтовых соединений, которые при нормальной эксплуатации не должны отвинчиваться.
26.5 Токоведущие части, включая контактные зажимы (также и заземляющие), должны изготавливаться из металла, имеющего механическую прочность, электропроводность и устойчивость к коррозии при нормальной эксплуатации.
Проверку проводят визуальным осмотром и при необходимости химическим анализом.
Примечание - Примерами таких металлов, работающих в пределах допустимых температур при нормальных условиях химических загрязнений, являются:
- медь;
- сплав, содержащий не менее 58% меди для изготовления частей, изготавливаемых из холоднокатаных листов, или не менее 50% меди для других частей;
- нержавеющая сталь, содержащая не менее 13% хрома и не более 0,09% углерода;
- сталь, имеющая гальваническое цинковое покрытие в соответствии с #ГОСТ ISO 2081# толщиной не менее:
5 мкм - рабочие условия N 1 для обычных соединителей с кодом IP - IPX0;
12 мкм - рабочие условия N 2 для брызгозащищенных соединителей с кодом IP - IPX4;
25 мкм - рабочие условия N 3 для струезащищенных соединителей с кодом IP - IPX5 и IPX6;
- сталь, имеющая гальваническое никелевое покрытие (см.
[4]), толщиной не менее:
20 мкм - рабочие условия N 2 для обычных соединителей с кодом IP - IPX0;
30 мкм - рабочие условия N 3 для брызгозащищенных соединителей с кодом IP - IPX4;
40 мкм - рабочие условия N 4 для струезащищенных соединителей с кодом IP - IPX5 и IPX6;
- сталь, имеющая гальваническое оловянное покрытие (см.
[5]), толщиной не менее:
12 мкм - рабочие условия N 2 для обычных соединителей с кодом IP - IPX0;
20 мкм - рабочие условия N 3 для брызгозащищенных соединителей с кодом IP - IPX4;
30 мкм - рабочие условия N 4 - для струезащищенных соединителей с кодом IP - IPX5 и IPX6.
Токоведущие части, которые в процессе эксплуатации могут подвергаться механическому износу, недопустимо изготовлять из стали с гальваническим покрытием.
Во влажных условиях металлы, обладающие значительными различиями электрохимического потенциала, не следует использовать в контакте друг с другом.
Процедура испытания разрабатывается.
Примечание - Требование этого пункта не распространяется на винты, гайки и шайбы, прижимные пластины и аналогичные части контактных зажимов.
26.6 Контакты, которые при нормальной эксплуатации подвергаются трению, должны изготавливаться из коррозиестойкого материала.
Соответствие требованиям 26.5 и 26.6 проверяют визуальным осмотром и при необходимости химическим анализом.
26.7 Самонарезающие и самонарезающие формующие винты не должны использоваться для соединения токоведущих частей соединителей.
Самонарезающие и самонарезающие формующие винты могут применяться для обеспечения непрерывности заземления в том случае, если при нормальной эксплуатации соединения не будут разъединяться и для каждого соединения будет использовано не менее двух винтов.
Проверку проводят визуальным осмотром.
27 Пути утечки тока, воздушные зазоры и расстояния через заливочную массу
27.1 Значения путей утечки тока, воздушных зазоров и расстояний через заливочную массу не должны быть менее значений, указанных в таблице 23.
Таблица 23
Значения путей утечки тока, воздушных зазоров и расстояний
через заливочную массу
Наименование | Значение, мм |
Расстояние утечки | |
1 Между токоведущими частями различных фаз | |
2 Между токоведущими частями и: | |
- доступной поверхностью деталей изоляционного материала; | 3,0 |
- заземленными металлическими деталями, включая части цепи заземления; | 3,0 |
- металлическими элементами каркаса, поддерживающими основную часть розеток скрытого типа; | 3,0 |
- винтами или приспособлениями для крепления основных частей, крышек или накладок фиксированных розеток; | 3 |
- внешними монтажными винтами, кроме винтов, которые находятся на контактной поверхности разъемов и изолированы от цепи заземления | 3,0 |
3 Между штырями штекеров и металлическими частями, соединенными с ними (когда они полностью включены), и розеткой той же системы, имеющей доступные незаземленные металлические части <b>, выполненные в соответствии с наиболее неблагоприятной конструкцией <c> | |
4 Между доступными незаземленными металлическими частями <b> розетки и полностью подключенной вилкой той же системы, имеющей штыри и соединенные с ними металлические детали, выполненные в соответствии с неблагоприятной конструкцией <c> | |
5 Между токоведущими частями розетки (без штепселя) или штепсельной вилки и их доступными заземленными или функционально заземленными металлическими деталями <b> | |
Воздушные зазоры | |
6 Между токоведущими частями различных фаз <f> | 3,0 |
7 Между токоведущими частями различных фаз и: | |
- доступными изолирующими частями; | 3,0 |
- заземленными металлическими частями, не указанными в разделах 8 и 9 таблицы, включая части заземляющей цепи; | 3,0 |
- металлическими рамами, поддерживающими основание розетки для скрытой установки; | 3,0 |
- винтами или устройствами для крепления оснований, крышек или закрывающих пластин стационарных розеток; | 3,0 |
- наружными крепежными винтами, исключая винты, которые находятся на рабочей поверхности вилки и изолированы от заземляющей цепи | 3,0 |
8 Между токоведущими частями и: | |
- заземленными металлическими коробками <e>, смонтированными в наиболее неблагоприятном положении; | 3,0 |
- незаземленными металлическими коробками, без изолирующих прокладок с розеткой, смонтированной в наиболее неблагоприятном положении; | 4,5 |
- доступными заземленными или функционально заземленными металлическими частями вилок и розеток | 6,0 |
9 Между токоведущими частями и поверхностью, на которой монтируют основание розетки для открытого типа | 6,0 |
10 Между токоведущими частями и дном паза для прохода проводов, если таковой имеется в основании розетки для открытого типа | 3,0 |
Расстояние через заливочную массу | |
11 Между токоведущими частями, покрытыми слоем заливочной массы толщиной не менее 2 мм, и поверхностью, на которой монтируют основание розетки для открытого типа | |
12 Между токоведущими частями, покрытыми слоем заливочной массы толщиной не менее 2 мм, и дном паза для прохода проводов, если таковой имеется в основании розетки для открытого типа | 2,5 |
<a> Значение снижают до 3 мм для соединителей с номинальным напряжением до 250 В. <b> За исключением винтов и т.п. деталей. <c> Наиболее неблагоприятные конструкции могут проверяться калибром, который соответствует стандарту данной системы. <d> Значение снижают до 4,5 мм для соединителей, имеющих номинальное напряжение до 250 В включительно. <e> Металлические коробки, предназначены только для монтажа в тех условиях, где требуется их заземление. <f> Зазоры между токоведущими частями разной полярности уменьшаются до 1 мм между проводами в зажиме неоновой лампы, светодиода или аналогичных источников освещения с внешним резистором. |
Проверку проводят измерением.
Измерения проводят на соединителе с присоединенными проводами наибольшего сечения из указанных в таблице 3 и на соединителе без проводов.
Для опрессованных соединителей измерения проводят в процессе изготовления.
Розетки проверяют со вставленной вилкой и без нее.
Расстояния в пазах или отверстиях наружных частей изолирующего материала измеряют до металлической фольги, соприкасающейся с открытой поверхностью. Фольгу заталкивают в углы и другие аналогичные выемки с помощью неразъемного испытательного щупа, имеющего размеры, как и стандартный испытательный щуп 11 по #ГОСТ МЭК 61032# <1>, при этом фольга не должна вдавливаться в отверстие.
--------------------------------
<1> В Российской Федерации действует ГОСТ Р МЭК 61032-2000 "Защита людей и оборудования, обеспечиваемая оболочками. Щупы испытательные".
В розетки для открытого типа обычного типа класса IP20 по #ГОСТ 14254# наиболее неблагоприятный трубчатый ввод или кабель вводят на 1 мм в соответствии с 13.22. Если металлическая рама, поддерживающая основание розетки для скрытой установки, подвижна, то раму устанавливают в наиболее неблагоприятном положении.
Примечания
1 При рассмотрении влияния утечки тока в пазе шириной менее 1 мм учитывают его ширину.
2 При подсчете полной величины воздушного зазора воздушный промежуток менее 1 мм не учитывают.
3 Поверхность, на которой монтируют основание соединителя для открытого типа, включает в себя любую поверхность, находящуюся в контакте с основанием при установке соединителя. Если на задней стенке основания имеется металлическая плата, то ее не считают поверхностью для установки соединителя.
27.2 Изолирующая заливочная масса не должна выходить за пределы полости, в которой ее помещают.
27.3 Соединители обычного типа для открытого типа не должны иметь на задней поверхности открытые для прикосновения токоведущие части.
Проверку соответствия требованиям 27.2 и 27.3 проводят визуальным осмотром.
28 Теплостойкость, огнестойкость и трекинг
28.1 Устойчивость к воздействию повышенной температуры и огня
Части из изолирующего материала, которые могут испытывать термические нагрузки под воздействием электрического тока и нарушение которых может привести к снижению электрической безопасности соединителя, не должны подвергаться чрезмерному воздействию повышенной температуры и огня.
Проверку проводят испытанием по 28.1.1, для вилок с частично опрессованными штырями - по 28.1.2.
28.1.1 Испытание раскаленной проволокой
- для частей из изоляционного материала, на которых закрепляют токоведущие части и части заземляющей цепи стационарных соединителей, - при температуре 850 °C, кроме частей из изоляционного материала, на которых установлен зажим заземления в коробке, которую следует испытывать при температуре 650 °C.
Примечание - Боковой контакт заземления в основании розетки не принимают во внимание при съемной крышке, когда вилка не вставлена в розетку;
- для частей из изолирующего материала, на которых закрепляют токоведущие части и части заземляющей цепи переносных соединителей, - при температуре 750 °C;
- для частей из изоляционного материала, на которых не закрепляют токоведущие части и части заземляющей цепи, даже если они контактируют с ними, - при температуре 650 °C.
Считается, что токоведущая часть или часть цепи заземления, удерживаемая механическими средствами, удерживается на месте. Использование силиконовой смазки или подобного материала не считается средством механической фиксации.
--------------------------------
<2> В Российской Федерации действует
ГОСТ Р МЭК 60695-2-10-2011 "Испытания на пожароопасность. Часть 2-10. Основные методы испытаний раскаленной проволокой. Установка испытания раскаленной проволокой и общие процедуры испытаний".
Внешние проводники не могут рассматриваться как удерживающие токоведущие части.
В случае сомнений, чтобы определить, необходим ли изоляционный материал для удержания токоведущих частей и частей цепи заземления на месте, соединитель проверяют без проводников, удерживая его в положениях, которые наиболее вероятно вызывают смещение токоведущих частей или части цепи заземления со снятым изоляционным материалом.
Если указанное испытание должно проводиться в нескольких местах одного и того же образца, необходимо обращать внимание на то, чтобы любые повреждения образца, вызванные предыдущими испытаниями, не повлияли на результат последующего испытания.
Мелкие детали, например шайбы, поверхность которых полностью вписывается в круг диаметром 15 мм или часть поверхности не вписывается в этот круг и нет возможности вписать круг диаметром 8 мм в эту поверхность, указанному испытанию не подвергают (см. рисунок 39).
Примечание - При визуальной проверке поверхности выступы и отверстия диаметром менее 2 мм не принимают во внимание.
Размеры в миллиметрах
Рисунок 39 - Схематическое изображение требований
28.1.1
Испытание не проводят на частях из керамики.
Примечание - Испытание является проверкой того, что испытательная проволока, нагретая с помощью электрического тока, не вызовет загорания изолирующих деталей или что часть из изолирующего материала, которая при определенных условиях может воспламениться от нагретой испытательной проволоки, будет гореть непродолжительное время, а огонь не перейдет в постоянное пламя и не произойдет выпадения из испытываемой детали горящих частей или капель на сосновую доску, покрытую тонкой бумагой.
По возможности в качестве испытуемого образца следует брать собранный соединитель.
Примечание - Если испытание нельзя провести на собранном образце, то испытанию подвергают вырезанную из него часть (фрагмент).
Испытания проводят на одном образце.
В случае сомнения испытания проводят еще на двух образцах.
Раскаленную проволоку следует прикладывать только один раз.
Образец во время испытания следует устанавливать в наиболее неблагоприятном положении (испытуемая поверхность должна находиться в вертикальном положении).
Конец раскаленной проволоки прикладывают к поверхности испытуемого образца, учитывая при этом условия предполагаемого использования, при которых нагретый элемент мог бы войти в контакт с образцом.
Образец считают прошедшим испытание, если:
- нет видимого пламени или тления;
- пламя и тление угасают через 30 с после удаления раскаленной проволоки.
Не должны иметь место загорание тонкой бумаги или подпаленные места на доске.
Примечание - Если материал, подлежащий испытанию, недоступен из-за присутствия литого материала, данный материал следует удалить, чтобы получить доступ. В качестве альтернативы производитель может предоставить изделие в виде отдельных компонентов и чертежей, чтобы материал мог удерживать на месте проверяемые токоведущие части.
28.1.2
Образец вилки с частично опрессованными штырями испытывают с помощью устройства, показанного на рисунке 40, которое состоит из изолирующей плиты A и металлической части B. Между этими двумя частями имеется воздушный промежуток 3 мм, достигаемый с помощью средств, которые препятствуют циркуляции воздуха вокруг штырей.
Размеры в миллиметрах
1 - нагревательный элемент; 2 - металлическая часть B;
3 - термопара; 4 - изолирующая плита A; 5 - прокладка;
6 - контур вилки
Примечания
1 Максимальный контур вилки выбирают по соответствующему стандарту.
2 Диаметр изолирующей плиты 4 должен быть в два раза больше максимально допустимого размера рабочей поверхности, установленного в соответствующем стандарте.
Рисунок 40 - Установка для испытания спрессованных вилок
с частично изолированными штырями
Передняя поверхность плиты должна быть круглой с плоской поверхностью и иметь диаметр, равный двум максимальным размерам рабочей поверхности вилки.
Толщина плиты должна быть не менее 5 мм.
Деталь B должна быть изготовлена из латуни и иметь длину не менее 20 мм и такую же форму, что и контур вилки, соответствующий стандартному листу.
Деталь B должна иметь такую форму, чтобы испытуемая вилка нагревалась ею и при передаче тепла испытуемой вилке в процессе испытания конвенция или облучение были бы снижены до минимума.
Термопара должна устанавливаться на расстоянии 7
мм от передней поверхности части 2 симметрично, как это показано на рисунке 40.
Размеры отверстий для штырей вилки в детали B должны быть на 0,1 мм больше, чем максимальные размеры штырей, а расстояние между штырями, как у вилки. Глубина отверстий должна быть достаточной для полного введения в них вилки.
Примечание - Деталь B может изготавливаться из двух или более кусков для удобства их очистки.
Испытуемые образцы вставляют в устройство в наиболее неблагоприятном горизонтальном положении, когда устройство достигает установившейся температуры, измеряемой с помощью термопары, (120 +/- 5) °C для вилок на номинальный ток 2,5 А и (180 +/- 5) °C для вилок, имеющих более высокий номинальный ток.
Температуру при этих значениях поддерживают в течение 3 ч.
Испытуемые вилки вынимают из устройства и охлаждают до комнатной температуры в течение 4 ч.
Затем штыри вилки подвергают испытанию на удар по разделу 30, но при комнатной температуре, после чего производят внешний осмотр.
Примечание - При внешнем осмотре не должно быть обнаружено невооруженным глазом никаких трещин на изолирующих частях, а размеры этих частей не должны измениться до такой степени, чтобы была нарушена защита от случайного прикосновения к токоведущим деталям.
В соединителях со степенью защиты выше IPX0 части изоляционного материала, на которых крепят токоведущие детали, должны быть устойчивы к трекингу.
Примечание - В Сингапуре для соединителей, имеющих IP-код, превышающий IPX0 и включающий его, части изоляционного материала, удерживающие токоведущие части на своем месте, должны быть из материала, устойчивого к трекингу.
Керамические части соединителей не испытывают.
Плоские поверхности испытуемой детали размером не менее 15 x 15 мм располагают в горизонтальном положении.
Закругленные края электродов должны касаться образца по всей их длине.
Испытуемый материал должен соответствовать индексу трекингостойкости 175, используя испытательный раствор A с интервалом между каплями (30 +/- 5) с.
Прежде чем на поверхность образца будет нанесено 50 капель, между электродами не должно возникнуть короткое замыкание или пробой.
29 Коррозионная стойкость
Металлические части, включая крышки и монтажные коробки, должны быть надежно защищены от коррозии.
Соответствие данному требованию проверяют следующим испытанием.
Смазочные вещества удаляют с испытуемых частей, используя подходящие обезжиривающие вещества.
После этого испытуемые части погружают на 10 мин в 10%-ный раствор хлорида аммония с водой температурой (20 +/- 5) °C.
Стряхнув капли, испытуемые части без просушки помещают на 10 мин в камеру с насыщенным влажным воздухом при температуре (20 +/- 5) °C.
После того как испытуемые части будут просушены в термокамере при температуре (100 +/- 5) °C в течение 10 мин, на их поверхностях не должно быть следов коррозии.
Примечания
1 Следы коррозии на острых краях и желтоватую пленку, которую удаляют путем протирания, не учитывают.
2 Слой смазки, наносимый на небольшие пружины и аналогичные детали, а также на закрытые части, подверженные стиранию, может служить защитой от коррозии.
30 Дополнительные испытания частично опрессованных штырей вилки
Материал для опрессования штырей вилки должен быть устойчив к нагрузкам, которые могут возникнуть при повышенных температурах в условиях, близких к ненадлежащему соединению, и низких температурах - в особых условиях эксплуатации.
Проверку проводят следующим испытанием.
30.1 Испытание давлением при высокой температуре
Образцы испытывают с помощью прибора, приведенного на рисунке 41. Прибор имеет лезвие прямоугольной формы с концом шириной 0,7 мм [см. рисунок 41 a)] для использования с цилиндрическими штырями или лезвие круглой формы [см. рисунок 41 b)] диаметром 6 мм и с концом 0,7 мм - для всех остальных случаев.
Размеры в миллиметрах
1 - образец; 2 - опора
Рисунок 41 - Установка для испытания давлением
при высокой температуре
Образцы устанавливают, как показано на рисунке 41. Сила, прикладываемая к лезвию, равна 2,5 Н.
Прибор с испытуемым образцом содержат 2 ч в термокамере при температуре (200 +/- 5) °C.
Затем образец извлекают из прибора и в течение 10 с охлаждают в холодной воде.
Толщину изоляции измеряют сразу же в точке сжатия.
Толщина изоляции в точке сжатия должна быть не менее 50% от ее толщины до испытания.
Примечание - Значения прикладываемой силы 2,5 Н и температуры (200 +/- 5) °C являются временными.
30.2 Нагревание горячим паром
Три образца подвергают двум циклам нагревания паром в соответствии с #ГОСТ 28216# <1>
(вариант 2 с температурой 40 °C).
--------------------------------
<1> В Российской Федерации также действует ГОСТ Р МЭК 60068-2-30-2009 "Испытания на воздействия внешних факторов. Часть 2-30. Испытания. Испытание Db: Влажное тепло, циклическое (12 ч + 12-часовой цикл)".
После обработки паром и охлаждения до комнатной температуры образцы подвергают следующим испытаниям:
- на сопротивление изоляции и электрическую прочность - в соответствии с разделом 17;
- на истирание - в соответствии с 24.7.
30.3 Испытания при низкой температуре
Три образца выдерживают при температуре минус (15 +/- 2) °C в течение 24 ч.
После достижения образцом комнатной температуры его подвергают следующим испытаниям:
- на сопротивление изоляции и электрическую прочность - в соответствии с разделом 17;
- на истирание - в соответствии с 24.7.
30.4 Испытание ударом при низкой температуре
Образцы подвергают испытанию ударом с помощью прибора, приведенного на рисунке 42. Масса падающего груза принимается равной (100 +/- 1) г.
Размеры в миллиметрах
1 - образец; 2 - груз массой (100 +/- 1) г;
3 - промежуточная стальная вставка массой 100 г;
4 - стальная опора массой (10 +/- 1) кг; 5 - края закруглить
Рисунок 42 - Установка для испытания ударом при низкой
температуре
Прибор на прокладке из пористой резины толщиной 4 см помещают вместе с испытуемыми образцами в холодильник при температуре минус (15 +/- 2) °C на 24 ч.
| | ИС МЕГАНОРМ: примечание. В официальном тексте документа, видимо, допущена опечатка: имеется в виду рисунок 43, а не рисунок 42. | |
Спустя 24 ч каждый образец по очереди укрепляют в положении, показанном на рисунке 42, и на него сбрасывают груз с высоты 10 см. Четыре раза груз сбрасывают последовательно на один и тот же образец, поворачивая его на 90° после каждого удара.
1, 2, 3 - пункты, с которых начинается программа испытаний
Размеры в миллиметрах
Материал: латунь с минимальным содержанием меди 52%.
Допуск на указанные размеры 0,2 мм.
1 - пространство (отверстие) для питающего кабеля;
2 - резьбовое отверстие для зажимного винта;
3 - область для установки термопары
Примечания
1 Допуск на измерение(я) в заштрихованной площадке для измерения температуры +0,8 мм.
2 Значение d находится в пределах: 1,5 < d < 3 (мм).
3 Термопара должна быть помещена в пределах заштрихованной области, но на некотором отдалении от зажимного винта.
Рисунок 44 - Методика испытаний соединителей
1 - оболочка; 2 - входная мембрана; 3 - конверт;
4 - защитная мембрана; 5 - кабельный ввод
Рисунок 45 - Примеры мембран и прокладок
a) определение направления приложенных сил
1 - направление монтажа; 2 - направление силы, приложенной
на подсоединение и отсоединение (120 Н); 3 - направление
для вытягивания проводника 30 Н в течение 1 мин
Рисунок 46, лист 1 - Проверка требований
13.4
b) испытательная установка
| | ИС МЕГАНОРМ: примечание. Текст дан в соответствии с официальным текстом документа. | |
1 - направление монтажа; 2 - направление силы, приложенной
на подсоединение и отсоединение (120 Н); 3 - направление
для вытягивания проводника 30 Н в течение 1 мин;
5 - приложенная сила 120 Н; 6 - равнодействующая сила;
7 - тестовый зонд
Рисунок 46, лист 2
После испытания образцы доводят до комнатной температуры, а затем проводят визуальный осмотр.
Повреждения изолированной части штырей вилки не должны быть заметны при визуальном осмотре.
Примечание - Период охлаждения 24 ч, приведенный в
30.3 и
30.4, включает в себя время, необходимое для охлаждения прибора.
(обязательное)
ПРИЕМО-СДАТОЧНЫЕ ИСПЫТАНИЯ ПЕРЕНОСНЫХ И СТАЦИОНАРНЫХ
СОЕДИНИТЕЛЕЙ НА СООТВЕТСТВИЕ ТРЕБОВАНИЯМ БЕЗОПАСНОСТИ
(ЗАЩИТА ОТ ПОРАЖЕНИЯ ЭЛЕКТРИЧЕСКИМ ТОКОМ
И СОБЛЮДЕНИЕ ПОЛЯРНОСТИ)
A.1 Общие положения
Все вилки и розетки (переносные, стационарные) при изготовлении подвергают приемо-сдаточным испытаниям. Схематическое представление испытаний соединителей приведено в таблице A.1:
- двухполюсные системы - по
A.2;
- более чем двухполюсные - по
A.2 -
A.4.
Таблица A.1
Схематическое представление установленных испытаний
Пункт | Число полюсов |
2 | Св. 2 |
| x | x |
| - | x |
| - | x |
Испытательное оборудование и средства измерений, а также методы проведения испытаний должны обеспечивать непригодность для использования образцов, не соответствующих требованиям настоящего стандарта. Бракованные соединители должны храниться отдельно от соединителей, поставляемых потребителю.
Примечание - "Непригодность для использования" означает, что изделие повреждено так, что не в состоянии выполнять свои функции.
При проведении испытаний соединителей на предприятии-изготовителе в протоколе испытаний регистрируют следующие данные:
- обозначение типа, которое может быть, например, каталожным номером;
- дату испытаний;
- наименование, товарный или отличительный знак предприятия - изготовителя соединителей;
- число испытанных образцов;
- число отбракованных образцов и порядок или результаты испытаний.
Средства измерения и испытательное оборудование для испытаний проверяют перед каждым испытанием. При продолжительных циклах испытаний калибровку измерительных систем оборудования проводят не реже одного раза в сутки.
Настройка испытательного оборудования и проверка средств измерений должны обеспечить отбраковку дефектных образцов.
Соединители подлежат поставке потребителю при положительных результатах приемо-сдаточных испытаний.
A.2 Проверка полярности электрических цепей соединителей
При испытаниях применяют БСНН, которым воздействуют продолжительностью не менее 2 с.
Примечание - Время воздействия БСНН может быть уменьшено до 1 с при наличии испытательного оборудования с автоматическим отсчетом времени подачи напряжения.
Проверку проводят:
- для вилок и переносных розеток - между удаленным концом жилы проводника гибкого кабеля L и N и соответствующим штырем L и N вилки или соответствующими гнездовыми контактами розетки;
- для удлинителей - между штырями L и N вилки на одном конце жилы соответствующего проводника гибкого кабеля.
Полярность проводников должна быть правильной.
Примечание - Могут быть использованы результаты аналогичных испытаний.
Для штепсельных вилок и переносных розеток, предназначенных для использования в трехфазных источниках питания, в ходе испытания должна быть проверена правильность порядка соединения фазных проводников в последовательности фаз.
A.3 Проверка цепи заземления
При испытаниях применяют БСНН, которым воздействуют продолжительностью не менее 2 с.
Примечание - Время воздействия БСНН может быть уменьшено до 1 с при наличии испытательного оборудования с автоматическим отсчетом времени.
Проверку проводят:
- для вилок и переносных розеток - между удаленным концом жилы проводника гибкого кабеля и штырем цепи заземления или заземляющими контактами розетки;
- для удлинителей - между соответствующим заземляющим штырем вилки на одном конце и заземляющим контактом розетки - на другом конце.
Непрерывность электрической цепи заземления должна соблюдаться.
Примечание - Используют результаты аналогичных испытаний.
A.4 Сопротивление и электрическая прочность изоляции электрических цепей соединителей (между проводниками L или N и цепью заземления)
При испытаниях после завершения изготовления применяют источник электрического напряжения, которым воздействуют в течение не менее 2 с.
Испытания проводят при напряжении:
- (1250 +/- 10%) В - для соединителей на номинальное напряжение до 130 В включительно;
- (2000 +/- 10%) В - для соединителей на номинальное напряжение свыше 130 В.
Примечание - Время воздействия напряжения может быть уменьшено до 1 с при наличии испытательного оборудования с автоматическим отсчетом времени;
- для всех нормированных напряжений с использованием установки с импульсным испытательным напряжением с пиковым значением 4 кВ длительностью 1,2/50 мкс. Прикладывают три импульса с интервалом не менее 1 с:
- между L и 
- между N и
.
Примечание - Проводники цепи L и N при этом испытании могут быть закорочены.
В процессе испытания не должно быть пробоев и коротких замыканий.
(обязательное)
ОБОЗНАЧЕНИЕ И ЧИСЛО ОБРАЗЦОВ, НЕОБХОДИМЫХ ДЛЯ ИСПЫТАНИЙ
Таблица B.1
Число образцов, необходимых для испытаний в соответствии с
5.4
Разделы и подразделы настоящего стандарта | Обозначения и число образцов |
Неразборные розетки | Разборные розетки | Вилки |
| Номинальные величины | A | A | A |
| Классификация | A | A | A |
| Маркировка | A | A | A |
| Проверка размеров | ABC | ABC | ABC |
| Защита от поражения электрическим током <a> | ABC | ABC | ABC |
| Заземление | ABC | ABC | ABC |
| Контактные зажимы | | ABC | ABC |
| Конструкция стационарных розеток | | - | - |
| Конструкция вилок и переносных розеток | - | | |
| Сблокированные розетки | ABC | ABC | - |
| Устойчивость к старению, защита от проникновения воды и влагостойкость | ABC | ABC | ABC |
| Сопротивление и электрическая прочность изоляции | ABC | ABC | ABC |
| Работа заземляющего контакта | ABC | ABC | ABC |
| Превышение температуры | ABC | ABC | ABC |
| Отключающая способность | ABC | ABC | ABC |
| Нормальная работа | ABC | ABC | ABC |
| Усилие при разъеме штырей вилки с гнездами розетки | ABC | ABC | - |
| Гибкие кабели, шнуры и их присоединение | - | | |
| Механическая прочность | | | |
| | ABC | ABC | ABC |
| Винты, токоведущие части и соединения | ABC | ABC | ABC |
| Пути утечки тока, воздушные зазоры и расстояния через заливочную массу | ABC | ABC | ABC |
| Коррозиестойкость | ABC | ABC | ABC |
| Устойчивость к воздействию повышенной температуры и огня | DEF | DEF | DEF |
| Устойчивость к токам утечки <k> | DEF | DEF | DEF |
| Дополнительные испытания частично опрессованных штырей вилки | - | - | |
| Общее число | 6 | 6 | 9 |
<a> Один дополнительный комплект образцов, необходимых для испытания по 10.6. <b> Один дополнительный комплект образцов используют для испытаний по 12.3.10, пять дополнительных комплектов безвинтовых контактных зажимов используют для испытаний по 12.3.11 и один дополнительный комплект образцов используют для испытания по 12.3.12. <c> Один дополнительный комплект мембран необходим для каждого из испытаний по 13.22 и 13.23. <d> Один дополнительный набор образцов необходим для проверки того, что механическая прочность штыря не зависит от пластика. <e> Один дополнительный комплект образцов необходим для испытаний по 23.2 и 23.4 для образцов без заземляющего контакта для каждого типа кабеля. <f> Один дополнительный комплект образцов используют для испытаний по 24.8 для розеток со шторками. <g> Один дополнительный комплект образцов используют для испытаний по 24.14.1 и 24.14.2. <h> Один дополнительный комплект образцов используют для испытаний по 24.10. <i> Один дополнительный комплект состаренных образцов используют для испытаний по 25.2 и 25.3. <k> Можно использовать один дополнительный комплект образцов. <l> Один дополнительный комплект образцов используют для испытаний по 30.2 и 30.3 для вилок с частично опрессованными штырями с изоляционными втулками. |
(справочное)
АЛЬТЕРНАТИВНЫЙ ВАРИАНТ ИЗМЕРЕНИЯ СИЛЫ РАЗЪЕМА ШТЫРЕЙ ВИЛКИ
С ГНЕЗДАМИ РОЗЕТКИ
Испытание C.1
До испытания контрольную вилку, показанную на рисунке C.1, протирают очистителем для металлов.
Размеры в миллиметрах
Материал: например, сталь горячей обработки.
Шероховатость захватываемой поверхности: от 0,6 до 0,8 мкм.
1 - отверстие для удерживания штырей
Примечание - Размеры соответствуют испытательному образцу и
рисунку C.2.
Рисунок C.1 - Контрольная вилка для испытаний на захват
Контрольную вилку, испытуемую вилку и руки испытателя моют водой с мылом, ополаскивают и сушат.
Испытательная установка состоит из измерительного устройства, снабженного надежным креплением контрольной и испытуемой вилок, понижающим вероятность вращения при вытягивании. Захватываемая поверхность, имитирующая введение вилки в штепсельную розетку одной и той же системы, имеющая прорезь для штырей вилки, должна быть прикреплена к подвижному элементу.
Примечание - Допускаются другие методы измерения усилия.
Монтажное устройство для испытуемой вилки должно быть таким, чтобы лицевая поверхность вилки была заподлицо с лицевой пластиной.
E - имитируемая поверхность захвата; H - отверстие
для введения фиксирующего устройства;
P - отверстия для штырей для удерживания фиксирующего
устройства; D - измерительное устройство
Примечание - Рисунок приведен исключительно для примера и не определяет конструкцию испытательной установки.
Рисунок C.2 - Пример испытательной установки для испытаний
на захват вилки
Испытуемая вилка с обрезанным у вилки гибким кабелем должна быть надежно закреплена на испытательной установке.
Испытатель любой рукой захватывает вилку так, чтобы приложить к ней максимальное вытягивающее усилие.
Равномерное прямолинейное усилие прикладывают до тех пор, пока вилка не вырвется из руки.
Испытатель, прикладывающий усилие, не должен наблюдать за индикатором усилия.
Максимальное приложенное усилие при вытягивании должно регистрироваться.
Сразу же после испытания на вытягивание к испытательной установке прикрепляют контрольную вилку и производят сравнимое усилие, приложенное той же рукой.
Максимальное приложенное усилие записывают.
Рассчитывают и записывают соотношение усилия, приложенного к испытуемой вилке, и усилия, приложенного к контрольной вилке.
Процедуру вытягивания, аналогичную вышеописанной, повторяют еще дважды на одной и той же вилке и тем же испытателем.
Соотношение каждой пары усилий (испытательная вилка/контрольная вилка) рассчитывают и записывают.
Один испытатель должен испытать три вилки (всего девять сопоставимых усилий) с расчетом и записью соотношений для каждой пары усилий для всех трех вилок. Если это соотношение составит 0,8 и более, испытание прекращают и результат считают положительным.
Если соотношение ниже 0,8, тогда два других испытателя проводят вышеуказанное испытание по три вилки на каждого (всего по девять сопоставимых усилий на каждого), как описано выше.
Соотношение каждой пары усилий (испытательная вилка/контрольная вилка) рассчитывают и записывают.
Результаты считают положительными при соблюдении всех следующих условий:
a) соотношение для каждой пары усилий (испытуемая/контрольная вилка) составляет 0,55 и более хотя бы для двух пар усилий из трех для каждой вилки;
b) не менее двух из трех испытанных каждым испытателем вилок соответствуют перечислению a);
c) не менее двух результатов двух испытателей соответствуют перечислению b).
Если только один испытатель получает результаты испытаний, соответствующие перечислению b), тогда по запросу изготовителя к испытанию привлекают двух испытателей, ранее не участвовавших в вышеописанных испытаниях для испытаний еще трех вилок, как описано выше.
Результаты считают положительными, если результаты обоих дополнительно привлеченных испытателей соответствуют перечислениям a) и b).
Результат не должен быть менее максимального выдергивающего усилия для соответствующей штепсельной розетки по таблице 16.
Испытание на захват C.2
Данное испытание состоит в проверке одной из следующих характеристик испытуемой вилки:
- вилка имеет общепринятую длину захвата не менее 55 мм в направлении оси; или
- вилка снабжена таким(и) углублением(ями) в корпусе, в которые может войти шарик диаметром (12 +/- 0,1) мм на 2 мм с двух противоположных сторон или на 4 мм с одной стороны; или
- вилка имеет специальные приспособления для выдергивания (например, крюки, кольца).
Результат испытаний считают положительным, если выполняется хотя бы одно из вышеперечисленных условий.
(обязательное)
ПЕРЕНОСНЫЕ РОЗЕТКИ СО ВСТРОЕННЫМИ ВЫКЛЮЧАТЕЛЯМИ
Выключатели, встроенные в переносные розетки, должны соответствовать соответствующей части серий стандартов #ГОСТ IEC 60669# или #ГОСТ IEC 61058#.
Номинальное значение выключателя не должно быть ниже самого низкого номинального значения розетки или встроенного устройства защиты от сверхтока.
Выключатели, помеченные как выключенные, должны иметь нормальную конструкцию зазора и должны отключать все полюса под напряжением.
Выключатели, соответствующие #ГОСТ IEC 61058-1#, должны иметь следующую минимальную классификацию:
- степень загрязнения - 2;
- номинальное импульсное выдерживаемое напряжение - 2500 В;
- уровень огнестойкости при испытании по температуре раскаленной проволоки - 750 °C;
- количество оперирований - 10 000.
(обязательное) ДОПОЛНИТЕЛЬНЫЕ ТРЕБОВАНИЯ К СТАЦИОНАРНЫМ РОЗЕТКАМ С ВИНТОВЫМИ ВЫВОДАМИ ДЛЯ ВНЕШНИХ НЕПОДГОТОВЛЕННЫХ АЛЮМИНИЕВЫХ ПРОВОДНИКОВ И С АЛЮМИНИЕВЫМИ ВИНТОВЫМИ ВЫВОДАМИ ДЛЯ МЕДНЫХ ИЛИ АЛЮМИНИЕВЫХ ПРОВОДНИКОВ ДА.1 Область применения Настоящее приложение распространяется на стационарные розетки в пределах действия настоящего стандарта, оснащенные винтовыми выводами из меди или медных сплавов, содержащих не менее 58% меди (для частей, изготавливаемых холодным способом) и не менее 50% меди (для частей другого способа изготовления), или из другого металла или металла с соответствующим покрытием, не менее коррозиестойкого, чем медь, и с не менее пригодными механическими свойствами, применяемыми с неподготовленными алюминиевыми проводниками, либо оснащенные винтовыми выводами из алюминиевого материала для присоединения медных или алюминиевых проводников. В данном приложении алюминиевые проводники с покрытием медью или никелем считаются алюминиевыми. Примечание - Нумерация пунктов настоящего приложения соответствует нумерации основной части стандарта, поэтому отсутствует обязательность ее непрерывности. Любой неупомянутый фрагмент текста применяют без изменения. ДА.2 Нормативные ссылки ГОСТ 31604 Соединительные устройства. Устройства для присоединения алюминиевых проводников к зажимам из любого материала и медных проводников к зажимам из алюминиевых сплавов. Общие требования и методы испытаний ДА.3 Определения ДА.3. 1 подготовленный проводник (treated conductor): Проводник, с внешних жил которого в контактной его части снят окисный слой и/или залита уплотняющая масса для обеспечения хорошей проводимости и/или предохранения от коррозии. ДА.3.2 неподготовленный проводник (untreated/unprepared conductor): Проводник, с конца которого на определенную длину снята изоляция для ввода его в вывод. Примечание - Проводник, имеющий такую форму, которая позволяет легко вводить его в вывод или концы жил которого скручены с целью укрепления, считают неподготовленным проводником. ДА.3.3 эквалайзер (выравниватель) (equalizer): Устройство, применяемое в испытательном контуре и обеспечивающее эквипотенциальную и однородную плотность тока в многожильном проводнике без изменения температуры проводника. ДА.3.4 контрольный проводник (reference conductor): Проводник большой протяженности того же типа и сечения, что и присоединенный к испытуемому выводу, включенный последовательно в ту же цепь. Он обеспечивает определяемую контрольную температуру и при необходимости контрольное сопротивление. ДА.3.5 коэффициент устойчивости Sf (stability factor Sf): Измерение стабильности температуры вывода при циклических испытаниях током. ДА.4 Общие требования и методы испытаний с учетом ГОСТ 31604. ДА.5 Маркировка и другая информация об изделии Маркировка, указанная в таблице ДА.1, должна наноситься со стороны контактных зажимов. Таблица ДА.1 Маркировка контактных зажимов |
Тип присоединяемого проводника | Маркировка |
Только медный | Нет |
Только алюминиевый | Al |
Алюминиевый и медный | Al/Cu |
Примечание - Маркировка контактных зажимов может быть одной из следующих: Al; Al/CU или  . |
(обязательное)
СВЕДЕНИЯ О СООТВЕТСТВИИ ССЫЛОЧНЫХ МЕЖГОСУДАРСТВЕННЫХ
СТАНДАРТОВ МЕЖДУНАРОДНЫМ СТАНДАРТАМ, ИСПОЛЬЗОВАННЫМ
В КАЧЕСТВЕ ССЫЛОЧНЫХ В ПРИМЕНЕННОМ МЕЖДУНАРОДНОМ СТАНДАРТЕ
Таблица ДБ.1
Обозначение ссылочного межгосударственного стандарта | Степень соответствия | Обозначение и наименование ссылочного международного стандарта |
(IEC 60529:2013) | MOD | IEC 60529:2013 "Степени защиты, обеспечиваемые оболочками (Код IP)" |
(МЭК 112-79) | MOD | IEC 60112:1979 "Материалы электроизоляционные твердые. Методы определения сравнительного и контрольного индексов трекингостойкости во влажной среде" |
| MOD | IEC 60068-2-30:1987 "Испытания на воздействия внешних факторов. Часть 2. Испытания. Испытание Db и руководство: Влажное тепло, циклическое (12 + 12-часовой цикл)" |
ГОСТ 28217-89 (МЭК 68-2-31-69) | MOD | IEC 60068-2-31:1969 "Испытания на воздействие внешних факторов. Часть 2. Испытания. Испытание Ec: Падение и опрокидывание, предназначенное в основном для аппаратуры" |
ГОСТ 30331.3-95 (МЭК 364-4-41-92)/ ГОСТ Р 50571.3-94 | MOD | IEC 60364-4-41:1992 "Электрические установки зданий. Часть 4. Мероприятия по обеспечению безопасности. Глава 41. Защита от электрического удара" |
ГОСТ 30630.1.10-2013 (IEC 60068-2-75:1997) | MOD | IEC 60068-2-75:1997 "Испытания на воздействие внешних факторов. Часть 2. Испытания. Испытание Eh: ударные испытания" |
(IEC 60320) (все части) | MOD | IEC 60320 (все части) "Соединители электрические бытового и аналогичного назначения" |
ГОСТ 30988.2.6-2012 (IEC 60884-2-6:1997) | MOD | IEC 60884-2-6:1997 "Вилки и розетки бытового и аналогичного назначения. Часть 2-6. Частные требования к штепсельным розеткам, снабженным выключателем, с блокировкой для стационарных электроустановок" |
ГОСТ 31602.1-2012 (IEC 60999-1:1999) | MOD | IEC 60999-1:1999 "Устройства соединительные. Медные электропровода. Требования безопасности к винтовым и безвинтовым зажимам. Часть 1. Общие и частные требования к зажимам для проводов сечением от 0,2 мм2 до 35 мм2 (включительно)" |
(IEC 61540:1997) | MOD | IEC 61540:1997 "Электроаппаратура вспомогательная. Переносные устройства защиты от токов замыкания на землю без встроенной максимальной токовой защиты бытового и аналогичного назначения" |
| IDT | IEC 61032:1997 "Защита людей и оборудования, обеспечиваемая оболочками. Щупы испытательные" |
--------------------------------
<1> В Российской Федерации также действует ГОСТ Р МЭК 60068-2-30-2009 "Испытания на воздействия внешних факторов. Часть 2-30. Испытания. Испытание Db: Влажное тепло, циклическое (12 ч + 12-часовой цикл)".
<2> В Российской Федерации действует
ГОСТ Р 50571.3-2009 (МЭК 60364-4-41:2005) "Электроустановки низковольтные. Часть 4-41. Требования для обеспечения безопасности. Защита от поражения электрическим током".
<3> В Российской Федерации действует ГОСТ Р МЭК 61032-2000 "Защита людей и оборудования, обеспечиваемая оболочками. Щупы испытательные".
Окончание таблицы ДБ.1
Обозначение ссылочного межгосударственного стандарта | Степень соответствия | Обозначение и наименование ссылочного международного стандарта |
| IDT | IEC 60050-151:2001 "Международный электротехнический словарь. Часть 151. Электрические и магнитные устройства" |
| IDT | IEC 60050-442:1998 "Международный электротехнический словарь. Часть 442. Электрические аксессуары" |
ГОСТ IEC 60227 (все части) | IDT | IEC 60227 (все части) "Кабели с поливинилхлоридной изоляцией на номинальные напряжения до 450/750 В включительно" |
ГОСТ IEC 60245 (все части) | IDT | IEC 60245 (все части) "Кабели с резиновой изоляцией на номинальное напряжение до 450/750 В включительно" |
| IDT | IEC 60598-2-20:2002 "Светильники. Часть 2-20. Частные требования. Световые гирлянды" |
ГОСТ IEC 60669 (все части) | IDT | IEC 60999 (все части) "Устройства соединительные. Медные электропровода. Требования безопасности к винтовым и безвинтовым зажимам" |
| IDT | IEC 60670 (все части) "Кожухи и оболочки для принадлежностей бытовых и аналогичных стационарных электрических установок" |
ГОСТ IEC 60695-2-10-2016 <1> | IDT | IEC 60695-2-10:2013 "Испытание на пожарную опасность. Часть 2-10. Методы испытания с применением накаленной/нагретой проволоки. Аппаратура и общие положения методики испытания накаленной проволокой" |
| IDT | IEC 60695-2-11:2000 "Испытания на пожароопасность. Часть 2-11. Методы испытаний раскаленной/горячей проволокой. Метод испытания конечной продукции на воспламеняемость под действием раскаленной проволоки" |
ГОСТ IEC 61058 (все части) | IDT | IEC 61058 (все части) "Выключатели для электроприборов" |
ГОСТ IEC 61058-1-2012 | IDT | IEC 61058-1:2008 "Выключатели для электрических приборов бытового и аналогичного назначения. Часть 1. Общие требования" |
| IDT | IEC 61140:2009 "Защита от поражения электрическим током. Общие аспекты, связанные с электроустановками и электрооборудованием" |
ГОСТ ISO 2081-2017 | IDT | ISO 2081:2008 "Металлические и другие неорганические покрытия. Электролитические покрытия цинком с дополнительной обработкой по чугуну и стали" |
Примечание - В настоящей таблице использованы следующие условные обозначения степени соответствия стандартов: - IDT - идентичные стандарты; - MOD - модифицированные стандарты. |
--------------------------------
<1> В Российской Федерации действует
ГОСТ Р МЭК 60695-2-10-2011 "Испытания на пожароопасность. Часть 2-10. Основные методы испытаний раскаленной проволокой. Установка испытания раскаленной проволокой и общие процедуры испытаний".
<2> В Российской Федерации действует
ГОСТ Р 58698-2019 (МЭК 61140:2016) "Защита от поражения электрическим током. Общие положения для электроустановок и электрооборудования".
| ISO/IEC Guide 51:2014 | Safety aspects - Guidelines for their inclusion in standards (Аспекты безопасности. Руководство по их включению в стандарты) |
| IEC 60417 | Graphical symbols for use on equipment (Графические обозначения, применяемые на оборудовании) |
| IEC 60423 | Conduit systems for cable management - Outside diameters of conduits for electrical installations and threads for conduits and fittings (Кабелепроводы электротехнического назначения. Наружные диаметры кабелепроводов для электроустановок и резьбы для кабелепроводов и фитингов) |
| ISO 1456 | Metallic and other inorganic coatings - Electrodeposited coatings of nickel, nickel plus chromium, copper plus nickel and of copper plus nickel plus chromium (Покрытия металлические. Электролитические покрытия из никель-хрома, медь-никеля и медь-никель-хрома) |
| ISO 2093 | Electroplated coatings of tin. Specification and test methods (Покрытия электролитические оловянные. Технические требования и методы испытания) |
УДК 621.316.542:006.354 | |
Ключевые слова: соединители электрические штепсельные, вилки и розетки бытовые, присоединение электрических приемников, требования безопасности, методы испытаний |