Главная // Актуальные документы // ГОСТ (Государственный стандарт)
СПРАВКА
Источник публикации
М.: Стандартинформ, 2014
Примечание к документу
Документ включен в Перечень международных и региональных (межгосударственных) стандартов, а в случае их отсутствия - национальных (государственных) стандартов, в результате применения которых на добровольной основе обеспечивается соблюдение требований технического регламента Таможенного союза "О безопасности низковольтного оборудования" (ТР ТС 004/2011) и в Перечень международных и региональных (межгосударственных) стандартов, а в случае их отсутствия - национальных (государственных) стандартов, содержащих правила и методы исследований (испытаний) и измерений, в том числе правила отбора образцов, необходимые для применения и исполнения требований технического регламента Таможенного союза "О безопасности низковольтного оборудования" (ТР ТС 004/2011) и осуществления оценки соответствия объектов технического регулирования (Решение Коллегии Евразийской экономической комиссии от 11.05.2023 N 55).

Отдельные положения данного документа включены в Перечень документов в области стандартизации, в результате применения которых на добровольной основе обеспечивается соблюдение требований Федерального закона от 22.07.2008 N 123-ФЗ "Технический регламент о требованиях пожарной безопасности" (Приказ Росстандарта от 13.02.2023 N 318).

Отдельные положения данного документа включены в Перечень документов в области стандартизации, в результате применения которых на добровольной основе обеспечивается соблюдение требований Федерального закона от 22.07.2008 N 123-ФЗ "Технический регламент о требованиях пожарной безопасности" (Приказ Росстандарта от 14.07.2020 N 1190).

Отдельные положения данного документа включены в Перечень документов в области стандартизации, в результате применения которых на добровольной основе обеспечивается соблюдение требований Федерального закона от 22.07.2008 N 123-ФЗ "Технический регламент о требованиях пожарной безопасности" (Приказ Росстандарта от 03.06.2019 N 1317).

Документ включен в Перечень стандартов, в результате применения которых на добровольной основе обеспечивается соблюдение требований технического регламента Таможенного союза "О безопасности низковольтного оборудования" (ТР ТС 004/2011) и в Перечень стандартов, содержащих правила и методы исследований (испытаний) и измерений, в том числе правила отбора образцов, необходимые для применения и исполнения требований технического регламента Таможенного союза "О безопасности низковольтного оборудования" (ТР ТС 004/2011) и осуществления оценки (подтверждения) соответствия продукции (Решение Комиссии Таможенного союза от 16.08.2011 N 768).

Документ введен в действие с 1 июля 2014 года.
Название документа
"ГОСТ IEC 60598-2-20-2012. Межгосударственный стандарт. Светильники. Часть 2-20. Частные требования. Световые гирлянды"
(введен в действие Приказом Росстандарта от 28.08.2013 N 564-ст)

"ГОСТ IEC 60598-2-20-2012. Межгосударственный стандарт. Светильники. Часть 2-20. Частные требования. Световые гирлянды"
(введен в действие Приказом Росстандарта от 28.08.2013 N 564-ст)


Содержание


Введен в действие
Приказом Федерального
агентства по техническому
регулированию и метрологии
от 28 августа 2013 г. N 564-ст
МЕЖГОСУДАРСТВЕННЫЙ СТАНДАРТ
СВЕТИЛЬНИКИ
ЧАСТЬ 2-20
ЧАСТНЫЕ ТРЕБОВАНИЯ
СВЕТОВЫЕ ГИРЛЯНДЫ
Luminaires. Part 2-20.
Particular requirements - Lighting chains
(IEC 60598-2-20:2002, IDT)
ГОСТ IEC 60598-2-20-2012
МКС 29.140.40
Дата введения
1 июля 2014 года
Предисловие
Цели, основные принципы и порядок проведения работ по межгосударственной стандартизации установлены ГОСТ 1.0-92 "Межгосударственная система стандартизации. Основные положения" и ГОСТ 1.2-2009 "Межгосударственная система стандартизации. Стандарты межгосударственные, правила и рекомендации по межгосударственной стандартизации. Правила разработки, принятия, применения, обновления и отмены"
Сведения о стандарте
1 ПОДГОТОВЛЕН Открытым акционерным обществом "Всероссийский научно-исследовательский институт сертификации" (ОАО "ВНИИС")
2 ВНЕСЕН Федеральным агентством по техническому регулированию и метрологии (Росстандарт)
3 ПРИНЯТ Межгосударственным советом по стандартизации, метрологии и сертификации (протокол N 54-П от 03 декабря 2012 г.)
За принятие проголосовали:
Краткое наименование страны по МК (ИСО 3166) 004-97
Код страны по МК (ИСО 3166) 004-97
Сокращенное наименование национального органа по стандартизации
Армения
AM
Минэкономики Республики Армения
Казахстан
KZ
Госстандарт Республики Казахстан
Киргизия
KG
Кыргызстандарт
Россия
RU
Росстандарт
Таджикистан
TJ
Таджикстандарт
Узбекистан
UZ
Узстандарт
4 Приказом Федерального агентства по техническому регулированию и метрологии от 28 августа 2013 г. N 564-ст межгосударственный стандарт ГОСТ IEC 60598-2-20-2012 введен в действие в качестве национального стандарта Российской Федерации с 01 июля 2014 г.
5 Настоящий стандарт идентичен международному стандарту IEC 60598-2-20:2002 Luminaires - Part 2-20: Particular requirements - Lighting chains (Светильники. Часть 2-20. Частные требования. Световые гирлянды).
В настоящем стандарте применены следующие шрифтовые выделения:
- требования - светлый;
- термины - полужирный;
- методы испытаний - курсив;
- примечания - петит.
В разделе "Нормативные ссылки" и тексте стандарта ссылки на международные стандарты актуализированы.
Международный стандарт IEC 60598-2-20 разработан подкомитетом 34D "Светильники", технического комитета IEC/TC 34: "Лампы и приспособления для ламп".
Настоящий стандарт представляет собой технический пересмотр предыдущей редакции стандарта.
Настоящий стандарт предназначен для прочтения совместно со стандартом IEC 60598-1 "Светильники. Часть 1. Общие требования и испытания".
Официальные экземпляры международного стандарта, на основе которого подготовлен настоящий межгосударственный стандарт, и международных стандартов, на которые даны ссылки, имеются в Федеральном информационном фонде технических регламентов и стандартов.
Перевод с английского языка (en).
Степень соответствия - идентичная (IDT).
6 ВВЕДЕН ВПЕРВЫЕ.
Информация об изменениях к настоящему стандарту публикуется в ежегодном информационном указателе "Национальные стандарты", а текст изменений и правок в ежемесячном информационном указателе "Национальные стандарты". В случае пересмотра (замены) или отмены настоящего стандарта соответствующее уведомление будет опубликовано в ежемесячном информационном указателе "Национальные стандарты". Соответствующая информация, уведомления и тексты размещаются в информационной системе общего пользования - на информационном сайте Федерального агентства по техническому регулированию и метрологии в сети Интернет.
20.1 Область применения
Настоящий стандарт серии стандартов IEC 60598 устанавливает требования для световых гирлянд, состоящих из последовательно или параллельно подключенных или сочетаний последовательного и параллельного подключения ламп накаливания, предназначенных либо для внутреннего, либо для наружного освещения при напряжении питания, не превышающем 250 В.
Примечание 1 - Примером световой гирлянды с последовательно или последовательно/параллельно подключенными лампами служит елочная гирлянда.
Примером световой гирлянды с параллельно подключенными лампами служит гирлянда для освещения лыжных трасс или прогулочных дорожек.
Примечание 2 - К световым гирляндам с патронами для ламп втычного типа применяют соответствующие требования настоящего стандарта.
Примечание 3 - В некоторых странах термин "нити" применяют вместо термина "гирлянды".
Примечание 4 - Для световых гирлянд с нестандартизованными лампами (например, лампы с патронами втычного типа) данные лампы рассматриваются как часть световой гирлянды и поэтому включены в испытания (и как следствие в сертификат, если таковой имеется).
20.2 Нормативные ссылки
Для применения настоящего стандарта необходимы следующие ссылочные документы. Для датированных ссылок применяют только указанное издание ссылочного документа, для недатированных ссылок применяют последнее издание ссылочного документа (включая все его изменения).
IEC 60083 Штепсели и розетки бытового и аналогичного назначения, стандартизованные в странах - членах МЭК
IEC 60227 (все части) Кабели с поливинилхлоридной изоляцией на номинальные напряжения до 450/750 В включительно
IEC 60238:2004 Патроны Эдисона резьбовые <1>, Изменение 1 (2008)
--------------------------------
<1> Имеется объединенное издание 8.1 (2008), включающее IEC 60238:2004 и Изменение 1 (2008).
IEC 60245 (все части) Кабели с резиновой изоляцией на номинальное напряжение до 450/750 В включительно
IEC 60529 Степени защиты, обеспечиваемые корпусами (код IP)
IEC 60598-1:2008 Светильники. Часть 1. Общие требования и испытания
IEC 60811-3-1:1985 Материалы для изоляции и оболочек электрических кабелей. Общие методы испытаний. Часть 3-1. Специальные методы для поливинилхлоридных компаундов. Испытание давлением при высокой температуре. Испытание на стойкость к растрескиванию", Изменение 1 (1994), Изменение 2 (2001)
IEC 61184 Патроны ламповые байонетные
IEC 61347-2-11 Аппаратура управления ламповая. Часть 2-11. Частные требования к вспомогательным электронным схемам для светильников
Примечание - При пользовании настоящим стандартом целесообразно проверить действие ссылочных стандартов в информационной системе общего пользования - на официальном сайте Федерального агентства по техническому регулированию и метрологии в сети Интернет или по ежегодному информационному указателю "Национальные стандарты", который опубликован по состоянию на 1 января текущего года, и по выпускам ежемесячного информационного указателя "Национальные стандарты" за текущий год. Если ссылочный стандарт заменен (изменен), то при пользовании настоящим стандартом следует руководствоваться заменяющим (измененным) стандартом. Если ссылочный стандарт отменен без замены, то положение, в котором дана ссылка на него, применяют в части, не затрагивающей эту ссылку.
20.3 Общие требования к испытаниям
Применяют соответствующий раздел части 1 IEC 60598-1. Испытания, описанные в каждом соответствующем разделе IEC 60598-1, следует проводить в порядке, приведенном в настоящем стандарте.
20.4 Термины и определения
В настоящем стандарте термины, приведенные в разделе 1 IEC 60598-1, применены с соответствующими определениями:
20.4.1 световая гирлянда: Светильник, содержащий в собранном виде патроны, подключенные последовательным, параллельным или последовательным/параллельным соединением, и подключенные в данную схему изолированные провода (проводники).
Примечание 1 - Для световых гирлянд с нестандартизованными лампами (например, лампы с патронами втычного типа) данные лампы рассматриваются как часть световой гирлянды.
Примечание 2 - Для световых гирлянд с незаменяемыми лампами данные лампы рассматриваются как часть световой гирлянды.
Примечание 3 - Световая гирлянда может включать электронные устройства управления (например, источники проблескового освещения, см. пункт 20.7.16).
20.4.2 герметичная гирлянда: Световая гирлянда, заключенная в жесткую или гибкую изолирующую просвечивающую трубу или трубку, герметично закрытую на концах и не имеющую швов.
20.5 Классификация гирлянд
Световые гирлянды должны быть классифицированы в соответствии с положениями раздела 2 IEC 60598-1 совместно с требованиями пункта 20.5.1 и пункта 20.5.2.
Примечание - Поскольку от световых гирлянд в обязательном порядке требуется быть пригодными для установки и монтажа на нормальных поверхностях со стандартными характеристиками воспламеняемости, они не требуют маркировки соответствующим знаком F или предупреждающей надписи.
20.5.1 В соответствии с типом защиты от поражения электрическим током световые гирлянды должны быть классифицированы как имеющие класс защиты II или III.
20.5.2 По степени защиты от попадания пыли и влаги световые гирлянды для наружного освещения следует классифицировать как гирлянды, защищенные от капель дождя, брызг, струй, или как гирлянды водонепроницаемой конструкции.
20.6 Маркировка
Положения раздела 3 IEC 60598-1 применяют вместе с требованиями пункта 20.6.1 и пункта 20.6.2.
20.6.1 На световые гирлянды должна быть нанесена маркировка, содержащая следующую информацию:
a) на световые гирлянды должна наноситься маркировка, содержащая тип или электротехнические характеристики ламп и суммарное номинальное напряжение гирлянды. Там, где представляется невозможным наносить маркировку на саму световую гирлянду, эта маркировочная информация должна быть нанесена на прочной несъемной оболочке кабеля или на его этикетке;
b) к световым гирляндам должно прилагаться руководство, содержащее следующие предупреждения:
1) не допускается удаление или установка ламп без отключения гирлянды от сети;
2) при последовательном соединении ламп для предотвращения перегревания безотлагательно заменить вышедшие из строя лампы лампами с тем же номинальным напряжением и номинальной мощностью; это требование не применяется к герметичным гирляндам;
3) не подсоединять гирлянду к источнику напряжения, если она находится в упаковке, кроме случая, когда упаковка приспособлена для демонстрационных целей;
4) для последовательного соединения ламп при использовании ламп с плавким предохранителем для обеспечения соответствия не заменять такую лампу на лампу без плавкого предохранителя [см. пункт e];
5) обеспечить наличие ламп во всех патронах;
c) к обычным световым гирляндам также должна прилагаться следующая информация:
"Только для использования в помещении".
К световым гирляндам, рассчитанным на использование с уплотнениями для обеспечения указанной степени защиты от попадания пыли или влаги, должна дополнительно прилагаться следующая информация:
"Предупреждение - световая гирлянда не должна использоваться без наличия на местах всех необходимых уплотнений";
d) световые гирлянды, не предназначенные для соединения в одну электрическую цепь, должны сопровождаться следующим предупреждением:
"Не соединять электрическую гирлянду с другой гирляндой";
e) к световым гирляндам, имеющим лампы с плавким предохранителем, для обеспечения соответствия пункту 20.13.3 должна прилагаться информация, указывающая средства для идентификации ламп с плавким предохранителем (см. пункт 20.6.3).
Примечание - В данном подпункте лампа с плавким предохранителем является лампой, спроектированной так, чтобы оборвать цепь в случае превышения допустимого тока либо посредством отдельного плавкого предохранителя, встроенного в данную лампу, или любыми другими средствами, например применением специальной нити накала;
f) к световым гирляндам с нестандартизованными лампами должна прилагаться информация, указывающая на то, что замену этих ламп следует осуществлять лампами такого же типа, которые были поставлены в комплекте с гирляндой, или лампами, тип которых оговаривается изготовителем (см. пункт 20.6.2);
g) к световым гирляндам с лампами, не предназначенными для замены, должна прилагаться информация, что эти лампы не являются заменяемыми.
Информация, требуемая в пункте 20.6.1, перечисления b) 3), f) и g), должна быть указана на упаковке.
20.6.2 Патрон или кабель, или прочная несъемная оболочка кабеля или его этикетка должны иметь в маркировке следующие данные:
a) знак о происхождении (может иметь форму товарного знака, идентификационного знака изготовителя или названия ответственного продавца);
b) обозначение для класса защиты II или III, если гирлянды соответствуют этим классам защиты;
c) маркировка степени защиты от проникновения пыли и влаги, если такая защита имеется, или предупреждение о том, что данная гирлянда предназначена только для использования в помещении;
d) номинальное напряжение для гирлянд класса защиты III;
e) напряжение и мощность в ваттах ламп для замены;
f) использование для замены только ламп того типа, которые поставлялись вместе с этой световой гирляндой.
20.6.3 Лампы с плавким предохранителем для обеспечения соответствия пункту 20.13.3 должны иметь соответствующие средства идентификации, такие, как специальный цвет.
20.7 Конструкция
Положения раздела 4 IEC 60598-1 применяют вместе с требованиями пунктов 20.7.1 - 20.7.16.
20.7.1 Резьбовые патроны E10, E14 и E27 должны отвечать требованиям IEC 60238.
Байонетные патроны должны отвечать требованиям IEC 61184.
Для световых гирлянд с нестандартизованными лампами (например, лампы с патронами втычного типа) данные лампы рассматриваются как часть световой гирлянды и испытываются соответствующим образом.
Патроны E5 и аналогичные патроны втычного типа малых размеров должны отвечать требованиям соответствующих разделов IEC 60238.
В световых гирляндах с параллельно подключенными лампами патроны E27 и B22 с обособленными проникающими контактами должны отвечать требованиям, приведенным в соответствующей части IEC 60598.
20.7.2 Пункт 4.6 раздела 4 IEC 60598-1, относящийся к клеммной колодке, не применяют.
20.7.3 Пункт 4.7 раздела 4 IEC 60598-1, относящийся к контактным зажимам и сетевым соединительным устройствам, применяют вместе со следующим требованием: способ присоединения проводки (внешней или внутренней) к элементам гирлянды должен обеспечивать надежный электрический контакт в течение всего срока службы этого элемента.
Соответствие данному требованию проверяют осмотром и при проведении испытаний.
20.7.4 Применяют только требования пунктов 4.11.4 и 4.11.5 раздела 4 стандарта IEC 60598-1, относящиеся к электрическим соединениям и токопроводящим элементам.
20.7.5 Уплотнения, обеспечивающие установленную степень защиты световых гирлянд для наружного освещения от проникновения пыли и влаги, должны быть стойкими к воздействию окружающей среды. Такие уплотнения должны оставаться на гирлянде при замене лампы в гирлянде и возвращаться в исходное положение (без зазоров) при установке новой лампы.
Проверку проводят внешним осмотром и пробным монтажом.
В настоящий момент не установлено никаких требований для проверки стойкости уплотнений при воздействии окружающей среды.
20.7.6 Проверку соответствия требованиям к механической прочности согласно пункту 4.13 раздела 4 IEC 60598-1 для резьбовых патронов и малогабаритных патронов втычного типа проводят с помощью испытаний, указанных в разделе 15 IEC 60238.
Испытания проводят на трех образцах патронов без ламп. После проведения испытаний патроны должны соответствовать требованиям пункта 4.13 раздела 4 IEC 60598-1.
20.7.7 Патроны E5 и E10, а также аналогичные малогабаритные патроны втычного типа следует использовать только в том случае, когда нормируемое напряжение каждой лампы не превышает:
- 25 В для патронов E5 и аналогичных малогабаритных патронов;
- 60 В для последовательного соединения патронов E10 и аналогичных малогабаритных патронов;
- 250 В для параллельного соединения патронов E10.
Соответствие данному требованию проверяют осмотром.
20.7.8 В световых гирляндах с последовательным соединением ламп сопротивления (если они имеются) для шунтирования нити накала лампы должны находиться в этих лампах. Защита от поражения электрическим током или от возгорания не должна снижаться при работе этих сопротивлений.
Соответствие гирлянд этому требованию проверяют внешним осмотром и при необходимости испытанием с размыканием нити накала лампы.
20.7.9 Источники проблескового освещения, являющиеся составной частью световой гирлянды, должны быть заключены в изоляционный материал, устойчивый к воспламенению; они должны быть надежно прикреплены к кабелю гирлянды.
Соответствие требованию проверяют осмотром и для проверки невоспламеняемости изоляционного материала проводят испытание согласно пункту 20.16.
20.7.10 Не применяют.
20.7.11 Патроны для заменяемых ламп втычного типа должны иметь корпус из изоляционного материала.
Соответствие требованию проверяют внешним осмотром.
20.7.12 Стеклянная колба заменяемых ламп не должна вращаться относительно цоколя, и цоколь лампы не должен вращаться относительно патрона.
Соответствие требованию проверяют, прикладывая в течение 1 мин крутящий момент 0,025 Н·м к колбе лампы. Во время испытания не должно происходить смещения между этими элементами.
20.7.13 Заменяемые лампы втычного типа должны оставаться в фиксированном положении, когда к лампе прилагают усилие отрыва силой до 3 Н. Заменяемые лампы должны обеспечивать электрический контакт с контактными элементами патрона при приложении надавливающей силы от 3 до 10 Н. Изъятие лампы из патрона следует осуществлять при отрывающем усилии от 3 до 10 Н.
Незаменяемые лампы должны выдерживать отрывающую силу (10 +/- 1) Н, при приложении которой лампы должны оставаться в фиксированном положении и оставаться безопасными.
В процессе приложения указанных значений силы не должно возникать повреждений, ухудшающих условия безопасности, и, в частности, не должно иметь место разрушение или отделение стеклянной колбы лампы от ее цоколя.
Соответствие требованию проверяют на новом образце испытанием вручную, измерением прикладываемых сил и внешним осмотром.
Образец затем помещают в печь при температуре (120 +/- 5) °C на 2 ч, после этого ему дают охладиться до комнатной температуры.
Затем в отношении образца снова применяют те же испытания, требования и критерии соответствия, что установлены для данного образца до проведения теплового воздействия (нагрева).
20.7.14 Герметичные гирлянды должны иметь достаточную механическую прочность.
Для жестких негнущихся герметичных гирлянд соответствие данному требованию проверяют посредством следующих испытаний трубки, проводимых 45 раз каждое из следующих испытаний по очереди:
a) прикладывают к концам трубки без резких толчков растягивающее усилие 60 Н в течение 1 мин;
b) прикладывают к концам трубки в наиболее нежелательном направлении (в случае сомнений в различных направлениях) без резких толчков крутящий момент 0,15 Н·м в течение 1 мин.
Для гибких герметичных световых гирлянд соответствие данному требованию проверяют указанными выше испытаниями по перечислениям a) и b), а также следующим дополнительным испытанием.
Наматывают трубку с натяжением 60 Н на цилиндр диаметром 250 мм в следующих количествах операций и при температуре окружающей среды, приведенной ниже:
- для гирлянд, имеющих степень защиты IP20 и менее, - 10 раз при температуре (25 +/- 5) °C;
- для гирлянд, имеющих степень защиты выше IP20, - 10 раз при температуре (25 +/- 5) °C, и затем 10 раз при температуре минус (15 +/- 5) °C.
После проведения испытания на трубке не должно быть повреждений, влияющих на безопасность гирлянды, и она должна выдержать испытание на электрическую прочность изоляции по пункту 20.15 между токоведущими частями и трубкой гирлянды.
Примечание 1 - Во время проведения испытания допускается выход из строя ламп.
Примечание 2 - Пример испытательного устройства для наматывания гибкой трубки приведен на рисунке 3.
20.7.15 Лампы световой гирлянды должны соответствовать механическим требованиям пункта 4.13.1 IEC 60598-1 при применении энергии воздействия 0,2 Н·м, когда:
a) лампы являются несъемными; или
b) лампы являются нестандартизованными или параллельно подсоединенными.
20.7.16 Любое электронное устройство управления (например, источник проблескового освещения) должно кроме требований настоящего стандарта соответствовать требованиям IEC 61347-2-11.
Соответствие настоящему требованию проверяют проведением соответствующих испытаний.
20.8 Пути утечки тока и воздушные зазоры
Применяют положения раздела 11 IEC 60598-1, а для резьбовых и малых торцевых патронов - пункт 17 IEC 60238.
20.9 Заземление
Положения раздела 7 IEC 60598-1 не применяют.
20.10 Контактные зажимы
Применяют положения раздела 15 IEC 60598-1.
20.11 Внешняя и внутренняя проводка
20.11.1 Подпункт 5.2.2 раздела 5 IEC 60598-1 не применяют. Внутренние и внешние кабели световых гирлянд должны быть не хуже, чем кабели следующих типов (см. таблицу 1):
Таблица 1
Характеристики световых гирлянд
Для обычных световых гирлянд класса защиты II и обычных герметичных гирлянд
60227 IEC 43
60227 IEC 52 <*>
Для других гирлянд класса защиты II с последовательным соединением патронов
60245 IEC 57 <*>
Для других гирлянд класса защиты II с параллельным соединением патронов и соединительного кабеля для герметичных гирлянд
60245 IEC 57 <*>
Для других гирлянд класса защиты II, где длина кабеля между точкой питания и ближайшим патроном превышает 3 м - для данной части кабеля
60245 IEC 66
Для гирлянд и элементов гирлянд класса защиты III, предназначенных для питания безопасным сверхнизким напряжением (SELV), и максимальной номинальной мощностью в ваттах, превышающей 50 Вт
60227 IEC 42 <*>
Для гирлянд и элементов гирлянд класса защиты III, предназначенных для питания безопасным сверхнизким напряжением (SELV), и максимальной номинальной мощностью в ваттах, не превышающей 50 Вт
Изоляция согласно пункту 5.3.1 IEC 60598-1
<*> Кабель может состоять из одножильного кабеля с двухслойной изоляцией в соответствии с оговоренной типовой схемой.
Соответствие проверяют осмотром, измерением и с помощью расчетов.
Номинальное сечение проводов должно быть не менее одного из следующих значений:
a) 0,5 мм2 - для обычных световых гирлянд класса защиты II с патронами типов E5 или E10 или другими малыми патронами;
b) 0,75 мм2 - для других световых гирлянд класса II с патронами типов E14, E27, B15 или B22 при последовательном подключении ламп;
c) 1,5 мм2 - для световых гирлянд класса защиты II с патронами типов E14, E27, B15 или B22 при параллельном подключении ламп;
d) 0,5 мм2 - для гирлянд класса защиты III и элементов гирлянд, предназначенных для питания безопасным сверхнизким напряжением (SELV), и максимальной номинальной мощностью в ваттах, превышающей 50 Вт;
e) 0,4 мм2 - для гирлянд класса защиты III и элементов гирлянд, предназначенных для питания безопасным сверхнизким напряжением (SELV), и максимальной номинальной мощностью в ваттах, не превышающей 50 Вт;
f) 1 мм2 - для кабеля между штепсельной вилкой и герметичной гирляндой, не имеющей швов;
g) 1,5 мм2 - для кабеля между штепсельной вилкой и герметичной гирляндой, имеющей швы или следы от стыковки составных элементов.
Если максимальная номинальная мощность световых гирлянд и элементов гирлянд класса III, питаемых безопасным сверхнизким напряжением (SELV) не более 50 Вт, то в этом случае провода внутренних и внешних кабелей могут иметь площадь поперечного сечения менее 0,4 мм2 при условии, что обеспечивается предельно допустимая токовая нагрузка и механическая прочность. В случае если максимальная номинальная мощность в ваттах превышает 50 Вт, кабели должны соответствовать 60227 IEC 42 (см. выше по тексту информацию, отмеченную как <*>). Если значение максимальной мощности меньше 50 Вт, то изоляция кабеля должна соответствовать требованиям пункта 5.3.1 IEC 60598-1.
Для герметичных гирлянд внутренние провода могут иметь площадь поперечного сечения 0,4 мм2 или меньше при условии, что обеспечивается предельно допустимая токовая нагрузка и механическая прочность. Кроме того, допускается использование проводов без изоляции при условии, что были приняты необходимые и достаточные меры предосторожности для обеспечения минимальных путей утечек и воздушных зазоров и их соответствия требованиям пункта 5.3.1 IEC 60598-1.
Соответствие проверяют осмотром, измерением и с помощью расчетов.
20.11.2 Для световых гирлянд с одножильным кабелем испытание, указанное в пункте 5.2.10.3 раздела 5 IEC 60598-1, проводят следующим образом.
К кабелю прикладывают 50 раз растягивающее усилие 30 Н. Испытание на крутящий момент не проводят.
20.11.3 Штепсельные вилки световых гирлянд должны соответствовать требованиям IEC 60083.
Световые гирлянды для наружного освещения должны быть либо снабжены брызгозащищенными штепсельными вилками, либо иметь неразъемные соединения со стационарной проводкой с помощью распределительной коробки.
Длина кабеля между штепсельной вилкой и первым патроном для ламп должна быть не менее 1,5 м.
Примечание 1 - Патроны в световых неразборных гирляндах с параллельным соединением ламп могут быть подсоединены к плоскому кабелю с помощью контактной шпильки или острия, проходящих через изоляцию кабеля и обеспечивающих электрический контакт с проводящими жилами.
Примечание 2 - Национальные правила, действующие в некоторых странах, не разрешают использование штепсельных вилок в соответствии с IEC 60083.
20.12 Защита от поражения электрическим током
Положения раздела 8 IEC 60598-1 применяют вместе с требованиями пунктов 20.12.1 - 20.12.3 настоящего стандарта.
20.12.1 Для световых гирлянд с устройствами для крепления ламп, отличающимися от патрона типа E10 или больших патронов, защита от поражения электрическим током должна быть не хуже, чем это требуется для световых гирлянд с патронами для ламп E10.
Если штепсельная вилка световой гирлянды включает в себя устройство для отсоединения одного конца гирлянды, чтобы облегчить установку, то соединитель, установленный на конце кабеля, должен иметь вход с таким диаметром отверстия и расстоянием от торца до активной части, которые равны соответствующим размерам, указанным на рисунке 1. Две части соединителя не должны разделяться при приложении растягивающего усилия 10 Н.
Для металлических деталей патронов и цоколей байонетных ламп проверку на соответствие проводят стандартным испытательным пальцем, как указано в IEC 60529.
При проверке недоступности штифтовых цоколей байонетных ламп в патрон должна быть вставлена лампа с наиболее длинным цоколем.
Примечание - Уплотнения, указанные в пункте 20.7.5 настоящего стандарта, могут служить в качестве защиты от случайного прикосновения к байонетному цоколю лампы.
Для штепсельных вилок с устройством для отсоединения одного конца гирлянды степень защиты от поражения электрическим током должна быть такой, чтобы отсутствовала возможность прикосновения к контакту стандартным испытательным пальцем (IEC 60529). В общем случае контакт представляет собой штырь, закрепленный в корпусе штепсельной вилки, причем этот штырь должен полностью находиться в корпусе вилки или быть защищен каким-либо иным способом.
20.12.2 Световые гирлянды должны быть изолированы от фольги или других металлических украшений, с которыми они используются.
Соответствие данному требованию проверяют путем использования плоского щупа толщиной 0,5 мм и шириной 8 мм с закругленным наконечником, имеющим радиус скругления 4 мм. Должна отсутствовать возможность касания этим щупом токоведущих частей при использовании его в любом положении и с приложением усилия, не превышающего 0,5 Н, причем гирлянда должна быть оснащена теми лампами, с которыми она поставляется изготовителем.
20.12.3 Контакт патрона для ламп должен быть надежно закреплен в корпусе, но не с помощью силы трения, а другим способом, исключающим смещение контактов патрона, при котором токоведущие детали гирлянды станут доступными. Примером правильного способа закрепления является метод, предусматривающий наличие зажимов на контактах патрона.
Соответствие данному требованию проверяют осмотром и следующим испытанием.
Шесть патронов нагревают в течение 7 ч в соответствии с требованиями пункта 12.3 раздела 12 IEC 60598-1 для того, чтобы достичь наиболее высокой температуры. После того как патроны охладятся до комнатной температуры, лампы накаливания вынимают и к каждому подсоединенному проводу прикладывают растягивающее усилие 15 Н в течение 1 мин.
После этого к двум проводам, соединенным вместе, прикладывают растягивающее усилие 30 Н в течение 1 мин на расстоянии (3 +/- 0,8) мм от точек ввода проводов в патрон, как бы пытаясь выдернуть контакты из патрона.
Во время испытания контакты не должны смещаться более чем на 0,8 мм. Пример устройства, пригодного для проведения данного испытания, показан на рисунке 2.
20.13 Испытания на износостойкость и тепловые испытания
Положения раздела 12 IEC 60598-1 применяют совместно с требованиями пунктов 20.13.1 - 20.13.3 настоящего стандарта.
Испытания на износостойкость и тепловые испытания световых гирлянд, имеющих степень защиты выше IP20, следует проводить согласно пунктам 12.4 - 12.6 раздела 12 IEC 60598-1 после проведения испытания/испытаний по пункту 9.2, но до испытаний по пункту 9.3 раздела 9 IEC 60598-1, оговоренных в пункту 20.14 настоящего стандарта.
20.13.1 Требования пунктов 12.3.1d и 12.4.1d раздела 12 IEC 60598-1 заменяют на следующее:
Испытания проводят при напряжении, при котором мощность равна 1,05 мощности, измеренной, когда световая гирлянда подключена к питанию при нормированном напряжении.
20.13.2 Требования пунктов 12.3.1e и 12.4.1g раздела 12 IEC 60598-1 применяют, за исключением того, что лампы в герметичных гирляндах замене не подлежат.
20.13.3 Работа устройств для шунтирования нити накала лампы накаливания, если они имеются согласно пункту 20.7.8 настоящего стандарта, не должна приводить к тому, чтобы какой-либо элемент световой гирлянды нагревался до температуры, ухудшающей ее безопасность.
Соответствие этому требованию проверяют посредством срабатывания шунтирующего устройства на каждой лампе, при этом лампы не заменяют. Температура составных частей и элементов световой гирлянды должна достичь установившегося теплового режима перед тем, как каждое шунтирующее устройство срабатывает.
Температура патронов для ламп и кабелей не должна превышать допустимых значений, приведенных в таблицах 12.1 и 12.2 IEC 60598-1.
Если какое-либо защитное устройство (например, предохранитель лампы) срабатывает во время испытания, то наибольшая достигнутая температура должна быть принята в качестве окончательной.
20.14 Пыленепроницаемость и влагонепроницаемость
Положения раздела 9 IEC 60598-1 применяют совместно со следующим требованием. Для светильников, имеющих степень защиты выше IP20, порядок испытаний, указанных в разделе 9 IEC 60598-1, должен быть таким, как установлено в пункте 20.13 настоящего стандарта.
Во время проведения испытания, описание которого приведено в пункте 9.2 раздела 9 IEC 60598-1, световые гирлянды должны быть полностью собраны и готовы к эксплуатации, укомплектованы соответствующими лампами, а патроны расположены в произвольном порядке.
20.15 Сопротивление и электрическая прочность изоляции
Применяют положения раздела 10 IEC 60598-1.
20.16 Теплостойкость, огнестойкость и сопротивление токам поверхностного разряда
Применяют положения раздела 13 IEC 60598-1, за исключением:
- для гибких трубок герметичных гирлянд испытание по пункту 13.2.1 IEC 60598-1 заменяют испытанием по разделу 8 IEC 60811-3-1.
Рисунок 1 - Пример приемлемого соединения
для световых гирлянд
1 - двигающийся груз; 2 - ось; 3 - патрон для лампы;
4 - держатель патрона для лампы с регулировкой по высоте,
обеспечивающий горизонтальное положение рычага
при первоначальном приложении усилия; 5 - отверстия
для проводов; 6 - прорези в рычаге для облегчения зажима
проводов, выходящих из патрона
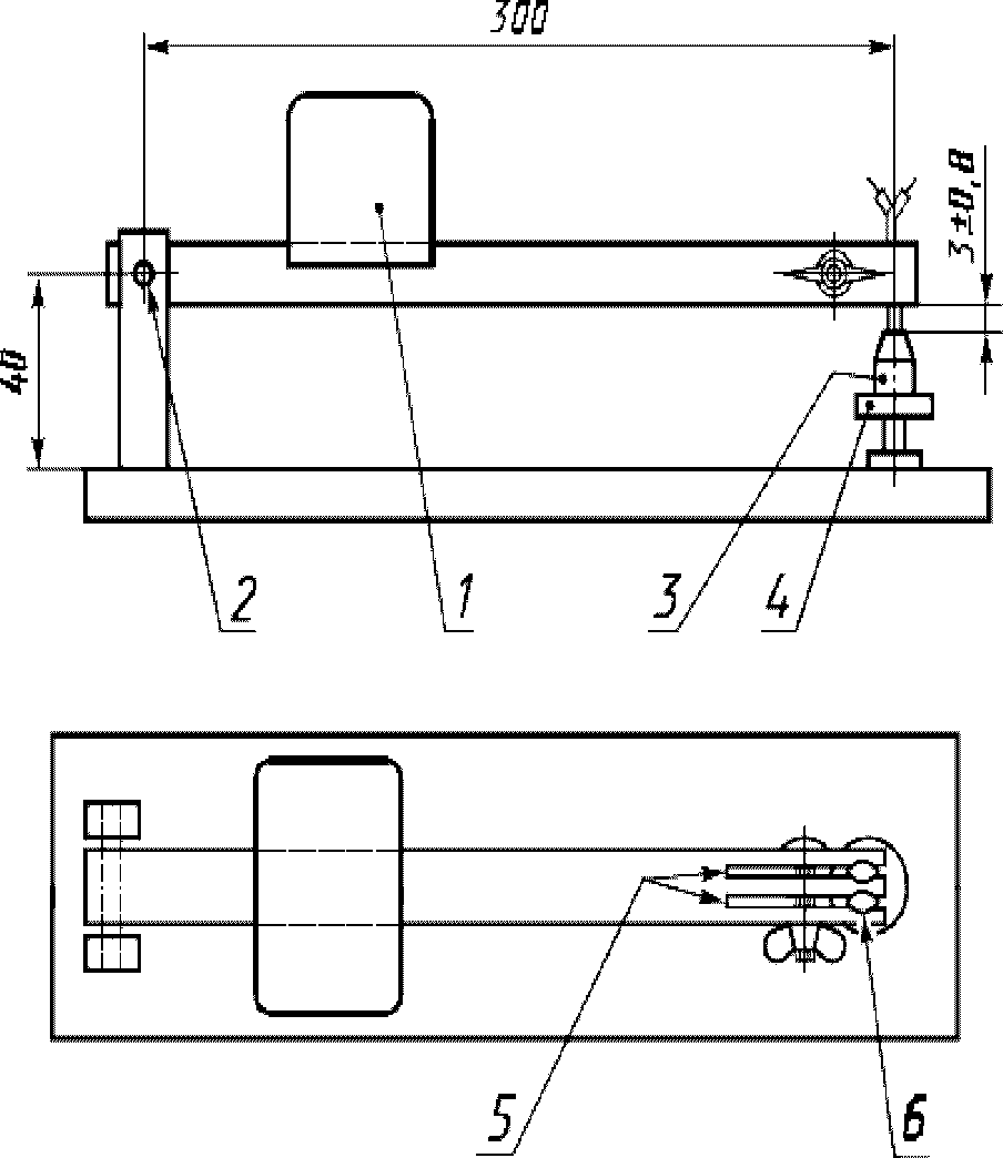
Рисунок 2 - Пример испытательного устройства для проверки
надежности контактов патрона для ламп
1 - деревянный цилиндр;
1000" - расстояние между точкой фиксации гибкой трубки
и нагрузкой перед началом проведения испытания
Рисунок 3 - Пример испытательного устройства
для наматывания гибкой трубки
Приложение А
(справочное)
ИСПЫТАНИЕ В ГАЛТОВОЧНОМ БАРАБАНЕ
(Применяют только для световых гирлянд класса защиты II)
Требования отсутствуют.
БИБЛИОГРАФИЯ
IEC 61347-1 Аппаратура управления ламповая. Часть 1. Общие требования и требования безопасности