Главная // Актуальные документы // ГОСТ (Государственный стандарт)СПРАВКА
Источник публикации
М.: Стандартинформ, 2017
Примечание к документу
Документ включен в
Перечень международных и региональных (межгосударственных) стандартов, а в случае их отсутствия - национальных (государственных) стандартов, в результате применения которых на добровольной основе обеспечивается соблюдение требований технического
регламента Таможенного союза "О безопасности низковольтного оборудования" (ТР ТС 004/2011), и в
Перечень международных и региональных (межгосударственных) стандартов, а в случае их отсутствия - национальных (государственных) стандартов, содержащих правила и методы исследований (испытаний) и измерений, в том числе правила отбора образцов, необходимые для применения и исполнения требований технического
регламента Таможенного союза "О безопасности низковольтного оборудования" (ТР ТС 004/2011) и осуществления оценки соответствия объектов технического регулирования (
Решение Коллегии Евразийской экономической комиссии от 11.05.2023 N 55).
Отдельные положения данного документа включены в
Перечень документов в области стандартизации, в результате применения которых на добровольной основе обеспечивается соблюдение требований Федерального
закона от 22.07.2008 N 123-ФЗ "Технический регламент о требованиях пожарной безопасности" (
Приказ Росстандарта от 13.02.2023 N 318).
Отдельные положения данного документа включены в
Перечень документов в области стандартизации, в результате применения которых на добровольной основе обеспечивается соблюдение требований Федерального
закона от 22.07.2008 N 123-ФЗ "Технический регламент о требованиях пожарной безопасности" (
Приказ Росстандарта от 14.07.2020 N 1190).
Документ включен в
Перечень национальных стандартов, содержащих правила и методы исследований (испытаний) и измерений, в том числе правила отбора образцов, необходимых для применения и исполнения Федерального
закона от 22.07.2008 N 123-ФЗ "Технический регламент о требованиях пожарной безопасности" и осуществления оценки соответствия (
Распоряжение Правительства РФ от 10.03.2009 N 304-р).
Текст данного документа приведен с учетом
поправки, опубликованной в "ИУС", N 9, 2022.
Документ
введен в действие с 01.07.2018.
Название документа
"ГОСТ IEC 60670-1-2016. Межгосударственный стандарт. Кожухи и оболочки для принадлежностей бытовых и аналогичных стационарных электрических установок. Часть 1. Общие требования"
(введен в действие Приказом Росстандарта от 23.05.2017 N 399-ст)
"ГОСТ IEC 60670-1-2016. Межгосударственный стандарт. Кожухи и оболочки для принадлежностей бытовых и аналогичных стационарных электрических установок. Часть 1. Общие требования"
(введен в действие Приказом Росстандарта от 23.05.2017 N 399-ст)
агентства по техническому
регулированию и метрологии
от 23 мая 2017 г. N 399-ст
МЕЖГОСУДАРСТВЕННЫЙ СТАНДАРТ
КОЖУХИ И ОБОЛОЧКИ ДЛЯ ПРИНАДЛЕЖНОСТЕЙ БЫТОВЫХ
И АНАЛОГИЧНЫХ СТАЦИОНАРНЫХ ЭЛЕКТРИЧЕСКИХ УСТАНОВОК
ЧАСТЬ 1
ОБЩИЕ ТРЕБОВАНИЯ
Boxes and enclosures for electrical accessories
for household and similar fixed electrical installations.
Part 1. General requirements
(IEC 60670-1:2015, IDT)
ГОСТ IEC 60670-1-2016
Дата введения
1 июля 2018 года
Цели, основные принципы и основной порядок проведения работ по межгосударственной стандартизации установлены в
ГОСТ 1.0-2015 "Межгосударственная система стандартизации. Основные положения" и
ГОСТ 1.2-2015 "Межгосударственная система стандартизации. Стандарты межгосударственные, правила и рекомендации по межгосударственной стандартизации. Правила разработки, принятия, обновления и отмены".
1 ПОДГОТОВЛЕН Автономной некоммерческой организацией "Научно-технический центр "Энергия" (АНО "НТЦ "Энергия") на основе собственного перевода на русский язык англоязычной версии стандарта, указанного в
пункте 5
2 ВНЕСЕН Федеральным агентством по техническому регулированию и метрологии
3 ПРИНЯТ Межгосударственным советом по стандартизации, метрологии и сертификации (протокол от 25 октября 2016 г. N 92-П)
За принятие проголосовали:
Краткое наименование страны по МК (ИСО 3166) 004-97 | Код страны по МК (ИСО 3166) 004-97 | Сокращенное наименование национального органа по стандартизации |
Беларусь | BY | Госстандарт Республики Беларусь |
Грузия | GE | Грузстандарт |
Казахстан | KZ | Госстандарт Республики Казахстан |
Россия | RU | Росстандарт |
Таджикистан | TJ | Таджикстандарт |
Узбекистан | UZ | Узстандарт |
4
Приказом Федерального агентства по техническому регулированию и метрологии от 23 мая 2017 г. N 399-ст межгосударственный стандарт ГОСТ IEC 60670-1-2016 введен в действие в качестве национального стандарта с 1 июля 2018 г.
5 Настоящий стандарт идентичен международному стандарту IEC 60670-1:2015 "Кожухи и оболочки для принадлежностей бытовых и аналогичных стационарных электрических установок. Часть 1. Общие требования" ("Boxes and enclosures for electrical accessories for household and similar fixed electrical installation - Part 1: General requirements", IDT).
Международный стандарт IEC 60670-1:2015 разработан Международным техническим подкомитетом 23 B "Вилки, штепсельные розетки и выключатели" Технического комитета МЭК 23 "Электроустановочная аппаратура" Международной электротехнической комиссии (IEC).
Данная публикация была разработана в соответствии с Директивами ISO/IEC, Часть 2.
При применении настоящего стандарта рекомендуется использовать вместо ссылочных международных стандартов соответствующие им межгосударственные стандарты, сведения о которых приведены в дополнительном
приложении ДА
6 Настоящий межгосударственный стандарт взаимосвязан с Техническим
регламентом Таможенного союза ТР ТС "О безопасности низковольтного оборудования", принятым Комиссией Таможенного союза 16 августа 2011 г. N ТР ТС 004/2011, и реализует его существенные требования безопасности.
Соответствие взаимосвязанному межгосударственному стандарту обеспечивает выполнение существенных требований безопасности технического регламента
Информация об изменениях к настоящему стандарту публикуется в ежегодном (по состоянию на 1 января текущего года) информационном указателе "Национальные стандарты", а официальный текст изменений и поправок - в ежемесячном указателе "Национальные стандарты". В случае пересмотра (замены) или отмены настоящего стандарта соответствующее уведомление будет опубликовано в ближайшем выпуске ежемесячного информационного указателя "Национальные стандарты". Соответствующая информация, уведомление и тексты размещаются также в информационной системе общего пользования - на официальном сайте Федерального агентства по техническому регулированию и метрологии в сети Интернет (www.gost.ru).
Настоящий стандарт устанавливает общие требования и методы испытаний на коробки, корпусы и их части. Требования и методы испытания к коробкам и корпусам конкретных типов установлены в соответствующих частях IEC 60670.
В настоящем стандарте использованы следующие шрифты:
- общие положения и требования - прямой шрифт;
- требования к испытаниям - курсив;
- примечания - прямой уменьшенный шрифт.
Настоящий стандарт распространяется на коробки, корпусы и их части (далее - коробки и корпусы) для встраивания в них электрических аппаратов (далее - аппараты) с номинальным напряжением не более 1000 В переменного тока и 1500 В постоянного тока, устанавливаемые в стационарные электрические установки бытового и аналогичного назначения и эксплуатируемые внутри помещений или на открытом воздухе.
Коробки и корпусы в соответствии с настоящим стандартом предназначены для использования в нормальных условиях эксплуатации при температуре окружающей среды до плюс 40 °C с допустимым временным среднесуточным повышением температуры до плюс 35 °C при нижнем пределе температуры окружающей среды минус 5 °C.
При монтаже температура окружающей среды может выходить за пределы вышеуказанного диапазона температур согласно классификации коробок и корпусов.
Настоящий стандарт распространяется на коробки и корпусы для встраивания в них электрических аппаратов в сфере деятельности Технического комитета 23 IEC.
Настоящий стандарт может быть использован в качестве ссылочного документа для других технических комитетов и подкомитетов IEC.
Требования к коробкам или корпусам, являющимся частью электрических аппаратов и предназначенным для защиты этих аппаратов от внешних воздействий (например, от механических ударов, проникновения твердых частиц или воды), должны быть установлены стандартами на соответствующие аппараты.
Настоящий стандарт не распространяется:
- на потолочные розетки;
- на держатели светильников;
- на коробки, корпусы и их части, специально разработанные для применения в системах коробов и каналов для прокладки кабелей в соответствии со стандартами комплекса IEC 61084 и не предназначенные для применения вне указанных систем.
В настоящем стандарте использованы нормативные ссылки на следующие стандарты. Для датированных ссылок применяют только указанное издание ссылочного документа, для недатированных ссылок применяют последнее издание ссылочного документа (включая все его изменения).
IEC 60068-2-75:1997 <1>, Environmental testing - Part 2-75: Tests - Test Eh: Hammer tests (Испытания на воздействие внешних факторов. Часть 2-75. Испытания. Испытание Eh: Ударные испытания)
--------------------------------
<1> Действует IEC 60068-2-75:2014. Однако, для однозначного соблюдения требования настоящего стандарта, выраженного в датированной ссылке, рекомендуется использовать только указанное в этой ссылке издание.
IEC 60112:2003 <2>, Method for the determination of the proof and the comparative tracking indices of solid insulating materials (Материалы электроизоляционные твердые. Методы определения нормативного и сравнительного индексов трекингостойкости)
--------------------------------
<2> Действует IEC 60112:2009. Однако, для однозначного соблюдения требования настоящего стандарта, выраженного в датированной ссылке, рекомендуется использовать только указанное в этой ссылке издание.
IEC 60423:2007, Conduit systems for cable management - Outside diameters of conduits for electrical installations and threads for conduits and fittings (Кабелепроводы электротехнического назначения. Наружные диаметры кабелепроводов для электроустановок и резьбы для кабелепроводов и фитингов)
IEC 60529:1989 <3>, (изменение 1 (2013)), Degrees of protection provided by enclosures (IP Code) (Степени защиты, обеспечиваемые корпусами (Код IP))
--------------------------------
<3> Действует IEC 60529:2013. Однако, для однозначного соблюдения требования настоящего стандарта, выраженного в датированной ссылке, рекомендуется использовать только указанное в этой ссылке издание.
IEC 60695-2-11:2000 <4>, Fire hazard testing - Part 2-11: Glowing/hot-wire based test methods - Glow-wire flammability test method for end-products (GWEPT) (Испытания на пожароопасность. Часть 2-11. Методы испытаний раскаленной/горячей проволокой. Метод испытания конечной продукции на воспламеняемость под действием раскаленной проволоки)
--------------------------------
<4> Действует IEC 60695-2-11:2014. Однако, для однозначного соблюдения требования настоящего стандарта, выраженного в датированной ссылке, рекомендуется использовать только указанное в этой ссылке издание.
IEC 60695-10-2:2003 <5>, Fire hazard testing - Part 10-2: Abnormal heat - Ball pressure test method (Испытания на пожароопасность. Часть 10-2. Аномальный нагрев. Испытание вдавливанием шарика)
--------------------------------
<5> Действует IEC 60695-10-2:2014. Однако, для однозначного соблюдения требования настоящего стандарта, выраженного в датированной ссылке, рекомендуется использовать только указанное в этой ссылке издание.
IEC 60981:2004, Extra-heavy duty rigid steel conduits for electrical installations (Кабелепроводы жесткие стальные для электроустановок, используемые в сверхтяжелых режимах)
IEC 61032:1997, Protection of persons and equipment by enclosures - Probes for verification (Защита людей и оборудования, обеспечиваемая корпусами. Щупы для проверки)
IEC 61140:2001 <6>, (изменение 1 (2004)), Protection against electric shock - Common aspects for installation and equipment (Защита от поражения электрическим током. Общие аспекты, связанные с электроустановками и электрооборудованием)
--------------------------------
<6> Действует IEC 61140:2009. Однако, для однозначного соблюдения требования настоящего стандарта, выраженного в датированной ссылке, рекомендуется использовать только указанное в этой ссылке издание.
ISO/IEC Guide 51:2014, Safety aspects - Guidelines for their inclusion in standards (Аспекты безопасности. Руководящие указания по включению их в стандарты)
В настоящем стандарте применены следующие термины с соответствующими определениями:
3.1 корпус (enclosure): Комбинация элементов, таких как коробки, крышки, защитные пластины, удлинительные втулки, аппараты и т.п., обеспечивающих после монтажа и установки в нормальных условиях эксплуатации соответствующую степень защиты встроенных аппаратов от внешних воздействий и необходимую степень защиты от контакта с токоведущими частями с любых направлений.
3.2 коробка (box): Элемент корпуса, имеющий приспособления для крепления крышек, защитных пластин, аппаратов и т.д. и предназначенный для установки аппаратов (таких как штепсельные розетки, выключатели и т.д.).
3.3 удлинительная втулка (box extension): Элемент корпуса, предназначенный для увеличения глубины коробки или корпуса, или для выполнения скрытой или полускрытой установки на чисто обработанной поверхности стены или другой подобной поверхности.
3.4 крышка или защитная пластина (lid, cover or cover-plate): Элемент корпуса, не являющийся частью аппарата, расположенного внутри корпуса, и предназначенный для удерживания этого аппарата в определенном положении.
3.5 выпуклая крышка (raised cover): Крышка, предназначенная для монтажа непосредственно на коробке для подключения аппаратов и увеличения внутреннего объема корпуса.
Примечание 1 - Центральная часть крышки поднята для вмещения стенки или потолка особой толщины и установки на ней аппарата на одном уровне со стенкой или потолком.
3.6 открытая проводящая часть (exposed conductive part): Доступная для прикосновения проводящая часть электрооборудования, которая в нормальных условиях эксплуатации не находится под напряжением, но может оказаться под напряжением при повреждении основной изоляции.
3.7 коробка или корпус для открытой установки (surface mounting box or enclosure): Коробка или корпус, предназначенный для монтажа на поверхности.
3.8 коробка или корпус для скрытой установки (flush-mounting or enclosure): Коробка или корпус, предназначенный для монтажа заподлицо с поверхностью.
3.9 коробка или корпус для полускрытой установки (semi-flush mounting box or enclosure): Коробка или корпус, предназначенный для установки между наружной и внутренней сторонами монтажной поверхности, частично выступающий над поверхностью.
3.10 кабельный ввод (cable gland): Устройство, предназначенное для ввода в корпус жесткого кабеля, гибкого кабеля или изолированного провода, его уплотнения и удерживания, а также служащее для обеспечения заземления, соединения, изоляции, защиты кабеля, разгрузки напряжения или комбинации этих функций.
3.11 уплотнение (seal): Материал, применяемый для заполнения пространства между внутренней частью кабельного ввода и проходящим через него кабелем, как правило, зажимаемый кабельным вводом и образующий соединение.
3.12 прокладка (gasket): Материал, размещенный между стыковочными поверхностями корпуса, при сжатии образующий соединение.
3.13
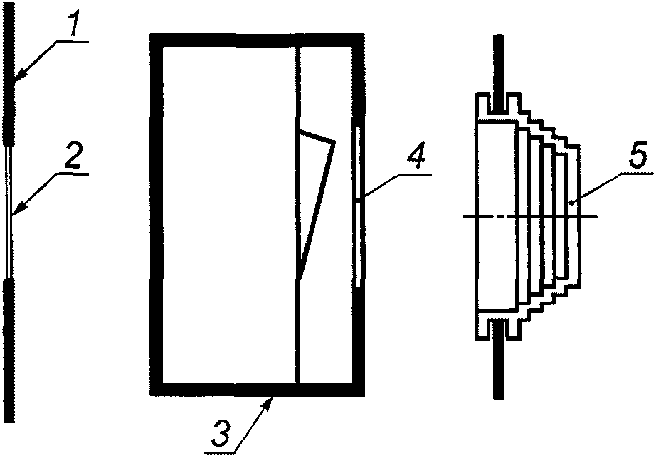
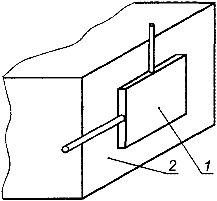
уплотнительное кольцо (grommet): Элемент, предназначенный для удерживания и защиты кабеля или трубы в месте ввода, который также может служить для защиты от попадания влаги или загрязняющих веществ. [IEC 60050-581:2008, модифицировано]. 1 - коробка; 2 - входная мембрана; 3 - корпус; 4 - защитная мембрана; 5 - уплотнительное кольцо Рисунок 1 - Пример мембран и уплотнительных колец |
3.14 входная мембрана (entry membrane): Элемент или неотъемлемая часть корпуса, предназначенная для удерживания кабеля или трубы в месте ввода.
Примечание 1 - Входная мембрана также может служить для защиты от попадания влаги или загрязняющих веществ и являться частью уплотнительного кольца (см.
рисунок 1).
3.15 защитная мембрана (protecting membrane): Элемент или неотъемлемая часть корпуса, предназначенная для защиты от попадания воды или твердых частиц и/или обеспечивающая нормальную работу аппарата (см.
рисунок 1).
3.16 композитный материал (composite material): Материал, представляющий собой сочетание металла и изоляционного материала.
3.17 выпускное отверстие (раструб) (spout (hub)): Открытый ввод коробки, предназначенный для размещения и удерживания трубы.
3.18 крепление кабеля (cable retention): Способ крепление кабеля, предотвращающий смещение установленного кабеля при приложении вытягивающих усилий.
3.19 анкерное крепление кабеля (cable anchorage): Способ крепления кабеля, предотвращающий смещение установленного гибкого кабеля при приложении усилий выдергивания, вытягивания или скручивания.
3.20 заглушка (blanking-plug): Элемент, применяемый для закрывания открытого вводного или пробиваемого отверстия.
Каждый элемент корпуса и коробки должен иметь такую конструкцию, которая при монтаже и установке в нормальных условиях эксплуатации обеспечивала бы необходимую электрическую и механическую защиту частей аппарата и безопасность потребителя и окружающей среды согласно требованиям ISO/IEC Guide 51.
Соответствие требованиям проверяют проведением всех предписанных испытаний.
5. Общие требования к испытаниям
5.1 Испытания в соответствии с настоящим стандартом являются типовыми.
Если не указано иное, коробки и корпусы испытывают в том виде, в котором они доставлены.
Испытания аппаратов, соответствующих другим стандартам, не проводят.
Испытания коробок и корпусов из изоляционных материалов проводят после предварительной выдержки в течение 10 суток при температуре окружающей среды и относительной влажности от 45% до 85%.
Если не указано иное, испытания проводят в порядке следования пунктов настоящего стандарта при температуре окружающей среды от 15 °C до 35 °C на трех образцах.
В случае сомнения испытания проводят при температуре окружающей среды (20 +/- 5) °C на трех новых образцах.
5.2 Образцы соответствуют предъявляемым требованиям, если они подвергнуты всем требуемым испытаниям, и успешно их выдержали.
Если один из этих образцов не выдерживает какое-либо испытание из-за ошибки при сборке или изготовлении, то данное испытание, а также все предшествующие испытания, которые могут повлиять на его результаты, повторяют в требуемой последовательности на новой полной партии. При повторных испытаниях не должно быть обнаружено ни одного дефекта.
Примечание - Вместе с первой партией образцов допускается представить дополнительную партию, которая может потребоваться, если один из образцов не выдерживает испытания. Тогда испытательная организация может без дополнительного запроса проводить испытания дополнительной партии образцов, и только в случае отрицательных результатов при повторных испытаниях образцы бракуют. При непредставлении дополнительной партии образцы бракуют в том случае, если один из них не выдержал какого-либо испытания.
Номинальные параметры указаны в IEC 60670 (части 21 - 24).
Классификация коробок и корпусов представлена в
таблице 1.
(Все классификационные ссылки, сделанные в данном документе, непосредственно относятся к таблице 1).
Таблица 1
Классификация коробок и корпусов
Критерий классификации |
Номер подраздела | Номер пункта | Номер подпункта |
7.1 По виду материала | 7.1.1 Из изоляционного материала | - |
|
7.1.3 Из композитных материалов (композиты). 7.1.4 Из натуральной или синтетической резины или комбинированной из двух |
| 7.2.1 Скрытая, полускрытая установка в сплошные стены, потолки или полы | 7.2.1.1 Не пригодны для установки в бетон |
7.2.1.2 Пригодны для установки в бетон при максимальной температуре +60 °C в процессе литья |
7.2.1.3 Пригодны для установки в бетон при максимальной температуре +90 °C в процессе литья |
7.2.2 Скрытая, полускрытая установка в полые стены, потолки или полы и в мебель | |
7.2.2.2 Класс Hb для стен |
7.2.2.3 Класс Hb для потолков |
7.2.3 Открытая установка на стенах, потолках, полах или мебели | - |
7.3 По типу (типам) входных (выходных) отверстий <a> | 7.3.1 С входными отверстиями для кабелей в металлической оплетке для стационарных установок | - |
7.3.2 С входными отверстиями для гибких кабелей |
7.3.3 С входными отверстиями для гладких или гофрированных труб |
7.3.4 С входными отверстиями для резьбовых труб |
7.3.5 С входными отверстиями для проводников/кабелей или труб прочих видов |
7.3.6 С выпускными отверстиями (раструбами) |
7.3.7 Без входных отверстий. Отверстия будут выполнены при установке |
7.4 По элементам крепления | 7.4.1 С креплением кабеля | - |
7.4.2 С анкерным креплением кабеля |
7.4.3 С элементами для крепления гибких труб |
7.4.4 Без элементов крепления |
7.5 По минимальной температуре при установке | | - |
|
|
7.6 По степени защиты от доступа к токоведущим частям и от вредных воздействий при попадании твердых посторонних предметов по IEC 60529 с минимальной степенью защиты IP 2X | - | - |
7.7 По степени защиты от вредных воздействий при проникновении воды по IEC 60529 | | |
7.8 По степени защиты элемента, установленного в полых стенках коробок, классифицируемых по 7.2.2.1 | 7.8.1 IP2X | - |
7.8.2 Выше IP2X |
7.9 По предоставлению устройств для крепления коробок | 7.9.1 Коробки поставляются с креплением винтами | - |
7.9.2 Коробки, предназначенные для крепления винтами |
7.9.3 Коробки, предназначенные для крепления скобами |
7.9.4 Коробки предназначены для крепления другими средствами |
<a> Коробки и корпусы могут иметь входные отверстия более чем одного вида. Примечание - Коробки и корпусы класса Ha применяют в следующих странах: BR, CH, DE, FR, IT, NO, PT, SE, UK. |
8.1 Коробки и корпусы должны иметь следующую маркировку:
a) наименование, товарный или фирменный знак предприятия-изготовителя или ответственного поставщика.
На корпусах также должны быть нанесены:
b) первая цифра кода степени защиты IP от попадания опасных и твердых посторонних частиц. В случае если она выше 4, то также должна быть указана вторая цифра кода IP;
c) вторая цифра кода степени защиты IP от попадания воды. В случае если она выше 2, также должна быть указана первая цифра кода IP;
d) маркировка

на крышке корпуса для скрытой установки в случае выполнения установки на необработанной поверхности, когда степень защиты IP зависит от поверхности (см.
рисунок 5).
Обозначение степени защиты IP, если это необходимо, должно быть нанесено на наружную поверхность корпуса таким образом, чтобы оно было легко различимо, когда корпус установлен и в нем выполнен монтаж проводки как для нормальной эксплуатации.
e) обозначение типа, например каталожный номер;
Примечание - В Великобритании ссылка на каталожный номер не применяется.
f) минимальный внутренний объем в кубических сантиметрах согласно испытанию по
12.16 для коробок и корпусов, классифицируемых по
7.2.2.2 и
7.2.2.3. Маркировка внутреннего объема должна быть нанесена внутри коробки или корпуса. Маркировка на коробке или корпусе должна быть легко читаемой после нормальной установки коробки, но до монтажа проводки и проводных устройств.
Следующие информационные элементы должны быть нанесены на коробках и корпусах или, при малых их размерах, на упаковку, или приведены в инструкции изготовителя:
g) максимальная температура при установке (для плюс 90 °C) для коробок и корпусов, классифицируемых по
7.2.1.3;
h) необходимые сведения об отверстиях, которые допускается выполнять при установке, для коробок и корпусов, классифицируемых по
7.3.7;
i) минимальная температура установки коробок и корпусов, классифицируемых по
7.5.2 и
7.5.3;
j) обозначение Ha для коробок, классифицируемых по
7.2.2.1, и обозначение Hb для коробок, классифицируемых по
7.2.2.2 и
7.2.2.3.
Дополнительную информацию для правильного использования корпусов, при необходимости, приводят в каталоге изготовителя или в инструкции.
В отдельных случаях, когда для обеспечения более высокой степени защиты используют специальные части, должна быть предоставлена инструкция с указанием более высоких степеней защиты. В таких случаях в маркировке указывают первоначальную степень защиты.
8.2 Маркировка должна быть долговечной и легко читаемой
Соответствие требованиям 8.1 и настоящего подраздела 8.2 проверяют внешним осмотром и следующим испытанием.
Маркировку протирают вручную в течение 15 с тканью, смоченной водой, а затем в течение 15 с тканью, смоченной бензином.
Примечание - Маркировку, выполненную формованием или гравированием, этому испытанию не подвергают.
Для проверки маркировки используют бензин на основе гексана в качестве растворителя с максимальным содержанием ароматических соединений 0,1%, каурибутанола 29 с температурой начала кипения около 65 °C и температурой окончания кипения около 69 °C плотностью около 0,68 г/см.
После проведения испытания маркировка должна остаться читаемой.
Коробки и корпусы должны отвечать соответствующим требованиям, указанным в стандартах на коробки и корпусы конкретных типов, если таковые имеются.
Проверки проводят внешним осмотром и измерением.
10. Защита от поражения электрическим током
Конструкция коробок и корпусов, собранных, оборудованных и установленных как при нормальной эксплуатации в соответствии с инструкциями изготовителя, должна обеспечивать недоступность для прикосновения к токоведущим частям.
Если корпусы поставляют без крышки, защитной пластины или аппарата, их испытывают вместе с соответствующими установленными в них частями согласно информации, приведенной в инструкции изготовителя.
Проверку проводят внешним осмотром, а при возникновении сомнений выполняют следующее испытание.
Корпусы испытывают приложением испытательного щупа 11 согласно IEC 61032 в течение 1 мин с силой 20 Н и щуп не должен проникать внутрь корпуса, как приведено на рисунке 2.
Рисунок 2 - Пример положения щупа при непроникновении
во внутренний объем корпуса
Испытания проводят на частях, которые доступны после монтажа.
Дополнительно ко всем корпусам по 7.1.1, 7.1.3 и 7.1.4 с частями, изготовленными из термопластичных или эластомерных материалов, используя конец щупа 11 по IEC 61032
прилагают силу в течение 1 мин при температуре окружающей среды (35 +/- 2) °C и такой же температуре корпуса.
Щуп прикладывают ко всем точкам, кроме мембран, уплотнительных колец, пробиваемых отверстий и т.п., в которых смещение изоляционного материала может привести к нарушению безопасности - с силой 75 Н.
Пробиваемые отверстия испытывают по 12.9.2.
11.1 Коробки и корпусы с открытыми токопроводящими частями
Коробки и корпусы с открытыми токопроводящими частями должны иметь средства заземления с малым сопротивлением или приспособления для соединения с цепью заземления. В целях обеспечения требований настоящего пункта малые винты и другие подобные элементы, используемые для крепления основ, крышек, защитных пластин и т.п., изолированные от токоведущих частей, не считают открытыми токопроводящими частями.
В нормальном режиме эксплуатации соединение между средствами заземления и открытыми токопроводящими частями крышек или защитных пластин должно иметь малое электрическое сопротивление.
Проверку проводят испытанием, описанным ниже.
От источника с напряжением холостого хода не более 12 В обеспечивают прохождение переменного тока (25 +/- 1) А между зажимом заземления и каждой из открытых токоведущих частей поочередно. Измеряют падение напряжения между зажимом заземления и каждой из открытых токоведущих частей, и по значению измеренной величины и известному значению тока рассчитывают сопротивление цепи.
Сопротивление цепи должно быть не более 0,05 Ом.
Следует иметь в виду, что сопротивление контакта между наконечником измерительного прибора и испытуемой открытой токопроводящей частью не должно оказывать влияния на результаты испытаний.
Примечание - Для коробок и корпусов со степенью защиты выше IPX0, изготовленных из изоляционных материалов, могут быть применены дополнительные средства для обеспечения надежности цепи заземления при наличии более одного входного отверстия.
Средства заземления или приспособления для установки этих заземляющих средств, должны быть расположены так, чтобы:
- они не были легкодоступны через открытую часть коробки;
- удаление аксессуаров, установленных в коробке, не нарушало непрерывность цепи заземления;
- не быть частью съемной крышки, а также частями, расположенными на наружной стороне коробки или корпуса.
Соответствие проверяют осмотром.
11.2 Коробки и корпусы из изоляционных материалов, классифицируемые по
7.2.2.2 и
7.2.2.3
Коробки и корпусы из изоляционных материалов должны иметь не менее одной металлической скобы заземления сечением не менее 4 мм
2 на одном зажиме заземления. Конструкция металлической скобы заземления должна обеспечивать подключение металлических монтажных скоб аппаратов, установленных внутри коробок, и металлических крышек, установленных на коробках, к защитным заземляющим проводникам (см. рисунки 3 и
4).
1 - металлическая скоба заземления; 2 - зажим заземления;
3 - коробка из пластмассы; 4 - аппарат; 5 - металлическая
крышка; 6 - металлическая монтажная скоба аппарата;
7 - зажим заземления аппарата; 8 - навесная перемычка
Рисунок 3 - Металлическая скоба заземления
Рисунок 4 - Испытательная жила
Соответствие проверяют осмотром.
Зажим заземления должен быть надежно прикреплен к коробке или корпусу.
Соответствие проверяют испытанием по 16.3.2.
11.3 Коробки и корпусы со съемными бортами в соответствии с
7.1.2
Коробки или корпусы, классифицируемые по
7.1.2, которые имеют съемные стороны, должны быть сконструированы таким образом, чтобы обеспечивался электрический контакт между составными частями по крайней мере через одно винтовое резьбовое соединение.
Соответствие проверяют осмотром.
11.4 Винтовой зажим заземления
Винтовой зажим заземления, поставляемый или интегрированной в коробки и корпуса должен выдерживать крутящий момент, указанный в соответствующей графе
таблицы 4.
Соответствие проверяют осмотром и следующим испытанием.
Винтовой зажим затягивают и ослабляют 5 раз.
Испытание проводят с помощью соответствующей отвертки или соответствующего инструмента, с применением крутящего момента, как указано в
таблице 4.
Если винт имеет шестигранную головку с прорезью, испытание проводят только с помощью отвертки с крутящим моментом, приведенным в
графе II таблицы 4.
Большие значения крутящего момента могут быть применены, если они заявлены изготовителем, при наличии соответствующей информации.
Графа I относится к винтами, которые не могут быть затянуты с помощью отвертки с лезвием шире, чем номинальный диаметр резьбы винта.
Графа II относится и к другим винтам, которые затянуты с помощью отвертки.
Графа III применяется только для винтов и гаек, которые затянуты инструментом, кроме отвертки.
Графа IV относится к винтам, которые затянуты с помощью крестообразной отвертки.
Во время испытания не должно быть повреждений, таких как обрыв винта или повреждение головной части винта (использование соответствующей отвертки становится невозможным) или резьбы зажимной части корпуса, которые могут негативно отразиться на дальнейшем использовании фиксирующих средств. Винты не следует затягивать рывком.
12. Требования к конструкции
Коробки и корпусы не должны иметь острых краев. На внутренней поверхности не должно быть заусенцев, острых частей или неоправданных препятствий для прохождения проводов или соединения частей при применении по назначению.
Внутренние и наружные поверхности коробки или крышки должны быть чистыми, не деформироваться, должны быть гладкими и свободными от пузырей, трещин и других дефектов.
Соответствие проверяют осмотром.
12.2. Крышки, защитные пластины и их части
Крышки, защитные пластины или их части, такие как защитные мембраны, предназначенные для обеспечения защиты от поражения электрическим током, должны быть надежно закреплены.
Рекомендуется использовать невыпадаемые средства крепления крышек или защитных пластин. Применение плотно посаженных картонных и подобных шайб считают приемлемым методом закрепления зажимных винтов, которые не должны выпадать.
12.2.2. Винтовые крепления
Крышки или защитные пластины коробок или корпусов с винтовым креплением, должны быть снабжены средствами для фиксации винтов.
Проверку крышек или защитных пластин с винтовым креплением проводит внешним осмотром.
12.2.3. Невинтовые крепления, выполняемые без применения инструмента или ключа
12.2.3.1 Общие требования
Коробки или корпусы, предназначенные для установки на них крышек или защитных пластин с невинтовым креплением без применения инструмента или ключа, должны быть снабжены средствами для фиксации крышек или защитных пластин.
Проверку крышек или защитных пластин с невинтовым креплением, отсоединяемых приложением силы согласно таблице 2 в направлении, перпендикулярном к монтажной/опорной поверхности, если при их удалении открывается доступ щупом B по IEC 61032:
- к токоведущим частям;
- к незаземленным токопроводящим частям, отделенным от токоведущих частей основной изоляцией;
- только:
- к изолированным частям;
- заземленным проводящим частям;
- проводящим частям, отделенным от токоведущих частей двойной или усиленной изоляцией;
- токоведущим частям цепей SELV по IEC 61140 с напряжением не более 25 В переменного тока или 60 В постоянного тока.
Таблица 2
Сила, прилагаемая к крышкам, защитным пластинам
или приводным элементам с невинтовым креплением
Доступ испытательного пальца B по IEC 61032 после удаления крышек, защитных пластин или их частей | Сила, Н |
| |
Не должны быть отсоединены | Должны быть отсоединены <*> | Не должны быть отсоединены | Должны быть отсоединены <*> |
К токоведущим частям | 40 | 120 | 80 | 120 |
К незаземленным токопроводящим частям, отделенным от токоведущих частей основной изоляцией | 10 | 120 | 20 | 120 |
К изолированным частям или заземленным токопроводящим частям, или токопроводящим частям, отделенным от токоведущих частей двойной или усиленной изоляцией, или токоведущим частям цепей SELV по IEC 61140 напряжением не более 25 В переменного тока или 60 В постоянного тока | 10 | 120 | 10 | 120 |
<*> Эти требования не применяют для 12.2.4. |
Монтаж коробок и корпусов выполняют как для нормальной эксплуатации.
Коробки и корпусы скрытой установки закрепляют как для нормальной эксплуатации. Если такие коробки и корпусы снабжены запорными устройствами, которые могут быть открыты без применения инструмента, то эти устройства открывают.
12.2.3.2 Проверка крышек или защитных пластин на невозможность отсоединения
Силу прилагают постепенно, без рывков в направлении, перпендикулярном к монтажной поверхности. При этом значения силы, прилагаемой к центральной части крышки, защитной пластины или ее части, должны соответствовать значениям, указанным в таблице 2.
Силу прилагают в течение 1 мин.
Крышки или защитные пластины не должны быть отсоединены.
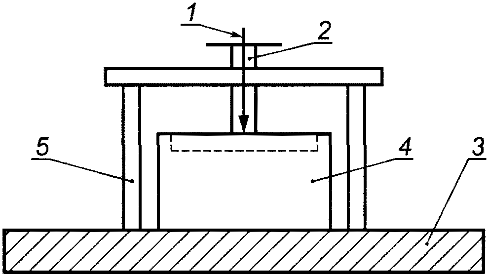
Испытания коробок и корпусов скрытой установки повторяют на новых образцах. Крышку или защитную пластину закрепляют на коробке после закрепления на стенке опорной рамы листа твердого материала толщиной (1 +/- 0,1) мм, как показано на рисунке 5.
1 - лист твердого материала; 2 - защитная пластина;
3 - опорная рама; 4 - стенка; 5 - монтажная коробка
Рисунок 5 - Установка для испытаний крышек и защитных
Лист твердого материала предназначен для имитации обоев и может состоять из нескольких частей.
12.2.3.3 Проверка крышек или защитных пластин на отсоединение
Силу, значение которой не должно превышать значений, указанных в соответствующей графе таблицы 2, прилагают постепенно, без рывков в направлении, перпендикулярном к монтажной/опорной поверхности, к крышкам, защитным пластинам или их частям, помещая крюк поочередно в каждый паз, отверстие и т.п. пространства, предусмотренные для их отсоединения.
Крышки или защитные пластины должны быть отсоединены.
Испытания проводят 10 раз на каждой отсоединяемой части с невинтовым креплением (прилагая силу в равной степени к различным доступным точкам); силу каждый раз прилагают к разным пазам, отверстиям и т.п. местам, предусмотренным для отсоединения съемных частей.
Испытания коробок и корпусов скрытой установки повторяют на новых образцах.
Крышку или защитную пластину закрепляют на коробке после закрепления на стенке опорной рамы листа твердого материала толщиной (1 +/- 0,1) мм, как показано на рисунке 5.
После испытаний на образцах не должно быть повреждений, которые считают таковыми в соответствии с настоящим стандартом.
12.2.3.4 Проверка краев крышек или защитных пластин
Измерительный прибор (рисунок 6) прикладывают с каждой стороны крышки или защитной пластины, закрепленной без применения винтов на монтажной или опорной поверхности (см. рисунок 7). Сторона B прилегает к монтажной/опорной поверхности и перпендикулярна к стороне A. Измерительный прибор прикладывают под прямым углом к каждой испытуемой стороне.
Рисунок 6 - Измерительный прибор для проверки
краев крышек или защитных пластин
1 - монтажная поверхность; 2 - крышка;
3 - опорная поверхность; 4 - промежуточный участок
той же толщины, что и опорная поверхность
Рисунок 7 - Примеры применения измерительного прибора
по
рисунку 6 на крышках, закрепленных без применения
винтов на монтажной или опорной поверхности
Если крышка или защитная пластина прикреплена без применения винтов к другой крышке, защитной пластине или коробке, имеющей те же габаритные размеры, сторону B измерительного прибора прикладывают на уровне соединения. Край крышки или защитной пластины не должен выходить за край опорной поверхности.
Расстояние между стороной C измерительного прибора и краем испытуемой стороны, измеренное параллельно стороне B, не должно уменьшаться в процессе выполнения измерений, которые начинают в точке X и продолжают в направлении стрелки Y (рисунок 8). (Данное требование не относится к пазам, отверстиям, обратным конусностям и т.п., расположенным на расстоянии менее 7 мм от поверхности, к которой относится сторона B, в соответствии с требованиями испытаний 12.2.3.5).
Рисунки a) и b) - не соответствуют.
Рисунки c), d) e) и f) - соответствуют. (Соответствие, тем не менее, проверяют по
12.2.3.5 с применением измерительного прибора, показанного на
рисунке 9.)
Рисунок 8 - Критерии соответствия при применении
измерительного прибора, показанного на
рисунке 6
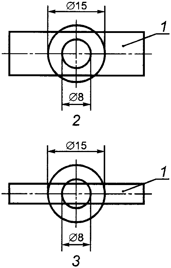
12.2.3.5 Проверка пазов, отверстий и обратных конусностей
Измерительный прибор (рисунок 9), который прикладывают параллельно монтажной/опорной поверхности и под прямым углом к испытуемой стороне (рисунок 10) с силой (1 +/- 0,2) Н, не должен проникать более чем на 1,0 мм от верхней части паза, отверстия или обратной конусности и т.п.
Примечание - Проверку того, происходит ли проникновение измерительного прибора (см.
рисунок 10) более чем на 1,0 мм, выполняют относительно поверхности, которая перпендикулярна к стороне B, включая верхнюю часть края пазов, отверстий, обратных конусностей и т.п.
1 - испытательный стержень (металлический);
2 - острые края под прямым углом
Рисунок 9 - Измерительный прибор для проверки пазов,
отверстий и обратной конусности
1 - крышка; 2 - монтажная поверхность
Рисунок 10 - Направление приложения измерительного
12.2.4. Невинтовые крепления, выполняемые с применением инструмента или ключа
Проверку крышек или защитных пластин с невинтовым креплением, отсоединение которых в соответствии с инструкциями изготовителя выполняют с применением инструмента и/или ключа, проводят испытаниями, описанными в
12.2.3, при этом крышки, защитные пластины или их части, не должны отсоединяться при приложении силы не более 120 Н в направлении, перпендикулярном к монтажной/опорной поверхности.
12.3. Дренажные отверстия
Корпусы открытой и полускрытой установки со степенью защиты от IPX1 до IPX6 должны иметь открывающиеся дренажные отверстия диаметром не менее 5 мм или площадью не менее 20 мм2 и шириной или длиной не менее 3 мм.
Дренажные отверстия должны быть расположены таким образом, и предусмотрены в таком количестве, чтобы при любом расположении корпуса хотя бы одно из отверстий всегда могло выполнять свои функции.
Примечание - Дренажное отверстие, расположенное в задней части корпуса, считают эффективным, если конструкцией корпуса обеспечен зазор от стенки или дренажный канал, размер которого не менее указанного для дренажного отверстия.
Проверку проводят внешним осмотром и измерением.
Конструкция корпусов должна обеспечивать их крепление в соответствии со способом установки (см.
7.2).
Корпусы из изоляционного материала должны быть сконструированы таким образом, чтобы после монтажа средств крепления внутри корпуса, все токопроводящие части внутренних средств крепления были окружены изоляцией, выступающей относительно краев средств крепления не менее чем на 10% максимальной ширины гнезда, в котором расположено средство крепления.
Проверку проводят внешним осмотром и измерениями.
12.5. Коробки и корпусы с входными отверстиями для гибких кабелей
Конструкция входных (выходных) отверстий в коробках и корпусах, классифицируемых по
7.3.2, должна обеспечивать свободный ввод гибких кабелей, кабели при этом не должны получать повреждения, препятствующие их дальнейшему использованию.
Проверку проводят испытанием вручную.
12.6. Коробки и корпусы с входными отверстиями для различных применений, кроме гибких кабелей
Входные отверстия, классифицируемые по
7.3 (кроме
7.3.2), если таковые имеются, должны обеспечивать введение:
- трубы или соответствующей арматуры, которая вводится в коробки и корпусы;
- кабеля с защитной оболочкой, при этом должна быть обеспечена защита проводников от механических повреждений в месте их ввода в коробку или корпус.
Входные отверстия для введения труб или, по крайней мере, два из них, если их более одного, должны предусматривать возможность ввода труб одного размера или комбинации размеров, установленных IEC 60423 и/или IEC 60981.
Соответствие требованиям устанавливают путем проверки соответствующих кабелей или труб.
Входные отверстия адекватного размера можно получить применением пробиваемых отверстий или вкладышей или с помощью соответствующего режущего инструмента.
Примечание - В Нидерландах входные отверстия для установки переключателей или штепсельных розеток должны быть оборудованы ограничителями.
12.7. Коробки и корпусы с анкерным креплением кабеля
Элементы крепления коробок и корпусов, классифицируемых по
7.4.2, должны обеспечивать разгрузку напряжения жил гибких кабелей, если такие кабели доступны или подвержены нагрузке после установки.
Способы обеспечения разгрузки напряжения и предотвращения скручивания должны быть понятными.
Анкерное крепление должно:
- быть приемлемым для установки разных типов гибких кабелей, предназначенных для применения с коробкой;
- иметь конструкцию, при которой не менее чем одна из его частей должна быть неотъемлемой частью коробки или постоянно прикреплена к одному из элементов коробки;
- быть выполнено из изоляционного материала или иметь изолирующую обшивку металлических частей.
Проверку проводят внешним осмотром и следующим испытанием.
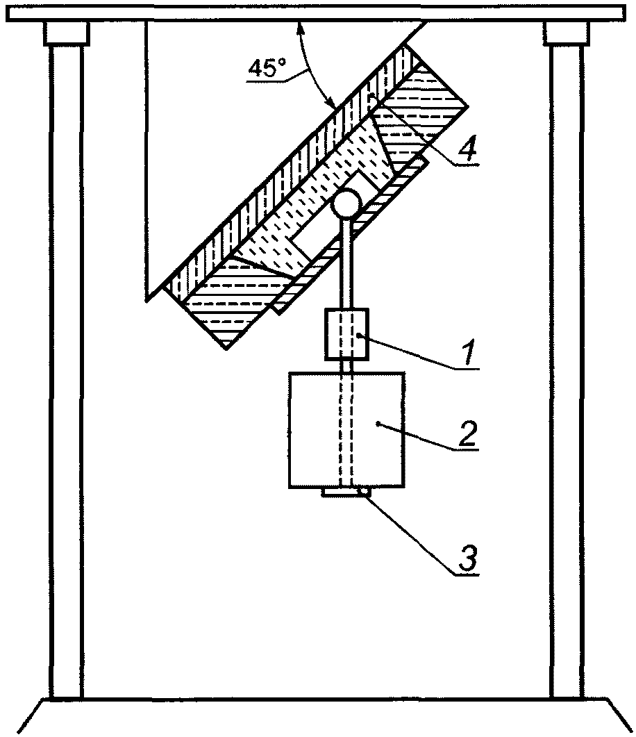
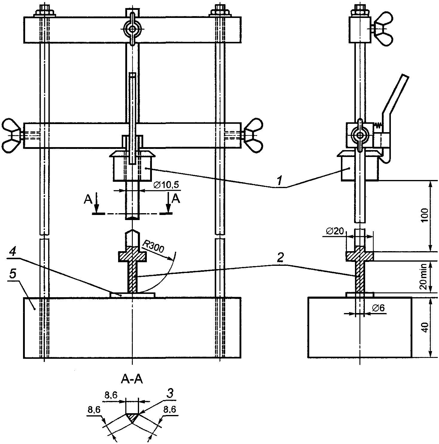
Эффективность анкерного крепления проверяют на оборудовании (рисунок 11).
1 - коробка; 2 - рукоятка; 3 - эксцентрик
Рисунок 11 - Установка для испытаний
эффективности анкерного крепления
Анкерное крепление выполняют как для нормальной эксплуатации. Зажимные винты, при наличии, затягивают крутящим моментом, значение которого должно быть равным 2/3 соответствующих значений, указанных в таблице 4, а для кабельных вводов применяют крутящий момент, значение которого должно быть равным соответствующему значению крутящего момента, указанному в таблице 5.
После повторной сборки образца не должно быть вдавливания гибкого кабеля в образец более чем на 1 мм с приложением соответствующего крутящего момента согласно таблице 3.
Таблица 3
Значения силы и крутящего момента, прилагаемых
к кабелям с анкерным креплением
Внешние размеры гибких кабелей, мм | Сила, Н | Крутящий момент, Н·м |
До 5,2 x 7,6 включ. | 40 +/- 2 | 0,05 |
До 8 включ. | 50 +/- 2 | 0,10 |
Св. 8 до 11 включ. | 60 +/- 2 | 0,15 |
Св. 11 до 16 включ. | 80 +/- 2 | 0,35 |
Св. 16 | 100 +/- 2 | 0,42 |
Затем к кабелю 50 раз прилагают силу отрыва длительностью 1 с, указанную в таблице 3, и сразу после этого к гибким кабелям (как можно ближе к кабельному вводу) прилагают крутящий момент, значение которого должно быть не менее соответствующего значения, указанного в таблице 3, в течение (15 +/- 1) с.
После испытаний не должно происходить смещения гибких кабелей более чем на 2 мм, а на анкерном креплении (разгрузке напряжения) не должно быть повреждений, которые могут привести к несоответствию требованиям настоящего стандарта.
12.8. Коробки и корпусы с элементами для удерживания кабелей
Элементы для удерживания кабелей коробок и корпусов, классифицируемых по
7.4.1, должны удерживать кабель на месте.
Примечание - В Германии действуют правила по удержанию кабеля для коробок и корпусов, устанавливаемых в полых стенах.
Проверку проводят следующим испытанием, которое выполняют на трех образцах средств удерживания кабеля.
Для коробки и корпуса, классифицируемых в соответствии с
7.5.2 или
7.5.3, испытание проводят при температуре минус (15 +/- 2) °C и минус (25 +/- 2) °C соответственно.
Сначала используют кабель максимального номинального поперечного сечения, затем кабель минимального номинального поперечного сечения, указанного изготовителем.
Кабель закрепляют в элементе для удерживания кабеля в соответствии с инструкцией изготовителя.
К кабелю прилагают осевую силу (20 +/- 1) Н. Нагрузку удерживают в течение 1 мин. По окончании этого периода и снятия нагрузки смещение кабеля должно быть не более 3 мм.
12.9. Перемычки, удаляемые при механическом ударе
12.9.1 Общие требования
Извлечение перемычек, удаляемых при механическом ударе, должно быть проведено без повреждения коробки.
Наличие сколов или заусенцев на удаляемых перемычках для ввода кабелей не допускается.
Наличие сколов или заусенцев на удаляемых перемычках, предназначенных для ввода труб и/или применяемых с уплотнительными кольцами или мембранами, не учитывают.
Для коробок и корпусов, классифицируемых в соответствии с
7.1.2, для закрытия отверстий используют заглушки.
Заглушки не должны иметь крепление, препятствующее их удалению, а также:
- не должны смещаться или повреждаться;
- не должна нарушаться эффективность их применения;
- должны отвечать всем требованиям к удаляемым перемычкам.
Это требование не распространяется на заглушки, которые вставляют в резьбовое отверстие.
Проверку проводят внешним осмотром и испытаниями согласно 12.9.2 и 12.9.3.
12.9.2 Удерживание удаляемых перемычек
К установленным в коробках и корпусах удаляемым перемычкам:
- к закрывающим доступ к токоведущим частям и доступным после установки перемычкам прилагают силу (30 +/- 1) Н в течение (15 +/- 1) с;
- к не закрывающим доступ к токоведущим частям после установки перемычкам прилагают силу (40 +/- 1) Н в течение (60 +/- 1) с,
посредством оправки диаметром 6 мм с плоским концом.
Силу прилагают без ударов в направлении, перпендикулярном к плоскости удаляемой перемычки, в точке, в которой с наибольшей вероятностью может произойти смещение.
Если применяется многоступенчатая перемычка, силу прилагают к минимальному размеру перемычки.
Удаляемая перемычка должна остаться на месте, и при измерении через 1 ч после отсоединения нагрузки степень защиты коробки или корпуса должна остаться неизменной.
12.9.3 Извлечение удаляемых перемычек
Извлечение удаляемых перемычек должно быть проведено с применением инструмента в соответствии с инструкцией изготовителя. Для удаления тонких перемычек боковой стороной отвертки один раз проводят по краю отверстия, в котором установлена удаляемая перемычка.
При применении удаляемых перемычек в коробках и корпусах, классифицируемых по 7.1.1 или 7.1.3, испытание повторяют на одной коробке или корпусе, не испытанном ранее, после выдерживания его в течение 5 ч +/- 10 мин при минимальной температуре, допустимой при установке согласно 7.5. Сразу после выдерживания в таких условиях перемычку удаляют описанным выше способом.
При применении в коробках и корпусах многоступенчатых перемычек разных диаметров не должно происходить смещения перемычки большего диаметра при удалении перемычки меньшего диаметра.
После завершения испытаний на коробке или корпусе не должно быть повреждений и острых краев для перемычек, применяемых для ввода кабелей, но которые допускаются для перемычек, предназначенных для ввода труб и/или применяемых с уплотнительными кольцами или мембранами.
12.9.4 Расположение удаляемых перемычек
Удаляемые перемычки в коробках и корпусах должны быть расположены на плоских поверхностях, так чтобы после их удаления втулки, сальники и фитинги при установке должны расположиться всей плоскостью на этих поверхностях, как предусмотрено.
Выступы и углубления в области плоской поверхности не допускаются, однако допускаются отверстия. Плоские участки поверхности соседних перемычек, которые частично или полностью могут перекрываться, должны отвечать этим требованиям.
Соответствие проверяют осмотром и измерением согласно соответствующему национальному стандарту, если таковой имеется.
12.10. Винтовые крепления
Резьбовые средства для крепления крышек, накладок, аппаратов, зажимов, соединительных устройств, устройств для разгрузки напряжения и т.д. должны быть сконструированы таким образом, чтобы выдерживать механические нагрузки, которые могут возникнуть при монтаже и нормальной эксплуатации.
Винты или другие средства крепления, изготовленные из изоляционного материала, аналогичные винтам с нестандартизированной резьбой для крепления крышки, должны быть затянуты с применением инструмента и испытаны в соответствии с инструкциями изготовителя.
Примечание - В Нидерландах коробки скрытой установки должны иметь металлические вставки и металлические винты с метрической резьбой по ИСО.
Самонарезающие винты, предназначенные для механических соединений, допускается использовать при условии поставки их вместе с одной из частей, для сборки которых они предназначены.
Установку самонарезающих винтов следует выполнять до проведения испытаний.
Соответствие проверяют осмотром и следующим испытанием.
В процессе испытания проводят завинчивание и вывинчивание винтов средств крепления:
- 10 циклов для металлических винтов, ввинчиваемых в резьбу изоляционного материала;
- 5 циклов - для всех прочих вариантов.
Винты и гайки, ввинчиваемые в резьбу изоляционного материала, и винты из изоляционного материала полностью вывинчивают и завинчивают при каждом цикле. Испытание проводят с использованием отвертки, прилагая крутящий момент согласно таблице 4.
Таблица 4
Крутящий момент для проверки механической прочности винтов
Номинальный диаметр резьбы, мм | Крутящий момент для металлических и неметаллических винтов, Н·м |
| | | |
До 2,8 включ. | 0,20 | 0,40 | 0,40 | 0,70 |
Св. 2,8 до 3,0 включ. | 0,25 | 0,50 | 0,50 | 0,90 |
Св. 3,0 до 3,2 включ. | 0,30 | 0,60 | 0,60 | 1,10 |
Св. 3,2 до 3,6 включ. | 0,40 | 0,80 | 0,80 | 1,40 |
Св. 3,6 до 4,1 включ. | 0,70 | 1,20 | 1,20 | 1,80 |
Св. 4,1 до 4,7 включ. | 0,80 | 1,80 | 1,80 | 2,30 |
Св. 4,7 до 5,3 включ. | 0,80 | 2,00 | 2,00 | 4,00 |
Св. 5,3 до 6,0 включ. | 1,20 | 2,50 | 3,00 | 4,40 |
Св. 6,0 до 8,0 включ. | 2,50 | 3,50 | 6,00 | 4,70 |
Св. 8,0 | | 4,00 | 10,00 | 5,00 |
<a> Значение может быть указано изготовителем. |
Если винт имеет шестигранную головку с прорезью, проводят только испытание с отверткой, прикладывая крутящий момент по графе II таблицы 4.
Допускается использовать больший крутящий момент, если он указан изготовителем.
- к винтам, завинчивание которых не может быть выполнено с помощью отвертки, ширина лезвия которой больше диаметра винта;
- к неметаллическим винтам;
- к металлическим винтам, ввинчиваемым в резьбу изоляционного материала. В последнем случае ширину профиля зацепления винта выбирают вместо диаметра резьбы, если ширина профиля меньше номинального диаметра резьбы, но не менее 3 мм.
Данные, приведенные в графе II, относятся к прочим винтам, завинчиваемым с помощью отвертки.
Данные, приведенные в графе III, относятся к винтам и гайкам, завинчивание которых осуществляют не с помощью отвертки.
Данные, приведенные в графе IV, относятся к прочим винтам, завинчиваемым с помощью четырехгранной отвертки.
В процессе испытания не должно быть дефектов, таких как поломка винта или повреждение шлица головки винта (приводящее к невозможности применения соответствующей отвертки), резьбы или корпуса, затрудняющее дальнейшее использование средств крепления. Винты следует ввинчивать одним плавным и равномерным движением.
12.11. Крепление коробок и корпусов, классифицируемых в соответствии с
7.2.1
Коробки и корпуса утопленного типа, кроме применяемых для полых стен, о которых указано ниже, должны быть снабжены фиксирующими устройствами для удобного крепления к стене, потолку или полу. Винты для крепления коробки или корпуса к строительной конструкции могут не обязательно поставляться с ящиком или корпусом, а обеспечиваться монтажником по инструкции изготовителя.
Отдельно поставляемые фиксирующие устройства для коробки или корпуса должны соответствовать требованиям к фиксирующим устройствам коробки или корпуса, с которыми их применяют, и должны иметь средство для крепления их к коробкам или корпусам.
Винты, дополнительные механические устройства или детали конструкции, предотвращающие смещение коробки или корпуса, считают равноценными фиксирующими устройствами.
Примечание - Края, ребра, выемки и т.д. - примеры деталей конструкции, предназначенных для предотвращения смещения коробки или корпуса.
Соответствие проверяют осмотром.
Коробки и корпусы, не удовлетворяющие хотя бы одному из вышеперечисленных требований и имеющие внутренний объем менее 400 см3, должны быть испытаны следующим образом.
Внутренний объем коробки или корпуса должен быть проверен путем осмотра или испытания по 12.16.
Образец коробки и части оболочек, предназначенных для встраивания в кирпичную кладку, устанавливают в монтажном блоке, показанном на рисунке 12, и закрепляют в соответствии с инструкциями изготовителя.
1 - образец; 2 - штукатурка; 3 - блок из дерева
--------------------------------
<*> Расстояние между внешним профилем коробки и внутренним профилем полости блока, должно быть не менее 20 мм, aain для частей, которые выступают из внешнего профиля коробки - не менее 10 мм.
Рисунок 12 - Пример монтажного блока для коробок,
встраиваемых в кирпичную стену (скрытого типа
и полуутопленного типа)
Расстояние между основным внешним профилем образца и внутренним профилем полости блока, должно быть не менее 20 мм, и для частей, которые выступают от основного профиля образца - не менее 10 мм. Полость блока заполняют материалом, указанным в инструкции изготовителя, или штукатуркой, если материал изготовителем не указан.
Подготовленный блок выдерживают при комнатной температуре в течение 10+1 дней.
Вспомогательное устройство, представленное на рисунке 13, устанавливают на образце, и винты затягивают крутящим моментом, равным двум третям крутящего момента, приведенного в таблице 4.
1 - вспомогательное устройство; 2 - образец
Рисунок 13 - Пример крепления вспомогательного
устройства на образце
Затем сборку прикрепляют к монтажной пластине A устройства, показанного на рисунке 14, так, чтобы оси винтов к плоскости монтажа располагались как при нормальной эксплуатации.
1 - дополнительный груз (SW); 2 - основной груз (PW);
3 - упор несущей штанги (C); 4 - монтажная пластина (A)
Рисунок 14 - Пример испытательной установки
Устройство включает основной груз (PW) величиной (72 +/- 0,1) Н, и дополнительный груз (SW), величиной (8 +/- 0,1) Н.
Дополнительный груз (SW) и основной груз (PW) размещают на оси несущей штанги устройства, и удерживают упором (C) (рисунок 14).
Дополнительный груз падает с высоты 50 мм 10 раз на главный груз.
После испытания образец не должен иметь смещение в монтажном блоке от исходного положения более чем на 0,5 мм.
12.12. Крепление коробок и корпусов скрытого типа и полуутопленного типа, классифицируемых по
7.2.2.1
Коробки и корпусы для полых стен и аналогичных конструкций, классифицируемые в соответствии с 7.2.2.1, должны иметь соответствующие средства для фиксации коробки или корпуса в полых стенах, полых потолках, полых полах и мебели.
Крепежные средства не должны располагаться в области ввода кабелей.
Соответствие проверяют следующим испытанием.
Образец коробки или корпуса устанавливают в испытательной стене в соответствии с инструкциями изготовителя. Если изготовитель не указал конкретный тип стены, используют лист клееной фанеры толщиной (10 +/- 1) мм, шириной 500 мм и высотой 500 мм.
a) Проверка растяжением и скручиванием
Рычаг прикрепляют средствами для крепления коробки или корпуса к образцу (см. рисунок 15).
1 - испытуемый образец; 2 - лист фанеры;
3 - рычаг; 4 - основная ось коробки
Рисунок 15 - Проверка средств крепления коробок
и корпусов, классифицируемых по
7.2.2.1
К рычагу прилагают силу F1 (см. рисунок 15a) в течение 1 мин таким образом, чтобы на коробку или корпус воздействовал крутящий момент (F1 x a) 3 Н·м одновременно прилагают силу F2 (см. рисунок 15b), равную 100 Н, к основной оси коробки, перпендикулярной к монтажной поверхности.
После испытаний на образце не должно быть повреждений, которые могут отрицательно повлиять на его дальнейшее применение, и смещения рычага более чем на 2°.
b) Проверка на смещение
К концу рычага в течение 1 мин прилагают силу F3 в точке приложения силы F1 таким образом, чтобы на коробку воздействовал крутящий момент (F3 x b) 3 Н·м (см. рисунок 15c).
После испытаний край коробки или корпуса не должен быть сдвинут более чем на 1 мм по отношению к монтажной поверхности.
12.13. Крепление коробок и корпусов, классифицируемых по
7.2.2.2 и
7.2.2.3
12.13.1 Общие требования
Коробки и корпусы для полых стен и аналогичных конструкций классифицируемые по
7.2.2.2 и
7.2.2.3, должны иметь соответствующие средства крепления для установки коробок или корпусов в полые стены и полые потолки.
Крепежные средства не должны располагаться в области ввода кабелей.
12.13.2 Коробки, предназначенные для установки на деревянном элементе конструкции стены
Коробку устанавливают как при нормальной эксплуатации на деревянном элементе конструкции (38 x 90 мм) любой приемлемой длины таким образом, чтобы передняя поверхность коробки находилась в вертикальном положении.
Соединение должно выдерживать силу 225 Н, прилагаемую постепенно от основания коробки к центру в течение 5 мин.
После отсоединения нагрузки гвозди или винты, обеспечивающие крепление коробки, не должны быть выдернуты, и смещение поверхности коробки в вертикальной плоскости должно быть не более 3 мм.
12.13.3 Коробки, предназначенные для установки на деревянном элементе конструкции потолка
Коробку устанавливают как при нормальной эксплуатации на деревянном элементе конструкции (38 x 190 мм) любой приемлемой длины таким образом, чтобы передняя поверхность коробки находилась в горизонтальном положении.
Соединение должно выдерживать силу 225 Н, прилагаемую постепенно от основания коробки к центру в течение 1 мин.
С присоединенной нагрузкой отклонение лицевой поверхности коробки должно быть не более 6 мм, измеренное от плоскости, параллельной горизонтальной поверхности элемента конструкции.
12.13.4 Коробки, предназначенные для установки на металлической стойке стены
Коробку устанавливают как при нормальной эксплуатации на металлической стойке стены (рисунок 16).
Соединение должно выдерживать силу 180 Н, прилагаемую постепенно к центру передней поверхности коробки в течение 5 мин, сначала в направлении вдавливания коробки в стену, а затем в направлении выдергивания коробки из стены.
При присоединенной нагрузке отклонение коробки должно быть не более 2 мм в любом направлении.
Примечание - Может потребоваться использовать дополнительную опору для коробки для уменьшения отклонения.
Направления приложения силы и выполнения измерений показаны на рисунке 16.
Размеры в миллиметрах
1 - коробка; 2 - стальная стойка; 3 - дополнительная опора;
4 - максимальное отклонение; 5 - фанера; 6 - кронштейн;
7 - по три винта на каждой стороне панели
Рисунок 16 - Направления приложения силы
и измерение смещения
12.13.5 Внутренний объем коробок и корпусов, классифицируемых по
7.2.2.2 и
7.2.2.3
Внутренний объем коробок, корпусов, выпуклых крышек и выступающих частей коробок, классифицированных в соответствии с
7.2.2.2 и
7.2.2.3, проверяют на соответствие заявленным объемам коробок, корпусов, выпуклых крышек и выступающих частей коробок.
Внутренний объем коробок или корпусов, снабженных перегородками, проверяют каждый отдельно.
Соответствие проверяют испытанием по 12.16.
12.13.6 Коробки, предназначенные для установки в готовые конструкции
Средства крепления коробок, предназначенных для установки в готовые конструкции, не должны растрескиваться или разрываться, а лицевые поверхности коробок смещаться постоянно более 3,2 мм от плоскости испытательной поверхности при измерении через 1 мин после снятия испытательной нагрузки.
Примечание - В готовой конструкции, элементы несущей рамы, как правило, недоступны для установки и закрепления коробки или корпуса заподлицо или полуутопленно в полых стенах.
Соответствие проверяют следующим испытанием:
Шесть коробок, предназначенных для использования в стенах или восемь коробок, предназначенных для использования в потолках, должны быть установлены на листе фанеры толщиной 9,5 мм, усиленной опорой 152 мм от одного края полости, или в готовой конструкции по инструкции изготовителя.
Винты средств крепления коробки должны быть затянуты в соответствии с инструкциями изготовителя. В отсутствие инструкций, винты должны быть затянуты в соответствии с
графой IV таблицы 4. Винт, сорванный прежде, чем он затянут указанным крутящим моментом, более не используют.
После установки, прикладывают силу 222 Н в течение 5 мин последовательно к каждой из двух коробок в направлении перпендикулярно к плоскости испытательной поверхности и вдоль осевой линии коробки так, чтобы подтолкнуть коробку в полость. Та же сила должна быть применена к каждой из двух ранее непроверенных коробок в направлении, чтобы вытянуть коробку из полости. После этого испытания, винты должны быть способны к удалению с помощью отвертки.
Два дополнительных образца коробок, закрепленных таким же образом, располагают так, чтобы фронтальная плоскость коробки располагалась вертикально и прикладывают в течение 5 мин силу 222 Н, приложенную к нижнему дальнему углу внешней задней поверхности коробки.
12.14. Монтаж кабельного ввода
При использовании по назначению кабельные вводы не должны повреждать коробку или корпус.
Проверку проводят испытанием, описанным ниже.
В кабельный ввод устанавливают цилиндрический металлический стержень, имеющий диаметр, в миллиметрах, равный внутреннему диаметру прокладки, округленному до целого числа значения, указанного в первой графе таблицы 5. Кабельные вводы завинчивают и вывинчивают 10 раз с использованием соответствующего инструмента, прилагая крутящий момент, значения которого указаны в таблице 5 с допуском +5%, в течение 1 мин +/- 5 с.
Таблица 5
Испытательные значения крутящего момента
для кабельных вводов
Диаметр испытательного стержня, мм | Крутящий момент, Н·м |
Металлические вводы | Вводы из изоляционного материала |
До 8 включ. | 4,0 | 2,5 |
Св. 8 до 14 включ. | 6,3 | 3,8 |
Св. 14 до 20 включ. | 7,5 | 5,0 |
Св. 20 | 10,0 | 7,5 |
После испытаний на образцах не должно быть повреждений, в соответствии с настоящим стандартом.
12.15. Коробки и корпусы с входными (выходными) отверстиями или выпускными отверстиями (раструбами) для труб
12.15.1 Коробки и корпусы, классифицируемые по 7.3.4, и конические выпускные отверстия, классифицируемые согласно 7.3.6, должны выдерживать испытания по 12.15.2 - 12.15.4.
Коробки и корпусы, классифицируемые по 7.4.3 должны выдерживать испытания по 12.15.2 и 12.15.3.
Испытания проводят на трубах минимального номинального размера по IEC 60423 или IEC 60981 после установки как при нормальной эксплуатации или монтажа в соответствии с инструкцией изготовителя.
12.15.2 Корпусы с входными отверстиями для труб, если таковые имеются, испытывают путем вдавливания трубы минимального размера с силой (100 +/- 2) Н в течение 1 мин +/- 5 с. Входное отверстие должно препятствовать дальнейшему вводу трубы в коробку.
12.15.3 Испытание выдергиванием проводят после выполнения испытания по 12.15.2 следующим образом. Отрезок трубы минимального допустимого для данного входного отверстия размера вставляют в отверстие и прилагают осевую силу (20 +/- 2) Н в течение 1 мин. Не допускается ослабления крепления трубы во входном отверстии корпуса.
12.15.4 Сопротивление изгибающей силе входного отверстия проверяют следующим образом. Отрезок трубы вставляют во входное отверстие с приложением изгибающей силы (100 +/- 2) Н и приложением изгибающего момента 3 Н·м. Значение изгибающей силы медленно увеличивают от нуля до полного значения. Испытания проводят, смещая усилие на 60° +/- 2° относительно оси входного отверстия в шести различных направлениях. Силу прилагают в течение 1 мин в каждом положении. Не допускается повреждения или ослабления крепления трубы во входном отверстии корпуса. Труба должна остаться во входном отверстии корпуса.
Примечание - Ограничитель может быть выполнен в виде ребра на внутренней поверхности ввода.
12.16. Внутренний объем коробок и корпусов
В соответствии с настоящим стандартом внутренний объем коробок, корпусов, каждой отдельной секции коробок и корпусов и выпуклых крышек измеряют следующим образом:
a) полностью вывинчивают все внутренние винты, крепежные детали и т.д., кроме зажимов заземления и сборочных винтов;
b) любые выступающие части, такие как крышки или петли для скрытой установки, выходящие за край коробки или корпуса, выравнивают с краем коробки или корпуса;
c) все удаляемые перемычки оставляют и герметизируют с внешней стороны;
d) все отверстия заделывают формовочной глиной, замазкой, воском или другим материалом (материалами) до выравнивания по отношению к внутренней поверхности;
e) коробки, корпусы и выпуклые крышки покрывают плоской пластиной любого приемлемого прозрачного материала толщиной не более 3,2 мм. В центре пластины должно быть предусмотрено отверстие номинальным диаметром 13 мм (рисунок 17). При необходимости зазор между коробкой, корпусом или выпуклой крышкой и пластиной герметизируют материалом, который используют для герметизации других отверстий;
f) коробку, корпус или выпуклую крышку заполняют водой комнатной температуры, не допуская переполнения из любого приемлемого измерительного цилиндра или мерной колбы. Разница в объеме измерительного цилиндра до и после заполнения коробки, корпуса или выпуклой крышки водой представляет собой внутренний объем.
Объем боковых карманов, предусмотренных для увеличения объема коробки или корпуса, рассчитывают по глубине кармана, не превышающей наименьший размер отверстия в этот боковой карман.
Размеры в миллиметрах
1 - коробка; 2 - крышка; 3 - отверстие для заполнения
водой; 4 - уплотнение, если требуется
Рисунок 17 - Определение объема
13. Устойчивость к старению, воздействию влаги и проникновению твердых частиц
13.1. Устойчивость к старению
13.1.1 Коробки и корпусы, уплотнения, уплотнительные кольца и сменные мембраны из изоляционных и композитных материалов должны быть устойчивы к старению.
Проверку проводят следующим образом.
Коробки и корпусы из изоляционных и композитных материалов с кабельными вводами и уплотнительными кольцами устанавливают как для нормального применения или в соответствии с инструкцией изготовителя.
Коробки и корпусы из изоляционных и композитных материалов без кабельных вводов и уплотнительных колец или защитных мембран устанавливают в соответствии с инструкцией изготовителя.
Элементы корпуса, выполняющие только декоративную функцию, демонтируемые без применения инструмента, перед проведением испытаний снимают.
Приблизительно в половину кабельных вводов и уплотнительных колец, предусмотренных на коробках и корпусах, устанавливают уплотнения и цилиндрические металлические стержни, имеющие диаметр, равный наименьшему предельному значению среднего наружного диаметра наименьшего кабеля, указанного изготовителем. В оставшуюся половину кабельных вводов и уплотнительных колец, предусмотренных на данных коробках и корпусах, устанавливают уплотнения и цилиндрические металлические стержни, имеющие диаметр, равный наибольшему предельному значению среднего наружного диаметра наибольшего кабеля, указанного изготовителем.
При наличии в корпусе более шести кабельных вводов и уплотнительных колец испытания проводят, поместив в три кабельных ввода или уплотнительные кольца кабели наименьшего размера и в другие три кабельных ввода или уплотнительные кольца - кабели наибольшего размера.
Необходимо обеспечивать неподвижность стержня при закреплении его в уплотнительном кольце. Средства, используемые для неподвижного закрепления стержня, не должны оказывать влияния на результаты испытаний.
Кабельные вводы затягивают приложением крутящего момента, значение которого должно быть равным 2/3 значения, используемого при проведении испытаний по 12.14 (таблица 5), при этом другие отверстия должны быть закрыты. Допускается использовать большие значения крутящего момента, если они указаны изготовителем.
Образцы помещают в термокамеру, состав и давление воздуха в которой соответствуют параметрам окружающей среды.
Температура в термокамере должна быть (70 +/- 2) °C.
Образцы выдерживают в термокамере в течение 168+4 ч.
После завершения цикла образцы извлекают из термокамеры и выдерживают при комнатной температуре 96+4 ч.
После испытаний образцы не должны быть деформированы или иметь повреждения, приводящие к несоответствию настоящему стандарту.
13.1.2 Уплотнительные кольца, заглушки, мембраны, предусмотренные во входных отверстиях, и защитные мембраны, должны быть надежно закреплены так, чтобы они не смещались от механических и тепловых нагрузок, воздействующих при нормальной эксплуатации.
Проверку проводят следующим образом. Испытания выполняют на всех уплотнительных кольцах, заглушках, сменных и несменных мембранах.
Испытания уплотнительных колец, заглушек и защитных мембран проводят после их установки в корпусы.
Сначала корпусы с установленными в них уплотнительными кольцами подвергают обработке, предусмотренной 13.1.1, затем корпусы помещают в термокамеру, в соответствии с 13.1.1, и выдерживают в течение 2 ч +/- 15 мин при температуре (40 +/- 2) °C.
Сразу по окончании этого периода к различным частям уплотнительных колец, заглушек и/или защитных мембран прилагают в течение (5 +/- 1) с силу 30-2 Н, используя щуп 11 по IEC 61032.
В процессе испытаний не должно быть такой деформации уплотнительных колец, заглушек и/или мембран, которая может привести к нарушению недоступности токоведущих частей аппаратов.
К уплотнительным кольцам, заглушкам и/или мембранам, на которые при нормальной эксплуатации воздействуют осевые растягивающие силы, в процессе испытаний прилагают осевую растягивающую силу 30-2 Н в течение (5 +/- 1) с.
Затем испытания повторяют на корпусах с уплотнительными кольцами, заглушками и/или мембранами, не подвергнутыми предварительной обработке.
После испытаний уплотнительные кольца, заглушки и/или мембраны не должны иметь деформаций, трещин или других подобных дефектов, приводящих к несоответствию настоящему стандарту.
13.1.3 Конструкция и материал уплотнительных колец, заглушек и входных мембран, предусмотренных во вводных отверстиях коробок и корпусов, классифицируемых по
7.5.2 и
7.5.3, должны обеспечивать введение кабелей и труб при низкой температуре окружающей среды.
Проверку проводят испытанием, описанным ниже.
Уплотнительные кольца, заглушки и входные мембраны, не подвергнутые обработке старением, устанавливают в корпус.
После охлаждения до температуры окружающей среды корпус выдерживают в течение 2 ч в холодильнике при температуре:
- минус (15 +/- 2) °C для коробок и корпусов, классифицируемых по 7.5.2, или
- минус (25 +/- 2) °C для коробок и корпусов, классифицируемых по 7.5.3.
Сразу после этого испытания, пока корпус находится в холодильнике в охлажденном состоянии, должно быть возможным пробивание непробитых отверстий уплотнительных колец, заглушек или входных мембран и введение кабелей и труб максимального диаметра, выдержанных в тех же условиях, что коробки и корпусы.
После испытаний уплотнительные кольца, заглушки и входные мембраны не должны иметь деформаций, трещин или других подобных дефектов, приводящих к несоответствию настоящему стандарту.
13.2. Устойчивость к проникновению твердых частиц
Корпусы должны обеспечивать необходимую степень защиты от проникновения твердых частиц в соответствии с указанной степенью защиты IP.
Вышеуказанное требование распространяется на коробки и корпусы, классифицируемые по
7.2.2.1, только в части монтажа внутри полых стен по классификации
7.8.
Примечание - В Германии, Дании, Швеции и Норвегии для коробок и корпусов для полых стен установлена минимальная степень защиты IP30.
Проверку проводят соответствующим испытанием по IEC 60529 при следующих условиях испытаний.
Корпусы монтируют как для нормальной эксплуатации в соответствии с инструкцией изготовителя.
Для коробок и корпусов, классифицируемых по 7.2.2.1, испытание в части монтажа внутри полой стены проводят на коробке, установленной так, чтобы ее задняя часть была доступна для испытания.
Если не указано иное, корпусы с дренажными отверстиями монтируют таким образом, чтобы как минимум одно дренажное отверстие находилось в крайнем нижнем положении.
К корпусам с винтовыми сальниками или уплотнительными кольцами подсоединяют кабели наибольшего и наименьшего поперечного сечения и/или трубы минимального и максимального диаметра/размера, при наличии, в соответствии с инструкцией изготовителя.
Крепежные винты на крышках или защитных пластинах затягивают крутящим моментом, значение которого должно быть равно 2/3 значений, указанных в таблице 4 при проведении испытаний по 12.10.
Допускается использовать больший крутящий момент, если он указан изготовителем.
Другие средства крепления, если таковые имеются, затягивают как для нормальной эксплуатации в соответствии с инструкцией изготовителя.
Вводы кабелей и/или труб должны быть выполнены в соответствии с инструкцией изготовителя.
Части, демонтируемые без применения инструмента, должны быть сняты.
Кабельные вводы не герметизируют компаундом и т.п.
Испытания корпусов со степенью защиты IP5X проводят в соответствии с требованиями к категории 2 IEC 60529, при этом дренажные отверстия, при наличии, должны быть закрыты.
При испытаниях корпусов со степенью защиты до IP4X включительно щуп не должен проходить ни в одно из отверстий корпуса, за исключением дренажных отверстий, в которых он не должен касаться токоведущих частей внутри корпуса.
При испытаниях корпусов со степенью защиты до IP5X пыль не должна покрывать всю внутреннюю поверхность.
При испытаниях корпусов со степенью защиты до IP6X согласно IEC 60529 дренажное отверстие, при наличии, должно быть закрыто, и пыль не должна проникать внутрь коробки или корпуса.
13.3. Устойчивость к проникновению влаги
13.3.1 Корпусы со степенью защиты выше IPX0 должны обеспечивать необходимую степень защиты от вредного проникновения влаги в соответствии со степенью защиты IP.
Проверку проводят соответствующим испытанием по IEC 60529 при следующих условиях испытаний.
Корпусы открытой, скрытой и полускрытой установки с площадью S <= 0,04 м2 или периметром <= 0,8 м испытывают по 13.3.2 и 13.3.3.
Корпусы открытой, скрытой и полускрытой установки с площадью S > 0,04 м2 и периметром > 0,8 м испытывают по 13.3.2 и 13.3.4.
Размер контрольной площади поверхности S для испытаний определяют следующим образом:
- для квадратных и прямоугольных коробок и корпусов - наименьшую внутреннюю ширину l умножают на глубину h (рисунок 18a);
- для круглых коробок и корпусов - внутреннюю глубину h коробки или корпуса умножают на наименьший диаметр d и делят на 4 (рисунок 18b).
h - глубина; l - внутренняя ширина
--------------------------------
<*> Для четырехугольной коробки, установленной горизонтально, поверхностью считают наименьшую поверхность.
Рисунок 18a) - Контрольные площади поверхности
прямоугольных коробок и корпусов
h - внутренняя глубина; d - наименьший диаметр
Рисунок 18b) - Контрольные площади поверхности
круглых коробок и корпусов
Рисунок 18 - Контрольные площади поверхности
коробок и корпусов
К корпусам с винтовыми сальниками или уплотнительными кольцами подсоединяют кабели наибольшего и наименьшего поперечного сечения и/или трубы минимального и максимального диаметра/размера, при наличии, в соответствии с инструкцией изготовителя.
Крепежные винты на крышках или защитных пластинах затягивают крутящим моментом, значение которого должно быть равным 2/3 значений, указанных в таблице 4 при проведении испытаний по 12.10.
13.3.2
Корпусы для открытой установки монтируют как для нормальной эксплуатации в соответствии с инструкцией изготовителя, при этом открытые дренажные отверстия должны находиться в крайнем нижнем положении, если не указано иное.
Корпусы для скрытой и полускрытой установки монтируют на испытательной стенке в соответствии с инструкцией изготовителя.
В этом случае в инструкции изготовителя должны быть указаны тип стенки и способ монтажа. Информация должна быть приведена в достаточном объеме для обеспечения воспроизводимости испытаний.
Если в инструкции изготовителя не указан тип стенки, используют стенку согласно рисунку 19.
1 - коробка; 2 - кирпич; 3 - строительный раствор;
4 - контрольная поверхность
--------------------------------
<*> Или в соответствии с инструкцией изготовителя.
Все швы с заполнением строительным раствором должны быть толщиной 10 мм, если не указано иное.
Рисунок 19 - Испытательная стенка
Испытательная стенка, показанная на рисунке 19, выполнена из кирпичей с гладкой поверхностью. Коробку плотно монтируют на испытательной стенке, чтобы между ними не могла попасть вода.
При использовании герметизирующего материала для крепления коробки к стенке герметизирующий компаунд не должен влиять на герметизирующие свойства испытуемого образца.
Примечание 1 - На
рисунке 19 приведен пример установки края корпуса на контрольной поверхности. Если предусмотрено инструкцией изготовителя, допускается также монтаж в других положениях.
Испытательную стенку устанавливают в вертикальном положении.
Корпусы монтируют как для нормальной эксплуатации и подключают к ним кабели с проводниками наибольшего и наименьшего поперечного сечения, указанного изготовителем.
Примечание 2 - При испытаниях корпусов со степенями защиты IPX3 и IPX4 применяют качающуюся трубу по IEC 60529 (рисунок 4), кроме случаев, когда размеры корпуса позволяют использование разбрызгивателя по IEC 60529 (рисунок 5).
При испытаниях корпусов со степенью защиты выше IPX4 дренажные отверстия, при наличии, должны быть закрыты.
Необходимо следить, чтобы при испытаниях не происходило ударов или толчков корпуса, которые могут отрицательно отразиться на результатах испытаний.
13.3.3
Непосредственно после испытаний необходимо убедиться, что количество воды в корпусе составляет не более 0,2 мл x S (см2).
Примечание - При испытаниях корпусов со степенью защиты выше IPX4 может потребоваться открыть дренажные отверстия для проверки.
При отсутствии дренажных отверстий необходимо учитывать любое скопление влаги, например конденсат.
В течение 5 мин после завершения испытаний по данному пункту образцы, классифицируемые по 7.1.1, 7.1.3 и 7.1.4, что подходит, должны быть испытаны на электрическую прочность по 14.3.
13.3.4 Наличие воды проверяют сухой промокательной бумагой в нижней части защищенного объема корпуса.
Примечание 1 - Нижней частью защищенного объема всегда считают нижнюю горизонтальную плоскость установленного корпуса.
Если не указано иное изготовителем, защищаемый объем должен соответствовать общему внутреннему объему коробки, уменьшенному на 5% с каждой стороны коробки, то есть размерности корпуса уменьшают на 10% (рисунок 20).
1 - крышка; 2 - абсорбирующая бумага;
3 - коробка; 4 - защищенный объем
Примечание - Нижней частью защищенного объема всегда считают нижнюю горизонтальную плоскость установленного корпуса.
Рисунок 20 - Пример защищенного объема
Vp = 0,9L x 0,9D x 0,9H,
где Vp - защищенный объем;
L - длина корпуса;
D - глубина корпуса;
H - высота корпуса.
Примечание 2 - В случае круглого корпуса защищаемый объем равен

.
Для создания защищенного пространства с помощью абсорбирующей бумаги изготовитель должен представить испытательный образец, в котором абсорбирующая бумага подвешена надежным способом.
Примечание 3 - Формула приведена исключительно для пояснения того, что защищенный объем уменьшают на 5% с каждой стороны корпуса. Никаких вычислений не требуется.
К основанию защитных пластин или крышек корпусов прикрепляют полоску бумаги, которую сгибают под углом 90°, и опускают ее внутрь коробки так, чтобы она достала до защищаемого объема корпуса (см. рисунок 20).
Если корпус может быть установлен более чем в одном положении, испытание проводят во всех положениях установки.
Непосредственно после завершения испытаний индикаторная бумага должна остаться сухой.
14. Испытания на сопротивление и электрическую прочность изоляции
14.1 Коробки и корпусы, классифицируемые по
7.1.1,
7.1.3 и
7.1.4, должны выдерживать соответствующие испытания на сопротивление и электрическую прочность изоляции.
Проверку проводят испытаниями по 14.2 и 14.3 после испытаний на воздействие влаги, которые выполняют следующим образом:
Образцы выдерживают в камере влажности (далее - камера) при относительной влажности от 91% до 95%.
Температуру воздуха в камере устанавливают с отклонением +/- 1 °C от любого значения t в диапазоне от 20 °C до 30 °C.
Перед помещением в камеру температуру образца доводят до температуры в диапазоне от t до (t + 4) °C.
Образцы выдерживают в камере в течение:
- 2 сут (48+2) ч - для корпусов со степенью защиты IPX0;
- 7 сут (168+4) ч - для корпусов с другой степенью защиты.
Примечание - В большинстве случаев температуру образцов можно довести до необходимой температуры, выдерживая их при этой температуре не менее 4 ч до испытаний на воздействие влаги. Относительная влажность воздуха от 91% до 95% в процессе испытаний может быть достигнута введением в камеру влажности насыщенного водного раствора сульфата натрия (Na2SO4) или нитрата калия (KNO3) и обеспечением контакта достаточно большой площади этого раствора с воздухом.
После испытаний образцы не должны иметь дефектов, при которых невозможно их дальнейшее применение, и должны выдерживать последующие испытания.
14.2 Если электрическое сопротивление изоляции между токоведущими частями и основными частями корпуса обеспечивается твердым материалом, то сопротивление изоляции между основными частями корпуса и металлической фольгой, приложенной к внутренней поверхности корпуса, измеряют через 1 мин после приложения напряжения около 500 В постоянного тока.
К основным частям корпуса относят все доступные металлические части, металлическую фольгу, контактирующую с внешней поверхностью доступных наружных частей из изоляционного материала, крепежные винты основания или крышек, наружные монтажные винты.
При применении металлической фольги для испытаний на сопротивление и электрическую прочность изоляции к внутренним поверхностям корпуса прикладывают одну металлическую фольгу, к наружным поверхностям корпуса - другую металлическую фольгу размерами не более 200 x 100 мм и, при необходимости, перемещают ее таким образом, чтобы проверить все части.
При испытаниях необходимо следить, чтобы между внутренней и внешней поверхностями металлической фольги не происходило пробоя в районе отверстий, удаляемых перемычек, мембран и т.п.
Сопротивление изоляции должно быть не менее 5 МОм.
14.3 Электрическую прочность изоляции испытывают приложением напряжения практически синусоидальной формы, значения которого должны быть равными значениям, указанным в таблице 6, с номинальной частотой 50 или 60 Гц в течение 1 мин между частями, указанными в
14.2.
Таблица 6
Испытательное напряжение при испытании
электрической прочности изоляции
Номинальное напряжение изоляции, В | Испытательное напряжение, В |
<= 130 | 1250 |
> 130 и <= 250 | 2000 |
> 250 и <= 450 | 2500 |
> 450 и <= 750 | 3000 |
> 750 | 3500 |
Значения испытательного напряжения выбирают по таблице 6 в зависимости от номинального напряжения изоляции, указанного изготовителем.
При испытании корпусов изоляции с классом защиты II соответствующее значение испытательного напряжения, указанное в таблице 6, увеличивают в 1,5 раза.
Сначала подают напряжение, значение которого не превышает половины указанного значения, а затем его быстро повышают до полного значения.
В ходе испытания не должно происходить поверхностного пробоя или пробоя изоляции.
Трансформатор высокого напряжения, используемый при испытаниях, должен обеспечивать выходной ток не менее 200 мА при короткозамкнутых выходных контактных зажимах и при выходном испытательном напряжении заданного значения. Реле максимального тока не должно срабатывать при выходном токе менее 100 мА.
Погрешность измерения среднего квадратичного значения испытательного напряжения не должна превышать +/- 3%.
Электрические разряды, не вызывающие падения напряжения, не учитывают.
При испытаниях по 14.2 к внутренним поверхностям (корпуса или коробки)
прикладывают металлическую фольгу, к наружным поверхностям (корпуса или коробки)
- другую металлическую фольгу и, при необходимости, перемещают ее таким образом, чтобы проверить все части (корпуса или коробки)
.
15. Механическая прочность
Коробки и корпусы должны иметь соответствующую механическую прочность, чтобы выдерживать механические нагрузки, возникающие при монтаже и нормальной эксплуатации.
Проверку проводят соответствующими испытаниями по 15.2 - 15.5:
- неметаллические коробки и корпусы, замоноличиваемые в бетон и классифицируемые по 7.2.1.2 или 7.2.1.3, испытывают по 15.2;
| | ИС МЕГАНОРМ: примечание. В официальном тексте документа, видимо, допущена опечатка: имеется в виду пункт 7.2.1.3, а не пункт 7.2.3.1. | |
- неметаллические коробки и корпусы, замоноличиваемые в бетон и выдерживающие максимальную температуру плюс 90 °C при литье, классифицируемые по 7.2.3.1, испытывают по 15.3;
- неметаллические коробки и корпусы, классифицируемые по:
- неметаллические коробки и корпусы, части которых предназначены быть доступными по завершении строительства, испытывают по 15.4;
- коробки и корпусы, классифицируемые по 7.1.4, испытывают по 15.5.
В случае, если корпус имеет слишком большие габаритные размеры, препятствующие его монтажу на испытательных установках, показанных в приложении D IEC 60068-2-75, или если нецелесообразно использовать маятниковый копер для испытаний при низких температурах, испытания проводят в условиях, описанных в 15.2 или 15.4, соответственно, но с использованием пружинного ударного устройства по IEC 60068-2-75, тарированного на энергию удара, значение которой соответствуют значениям, приведенным в 15.2 или 15.4.
15.2. Испытание механической прочности на удар при низкой температуре
Коробки и корпусы испытывают на механическую прочность при ударе с помощью вертикальной ударной установки (рисунок 21), установленной на прокладке из губчатой резины плотностью 538 кг/м3 и толщиной 40 мм; резиновую прокладку помещают в рамку, препятствующую изменению размеров прокладки при ударе.
1 - падающий груз (1000 +/- 1) г; 2 - промежуточная деталь
из стали массой 100 г; 3 - немного скругленные края;
4 - образец; 5 - плита из стали массой (10 +/- 1) кг
Рисунок 21 - Установка для испытаний на удар
при низкой температуре
Испытательную установку вместе с образцом помещают в холодильную камеру и выдерживают в течение 2 ч +/- 15 мин при температуре:
- минус (5 +/- 2) °C для корпусов по 7.5.1;
- минус (15 +/- 2) °C для корпусов по 7.5.2;
- минус (25 +/- 2) °C для корпусов по 7.5.3.
После этого каждый образец испытывают на удар с помощью груза массой 1 кг, падающего с высоты 100 мм.
Один удар наносят по задней стенке коробки или корпуса, а четыре - равномерно распределяют по боковым стенкам.
После испытаний образцы не должны иметь повреждений, приводящих к их несоответствию настоящему стандарту.
Не учитывают повреждения отделочного покрытия, небольшие вмятины и щербины, которые не влияют отрицательно на меры защиты от поражения электрическим током или проникновения воды.
Не учитывают трещины на материале, невидимые невооруженным глазом (без применения увеличительного стекла), поверхностные трещины деталей из волокнистых материалов и небольшие забоины.
15.3. Испытание на сжатие
Коробки и корпусы выдерживают в течение (60 +/- 15) мин при температуре (90 +/- 5) °C, после чего охлаждают до температуры окружающей среды.
После испытаний коробки и корпусы не должны быть деформированы или иметь повреждений, приводящих к их несоответствию настоящему стандарту.
Затем коробки и корпусы помещают между двумя пластинами из твердой древесины, обладающими достаточной площадью, чтобы закрыть лицевую и заднюю поверхности коробки или корпуса. Пластины сжимают с силой (500 +/- 5) Н в течение 1 мин +/- 5 с, не нанося при этом ударов. Необходимо иметь в виду, что давление, передаваемое пластинами, должно быть распределено от лицевой поверхности коробки или корпуса к задней.
После испытаний коробки и корпусы не должны быть деформированы или иметь повреждений, приводящих к несоответствию настоящему стандарту или затрудняющих их дальнейшее использование.
При проведении испытаний указанных двух видов коробки и корпусы оснащают согласно инструкции изготовителя специальными деталями (если они предусмотрены), которые устанавливают для улучшения механических свойств коробок или корпусов в процессе бетонирования.
Специальные детали для испытаний поставляют вместе с коробками и корпусами.
15.4. Испытания коробок и корпусов на удар
Образцы коробок и корпусов испытывают на удар с помощью испытательной установки, описанной в IEC 60068-2-75 (метод EHA) с эквивалентной массой маятникового молотка, равной 250 г.
Примечание - Установка для испытаний на удар, описанная в приложении D IEC 60068-2-75, представляет собой маятниковый копер.
Испытание коробок и корпусов, классифицируемых по 7.5.2 или 7.5.3, проводят размещением образцов коробок и корпусов вместе с монтажными блоками, к которым они прикреплены, в холодильную камеру и выдерживают в течение 2 ч +/- 15 мин при следующей температуре:
- минус (15 +/- 2) °C для корпусов, классифицируемых по 7.5.2;
- минус (25 +/- 2) °C для корпусов, классифицируемых по 7.5.3.
По окончании периода образцы убирают из холодильника и сразу подвергают испытанию на удар.
При испытаниях образцы, классифицируемые по 7.2.1.1, предназначенные для скрытой установки при нормальной эксплуатации, устанавливают лицевой поверхностью к стенке, чтобы для нанесения ударов была доступна задняя поверхность образца (рисунок 22).
1 - коробка; 2 - монтажная поверхность
Рисунок 22 - Монтаж скрытой установки коробок и корпусов
для нанесения ударов по задней поверхности
Испытуемые образцы устанавливают на квадратном листе фанеры со стороной длиной 175 мм и толщиной 8 мм, верхний и нижний края которого крепят жесткими кронштейнами. Входные/выходные отверстия, не имеющие удаляемых перемычек, оставляют открытыми; если отверстия имеют перемычки, то одно из них открывают.
Образцы, классифицируемые по 7.2.3, монтируют в соответствии с инструкцией изготовителя.
Конструкция основания установки (рисунок 22) должна обеспечивать перемещение образца в горизонтальной плоскости и вращение его вокруг оси перпендикулярно к поверхности фанерного листа.
Конструкция основания установки должна:
- иметь массу (10 +/- 1) кг и монтироваться на жесткой раме;
- обеспечивать такое размещение испытуемого образца, при котором точка удара должна быть расположена в вертикальной плоскости, проходящей через ось шарнира;
- обеспечивать поворот листа фанеры вокруг вертикальной оси.
Энергия удара, наносимого на все части образца, и число ударов определяются расстоянием от доступной части образца до монтажной поверхности из фанеры, когда образцы установлены как описано выше. Расстояния A, B, C, D, E, F и G определяют в соответствии с таблицей 7.
Таблица 7
Определение частей A, B, C, D, E, F и G
Испытуемая часть | Расстояние d над монтажной поверхностью из фанеры, мм | Часть |
Лицевые поверхности крышек и защитных пластин корпусов, доступных после установки Задние поверхности коробок и корпусов, классифицируемых по 7.5.2 или 7.5.3 | Не применяется | A |
Доступные после установки части коробок и корпусов, классифицируемых по 7.2.1, полускрытые, 7.2.2, полускрытые, или 7.2.3, кроме лицевых поверхностей, уже испытанных как части A | 5 <= d < 15 | B |
15 <= d < 25 | C |
25 <= d < 50 | D |
50 <= d < 100 | E |
100 <= d < 200 | F |
200 <= d | G |
Боек должен падать с высоты, указанной в таблице 8.
Таблица 8
Высота падения бойка при испытании на удар
Высота падения бойка, мм | Часть корпуса, подвергаемая удару |
80 | A |
120 | B |
160 | C |
200 | D |
240 | E |
320 | F |
400 | G |
Примечание - Допуск на высоту падения не св. +/- 1%. |
Высота падения бойка - расстояние по вертикали между положением контрольной точки в момент освобождения маятника и положением этой точки в момент удара. Контрольную точку отмечают на поверхности бойка в том месте, где линия, проходящая через точку пересечения оси стальной трубки маятника и оси бойка, перпендикулярна к плоскости, проходящей через обе оси, и пересекает поверхность бойка.
Примечание - Теоретически центр тяжести бойка должен находиться в контрольной точке. Так как практически центр тяжести определить трудно, его считают совпадающим с контрольной точкой.
Образцы подвергают ударам, которые равномерно распределяют по поверхности испытуемого образца. Порядок испытаний на воздействие ударных нагрузок следующий:
- по частям A (насколько это приемлемо) наносят пять ударов:
- один удар в центре после горизонтального смещения образца,
- по одному удару в каждой из двух наиболее неблагоприятных точек между центром и краями,
- затем, после поворота образца на (90 +/- 2)° вокруг оси, перпендикулярной к листу фанеры, по одному удару в каждую подобную точку;
- по частям B (насколько это приемлемо), C, D, E, F и G наносят по четыре удара (рисунок 23):
- один удар по одной стороне образца после поворота листа фанеры на (60 +/- 2)° вокруг вертикальной оси,
- один удар по противоположной стороне образца после поворота листа фанеры на (60 +/- 2)° вокруг вертикальной оси в противоположном направлении,
- один удар после поворота образца на (90 +/- 2)° вокруг оси, перпендикулярной к листу фанеры,
- один удар по одной из сторон образца после поворота фанеры на 60° +/- 2° вокруг вертикальной оси,
1 - монтажная опора; 2 - шарнир; 3 - образец
Нанесение удара |
Рисунок | Общее число ударов | Точка нанесения удара | Испытуемая часть |
a) | 3 | Один удар в центр | Передние поверхности и задние поверхности коробок и корпусов, классифицируемых по 7.2.1.1 |
b) | 2 | |
c) | 2 | Один по поверхности T <a>Один по поверхности U <a> | Доступные части коробок и корпусов для открытой установки при нормальной эксплуатации, кроме передних и задних поверхностей коробок и корпусов, классифицируемых по 7.2.1.1 |
d) | 2 | Один по поверхности V <a>Один по поверхности Z <a> |
<a> Удар наносят в наиболее неблагоприятной точке. |
Рисунок 23 - Последовательность нанесения ударов
по частям A, B, C, D, E, F и G
- один удар по противоположной стороне образца после поворота листа фанеры на (60 +/- 2)° вокруг вертикальной оси в противоположном направлении;
удары не наносят по:
- удаляемым перемычкам или в пределах 10 мм от них,
- другим частям, не влияющим на обеспечение указанной степени защиты IP,
- аппаратам и оборудованию, отвечающим требованиям других конкретных стандартов,
- средствам крепления, расположенным ниже уровня поверхности, которые не подвержены ударам при нормальной эксплуатации.
Если имеются входные отверстия, образец размещают таким образом, чтобы две линии нанесения ударов находились на равных расстояниях от отверстий и как можно ближе к ним.
После испытаний образцы не должны иметь повреждений, приводящих к их несоответствию настоящему стандарту.
На материале не должно быть трещин, видимых не вооруженным глазом без применения увеличительного стекла. Поверхностные трещины деталей из волокнистых материалов и небольшие забоины не учитываются.
15.5. Испытание на сжатие для корпусов из натуральной или синтетической резины или их комбинации
Коробки и корпусы, классифицируемые по
7.1.4, должны выдерживать нагрузку как при нормальной эксплуатации.
Соответствие проверяют следующим испытанием.
Корпус монтируют по инструкции изготовителя в горизонтальном положении в листе или на листе фанеры. Затем крышку корпуса и специальные части (если имеются) нагружают в следующем порядке (см.
рисунок 24):
a) На крышку давят с силой 50 Н, прикладываемой постепенно на площади в 1 см2 в предусмотренной точке максимального прогиба крышки.
Корпус должен выдержать испытательную нагрузку в течение 1 мин с прогибом не более 3 мм. При достижении силой заданного значения прогиб измеряют без учета влияния прогиба фанеры и сжатия сальников.
Длительная деформация в одной точке крышки, не считая прогиб фанеры и сжатие сальника, не должна превышать 1 мм при измерении спустя 1 ч после снятия нагрузки.
b) Давление 50 Н/см2 прикладывают постепенно (до максимальной силы 1000 Н) с помощью листа фанеры толщиной (9 +/- 1) мм, контактирующего со всей поверхностью крышки.
Корпус должен выдержать испытательную нагрузку в течение 1 мин без повреждения крышки.
После испытания коробки и корпусы не должны иметь повреждений, ведущих к несоответствию настоящему стандарту.
1 - испытательная сила; 2 - цилиндр; 3 - лист фанеры;
4 - коробки из натуральной или синтетической резины
или комбинированные из двух; 5 - опора
a) Испытание a) (корпуса скрытой установки)
1 - испытательная сила; 2 - цилиндр; 3 - твердая
поверхность; 4 - коробки из натуральной или синтетической
резины или комбинированные из двух; 5 - опора
b) Испытание a) (корпуса открытой установки)
1 - испытательная сила; 2 - груз;
3 - твердая поверхность; 4 - коробки из натуральной
или синтетической резины или комбинированные из двух;
5 - фанера толщиной (9 +/- 1) мм; 6 - опора
c) Испытание b) (корпуса скрытой установки)
1 - испытательная сила; 2 - груз;
3 - твердая поверхность; 4 - коробки из натуральной
или синтетической резины или комбинированные из двух;
5 - фанера толщиной (9 +/- 1) мм
Примечание - Для достижения заданных условий в камере необходимо обеспечить постоянную циркуляцию воздуха в ней либо использовать камеру с термоизоляцией.
d) Испытание b) (корпуса открытой установки)
Рисунок 24 - Испытательные устройства для испытаний сжатием
корпусов, выполненных из натуральной или синтетической
резины или комбинированных
16.1 Части из изоляционного материала, служащие для удерживания токоведущих частей
Части из изоляционного материала, служащие для удерживания в определенном положении токоведущих частей и/или деталей цепи заземления, испытывают шариком с помощью устройства, описанного в IEC 60695-10-2, за исключением изолирующих частей, на которых закрепляют зажимы заземления и которые испытывают в соответствии с 16.2.
Если невозможно провести испытание на образце корпуса, испытание проводят на образце материала толщиной не менее 2 мм. Если и это невозможно, то используют не более четырех слоев материала, взятых из одного образца, при этом суммарная толщина слоев должна быть не менее 2,5 мм.
Испытуемый образец размещают на стальной пластине толщиной не менее 3 мм в непосредственном контакте с ней.
Образец устанавливают таким образом, чтобы его поверхность была расположена горизонтально, и стальной шарик диаметром 5 мм вдавливают в поверхность с силой (20 +/- 0,5) Н.
Испытание проводят в термокамере при температуре (125 +/- 2) °C. Через (60 + 5) мин шарик убирают, а образец погружают в холодную воду и охлаждают в течение 10 с приблизительно до комнатной температуры.
Диаметр отпечатка не должен превышать 2 мм.
16.2 Части из изоляционного материала, не предназначенные для удерживания токоведущих частей
Части из изоляционного материала, не предназначенные для удерживания токоведущих частей и деталей цепи заземления в определенном положении, но находящиеся с ними в контакте, за исключением частей, выполненных из натуральной или синтетической резины или из их комбинации, испытывают шариком в соответствии с 16.1, но при температуре (70 +/- 2) °C.
Для корпусов и коробок скрытой установки, классифицируемых по 7.2.1.3, части из изоляционного материала испытывают в соответствии с 16.1, но при температуре (90 +/- 2) °C.
Если невозможно провести испытание на образце корпуса в сборе, из него вырезают необходимую часть и испытание проводят на этой части.
16.3 Коробки и корпусы из изоляционных материалов, классифицируемые по
7.2.2.2 или
7.2.2.3
16.3.1 Механическая прочность
Коробки и корпусы из изоляционных материалов, классифицируемые по
7.2.2.2 или
7.2.2.3 должны обеспечивать адекватную механическую прочность при высоких температурах.
Проверку проводят следующим испытанием.
Испытание проводят на образцах коробок или корпусов каждого типа и размера, имеющих не менее двух резьбовых или нерезьбовых отверстий.
Жесткую вставку (рисунок 25) закрепляют на поверхности каждого образца коробки или корпуса с помощью винтов таких типов и размеров, которые предоставляются изготовителем коробки (корпуса) или проводки. Винты закрепляют в резьбовых или нерезьбовых отверстиях, расположенных на лицевой поверхности коробки или корпуса, прикладывают крутящий момент, значение которого выбирают из соответствующей графы таблицы 4.
Размер A совместить с отверстиями, расположенными на поверхности коробки.
Рисунок 25 - Жесткая вставка
К поверхности коробки или корпуса прилагают суммарную силу 180 Н, включая силу, оказываемую вставкой и другими связанными подвесными устройствами.
Коробки и корпусы, установленные открытой поверхностью вниз, выдерживают в воздухоциркуляционной печи в течение 24 ч при температуре:
- (80 +/- 2) °C для коробок и корпусов, классифицируемых по 7.2.2.2;
- (105 +/- 2) °C для коробок и корпусов, классифицируемых по 7.2.2.3.
Лицевую сторону коробки должна поддерживать плоская пластина, не препятствующая воздействию испытательной нагрузки поддерживающего кронштейна.
После обработки старением в печи конструкцию охлаждают в ней до температуры окружающей среды при отключенном питании и открытой двери.
Винты, удерживающие вставку, не должны быть выдернутыми более чем на 6,3 мм. Винты должны позволять их выкручивание отверткой с приложением крутящего момента не более 2,3 Н·м.
16.3.2 Части из изоляционного материала, необходимого для крепления контура заземления
Части из изоляционного материала, к которым крепятся элементы заземляющего контура, описанного в
11.2, должны быть подвергнуты испытанию вытягиванием до и после старения. После каждого испытания, испытательная жила не должна отделяться от образца.
Соответствие проверяют следующими испытаниями.
Испытание проводят на одном образце в состоянии поставки до и на одном образце после воздействия на него циркулирующим воздухом в сушильном шкафу в течение 168 ч при 90 °C, а затем охлаждения до комнатной температуры.
Испытательная жила, приведенная на рисунке 4, должна быть присоединена к заземляющей шине путем размещения щелевой части испытательной жилы под винт заземления. Винт зажимают крутящим моментом, указанным в соответствующем столбце таблицы 4.
Испытательная жила на образце должна быть установлена до выдержки в сушильном шкафу.
Образец закрепляют и к испытательной жиле прикладывают силу 45 Н в течение 5 мин в направлении, перпендикулярном к открытой поверхности образца.
Усилие прикладывают равномерно одним движением. При использовании разрывной машины, скорость разведения зажимов должна быть 10 мм в минуту.
17. Пути утечки, электрические зазоры и расстояния через герметизирующий компаунд
По серии стандартов IEC 60670 (части 21 - 24).
18. Тепло- и огнестойкость изоляционных материалов
Части из изоляционных материалов, которые могут испытывать термические нагрузки под воздействием электрического тока и повреждение которых может привести к снижению безопасности, не должны быть подвергнуты чрезмерному нагреву и воздействию огня.
Испытание проводят раскаленной проволокой в соответствии с разделами 4 - 10 IEC 60695-2-11 при следующих условиях:
Для температурного режима 850 °C:
- части из изоляционного материала, предназначенные для крепления токоведущих частей, и/или деталей цепи заземления (за исключением изолирующих частей, на которых закрепляют зажимы заземления);
- части из изоляционного материала коробок и корпусов, классифицируемых по 7.2.2 (кроме частей, выступающих из стены).
Для температурного режима 650 °C:
- части из изоляционного материала, не предназначенные для крепления токоведущих частей (даже при их соприкосновении);
- части из изоляционного материала, на которых закрепляют зажимы заземления;
- части из изоляционного материала коробок и корпусов, классифицируемых по 7.2.2, выступающие из стены.
Токоведущие части или части цепи заземления, удерживаемые механическими частями, считают находящимися в закрепленном положении. Применяемую смазку или краску не рассматривают в качестве механических частей удержания.
Внешние проводники не могут рассматриваться как удерживаемые токоведущие части.
В случае сомнения, является ли изоляционный материал средством удержания токоведущих частей и частей цепей заземления, изделие испытывают без проводников, как если бы они были удалены.
Если указанное испытание должно быть проведено в нескольких местах одного и того же образца, необходимо принять меры, чтобы любые повреждения, вызванные испытанием в одном месте образца, не влияли на результаты испытания в других местах.
Мелкие детали, каждая из поверхностей которых полностью помещается в круг диаметром 15 мм или если одна из поверхностей которых выходит за пределы круга диаметром 15 мм, и если в любую из поверхностей невозможно поместить круг диаметром 8 мм, указанному испытанию не подвергают (схематическое изображение показано на рисунке 26).
1 - образец; 2 - испытания требуются;
3 - испытания не требуются
Рисунок 26 - Схема испытания раскаленной проволокой
При проверке поверхности впадины и отверстия размером менее 2 мм на поверхности большего размера не учитывают.
Детали из керамики испытаниям не подлежат.
Цель испытания заключается в проверке того, что испытательная проволока, нагретая с помощью электрического тока, при заданных условиях не вызовет воспламенения частей из изоляционного материала или, в случае воспламенения, они будут гореть не более определенного времени, а огонь не перейдет в постоянное пламя и не произойдет отделение от испытуемого образца горящих частей или капель на сосновую доску, покрытую тонкой бумагой.
По возможности в качестве испытуемого образца следует использовать коробку или корпус в сборе.
Если это невозможно, испытания проводят на части коробки или корпуса.
Испытания проводят на одном образце.
В случае сомнения испытания проводят еще на двух образцах.
Раскаленную проволоку следует прикладывать в течение (30 +/- 1) с только один раз.
Образец во время испытания устанавливают в наиболее неблагоприятном положении его предполагаемой эксплуатации (испытуемая поверхность должна находиться в вертикальном положении).
Конец раскаленной проволоки прикладывают к поверхности испытуемого образца, учитывая при этом условия его предполагаемого использования, при которых нагретый или раскаленный элемент может касаться образца.
Образец считают выдержавшим испытание, если:
- отсутствует видимое пламя или тление;
- пламя и тление угасают через 30 с после удаления раскаленной проволоки.
Не должно быть возгорания тонкой бумаги или подпаленных мест на доске.
Для коробок и корпусов со степенью защиты выше IPX0 изоляционный материал, применяемый для изготовления деталей, на которых крепят токоведущие части, должен быть устойчивым к токам поверхностного разряда.
Испытание материалов, кроме деталей из керамики, и когда значения путей утечки более чем в два раза меньше значений, указанных в разделе 17, проводят в соответствии с IEC 60112 на трех образцах.
Плоскую поверхность испытуемой детали, желательно размерами не менее 15 x 15 мм и толщиной не менее 3 мм, располагают горизонтально.
Испытания материала выполняют по IEC 60112, метод A, при индексе трекингостойкости 175. Промежуток времени между каплями составляет (30 +/- 5) с.
Прежде чем будет нанесено 50 капель, не должно происходить перекрытия или пробоя в результате образования токопроводящих мостиков между электродами.
В качестве альтернативы может быть использован сравнительный индекс трекингостойкости материала. Значение сравнительного индекса трекингостойкости должно быть не менее 175.
20. Коррозионная стойкость
Металлические части коробок и корпусов должны быть соответствующим образом защищены от коррозии.
Проверку проводят следующим испытанием.
Испытуемые элементы корпусов обезжиривают, погружая на (10 +/- 1) мин в раствор обезжиривающего вещества.
Затем их погружают на (10 +/- 1) мин в 10%-ный водный раствор хлорида аммония с температурой (20 +/- 5) °C.
Стряхнув капли, испытуемые элементы без просушки помещают на (10 +/- 1) мин в камеру, заполненную насыщенным воздухом с влажностью от 91% до 95% при температуре (20 +/- 5) °C.
После того как испытуемые элементы будут просушены в термокамере при температуре (100 +/- 5) °C в течение (10 +/- 1) мин, на их поверхности не должно быть следов коррозии.
Примечание - Следы коррозии и желтоватую пленку на острых кромках, удаляемую протиркой, не учитывают. К острым кромкам также относят перфорированные отверстия и поверхность резьбовых отверстий.
21. Электромагнитная совместимость
Изделия, на которые распространяется настоящий стандарт, при нормальной эксплуатации не подвержены электромагнитным воздействиям (излучению или поглощению).
Поэтому никакие испытания на электромагнитную совместимость не проводят.
(справочное)
ПРИМЕРЫ КОРПУСОВ И ИХ ЧАСТЕЙ
1 - коробка; 2 - защитная пластина;
3 - крышка; 4 - образец; 5 - аппарат;
a - образец + крышка (только для открытой установки);
b1 - коробка + защитная пластина (открытая установка);
b2 - коробка + защитная пластина (скрытая установка)
Рисунок A.1 - Примеры корпусов и их частей
(справочное)
СВЕДЕНИЯ О СООТВЕТСТВИИ ССЫЛОЧНЫХ МЕЖДУНАРОДНЫХ
СТАНДАРТОВ МЕЖГОСУДАРСТВЕННЫМ СТАНДАРТАМ
Таблица ДА.1
Обозначение ссылочного международного стандарта | Степень соответствия | Обозначение и наименование соответствующего межгосударственного стандарта |
IEC 60068-2-75:2014 | - | |
IEC 60112:2009 | MOD | ГОСТ 27473-87 (МЭК 112-79) "Материалы электроизоляционные твердые. Метод определения сравнительного и контрольного индексов трекингостойкости во влажной среде" |
IEC 60423:2007 | - | |
IEC 60529:2013 | MOD | ГОСТ 14254-2015 (IEC 60529:2013) "Степени защиты, обеспечиваемые оболочками (код IP)" |
IEC 60695-2-11:2014 | IDT | ГОСТ IEC 60695-2-11-2013 "Испытания на пожароопасность. Часть 2-11. Основные методы испытаний раскаленной проволокой. Испытание раскаленной проволокой на воспламеняемость конечной продукции" |
IEC 60695-10-2:2014 | IDT | |
IEC 60981:2004 | - | |
IEC 61032:1997 | IDT | ГОСТ IEC 61032-2002 "Защита людей и оборудования, обеспечиваемая оболочками. Щупы испытательные" |
IEC 61084 (все части) | - | |
IEC 61140:2009 | IDT | ГОСТ IEC 61140:2012 "Защита от поражения электрическим током. Общие положения безопасности установок и оборудования" |
ISO/IEC Руководство 51:2014 | - | |
<*> Соответствующий межгосударственный стандарт отсутствует. <**> Соответствующий межгосударственный документ отсутствует. Примечание - В настоящей таблице использованы следующие условные обозначения степени соответствия стандартов: - IDT - идентичные стандарты; - MOD - модифицированные стандарты. |
IEC 60670 (all parts) | Boxes and enclosures for electrical accessories for household and similar fixed electrical installations (Кожухи и оболочки для принадлежностей бытовых и аналогичных стационарных электрических установок) |
EC 60670-21 | Boxes and enclosures for electrical accessories for household and similar fixed electrical installations - Part 21: Particular requirements for boxes and enclosures with provision for suspension means (Кожухи и оболочки для принадлежностей бытовых и аналогичных стационарных электрических установок. Часть 21. Частные требования к кожухам и оболочкам, оснащенными средствами для подвешивания) |
IEC 60670-22 | Boxes and enclosures for electrical accessories for household and similar fixed electrical installations - Part 22: Particular requirements for connecting boxes and enclosures (Кожухи и оболочки для принадлежностей бытовых и аналогичных стационарных электрических установок. Часть 22. Частные требования к соединительным коробкам и оболочкам) |
IEC 60670-23 | Boxes and enclosures for electrical accessories for household and similar fixed electrical installations - Part 23: Particular requirements for floor boxes and enclosures (Кожухи и оболочки для принадлежностей бытовых и аналогичных стационарных электрических установок. Часть 23. Частные требования к напольным коробкам и оболочкам) |
IEC 60670-24 | Boxes and enclosures for electrical accessories for household and similar fixed electrical installations - Part 24: Particular requirements for enclosures for housing protective devices and other power dissipating electrical equipment (Кожухи и оболочки для электроприборов для бытовых и аналогичных стационарных электрических установок. Часть 24. Частные требования к оболочкам для защиты бытовых электроприборов и аналогичных энергопотребляющих устройств) |
IEC 61084 (all parts) | Cable trunking and ducting systems for electrical installations (Системы коробов и каналов для прокладки кабелей для электрических установок) |
IEC 62444 | Cable glands for electrical installations (Кабельные сальники для электроустановок) |
ISO 1456 | Metallic coatings - Electrodeposited coatings of nickel plus chromium and of copper plus nickel plus chromium (Покрытия металлические. Электролитические покрытия из никель-хрома и медь-никель-хрома) |
ISO 2081 | Metallic coatings - Electroplated coatings of zinc on iron or steel (Покрытия металлические. Электролитические покрытия цинком по железу или стали) |
ISO 2093 | Electroplated coatings of tin - Specification and test methods (Покрытия электролитические оловянные. Технические требования и методы испытания) |