Главная // Актуальные документы // ГОСТ (Государственный стандарт)СПРАВКА
Источник публикации
М.: Стандартинформ, 2014
Примечание к документу
Документ утратил силу с 01.07.2018 в связи с изданием
Приказа Росстандарта от 23.05.2017 N 399-ст. Взамен введен в действие
ГОСТ IEC 60670-1-2016.
Отдельные положения данного документа были включены в
Перечень документов в области стандартизации, в результате применения которых на добровольной основе обеспечивается соблюдение требований Федерального
закона от 22.07.2008 N 123-ФЗ "Технический регламент о требованиях пожарной безопасности" (
Приказ Росстандарта от 14.07.2020 N 1190).
Отдельные положения данного документа включены в
Перечень документов в области стандартизации, в результате применения которых на добровольной основе обеспечивается соблюдение требований Федерального
закона от 22.07.2008 N 123-ФЗ "Технический регламент о требованиях пожарной безопасности" (
Приказ Росстандарта от 03.06.2019 N 1317).
Отдельные положения данного документа включены в
Перечень документов в области стандартизации, в результате применения которых на добровольной основе обеспечивается соблюдение требований Федерального
закона от 22.07.2008 N 123-ФЗ "Технический регламент о требованиях пожарной безопасности" (
Приказ Росстандарта от 17.04.2019 N 832).
Документ включен в
Перечень стандартов, в результате применения которых на добровольной основе обеспечивается соблюдение требований технического
регламента Таможенного союза "О безопасности низковольтного оборудования" (ТР ТС 004/2011) и в
Перечень стандартов, содержащих правила и методы исследований (испытаний) и измерений, в том числе правила отбора образцов, необходимые для применения и исполнения требований технического
регламента Таможенного союза "О безопасности низковольтного оборудования" (ТР ТС 004/2011) и осуществления оценки соответствия объектов технического регулирования (
Решение Комиссии Таможенного союза от 16.08.2011 N 768).
Документ включен в
Перечень национальных стандартов, содержащих правила и методы исследований (испытаний) и измерений, в том числе правила отбора образцов, необходимых для применения и исполнения Федерального
закона от 22.07.2008 N 123-ФЗ "Технический регламент о требованиях пожарной безопасности" и осуществления оценки соответствия (
Распоряжение Правительства РФ от 10.03.2009 N 304-р).
Документ
введен в действие с 01.01.2014.
Название документа
"ГОСТ 32126.1-2013 (IEC 60670-1:2002). Межгосударственный стандарт. Коробки и корпусы для электрических аппаратов, устанавливаемые в стационарные электрические установки бытового и аналогичного назначения. Часть 1. Общие требования"
(введен в действие Приказом Росстандарта от 26.08.2013 N 538-ст)
"ГОСТ 32126.1-2013 (IEC 60670-1:2002). Межгосударственный стандарт. Коробки и корпусы для электрических аппаратов, устанавливаемые в стационарные электрические установки бытового и аналогичного назначения. Часть 1. Общие требования"
(введен в действие Приказом Росстандарта от 26.08.2013 N 538-ст)
агентства по техническому
регулированию и метрологии
от 26 августа 2013 г. N 538-ст
МЕЖГОСУДАРСТВЕННЫЙ СТАНДАРТ
КОРОБКИ И КОРПУСЫ ДЛЯ ЭЛЕКТРИЧЕСКИХ АППАРАТОВ,
УСТАНАВЛИВАЕМЫЕ В СТАЦИОНАРНЫЕ ЭЛЕКТРИЧЕСКИЕ
УСТАНОВКИ БЫТОВОГО И АНАЛОГИЧНОГО НАЗНАЧЕНИЯ
ЧАСТЬ 1
ОБЩИЕ ТРЕБОВАНИЯ
Boxes and enclosures for electrical accessories
for household and similar fixed electrical installations.
Part 1. General requirements
(IEC 60670-1:2002, MOD)
ГОСТ 32126.1-2013
(IEC 60670-1:2002)
Дата введения
1 января 2014 года
Цели, основные принципы и порядок проведения работ по межгосударственной стандартизации установлены
ГОСТ 1.0-92 "Межгосударственная система стандартизации. Основные положения" и
ГОСТ 1.2-2009 "Межгосударственная система стандартизации. Стандарты межгосударственные, правила и рекомендации по межгосударственной стандартизации. Правила разработки, принятия, применения, обновления и отмены".
1. Подготовлен Открытым акционерным обществом "Всероссийский научно-исследовательский институт сертификации" (ОАО "ВНИИС").
2. Внесен Федеральным агентством по техническому регулированию и метрологии (Росстандарт).
3. Принят Межгосударственным советом по стандартизации, метрологии и сертификации (Протокол от 7 июня 2013 г. N 43).
За принятие проголосовали:
Краткое наименование страны по МК (ИСО 3166) 004-97 | Код страны по МК (ИСО 3166) 004-97 | Сокращенное наименование национального органа по стандартизации |
Азербайджан | AZ | Азстандарт |
Беларусь | BY | Госстандарт Республики Беларусь |
Киргизия | KG | Кыргызстандарт |
Россия | RU | Росстандарт |
Таджикистан | TJ | Таджикстандарт |
4.
Приказом Федерального агентства по техническому регулированию и метрологии от 26 августа 2013 г. N 538-ст межгосударственный стандарт ГОСТ 32126.1-2013 (IEC 60670-1:2002) введен в действие в качестве национального стандарта Российской Федерации с 1 января 2014 г.
5. Настоящий стандарт модифицирован по отношению к международному стандарту IEC 60670-1:2002. Boxes and enclosures for electrical accessories for household and similar fixed electrical installation - Part 1: General requirements [and cor. N 1:2003] (Коробки и корпусы для электрических аппаратов, устанавливаемые в стационарные электрические установки бытового и аналогичного назначения. Часть 1. Общие требования) с поправкой N 1:2003 путем внесения дополнительных требований, отражающих потребности экономики страны, объяснение которых приведено во введении к настоящему стандарту.
В
разделе "Нормативные ссылки" и тексте стандарта ссылки на международные стандарты актуализированы.
Степень соответствия - модифицированная (MOD).
7. Введен впервые.
Информация об изменениях к настоящему стандарту публикуется в ежегодном информационном указателе "Национальные стандарты", а текст изменений и поправок - в ежемесячном информационном указателе "Национальные стандарты". В случае пересмотра (замены) или отмены настоящего стандарта соответствующее уведомление будет опубликовано в ежемесячном информационном указателе "Национальные стандарты". Соответствующая информация, уведомление и тексты размещаются также в информационной системе общего пользования - на официальном сайте Федерального агентства по техническому регулированию и метрологии в сети Интернет.
Настоящий стандарт модифицирован по отношению к международному стандарту IEC 60670-1:2002 "Коробки и корпусы для электрических аппаратов, устанавливаемые в стационарные электрические установки бытового и аналогичного назначения. Часть 1. Общие требования" с поправкой N 1:2003.
В отличие от предыдущего стандарта IEC 670-89 на объект стандартизации принята серия стандартов IEC 60670
[5], состоящая из основного стандарта IEC 60670-1:2002 и четырех стандартов, устанавливающих дополнительные частные требования к корпусам и коробкам конкретных предназначений: IEC 60670-21
[1], IEC 60670-22
[2], IEC 60670-23
[3], IEC 60670-24
[4].
Настоящий стандарт по построению, последовательности изложения требований, нумерации разделов, пунктов, подпунктов, таблиц и рисунков полностью соответствует IEC 60670-1:2002 и дополняет его требованиями, учитывающими требования национальных стандартов Российской Федерации по стойкости к внешним воздействующим факторам.
Настоящий стандарт не отменяет
ГОСТ 8594-80 "Коробки для установки выключателей и штепсельных розеток при скрытой электропроводке. Общие технические условия", однако при использовании указанного стандарта некоторые его требования, обеспечивающие безопасность пользователей, должны быть приведены в соответствие с настоящим стандартом.
В текст настоящего стандарта включены дополнительные требования в части климатических исполнений, отражающие потребности экономики страны.
В настоящем стандарте использованы следующие выделения:
- требования к испытаниям - курсив;
- дополнительные требования, отражающие потребности экономики страны, - одиночная сплошная вертикальная линия, расположенная справа от приведенного текста.
| | ИС МЕГАНОРМ: примечание. В официальном тексте документа, видимо, допущена опечатка: имеется в виду ГОСТ Р 1.5-2004, а не ГОСТ 1.5-2004. | |
В настоящем стандарте
раздел "Нормативные ссылки" изложен в соответствии с
ГОСТ 1.5-2004 и выделен одиночной сплошной вертикальной линией, расположенной слева от приведенного текста.
Настоящий стандарт распространяется на коробки, корпусы (далее - коробки и корпусы) и их части для встраивания в них электрических аппаратов (далее - аппараты) с номинальным напряжением не более 1000 В переменного тока и 1500 В постоянного тока, устанавливаемые в стационарные электрические установки бытового и аналогичного назначения и эксплуатируемые внутри помещений или на открытом воздухе.
Примечание. Требования к коробкам и корпусам конкретных типов установлены в соответствующих частях комплекса стандартов IEC 60670
[5].
Коробки и корпусы в соответствии с настоящим стандартом предназначены для использования в нормальных условиях эксплуатации при температуре окружающей среды до плюс 25 °C с допустимым временным повышением температуры до плюс 35 °C.
Требования к коробкам или корпусам, являющимся частью электрических аппаратов и предназначенным для защиты этих аппаратов от внешних воздействий (например, от механических ударов, проникновения твердых частиц или воды), должны быть установлены стандартами на соответствующие аппараты.
Настоящий стандарт не распространяется:
- на потолочные розетки;
- на держатели светильников;
- на коробки, корпусы и их части, специально разработанные для применения в системах коробов и каналов для прокладки кабелей в соответствии со стандартами комплекса IEC 61084
[7] и не предназначенные для применения вне указанных систем.
В настоящем стандарте использованы нормативные ссылки на следующие стандарты:
ГОСТ 14254-96 (МЭК 529-89). Степени защиты, обеспечиваемые оболочками (код IP)
ГОСТ 15150-69. Машины, приборы и другие технические изделия. Исполнения для различных климатических районов. Категории, условия эксплуатации, хранения и транспортирования в части воздействия климатических факторов внешней среды
ГОСТ 15543.1-89. Изделия электротехнические. Общие требования в части стойкости к климатическим внешним воздействующим факторам
ГОСТ 16504-81. Система государственных испытаний продукции. Испытания и контроль качества продукции. Основные термины и определения
ГОСТ 16962.1-89. Изделия электротехнические. Методы испытаний на устойчивость к климатическим внешним воздействующим факторам
ГОСТ 27473-87. Материалы электроизоляционные твердые. Метод определения сравнительного и контрольного индексов трекингостойкости во влажной среде
ГОСТ 27483-87. Испытания на пожароопасность. Методы испытаний. Испытания нагретой проволокой.
Примечание. При пользовании настоящим стандартом целесообразно проверить действие ссылочных стандартов в информационной системе общего пользования - на официальном сайте Федерального агентства по техническому регулированию и метрологии в сети Интернет или по ежегодному информационному указателю "Национальные стандарты", который опубликован по состоянию на 1 января текущего года, и по выпускам ежемесячного информационного указателя "Национальные стандарты" за текущий год. Если ссылочный стандарт заменен (изменен), то при пользовании настоящим стандартом следует руководствоваться заменяющим (измененным) стандартом. Если ссылочный стандарт отменен без замены, то положение, в котором дана ссылка на него, применяется в части, не затрагивающей эту ссылку.
В настоящем стандарте применены следующие термины с соответствующими определениями:
3.1. Корпус (enclosure): комбинация элементов, таких как коробки, крышки, покрывающие пластины, удлинительные втулки, аппараты и т.п., обеспечивающих после монтажа и установки в нормальных условиях эксплуатации соответствующую степень защиты встроенных аппаратов от внешних воздействий и необходимую степень защиты от контакта с токоведущими частями с любых направлений (см.
Приложение А).
3.2. Коробка (box): элемент корпуса, имеющий приспособления для крепления крышек, покрывающих пластин, аппаратов и т.п. и предназначенный для установки аппаратов (таких как штепсельные розетки, выключатели и т.д.).
3.3. Удлинительная втулка (box extension): элемент корпуса, предназначенный для увеличения глубины коробки или корпуса или для выполнения скрытой или полускрытой установки на чисто обработанной поверхности стены или другой подобной поверхности.
3.4. Крышка или покрывающая пластина (lig, cover or cover-plate): элемент корпуса, не являющийся частью аппарата, расположенного внутри корпуса, и предназначенный для удерживания этого аппарата в определенном положении.
3.5. Выпуклая крышка (raised cover): крышка, предназначенная для монтажа непосредственно на коробке для подключения аппаратов и увеличения внутреннего объема корпуса.
Примечание. Центральная часть крышки поднята для вмещения стенки или потолка особой толщины и установки на ней аппарата на одном уровне со стенкой или потолком.
3.6. Открытая проводящая часть (exposed conductive part): доступная для прикосновения проводящая часть электрооборудования, которая в нормальных условиях эксплуатации не находится под напряжением, но может оказаться под напряжением при повреждении основной изоляции.
3.7. Коробка или корпус для открытой установки (surface mounting box or enclosure): коробка или корпус, предназначенные для монтажа на поверхности (см.
Приложение А).
3.8. Коробка или корпус для скрытой установки (flush-mounting or enclosure): коробка или корпус, предназначенные для монтажа заподлицо с поверхностью.
3.9. Коробка или корпус для полускрытой установки (semi-flush mounting box or enclosure): коробка или корпус, предназначенные для установки между наружной и внутренней сторонами монтажной поверхности, частично выступающие над поверхностью.
3.10. Кабельный ввод (cable gland): устройство, предназначенное для ввода в корпус кабеля, его уплотнения и удерживания, а также служащее для обеспечения заземления, соединения, изоляции, защиты кабеля, разгрузки напряжения или комбинации этих функций.
3.11. Уплотнение (герметизирующий материал) [seal (packing)]: материал, применяемый для заполнения пространства между внутренней частью кабельного ввода и проходящим через него кабелем, как правило, зажимаемый кабельным вводом и образующий соединение.
3.12. Прокладка (gasket): материал, размещенный между стыковочными поверхностями корпуса, при сжатии образующий соединение.
3.13. Уплотнительное кольцо (grommet): элемент, предназначенный для удерживания и защиты кабеля или трубы в месте ввода, который также может служить для защиты от попадания влаги или загрязняющих веществ (см.
рисунок 1).
3.14. Входная мембрана (entry membrane): элемент или неотъемлемая часть корпуса, предназначенные для удерживания кабеля или трубы в месте ввода.
Примечание. Входная мембрана также может служить для защиты от попадания влаги или загрязняющих веществ и являться частью уплотнительного кольца (см.
рисунок 1).
3.15. Защитная мембрана (protecting membrane): элемент или неотъемлемая часть корпуса, предназначенные для защиты от попадания воды или твердых частиц и/или обеспечивающие нормальную работу аппарата (см.
рисунок 1).
3.16. Композитный материал (composite material): материал, представляющий собой сочетание металла и изоляционного материала.
3.17. Выпускное отверстие (раструб) [spout (hub)]: открытый ввод коробки, предназначенный для размещения и удерживания трубы.
3.18. Крепление кабеля (cable retention): способ крепления кабеля, предотвращающий смещение установленного кабеля при приложении вытягивающих усилий.
3.19. Анкерное крепление кабеля (cable anchorage): способ крепления кабеля, предотвращающий смещение установленного гибкого кабеля при приложении усилий выдергивания, вытягивания или скручивания.
Каждый элемент коробки и корпуса должен иметь такую конструкцию, которая при монтаже и установке в нормальных условиях эксплуатации обеспечивала бы необходимую электрическую и механическую защиту частей аппарата и безопасность потребителя и окружающей среды.
Для потребностей экономики страны коробки и корпусы должны иметь следующие виды климатических исполнений: УХЛ1, У1, ХЛ1, УХЛ2, У2, УХЛ4, УХЛ5, Т1, Т2, Т5 и О4 по
ГОСТ 15150 и
ГОСТ 15543.1.
Технические требования к коробкам и корпусам конкретных типов и методы их испытаний должны быть установлены в технической документации изготовителя, утвержденной в установленном порядке, с учетом требований комплекса стандартов IEC 60670
[5].
Соответствие требованиям проверяют путем проведения всех предписанных испытаний по ГОСТ 16962.1.
5. Общие требования к испытаниям
5.1. Испытания, проводимые в соответствии с настоящим стандартом, являются типовыми. Программа типовых испытаний, изложенная в настоящем стандарте, должна быть основой для установления программ любых контрольных испытаний коробок и корпусов, предусмотренных
ГОСТ 16504: квалификационных, периодических, приемо-сдаточных.
Если не указано иное, то коробки и корпусы испытывают в том виде, в котором они доставлены.
Испытания аппаратов, установленных в коробки и корпусы, не проводят.
Испытания коробок и корпусов из изоляционных материалов проводят после предварительной выдержки в течение 10 сут при температуре окружающей среды и относительной влажности от 45% до 85%.
Если не указано иное, то испытания проводят в порядке следования пунктов настоящего стандарта при температуре окружающей среды (20 +/- 5) °C на трех образцах от партии, которые не были подвергнуты испытаниям.
5.2. Если один из этих образцов не выдерживает какое-либо испытание из-за ошибки при сборке или изготовлении, то данное испытание, а также все предшествующие испытания, которые могут повлиять на его результаты, повторяют в требуемой последовательности на новой полной партии. При повторных испытаниях не должно быть обнаружено ни одного дефекта.
Примечание. Вместе с первой партией образцов допускается представить дополнительную партию, которая может потребоваться, если один из образцов не выдерживает испытания. Тогда испытательная организация может без дополнительного запроса проводить испытания дополнительной партии образцов, и только в случае отрицательных результатов при повторных испытаниях образцы бракуют. При непредставлении дополнительной партии образцы бракуют в том случае, если хотя бы один из них не выдержит какого-либо испытания.
Номинальные параметры указаны в соответствующем стандарте комплекса IEC 60670
[5].
Классификация коробок и корпусов - в соответствии с представленной в таблице 1.
Таблица 1
Классификация коробок и корпусов
Критерии классификации |
7.1. По виду материала: | 7.1.1. Из изоляционного материала | |
7.1.2. Металлические |
7.1.3. Из композитных материалов (композиты) |
7.2. По способу установки <a>: | 7.2.1. Скрытая, полускрытая или открытая установка в | 7.2.1.1. Стены, потолки или пол из несгораемых материалов |
7.2.1.2. Стены, потолки или пол из сгораемых материалов |
7.2.1.3. Несплошные (полые) стены, потолки, пол или мебель |
7.2.2. Открытая установка в | 7.2.2.1. Стены, потолки или пол, или мебель из несгораемых материалов |
7.2.2.2. Стены, потолки или пол, или мебель из сгораемых материалов |
| 7.2.3.1. Замоноличиваемые в бетон (см. 7.6) |
7.2.3.2. Незамоноличиваемые в бетон |
7.3. По типу (типам) входных (выходных) отверстий <b>: | 7.3.1. С входными отверстиями для кабелей в металлической оплетке для стационарных установок | |
7.3.2. С входными отверстиями для гибких кабелей |
7.3.3. С входными отверстиями для гладких или гофрированных труб |
7.3.4. С входными отверстиями для резьбовых труб |
7.3.5. С входными отверстиями для проводников/кабелей или труб прочих видов |
7.3.6. С выпускными отверстиями (раструбами) |
7.3.7. Без входных отверстий. Отверстия будут выполнены при установке |
7.4. По элементам крепления: | 7.4.1. С креплением кабеля | |
7.4.2. С анкерным креплением кабеля |
7.4.3. С элементами для крепления гибких труб |
7.4.4. Без элементов крепления |
7.5. По минимальной и максимальной температуре при установке: | 7.5.1. От минус 5 °C до плюс 60 °C | |
7.5.2. От минус 15 °C до плюс 60 °C |
7.5.3. От минус 25 °C до плюс 60 °C |
7.6. По максимальной температуре при заливке <c>: | 7.6.1. Плюс 60 °C | |
|
7.7. Коробки и корпусы для полых стен и аналогичных конструкций по 7.2.1.3 подразделяют: | | |
| 7.7.2.1. Класс Hb для стен |
7.7.2.2. Класс Hb для потолков |
7.7.3. По степени защиты элемента, установленного в полой стене | 7.7.3.1. IP2X |
7.7.3.2. Выше IP2X |
<a> Допускается применять более одного способа установки коробок и корпусов. <b> Коробки и корпусы могут иметь входные отверстия более чем одного вида. <c> Данное требование распространяется на коробки и корпусы, классифицируемые по 7.2.3.1. <d> Данное требование распространяется на коробки и корпусы, предназначенные для замоноличивания в бетон с временным повышением температуры до плюс 90 °C в процессе заливки. |
8.1. Коробки и корпусы должны иметь следующую маркировку:
a) наименование, товарный или фирменный знак предприятия-изготовителя или ответственного поставщика.
На корпусах также должны быть нанесены:
b) обозначение степени защиты IP от попадания твердых частиц. В случае, если IP выше IP2X, также должна быть указана вторая цифра кода IP;
c) обозначение степени защиты IP от попадания воды. В случае, если IP выше IPX0, также должна быть указана первая цифра кода IP;
d) маркировка IPXX на крышке корпуса для скрытой установки. В случае выполнения установки на необработанной поверхности, когда степень защиты IP зависит от поверхности (см.
рисунок 5).
Обозначение степени защиты IP, если это необходимо, должно быть нанесено на наружную поверхность корпуса таким образом, чтобы оно было легкоразличимо тогда, когда корпус установлен и в нем выполнен монтаж проводки как при нормальной эксплуатации.
Следующие информационные элементы должны быть нанесены на коробках и корпусах или при малых их размерах на упаковку либо приведены в инструкции изготовителя:
e) обозначение типа, например каталожный номер;
f) максимальная температура при установке (для плюс 90 °C);
g) необходимые сведения об отверстиях, которые допускается выполнять при установке, для коробок и корпусов, классифицируемых по
7.3.7;
h) минимальная температура установки коробок и корпусов, классифицируемых по
7.5.2 и
7.5.3;
i) для коробок и корпусов, классифицируемых по
7.7.2, минимальный внутренний объем в кубических сантиметрах (см3), определенный при испытаниях по
12.12.4. Внутренний объем должен быть указан на внутренней части коробки или корпуса. Маркировка на коробке или корпусе должна быть легкоразличима после установки коробки обычным способом, но до монтажа проводки;
j) обозначение Ha для коробок и корпусов, классифицируемых по
7.7.1, и обозначение Hb для коробок и корпусов, классифицируемых по
7.7.2.
Дополнительную информацию для правильного использования корпусов при необходимости приводят в каталоге изготовителя или в инструкции.
В отдельных случаях, когда для обеспечения более высокой степени защиты используют специальные части, должна быть предоставлена инструкция с указанием более высоких степеней защиты. В таких случаях в маркировке указывают первоначальную степень защиты.
Для потребностей экономики страны дополнительно на коробки и корпусы наносят вид климатического исполнения по
ГОСТ 15150.
8.2. Маркировка должна быть долговечной и легкочитаемой.
Соответствие требованиям 8.1 и 8.2 проверяют внешним осмотром и следующим испытанием.
Маркировку протирают вручную в течение 15 с тканью, смоченной водой, а затем в течение 15 с тканью, смоченной бензином.
Примечание 1. Маркировку, выполненную с помощью штамповки, прессования или гравирования, этому испытанию не подвергают.
Примечание 2. Для проверки маркировки используют бензин на основе гексана в качестве растворителя с максимальным содержанием ароматических соединений 0,1%, каури-бутанола 29 с температурой начала кипения около 65 °C и температурой окончания кипения около 69 °C плотностью около 0,68 г/см3.
После проведения испытания маркировка должна оставаться читаемой.
Коробки и корпусы должны отвечать соответствующим требованиям, указанным в технических условиях на коробки и корпусы конкретных типов.
Проверки проводят внешним осмотром и измерением.
10. Защита от поражения электрическим током
Конструкция коробок и корпусов, собранных, оборудованных и установленных как при нормальной эксплуатации в соответствии с инструкцией изготовителя, должна обеспечивать недоступность прикосновения к токоведущим частям.
Степень защиты корпусов, собранных, оборудованных и установленных как при нормальной эксплуатации, должна быть не менее IPXXB.
Если корпусы поставляют без крышки, покрывающей пластины или аппарата, то их испытывают вместе с соответствующими установленными в них частями согласно информации, приведенной в инструкции изготовителя.
Проверку проводят внешним осмотром, а при возникновении сомнений выполняют следующее испытание.
Корпусы испытывают приложением испытательного щупа 11 согласно IEC 61032 [6] в течение 1 мин с силой 20 Н. Щуп не должен проникать в части корпуса, в которых согласно инструкции изготовителя будут установлены токоведущие части.
Испытания проводят на частях, которые доступны после монтажа.
Дополнительно ко всем корпусам по 7.1.1 и 7.1.3 с частями, изготовленными из термопластичных или эластомерных материалов, прилагают в течение 1 мин силу, используя щуп 11 по IEC 61032 [6], но при температуре окружающей среды (35 +/- 2) °C и такой же температуре корпуса.
Щуп прикладывают:
- ко всем точкам, кроме мембран и т.п., в которых смещение изоляционного материала может привести к нарушению безопасности, - с силой 75 Н;
- к удаляемым перемычкам - с силой 10 Н.
11.1. Коробки и корпусы с открытыми токопроводящими частями
Коробки и корпусы с открытыми токопроводящими частями должны иметь средства заземления с малым сопротивлением или приспособления для соединения с цепью заземления. В целях обеспечения требований настоящего пункта малые винты и др. подобные элементы, используемые для крепления основ, крышек, покрывающих пластин и т.п., не считают открытыми токопроводящими частями.
В нормальном режиме эксплуатации соединение между средствами заземления и открытыми токопроводящими частями крышек или покрывающих пластин должно иметь малое электрическое сопротивление.
Проверку проводят внешним осмотром и испытанием, описанными ниже.
От источника с напряжением холостого хода не более 12 В обеспечивают прохождение переменного тока (25 +/- 1) А между зажимом заземления и каждой из открытых токоведущих частей поочередно. Измеряют падение напряжения между зажимом заземления и каждой из открытых токоведущих частей и по значению измеренной величины и известному значению тока рассчитывают сопротивление цепи.
Сопротивление цепи должно быть не более 0,05 Ом.
Примечание 1. Следует иметь в виду, что сопротивление контакта между наконечником измерительного прибора и испытуемой открытой токопроводящей частью не должно оказывать влияния на результаты испытаний.
Примечание 2. Для коробок и корпусов с IP выше X0, изготовленных из изоляционных материалов, могут быть применены дополнительные средства для обеспечения надежности цепи заземления при наличии более одного входного отверстия.
11.2. Коробки и корпусы из изоляционных материалов, классифицируемые по
7.7.2
Коробки и корпусы из изоляционных материалов должны иметь не менее одной металлической скобы заземления сечением не менее 4 мм2 на одном зажиме заземления. Конструкция металлической скобы заземления должна обеспечивать подключение металлических монтажных скоб аппаратов, установленных внутри коробок, и металлических крышек, установленных на коробках, к защитным заземляющим проводникам (см.
рисунок 2).
Соответствие проверяют следующим испытанием.
Испытание проводят на одном образце в том виде, в котором он был доставлен, и на одном образце, к которому предварительно подсоединена испытательная жила, после выдерживания его в термокамере, вентилируемой путем естественной циркуляции воздуха (далее - термокамера), в течение 168 ч при температуре 90 °C, а затем охлаждения при комнатной температуре.
Для подключения к зажиму заземления испытательную жилу (см. рисунок 3) помещают под зажим заземления. Не допускается срывания резьбы зажима заземления при приложении крутящего момента, значения которого приведены в соответствующей графе таблицы 4.
К образцу, предварительно выдержанному в термокамере, прилагают силу 45 Н в течение 5 мин в направлении, перпендикулярном к открытой поверхности образца.
Силу прилагают без рывков. При использовании машины для испытаний на растяжение устанавливают скорость разъединения тисков 10 мм/мин.
После проведения каждого испытания не должно происходить ослабления крепления или отсоединения испытательной жилы.
12. Требования к конструкции
12.1. Крышки, покрывающие пластины и их части
Крышки, покрывающие пластины и их части, предназначенные для обеспечения защиты от поражения электрическим током, должны быть надежно закреплены.
Примечание. Рекомендуется использовать невыпадаемые средства крепления крышек или покрывающих пластин. Применение плотно посаженных картонных и подобных шайб считают приемлемым методом закрепления зажимных винтов, которые не должны выпадать.
12.1.1. Винтовые крепления
Проверку крышек или покрывающих пластин с винтовым креплением проводят внешним осмотром.
12.1.2. Невинтовые крепления, выполняемые без применения инструмента или ключа
Проверку крышек или покрывающих пластин с невинтовым креплением, отсоединяемых приложением силы согласно таблице 2 в направлении, перпендикулярном к монтажной/опорной поверхности, если при их удалении открывается доступ:
- к токоведущим частям - выполняют испытательным щупом A по IEC 61032 [6];
- к незаземленным токопроводящим частям, отделенным от токоведущих частей основной изоляцией, - выполняют испытательным щупом A по IEC 61032 [6];
- к изолированным частям, или
заземленным проводящим частям, или
проводящим частям, отделенным от токоведущих частей двойной или усиленной изоляцией, или
токоведущим частям цепей SELV по IEC 61140 [8] с напряжением не более 25 В переменного тока или 60 В постоянного тока - выполняют с помощью испытательного щупа A по IEC 61032 [6].
Таблица 2
Сила, прилагаемая к крышкам, покрывающим пластинам
или их частям с невинтовым креплением
Доступ испытательного пальца после удаления крышек, покрывающих пластин или их частей | Сила, Н |
| |
Не должны быть отсоединены | Должны быть отсоединены | Не должны быть отсоединены | Должны быть отсоединены |
К токоведущим частям | 40 | 120 | 80 | 120 |
К незаземленным токопроводящим частям, отделенным от токоведущих частей основной изоляцией | 10 | 120 | 20 | 120 |
К изолированным частям, или заземленным токопроводящим частям, или токопроводящим частям, отделенным от токоведущих частей двойной или усиленной изоляцией, или токоведущим частям цепей SELV напряжением не более 25 В переменного тока или 60 В постоянного тока | 10 | 120 | 10 | 120 |
При испытании силой, при которой крышки или покрывающие пластины должны или не должны быть отсоединены, монтаж коробок и корпусов выполняют как для нормальной эксплуатации. Коробки и корпусы скрытой установки закрепляют как для нормальной эксплуатации. Если такие коробки и корпусы снабжены запорными устройствами, которые могут быть открыты без применения инструмента, то эти устройства открывают.
12.1.2.1. Проверка крышек или покрывающих пластин на невозможность отсоединения
Силу прилагают постепенно, без рывков в направлении, перпендикулярном к монтажной поверхности. При этом значения силы, прилагаемой к центральной части крышки, покрывающей пластины или ее части, должны соответствовать значениям, указанным в таблице 2.
Силу прилагают в течение 1 мин.
Крышки или покрывающие пластины не должны быть отсоединены.
Испытания коробок и корпусов скрытой установки повторяют на новых образцах. Крышку или покрывающую пластину закрепляют на коробке после закрепления на стенке опорной рамы листа твердого материала толщиной (1 +/- 0,1) мм, как показано на рисунке 12.
Примечание. Лист твердого материала предназначен для имитации обоев и может состоять из нескольких частей.
12.1.2.2. Проверка крышек или покрывающих пластин на отсоединение
Силу, значение которой не должно превышать значений, указанных в соответствующей графе таблицы 2, прилагают постепенно, без рывков в направлении, перпендикулярном к монтажной/опорной поверхности, к крышкам, покрывающим пластинам или их частям, помещая крюк поочередно в каждый паз, отверстие и т.п. пространства, предусмотренные для их отсоединения.
Крышки или покрывающие пластины должны быть отсоединены.
Испытания проводят 10 раз на каждой отсоединяемой части с невинтовым креплением (прилагая силу в равной степени к различным доступным точкам); силу каждый раз прилагают к разным пазам, отверстиям и т.п. местам, предусмотренным для отсоединения съемных частей.
Испытания коробок и корпусов скрытой установки повторяют на новых образцах. Крышку или покрывающую пластину закрепляют на коробке после закрепления на стенке опорной рамы листа твердого материала толщиной (1 +/- 0,1) мм, как показано на рисунке 12.
После испытаний на образцах не должно быть повреждений, которые считают таковыми в соответствии с настоящим стандартом.
12.1.2.3. Проверка краев крышек или покрывающих пластин
Измерительный прибор (рисунок 13) прикладывают с каждой стороны крышки или покрывающей пластины, закрепленной без применения винтов на монтажной или опорной поверхности (см. рисунок 14). Сторона B (см. рисунок 13) прилегает к монтажной/опорной поверхности и перпендикулярна к стороне A. Измерительный прибор прикладывают под прямым углом к каждой испытуемой стороне.
Если крышка или покрывающая пластина закреплена без применения винтов к другой крышке, покрывающей пластине или коробке, имеющей те же габаритные размеры, то сторону B измерительного прибора прикладывают на уровне соединения. Край крышки или покрывающей пластины не должен выходить за край опорной поверхности.
Расстояние между стороной C измерительного прибора и краем испытуемой стороны, измеренное параллельно стороне B, не должно уменьшаться в процессе выполнения измерений, которые начинают в точке X и продолжают в направлении стрелки Y (рисунок 15). (Данное требование не относится к пазам, отверстиям, обратным конусностям и т.п., расположенным на расстоянии менее 7 мм от поверхности, к которой относится сторона B, и соответствующим требованиям испытаний 12.1.2.4).
12.1.2.4. Проверка пазов, отверстий и обратных конусностей
Измерительный прибор (рисунок 16), который прикладывают параллельно монтажной/опорной поверхности и под прямым углом к испытуемой стороне (рисунок 17) с силой (1 +/- 0,2) Н, не должен проникать более чем на 1,0 мм от верхней части паза, отверстия или обратной конусности и т.п.
Примечание. Проверку того, происходит ли проникновение измерительного прибора (см.
рисунок 17) более чем на 1 мм, выполняют относительно поверхности, которая перпендикулярна к стороне B (см.
рисунок 13), включая верхнюю часть края пазов, отверстий, обратных конусностей и т.п.
12.1.3. Другие способы крепления
Проверку крышек или покрывающих пластин с невинтовым креплением, отсоединение которых в соответствии с инструкциями изготовителя выполняют с применением инструмента и/или ключа, следует проводить испытаниями, описанными в
12.1.2, но при этом крышки, покрывающие пластины или их части не должны отсоединяться при приложении силы более 120 Н в направлении, перпендикулярном к монтажной/опорной поверхности.
12.2. Дренажные отверстия
Корпусы открытой и полускрытой установки со степенью защиты от IPX1 до IPX6 должны иметь открывающиеся дренажные отверстия диаметром не менее 5 мм или площадью не менее 20 мм2 и шириной или длиной не менее 3 мм.
Дренажные отверстия должны быть расположены таким образом и предусмотрены в таком количестве, чтобы при любом расположении корпуса хотя бы одно из отверстий всегда могло выполнять свои функции.
Примечание. Дренажное отверстие, расположенное в задней части корпуса, считают эффективным, если конструкцией корпуса обеспечен зазор не менее 5 мм от стенки или дренажный канал, размер которого не менее указанного.
Проверку проводят внешним осмотром и измерением.
12.3. Монтаж корпусов
Конструкция корпусов должна обеспечивать их крепление в соответствии со способом установки (см.
7.2).
Корпусы из изоляционного материала должны быть сконструированы таким образом, чтобы после монтажа средств крепления все токопроводящие части внутренних средств крепления были окружены изоляцией, выступающей относительно краев средств крепления не менее чем на 10% от максимальной ширины гнезда, в котором расположено средство крепления.
Проверку проводят внешним осмотром и измерением.
12.4. Коробки и корпусы с входными отверстиями для гибких кабелей
Конструкция входных (выходных) отверстий в коробках и корпусах, классифицируемых по
7.3.2, должна обеспечивать свободный ввод гибких кабелей.
Проверку проводят испытанием вручную.
12.5. Коробки и корпусы с входными отверстиями для различных применений, кроме гибких кабелей
Входные отверстия, классифицируемые по
7.3 (кроме
7.3.2), если таковые имеются, должны обеспечивать введение:
- трубы или соответствующего фитинга, которым заканчивается труба, и/или
- кабеля с защитной оболочкой.
При этом должна быть обеспечена защита проводников от механических повреждений в месте их ввода в коробку или корпус.
Входные отверстия для введения труб или, по крайней мере, два из них, если их более одного, должны предусматривать возможность ввода труб одного размера или комбинации размеров, установленных требованиями IEC 60423
[9] и/или IEC 60981
[10].
Соответствие требованиям устанавливают путем проверки соответствующих кабелей или труб.
Примечание 1. Входные отверстия соответствующего размера могут быть получены также удалением перемычек или вкладышей или с помощью соответствующего режущего инструмента.
Примечание 2. В Нидерландах и Швеции входные отверстия для установки переключателей или штепсельных розеток должны быть оборудованы ограничителями.
12.6. Коробки и корпусы с анкерным креплением кабеля
Элементы крепления коробок и корпусов, классифицируемых по
7.4.2, должны обеспечивать разгрузку напряжения с жил гибких кабелей, если такие кабели доступны или подвержены нагрузке после установки.
Способы обеспечения разгрузки напряжения и предотвращения скручивания должны быть понятными.
Анкерное крепление должно:
- быть приемлемым для установки разных типов гибких кабелей, предназначенных для применения с коробкой;
- иметь конструкцию, в которой не менее чем одна из его частей должна быть неотъемлемой частью коробки или постоянно прикреплена к одному из элементов коробки;
- быть выполнено из изоляционного материала или иметь изолирующую обшивку металлических частей.
Проверку проводят внешним осмотром и следующим испытанием.
Эффективность анкерного крепления проверяют на оборудовании (рисунок 11).
Анкерное крепление выполняют как при нормальной эксплуатации. Зажимные винты, при наличии, затягивают крутящим моментом, значение которого должно быть равным 2/3 соответствующих значений, указанных в таблице 4, а для кабелей применяют крутящий момент, значение которого должно быть равным соответствующему значению крутящего момента, указанному в таблице 3.
Таблица 3
Значения силы и крутящего момента,
прилагаемых к кабелям с анкерным креплением
Внешние размеры гибких кабелей, мм | Сила, Н | Крутящий момент, Н·м |
До 5,2 x 7,6 включ. | 40 +/- 2 | 0,05 |
До 8 включ. | 50 +/- 2 | 0,10 |
Св. 8 до 11 включ. | 60 +/- 2 | 0,15 |
Св. 11 до 16 включ. | 80 +/- 2 | 0,35 |
Св. 16 | 100 +/- 2 | 0,42 |
После повторной сборки образца не должно быть вдавливания гибкого кабеля в образец более чем на 1 мм с приложением соответствующего крутящего момента согласно таблице 3.
Затем к кабелю 50 раз прилагают силу отрыва длительностью 1 с, указанную в таблице 3, и сразу после этого к гибким кабелям (как можно ближе к кабельному вводу) прилагают крутящий момент, значение которого должно быть не менее соответствующего значения, указанного в таблице 3, в течение (15 +/- 1) с.
После испытаний не должно происходить смещения гибких кабелей более чем на 2 мм, а на анкерном креплении (разгрузке напряжения) не должно быть повреждений, которые могут привести к несоответствию требованиям настоящего стандарта.
12.7. Коробки и корпусы с элементами для удерживания кабелей
Элементы для удерживания кабелей коробок и корпусов, классифицируемых по
7.4.1, должны удерживать кабель на месте.
Проверку проводят следующим испытанием, которое выполняют на трех образцах средств удерживания кабеля.
Сначала используют кабель максимального номинального поперечного сечения, затем кабель минимального номинального поперечного сечения, указанного изготовителем.
Кабель закрепляют в элементе для удерживания кабеля в соответствии с инструкцией изготовителя.
К кабелю прилагают осевую силу (20 +/- 1) Н в течение 1 мин. После испытания смещение кабеля должно быть не более 3 мм.
12.8. Перемычки, удаляемые при механическом ударе
Извлечение перемычек, удаляемых при механическом ударе, должно быть проведено без повреждения коробки.
Наличие сколов или заусенцев на удаляемых перемычках для ввода кабелей не допускается.
Наличие сколов или заусенцев на удаляемых перемычках, предназначенных для ввода труб и/или применяемых с уплотнительными кольцами или мембранами, не учитывают.
Проверку проводят внешним осмотром и испытаниями согласно 12.8.1 и 12.8.2.
12.8.1. Удерживание удаляемых перемычек
К установленным в коробках и корпусах удаляемым перемычкам прилагают силу (30 +/- 1) Н в течение (15 +/- 1) с посредством оправки диаметром 6 мм с плоским концом. Силу прилагают без ударов в направлении, перпендикулярном к плоскости удаляемой перемычки, в точке, в которой с наибольшей вероятностью может произойти смещение.
Удаляемая перемычка должна остаться на месте и через 1 ч после отсоединения нагрузки должна обеспечивать ту же степень защиты, что и до испытаний.
12.8.2. Извлечение удаляемых перемычек
Извлечение удаляемых перемычек должно быть проведено с применением инструмента в соответствии с инструкцией изготовителя. Для удаления тонких перемычек боковой стороной отвертки один раз проводят по краю отверстия, в котором установлена удаляемая перемычка.
При применении удаляемых перемычек в коробках и корпусах, классифицируемых по 7.1.1 или 7.1.3, испытание повторяют на одной коробке или одном корпусе после выдерживания их в течение 5 ч +/- 10 мин при минимальной температуре, допустимой при установке согласно 7.5. Сразу после выдерживания в таких условиях перемычку удаляют описанным выше способом.
При применении в коробках и корпусах многоступенчатых перемычек разных диаметров не должно происходить смещения перемычки большего диаметра при удалении перемычки меньшего диаметра.
После испытаний на коробке или корпусе не должно быть повреждений и острых краев для перемычек, применяемых для ввода кабелей, которые допускаются для перемычек, предназначенных для ввода труб и/или применяемых с уплотнительными кольцами или мембранами.
Резьбовые средства крепления крышек, аппаратов, зажимов, соединительных устройств, устройств для разгрузки напряжения и т.д. должны быть сконструированы таким образом, чтобы выдерживать механические нагрузки, которые могут возникнуть при монтаже и нормальной эксплуатации.
Примечание. В Нидерландах коробки скрытой установки должны иметь металлические вставки и винты с метрической резьбой по ИСО.
Самонарезающие винты, предназначенные только для механических соединений, допускается использовать при условии поставки их вместе с частью, в которую они должны быть ввинчены.
Установку самонарезающих винтов следует выполнять до проведения испытаний.
Проверку проводят внешним осмотром и испытанием, описанными ниже.
В процессе испытания проводят завинчивание и вывинчивание винтов средств крепления:
- 10 циклов для металлических винтов, ввинчиваемых в резьбу изоляционного материала;
- 5 циклов - для всех прочих вариантов.
Винты и гайки, ввинчиваемые/навинчиваемые в/на резьбу изоляционного материала, и винты из изоляционного материала полностью вывинчивают и завинчивают при каждом цикле. Испытание проводят с использованием отвертки, прилагая крутящий момент согласно таблице 4.
Таблица 4
Крутящий момент для проверки механической прочности винтов
Номинальный диаметр резьбы, мм | Крутящий момент для металлических и неметаллических винтов, Н·м |
| | | |
До 2,8 включ. | 0,20 | 0,40 | 0,40 | 0,70 |
Св. 2,8 до 3,0 включ. | 0,25 | 0,50 | 0,50 | 0,90 |
Св. 3,0 до 3,2 включ. | 0,30 | 0,60 | 0,60 | 1,10 |
Св. 3,2 до 3,6 включ. | 0,40 | 0,80 | 0,80 | 1,40 |
Св. 3,6 до 4,1 включ. | 0,70 | 1,20 | 1,20 | 1,80 |
Св. 4,1 до 4,7 включ. | 0,80 | 1,80 | 1,80 | 2,30 |
Св. 4,7 до 5,3 включ. | 0,80 | 2,00 | 2,00 | 4,00 |
Св. 5,3 до 6,0 включ. | 1,20 | 2,50 | 3,00 | 4,40 |
Св. 6,0 до 8,0 включ. | 2,50 | 3,50 | 6,00 | 4,70 |
Св. 8,0 | 3,00 <a> | 4,00 | 10,00 | 5,00 |
<a> Или значение должно быть указано изготовителем. |
Допускается использовать больший крутящий момент, если он указан изготовителем.
Данные, приведенные в графе I таблицы 4, относятся к винтам, завинчивание которых не может быть выполнено с помощью отвертки, ширина лезвия которой больше диаметра винта, или к неметаллическим и металлическим винтам, ввинчиваемым в резьбу изоляционного материала. В последнем случае ширину профиля зацепления винта выбирают вместо диаметра резьбы, если ширина профиля меньше номинального диаметра резьбы, но не 3 мм.
Данные, приведенные в графе II таблицы 4, относятся к прочим винтам, завинчиваемым с помощью отвертки.
Данные, приведенные в графе III таблицы 4, относятся к винтам и гайкам, при завинчивании которых не требуется использования отвертки.
Данные, приведенные в графе IV таблицы 4, относятся к прочим винтам, завинчиваемым с помощью четырехгранной отвертки.
В процессе испытания не должно быть дефектов, таких как поломка винта или повреждение шлица головки винта (приводящее к невозможности применения соответствующей отвертки), резьбы или корпуса, затрудняющих дальнейшее использование средств крепления.
Винты не следует ввинчивать резкими движениями.
12.10. Крепление коробок и аппаратов
Коробки, предназначенные для установки в них аппаратов, должны иметь средства крепления для выполнения соответствующих соединений согласно способу установки и средства крепления для аппаратов, обеспечивающих при нормальной эксплуатации отсутствие смещения коробок и/или аппаратов.
Проверку проводят внешним осмотром и испытанием, метод которых разрабатывается.
12.11. Коробки и корпусы, классифицируемые по
7.7.1
Коробки и корпусы, предназначенные для установки в полые стены и классифицируемые по
7.7.1, должны иметь соответствующие средства крепления для установки коробок или корпусов в полые стены.
Проверку проводят испытанием, описанным ниже.
Образец коробки или корпуса устанавливают в испытательной стене в соответствии с инструкциями изготовителя. Если изготовитель не указал конкретный тип стены, то используют лист клееной фанеры толщиной (10 +/- 1) мм, шириной 500 мм и высотой 500 мм.
a) Проверка растяжением и скручиванием
Рычаг прикрепляют средствами для крепления аппаратов или крышек к образцу (см. рисунок 18).
К рычагу прилагают силу F1 [см. рисунок 18 a)] таким образом, чтобы на коробку или корпус воздействовал крутящий момент 3 Н·м. Дополнительно прилагают силу F2 [см. рисунок 18 b)], равную 100 Н, к основной оси коробки, перпендикулярной к монтажной поверхности.
После испытаний на образце не должно быть повреждений, которые могут отрицательно повлиять на его дальнейшее применение, и смещения рычага более чем на 2°.
b) Проверка на смещение
К концу рычага в течение 1 мин прилагают силу F3 таким образом, чтобы на коробку воздействовал крутящий момент 3 Н·м [см. рисунок 18 c)].
После испытаний край коробки или корпуса не должен быть сдвинут более чем на 1 м по отношению к монтажной поверхности.
12.12. Коробки и корпусы, классифицируемые по
7.7.2
Коробки и корпусы, предназначенные для установки в полые стены и классифицируемые по
7.7.2, должны иметь соответствующие средства крепления для установки коробок или корпусов в полые стены.
Необходимо проверять заявленный минимальный внутренний объем коробок, корпусов и выпуклых крышек, классифицируемых по
7.7.2.
Проверку проводят испытанием по 12.12.4.
12.12.1. Коробки и корпусы, предназначенные для установки на деревянном элементе конструкции стены
Коробку или корпус устанавливают как при нормальной эксплуатации на деревянном элементе конструкции (45 x 90 мм) любой приемлемой длины таким образом, чтобы передняя поверхность коробки или корпуса находилась в вертикальном положении.
Соединение должно выдерживать силу 225 Н, прилагаемую постепенно от основания коробки или корпуса к центру в течение 5 мин.
После отсоединения нагрузки гвозди или винты, обеспечивающие крепление коробки или корпуса, не должны быть выдернуты. Смещение поверхности коробки или корпуса в вертикальной плоскости должно быть не более 3 мм.
12.12.2. Коробки или корпусы, предназначенные для установки на деревянном элементе конструкции потолка
Коробку или корпус устанавливают как при нормальной эксплуатации на деревянном элементе конструкции (35 x 180 мм) любой приемлемой длины таким образом, чтобы передняя поверхность коробки или корпуса находилась в горизонтальном положении лицевой стороной вниз.
Соединение должно выдерживать силу 225 Н, прилагаемую постепенно от основания коробки или корпуса к центру в течение 1 мин.
При присоединенной нагрузке отклонение поверхности коробки или корпуса должно быть не более 6 мм. Измерение выполняют от плоскости, параллельной горизонтальной поверхности элемента конструкции.
12.12.3. Коробки и корпусы, предназначенные для установки на металлической стойке стены
Коробку или корпус устанавливают как при нормальной эксплуатации на металлической стойке стены (см. рисунок 19).
Соединение должно выдерживать силу 180 Н, прилагаемую постепенно к центру передней поверхности коробки в течение 5 мин сначала в направлении вдавливания коробки в стену, а затем в направлении выдергивания коробки из стены.
При присоединенной нагрузке отклонение коробки должно быть не более 2 мм в любом направлении.
Примечание. Может потребоваться использовать дополнительную опору для коробки для уменьшения отклонения.
Направления приложения силы и выполнения измерений показаны на рисунке 19.
12.12.4. Внутренний объем коробок и корпусов, классифицируемых по
7.7.2
Необходимо проверять заявленный минимальный внутренний объем коробок, корпусов и выпуклых крышек, классифицируемых по
7.7.2.
Проверку проводят испытанием, описанным ниже.
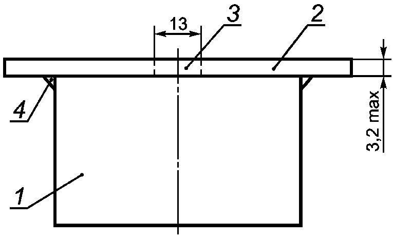
Внутренний объем коробок, корпусов и выпуклых крышек измеряют следующим образом:
a) полностью вывинчивают все внутренние винты, крепежные детали и т.д., кроме зажимов заземления и сборочных винтов;
b) любые выступающие части, такие как крышки или петли для скрытой установки, выходящие за край коробки или корпуса, выравнивают с краем коробки или корпуса;
c) все удаляемые перемычки устанавливают и герметизируют с внешней стороны;
d) все отверстия заделывают формовочной глиной, замазкой, воском или другим материалом (материалами) до выравнивания по отношению к внутренней поверхности;
e) коробки, корпусы и выпуклые крышки покрывают плоской пластиной любого приемлемого прозрачного материала толщиной не более 3,2 мм. В центре пластины должно быть предусмотрено отверстие номинальным диаметром 13 мм (рисунок 4). При необходимости зазор между коробкой, корпусом или выпуклой крышкой и пластиной герметизируют материалом, который используют для герметизации других отверстий;
f) коробку, корпус или выпуклую крышку заполняют водой комнатной температуры, не допуская переполнения, и помещают в любой приемлемый измерительный цилиндр или мерную колбу. Разница в объеме измерительного цилиндра до и после заполнения коробки, корпуса или выпуклой крышки водой и представляет собой внутренний объем.
12.13. Монтаж кабельного ввода
При использовании по назначению кабельные вводы не должны повреждать коробку или корпус.
Проверку проводят испытанием, описанным ниже.
В кабельный ввод устанавливают цилиндрический металлический стержень, имеющий диаметр, в миллиметрах, равный внутреннему диаметру прокладки, округленному до целого числа значения, указанного в первой графе таблицы 5. Кабельные вводы завинчивают и вывинчивают 10 раз с использованием соответствующего инструмента, прилагая крутящий момент, значения которого указаны в таблице 5 с допуском
, в течение 1 мин +/- 5 с.
Таблица 5
Испытательные значения крутящего момента
для кабельных вводов
Диаметр испытательного стержня, мм | Крутящий момент, Н·м |
Металлические вводы | Вводы из изоляционного материала |
До 14 включ. | 6,3 | 3,8 |
Св. 14 до 20 включ. | 7,5 | 5,0 |
Св. 20 | 10,0 | 7,5 |
После испытаний на образцах не должно быть повреждений, воспринимаемых как повреждения в соответствии с настоящим стандартом.
12.14. Коробки и корпусы с входными (выходными) отверстиями для труб или выпускными отверстиями (раструбами)
Коробки и корпусы, классифицируемые по 7.3.4, и конические выпускные отверстия, классифицируемые по 7.3.6, должны выдерживать испытания по 12.14.1, 12.14.2 и 12.14.3.
Испытания проводят на трубах минимального номинального размера по IEC 60423 [9] или IEC 60981 [10] после установки как при нормальной эксплуатации или монтажа в соответствии с инструкцией изготовителя.
12.14.1. Корпусы с входными отверстиями для труб, если таковые имеются, испытывают путем вдавливания трубы минимального размера с силой (100 +/- 2) Н в течение 1 мин. Входное отверстие должно препятствовать дальнейшему вводу трубы в коробку.
12.14.2. Испытание выдергиванием проводят после выполнения испытания по 12.14.1 следующим образом.
Отрезок трубы минимального допустимого для данного входного отверстия размера вставляют в отверстие и прилагают осевую силу (20 +/- 2) Н в течение 1 мин. Не допускается ослабления крепления трубы во входном отверстии корпуса.
12.14.3. Сопротивление изгибающей силе входного отверстия проверяют следующим образом. Отрезок трубы вставляют во входное отверстие с приложением изгибающей силы (100 +/- 2) Н и изгибающего момента 3 Н·м. Значение изгибающей силы медленно увеличивают от нуля до полного значения. Испытания проводят, смещая усилие на (60 +/- 2) °C относительно оси входного отверстия в шести различных направлениях. Силу прилагают в течение 1 мин в каждом положении. Не допускается повреждения или ослабления крепления трубы во входном отверстии корпуса. Труба должна остаться во входном отверстии корпуса.
Примечание. Ограничитель может быть выполнен в виде ребра на внутренней поверхности ввода.
13. Устойчивость к старению, воздействию влаги
и проникновению твердых частиц
13.1. Устойчивость к старению
13.1.1. Коробки и корпусы, уплотнения, уплотнительные кольца и защитные мембраны из изоляционных и композитных материалов должны быть устойчивы к старению.
Проверку проводят следующим образом.
Коробки и корпусы из изоляционных и композитных материалов с кабельными вводами и уплотнительными кольцами устанавливают как для нормального применения или в соответствии с инструкцией изготовителя.
Коробки и корпусы из изоляционных и композитных материалов без кабельных вводов и уплотнительных колец испытывают в соответствии с инструкцией изготовителя.
Элементы корпуса, выполняющие только декоративную функцию, демонтируемые без применения инструмента, перед проведением испытаний снимают.
Приблизительно в половину кабельных вводов и уплотнительных колец, предусмотренных на коробках и корпусах, устанавливают уплотнения и цилиндрические металлические стержни, имеющие диаметр, равный наименьшему предельному значению среднего наружного диаметра наименьшего кабеля, указанного изготовителем. В оставшуюся половину кабельных вводов и уплотнительных колец, предусмотренных на данных коробках и корпусах, устанавливают уплотнения и цилиндрические металлические стержни, имеющие диаметр, равный наибольшему предельному значению среднего наружного диаметра наибольшего кабеля, указанного изготовителем. При наличии в корпусе более шести кабельных вводов и уплотнительных колец испытания проводят, поместив в три кабельных ввода или уплотнительные кольца кабели наименьшего размера и в другие три кабельных ввода или уплотнительные кольца - кабели наибольшего размера.
Необходимо обеспечивать неподвижность стержня при закреплении его в уплотнительном кольце. Средства, используемые для неподвижного закрепления стержня, не должны оказывать влияния на результаты испытаний.
Кабельные вводы затягивают приложением крутящего момента, значение которого должно быть равным 2/3 значения, используемого при проведении испытаний по 12.13 (таблица 5), при этом другие отверстия должны быть закрыты. Допускается использовать большие значения крутящего момента, если они указаны изготовителем.
Образцы помещают в термокамеру, состав и давление воздуха в которой соответствуют параметрам окружающей среды.
Температура в термокамере должна быть (70 +/- 2) °C.
Образцы выдерживают в термокамере в течение
.
После завершения цикла образцы извлекают из термокамеры и выдерживают при комнатной температуре
.
После испытаний образцы не должны быть деформированы или иметь повреждения, приводящие к несоответствию настоящему стандарту.
13.1.2. Уплотнительные кольца (с входными мембранами) и защитные мембраны, предусмотренные во входных отверстиях, должны быть надежно закреплены так, чтобы они не смещались от механических и тепловых нагрузок, воздействующих при нормальной эксплуатации.
Проверку проводят следующим образом. Испытания выполняют на всех уплотнительных кольцах, сменных и несменных мембранах.
Испытания уплотнительных колец и защитных мембран проводят после их установки в корпусы.
Сначала корпусы с установленными в них уплотнительными кольцами подвергают обработке, предусмотренной
13.1.1. Затем корпусы помещают в термокамеру в соответствии с
13.1.1 и выдерживают в течение 2 ч +/- 15 мин при температуре (40 +/- 2) °C.
Сразу по окончании этого периода к различным частям уплотнительных колец и/или защитных мембран прилагают в течение (5 +/- 1) с силу

, используя щуп 11 по IEC 61032
[6].
В процессе испытаний не должно быть такой деформации уплотнительных колец и/или мембран, которая могла бы привести к нарушению недоступности токоведущих частей аппаратов.
К уплотнительным кольцам и/или мембранам, на которые при нормальной эксплуатации воздействуют осевые растягивающие силы, в процессе испытаний прилагают осевую растягивающую силу
в течение (5 +/- 1) с.
Затем испытания повторяют на корпусах с уплотнительными кольцами и/или мембранами, не подвергнутыми предварительной обработке.
После испытаний уплотнительные кольца и/или мембраны не должны иметь деформаций, трещин или других подобных дефектов, приводящих к несоответствию настоящему стандарту.
13.1.3. Конструкция и материал уплотнительных колец и входных мембран, предусмотренных во вводных отверстиях коробок и корпусов, классифицируемых по 7.5.2 и 7.5.3, должны обеспечивать введение кабелей при низкой температуре окружающей среды.
Проверку проводят испытанием, описанным ниже.
Уплотнительные кольца и входные мембраны, не подвергнутые обработке старением, устанавливают в корпус. Корпус выдерживают в течение 2 ч в холодильнике при температуре:
- минус (15 +/- 2) °C - для коробок и корпусов, классифицируемых по 7.5.2, или
- минус (25 +/- 2) °C - для коробок и корпусов, классифицируемых по 7.5.3.
Сразу после этого испытания, пока корпус находится в холодильнике в охлажденном состоянии, должно быть возможным пробивание непробитых отверстий уплотнительных колец или входных мембран и введение кабелей максимального диаметра, выдержанных в тех же условиях, что коробки и корпусы.
После испытаний уплотнительные кольца и входные мембраны не должны иметь деформаций, трещин или других подобных дефектов, приводящих к несоответствию настоящему стандарту.
13.2. Устойчивость к проникновению твердых частиц
Корпусы должны обеспечивать необходимую степень защиты от проникновения твердых частиц в соответствии с указанной степенью защиты IP.
Проверку проводят соответствующим испытанием по ГОСТ 14254 при следующих условиях испытаний.
Корпусы монтируют как при нормальной эксплуатации в соответствии с инструкцией изготовителя. Если не указано иное, то корпусы с дренажными отверстиями монтируют таким образом, чтобы как минимум одно дренажное отверстие находилось в крайнем нижнем положении.
К корпусам с винтовыми сальниками или уплотнительными кольцами подсоединяют кабели наибольшего и наименьшего поперечного сечения и/или трубы минимального и максимального диаметра/размера в соответствии с инструкцией изготовителя.
Крепежные винты на крышках или покрывающих пластинах затягивают крутящим моментом, значение которого должно быть равно 2/3 значений, указанных в таблице 4, при проведении испытаний по 12.9.
Другие средства крепления, если таковые имеются, затягивают как при нормальной эксплуатации в соответствии с инструкцией изготовителя.
Допускается использовать больший крутящий момент, если он указан изготовителем.
Вводы кабелей и/или труб должны быть выполнены в соответствии с инструкцией изготовителя.
Части, демонтируемые без применения инструмента, должны быть сняты.
Испытания корпусов со степенью защиты IP5X проводят в соответствии с требованиями к категории 2 ГОСТ 14254. При этом дренажные отверстия должны быть закрыты.
При испытаниях корпусов со степенью защиты до IP4X включительно щуп не должен проходить ни в одно из отверстий корпуса, кроме дренажных отверстий, в которых он не должен касаться токоведущих частей.
При испытаниях корпусов со степенью защиты до IP5X пыль не должна покрывать всю внутреннюю поверхность.
При испытаниях корпусов со степенью защиты до IP6X пыль не должна проникать внутрь коробки или корпуса.
13.3. Устойчивость к проникновению влаги
13.3.1. Корпусы с IP выше X0 должны обеспечивать необходимую степень защиты от вредного проникновения влаги в соответствии со степенью защиты IP.
Проверку проводят соответствующим испытанием по ГОСТ 14254 при следующих условиях испытаний.
Корпусы открытой, скрытой и полускрытой установок с площадью S <= 0,04 м2 и периметром <= 0,8 м испытывают по 13.3.2 и 13.3.3.
Корпусы открытой, скрытой и полускрытой установок с площадью S > 0,04 м2 и периметром > 0,8 м испытывают по 13.3.2 и 13.3.4.
Размер контрольной площади поверхности S для испытаний определяют следующим образом:
- для квадратных и прямоугольных коробок и корпусов - наименьшую внутреннюю ширину (I) умножают на глубину (h) [рисунок 6 a)];
- для круглых коробок и корпусов - внутреннюю глубину (h) коробки или корпуса умножают на наименьший диаметр (d) и делят на 4 [рисунок 6 b)].
К корпусам с винтовыми сальниками или уплотнительными кольцами подсоединяют кабели наибольшего и наименьшего поперечного сечения и/или трубы минимального и максимального диаметра/размера в соответствии с инструкцией изготовителя.
Крепежные винты на крышках или покрывающих пластинах затягивают крутящим моментом, значение которого должно быть равным 2/3 значений, указанных в таблице 4, при проведении испытаний по 12.9.
13.3.2.
Корпусы для открытой установки монтируют как при нормальной эксплуатации в соответствии с инструкцией изготовителя. При этом дренажные отверстия должны находиться в крайнем нижнем положении, если не указано иное.
Корпусы для скрытой и полускрытой установок монтируют на испытательной стенке в соответствии с инструкцией изготовителя.
В этом случае в инструкции изготовителя должны быть указаны тип стенки и способ монтажа. Информация должна быть приведена в достаточном объеме для обеспечения воспроизводимости испытаний.
Если в инструкции изготовителя не указан тип стенки, то используют стенку согласно рисунку 5.
Испытательная стенка, показанная на рисунке 5, выполнена из кирпичей с гладкой поверхностью. Коробку плотно монтируют на испытательной стенке во избежание попадания между ними воды.
Примечание 1. При использовании герметизирующего материала для крепления коробки к стенке герметизирующий компаунд не должен влиять на герметизирующие свойства испытуемого образца.
Примечание 2. На
рисунке 5 приведен пример установки края корпуса на контрольной поверхности. Если предусмотрено инструкцией изготовителя, то допускается также монтаж в других положениях.
Испытательную стенку устанавливают в вертикальном положении.
Корпусы монтируют как для нормальной эксплуатации и подключают к ним кабели с проводниками наибольшего и наименьшего поперечного сечения, указанного изготовителем.
Примечание 3. При испытаниях корпусов со степенями защиты IPX3 и IPX4 согласно
рисунку 4 ГОСТ 14254 применяют генераторную лампу, кроме случаев, когда размеры корпуса предполагают использование распределительного сопла.
При испытаниях корпусов со степенью защиты выше IPX4 дренажные отверстия при наличии должны быть закрыты.
Необходимо следить за тем, чтобы при испытаниях не происходило ударов или толчков корпуса, которые могут отрицательно отразиться на результатах испытаний.
13.3.3.
Непосредственно после испытаний необходимо убедиться, что количество воды в корпусе составляет не более 0,2 мл x S (см2).
Примечание 4. При испытаниях корпусов со степенью защиты выше IPX4 может потребоваться открыть дренажные отверстия для проверки.
Примечание 5. При отсутствии дренажных отверстий необходимо учитывать любое скопление влаги, например конденсат.
В течение 5 мин после завершения испытаний по данному пункту образцы должны быть испытаны на электрическую прочность по 14.2.
13.3.4. Наличие воды проверяют сухой промокательной бумагой в нижней части защищенного объема корпуса.
Если изготовитель не указал иное, то защищенный объем должен включать в себя объем, закрываемый проекцией крышки, уменьшенный на 5% с каждой стороны для большего защищенного объема.
К основанию покрывающих пластин или крышек корпусов, предназначенных для установки в них аппаратов, прикрепляют полоску бумаги, которую сгибают под углом 90°. Бумага должна свисать с поверхности крышки не более чем на 20 мм.
Непосредственно после завершения испытаний индикаторная бумага должна остаться сухой.
Примечание 6. На практике применяют цветную промокательную или фильтровальную бумагу, которая обесцвечивается при попадании на нее влаги.
14. Испытания на сопротивление и электрическую
прочность изоляции
14.1. Коробки и корпусы, классифицируемые по
7.1.1 и
7.1.3, должны выдерживать соответствующие испытания на сопротивление и электрическую прочность изоляции.
Проверку проводят испытаниями по 14.2 и 14.3 после испытаний на воздействие влаги, которые выполняют следующим образом.
Образцы выдерживают в камере влажности (далее - камера) при относительной влажности от 91% до 95%.
Температуру воздуха в камере устанавливают с отклонением +/- 1 °C от любого значения t в диапазоне от 20 °C до 30 °C.
Перед помещением в камеру температуру образца доводят до температуры в диапазоне от t до (t + 4) °C.
Образцы выдерживают в камере в течение:
- 2 сут
- для корпусов со степенью защиты IPX0;
- 7 сут
- для корпусов с другой степенью защиты.
Примечание 1. В большинстве случаев температуру образцов можно довести до необходимой температуры, выдерживая их при этой температуре не менее 4 ч до испытаний на воздействие влаги. Относительная влажность воздуха от 91% до 95% в процессе испытаний может быть достигнута введением в камеру насыщенного водного раствора сульфата натрия

или нитрата калия

и обеспечением контакта достаточно большой площади этого раствора с воздухом.
Примечание 2. Для создания указанных условий в испытательной камере необходимо поддерживать постоянную циркуляцию воздуха, что, как правило, достигается использованием камеры с термоизоляцией.
После испытаний образцы не должны иметь дефектов, делающих невозможным их дальнейшее применение, и должны выдерживать следующие испытания.
14.2. Если электрическое сопротивление изоляции между токоведущими частями и основными частями корпуса обеспечивается твердым материалом, то сопротивление изоляции между основными частями корпуса и металлической фольгой, приложенной к внутренней поверхности корпуса, измеряют через 1 мин после приложения напряжения около 500 В постоянного тока.
Примечание. Под "основными частями корпуса" в данном контексте подразумеваются все доступные металлические части, металлическая фольга, приложенная к внешней поверхности наружных частей изоляционного материала, крепежные винты основных частей или крышек и внешние сборочные винты.
При применении металлической фольги для испытаний на сопротивление и электрическую прочность изоляции к внутренним поверхностям корпуса прикладывают одну металлическую фольгу, к наружным поверхностям корпуса - другую металлическую фольгу размерами не более 200 x 100 мм и при необходимости перемещают ее таким образом, чтобы проверить все части.
При испытаниях необходимо следить за тем, чтобы между внутренней и внешней поверхностями металлической фольги не происходило пробоя в районе отверстий, удаляемых перемычек, мембран и т.п.
Сопротивление изоляции должно быть не менее 5 МОм.
14.3. Электрическую прочность изоляции испытывают приложением напряжения практически синусоидальной формы, значения которого должны быть равными значениям, указанным в таблице 6, с номинальной частотой 50 Гц или 60 Гц в течение 1 мин между наружными и внутренними частями (коробки или корпуса) (см.
14.2).
Таблица 6
Испытательное напряжение при испытании
электрической прочности
Номинальное напряжение изоляции, В | Испытательное напряжение, В |
<= 130 | 1250 |
> 130 и <= 250 | 2000 |
> 250 и <= 450 | 2500 |
> 450 и <= 750 | 3000 |
> 750 | 3500 |
Значения испытательного напряжения выбирают по таблице 6 в зависимости от номинального напряжения изоляции, указанного изготовителем.
При испытании оболочек изоляции с классом защиты II соответствующее значение испытательного напряжения, указанное в таблице 6, увеличивают в 1,5 раза.
Сначала подают напряжение, значение которого не превышает половины указанного значения, а затем его быстро повышают до полного значения. В результате испытания не должно происходить поверхностного пробоя или пробоя изоляции.
Трансформатор высокого напряжения, используемый при испытаниях, должен обеспечивать выходной ток не менее 200 мА при короткозамкнутых выходных контактных зажимах и выходном испытательном напряжении заданного значения. Реле максимального тока не должно срабатывать при выходном токе менее 100 мА.
Примечание 1. Погрешность измерения среднего квадратичного значения испытательного напряжения не должна превышать +/- 3%.
Примечание 2. Электрические разряды, не вызывающие падения напряжения, не учитывают.
При испытаниях по 14.2 к внутренним поверхностям (коробки или корпуса)
прикладывают металлическую фольгу, к наружным поверхностям (коробки или корпуса) -
другую металлическую фольгу и при необходимости перемещают ее таким образом, чтобы проверить все части (коробки или корпуса).
15. Механическая прочность
Коробки и корпусы должны иметь соответствующую механическую прочность, чтобы выдерживать механические нагрузки, возникающие при монтаже и нормальной эксплуатации.
Проверку проводят соответствующими испытаниями по 15.1 - 15.3:
- неметаллические коробки и корпусы, замоноличиваемые в бетон и классифицируемые по 7.2.3.1, испытывают по 15.1;
- неметаллические коробки и корпусы, замоноличиваемые в бетон и выдерживающие максимальную температуру плюс 90 °C при установке, классифицируемые по 7.2.3.1 и 7.6.2, испытывают по 15.2;
- коробки и корпусы, классифицируемые по 7.2.3.2, и части коробок и корпусов, доступные после установки, испытывают по 15.3.
В случае, если корпус имеет слишком большие габаритные размеры, препятствующие его монтажу на испытательных установках, показанных на рисунке D.3 IEC 60068-2-75 [11], или если нецелесообразно использовать маятниковый копер для испытаний при низких температурах, испытания проводят в условиях, описанных в 15.1 или 15.3, соответственно, но с использованием пружинного ударного устройства по IEC 60068-2-75 [11], тарированного на энергию удара, значение которого соответствует значениям, приведенным в 15.1 или 15.3.
15.1. Испытание механической прочности на удар при низкой температуре
Неметаллические коробки и корпусы, замоноличиваемые в бетон и классифицируемые по
7.2.3.1, должны выдерживать механические нагрузки в процессе бетонирования.
Проверку проводят следующими испытаниями.
Коробки и корпусы испытывают на механическую прочность при ударе с помощью вертикальной ударной установки (рисунок 8), установленной на прокладке из губчатой резины плотностью 538 кг/м3 и толщиной 40 мм; резиновую прокладку помещают в рамку, препятствующую изменению размеров прокладки при ударе.
Испытательную установку вместе с образцом помещают в холодильную камеру и выдерживают в течение 2 ч +/- 15 мин при температуре:
- минус (5 +/- 2) °C - для корпусов по 7.5.1;
- минус (15 +/- 2) °C - для корпусов по 7.5.2;
- минус (25 +/- 2) °C - для корпусов по 7.5.3.
После этого каждый образец испытывают на удар с помощью груза массой 1 кг, падающего с высоты 100 мм.
Один удар наносят по задней стенке коробки или корпуса, а четыре - равномерно распределяют по боковым стенкам.
После испытаний образцы не должны иметь повреждений, приводящих к их несоответствию настоящему стандарту.
Примечание. Не учитывают повреждения отделочного покрытия, небольшие вмятины и щербины, которые не влияют отрицательно на меры защиты от поражения электрическим током или проникновения воды.
Не учитывают трещины на материале, невидимые невооруженным глазом (без применения увеличительного стекла), поверхностные трещины деталей из волокнистых материалов и небольшие забоины.
15.2. Испытание на сжатие
15.2.1. Коробки и корпусы, классифицируемые по
7.6.2, устанавливаемые в нагреваемую форму или нагреваемый бетон, должны выдерживать механические нагрузки в процессе бетонирования.
Проверку следует проводить с помощью следующих испытаний.
Коробки и корпусы выдерживают в течение
при температуре (90 +/- 5) °C, после чего охлаждают до температуры окружающей среды.
После испытаний коробки и корпусы не должны быть деформированы или не должны иметь повреждений, затрудняющих их дальнейшее использование.
Затем коробки и корпусы помещают между двумя пластинами из твердой древесины, обладающими достаточной площадью для того, чтобы закрыть лицевую и заднюю поверхности коробки или корпуса. Пластины сжимают с силой (500 +/- 5) Н в течение 1 мин +/- 5 с, не нанося при этом ударов. Необходимо иметь в виду, что давление, передаваемое пластинами, должно быть распределено от лицевой поверхности коробки или корпуса к задней поверхности.
После испытаний коробки и корпусы не должны быть деформированы или не должны иметь повреждений, приводящих к несоответствию настоящему стандарту или затрудняющих их дальнейшее использование.
При проведении испытаний указанных двух видов коробки и корпусы оснащают согласно инструкции изготовителя специальными деталями (если они предусмотрены), которые устанавливают для улучшения механических свойств коробок или корпусов в процессе бетонирования.
Специальные детали для испытаний поставляют вместе с коробками и корпусами.
15.2.2. Испытания коробок и корпусов на сжатие, классифицируемых по 7.7.2, находятся в стадии разработки.
15.3. Испытания коробок и корпусов на удар
Образцы коробок и корпусов испытывают на удар с помощью испытательной установки, описанной в приложении D IEC 60068-2-75 [11].
Примечание. Установка, предназначенная для испытаний на удар, описанная в приложении D IEC 60068-2-75
[11], представляет собой маятниковый копер.
Испытания проводят на следующих коробках и корпусах:
- коробках и корпусах, классифицируемых по 7.2.2, и частях коробок и корпусов для скрытой и полускрытой установок, которые будут доступны после установки;
- частях коробок и корпусов, классифицируемых по 7.2.3, которые будут доступны после установки;
- коробках и корпусах, классифицируемых по 7.5.2 и 7.5.3, имеющих минимальную температуру при установке.
При испытаниях образцы, классифицируемые по 7.2.3.2, предназначенные для скрытой установки при нормальной эксплуатации, устанавливают лицевой поверхностью к стенке так, чтобы для нанесения ударов (рисунок 9) была доступна задняя поверхность образца (рисунок 7).
Испытуемые образцы устанавливают на квадратном листе фанеры со стороной длиной 175 мм и толщиной 8 мм, верхний и нижний края которого крепят жесткими кронштейнами. Входные/выходные отверстия, не имеющие удаляемых перемычек, оставляют открытыми. Если отверстия имеют перемычки, то одно из них открывают.
Образцы для открытой установки при нормальной эксплуатации монтируют в соответствии с инструкцией изготовителя (рисунок 7).
Конструкция основания установки (рисунок 7) должна обеспечивать перемещение образца в горизонтальной плоскости и вращение его вокруг оси перпендикулярно к поверхности фанеры.
Конструкция основания установки должна:
- иметь массу (10 +/- 1) кг и быть смонтирована на жесткой раме;
- обеспечивать такое размещение испытуемого образца, при котором точка удара должна быть расположена в вертикальной плоскости, проходящей через ось шарнира;
- обеспечивать поворот фанеры вокруг вертикальной оси.
Энергия удара, наносимого на все части образца, и число ударов определяются расстоянием от доступной части образца, которая более всего возвышается над монтажной поверхностью из фанеры, когда образцы установлены так, как описано выше. Расстояния A, B, C, D, E, F и G определяют в соответствии с таблицей 7.
Таблица 7
Определение частей A, B, C, D, E, F и G
Испытуемые части | Расстояние над монтажной поверхностью из фанеры, мм | Части |
Лицевые и задние поверхности коробок или корпусов, классифицируемых по 7.2.3.2 | Не применяется | A |
Доступные части коробок или корпусов, предназначенных для открытой установки при нормальной эксплуатации, кроме лицевых и задних поверхностей коробок или корпусов, классифицируемых по 7.2.3.2 | 5 <= d < 15 | B |
15 <= d < 25 | C |
25 <= d < 50 | D |
50 <= d < 100 | E |
100 <= d < 200 | F |
200 <= d | G |
Боек должен падать с высоты, указанной в таблице 8.
Таблица 8
Высота падения бойка при испытании на удар
Высота падения бойка, мм | Части корпусов, подвергаемые удару |
100 | A |
150 | B |
200 | C |
250 | D |
300 | E |
400 | F |
500 | G |
Примечание. Погрешность значения высоты падения не должна превышать +/- 1%. |
Высота падения бойка - расстояние по вертикали между положением контрольной точки в момент освобождения маятника и положением этой точки в момент удара. Контрольную точку отмечают на поверхности бойка в том месте, где линия, проходящая через точку пересечения оси стальной трубки маятника и оси бойка, перпендикулярна к плоскости, проходящей через обе оси, и пересекает поверхность бойка.
Примечание. Теоретически центр тяжести бойка должен находиться в контрольной точке. Так как практически центр тяжести определить трудно, то его считают совпадающим с контрольной точкой.
Образцы подвергают ударам, которые равномерно распределяют по поверхности испытуемого образца. Порядок испытаний на воздействие ударных нагрузок следующий:
- по частям A наносят пять ударов:
- один удар - в центре после горизонтального смещения образца;
- по одному удару - в каждой из двух наиболее неблагоприятных точек между центром и краями;
- после поворота образца на 90° +/- 2° вокруг оси, перпендикулярной к листу фанеры, - по одному удару по каждой подобной точке;
- по частям B (настолько, насколько это приемлемо), C, D, E, F и G наносят по четыре удара (рисунок 10):
- один удар - по одной стороне образца после поворота листа фанеры на 60° +/- 2° вокруг вертикальной оси;
- один удар - по противоположной стороне образца после поворота листа фанеры на 60° +/- 2° вокруг вертикальной оси в противоположном направлении;
затем после поворота образца на 90 +/- 2° вокруг оси, перпендикулярной к листу фанеры, сохраняя положение листа фанеры неизменным:
- один удар - по одной из сторон образца после поворота фанеры на 60° +/- 2° вокруг вертикальной оси;
- один удар - по противоположной стороне образца после поворота листа фанеры на 60° +/- 2° вокруг вертикальной оси в противоположном направлении.
Удары не наносят ближе чем в 10 мм от удаляемых перемычек.
Удары не наносят по следующим частям:
- удаляемым перемычкам или в пределах 10 мм от них;
- другим частям, не влияющим на обеспечение указанной степени защиты IP;
- аппаратам и оборудованию, отвечающим требованиям соответствующих стандартов;
- средствам крепления, расположенным ниже уровня поверхности, которые не подвержены ударам при нормальной эксплуатации.
Если имеются входные отверстия, то образец размещают таким образом, чтобы две линии нанесения ударов находились на равных расстояниях от отверстий и как можно ближе к ним.
После испытаний образцы не должны иметь повреждений, приводящих к их несоответствию настоящему стандарту.
Не учитывают трещины на материале, невидимые невооруженным глазом без применения увеличительного стекла, поверхностные трещины деталей из волокнистых материалов и небольшие забоины.
| | Применение на добровольной основе раздела 16 обеспечивает соблюдение требований Федерального закона от 22.07.2008 N 123-ФЗ "Технический регламент о требованиях пожарной безопасности" (Приказ Росстандарта от 16.04.2014 N 474). | |
16.1. Части из изоляционного материала, служащие для крепления токоведущих частей
Части из изоляционного материала, служащие для крепления в определенном положении токоведущих частей и/или деталей цепи заземления, испытывают шариком с помощью устройства, описанного в IEC 60695-10-2 [12], кроме изолирующих частей, на которых закрепляют зажимы заземления и которые испытывают в соответствии с 16.2.
Если невозможно провести испытание на образце корпуса, то испытание проводят на образце материала толщиной не менее 2 мм.
Испытуемый образец размещают на стальной пластине толщиной не менее 3 мм в непосредственном контакте с ней.
Образец устанавливают таким образом, чтобы его поверхность была расположена горизонтально, и стальной шарик диаметром 5 мм вдавливают в поверхность с силой (20 +/- 0,5) Н.
Испытание проводят в термокамере при температуре (125 +/- 2) °C. Через
шарик убирают, а образец погружают в холодную воду и охлаждают в течение 10 с приблизительно до комнатной температуры.
Диаметр отпечатка не должен превышать 2 мм.
16.2. Части из изоляционного материала, не предназначенные для крепления токоведущих частей
Части из изоляционного материала, не предназначенные для крепления токоведущих частей и деталей цепи заземления, но находящиеся с ними в контакте, испытывают с помощью шарика в соответствии с 16.1, но при температуре (70 +/- 2) °C.
Для корпусов и коробок скрытой установки, классифицируемых по 7.6.2, части из изоляционного материала испытывают в соответствии с 16.1, но при температуре (90 +/- 2) °C.
Если невозможно провести испытание на образце корпуса в сборе, то от него отрезают необходимую часть и испытание проводят на этой части.
16.3. Коробки и корпусы из изоляционных материалов, классифицируемые по
7.7.2
Коробки и корпусы из изоляционных материалов, классифицируемые по 7.7.2, должны обеспечивать механическую прочность при высоких температурах.
Проверку проводят следующим испытанием.
Испытание проводят на образцах коробок или корпусов каждого типа и размера, имеющих не менее двух резьбовых или нерезьбовых отверстий.
Жесткую вставку (см. рисунок 20) закрепляют на поверхности каждого образца коробки или корпуса с помощью винтов таких типов и размеров, которые предоставляются изготовителем коробки или (корпуса) проводки. Винты закрепляют в резьбовых или нерезьбовых отверстиях, расположенных на лицевой поверхности коробки или корпуса, прилагают крутящий момент, значение которого выбирают из соответствующей графы таблицы 4.
К поверхности коробки или корпуса прилагают суммарную силу 180 Н, включая силу, оказываемую вставкой и другими связанными подвесными устройствами.
Коробки и корпусы, установленные открытой поверхностью вниз, выдерживают в воздухоциркуляционной печи в течение 24 ч при температуре:
- (80 +/- 2) °C - для коробок и корпусов, классифицируемых по 7.7.2.1;
- (105 +/- 2) °C - для коробок и корпусов, классифицируемых по 7.7.2.2.
Лицевую сторону коробки должна поддерживать плоская пластина, не препятствующая воздействию испытательной нагрузки поддерживающего кронштейна.
После обработки старением конструкцию охлаждают до температуры окружающей среды при отключенном питании и открытой двери.
Винты, удерживающие вставку, не должны быть выдернутыми более чем на 6,3 мм. Винты должны выкручиваться с приложением крутящего момента не более 2,3 Н·м.
17. Пути утечки, электрические зазоры и расстояния
через герметизирующий компаунд
| | Применение на добровольной основе разделов 18 и 19 обеспечивает соблюдение требований Федерального закона от 22.07.2008 N 123-ФЗ "Технический регламент о требованиях пожарной безопасности" (Приказ Росстандарта от 16.04.2014 N 474). | |
18. Тепло- и огнестойкость изоляционных материалов
Части из изоляционных материалов, которые могут испытывать термические нагрузки под воздействием электрического тока и повреждение которых может привести к снижению безопасности, не должны быть подвергнуты чрезмерному нагреву и воздействию огня.
Испытание проводят раскаленной проволокой в соответствии с разделами 4 - 10 ГОСТ 27483 при следующих условиях:
- при температуре 850 °C:
- частей из изоляционного материала, предназначенных для крепления токоведущих частей, и/или деталей цепи заземления (кроме изолирующих частей, на которых закрепляют зажимы заземления);
- частей из изоляционного материала, классифицируемых по 7.7;
- при температуре 650 °C:
- частей из изоляционного материала, не предназначенных для крепления токоведущих частей (даже при их соприкосновении);
- частей из изоляционного материала, на которых закрепляют зажимы заземления.
Если указанное испытание должно быть проведено в нескольких местах одного и того же образца, то необходимо принять меры для того, чтобы любые повреждения, вызванные испытанием в одном месте образца, не влияли на результаты испытания в других местах.
Мелкие детали, каждая из поверхностей которых полностью помещается в круг диаметром 15 мм, или если одна из поверхностей которых выходит за пределы кольца диаметром 15 мм, или если в любую из поверхностей невозможно поместить круг диаметром 8 мм, указанному испытанию не подвергают (схематическое изображение показано на рисунке 21).
Примечание. При проверке поверхности отверстия размером менее 2 мм на поверхности не учитывают.
Детали из керамики не подлежат испытаниям.
Цель испытания заключается в проверке того, что испытательная проволока, нагретая с помощью электрического тока, при заданных условиях не вызовет воспламенения частей из изоляционного материала или в случае воспламенения они будут гореть не более определенного времени, а огонь не перейдет в постоянное пламя и не произойдет выпадания из испытуемого образца горящих частей или капель на сосновую доску, покрытую тонкой бумагой.
По возможности в качестве испытуемого образца следует использовать коробку или корпус в сборе.
Если это невозможно, то испытания проводят на части коробки или корпуса.
Испытания проводят на одном образце.
В случае сомнения испытания проводят еще на двух образцах.
Раскаленную проволоку следует прикладывать в течение (30 +/- 1) с только один раз.
Образец во время испытания устанавливают в наиболее неблагоприятном положении (испытуемая поверхность должна находиться в вертикальном положении).
Конец раскаленной проволоки прикладывают к поверхности испытуемого образца, учитывая при этом условия его предполагаемого использования, при которых нагретый или раскаленный элемент может касаться образца.
Образец считают выдержавшим испытание, если:
- отсутствует видимое пламя или тление;
- пламя и тление угасают через 30 с после удаления раскаленной проволоки.
Не должно быть возгорания тонкой бумаги или подпаленных мест на доске.
Для коробок и корпусов с IP выше X0 изоляционный материал, применяемый для изготовления деталей, на которых крепят токоведущие части, должен быть устойчивым к токам поверхностного разряда.
Испытания материалов, кроме деталей из керамики, при значении путей утечки более чем в два раза меньше значений, указанных в разделе 17, проводят в соответствии с ГОСТ 27473 на трех образцах.
Плоскую поверхность испытуемой детали, желательно размерами не менее 15 x 15 мм и толщиной не менее 3 мм, располагают горизонтально.
Испытания материалов выполняют по ГОСТ 27473 с помощью метода A при индексе трекингостойкости 175. Промежуток времени между каплями составляет (30 +/- 5) с.
Прежде чем будет нанесено 50 капель, не должно происходить перекрытия или пробоя в результате образования токопроводящих мостиков между электродами.
В качестве альтернативы может быть использован сравнительный индекс трекингостойкости материала. Значение сравнительного индекса трекингостойкости должно быть не менее 175.
20. Коррозионная стойкость
Металлические части коробок и корпусов должны быть соответствующим образом защищены от коррозии.
Проверку проводят следующим испытанием.
Испытуемые элементы корпусов обезжиривают, погружая на (10 +/- 1) мин в раствор обезжиривающего вещества.
Затем их погружают на (10 +/- 1) мин в 10%-ный водный раствор хлорида аммония при температуре (20 +/- 5) °C.
Стряхнув капли, испытуемые элементы без просушки помещают на (10 +/- 1) мин в камеру, заполненную насыщенным влажным до 91% - 95% воздухом при температуре (20 +/- 5) °C.
После того как испытуемые элементы будут просушены в термокамере при температуре (100 +/- 5) °C в течение (10 +/- 1) мин, на их поверхности не должно быть следов коррозии.
Примечание. Следы коррозии и желтоватую пленку на острых кромках, удаляемую протиркой, не учитывают.
21. Электромагнитная совместимость
Изделия, на которые распространяется настоящий стандарт, при нормальной эксплуатации не подвержены электромагнитным воздействиям (излучению или поглощению).
Поэтому никакие испытания на электромагнитную совместимость не проводят.
1 - коробка; 2 - входная мембрана; 3 - оболочка;
4 - защитная мембрана; 5 - уплотнительное кольцо
Рисунок 1. Пример мембран и уплотнительных колец
1 - металлическая скоба заземления; 2 - зажим заземления;
3 - коробка из пластмассы; 4 - аппарат; 5 - металлическая
крышка; 6 - металлическая монтажная скоба аппарата;
7 - зажим заземления аппарата; 8 - навесная перемычка
Рисунок 2. Металлическая скоба заземления (см.
11.2)
Рисунок 3. Испытательная жила (см.
11.2)
1 - коробка; 2 - крышка; 3 - отверстие для заполнения
водой; 4 - уплотнение, если требуется
| | ИС МЕГАНОРМ: примечание. В официальном тексте документа, видимо, допущена опечатка: пункт 12.12.5 отсутствует. Возможно, имеется в виду пункт 12.12.4. | |
Рисунок 4. Определение объема (см.
12.12.5)
Все швы с заполнением строительным раствором должны быть толщиной 10 мм, если не указано иное.
1 - коробка; 2 - кирпич; 3 - строительный раствор;
4 - контрольная поверхность
Рисунок 5. Испытательная стенка (см.
13.3)
--------------------------------
<*> Для четырехугольной коробки, установленной горизонтально, поверхностью S считают наименьшую поверхность.
h - глубина; l - внутренняя ширина
a) Контрольная поверхность квадратных коробок и корпусов
h - внутренняя глубина; d - наименьший диаметр
b) Контрольная поверхность круглых коробок и корпусов
Рисунок 6. Контрольные поверхности коробок и корпусов
1 - коробка; 2 - монтажная поверхность
Рисунок 7. Монтаж оборудования для скрытой установки
для нанесения ударов по задней поверхности (см.
15.3)
1 - падающий груз (100 +/- 1) г; 2 - промежуточная деталь
из стали массой 100 г; 3 - немного закругленные края;
4 - образец; 5 - плита из стали массой (10 +/- 1) кг
Рисунок 8. Установка для испытаний на воздействие
ударных нагрузок при низкой температуре (см.
15.1)
h - высота падения; о - точки нанесения ударов
Рисунок 9. Точки нанесения ударов по части A (см.
15.3)
1 - монтажная опора; 2 - шарнир; 3 - образец
Нанесение ударов |
Рисунок | Общее число ударов | Точки нанесения ударов | Испытуемые части |
a) | 3 | Один в центр | Передние поверхности и задние поверхности коробок и корпусов, классифицируемых по 7.2.3.2 |
b) | 2 | |
c) | 2 | Один по поверхности T <a>Один по поверхности U <a> | Доступные части коробок и корпусов для открытой установки при нормальной эксплуатации, кроме передних и задних поверхностей коробок и корпусов, классифицируемых по 7.2.3.2 |
d) | 2 | Один по поверхности V <a> Один по поверхности Z <a> |
<a> Удар наносят по наиболее неблагоприятной точке. |
Рисунок 10. Последовательность нанесения ударов
по частям A, B, C, D, E, F и G (см.
15.3)
1 - коробка; 2 - рукоятка; 3 - эксцентрик
Рисунок 11. Установка для испытаний эффективности
анкерного крепления (см.
12.6)
1 - лист твердого материала; 2 - покрывающая пластина;
3 - опорная рама; 4 - стенка; 5 - коробка
Рисунок 12. Установка для испытаний крышек
Рисунок 13. Измерительный прибор (толщиной около 2 мм)
для проверки краев крышек или покрывающих пластин
1 - монтажная поверхность; 2 - крышка; 3 - опорная
поверхность; 4 - промежуточный участок той же толщины,
что и опорная поверхность
Рисунок 14. Пример применения измерительного прибора
на монтажной или опорной поверхности (см.
12.1.2.3)
Рисунки a) и b) - не соответствуют.
Рисунки c), d) и f) - соответствуют. (Соответствие тем не менее проверяют согласно
12.1.2.4 с применением измерительного прибора, показанного на
рисунке 16).
Рисунок 15. Примеры применения измерительного прибора,
1 - испытательный стержень (металлический);
2 - острые края под прямым углом
Рисунок 16. Измерительный прибор для проверки пазов,
отверстий и обратных конусностей (см.
12.1.2.4)
1 - крышка; 2 - монтажная поверхность
Рисунок 17. Направление приложения измерительного прибора,
1 - испытуемый образец; 2 - лист фанеры; 3 - рычаг;
4 - основная ось коробки
Рисунок 18. Проверка средств крепления для установки
коробок или корпусов, классифицируемых по
7.7.1 (см.
12.11)
1 - коробка; 2 - стальная стойка; 3 - дополнительная опора;
4 - максимальное отклонение; 5 - фанера; 6 - кронштейн;
7 - по три винта на каждой стороне панели
Размер A: Совместить с отверстиями, расположенными на поверхности коробки.
Рисунок 20. Жесткая вставка (см.
16.3)
1 - образец; 2 - испытания требуются;
3 - испытания не требуются
Рисунок 21. Испытания раскаленной проволокой
(справочное)
ПРИМЕРЫ КОРПУСОВ И ИХ ЧАСТЕЙ
1 - коробка; 2 - покрывающая пластина; 3 - крышка;
4 - образец; 5 - аппарат; a - образец + крышка (только
для открытой установки); b1 - коробка + покрывающая
пластина (открытая установка); b2 - коробка + покрывающая
пластина (скрытая установка)
Рисунок А.1. Примеры корпусов и их частей
| Boxes and enclosures for electrical accessories for household and similar fixed electrical installations - Part 21: Particular requirements for boxes and enclosures with provision for suspension means (Коробки и корпусы для электрических аппаратов, устанавливаемые в стационарные электрические установки бытового и аналогичного назначения. Часть 21. Специальные требования к коробкам и корпусам, оснащенным приспособлениями для крепления устройств подвешивания) |
| Boxes and enclosures for electrical accessories for household and similar fixed electrical installations - Part 22: Particular requirements for connecting boxes and enclosures (Коробки и корпусы для электрических аппаратов, устанавливаемые в стационарные электрические установки бытового и аналогичного назначения. Часть 22. Специальные требования к соединительным коробкам и корпусам) |
| Boxes and enclosures for electrical accessories for household and similar fixed electrical installations - Part 23: Particular requirements for floor boxes and enclosures (Коробки и корпусы для электрических аппаратов, устанавливаемые в стационарные электрические установки бытового и аналогичного назначения. Часть 23. Специальные требования к напольным коробкам и корпусам) |
| Boxes and enclosures for electrical accessories for household and similar fixed electrical installations - Part 24: Particular requirements for enclosures for housing protective devices and other power dissipating electrical equipment (Коробки и корпусы для электрических аппаратов, устанавливаемые в стационарные электрические установки бытового и аналогичного назначения. Часть 24. Специальные требования к корпусам, предназначенным для установки защитных и аналогичных аппаратов с большой рассеиваемой мощностью) |
| Boxes and enclosures for electrical accessories for household and similar fixed electrical installations (Коробки и корпусы для электрических аппаратов, устанавливаемые в стационарные электрические установки бытового и аналогичного назначения) |
| Protection of persons and equipment by enclosures - Probes for verification (Защита людей и оборудования, обеспечиваемая оболочками. Щупы испытательные) |
| Cable trunking and ducting systems for electrical installations (Система кабельных и специальных кабельных коробов для электрических установок) |
| Protection against electric shock. Common aspects for installation and equipment (Защита от поражения электрическим током. Общие аспекты, связанные с электроустановками и электрооборудованием) |
| Conduits for electrical purposes; outside diameters of conduits for electrical installations and threads for conduits and fittings (Кабелепроводы электротехнического назначения. Наружные диаметры кабелепроводов для электроустановок и резьбы для кабелепроводов и фитингов) |
| Extra heavy-duty electrical rigid steel conduits (Кабелепроводы жесткие стальные для электроустановок, используемые в сверхтяжелых режимах) |
[11] IEC 600682-2-75:1997 | Environmental testing - Part 2: Tests - Test Eh: Hammer test (Испытания на воздействие внешних факторов. Часть 2. Испытания. Испытание Eh: ударные испытания) |
| Fire hazard testing - Part 10-2: Abnormal heat - Ball pressure test (Испытания на пожароопасность. Часть 10-2. Аномальный нагрев. Испытание вдавливанием шарика) |