Главная // Актуальные документы // ГОСТ Р (Государственный стандарт)СПРАВКА
Источник публикации
М.: ФГБУ "РСТ", 2021
Примечание к документу
Документ
введен в действие с 01.04.2022.
Название документа
"ГОСТ Р 59747.4-2021 (ИСО 11040-4:2015). Национальный стандарт Российской Федерации. Шприцы предварительно наполненные. Часть 4. Цилиндры стеклянные для стерилизованных готовых к наполнению шприцев для инъекционных лекарственных форм"
(утв. и введен в действие Приказом Росстандарта от 08.11.2021 N 1434-ст)
"ГОСТ Р 59747.4-2021 (ИСО 11040-4:2015). Национальный стандарт Российской Федерации. Шприцы предварительно наполненные. Часть 4. Цилиндры стеклянные для стерилизованных готовых к наполнению шприцев для инъекционных лекарственных форм"
(утв. и введен в действие Приказом Росстандарта от 08.11.2021 N 1434-ст)
Утвержден и введен в действие
агентства по техническому
регулированию и метрологии
от 8 ноября 2021 г. N 1434-ст
НАЦИОНАЛЬНЫЙ СТАНДАРТ РОССИЙСКОЙ ФЕДЕРАЦИИ
ШПРИЦЫ ПРЕДВАРИТЕЛЬНО НАПОЛНЕННЫЕ
ЧАСТЬ 4
ЦИЛИНДРЫ СТЕКЛЯННЫЕ ДЛЯ СТЕРИЛИЗОВАННЫХ ГОТОВЫХ К НАПОЛНЕНИЮ
ШПРИЦЕВ ДЛЯ ИНЪЕКЦИОННЫХ ЛЕКАРСТВЕННЫХ ФОРМ
Prefilled syringes. Part 4. Glass barrels for injectables
and sterilized subassembled syringes ready for filling
(ISO 11040-4:2015, MOD)
ГОСТ Р 59747.4-2021
(ИСО 11040-4:2015)
Дата введения
1 апреля 2022 года
1 ПОДГОТОВЛЕН Федеральным государственным автономным образовательным учреждением высшего образования Первый Московский государственный медицинский университет имени И.М. Сеченова Министерства здравоохранения Российской Федерации (Сеченовский Университет) на основе собственного перевода на русский язык англоязычной версии стандарта, указанного в
пункте 4
2 ВНЕСЕН Техническим комитетом по стандартизации ТК 458 "Разработка, производство и контроль качества лекарственных средств"
3 УТВЕРЖДЕН И ВВЕДЕН В ДЕЙСТВИЕ
Приказом Федерального агентства по техническому регулированию и метрологии от 8 ноября 2021 г. N 1434-ст
4 Настоящий стандарт является модифицированным по отношению к международному стандарту ИСО 11040-4:2015 "Шприцы предварительно наполненные. Часть 4. Цилиндры стеклянные для стерилизованных готовых к наполнению шприцев для инъекционных лекарственных форм" (ISO 11040-4:2015 "Prefilled syringes - Part 4: Glass barrels for injectables and sterilized subassembled syringes ready for filling", MOD), включая изменение Amd.1:2020, путем изменения отдельных фраз (слов, ссылок), которые выделены в тексте курсивом.
Международный стандарт разработан Техническим комитетом по стандартизации ИСО/ТК 76 "Оборудование для переливания крови, инфузии и инъекций, а также для обработки крови для медицинского и фармацевтического применения".
Сведения о соответствии ссылочных национальных и межгосударственных стандартов международным стандартам, использованным в качестве ссылочных в примененном международном стандарте, приведены в дополнительном
приложении ДА
5 ВВЕДЕН ВПЕРВЫЕ
Правила применения настоящего стандарта установлены в статье 26 Федерального закона от 29 июня 2015 г. N 162-ФЗ "О стандартизации в Российской Федерации". Информация об изменениях к настоящему стандарту публикуется в ежегодном (по состоянию на 1 января текущего года) информационном указателе "Национальные стандарты", а официальный текст изменений и поправок - в ежемесячном информационном указателе "Национальные стандарты". В случае пересмотра (замены) или отмены настоящего стандарта соответствующее уведомление будет опубликовано в ближайшем выпуске ежемесячного информационного указателя "Национальные стандарты". Соответствующая информация, уведомление и тексты размещаются также в информационной системе общего пользования - на официальном сайте Федерального агентства по техническому регулированию и метрологии в сети Интернет (www.rst.gov.ru)
Как правило, в качестве первичной упаковки для инъекционных лекарственных препаратов используют ампулы и флаконы. Однако для применения растворов, содержащихся в такой упаковке, также необходим шприц для инъекций с соответствующей иглой. Для выполнения инъекции необходимо перенести лекарственный препарат в шприц. Эта процедура не только занимает время, но также может привести к контаминации лекарственного препарата.
Для обеспечения безопасного введения некоторые инъекционные лекарственные препараты выпускают уже несколько лет упакованными в одноразовые предварительно наполненные шприцы. Такой шприц (первичная упаковка) позволяет сразу вводить содержащийся в нем лекарственный препарат после относительно простой подготовки. Данные шприцы могут быть использованы в автоинжекторах, к которым применяются дополнительные и особые требования.
В зависимости от диаметра заполняемых шприцев стандартизуют соответствующие компоненты, такие как резиновые поршни, колпачки наконечников, защитные колпачки игл и другие укупорочные системы. В сочетании с соответствующими уплотнительными компонентами они представляют систему для инъекционного (парентерального) введения препаратов. Производители линий для наполнения могут использовать настоящий стандарт для обеспечения стандартизации оборудования.
Первоначально для производства предварительно наполненных шприцев фармацевтическим предприятиям поставлялись шприцы, изготовленные из стеклянных трубок (дрота), только в нестерильном разобранном виде "ин балк". Затем на фармацевтическом предприятии осуществлялась мойка, сушка, смазка внутренней поверхности и укупорка шприца с помощью укупорочных средств, стерилизация, а также наполнение и упаковывание. Такая технология с использованием шприцев "ин балк" используется до настоящего времени. Предварительно стерилизованные собранные шприцы частично заменили нестерильную первичную упаковку "ин балк".
Ответственность за вышеописанные стадии технологического процесса предварительно стерилизованных собранных шприцев, готовых к наполнению, лежит на производителе первичной упаковки. После установки защитного колпачка иглы на шприцы с несъемной иглой или колпачков наконечника на шприцы с наконечником типа "Луер" шприцы помещают в гнездовые кассеты. Гнезда, в свою очередь, помещают в пластиковую кассету. Шприцы в гнезде защищены вставной гильзой, а сама кассета герметично закрыта уплотнительной крышкой (в основном из пористого материала). Таким образом, кассета, герметично закрытая уплотнительной крышкой, представляет собой "стерильную барьерную систему". После этого герметично закрытую кассету помещают в герметично запаиваемый пакет и отправляют на стерилизацию, как правило, оксидом этилена.
Готовые к наполнению стерилизованные шприцы поставляют фармацевтическим компаниям в стерильном состоянии, где они заполняются лекарственным препаратом на соответствующем оборудовании.
Настоящий стандарт распространяется на стеклянные цилиндры (однокамерного исполнения) и стерилизованные готовые к наполнению шприцы.
Настоящий стандарт устанавливает требования к применяемым материалам, размерам, качеству и эксплуатационным характеристикам, а также методы испытаний.
В настоящем стандарте приведены компоненты, которые являются частью стерилизованного готового к наполнению шприца.
Стеклянные цилиндры и стерилизованные готовые к наполнению шприцы в соответствии с требованиями настоящего стандарта предназначены только для одноразового использования.
Настоящий стандарт не распространяется на компоненты для завершающей комплектации предварительно собранных шприцев, такие как поршень (плунжер) и шток.
Примечание - Следует обратить внимание на соответствующие национальные или региональные правила. В некоторых пунктах или подпунктах настоящего стандарта приведены соответствующие ссылки на Европейскую фармакопею (Ph. Eur.), фармакопею США (USP), фармакопею Японии (JP) и Государственную фармакопею Российской Федерации (ГФ РФ).
В настоящем стандарте использованы нормативные ссылки на следующие стандарты:
ГОСТ ISO 7886-1-2011 Шприцы инъекционные однократного применения стерильные. Часть 1. Шприцы для ручного использования
ГОСТ ISO 10993-7 Изделия медицинские. Оценка биологического действия медицинских изделий. Часть 7. Остаточное содержание этиленоксида после стерилизации
ГОСТ ISO 11135 Стерилизация медицинской продукции. Этиленоксид. Требования к разработке, валидации и текущему управлению процессом стерилизации медицинских изделий
ГОСТ Р 59747.5 (ИСО 11040-5:2012) Шприцы предварительно наполненные. Часть 5. Уплотнители поршня для шприцев для инъекционных лекарственных форм
ГОСТ Р 59747.7 (ИСО 11040-7:2015) Шприцы предварительно наполненные. Часть 7. Упаковочные системы для стерилизованных готовых к наполнению шприцев
ГОСТ Р ИСО 2859-1 Статистические методы. Процедуры выборочного контроля по альтернативному признаку. Часть 1. Планы выборочного контроля последовательных партий на основе приемлемого уровня качества
ГОСТ Р ИСО 3951-1 Статистические методы. Процедуры выборочного контроля по количественному признаку. Часть 1. Требования к одноступенчатым планам на основе AQL при контроле последовательных партий по единственной характеристике и единственному AQL
ГОСТ Р ИСО 3951-2 Статистические методы. Процедуры выборочного контроля по количественному признаку. Часть 2. Общие требования к одноступенчатым планам на основе AQL при контроле последовательных партий по независимым характеристикам качества
ГОСТ Р ИСО 3951-3 Статистические методы. Процедуры выборочного контроля по количественному признаку. Часть 3. Двухступенчатые схемы на основе AQL для контроля последовательных партий
ГОСТ Р ИСО 3951-4 Статистические методы. Процедуры выборочного контроля по количественному признаку. Часть 4. Процедуры оценки заявленного уровня качества
ГОСТ Р ИСО 3951-5 Статистические методы. Процедуры выборочного контроля по количественному признаку. Часть 5. Последовательные планы на основе AQL для известного стандартного отклонения
ГОСТ Р ИСО 7619-1 Резина вулканизованная или термопластичная. Определение твердости при вдавливании. Часть 1. Метод с применением дюрометра (твердость по Шору)
ГОСТ Р ИСО 8871-1 Эластомерные составляющие для парентеральных систем и изделий для фармацевтических целей. Часть 1. Вещества, экстрагируемые при автоклавировании
ГОСТ Р ИСО 9626 Трубки игольные из нержавеющей стали для изготовления медицинских изделий. Требования и методы испытаний
ГОСТ Р ИСО 14644-1-2017 Чистые помещения и связанные с ними контролируемые среды. Часть 1. Классификация чистоты воздуха по концентрации частиц
ГОСТ Р ИСО 14937 Стерилизация медицинской продукции. Общие требования к определению характеристик стерилизующего агента и к разработке, валидации и текущему контролю процесса стерилизации медицинских изделий
ГОСТ Р ИСО 15378 Первичные упаковочные материалы для лекарственных средств. Частные требования по применению ИСО 9001:2008 с учетом надлежащей производственной практики (GMP)
ГОСТ Р ИСО 17665-1 Стерилизация медицинской продукции. Влажное тепло. Часть 1. Требования к разработке, валидации и текущему контролю процесса стерилизации медицинских изделий
Примечание - При пользовании настоящим стандартом целесообразно проверить действие ссылочных стандартов в информационной системе общего пользования - на официальном сайте Федерального агентства по техническому регулированию и метрологии в сети Интернет или по ежегодному информационному указателю "Национальные стандарты", который опубликован по состоянию на 1 января текущего года, и по выпускам ежемесячного информационного указателя "Национальные стандарты" за текущий год. Если заменен ссылочный стандарт, на который дана недатированная ссылка, то рекомендуется использовать действующую версию этого стандарта с учетом всех внесенных в данную версию изменений. Если заменен ссылочный стандарт, на который дана датированная ссылка, то рекомендуется использовать версию этого стандарта с указанным выше годом утверждения (принятия). Если после утверждения настоящего стандарта в ссылочный стандарт, на который дана датированная ссылка, внесено изменение, затрагивающее положение, на которое дана ссылка, то это положение рекомендуется применять без учета данного изменения. Если ссылочный стандарт отменен без замены, то положение, в котором дана ссылка на него, рекомендуется применять в части, не затрагивающей эту ссылку.
3 Термины, определения и сокращения
3.1 В настоящем стандарте применены следующие термины с соответствующими определениями.
3.1.1 потребитель (customer): Хозяйствующий субъект, который приобретает цилиндры шприцев или стерилизованные готовые к наполнению шприцы и проводит их дополнительную обработку или наполнение в зависимости от потребности.
3.1.2 производитель (manufacturer): Хозяйствующий субъект, осуществляющий производство или иным образом несущий ответственность за производство цилиндров шприцев "ин балк" или стерилизованных шприцев, готовых к наполнению потребителем.
3.1.3 защитный колпачок иглы (needle shield): Укупорочная система для защиты от повреждений острия/среза иглы предварительно собранных шприцев с несъемными иглами, позволяющая стерилизацию иглы и поддерживающая стерильность содержимого шприца и иглы до момента инъекции.
3.1.4 наполненный шприц (prefilled syringe): Контейнер, заполненный лекарственным препаратом для инъекций, готовым к введению.
Примечание - Компонентами шприцев являются цилиндр, игла, укупорочная система, поршень и шток. Примеры стерилизованных готовых к наполнению шприцев, включая компоненты, приведены в
приложении A.
3.1.5 цилиндр шприца (syringe barrel): Цилиндрический стеклянный корпус с наконечником и упором для пальца.
Примечания
2 Цилиндр шприца может быть оснащен несъемной иглой.
3.1.6 стерилизованный готовый к наполнению шприц (sterilized subassembled syringe ready for filling): Комплект из цилиндра шприца и укупорочной системы, подвергшийся предварительной обработке.
Примечания
1 В предварительную обработку входят следующие процессы:
- сборка/смазка иглы;
- финишная мойка/депирогенизация (частичная);
- сушка;
- нанесение смазки на внутреннюю поверхность шприца;
- укупорка шприца с помощью укупорочной системы;
- стерилизация.
2 Примеры стерилизованных готовых к наполнению шприцев, включая компоненты, приведены в
приложении A.
3.1.7 укупорочная система шприца (syringe closure system): Компонент или многокомпонентная система, предназначенная для укупорки шприцевой системы со стороны наконечника, обеспечивающая стерилизацию стеклянного наконечника и сохранение стерильности содержимого шприца до момента инъекции.
| | ИС МЕГАНОРМ: примечание. В официальном тексте документа, видимо, допущена опечатка: пункт 3.3 отсутствует. | |
Примечание - Может представлять собой колпачок наконечника, колпачок иглы, систему контроля первого вскрытия. См. также 3.3.
3.1.8 пользователь (user): Пациент или медицинский работник (медицинский персонал, врач или непрофессионал), который использует или вводит лекарственный препарат для инъекций, содержащийся в шприце.
3.2 Сокращения
В настоящем стандарте применены следующие сокращения:
ГФ РФ - Государственная фармакопея Российской Федерации;
ОФС - общая фармакопейная статья;
реагент LAL - реагент лизата амебоцитов мечехвоста (Limulus Amebocyte Lysate);
ЕЭ/мл - единицы эндотоксинов (endotoxin units, EU/мл);
LLA - адаптер "Луер Лок" (Luer lock adaptor);
Ph. Eur. - Европейская фармакопея;
SAL - гарантированный уровень стерильности (sterility assurance level);
USP - фармакопея США;
JP - фармакопея Японии.
4.1 Системы качества
Действия, приведенные в настоящем стандарте, должны осуществляться в рамках официально принятой системы качества.
Примечание - Требования к надлежащей системе менеджмента качества первичных упаковочных материалов для лекарственных средств приведены в
[1].
4.2 Проведение испытаний
4.2.1 Повторяемость должна быть оценена для каждого метода испытания в каждой лаборатории.
4.2.2 Планы выборочного контроля, используемые для отбора проб и проведения испытаний стерилизованных готовых к наполнению шприцев или их компонентов, должны основываться на статистически достоверном обосновании.
4.2.3 Испытания проводят в условиях окружающей среды лаборатории.
4.3 Документирование
4.3.1 Подтверждение соответствия требованиям настоящего стандарта должно быть задокументировано.
4.3.2 Вся документация должна храниться в течение установленного периода времени. Срок хранения должен учитывать такие факторы, как регуляторные требования, срок годности и прослеживаемость.
4.3.3 Документация, подтверждающая соответствие установленным требованиям, может включать (но не ограничиваться) эксплуатационные данные, спецификации и результаты испытаний с использованием валидированных методик испытаний.
4.3.4 Электронные записи, электронные подписи и рукописные подписи, выполняемые для электронных записей, которые используются при валидации, контроле процесса или других процессах принятия решений о качестве, должны быть достоверными.
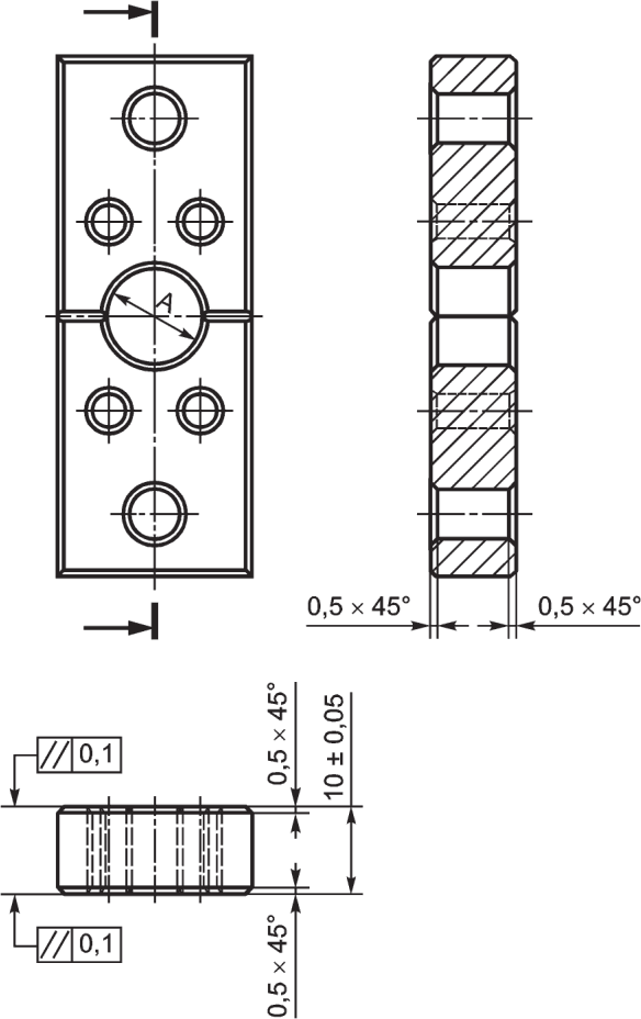
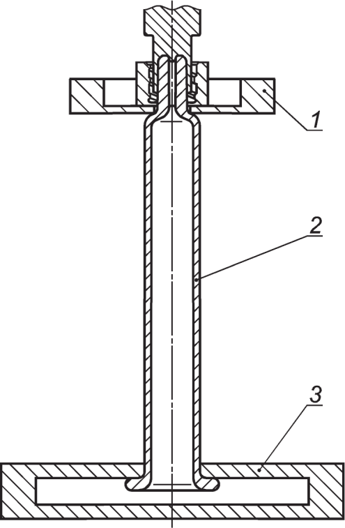
5.1 Конструкция и размеры
5.1.1 Размеры цилиндра шприца должны соответствовать приведенным на
рисунке 1 и в
таблице 1, за исключением длины и толщины стенки цилиндра, которые приведены только для информации.
1 - наконечник; 2 - упор для пальцев
Примечания
1 Внутренний диаметр наконечника подлежит согласованию между производителем и потребителем. Примеры часто используемых конструкций наконечников приведены в
приложении B.
2 Конструкция упора для пальцев подлежит согласованию между производителем и потребителем.
Рисунок 1 - Типичный пример стеклянного цилиндра шприца
и примеры стеклянных упоров для пальцев
Таблица 1
Номинальный объем, мл | Стеклянный цилиндр | Упор для пальцев |
d1 | d2 | ds | l1 | | | h1 | d3 | d4 |
ном. | допуск | ном. | допуск | мин. | ном. | допуск | ном. | допуск | ~= | ном. | допуск | ном. | допуск | ном. | допуск |
0,5 | 6,85 | +/- 0,1 | 4,65 | +/- 0,1 | 4,40 | 47,6 | +/- 0,5 | 57,5 | +/- 0,5 | 1,1 | 1,8 | +/- 0,5 | 13,4 | +/- 0,4 | 10,5 | +/- 0,4 |
| 8,15 | 4,35 | 6,05 | 54,0 | 64,0 | 0,9 | 1,9 | 13,8 | 11 |
| 10,85 | 8,65 | +/- 0,2 | 8,25 | 35,7 | 46,7 | 1,1 | 2,2 | +/- 0,5 | 17,75 | +/- 0,75 | 14,7 | +/- 0,5 |
2 | 10,85 | 8,65 | 8,25 | 49,0 | 60,0 | 1,1 | 2,2 | 17,75 | 14,7 |
2,25 | 10,85 | 8,65 | 8,25 | 54,4 | 66,6 | +/- 0,75 | 1,1 | 2,2 | 17,75 | 14,7 |
3 | 10,85 | 8,65 | 8,25 | 72,2 | 84,4 | +/- 1,0 | 1,1 | 2,2 | 17,75 | 14,7 |
5 | 14,45 | 11,85 | 11,45 | 66,7 | +/- 0,7 | 89,0 | +/- 0,75 | 1,3 | 2,4 | 23,0 | +/- 0,1 | 19,5 |
10 | 17,05 | +/- 0,2 | 14,25 | 13,85 | 87,25 | 100,5 | +/- 1,0 | 1,4 | 2,5 | +/- 0,6 | 27,0 | 21,5 |
20 | 22,05 | 19,05 | 4,40 | 96,8 | 114,9 | +/- 1,0 | 1,5 | 3,1 | 32,35 | 25,9 | +/- 0,6 |
<b> Короткое/стандартное исполнение. <c> Длина цилиндра и толщина его стенки приведены только для информации. |
Тип конструкции наконечника должен быть согласован между производителем и потребителем.
Требования к конструкции простого наконечника "Луер" и винтового наконечника "Луер" представлены в [3], [4], при этом размер наконечника должен соответствовать рисунку 2.
--------------------------------
<a> Диаметр сквозного отверстия, подлежащий согласованию между производителем и потребителем.
<b> Длина наконечника "Луер" (тип "Луер Слип").
<c> Длина наконечника "Луер" (тип винтового (замкового) наконечника "Луер Лок").
<d> Длина канавки винтового наконечника "Луер".
<e> Глубина канавки винтового наконечника "Луер".
Примечание - Приведенные размеры не применяют к конструкции наконечника стеклянного цилиндра с несъемной иглой.
Рисунок 2 - Конический наконечник "Луер"
Примечание - При производстве наполняемые стеклянные шприцы с простым и винтовым наконечниками "Луер" ("Луер Слип" и "Луер Лок") всегда комбинируют с другими устройствами "Луер" для эффективного введения лекарственного препарата, содержащегося в шприце. Примерами таких устройств являются одноразовые иглы, соединения без иглы и другие устройства с соединителями "Луер". Современная технология формования стеклянных наконечников шприцев при производстве стеклянных наполняемых шприцев не может обеспечить полное соответствие стандартам на соединители "Луер" (см.
[3]), требования которых были разработаны с учетом возможности использования матового стекла, металла и технологии литья под давлением, а также пластичных полимеров.
Различие в методологии производства и необходимость расширения допусков в процессе производства изделий из стекла методом формования являются общепринятыми. По этой причине допуски размеров различны. Несмотря на то, что допуски для некоторых размеров выходят за пределы диапазона по
[3], стеклянный формованный наконечник успешно сопрягается с охватывающими деталями, изготовленными методом литья под давлением. Испытания функциональности наконечников, полученных методом формования, проводятся в соответствии с
5.2 и
[3].
Размеры наконечника "Луер", приведенные на рисунках, могут быть проверены с помощью измерений камеры или опосредованно с использованием шаблона (калибра), аналогичного приведенному в
[3].
5.1.2 Если требуется нанесение надписей на цилиндр, это должно быть согласовано между производителем и потребителем.
5.2 Испытания функциональности соединения "Луер"
Пригодность для эксплуатации стеклянного цилиндра предварительно наполненного шприца в части соединения наконечника с насадкой в виде 6%-ного соединения "Луер" должны быть продемонстрированы путем проведения эксплуатационных испытаний с помощью эталонных полимерных насадок вместо стальных.
Примечание - Процесс формования предварительно наполненных стеклянных шприцев приводит к образованию "волнистой" финишной поверхности соединителя "Луер", которая несовместима с эталонными стальными соединителями при типовых испытаниях на герметичность (утечку жидкости и воздуха), силу отрыва и момент отвинчивания. Кроме того, наконечникам "Луер" предварительно наполненных стеклянных шприцев зачастую по требованию потребителя придается шероховатость.
Для подтверждения функциональности наконечника "Луер" и соответствующей безопасности соединения пластмассовые эталонные соединители должны быть проверены на соответствие размерам, установленным требованиями по
[3].
Выбранный полимерный материал для эталонных соединителей (насадок) должен эффективно имитировать нормальные клинические условия использования шприцев. Выбор материала(ов) соединителей должен быть обоснован.
5.3 Материал
Используют бесцветное (cl) или темное (br) боросиликатное стекло класса гидролитической стойкости HGA1 (см.
[5]).
Требования к материалам также приведены в национальных или региональных фармакопеях. Требования к стеклу типа I приведены в
[6],
[7],
[8],
[9].
5.4 Требования к характеристикам
5.4.1 Гидролитическая стойкость
При проведении испытаний (см.
[10],
[11]) гидролитическая стойкость внутренней поверхности стеклянного цилиндра должна соответствовать требованиям к классу гидролитической стойкости HC-1 и
HC-3.
Перед проведением испытаний нижнюю часть цилиндра (упор для пальцев) закрывают соответствующим укупорочным элементом, например, резиновой пробкой.
5.4.2 Качество отжига
В отожженном стекле максимальное значение остаточного напряжения не должно превышать удельную разность хода лучей 40 нм/мм толщины стекла при исследовании стеклянного цилиндра в поляриметре (полярископе).
Метод испытаний остаточного напряжения должен быть согласован между производителем стекла и потребителем.
5.4.3 Смазка внутренней поверхности
Нанесение смазки на внутреннюю поверхность цилиндра осуществляют в соответствии с
6.5.1.2.
5.4.4 Прочность упора для пальцев
Цилиндр шприца должен обеспечивать соответствующую прочность упора для пальцев (фланца). Предельные значения подлежат согласованию между производителем и потребителем.
Прочность упора для пальцев (фланца) определяют в соответствии с
C.1 приложения C.
Примечание - Метод испытания на прочность упора для пальцев (фланца) является эталонным испытанием для обеспечения согласованного показателя измерения при сравнении характеристик разных шприцев, а также может быть использован как показатель качества для оценки изменений и мониторинга эксплуатации. Метод испытаний может потребовать регулировки для имитации конкретных условий применения шприцевой системы, например, применение в автоматических инъекторах.
5.4.5 Прочность наконечника "Луер"
Наконечники "Луер" цилиндров шприца должны обладать соответствующей прочностью. Допустимые пределы согласовываются между производителем и потребителем.
Прочность наконечника "Луер" определяют в соответствии с
C.2 приложения C.
Примечание - Испытания на прочность наконечников "Луер" является эталонным испытанием, применение которого обеспечивает надежность данных при сравнении функциональных характеристик разных шприцев, а также может быть использовано для оценки изменений и мониторинга производства. Методику испытаний допускается корректировать для симуляции особых условий применения шприца, например, применение в автоматических инжекторах.
6 Стерилизованные готовые к наполнению шприцы
6.1 Общие положения
6.1.1 Конструкция стерилизованных готовых к наполнению шприцев зависит от их предполагаемого использования. Требования и методики испытаний, приведенные далее и в соответствующих приложениях, основаны на общих конструктивных особенностях и компонентах шприца.
Примечание - Типы стерилизованных готовых к наполнению шприцев приведены в
приложении A.
6.1.2 При выборе исходных материалов или компонентов, а также конструкции стерилизованного готового к наполнению шприца следует учитывать:
| | ИС МЕГАНОРМ: примечание. Обозначение пунктов дано в соответствии с официальным текстом документа. | |
а) способность обеспечивать барьер для микроорганизмов;
б) биологическую совместимость и токсикологические характеристики;
c) физические и химические свойства;
d) возможность стерилизации, а также совместимость с предполагаемым способом стерилизации;
e) обеспечение стерильности готового к наполнению шприца;
f) предельный срок годности;
g) функциональные возможности в отношении предполагаемого применения;
h) надежность укупорочной системы при транспортировании от производителя к потребителю.
6.1.3 Производитель должен иметь документированные процедуры по проектированию и разработке стерилизованных готовых к наполнению шприцев.
Примечание - Требования к соответствующей системе менеджмента качества первичных упаковочных материалов для лекарственных средств приведены в
ГОСТ Р ИСО 15378.
6.2 Стерильность
Готовые к наполнению шприцы должны быть простерилизованы до достижения уровня гарантированной стерильности (SAL), равного 10
-6, путем использования подходящего валидированного метода стерилизации в соответствии с
ГОСТ ISO 11135, ГОСТ Р ИСО 14937, ГОСТ Р ИСО 17665-1 или
[12].
Процесс стерилизации не должен негативно сказываться на безопасности и характеристиках (например, изменении цвета, размеров, формы, целостности укупорки или герметизации, помутнении или расслоении компонентов и т.д.) готового к наполнению шприца. Испытания на стерильность приведены в национальных или региональных фармакопеях. См. методы, приведенные в
[13],
[14],
[15] и
[16].
При стерилизации окисью этилена его остаточное содержание должно соответствовать
ГОСТ ISO 10993-7. См. также
[17] и
[18].
Примечание - См. также другие части ГОСТ ISO 10993.
6.3 Пирогенность/бактериальные эндотоксины
Предельное значение показателя "
Бактериальные эндотоксины"/"Пирогенность" для шприцев должно быть не более 0,25 ЕЭ/мл с учетом номинального объема шприца (см.
таблицу 1).
Примечание 1 - Обоснования нормы содержания бактериальных эндотоксинов в стерильной воде для инъекций приведены в
[19] и [20].
Метод экстракции и проведение испытаний приведены в региональных и национальных фармакопеях:
- информация о методе экстракции приведена в
[21];
Примечание 2 - Подготовка проб, основанная на фармакопейных методах, приведена в
D.1 приложения D.
Готовые к наполнению шприцы должны подвергаться депирогенизации, чтобы обеспечить их пригодность к использованию по назначению. Такие процедуры должны быть валидированы с критерием приемлемости: уменьшение содержания эндотоксина не менее чем на три порядка.
6.4 Механические включения
Готовые к наполнению стерилизованные шприцы должны быть произведены способами, снижающими риск контаминации механическими включениями.
В современных фармакопеях указано, что присутствие в инъекционных лекарственных формах видимых механических включений нежелательно (в лекарственных препаратах для инфузий недопустимо), но не определен их допустимый размер и не установлено допустимое количество. Рекомендуется согласовать размер и количество видимых механических включений, метод испытания между производителем и потребителем.
Фармакопейные требования и методы испытаний, установленные для механических включений (например, Ph. Eur, USP, JP, ГФ РФ), не применяют к незаполненным шприцам.
Требования к невидимым механическим включениям:
- частицы >= 10 мкм - не более 600 на шприц;
- частицы >= 25 мкм - не более 60 на шприц.
Примечание
1 Данные требования были разработаны на основании
[26] (нормы содержания невидимых механических включений в парентеральных лекарственных препаратах малого объема, менее 100 мл) для наполненных контейнеров номинального объема не более 100 мл.
Установленная норма готового к наполнению шприца, составляющая 10% от нормы
(см. [26], [27]), помогает потребителю выполнять фармакопейные требования к предварительно наполненным шприцам. Это значение было выбрано на основе исторических данных, полученных с использованием счетно-фотометрического метода, как указано в
D.2 приложения D.
6.5 Дополнительные требования к конкретным компонентам стерильных готовых к наполнению шприцев
6.5.1 Цилиндр
6.5.1.1 Применяют требования, приведенные в
разделе 5.
Конкретные конструктивные особенности стеклянного цилиндра подлежат согласованию между производителем и потребителем.
6.5.1.2 Внутренняя поверхность цилиндра шприца может иметь смазку. Предельные значения количества смазки подлежат согласованию между производителем и потребителем.
Примечание - Смазка внутренней поверхности цилиндра шприца применяется для улучшения характеристик скольжения поршня. Как правило, смазочный материал наносится посредством силиконизации (например, путем нанесения силиконового масла высокой вязкости или силиконовой эмульсии на внутреннюю поверхность шприца с последующей термической обработкой).
При использовании силиконового масла должны выполняться соответствующие фармакопейные требования (см.
[32] и
[33]).
Примечания
1 В
приложении E приведен пригодный метод испытания для определения качества и консистенции смазки с использованием оценки силы (усилия) скольжения.
2 Методы испытаний для оценки силиконизации внутренней поверхности и определения дефектов цилиндров, производимых из стеклянных трубок, приведены в
[2].
3 Существуют следующие методики испытаний для визуализации качества обработки внутренней поверхности:
- методика испытания однородности силиконизации с использованием порошка оксида алюминия или другого порошка требуемого качества (порошком покрывают внутреннюю поверхность шприца путем встряхивания). Наличие областей, не покрытых порошком, свидетельствует о недостаточной силиконизации;
- оптические методы испытаний.
6.5.1.3 При проведении испытаний с выбранным штоком/поршнем по
ГОСТ Р 59747.5 "мертвое" пространство цилиндра и наконечника при утопленном до упора штоке/поршне определяют по
ГОСТ ISO 78861-2011 (приложение C).
Примечание - Данный метод испытаний является эталонным, его применение обеспечивает надежность данных при сравнении функциональных характеристик разных шприцев, а также может быть использован для оценки изменений и мониторинга производства. Данный метод не применяется при испытании на проверку конструктивного исполнения, предназначенном для имитации условия применения шприцевой системы.
6.5.2 Игла
6.5.2.1 Если стерильный готовый к наполнению шприц поставляется с несъемной иглой применяют требования по
6.5.2.2 -
6.5.2.4.
6.5.2.2 Игла должна соответствовать следующим требованиям к материалу, размеру и конструктивному исполнению:
- материал и размеры игольной трубки должны соответствовать
ГОСТ Р ИСО 9626;
- срез иглы, размеры и соединение между стеклом и иглой должны соответствовать
ГОСТ ISO 7864;
При наличии особых требований к высоте кончика иглы от упора для пальцев или плеча размер должен быть согласован между производителем и потребителем.
6.5.2.3 Поверхность иглы должна быть обработана смазкой (например, силиконовым маслом).
Примечание - Смазка иглы снижает до минимума болевые ощущения при прокалывании кожи иглой во время инъекции.
При оценке материала следует соблюдать требования к силиконовому маслу (диметикона) соответствующих фармакопей и использовать соответствующие стандартные образцы (см.
[32] и
[33]).
Возможно, нормативные значения показателя силы прокалывания иглы придется устанавливать с помощью оценки рисков и оценки удобства использования.
Измерения силы прокалывания (пенетрации) иглы могут проводиться для определения остроты иглы и дефектов смазки, при этом получаемые результаты могут не коррелировать с уровнем боли при инъекции.
Примечание - Метод испытания для определения силы проникновения иглы приведен в
приложении F.
6.5.2.4 Проходимость просвета (канала трубки иглы) должна соответствовать требованиям
ГОСТ ISO 7864, если это применимо.
6.5.2.5 Клеящее вещество, используемое для фиксации иглы внутри стеклянного наконечника, должно соответствовать требованиям соответствующих фармакопей и/или другим государственным или региональным требованиям (см. также УФ-отверждаемый жидкий клей класса V по
[1]).
Испытания на прочность соединения иглы и стеклянного наконечника проводят в соответствии с
G.1 приложения G. В описании этого метода не приведены требования к значениям силы, прикладываемой к игле и наконечнику в направлении их разъединения (минимальное усилие, Н), поскольку оно зависит от соглашения между производителем и потребителем. См. также значения, приведенные в
ГОСТ ISO 7864.
6.5.3 Укупорочная система
6.5.3.1 Материал, который может вступать в контакт с лекарственным препаратом, должен соответствовать требованиям
ГОСТ Р ИСО 8871-1. Также дополнительно должны применяться существующие региональные или национальные фармакопейные требования к контейнерам объемом более 100 мл (см., например, требования к контейнерам типа I или типа II
[34],
[35] и
[36]).
6.5.3.2 Укупорочные средства должны позволять проведение стерилизации.
Соблюдение установленных требований должно быть продемонстрировано подходящими методами.
Примечание - При разработке процедуры стерилизации оксидом этилена и/или водяным паром следует убедиться, что все укупорочные средства, включая материал, имеют достаточную проницаемость для газообразного оксида этилена и водяного пара и позволяют им во время стерилизации достигать как наконечника шприца "Луер", так и иглы через укупорочные средства (систему).
6.5.3.3 Укупорочная система должна обеспечивать соответствующую герметичность, которая проверяется с помощью испытания в соответствии с
G.2 приложения G.
Требования согласовываются производителем и потребителем.
6.5.3.4 Требования к коническому наконечнику Луер, в случае использования, представлены в
[3] и
[4].
6.5.3.5 Соединительные системы с винтовым переходником "Луер Лок" (LLA) должны выдерживать минимальное усилие 22 Н при испытании прочности соединения в соответствии с
G.3 приложения G.
Примечание - Такое значение усилия, прикладываемого к месту соединения системы с шприцем в направлении их разъединения соответствует минимальному усилию, приведенному в
ГОСТ ISO 7864-2011 (таблица 2), для игл с номинальным наружным диаметром не более 0,5 мм.
6.5.3.6 Соединительные системы с винтовым переходником "Луер Лок" (LLA) должны обладать требуемым сопротивлением крутящему моменту при испытании в соответствии с
G.4 приложения G.
Минимальное значение сопротивления крутящему моменту подлежит согласованию между производителем и потребителем.
6.5.3.7 Конструктивное исполнение укупорочной системы должно обеспечивать:
- удаление колпачка наконечника (при использовании) со шприца с применением приемлемого крутящего момента;
- удаление колпачка наконечника или защитного колпачка иглы (при использовании) со шприца с применением приемлемого усилия; и
- защитные колпачки наконечника или иглы, при использовании, должны обеспечивать сохранение их стерильности.
Значения максимального допустимого крутящего момента и усилия разъединения, соответственно, согласовываются производителем и потребителем.
Испытание(я) проводят в соответствии с
G.5 и
G.6 приложения G.
6.6 Герметичность укупорочной системы цилиндра
Компоненты стерилизованных готовых к наполнению шприцев должны обеспечивать герметичность системы при наполнении, применяемой финишной стерилизации (стерилизация паром в автоклаве), во время хранения и транспортирования, а также при разных значениях давления внешней среды.
Испытание на герметичность раствором красителя, приведенное в
приложении H, является информативным методом проверки герметичности стерилизованного готового к наполнению шприца на этапе разработки конструкции.
Нестерильные стеклянные цилиндры упаковывают в пластмассовые лотки по согласованию между производителем и потребителем.
Упаковочные системы для стерилизованных готовых к наполнению шприцев описаны в
ГОСТ Р 59747.7.
Информация о маркировке упаковки стерилизованных готовых к наполнению шприцев приведена в
ГОСТ Р 59747.7.
Маркировка упаковки компонентов шприца, поставляемых по отдельности, согласовывается между производителем и потребителем.
(справочное)
ПРИМЕРЫ ТИПОВ СТЕРИЛИЗОВАННЫХ ГОТОВЫХ К НАПОЛНЕНИЮ ШПРИЦЕВ
A.1 Компоненты
На
рисунках A.1 a) - c) показаны основные компоненты стерилизованных готовых к наполнению шприцев.
1 - защитный колпачок иглы; 2 - игла; 3 - цилиндр шприца;
4 - колпачок наконечника; 5 - поршень; 6 - шток поршня;
7 - переходник с резьбой "Луер Лок"; 8 - плотная втулка;
9 - защитный колпачок с контролем первого вскрытия;
10 - наконечник шприца; 11 - упор для пальцев
Примечание - Поршень (5) и шток поршня (6) не входят в область применения настоящего стандарта.
Рисунок A.1 - Примеры стерилизованных готовых к наполнению
шприцев, включая укупорочные системы
A.2 Описание укупорочных систем
A.2.1 Общие положения
Укупорочные средства закрывают шприц таким образом, чтобы лекарственный препарат оставался полностью укупоренным и исключались риски микробной контаминации содержимого шприца. Укупорочные средства устанавливаются на корпус стерилизованного готового к наполнению шприца производителем лекарственного препарата. Далее предварительно собранный блок упаковывают в подходящую упаковочную систему и затем стерилизуют оксидом этилена или другим методом.
Укупорочная система может состоять:
- из наконечника "Луер", с винтовым соединением или без, который может быть закрыт с помощью колпачка наконечника, и
- иглы и защитного колпачка иглы.
A.2.2 Укупорка шприцев с наконечником "Луер" (см. [3])
Шприцы с наконечниками "Луер" закрывают колпачком наконечника из соответствующего эластомерного материала.
Фиксация колпачка наконечника обеспечивается посредством статического трения между охватывающим наконечник колпачком и охватываемым наконечником стеклянного шприца, она может быть улучшена посредством керамического покрытия или придания шероховатости поверхности наконечника.
A.2.3 Укупорка шприцев с наконечником "Луер Лок" (см. [3])
Шприцы с наконечником "Луер Лок" закрывают колпачком наконечника из соответствующего эластомерного материала, который после сборки с полимерным переходником "Луер" с резьбой (см.
[3]) закрепляется на наконечнике "Луер" шприца таким образом, что обе части вместе образуют коническое винтовое соединение (типа "Луер Лок").
Если укупорочное средство (укупорочная система) дополнительно должно(а) предупреждать выпадение или соскальзывание колпачка наконечника, то его устанавливают в полимерную втулку (с резьбой), которая прочно соединяется с винтовым переходником "Луер Лок". Как правило, сначала монтируют такую укупорочную систему, состоящую из переходника "Луер", колпачка наконечника и полимерной втулки, а затем закрепляют на наконечнике "Луер" шприца. Такая система обеспечивает надежную укупорку шприца с помощью колпачка наконечника, который в данном случае удерживается на месте не только за счет силы трения, но и путем фиксации винтового соединения.
Такие укупорочные системы выпускают в разных конструктивных исполнениях, как с контролем первого вскрытия, так и без.
A.2.4 Шприц с несъемной иглой
Шприцы с несъемной иглой укупоривают защитным колпачком для иглы.
Важно, чтобы кончик иглы и особенно отверстие на ее кончике были полностью вложены в эластомерный защитный колпачок для иглы для обеспечения герметичности.
(справочное)
--------------------------------
<a> По согласованию между производителем и потребителем.
<b> Допустимые отклонения размеров наконечника приведены в
[3] (см. также
5.1).
Примечание - Конкретные требования к высоте наконечника "Луер" от упора для пальцев или плеча, которые являются общими при использовании шприца в инъекторах, подлежат согласованию между производителем и потребителем.
Рисунок B.1 - Модель A. Конструкция наконечника стеклянного
цилиндра с 6%-ным наконечником "Луер"
--------------------------------
<a> По согласованию между производителем и потребителем.
<b> Допустимые отклонения размеров наконечника приведены в
[3] (см. также
5.1).
<c> Углубление не менее 0,03 мм, края четко сформированы.
Примечание - Особые требования к высоте наконечника "Луер" от упора или плеча, которые являются общими при использовании шприца в инъекторах, подлежат согласованию между производителем и потребителем.
Рисунок B.2 - Модель B. Конструкция наконечника стеклянного
цилиндра с 6%-ным наконечником "Луер" для винтового
соединения "Луер Лок"
--------------------------------
<a> Зависит от диаметра иглы.
Рисунок B.3 - Модель C. Конструкция наконечника стеклянного
цилиндра для шприца с несъемной иглой
(обязательное)
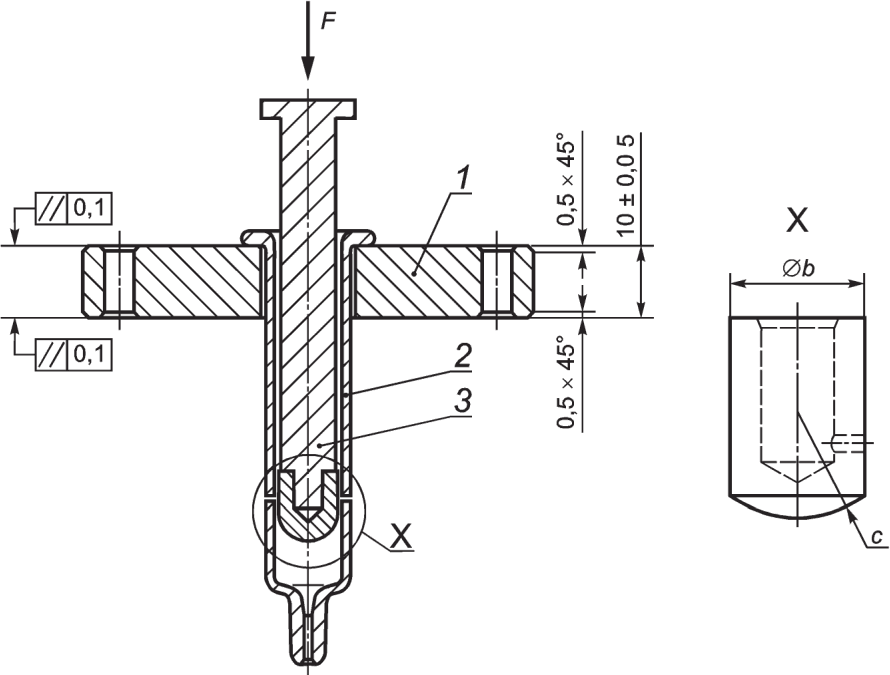
МЕТОДЫ ИСПЫТАНИЙ ЦИЛИНДРОВ ШПРИЦЕВ
C.1 Прочность упора для пальцев
C.1.1 Принцип метода
Испытание проводят для определения прочности упора для пальцев путем приложения усилия к цилиндру шприца, помещенному до упора в держатель цилиндра.
C.1.2 Материалы
C.1.2.1 Цилиндры шприцев, подлежащих испытанию, в количестве в соответствии с установленными требованиями.
C.1.3 Оборудование
C.1.3.1 Универсальная машина для испытаний на растяжение и сжатие
Машина для испытаний на растяжение и сжатие (следует обратить внимание на общую жесткость конструкции стенда для обеспечения высокого уровня сопротивления) должна соответствовать следующим требованиям:
- датчик силы 2500 Н (или в зависимости от измеряемого усилия);
- скорость при испытании - 100 мм/мин (или в зависимости от требований);
- частота датчика (регулирования силы) не менее 100 Гц.
Примечание - Требования к датчику силы, скорости при испытании и частоте датчика подлежат согласованию между производителем и потребителем.
C.1.3.2 Держатель шприца
Держатель шприца, изготовленный из подходящего материала [например, полиэфирэфиркетон (PEEK)] и имеющий соответствующие размеры.
Примечание - Материалы и конструктивное исполнение зависят от планируемого варианта применения и подлежат согласованию между производителем и потребителем. В
таблице C.1 и на
рисунке C.1 приведены примеры размеров держателя шприца.
Таблица C.1
Примеры размеров держателя шприца и нагружающего устройства
(поршня)
Наружный диаметр цилиндра шприца | | | |
6,85 | 7,3 | 4 | 2 |
8,15 | 8,6 | 5 | 2,5 |
10,85 | 11,4 | 7 | 6 |
14,45 | 15,0 | 10 | 8 |
17,05 | 17,5 | 12 | 9 |
22,05 | 22,5 | 16 | 11 |
Рисунок C.1 - Пример держателя шприца
C.1.3.3 Нагружающее устройство (поршень)
Нагружающее устройство (поршень) изготавливают из подходящего материала и соответствующих размеров.
Примечания
1 Материалы и конструктивное исполнение (например, радиус кривизны, скорректированный в соответствии с внутренней конструкцией плеча шприца) зависят от предполагаемого применения и подлежат согласованию между производителем и потребителем. Примеры размеров нагружающего устройства приведены в
таблице C.1 и на
рисунке C.2.
2 Полиформальдегид (полиацеталь) с твердостью по Шору D от 80 до 90 по
ГОСТ Р ИСО 7619-1 является подходящим материалом для контактной зоны (см. X на
рисунке C.2) нагружающего поршня. Шток может быть изготовлен из нержавеющей стали.
C.1.4 Подготовка и хранение испытуемых образцов
Следует обратить внимание, чтобы до проведения испытания испытуемые образцы не подвергались ударным нагрузкам.
Перед испытанием проверяют держатель шприца и нагружающее устройство на наличие повреждений и периодически их обновляют.
C.1.5 Проведение испытания
C.1.5.1 Испытуемый цилиндр шприца помещают в держатель шприца, и устанавливают нагружающее устройство близко к наконечнику цилиндра шприца, как изображено на
рисунке C.2.
1 - держатель шприца; 2 - цилиндр шприца; 3 - нагружающее
устройство (поршень)
Примечание - Информация о диаметре
b и радиусе
c приведена в
таблице C.1.
Рисунок C.2 - Положение цилиндра шприца и нагружающего
поршня
C.1.5.2 При проведении испытаний устанавливают скорость перемещения поршня, равную 100 мм/мин (или другое установленное значение), и частоту датчика не менее 100 Гц.
C.1.5.3 Регистрируют зависимость приложенного усилия от расстояния перемещения нагружающего поршня и строят график. Пример приведен на
рисунке C.3.
F - усилие в ньютонах; l - расстояние в миллиметрах
Рисунок C.3 - Пример графика зависимости усилия
от перемещения
C.1.6 Представление результатов
Определяют пиковое (максимальное) значение на кривой перемещения. Оно соответствует прочности упора для пальцев.
C.1.7 Протокол испытаний
Протокол испытания должен содержать:
- скорость перемещения нагружающего поршня при испытании, мм/мин;
- частоту датчика, Гц;
- пиковое (максимальное) значение на графике зависимости приложенного усилия от расстояния перемещения поршня для каждого образца, Н;
- количество испытанных образцов;
- любые отклонения или примечания.
C.2 Прочность наконечника "Луер"
C.2.1 Принцип метода
Многие шприцы "Луер" оснащены соединителем с винтовым соединением "Луер Лок". В частности, шприцы, содержащие растворители или воду для инъекций, часто снабжены соединителем "Луер" для присоединения к адаптеру флакона для обеспечения безопасного растворения лиофилизата.
Такая конструкция (цилиндр шприца, адаптер для флакона и флакон) имеет большой осевой размер, поэтому в процессе растворения и манипуляций подвергается механической нагрузке со стороны пользователя. Наиболее слабым местом такой конструкции является наконечник шприца, который может подвергаться боковой нагрузке.
Испытание на прочность используют для определения минимального усилия, которое должен выдерживать наконечник и которое определяется геометрическими параметрами и характеристиками стекла, такими как остаточное напряжение.
Испытание может быть использовано для входного контроля шприцев.
C.2.2 Материалы
C.2.2.1 Цилиндры шприцев "Луер"
Цилиндры шприцев, подлежащих испытанию, в количестве в соответствии с установленными требованиями.
C.2.3 Оборудование
C.2.3.1 Универсальная машина для испытаний на растяжение и сжатие
Универсальная машина для испытаний на растяжение и сжатие, обеспечивающая выполнение следующих требований:
- датчик силы, соответствующий измеряемому усилию;
- скорость перемещения нагружающего устройства (траверсы) при испытании - 25 мм/мин (или в зависимости от установленных требований);
- частота датчика (регулирования силы) не менее 100 Гц.
Примечание - Требования к датчику силы, скорости при испытании и частоте датчика подлежат согласованию между производителем и потребителем.
C.2.3.2 Держатель и нагружающее устройство
Держатель и нагружающее устройство должны быть изготовлены из нержавеющей стали. Размеры приведены на
рисунке C.4.
1 - нагружающее устройство машины для испытаний на сжатие;
2 - держатель шприца; 3 - цилиндр шприца
Рисунок C.4 - Пример установки для испытаний на растяжение
и сжатие, включающей держатель со вставленным цилиндром
шприца
C.2.3.3 Набор адаптеров (захватов/зажимов), соответствующих геометрическим размерам шприца.
C.2.4 Проведение испытания
C.2.4.1 Устанавливают испытательное устройство следующим образом:
- проверяют адаптеры на наличие повреждений и исправность;
- устанавливают адаптеры в машину для испытаний на растяжение и сжатие;
- проверяют наличие защитных элементов для обеспечения безопасности оператора при повреждении стекла;
- устанавливают и открывают соответствующее программное обеспечение машины для испытаний на растяжение и сжатие, при необходимости.
C.2.4.2 Выполняют испытание следующим образом:
- помещают цилиндр шприца в машину для испытаний на растяжение и сжатие (см.
рисунок C.4);
- соединяют (закрывают) защитные элементы;
- начинают измерение, применяя скорость перемещения нагружающего устройства 25 мм/мин (или в зависимости от требований) и частоту датчика не менее 100 Гц;
- подвергают нагрузке цилиндр шприца до повреждения наконечника; усилие прикладывают на расстоянии около 2 мм от конца наконечника цилиндра шприца;
- удаляют цилиндр шприца из адаптера;
- очищают адаптер от осколков стекла;
- убеждаются, что наконечник сломан.
C.2.5 Представление результатов
Регистрируют максимальное усилие, при котором ломается конический наконечник "Луер".
C.2.6 Протокол испытания
Протокол испытания должен содержать:
- частоту датчика (чем выше частота, тем точнее результат), Гц;
- скорость перемещения нагружающего устройства при испытании, мм/мин;
- расстояние от конца наконечника до точки, где шприц подвергался нагрузке, мм (приблизительно 2 мм);
- максимальное значение приложенного усилия при повреждении, Н;
- число испытанных образцов;
- любые отклонения или наблюдения.
(справочное)
ПОДГОТОВКА ОБРАЗЦА ДЛЯ ОПРЕДЕЛЕНИЯ БАКТЕРИАЛЬНЫХ
ЭНДОТОКСИНОВ И МЕХАНИЧЕСКИХ ВКЛЮЧЕНИЙ
D.1 Бактериальные эндотоксины
D.1.1 Общие положения
D.1.2 Материалы и оборудование
D.1.2.1 Стерилизованные шприцы
Шприцы, стерилизованные оксидом этилена или влажным паром в автоклаве, используют от 3 до 10 шприцев.
D.1.2.2 Уплотнители поршня
Уплотнители поршня апирогенные (без бактериальных эндотоксинов) или с максимально допустимым уровнем бактериальных эндотоксинов, подтвержденным сертификатом поставщика.
D.1.2.3 Вода для инъекций апирогенная или реагент для теста с лизатом амебоцитов мечехвоста (Лал-вода), используемые в качестве экстрагента, с температурой (37 +/- 1) °C или не ниже температуры окружающей среды.
D.1.2.4 Встряхиватель (шейкер).
D.1.2.5 Контейнер апирогенный.
D.1.3 Проведение испытания
D.1.3.1 Апирогенный контейнер следует защищать от контаминации, источником которой является рабочая среда, до завершения испытаний, поэтому испытания проводят в чистом помещении по
ГОСТ Р ИСО 14644-1-2017 (раздел 5).
D.1.3.2 Заполняют шприцы экстрагентом до номинального объема шприца.
D.1.3.3 Закрывают шприцы поршнем с уплотнителем.
D.1.3.4 Выдерживают наполненные и закрытые шприцы не менее 1 ч при температуре окружающей среды.
D.1.3.5 Затем энергично встряхивают шприцы в течение 10 мин на горизонтальном встряхивателе (или аналогичном устройстве).
D.1.3.6 Переносят полученный экстракт в апирогенный контейнер, вдавливая поршень и опорожняя шприц через передний конец (наконечник "Луер" с несъемной иглой).
D.1.3.7 Определяют значение единиц эндотоксинов ЕЭ/мл (EU/мл) в экстракте с использованием метода, аналогичного приведенному в
[23] или [25], включая образцы "положительного" и "отрицательного" контроля.
Предельное значение содержания бактериальных эндотоксинов в экстракте вычисляют по формуле (см.
[21],
[25])

(D.1)
где K - предельное значение единиц эндотоксинов в одном шприце;
N - число испытанных шприцев;
V - общий объем экстракта.
Примечание - Следует убедиться, что чувствительность используемого реагента является достаточно высокой для надлежащего обнаружения предельно допустимого значения содержания эндотоксинов в объединенном экстракте.
Пример - Для заданного номинального объема 1 мл и предельного значения эндотоксина менее 0,25 ЕЭ/мл при чувствительности реагента 0,02 ЕЭ/мл пороговое значение уровня "тревоги" (для 10 испытуемых шприцев) будет составлять 0,20 ЕЭ/мл, являющееся значением менее 0,25 ЕЭ/мл.
D.
2 Механические включения
D.2.1 Основные положения
Подготовка образца для определения механических включений основана на фармакопеях (см.
[28] и
[26] или [27]).
D.2.2 Материалы и оборудование
D.2.2.1 Стерилизованные шприцы (то есть стерилизованные оксидом этилена или паром), количество в соответствии с требованиями.
D.2.2.2 Уплотнения поршня и шток поршня, количество в соответствии с требованиями.
D.2.2.3 Вода для инъекций или очищенная вода любой фармакопейной категории.
D.2.2.4 Контейнер (лабораторная посуда).
D.2.3 Проведение испытания
D.2.3.1 Контейнер следует защищать от контаминации, источником которой является рабочая среда, до завершения испытаний, поэтому испытания проводят в чистом помещении по
ГОСТ Р ИСО 14644-1-2017 (раздел 5).
D.2.3.2 Воду, не содержащую механических включений (частиц), получают путем фильтрования воды для инъекций или воды очищенной любой фармакопейной категории через фильтр с размером пор от 0,2 мкм до 0,8 мкм.
D.2.3.3 Ополаскивают все используемое в испытании оборудование (например, лабораторные колбы, стаканы, дозирующие системы) водой, не содержащей частиц.
D.2.3.4 Помещают не менее 30 мл воды, не содержащей механических включений, в чистый контейнер и оставляют не менее чем на 2 мин для удаления пузырьков воздуха.
D.2.3.5 Определяют содержание частиц в приготовленной воде, однако результаты первого измерения не учитывают, поскольку его используют для очистки измерительной системы.
D.2.3.6 Допустимые значения для воды, не содержащей частиц, при исследовании счетно-фотометрическим методом (на основе принципа светоблокировки) составляют:
- 10 частиц размером не менее 10 мкм и
- 2 частицы размером не менее 25 мкм.
Если содержание частиц находится в указанных пределах, то продолжают подготовку образца.
Если содержание частиц превышает установленные значения, повторяют фильтрацию и измерение до тех пор, пока вода, не содержащая частиц, не станет соответствовать установленным требования (см.
D.2.3.2 -
D.2.3.5).
D.2.3.7 Заполняют шприцы номинальным объемом воды, не содержащей частиц, и закрывают чистыми уплотнителями поршня.
D.2.3.8 Переворачивают шприцы 20 раз.
Примечание - Может потребоваться более энергичное перемешивание раствора для надлежащего суспендирования частиц.
D.2.3.9 Снимают колпачок наконечника/защитный колпачок иглы и переносят содержимое шприцев в чистый контейнер (получают испытуемый образец), вдавив до упора шток поршня.
D.2.3.10 Позволяют раствору отстояться не менее 2 мин для удаления пузырьков воздуха из образца.
D.2.3.11 Определяют содержание механических включений в испытуемом образце (в пересчете на один шприц), но результаты первого измерения не учитывают, так как оно используется только для очистки измерительной системы.
Предельные значения содержания невидимых механических включений в испытуемом образце в пересчете на один шприц при определении счетно-фотометрическим методом составляют:
- 600 частиц размером 10 мкм и более и
- 60 частиц размером 25 мкм и более.
Примечание - Для выполнения четырех последовательных испытаний с исследуемой пробой объемом 5 мл требуется объединенный исследуемый образец объемом не менее 25 мл. Результаты первого испытания всегда отбрасывают. Среднее значение вычисляют по результатам трех последующих испытаний. В зависимости от номинального объема шприца на проведение испытаний требуется следующее количество шприцев:
- 25 шприцев объемом 1 мл;
- 13 шприцев объемом 2 мл;
- 12 шприцев объемом 2,25 мл;
- 9 шприцев объемом 3 мл;
- 5 шприцев объемом 5 мл.
Для предотвращения попадания пузырьков воздуха в измерительное устройство рекомендуется в объединенный испытуемый образец прибавить дополнительно 5 мл воды, не содержащей механических включений (суммарный объем образца составит 30 мл).
В зависимости от размера серии шприцев может потребоваться несколько объединенных образцов.
Число частиц в каждой емкости с образцом вычисляют по формуле

(D.2)
где P - среднее количество частиц, полученных в одном испытании;
Vt - общий (суммарный) объем образца, мл;
Va - номинальный объем испытуемого образца, мл;
n - число шприцев, номинального объема Va, использованных для получения объединенного испытуемого образца при проведении испытания.
(справочное)
МЕТОД ИСПЫТАНИЯ СИЛЫ ТРЕНИЯ СКОЛЬЖЕНИЯ ДЛЯ ОЦЕНКИ
СМАЗКИ ШПРИЦА
E.1 Назначение метода
Данный метод испытания используют для измерения силы трения скольжения пустых цилиндров шприцев, чтобы оценить качество и консистенцию смазки силиконовым маслом внутренней поверхности цилиндра шприца. Возможность оценки качества и консистенции смазки силиконовым маслом может зависеть от используемой скорости испытания.
Примечание - Как правило, используют скорость испытания, равную 100 мм/мин (аналогично
ГОСТ ISO 7886-1); однако этого может быть недостаточно для обнаружения дефектов смазки. Скорость испытания подлежит согласованию между производителем и потребителем.
Данный метод испытания применим к любым силиконизированным стерилизованным готовым к наполнению шприцам.
Определение усилия, требуемого для движения поршня, не входит в данное испытание, поскольку усилие прикладывается к шприцу (всей системе полностью).
E.2 Материалы
E.2.1 Пустые стерилизованным готовые к наполнению шприцы, количество в соответствии с установленными требованиями.
E.2.2 Уплотнители поршня (поршни)
Готовые к использованию уплотнители поршня (поршни), характеристики которых подлежат согласованию между производителем и потребителем (размеры, состав, уровень силиконизации, стерилизация).
E.2.3 Штоки поршней
Штоки поршней, пригодные для использования с выбранными уплотнителями, подлежат согласованию между производителем и потребителем.
E.3 Оборудование
E.3.1 Универсальная машина для испытаний на растяжение и сжатие
Универсальная машина для испытаний на растяжение и сжатие, соответствующая следующим требованиям:
- скорость испытания 100 мм/мин или в зависимости от требований;
- диапазон прикладываемого усилия до 50 Н или в зависимости от требований.
Примечание - Значения скорости при испытании и диапазона усилия подлежат согласованию между производителем и потребителем.
E.3.2 Держатель шприца и пластины-адаптеры шприца
Держатель шприца и пластины-адаптеры для шприца, соответствующие размеру испытуемых стерилизованных готовых к наполнению шприцев.
E.3.3 Инструмент или машина для укупорки (вставки) поршней (уплотнителей поршней) механическим методом (с помощью усадочной трубки).
E.4 Проведение испытания
E.4.1 Устанавливают уплотнитель (поршень) в пустой цилиндр шприца, используя механический метод. Положение устанавливаемого поршня выбирают с учетом следующих моментов:
- для оценки передней части шприца (важная область для работы автоматического инъектора): выбирают положение, соответствующее 50% номинального объема шприца (например, 27 мм от упора для пальцев до конца поршня шприца объемом 1 мл);
- для оценки всего цилиндра (выбирают положение, соответствующее номинальному объему, например, 10 мм от упора для пальцев до конца поршня шприца объемом 1 мл).
E.4.2 Устанавливают шток поршня в/или на уплотнитель.
Примечание - Шток поршня может быть с резьбой или без нее.
E.4.3 Снимают защитный колпачок иглы или другое укупорочное средство для наконечника стерилизованного готового к наполнению шприца.
E.4.4 Закрепляют стерилизованный готовый к наполнению шприц в пластине-адаптере на приборе для измерения прилагаемого усилия.
E.4.5 Начинают сжатие с установленной скоростью.
E.4.6 Заканчивают испытание, когда уплотнитель поршня соприкасается с плечиком цилиндра шприца.
E.4.7 Повторяют этапы
E.4.1 -
E.4.6 для всех испытуемых шприцев.
E.4.8 Регистрируют максимальное значение приложенного усилия в области испытания на силу трения скольжения (см.
b на
рисунке E.1). Область испытания на силу трения скольжения определяется как область приложенного усилия для начала движения до резкого увеличения силы в конце хода поршня (см.
рисунок E.1).
1 - начало движения уплотнителя; 2 - конец испытания;
F - усилие в ньютонах; l - расстояние в миллиметрах;
a - область начала движения; b - область испытания на силу
трения скольжения; c - конец хода поршня
Рисунок E.1 - Пример, показывающий характеристики скольжения
Допустимые значения усилия подлежат согласованию между производителем и потребителем.
E.5 Протокол испытаний
Протокол испытаний должен содержать:
- максимальное значение усилия в области испытания силы трения скольжения (b), Н;
- вычисленное значение средней силы трения скольжения, Н;
- число испытанных образцов;
- любые отклонения или наблюдения.
(справочное)
ИСПЫТАНИЕ НА ПРОНИКНОВЕНИЕ ИГЛЫ
F.1 Принцип метода
Данный метод используют для определения прилагаемого усилия для проникновения иглы при проколе испытуемой пленки. Испытание представлено в
[40].
F.2 Оборудование
F.2.1 Универсальная машина для испытаний на растяжение и сжатие
Универсальная машина для испытаний на растяжение и сжатие, соответствующая следующим требованиям:
- диапазон измерения усилия до 50 Н или в соответствии с установленными требованиями;
- скорость испытания от 20 до 200 мм/мин или в соответствии с установленными требованиями.
Примечание - Диапазон измерения и скорость испытания подлежат согласованию между производителем и потребителем.
F.2.2 Держатель иглы.
F.3 Материалы
F.3.1 Пленка для испытаний
Технические требования к пленке для испытаний подлежат согласованию между производителем и потребителем.
F.3.2 Иглы и шприцы, поставляемые с несъемной иглой или в комплекте с предварительно обработанной, то есть с силиконизированной иглой (в соответствии с
ГОСТ Р ИСО 9626). Количество зависит от установленных требований и должно быть согласовано между производителем и потребителем.
F.4 Проведение испытания
F.4.1 Закрепляют в держателе пленку для испытаний без натяжения.
F.4.2 Закрепляют иглу в держателе иглы, перпендикулярно к пленке для испытаний и острием к геометрическому центру свободного участка пленки для испытаний.
F.4.3 Начинают испытание и прокалывают пленку для испытаний иглой.
F.4.4 Записывают кривую зависимости значения прилагаемого усилия от стадии движения иглы.
F.4.5 Используют новый образец пленки (неперфорированный) для каждого испытания на усилие прокола иглой.
Примеры изменения характеристик усилия для проникновения и зависимости прилагаемого усилия от стадии движения иглы приведены на
рисунках F.1 и
F.2.
| 1 Острие иглы соприкасается с испытуемой пленкой | |
| 2 Острие иглы надавливает на пленку, усилие увеличивается до F0 | |
| 3 Острие иглы прокалывает пленку, начинается стадия разрезания | |
| 4 Режущие кромки острия иглы выполняют разрез | |
| 5 Разрез завершается с максимальным усилием F1 | |
| 6 Расширение разреза первичным срезом острия иглы | |
| 7 Концевой срез острия иглы проходит пленку, максимальное усилие F2 | |
| 8 Трубка иглы скользит через увеличенный разрез | |
Рисунок F.1 - Стадии движения иглы при проникновении
F0 - усилие проникновения острия иглы (сила прокалывания);
F1 - усилие разрезания режущими кромками (сила резания);
F2 - усилие, когда концевой срез острия иглы проходит
пленку; F3 - усилие при сопротивлении продолжению движения
Примечание - Приведенный пример является частным случаем. Эта кривая не может быть типичной для всех игл и пленок для испытания.
Рисунок F.2 - Пример кривой зависимости усилия от стадии
движения иглы
F.5 Протокол испытаний
Протокол испытаний должен содержать:
- технические характеристики пленки для испытаний (спецификацию);
- скорость испытания, мм/мин;
- график зависимости величины усилия от этапа движения иглы;
- число испытанных образцов;
- любые отклонения или наблюдения.
(обязательное)
МЕТОДЫ ИСПЫТАНИЙ УКУПОРОЧНЫХ СИСТЕМ
G.
1 Прочность соединения иглы и шприца
G.1.1 Принцип метода
Испытание используют для оценки крепления иглы к шприцу.
Главным образом оно предназначено для проверки процесса крепления иглы, чтобы показать, что крепление несъемной иглы выдерживает значение силы, прикладываемой к игле и наконечнику в направлении их разъединения (минимальное усилие, Н), зависящее от диаметра иглы по
ГОСТ ISO 7864.
G.1.2 Материалы
G.1.2.1 Стерилизованные готовые к наполнению шприцы с несъемными иглами, количество в соответствии с установленными требованиями.
G.1.3 Оборудование
G.1.3.1 Универсальная машина для испытаний на растяжение и сжатие, соответствующая следующим требованиям:
- датчик силы 500 Н (или в зависимости от измеряемой силы);
- скорость перемещения активного захвата (траверсы) - 50 мм/мин (или в зависимости от требований);
- частота датчика не менее 65 Гц.
Примечание - Требования к датчику силы, скорости при испытании и частоте датчика подлежат согласованию между производителем и потребителем.
G.1.3.2 Держатель шприца
Шприц во время испытаний может быть зафиксирован плечиком или упором для пальцев.
G.1.3.3 Адаптер-захват иглы
Захват иглы, предназначенный для предотвращения соскальзывания и исключения постороннего влияния на результаты измерений.
G.1.4 Подготовка и хранение испытуемых образцов
Испытуемые образцы должны быть произведены с помощью таких же процедур, что и поставляемый продукт.
G.1.5 Проведение испытания
G.1.5.1 Помещают испытуемый образец в вертикальном положении в прибор для испытаний (см.
рисунок G.1).
1 - захват иглы, присоединенный к прибору для испытаний;
2 - шприц с несъемной иглой; 3 - держатель шприца/опорная
плита
Рисунок G.1 - Расположение испытуемого образца в приборе
для испытаний на растяжение
G.1.5.2 Располагают в захвате по возможности большую часть иглы для предотвращения скольжения.
G.1.5.3 Фиксируют испытуемый образец в свободном положении.
G.1.5.4 Устанавливают датчик силы в положение "ноль". Следует обратить внимание, что при установке в положение "ноль" к шприцу не прилагают никакой предварительной нагрузки.
G.1.5.5 Применяют скорость перемещения 50 мм/мин или в зависимости от установленных требований, с соответствующей частотой регулирования усилия, Гц.
G.1.5.6 Начинают испытание.
G.1.5.7 Регистрируют зависимость величины усилия от расстояния перемещения активного захвата.
G.1.5.8 Останавливают испытание, когда игла выдергивается из шприца или ломается.
G.1.6 Представление результатов
Регистрируют максимальное значение усилия на кривой его зависимости от расстояния перемещения активного захвата. Это соответствует усилию, необходимому для разрушения соединения иглы со шприцом.
G.1.7 Протокол испытаний
Протокол испытаний должен содержать:
- скорость перемещения активного захвата, мм/мин;
- частоту датчика, Гц;
- график зависимости усилия от достигнутого расстояния перемещения активного захвата;
- пиковое значение, соответствующее максимальному усилию, Н;
- число испытанных образцов;
- любые отклонения или наблюдения.
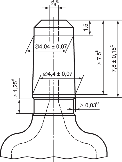
G.2 Испытание герметичности укупорочной системы
G.2.1 Принцип метода
Испытание используют для оценки пригодности укупорочных систем (колпачок иглы или колпачок наконечника/цилиндра в сборе) предупреждать протечку жидкости.
Испытание основано на подтверждении способности укупорочной системы выдерживать повышенное давление внутри шприца при наполнении или транспортировании.
Испытательное давление, равное 110 кПа, было выбрано на основе условий процесса в ходе финишного наполнения шприца.
G.2.2 Реактивы и материалы
G.2.2.1 Реактивы квалификации ч.д.а. и дистиллированная вода или вода эквивалентной чистоты.
G.2.2.2 Стерилизованные готовые к наполнению шприцы, количество в соответствии с установленными требованиями.
G.2.3 Оборудование
G.2.3.1 Универсальная машина для испытаний на растяжение и сжатие или на герметичность с помощью сжатого воздуха.
Примечание - Применение давления с использованием универсальной машины на растяжение и сжатие [см.
рисунок G.2 a)] предпочтительно, когда трением о стенки можно пренебречь. В этом случае предполагают, что достигается равновесие между приложенным усилием и внутренним давлением. Если трением о стенки пренебречь нельзя, то предпочтительно проводить испытание, как показано на
рисунке G.2 b), когда усилие прикладывается к укупорочной системе посредством приложения сжатого воздуха на содержимое шприца.
1 - держатель шприца; 2 - шприц с упаковочной системой;
3 - шток поршня и поршень
Примечание - На рисунке приведен пример шприца с защитным колпачком иглы. Испытание аналогичным образом применимо к шприцам с колпачком наконечника.
Рисунок G.2 - Примеры испытательного оборудования для оценки
герметичности укупорочной системы
G.2.3.2 Держатель шприца.
G.2.3.3 Поршень и шток поршня шприца.
G.2.4 Подготовка и обеспечение сохранности испытуемых образцов
Период хранения/ожидания от установки укупорочного средства до проведения испытания на герметичность должен составлять не менее 12 ч. Необходимо обратить внимание на то, чтобы не повредить и/или не ослабить систему укупорки/колпачок шприца.
G.2.5 Проведение испытания
G.2.5.1 Вставляют испытуемый образец в держатель (см.
рисунок G.2).
G.2.5.2 Заполняют испытуемый образец реактивом от 1/3 до 2/3 номинального объема (см.
G.2.2.1).
G.2.5.3 В случае подачи воздуха непосредственно в шприц закрывают держатель крышкой и закрепляют устройство.
G.2.5.4 Прикладывают давление в 110 кПа и удерживают его в течение 5 с.
Соотношение между приложенным усилием
F (Н) и площадью поперечного сечения шприца, определяемое номинальным внутренним диаметром шприца, может быть вычислено по следующим формулам (см. также
таблицу G.1):
F = p·A, (G.1)

(G.2)

(G.3)
где p - заданное значение внутреннего давления кПа (а именно 110 кПа);
A - площадь поперечного сечения цилиндра шприца, мм2;
d - номинальное значение внутреннего диаметра цилиндра шприца, мм.
Таблица G.1
Соотношение между внутренним диаметром цилиндра шприца
и прилагаемым усилием
Номинальный объем цилиндра шприца, мл | Номинальное значение внутреннего диаметра цилиндра шприца, мм | Вычисленное значение приложенного усилия <a>, Н |
0,5 | 4,65 | 1,87 |
1 | 6,35 | 3,48 |
Свыше 1 до 3 (короткий/стандартный) | 8,65 | 6,46 |
5 | 11,85 | 12,13 |
10 | 14,25 | 17,54 |
20 | 19,05 | 31,35 |
<a> Вычислено для заданного внутреннего давления 110 кПа. |
G.2.5.5 Снижают давление.
G.2.5.6 Проверяют испытуемые образцы на утечку во время и после окончания испытания.
G.2.6 Представление результатов испытаний
Испытание считают удовлетворительным, если колпачки наконечника остались на месте и/или если отсутствуют капли на внешней поверхности укупорочной системы (влажная поверхность колпачка наконечника или защитного колпачка иглы).
Результаты испытания получают путем визуальной оценки.
G.2.7 Протокол испытаний
Протокол испытаний должен содержать:
- применяемое давление, кПа, или усилие, Н;
- число испытанных образцов;
- число выдержавших/не выдержавших испытание образцов, в соответствии с техническими требованиями;
- любые отклонения или наблюдения.
G.3 Прочность соединительной системы с винтовым переходником "Луер Лок"
G.3.1 Принцип метода
Испытание используют для оценки величины усилия, необходимого для отрыва соединительной системы с переходником "Луер Лок" (LLA), прикрепленной к стерилизованному готовому к наполнению шприцу.
Главным образом оно предназначено для проверки способности винтового соединения LLA выдерживать прилагаемое осевое усилие по разъединению винтового соединения LLA и цилиндра шприца при установке на него охватывающих винтовых конических 6%-ных наконечников "Луер Лок".
G.3.2 Материалы
G.3.2.1 Стерилизованные готовые к наполнению шприцы с системой LLA, количество в соответствии с требованиями.
G.3.3 Оборудование
G.3.3.1 Универсальная машина для испытаний на растяжение и сжатие, удовлетворяющая следующим требованиям:
- скорость перемещения активного захвата 20 мм/мин или в соответствии с установленными требованиями (см.
[3]);
- датчик силы, соответствующий измеряемому усилию, типичный диапазон датчика от 10 до 100 Н;
- частота датчика не менее 65 Гц.
Примечание - Диапазон определения датчика силы, скорости перемещения и частота отсчета подлежат согласованию между производителем и потребителем.
1 - пластина/зажим захвата LLA; 2 - шприц с LLA/системами
LLA; 3 - держатель шприца/опорная плита
Рисунок G.3 - Пример испытательного оборудования
для определения прочности соединительной системы с винтовым
переходником "Луер Лок"
G.3.4 Подготовка и хранение испытуемых образцов
Испытуемые образцы должны быть произведены с помощью таких же процедур, что и поставляемый продукт.
G.3.5 Проведение испытания
G.3.5.1 Удаляют колпачок наконечника.
G.3.5.2 Вставляют испытуемый образец вертикально в испытательное оборудование между держателем шприца (упор для пальцев) и захватом (винтовое соединения LLA).
G.3.5.3 Следует убедиться, что во время установки шприца к винтовому соединению LLA не прикладывают никакого усилия/смещения.
G.3.5.4 Фиксируют испытуемый образец в свободном положении.
G.3.5.5 Устанавливают датчик силы в положение "ноль". Следует убедиться, что при установке в положение "ноль" к шприцу не прилагают никакой значимой предварительной нагрузки.
G.3.5.6 Применяют скорость перемещения активного захвата, равную 20 мм/мин, или в соответствии с установленными требованиями, с соответствующей частотой фиксации данных.
G.3.5.7 Регистрируют значение усилия в зависимости от достигнутого смещения (пройденной дистанции).
G.3.5.8 Прекращают испытание, когда винтовое соединение LLA визуально разъединилось с наконечником шприца.
G.3.6 Представление результатов
Определяют пиковую нагрузку по кривой зависимости усилия от достигнутого расстояния перемещения активного захвата. Пиковое значение соответствует усилию, необходимому для разъединения винтового соединения LLA и шприца.
G.3.7 Протокол испытаний
Протокол испытаний должен содержать:
- частоту датчика, Гц;
- скорость перемещения активного захвата, мм/мин;
- пиковое значение (силу отрыва), Н;
- число испытанных образцов;
- число выдержавших/не выдержавших испытание образцов, в соответствии с техническими требованиями;
- любые отклонения или наблюдения.
G.4 Сопротивление крутящему моменту переходника "Луер Лок"
G.4.1 Принцип метода
Испытание используют для оценки сопротивления крутящему моменту винтового соединения LLA стерилизованного готового к наполнению шприца.
Оно предназначено для проверки способности винтового соединения LLA выдерживать прилагаемый крутящий момент при навинчивании 6%-ного конического соединения "Луер" (головки иглы).
G.4.2 Материалы
G.4.2.1 Стерилизованные готовые к наполнению шприцы с LLA, количество в соответствии с установленными требованиями.
G.4.3 Оборудование
G.4.3.1 Машина для измерения крутящего момента в сочетании с вращающим устройством (см.
рисунок G.4), соответствующие следующим требованиям:
- датчик крутящего момента 35 Н·см с разрешающей способностью 0,05 Н·см или в зависимости от измеряемого крутящего момента;
- частота датчика не менее 65 Гц;
- скорость вращения 20 об/мин или в соответствии с установленными требованиями.
Примечания
1 Разрешающая способность датчика крутящего момента, частота датчика и скорость вращения при испытании подлежат согласованию между производителем и потребителем.
2 При проведении испытания может вращаться цилиндр шприца или винтовое соединение.
1 - захват для LLA с датчиком крутящего момента; 2 - шприц
с LLA; 3 - держатель шприца/опорная плита (вращающаяся)
Примечание - При проведении испытаний может вращаться цилиндр шприца или укупорочное средство.
Рисунок G.4 - Пример испытательного оборудования
для определения сопротивления крутящему моменту винтового
соединения "Луер Лок" с вращающимся держателем шприца
G.4.3.2 Адаптер: захват LLA.
G.4.3.3 Держатель шприца (вращающийся, при выборе этой альтернативы).
G.4.4 Подготовка и хранение испытуемых образцов
Испытуемые образцы должны быть произведены с помощью таких же процедур, что и поставляемый продукт.
G.4.5 Проведение испытания
G.4.5.1 Испытуемый образец располагают вертикально в держателе шприца испытательного оборудования (см.
рисунок G.4).
G.4.5.2 Снимают колпачок наконечника.
Примечание - Это может быть выполнено вручную.
G.4.5.3 Устанавливают LLA в захват.
G.4.5.4 Задают датчику крутящего момента значение "ноль". Следует обратить внимание, чтобы никакого предварительного крутящего момента к шприцу не прикладывалось.
G.4.5.5 Устанавливают скорость вращения 20 об/мин или в зависимости от требований.
G.4.5.6 Начинают испытание с поворота опорной плиты на 90° по часовой или против часовой стрелки, в зависимости от системы. При альтернативном способе поворачивают винтовое соединение.
G.4.5.7 Регистрируют максимальное (пиковое) значение приложенного крутящего момента.
G.4.6 Представление результатов испытаний
Регистрируют максимальное значение крутящего момента. Оно соответствует крутящему моменту, при котором винтовое соединение LLA начинает вращаться на шприце.
G.4.7 Протокол испытаний
Протокол испытаний должен содержать:
- скорость вращения, град/с или об/мин;
- частоту датчика, Гц;
- максимальное значение крутящего момента, Н·см;
- число испытанных образцов;
- число выдержавших/не выдержавших испытание образцов, в соответствии с техническими требованиями;
- любые отклонения или наблюдения.
G.5 Крутящий момент для удаления жесткого колпачка наконечника с винтовым соединением "Луер Лок"
G.5.1 Принцип метода
Испытание используется для определения крутящего момента жесткого колпачка наконечника стерилизованного готового для наполнения шприца.
Главным образом оно предназначено для проверки возможности снять жесткий колпачок наконечника со шприца с приложением приемлемого крутящего момента.
G.5.2 Материалы
G.5.2.1 Стерилизованные готовые к наполнению шприцы, с колпачком наконечника, количество в соответствии с установленными требованиями.
G.5.3 Оборудование
G.5.3.1 Прибор для измерения крутящего момента в комбинации с вращающим устройством, соответствующий следующим требованиям:
- датчик крутящего момента 35 Н·см с разрешающей способностью 0,05 Н·см или в зависимости от значения измеряемого крутящего момента;
- частота датчика не менее 65 Гц;
- скорость вращения 20 об/мин или в соответствии с установленными требованиями.
Примечания
1 Характеристики датчика крутящего момента, частота датчика и скорость вращения подлежат согласованию между производителем и потребителем.
2 При проведении испытаний может вращаться цилиндр шприца или винтовое соединение.
G.5.3.2 Адаптер: захват колпачка наконечника.
G.5.3.3 Держатель шприца (вращающийся, при выборе этого варианта).
G.5.4 Подготовка и хранение испытуемых образцов
Испытуемые образцы должны быть произведены с помощью таких же процедур, что и поставляемый продукт.
G.5.5 Проведение испытания
G.5.5.1 Испытуемый образец устанавливают вертикально в держателе шприца устройства для испытаний (см.
рисунок G.5).
1 - захват с датчиком крутящего момента; 2 - шприц
с колпачком наконечника; 3 - держатель шприца/опорная плита
(поворотная)
Примечание - При проведении испытаний может вращаться цилиндр шприца или колпачок наконечника.
Рисунок G.5 - Пример испытательного оборудования
для определения момента отвинчивания жесткого колпачка
наконечника с винтовым соединением "Луер Лок"
G.5.5.2 Устанавливают зажимы захвата на колпачок наконечника.
G.5.5.3 Устанавливают значение крутящего момента "ноль". Следует убедиться, что никакого предварительного крутящего момента в момент установки образца не прикладывалось.
G.5.5.4 Устанавливают скорость вращения 20 об/мин или в зависимости от установленных требований.
G.5.5.5 Начинают испытание с поворота опорной плиты на 90° по часовой или против часовой стрелки, в зависимости от используемой системы. В качестве альтернативного варианта вращают колпачок наконечника.
G.5.5.6 Регистрируют максимальное (пиковое) значение приложенного крутящего момента.
G.5.6 Представление результатов испытаний
Регистрируют максимальное значение крутящего момента. Оно соответствует крутящему моменту, при котором колпачок наконечника начинает вращаться на шприце.
G.5.7 Протокол испытаний
Протокол испытаний должен содержать:
- скорость вращения, град/с или об/мин;
- частоту датчика, Гц;
- максимальное значение крутящего момента, Н·см;
- число испытанных образцов;
- число выдержавших/не выдержавших испытание образцов, в соответствии с техническими требованиями;
- любые отклонения или наблюдения.
G.6 Усилие, необходимое для снятия колпачка наконечника или колпачка иглы
G.6.1.1 Принцип метода
Испытание используют для оценки усилия для снятия колпачка наконечника или колпачка иглы стерилизованного готового к наполнению шприца.
Выбор данного метода зависит от предполагаемого использования шприца (например, для ручного использования или в автоматическом инжекторе). Альтернативная процедура приведена в
G.6.2.
G.6.1.2 Материалы
G.6.1.2.1 Стерилизованные готовые к наполнению шприцы, количество в соответствии с установленными требованиями.
G.6.1.3 Оборудование
G.6.1.3.1 Универсальная машина для испытаний на растяжение и сжатие, соответствующая следующим требованиям:
- датчик силы от 50 до 100 Н, соответствующий измеряемой силе;
- частота датчика не менее 40 Гц;
- скорость перемещения активного захвата от 100 до 1000 мм/мин, в зависимости от установленных требований.
Примечание - Характеристики датчика усилия, частоты датчика и скорость перемещения при испытании подлежат согласованию между производителем и потребителем.
G.6.1.3.2 Держатель шприца.
G.6.1.3.3 Захват колпачка наконечника/защитного колпачка иглы.
G.6.1.4 Проведение испытания
G.6.1.4.1 Испытуемый образец располагают вертикально, укупорочным средством вверх, см.
рисунок G.6.
1 - захват, соединенный с машиной для испытаний
на растяжение; 2 - шприц с защитным колпачком иглы/колпачком
наконечника; 3 - держатель шприца/опорная плита
Рисунок G.6 - Примеры испытательного оборудования
для определения усилия для снятия колпачка наконечника или
защитного колпачка иглы (метод 1)
G.6.1.4.2 Закрепляют в захвате укупорочное средство таким образом, чтобы зажимы не скользили по укупорочному средству и не деформировали его.
G.6.1.4.3 Устанавливают датчик силы в положение "ноль" при свободном положении шприца.
G.6.1.4.4 Располагают держатель шприца таким образом, чтобы шприц удерживался держателем при приложении осевой силы растяжения.
G.6.1.4.5 Используют частоту датчика не менее 40 Гц.
G.6.1.4.6 Устанавливают скорость перемещения активного захвата в диапазоне от 100 до 1000 мм/мин или в соответствии с установленными требованиями.
G.6.1.4.7 Регистрируют зависимость значения прилагаемого усилия от достигнутого расстояния перемещения активного захвата.
G.6.1.4.8 Останавливают испытание после полного снятия укупорочной системы с наконечника шприца.
G.6.1.5 Представление результатов
Усилие, необходимое для снятия укупорочной системы (колпачок наконечника/колпачок иглы) соответствует максимальному приложенному усилию, зарегистрированному на графике.
G.6.1.6 Протокол испытаний
Протокол испытаний должен содержать:
- частоту датчика, Гц;
- скорость перемещения активного захвата, мм/мин;
- значение датчика силы, Н;
- максимальное значение усилия, зарегистрированное на кривой зависимости усилия от достигнутого расстояния перемещения активного захвата смещения, Н;
- число испытанных образцов;
- любые отклонения или наблюдения.
G.6.2.1 Принцип метода
Испытание используют для оценки усилия для снятия колпачка наконечника или колпачка иглы стерилизованного готового к наполнению шприца.
Это испытание позволяет оценить усилие снятия без сдавливания колпачка иглы и/или иглы, что предотвращает деформацию резиновой части.
Альтернативное испытание приведено в
G.6.1.
G.6.2.2 Материалы
G.6.2.2.1 Стерилизованные готовые к наполнению шприцы, количество в соответствии с установленными требованиями.
G.6.2.3 Оборудование
G.6.2.3.1 Универсальная машина для испытаний на растяжение и сжатие, соответствующая следующим требованиям:
- диапазон датчика усилия до 500 Н;
- частота датчика в соответствии с установленными требованиями;
- скорость перемещения устройства растяжения (траверсы) в соответствии с установленными требованиями.
Примечание - Характеристики датчика силы, частоты датчика и скорости перемещения подлежат согласованию между производителем и потребителем.
1 - устройство растяжения, соединенное с машиной
для испытаний на растяжение; 2 - шприц с колпачком
иглы/колпачком наконечника; 3 - держатель шприца/опорная
плита
Рисунок G.7 - Примеры испытательного оборудования
для определения усилия снятия колпачка наконечника или
колпачка иглы (метод 2)
G.6.2.4 Проведение испытания
G.6.2.4.1 Испытуемый образец располагают вертикально, упор для пальцев шприца и колпачок наконечника или колпачок иглы закрепляют в соответствующих держателях.
G.6.2.4.2 Фиксируют испытуемый образец в свободном положении.
G.6.2.4.3 Устанавливают датчик силы в положение "ноль". Следует убедиться, что при установке в положение "ноль" к шприцу не прилагают никакой значимой предварительной нагрузки.
G.6.2.4.4 Начинают испытание.
G.6.2.4.5 Регистрируют зависимость величины усилия от достигнутого расстояния перемещения устройства растяжения (траверсы).
G.6.2.4.6 Останавливают испытание после снятия колпачка с наконечника шприца.
G.6.2.5 Протокол испытаний
Протокол испытаний должен содержать:
- значение датчика силы, Н;
- скорость перемещения, мм/мин;
- частоту датчика, Гц;
- среднее, минимальное и максимальное значения, зарегистрированные на кривой зависимости усилия от расстояния перемещения устройства растяжения, Н;
- число испытуемых образцов;
- любые отклонения или наблюдения.
(справочное)
ИСПЫТАНИЕ НА ГЕРМЕТИЧНОСТЬ РАСТВОРОМ КРАСИТЕЛЯ
H.1 Общие положения
Стерилизованные готовые к наполнению лекарственным препаратов шприцы состоят из цилиндра шприца с коническим наконечником "Луер" или несъемной иглой на стороне, обращенной к пациенту (наконечник), обычно укупоренные колпачком наконечника в случае шприца "Луер" или колпачком иглы в случае шприца с несъемной иглой.
Другой конец шприца (со стороны упора для пальцев) укупоривают поршнем (с уплотнителем поршня), который обеспечивает доставку лекарственного препарата путем выдавливания жидкости с помощью штока поршня. Колпачок наконечника или колпачок иглы с одной стороны и уплотнитель поршня с другой стороны обеспечивают соответствующую герметизацию шприца. Испытание на герметичность укупорки (непроницаемость) раствором красителя является очень информативным методом проверки герметичности стерилизованного готового к наполнению шприца на этапе разработки конструкции.
Только одного этого испытания недостаточно, чтобы гарантировать герметичность упаковочной системы. Потребитель несет ответственность за проведение надлежащей валидации подходящего физического, химического или микробиологического метода проверки герметичности упаковочной системы, чтобы обосновать выбор укупорочной системы (включая наполняемый лекарственный препарат).
H.2 Принцип метода
Предварительно собранные шприцы, заполненные жидкостью и укупоренные уплотнителем поршня, погружают в окрашенный раствор. После создания условий для разгерметизации/повторной герметизации укупорки их осматривают на наличие утечки, что показывает попадание раствора красителя в шприц.
H.3 Оборудование, материалы и реактивы
H.3.1 Цилиндры шприцев по настоящему стандарту, предпочтительно произведенные с помощью таких же процедур, что и коммерческий продукт.
H.3.2 Колпачки наконечников, защитные колпачки для игл или любые другие укупорочные средства для наконечника, соответствующие отверстию наконечника шприца, предпочтительно произведенные с помощью таких же процедур, что и коммерческий продукт.
H.3.3 Уплотнители поршня по
ГОСТ Р 59747.5, соответствующие внутреннему диаметру шприца, предпочтительно произведенные с помощью таких же процедур, что и коммерческий продукт.
H.3.4 Вода, не содержащая частиц, для наполнения шприцев.
H.3.5 Соответствующий раствор красителя, содержащий красящее вещество и, возможно, поверхностно-активное вещество.
Примечание - Подходящими красящими веществами являются метиленовый синий, родамин B и флуоресцеин; допустимыми поверхностно-активными веществами - полиоксиэтилированный неионогенный детергент (Triton X-100) и полисорбат-80 (Tween 80)
<1>.
--------------------------------
<1> Triton X-100 и Tween 80 являются примерами подходящих продуктов, имеющихся в продаже. Данная информация предоставляется для удобства пользователей настоящего стандарта и не является рекламой этих продуктов ИСО.
Раствор красителя следует профильтровать через фильтр (диаметр пор не более 1 мкм) и хранить до использования в чистой, не содержащей частиц, емкости.
H.3.6 Вакуумная камера, обеспечивающая поддержание давления не менее чем на 270 мбар (202,52 мм рт. ст.) ниже давления окружающей среды в течение 30 мин.
H.3.7 Игла(ы) для инъекций размером 27G x 0,5 дюйма.
Примечание - Шкала Гэйдж (Gauge, сокращение G) обычно используется для обозначения наружного диаметра игл. 27G x 0,5 дюйма соответствует наружному диаметру иглы 0,4 мм и обозначению 0,4 x 13 мм по ГОСТ ISO 7864.
H.4 Подготовка и хранение испытуемых и контрольных образцов
H.4.1 Заполняют шприцы до номинального объема водой, не содержащей частиц.
H.4.2 Устанавливают уплотнитель поршня, оставляя воздушный зазор от 2 до 5 мм, предпочтительно используют стандартный метод установки поршня, который будет использоваться в технологическом процессе наполнения шприца лекарственным препаратом (механическим способом с помощью усадочной трубки или под вакуумом).
Примечание - Данный метод может не работать без пузырька воздуха.
H.4.3 Отбраковывают все шприцы с жидкостью за пределами или между ребрами поршня.
H.4.4 Создают один или несколько образцов положительного контроля протекания, путем обеспечения доступа окрашенной жидкости к содержимому шприца (например, поместив иглу для инъекций или аналогичное устройство между наконечником шприца и соответствующим укупорочным средством, или при наличии колпачка иглы, сняв его).
H.4.5 Сохраняют один шприц в качестве эталонного образца для сравнения (его не погружают в окрашенный раствор).
H.5 Проведение испытания
H.5.1 Заполняют вакуумную камеру или соответствующую емкость окрашенным раствором до уровня, при котором все испытуемые шприцы могут быть полностью погружены в раствор.
H.5.2 Погружают шприцы в окрашенный раствор. Проверяют, чтобы шприцы были полностью погружены. Снижают давление на 270 мбар (202,52 мм рт. ст.). Поддерживают давление в течение 30 мин, а затем восстанавливают до давления окружающей среды. Оставляют шприцы погруженными в окрашенный раствор дополнительно на 30 мин, затем аккуратно извлекают их из раствора, ополаскивают шприцы водой до полного удаления окрашенного раствора с поверхности и высушивают их.
H.5.3 Визуально осматривают содержимое шприцев на наличие любых следов окрашенного раствора. Сравнивают испытуемые шприцы с образцами положительного контроля и эталонными образцами. Образцы положительного контроля должны демонстрировать присутствие красителя в содержимом шприцев.
Для оценки окрашенности содержимого шприца также может быть использована спектрофотометрия.
H.6 Протокол испытаний
Протокол испытаний должен содержать следующую информацию:
- изменение цвета образца положительного контроля;
- отсутствие изменения цвета в эталонном образце;
- число шприцев, в которых было выявлено окрашивание содержимого, и, соответственно, утечки (отсутствие герметичности);
- любые отклонения или наблюдения.
(справочное)
СВЕДЕНИЯ О СООТВЕТСТВИИ ССЫЛОЧНЫХ НАЦИОНАЛЬНЫХ
И МЕЖГОСУДАРСТВЕННЫХ СТАНДАРТОВ МЕЖДУНАРОДНЫМ СТАНДАРТАМ,
ИСПОЛЬЗОВАННЫМ В КАЧЕСТВЕ ССЫЛОЧНЫХ В ПРИМЕНЕННОМ
МЕЖДУНАРОДНОМ СТАНДАРТЕ
Таблица ДА.1
Обозначение ссылочного национального и межгосударственного стандарта | Степень соответствия | Обозначение и наименование ссылочного международного стандарта |
| IDT | ISO 7864:1993 "Иглы стерильные для подкожных инъекций одноразового применения" |
| IDT | ISO 7886-1:1993 "Шприцы инъекционные однократного применения стерильные. Часть 1. Шприцы для ручного использования" |
| IDT | ISO 10993-7:2008 "Оценка биологического действия медицинских изделий. Часть 7. Остаточное содержание этиленоксида после стерилизации" |
ГОСТ Р ИСО 8871-1-2010 | IDT | ISO 8871-1:2003 "Элементы эластомерные для устройств, используемых для парентерального введения препаратов, и фармацевтического назначения. Часть 1. Содержание экстрагируемых веществ в водных препаратах автоклавов" |
| IDT | ISO 9626:2016 "Трубки игольные из нержавеющей стали для изготовления медицинских изделий. Требования и методы испытаний" |
| MOD | ISO 11040-5:2012 "Шприцы предварительно наполненные. Часть 5. Уплотнители поршней для шприцев для инъекционных лекарственных форм" |
Примечание - В настоящей таблице использованы следующие условные обозначения степени соответствия стандартов: - IDT - идентичные стандарты; - MOD - модифицированный стандарт. |
| USP <88>, Biological reactivity tests, in vivo, www.usp.org/ |
| Cantor Verlag, Defect evaluation list for containers made of tubular glass, 4th edition, Vol. 19, Editio 88322 Aulendorf, Germany |
| ИСО 80369-7, Соединители с небольшим внутренним диаметром для жидкостей и газов, применяемые в медицине. Часть 7. Соединители внутрисосудистого и подкожного применения (Small-bore connectors for liquids and gases in healthcare applications - Part 7: Connectors for intravascular or hypodermic applications) |
| ИСО 80369-1 Соединители с небольшим внутренним диаметром для жидкостей и газов, применяемые в медицине. Часть 1. Общие требования (Small-bore connectors for liquids and gases in healthcare applications - Part 1: General requirements) |
| ИСО 720:1985 Стекло. Гидролитическая стойкость стеклянных зерен при 121 °C. Метод испытания и классификация (Glass - Hydrolytic resistance of glass grains at 121 degrees C - Method of test and classification) |
| Ph E. 3.2.1. Glass containers for Pharmaceutical use, www.edqm.eu |
| USP <660> Containers - Glass, www.usp.org/ |
| JP 7.01, Test for glass containers for injections |
| ГФ РФ. ОФС.1.1.0025.18 Упаковка, маркировка и транспортирование лекарственных средств |
| ИСО 4802-1 Посуда стеклянная. Гидролитическая устойчивость внутренних поверхностей стеклянных емкостей. Часть 1. Определение титриметрическим методом и классификация (Glassware - Hydrolytic resistance of the interior surfaces of glass containers - Part 1: Determination by titration method and classification) |
| ИСО 4802-2 Посуда стеклянная. Гидролитическая стойкость внутренних поверхностей стеклянных емкостей. Часть 2. Определение методом пламенной спектрометрии и классификация (Glassware - Hydrolytic resistance of the interior surfaces of glass containers - Part 2: Determination by flame spectrometry and classification) |
| ИСО 11137 (все части), Стерилизация медицинской продукции. Требования к валидации и текущему контролю. Радиационная стерилизация <1> (Sterilization of health care products - Radiation) |
| Ph E. 2.6.1. Sterility, www.edqm.eu |
| USP <71>, Sterility tests, www.usp.org/ |
| JP 4.06, Sterility test, http:/jpdb.nihs.gojp/jp16e |
| |
| CPMP/QWP. 159/01, Note for Guidance on limitations to the use of ethylene oxide in the manufacture of medicinal products, www.ema.eurooa.eu |
| |
| | ИС МЕГАНОРМ: примечание. Текст дан в соответствии с официальным текстом документа. | |
|
| USP <1231>, Water for pharmaceutical purposes, www.usp.org/USP <1231>, Water for pharmaceutical purposes, www.usp.org/ |
| | ИС МЕГАНОРМ: примечание. В официальном тексте документа, видимо, допущена опечатка: фармакопейная статья имеет номер ФС.2.2.0019.15, а не ОФС.2.2.0019.15. | |
|
| |
| USP <161>, Transfusion and infusion assemblies and similar medical devices |
| Ph E. 2.6.14, Bacterial endotoxins, www.edqm.eu |
| USP <85>, Bacterial endotoxins test, www.usp.org/ |
| JP 4.01, Bacterial endotoxins tests, http:/jpdb.nihs.gojp/jp16e |
| |
| USP <788>, Particulate matter in Injections, www.usp.org/ |
| ГФ РФ. ОФС.1.4.2.0006.15 Невидимые механические включения в лекарственных формах для парентерального применения |
| Ph E. 2.9.19, Particulate contamination: sub-visible particles, www.edqm.eu |
| Ph E. 2.9.20, Particulate contamination: visible particles, www.edqm.eu |
| JP 6.06, Foreign insoluble matter test for injections, http:/jpdb.nihs.gojp/jp16e |
| JP 6.07, Insoluble particulate matter test for injections, http:/jpdb.nihs.gojp/jp16e |
| Ph E. 3.1.8, Silicone oil used as a lubricant, www.edqm.eu |
| USP NF <<dimethicone>>, www.usp.org/ |
| Ph E. 3.2.9, Rubber closures for containers for aqueous parenteral preparations, for powders and for freeze-dried powders, www.edqm.eu |
| USP <381>, Elastomeric closures of iniections, www.usp.org/ |
| JP 7.03, Test for rubber closure for aqueous infusions, http:/jpdb.nihs.gojp/jp16e |
| Guidance for industry, pyrogen and endotoxins testing, questions and answers, June 2012, www.fda.gov |
| AAMI ST72:2011, AAMI ST72:2011, Bacterial endotoxins - Test methodologies, routine monitoring, and alternatives to batch testing |
| |
| ДИН 13097-4, Иглы полые для инъекций. Часть 4. Геометрическая точка, требования и испытания (Medizinische  - Teil 4: Anschliffarten, Anforderungen und  ) |
--------------------------------
<1> В Российской Федерации действуют
ГОСТ ISO 11137-1-2011 "Стерилизация медицинской продукции. Радиационная стерилизация. Часть 1. Требования к разработке, валидации и текущему контролю процесса стерилизации медицинских изделий";
ГОСТ ISO 11137-2-2011 "Стерилизация медицинской продукции. Радиационная стерилизация. Часть 2. Установление стерилизующей дозы",
ГОСТ Р ИСО 11137-3-2008 "Стерилизация медицинской продукции. Радиационная стерилизация. Часть 3. Руководство по вопросам дозиметрии".
УДК 615.014.83:006.354 | |
Ключевые слова: шприцы предварительно наполненные, стеклянные цилиндры для стерилизованных готовых к наполнению шприцев для инъекционных лекарственных форм |