Главная // Актуальные документы // ГОСТ Р (Государственный стандарт)СПРАВКА
Источник публикации
М.: Стандартинформ, 2010
Примечание к документу
Документ утратил силу с 1 января 2017 года в связи с изданием
Приказа Росстандарта от 10.06.2015 N 608-ст. Взамен введен в действие
ГОСТ ISO 3506-3-2014.
Документ
введен в действие с 1 января 2011 года.
Название документа
"ГОСТ Р ИСО 3506-3-2009. Национальный стандарт Российской Федерации. Механические свойства крепежных изделий из коррозионно-стойкой нержавеющей стали. Часть 3. Установочные винты и аналогичные крепежные изделия, не подвергаемые растягивающему напряжению"
(утв. и введен в действие Приказом Ростехрегулирования от 10.12.2009 N 689-ст)
"ГОСТ Р ИСО 3506-3-2009. Национальный стандарт Российской Федерации. Механические свойства крепежных изделий из коррозионно-стойкой нержавеющей стали. Часть 3. Установочные винты и аналогичные крепежные изделия, не подвергаемые растягивающему напряжению"
(утв. и введен в действие Приказом Ростехрегулирования от 10.12.2009 N 689-ст)
Утвержден и введен в действие
агентства по техническому
регулированию и метрологии
от 10 декабря 2009 г. N 689-ст
НАЦИОНАЛЬНЫЙ СТАНДАРТ РОССИЙСКОЙ ФЕДЕРАЦИИ
МЕХАНИЧЕСКИЕ СВОЙСТВА КРЕПЕЖНЫХ ИЗДЕЛИЙ
ИЗ КОРРОЗИОННО-СТОЙКОЙ НЕРЖАВЕЮЩЕЙ СТАЛИ
ЧАСТЬ 3
УСТАНОВОЧНЫЕ ВИНТЫ И АНАЛОГИЧНЫЕ КРЕПЕЖНЫЕ ИЗДЕЛИЯ,
НЕ ПОДВЕРГАЕМЫЕ РАСТЯГИВАЮЩЕМУ НАПРЯЖЕНИЮ
Mechanical properties of corrosion-resistant stainless
steel fasteners. Part 3. Set screws and similar
fasteners not under tensile stress
ISO 3506-3:1997
Mechanical properties of corrosion-resistant stainless
steel fasteners - Part 3: Set screws and similar
fasteners not under tensile stress
(IDT)
ГОСТ Р ИСО 3506-3-2009
Дата введения
1 января 2011 года
Цели и принципы стандартизации в Российской Федерации установлены Федеральным
законом от 27 декабря 2002 г. N 184-ФЗ "О техническом регулировании", а правила применения национальных стандартов Российской Федерации -
ГОСТ Р 1.0-2004 "Стандартизация в Российской Федерации. Основные положения".
1. Подготовлен Федеральным государственным унитарным предприятием "Всероссийский научно-исследовательский институт стандартизации и сертификации в машиностроении" (ВНИИНМАШ) на основе собственного аутентичного перевода на русский язык стандарта, указанного в пункте 4.
2. Внесен Техническим комитетом по стандартизации ТК 229 "Крепежные изделия".
3. Утвержден и введен в действие
Приказом Федерального агентства по техническому регулированию и метрологии от 10 декабря 2009 г. N 689-ст.
4. Настоящий стандарт идентичен международному стандарту ИСО 3506-3:1997 "Механические свойства крепежных изделий из коррозионно-стойкой нержавеющей стали. Часть 3. Установочные винты и аналогичные крепежные изделия, не подвергаемые растягивающему напряжению" (ISO 3506-3:1997 "Mechanical properties of corrosion-resistant stainless steel fasteners - Part 3: Set screws and similar fasteners not under tensile stress").
При применении настоящего стандарта рекомендуется использовать вместо ссылочных международных стандартов соответствующие им национальные стандарты Российской Федерации и межгосударственные стандарты, сведения о которых приведены в дополнительном
Приложении ДА.
5. Введен впервые.
Информация об изменениях к настоящему стандарту публикуется в ежегодно издаваемом информационном указателе "Национальные стандарты", а текст изменений и поправок - в ежемесячно издаваемых информационных указателях "Национальные стандарты". В случае пересмотра (замены) или отмены настоящего стандарта соответствующее уведомление будет опубликовано в ежемесячно издаваемом информационном указателе "Национальные стандарты". Соответствующая информация, уведомление и тексты размещаются также в информационной системе общего пользования - на официальном сайте Федерального агентства по техническому регулированию и метрологии в сети Интернет.
Настоящий стандарт устанавливает механические свойства установочных винтов и аналогичных крепежных изделий, не подвергаемых растягивающему напряжению, при испытании в условиях с температурой окружающей среды от 15 °С до 25 °С. Механические свойства изменяются при повышении и понижении температуры.
Стандарт распространяется на установочные винты и аналогичные крепежные изделия:
- с номинальным диаметром резьбы (d) свыше 1,6 до 24 мм включительно;
- с треугольной метрической резьбой, с диаметром и шагом по ИСО 68-1, ИСО 261 и ИСО 262;
- любой формы.
Настоящий стандарт не распространяется на винты со специальными свойствами, такие как свариваемость.
Настоящий стандарт не устанавливает требования к коррозионной стойкости к окислению в особых условиях окружающей среды.
Настоящий стандарт устанавливает классификацию по классам прочности крепежных изделий из коррозионно-стойкой нержавеющей стали. Коррозионная стойкость, окисляемость и механические свойства при повышении и понижении температуры должны быть согласованы между изготовителем и потребителем в каждом конкретном случае. Изменение риска межкристаллитной коррозии при повышении температуры в зависимости от содержания углерода показано в
Приложении D.
Все крепежные изделия из аустенитных нержавеющих сталей при нормальных условиях - немагнитные; после холодного деформирования могут проявиться магнитные свойства (см.
Приложение E).
Следующие ниже нормативные стандарты содержат положения, которые посредством ссылок в данном тексте составляют положения настоящего стандарта. Для нормативных стандартов с указанием даты публикации, на которые имеются ссылки, не распространяется действие последующих изменений или пересмотров этих стандартов.
ИСО 68-1 Резьбы ИСО винтовые общего назначения. Основной профиль. Часть 1. Метрические винтовые резьбы (ISO 68-1, ISO general purpose screw threads - Basic profile - Part 1: Metric screw threads)
ИСО 261 Резьбы метрические ИСО общего назначения. Общий вид (ISO 261, ISO general purpose metric screw threads - General plan)
ИСО 262 Резьбы ИСО метрические общего назначения. Выбранные размеры для винтов, болтов и гаек (ISO 262, ISO general purpose metric screw threads - Selected size for screws, bolts and nuts)
ИСО 898-5 Механические свойства крепежных изделий. Часть 5. Установочные винты и аналогичные резьбовые крепежные изделия, не подвергаемые растягивающим напряжениям (ISO 898-5:1998, Mechanical properties of fastener - Part 5: Set screws and similar threaded fasteners not under tensile stresses)
ИСО 965-3 Резьбы ИСО метрические общего назначения. Допуски. Часть 3. Отклонения для конструкционных резьб (ISO 965-3, ISO general-purpose metric screw threads - Tolerances - Part 3: Deviations for constructional threads)
ИСО 3651-1 Стали нержавеющие. Определение стойкости к межкристаллитной коррозии. Часть 1. Аустенитные и ферритно-аустенитные (дуплекс) нержавеющие стали. Коррозионное испытание в азотной кислоте посредством измерения потери массы (метод Хью) (ISO 3651-1, Determination of resistance to intergranular corrosion stainless steels - Part 1: Austenitic and ferritic-austenitic (duplex) stainless steels - Corrosion test in nitric acid medium by measurement of loss in mass (Huey test)
ИСО 3651-2 Стали нержавеющие. Определение стойкости к межкристаллитной коррозии. Часть 2. Ферритные, аустенитные и ферритно-аустенитные (дуплекс) нержавеющие стали. Коррозионное испытание в среде, содержащей серную кислоту (ISO 3651-2, Determination of resistance intergranular corrosion stainless steels - Part 2: Ferritic, austenitic and ferritic-austenitic (duplex) stainless steels - Corrosion test in media containing sulfuric acid)
ИСО 6506:1981 Материалы металлические. Испытание на твердость. Определение твердости по Бринеллю (ISO 6506:1981, Metallic materials - Hardness test - Brinell test)
ИСО 6507-1:1997 Материалы металлические. Испытание на твердость по Виккерсу. Часть 1. Метод испытаний (ISO 6507-1:1997, Metallic materials - Hardness test - Vickers test - Part 1: Test method)
ИСО 6508:1986 Материалы металлические. Испытание на твердость. Определение твердости по Роквеллу (шкалы A, B, C, D, E, F, G, H, K) (ISO 6508:1986, Metallic materials - Hardness test - Rockwell test (scales A-B-C-D-E-F-G-H-K)).
3. Обозначения, маркировка и обработка
Система обозначений марок нержавеющей стали и классов прочности установочных винтов и аналогичных крепежных изделий приведена на
рисунке 1. Обозначение материала состоит из двух частей, разделенных дефисом. Первая часть обозначает марку стали, вторая часть - класс прочности.
--------------------------------
<1> Классы стали, классифицированные по рисунку 1, описаны в
Приложении A и определены химическим составом по
таблице 2.
<2> Нержавеющие стали с содержанием углерода не более 0,03% могут быть дополнительно промаркированы буквой L.
Пример - A4L-21H
Рисунок 1. Система обозначений марок нержавеющей стали
и классов прочности установочных винтов
и аналогичных крепежных изделий
Обозначение марки стали (первая часть) состоит из буквы A - аустенитная сталь, которая обозначает класс стали, и цифры, которая обозначает диапазон предельных значений химического состава этого класса стали.
Обозначение класса прочности (вторая часть) состоит из двух цифр, которые обозначают 0,1 от минимальной твердости стали по Виккерсу, и буквы H, обозначающей твердость (см. таблицу 1).
Таблица 1
Обозначение класса прочности в зависимости
от твердости по Виккерсу
┌──────────────────────────────────┬──────────────┬──────────────┐
│Класс прочности │ 12H │ 21H │
├──────────────────────────────────┼──────────────┼──────────────┤
│Твердость по Виккерсу HV, не менее│ 125 │ 210 │
└──────────────────────────────────┴──────────────┴──────────────┘
Пример обозначения аустенитной мягкой нержавеющей стали с минимальной твердостью:
125 HV - A1-12H
Таблица 2
Марки нержавеющей стали. Химический состав
┌──────┬────┬───────────────────────────────────────────────────────┬─────────┐
│Класс │Мар-│ Химический состав, %
<1> │ Сноска │
│стали │ка ├────┬──┬───┬─────┬──────┬─────────┬─────┬───────┬──────┤ │
│ │ │ C │Si│Mn │ P │ S │ Cr │ Mo │ Ni │ Cu │ │
├──────┼────┼────┼──┼───┼─────┼──────┼─────────┼─────┼───────┼──────┼─────────┤
│Аусте-│ A1 │0,12│1 │6,5│0,2 │0,15 -│16 - 19 │ 0,7 │ 5 - 10│1,75 -│
<2>,
<3>,│
│нитные│ │ │ │ │ │ 0,35│ │ │ │ 2,25│
<4> │
│ ├────┼────┼──┼───┼─────┼──────┼─────────┼─────┼───────┼──────┼─────────┤
│ │ A2 │0,1 │1 │2 │0,05 │0,03 │15 - 20 │-
<5>│ 8 - 19│ 4 │
<6>,
<7> │
│ ├────┼────┼──┼───┼─────┼──────┼─────────┼─────┼───────┼──────┼─────────┤
│ │ A3 │0,08│1 │2 │0,045│0,03 │17 - 19 │-
<5>│ 9 - 12│ 1 │
<8> │
│ ├────┼────┼──┼───┼─────┼──────┼─────────┼─────┼───────┼──────┼─────────┤
│ │ A4 │0,08│1 │2 │0,045│0,03 │16 - 18,5│2 - 3│10 - 15│ 1 │
<7>,
<9> │
│ ├────┼────┼──┼───┼─────┼──────┼─────────┼─────┼───────┼──────┼─────────┤
│ │ A5 │0,08│1 │2 │0,045│0,03 │16 - 18,5│2 - 3│10,5 - │ 1 │
<8>,
<9> │
│ │ │ │ │ │ │ │ │ │ 14│ │ │
├──────┴────┴────┴──┴───┴─────┴──────┴─────────┴─────┴───────┴──────┴─────────┤
│ <1> Приведены максимальные значения, если не указано иное. │
│ <2> Сера может быть заменена селеном. │
│ <3> Если содержание никеля менее 8%, то содержание марганца должно быть │
│не менее 5%. │
│ <4> При содержании никеля более 8% нижний предел содержания меди │
│не применяется. │
│ <5> Молибден может присутствовать по решению изготовителя стали. │
│В случае если содержание молибдена влияет на условия применения стали, │
│его содержание должно быть согласовано между изготовителем и потребителем │
│стали. │
│ <6> Если содержание хрома менее 17%, содержание никеля должно быть │
│не менее 12%. │
│ <7> Для аустенитных сталей с минимальным содержанием углерода 0,03% │
│содержание азота не должно превышать 0,22%. │
│ <8> Для стабилизации содержание титана должно быть не менее 5 x % C, │
│но не более 0,8%, или содержание ниобия и (или) тантала - не менее │
│10 x % C, но не более 1,0%. │
│ <9> По решению изготовителя стали содержание углерода может быть выше │
│для достижения особых механических свойств, но не должно превышать 0,12%. │
├─────────────────────────────────────────────────────────────────────────────┤
│ Примечания. │
│ 1. Описание указанных марок нержавеющих сталей с учетом их свойств │
│ 2. Примеры нержавеющих сталей по ИСО 683-13 и ИСО 4954 приведены │
└─────────────────────────────────────────────────────────────────────────────┘
3.2.1. Установочные винты
Маркировка установочных винтов необязательна.
Крепежные изделия, удовлетворяющие всем требованиям настоящего стандарта, маркируют и (или) обозначают в соответствии с
3.1.
3.2.2. Упаковка и контейнеры
На всех упаковках любых размеров должна быть маркировка с указанием обозначения изделия и товарного знака изготовителя.
3.3. Завершающая обработка
Если не указано иное, крепежные изделия в соответствии с настоящим стандартом поставляют без дополнительной обработки. Для достижения максимальной коррозионной стойкости рекомендуется пассивация.
Химический состав нержавеющих сталей для крепежных изделий согласно настоящему стандарту приведен в
таблице 2.
Выбор химического состава в установленных для марки стали пределах - на усмотрение изготовителя, если химический состав не согласован между изготовителем и потребителем.
В случаях возникновения риска межкристаллитной коррозии рекомендуется проведение испытаний по ИСО 3651-1 или ИСО 3651-2. В таких случаях рекомендуется применять стабилизированные нержавеющие стали A3 и A5 или нержавеющие стали A2 и A4 с содержанием углерода не более 0,03%.
Механические свойства установочных винтов должны соответствовать указанным в таблицах 3 и
4.
Таблица 3
Разрушающий крутящий момент
┌───────────┬──────────────────────────────────────┬──────────────────────┐
│Номинальный│ Минимальная длина
<1> испытуемых │ Разрушающий крутящий │
│ диаметр │ установочных винтов, мм │ момент, Н · м, │
│ резьбы d │ │ не менее │
│ ├────────┬──────────┬──────────┬───────┼──────────────────────┤
│ │Плоский │Конический│Высверлен-│Закруг-│ Класс прочности │
│ │ конец │ конец │ный конец │ленный ├───────────┬──────────┤
│ │ │ │ │конец │ 12H │ 21H │
├───────────┼────────┼──────────┼──────────┼───────┼───────────┼──────────┤
│ 1,6 │ 2,5 │ 3 │ 3 │ 2,5 │ 0,03 │ 0,05 │
├───────────┼────────┼──────────┼──────────┼───────┼───────────┼──────────┤
│ 2 │ 4 │ 4 │ 4 │ 3 │ 0,06 │ 0,1 │
├───────────┼────────┼──────────┼──────────┼───────┼───────────┼──────────┤
│ 2,5 │ 4 │ 4 │ 5 │ 4 │ 0,18 │ 0,3 │
├───────────┼────────┼──────────┼──────────┼───────┼───────────┼──────────┤
│ 3 │ 4 │ 5 │ 6 │ 5 │ 0,25 │ 0,42 │
├───────────┼────────┼──────────┼──────────┼───────┼───────────┼──────────┤
│ 4 │ 5 │ 6 │ 8 │ 6 │ 0,8 │ 1,4 │
├───────────┼────────┼──────────┼──────────┼───────┼───────────┼──────────┤
│ 5 │ 6 │ 8 │ 8 │ 6 │ 1,7 │ 2,8 │
├───────────┼────────┼──────────┼──────────┼───────┼───────────┼──────────┤
│ 6 │ 8 │ 8 │ 10 │ 8 │ 3 │ 5 │
├───────────┼────────┼──────────┼──────────┼───────┼───────────┼──────────┤
│ 8 │ 10 │ 10 │ 12 │ 10 │ 7 │ 12 │
├───────────┼────────┼──────────┼──────────┼───────┼───────────┼──────────┤
│ 10 │ 12 │ 12 │ 16 │ 12 │ 14 │ 24 │
├───────────┼────────┼──────────┼──────────┼───────┼───────────┼──────────┤
│ 12 │ 16 │ 16 │ 20 │ 16 │ 25 │ 42 │
├───────────┼────────┼──────────┼──────────┼───────┼───────────┼──────────┤
│ 16 │ 20 │ 20 │ 25 │ 20 │ 63 │ 105 │
├───────────┼────────┼──────────┼──────────┼───────┼───────────┼──────────┤
│ 20 │ 25 │ 25 │ 30 │ 25 │ 126 │ 210 │
├───────────┼────────┼──────────┼──────────┼───────┼───────────┼──────────┤
│ 24 │ 30 │ 30 │ 35 │ 30 │ 200 │ 332 │
├───────────┴────────┴──────────┴──────────┴───────┴───────────┴──────────┤
│ <1> Минимальная испытуемая длина. │
└─────────────────────────────────────────────────────────────────────────┘
┌──────────────────────┬──────────────────────────────────────────────────┐
│ Метод испытания │ Твердость установочных винтов класса прочности │
│ ├─────────────────────────┬────────────────────────┤
│ │ 12H │ 21H │
├──────────────────────┼─────────────────────────┼────────────────────────┤
│По Виккерсу HV │ От 125 до 209 │ Не менее 210 │
├──────────────────────┼─────────────────────────┼────────────────────────┤
│По Бринеллю HB │ От 123 до 213 │ Не менее 214 │
├──────────────────────┼─────────────────────────┼────────────────────────┤
│По Роквеллу HRB │ От 70 до 95 │ Не менее 96 │
└──────────────────────┴─────────────────────────┴────────────────────────┘
Указанные в подразделах 5.1 и 5.2 требования по механическим свойствам следует выполнять при испытаниях в соответствии с
6.1 и
6.2 соответственно.
5.1. Разрушающий крутящий момент для установочных винтов с шестигранным углублением в головке под ключ
Разрушающий крутящий момент для установочных винтов с шестигранным углублением в головке под ключ должен соответствовать указанному в
таблице 3.
Твердость поверхности установочных винтов должна соответствовать указанной в
таблице 4.
6.1. Разрушающий крутящий момент для установочных винтов с шестигранным углублением в головке под ключ
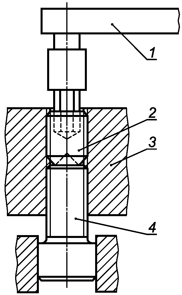
Установочный винт должен быть помещен в испытательный блок (см. рисунок 2) так, чтобы верхняя поверхность винта совпадала с поверхностью блока, а конец винта упирался в твердую поверхность, например в опорный винт, установленный с противоположной стороны блока.
1 - гаечный ключ с ограничением по крутящему моменту;
2 - испытуемый винт; 3 - испытательный блок твердостью
не менее 50 HRC с допуском 5H (по ИСО 965-3) для внутренней
резьбы; 4 - опорный винт твердостью от 450 до 570 HV
Рисунок 2. Схема оборудования для испытания
на крутящий момент
Установочный винт должен выдерживать указанный в
таблице 3 крутящий момент без трещин, изломов или смятия резьбы, при использовании шестигранного испытательного ключа с допуском h9 по ширине граней, минимальной шириной между углами, равной

, и имеющего твердость от 50 до 55 HRC, вставленного на полную глубину углубления в головке винта.
При измерении крутящего момента во время испытаний должен быть использован откалиброванный измерительный инструмент.
Примечание. Визуальные следы на установочном винте после проведения испытания не являются причиной непройденного испытания.
6.2. Испытание установочных винтов на твердость HB, HRC или HV
Испытание на твердость проводят по ИСО 6506 (HB), ИСО 6508 (HRC) или ИСО 6507-1 (HV). В спорных случаях решающим условием для приемки является испытание на твердость по Виккерсу (HV) (см.
таблицу 4).
Методы испытаний - по ИСО 898-5.
(справочное)
ОПИСАНИЕ КЛАССОВ И МАРОК НЕРЖАВЕЮЩИХ СТАЛЕЙ
A.1. Общее описание
В ИСО 3506-1, ИСО 3506-2 и настоящем стандарте описаны стали марок от A1 до A5, от C1 до C4 и F1, входящие в состав следующих классов сталей:
аустенитная сталь от A1 до A5;
мартенситная сталь от C1 до C4;
ферритная сталь F1.
В данном Приложении описаны характеристики перечисленных классов и марок сталей.
Также в данном Приложении приведена информация о нестандартизированном классе сталей FA, имеющем ферритно-аустенитную структуру.
A.2. Стали класса A (с аустенитной структурой)
В ИСО 3506-1, ИСО 3506-2 и настоящем стандарте описаны пять основных марок аустенитных сталей - от A1 до A5. Стали этих марок не могут подвергаться закалке, и они обычно немагнитные. Для повышения износостойкости в стали марок от A1 до A5 может быть добавлена медь, как указано в
таблице 2.
Для нестабилизированных сталей марок A2 и A4 применимо следующее.
Так как оксид хрома повышает коррозионную стойкость стали, для нестабилизированных сталей имеет большое значение низкое содержание углерода. Из-за высокой притягиваемости хрома и углерода вместо оксида хрома получается карбид хрома, особенно при повышенных температурах (см.
Приложение D).
Для стабилизированных сталей марок A3 и A5 применимо следующее.
Элементы Ti, Nb или Ta воздействуют на углерод и позволяют оксиду хрома проявить свои свойства в полной мере.
Для применения в открытом море или похожих условиях требуются стали с содержанием примерно 20% хрома и никеля и от 4,5% до 6,5% - молибдена.
В случае высокой вероятности коррозии должны быть проведены консультации с экспертами.
A.2.1. Стали марки A1
Стали марки A1 разработаны для применения в машиностроении. Из-за высокого содержания серы стали этой марки менее коррозионно-стойкие, чем другие марки сталей этой группы.
A.2.2. Стали марки A2
Стали марки A2 являются наиболее часто применяемыми нержавеющими сталями. Они применяются для кухонного оборудования и аппаратов для химической промышленности. Стали этой марки неприменимы при использовании неокисляющей кислоты и хлоросодержащих соединений, как например в морской воде и плавательных бассейнах.
A.2.3. Стали марки A3
Стали марки A3 являются стабилизированными нержавеющими сталями со свойствами сталей марки A2.
A.2.4. Стали марки A4
Стали марки A4 кислотоустойчивые, легированы молибденом и более коррозионно-стойкие. Стали марки A4 наиболее востребованы в бумажной промышленности, так как эта марка разработана для работы с серной кислотой (поэтому данному сорту присвоено название "кислотоустойчивые"), а также в некоторой степени подходят для работы в хлоросодержащей среде. Стали марки A4 также часто применяют в пищевой и кораблестроительной промышленности.
A.2.5. Стали марки A5
Стали марки A5 являются стабилизированными, кислотоустойчивыми сталями со свойствами сталей марки A4.
A.3. Стали класса F (с ферритной структурой)
В ИСО 3506-1, ИСО 3506-2 и настоящем стандарте описана одна марка ферритных сталей F1. Стали этого класса обычно не допускается подвергать закалке и не следует подвергать закалке в тех случаях, когда она возможна. Стали марки F1 - магнитные.
A.3.1. Стали марки F1
Стали марки F1 обычно используют для несложного оборудования, за исключением суперферритов, имеющих очень низкое содержание углерода и азота. Такие стали могут заменять стали марок A2 и A3 и использоваться в среде с высоким содержанием хлора.
A.4. Стали класса C (с мартенситной структурой)
В ИСО 3506-1, ИСО 3506-2 и настоящем стандарте описаны мартенситные стали марок C1, C3 и C4. Стали этого класса могут закаливаться до очень высокой прочности. Стали этого класса - магнитные.
A.4.1. Стали марки C1
Стали марки C1 имеют ограниченную коррозионную стойкость. Они применяются в турбинах, насосах и для ножей.
A.4.2. Стали марки C3
Стали марки C3 имеют ограниченную коррозионную стойкость, хотя и лучшую, чем стали марки C1. Они применяются в насосах и клапанах.
A.4.3. Стали марки C4
Стали марки C4 имеют ограниченную коррозионную стойкость. Они применяются в машиностроении, в остальном они схожи со сталями марки C1.
A.5. Стали класса FA (с ферритно-аустенитной структурой)
Стали класса FA не описаны в ИСО 3605-1, ИСО 3605-2 и в настоящем стандарте, но, весьма вероятно, будут описаны в будущем.
Стали этого класса называют дуплексными сталями. Первые стали класса FA имели некоторые недоработки, которые были устранены в сталях, разработанных в последнее время. Стали класса FA лучше, чем стали марок A4 и A5, особенно по прочностным характеристикам. Стали класса FA также имеют повышенное сопротивление точечной и изломной коррозии.
Примеры химического состава сталей этого класса приведены в таблице A.1
Таблица A.1
Химический состав ферритно-аустенитных сталей
┌───────────┬─────────────────────────────────────────────────────────────┐
│Класс стали│ Химический состав, % │
│ ├────────┬────────┬────────┬────────┬────────┬────────┬───────┤
│ │ C, │ Si │ Mn │ Cr │ Ni │ Mo │ N │
│ │не более│ │ │ │ │ │ │
├───────────┼────────┼────────┼────────┼────────┼────────┼────────┼───────┤
│Ферритно- │ 0,03 │ 1,7 │ 1,5 │ 18,5 │ 5 │ 2,7 │ 0,07 │
│аустенитные├────────┼────────┼────────┼────────┼────────┼────────┼───────┤
│ │ 0,03 │ < 1 │ < 2 │ 22 │ 5,5 │ 3 │ 0,14 │
└───────────┴────────┴────────┴────────┴────────┴────────┴────────┴───────┘
(справочное)
ХИМИЧЕСКИЙ СОСТАВ АУСТЕНИТНЫХ НЕРЖАВЕЮЩИХ СТАЛЕЙ
(ВЫДЕРЖКИ ИЗ ИСО 683-13:1986)
┌─────┬────────────────────────────────────────────────────────────────────────────────────────────────────────────┬─────────┐
│ Тип │ Химический состав, % (м/м)
<1> │Обозна- │
│стали├────┬───┬───┬─────┬───────┬───────────┬───┬───────────┬─────────┬────────────┬───────────┬───┬──────────┬───┤чение │
│
<2> │ C │Si │Mn │ P │ S │ N │Al │ Cr │ Mo │ Nb
<3> │ Ni │Se,│ Ti │Cu │сорта │
│ ├────┴───┴───┴─────┤ │ │ │ │ │ │ │не │ │ │крепежных│
│ │ не более │ │ │ │ │ │ │ │ме-│ │ │изделий │
│ │ │ │ │ │ │ │ │ │нее│ │ │
<4> │
├─────┼────┬───┬───┬─────┼───────┼───────────┼───┼───────────┼─────────┼────────────┼───────────┼───┼──────────┼───┼─────────┤
│ 10 │0,03│1,0│2,0│0,045│<= 0,03│ - │ - │17,0 - 19,0│ - │ - │ 9,0 - 12,0│ - │ - │ - │A2
<5> │
│ 11 │0,07│1,0│2,0│0,045│<= 0,03│ - │ - │17,0 - 19,0│ - │ - │ 8,0 - 11,0│ - │ - │ - │A2 │
│ 15 │0,08│1,0│2,0│0,045│<= 0,03│ - │ - │17,0 - 19,0│ - │ - │ 9,0 - 12,0│ - │5x% <= 0,8│ - │A3
<6> │
│ 16 │0,08│1,0│2,0│0,045│<= 0,03│ - │ - │17,0 - 19,0│ -
<7>│10x%C <= 1,0│ 9,0 - 12,0│ - │ - │ - │A3
<6> │
│ 17 │0,12│1,0│2,0│0,060│0,15 - │ - │ - │17,0 - 19,0│ - │ - │ 8,0 - 10,0│ - │ - │ - │A1 │
│ │ │ │ │ │ 0,35│ │ │ │ │ │
<8> │ │ │ │ │
├─────┼────┼───┼───┼─────┼───────┼───────────┼───┼───────────┼─────────┼────────────┼───────────┼───┼──────────┼───┼─────────┤
│ 13 │0,10│1,0│2,0│0,045│<= 0,03│ - │ - │17,0 - 19,0│ - │ - │11,0 - 13,0│ - │ - │ - │A2 │
├─────┼────┼───┼───┼─────┼───────┼───────────┼───┼───────────┼─────────┼────────────┼───────────┼───┼──────────┼───┼─────────┤
│ 19 │0,03│1,0│2,0│0,045│<= 0,03│ - │ - │16,5 - 18,5│2,0 - 2,5│ - │11,0 - 14,0│ - │ - │ - │A4 │
│ 20 │0,07│1,0│2,0│0,045│<= 0,03│ - │ - │16,5 - 18,5│2,0 - 2,5│ - │10,5 - 13,5│ - │ - │ - │A4 │
│ 21 │0,08│1,0│2,0│0,045│<= 0,03│ - │ - │16,5 - 18,5│2,0 - 2,5│ - │11,0 - 14,0│ - │5x% <= 0,8│ - │A5
<6> │
│ 23 │0,08│1,0│2,0│0,045│<= 0,03│ - │ - │16,5 - 18,5│2,0 - 2,5│10x%C <= 1,0│11,0 - 14,0│ - │ │ - │A5
<6> │
├─────┼────┼───┼───┼─────┼───────┼───────────┼───┼───────────┼─────────┼────────────┼───────────┼───┼──────────┼───┼─────────┤
│ 19а │0,03│1,0│2,0│0,045│<= 0,03│ - │ - │16,5 - 18,5│2,5 - 3,0│ - │11,5 - 14,5│ - │ - │ - │A4 │
│ 20а │0,07│1,0│2,0│0,045│<= 0,03│ - │ - │16,5 - 18,5│2,5 - 3,0│ - │11,0 - 14,0│ - │ - │ - │A4 │
├─────┼────┼───┼───┼─────┼───────┼───────────┼───┼───────────┼─────────┼────────────┼───────────┼───┼──────────┼───┼─────────┤
│ 10N │0,03│1,0│2,0│0,045│<= 0,03│0,12 - 0,22│ - │17,0 - 19,0│ - │ - │ 8,5 - 11,5│ - │ - │ - │A2 │
│ 10N │0,03│1,0│2,0│0,045│<= 0,03│0,12 - 0,22│ - │16,5 - 18,5│2,0 - 2,5│ - │10,5 - 13,5│ - │ - │ │A4
<5> │
│ 19aN│0,03│1,0│2,0│0,045│<= 0,03│0,12 - 0,22│ - │16,5 - 18,5│2,5 - 3,0│ - │11,5 - 14,5│ - │ - │ │A4
<5> │
├─────┴────┴───┴───┴─────┴───────┴───────────┴───┴───────────┴─────────┴────────────┴───────────┴───┴──────────┴───┴─────────┤
│ <1> Элементы, не указанные в данной таблице, не должны добавляться │
│в сталь без соглашения между изготовителем и потребителем стали, │
│за исключением элементов, предназначенных для завершения плавления. Должны │
│быть приняты все необходимые меры предосторожности, чтобы предотвратить │
│попадание в сталь, из отходов и материалов, используемых при производстве, │
│элементов, которые могут повлиять на прочность, механические свойства │
│и применяемость стали. │
│ <2> Номера типов временные и будут пересмотрены при издании │
│соответствующего стандарта. │
│ <3> Тантал обозначен как ниобий. │
│ <4> Не по ИСО 683-13. │
│ <5> Высокая стойкость к межкристаллитной коррозии. │
│ <6> Стабилизированные стали. │
│ <7> Изготовитель может добавить молибдена до 0,7%. │
│ <8> Максимальное содержание никеля в полуфабрикатах для изготовления │
│цельнотянутых труб может быть увеличено на 0,5%. │
└────────────────────────────────────────────────────────────────────────────────────────────────────────────────────────────┘
(справочное)
АУСТЕНИТНЫЕ НЕРЖАВЕЮЩИЕ СТАЛИ ДЛЯ ХОЛОДНОЙ ВЫСАДКИ
И ШТАМПОВКИ (ВЫДЕРЖКИ ИЗ ИСО 4954:1993)
┌────────────────────────────┬──────────────────────────────────────────────────────────────────────────────────────┬───────┐
│ Тип стали
<1> │ Химический состав, %,
<2> │Обозна-│
├─────┬──────────────────────┼──────┬───────┬────┬────┬─────┬─────┬───────────┬─────────┬───────────┬───────────────┤чение │
│Номер│ Наименование │По ИСО│ C │ Si │ Mn │ P │ S │ Cr │ Mo │ Ni │ Прочие │марки │
│ │ │ 4954:│ ├────┴────┴─────┤ │ │ │ │ │крепеж-│
│ │ │ 1979 │ │ не более │ │ │ │ │ │ных │
│ │ │ │ │ │ │ │ │ │ │изделий│
│ │ │ │ │ │ │ │ │ │ │
<4> │
├─────┼──────────────────────┼──────┼───────┼────┬────┬─────┼─────┼───────────┼─────────┼───────────┼───────────────┼───────┤
│ 78 │X 2 CrNi 18 10 E │ D 20 │<= 0,03│1,00│2,00│0,045│0,030│17,0 - 19,0│ │ 9,0 - 12,0│ │A2
<4> │
│ 79 │X 5 CrNi 18 9 Е │ D 21 │<= 0,07│1,00│2,00│0,045│0,030│17,0 - 19,0│ │ 8,0 - 11,0│ │A2 │
│ 80 │X 10 CrNi 18 9 Е │ D 22 │<= 0,12│1,00│2,00│0,045│0,030│17,0 - 19,0│ │ 8,0 - 10,0│ │A2 │
│ 81 │X 5 CrNi 18 12 E │ D 23 │<= 0,03│1,00│2,00│0,045│0,030│17,0 - 19,0│ │11,0 - 13,0│ │A2 │
│ 82 │X 6 CrNi 18 16 E │ D 20 │<= 0,08│1,00│2,00│0,045│0,030│15,0 - 17,0│ │17,0 - 19,0│ │A2 │
│ 83 │X 6 CrNiTi 18 10 E │ D 26 │<= 0,08│1,00│2,00│0,045│0,030│17,0 - 19,0│ │ 9,0 - 12,0│Ti: 5x%C, │A3 │
│ │ │ │ │ │ │ │ │ │ │ │<= 0,8 │ │
│ 84 │X 5 CrNiMo 17 12 2 E │ D 29 │<= 0,07│1,00│2,00│0,045│0,030│16,5 - 18,5│2,0 - 2,5│10,5 - 13,5│ │A4 │
│ 85 │X 6 CrNiMoTi 17 12 2 E│ D 30 │<= 0,08│1,00│2,00│0,045│0,030│16,5 - 18,5│2,0 - 2,5│11,0 - 14,0│Ti: 5x%C, │A5 │
│ │ │ │ │ │ │ │ │ │ │ │<= 0,8 │ │
│ 86 │X 2 CrNiMo 17 13 3 E │ - │<= 0,03│1,00│2,00│0,045│0,030│16,5 - 18,5│2,5 - 3,0│11,5 - 14,5│ │A4
<4> │
│ 87 │X 2 CrNiMoN 17 13 3 E │ - │<= 0,03│1,00│2,00│0,045│0,030│16,5 - 18,5│2,5 - 3,0│11,5 - 14,5│ N: 0,12 - 0,22│A4
<4> │
│ 88 │X 3 CrNiCu 18 9 3 E │ D 32 │<= 0,04│1,00│2,00│0,045│0,030│17,0 - 19,0│ │ 8,5 - 10,5│Cu: 3,00 - 4,00│A2 │
├─────┴──────────────────────┴──────┴───────┴────┴────┴─────┴─────┴───────────┴─────────┴───────────┴───────────────┴───────┤
ИС МЕГАНОРМ: примечание.
Сноски даны в соответствии с официальным текстом документа.
│ <1> В первой графе приведены последовательные номера. Во второй графе │
│приведены обозначения в соответствии с системой, предложенной │
│Международным техническим комитетом ИСО/ТК 17/ПК2. В третьей графе │
│приведены устаревшие номера по ИСО 4954:1979 (пересмотрен в 1993 г.). │
│ <2> Элементы, не указанные в данной таблице, не должны добавляться │
│в сталь без соглашения между изготовителем и потребителем стали, │
│за исключением элементов, предназначенных для завершения плавления. Должны │
│быть приняты все необходимые меры предосторожности, чтобы предотвратить │
│попадание в сталь, из отходов и материалов, используемых при производстве, │
│элементов, которые могут повлиять на прочность, механические свойства │
│и применяемость стали. │
│ <3> Не по ИСО 4954. │
│ <4> Очень высокое сопротивление межкристаллитной коррозии. │
└───────────────────────────────────────────────────────────────────────────────────────────────────────────────────────────┘
(справочное)
ТЕМПЕРАТУРНО-ВРЕМЕННАЯ ДИАГРАММА МЕЖКРИСТАЛЛИТНОЙ КОРРОЗИИ
В АУСТЕНИТНОЙ НЕРЖАВЕЮЩЕЙ СТАЛИ МАРКИ A2
На рисунке D.1 показано приблизительное время появления риска межкристаллитной коррозии для аустенитной нержавеющей стали марки A2 (стали 18/8) с различным содержанием углерода при температуре от 550 °С до 925 °С.
Рисунок D.1
(справочное)
МАГНИТНЫЕ СВОЙСТВА АУСТЕНИТНЫХ НЕРЖАВЕЮЩИХ СТАЛЕЙ
Все крепежные изделия из аустенитных нержавеющих сталей при нормальных условиях - немагнитные, но после холодного деформирования могут проявлять магнитные свойства.
Каждый материал характеризуется способностью намагничиваться, это применимо и к нержавеющим сталям. Полностью немагнитным может быть только вакуум. Магнитную проницаемость материала обозначают коэффициентом

, показывающим отношение магнитной проницаемости материала к магнитной проницаемости вакуума. Материал имеет низкую магнитную проницаемость, если его коэффициент

близок к 1.
Примеры:
(обязательное)
СВЕДЕНИЯ О СООТВЕТСТВИИ ССЫЛОЧНЫХ МЕЖДУНАРОДНЫХ СТАНДАРТОВ
ССЫЛОЧНЫМ НАЦИОНАЛЬНЫМ СТАНДАРТАМ РОССИЙСКОЙ ФЕДЕРАЦИИ
И ДЕЙСТВУЮЩИМ В ЭТОМ КАЧЕСТВЕ МЕЖГОСУДАРСТВЕННЫМ СТАНДАРТАМ
┌───────────────┬────────────┬────────────────────────────────────────────┐
│ Обозначение │ Степень │Обозначение и наименование соответствующего │
│ ссылочного │соответствия│ национального стандарта │
│международного │ │ │
│ стандарта │ │ │
├───────────────┼────────────┼────────────────────────────────────────────┤
│ │ │нормы взаимозаменяемости. Резьба метричес- │
│ │ │кая. Профиль" │
├───────────────┼────────────┼────────────────────────────────────────────┤
│ │ │нормы взаимозаменяемости. Резьба метричес- │
│ │ │кая. Диаметры и шаги" │
├───────────────┼────────────┼────────────────────────────────────────────┤
├───────────────┼────────────┼────────────────────────────────────────────┤
│ │ │крепежных изделий из углеродистой и легиро- │
│ │ │ванной стали. Часть 5. Установочные винты │
│ │ │и аналогичные резьбовые крепежные изделия, │
│ │ │не подвергаемые растягивающим напряжениям" │
├───────────────┼────────────┼────────────────────────────────────────────┤
│ │ │3:1998) "Основные норма взаимозаменяемости. │
│ │ │Резьба метрическая. Допуски. Посадки │
│ │ │с зазором" │
├───────────────┼────────────┼────────────────────────────────────────────┤
├───────────────┼────────────┼────────────────────────────────────────────┤
├───────────────┼────────────┼────────────────────────────────────────────┤
│ИСО 6506:1981 │ NEQ │
ГОСТ 9012-59 "Металлы. Метод измерения │
│ │ │твердости по Бринеллю" │
├───────────────┼────────────┼────────────────────────────────────────────┤
│ │ │Измерение твердости по Виккерсу. Часть 1. │
│ │ │Метод измерения" │
├───────────────┼────────────┼────────────────────────────────────────────┤
│ИСО 6508:1986 │ NEQ │
ГОСТ 9013-59 "Металлы. Метод измерения │
│ │ │твердости по Роквеллу" │
├───────────────┴────────────┴────────────────────────────────────────────┤
│ <*> Соответствующий национальный стандарт отсутствует. До его│
│утверждения рекомендуется использовать перевод на русский язык данного│
│международного стандарта. Перевод данного международного стандарта│
│находится в Федеральном информационном фонде технических регламентов│
│и стандартов. │
│ │
│ Примечание. В настоящей таблице использованы следующие условные│
│обозначения степени соответствия стандартов: │
│- IDT - идентичные стандарты; │
│- MOD - модифицированные стандарты; │
│- NEQ - неэквивалентные стандарты. │
└─────────────────────────────────────────────────────────────────────────┘
[1] ISO 683-13:1986, Heat-treated steels, alloy steels and free cutting steels - Part 13: Wrought stainless steels.
[2] ISO 4954:1993, Steels for cold heading and cold extruding.