Главная // Актуальные документы // ГОСТ Р (Государственный стандарт)СПРАВКА
Источник публикации
М.: Стандартинформ, 2009
Примечание к документу
Документ утратил силу с 1 июля 2014 года в связи с изданием
Приказа Росстандарта от 22.11.2013 N 1805-ст. Взамен введен в действие
ГОСТ 2226-2013.
Документ
введен в действие с 1 января 2010 года.
Название документа
"ГОСТ Р 53361-2009. Национальный стандарт Российской Федерации. Мешки из бумаги и комбинированных материалов. Общие технические условия"
(утв. и введен в действие Приказом Ростехрегулирования от 10.07.2009 N 239-ст)
"ГОСТ Р 53361-2009. Национальный стандарт Российской Федерации. Мешки из бумаги и комбинированных материалов. Общие технические условия"
(утв. и введен в действие Приказом Ростехрегулирования от 10.07.2009 N 239-ст)
Утвержден и введен в действие
Приказом Федерального
агентства по техническому
регулированию и метрологии
от 10 июля 2009 г. N 239-ст
НАЦИОНАЛЬНЫЙ СТАНДАРТ РОССИЙСКОЙ ФЕДЕРАЦИИ
МЕШКИ ИЗ БУМАГИ И КОМБИНИРОВАННЫХ МАТЕРИАЛОВ
ОБЩИЕ ТЕХНИЧЕСКИЕ УСЛОВИЯ
Bags made of paper and composite materials.
General specifications
ГОСТ Р 53361-2009
Дата введения
1 января 2010 года
Цели и принципы стандартизации в Российской Федерации установлены Федеральным
законом от 27 декабря 2002 г. N 184-ФЗ "О техническом регулировании", а правила применения национальных стандартов Российской Федерации -
ГОСТ Р 1.0-2004 "Стандартизация в Российской Федерации. Основные положения".
1. Разработан и внесен Техническим комитетом по стандартизации ТК 223 "Упаковка" (ОАО "НИЭКИТУ").
2. Утвержден и введен в действие Приказом Федерального агентства по техническому регулированию и метрологии от 10 июля 2009 г. N 239-ст.
3. Настоящий стандарт разработан с учетом основных нормативных положений международных стандартов:
ИСО 6590-1:1983 "Упаковка. Мешки. Словарь и типы. Часть 1. Бумажные мешки" (ISO 6590-1:1983 "Packaging - Sacks - Vocabulary and types - Part 1: Paper sacks", NEQ);
ИСО 6591-1:1984 "Упаковка. Мешки. Обозначение и метод измерения. Часть 1. Пустые бумажные мешки" (ISO 6591-1:1984 "Packaging - Sacks - Description and method of measurement - Part 1: Empty paper sacks", NEQ);
ИСО 7023:1983 "Упаковка. Мешки. Метод отбора пустых мешков для испытаний" (ISO 7023:1983 "Packaging - Sacks - Method of sampling of empty sacks for testing", NEQ);
ИСО 7965-1:1984 "Упаковка. Мешки. Испытание на сбрасывание. Часть 1. Бумажные мешки" (ISO 7965-1:1984 "Packaging - Sacks - Drop test - Part 1: Paper sacks", NEQ);
ИСО 8367-1:1993 "Упаковка. Допуски и размеры мешков общего назначения. Часть 1. Бумажные мешки" (ISO 8367-1:1993 "Packaging - Dimensional tolerances for general purpose sacks - Part 1: Paper sacks", NEQ).
4. Введен впервые.
Информация об изменениях к настоящему стандарту публикуется в ежегодно издаваемом информационном указателе "Национальные стандарты", а текст изменений и поправок - в ежемесячно издаваемых информационных указателях "Национальные стандарты". В случае пересмотра (замены) или отмены настоящего стандарта соответствующее уведомление будет опубликовано в ежемесячно издаваемом информационном указателе "Национальные стандарты". Соответствующая информация, уведомление и тексты размещаются также в информационной системе общего пользования - на официальном сайте Федерального агентства по техническому регулированию и метрологии в сети Интернет.
Настоящий стандарт распространяется на мешки из бумаги и комбинированных материалов (далее - мешки), предназначенные для упаковывания сыпучей и штучной продукции массой до 50 кг.
Мешки, предназначенные для упаковывания, транспортирования и хранения опасных грузов, должны соответствовать требованиям
ГОСТ 26319.
В настоящем стандарте использованы нормативные ссылки на следующие стандарты:
ГОСТ Р ИСО 2859-1-2007. Статистические методы. Процедуры выборочного контроля по альтернативному признаку. Часть 1. Планы выборочного контроля последовательных партий на основе приемлемого уровня качества
ГОСТ 12.1.004-91. Система стандартов безопасности труда. Пожарная безопасность. Общие требования
ГОСТ 12.1.044-89 (ИСО 4589-84). Система стандартов безопасности труда. Пожаровзрывоопасность веществ и материалов. Номенклатура показателей и методы их определения
ГОСТ 427-75. Линейки измерительные металлические. Технические условия
ГОСТ 503-81. Лента холоднокатаная из низкоуглеродистой стали. Технические условия
ГОСТ 3560-73. Лента стальная упаковочная. Технические условия
ГОСТ 7502-98. Рулетки измерительные металлические. Технические условия
ГОСТ 10178-85. Портландцемент и шлакопортландцемент. Технические условия
ГОСТ 18106-72. Тара транспортная наполненная. Обозначение частей тары для испытания
ГОСТ 18425-73. Тара транспортная наполненная. Метод испытания на удар при свободном падении
ГОСТ 18992-80. Дисперсия поливинилацетатная гомополимерная грубодисперсная. Технические условия
ГОСТ 21798-76. Тара транспортная наполненная. Метод кондиционирования для испытаний
ГОСТ 26663-85. Пакеты транспортные. Формирование с применением средств пакетирования. Общие технические требования.
Примечание. При пользовании настоящим стандартом целесообразно проверить действие ссылочных стандартов в информационной системе общего пользования - на официальном сайте Федерального агентства по техническому регулированию и метрологии в сети Интернет или по ежегодно издаваемому информационному указателю "Национальные стандарты", который опубликован по состоянию на 1 января текущего года, и по соответствующим ежемесячно издаваемым информационным указателям, опубликованным в текущем году. Если ссылочный стандарт заменен (изменен), то при пользовании настоящим стандартом следует руководствоваться заменяющим (измененным) стандартом. Если ссылочный стандарт отменен без замены, то положение, в котором дана ссылка на него, применяется в части, не затрагивающей эту ссылку.
В настоящем стандарте применены термины по
ГОСТ 17527, а также следующие термины с соответствующими определениями:
3.1. Слой: лист бумаги или комбинированного материала, образующий стенки мешка.
3.2. Клапан: отверстие, сформированное в одном из верхних углов мешка путем закладывания угла мешка внутрь, через которое мешок заполняют и которое после заполнения не позволяет содержимому высыпаться из мешка.
3.3. Фальц: продольная складка в боковой стенке мешка, образованная тремя продольными сгибами - одним внутренним и двумя наружными.
3.4. Ширина фальца: расстояние между наружными линиями сгиба расправленного фальца.
Термины и определения, используемые при производстве мешков, приведены в
Приложении А.
4. Классификация, основные параметры и размеры
4.1. Мешки изготовляют типов, указанных в таблице 1.
Таблица 1
─────────────────────────────────────────────┬─────────────────────────────
Тип мешка │ Рисунок
───────────┬─────────────────────────────────┤
Обозначение│ Наименование │
───────────┴─────────────────────────────────┴─────────────────────────────
I-1 Мешок склеенный с открытым верхом
плоский с шестиугольным дном
───────────────────────────────────────────────────────────────────────────
I-2 Мешок склеенный с открытым верхом
плоский с подвернутым дном
Рисунок 2
───────────────────────────────────────────────────────────────────────────
I-3 Мешок склеенный с открытым верхом
с фальцами и прямоугольным дном
Рисунок 3
───────────────────────────────────────────────────────────────────────────
I-4 Мешок склеенный с открытым верхом
с фальцами и подвернутым дном
Рисунок 4
───────────────────────────────────────────────────────────────────────────
I-5 Мешок склеенный с закрытым
верхом с клапаном плоский с
шестиугольным дном и верхом
Рисунок 5
───────────────────────────────────────────────────────────────────────────
I-6 Мешок склеенный с закрытым
верхом с клапаном с
прямоугольным дном
Рисунок 6
───────────────────────────────────────────────────────────────────────────
II-1 Мешок сшитый с открытым верхом
плоский
Рисунок 7
───────────────────────────────────────────────────────────────────────────
II-2 Мешок сшитый с открытым верхом с
фальцами
Рисунок 8
───────────────────────────────────────────────────────────────────────────
II-3 Мешок сшитый с закрытым верхом с
клапаном плоский
Рисунок 9
───────────────────────────────────────────────────────────────────────────
II-4 Мешок сшитый с закрытым верхом с
клапаном и фальцами
Рисунок 10
───────────────────────────────────────────────────────────────────────────
III-1 Мешок склеенный сшитый плоский с
клапаном и шестиугольным дном
Рисунок 11
───────────────────────────────────────────────────────────────────────────
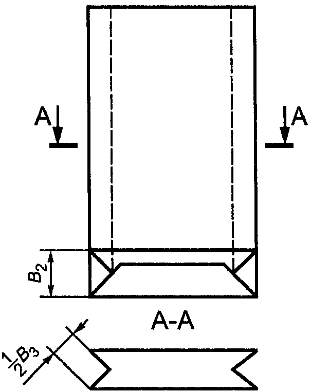
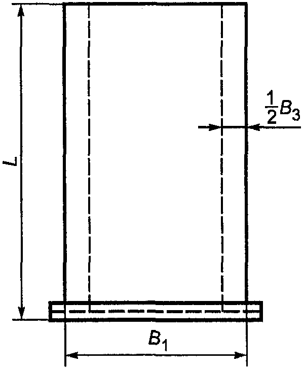
Примечание. Условные обозначения, применяемые на
рисунках 1 - 11:
L - длина мешка; B - ширина мешка с развернутым фальцем; B - ширина
1
мешка; B - ширина дна; B - ширина фальца; h - высота клапана; m - длина
2 3
манжеты клапана.
───────────────────────────────────────────────────────────────────────────
По согласованию с потребителем (заказчиком) допускается изготовлять мешки других конструкций с различным сочетанием склеенного и сшитого верха и дна мешка.
4.2. В зависимости от применяемых видов бумаги и комбинированных материалов мешки изготовляют марок, указанных в таблице 2.
Марка мешка | Характеристика | Применение |
НМ | Мешок со всеми слоями из непропитанной мешочной бумаги | Для негигроскопичной продукции |
НМ(п) | Мешок со всеми слоями из непропитанной мешочной бумаги с полиэтиленовой пленкой между слоями | Для гигроскопичной продукции и продукции, транспортируемой в условиях повышенной влажности |
УНМ | Мешок с верхним слоем из бумаги из беленой целлюлозы и остальными слоями из непропитанной мешочной бумаги | Для негигроскопичной продукции |
УНМ(п) | Мешок с верхним слоем из бумаги из беленой целлюлозы и остальными слоями из непропитанной мешочной бумаги с полиэтиленовой пленкой между слоями | Для гигроскопичной продукции и продукции, транспортируемой в условиях повышенной влажности |
БМ | Мешок с 1 - 3 слоями из мешочной битумированной бумаги и остальными слоями из непропитанной мешочной бумаги | Для малогигроскопичной продукции |
БМП | Мешок с 1 - 3 слоями из мешочной битумированной бумаги, с внутренним слоем из мешочной бумаги, ламинированной полиэтиленом, и остальными слоями из мешочной непропитанной бумаги | Для гигроскопичной продукции, агрессивных химикатов, для продукции, не допускающей попадания волокон бумаги |
БМК | Мешок с 1 - 3 слоями мешочной битумированной бумаги и остальными слоями из мешочной микрокрепированной бумаги | Для малогигроскопичной продукции |
УБМ | Мешок с верхним слоем из бумаги из беленой целлюлозы, одним слоем из мешочной битумированной бумаги и остальными слоями из мешочной непропитанной бумаги | Для малогигроскопичной продукции |
ВМ | Мешок с 1 - 3 слоями из мешочной влагопрочной бумаги и остальными слоями из мешочной непропитанной бумаги | Для продукции, транспортируемой в условиях повышенной влажности |
ВМБ | Мешок с 1 - 2 слоями из мешочной влагопрочной бумаги, 1 - 2 слоями из мешочной битумированной бумаги и остальными слоями из мешочной непропитанной бумаги | Для малогигроскопичной продукции, транспортируемой в условиях повышенной влажности |
ВМП | Мешок с 1 - 2 слоями из мешочной влагопрочной бумаги, ламинированной полиэтиленом, и остальными слоями из мешочной непропитанной бумаги | Для гигроскопичной продукции, агрессивных химикатов, для продукции, не допускающей попадания волокон бумаги, транспорти- руемых в условиях повышенной влажности |
ПМ | Мешок с 1 - 2 слоями из мешочной бумаги, ламинированной полиэтиленом, и остальными слоями из мешочной непропитанной бумаги | Для гигроскопичной продукции, агрессивных химикатов, для продукции, не допускающей попадания волокон бумаги |
УПМ | Мешок с верхним слоем из бумаги из беленой целлюлозы, с 1 - 2 слоями мешочной бумаги, ламинированной полиэтиленом, и остальными слоями из мешочной непропитанной бумаги | Для гигроскопичной продукции, пищевых продуктов, агрессивных химикатов, для продукции, не допускающей попадания волокон бумаги |
ПМ(с) | Мешок с внутренним слоем из мешочной бумаги, ламинированной полиэтиленом, с адгезионным покрытием на основе силиконовых материалов и 3 слоями из мешочной непропитанной бумаги | Для строительного нефтебитума |
МК | Мешок со всеми слоями из микрокрепированной мешочной бумаги | Для негигроскопичной продукции |
МК(п) | Мешок со всеми слоями из микрокрепированной мешочной бумаги с полиэтиленовой пленкой между слоями | Для гигроскопичной продукции и продукции, транспортируемой в условиях повышенной влажности |
МКП | Мешок с 1 - 2 слоями из мешочной микрокрепированной бумаги, ламинированной полиэтиленом, и остальными слоями из микро- крепированной мешочной бумаги | Для гигроскопичной продукции, пищевых продуктов, агрессивных химикатов, для продукции, не допускающей попадания волокон бумаги |
УМК | Мешок с верхним слоем из микро- крепированной бумаги из беленой целлюлозы и остальными слоями из микрокрепированной мешочной бумаги | Для негигроскопичной продукции |
УМК(п) | Мешок с верхним слоем из микрокрепированной бумаги из беленой целлюлозы, остальными слоями из микрокрепированной мешочной бумаги с полиэтиленовой пленкой между слоями | Для гигроскопичной продукции и продукции, транспортируемой в условиях повышенной влажности |
УМКП | Мешок с верхним слоем из микро- крепированной бумаги из беленой целлюлозы, 1 слоем из микрокрепи- рованной мешочной бумаги, ламини- рованной полиэтиленом, и осталь- ными слоями из микрокрепированной мешочной бумаги | Для сыпучей и штучной гигроскопичной продукции, пищевых продуктов, не допускающих попадания в них волокон бумаги |
МКВ | Мешок со всеми слоями из мешочной микрокрепированной высокопористой бумаги | Для негигроскопичной продукции |
МКВ(п) | Мешок со всеми слоями из мешоч- ной микрокрепированной высоко- пористой бумаги с полиэтиленовой пленкой с нанесенной перфорацией | Для гигроскопичной продукции, транспортируемой в условиях повышенной влажности |
УМКВ | Мешок с одним (верхним) слоем из микрокрепированной высокопористой бумаги из беленой целлюлозы и остальными слоями из мешочной микрокрепированной высокопористой бумаги | Для негигроскопичной продукции |
УМКВ(п) | Мешок с одним (верхним) слоем из микрокрепированной высокопористой бумаги из беленой целлюлозы и остальными слоями из мешочной микрокрепированной высокопористой бумаги с полиэтиленовой пленкой с нанесенной перфорацией | Для гигроскопичной продукции, транспортируемой в условиях повышенной влажности |
По согласованию с потребителем (заказчиком) допускается изготовлять мешки с другим сочетанием и расположением слоев бумаги.
4.3. Тип, размеры, марку мешка и предельную массу упаковываемой продукции устанавливают в технической документации на мешки для конкретных видов продукции.
Предпочтительными являются размеры, максимально увязанные с размерами средств пакетирования, транспортного и складского оборудования.
4.5. Предельные отклонения от размеров мешков не должны превышать, см:
+/- 1,0 - по длине мешка;
+/- 0,5 - по ширине мешка;
+/- 0,5 - по ширине дна мешка;
+/- 0,5 - по ширине фальца.
4.6. Перечень продукции, рекомендуемой для упаковывания в мешки, приведен в
таблице 2.
4.7. Условное обозначение мешка при заказе должно содержать:
- наименование;
- тип;
- марку;
- общее число слоев бумаги, комбинированных материалов (слойность);
- размеры, см;
- обозначение настоящего стандарта.
Пример условного обозначения мешка бумажного, склеенного, с закрытым верхом с клапаном, плоского, с шестиугольным дном и верхом, из микрокрепированной бумаги, трехслойного, размерами

(65 x 49,5 x 9) см:
Мешок бумажный, тип I-5, МК, трехслойный,
(65 x 49,5 x 9) см ГОСТ Р 53361-2009
Примечание. В маркировке допускается полная расшифровка типа бумажного мешка.
5. Технические требования
5.1. Мешки изготовляют в соответствии с требованиями настоящего стандарта по технической документации, технологическим регламентам, рабочим чертежам на мешки для конкретных видов продукции.
5.2. Характеристики
5.2.1. Общее число слоев бумаги и комбинированных материалов должно быть: от одного до шести - в открытых мешках и от двух до шести - в закрытых мешках с клапаном.
Число слоев в мешках из микрокрепированной бумаги - от двух до четырех.
5.2.2. Расположение слоев мешочной бумаги, комбинированных и пленочных материалов устанавливают в технической документации на мешки для конкретных видов продукции.
5.2.3. Продольный клеевой шов в мешке должен иметь нахлест не менее 1,0 см.
5.2.4. Расстояние между двумя наружными сгибами фальца должно составлять [(8 - 16) +/- 0,5] см.
5.2.5. Прочность мешков характеризуется показателем сопротивления ударам при свободном падении.
Число ударов при испытании открытых мешков должно соответствовать нормам, установленным в таблице 3.
Слой- ность мешков | Высота сбрасы- вания, см | Число ударов для открытых мешков марок | Высота сбрасы- вания, см | Число ударов для закрытых мешков с клапаном марок |
НМ, ВМ, ВМП, ПМ, УПМ, ПМ(с) | БМ, БМП, БМК, УБМ, ВМБ | БМК, МК, МК(п), МКП, УМК, УМК(п), УМКП | НМ, ВМ, ВМП, ПМ | БМ, БМП, ВМБ | МК, МК(п), МКП, УМК, УМК(п), УМКП, МКВ, МКВ(п), УМКВ, УМКВ(п) |
1 | 30 | 6 | - | - | - | - | - | - |
2 | 30 | - | - | 9 | 90 | - | - | 8 |
3 | 30 | 8 | 6 | 13 | 90 | 8 | 6 | 14 |
4 | 30 | 9 | 8 | 16 | 90 | 13 | 8 | 20 |
5 | 30 | 13 | 13 | - | 90 | 16 | 14 | - |
6 | 30 | 16 | 16 | - | 90 | 19 | 16 | - |
Число ударов при испытании закрытых мешков должно соответствовать нормам, установленным в
таблицах 3 и 4.
Слой- ность мешков | Высота сбрасы- вания, см | Число ударов для закрытых мешков с клапаном марок | Высота сбрасы- вания, см | Число ударов для закрытых мешков с клапаном марок |
НМ, ВМ, ВМП, ПМ | МК, МК(п), УМК, УМК(п), УМКП, МКВ, МКВ(п), УМКВ, УМКВ(п) | БМ | БМП | ВМБ |
2 | 120 | - | 4 | - | - | - | - |
3 | 145 | 2 | 4 | 115 | 2 | - | 2 |
- | - | - | - | 130 | - | 2 | - |
4 | 190 | 2 | 4 | 130 | 2 | - | 2 |
- | - | - | - | 145 | - | 2 | - |
5 | 205 | 2 | - | 175 | 2 | - | 2 |
- | - | - | - | 190 | - | 2 | - |
6 | 220 | 2 | - | 190 | 2 | - | 2 |
- | - | - | - | 205 | - | 2 | - |
5.2.6. В мешках не допускаются дефекты:
- разрывы, отверстия;
- клеевые пятна, приводящие к склеиванию мешков;
- прерывистость клеевых и ниточных швов;
- отсутствие нахлеста в продольном шве;
- швы, не закрытые крепированной лентой.
Допускается нарушение клеевых швов длиной не более 2 мм.
5.2.7. Склеенные мешки типа I изготовляют плоскими или с фальцами, открытыми или закрытыми с клапаном.
Способы склеивания мешков приведены в Приложении В
(рисунок В.1).
5.2.8. По согласованию с потребителем (заказчиком) в верхней части склеенных открытых мешков
типов I-1,
I-2,
I-3,
I-4 наносят поперечную точечную склейку слоев или вырубку для пальцев.
5.2.9. Склеенные закрытые мешки
типов I-5 и
I-6 изготовляют с клапаном или с клапаном, снабженным манжетой или упрочняющим листом. Конструкцию и размеры клапана и манжеты устанавливают по согласованию с потребителем (заказчиком) в технической документации на мешки для конкретных видов продукции.
По согласованию с потребителем (заказчиком) склеенные закрытые мешки
типов I-5 и
I-6 могут иметь точечную перфорацию для выпуска воздуха при загрузке мешка продукцией.
5.2.10. Высота вырубки клапана сшитых мешков
типов II-3,
II-4 должна составлять (3 +/- 0,5) см, ширина вырубки - (6 +/- 0,5) см.
5.2.11. Пошив мешков типа II проводят одним из способов, приведенных в Приложении В
(рисунок В.2), виды швов - в соответствии с
рисунком В.3.
5.2.12. При сшивке мешка должна применяться крепированная лента из мешочной бумаги. Лента должна выступать за края мешка на 2,5 - 5 см.
Ширина ленты должна быть [(5 - 6) +/- 0,5] см.
При изготовлении мешков марки ПМ(с) швы дополнительно герметизируют путем оклейки крепированной лентой в соответствии с Приложением В (
рисунок В.2, исполнения В,
Г и
Д).
5.2.13. Швы должны располагаться на расстоянии (15 +/- 2) мм от края мешка.
5.2.14. Длина стежка ниточного шва для открытых мешков должна составлять 10 - 12 мм, для закрытых мешков с клапаном - 8 - 10 мм.
Допускается длина стежка ниточного шва для открытых мешков (11 +/- 2) мм при обеспечении установленной прочности шва.
5.2.15. Требования к мешкам, предназначенным для опасных грузов, должны соответствовать
ГОСТ 26319.
5.2.16. Качество продольных клеевых швов определяется показателем разрушающего усилия клеевого шва и должно составлять не менее значения минимального разрушающего усилия бумаги в поперечном направлении в сухом состоянии.
5.2.17. По согласованию с потребителем (заказчиком) мешки можно изготовлять с демонстрационными окнами из неокрашенного полимерного материала.
5.2.18. По согласованию с потребителем (заказчиком) на поверхность мешков может быть нанесена цветная печать.
Печать должна быть четкой, ровной, легко читаемой, не красящейся.
Не допускаются загрязнения или пятна от печатной краски, затрудняющие чтение надписей, отслоение краски.
При многоцветной печати допускается смещение цветов относительно контура или друг друга не более 0,5 мм.
5.3. Требования к сырью и материалам
5.3.1. Для изготовления мешков применяют: мешочную бумагу по
ГОСТ 2228, микрокрепированную бумагу по стандарту организации
[1] или другие виды бумаги и комбинированных материалов по нормативным документам с показателями качества не ниже показателей качества мешочной бумаги, полиэтиленовую пленку по
ГОСТ 10354.
5.3.2. Для склеивания мешков применяют поливинилацетатную дисперсию по
ГОСТ 18992, клеи на основе картофельного крахмала по
ГОСТ 7699 или другие клеи по нормативным документам, обеспечивающие прочность мешка.
5.3.3. Для сшивания мешков применяют хлопчатобумажные нитки 50 текс x 5 (N 20/5), 50 текс x 6 (N 20/6), 200 текс x 3 (N 5/3), а также синтетические или другие виды ниток по нормативным документам, обеспечивающие прочность сшивки мешка.
5.3.4. Материалы, применяемые для изготовления мешков, контактирующих с пищевой продукцией, должны быть разрешены для использования в указанных целях национальными органами санитарно-эпидемиологического надзора и должны соответствовать требованиям гигиенических нормативов
[2] и санитарных правил
[3].
5.4. Маркировка
5.4.1. На каждую кипу мешков наклеивают бумажный ярлык, содержащий:
- наименование и назначение мешка;
- наименование страны-изготовителя;
- наименование предприятия-изготовителя и его юридический адрес;
- товарный знак (при наличии);
- тип, марку, слойность и размеры мешка;
- количество мешков в кипе;
- дату изготовления;
- обозначение настоящего стандарта;
- информацию о способе утилизации мешков после их использования или экологическую маркировку;
- штриховой код (при наличии).
5.4.2. Допускается по согласованию с потребителем (заказчиком) наносить на мешки маркировку, характеризующую упаковываемую продукцию, или другую информацию.
5.4.3. Мешки, предназначенные для опасных грузов, маркирует предприятие - изготовитель упаковываемой продукции в соответствии с ГОСТ 26319
(приложение 2).
5.4.4. Транспортную маркировку наносят в соответствии с требованиями
ГОСТ 14192.
На каждую кипу мешков наклеивают ярлык по
ГОСТ 14192 с предупредительной надписью "Не бросать" и манипуляционными знаками: "Беречь от влаги" и "Крюками не брать".
Допускается совмещение на одном ярлыке транспортной маркировки с маркировкой, характеризующей продукцию.
5.4.5. Для мешков, прошедших сертификацию, в товаросопроводительной документации указывают национальный знак соответствия или номер сертификата соответствия.
5.5. Упаковка
5.5.1. Мешки одних размеров, назначения, типа, марки и слойности упаковывают в кипы.
Общее количество мешков в кипе может составлять до 2500 шт. в каждой.
Общее количество мешков, транспортируемых на поддонах, может составлять до 5000 шт.
5.5.2. Кипы до 200 шт. подпрессовывают и перевязывают бумажным шпагатом или другими обвязочными средствами тремя поясами (два в поперечном и один в продольном или все три в поперечном направлении).
Кипы свыше 500 до 2500 шт. подпрессовывают, упаковывают по боковым сторонам в четыре слоя бумаги и затягивают в поперечном направлении тремя поясами нагартованной и полунагартованной упаковочной ленты по
ГОСТ 3560 и
ГОСТ 503 или другими обвязочными средствами.
В местах соединения концы обвязочных средств должны быть закреплены пряжками или внахлест. Концы обвязочных средств должны быть затянуты таким образом, чтобы они не мешали погрузочно-разгрузочным работам и не повреждали мешки.
5.5.3. Формирование мешков в транспортные пакеты с применением средств пакетирования и скрепления проводят с учетом требований
ГОСТ 26663.
5.5.4. По согласованию с потребителем (заказчиком) допускаются другие способы упаковывания мешков, обеспечивающие сохранность продукции.
6. Требования безопасности
6.1. Бумажные мешки нетоксичны, в обращении безопасны. Мешки являются горючим материалом, пожароопасны.
При хранении и эксплуатации мешки следует защищать от источников нагревания и прямых солнечных лучей, соблюдать правила пожарной безопасности.
При загорании мешки следует тушить любыми средствами пожаротушения.
6.2. Мешки изготовляют в помещениях, оборудованных местной и общеобменной приточно-вытяжной вентиляцией.
Производство мешков должно быть обеспечено техническими средствами контроля за воздушной средой в рабочей зоне.
6.3. Содержание вредных веществ в воздухе производственных помещений не должно превышать значений, установленных гигиеническими нормативами
[4].
7. Требования ресурсосбережения и экологии
7.1. В целях ресурсосбережения и исключения загрязнения окружающей среды отходы, образующиеся при изготовлении мешков, а также мешки, бывшие в употреблении, должны утилизироваться и перерабатываться во вторичное сырье на предприятиях по переработке бумаги и комбинированных материалов.
7.2. Мешки, бывшие в употреблении и непригодные для переработки во вторичное сырье, должны быть подвергнуты захоронению или уничтожению в установленном порядке.
8.1. Мешки предъявляют к приемке партиями.
Партией считается количество мешков одного типа, марки, слойности и размеров, оформленное одним документом о качестве, содержащим:
- наименование и назначение мешков;
- наименование страны-изготовителя;
- наименование предприятия-изготовителя и его юридический адрес;
- товарный знак (при наличии);
- тип, марку, размеры и слойность мешка;
- номер партии;
- количество мешков в партии;
- дату изготовления;
- обозначение настоящего стандарта;
- результаты испытаний или подтверждение о соответствии качества мешков требованиям настоящего стандарта;
- гигиеническое заключение для мешков, предназначенных для упаковывания пищевых продуктов;
- информацию о необходимости утилизации мешков после их использования.
В документ о качестве допускается вносить другую информацию, касающуюся качества мешков.
8.2. При контроле качества проводят приемо-сдаточные, периодические и типовые испытания мешков в соответствии с таблицей 5.
Таблица 5
┌─────────────────┬─────────────────┬────────────────────┬────────────────┐
│ Контролируемый │ Количество │ Вид испытаний │ Номер пункта │
│ показатель │ испытуемых ├───────┬──────┬─────┼────────┬───────┤
│ │ образцов │приемо-│перио-│типо-│техни- │методов│
│ │ │сдаточ-│дичес-│вые │ческих │испыта-│
│ │ │ные │кие │ │требо- │ний │
│ │ │ │ │ │ваний │ │
├─────────────────┼─────────────────┼───────┼──────┼─────┼────────┼───────┤
│ Качество изго- │ Каждая единица │ + │ - │ + │
5.2.6 │
9.1 │
│товления мешков │выборки │ │ │ │ │ │
│(внешний вид) │ │ │ │ │ │ │
├─────────────────┼─────────────────┼───────┼──────┼─────┼────────┼───────┤
│ Качество швов │ Каждая единица │ + │ - │ + │
5.2.11 -│
9.1 │
├─────────────────┼─────────────────┼───────┼──────┼─────┼────────┼───────┤
│ Размеры │ В соответствии │ + │ - │ + │
5.2.3, │
9.2 │
│ │с планом контроля│ │ │ │
5.2.4 │ │
├─────────────────┼─────────────────┼───────┼──────┼─────┼────────┼───────┤
│ Сопротивление │ В соответствии │ - │ + │ + │
5.2.5 │
9.3, │
│ударам при │с планом контроля│ │ │ │ │
9.3.1 -│
│свободном падении│ │ │ │ │ │
9.3.9│
├─────────────────┼─────────────────┼───────┼──────┼─────┼────────┼───────┤
│ Разрушающее │ В соответствии │ - │ + │ + │
5.2.16 │
9.5, │
│усилие клеевого │с планом контроля│ │ │ │ │
9.5.1 -│
├─────────────────┴─────────────────┴───────┴──────┴─────┴────────┴───────┤
│ Примечание. Знак "+" означает, что показатель проверяют; знак "-" -│
│не проверяют. │
└─────────────────────────────────────────────────────────────────────────┘
8.3. Приемо-сдаточные испытания проводят для каждой контролируемой партии мешков.
Типовые испытания проводят при постановке продукции на производство, при внедрении и применении новых материалов, изменении технологии производства мешков, при разногласиях в оценке качества мешков.
8.4. Периодические испытания мешков проводят не реже одного раза в месяц на партиях мешков, прошедших приемо-сдаточные испытания.
По согласованию с потребителем (заказчиком) допускается в нормативных документах на мешки для конкретных видов продукции, технологических регламентах, договорах на поставку, контрактах устанавливать другие сроки проведения периодических испытаний и перечень контролируемых показателей в зависимости от назначения мешков.
8.5. Контроль качества мешков на соответствие требованиям настоящего стандарта проводят с учетом требований
ГОСТ Р ИСО 2859-1 по двухступенчатому нормальному плану выборочного контроля, общему уровню контроля II и приемлемому уровню качества (AQL).
Рекомендуемые значения приемлемого уровня качества приведены в таблице 6.
Таблица 6
Контролируемый показатель | Приемлемый уровень качества AQL (процент несоответствующих единиц продукции или число несоответствий на 100 единиц продукции) |
Внешний вид, качество швов | 1,5 |
Размеры | 1,5 |
Разрушающее усилие клеевого шва | 1,0 - 1,5 |
Сопротивление ударам при свободном падении | 1,5 - 2,5 |
8.6. Для проведения контроля качества из разных мест партии мешков случайным образом отбирают выборки в объемах, указанных в таблице 7.
Объем партии, шт. | Выборка | Объем выборки, шт. | Совокуп- ный объем выборки, шт. | Приемлемый уровень качества AQL (процент несоответствующих единиц продукции или число несоответствий на 100 единиц продукции), нормальный контроль |
1,0 | 1,5 | 2,5 |
Ac | Re | Ac | Re | Ac | Re |
От 1201 до 3200 включ. | Первая | 80 | 80 | 1 | 3 | 2 | 5 | 3 | 6 |
Вторая | 80 | 160 | 4 | 5 | 6 | 7 | 9 | 10 |
От 3201 до 10000 включ. | Первая | 125 | 125 | 2 | 5 | 3 | 6 | 5 | 9 |
Вторая | 125 | 250 | 6 | 7 | 9 | 10 | 12 | 13 |
От 10001 до 35000 включ. | Первая | 200 | 200 | 3 | 6 | 5 | 9 | 7 | 11 |
Вторая | 200 | 400 | 9 | 10 | 12 | 13 | 18 | 19 |
От 35001 до 150000 включ. | Первая | 315 | 315 | 5 | 9 | 7 | 11 | 11 | 16 |
Вторая | 315 | 630 | 12 | 13 | 18 | 19 | 26 | 27 |
От 150001 до 500000 включ. | Первая | 500 | 500 | 7 | 11 | 11 | 16 | 11 | 16 |
Вторая | 500 | 1000 | 18 | 19 | 26 | 27 | 26 | 27 |
Св. 500000 | Первая | 800 | 800 | 11 | 16 | 11 | 16 | 11 | 16 |
Вторая | 800 | 1600 | 26 | 27 | 26 | 27 | 26 | 27 |
Примечание. В настоящей таблице применены обозначения: Ac - приемочное число; Re - браковочное число. |
В зависимости от объема партии мешков, объема выборки и величины приемлемого уровня качества (AQL) определяют приемочные и браковочные числа по
таблице 7.
8.7. Если число несоответствующих единиц продукции в первой выборке менее приемочного числа первой ступени или равно ему, партию признают приемлемой. Если число несоответствующих единиц продукции, обнаруженных в первой выборке, превышает браковочное число первой ступени или равно ему, партию считают неприемлемой.
8.8. Если число несоответствующих единиц продукции первой выборки находится в интервале между приемочным и браковочным числами первой ступени, необходимо контролировать вторую выборку с объемом, заданным планом. Число несоответствующих единиц продукции, обнаруженных в первой и второй выборках, суммируют. Если кумулятивное (суммарное) число несоответствующих единиц продукции менее приемочного числа второй ступени или равно ему, партию считают приемлемой. Если кумулятивное (суммарное) число несоответствующих единиц продукции превышает браковочное число второй ступени или равно ему, партию считают неприемлемой.
8.9. Если в первой выборке не обнаружены мешки, не отвечающие требованиям испытаний на прочность, то мешки, отобранные во вторую выборку, на прочность не испытывают.
Мешки, не соответствующие требованиям настоящего стандарта по показателю прочности, допускается относить к мешкам с меньшей слойностью, при этом число ударов должно соответствовать указанным в
таблицах 3 и
4 для мешков установленной слойности.
8.10. По согласованию с потребителем (заказчиком) допускается устанавливать другие планы контроля качества в технической документации на мешки для конкретных видов продукции, договорах на поставку, контрактах, технологических регламентах в зависимости от назначения мешков и значимости несоответствий контролируемых показателей качества мешков.
8.11. Правила переключения на нормальный, усиленный или ослабленный планы выборочного контроля - по ГОСТ Р ИСО 2859-1
(раздел 9).
8.12. Распоряжение несоответствующими единицами или партиями мешков - по ГОСТ Р ИСО 2859-1
(раздел 7).
9.1. Контроль качества изготовления мешков (внешний вид, качество швов, печать) оценивают визуально без применения увеличительных приборов путем сравнения с требованиями настоящего стандарта и образцами-эталонами, утвержденными в установленном порядке.
9.2. Размеры мешков контролируют линейкой по
ГОСТ 427 или рулеткой по
ГОСТ 7502 с погрешностью не более 1,0 мм.
9.3. Контроль прочности мешков, характеризуемый показателем сопротивления ударам при свободном падении, проводят с учетом требований ГОСТ 18425 и в соответствии с 9.3.1 -
9.3.9.
9.3.1. Количество образцов для испытаний сопротивлению ударам при свободном падении устанавливают в соответствии с планом контроля, но не менее 10 шт.
Каждому образцу присваивают порядковый номер и наносят обозначение поверхностей в соответствии с ГОСТ 18106.
9.3.2. Незаполненные мешки кондиционируют по
режиму 7 ГОСТ 21798 при температуре (23 +/- 2) °C, относительной влажности (50 +/- 2)% в течение 8 ч, если другие условия не установлены в технической документации на мешки для конкретных видов продукции, договорах на поставку, контрактах.
9.3.3. Для испытания закрытых мешков применяют сбрасывающее устройство с раскрывающимися створками, приведенное в Приложении Г
(рисунок Г.1), обеспечивающее:
- свободное падение мешка в заданном направлении на сторону (плашмя);
- подъем и сбрасывание мешка;
- установку высоты сбрасывания с погрешностью не более +/- 2%.
9.3.4. Для испытания открытых мешков применяют устройство, обеспечивающее сбрасывание мешка на торец с высоты (30 +/- 0,5) см, по Приложению Г,
рисунок Г.2.
9.3.5. Мешки заполняют продукцией, для которой они предназначены, или бутафорией, которая по объемному весу и номинальной массе должна соответствовать упаковываемой продукции. Отклонение от номинальной массы должно составлять не более +/- 0,2%.
В качестве бутафории применяют портландцемент по
ГОСТ 10178, песок, древесные опилки, гранулы полимерных материалов или их смесь.
Заполненный мешок закупоривают способом, аналогичным применяемому при подготовке продукции к транспортированию и реализации.
9.3.6. Испытания мешков проводят в тех же условиях, в которых они кондиционировались.
Допускается испытывать мешки в условиях, отличающихся от условий кондиционирования, если время с момента окончания кондиционирования до начала испытаний составляет не более 3 мин.
9.3.7. Испытание закрытых мешков
Подготовленный к испытанию закрытый мешок помещают в центре раскрывающейся площадки поверхностями 1 или 3 по
ГОСТ 18106 таким образом, чтобы линия разъема створок проходила посередине мешка, как показано в Приложении Г,
рисунок Г.1.
Площадку поднимают на заданную высоту, определяемую по расстоянию между нижней точкой на мешке в момент высвобождения и ближайшей точкой на ударной поверхности. Затем створки площадки раскрывают, и происходит сбрасывание.
Половину мешков сбрасывают поочередно на поверхность 1, а остальные - на поверхность 3. Число ударов должно соответствовать нормам, указанным в
таблице 4.
9.3.7.1. Допускается по согласованию с потребителем (заказчиком) проводить испытания закрытых мешков вручную путем сбрасывания с высоты (90 +/- 2) см плашмя поверхностью 3 вниз на ударную площадку. При этом число ударов должно соответствовать нормам, указанным в
таблице 3.
9.3.7.2. Закрытые мешки длиной более 70 см допускается испытывать на сбрасывающем устройстве для открытых мешков по
9.3.4 путем сбрасывания на торец с высоты (30 +/- 0,5) см. При этом половину отобранных мешков испытывают клапаном вверх, а остальные - клапаном вниз.
Число ударов должно соответствовать нормам для открытых мешков, указанным в
таблице 3.
9.3.8. Испытание открытых мешков
Горловину заполненного мешка загибают перпендикулярно к продольной оси мешка. Длина отогнутой части должна составлять 10 - 15 см.
Горловину мешка закрепляют таким образом, чтобы обеспечить сбрасывание мешка на торец с высоты (30 +/- 0,5) см. Затем мешок сбрасывают. Число ударов должно соответствовать нормам, указанным в
таблице 3.
9.3.9. Мешок считают выдержавшим испытания, если после испытания в заданных условиях он не имеет разрывов всех слоев, влияющих на сохранность продукции.
9.4. Мешки, предназначенные для транспортирования опасных грузов, подвергают испытаниям по
ГОСТ 26319.
9.5. Для контроля показателя разрушающего усилия клеевого шва отбирают мешки в количестве, соответствующем плану контроля, но не менее 10 шт.
Примечание. Время сушки клеевого шва должно составлять не менее 3 сут.
9.5.1. Из средней части каждого мешка вырезают по 3 образца шириной (15 +/- 0,1) мм и длиной не менее 250 мм, если другие размеры не установлены в технической документации на мешки для конкретных видов продукции.
Шов должен располагаться в середине и быть перпендикулярным к длине образца.
9.5.2. Образцы кондиционируют по
9.3.2. Разрушающее усилие клеевого шва мешков определяют на разрывной машине в помещении, где производилось кондиционирование.
Образец закрепляют (не касаясь его испытуемой части) в зажимах разрывной машины так, чтобы образец не скользил во время испытания и прилагаемая сила имела направление, параллельное его краям. Расстояние между зажимами устанавливают 180 мм. Сила натяжения должна составлять не более 1,3 Н (0,03 кгс).
Скорость испытания должна быть такой, чтобы вызвать разрушение образца в среднем через (20 +/- 5) с.
Разрушающее усилие должно находиться в пределах от 0,2 до 0,8 значений шкалы. Разрушающее усилие отсчитывают с точностью до одного деления шкалы.
Предел прочности на разрыв F, Н (кгс), определяют по формуле

, (1)
где

- разрушающее усилие, Н (кгс);
b - ширина образца, мм.
За результат испытания принимают среднеарифметическое значение всех измерений. Вычисление проводят с точностью до первого десятичного знака с последующим округлением до целого числа.
9.6. Протокол испытаний
9.6.1. Результаты контроля регистрируют и оформляют в виде протокола испытаний, который должен содержать следующие данные:
- наименование и условное обозначение мешков;
- полное описание типа, марки, слойности, размеров мешков;
- наименование и обозначение нормативного документа, по которому изготовлены мешки;
- количество образцов, подвергнутых испытаниям;
- методы испытаний;
- номер партии, дату изготовления, объем партии;
- подробное описание результатов испытаний;
- дату проведения испытаний;
- подпись специалиста, проводившего испытания.
10. Транспортирование и хранение
10.1. Мешки транспортируют всеми видами транспорта в крытых транспортных средствах в соответствии с правилами перевозки грузов, действующими на данном виде транспорта.
10.2. Транспортные средства должны быть чистыми, сухими и не должны иметь острых выступающих деталей. Они должны выстилаться бумагой или картоном. При наличии острых выступающих деталей они должны быть обернуты бумагой или другими материалами.
Вагоны и контейнеры должны быть подготовлены к транспортированию мешков в противопожарном отношении в соответствии с правилами, действующими на железнодорожном транспорте.
10.3. Кипы и транспортные пакеты мешков в транспортные средства должны быть уложены и закреплены таким образом, чтобы при транспортировании было исключено их смещение.
10.4. Мешки должны храниться в закрытых чистых и хорошо проветриваемых складских помещениях, обеспечивающих защиту мешков от воздействия атмосферных осадков, почвенной влаги, повышенной температуры, источников тепла.
11. Указания по эксплуатации
11.1. Выгрузка и хранение порожних мешков
11.1.1. Выгрузку кип мешков и транспортных пакетов из транспортных средств осуществляют с помощью погрузочно-разгрузочных механизмов или транспортеров в комбинации с необходимыми механизмами и приспособлениями.
При выгрузке мешки не должны повреждаться.
11.1.2. Кипы мешков и транспортные пакеты должны укладываться в устойчивые штабели. Под нижний ряд кип должен быть подложен деревянный щит (решетка).
Для циркуляции воздуха между штабелями должно сохраняться расстояние не менее 15 см.
Ранее поставленные партии должны использоваться в первую очередь.
11.2. Наполнение мешков
11.2.1. Мешки должны заполняться с помощью специальных машин и приспособлений. Степень заполнения открытого мешка не должна превышать 95% его вместимости.
11.2.2. При заполнении закрытых мешков продукцией из мешков должен быть удален воздух путем:
а) применения перфорации;
б) предварительного сжатия продукта с помощью вибрационного устройства, расположенного между бункером и упаковочной машиной;
в) вибрации и отсоса воздуха в процессе наполнения мешков;
г) удаления воздуха из продукта на обжимных валиках после наполнения мешков.
11.2.3. Температура упаковываемой продукции при заполнении мешков не должна превышать 65 °C.
По согласованию с потребителем (заказчиком) и для обеспечения требований безопасности допускается для продукции, обладающей нейтральными свойствами, температура загрузки 80 °C при условии снижения ее до 65 °C к моменту погрузки наполненных мешков в транспортные средства.
11.2.4. Наполненные открытые мешки зашивают на швейных машинах.
Для прошивки применяют хлопчатобумажные или синтетические нити по нормативным документам, обеспечивающие прочность мешков и сохранность упакованной продукции.
11.2.5. При упаковывании мелкодисперсной продукции в открытые мешки после их заполнения проводят прошивку по крепированной ленте с использованием прокладочных шнуров, двойной полоски бумаги или других прокладочных материалов, приведенных в
Приложении В. При необходимости полученный шов дополнительно герметизируют термосвариваемыми или липкими лентами на бумажной основе по нормативным документам.
11.2.6. В мешках, предназначенных для упаковывания пищевой продукции, термосвариваемые и липкие покрытия должны быть допущены органами санитарно-эпидемиологических служб.
11.2.7. Высота падения наполненных мешков на торец с наполнительной машины на транспортер не должна превышать 30 см.
11.3. Хранение наполненных мешков
11.3.1. Наполненные мешки должны храниться в закрытых чистых и сухих складских помещениях уложенными в штабелях на деревянных решетках, настилах и поддонах.
11.3.2. Не допускается штабелировать мешки в вертикальном положении.
11.4. Погрузка и транспортирование наполненных мешков
11.4.1. Транспортные средства должны соответствовать требованиям
10.2.
11.4.2. При погрузке в транспортные средства мешки не должны повреждаться погрузочно-разгрузочными механизмами. Не допускается резкое сбрасывание мешков.
11.4.3. Не допускается ходить по штабелям мешков. При необходимости должны применяться специальные настилы (трапы).
Настилы не должны иметь выступающих и острых деталей.
11.4.4. Мешки в вагоне укладывают в соответствии с
10.3.
12. Гарантии изготовителя
12.1. Изготовитель гарантирует соответствие мешков требованиям настоящего стандарта при соблюдении потребителем условий транспортирования, хранения и эксплуатации.
Гарантийные сроки хранения устанавливают в технической документации на мешки для конкретной продукции, но не менее 1 года со дня их изготовления.
По истечении срока хранения допускается проводить контрольные испытания по основным показателям безопасности.
При получении положительных результатов испытаний мешки могут быть допущены для применения.
(справочное)
ТЕРМИНЫ И ОПРЕДЕЛЕНИЯ, ИСПОЛЬЗУЕМЫЕ ПРИ ПРОИЗВОДСТВЕ МЕШКОВ
А.1. Манжета клапана: вставка из бумаги или другого комбинированного материала, прикрепляемая к клапану для его упрочнения.
А.2. Клапаны в сшитых мешках
А.2.1. Обычный клапан: клапан, образованный после прошивки одного из углов, подгибаемого внутрь.
А.2.2. Клапан с внутренней манжетой: клапан, манжета которого расположена внутри мешка.
А.2.3. Клапан с наружной манжетой: клапан с выступающей наружной манжетой.
А.3. Клапаны в склеенных мешках
А.3.1. Обычный клапан: клапан, сформированный без манжеты и упрочняющего листа.
А.3.2. Усиленный клапан: клапан, усиленный с помощью приклеивания к его верхней части упрочняющего листа.
А.3.3. Клапан с внутренней манжетой: клапан с манжетой, направленной внутрь мешка.
А.3.4. Клапан с наружной манжетой: клапан с выступающей наружу манжетой, обычно снабженной карманом.
А.4. Нахлестка: участок рукава или слоя бумаги, которые накладывают друг на друга.
А.5. Нижняя нахлестка: участки поперечного края рукава, которые накладывают друг на друга при формировании дна.
А.6. Продольная нахлестка: участки продольного края слоя, которые накладывают друг на друга.
А.7. Прошивка: соединение рукава с помощью нити.
А.8. Цепной однониточный шов: прошивка с использованием одной нити, при которой игла, протыкая рукав, образует петли. И каждая петля при этом замыкается предыдущей петлей.
А.9. Двойной закрытый двухниточный шов: прошивка с использованием двух нитей, при которой игла, протыкая рукав, образует петли, каждая петля при этом замыкается поперечной петлей, образованной второй нитью.
А.10. Прокладочный шнур: материал, прокладываемый в шов с целью его упрочнения.
А.11. Прокладочная лента: лента из бумаги или другого материала, применяемого при прошивке поперечной кромки рукава.
А.12. Шов без герметизации: шов, получаемый при прошивке рукава только одной строчкой стежков.
А.13. Герметизация с применением ленты под швом: наложение или приклеивание по краю рукава ленты вместе с прокладочным шнуром или без него с последующей прошивкой.
А.14. Герметизация ленты поверх шва: прошивка с применением прокладочного шнура или без него и последующее крепление ленты приклеиванием или термосваркой.
А.15. Герметизация с применением ленты под швом и поверх шва: крепление ленты по краю рукава, прошивка по ленте с применением прокладочного шнура или без него и последующее наложение еще одной ленты, закрепляемой с помощью клея или термосварки.
А.16. Герметизация с применением ленты поверх сваренного шва: сваривание под действием тепла внутреннего слоя рукава из пленки, а затем прошивка, которая делит термосварочный шов пополам и проходит снаружи, и последующее наложение прокладочной ленты, закрепленной с помощью клея или термосварки.
А.17. Накладка; покровный лист: полоска бумаги, приклеиваемая ко дну мешка.
А.18. Наклейка: полоска бумаги, обкладывающая край мешка внутри.
А.19. Продольный шов: соединение, получаемое при нанесении клея на продольную нахлестку бумаги.
А.20. Поперечное склеивание: нанесение клея между слоями с одного или двух торцовых концов рукава.
(рекомендуемое)
Таблица Б.1
┌───────────────────────────────────┬─────────────────────────────────────┐
│ Сшитые мешки │ Склеенные мешки │
├────────┬────────┬────────┬────────┼────────┬────────┬─────────┬─────────┤
│ L │ B │ B │ B │ L │ B │ B │ B │
│ │ │ 1 │ 2 │ │ │ 1 │ 2 │
├────────┴────────┴────────┴────────┴────────┴────────┴─────────┴─────────┤
│ Открытые │
├────────┬────────┬────────┬────────┬────────┬────────┬─────────┬─────────┤
│ 60,0 │ 61,5 │ 53,5 │ 8 │ 79,0 │ - │ 46,5 │ 46,5 │
├────────┼────────┼────────┼────────┼────────┼────────┼─────────┼─────────┤
│ 80,0 │ 61,5 │ 53,5 │ 8 │ 83,0 │ 60,0 │ 40,0 │ 20,0 │
├────────┼────────┼────────┼────────┼────────┼────────┼─────────┼─────────┤
│ 82,0 │ 50,0 │ 42,0 │ 8 │ 83,0 │ 61,5 │ 40,0 │ 21,5 │
├────────┼────────┼────────┼────────┼────────┼────────┼─────────┼─────────┤
│ 96,0 │ 51,5 │ 43,5 │ 8 │ 84,0 │ - │ 51,5 │ 9,0 │
├────────┼────────┼────────┼────────┼────────┼────────┼─────────┼─────────┤
│ 100,0 │ 50,0 │ 42,0 │ 8 │ 92,0 │ - │ 50,0 │ 9,0 │
├────────┼────────┼────────┼────────┼────────┼────────┼─────────┼─────────┤
│ 100,0 │ 64,0 │ 52,0 │ 12 │ 92,0 │ - │ 50,0 │ 13,0 │
├────────┼────────┼────────┼────────┼────────┼────────┼─────────┼─────────┤
│ 100,0 │ 64,0 │ 52,0 │ 12 │ 92,0 │ - │ 60,0 │ 13,0 │
├────────┼────────┼────────┼────────┼────────┼────────┼─────────┼─────────┤
│ 100,0 │ 64,0 │ 52,0 │ 12 │ 95,0 │ 61,5 │ 45,0 │ 16,5 │
├────────┼────────┼────────┼────────┼────────┼────────┼─────────┼─────────┤
│ 100,0 │ 61,5 │ 53,5 │ 8 │ 95,0 │ 61,5 │ 40,0 │ 21,5 │
├────────┼────────┼────────┼────────┼────────┼────────┼─────────┼─────────┤
│ 100,0 │ 61,5 │ 53,5 │ 8 │ 97,0 │ - │ 46,5 │ 9,0 │
├────────┼────────┼────────┼────────┼────────┼────────┼─────────┼─────────┤
│ 100,0 │ 61,5 │ 53,5 │ 8 │ 100,0 │ - │ 51,5 │ 9,0 │
├────────┴────────┴────────┴────────┴────────┴────────┴─────────┴─────────┤
│ Закрытые │
├────────┬────────┬────────┬────────┬────────┬────────┬─────────┬─────────┤
│ 78,0 │ 50,0 │ 42,0 │ 8 │ 33,0 │ - │ 30,5 │ 9,0 │
├────────┼────────┼────────┼────────┼────────┼────────┼─────────┼─────────┤
│ 78,0 │ 50,0 │ 42,0 │ 8 │ 44,0 │ - │ 38,0 │ 9,0 │
├────────┼────────┼────────┼────────┼────────┼────────┼─────────┼─────────┤
│ 78,0 │ 50,0 │ 42,0 │ 8 │ 49,0 │ - │ 35,0 │ 11,0 │
├────────┼────────┼────────┼────────┼────────┼────────┼─────────┼─────────┤
│ 78,0 │ 50,0 │ 42,0 │ 8 │ 55,0 │ - │ 30,0 │ 9,0 │
├────────┼────────┼────────┼────────┼────────┼────────┼─────────┼─────────┤
│ 78,0 │ 50,0 │ 42,0 │ 8 │ 60,0 │ - │ 50,0 │ 11,0 │
├────────┼────────┼────────┼────────┼────────┼────────┼─────────┼─────────┤
│ 78,0 │ 50,0 │ 42,0 │ 8 │ 62,0 │ - │ 51,5 │ 9,0 │
├────────┼────────┼────────┼────────┼────────┼────────┼─────────┼─────────┤
│ 78,0 │ 50,0 │ 42,0 │ 8 │ 65,0 │ - │ 46,5 │ 9,0 │
├────────┼────────┼────────┼────────┼────────┼────────┼─────────┼─────────┤
│ 78,0 │ 50,0 │ 42,0 │ 8 │ 70,0 │ - │ 50,0 │ 13,0 │
├────────┼────────┼────────┼────────┼────────┼────────┼─────────┼─────────┤
│ 78,0 │ 50,0 │ 42,0 │ 8 │ 73,0 │ - │ 60,0 │ 13,0 │
├────────┼────────┼────────┼────────┼────────┼────────┼─────────┼─────────┤
│ 78,0 │ 50,0 │ 42,0 │ 8 │ 78,0 │ - │ 50,0 │ 13,0 │
├────────┼────────┼────────┼────────┼────────┼────────┼─────────┼─────────┤
│ - │ - │ - │ - │ 84,0 │ - │ 50,0 │ 13,0 │
├────────┼────────┼────────┼────────┼────────┼────────┼─────────┼─────────┤
│ - │ - │ - │ - │ 90,0 │ - │ 51,5 │ 13,0 │
└────────┴────────┴────────┴────────┴────────┴────────┴─────────┴─────────┘
(рекомендуемое)
СПОСОБЫ ФОРМИРОВАНИЯ МЕШКОВ
В.1. Склеивание мешков
Исполнение А
Клеевой шов вровень обрезанного дна
Исполнение Б
Клеевой шов вровень обрезанного дна с накладкой
Исполнение В
Клеевой шов ступенчатого дна
Исполнение Г
Клеевой шов ступенчатого дна с накладкой
1 - стенки мешка; 2 - клей; 3 - накладка
Рисунок В.1. Способы склеивания мешков
В.2. Сшивка мешков
Исполнение А
Простая сшивка
Исполнение Б
Сшивка через наклеенную ленту;
лента под швом
Сшивка с последующей оклейкой лентой;
лента поверх шва
Сшивка через ленту с последующей оклейкой лентой
(усиленная)
Сварка слоев, сшивка с последующей оклейкой лентой
1 - шов; 2 - стенки мешка; 3 - лента; 4 - прокладочный шнур
(лента); 5 - клей; 6 - термосварка
Рисунок В.2. Способы сшивки мешков
Исполнение А
Цепной шов - шов с одной ниткой
Исполнение Б
Двойной закрытый шов - шов с двумя нитками
(рекомендуемое)
СХЕМЫ
УСТРОЙСТВ ДЛЯ ПРОВЕДЕНИЯ ИСПЫТАНИЯ МЕШКОВ
НА УДАР ПРИ СВОБОДНОМ ПАДЕНИИ
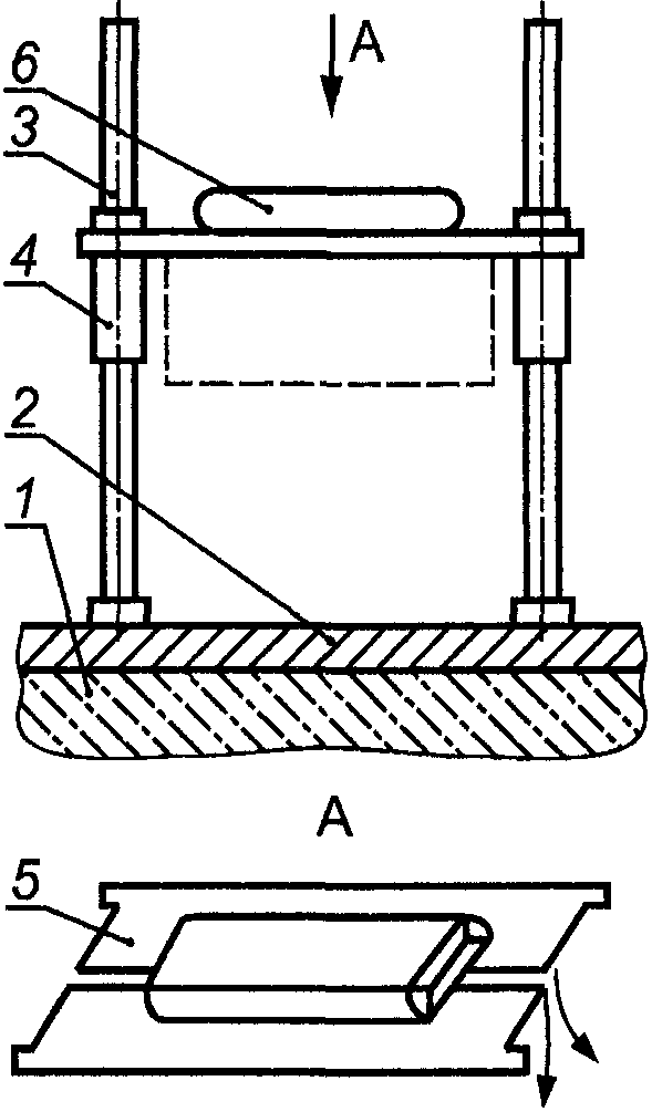
1 - фундамент; 2 - стальная плита; 3 - направляющие;
4 - подъемный механизм; 5 - створки;
6 - испытуемый образец
Рисунок Г.1. Устройство с раскрывающимися створками
для сбрасывания мешка на сторону (плашмя)
1 - испытуемый образец; 2 - зажимное устройство;
3 - подъемный механизм; 4 - кулачковый механизм;
5 - стальная плита
Рисунок Г.2. Устройство для сбрасывания мешка на торец
(аппарат Петухова)
[1] Стандарт Крафт-бумага мешочная
организации
СТО 51321438-002-2007
[2] Гигиенические Предельно допустимые количества химических
нормативы веществ, выделяющихся из материалов,
[3] Санитарные Санитарные правила по производству и оценке
правила качества бумаги и картона, предназначенных
СП 4105-1986 для упаковки сухих пищевых продуктов
[4] Гигиенические Предельно допустимые концентрации (ПДК) вредных
нормативы веществ в воздухе рабочей зоны