Главная // Актуальные документы // ГОСТ Р (Государственный стандарт)СПРАВКА
Источник публикации
М.: Стандартинформ, 2011
Примечание к документу
Документ утратил силу с 1 января 2013 года в связи с изданием
Приказа Росстандарта от 13.12.2011 N 961-ст. Взамен введен в действие
ГОСТ EN 1010-1-2011.
Документ включен в
Перечень стандартов, в результате применения которых на добровольной основе обеспечивается соблюдение требований технического
регламента Таможенного союза "О безопасности машин и оборудования" (ТР ТС 00_/2011) (
Решение Комиссии Таможенного союза от 18.10.2011 N 823).
Документ
введен в действие с 1 января 2011 года.
Название документа
"ГОСТ Р ЕН 1010-1-2009. Национальный стандарт Российской Федерации. Оборудование полиграфическое. Требования безопасности для конструирования и изготовления. Часть 1. Общие требования"
(утв. и введен в действие Приказом Ростехрегулирования от 09.12.2009 N 650-ст)
"ГОСТ Р ЕН 1010-1-2009. Национальный стандарт Российской Федерации. Оборудование полиграфическое. Требования безопасности для конструирования и изготовления. Часть 1. Общие требования"
(утв. и введен в действие Приказом Ростехрегулирования от 09.12.2009 N 650-ст)
Утвержден и введен в действие
агентства по техническому
регулированию и метрологии
от 9 декабря 2009 г. N 650-ст
НАЦИОНАЛЬНЫЙ СТАНДАРТ РОССИЙСКОЙ ФЕДЕРАЦИИ
ОБОРУДОВАНИЕ ПОЛИГРАФИЧЕСКОЕ
ТРЕБОВАНИЯ БЕЗОПАСНОСТИ ДЛЯ КОНСТРУИРОВАНИЯ И ИЗГОТОВЛЕНИЯ
ЧАСТЬ 1
ОБЩИЕ ТРЕБОВАНИЯ
Printing machinery. Safety requirements for the design
and construction. Part 1. General requirements
EN 1010-1:2004
Safety of machinery - Safety requirements
for the design and construction of printing and paper
converting machines - Part 1: Common requirements
(IDT)
ГОСТ Р ЕН 1010-1-2009
| | ИС МЕГАНОРМ: примечание. В официальном тексте документа, видимо, допущена опечатка: имеется в виду номер кода "ОКП 51 6000", а не "51 6000". | |
51 6000
Дата введения
1 января 2011 года
Цели и принципы стандартизации в Российской Федерации установлены Федеральным
законом от 27 декабря 2002 г. N 184-ФЗ "О техническом регулировании", а правила применения национальных стандартов Российской Федерации -
ГОСТ Р 1.0-2004 "Стандартизация в Российской Федерации. Основные положения".
1. Подготовлен ЗАО "Научно-исследовательский институт полиграфического машиностроения" и Техническим комитетом по стандартизации ТК 237 "Оборудование полиграфическое" на основе собственного аутентичного перевода стандарта, указанного в
пункте 4.
2. Внесен Техническим комитетом по стандартизации ТК 237 "Оборудование полиграфическое".
3. Утвержден и введен в действие
Приказом Федерального агентства по техническому регулированию и метрологии от 9 декабря 2009 г. N 650-ст.
4. Настоящий национальный стандарт идентичен европейскому стандарту ЕН 1010-1:2004 "Безопасность оборудования. Требования безопасности для конструирования и изготовления печатных и бумагоперерабатывающих машин. Часть 1. Общие требования" (EN 1010-1:2004 "Safety of machinery - Safety requirements for the design and construction of printing and paper converting machines - Part 1: Common requirements").
По сравнению с примененным европейским стандартом в текст настоящего стандарта внесены следующие изменения:
- изменено наименование стандарта в соответствии с ГОСТ Р 1.5-2004
(подраздел 3.5);
- внесено уточнение в область применения настоящего стандарта (заключено в рамку в
1.4);
- в
разделе 3 определение термина
3.5 дано по ИСО 12643-1, введены дополнительно термины и определения
3.17 -
3.19, а также приведены определения терминов
3.14,
3.15, отсутствующие в примененном стандарте (заключено в рамку);
- исключены справочные Приложения ZA и ZB;
| | ИС МЕГАНОРМ: примечание. Текст, выделенный курсивом в официальном тексте документа, в электронной версии документа отмечен знаком "&". | |
- в некоторых случаях внесены отдельные уточнения, дополнения, облегчающие применение стандарта. Указанные изменения выделены курсивом.
При применении настоящего стандарта рекомендуется использовать вместо ссылочных международных &(европейских)& стандартов соответствующие им национальные стандарты Российской Федерации и межгосударственные стандарты, сведения о которых приведены в дополнительном
Приложении ДА.
5. По мере принятия и введения в действие в Российской Федерации наряду с настоящим стандартом других частей гармонизированного стандарта ГОСТ Р ЕН 1010, содержащих требования безопасности к отдельным видам полиграфического оборудования, применяемый в настоящее время стандарт
ГОСТ Р 12.2.133 "Система стандартов безопасности труда. Оборудование полиграфическое. Требования безопасности и методы испытаний" прекращает действие в части требований безопасности к соответствующим видам оборудования.
Информация об изменениях к настоящему стандарту публикуется в ежегодно издаваемом информационном указателе "Национальные стандарты", а текст изменений и поправок - в ежемесячно издаваемых информационных указателях "Национальные стандарты". В случае пересмотра (замены) или отмены настоящего стандарта соответствующее уведомление будет опубликовано в ежемесячно издаваемом информационном указателе "Национальные стандарты". Соответствующая информация, уведомление и тексты размещаются также в информационной системе общего пользования - на официальном сайте Федерального агентства по техническому регулированию и метрологии в сети Интернет.
Цель разработки настоящего стандарта, содержащего идентичный текст европейского стандарта ЕН 1010-1:2004, соответствующего Директиве ЕС по машиностроению 98/37/EC и правилам Европейской ассоциации свободной торговли (ЕАСТ), - предоставить конструкторам, изготовителям оборудования и другим заинтересованным сторонам общие требования и рекомендации по обеспечению безопасности полиграфического оборудования, гармонизированные с соответствующими требованиями европейских стандартов, способствовать выполнению важнейших требований &Технического
регламента "О безопасности машин и оборудования" и& Директивы ЕС 98/37/EC.
Европейский стандарт ЕН 1010-1:2004 подготовлен Техническим комитетом СЕН/ТК 198 "Оборудование для печати и для изготовления и переработки бумаги - Безопасность", секретариат которого ведет DIN (Германия).
Настоящий стандарт является стандартом типа C по ЕН 1070:1998.
Оборудование, на которое распространяются требования настоящего стандарта, а также относящиеся к нему риски, опасные ситуации и события указаны в области его применения.
Для машин, спроектированных и изготовленных согласно положениям настоящего стандарта типа C, применяют следующее условие: если положения настоящего стандарта отличаются от положений, установленных в стандартах типа A или B, положения настоящего стандарта превосходят по важности соответствующие требования других стандартов.
Настоящий стандарт состоит из следующих частей:
- Часть 1 Общие требования
- Часть 2 Машины печатные и лакировальные, включая допечатное оборудование
- Часть 3 Машины резальные
- Часть 4 Машины брошюровочно-переплетные и машины для переработки и отделки бумаги
- Часть 5 Машины для производства гофрокартона и машины для переработки гладкого и гофрокартона.
Применяемый в настоящее время национальный стандарт
ГОСТ Р 12.2.133-97 "Система стандартов безопасности труда. Оборудование полиграфическое. Требования безопасности и методы испытаний" прекращает свое действие в части требований безопасности к отдельным видам полиграфического оборудования по мере принятия и введения в действие в Российской Федерации соответствующих частей гармонизированного стандарта ГОСТ Р ЕН 1010.
1.1. Настоящий стандарт распространяется на:
- машины печатные для печати на бумаге и подобных материалах &и изделиях из них&, включая трафаретные печатные машины. Оборудование, применяемое при подготовке печатного процесса, и вспомогательное оборудование к печатным машинам также отнесено к печатным машинам. Настоящий стандарт распространяется также на машины и оборудование, используемые для подготовки бумаги, изделий, печатных форм и краски (до и после печатных процессов), а также оборудование для смывки печатных форм и контроля качества печати (вспомогательное печатное оборудование);
- бумагоперерабатывающие машины, т.е. машины для обработки, переработки и отделки бумаги, картона и других подобных материалов &и изделий из них&, которые обрабатываются, перерабатываются или отделываются аналогичными способами.
Примечание. Другими подобными материалами являются, например, гладкий картон, гофрокартон, пластмассовая пленка, алюминиевая фольга, листовой металл и фотобумага.
1.2. В настоящем стандарте рассмотрены все известные существенные опасности, характерные для &полиграфического оборудования& (печатных и бумагоперерабатывающих машин), при условии его применения по назначению и в условиях, предусмотренных изготовителем (см.
раздел 4). Настоящая часть стандарта устанавливает общие требования безопасности для всех видов &полиграфического оборудования& (печатных и бумагоперерабатывающих машин) и относящихся к нему устройств и должна быть использована совместно с другими частями стандарта ГОСТ Р ЕН 1010. Специфические требования, установленные в последующих частях ГОСТ Р ЕН 1010, превосходят по важности соответствующие требования ГОСТ Р ЕН 1010-1.
Примечание. Кроме того, ГОСТ Р ЕН 1010-1 может быть применен в тех случаях, когда машина не охвачена соответствующей частью настоящего стандарта, для установления подхода к рассмотрению рисков, характерных для этой машины.
1.3. Настоящий стандарт не распространяется на &полиграфическое оборудование& (печатные и бумагоперерабатывающие машины), изготовленное до даты введения его в действие.
1.4. Настоящий стандарт не распространяется на:
- машины бобинорезальные и листорезальные, используемые в процессах отделки бумаги и изделий из бумаги (см. ЕН 1034-1:2000
[30], ЕН 1034-3:2000
[31], ЕН 1034-5:2005
[32]);
- машины офисные подборочные с фрикционным самонакладом;
- машины для обработки почтовых отправлений;
- машины для наполнения упаковки (например, машины для фасовки, наполнения и закрытия упаковки);
- текстильные печатные машины
(исключая отдельные виды печатного полиграфического оборудования, применяемые для печати на текстильных изделиях). |
2. Нормативные ссылки <*>
--------------------------------
<*> &В настоящем разделе в скобках после обозначения замененного стандарта указан соответствующий заменяющий стандарт. Для однозначного соблюдения требований настоящего стандарта, выраженных в датированных ссылках, рекомендуется использовать только данный ссылочный стандарт.&
В настоящем стандарте использованы датированные нормативные ссылки на следующие стандарты:
ЕН 294:1992 &(ЕН ИСО 13857:2008)& Безопасность оборудования - Безопасные расстояния для предохранения верхних конечностей от попадания в опасную зону (EN 294:1992, Safety of machinery - Safety distances to prevent danger zones being reached by the upper limbs)
ЕН 349:1993 &(ЕН 349:1993 + А1:2008)& Безопасность оборудования - Минимальные расстояния для предотвращения защемления частей человеческого тела (EN 349:1993, Safety of machinery - Minimum gaps to avoid crushing of parts of the human body)
ЕН 418:1992 &(ЕН ИСО 13850:2008)& Безопасность оборудования - Устройства аварийного останова, функциональные аспекты - Принципы проектирования (EN 418:1992, Safety of machinery - Emergency stop equipment, functional aspects - Principles for design)
ЕН 563:1994 &(ЕН ИСО 13732-1:2008)& Безопасность машин - Температуры касаемых поверхностей - Эргономические показатели для установления предельных величин горячих поверхностей (EN 563:1994, Safety of machinery - Temperatures of touchable surfaces - Ergonomics data to establish temperature limit values for hot surfaces)
ЕН 574:1996 &(ЕН 574:1996 + А1:2008)& Безопасность оборудования - Двуручные устройства управления - Функциональные аспекты - Принципы конструирования (EN 574:1996, Safety of machinery - Two-hand control devices - Functional aspects - Principles for design)
ЕН 953:1997 &(ЕН 953:1997 + А1:2009)& Безопасность машин - Защитные ограждения - Общие требования по конструированию и изготовлению неподвижных и перемещаемых защитных устройств (EN 953:1997, Safety of machinery - Guards - General requirements for the design and construction of fixed and movable guards)
ЕН 954-1:1996 &(ЕН ИСО 13849-1:2008)& Безопасность оборудования - Элементы систем управления, связанные с безопасностью - Часть 1: Общие принципы конструирования (EN 954-1:1996, Safety of machinery - Safety-related parts of control systems - Part 1: General principles for design)
ЕН 999:1998 &(ЕН 999 + А1:2008)& Безопасность оборудования - Расположение защитных устройств с учетом скоростей приближения частей тела человека (EN 999-1998, Safety of machinery - The positioning of protective equipment in respect of approach speeds of parts for the human body)
ЕН 1037:1995 &(ЕН 1037:1995 + А1:2008)& Безопасность машин - Предотвращение неожиданного пуска (EN 1037:1995, Safety of machinery - Prevention of unexpected start-up)
ЕН 1050:1996 &(ЕН ИСО 14121-1:2007)& Безопасность машин - Принципы оценки и определения риска (EN 1050:1996, Safety of machinery - Principles for risk assessment)
ЕН 1070:1998 Безопасность оборудования - Терминология (EN 1070:1998, Safety of machinery - Terminology)
ЕН 1088:1995 &(ЕН 1088:1995 + А2:2008)& Безопасность машин - Блокировочные устройства, связанные с защитными ограждениями - Принципы конструирования и выбор (EN 1088:1995, Safety of machinery - Interlocking devices associated with guards - Principles for design and selection)
ЕН 1127-1:1997 &(ЕН 1127-1:2007)& Взрывоопасные среды - Взрывозащита и предотвращение взрыва - Часть 1: Основополагающая концепция и методология (EN 1127-1:1997, Explosive atmospheres - Explosion prevention and protection - Part 1: Basic concepts and methodology)
ЕН 1760-1:1997 &(ЕН 1760-1:1997 + А1:2009)& Безопасность машин - Защитные устройства, реагирующие на давление - Часть 1: Основные принципы конструирования и испытаний ковриков и полов, реагирующих на давление (EN 1760-1:1997, Safety of machinery - Pressure sensitive devices - Part 1: General principles for the design and testing of pressure sensitive mats and pressure sensitive floors)
ЕН 1760-2:2001 &(ЕН 1760-2:1997 + А1:2009)& Безопасность машин - Защитные устройства, реагирующие на давление - Основные принципы конструирования и испытаний кромок и планок, реагирующих на давление (EN 1760-2:2001, Safety of machinery - Pressure sensitive devices - Part 2: General principles for the design and testing of pressure sensitive edges and pressure sensitive bars)
ЕН 12198-1:2000 &(ЕН 12198-1:2000 + А1:2008)& Безопасность машин - Оценка и снижение рисков, возникающих от излучения, исходящего от оборудования - Часть 1: Основные принципы (EN 12198-1:2000, Safety of machinery - Assessment and reduction of risks arising from radiation emitted by machinery - Part 1. General principle)
ЕН 12626:1997 &(ЕН ИСО 11553-1:2008)& Безопасность машин - Машины для лазерной обработки - Требования безопасности (EN 12626:1997, Safety of machinery - Laser processing machines - Safety requirements)
ЕН 13023:2003 Оборудование полиграфическое - Методы определения шумовых характеристик - Степени точности 2 и 3 (EN 13023:2003, Noise measurement methods for printing, paper converting, paper making machines and auxiliary)
ЕН 13463-1:2001 &(ЕН 13463-1:2009)& Оборудование неэлектрическое, предназначенное для применения в потенциально взрывоопасных средах - Часть 1: Общие требования (EN 13463-1:2001, Non-electrical equipment for potentially explosive atmospheres - Part 1: Basic method and requirements)
ЕН 13463-5:2003 Оборудование неэлектрическое, предназначенное для применения в потенциально взрывоопасных средах - Часть 5: Защита конструкционной безопасностью "c" (EN 13463-5:2003, Non-electrical equipment intended for use in potentially explosive atmospheres - Part 5: Protection by constructional safety "c")
ЕН ИСО 4871:1996 &(ЕН ИСО 4871:2009)& Акустика - Заявление и контроль значений шумовых характеристик машин и оборудования (EN ISO 4871:1998, Acoustics - Declaration and verification of noise emission values of machinery and equipment (ISO 4871:1996)
ЕН ИСО 12100-1:2003 Безопасность машин - Основные понятия, общие принципы конструирования - Часть 1: Основные термины, методология (ИСО 12100-1:2003) (EN ISO 12100-1:2003, Safety of machinery - Basic concepts, general principle for design - Part 1: Basic terminology, methodology (ISO 12100-1:2003))
ЕН ИСО 12100-2:2003 Безопасность машин - Основные понятия, общие принципы конструирования - Часть 2: Технические принципы (ИСО 12100-2:2003) (EN ISO 12100-2:2003, Safety of machinery - Basic concepts, general principle for design - Part 2: Technical principles (ISO 12100-2:2003))
ЕН ИСО 14122-1:2001 Безопасность машин - Средства доступа к машинам стационарные - Часть 1: Выбор стационарных средств доступа между двумя уровнями (ИСО 14122-1:2001) (EN ISO 14122-1:2001, Safety of machinery - Permanent means of access to machines and industrial plants - Part 1: Choice of fixed means of access between two levels (ISO 14122-1:2001))
ЕН ИСО 14122-2:2001 Безопасность машин - Средства доступа к машинам стационарные - Часть 2: Рабочие площадки и проходы (ИСО 14122-2:2001) (EN ISO 14122-2:2001, Safety of machinery - Means of permanent means of access to machines and industrial plants - Part 2: Working platforms and gangways (ISO 14122-2:2001))
ЕН ИСО 14122-3:2001 Безопасность машин - Средства доступа к машинам стационарные - Часть 3: Лестницы и перила (ИСО 14122-3:2001) (EN ISO 14122-3:2001, Safety of machinery - Means of permanent means of access to machines and industrial plants - Part 3: Stairways, stepladders, and guard-rails (ISO 14122-3:2001))
ЕН ИСО 14122-4:2004 Безопасность машин - Средства доступа к машинам стационарные - Часть 4: Лестницы вертикальные (EN ISO 14122-4:1996, Safety of machinery - Means of permanent means of access to machines and industrial plants - Part 4: Fixed ladders (ISO 14122-4:2002))
ЕН 50014:1997 &(ЕН 60079-0:2004)& Электрооборудование для взрывоопасных газовых сред - Общие требования (EN 50014:1999, Electrical apparatus for potentially explosive atmospheres - General requirement)
ЕН 50015:1998 &(ЕН 60079-6:2007)& Электрооборудование для взрывоопасных газовых сред - Масляное заполнение оболочки "o" (EN 50015:1998, Electrical apparatus for potentially explosive atmospheres - Oil immersion "o")
ЕН 50016:1995 &(ЕН 60079-2:2004)& Электрооборудование для взрывоопасных газовых сред - Оболочки под избыточным давлением "p" (EN 50016:1995, Electrical apparatus for potentially explosive atmospheres - Pressurised apparatus "p")
ЕН 50017:1998 &(ЕН 60079-5:2007)& Электрооборудование для взрывоопасных газовых сред - Кварцевое заполнение оболочки "g" (EN 50017:1998, Electrical apparatus for potentially explosive atmospheres - Powder filling "q")
ЕН 50018:2000 &(ЕН 60079-1:2004)& Электрооборудование для взрывоопасных газовых сред - Взрывонепроницаемые оболочки "d" (EN 50018:2000, Electrical apparatus for potentially explosive atmospheres - Flameproof enclosures "d")
ЕН 50019:2000 &(ЕН 60079-7:2003)& Электрооборудование для взрывоопасных газовых сред - Повышенная защита вида "e" (EN 50019:2000, Electrical apparatus for potentially explosive atmospheres - Increased safety "e")
ЕН 50020:2002 &(ЕН 60079-11:2007)& Электрооборудование для взрывоопасных газовых сред - Искробезопасная электрическая цепь (EN 50020:1994, Electrical apparatus for potentially explosive atmospheres - Intrinsic safety "i")
ЕН 50039:1980 &(ЕН 60079-25:2004)& Электрооборудование для взрывоопасных газовых сред - Искробезопасные системы (EN 50039:1980, Electrical apparatus for potentially explosive atmospheres - Intrinsic safety "i")
ЕН 50281-1-2:1999 &(ЕН МЭК 61241-14:2005; ЕН МЭК 61241-17-2005)& Электрооборудование, применяемое в зонах, опасных по воспламенению горючей пыли - Часть 1-2: Электрооборудование, защищенное оболочками; выбор, установка и эксплуатация (EN 50281-1-2:1999, Electrical apparatus for use in the presence of combustible dust - Part 1-2: Electrical apparatus protected by enclosures, installation and maintenance)
ЕН 60079-14:1997 &(ЕН 60079-14:2008)& Электрооборудование для взрывоопасных газовых сред - Часть 14: Электроустановки во взрывоопасных зонах (кроме подземных выработок) (EN 60079-14:1998, Electrical apparatus for explosive gas atmospheres - Part 14: Electrical installation in hazardous areas (other then mines)
ЕН 60204-1:1997 &(ЕН 60204-1:2006)& Безопасность машин - Электрооборудование машин - Часть 1: Общие требования (EN 60204-1:1997, Safety of machinery - Electrical equipment of machines - Part 1: General requirements)
ЕН 60825-1:1994 &(ЕН 60825-1:2007)& Безопасность лазерной аппаратуры - Часть 1: Классификация оборудования, требования и руководство для потребителей (EN 60825-1:1994, Safety of laser products - Part 1: Equipment classification, requirements and user's guide)
ЕН 61000-6-2:2001 &(ЕН 61000-6-2:2005)& Электромагнитная совместимость (ЭМС) - Часть 6-2: Устойчивость к электромагнитным помехам технических средств, применяемых в промышленных зонах (EN 61000-6-2:2001, Electromagnetic compatibility (EMC) - Part 6-2 Generic standards; Immunity for industrial environment)
ЕН 61010-1:2001 Требования безопасности электрооборудования для измерения, управления и лабораторного применения - Часть 1: Общие требования (EN 61010-1:2001, Safety requirements for electrical equipment for measurement, control and laboratory use - Part 1: General requirements (IEC 61010-1:2001))
ЕН 61310-1:1995 Безопасность машин - Индикация, маркировка и приведение в действие - Часть 1: Требования к визуальным, звуковым и тактильным сигналам (EN 61310-1:1995, Safety of machinery - Indication, marking and actuation - Part 1: Requirements for visual, auditory and tactile signals)
ЕН 61310-2:1995 Безопасность машин - Индикация, маркировка, приведение в действие - Часть 2: Требования к маркировке (EN 61310-2:1995, Safety of machinery - Indication, marking and actuation - Part 2: Requirements for marking)
ЕН 61496-1:1997 Безопасность машин - Электрочувствительные предохранительные устройства - Часть 1: Общие требования и испытания (EN 61496-1:1997, Safety of machinery - Electrosensitive protective equipment - Part 1: General requirements and tests)
ЕН 61496-2:1997 Безопасность машин - Электрочувствительные предохранительные устройства - Часть 2: Специальные требования к предохранительным устройствам, в которых используются активные оптоэлектронные защитные устройства (EN 61496-2:1997, Safety of machinery - Electrosensitive protective equipment - Part 2: Particular requirements for equipment using active opto-electronic protective devices (AOPD))
CLC R 044-001:1999 Безопасность оборудования. Руководство и рекомендации по избежанию опасности статического электричества (CLC R 044-001:1999, Safety of machinery, guidance and recommendations for avoidance of hazards due to static electricity)
Примечание. При пользовании настоящим стандартом целесообразно проверить действие ссылочных стандартов в информационной системе общего пользования - на официальном сайте Федерального агентства по техническому регулированию и метрологии в сети Интернет или по ежегодно издаваемому информационному указателю "Национальные стандарты", который опубликован по состоянию на 1 января текущего года, и по соответствующим ежемесячно издаваемым информационным указателям, опубликованным в текущем году. Если ссылочный стандарт заменен (изменен), то при пользовании настоящим стандартом следует руководствоваться заменяющим (измененным) стандартом. Если ссылочный стандарт отменен без замены, то положение, в котором дана ссылка на него, применяется в части, не затрагивающей эту ссылку.
3. Термины и определения <*>
--------------------------------
<*> &В настоящем разделе в скобках после термина на русском языке указан аналог термина на английском и немецком языках соответственно.&
В настоящем стандарте применены термины и определения, приведенные в ЕН 1070:1998, &
ГОСТ Р ИСО 12100-1-2007&, а также следующие термины с соответствующими определениями:
3.1. опасные места (Danger points; Gefahrstellen): Установленные участки опасной зоны машин, где работники могут получить повреждение в результате движения:
- частей машин;
- инструмента машины или частей инструмента;
- полуфабрикатов или частей полуфабрикатов;
- обрабатываемых материалов.
Примечание. Опасные места могут быть, например, в зубчатых, цепных и червячных приводах, клиновых и плоскоременных, струнных и тросовых приводах, в тянущих и опорных элементах транспортеров непрерывного действия, в колесах со спицами и маховиках, на валах и торцах валов, валиках, каретках, толкателях и подобных частях, у инструмента и в зажимных приспособлениях.
3.2. места затягивания (Inrunning nips; Einzugstellen): Опасные места, образуемые вращающимися валиками, цилиндрами, рулонами или барабанами, создающими опасность затягивания частей тела или тела целиком, а именно между:
a) двумя валиками с противовращением;
b) одним вращающимся валиком и примыкающей неподвижной частью машины;
c) вращающимися валиками и лентами транспортера с одинаковым направлением движения, но с различными окружными скоростями или свойствами поверхности (трение);
d) направляющим валиком и приводным ремнем, лентой транспортера и, например, рулоном (см. рисунок 1).
Рисунок 1. Примеры мест затягивания
Места затягивания находятся также на неприводных валиках (направляющие валики), которые приводятся в движение перемещением бумажной ленты. Степень этой опасности будет зависеть от ряда факторов, например типа и прочности материала, угла охвата, скорости движения бумажной ленты, силы инерции.
3.3. встроенные устройства для подъема и опускания стопы (Integrated pile lifting and lowering device; Integrierte Stapelhub- und absenkeinrichtungen): Устройства для подъема и опускания стопы, встроенные в самонаклады или приемные устройства листов и заготовок.
3.4. максимальный формат (Format size;

): Максимальный размер листов (заготовок) (максимальная длина на максимальную ширину), которые могут быть отпечатаны или переработаны машиной.
3.5. регулярный доступ (Routine and regular access;  Eingriffe): Постоянно повторяющийся доступ в опасное место, необходимый в процессе нормальной производственной деятельности. [ИСО 12643-1:2007, статья 3.52] [38] |
3.6. рулонные материалы (Web-type materials;

Materialien): Рулоны бумаги, картона, пленки и подобных материалов, которые подлежат обработке.
3.7. устройства для размотки рулонов (Reel rewinding devices; Rollenabwickeleinrichtungen): Части машины, используемые для размотки рулонного материала в целях его обработки.
3.8. устройства для намотки рулонов (Reel unwinding devices; Rollenaufwickeleinrichtungen): Части машины, используемые для намотки обработанного рулонного материала.
3.9. листоотделяющие устройства (Separating elements; Vereinzelungselemente): Элементы самонаклада листов, заготовок или других подобных материалов, с помощью которых отдельные листы, заготовки и т.д. отделяются от стапеля и подаются в машину.
3.10. возвышенные рабочие площадки (Reised workplaces;

): Рабочие площадки, возвышающиеся не менее чем на 0,5 м над базовым уровнем обслуживания.
3.11. редко используемый доступ (Infrequently used access; Selten genutzte

): Доступ к рабочим площадкам, который используют для регулировки, наладки и обслуживания, но не используют в производственном процессе.
3.12. гладкие цилиндры/валики (Smooth cylinders/rollers; Glatt rundlaufender Zylinder/Walzen): Симметричные гладкие тела вращения (цилиндры, валики) без углублений и без острых или режущих кромок.
3.13. контроль остатка стопы (Residual pile monitoring;

): Сенсорное устройство, контролирующее остаток стопы в самонакладе. Машина останавливается, прежде чем подана последняя заготовка, с тем чтобы эта заготовка защищала отделяющие устройства самонаклада.
3.14. электрочувствительное предохранительное устройство; ЭЧПУ (Electrosensitive protective device; ESPD;  wirkende Schutzeinrichtung; BWS): Устройство (комплект устройств) для предохранительного выключения или для целей обнаружения присутствия (человека или части его тела) и включающее, как минимум, устройство обнаружения, контролирующие/управляющие устройства и коммутационные устройства выходного сигнала. [ЕН МЭК 61496-1, статья 3.5; ЕН 999:1998, статья 3.3] |
3.15. устройство управления с автоматическим возвратом в исходное положение (устройство управления с удержанием (толчкового типа), устройство управления в толчковом режиме) (Hold-to-run device; Tipptaster): Устройство управления, в котором орган ручного управления при его отпускании автоматически возвращается в позицию останова и которое приводит в действие и поддерживает работу машины только при воздействии на орган ручного управления. [ЕН ИСО 12100-1:2003, ЕН МЭК 60204-1-2006] |
3.16. доступные опасные зоны (accessible danger zones; Begehbarer Gefahrbereihe): Зоны, в которых предусмотрены защитные ограждения или, например, электрочувствительные предохранительные устройства для защиты доступа всем телом.
3.17. характерная опасность (relevant hazard; relevant  ): Опасность, присущая машине или связанная с процессом ее эксплуатации. [ЕН ИСО 12100-1:2003, статья 3.7] 3.18. существенная опасность (significant hazards; signifikanten Gefahrdungen): Опасность, которая была определена как характерная и которая требует конкретных действий от конструктора по ее устранению или снижения риска в соответствии с его оценкой. [ЕН ИСО 12100-1:2003, статья 3.8] 3.19. планка (скоба, стержень) автоматического отключения (trip bar, Stange): Подвижная защитная планка (скоба, стержень), активирующая при нажатии на нее блокирующую систему безопасности машины. [ИСО 12643-1:2007, статья 3.52] [38] |
4. Перечень существенных опасностей
4.1. Настоящий раздел содержит все рассматриваемые в настоящем стандарте опасности, признанные путем оценки риска существенными для данного типа машин и которые требуют принятия мер для устранения или уменьшения риска. При оценке риска конструктор должен проверить, является ли перечень опасностей, приведенный в
таблице 1, полным и применимым для данной конкретной машины.
4.2. Весьма важно, чтобы пользователи настоящего стандарта, т.е. конструктор, изготовитель или продавец, в соответствии с ЕН 1050:1996 обращали внимание на следующие принципиальные аспекты:
- применение машины по назначению, включая регулировку (наладку), чистку и техническое обслуживание, с учетом предусмотренного в допустимых пределах неправильного применения;
- идентификацию существенных опасностей, имеющихся в машине.
Существенные опасности, опасные зоны &(объекты, факторы)&,
меры безопасности
Существенные опасности | Опасные зоны, &объекты, факторы& | Меры безопасности: ссылки на пункты в |
настоящем стандарте | ЕН ИСО 12100-1:2003 | ЕН 1050:1996 |
Механические опасности: - раздавливание, придавливание, отдавливание или защемление; - отрезание, рассечение, разрубание; - порез или разрез; - наматывание (запутывание); - затягивание или захват; - удар | Производственная зона: | | 4.2.1 | 1 |
- между валиками, цилиндрами, барабанами; | | | |
- при коротких прямолинейных перемещениях; | | | |
- колеса, перемещающиеся по полу; | | | |
- вращающиеся маховички; | | | |
- опасности придавливания к элементам конструкции здания; | | | |
| - защитные ограждения; | | | |
- доступные опасные зоны; | | | |
- регулировка, чистка, техническое обслуживание и устранение неисправностей (толчковый режим управления); | | | |
- безопасная проводка рулонного материала; | | | |
- опасность удариться в проходах, подходах; | | | |
- неподвижные ножи; | | | |
- вращающиеся инструменты; | | | |
- транспортирование опасных инструментов; | | | |
- на самонакладах и приемных устройствах (устройства подъема и опускания стапеля); | | | |
- секции размотки и намотки рулонных материалов | | | |
Механические опасности, вызываемые: - массой и устойчивостью; - массой и скоростью | - устойчивость; | | 4.2 | 1 |
- подвижные машины; | | | |
- секции подачи, секции приемки | | | |
Поскальзывание, спотыкание, падение | Рабочие площадки, лестницы для доступа, проходы, ступеньки, напольные покрытия | | 4.2.3 | 19 |
Электрические опасности Прямой или косвенный контакт Тепловое излучение (ожоги) | - электрооборудование (оборудование, оказавшееся под напряжением в результате электрических повреждений); | | 4.3 | 2 |
- устройство для отключения подачи энергии, категория останова; | | | |
- электропривод с инвертором напряжения (тока); | | | |
- степень защиты оболочек; | | | |
- измерительные устройства | | | |
Тепловые опасности, ожоги в результате возможных контактов | Горячие части машины | | 4.4 | 3 |
Опасности, вызываемые шумом Нарушение слуха Помехи при разговорном общении Аварии из-за помех в восприятии звуковых сигналов Стресс | Все машины | | 4.5 | 4 |
Опасности излучений. УФ-излучение, лазер | Машины с использованием лазера и УФ-излучения | | 4.7 | 6 |
Опасности, вызываемые взрывом | Машины, в которых применяются горючие жидкости или имеется горючая пыль | | 4.8 | 7.2 |
| | ИС МЕГАНОРМ: примечание. В официальном тексте документа, видимо, допущена опечатка: пункт 5.1.12.1.5 отсутствует. Вероятно, имеется в виду пункт 5.2.12.1.5. | |
|
Опасности из-за несоблюдения принципов эргономики в конструкции машины Неудобные позы тела Неудобная конструкция, расположение или идентификация органов управления | - конструкция органов управления и указатели, предостережения | | 4.9 | 8 |
- безопасность доступа, рабочих мест, рабочих помостов, проходов | | | |
- ступени, поручни | | | |
- уравновешивание массы | | | |
- избежание раздражающих отражений света | | | |
Повреждение, неправильное срабатывание системы управления Повреждения или отказы в цепях безопасности, сбои программного управления | - оборудование с безопасной системой управления | | | 10 |
- распознавание проводов | | | |
- разъединение зажимных конусов | | | |
Внешние воздействия на электрические устройства | - устойчивость к электромагнитным помехам | | | 10.3 |
5. Требования и/или меры по обеспечению безопасности
Оборудование должно соответствовать требованиям и/или мерам по обеспечению безопасности, установленным в настоящем разделе. Кроме того, машина должна быть сконструирована в соответствии с принципами, установленными ЕН ИСО 12100 для опасностей, которые являются характерными, но не существенными и не рассмотрены в настоящем стандарте (например, острые кромки станины машины).
5.2.1. Средства защиты опасных мест
5.2.1.1. Места затягивания на цилиндрах, валиках, барабанах, рулонах и других подобных частях должны быть защищены ограждениями или безопасными расстояниями согласно ЕН 349:1993.
Минимальное безопасное расстояние, установленное для рук, на направляющих валиках считается достаточным, если путем оценки риска установлено отсутствие вероятности доступа человека всем телом или головой.
Ограждения должны иметь следующую конструкцию:
a) ограждения без отверстий или с отверстиями для подачи материала (например, листов, заготовок, ленты рулонного материала, полуфабрикатов). Безопасные расстояния в зависимости от ширины отверстий должны быть установлены по ЕН 294:1992 (см.
рисунок 2).
Эти ограждения должны быть блокирующими при наличии опасных движений в соответствии с
5.2.2 или неподвижными. В случае, когда защитное ограждение с блокировкой открыто, должна действовать одна из мер, установленных в
5.2.3;
Рисунок 2. Средства защиты мест затягивания
b) неподвижные защитные планки, установленные на соответствующих участках, для защиты мест затягивания на валиках или цилиндрах с гладкой поверхностью на всю ширину рабочей поверхности. Зазор между соответствующей частью машины (например, цилиндры, валики с гладкой поверхностью и т.д.) и защитной планкой не должен превышать 6 мм (см. рисунок 3).
Рисунок 3. Защита места затягивания с помощью неподвижной
планки
5.2.1.2. Применение устройств автоматического отключения для защиты мест затягивания допустимо только при соблюдении условия, установленного в
5.2.10.2.
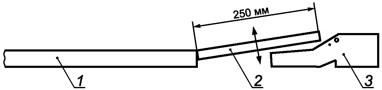
5.2.1.3. Линейное перемещение считается достаточно безопасным, если максимальное расстояние между подвижной и неподвижной частями не превышает 4 мм.
Примечание. К примеру, пуск и остановка движения инструмента при закреплении печатных форм, системы возвратно-поступательного движения между верхним и нижним инструментом станков для пробивки отверстий, для прикрепления глазков и швейных машин (см. рисунок 4).
Рисунок 4. Пример линейного перемещения в устройстве
для закрепления печатной формы
5.2.1.4. В самоходных машинах должны быть защищены места отдавливания между колесами и полом. Защита может быть обеспечена, например, с помощью неподвижных ограждений для защиты ног, установленных таким образом, чтобы расстояние между транспортным путем и нижним краем ограждения было не более 15 мм.
5.2.1.5. Маховички и угловые рычаги не должны самопроизвольно вращаться во время работы машины на рабочей скорости. Это может быть обеспечено, например, расцеплением маховичков и угловых рукояток с машиной во время ее работы с помощью пружины.
5.2.1.6. В тех случаях, когда машины с подвижными частями эксплуатируются в рабочих помещениях, в инструкции по эксплуатации должно содержаться требование к пользователю установить машину таким образом, чтобы предотвратить опасность придавливания персонала между подвижными частями машины и элементами конструкции здания.
5.2.2. Ограждения и блокировки
5.2.2.1. Ограждения должны удовлетворять требованиям ЕН 953:1997. Блокирующие устройства должны соответствовать требованиям ЕН 1088:1995 (разделы 5 и 6). Время остановки машины различается в зависимости от типа машины, но должно быть по возможности минимальным.
О блокировании см.
5.2.11 (предохранительные путевые выключатели с реакцией на приближение) и
5.2.6 (системы управления).
5.2.2.2. Для защитных оболочек применяют безопасные расстояния по ЕН 294:1992. Расстояние между полом и нижним краем защитной оболочки должно быть не более 200 мм, а между полом и верхним краем - не менее 1,4 м.
5.2.2.3. Защитные ограждения и дверцы для доступа в защитных оболочках, которые часто открывают или удаляют в процессе работы или для наладки и подготовки к работе, должны быть блокирующими. Защитные ограждения, которые открывают редко, должны быть закреплены таким образом, чтобы их удаление требовало применения инструментов. Такие ограждения также могут быть блокирующими.
Примечание. Ограждения и дверцы считаются удаляемыми "часто", в том числе для целей обслуживания, если их удаляют по меньшей мере однажды в течение рабочей смены. Ограждения и дверцы удаляют для подготовительных операций, например для:
- загрузки обрабатываемого материала;
- изменения формата;
- смены инструмента;
- регулировки;
- смывки.
5.2.2.4. При автоматическом движении передвижных ограждений не должно создаваться опасных мест. Должно быть обеспечено соответствие ЕН 953:1997.
5.2.2.5. В ограждениях, которые могут открываться, должны быть предусмотрены меры защиты от падения под действием силы тяжести, если это создает опасность травмирования.
Мерами, предотвращающими такое падение, могут быть, например:
- устройства для балансировки массы;
- воздушные пружины;
- фиксаторы для удержания элементов машины в открытом положении;
- червячные механические приводы, приводимые в действие устройством управления с удержанием;
- размещение центра тяжести ограждения в открытом положении достаточно далеко от оси вращения.
Пружины, применяемые для уравновешивания веса, должны быть сконструированы таким образом, чтобы не происходило опасное движение закрывания в случае их повреждения. Предпочтительно применение пружин, работающих на сжатие.
5.2.2.6. В тех случаях, когда необходимо вести наблюдение за производственным процессом, ограждения должны обеспечивать постоянную достаточную видимость функциональных мест без ухудшения ее из-за отражений света. Это требование обеспечивается, например, с помощью сетчатых защитных ограждений, окрашенных в черный матовый цвет.
5.2.3. Способы защиты, используемые при регулировке, чистке, устранении неисправностей в процессе эксплуатации и технического обслуживания
5.2.3.1. В тех случаях, когда доступные опасные зоны не обозреваются с позиций, откуда может быть произведен пуск опасного движения, должно быть выполнено одно из следующих требований:
- там, где доступные опасные зоны защищены оболочкой, работник (работники), находящийся внутри защитной оболочки, не должен иметь возможность закрыть блокирующую дверцу доступа, или снаружи оболочки должно быть предусмотрено дополнительное управляющее устройство в таком месте, где оно не может быть приведено в действие изнутри. Любые опасные движения должны быть возможны только после того, как дверца доступа будет закрыта снаружи и приведено в действие управляющее устройство;
- там, где доступные опасные зоны защищены с помощью ЭЧПУ, снаружи опасной зоны должен быть предусмотрен дополнительный орган управления, недоступный с любого места в опасной зоне. Должно быть обеспечено, чтобы опасное движение могло быть пущено только после того, как работник приведет в действие этот дополнительный орган управления.
5.2.3.2. В случае если блокирующее защитное ограждение открыто или удалено или работник вошел в опасную зону, в которой имеются незащищенные опасные места, пуск машины должен быть возможен только следующим образом:
a) устройством управления при удержании (толчкового типа):
1) при перемещении не более 25 мм или со скоростью не более 1 м/мин;
2) при перемещении не более 75 мм или со скоростью не более 5 м/мин, если при этом не произойдет значительное возрастание опасности и если предусмотренные в перечислении 1) ограничения могут снизить способность машины выполнять ее функции.
Для устройств управления при удержании в виде двуручных управляющих устройств применяют те же ограничения по величине перемещения и скорости.
Двуручное управляющее устройство должно удовлетворять требованиям, установленным в
5.2.8. Остановочный путь должен быть насколько технически возможно коротким. Пуск машины в толчковом режиме управления после открывания блокирующего ограждения может быть выполнен без применения многопозиционного переключателя, если производственная операция в толчковом режиме надежно защищена блокирующим устройством.
В машинах, где используются два вида устройств управления с удержанием (с одним органом управления и двуручное управляющее устройство), следует применять многопозиционный переключатель;
b) ручным управлением.
Устройства, обеспечивающие ручное управление машиной или частью ее, должны быть сконструированы таким образом, чтобы обслуживающий персонал не подвергался опасности.
5.2.3.3. С места расположения устройства управления толчкового типа должна быть обеспечена возможность обозревать опасные места и опасные зоны.
5.2.3.4. В тех случаях, когда управление в толчковом режиме применяют в качестве меры защиты опасного места, пуск машины в таком режиме после открывания блокирующего защитного ограждения должен быть возможен только после того, как будут закрыты другие блокирующие защитные ограждения, находящиеся вне зон, обозреваемых оператором.
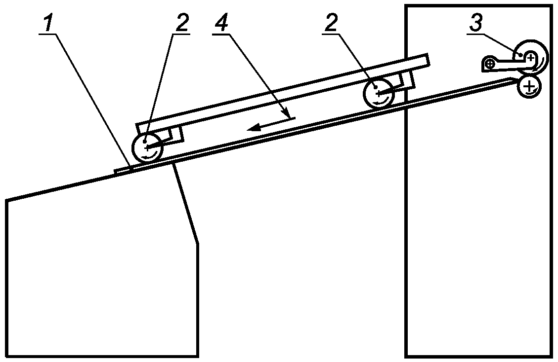
5.2.3.5. Должна быть обеспечена безопасная проводка ленты рулонного материала. В устройствах проводки материала с механическим приводом доступ к опасным местам должен быть предотвращен с помощью ограждений.
Доступ к опасным местам считается предотвращенным, если, например:
- в устройствах проводки с помощью тесьмы места затягивания между проводочной тесьмой и натяжным роликом защищены. Защита возможна, например, посредством установки с внешней стороны роликов, неподвижного диска радиусом не менее чем на 120 мм больше радиуса ролика;
- в механизированных устройствах проводки с помощью планки с транспортирующими цепями, в местах затягивания между цепями и звездочками предусмотрены ограждения, закрывающие насколько возможно места затягивания;
- проводка выполняется в толчковом режиме с ограничением скорости.
5.2.4. Предотвращение и защита от взрыва
5.2.4.1. Электрическое и неэлектрическое оборудование и составные части, предназначенные для применения в потенциально взрывоопасных средах, должны быть сконструированы и изготовлены на основе современного инженерного опыта и соответствовать требуемым категориям оборудования группы II, чтобы избежать любого источника воспламенения согласно ЕН 1127-1:1997 (подраздел 5.3). Для отнесения оборудования к соответствующей категории оно должно быть подвергнуто оценке риска воспламенения согласно ЕН 13463-1:2001 (подраздел 5.2).
5.2.4.2. Предотвращение и защита от взрыва не требуется для оборудования, в котором не применяются горючие жидкости с температурой вспышки ниже 55 °C и горючие жидкости в условиях работы не распыляются и не нагреваются выше температуры их вспышки. Все остальное оборудование должно быть сконструировано в соответствии с требованиями ЕН 1127-1:1997 для зон, приведенных в
Приложении A.
Примечание 1. О смывочных устройствах на печатных машинах см. ЕН 1010-2:2006 (пункт 5.6.6).
Примечание 2. Нагревание легковоспламеняющейся жидкости в условиях эксплуатации происходит, например, в секциях проявления пленок и печатных пластин с подогревом ванн.
О сведениях по электропроводности покрытий пола см. требования к инструкции по эксплуатации в
7.2.4.
5.2.4.3. Электрооборудование
5.2.4.3.1. Электрооборудование, предназначенное для применения в потенциально взрывоопасной среде, создаваемой газом, паром, аэрозолью или пылью, должно соответствовать требованиям ЕН 50014. При необходимости эти требования могут быть дополнены или уточнены по ЕН 50015:1998; ЕН 50016:1995; ЕН 50017:1998; ЕН 50018:2000; ЕН 50019:2000; ЕН 50020:2002; ЕН 50039:1980.
5.2.4.3.2. Оборудование группы II, категорий 1G, 2G или 3G для применения в конкретной зоне должно быть выбрано в соответствии с ЕН 60079-14:1998 (раздел 5).
5.2.4.3.3. Оборудование группы II, категорий 1D, 2D или 3D для применения в конкретной зоне должно быть выбрано в соответствии с ЕН 50281-1-2:1999.
5.2.4.4. Неэлектрическое оборудование
5.2.4.4.1. Неэлектрическое оборудование, предназначенное для применения в потенциально взрывоопасной среде, создаваемой газом, паром, аэрозолью или пылью, должно соответствовать требованиям ЕН 13463-1:2001 и ЕН 13463-5:2003 и в случае необходимости должны применяться российские национальные стандарты для конкретных видов защиты от воспламенения.
5.2.4.4.2. Оборудование группы II, категорий 1G, 1D для применения в зонах класса 0 или 20 соответственно не должно иметь действующие источники воспламенения во время ожидаемых или необычных отказов.
5.2.4.4.3. Оборудование группы II, категорий 2G, 2D для применения в зонах класса 1 или 21 соответственно не должно иметь действующие источники воспламенения в условиях нормальной работы или ожидаемых отказов.
5.2.4.4.4. Оборудование группы II, категорий 3G, 3D для применения в зонах класса 2 или 22 соответственно не должно иметь действующие источники воспламенения в условиях нормальной работы.
5.2.4.5. Температура поверхности всех составных частей неэлектрического оборудования категорий 1 и 2 при наличии вероятности их контакта с потенциально взрывоопасной средой и температура потенциально взрывоопасной среды не должна превышать 80% температуры самовоспламенения газов или паров в °C. Температура поверхности всех горячих частей при наличии опасности их контакта с пылевыми облаками не должна превышать 2/3 минимальной температуры самовоспламенения пылевого облака в °C.
5.2.4.6. На поверхностях, где отложение потенциально накаляющейся пыли не может быть принудительно предотвращено, температура поверхности всех частей неэлектрического оборудования не должна превышать минимальной температуры самовоспламенения пылевого слоя соответствующей толщины минус 75 К.
См. ЕН 50281-3:2002
[35].
5.2.4.7. Тормоза и муфты должны быть изготовлены так, чтобы они не могли стать источником воспламенения согласно ЕН 13463-5:2003.
5.2.4.8. Нежелательные электростатические разряды должны быть предотвращены путем заземления и соединения всех металлических частей.
Примечание. Дополнительная информация на эту тему приведена в CLC R044-001:1999.
5.2.4.9. Рукава и трубопроводы, используемые для вытяжки горючей пыли и других огнеопасных материалов (бумага, пластик и т.д.), должны быть электропроводными и заземлены от действия статического электричества (сопротивление менее

). Соответствующая рекомендация должна быть приведена в инструкции по эксплуатации.
5.2.4.10. Рукава и трубопроводы для красок, материалов, покрытий, пропитки и клеев, а также для вытяжки испарений растворителя должны быть электропроводными и заземлены от действия статического электричества (сопротивление менее

).
Примечание. Об информации в инструкции по эксплуатации см.
7.2.4.
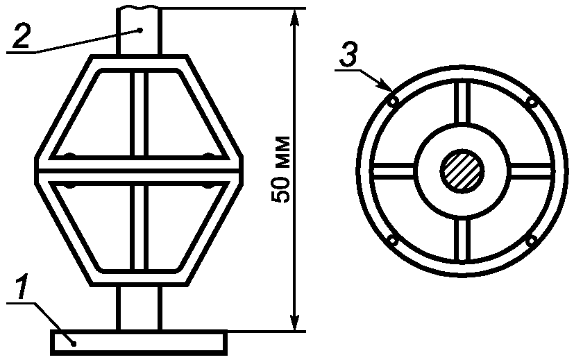
5.2.4.11. Расстояние между электродвигателем привода мешалки для регулирования вязкости и наружным фланцем размешивающего устройства должно быть не менее 50 мм (крепление фонарного типа). Для усиления защитного действия рекомендуется также установка диска на валу электродвигателя.
Примечание. Это предотвращает попадание испарений растворителя через ось мешалки в электромотор (см. рисунок 5).
1 - электродвигатель привода; 2 - мешалка; 3 - вид сверху
Рисунок 5. Расстояние между электродвигателем привода
и мешалкой (фонарного типа)
5.2.4.12. Электродвигатель привода рециркуляционных насосов резервуара подачи краски, материалов для покрытий, пропитки или клеев должен быть защищен от взрыва согласно ЕН 50018:2000. В тех случаях, когда на насосе установлены предохранительные выключатели двигателя, достаточно применение ЕН 50019:2000.
5.2.5. Электрооборудование
5.2.5.1. Электрооборудование должно быть сконструировано таким образом, чтобы все электрические опасности (например, поражение электрическим током, ожоги) были предотвращены согласно ЕН 60204-1:1997. Требования ЕН 60204-1:1997 должны быть выполнены с учетом нижеследующих дополнений.
5.2.5.2. Машины должны быть оснащены устройством отключения питания согласно ЕН 60204-1:1997 перечисление a) или c) пункта 5.3.2). Это устройство должно иметь средство запирания в положении ОТКЛЮЧЕНО. В тех случаях, когда приведение в действие устройств аварийного останова осуществляется гальваническим разъединением с источником питания в результате понижения напряжения, следует применять автоматический выключатель согласно ЕН 60204-1:1997 (перечисление c) пункта 5.3.2). В тех случаях, когда электрические цепи согласно ЕН 60204-1:1997 (пункт 5.3.5) не размыкаются устройством отключения питания, такие цепи должны иметь собственное устройство отключения.
5.2.5.3. Устройства аварийного останова должны быть выполнены в соответствии с ЕН 60204-1:1997 (подпункт 9.2.5.4.2) в категории останова 0 или 1. В машинах, в которых места затягивания защищены отключающими планками согласно
5.2.10, аварийный останов должен действовать в категории останова 1.
5.2.5.4. &В электроприводах с инвертором напряжения (тока)& при приведении в действие устройства аварийного останова в отклонение от ЕН 60204-1:1997 (подпункт 9.2.5.4) допускается останов двигателя в категории 2 согласно ЕН 60204-1:1997 (пункт 9.2.2), если:
- блокировка импульсов в инверторе и
- отключение подачи напряжения к датчику положения механизма и связанной с ним цепи управления функционально разнесены по категории 3 согласно ЕН 954-1:1996.
5.2.5.5. Электрические устройства и провода должны быть смонтированы так, чтобы была предотвращена опасность механического воздействия на них и влияния окружающей среды. Защитные оболочки электрических устройств должны обеспечивать степень защиты в пределах IP 54 по ЕН 60529:1991
[36].
5.2.5.6. Для изолированных однополярных проводов, расположенных между двумя клеммами внутри оболочки (например, шкафа управления), должен быть использован один из следующих методов идентификации проводов:
- идентификация с помощью цифр или букв;
- идентификация цветом согласно ЕН 60204-1:1997 (пункт 13.2.4);
- закрепление проводов в определенном положении (например, фиксирование проводки "гребенкой"), с тем чтобы надежно предотвратить любое спутывание проводов при замене электрических компонентов;
- другие адекватные методы.
5.2.5.7. Электрооборудование должно быть сконструировано так, чтобы оно могло выдержать испытания, предусмотренные ЕН 60204-1:1997 (подразделы 18.2 - 18.6). Испытания напряжением, установленные ЕН 60204-1:1997 (подраздел 18.4), для электронных цепей управления, содержащих компьютерные системы или компоненты электронных устройств управления, не требуются.
5.2.5.8. Измерительные устройства, являющиеся составной частью машин, должны соответствовать ЕН 61010-1:2001.
5.2.6. Системы управления
5.2.6.1. Требования к системе управления машин, в которых регулярный доступ в опасные места не требуется
5.2.6.1.1. В гидравлических/пневматических системах управления части, связанные с обеспечением безопасности, должны соответствовать требованиям не ниже категории 1 по ЕН 954-1:1996 (пункт 6.2.2).
В электрических/электронных системах управления части, связанные с обеспечением безопасности, должны соответствовать требованиям не ниже категории 3 по ЕН 954-1:1996 (пункт 6.2.4). Может быть предусмотрен только один главный контактор.
Минимальное требование состоит в том, чтобы обнаруживались неисправности во вспомогательных реле и вспомогательных контакторах цепи управления и опасное движение останавливалось. При использовании для мониторинга состояния безопасности компьютера или программируемого логического контроллера (ПЛК) сбои, связанные с безопасностью, должны быть обнаружены и приводить к отключению.
При использовании компьютера или ПЛК это требование может быть обеспечено, например, мониторингом действия сигналов безопасности с использованием параллельных компьютерных систем управления или принципов разрыва избыточных цепей контактного типа. Любые сбои должны приводить к остановке опасного движения.
Элементы системы управления, связанные с обеспечением безопасности, включают, например, цепи аварийного останова, цепи электрической блокировки, ограничение перемещения или рабочей скорости в толчковом режиме управления. В целях обеспечения безопасности см. также определения в ЕН 954-1:1996.
Внешние воздействия и неисправности в элементах систем управления, связанных с безопасностью, могут вызывать опасные движения и опасные состояния.
К опасным движениям в зависимости от типа машины относится, например:
- непреднамеренный пуск или непреднамеренное увеличение скорости до рабочей скорости;
- непреднамеренное движение после преднамеренного движения (непреднамеренный цикл);
- непреднамеренное продолжение движения при намерении остановить движение.
Опасное состояние также может быть, например, создано неисправностями в системах управления в потенциально взрывоопасной среде.
Примечание. См. библиографию и МЭК 61508
[1] -
[7].
5.2.6.1.2. В электроприводах с инвертором напряжения (тока) и вентильным двигателем система управления должна быть сконструирована таким образом, чтобы в случае, когда ограждение или устройство безопасности вызывает останов машины, главный контактор также должен выключаться, например путем использования электрического/электронного таймера выключения его через заданное время или любыми другими адекватными средствами, как, например, применением механического тормоза с тормозным моментом большим, чем крутящий момент на валу привода двигателя. Устройствами безопасности являются, например: устройства аварийного останова, ЭЧПУ, блокирующие ограждения, устройства автоматического отключения.
В электроприводах с инвертором напряжения (тока) и вентильным двигателем, в которых торможение осуществляется реверсированием тока (противовключением), должны быть приняты соответствующие меры управления в дополнение к блокировке импульсов, с тем чтобы обеспечить отключение главного контактора до завершения нормальной остановки, или любые другие адекватные меры. Во время управления устройством с управления с удержанием отключение главного контактора в течение разрешенного времени пуска системы предпусковой предупредительной сигнализации не требуется (см.
Приложение B).
Примечание. В электроприводах с инвертором напряжения (тока) и вентильным двигателем скорость вращения двигателя изменяется, например изменением частоты подаваемого напряжения.
5.2.6.1.3. В случае если устройство аварийной остановки совмещено с главным контактором, обнаруживающим понижение напряжения питания, оно должно отключать подачу питания в категории не ниже 1 по ЕН 954-1:1996.
Примечание. Размыкающий контакт устройства аварийной остановки, например напрямую отключает подачу питания на низковольтную отключающую катушку.
5.2.6.1.4. Взаимное блокирование устройств безопасности, защищающих индивидуальные зоны, каждая из которых может быть обозреваемой оператором, должно удовлетворять требованиям категории не ниже 1 по ЕН 954-1:1996. Блокирование может контролироваться компьютером.
Об обозреваемых зонах см.
5.2.3.
5.2.6.1.5. Системы контроля остатка стопы должны соответствовать категории B по ЕН 954-1:1996.
5.2.6.2. Повышенные требования к управлению машинами, в которых требуется регулярный доступ в опасные места, например, одноножевыми резальными машинами, тигельными машинами с ручной подачей, трафаретными печатными машинами с ручной подачей, машинами для высечки этикеток с ручной подачей.
5.2.6.2.1. В гидравлических/пневматических системах управления части, связанные с обеспечением безопасности, должны соответствовать категории не ниже 3 по ЕН 954-1:1996 (пункт 6.2.4).
В электрических/электронных системах управления части, связанные с обеспечением безопасности, должны соответствовать категории не ниже 4 по ЕН 954-1:1996 (пункт 6.2.5). Должно быть обеспечено дублирование главных контакторов. Неисправности главных контакторов должны быть обнаружены и приводить к отключению питания.
О требованиях к предохранительным путевым выключателям см.
5.2.11.
5.2.6.2.2. В машинах с регулярным доступом не допускается применять самостоятельно электронные системы торможения. Подобные тормозные системы требуют применения дополнительных механических тормозов для дублирования. Тормозной момент механического тормоза должен быть больше, чем максимальный крутящий момент на валу электропривода с инвертором напряжения (тока) и вентильным двигателем.
Примечание. Электронные тормоза применяются, например, в электроприводах с инвертором напряжения (тока) и вентильным двигателем, в которых эффект торможения вызывается реверсированием тока.
5.2.7. Индикаторы, маркировки, органы управления, устройства предупредительной сигнализации о пуске
5.2.7.1. Должны быть выполнены требования к индикации, маркировке, органам управления, установленные ЕН 61310-1:1995 и ЕН 61310-2:1995.
5.2.7.2. В машинах с ограниченным обзором и затрудненным общением между обслуживающим персоналом должны быть предусмотрены устройства предупредительной сигнализации о пуске, издающие четко различимый звуковой сигнал перед пуском машины. Должны быть выполнены требования, установленные в
Приложении B. В дополнение к устройству звуковой сигнализации может требоваться одно или более устройств визуальной сигнализации.
Общий обзор может быть ограничен и общение между персоналом затруднено, если:
- длина машины превышает 7 м, или
- в печатных машинах имеется более одной печатной секции и высота машины от уровня пола превышает 1,6 м, или
- панели управления в тигельных автоматах расположены в местах, с которых не обозревается зона удаления отходов.
В случае если предупредительную сигнализацию о пуске применяют часто, следует принимать во внимание условия, установленные ЕН ИСО 12100-2:2003 (подраздел 5.3).
5.2.7.3. В машинах должно быть предусмотрено по крайней мере одно устройство для пуска и останова. Эта функция может быть также выполнена устройством отключения питания, установленным на машине. Коммутационные устройства для управления пуском и остановом и относящиеся к ним органы управления должны соответствовать требованиям ЕН 60204-1:1997 и ЕН ИСО 12100-2:2003.
5.2.7.4. Органы управления коммутационных устройств для пуска опасных движений должны быть защищены от непреднамеренных воздействий.
5.2.7.5. Машины должны иметь отдельные главные коммутационные устройства для каждого вида используемой энергии. Должны быть выполнены требования ЕН 1037:1995.
5.2.7.6. Устройства аварийного останова должны удовлетворять требованиям ЕН 418:1992 и ЕН 60204-1:1997.
5.2.8. Двуручные управляющие устройства
5.2.8.1. Двуручные управляющие устройства применяют как устройства безопасности, только если любое опасное движение останавливается при отпускании хотя бы одного из органов ручного управления. Опасное движение должно останавливаться в течение времени, при котором, принимая во внимание скорость движения рук, не создается опасности для оператора. За основу следует принимать скорости движения рук, установленные ЕН 999:1998. Должны быть выполнены требования для управления двумя руками типа 3 по ЕН 60204-1:1997.
5.2.8.2. В гидравлических/пневматических двуручных управляющих устройствах должны быть выполнены требования, установленные для устройств типа III A, в электрических/электронных двуручных управляющих устройствах - для устройств типа III B по ЕН 574:1996.
5.2.8.3. В отступление от
5.2.8.2 гидравлические/пневматические двуручные управляющие устройства, защищающие опасные места, требующие регулярного доступа, должны удовлетворять требованиям к устройствам типа III C по ЕН 574:1996.
5.2.8.4. В соответствии с
5.2.3.4 могут применяться двуручные управляющие устройства управления на переносном кабеле для наладки и устранения неисправностей. В этих случаях ЕН 999:1998 не применяют. Переносные кабели должны иметь достаточную прочность, чтобы выдержать любые возможные механические воздействия. Должны быть обеспечены меры для предотвращения выдергивания подводящего провода из разъема.
5.2.9. Электрочувствительные предохранительные устройства (ЭЧПУ)
5.2.9.1. ЭЧПУ, предназначенные для выполнения функций безопасности, должны соответствовать требованиям к устройствам типа 2 по ЕН МЭК 61496-1:1997 и ЕН МЭК 61496-2:1997.
5.2.9.2. В отступление от
5.2.9.1 ЭЧПУ, которые защищают регулярный доступ в опасные зоны, должны удовлетворять требованиям к устройствам типа 4 по ЕН МЭК 61496-1:1997 и ЕН МЭК 61496-2:1997.
5.2.9.3. Для правильного размещения ЭЧПУ за основу следует принимать скорость приближения рук согласно ЕН 999:1998. К ЭЧПУ, установленным в качестве устройств запрещения пуска, ЕН 999:1998 не применяют. Должны быть установлены дополнительные защитные устройства.
5.2.9.4. В случае если ЭЧПУ применяют для защиты доступа человека всем телом в защищенную опасную зону, должны быть предусмотрены по меньшей мере два ЭЧПУ на высоте 400 мм и 900 мм.
5.2.10 Коврики, реагирующие на давление, устройства автоматического отключения &(отключающие планки, отключающие скобы, отключающие стержни и т.п.)&
5.2.10.1. Коврики, реагирующие на давление, должны удовлетворять требованиям ЕН 1760-1:1997, устройства автоматического отключения должны удовлетворять требованиям ЕН 1760-2:2001. Должны быть выполнены требования категории 3 по ЕН 954-1:1996 (см. ЕН 1760-1:1997 (подраздел 4.15) или ЕН 1760-2:2001 (подраздел 4.18)). Устройства автоматического отключения и коврики, реагирующие на давление, которые защищают регулярный доступ в опасные места, должны соответствовать требованиям категории 4 по ЕН 954-1:1996.
5.2.10.2. После включения функции останова длина перемещения устройства автоматического отключения должна быть больше остановочного пути опасного движения.
5.2.11. Предохранительные путевые выключатели
5.2.11.1. Должны быть выполнены требования ЕН 1088:1995 (разделы 5 и 6).
5.2.11.2. Можно исходить из того, что сбои путевых выключателей, изготовленных по ЕН 60947-5-1:1997
[37] и установленных в соответствии с ЕН 60204-1, происходить не должны. Для машин, к которым регулярный доступ не требуется, достаточно наличие только одного путевого выключателя для каждого защитного ограждения с блокировкой.
5.2.11.3. Короткое замыкание между двумя электрическими проводами в результате физического воздействия за пределами электрошкафа может быть предотвращено путем защиты кабеля (например, прокладкой его в коробах, в станине машины).
5.2.12. Рабочие площадки, лестницы для доступа, проходы и возвышенные рабочие места
5.2.12.1. Общие требования
5.2.12.1.1. Для управления рабочим процессом, для наладки, регулировки и текущего обслуживания должны быть предусмотрены безопасные рабочие места, включая средства доступа к ним и проходы, в соответствии с ЕН ИСО 14122-1:2001, ЕН ИСО 14122-2:2001, ЕН ИСО 14122-3:2001 и ЕН ИСО 14122-4:2004.
5.2.12.1.2. Покрытия пола должны быть устойчивыми к скольжению в соответствии с ЕН ИСО 14122-2:2001. Это может быть достигнуто, например, применением профильных стальных плит или покрытий.
5.2.12.1.3. Минимальная свободная высота прохода должна соответствовать требованиям ЕН ИСО 14122-2:2001. В тех случаях, когда требуемая высота по конструктивным причинам не может быть обеспечена, выступающие части должны быть защищены мягким материалом и иметь сигнальную разметку.
5.2.12.1.4. Возвышенные постоянные рабочие места должны иметь свободную рабочую площадь не менее 1,5 м2 на человека и ширину не менее 1,0 м в соответствии с эргономическими требованиями (например, для обслуживания объектов).
5.2.12.1.5. Максимальный угол наклона стационарных лестниц для доступа должен быть 45°. С учетом результатов оценки риска могут быть использованы другие средства доступа. Для редко используемых рабочих мест, которые не могут быть доступны с помощью стационарных лестниц, могут быть использованы безопасные приставные лестницы, если высота доступа составляет не более 2 м.
5.2.12.2. Дополнительные средства доступа для редко используемых рабочих площадок
5.2.12.2.1. Безопасные и допустимые по эргономическим требованиям положения тела могут быть обеспечены, например, следующими средствами:
- достаточным количеством рукояток, которые могут быть частично доступны с уровня подступа;
- передвижными рабочими площадками;
- стационарными и откидными рабочими площадками.
5.2.12.2.2. Требования к ступеням (закрепленным неподвижно или откидным)
Для одиночных ступеней уровнями доступа могут быть постоянные рабочие площадки или помосты. Необходимо применять следующие размеры:
- нормальная высота ступени | <= 300 мм; |
- максимальная высота | 500 мм; |
- минимальная длина (для одной ноги) | 200 мм; |
- минимальная длина (для двух ног) | 300 мм; |
- минимальная ширина &(глубина)& | 300 мм. |
В случае если требуется много ступеней (закрепленных неподвижно или откидных), полезная ширина подхода должна составлять не менее 500 мм. Кроме того, необходимо применять следующие размеры:
- максимальная высота расположения верхней ступени | 1200 мм; |
- максимальная высота промежуточных ступеней | 300 мм; |
- минимальная ширина &(глубина)& ступени | 200 мм; |
- максимальная высота без учета перил | 1200 мм. |
Во всех случаях ступени должны быть с поручнями.
Рабочие площадки, используемые редко или для кратковременного нахождения на них, должны быть размером не менее 200 x 200 мм.
5.2.12.2.3. В случае если требуется применение поручней, необходимо применять следующие размеры:
- минимальное расстояние до любой преграды | 40 мм; |
- минимальная длина | 110 мм; |
- минимальный диаметр | 20 мм. |
5.2.12.2.4. Для откидных рабочих площадок, расположенных на высоте от 0,5 до 1,6 м, должны быть предусмотрены по крайней мере одни перила. Такие площадки должны быть защищены от непреднамеренного их перемещения и удобны в обращении.
5.2.13.1. Машины должны быть сконструированы или оснащены так, чтобы не могло происходить непредвиденного изменения их положения. Должны быть выполнены требования ЕН ИСО 12100-2:2003.
Непредвиденные изменения положения могут быть предотвращены, например:
- адекватным размером основания;
- низким центром тяжести;
- средствами жесткого закрепления;
- адекватной конструкцией колес в агрегатах, установленных на рельсах.
5.2.13.2. Передвижные машины (машины на колесах) должны быть защищены от непреднамеренного перемещения. Непреднамеренное передвижение колес и роликов, не имеющих тормозов, может происходить, например, в следующих машинах: небольших УФ-сушилках, увлажняющих устройствах, столах для сталкивания, машинах для фальцовки листов, для скрепления картонажей, для шитья проволокой, прикрепления "глазков", машинах для обвязки продукции, для обжимки и обвязки пачек тетрадей; биговально-просекальных машинах с печатным устройством; машинах для ротационной высечки и машинах, объединенных в поточную линию.
Непреднамеренное передвижение может быть предотвращено, если застопорены по крайней мере:
- одно колесо из четырех неуправляемых колес;
- одно управляемое колесо из двух неуправляемых и двух управляемых колес;
- два колеса из четырех управляемых колес.
Там, где это возможно, должны быть установлены автоматические тормозящие устройства, например самотормозящие шестерни.
5.2.14. Высокие температуры контактов
Температуры контактов с доступными горячими частями машин не должны быть выше предельных величин, установленных ЕН 563:1994.
Защита от контакта с нагретыми частями может быть осуществлена, например, их изоляцией, ограждением или безопасным расстоянием.
Об информации в инструкции по эксплуатации см.
7.2.4.
Машины должны быть сконструированы и изготовлены так, чтобы риски от воздушного шума были снижены до самого минимального уровня, в особенности путем применения мер по снижению шума в источнике звука (см., например,
[34]). Результаты применения этих мер по снижению шума оценивают на основе фактического уровня излучения шума (см.
разделы 6 и
7) по отношению к другим машинам того же типа.
Измерение шума для определения уровня излучения шума должно быть выполнено в соответствии с требованиями, установленными ЕН 13023:2003.
Об информации по шуму в инструкции по эксплуатации см.
7.2.3.
Примечание. Наиболее значительными источниками шума являются, например:
- зубчатые зацепления (зубчатые передачи);
- гидравлические устройства;
- компрессоры, насосы;
- втягивающие и выпускные воздушные патрубки;
- всасывающие устройства (бумажной пыли, обрезков);
- процесс тиснения бумаги;
- процессы: обрезки, высечки, фальцовки бумаги, картона, измельчения бумаги;
- вращение цилиндров;
- упоры бумажных листов;
- отделение бумаги или картона от печатной формы.
5.2.16. Опасности, создаваемые излучением
5.2.16.1. Лазерные устройства, встроенные в оборудование, должны соответствовать требованиям ЕН 12626:1997, ЕН 60825-1:1994. В таком оборудовании должны быть предусмотрены неподвижные или блокирующие ограждения для предотвращения доступа в места, в которых эмиссия лазерного излучения в течение предполагаемого времени использования машины выше предельно допустимой величины для категории 1 по ЕН 60825-1:1994. Для выполнения ремонтных работ возможна работа обученного персонала по управлению машиной в течение короткого периода времени без неподвижных или блокирующих ограждений. В случае если такие доступы требуются в места, где уровень лазерного излучения выше предельно допустимой величины для категории 1, должны быть приняты дополнительные меры по обеспечению безопасности по ЕН 60825-1:1994.
Примечание. Лазерными устройствами являются, например, лазерные экспонирующие устройства, лазерные гравировальные устройства, лазерные резальные устройства.
К дополнительным мерам безопасности относится, например, инструктирование персонала по применению устройств защиты персонала.
Об информации для пользователя см.
раздел 7.
5.2.16.2. Уровень ультрафиолетового излучения, исходящего от оборудования, не должен превышать предельно допустимых величин для категории 1 по ЕН 12198-1:2000 (таблица B.1) для постоянных рабочих мест, а также редко используемых мест. Фактические величины излучения определяют согласно ЕН 12198-1:2000 (Приложение B и таблица B.2).
Примечание. УФ-излучение исходит, например, от УФ экспонирующего оборудования и УФ сушильных устройств.
Величины, установленные для категории 1 в ЕН 12198-1:2000 (Приложение B), относятся к максимальной продолжительности облучения в течение 8 ч в день. В тех случаях, когда в установленных точках измерения или в нормальных условиях работы ожидаемое время облучения

на работника меньше максимальной продолжительности, предельная величина УФ-B/C излучения

может быть увеличена коэффициентом

. Предельная величина УФ-A излучения составляет 10 Вт/м2 для времени облучения от 1000 с до 8 ч. В случае если время облучения меньше чем 1000 с, предельную величину излучения рассчитывают путем деления величины излучения 10000 Дж/м2 на время облучения в секундах.
Меньшая максимальная длительность облучения может быть, например, на УФ экспонирующем оборудовании, где излучение прерывается по технологическим причинам на подготовительной стадии операции экспонирования (загрузка оригинала, перемещение в требуемое положение).
Опасности, вызываемые озоном при УФ-излучении, должны быть исключены на стадии конструирования. Возможными средствами уменьшения выделения озона являются установки с низкоозоновыми УФ-лампами или оснащение вытяжным оборудованием.
5.2.17. Устойчивость к электромагнитным помехам
Полиграфическое оборудование должно иметь достаточную устойчивость к электромагнитным помехам, чтобы обеспечить его безопасную работу в соответствии с областью применения и не вызывать опасные отказы под действием облучения уровня и типов, установленных ЕН 61000-6-2:2005. Изготовитель полиграфического оборудования должен сконструировать, установить и произвести монтаж электропроводки с учетом рекомендаций поставщиков комплектующих или составных частей, с тем чтобы любое воздействие электромагнитных помех не приводило к опасной эксплуатации и/или отказу, ведущему к опасному состоянию.
5.3. Устройства общего назначения
5.3.1.1. Для неподвижных ножей машин должно быть по возможности предусмотрено защитное ограждение режущей кромки ножа. Это требование не применяют к неподвижным ножам ротационных листорезальных машин.
5.3.1.2. Лезвия неподвижных ножей, которые могут откидываться, должны быть защищены от контактов, даже если они находятся в нерабочем положении.
5.3.2. Вращающиеся инструменты
5.3.2.1. Места затягивания и прилегающее к месту обработки пространство у вращающихся инструментов машин (например, дисковых ножей, перфорирующих ножей, перфорирующих инструментов, ротационных дисковых ножей для продольной разрезки и дисковых пил) должны быть защищены от контакта. Предпочтение должно быть отдано защитным ограждениям, которые не нужно удалять при смене инструмента. Требования, указанные в
5.2.1.1, должны быть по возможности выполнены.
5.3.2.2. Вращающиеся режущие инструменты для продольной разрезки должны быть надежно закреплены в держателе.
5.3.3. Инструменты, являющиеся источником опасности
Для транспортирования и хранения опасного инструмента машин, например ножей, должны быть предусмотрены приспособления, например ящики для ножей, в целях предотвращения травмирования инструментом. Это требование следует также применять к инструменту, являющемуся отдельной составной частью сборочных узлов машин.
5.3.4. Самонаклады и приемные устройства (устройства для подъема и опускания стапеля)
5.3.4.1. Устройства для подъема и опускания стапеля должны быть сконструированы таким образом, чтобы они могли выдерживать статические испытания грузом, в 1,25 раза большим максимальной грузоподъемности, без проявления остаточной деформации или видимых дефектов. Они должны также выдерживать динамические испытания грузом, в 1,1 раза большим максимальной грузоподъемности в нормальных условиях эксплуатации.
5.3.4.2. В устройствах подъема и опускания стапеля для формата продукции площадью более 2,5 м2 прочность на разрыв звеньев стальных цепей должна не менее чем в 6 раз превышать допустимую статическую нагрузку. В устройствах подъема и опускания стапеля для формата продукции площадью менее 2,5 м2 этот показатель должен быть не менее чем в 3 раза выше допустимой статической нагрузки. Расчеты следует выполнять для определенной плотности: для бумаги - не менее 1400 кг/м3 и для гофрокартона - не менее 200 кг/м3.
5.3.4.3. В устройствах подъема и опускания стапеля для формата продукции площадью более 2,5 м2 и высотой подъема более 1,5 м должны быть предусмотрены меры для предотвращения перемещения стапеленесущего устройства более чем на 100 мм в случае повреждения троса, цепи, опорной гайки или ведущей звездочки или протечки шлангов или трубок.
Это требование для винтовых приводов может быть обеспечено применением, например, дополнительной гайки того же типа, что и опорная гайка, для дублирования в случае ее разрушения или изнашивания резьбы. Для цепных (или тросовых) приводов - может быть обеспечено, например, с помощью ненагруженных (одного или более) дублирующих цепных приводов, которые принимают на себя нагрузку и функцию рабочих цепей в случае их разрыва.
Такой способ применяют в приводах, рассчитанных на двойную номинальную нагрузку, а также в устройствах подъема и опускания стапеля с гидравлическим или пневматическим приводом, если в случае протечки в системе трубопровода скорость опускания стапеленесущего устройства не более чем в 1,5 раза превышает скорость в нормальных рабочих условиях.
5.3.4.4. В устройствах подъема и опускания стапеля с форматом продукции площадью более 2,5 м2 пространство под стапельной платформой должно быть защищено ограждениями или с помощью ЭЧПУ. При этом требования ЕН 999:1998 учитывать не требуется. Для ЭЧПУ должны быть выполнены требования
5.2.9.4.
5.3.4.5. Опасные места у стапельных платформ между кромкой стапельной платформы и местом, где может стоять оператор, должны быть защищены следующими способами:
a) в самонакладах с форматом продукции площадью до 1 м2 и на приемных устройствах с форматом продукции площадью до 0,175 м2 стапельная платформа должна опускаться автоматически следующим образом:
- вниз - только до высоты 120 мм над базовым уровнем обслуживания оборудования и
- дальнейшее опускание до базового уровня обслуживания оборудования - только управлением в толчковом режиме.
Опасные места могут быть также защищены одним из способов, приведенных в
перечислении b);
b) в самонакладах с форматом продукции площадью свыше 1 м2 и на приемных устройствах с форматом продукции площадью свыше 0,175 м2 защита открытой кромки стапельной платформы должна быть обеспечена применением одной из следующих мер защиты:
- упруго-эластичными, не раскачивающимися, выступающими защитными накладками на стапельной платформе, выступающими перед опасной кромкой не менее чем на 250 мм (см. рисунок 6);
1 - стапельная платформа; 2 - выступающая
защитная накладка; 3 - нога
Рисунок 6. Выступающая защитная накладка
- ЭЧПУ перед кромкой стапельной платформы без учета требований ЕН 999:1998;
- расстоянием по горизонтали 300 мм между вертикальной проекцией наружной поверхности частей станины машины, расположенных на высоте не более 1,5 м над базовым уровнем, и стапельной платформой. Опорные кронштейны стапельного стола, проецирующиеся на безопасное расстояние (300 мм), должны иметь просвет от базового уровня обслуживания не менее чем 120 мм (см. рисунок 7);
Рисунок 7. Защита отклоняющимися частями станины машины
- устройствами автоматического отключения;
- управлением в толчковом режиме с устройством управления, расположенным на расстоянии не менее 850 мм от опасного места и в позиции, откуда опасное место находится на виду у оператора;
c) в самонакладах и приемных устройствах с форматом продукции площадью более 2,5 м2 опасное место у кромки стапельной платформы должно быть защищено одним или более из следующих предохранительных устройств:
- ограждением;
- ЭЧПУ перед кромкой стапельной платформы; в секциях самонаклада и приемки картона - с помощью ЭЧПУ, установленного на расстоянии не менее 300 мм от кромки стапельной платформы.
5.3.4.6. В тех случаях, когда у секций самонаклада или приемки установлены рабочие площадки или помосты, опасное место между рабочей площадкой или помостом и кромкой стапельной платформы должно быть защищено. Это может быть выполнено, например, одним из следующих способов:
- минимальным расстоянием 120 мм между кромкой стапельного стола (платформы) и краем рабочей площадки;
- ЭЧПУ перед кромкой стапельной платформы без учета требований ЕН 999:1998;
- расстоянием по горизонтали 300 мм между вертикальной проекцией наружного края станины машины и кромки стапельной платформы. Выступающие части станины должны быть при этом не выше 1,5 м над рабочей площадкой или помостом;
- устройствами автоматического отключения.
5.3.4.7. В самонакладах и приемных устройствах места придавливания и порезов, создаваемые подъемом стапеля или стапельной платформы, должны быть защищены. Защита может быть выполнена, например, одним из следующих способов:
- безопасным расстоянием в соответствии с ЕН 349:1993;
- устройствами автоматического отключения;
- ограждениями;
- работой в толчковом режиме управления.
5.3.4.8. Листоотделяющие устройства самонаклада должны быть сконструированы таким образом, чтобы их перемещение не создавало опасных мест. Это требование в тех случаях, когда листы подаются снизу стапеля, может быть выполнено, например, посредством контроля остатка стапеля на самонакладах.
Опасные места у листоотделяющих устройств снаружи боковых упоров магазина самонаклада должны быть защищены при любом используемом формате. Это может быть выполнено, например, применением защитного устройства типа гармошки или дополнительного ограждения.
В тех случаях, когда листы на самонакладе подаются сверху стапеля, это требование обеспечивается, например, применением безопасного расстояния от присосов или за счет опускания присосов на материал только под действием усилия пружины.
5.3.4.9. Опасные места в приводе пневматической головки (см. рисунок 8), которые могут быть доступны во время производственного процесса, должны быть защищены ограждениями, полностью закрывающими головку, за исключением нижней ее части.
1 - листоведущий присос; 2 - листоотделяющий присос;
3 - щуп-сопло ("сапожок")
Рисунок 8. Подвижные части пневматической
головки самонаклада
Опасные места, создаваемые движущимися частями (например, листоведущий присос, листоотделяющий присос) снаружи пневматической головки должны быть защищены, например одним из следующих способов:
- расстоянием не менее 25 мм между движущимися частями (например, листоведущий присос), доступными в процессе работы;
- перемещением частей (например, щуп-сопло, листоотделяющий присос) с помощью пружин с безопасно малым усилием;
- защитой опасных мест (мест придавливания и порезов) с помощью ограждений.
Вал привода пневматической головки должен быть полностью закрыт.
5.3.4.10. Места затягивания у подающих и транспортирующих роликов накладного стола листоподающей системы должны быть защищены (см.
рисунок 9). Это может быть достигнуто, например:
- применением относительного отклонения их на 25 мм;
- применением относительного отклонения их на 15 мм для роликов шириной до 25 мм или
1 - накладной стол; 2 - транспортирующие ролики;
3 - подающие ролики; 4 - направление подачи
Рисунок 9. Подающие и транспортирующие ролики
накладного стола
5.3.4.11. В устройствах подъема и опускания стопы (в самонакладах и приемных устройствах) должна быть в понятной форме нанесена следующая дополнительная информация:
a) допустимое рабочее давление в устройствах с пневмоприводом;
b) допустимое рабочее давление в устройствах с гидроприводом, если генератор давления не является составной частью устройств;
c) максимальная грузоподъемность;
d) для формата площадью более 2,5 м2 - надпись, указывающая, что езда на устройстве запрещена.
5.3.5. Устройства размотки и намотки рулонов рулонных печатных машин
5.3.5.1. В устройствах размотки и намотки рулонов, в которых привод рулона осуществляется ремнем за периферию рулона (см.
рисунок 10), опасные места между рулоном и ремнем должны быть защищены блокирующими ограждениями или защитными оболочками, если сила прижима между ремнем и рулоном превышает 300 Н. Средства защиты могут потребоваться также при силе прижима менее или равном 300 Н, если опасность создается скоростью машины.
Должны быть предусмотрены ограждения для защиты мест затягивания на направляющих валиках ременного привода (см.
рисунок 11).
5.3.5.2. В устройствах размотки и намотки рулонов места затягивания у рулонов, прижимных валиков и роликов, опорных валиков должны быть защищены с помощью ограждений или устройств безопасности с реакцией на приближение (устройства автоматического отключения, коврики, реагирующие на давление, ЭЧПУ). Выбранные устройства безопасности должны действовать при любых диаметрах рулона.
Рисунок 10. Ременные приводы
Рисунок 11. Средства защиты мест затягивания приводным
ремнем в ременных приводах
Доступ к месту затягивания с любой стороны должен быть невозможен. Это требование включает также защиту места затягивания с торцевой стороны машины, если существует опасность затягивания при малом диаметре рулона (в начале процесса намотки) или при небольшом диаметре прижимного валика.
Об устройствах автоматического отключения, ковриках, реагирующих на давление, см.
5.2.10, об ЭЧПУ см.
5.2.9.
5.3.5.3. В случае применения бесшпиндельной размотки и намотки зажимные конусы должны быть выполнены таким образом, чтобы они могли быть установлены только в толчковом режиме управления. Устройства управления должны быть расположены таким образом, чтобы опасные места между зажимными конусами и рулоном могли быть обозреваемы с места их расположения в секции размотки и намотки. Скорость работы в толчковом режиме управления должна быть не более 5 м/мин (см.
перечисление a) 2) 5.2.3.2).
Об автоматической установке рулона см.
5.3.5.11.
5.3.5.4. Должны быть приняты меры предосторожности по предотвращению непреднамеренного разъединения зажимных конусов после подъема рулона. Этого можно избежать, например, если разъединение зажимных конусов возможно только в толчковом режиме управления с максимальной скоростью 2 м/мин или двуручным управляющим устройством, или если такое разъединение зажимных конусов после перемещения рулона с позиции загрузки предотвращено с помощью блокирующих защитных устройств, например устройств, реагирующих на давление.
Должно быть предотвращено разъединение зажимных конусов в процессе размотки и намотки. Это достигается, например, электрическим блокированием приводов, предотвращающим разъединение конусов во время намотки. Должны быть выполнены требования к системе управления согласно
5.2.6.1.
5.3.5.5. Пуск секций бесшпиндельной размотки и намотки допускается только после полной установки зажимных конусов. Это обеспечивается, например, контролем положения конусов с помощью устройств, реагирующих на давление.
5.3.5.6. В устройствах бесшпиндельной размотки и намотки должны быть предотвращены опасности, вызываемые выпадением рулонов малого диаметра.
Это обеспечивается, например:
- сменой рулонов на более низкой скорости;
- надежным предотвращением уменьшения диаметра рулона до размера меньшего, чем это установлено поставщиком;
- установкой в секции размотки соответствующего устройства безопасности.
5.3.5.7. В случае если избежать опасных мест между лучами подъема рулонов и станиной машины применением соответствующей конструкции (например, встроенной конструкции) или посредством технических мер защиты невозможно, лучи подъема должны перемещаться только в толчковом режиме управления. Управляющие устройства должны быть расположены таким образом, чтобы опасные места были обозреваемы с места управления. Скорость работы в толчковом режиме управления должна быть не более 5 м/мин (см.
перечисление a) 2) 5.2.3.2).
5.3.5.8. В устройствах бесшпиндельной размотки и намотки должна быть предусмотрена защита от риска затягивания между торцевой поверхностью вращающегося бумажного рулона и неподвижными частями или лучами подъема, если это расстояние составляет менее 25 мм.
5.3.5.9. В устройствах размотки и намотки рулонов, в устройствах автосклейки и поворотных рулонных установках (рулонных звездах) с подвижными частями все опасные зоны, в которых имеется риск придавливания, должны быть защищены в соответствии с ЕН 349:1993 или должны быть предусмотрены защитные ограждения согласно ЕН 294:1992.
Риск придавливания может существовать между движущимися частями (например, лучами подъема рулонной зарядки, бумажным рулоном и устройствами для разгона рулона, устройствами резки, автосклейки, проклейки) и неподвижными частями (например, боковыми стенками, соединительными тягами или полом).
В качестве альтернативы приведение в действие рулонной установки и устройства автосклейки устройством управления с удержанием допускается только в случае, когда все опасные зоны обозреваемы с места управления.
5.3.5.10. В полуавтоматических системах транспортирования рулонов транспортирование рулона материала к месту рулонной зарядки должно выполняться в толчковом режиме управления со скоростью не более 20 м/мин. Остановочный путь должен быть не более 200 мм. Весь путь транспортирования с места расположения органа управления в толчковом режиме должен быть обозреваем.
5.3.5.11. В системах автоматической загрузки рулонов имеющиеся опасные зоны в секции размотки должны быть полностью защищены, например, с помощью ЭЧПУ. Опасные зоны находятся, например, между рулоном и неподвижными частями машины, между рулоном и лучами подъема и полом, между рулоном и зажимными конусами.
О защите опасных зон с помощью ЭЧПУ см.
5.2.9.4.
6. Проверка выполнения требований и/или мер безопасности
В таблице 2 изложены методы проверки выполнения требований и/или мер безопасности, изложенных в
разделе 5. Таблица также содержит ссылки на соответствующие пункты настоящего стандарта.
Методы проверки требований и/или мер безопасности
Пункт | Требования и/или меры безопасности | A Примечание 1 | B Примечание 2 | C | D Примечание 4 |
|
|
| Защитные ограждения в местах затягивания | X | X | X | |
| Средства защиты мест затягивания устройствами автоматического отключения | X | | X | |
| Средства защиты линейного перемещения менее 4 мм | X | | X | |
| Средства защиты колес с механическим приводом, передвигающихся по полу | X | | X | |
| Средства защиты вращающихся маховичков | X | X | | |
| Информация о местах придавливания к элементам конструкции здания | X | X | | |
| Требования к ограждениям | X | X | | |
| Требования к безопасным расстояниям для защитных оболочек | X | | X | |
| Требования к неподвижным и блокирующим защитным ограждениям, критерии выбора защитных ограждений с блокировкой | X | X | | |
| Требования к перемещаемым защитным ограждениям с механическим приводом | X | X | | |
| Средства защиты от падения защитных ограждений под действием силы тяжести | X | X | | |
| Требования достаточного обзора | X | X | | |
| Средства защиты доступных опасных зон | X | X | | |
| Применение толчкового режима управления при открытых ограждениях | X | X | X | |
| Видимость опасных зон при применении толчкового режима управления | X | | | |
| Взаимное блокирование обозреваемых опасных зон | X | X | | |
| Проводка ленты рулонного материала | X | X | X | |
| Предотвращение и защита от взрыва, выбор соответствующего оборудования | X | | | |
| Предотвращение и защита от взрыва, температура вспышки выше 55 °C | X | | | |
| Предотвращение и защита от взрыва в электрооборудовании | X | | | X |
| Предотвращение и защита от взрыва в неэлектрическом оборудовании | | | X | X |
| Предотвращение и защита от взрыва, ограничение температуры поверхности | X | | X | X |
| Предотвращение и защита от взрыва, ограничение температуры поверхности | X | | X | X |
| Тормоза и муфты, предотвращение возникновения источников воспламенения | X | | | X |
| Предотвращение электростатических разрядов | X | | X | X |
| Предотвращение и защита от взрыва в выпускных рукавах и трубопроводах | X | | X | X |
| Предотвращение и защита от взрыва в выпускных рукавах и трубопроводах | X | | X | X |
| Предотвращение и защита от взрыва в насосах | X | | | X |
| Предотвращение и защита от взрыва в насосах | X | | | X |
| Требования к электрооборудованию в части электрических опасностей | X | X | | X |
| Устройства отключения питания | X | X | | |
| Устройства аварийного останова | X | | | X |
| Электропривод с инвертором напряжения (тока) | X | | | X |
| Требования к электрическим компонентам и электропроводам для предотвращения механических воздействий и влияний окружающей среды | X | | | X |
| Требования по идентификации однополярных изолированных проводов | X | | | |
| Испытания непрерывности цепи защиты, сопротивления изоляции, испытания напряжением, испытания по защите от остаточных напряжений и функциональные испытания | X | X | X | |
| Требования к измерительным устройствам | X | X | | |
| Требования к системам управления | X | X | | X |
| Требования к индикаторам, маркировке, органам управления, предупредительным устройствам о пуске | X | X | X | |
| Требования к двуручным управляющим устройствам | X | X | X | X |
| Требования к ЭЧПУ | X | X | X | X |
| Требования к коврикам, реагирующим на давление, устройствам автоматического отключения | X | | X | X |
| Требования к предохранительным путевым выключателям | X | X | | X |
| Требования к рабочим площадкам, лестницам для доступа, проходам, возвышенным рабочим местам | X | X | X | |
| Требования к устойчивости | X | X | | |
| Защита от высоких температур контакта | X | | | |
| Защита от шума | | | X | |
| Защита от опасностей излучения (лазерное, УФ-излучение) | X | X | X | |
| Устойчивость к электромагнитным помехам | | | X | X |
5.3 Устройства общего назначения |
| Средства защиты неподвижных ножей | X | X | | |
| Средства защиты вращающихся инструментов | X | | | |
| Средства безопасного транспортирования и хранения опасного инструмента | X | | | |
| Самонаклады и приемные устройства (устройства для подъема и опускания стапеля) | | | | |
| Прочность самонакладов и приемных устройств | X | X | X | X |
| Требования к прочности стальных цепей | X | | | X |
| Средства защиты в случае повреждения цепей и тросов | | X | X | X |
| Средства защиты опасных зон под стапельным столом (платформой) | X | X | X | |
| Средства защиты опасных зон между стапельным столом (платформой) и полом | X | X | X | |
| Средства защиты опасных мест между кромкой стапельного стола (платформы) и помостом, рабочей площадкой | X | X | X | |
| Средства защиты опасных мест при подъеме стапельного стола (платформы) | X | X | X | |
| Средства защиты опасных мест листоотделяющих устройств | X | X | | |
| Средства защиты опасных мест приводов пневматической головки | X | | X | |
| Средства защиты опасных мест затягивания на накладном столе самонаклада и у транспортирующих роликов | X | X | X | |
| Маркировка на секциях | X | | | |
5.3.5 Устройства размотки и намотки рулонов |
| Средства защиты мест затягивания между рулоном и приводным ремнем, направляющими роликами ременного привода | X | X | | |
| Средства защиты мест затягивания между прижимными и опорными валиками | X | X | | |
| Применение толчкового режима управления при установке зажимных конусов | X | X | X | |
| Меры безопасности при нахождении рулонов в поднятом положении | X | X | | X |
| Пуск машины при установленных зажимных конусах | X | X | | |
| Средства защиты от выпадения рулонов при размотке | X | | X | |
| Средства защиты опасных мест между лучами подъема рулонной зарядки и станиной машины | X | X | X | |
| Средства защиты мест затягивания между торцевой поверхностью рулона и лучами подъема рулонной зарядки | X | X | X | |
| Защита мест придавливания в рулонной установке, автосклейке и рулонной установке с поворотной звездой | X | X | X | |
| Полуавтоматические системы транспортирования рулонов | X | X | X | |
| Автоматические системы загрузки рулонов | X | X | X | |
A - визуальный контроль; B - функциональные испытания; C - измерения; D - проверка с использованием чертежей, схем, расчетов, &текстовых документов&. |
<A> Безопасное расстояние между ограждением и местом затягивания согласно ЕН 294:1992 соответствует месту, где расстояние между поверхностями валиков составляет 10 мм (см. рисунок 12). |
<B> Силовое измерение: измерение максимальной величины с помощью измерительного инструмента с жесткостью пружины 25 Н/мм. |
<C> Функциональные испытания путем включения отключающего устройства с помощью испытательных щупов с низкой сжимаемостью. После включения отключающего устройства испытательные щупы не должны ни втягиваться опасным движением, ни сдавливаться. Диаметр испытательных щупов должен быть 15 мм. |
<D> Соответствие требованиям безопасности и меры защиты должны быть проверены следующим образом: величины эмиссии шума - уровень звукового давления на рабочем месте и уровень звуковой мощности - должны определяться согласно ЕН 13023:2003 и заявляться двузначной величиной согласно ЕН ИСО 4871:1996. |
Примечание 1 - Визуальный контроль является визуальным методом проверки соответствия характеристик и свойств данного оборудования и составных частей конкретным условиям применения. |
Примечание 2 - Функциональные испытания должны показать, соответствуют ли составные части по своим функциям конкретным требованиям. |
Примечание 3 - Проверку с использованием измерительных инструментов применяют для контроля выполнения требований установленных ограничений. |
Примечание 4 - Чертежи, схемы, расчеты, &текстовые документы& применяют для проверки соответствия конструкторских параметров используемых составных частей конкретным требованиям. |

Рисунок 12. Измерение безопасного расстояния
в местах затягивания
7. Информация для потребителя
7.1. Минимальные требования к маркировке машины
7.1.1. Оборудование должно иметь маркировку, знаки (пиктограммы) и письменные предупреждения, перечень и характеристика которых приведены в ЕН ИСО 12100-2:2003 (подраздел 5.4), включая:
- наименование и адрес изготовителя;
- год изготовления;
- обозначение серии или типа при наличии;
- серийный номер при наличии;
- номинальные количественные характеристики (напряжение, частота, мощность и т.д.).
7.1.2. На оборудовании, оснащенном лазерным устройством, должен быть указан класс опасности устройства наряду с предупреждающими надписями по ЕН 60825-1:2004 при необходимости.
7.1.3. На оборудовании, где предполагается наличие УФ-излучения по меньшей мере категории 1 по ЕН 12198-1:2000, должны быть указаны категория по ЕН 12198-1:2000 и тип излучения.
7.1.4. Дополнительные письменные предупреждения должны быть предусмотрены на машинах с горячими частями, если температура их поверхности превышает 65 °C и если они не защищены от контакта изолированием, дополнительными защитными ограждениями или расстоянием.
7.2. Инструкция по эксплуатации
7.2.1. Инструкция по эксплуатации должна быть выполнена в соответствии с ЕН ИСО 12100-2:2003 (пункт 5.5).
7.2.2. Каждая машина должна сопровождаться инструкцией по эксплуатации, содержащей необходимый минимум информации согласно
7.1 и основные технические сведения в соответствии с ЕН ИСО 12100-2:2003 (пункт 5.5.1).
Примечание. В качестве примера образец макета инструкции по эксплуатации приведен в
Приложении D.
7.2.3. Информация по шуму должна соответствовать ЕН ИСО 12100-2:2003 (Приложение A, перечисление f подраздела 1.7). В инструкции по эксплуатации должны быть указаны заявляемый уровень величины эмиссии шума машины, ссылка на стандарт по измерению шума ЕН 13023:2003 и основные стандарты по эмиссии шума, на основании которых определена эта величина.
7.2.4. В дополнение к вышеизложенным требованиям инструкция по эксплуатации при необходимости должна содержать:
a) описание мер защиты для предотвращения случайных контактов с горячими частями машины с температурой поверхности свыше 65 °C;
b) указание мест на машине, приспособленных для установки вытяжных устройств для предотвращения распространения опасных газов, испарений и пыли, а также сведения о необходимой производительности вытяжки;
c) перечисление всех остаточных опасностей, которые не удалось исключить, несмотря на принятые меры безопасности. Должно быть также указано, требуется ли специальное обучение и какие средства защиты персонала должны быть использованы (например, защитные перчатки, одежда, защита волос);
d) всю необходимую информацию и указания, если предусматривается эксплуатация в потенциально взрывоопасной среде;
e) для машин, в которых применяются легковоспламеняющиеся жидкости с температурой вспышки ниже 55 °C, указание о том, что настил пола должен быть электропроводным на расстоянии 1 м от зоны 1 опасного пространства (см. CLC R 044-001:1999);
f) инструкции по надлежащему уходу и регулировкам регулируемых защитных ограждений;
g) для машин, работающих с рулонными материалами, инструкции по безопасной проводке полотна;
h) описание порядка безопасного обращения с опасной пылью, применяемыми материалами и чистящими средствами.
7.2.5 Инструкция по эксплуатации устройств подъема и опускания стопы должна содержать следующую информацию:
a) допустимое рабочее давление в устройствах подъема и опускания стопы с пневмоприводом;
b) допустимое рабочее давление в устройствах подъема и опускания стопы с гидроприводом, если генератор давления не является составной частью устройства подъема и опускания стопы;
c) максимальная грузоподъемность;
d) для формата продукции площадью свыше 2,5 м2 - надпись, указывающая, что езда на устройстве запрещается.
(справочное)
КЛАССИФИКАЦИЯ ЗОН ПЕЧАТНЫХ И ОТДЕЛОЧНЫХ МАШИН
(к 5.2.4)
A.1. Общая часть
Методы выявления опасных ситуаций, которые могут приводить к взрыву, установлены ЕН 1127-1. В нем конкретизированы меры, обеспечивающие требуемую безопасность при конструировании и изготовлении. Стандарт содержит взаимосвязь между категориями и зонами и применяемым оборудованием в различных зонах.
Информация по оценке уровня опасности и классификации опасных мест для газа и пара при использовании вентиляции приведена в ЕН 60079-10:2001.
Информация по классификации опасных мест для пыли приведена в ЕН 50281-3:2002
[35].
Далее даны примеры классификации зон для различных машин, которые могут изменяться в зависимости от вентиляции и расположения машины.
A.2. Машины ротационные рулонные глубокой печати
Зона 1: пространство в печатной секции между боковыми стенками печатной секции.
Проходы для обслуживания между печатными секциями высотой до 2 м, включая пространство между боковыми стенками.
Пространство у красочного ящика, красочного резервуара печатной секции, связанного с машиной, и у бака для хранения краски и пространство вокруг них на расстоянии до 500 мм во все стороны.
Пространство у рулонного материала и вокруг него на расстоянии 250 мм во все стороны, при максимально возможной ширине печати, до точки входа в сушильное устройство, однако не более 2 м по длине только что запечатанного рулонного материала.
A.3. Машины ротационные листовые глубокой печати
Зона 1: пространство в пределах станины машины, в котором находится печатная секция, например с красочным ящиком, формным цилиндром, раскатным валиком и только что запечатанным материалом.
Пространство у красочного ящика, простирающееся под прямым углом к оси дукторного вала красочного ящика в радиусе 1 м и в радиусе 500 мм по бокам. Пространство в радиусе 500 мм во все стороны от красочного резервуара, связанного с машиной, и от бака для хранения краски.
A.4. Машины ротационные рулонные флексографской печати, машины для печати обоев
Зона 1: пространство у красочного ящика, описываемое радиусом, соответствующим длине валиков, но не более 500 мм.
Пространство под печатными секциями до пола в пределах площади, образуемой вертикальной проекцией опасной зоны печатных секций.
Пространство у красочного резервуара печатных секций, связанного с машиной, и у бака для хранения краски в радиусе 500 мм во все стороны.
Пространство у рулонного материала в радиусе 250 мм во все стороны, при максимально возможной ширине печати, от входа рулонного материала в первую печатную секцию до входа рулонного материала в туннель сушильного устройства, включая вытяжные и вентиляционные трубопроводы, или в пределах 500 мм от места выхода рулонного материала из последней печатной секции.
A.5. Машины трафаретной печати для печати на листах, рулонах или трехмерных предметах
Зона 1: пространство, охватываемое трафаретной печатной рамой или цилиндром в радиусе 500 мм во все стороны и вертикальной проекцией этой площади вниз до уровня пола.
Пространство у резервуаров для хранения краски в радиусе 500 мм во все стороны.
Пространство у только что запечатанного листового или рулонного материала в радиусе 250 мм во все стороны, при максимально возможном формате печати, включая пространство от выхода из печатной секции и протяженностью 2 м от него или до входа в сушильный туннель.
A.6. Машины ротационные и плоскопечатные для печати на пленке
Зона 1: пространство, охватываемое площадью талера печатной машины в радиусе 500 мм во все стороны и вертикальной проекцией этой площади вниз до уровня пола.
Пространство у красочных резервуаров в радиусе 500 мм во все стороны.
Пространство у только что запечатанного рулонного материала в радиусе 250 мм во все стороны, при максимально возможной ширине печати, протяженностью от выхода из печатной машины до входа в сушильный туннель.
A.7. Машины для печати на искусственной коже и пленке
Зона 1: пространство в печатной секции между боковыми стенками печатной секции.
Пространство у красочного ящика, пространство у красочного бака печатной секции, связанного с машиной, и у красочного резервуара для хранения краски в радиусе 500 мм во все стороны.
Пространство у рулона в радиусе 250 мм во все стороны при максимальной ширине рулона, до входа рулонного материала в сушильный туннель, но длиной не более 2 м только что запечатанного материала.
A.8. Машины для смывки и вымывания, в которых используются горючие жидкости с температурой вспышки ниже 55 °C
Зона 0: внутри машины.
Зона 1: пространство, охватываемое машиной в радиусе 5 м во все стороны и вертикальной проекцией этой площади вниз до уровня пола и высотой 1,5 м над машиной.
A.9. Секции для нанесения покрытий валиками с закрытыми боковыми стенками, доходящими до уровня пола
Зона 1: пространство у наносящих валиков между боковыми стенками секции.
Проходы для обслуживания между секциями шириной до 2 м и высотой до 2 м, включая пространство между боковыми стенками.
Пространство у ванны для материалов покрытий, пропитки, проклейки; пространство у резервуара, связанного с секцией с носящими валиками, и пространство у бака для хранения материалов в радиусе 500 мм во все стороны.
Пространство у рулонного материала в радиусе 250 мм во все стороны при максимально возможной ширине печати, до входа рулонного материала в сушильный туннель, однако длиной не более 2 м только что запечатанного материала.
A.10. Секции для нанесения покрытий валиками с боковыми стенками с вырезами или с боковыми стенками, не доходящими до уровня пола
Зона 1: пространство у ванны для материалов для покрытий, пропитки, проклейки в радиусе, равным длине валиков во все стороны, но не более 500 мм.
Пространство под наносящими валиками вниз до уровня пола, образуемое вертикальной проекцией опасных площадей секций для нанесения покрытий.
Пространство у резервуара для материалов, связанного с машиной, и у бака для хранения материалов в радиусе 500 мм во все стороны.
Пространство у рулонного материала в радиусе 250 мм во все стороны, при максимально возможной ширине покрытия, от входа рулонного материала в первую секцию до входа рулонного материала в сушильный туннель или длиной 500 мм после выхода из первой секции.
(обязательное)
УСТРОЙСТВА ДЛЯ ПОДАЧИ ПРЕДУПРЕДИТЕЛЬНОГО ЗВУКОВОГО СИГНАЛА
О ПУСКЕ (к 5.2.7.2)
Устройства для подачи предупредительного звукового сигнала о пуске должны соответствовать перечисленным ниже требованиям.
B.1. Назначение
Устройства для подачи предупредительного звукового сигнала о пуске должно подавать отчетливый звуковой сигнал перед пуском машины.
B.2. Организация управления
Схема управления должна быть спроектирована таким образом, чтобы перед пуском машины подавался звуковой сигнал продолжительностью от 1 до 3 с (время действия сигнала). С момента начала действия сигнала должно пройти не менее 3 с (время выжидания), прежде чем машина могла быть запущена путем повторного воздействия на то же или другое управляющее устройство. После завершения времени выжидания или после окончания предшествующей операции в толчковом режиме (режим непостоянного движения) пуск машины допускается в течение от 0 до 12 с без предварительного сигнала (разрешенное время пуска). Разрешенное время пуска начинается после окончания времени выжидания или завершения работы машины в толчковом режиме и не должно превышать 6 с.
После завершения разрешенного времени пуска или воздействия на управляющее устройство останова или устройство аварийного останова работа машины должна быть возможна только после того, как будет дан предупредительный звуковой сигнал о пуске.
Предпочтение должно быть отдано децентрализованной системе предупреждения (сигнальное устройство на каждом рабочем месте).
B.3. Временная диаграмма
См. рисунок B.1.
Пуск машины после остановки или непрерывного движения
Пуск машины после управления в толчковом режиме
1 - время действия сигнала; 2 - разрешенное время пуска;
3 - минимум; 4 - максимум; 5 - время выжидания; 6 - работа
машины в толчковом режиме управления; 7 - машина может быть
пущена (разрешенное время пуска); 8 - машина не может быть
пущена; 9 - машина не может быть ни запущена, ни работать
в толчковом режиме управления без предварительной подачи
сигнала
Рисунок B.1. Временная диаграмма: пуск машины
(справочное)
АНАЛИЗ РИСКОВ В ОТНОШЕНИИ УГЛА НАКЛОНА ЛЕСТНИЦ ДЛЯ ДОСТУПА
(к 5.2.12.1.5)
Стационарные лестницы для доступа к возвышенным рабочим местам предпочтительно должны иметь угол наклона не более 45°.
Если из-за недостатка площади такие лестницы установлены быть не могут, допускаются следующие исключения:
- при значении показателя E <= 6:
- стационарные лестницы, защищенные от скольжения, с максимальным углом наклона от 46° до 60° с поручнями с обеих сторон;
- при значении показателя E <= 3:
- стационарные лестницы, защищенные от скольжения, с максимальным углом наклона от 46° до 74°;
- при значении показателя E <= 2 и E2 = 0:
- вертикальные лестницы, защищенные от скольжения, с максимальным углом наклона от 75° до 90°.
Численное значение показателя E является суммой численных значений показателей E1 таблицы C.1, E2
таблицы C.2 и дополнительных факторов A1 и A2
таблицы C.3: E = E1 + E2 + A1 + A2.
Таблица C.1
Численное значение показателя E1 в зависимости
от частоты пользования
Частота пользования | Численное значение E1 |
Менее чем 1 раз в неделю | 1 |
Не более чем 1 раз в неделю | 2 |
Не более чем 1 раз в день | 3 |
Более чем 1 раз в день | 4 |
Таблица C.2
Численное значение показателя E2 в зависимости
от переносимых объектов
Частота пользования | Численное значение E2 <a> |
Объекты не могут быть перенесены в руках | 0 |
Легкие объекты (<= 5 кг) | 1 |
Объекты среднего веса (<= 10 кг) | 2 |
Тяжелые объекты (> 10 кг) | 3 |
<a> Если преодолеваемая высота менее 1,6 м, принимается значение E2 = 0. |
Таблица C.3
Дополнительные факторы A1 и A2
Дополнения | Численное значение дополнительных факторов A1, A2 |
В случае переноски громоздких объектов | A1 = 1 |
Для случая, когда преодолеваемая высота более 3 м | A2 = 1 |
(справочное)
ОБРАЗЕЦ МАКЕТА ИНСТРУКЦИИ ПО ЭКСПЛУАТАЦИИ
(к 7.2.2)
D.1. Сведения о машине:
- наименование и адрес изготовителя или поставщика;
- обозначение серии или типа;
- технические данные, значение эмиссии шума;
- описание области применения оборудования (назначение);
- спецификация рабочих мест машины
- и т.д.
D.2. Сведения, относящиеся к безопасности:
- рисунки или поперечные разрезы машины, показывающие устройства и средства безопасности;
- риски, связанные с невыполнением мер безопасности;
- порядок безопасной работы;
- сведения о безопасности для оператора;
- недопустимое применение
- и т.д.
D.3. Информация по транспортированию, уходу за машиной и хранению:
- меры безопасности;
- габариты и вес машины
- и т.д.
D.4. Установка, ввод в эксплуатацию, утилизация:
- сборка и монтаж машины;
- вывод из эксплуатации;
- условия установки и закрепления машины;
- площадь, необходимая для эксплуатации машины, профилактического обслуживания и технического обслуживания;
- допустимые условия окружающей среды;
- инструкции по подключению машины к источнику питания
- и т.д.
D.5. Сведения по эксплуатации машины:
- описание органов ручного управления;
- инструкции по наладке и регулировке, обращению с ограждениями;
- сведения об остаточных рисках;
- информация о запрещениях по применению и ошибках в управлении;
- инструкции по обнаружению отказов и ремонту;
- инструкции по применению средств защиты персонала.
D.6. Сведения по техническому обслуживанию машины:
- вид и периодичность проверок;
- меры профилактики (части с установленным сроком службы, смазка);
- запасные части;
- поиск неисправностей
- и т.д.
(обязательное)
СВЕДЕНИЯ О СООТВЕТСТВИИ ССЫЛОЧНЫХ МЕЖДУНАРОДНЫХ
(РЕГИОНАЛЬНЫХ) СТАНДАРТОВ ССЫЛОЧНЫМ НАЦИОНАЛЬНЫМ СТАНДАРТАМ
РОССИЙСКОЙ ФЕДЕРАЦИИ (И ДЕЙСТВУЮЩИМ В ЭТОМ КАЧЕСТВЕ
МЕЖГОСУДАРСТВЕННЫМ СТАНДАРТАМ)
Таблица ДА.1
Обозначение ссылочного европейского стандарта | Степень соответствия | Обозначение и наименование соответствующего межгосударственного (национального) стандарта |
ЕН 294:1992 | AT | ГОСТ Р 51334-99 "Безопасность машин. Безопасные расстояния для предохранения верхних конечностей от попадания в опасную зону" |
ЕН 349:1993 | AT | ГОСТ Р 51335-99 "Безопасность машин. Минимальные расстояния для предотвращения защемления частей человеческого тела" |
ЕН 418:1992 | AT | ГОСТ Р 51336-99 "Безопасность машин. Установки аварийного выключения. Функции. Принципы проектирования" |
ЕН 563:1994 | AT | ГОСТ Р 51337-99 "Безопасность машин. Температуры касаемых поверхностей. Эргономические данные для установления предельных величин горячих поверхностей" |
ЕН 574:1996 | IDT | ГОСТ ИСО 13851-2006 "Безопасность оборудования. Двуручные устройства управления. Функциональные аспекты и принципы конструирования" |
ЕН 953:1997 | AT | ГОСТ Р 51342-99 "Безопасность машин. Съемные защитные устройства. Общие требования по конструированию и изготовлению неподвижных и перемещаемых съемных защитных устройств" |
ЕН 954-1:1996 | IDT | ГОСТ Р ИСО 13849-1-2003 "Безопасность оборудования. Элементы систем управления, связанные с безопасностью. Часть 1. Общие принципы конструирования" |
ЕН 999:1998 | IDT | ГОСТ ИСО 13855-2006 "Безопасность оборудования. Расположение защитных устройств с учетом скоростей приближения частей тела человека" |
ЕН 1037:1995 | AT | |
ЕН 1050:1996 | AT | |
ЕН 1070:1998 | IT | |
ЕН 1088:1995 | AT | ГОСТ Р 51345-99 "Безопасность машин. Блокировочные устройства, связанные с защитными устройствами. Принципы конструирования и выбора" |
ЕН 1127-1:1997 | IDT | ГОСТ Р 1127-1-2009 "Взрывоопасные среды. Взрывозащита и предотвращение взрыва. Часть 1. Основополагающая концепция и методология" |
ЕН 1760-1:1997 | IDT | ГОСТ ЕН 1760-1-2004 "Безопасность машин. Защитные устройства, реагирующие на давление. Часть 1. Основные принципы конструирования и испытаний ковриков и полов, реагирующих на давление" |
ЕН 1760-2:2001 | | |
ЕН 12198-1:2000 | | |
ЕН 12626:1997 | IDT | ГОСТ ЕН 12626-2006 "Безопасность металлообрабатывающих станков. Станки для лазерной обработки" |
ЕН 13023:2003 | MOD | ГОСТ Р 53479-2009 (ЕН 13023:2003) "Оборудование полиграфическое. Методы определения шумовых характеристик. Степени точности 2 и 3" |
ЕН 13463-1:2001 | IDT | ГОСТ Р ЕН 13463-1-2009 "Оборудование неэлектрическое, предназначенное для применения в потенциально взрывоопасных средах. Часть 1. Общие требования" |
ЕН 13463-5:2003 | IDT | ГОСТ Р ЕН 13463-5-2009 "Оборудование неэлектрическое, предназначенное для применения в потенциально взрывоопасных средах. Часть 5. Защита конструкционной безопасностью "c" |
ЕН ИСО 4871:1996 | ЧС | ГОСТ 30691-2001 (ИСО 4871-96) "Шум машин. Заявление и контроль значений шумовых характеристик" |
ЕН ИСО 12100-1:2003 | IDT | ГОСТ Р ИСО 12100-1-2007 "Безопасность машин. Основные понятия, общие принципы конструирования. Часть 1. Основные термины, методология" |
ЕН ИСО 12100-2:2003 | IDT | ГОСТ Р ИСО 12100-2-2007 "Безопасность машин. Основные понятия, общие принципы конструирования. Часть 2. Технические принципы" |
ЕН ИСО 14122-1:2001 | IDT | ГОСТ Р ИСО 14122-1-2009 "Безопасность машин. Средства доступа к машинам стационарные. Часть 1. Выбор стационарных средств доступа между двумя уровнями" |
ЕН ИСО 14122-2:2003 | IDT | ГОСТ Р ИСО 14122-2-2010 "Безопасность машин. Средства доступа к машинам стационарные. Часть 2. Площадки для работы и проходы" |
ЕН ИСО 14122-3:2001 | IDT | |
ЕН ИСО 14122-4:2004 | IDT | ГОСТ Р ИСО 14122-4-2009 "Безопасность машин. Средства доступа к машинам стационарные. Часть 4. Лестницы вертикальные" |
ЕН 50014:1997 | IDT | ГОСТ Р 52350.0-2005 (МЭК 60079-0:2004) "Электрооборудование для взрывоопасных газовых сред. Часть 0. Общие требования" |
ЕН 50015:1998 | IDT | ГОСТ Р 52350.6-2006 (МЭК 60079-6:2007) "Электрооборудование для взрывоопасных газовых сред. Часть 6. Масляное заполнение оболочки "o" |
ЕН 50016:2002 | IDT | ГОСТ Р 52350.2-2006 (МЭК 60079-2:2007) "Электрооборудование для взрывоопасных газовых сред. Часть 2. Оболочки под избыточным давлением "p" |
ЕН 50017:1998 | IDT | ГОСТ Р 52350.5-2006 (МЭК 60079-5:2007) "Электрооборудование для взрывоопасных газовых сред. Часть 5. Кварцевое заполнение оболочки "q" |
ЕН 50018:2000 | IDT | ГОСТ Р 52350.1-2005 (МЭК 60079-1:2003) "Электрооборудование для взрывоопасных газовых сред. Часть 1. Взрывонепроницаемые оболочки "d" |
ЕН 50019:2000 | IDT | ГОСТ Р 52350.7-2005 (МЭК 60079-7:2006) "Электрооборудование для взрывоопасных газовых сред. Часть 7. Повышенная защита вида "e" |
ЕН 50020:2002 | IDT | ГОСТ Р 52350.11-2005 (МЭК 60079-11:2006) "Электрооборудование для взрывоопасных газовых сред. Часть 11. Искробезопасная электрическая цепь "i" |
ЕН 50039:1980 | MOD | ГОСТ Р 52350.25-2006 (МЭК 60079-25:2003) "Электрооборудование для взрывоопасных газовых сред. Часть 25. Искробезопасные системы" |
ЕН 50281-1-2:1999 | IDT | ГОСТ Р МЭК 61241-1-2-99 "Электрооборудование, применяемое в зонах, опасных по воспламенению горючей пыли. Часть 1. Электрооборудование, защищенное оболочками и ограничением температуры поверхности. Раздел 2. Выбор, установка и эксплуатация" ГОСТ Р МЭК 61241-14-2008 "Электрооборудование, применяемое в зонах, опасных по воспламенению горючей пыли. Часть 14. Выбор и установка" ГОСТ Р МЭК 61241-17-2009 "Электрооборудование, применяемое в зонах, опасных по воспламенению горючей пыли. Часть 17. Проверка и техническое обслуживание электроустановок во взрывоопасных средах (кроме подземных выработок)" |
ЕН 60079-14:1998 | IDT | ГОСТ Р 52350.14-2006 (МЭК 60079-14:2002) "Электрооборудование для взрывоопасных газовых сред. Часть 14. Электроустановки во взрывоопасных зонах (кроме подземных выработок)" |
ЕН 60204-1:1997 | IDT | |
ЕН 60825-1:1994 | IDT | ГОСТ Р МЭК 60825-1-2009 "Безопасность лазерной аппаратуры. Часть 1. Классификация оборудования, требования и руководство для потребителей" |
ЕН 61000-6-2:2001 | MOD | ГОСТ Р 51317.6.2-2007 (МЭК 61000-6-2:2005) "Совместимость технических средств электромагнитная. Устойчивость к электромагнитным помехам технических средств, применяемых в промышленных зонах. Требования и методы испытаний" |
ЕН 61010-1:2001 | MOD | ГОСТ Р 52319-2005 (МЭК 61010-1:2001) "Безопасность электрического оборудования для измерения, управления и лабораторного применения. Часть 1. Общие требования" |
ЕН 61310-1:1995 | | |
ЕН 61310-2:1995 | | |
ЕН МЭК 61496-1:1997 | | |
ЕН МЭК 61496-2:1997 | | |
CLC R 044-001:1999 | | |
<*> Соответствующий национальный стандарт отсутствует. До его утверждения рекомендуется использовать перевод на русский язык данного международного стандарта. Перевод данного международного стандарта находится в Федеральном информационном фонде технических регламентов и стандартов. |
Примечание - В настоящей таблице использованы следующие условные обозначения степени соответствия стандартов: - IDT - идентичные стандарты; - MOD - модифицированные стандарты; - AT - аутентичный текст; - IT - идентичный текст; - ЧС - соответствует частично. |
| Обозначение стандарта | Наименование |
| IEC 61508-1:1998 | &Functional safety of electrical/electronic/programmable electronic safety-related systems - Part 1: General requirements& |
[2] | IEC 61508-2:2000 | &Functional safety of electrical/electronic/programmable electronic safety-related systems - Part 2: Requirements for electrical/electronic/programmable electronic safety-related systems& |
[3] | IEC 61508-3:1998 | &Functional safety of electrical/electronic/programmable electronic safety-related systems - Part 3: Software requirements& |
[4] | IEC 61508-4:1998 | &Functional safety of electrical/electronic/programmable electronic safety-related systems - Part 4: Definitions and abbreviations& |
[5] | IEC 61508-5:1998 | &Functional safety of electrical/electronic/programmable electronic safety-related systems - Part 5: Examples of method for the determination of safety integrity levels& |
[6] | IEC 61508-6:2000 | &Functional safety of electrical/electronic/programmable electronic safety-related systems - Part 6: Guidelines on the applications of IEC 61508-2 and IEC 61508-3& |
| IEC 61508-7:2000 | &Functional safety of electrical/electronic/programmable electronic safety-related systems - Part 7: Overview of techniques and measures& |
[8] | ISO 10075-1:199 | &Ergonomic principles related to mental workload - Part 1: General terms and definitions& |
[9] | ISO 10075-2:1996 | &Ergonomic principles related to mental workload - Part 2: Design principles& |
[10] | EN 286-1:1998 | &Simple unfired pressure vessels designed to contain air or nitrogen - Part 1: Design, manufacture and testing& |
[11] | EN 457:1992 | &Safety of machinery - Auditory danger signals - General requirements, design and testing& |
[12] | EN 547-1:1996 | &Safety of machinery-Human body measurements - Part 1: Principles for determining the dimensions required for openings for whole body access into machinery& |
[13] | EN 547-2:1996 | &Safety of machinery - Human body measurements - Part 2: Principles for determining the dimensions required for access openings& |
[14] | EN 547-3:1996 | &Safety of machinery - Human body measurements - Part 3: Anthropometric data& |
[15] | EN 614-1:1995 | &Safety of machinery-Ergonomic design principles - Part 1: Terminology and general principles& |
[16] | EN 614-2:2000 | &Safety of machinery - Ergonomic design principles - Part 2: Interactions between the design of machinery and work tasks& |
[17] | EN 626-1:1994 | &Safety of machinery - Reduction of risks to health from hazardous substances emitted by machinery - Part 1: Principles and specifications for machinery manufacturers& |
[18] | EN 626-2:1996 | &Safety of machinery - Reduction of risks to health from hazardous substances emitted by machinery - Part 2: Methodology leading to verification procedures& |
[19] | EN 811:1996 | &Safety of machinery - Safety distances to prevent danger zones being reached by the lower limbs& |
[20] | EN 842:1996 | &Safety of machinery - Visual danger signals - General requirements, design and testing& |
[21] | EN 894-1:1997 | &Safety of machinery - Ergonomic requirements for the design of displays and control actuators - Part 1: General principles for human interactions with displays and control actuators& |
[22] | EN 894-2:1997 | &Safety of machinery - Ergonomic requirements for the design of displays and control actuators - Part 2: Displays& |
[23] | EN 894-3:2000 | &Safety of machinery - Ergonomic requirements for the design of displays and control actuators - Part 3: Control actuators& |
[24] | EN 982:1996 | &Safety of machinery - Safety requirements for fluid power systems and their components - Hydraulics& |
[25] | EN 983:1996 | &Safety of machinery - Safety requirements for fluid power systems and their components - Pneumatics& |
[26] | EN 1005-1:2002 | &Safety of machinery - Human physical performance - Part 1: Terminology and definitions& |
[27] | EN 1005-2:1998 | &Safety of machinery - Human physical performance - Part 2: Manual handling of objects associated with machinery& |
[28] | EN 1005-3:2003 | &Safety of machinery - Human physical performance - Part 3: Recommended force limits for machinery operation& |
[29] | EN 1012-1:1996 | &Compressors and vacuum pumps - Safety requirements - Part 1: Compressors& |
| EN 1034-1:2000 | &Safety of machinery - Safety requirements for the design and construction of paper making and finishing machines - Part 1: Common requirements& |
| EN 1034-3:1999 | &Safety of machinery - Safety requirements for the design and construction of paper making and finishing machines - Part 3: Winders and slitters, plying machines& |
| EN 1034-5:2005 | &Safety of machinery - Safety requirements for the design and construction of paper making and finishing machines - Part 5: Sheeters& |
[33] | EN 1539:2000 | &Dryers and ovens in which flammable substances are released from coating materials - Safety requirements& |
| EN ISO 11688-1:1998 | &Acoustics - Recommended practice for the design of low-noise machinery and equipment - Part 1: Planning (ISO/TR 11688-1:1995)& |
| EN 50281-3:2002 | &Equipment for use in the presence of combustible dust - Part 3: Classification of areas where combustible dusts are or may be present& |
| EN 60529:1991 | &Degrees of protection provided by enclosures (IP code)& |
| EN 50947-5-1:1997 | &  - Teil 5-1:  und Schaltelemente - Electromechanische  & |
| ИСО 12643-1:2007 | &Технология полиграфии - Требования безопасности к полиграфическому оборудованию и системам& |