Главная // Актуальные документы // ГОСТ Р (Государственный стандарт)СПРАВКА
Источник публикации
М.: Стандартинформ, 2009
Примечание к документу
Отдельные положения данного документа включены в
Перечень международных и региональных (межгосударственных) стандартов, а в случае их отсутствия - национальных (государственных) стандартов, в результате применения которых на добровольной основе обеспечивается соблюдение требований технического
регламента Таможенного союза "О безопасности машин и оборудования" (ТР ТС 010/2011) и в
Перечень международных и региональных (межгосударственных) стандартов, а в случае их отсутствия - национальных (государственных) стандартов, содержащих правила и методы исследований (испытаний) и измерений, в том числе правила отбора образцов, необходимые для применения и исполнения требований технического
регламента Таможенного союза "О безопасности машин и оборудования" (ТР ТС 010/2011) и осуществления оценки соответствия объектов технического регулирования (
Решение Коллегии Евразийской экономической комиссии от 09.03.2021 N 28).
Отдельные положения данного документа включены в
Перечень стандартов, в результате применения которых на добровольной основе обеспечивается соблюдение требований технического
регламента Таможенного союза "О безопасности машин и оборудования" (ТР ТС 010/2011) и в
Перечень стандартов, содержащих правила и методы исследований (испытаний) и измерений, в том числе правила отбора образцов, необходимые для применения и исполнения требований технического
регламента Таможенного союза "О безопасности машин и оборудования" (ТР ТС 010/2011) и осуществления оценки (подтверждения) соответствия продукции (
Решение Комиссии Таможенного союза от 18.10.2011 N 823).
Документ
введен в действие с 1 июля 2010 года.
Название документа
"ГОСТ Р ИСО 14122-4-2009. Национальный стандарт Российской Федерации. Безопасность машин. Средства доступа к машинам стационарные. Часть 4. Лестницы вертикальные"
(утв. и введен в действие Приказом Ростехрегулирования от 18.06.2009 N 208-ст)
"ГОСТ Р ИСО 14122-4-2009. Национальный стандарт Российской Федерации. Безопасность машин. Средства доступа к машинам стационарные. Часть 4. Лестницы вертикальные"
(утв. и введен в действие Приказом Ростехрегулирования от 18.06.2009 N 208-ст)
Утвержден и введен в действие
по техническому регулированию
и метрологии
от 18 июня 2009 г. N 208-ст
НАЦИОНАЛЬНЫЙ СТАНДАРТ РОССИЙСКОЙ ФЕДЕРАЦИИ
БЕЗОПАСНОСТЬ МАШИН
СРЕДСТВА ДОСТУПА К МАШИНАМ СТАЦИОНАРНЫЕ
ЧАСТЬ 4
ЛЕСТНИЦЫ ВЕРТИКАЛЬНЫЕ
Safety o machinery. Permanent means of access to machinery.
Part 4. Vertical stairs
ISO 14122-4:2004
Safety of machinery - Permanent means
of access to machinery - Part 4: Fixed ladders
(IDT)
ГОСТ Р ИСО 14122-4-2009
Дата введения
1 июля 2010 года
Цели и принципы стандартизации в Российской Федерации установлены Федеральным
законом от 27 декабря 2002 г. N 184-ФЗ "О техническом регулировании", а правила применения национальных стандартов Российской Федерации -
ГОСТ Р 1.0-2004 "Стандартизация в Российской Федерации. Основные положения".
1. Подготовлен Открытым акционерным обществом "Экспериментальный научно-исследовательский институт металлорежущих станков" (ОАО "ЭНИМС") на основе собственного аутентичного перевода стандарта, указанного в пункте 4.
2. Внесен Техническим комитетом по стандартизации ТК 70 "Станки".
3. Утвержден и введен в действие
Приказом Федерального агентства по техническому регулированию и метрологии от 18 июня 2009 г. N 208-ст.
4. Настоящий стандарт идентичен международному стандарту ИСО 14122-4:2004 "Безопасность машин. Постоянные средства доступа к машинам. Часть 4. Стационарные лестницы" (ISO 14122-4:2004 "Safety of machinery - Permanent means of access to machinery - Part 4: Fixed ladders").
Наименование настоящего стандарта изменено относительно наименования указанного международного стандарта для приведения в соответствие с ГОСТ Р 1.5-2004
(пункт 3.5).
При применении настоящего стандарта рекомендуется использовать вместо ссылочных международных (региональных) стандартов соответствующие им национальные стандарты, сведения о которых приведены в дополнительном
Приложении А.
5. Введен впервые.
Информация об изменениях к настоящему стандарту публикуется в ежегодно издаваемом информационном указателе "Национальные стандарты", а текст изменений и поправок - в ежемесячно издаваемых информационных указателях "Национальные стандарты". В случае пересмотра (замены) или отмены настоящего стандарта соответствующее уведомление будет опубликовано в ежемесячно издаваемом информационном указателе "Национальные стандарты". Соответствующая информация, уведомление и тексты размещаются также в информационной системе общего пользования - на официальном сайте Федерального агентства по техническому регулированию и метрологии в сети Интернет.
Настоящий стандарт - стандарт типа B (общие стандарты, рассматривающие один аспект безопасности или один тип защитного устройства для широкого класса машин) - является 4-й частью из серии стандартов "Безопасность машин. Средства доступа к машинам стационарные". Стандарты этой серии имеют следующие наименования:
- часть 1. Выбор стационарных средств доступа между двумя уровнями;
- часть 2. Рабочие площадки и мостики;
- часть 4. Лестницы вертикальные.
Положения настоящего стандарта могут быть дополнены или изменены стандартом типа C.
Примечание 1. Для машин, на которые распространяется стандарт типа C и которые спроектированы и изготовлены в соответствии с положениями стандарта типа C, требования стандарта типа C являются приоритетными по сравнению с требованиями стандарта типа B.
Примечание 2. Требования настоящего стандарта распространяются также на лестницы, изготовленные из неметаллических материалов (композитов, так называемых материалов с улучшенными свойствами и т.п.), кроме деревянных.
Настоящий стандарт содержит информацию, которую изготовитель должен предоставить в распоряжение пользователя.
Настоящий стандарт распространяется на все машины (стационарные или передвижные), которые должны быть оборудованы стационарными средствами доступа.
Цель настоящего стандарта - определить общие требования по безопасному доступу к машинам в соответствии с ЕН ИСО 12100-2. ЕН ИСО 14122-1 дает общие рекомендации по правильному выбору средств доступа, когда необходимый доступ к машине непосредственно с уровня земли или пола невозможен.
Настоящий стандарт применим к вертикальным лестницам с углом наклона от 75° до 90°, которые являются частью машины.
Настоящий стандарт также допускается применять к подобным лестницам в той части здания, где будет установлена машина, если основная функция этой части здания состоит в обеспечении доступа к машине.
Примечание. Настоящий стандарт также допускается применять для средств доступа, не входящих в область распространения настоящего стандарта. В таких случаях следует принимать во внимание возможные соответствующие национальные стандарты или другие нормативные документы.
Настоящий стандарт применим также к подобным лестницам, не имеющим постоянного крепления к машине, которые можно передвигать, ставить сбоку или разворачивать (на качающейся опоре) для некоторых операций, производимых машиной (например, замены инструментов в большом прессе).
Требования безопасности, рассматриваемые в настоящем стандарте, должны обеспечивать снижение опасностей, перечень которых приведен в ЕН ИСО 14122-1,
раздел 4.
Настоящий стандарт применяется к машинам, изготовленным после даты его введения.
В настоящем стандарте использованы датированные и недатированные ссылки на международные (региональные) стандарты. При датированных ссылках последняя редакция международных (региональных) стандартов или изменения к ним могут быть действительны для настоящего стандарта только после введения изменений к настоящему стандарту или путем подготовки новой редакции настоящего стандарта. При недатированных ссылках действительно последнее издание приведенного ссылочного стандарта, включая изменения.
ЕН 131-2:1993 Лестницы. Часть 2. Требования, испытания, маркировка
ЕН 353-1 Индивидуальные средства защиты от падения с высоты. Часть 1. Стопорные устройства, перемещаемые по жестким направляющим
ЕН 363 Индивидуальные средства защиты от падения с высоты. Системы остановки падения
ЕН ИСО 12100-1:2003 Безопасность машин. Основные понятия, общие принципы конструирования. Часть 1. Основные термины, методология (ИСО 12100-1:2003)
ЕН ИСО 12100-2:2003 Безопасность машин. Основные понятия, общие принципы конструирования. Часть 2. Технические правила и технические требования (ИСО 12100-2:2003)
ЕН ИСО 14122-1 Безопасность машин. Постоянные средства доступа к машинам. Часть 1. Выбор стационарных средств доступа между двумя уровнями (ИСО 14122-1:2001)
ЕН ИСО 14122-2 Безопасность машин. Постоянные средства доступа к машинам. Часть 2. Рабочие платформы и мостики (ИСО 14122-2:2001)
ЕН ИСО 14122-3 Безопасность машин. Постоянные средства доступа к машинам. Часть 3. Трапы, приставные лестницы, перила (ИСО 14122-3:2001)
В настоящем стандарте применены термины по
ЕН ИСО 12100-1, ЕН ИСО 14122-1, а также следующие термины с соответствующими определениями.
В качестве иллюстрации основных терминов, используемых в настоящем стандарте, даны примеры на
рисунках 1,
2,
3 и
4.
Рисунок 1a. Лестница без площадки для отдыха
(один лестничный марш)
Рисунок 1b. Лестница со смещенными лестничными маршами
1 - место схода; 2 - место входа; 3 - промежуточная
площадка или площадка для отдыха; 4 - лестничный марш
Рисунок 1. Высота лестничных маршей и расположение площадок
для отдыха
1 - крепежный кронштейн; 2 - ступень; 3 - вертикальные
стойки; 4 - вертикальные элементы защитного ограждения;
5 - нижняя дуга; 6 - промежуточная дуга; 7 - упорный блок;
8 - порог площадки; 9 - дверь (дверца); 10 - верхняя дуга;
[A] - зона схода; [B] - защитное ограждение
Рисунок 2. Вертикальная лестница с двумя стойками
1 - вертикальная стойка; 2 - ступень; 3 - загиб против
соскальзывания на конце ступени; 4 - крепежный кронштейн
Рисунок 3. Вертикальная лестница высотой менее 3000 мм
с одной стойкой
Рисунок 4a. Вид сбоку лестницы с защитным ограждением
Рисунок 4b. Вид спереди лестницы с защитным ограждением
Рисунок 4c. Вид сверху лестницы с защитным ограждением
Рисунок 4d. Вид сверху лестницы без защитного ограждения
1 - перила зоны схода; 2 - двери; 3 - прерывистое
препятствие; 4 - максимальное свободное пространство
не более 0,4 м2; 5 - промежуточная площадка;
6 - окружающие конструкции, выполняющие функцию защиты
Рисунок 4. Основные размеры защитных ограждений
для лестниц с двумя стойками
3.1. Вертикальная лестница с двумя стойками (vertical ladder with two stiles): лестница с углом наклона 75° - 90° в соответствии с определением, установленным в ЕН ИСО 14122-1, пункт 3.1, ступени которой находятся между вертикальными стойками и крепятся к ним. Нагрузку несут вертикальные стойки (см.
рисунок 2).
3.2. Вертикальная лестница с одной стойкой (vertical ladder with one stile): лестница с углом наклона 75° - 90° в соответствии с определением, установленным в ЕН ИСО 14122-1, пункт 3.1, ступени которой крепятся к обеим сторонам стойки. Нагрузку несет вертикальная стойка (см.
рисунок 3).
3.3. Лестничный марш (ladder flight): непрерывная часть вертикальной лестницы (см.
рисунок 1):
- между зоной для входа и схода, если лестницы без площадок, или
- между зоной для входа или схода и ближайшей площадкой, или
- между площадками для отдыха, следующими друг за другом.
3.4. Высота подъема по вертикальной лестнице (climbing height of a vertical ladder) H: полное вертикальное расстояние между поверхностями в зоне схода наверху лестницы и в зоне входа у основания лестницы (см.
рисунок 1).
3.5. Высота лестничного марша (height h of the ladder flight) h: вертикальное расстояние между начальной и конечной ступенями каждого марша (см.
рисунок 1).
3.6. Защита от падения (fall protection): техническое средство, предупреждающее или снижающее риск падения людей с вертикальных лестниц.
Примечание. Типовые применяемые средства защиты от падения указаны в 3.6.1 и 3.6.2.
3.6.1. Защитное ограждение (safety cage): устройство, которое служит для уменьшения риска падения людей с лестницы (см.
рисунок 2).
3.6.2. Перемещаемое устройство защиты от падения с жестким анкерным креплением (стопорное устройство) (guided type fall arrester on a rigid anchorage line): защитное снаряжение, закрепленное на лестнице, которое применяется вместе с индивидуальными средствами защиты, надеваемыми на человека, прежде чем он получит разрешение на пользование лестницей (см. ЕН 353-2 и
ЕН 363). В дальнейшем для этого типа устройства защиты от падения будет применяться термин "стопорное устройство".
3.7. Уровень схода (arrival level): верхний уровень окружающей конструкции или промежуточной площадки, на которую человек ступает после подъема по лестнице (см.
рисунок 1).
3.8. Уровень входа (departure level): нижний уровень окружающей конструкции или промежуточной площадки, с которой человек начинает подъем по лестнице (см.
рисунок 1).
3.9. Промежуточная лестничная площадка (intermediate platform): горизонтальная конструкция (площадка) между двумя последовательными маршами лестницы (применяется для лестниц со смещенными маршами) (см.
рисунки 1b и
4b).
3.10. Площадка для отдыха (rest platform): площадка, оборудованная необходимыми защитными средствами и предназначенная для того, чтобы пользующийся лестницей человек мог отдохнуть физически (см.
рисунки 1b,
10,
11 и
12).
3.11. Лестничная площадка для доступа (access platform): горизонтальная конструкция в зоне входа и схода, используемая человеком как средство доступа.
3.12. Крышка люка (trap door): закрывающееся устройство, открытие которого обеспечивает доступ на площадку или другие подобные горизонтальные конструкции.
| | Применение на добровольной основе раздела 4 обеспечивает соблюдение требований технического регламента Таможенного союза "О безопасности машин и оборудования" (ТР ТС 010/2011) (Решение Комиссии Таможенного союза от 18.10.2011 N 823). | |
4. ТРЕБОВАНИЯ БЕЗОПАСНОСТИ
4.1. Общие требования
Материалы, размеры составляющих элементов и изготовление лестниц должны соответствовать требованиям безопасности настоящего стандарта.
К конструкции и монтажу лестницы следует предъявлять те же требования, что и к машине, для которой она предназначена, включая особые обстоятельства, такие как неблагоприятные атмосферные условия, вибрации и т.п.
Насколько это возможно, вертикальные лестницы следует проектировать с двумя стойками. В исключительных случаях (например, непрерывная лестница с разными углами наклона или недостаточным расстоянием для двух стоек) можно применять вертикальные лестницы с одной стойкой.
Конструкция всех частей лестницы, с которыми вступает в контакт пользователь, не должна защемлять, ранить или служить помехой при перемещении, т.е. следует избегать острых углов, сварных соединений с заусенцами или шероховатых поверхностей и т.п. Открытие и закрытие подвижных частей (дверей, крышек люка и т.п.) не должны становиться причиной последующих опасностей для людей, пользующихся лестницей или находящихся поблизости от нее (например, пореза или случайного падения).
Элементы крепления (петли, анкеры, опоры и точки монтажа) должны достаточно жестко и прочно удерживать конструкцию, чтобы обеспечивать безопасность пользователей при нормальных условиях эксплуатации.
4.2. Прочность вертикальных лестниц
4.2.1. Общие требования
Лестница, площадка и защитное ограждение (если имеется) должны соответствовать следующим конструктивным требованиям:
4.2.1.1. Элементы лестницы
Элементы лестницы должны соответствовать требованиям ЕН 131-2.
Испытания вертикальных лестниц с двумя стойками следует проводить в соответствии с
5.2, испытания вертикальных лестниц с одной стойкой - в соответствии с
5.4.
4.2.1.2. Защитное ограждение
Испытания защитных ограждений следует проводить в соответствии с
5.3.
4.2.1.3. Вертикальные лестницы, оборудованные стопорным устройством (дополнительно к требованиям
4.2.1.1)
Стопорное устройство вместе с лестницей должны быть в состоянии остановить падение человека (см.
раздел 5).
4.2.2. Крепежные элементы
4.2.2.1. Общие требования
Крепежные элементы, такие как фитинги, анкеры, петли, опоры и держатели, должны обеспечивать достаточно жесткую и прочную конструкцию, гарантирующую безопасность пользователя в нормальных условиях эксплуатации (см. проверку в
5.5).
Соединительные элементы вертикальных лестниц, оборудованных стопорным устройством, должны выдерживать нагрузку от падающего человека.
4.2.2.2. Точки крепления вертикальных лестниц
Точки крепления и соединительные устройства лестниц должны быть в состоянии выдерживать нагрузку 3000 H на стойку. При этом нагрузка должна восприниматься четырьмя точками крепления. Метод испытания - по
5.5.
4.2.3. Лестничные площадки
Все лестничные площадки должны соответствовать требованиям ЕН ИСО 14122-2.
4.3. Причины, вызывающие необходимость монтажа устройства, защищающего от падения
4.3.1. Причины, требующие монтажа устройства, защищающего от падения
Лестница должна быть оборудована устройством защиты от падения, если:
a) высота лестничного марша более 3000 мм;
b) высота лестницы не более 3000 мм, но площадка для входа поднята над уровнем пола, в результате чего полное расстояние при падении может быть более 3000 мм.
Примечание. Считается, что существует также опасность падения, если расстояние от центра лестницы до незащищенной стороны площадки (или аналогичной конструкции) менее 3000 мм.
4.3.2. Выбор типа устройства, защищающего от падения
Для защиты пользователей вертикальных лестниц от падения с высоты есть два основных варианта устройств - это защитные ограждения или стопорные устройства:
- защитное ограждение должно быть предпочтительным, так как является тем устройством, которое всегда присутствует и его реальная функция безопасности не зависит от действий человека;
- там, где использование защитного ограждения невозможно, должны быть предусмотрены индивидуальные средства защиты, например, с использованием стопорного устройства, которое эффективно только тогда, когда пользователь сознательно выбирает именно его. Если применяемое индивидуальное средство защиты, например ремни безопасности, несовместимо со стопорным устройством, это может привести к возникновению дополнительной опасности (требования к информации по этим вопросам см. в
разделе 6).
Индивидуальные средства защиты допускается применять только при редкой повторяемости и для специального доступа (например, техническое обслуживание и ремонт).
Примечание. Правильно подобранное индивидуальное средство защиты от падения способно предотвратить падение лучше, чем защитное ограждение.
4.4. Лестница
1 - расстояние между ступенями см.
4.4.1.1;
2 - расстояние между ступенями и поверхностью для прохода
3 - прерывистое препятствие
Рисунок 5. Основные размеры вертикальной лестницы
с одной стойкой
4.4.1. Положение ступеней
4.4.1.1. Расстояние между ступенями
Расстояние между ступенями должно быть одинаковым и составлять от 225 до 300 мм.
4.4.1.2. Расстояние между ступенями и площадками для схода и входа
Расстояние между площадкой для входа и первой ступенькой не должно превышать расстояние между двумя соседними ступенями.
Примечание. При установке передвижной машины на неровном основании расстояние между поверхностью зоны входа и первой ступенью допускается увеличивать не более чем до 400 мм.
Верхняя ступень должна быть расположена на том же уровне, что и площадка для схода (см. рисунок 6a). Зазор по горизонтали между поверхностью площадки для схода и лестницей должен быть не более 75 мм. В противном случае необходимо сделать удлинение пола на площадке для схода, чтобы уменьшить этот зазор до допустимого размера.
Рисунок 6a. Положение верхней ступени
Рисунок 6b. Схема расположения многоугольных ступеней
Рисунок 6c. Схема расположения многоугольных ступеней.
Применяется при специальном назначении
Рисунок 6d. Схема расположения ступеней
П-образного профиля
1 - рабочая поверхность площадки для схода;
2 - поверхность ступени; 3 - отсутствие острых кромок
Рисунок 6. Положение ступеней
4.4.1.3. Положение ступеней вертикальной лестницы с одной стойкой
Ступени по обеим сторонам стойки должны находиться на одном уровне (см.
рисунок 5).
4.4.2. Ступени
4.4.2.1. Положение многоугольных ступеней и ступеней П-образного профиля
Многоугольные ступени и ступени П-образного профиля должны быть расположены так, чтобы рабочая поверхность каждой ступени была горизонтальной (см.
рисунки 6b,
6c,
6d).
4.4.2.2. Длина ступеней
a) Длина ступеней вертикальной лестницы с двумя стойками
Габаритная ширина между двумя вертикальными стойками должна быть от 400 до 600 мм (см.
рисунки 4). Если непосредственное окружение не позволяет устанавливать лестницу с длиной ступени 400 мм, допустима меньшая длина ступени (от 300 до 400 мм). Однако, прежде чем рассматривать возможность применения лестницы с меньшей длиной ступени, следует попытаться найти более благоприятное расположение лестницы, допускающее габаритную ширину не менее 400 мм.
b) Длина ступеней вертикальной лестницы с двумя стойками и стопорным устройством
Толщина вертикальной стойки для перемещения стопорных устройств должна быть не более 80 мм. Расстояние между вертикальной стойкой для перемещения стопорных устройств и одной из вертикальных стоек лестницы должно быть не менее 150 мм (см.
рисунок 7).
1 - вертикальная стойка для перемещения стопорного
устройства; 2 - стойки лестницы; 3 - ступень
Рисунок 7. Размещение вертикальной стойки для перемещения
стопорного устройства на вертикальной лестнице
с двумя стойками
c) Ступени вертикальной лестницы с одной стойкой
Ширина между стойкой и загибом против скольжения на конце ступени должна быть 150 - 250 мм, а толщина стойки для стопорного устройства - не более 80 мм (см.
рисунок 5).
4.4.2.3. Профиль ступеней
Диаметр ступеней должен быть не менее 20 мм и не более 35 мм, ширина поверхности уступа многоугольных ступеней и ступеней П-образного профиля должна быть не менее 20 мм и не более 35 мм.
Профиль ступеней должен быть таким, чтобы за них можно было легко ухватиться рукой.
4.4.2.4. Поверхность ступеней
Поверхность ступеней не должна быть причиной травм, особенно рук, например, на ней не должно быть острых кромок (см.
рисунок 6d).
Поверхность ступеней должна препятствовать скольжению. Особые меры по предотвращению скольжения следует принимать, если из-за окружающих условий возрастает опасность скольжения (масло, лед и т.п.).
4.4.3. Устройства против скольжения
Края ступеней вертикальных лестниц с одной стойкой должны иметь загибы против скольжения на концах ступеней. Эти загибы должны иметь высоту не менее 20 мм (см. деталь A на
рисунке 5).
4.4.4. Расстояние между лестницей и любым постоянным препятствием
Расстояние между лестницей и любым постоянным препятствием или преградой должно быть:
- перед лестницей не менее 650 мм в случае прерывающихся препятствий 600 мм;
- между лестницей и машиной, стеной и т.п. не менее 200 мм в случае прерывающихся препятствий 150 мм;
Нижняя часть защитного ограждения, например нижняя дуга, должна находиться на высоте от 2200 до 3000 мм над площадкой для входа. Под ограждением на стороне доступа не должно быть никаких элементов, препятствующих доступу к зоне, расположенной перед лестницей. На площадке для схода защитное ограждение должно быть продлено до высоты перил зоны схода (см.
рисунок 4).
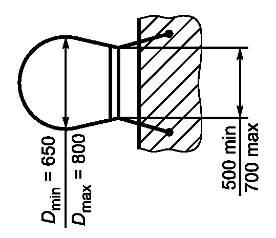
Размер в свету внутри дуги защитного ограждения должен быть от 650 до 800 мм (см.
рисунок 4c). Это требование касается ограждения как круглой, так и любой другой формы. Расстояние от ступени до защитного ограждения должно быть от 650 до 800 мм (см.
рисунок 4d).
Просвет внутри ограждения в зоне схода, измеряемый вдоль поперечной оси лестничных ступеней между внутренними поверхностями ограждения, должен быть от 500 до 700 мм (см.
рисунок 4c).
Расстояние между двумя дугами ограждения не должно превышать 1500 мм, между двумя продольными полосами ограждения - 300 мм. Дуги ограждения должны располагаться под прямым углом к продольным полосам. Продольные полосы защитного ограждения должны крепиться к внутренней поверхности дуги и быть расположены на равном расстоянии друг от друга.
Расположение элементов ограждения следует конструировать так, чтобы свободные пространства между продольными полосами и дугами в любом случае не превышали 0,40 м2.
Ограждение не требуется, если окружающие конструкции (стены, части машин и т.п.) спереди и по бокам лестницы выполняют также функцию защиты (например, обеспечивая соответствующие размеры). В этом случае расстояние от конструкций, расположенных сбоку от лестницы, до оси лестницы должно быть 325 - 400 мм (см.
рисунок 4d).
4.6. Перемещаемое устройство защиты от падения (стопорное устройство)
Конструкция стопорного устройства должна соответствовать требованиям ЕН 353-1.
4.7. Зоны входа и схода. Промежуточные площадки
Зоны для входа и схода, а также промежуточные площадки должны соответствовать требованиям ЕН ИСО 14122-2.
Перила как защитные приспособления против падения с высоты в зонах входа и схода, а также на промежуточных площадках должны соответствовать требованиям
ЕН ИСО 14122-3.
Если поверхность для прохода в зоне входа приподнята более чем на 500 мм над окружающими конструкциями или зона входа граничит с поверхностями, не способными нести нагрузку, например, площадки из стекла или синтетического материала, то зона входа должна быть снабжена перилами или равноценными средствами, способными защитить человека от падения с высоты.
4.7.1.1. Площадка для доступа
Если площадка для входа на конструкции машины, здания и т.п. не соответствует требованиям ЕН ИСО 14122-2, то должна быть предусмотрена дополнительная площадка для доступа.
4.7.1.2. Вертикальные лестницы с защитным ограждением
Если расстояние по горизонтали от вертикальной лестницы, оборудованной защитным ограждением, до перил приподнятой зоны входа не более 1500 мм, для предотвращения падения пользователя с узкой приподнятой зоны входа следует увеличить высоту перил (см.
рисунок 8).
1 - увеличенная высота перил по вариантам b и c;
2 - перила нормальной высоты.
Вариант a - перила нормальной высоты.
Вариант b - увеличенная высота перил, обеспечивающая угол не менее 45°.
Вариант c - увеличенная высота перил, обеспечивающая расстояние не более 400 мм;
3 - защитное ограждение лестницы; d - диаметр защитного
ограждения
Рисунок 8. Увеличенная высота перил, выполняющая защитную
функцию при узкой приподнятой зоне входа
Увеличенная высота перил должна соответствовать следующим требованиям:
- угол между вертикалью и условной линией, соединяющей поручень перил с защитным ограждением лестницы, должен быть не менее 45°
(рисунок 8, вариант b) или
- ни один из размеров между ограждением и перилами не должен превышать 400 мм (см.
рисунок 8, вариант c).
Элементы конструкции увеличенной высоты перил должны обеспечивать, чтобы:
- ширина по горизонтали любого свободного пространства не превышала 300 мм, а
- площадь свободного пространства была не более 0,4 м2.
4.7.2.1. Площадка для доступа
Если площадка для схода на конструкции машины, здания и т.п. не соответствует требованиям ЕН ИСО 14122-2, то должна быть предусмотрена дополнительная площадка для доступа.
4.7.2.2. Предотвращение падения с высоты
Соответствующие средства предотвращения падения человека с высоты, например перила, должны быть предусмотрены у краев зоны схода по обе стороны лестницы на длине не менее 1500 мм или на всей длине зоны схода, если она не превышает 3000 мм. Это требование не зависит от наличия какого-либо устройства защиты от падения, установленного вне этого расстояния.
4.7.3. Доступные проходы
4.7.3.1. Передний и боковой выходы
Лестницы могут иметь передний или боковой выход на площадку для схода. Ширина доступных проходов - от 500 до 700 мм.
Чтобы предупредить падение через проходы, площадки для схода должны быть снабжены дверьми.
Двери должны соответствовать следующим требованиям:
a) двери не должны открываться наружу;
b) конструкция дверей должна позволять им открываться легко;
c) двери должны закрываться автоматически, т.е. с помощью пружин или силы притяжения;
d) двери должны иметь, по меньшей мере, перила и ограждение для ног в соответствии с
ЕН ИСО 14122-3.
4.7.3.3. Доступ на площадке через крышки люка
В случае необходимости по техническим причинам площадка может иметь люк, обеспечивающий доступ к лестнице, расположенной под площадкой, или выходу с лестницы на площадку.
Защита от риска падения с высоты через такие люки должна предусматривать наличие крышки люка или перил вместе с дверьми. Перила должны соответствовать требованиям
ЕН ИСО 14122-3, а двери - требованиям
4.7.3.2.
Конструкция крышки люка должна быть такой, чтобы:
a) размер люка, по меньшей мере, был равен требуемому размеру лестничного защитного ограждения (см.
4.5);
b) крышка не должна открываться вниз, а только вверх или горизонтально в бок;
c) крышку можно было открыть легко вручную;
d) обеспечивать безопасный проход оператора на площадку и с площадки на лестницу при открытом люке;
e) после безопасного прохода закрытие крышки люка должно осуществляться легко вручную, в т.ч., если необходимо, конструкция должна предусматривать использование пружин или гидравлических средств.
4.7.4. Безопасный спуск и подъем по вертикальной лестнице
4.7.4.1. Лестница с двумя вертикальными стойками и без стопорного устройства (высотой не более 3000 мм)
В верхней части лестницы в зоне схода должны быть поручни, роль которых выполняют лестничные стойки без ступеней. Эти поручни (лестничные стойки) должны быть соединены с перилами ограждения в зоне схода (см.
рисунок 9).
1 - зона схода; 2 - двери; 3 - перила верхнего ограждения;
4 - поручни; 5 - лестница с одной стойкой, без стопорного
устройства; 6 - лестница с двумя стойками, без стопорного
устройства
Рисунок 9. Соединяющие поручни в зоне схода
4.7.4.2. Лестница с одной вертикальной стойкой и без стопорного устройства (высотой не более 3000 мм)
Поручни должны быть установлены по обеим сторонам лестницы, начиная с уровня предпоследней ступеньки и до уровня соединения их с перилами ограждения в зоне схода (см.
рисунок 9).
4.7.4.3. Приспособления для подъема и спуска по лестнице с перемещаемым стопорным устройством
Должны быть предусмотрены соответствующие меры безопасности (например, блокирующие устройства), гарантирующие, что пользоваться лестницей могут только работники, соответственно аттестованные и полностью экипированные (см.
4.3.2).
Примечание. Письменное предупреждение или звуковой сигнал не относится к таким мерам.
Кроме того, паз стопорного устройства и окружающие его конструкции должны быть спроектированы так, чтобы пользователь мог соединять или отсоединять их в безопасном положении.
4.7.5. Промежуточные лестничные площадки
4.7.5.1. Необходимость оборудования площадок
Как правило, если высота подъема лестницы H более 6000 мм, она должна быть оборудована не менее одной промежуточной площадкой.
Если лестница состоит из нескольких маршей, высота h лестничного марша между зоной входа и ближайшей промежуточной площадкой или между последовательными промежуточными площадками должна быть не более 6000 мм.
В случае только одного марша (площадка для отдыха отсутствует) высота h между зонами входа и схода (см.
рисунок 1a и
рисунок 1b) может быть увеличена, но не должна быть более 10000 мм.
4.7.5.2. Промежуточные площадки
Длина промежуточной площадки, установленной между двумя маршами лестницы, должна быть не менее 700 мм (см.
рисунок 4b). В этом случае применимы требования
4.7.1 и
4.7.2.
Размеры дверей на этих площадках должны соответствовать требованиям аварийной ситуации.
4.7.5.3. Площадки для отдыха
Ширина площадок для отдыха должна быть не менее 700 мм (см.
рисунок 12).
4.7.5.4. Передвижные площадки для отдыха
В отдельных случаях для лестниц, оборудованных стопорным устройством, допускается применение передвижных (поворотных) площадок для отдыха шириной не менее 400 мм и длиной 300 мм (см. рисунок 10), если это одна площадка, или площадок, состоящих из двух частей шириной не менее 130 мм и длиной 300 мм каждая (см.
рисунок 11).
Рисунок 10. Пример подъемной площадки для отдыха
(одна часть)
Рисунок 11. Пример поворотной площадки для отдыха
(две части)
Рисунок 12. Пример смежных смещенных лестничных маршей,
включая площадку для отдыха
4.7.5.5. Смещенные лестничные марши
Если в зависимости от положения машины или ее окружения необходимо сделать два последовательных лестничных марша вместо одного, то в этом случае должна быть предусмотрена переходная площадка между ними. При этом нижний марш лестницы должен быть продлен так, чтобы его верхняя ступень была на высоте не менее 1680 мм над уровнем переходной площадки, что позволяет использовать ступени лестницы как поручни при пользовании переходной площадкой. Высота защитного ограждения нижнего марша лестницы должна быть увеличена так, чтобы его верхняя часть была на высоте не менее 1600 мм над уровнем переходной площадки (см.
рисунок 12).
Для возможности перехода высота в свету между переходной площадкой и нижней дугой защитного ограждения на верхнем марше лестницы должна быть от 2200 до 2300 мм.
| | Применение на добровольной основе раздела 5 обеспечивает соблюдение требований технического регламента Таможенного союза "О безопасности машин и оборудования" (ТР ТС 010/2011) (Решение Комиссии Таможенного союза от 18.10.2011 N 823). Раздел 5 содержит правила и методы исследований (испытаний) измерений, в том числе правила отбора образцов, необходимые для применения и исполнения требований технического регламента Таможенного союза "О безопасности машин и оборудования" (ТР ТС 010/2011) и осуществления оценки (подтверждения) соответствия продукции (Решение Комиссии Таможенного союза от 18.10.2011 N 823). | |
5. ПРОВЕРКА ТРЕБОВАНИЙ БЕЗОПАСНОСТИ
5.1. Общие требования
Установленные требования безопасности следует контролировать путем расчета и/или испытаний, которые следует выполнять в соответствии с методикой, описанной в данном разделе.
5.2. Испытания вертикальных лестниц с двумя стойками
Элементы лестницы следует подвергать:
- испытанию лестницы на прочность (ЕН 131-2, пункт 4.2);
- испытанию лестницы на изгиб (ЕН 131-2, пункт 4.3);
- испытанию лестницы на поперечный изгиб (ЕН 131-2, пункт 4.4);
- испытанию ступеней на изгиб (ЕН 131-2, пункт 4.6);
- испытанию ступени на кручение (ЕН 131-2, пункт 4.7).
Эти испытания следует проводить в соответствии с требованиями ЕН 131-2, пункт 4.1, в указанном выше порядке.
Расстояние L, которое следует учитывать при испытании на прочность, изгиб и поперечный изгиб, является расстоянием в миллиметрах между двумя последовательными точками анкерного крепления лестницы (см. позицию 4 на
рисунке 16).
Критерий приемки при испытании на изгиб (ЕН 131-2, пункт 4.3) изменен следующим образом: максимально допустимый прогиб под нагрузкой 750 H должен быть не более

, но не должен превышать 50 мм. Приложение испытательной нагрузки должно продолжаться не менее 1 мин. Остаточной деформации после снятия нагрузки не должно быть.
5.3. Испытание защитного ограждения
5.3.1. Испытание следует проводить в тех же условиях, которые предполагаются на месте использования ограждения. Защитное ограждение крепят к лестнице. Проводят два испытания, как показано на
рисунках 13 и
14.
Рисунок 13. Испытание защитного ограждения
(в вертикальном направлении)
Рисунок 14. Испытание защитного ограждения
(в горизонтальном направлении)
5.3.2. Испытание защитного ограждения в вертикальной плоскости
К дуге защитного ограждения следует прикладывать предварительную вертикальную нагрузку

, равную 200 H, в наиболее неблагоприятных точках (см.
рисунок 13). Предварительная нагрузка должна быть распределена на три горизонтальные дуги ограждения и приложена в течение 1 мин при условии, что соединение между верхней частью ограждения и дугами устойчиво к растяжению. Положение нижней дуги ограждения после снятия предварительной нагрузки следует рассматривать как исходное при проведении испытания с основной нагрузкой

, равной 1000 H. Приложение испытательной нагрузки должно продолжаться не менее 1 мин. Допустимый прогиб, измеренный в точке приложения нагрузки, не должен превышать 10 мм. Остаточной деформации не должно быть.
5.3.3. Испытание защитного ограждения в горизонтальной плоскости
К продольным полосам ограждения следует прикладывать горизонтальную нагрузку

, равную 500 H, в наиболее неблагоприятных точках, распределенную на три полосы (см.
рисунок 14). Испытательная нагрузка должна продолжаться не менее 1 мин. Допустимый прогиб, измеренный в точке приложения нагрузки, не должен превышать 10 мм. Остаточной деформации не должно быть.
5.4. Испытания вертикальных лестниц с одной стойкой
5.4.1. Испытание элемента лестницы на прочность и изгиб
Элементы лестницы при испытаниях должны удовлетворять требованиям следующих подразделов ЕН 131-2:
- испытанию лестницы на прочность (ЕН 131-2, пункт 4.2);
- испытанию лестницы на изгиб (ЕН 131-2, пункт 4.3);
- испытанию ступени на кручение (ЕН 131-2, пункт 4.7).
Расстояние L, которое следует учитывать при испытании на прочность и изгиб, должно быть самым большим расстоянием между двумя последовательными точками анкерного крепления лестницы (см. позицию 4 на
рисунке 16).
Критерий приемки при испытании на изгиб (ЕН 131-2, пункт 4.3) изменен следующим образом: максимально допустимый прогиб под нагрузкой 750 H должен быть не более

, но не должен превышать 30 мм. Приложение испытательной нагрузки должно продолжаться не менее 1 мин. Остаточной деформации не должно быть.
5.4.2. Прочность ступеней
Испытание на изгиб ступеней лестницы с одной стойкой следует проводить так, как показано на рисунке 15.
1 - линия приложения нагрузки
Рисунок 15. Испытание ступеней лестницы с одной стойкой
Предварительную нагрузку в 200 H следует прикладывать вертикально перпендикулярно к поверхности ступеней в течение 1 мин. Положение ступени под действием предварительной нагрузки следует рассматривать как исходное положение при испытании под основной нагрузкой.
Направление предварительной нагрузки и основной нагрузки 2,6 кH должно быть одинаково. Предварительная нагрузка и основная нагрузка должны быть равномерно распределены на длине 100 мм около загибов против скольжения на концах ступеней.
Прогиб ступеней в месте приложения нагрузки должен быть не более 0,3% относительно длины L ступени. Точка измерения должна находиться на расстоянии 50 мм от бокового загиба на конце ступеней. Измерение следует проводить по линии приложения испытательной нагрузки. Приложение испытательной нагрузки должно продолжаться не менее 1 мин. Остаточной деформации не должно быть.
5.4.3. Испытание лестницы на кручение
Для вертикальных лестниц с одной стойкой вместо испытания на поперечный изгиб (ЕН 131-2, пункт 4.4) следует проводить испытание на кручение.
Лестница должна находиться под нагрузкой двух сил, как показано на
рисунке 16.
Две испытательные нагрузки, каждая по 400 H
1 - линия приложения; 2 - точка измерения; 3 - длина
отрезка лестницы, состоящего из четырех ступеней;
4 - расстояние между двумя последовательными точками
анкерного крепления
Рисунок 16. Испытание на кручение лестницы с одной стойкой
Направление обеих испытательных нагрузок по 400 H должно быть перпендикулярно к поверхности лестницы, длина испытуемой лестницы должна быть не менее расстояний между двумя последовательными точками анкерного крепления. Лестницу следует монтировать на земле в точках анкерного крепления.
Расстояние между точками приложения испытательных нагрузок должно равняться отрезку лестницы, состоящему из четырех ступеней. Испытательные нагрузки следует прилагать к точкам, которые считают наиболее неблагоприятными.
Изгиб лестницы не должен превышать 20 мм при испытательной нагрузке. Точки измерения на ступенях, к которым прилагают испытательные нагрузки, должны находиться на расстоянии 50 мм от загибов против скольжения на концах ступеней. Направление измерения должно проходить по линии приложения испытательных нагрузок. Приложение испытательной нагрузки должно продолжаться не менее 1 мин. Остаточной деформации не должно быть.
5.5. Испытание анкерных креплений
5.5.1. Вертикальные лестницы с двумя стойками без стопорного устройства
Прочность точек анкерного крепления вертикальных лестниц с двумя стойками следует рассчитывать с учетом прилагаемой к каждой стойке силы в 3 кH, направленной по осевой линии (см. рисунок 17).
1 - ступень; 2 - стойка; 3 - крепежный элемент; 4 - точка
анкерного крепления; 5 - неподвижная часть (стена,
корпус машины)
Рисунок 17. Схема расположения крепежного элемента
для испытания прочности точек анкерного крепления
и соединений вертикальных лестниц с двумя стойками
На каждой стойке должно быть не менее четырех точек крепления, через которые прилагаемая сила будет передаваться неподвижным частям окружающих конструкций (например, стене, корпусу машины и т.д.). Испытательная нагрузка должна продолжаться не менее 1 мин. После снятия нагрузки остаточной деформации и нарушения целостности конструкции не должно быть.
5.5.2. Вертикальные лестницы с одной стойкой
Прочность точек анкерного крепления вертикальных лестниц с одной стойкой следует рассчитывать с учетом прилагаемой силы в 6 кH, направленной по осевой линии стойки (см.
рисунок 18).
1 - ступень; 2 - стойка; 3 - крепежный элемент; 4 - точка
анкерного крепления; 5 - неподвижная часть (например,
стена, корпус машины)
Рисунок 18. Схема расположения крепежного элемента
для испытания точек анкерного крепления и соединений
вертикальных лестниц с одной стойкой
На стойке должно быть не менее четырех точек крепления, через которые прилагаемая сила будет передаваться неподвижным частям окружающих конструкций (например, стене, корпусу машины). Приложение испытательной нагрузки должно продолжаться не менее 1 мин. После снятия нагрузки остаточной деформации и нарушения целостности конструкции не должно быть.
5.5.3. Вертикальные лестницы со стопорным устройством
5.5.3.1. Стопорное устройство следует испытывать в соответствии с ЕН 353-1.
5.5.3.2. Стойку и точки анкерного крепления следует испытывать с учетом силы в 6 кH, направленной по осевой линии стойки. Приложение испытательной нагрузки должно продолжаться не менее 1 мин. После снятия нагрузки остаточной деформации и нарушения целостности конструкции не должно быть (см.
рисунок 18).
| | Применение на добровольной основе раздела 6 обеспечивает соблюдение требований технического регламента Таможенного союза "О безопасности машин и оборудования" (ТР ТС 010/2011) (Решение Комиссии Таможенного союза от 18.10.2011 N 823). | |
6. МОНТАЖ И ЭКСПЛУАТАЦИЯ ЛЕСТНИЦ
6.1. Инструкции по монтажу и эксплуатации
Вся информация, касающаяся правильного монтажа лестниц, включая метод крепления и монтаж стопорного устройства, если оно применяется, должна содержаться в инструкциях.
6.2. Инструкции по эксплуатации лестниц со стопорным устройством
В инструкциях по эксплуатации следует учитывать требования
ЕН ИСО 12100-2 и ЕН 353-1.
6.3. Маркировка мест для входа и схода
Лестницы со стопорными устройствами должны иметь несмываемую маркировку со следующей информацией:
- тип перемещаемого стопорного устройства и год его выпуска;
- указание: "Использование индивидуальных средств защиты обязательно".
Маркировка должна быть только в тех местах для входа и схода, до которых можно добраться по соответствующим лестницам.
Примечание. Маркировка, например, в виде рифленого покрытия считается несмываемой. Информация о маркировке должна содержаться в инструкциях по эксплуатации лестниц со стопорным устройством.
(обязательное)
СВЕДЕНИЯ О СООТВЕТСТВИИ ССЫЛОЧНЫХ МЕЖДУНАРОДНЫХ
(РЕГИОНАЛЬНЫХ) СТАНДАРТОВ НАЦИОНАЛЬНЫМ СТАНДАРТАМ
Обозначение ссылочного европейского регионального стандарта | Обозначение и наименование соответствующего национального стандарта |
ЕН 131-2:1993 | |
ЕН 353-1 | |
ЕН 363 | |
ЕН ИСО 12100-1:2003 | ГОСТ Р ИСО 12100-1-2007 Безопасность оборудования. Основные понятия, общие принципы конструирования. Часть 1. Основные термины, методология |
ЕН ИСО 12100-2:2003 | ГОСТ Р ИСО/ТО 12100-2-2007 Безопасность оборудования. Основные понятия, общие принципы конструирования. Часть 2. Технические правила и технические требования |
ЕН ИСО 14122-1 | |
ЕН ИСО 14122-2 | |
ЕН ИСО 14122-3 | |
<*> Соответствующий национальный стандарт отсутствует. До его утверждения рекомендуется использовать перевод на русский язык данного европейского регионального стандарта. Перевод данного европейского регионального стандарта находится в Федеральном информационном фонде технических регламентов и стандартов. |
[1] ЕН 294 Безопасность машин. Безопасные расстояния для
предохранения верхних конечностей от попадания в опасную
зону
[2] ЕН 349 Безопасность машин. Минимальные расстояния для
предотвращения защемления частей человеческого тела
[3] ЕН 364 Индивидуальные средства защиты от падения с высоты.
Методы испытаний
[4]
ЕН 547-1 Безопасность машин. Размеры тела человека. Часть 1.
Принципы определения размеров проемов, обеспечивающих
доступ человека к машине
[5] ЕН 547-2 Безопасность машин. Размеры тела человека. Часть 2.
Принципы определения размеров отверстий для отдельных
частей тела человека
[6] ЕН 547-3 Безопасность машин. Размеры тела человека. Часть 3.
Антропометрические данные
[7] ЕН 811 Безопасность машин. Безопасные расстояния для
предохранения нижних конечностей от попадания в опасную
зону
[8] ЕН 1050 Безопасность машин. Принципы оценки и определения риска
[9] ИСО 13852 Безопасность машин. Безопасные расстояния для
предохранения верхних конечностей от попадания в опасную
зону
[10] ИСО 13853 Безопасность машин. Безопасные расстояния для
предохранения нижних конечностей от попадания в опасную
зону
[11] ИСО 13854 Безопасность машин. Минимальные расстояния для
предотвращения защемления частей человеческого тела
[12] ИСО 14121 Безопасность машин. Принципы оценки риска