Главная // Актуальные документы // ГОСТ Р (Государственный стандарт)СПРАВКА
Источник публикации
М.: Стандартинформ, 2009
Примечание к документу
Отдельные положения данного документа включены в
Перечень международных и региональных (межгосударственных) стандартов, а в случае их отсутствия - национальных (государственных) стандартов, в результате применения которых на добровольной основе обеспечивается соблюдение требований технического
регламента Таможенного союза "О безопасности машин и оборудования" (ТР ТС 010/2011) и в
Перечень международных и региональных (межгосударственных) стандартов, а в случае их отсутствия - национальных (государственных) стандартов, содержащих правила и методы исследований (испытаний) и измерений, в том числе правила отбора образцов, необходимые для применения и исполнения требований технического
регламента Таможенного союза "О безопасности машин и оборудования" (ТР ТС 010/2011) и осуществления оценки соответствия объектов технического регулирования (
Решение Коллегии Евразийской экономической комиссии от 09.03.2021 N 28).
Текст данного документа приведен с учетом
поправки, опубликованной в "ИУС", N 6 - 7, 2020.
Документ
введен в действие с 1 июля 2010 года.
Название документа
"ГОСТ Р ИСО 14122-3-2009. Безопасность машин. Средства доступа к машинам стационарные. Часть 3. Лестницы и перила"
(утв. Приказом Ростехрегулирования от 18.06.2009 N 207-ст)
"ГОСТ Р ИСО 14122-3-2009. Безопасность машин. Средства доступа к машинам стационарные. Часть 3. Лестницы и перила"
(утв. Приказом Ростехрегулирования от 18.06.2009 N 207-ст)
Утвержден и введен в действие
от 18 июня 2009 г. N 207-ст
НАЦИОНАЛЬНЫЙ СТАНДАРТ РОССИЙСКОЙ ФЕДЕРАЦИИ
БЕЗОПАСНОСТЬ МАШИН
СРЕДСТВА ДОСТУПА К МАШИНАМ СТАЦИОНАРНЫЕ
ЧАСТЬ 3
ЛЕСТНИЦЫ И ПЕРИЛА
Safety of machinery. Permanent means
of access to machinery. Part 3. Stairs and guard-rails
ISO 14122-3:2001
Safety of machinery - Permanent means
of access to machinery - Part 3: Stairs, stepladders
and guard-rails
(IDT)
ГОСТ Р ИСО 14122-3-2009
Дата введения
1 июля 2010 года
Цели и принципы стандартизации в Российской Федерации установлены Федеральным
законом от 27 декабря 2002 г. N 184-ФЗ "О техническом регулировании", а правила применения национальных стандартов Российской Федерации -
ГОСТ Р 1.0-2004 "Стандартизация в Российской Федерации. Основные положения".
1. Подготовлен Открытым акционерным обществом "Экспериментальный научно-исследовательский институт металлорежущих станков" (ОАО "ЭНИМС") на основе собственного аутентичного перевода стандарта, указанного в пункте 4.
2. Внесен Техническим комитетом по стандартизации ТК 70 "Станки".
3. Утвержден и введен в действие
Приказом Федерального агентства по техническому регулированию и метрологии от 18 июня 2009 г. N 207-ст.
4. Настоящий стандарт идентичен международному стандарту ИСО 14122-3:2001 "Безопасность машин. Постоянные средства доступа к машинам. Часть 3. Трапы, приставные лестницы и перила" (ISO 14122-3:2001 "Safety of machinery - Permanent means of access to machinery - Part 3: Stairs, stepladders and guard-rails").
Наименование настоящего стандарта изменено относительно наименования указанного международного стандарта для приведения в соответствие с ГОСТ Р 1.5-2004
(пункт 3.5).
При применении настоящего стандарта рекомендуется использовать вместо ссылочных международных (региональных) стандартов соответствующие им национальные стандарты Российской Федерации, приведенные в дополнительном
Приложении А.
5. Введен впервые.
Информация об изменениях к настоящему стандарту публикуется в ежегодно издаваемом информационном указателе "Национальные стандарты", а текст изменений и поправок - в ежемесячно издаваемых информационных указателях "Национальные стандарты". В случае пересмотра (замены) или отмены настоящего стандарта соответствующее уведомление будет опубликовано в ежемесячно издаваемом информационном указателе "Национальные стандарты". Соответствующая информация, уведомление и тексты размещаются также в информационной системе общего пользования - на официальном сайте Федерального агентства по техническому регулированию и метрологии в сети Интернет.
Настоящий стандарт - стандарт типа B (общие стандарты, рассматривающие один аспект безопасности или один тип защитного устройства для широкого класса машин) является 3-й частью из серии стандартов "Безопасность машин. Средства доступа к машинам стационарные". Стандарты этой серии имеют следующие наименования:
- часть 1. Выбор стационарных средств доступа между двумя уровнями;
- часть 2. Рабочие площадки и мостики;
- часть 3. Лестницы и перила;
- часть 4. Лестницы вертикальные.
Требования настоящего стандарта допускается дополнять или изменять стандартом типа C.
Примечание 1. Для машин, на которые распространяется стандарт типа C и которые спроектированы и изготовлены в соответствии с требованиями настоящего стандарта, требования стандарта типа C являются приоритетными по сравнению с требованиями стандарта типа B.
Размеры, указанные в стандарте, соответствуют эргономическим требованиям ЕН 547-3 "Безопасность машин. Размеры тела человека. Часть 3. Антропометрические данные".
Примечание 2. Требования настоящего стандарта распространяются также на лестницы, изготовленные из неметаллических материалов (композитов, так называемых материалов с улучшенными свойствами и т.п.).
Настоящий стандарт распространяется на все машины (стационарные или передвижные), которые должны быть оборудованы стационарными средствами доступа.
Цель настоящего стандарта - определить общие требования к безопасному доступу к машинам в соответствии с ЕН ИСО 12100-2. Стандарт ЕН ИСО 14122-1 дает общие рекомендации по правильному выбору средств доступа к машине, когда необходимый доступ к машине непосредственно с уровня земли или пола невозможен.
Настоящий стандарт применим к лестницам с углом наклона от 20° до 75° и перилам, которые являются частью машины.
Настоящий стандарт также допускается применять к подобным лестницам и перилам в той части здания, где будет установлена машина, если основная функция этой части здания состоит в обеспечении доступа к машине.
Примечание. Настоящий стандарт также допускается применять для средств доступа, не входящих в область применения настоящего стандарта. В таких случаях следует принимать во внимание возможные соответствующие национальные стандарты или другие нормативные документы (НД).
Настоящий стандарт применим также к подобным лестницам и перилам, не имеющим постоянного крепления к машине, которые можно передвинуть, ставить сбоку для некоторых операций, производимых машиной (например, замены инструментов в большом прессе).
Требования безопасности, рассматриваемые в настоящем стандарте, должны обеспечивать снижение опасностей, перечень которых приведен в ЕН ИСО 14122-1, раздел 4.
Настоящий стандарт применяется к машинам, изготовленным после даты его введения.
В настоящем стандарте использованы датированные и недатированные ссылки на международные (региональные) стандарты. При датированных ссылках последняя редакция международных (региональных) стандартов или изменения к ним могут быть действительны для настоящего стандарта только после введения изменений к настоящему стандарту или путем подготовки новой редакции настоящего стандарта. При недатированных ссылках действительно последнее издание приведенного ссылочного стандарта, включая изменения.
ЕН 292-1 (ИСО/ТО 12100-1). Безопасность машин. Основные понятия, общие принципы конструирования. Часть 1. Основные термины, методология
ЕН 292-2:1991 + А1 (ИСО/ТО 12100-2). Безопасность машин. Основные понятия, общие принципы конструирования. Часть 2. Технические принципы и технические условия
ЕН 1070. Безопасность машин. Терминология
ЕН ИСО 14122-1. Безопасность машин. Стационарные средства доступа к машинам. Часть 1. Выбор стационарных средств доступа между двумя уровнями (ИСО 14122-1:2001).
В настоящем стандарте применены термины по ЕН 1070 и ЕН ИСО 14122-1, а также следующие термины с соответствующими определениями:
3.1. Лестницы (stairs and step ladders):
- лестницы с углом наклона 45° - 75° (step ladders) - в соответствии с определением, установленным в ЕН ИСО 14122-1, пункт 3.2;
- лестницы с углом наклона 20° - 45° (stairs) - в соответствии с определением, установленным в ЕН ИСО 14122-1, пункт 3.3.
Элементы лестниц показаны на
рисунке 1, термины и определения элементов лестниц даны в
3.1.1 -
3.1.16.
H - высота подъема; g - проступь; e - высота в свету;
h - высота ступени; l - длина площадки; r - нахлестка;

- угол наклона; w - ширина лестницы; P - осевая линия;
t - ширина ступени; c - просвет
Рисунок 1. Элементы лестниц
3.1.1. Высота подъема (climbing height) H: вертикальное расстояние между начальным уровнем и площадкой (см. рисунок 1).
3.1.2. Лестничный марш (flight): непрерывная последовательность ступеней между двумя площадками.
3.1.3. Проступь (going) g: расстояние по горизонтали между закруглением двух следующих друг за другом ступеней (см. рисунок 1) (строительный термин).
3.1.4. Высота в свету (headroom) e: наименьшее вертикальное расстояние над осевой линией, свободное от всех препятствий (таких как перекладины, стояки и т.п.) (см.
рисунок 1).
3.1.5. Длина площадки (length of landing) l: горизонтальная площадка для отдыха, расположенная в конце лестничного марша (см.
рисунок 1).
3.1.6. Линия прохода (walking line): условная линия, указывающая средний путь, который проделывает пользователь по ступеням лестницы.
3.1.7. Нахлестка (overlap) r: разность между шириной ступени и проступью (см.
рисунок 1).
3.1.8. Осевая линия (pitch line) P: условная линия, соединяющая передние кромки ступеней от верхней площадки до нижней площадки марша (см.
рисунок 1).
3.1.9. Угол наклона лестницы (angle of pitch of the stair or step ladder)

: угол между осевой линией и ее проекцией на горизонтальный уровень (см.
рисунок 1).
3.1.10. Высота ступени (rise) h: расстояние по вертикали между двумя последовательными ступенями (см.
рисунок 1).
3.1.11. Ступень (step): горизонтальная поверхность, на которую ставят ногу, чтобы подняться или спуститься по лестнице.
3.1.12. Закругление (nosing): верхняя кромка на передней стороне ступени или площадки.
3.1.13. Тетива (string): боковой каркасный элемент, к которому крепят ступени.
3.1.14. Ширина лестницы (width) w: расстояние в свету вдоль наружных ребер по длине ступени (см.
рисунок 1).
3.1.15. Ширина ступени (depth of step) t: расстояние в свету от передней кромки или закругления до задней кромки ступени (см.
рисунок 1).
3.1.16. Просвет (clearance) c: абсолютное минимальное расстояние в свету между любым препятствием и осевой линией (см.
рисунок 1), измеренное под углом 90° к осевой линии.
3.2. Перила (guard-rail): устройства для защиты от случайного падения или случайного доступа в опасную зону, которыми могут быть оборудованы лестницы, площадки, мостики и проходы. Типовые элементы перил показаны на рисунке 2 и описаны в
3.2.1 -
3.2.5.
1 - поручень; 2 - ограждение для коленей;
3 - ограждающий борт; 4 - стойка; 5 - уровень прохода
Рисунок 2. Пример элементов типовой конструкции перил
3.2.1. Поручень (handrail): предохранительная деталь, предназначенная для того, чтобы, держась за нее рукой, человек смог бы поддерживать свое тело при движении. Поручень можно использовать отдельно или как верхнюю часть перил (см. рисунок 2).
3.2.2. Ограждение для коленей (kneerail): элемент перил, расположенный параллельно поручням и дополнительно защищающий человека при проходе (см. рисунок 2).
3.2.3. Стойка (stanchion): вертикальный элемент конструкции перил, соединяющий поручни с площадкой или лестницей (см.
рисунок 2).
3.2.4. Ограждающий борт (toe-plate): твердая нижняя часть перил или бортик на площадке для предотвращения падения объектов с уровня прохода (см.
рисунок 2).
Примечание. Ограждающий борт также сокращает свободное пространство между уровнем прохода и ограждением для коленей, препятствуя выпадению через него.
3.2.5. Самозакрывающаяся дверь (self closing gate): часть перил, которая должна легко открываться. После открытия дверь должна закрываться автоматически, например с помощью силы тяжести или пружины (см.
7.1.10).
4. Общие требования безопасности, касающиеся материалов
и размеров лестниц и перил
4.1. Материалы и размеры составляющих элементов и способов их монтажа должны соответствовать требованиям безопасности настоящего стандарта.
4.2. Используемые материалы по своей природе или в результате дополнительной обработки должны быть устойчивы к коррозии, вызываемой окружающей средой.
4.3. Любые элементы, находящиеся в контакте с пользователем, должны быть спроектированы так, чтобы не наносить ему вред и не быть препятствием при его перемещениях (острые углы, сварные швы с заусенцами, необработанные кромки и т.д.).
4.4. Ступени и площадки должны иметь хорошее сопротивление скольжению, чтобы не было опасности поскользнуться.
4.5. Открытие и закрытие движущихся частей (дверей) не должны становиться причиной последующих опасностей для пользователей или других людей, находящихся поблизости (например, в результате порезов или падения).
4.6. Для обеспечения безопасности фитинги, петли, места анкерных креплений, опоры и стойки должны достаточно жестко и прочно удерживать всю конструкцию.
4.7. Вся конструкция и ступени должны быть спроектированы так, чтобы выдерживать проектную нагрузку.
4.7.1. Предельные нагрузки на конструкцию в промышленных условиях могут составлять от 1,5 кН/м2 при низкой плотности движения пешеходов без грузов до 5 кН/м2 при низкой плотности движения пешеходов с грузом или при высокой плотности движения без грузов, если к конструкции не будут предъявлены более высокие требования.
4.7.2. Если к ступеням не предъявлены более высокие требования, они должны выдерживать следующие предельные нагрузки:
- если ширина лестницы менее 1200 мм, то нагрузка 1,5 кН должна распределяться равномерно по площади размером 100 x 100 мм, где одна из границ - это передняя кромка ступени, нагрузка к которой прилагается посредине ширины ступени;
- если ширина лестницы не менее 1200 мм, то соответственно нагрузку 1,5 кН следует распределять одновременно на каждую из площадей размером 100 x 100 мм и прилагать ее в наиболее неблагоприятных точках, расположенных на расстоянии 600 мм от тетивы, где одна из границ - это передняя кромка ступени.
При нагрузке прогиб ступеней относительно конструкции лестницы не должен превышать 1/300 пролета, но не более 6 мм.
5. Требования безопасности к лестницам
с углом наклона от 20° до 45°
5.1. Проступь g и высоту ступени h вычисляют по формуле
600 <= g + 2h <= 660. (1)
5.2. Нахлестка r ступени должна быть не менее 10 мм и равномерно распределяться между площадкой и перекрытием.
5.3. На одном лестничном марше высота ступени должна быть, по возможности, постоянной. Там, где невозможно сохранить высоту ступени между уровнем входа и нижней ступенью равной высоте ступени лестницы, она может быть сокращена не более чем на 15%. Если это оправданно, она может быть увеличена, например в случае применения некоторых передвижных машин.
5.4. Самая верхняя ступень должна быть на одном уровне с площадкой (см. рисунок 3).
Примечание. Принцип сохранения проступи на верхней ступени имеет важное значение, и изменение проступи на площадке, служащей последней ступенью, является серьезной причиной несчастных случаев.
Рисунок 3. Положение самой верхней ступени
5.5. Высота в свету e - не менее 2300 мм.
5.6. Просвет c - не менее 1900 мм.
5.7. Если нет особых обстоятельств, ширина лестницы должна быть не менее 600 мм, но предпочтительно 800 мм. Если лестничный марш, как правило, предназначен для прохода или пересечения несколькими людьми одновременно, то ширина лестницы должна быть увеличена до 1000 мм. Ширина лестницы, предназначенной для запасного выхода, должна соответствовать требованиям соответствующих НД.
Примечание. В случае обоснования оценкой риска или ограничениями, связанными с машиной или окружающей средой, ширина лестницы может быть уменьшена до 500 мм, если:
- рабочая площадка или лестница предназначена только для временного пользования;
- уменьшение сделано только на коротком расстоянии.
5.8. Высота подъема H отдельных лестничных маршей не должна превышать 3000 мм, в противном случае может потребоваться установка площадки перед продолжением подъема на следующий марш. Длина площадки l должна быть не менее 800 мм и в любом случае не должна быть меньше ширины лестницы. Если лестница состоит из одного лестничного марша (см.
3.1.2), высота подъема может быть увеличена до 4000 мм.
5.9. Требования к перилам лестниц см.
7.2.
6. Требования безопасности к лестницам
с углом наклона от 45° до 75°
6.1. Минимальная ширина ступени t - 80 мм.
6.2. Максимальная высота ступени h - 250 мм.
6.3. Нахлестка r ступени или площадки - не менее 10 мм.
6.4. Ширина лестницы в свету должна составлять от 450 до 800 мм, но предпочтительно 600 мм.
6.5. На одном лестничном марше высота ступени должна быть, по возможности, постоянной. Там, где невозможно сохранить высоту ступени между уровнем входа и нижней ступенью равной высоте ступени лестницы, она может быть сокращена не более чем на 15%. Если это оправданно, она может быть увеличена, например в случае применения некоторых передвижных машин.
6.6. Высота в свету e - не менее 2300 мм.
6.7. Просвет c - не менее 850 мм.
6.8. Высота подъема H одного лестничного марша не должна превышать 3000 мм.
Примечание. При наличии нескольких лестничных маршей следует рассматривать дополнительные меры безопасности.
7. Требования безопасности к перилам
7.1. Горизонтальные перила
7.1.1. Перила следует устанавливать около опасных зон, где существует риск провалиться или упасть (например, проход по перекидному мостику к вытяжному вентилятору на крыше).
7.1.2. Если высота возможного падения превышает 500 мм, должны быть установлены перила.
7.1.3. Перила должны быть предусмотрены, если расстояние между площадкой и конструкцией машины или стены больше 200 мм или если защитная функция конструкции неэквивалентна перилам. Опору для ног следует устанавливать в том случае, если расстояние между платформой и примыкающей конструкцией больше 30 мм.
7.1.4. Высота перил - не менее 1100 мм.
7.1.5. Перила должны включать в себя по крайней мере одно промежуточное ограждение для коленей или любое другое аналогичное устройство. Расстояние в свету между поручнями и ограждением для коленей, а также между ограждением для коленей и опорой для ног должно быть не более 500 мм.
7.1.6. Если вместо ограждения для коленей используют вертикальные стойки, горизонтальное расстояние в свету между этими стойками должно быть не более 180 мм.
7.1.7. Ограждающий борт с минимальным размером бортика 100 мм следует устанавливать на расстоянии не более 10 мм от уровня пола прохода и края площадки (см. рисунок 4).
1 - высота бортика
Рисунок 4. Пример горизонтальных перил
7.1.8. Расстояние между осями стоек должно быть не более 1500 мм. Если это расстояние превышено, прочность крепления стойки и крепежных устройств должна быть увеличена.
7.1.9. В случае прерывающихся перил для предотвращения ущемления руки расстояние в свету между двумя сегментами перил должно быть не менее 75 мм и не более 120 мм (см. рисунок 5). Если расстояние больше, следует использовать самозакрывающиеся двери.
Рисунок 5. Расстояние в свету между двумя сегментами перил
7.1.10. Если требуется доступ через ограждение, следует использовать самозакрывающиеся двери. Двери должны иметь поручни и ограждение для коленей, расположенные на том же уровне, что и на перилах, которые должны быть продолжены для выхода с лестницы (ЕН 14122-4).
Все двери должны быть самозакрывающимися и открываться в сторону площадки, а закрываться после фиксированной остановки, чтобы не столкнуть пользователя и предупредить его падение в проем. К дверям следует применять те же нагрузки, что и к перилам.
7.1.11. Конструкцией перил должно быть предусмотрено исключение любого риска получения травмы, вызванного острыми краями или захватом одежды.
7.2. Перила лестниц с углом наклона от 20° до 45° и углом наклона от 45° до 75°
7.2.1. Лестница должна иметь перила, по меньшей мере, с одной стороны. Если ширина лестницы не менее 1200 мм, то на ней должны быть перила с двух сторон. Приставные лестницы всегда должны иметь перила с двух сторон.
7.2.2. Перила следует применять, когда высота подъема превышает 500 мм и когда необходимо обеспечить защиту лестницы сбоку, если боковое пространство между тетивой лестницы и, например, стеной, больше 200 мм.
7.2.3. Высота поручней над лестницей должна быть от 900 до 1000 мм для прохода по маршу лестницы и не менее 1100 мм - для прохода по площадке. Форма поручней должна быть круглой (полукруглой) диаметром от 25 до 50 мм, достаточной для удобного захвата рукой. При этом на всех секциях одной лестницы размер и форма поручней должны быть одинаковы, чтобы предотвратить зажатие руки.
7.2.4. Поручни для лестниц с углом наклона от 60° до 75° должны начинаться на расстоянии не более 1000 мм от основания лестницы по вертикали. Числовые значения X (расстояния от осевой линии на лестнице до центральной линии поручней, см.
рисунок 7) приведены в таблице 1.
Таблица 1
Рекомендуемые расстояния от осевой линии лестницы
до центральной линии поручней
┌────────────────────────────────┬───────────────────────────────┐
│ Угол наклона лестницы альфа │ X, мм │
├────────────────────────────────┼───────────────────────────────┤
│ 60° │ 250 │
│ 65° │ 200 │
│ 70° │ 150 │
│ 75° │ 100 │
└────────────────────────────────┴───────────────────────────────┘
7.2.5. Перила должны включать по крайней мере одно ограждение для коленей или любое другое аналогичное устройство. Расстояние в свету между поручнем и ограждением для коленей, а также между ограждением для коленей и боковым каркасом не должно превышать 500 мм (см. рисунок 6).
Рисунок 6. Пример перил для лестниц
и продления их до горизонтальных перил
Рисунок 7. Расположение поручней на лестнице
с углом наклона от 60° до 75°
7.2.6. Вдоль поручней не должно быть никаких препятствий на расстоянии 100 мм, кроме обратной стороны поручней для установки опорных стоек (см. рисунок 8).
Рисунок 8. Минимальный зазор между поручнем
и любым препятствием
7.3. Требования к конструкции
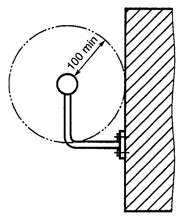
Перила должны выдерживать без остаточной деформации любую горизонтально прилагаемую сосредоточенную нагрузку, равную рабочей нагрузке, которую при испытании сначала следует прикладывать к верхней части стойки, а затем к наименее благоприятным точкам вдоль поручня. В обоих случаях максимальный прогиб при нагрузке не должен превышать 30 мм.
Минимальная рабочая нагрузка

, равная 300 Н/м, должна быть приложена между осями двух следующих друг за другом стоек (размер L на
рисунке 9), расположенных на максимальном расстоянии друг от друга.
Примечания. 1.

следует увеличивать в соответствии с требованиями пользователя. При этом прогиб не должен превышать допустимых значений.
2. Важно испытать прочность перил при расчетных нагрузках, чтобы убедиться в отсутствии любой возможной остаточной деформации.
Рисунок 9. Схема расположения прибора
при измерении деформации
8. Проверка требований безопасности
Проверку выполнения требований безопасности, приведенных в настоящем стандарте, следует осуществлять путем расчета и/или испытаний. При выборе испытаний следует применять методику, описанную в этом разделе.
Нагрузку F следует прилагать к поручням на высоте 1100 мм горизонтально, постепенно и без удара.
Деформации (f1 и f2) вдоль центральной линии следует определять с помощью прибора для измерения деформации (индикатора), расположенного горизонтально, как показано на
рисунке 9.
8.2.1. Предварительная нагрузка
Нагрузку 0,25F следует прилагать к поручням, как показано на
рисунке 9, в течение 1 мин перпендикулярно к стойке, затем нагрузку с поручня снимают.
Шкалу измерительного прибора следует устанавливать на нуль.
8.2.2. Испытание стоек
Нагрузку F следует прилагать, как показано на рисунке 10, в течение 1 мин.
Рисунок 10. Схема испытания опор
Деформация f1, измеряемая во время нагрузки, не должна превышать 30 мм.
После снятия нагрузки не должно сохраняться никакой остаточной деформации.
8.2.3. Испытание поручней
Нагрузку F следует прилагать, как показано на рисунке 11. Деформация f1, измеряемая во время нагрузки, не должна превышать 30 мм.
Рисунок 11. Схема испытания поручней
После снятия рабочей нагрузки не должно сохраняться никакой остаточной деформации.
9. Инструкции по сборке лестниц
Вся информация по правильной сборке лестниц и перил должна содержаться в руководстве по эксплуатации машины, оборудованной этими лестницами и перилами. В частности, в него должна быть включена информация о способе крепления лестниц и перил.
10. Информация для пользователей.
Руководство по эксплуатации
В руководстве по эксплуатации машины должно быть четко указано, какие средства доступа предусмотрены изготовителем машины в соответствии с ЕН 292-2, пункт 5.5.1.
(обязательное)
ССЫЛОЧНЫХ МЕЖДУНАРОДНЫХ (РЕГИОНАЛЬНЫХ) СТАНДАРТОВ
НАЦИОНАЛЬНЫМ СТАНДАРТАМ РОССИЙСКОЙ ФЕДЕРАЦИИ
Обозначение ссылочного международного стандарта | Обозначение и наименование соответствующего национального стандарта |
ЕН 292-1 (ИСО/ТО 12100-1) | оборудования. Основные понятия, общие принципы конструирования. Часть 1. Основные термины, методология |
ЕН 292-2:1991 + А1 (ИСО/ТО 12100-2) | оборудования. Основные понятия, общие принципы конструирования. Часть 2. Технические правила и технические требования |
ЕН 1070 | Термины и определения |
ЕН ИСО 14122-1 | <*> |
<*> Соответствующий национальный стандарт отсутствует. До его утверждения рекомендуется использовать перевод на русский язык данного международного стандарта. Перевод данного международного стандарта находится в Федеральном информационном фонде технических регламентов и стандартов. |
При разработке настоящего стандарта были приняты во внимание следующие стандарты:
ЕН 131-2:1993 <1> (EN 131-2:1993 <1>). Лестницы. Требования, испытания, маркировка (Ladders. Requirements, Tests, Markings)
--------------------------------
<1> В стадии пересмотра.
ЕН 294 (ИСО 13852) (EN 294 (ISO 12852)). Безопасность машин. Безопасные расстояния для предохранения верхних конечностей от попадания в опасную зону (Safety of machinery. Safety distances to prevent danger zones being reached by the upper limbs)
ЕН 349 (ИСО 13854) (EN 349 (ISO 13854)). Безопасность машин. Минимальные расстояния для предотвращения защемления частей человеческого тела (Safety of machinery. Minimum gaps to avoid crushing of parts of the human body)
ЕН 353-1 (EN 353-1). Индивидуальные средства защиты от падения с высоты. Стопорные устройства, перемещаемые по жесткой линии крепления (Personal protective equipment against falls from a height. Guided type fall arresters on a rigid anchorage line)
ЕН 364 (EN 364). Индивидуальные средства защиты от падения с высоты. Методы испытаний (Personal protective equipment against falls from a height. Test methods)
ЕН 547-1 (EN 547-1). Безопасность машин. Размеры тела человека. Часть 1. Принципы определения размеров проемов, обеспечивающих доступ человека к машине (Safety of machinery. Human body dimensions. Part 1. Principles for determining the dimensions required for opening for whole body access into machinery)
ЕН 547-2 (EN 547-2). Безопасность машин. Размеры тела человека. Часть 2. Принципы определения размеров отверстий для отдельных частей тела человека (Safety of machinery. Human body dimensions. Part 2. Principles for determining the dimensions required for access openings)
ЕН 547-3 (EN 547-3). Безопасность машин. Размеры тела человека. Часть 3. Антропометрические данные (Safety of machinery. Human body dimensions. Part 3. Anthropometric data)
ЕН 795 (EN 795). Защита от падения с высоты. Устройства крепления. Требования и испытания (Protection against falls from a height. Anchorage devices. Requirements and testing)
ЕН 811 (ИСО 13853) (EN 811 (ISO 13853)). Безопасность машин. Установление расстояний, препятствующих касанию ногами опасных зон (Safety of machinery. Safety distances to prevent danger zones being reached by the lower limbs)
ЕН 1050 (ИСО 14121) (EN 1050 (ISO 14121)). Безопасность машин. Принципы оценки риска (Safety of machinery. Principles for risk assessment)
ЕН ИСО 14122-2 (EN ISO 14122-2). Безопасность машин. Стационарные средства доступа к машинам. Часть 2. Рабочие площадки и мостики (Safety of machinery. Permanent means of access to machinery. Part 2. Working platforms and walkways)
ЕН ИСО 14122-4:1996 (prEN ISO 14122-4:1996). Безопасность машин. Стационарные средства доступа к машинам. Часть 4. Лестницы вертикальные (Safety of machinery. Permanent means of access to machinery. Part 4. Fixed ladders).