Главная // Актуальные документы // ГОСТ Р (Государственный стандарт)СПРАВКА
Источник публикации
М.: ИПК Издательство стандартов, 2000
Примечание к документу
Отдельные положения данного документа включены в
Перечень международных и региональных (межгосударственных) стандартов, а в случае их отсутствия - национальных (государственных) стандартов, в результате применения которых на добровольной основе обеспечивается соблюдение требований технического
регламента Таможенного союза "О безопасности упаковки" (ТР ТС 005/2011) и в Перечень международных и региональных (межгосударственных) стандартов (
п. п. 139,
298,
313), а в случае их отсутствия - национальных (государственных) стандартов, содержащих правила и методы исследований (испытаний) и измерений, в том числе правила отбора образцов, необходимые для применения и исполнения требований технического
регламента Таможенного союза "О безопасности упаковки" (ТР ТС 005/2011) и осуществления оценки соответствия объектов технического регулирования (
Решение Коллегии Евразийской экономической комиссии от 29.01.2024 N 9).
Отдельные положения данного документа включены в Перечень стандартов, в результате применения которых на добровольной основе обеспечивается соблюдение требований технического
регламента Таможенного союза "О безопасности упаковки" (ТР ТС 005/2011) и в Перечень стандартов, содержащих правила и методы исследований (испытаний) и измерений, в том числе правила отбора образцов, необходимые для применения и исполнения требований технического
регламента Таможенного союза "О безопасности упаковки" (ТР ТС 005/2011) и осуществления оценки соответствия объектов технического регулирования (
Решение Комиссии Таможенного союза от 16.08.2011 N 769).
Текст данного документа приведен с учетом
поправки, опубликованной в "ИУС", N 8, 2001.
Документ
введен в действие с 1 июля 2001 года.
Название документа
"ГОСТ Р 51640-2000. Государственный стандарт Российской Федерации. Тара стеклянная для товаров бытовой химии. Технические условия"
(принят и введен в действие Постановлением Госстандарта России от 07.09.2000 N 217-ст)
"ГОСТ Р 51640-2000. Государственный стандарт Российской Федерации. Тара стеклянная для товаров бытовой химии. Технические условия"
(принят и введен в действие Постановлением Госстандарта России от 07.09.2000 N 217-ст)
Принят и введен в действие
Постановлением Госстандарта России
от 7 сентября 2000 г. N 217-ст
ГОСУДАРСТВЕННЫЙ СТАНДАРТ РОССИЙСКОЙ ФЕДЕРАЦИИ
ТАРА СТЕКЛЯННАЯ ДЛЯ ТОВАРОВ БЫТОВОЙ ХИМИИ
ТЕХНИЧЕСКИЕ УСЛОВИЯ
Glass containers for goods of household
chemistry. Specifications
ГОСТ Р 51640-2000
Дата введения
1 июля 2001 года
1. Разработан и внесен Техническим комитетом по стандартизации ТК 074 "Стеклянная тара".
2. Принят и введен в действие Постановлением Госстандарта России от 7 сентября 2000 г. N 217-ст.
3. Введен впервые.
1. Назначение и область применения
Настоящий стандарт распространяется на стеклянные бутылки и банки (далее - изделия), предназначенные для розлива, фасования, транспортирования и хранения товаров бытовой химии.
Стандарт не распространяется на изделия, предназначенные для розлива, фасования, транспортирования и хранения пищевых жидкостей и продуктов.
Термины и определения дефектов приведены в
ГОСТ 30005.
В настоящем стандарте использованы ссылки на следующие стандарты:
ГОСТ 10117-91 Бутылки стеклянные для пищевых жидкостей. Технические условия
ГОСТ 10134.1-82 Стекло неорганическое и стеклокристаллические материалы. Методы определения водостойкости при 98 °C
| | ИС МЕГАНОРМ: примечание. ГОСТ 13903-93 утратил силу с 1 июля 2006 года в связи с введением в действие ГОСТ 13903-2005 (Приказ Ростехрегулирования от 24.10.2005 N 255-ст). | |
ГОСТ 13903-93 Тара стеклянная. Методы определения термической стойкости
ГОСТ 15150-69 Машины, приборы и другие технические изделия. Исполнения для различных климатических районов. Категории, условия эксплуатации, хранения и транспортирования в части воздействия климатических факторов внешней среды
| | ИС МЕГАНОРМ: примечание. ГОСТ 24980-92 утратил силу с 1 июля 2006 года в связи с введением в действие ГОСТ 24980-2005 (Приказ Ростехрегулирования от 24.10.2005 N 256-ст). | |
ГОСТ 24980-92 Тара стеклянная. Методы определения параметров
ГОСТ 25706-83 Лупы. Типы, основные параметры. Общие технические требования
ГОСТ 30288-95 Тара стеклянная. Общие положения по безопасности, маркировке и ресурсосбережению
3. Классификация, основные параметры и размеры
3.1. В зависимости от вида изделия подразделяют на:
- бутылки - БТ;
- банки - БН.
3.2. В зависимости от способа укупоривания горловины подразделяют на следующие типы:
- ГВ - горловина под крышку с винтовой резьбой (высокий венчик);
- ГВ-1 - горловина под крышку с винтовой резьбой (низкий венчик);
- ГНВ - горловина под крышку без винтовой резьбы;
- В, ВН по ГОСТ 10117 - горловина под крышку с винтовой резьбой;
- К, КН по ГОСТ 10117 - горловина под колпачок;
- КП, КПН по ГОСТ 10117 - горловина под кроненпробку;
- ОБ - горловина под обжимную укупорку.
3.3. Типы изделий, венчиков горловин должны соответствовать указанным в таблице 1.
Таблица 1
Тип изделия | Номер банки или бутылки | Номинальная вместимость, см3 | Тип венчика горловины | Номер рисунка венчика (таблицы) |
БТ-1 | 1 | 50 | ГВ-1-28 | |
БТ-2 | 2 | 75 | ГВ-1-40 | |
БТ-3 | 3 | 75, 100 | ГВ-28 | |
|
|
БТ-4 | 4 | 250, 500, 1000 | ГВ-28, ГВ-1-28 | |
КП, КПН | 14 или 21 ГОСТ 10117 |
К, КН | 13 или 20 ГОСТ 10117 |
В, ВН | 17 или 22 ГОСТ 10117 |
БТ-5 | 5 | 50, 60, 90, 100 | ГВ-16 | |
БТ-6 | 6 | 100, 200 | ГВ-18 | |
БТ-7 | 7 | 500 | ГВ-28 | |
КП, КПН | 14 или 21 ГОСТ 10117 |
БТ-8 | 8 | 500 | КП, КПН | 14 или 21 ГОСТ 10117 |
БН-1 | 9 | 250, 500 | ГВ-1-70 | |
БН-2 | 10 | 230, 700 | ОБ | |
3.4. Размеры банок и бутылок должны соответствовать указанным на рисунках 1 -
10 и в
таблицах 2 -
7.
Номинальная вместимость, см3, - 50.
Полная вместимость, см3, - 65 +/- 7
Рисунок 1. Бутылка типа БТ-1
Номинальная вместимость, см3, - 75.
Полная вместимость, см3, - 90 +/- 5
Рисунок 2. Бутылка типа БТ-2
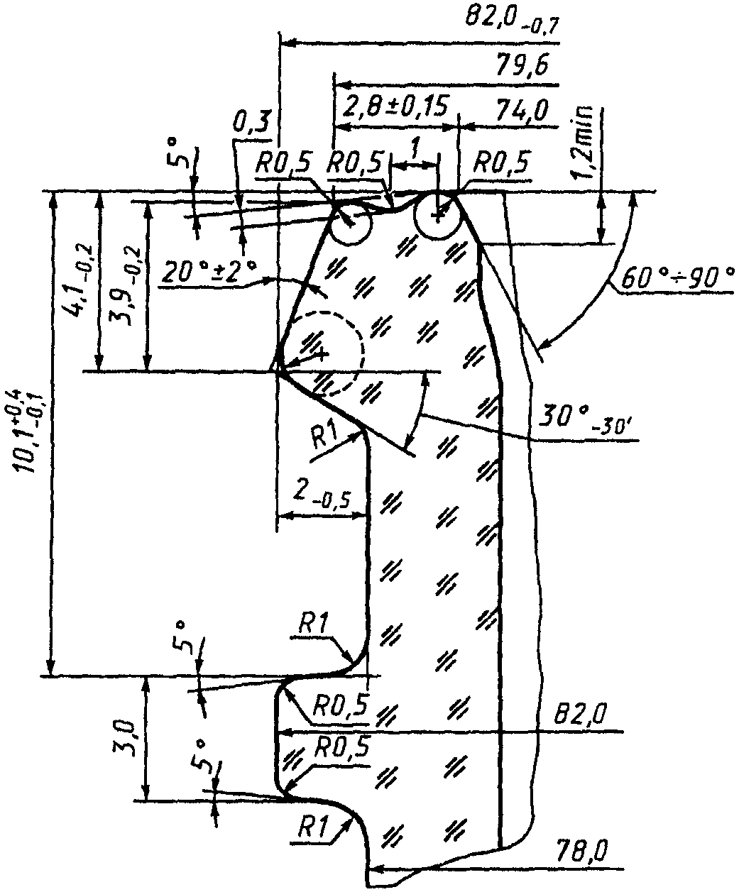
Контролируемые размеры венчика горловины, мм:
- внутренний диаметр венчика горловины 11,0 + 0,5 должен быть на глубине 4 мм от верхнего края, в остальной части допускается уменьшение диаметра до 9,9 мм;
-

;
-

.
Вместимость, см3 | H, мм | D, мм |
номинальная | полная |
75 | 85 +/- 5 | | |
100 | 110 +/- 5 | | |
Рисунок 3. Бутылка типа БТ-3
Таблица 3
Вместимость, см3 | H, мм | D, мм |
номинальная | полная |
250 | 275 +/- 10 | | |
500 | 540 +/- 15 | | |
1000 | 1080 +/- 20 | | |
Рисунок 4. Бутылка типа БТ-4
Таблица 4
Вместимость, см3 | H, мм | L, мм | B, мм |
номинальная | полная |
50 | 60 +/- 5 | | | |
60 | 70 +/- 5 | | | |
90 | 100 +/- 5 | | | |
100 | 115 +/- 10 | | | |
Рисунок 5. Бутылка типа БТ-5
Таблица 5
Вместимость, см3 | H, мм | D, мм |
номинальная | полная |
100 | 110 +/- 10 | | |
200 | 220 +/- 10 | | |
Рисунок 6. Бутылка типа БТ-6
Номинальная вместимость, см3, - 500.
Полная вместимость, см3, - 540 +/- 10
Рисунок 7. Бутылка типа БТ-7
Номинальная вместимость, см3, - 500.
Полная вместимость, см3, - 520 +/- 10
Рисунок 8. Бутылка типа БТ-8
Таблица 6
Вместимость, см3 | H, мм | D, мм |
номинальная | полная |
250 | 275 +/- 10 | | |
500 | 540 +/- 15 | | |
Рисунок 9. Банка типа БН-1
Вместимость, см3 | H, мм | D, мм |
номинальная | полная |
230 | 245 +/- 10 | | |
700 | 715 +/- 20 | | |
Рисунок 10. Банка типа БН-2
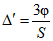
3.5. Контролируемые параметры изделий: полная вместимость, высота и наружный размер корпуса.
Контролируемые размеры венчиков горловины -
рисунки 3, 11 и
12 или по ГОСТ 10117.
В миллиметрах
Условное обозначение венчика | D | | | | | | | h | | Шаг резьбы S | Ширина резьбы, b | | |
ГВ-16 | | | | | 20,0 | 7,6 | 9,5 | | 3,0 | 2,5 | 1,69 | 0,62 | 0,4 |
ГВ-18 | | | | | 22,0 | 9,0 | 9,5 | | 3,0 | 3,0 | 2,02 | 0,74 | 0,5 |
ГВ-28 | | | | | 32,0 | 16,2 | 12,7 | | 2,0 | 4,0 | 2,7 | 0,98 | 0,6 |
ГВ-1-28 | | | | | 32,0 | 16,2 | 12,7 | | 2,0 | 4,0 | 2,7 | 0,98 | 0,6 |
ГВ-1-40 | | | | | 43,0 | 27,0 | 12,7 | | 2,0 | 4,0 | 2,7 | 0,98 | 0,6 |
ГВ-1-70 | | | | | 74,0 | 53,8 | 12,7 | | 2,0 | 5,0 | 3,0 | 1,10 | 0,8 |
Примечание. D;  ;  - контролируемые размеры, остальные размеры даны для изготовления формокомплекта. Размер  должен быть на глубине 4 мм от верхнего края. |
Рисунок 11. Венчик типа ГВ и ГВ-1
Контролируемый диаметр венчика горловины -

, остальные размеры даны для изготовления формокомплекта.
Рисунок 12. Венчик типа ОБ
3.6. Диаметр укупорочного кольца и диаметр резьбы относят к показателям безопасности.
3.7. Условное обозначение изделий должно содержать:
- обозначение типа изделия и номинальной вместимости;
- обозначение типа венчика горловины;
- обозначение настоящего стандарта.
Пример условного обозначения бутылки типа БТ-3 с венчиком горловины ГВ-28 вместимостью 75 см3:
БТ-3-75 ГВ-28 ГОСТ Р 51640-2000.
4. Технические требования
4.1. Характеристики
4.1.1. Изделия должны соответствовать требованиям настоящего стандарта.
4.1.2. Изделия должны изготовляться из бесцветного, полубелого или окрашенного стекла.
В изделиях из окрашенных стекол интенсивность окраски должна обеспечивать возможность визуального контроля содержимого.
4.1.3. На изделиях не допускаются:
4.1.3.1. Сквозные посечки, прилипы стекла, острые швы, сколы.
4.1.3.2. Инородные включения, имеющие вокруг себя трещины и посечки.
4.1.3.3. Закрытые, открытые пузыри и инородные включения в количестве и размером более указанных в таблице 9.
Таблица 9
Номинальная вместимость изделий, см3 | Размер, мм | Количество, шт. |
пузыря | инородного включения | пузырей | инородных включений |
До 250 включ. | Св. 1,0 до 2,0 включ. | До 1,0 включ. | 5 | 1 |
" 2,0 " 4,0 " | 2 |
Св. 250 до 500 включ. | Св. 1,0 до 2,0 включ. | До 1,0 включ. | 7 | 2 |
" 2,0 " 4,0 " | 4 |
" 4,0 " 8,0 " | 1 |
Св. 500 до 1000 включ. | Св. 1,0 до 2,0 включ. | До 1,0 включ. | 8 | 3 |
" 2,0 " 5,0 " | 5 |
" 5,0 " 8,0 " | 1 |
Примечание. Размер для круглых пузырей - это диаметр, для овальных - половина суммы длины и ширины. |
4.1.3.4. Резко выраженные складки, кованость.
4.2. Толщина стенок и дна изделий не должна быть менее указанной в таблице 10.
Таблица 10
Номинальная вместимость изделий, см3 | Толщина, мм |
корпуса | дна |
До 500 включ. | 1,5 | 2,0 |
Св. 500 " 1000 " | 2,0 | 3,0 |
4.3. Отклонение от параллельности торца венчика горловины плоскости дна изделий не должно превышать:
- 1,0 мм - для изделий с наружным диаметром венчика горловины до 50 мм включительно;
- 1,2 мм - для изделий с наружным диаметром венчика свыше 50 мм.
4.4. Отклонение от перпендикулярности вертикальной оси бутылок относительно плоскости дна не должно превышать 1,4% общей высоты бутылок.
4.5. Овальность венчика горловины и корпуса изделий цилиндрической формы не должна превышать предельных отклонений на диаметр.
4.6. Не допускаются швы высотой более 0,3 мм на корпусе и дне изделий вместимостью до 500 см3 включительно и более 0,5 мм - для изделий вместимостью свыше 500 см3.
На боковой поверхности и торце венчика горловин не допускаются швы высотой более 0,2 мм.
4.7. Резьба на венчике горловины должна быть непрерывной, без острых выступов и обеспечивать свободное завинчивание и отвинчивание крышки.
4.8. Удельная разность хода лучей полярископа-поляриметра при контроле отжига изделий не должна превышать 115 нм/см.
Не допускается окраска изделий в поле зрения полярископа или полярископа-поляриметра оранжевая, белая, желтая, зеленая, а также сочетание этих окрасок с голубой.
| | Применение на добровольной основе пункта 4.9 обеспечивает соблюдение требований технического регламента Таможенного союза "О безопасности упаковки" (ТР ТС 005/2011) (Решение Комиссии Таможенного союза от 16.08.2011 N 769). | |
4.9. Изделия должны быть термически стойкими при перепаде температур не менее 35 °C.
4.10. Изделия должны быть водостойкими. Водостойкость стекла должна быть не ниже III гидролитического класса.
| | Применение на добровольной основе пункта 4.11 обеспечивает соблюдение требований технического регламента Таможенного союза "О безопасности упаковки" (ТР ТС 005/2011) (Решение Комиссии Таможенного союза от 16.08.2011 N 769). | |
4.11. Укупорочные средства должны обеспечивать плотность укупоривания.
4.12. Комплектность
4.12.1. В соответствии с заказом потребителя изделия поставляют в комплекте с укупорочными средствами или без них.
4.13. Маркировка
4.13.1. На дне изделий должен быть оттиск товарного знака предприятия-изготовителя, номинальной вместимости (л), даты изготовления (год - две цифры).
Для изделий вместимостью до 200 см3 включительно допускается наносить только оттиск товарного знака и номинальной вместимости.
Маркировка может иметь дополнительную информацию о номере формы.
Допускается наносить маркировку полностью или частично на нижней части корпуса изделий.
При нанесении маркировки на нижнюю часть корпуса изделий толщина маркировочных знаков не должна выходить за наружный диаметр корпуса.
Требования по размерам букв и цифр, применяемых для маркировки, - по
ГОСТ 30288.
4.13.2. Для сертифицированных изделий знак соответствия проставляют в документах о качестве и (или) на упаковке, и (или) в товаросопроводительной документации.
4.13.3. Транспортная маркировка грузов - по
ГОСТ 14192 с нанесением манипуляционных знаков "Хрупкое. Осторожно" - для всех видов транспортных пакетов и дополнительно "Беречь от нагрева" - для пакетов, упакованных в термоусадочную пленку.
4.14. Упаковка
4.14.1. Конкретные виды тары и упаковки, обеспечивающие сохранность изделий при транспортировании, согласовываются между изготовителем и потребителем.
4.14.2. Укупорочные средства упаковывают по действующим на них нормативным документам. Допускается навинчивать их на изделия.
5.1. Партией считают количество бутылок или банок одного типа и одной вместимости, выработанное из стекла одного состава и оформленное одним документом, содержащим:
- товарный знак и (или) наименование предприятия-изготовителя;
- условное обозначение изделия;
- марку стекла;
- количество изделий в партии;
- дату отправки;
- штамп отдела технического контроля;
- национальный знак соответствия.
5.2. При контроле изделий потребителем применяют правила, указанные в 5.3 -
5.7.
5.3. Для контроля качества изделий из разных мест партии отбирают выборку в количестве 0,5%, но не менее 200 шт.
Изделия со сколами, а также бой в выборку не включают.
5.3.2. По размерам
(3.5), а также по показателям
4.2 -
4.6 контролируют 25% изделий от выборки, но не менее 50 шт.
5.3.3. По вместимости контролируют 5% изделий от выборки, но не менее 25 шт.
| | Пункты 5.3.4, 5.3.5 содержат правила и методы исследований (испытаний) и измерений, в том числе правила отбора образцов, необходимые для применения и исполнения требований технического регламента Таможенного союза "О безопасности упаковки" (ТР ТС 005/2011) и осуществления оценки соответствия объектов технического регулирования (Решение Комиссии Таможенного союза от 16.08.2011 N 769). | |
5.3.4. По показателям
4.8 и
4.11 контролируют 5% изделий от выборки, но не менее 25 шт.
5.3.5. По показателю
4.9 контролируют 25% изделий от выборки, но не менее 50 шт.
В случае недостаточного количества изделий для контроля термической стойкости дополнительно отбирают изделия от той же партии до полного объема выборки.
5.3.6. Контроль показателя водостойкости изделий
(4.10) проводят периодически, не реже одного раза в месяц, и при изменении состава стекла. Для контроля водостойкости от партии отбирают одно изделие.
5.4. Партию считают соответствующей требованиям настоящего стандарта, если количество изделий, выдержавших контроль, от проверенного количества изделий составляет, %, не менее:
100 - по водостойкости
(4.10);
99 - по термостойкости
(4.9);
97 - по остальным показателям суммарно.
5.5. При получении неудовлетворительных результатов хотя бы по одному из показателей по нему проводят повторный контроль на удвоенной выборке, взятой от той же партии.
Результаты повторного контроля распространяют на всю партию.
5.6. Если изделия не выдержали контроль по показателям водостойкости и термостойкости, то партию бракуют и она пересортировке не подлежит.
5.7. Контроль качества изделий изготовитель проводит по технологическим регламентам предприятия-изготовителя.
5.8. При сертификационных испытаниях изделий по требованиям безопасности применяют правила, изложенные в 5.9 -
5.12.
5.9. Для сертификационных испытаний из разных мест партии отбирают выборку в количестве не менее 100 шт.
Изделия со сколами, а также бой в выборку не включают.
5.9.1. По показателям
4.1.3.1,
4.1.3.2 испытывают всю выборку образцов.
5.9.2. По показателям
3.6,
4.2 испытывают не менее 25 шт. образцов изделий.
5.9.3. По показателю
4.9 испытывают не менее 25 шт. образцов изделий.
5.9.4. По показателю
4.11 испытывают не менее 25 шт. образцов изделий.
5.9.5. По показателю
4.10 испытывают 1 образец.
5.10. Образцы изделий считают соответствующими требованиям безопасности настоящего стандарта, если количество образцов, выдержавших испытания, от проверенного количества образцов составляет, %, не менее:
100 - по водостойкости
(4.10);
99 - по размерам венчиков горловин
(3.5) и по плотности укупоривания
(4.11);
99 - по термостойкости
(4.9);
98 - по остальным показателям суммарно.
5.11. При получении неудовлетворительных результатов испытаний по водостойкости выборка образцов изделий считается не соответствующей требованиям безопасности.
5.12. При получении неудовлетворительных результатов испытаний по остальным показателям отбирают повторную выборку образцов и испытывают по показателям, не прошедшим испытания в первой выборке.
Результаты повторных испытаний распространяют на всю выборку образцов изделий.
6.1. Цвет стекла, качество изделий по показателям
4.1.3.1 -
4.1.3.4 контролируют визуально. Оценку дефектов, не имеющих в стандарте количественной оценки, допускается проводить по образцам, согласованным с потребителем или разработчиком стандарта.
| | ИС МЕГАНОРМ: примечание. ГОСТ 24980-92 утратил силу с 1 июля 2006 года в связи с введением в действие ГОСТ 24980-2005 (Приказ Ростехрегулирования от 24.10.2005 N 256-ст). | |
6.2. Размеры изделий контролируют в соответствии с требованиями ГОСТ 24980.
6.3. Размеры пузырей и инородных включений определяют измерительной лупой по
ГОСТ 25706 или другими средствами измерений, обеспечивающими заданную точность.
6.4. Отклонение от параллельности торца венчика горловины плоскости дна контролируют в соответствии с требованиями ГОСТ 24980.
6.5. Отклонение от перпендикулярности вертикальной оси бутылки относительно плоскости дна контролируют в соответствии с требованиями ГОСТ 24980.
6.6. Высоту швов и уголков на корпусе и венчике горловины изделий контролируют по ГОСТ 24980.
6.7. Толщину стенок и дна изделий контролируют по ГОСТ 24980.
6.8. Полную вместимость изделий контролируют по ГОСТ 24980.
| | Пункты 6.9, 6.12 содержат правила и методы исследований (испытаний) и измерений, в том числе правила отбора образцов, необходимые для применения и исполнения требований технического регламента Таможенного союза "О безопасности упаковки" (ТР ТС 005/2011) и осуществления оценки соответствия объектов технического регулирования (Решение Комиссии Таможенного союза от 16.08.2011 N 769). | |
| | ИС МЕГАНОРМ: примечание. ГОСТ 13903-93 утратил силу с 1 июля 2006 года в связи с введением в действие ГОСТ 13903-2005 (Приказ Ростехрегулирования от 24.10.2005 N 255-ст). | |
6.9. Контроль термической стойкости изделий - по ГОСТ 13903.
6.11. Качество отжига изделий контролируют полярископом или полярископом-поляриметром
(Приложение А).
6.12. Для контроля плотности укупоривания изделий крышкой с винтовой резьбой в изделия наливают на 3/4 объема воды, завинчивают крышкой и опрокидывают на штативе горловиной вниз. В таком положении изделия выдерживают 3 мин, при этом вода не должна просачиваться через крышку.
7. Транспортирование и хранение
7.1. Изделия транспортируют всеми видами транспорта в крытых транспортных средствах или контейнерах в соответствии с правилами перевозок грузов, действующими на данном виде транспорта.
7.2. Хранение изделий - по группе 2 (закрытые помещения) или 5 (навесы) по
ГОСТ 15150.
Допускается хранение на открытых площадках не более 5 мес.
8.1. Условия эксплуатации изделий на предприятиях-изготовителях - в соответствии с
ГОСТ 30288.
(справочное)
А.1. Контроль качества отжига полярископом-поляриметром
А.1.1. Для контроля отбирают изделия в соответствии с требованиями настоящего стандарта.
А.1.2. Аппаратура, материалы
Полярископы-поляриметры типов ПКС-125, ПКС-250 или других типов.
Прибор для измерения толщины стенок и дна изделий.
Хлопчатобумажная ткань для протирания оптических деталей.
А.1.3. Подготовка к проведению контроля
Полярископ-поляриметр должен быть установлен в затемненном помещении при температуре окружающей среды от 10 до 45 °C и относительной влажности не более 80%.
Образцы перед испытанием выдерживают в помещении не менее 30 мин.
А.1.4. Проведение контроля
При осмотре изделие ориентируют так, чтобы просматриваемый участок был перпендикулярен к направлению распространения света полярископа-поляриметра.
При применении полярископов-поляриметров типов ПКС-125 и ПКС-250 переключатель компенсатора должен находиться в положении

, а лимб анализатора компенсатора - в нулевом положении. При вращении изделия находят участки с максимальным напряжением по цветовой окраске. Вводят чувствительную пластинку

, для чего переключатель анализатора выводят из положения

в положение

. Участку с максимальным напряжением соответствует максимальное просветление темного поля полярископа-поляриметра.
Участок с максимальным напряжением устанавливают в центре поля зрения. Поворачивая головку анализатора, добиваются сведения темных полос в центре до потемнения просветленного участка. Затем с лимба анализатора списывают показания угла поворота. Измерения проводят 3 раза.
Измеряют толщину контролируемого участка S. Для полых изделий значение S равно двойной толщине стенки при просмотре перпендикулярно к оси изделия. При просмотре дна изделия S равно его толщине.
А.1.5. Обработка результатов
Удельную разность хода лучей

, нм/см, вычисляют по формуле

, (А.1)
где

- угол поворота лимба анализатора, нм;
S - толщина просматриваемого участка изделий (толщина двух стенок), см.
За окончательный результат принимают среднее арифметическое результатов трех определений.
Удельная разность хода лучей должна соответствовать требованиям
4.8 настоящего стандарта.
А.2. Контроль качества отжига полярископом
А.2.1. Контроль качества отжига полярископом проводят с применением ступенчатых клиньев или без них.
А.2.2. Для контроля отбирают изделия в соответствии с требованиями настоящего стандарта.
А.2.3. Аппаратура, материалы
Полярископы типов ПКС-500, ПКС-50 или других типов.
Ступенчатые клинья типов СТК-1, СТК-2, СТК-3.
Хлопчатобумажная ткань для протирания оптических деталей.
А.2.4. Подготовка к проведению контроля
Полярископ должен быть установлен в затемненном помещении при температуре окружающей среды от 10 до 45 °C и относительной влажности не более 80%.
Образцы перед испытанием выдерживают в помещении не менее 30 мин.
А.2.5. Проведение контроля с применением ступенчатых клиньев
Ступенчатый клин располагают по диагоналям поля зрения полярископа рядом с изделием так, чтобы интерференционные цвета в клине и изделии имели одинаковую последовательность.
Разность хода лучей в контролируемом изделии определяют путем сравнения интерференционного цвета контролируемого участка изделия с интерференцией цветов различных ступеней клина.
Если цвет одной из ступеней клина ближе или совпадает с цветом контролируемого участка изделия, то разность хода лучей в изделии принимают равной разности хода этой ступени клина.
Если цвет контролируемого участка изделия окажется промежуточным между двумя соседними ступенями клина, разность хода лучей принимают равной полусумме разностей хода лучей этих ступеней.
Измеряют толщину контролируемого участка S.
А.2.5.1. Обработка результатов
Удельную разность хода лучей

, нм/см, вычисляют по формуле

, (А.2)
где

- значение разности хода лучей, определенной методом сравнения, нм;
S - толщина просматриваемого участка, см.
А.2.6. Проведение контроля на полярископе без применения ступенчатых клиньев
Изделие помещают перед анализатором и постепенно поворачивают на 360° в плоскости, перпендикулярной к направлению поляризованного света.
Окраска поля зрения полярископа должна соответствовать требованиям
4.8.