Главная // Актуальные документы // ГОСТ Р (Государственный стандарт)
СПРАВКА
Источник публикации
М.: Стандартинформ, 2019
Примечание к документу
Текст данного документа приведен с учетом поправки, опубликованной в "ИУС", N 8, 2021.

Документ введен в действие с 01.09.2020.

Взамен ПНСТ 96-2016.
Название документа
"ГОСТ Р 58729-2019. Национальный стандарт Российской Федерации. Ограждения ледовых хоккейных площадок. Технические условия"
(утв. и введен в действие Приказом Росстандарта от 06.12.2019 N 1350-ст)


"ГОСТ Р 58729-2019. Национальный стандарт Российской Федерации. Ограждения ледовых хоккейных площадок. Технические условия"
(утв. и введен в действие Приказом Росстандарта от 06.12.2019 N 1350-ст)


Содержание


Утвержден и введен в действие
Приказом Федерального
агентства по техническому
регулированию и метрологии
от 6 декабря 2019 г. N 1350-ст
НАЦИОНАЛЬНЫЙ СТАНДАРТ РОССИЙСКОЙ ФЕДЕРАЦИИ
ОГРАЖДЕНИЯ ЛЕДОВЫХ ХОККЕЙНЫХ ПЛОЩАДОК
ТЕХНИЧЕСКИЕ УСЛОВИЯ
Fences of ice hockey squares. Specifications
ГОСТ Р 58729-2019
ОКС 97.220.30,
97.220.40
Дата введения
1 сентября 2020 года
Предисловие
1 РАЗРАБОТАН Ассоциацией саморегулируемой организацией "Отраслевое объединение национальных производителей в сфере физической культуры и спорта "Промспорт" (СРО "Промспорт")
2 ВНЕСЕН Техническим комитетом по стандартизации ТК 444 "Спортивные и туристские изделия, оборудование, инвентарь, физкультурные и спортивные услуги"
3 УТВЕРЖДЕН И ВВЕДЕН В ДЕЙСТВИЕ Приказом Федерального агентства по техническому регулированию и метрологии от 6 декабря 2019 г. N 1350-ст
4 ДЕЙСТВУЕТ ВЗАМЕН ПНСТ 96-2016
Правила применения настоящего стандарта установлены в статье 26 Федерального закона от 29 июня 2015 г. N 162-ФЗ "О стандартизации в Российской Федерации". Информация об изменениях к настоящему стандарту публикуется в ежегодном (по состоянию на 1 января текущего года) информационном указателе "Национальные стандарты", а официальный текст изменений и поправок - в ежемесячном информационном указателе "Национальные стандарты". В случае пересмотра (замены) или отмены настоящего стандарта соответствующее уведомление будет опубликовано в ближайшем выпуске ежемесячного информационного указателя "Национальные стандарты". Соответствующая информация, уведомление и тексты размещаются также в информационной системе общего пользования - на официальном сайте Федерального агентства по техническому регулированию и метрологии в сети Интернет (www.gost.ru)
1 Область применения
Настоящий стандарт распространяется на борта для ограждения ледовых площадок для игры в хоккей на льду для массового спорта (далее - хоккейные борта).
Настоящий стандарт устанавливает технические требования и методы испытаний хоккейных бортов.
2 Нормативные ссылки
В настоящем стандарте использованы нормативные ссылки на следующие стандарты.
ГОСТ 2.601 Единая система конструкторской документации. Эксплуатационные документы
ГОСТ 9.708-83 Единая система защиты от коррозии и старения. Пластмассы. Методы испытаний на старение при воздействии естественных и искусственных климатических факторов
ГОСТ 9.719-94 Единая система защиты от коррозии и старения. Материалы полимерные. Методы испытаний на старение при воздействии влажного тепла, водяного и соляного тумана
ГОСТ 12.1.044 Система стандартов безопасности труда. Пожаровзрывоопасность веществ и материалов. Номенклатура показателей и методы их определения
ГОСТ 12.1.007 Система стандартов безопасности труда. Вредные вещества. Классификация и общие требования безопасности
ГОСТ 25.602 Расчеты и испытания на прочность. Методы механических испытаний композиционных материалов с полимерной матрицей (композитов). Метод испытания на сжатие при нормальной, повышенной и пониженной температурах
ГОСТ 25.604 Расчеты и испытания на прочность. Методы механических испытаний композиционных материалов с полимерной матрицей (композитов). Метод испытания на изгиб при нормальной, повышенной и пониженной температурах
ГОСТ 166 Штангенциркули. Технические условия
ГОСТ 427 Линейки измерительные металлические. Технические условия
ГОСТ 2991 Ящики дощатые неразборные для грузов массой до 500 кг. Общие технические условия
ГОСТ 4647-2015 Пластмассы. Метод определения ударной вязкости по Шарпи
ГОСТ 4648 Пластмассы. Метод испытания на статический изгиб
ГОСТ 4650 Пластмассы. Методы определения водопоглощения
ГОСТ 4651 Пластмассы. Метод испытания на сжатие
ГОСТ 7502 Рулетки измерительные металлические. Технические условия
ГОСТ 10198 Ящики деревянные для грузов массой св. 200 до 20000 кг. Общие технические условия
ГОСТ 14192 Маркировка грузов
ГОСТ 15139 Пластмассы. Методы определения плотности (объемной массы)
ГОСТ 15846 Продукция, отправляемая в районы Крайнего Севера и приравненные к ним местности. Упаковка, маркировка, транспортирование и хранение
ГОСТ 22727 Прокат листовой. Методы ультразвукового контроля
ГОСТ 24622 Пластмассы. Определение твердости. Твердость по Роквеллу
ГОСТ 26828 Изделия машиностроения и приборостроения. Маркировка
ГОСТ 28498 Термометры жидкостные стеклянные. Общие технические требования. Методы испытаний
ГОСТ 30244 Материалы строительные. Методы испытаний на горючесть
ГОСТ 30247.0 Конструкции строительные. Методы испытаний на огнестойкость. Общие требования
ГОСТ 30247.1 Конструкции строительные. Методы испытаний на огнестойкость. Несущие и ограждающие конструкции
ГОСТ 30402 Материалы строительные. Метод испытания на воспламеняемость
ГОСТ Р 51032 Материалы строительные. Метод испытания на распространение пламени
ГОСТ Р 53228 Весы неавтоматического действия. Часть 1. Метрологические и технические требования. Испытания
ГОСТ Р 55809 Контроль неразрушающий. Дефектоскопы ультразвуковые. Методы измерений основных параметров
Примечание - При пользовании настоящим стандартом целесообразно проверить действие ссылочных стандартов в информационной системе общего пользования - на официальном сайте Федерального агентства по техническому регулированию и метрологии в сети Интернет или по ежегодному информационному указателю "Национальные стандарты", который опубликован по состоянию на 1 января текущего года, и по выпускам ежемесячного информационного указателя "Национальные стандарты" за текущий год. Если заменен ссылочный стандарт, на который дана недатированная ссылка, то рекомендуется использовать действующую версию этого стандарта с учетом всех внесенных в данную версию изменений. Если заменен ссылочный стандарт, на который дана датированная ссылка, то рекомендуется использовать версию этого стандарта с указанным выше годом утверждения (принятия). Если после утверждения настоящего стандарта в ссылочный стандарт, на который дана датированная ссылка, внесено изменение, затрагивающее положение, на которое дана ссылка, то это положение рекомендуется применять без учета данного изменения. Если ссылочный стандарт отменен без замены, то положение, в котором дана ссылка на него, рекомендуется применять в части, не затрагивающей эту ссылку.
3 Термины и определения
В настоящем стандарте применены следующие термины с соответствующими определениями:
3.1 хоккейный борт: Комплект монолитных панелей, закрепленных на каркасе и стойках, который в соответствии с правилами игры в хоккей предназначен для ограничения хоккейной площадки по периметру.
3.2 панель (хоккейного борта): Панель, у основания которой расположена отбойная планка, а в верхней части перила.
3.3 секция хоккейного борта: Панель, закрепленная на каркасе.
3.4 лицевая сторона панели хоккейного борта: Сторона, обращенная к игровой площадке.
4 Технические требования
4.1 Хоккейные борта должны соответствовать требованиям настоящего стандарта и конструкторской документации.
4.2 Основные размеры и элементы хоккейных бортов
4.2.1 Хоккейные борта состоят из следующих элементов:
- секций (панелей с каркасами);
- стоек, к которым крепят секции.
4.2.2 Виды секций хоккейных бортов:
- прямые секции длиной (1000 +/- 5) мм и (2000 +/- 5) мм;
- закругленные секции длиной (1960 +/- 10) мм или (1540 +/- 10) мм и радиусом закругления от 7000 до 8500 мм;
- прямые секции с калиткой для игроков длиной (2000 +/- 5) мм;
- прямые секции (створок ворот) длиной (1990 +/- 10) мм;
- прямые секции с петлями для ворот длиной (2000 +/- 10) мм.
4.2.3 Высота хоккейных бортов от ледовой поверхности (1070 +/- 10) мм.
4.2.4 Высота отбойной планки хоккейных бортов должна быть от 150 до 250 мм.
Пункт 4.2.5 исключен поправкой, опубликованной в "ИУС", N 8, 2021.
4.2.5 Высота перил должна быть (4911 +/- 10) мм, толщина (75 +/- 5) мм.
4.2.6 Толщина панели должна быть не менее 5 мм.
4.2.7 Ширина калитки для игроков должны быть не менее 900 мм.
4.3 Требования к конструкции
4.3.1 Секции хоккейных бортов должны быть съемными.
4.3.2 Геометрические размеры элементов хоккейных бортов должны соответствовать конструкторской документации и обеспечивать сборку-разборку секций хоккейных бортов без дополнительной подгонки.
4.3.3 Конструкция хоккейных бортов должна обеспечивать крепление защитных элементов (экранов, стекол, сетки) со стороны, противоположной хоккейной площадке.
4.3.4 Прямые секции хоккейных бортов с калиткой для игроков должны быть сконструированы таким образом, чтобы калитка открывалась в противоположную сторону от хоккейной площадки.
4.3.5 Секции хоккейных бортов с калиткой для игроков должны быть оснащены самозакрывающимися засовами.
4.3.6 Конструкция створок ворот и секций хоккейных бортов с петлями для ворот должна обеспечивать открытие ворот в противоположную сторону от хоккейной площадки.
4.3.7 Створки ворот должны быть оснащены засовами и замками.
4.3.8 Поверхность панелей хоккейных бортов должна быть ровной и гладкой, без расслоений, трещин, сколов, мест выхода на поверхность непропитанного связующим веществом армирующего материала и других видимых невооруженным глазом дефектов.
4.3.9 Внутренние дефекты, например расслоение, пузыри, рыхлая структура полимерного материала не допускаются.
4.3.10 Панели хоккейных бортов должны быть белого цвета, отбойные планки - желтого цвета, перила - синего цвета.
4.3.11 Средний срок службы хоккейных бортов должен соответствовать установленному в конструкторской документации, но не менее 10 лет.
4.4 Прочностные характеристики
Прочностные характеристики панелей хоккейных бортов приведены в таблице 1.
Таблица 1
Прочностные характеристики
монолитных панелей хоккейных бортов
Наименование показателя
Значение показателя
Ударная вязкость, кДж/м2, не менее
290
Прочность при изгибе при нормальной, повышенной и пониженной температуре, МПа, не менее
430
Прочность при сжатии при нормальной, повышенной и пониженной температуре, МПа, не менее
320
Твердость по Роквеллу, HR, не менее
75
4.5 Физико-механические свойства
Физико-механические свойства панелей хоккейных бортов приведены в таблице 2.
Таблица 2
Физико-механические свойства
монолитных панелей хоккейных бортов
Наименование показателя
Значение показателя
Водопоглощение за 24 ч, %, не более
0,5
Плотность, г/см3, не более
1,7 - 1,9
Диапазон рабочих температур окружающей среды, °C
+/- 60
4.6 Требования стойкости к внешним воздействиям
4.6.1 Панели хоккейных бортов должны удовлетворять требованиям по стойкости к внешним воздействиям: морозостойкости, влагостойкости и стойкости к климатическому старению.
4.6.2 Морозостойкость, влагостойкость и стойкость к климатическому старению панелей хоккейных бортов определяют по изменению ударной вязкости (см. таблицу 1), которое не должно превышать 15%.
4.7 Требования безопасности
4.7.1 Наличие острых (колющих, режущих) кромок и углов в конструкции хоккейных бортов не допускается.
4.7.2 Панели хоккейных бортов не должны быть источником вредных выделений в окружающую среду.
4.7.3 Характеристики пожарной опасности панелей хоккейных бортов должны соответствовать приведенным в таблице 3.
Таблица 3
Характеристики пожарной опасности панелей хоккейных бортов
Наименование характеристики
Значение характеристики
Горючесть по ГОСТ 30244
Г1
Воспламеняемость по ГОСТ 30402
В2
Дымообразующая способность по ГОСТ 12.1.044
Д2
Распространение пламени ГОСТ Р 51032
РП1
Токсичность по ГОСТ 12.1.044
Т2
Предел огнестойкости по ГОСТ 30247.0 и ГОСТ 30247.1
RE30
4.7.4 Секции хоккейных бортов должны выдерживать сосредоточенную горизонтальную нагрузку 2000 Н, приложенную к середине секции хоккейного борта в течение 60 с, без повреждений и опрокидывания.
4.7.5 Амортизирующие характеристики бортовой системы должны соответствовать указанным в таблице 4.
Таблица 4
Амортизирующие характеристики бортовой системы
Описание
Высота точки измерения от поверхности бетона, мм
Амортизирующие характеристики
Удар грузом, имитирующим столкновение корпусом хоккеиста весом 60 кг при скорости воздействия 3,37 м/с
1100 +/- 10
Максимальное отклонение секции от вертикального положения, не менее 22,2 мм
Удар грузом, имитирующим столкновение корпусом хоккеиста весом 60 кг при скорости воздействия 3,37 м/с
1550 +/- 10
Максимальное отклонение защитного остекления от вертикального положения, не менее 50,5 мм
4.8 Требования к материалам
4.8.1 Материалы, применяемые для изготовления панелей хоккейных бортов, должны соответствовать требованиям действующих нормативных документов, иметь сопроводительную документацию, подтверждающую их соответствие нормативным требованиям, включая паспорта качества.
4.8.2 Материалы, применяемые для изготовления панелей хоккейных бортов, следует хранить в соответствии с требованиями сопроводительной документации и правил пожарной безопасности.
При нарушении условий хранения материалы, применяемые для изготовления панелей хоккейных бортов, следует проверить по всем показателям, предусмотренным сопроводительной документацией.
4.8.3 Каркас панелей, ворот, калиток хоккейных бортов должен быть изготовлен из стальной профильной трубы с сечением не менее 45 x 20 мм и не более 50 x 25 мм, толщиной стенки не менее 2 мм.
4.8.4 Стойки хоккейных бортов должны быть изготовлены из стальной профильной трубы с сечением не менее 40 x 25 мм и не более 55 x 40 мм, толщиной стенки не менее 2 мм.
4.9 Комплектность
4.9.1 Комплект поставки хоккейных бортов должен соответствовать конструкторской документации.
4.9.2 Хоккейные борта снабжают комплектом принадлежностей, обеспечивающим их закрепление на месте установки.
4.9.3 Изготовитель должен снабдить каждый комплект хоккейных бортов эксплуатационной документацией по ГОСТ 2.601.
5 Методы контроля и испытаний
5.1 Методы контроля
5.1.1 Проверку соответствия требованиям 4.2.1, 4.3.3 - 4.3.7 и 4.3.9 - 4.3.11 осуществляют сличением с требованиями настоящего стандарта и конструкторской документации.
5.1.2 Измерение размеров по 4.2.2 - 4.2.7, 4.8.3 и 4.8.4 проводят металлической измерительной линейкой по ГОСТ 427, металлической рулеткой по ГОСТ 7502 и штангенциркулем по ГОСТ 166.
5.1.3 Проверку хоккейных бортов на соответствие требованиям 4.3.1 и 4.3.2 проводят путем сборки-разборки секций хоккейных бортов.
5.1.4 Проверку соответствия требованиям 4.3.8, 4.7.1 проверяют визуально без применения увеличительных приборов при равномерной освещенности.
5.1.5 Наличие внутренних дефектов панелей хоккейных бортов 4.3.9 определяют ультразвуковым дефектоскопом по ГОСТ Р 55809 в соответствии с ГОСТ 22727.
5.1.6 Цвет панелей хоккейных бортов по 4.3.10 проверяют сличением с эталоном.
5.1.7 Контроль срока службы хоккейных бортов по 4.3.11 проверяют путем сбора и обработки статической информации изготовителем.
5.2 Методы испытаний
5.2.1 Перед испытаниями проводят визуальный осмотр хоккейных бортов, устанавливая наличие дефектов глубиной более 10 мм. Хоккейные борта с дефектами к испытаниям не допускаются.
5.2.2 Испытания хоккейных бортов проводят при температуре (20 +/- 2) °C и относительной влажности (60 +/- 5)%, если в конкретном методе испытаний не установлено иное.
5.2.3 Определение прочностных характеристик панелей хоккейных бортов по 4.4 определяют в соответствии со следующими нормативными документами:
- ударную вязкость панелей хоккейных бортов с лицевой стороны определяют методом Шарпи по ГОСТ 4647;
- предел прочности при поперечном изгибе панелей хоккейных бортов определяют методом механических испытаний с лицевой стороны при нормальной температуре - по ГОСТ 25.604 или ГОСТ 4648;
- предел прочности при сжатии панелей хоккейных бортов с лицевой стороны определяют методом механических испытаний при нормальной температуре по ГОСТ 25.602 или ГОСТ 4651;
- твердость по Роквеллу панелей хоккейных бортов с лицевой стороны определяют по ГОСТ 24622.
5.2.4 Определение физико-механических свойств панелей хоккейных бортов по 4.5 определяют в соответствии со следующими нормативными документами:
- водопоглощение за 24 ч - по ГОСТ 4650;
- плотность - по ГОСТ 15139;
- температуру - по ГОСТ 28498.
5.2.5 Определение морозостойкости по 4.6 заключается в попеременном замораживании и оттаивании образца панелей хоккейных бортов (далее - образец) согласно условиям проведения испытаний, приведенных в таблице 5.
Таблица 5
Условия проведения испытания на морозостойкость
Условие проведения испытания
Значение, состояние
Среда насыщения
Вода
Среда замораживания
Воздушная
Температура замораживания, °C
минус (60 +/- 2)
Среда оттаивания
Вода
Температура оттаивания, °C
плюс (20 +/- 2)
5.2.5.1 Для проведения испытаний на морозостойкость используют образцы по ГОСТ 4647-2015 (раздел 1).
5.2.5.2 Для проведения испытания на морозостойкость используют следующее испытательное оборудование и средства измерения:
- морозильную камеру, обеспечивающую достижение и поддержание температуры замораживания минус (60 +/- 2) °C, причем неравномерность температурного поля в воздухе полезного объема камеры не должна превышать 3 °C;
- ванну для насыщения и оттаивания образцов с водой температурой (20 +/- 2) °C;
- термометр по ГОСТ 28498.
5.2.5.3 Перед испытанием проводят визуальный осмотр образцов, устанавливая наличие дефектов (неровностей, раковин, трещин, сколов, пузырьков, расслоений, надломов, посторонних включений и т.д.). Образцы с любым дефектом глубиной/высотой более 10 мм к испытаниям не допускают.
5.2.5.4 Перед замораживанием образец насыщают водой температурой (20 +/- 2) °C. Для насыщения образец погружают в воду на 24 ч так, чтобы уровень жидкости был выше верхней грани образца не менее чем на 20 мм.
5.2.5.5 Насыщенный водой образец извлекают из воды и обтирают влажной тканью.
5.2.5.6 Образец помещают в морозильную камеру таким образом, чтобы расстояние между ним и любой стенкой морозильной камеры было не менее 20 мм.
5.2.5.7 Включают камеру и постепенно понижают температуру до минус (60 +/- 2) °C. Температуру воздуха в морозильной камере измеряют в центре ее объема в непосредственной близости от образца. Образец выдерживают в морозильной камере в течение 1 ч.
5.2.5.8 После замораживания образец оттаивают в ванне с водой температурой (20 +/- 2) °C в течение 3 ч. При оттаивании его размещают на расстоянии от стенок или днища ванны не менее чем на 20 мм, слой воды над верхней гранью должен быть не менее 20 мм. Температуру воды в ванне измеряют в центре ее объема в непосредственной близости от образца.
5.2.5.9 Цикл замораживания и оттаивания повторяют 10 раз.
5.2.5.10 После проведения 10 циклов замораживания и оттаивания образец подвергают испытаниям на ударную вязкость по ГОСТ 4647.
5.2.5.11 Образец считают прошедшим испытание на морозостойкость, если значение ударной вязкости изменилось не более чем на 15%.
5.2.6 Испытание образца на влагостойкость по 4.6 определяют по ГОСТ 9.719-94 (раздел 4).
5.2.6.1 Сущность метода заключается в том, что образцы по ГОСТ 4647-2015 (раздел 1) подвергают воздействию водяного тумана не менее 168 ч.
5.2.6.2 Образец считают прошедшим испытание на влагостойкость, если значение ударной вязкости изменилось не более чем на 15%.
5.2.7 Испытание на стойкость к климатическому старению по 4.6 определяют по ГОСТ 9.708-83 (метод 2).
5.2.7.1 Сущность метода заключается в том, что образцы по ГОСТ 4647-2015 (раздел 1) подвергают воздействию искусственно созданных факторов в аппарате искусственной погоды в течение заданной продолжительности испытаний и определяют изменение ударной вязкости.
5.2.7.2 Образец считают прошедшим испытание на стойкость к климатическому старению, если значение ударной вязкости изменилось не более чем на 15%.
5.2.8 Проверку панелей хоккейных бортов на выделение вредных веществ в окружающую среду и на оказание негативного воздействия на организм человека по 4.7.2 определяют в соответствии с ГОСТ 12.1.007.
5.2.9 Определение характеристик пожарной опасности панелей хоккейных бортов 4.7.3 определяют в соответствии со следующими нормативными документами:
- горючесть - по ГОСТ 30244;
- воспламеняемость - по ГОСТ 30402;
- дымообразующую способность - по ГОСТ 12.1.044;
- распространение пламени - по ГОСТ Р 51032;
- токсичность - по ГОСТ 12.1.044;
- предел огнестойкости - по ГОСТ 30247.0 и ГОСТ 30247.1.
5.2.10 Испытание на опрокидывание секций хоккейных бортов на соответствие 4.7.4 осуществляют приложением сосредоточенной горизонтальной нагрузки в течение установленного времени. Секцию хоккейного борта устанавливают в рабочее положение. К середине секции хоккейного борта прикладывают сосредоточенную горизонтальную нагрузку 2000 Н в течение 60 с. Под действием нагрузки секция хоккейного борта не должна опрокинуться. После снятия нагрузки на секции хоккейного борта не должно быть повреждений.
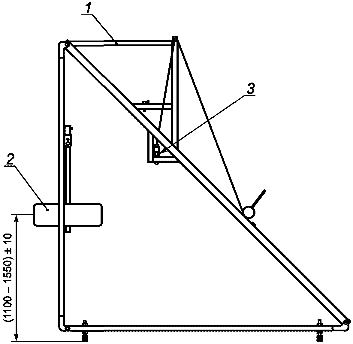
5.2.11 Определение амортизирующих характеристик бортовой системы проводят с помощью триангуляционных лазерных датчиков типа РФ 605-45/100 или другими, имеющими измерительный диапазон 100 мм, погрешность измерений 0,1%. Датчик должен быть установлен на стойке за хоккейным бортом на расстоянии 150 мм от борта напротив точки измерения.
На бетонном основании закрепляют ряд секций таким образом, чтобы их стык был установлен посередине отрезка длиной не менее 12 м и расположен по центру испытательной установки. Для исключения влияния длины секций, на результаты испытания их блокируют до неподвижного состояния специальными укосами через 6 м от центра. Варианты крепления разных по длине секций для проведения испытаний представлены на рисунке 1.
Рисунок 1 - Варианты крепления разных
по длине секций для проведения испытаний
Момент затяжки болтов крепления секций к основанию - 150 Нм.
Амортизации борта и прозрачного защитного ограждения проверяют ударом в центральную точку отрезка 12 м на высоте (1100 +/- 10) мм от бетона и в стык прозрачного защитного ограждения на высоте (1550 +/- 10) мм от поверхности бетона.
Делают три последовательных измерения каждого параметра. Далее вычисляют среднеарифметическое значение всех измерений. Полученную величину принимают в качестве универсальной характеристики амортизирующей способности хоккейного борта. Чем он выше, тем более гибким является борт.
5.2.12 Испытания бортовой системы, установленной на ледовой арене
Амортизация в зоне пересечения хоккейного борта с торцевой перемычкой боксов игроков и рефери. Данное испытание проводят для проверки травмобезопасности борта в данной точке. Хоккейный борт не должен быть заблокирован до неподвижного состояния торцевыми панелями боксов. Удар производится в точку пересечения торцевой перемычки боксов и борта на высоте (1100 +/- 10) мм от бетона.
Измеряют амортизацию борта и прозрачного защитного ограждения в зоне прямого отрезка между боксом запасных игроков и радиусом (проверку не проводят, если в этой зоне установлены технологические ворота или калитки). Удар производят в центральную точку прямого отрезка образованного между торцевой перемычкой бокса штрафников и началом радиуса. Удар наносят в стык секций на высоте (1100 +/- 10) мм от бетона и в стык прозрачного защитного ограждения на высоте (1550 +/- 10) мм от поверхности бетона. При этом показатели амортизации должны быть не ниже, чем в технической документации типа хоккейного борта.
Измеряют амортизацию борта и прозрачного защитного ограждения в зоне прямого отрезка между радиусами за игровыми воротами (проверку не проводят, если в этом отрезке установлены технологические ворота или калитки). Удар производят в центральную точку отрезка между началом радиусов в стык секций на высоте (1100 +/- 10) мм от бетона и в стык прозрачного защитного ограждения на высоте (1550 +/- 10) мм от поверхности бетона.
Измеряют амортизацию прозрачного защитного ограждения в зоне радиусных секций бортовой системы (проверку не проводят, если в пределах одного радиуса имеются технологические ворота или калитки). Удар производят в середину стекла на высоте (1550 +/- 10) мм от поверхности бетона.
Стенд испытательный представлен на рисунках 2, 3 и 4.
1 - рама стенда, 2 - колесо с грузом, 3 - спусковой замок
Рисунок 2 - Стенд испытательный
В качестве ударного предмета используют не бывшее в эксплуатации стандартное автомобильное колесо с диском 175/65/R14. Давление в шине - (200 +/- 15) кПа. За высоту приложения усилия выбирают центр протектора колеса. Колесо используют в связи с невозможностью стандартизировать параметры по боксерским грушам (по плотности набивки песка и фракции песка).
Установку выставляют таким образом, чтобы в вертикальном (опущенном) положении маятника был контакт с испытуемым образцом. Конструкция испытательной установки позволяет переставлять маятник на две высоты (для испытания борта и защитного ограждения).
Определение требуемой массы ударного маятника (60 кг) производят путем опускания колеса на весы по ГОСТ Р 53228. Необходимый вес достигается путем закладки металлических блинов в диск колеса. При этом маятник должен находиться в своем горизонтальном положении, с опорой на ось вращения как показано на рисунке 3.
Рисунок 3 - Исходное положение маятника
для проведения взвешивания
Рисунок 4 - Рабочее положение установки
с маятником для проведения испытаний
6 Маркировка
6.1 Хоккейные борта из каждого комплекта поставки должны иметь хорошо различимую, четкую и нестираемую маркировку, содержащую следующую информацию:
- наименование изготовителя и (или) его товарный знак;
- наименование и (или) обозначение изделия (тип, марка, модель (при наличии));
- заводской номер;
- месяц и год изготовления.
6.2 Маркировку хоккейных бортов выполняют в соответствии с ГОСТ 26828.
6.3 Требования к транспортной маркировке должны соответствовать ГОСТ 14192.
7 Транспортирование и хранение
7.1 Хоккейные борта по согласованию с заказчиком (потребителем) транспортируют в упаковке или без упаковки, в зависимости от способа транспортирования и района поставки.
7.2 При транспортировании панели хоккейных бортов упаковывают в ящики, изготовленные в соответствии с ГОСТ 2991 или ГОСТ 10198.
7.3 Для районов Крайнего Севера и труднодоступных районов упаковка должна быть выполнена в соответствии с ГОСТ 15846.
7.4 Сопроводительная документация должна быть помещена во влагонепроницаемую упаковку.
7.5 Панели хоккейных бортов следует хранить в сухом помещении или под навесом, исключая попадание прямого солнечного света и попадание воды или снега на упаковку, при температуре +/- 20 °C.
8 Гарантии изготовителя
Срок годности панели хоккейных бортов при условии соблюдения условий хранения - не менее 12 мес с момента изготовления.
Гарантийный срок установленных бортов - не менее 2 лет, при соблюдении условий эксплуатации.
УДК 796.022:006.354
ОКС 97.220.30,
Ключевые слова: ограждения ледовых хоккейных площадок, борта хоккейные, секции, технические требования, методы испытаний